JP2010143331A - 車両用メータ装置 - Google Patents

車両用メータ装置 Download PDF

Info

Publication number
JP2010143331A
JP2010143331A JP2008321264A JP2008321264A JP2010143331A JP 2010143331 A JP2010143331 A JP 2010143331A JP 2008321264 A JP2008321264 A JP 2008321264A JP 2008321264 A JP2008321264 A JP 2008321264A JP 2010143331 A JP2010143331 A JP 2010143331A
Authority
JP
Japan
Prior art keywords
meter device
vehicle
coupler
support stay
coupler support
Prior art date
Legal status (The legal status is an assumption and is not a legal conclusion. Google has not performed a legal analysis and makes no representation as to the accuracy of the status listed.)
Granted
Application number
JP2008321264A
Other languages
English (en)
Other versions
JP4871349B2 (ja
Inventor
Kiyotaka Taguchi
清隆 田口
Mitsuru Terada
充 寺田
Current Assignee (The listed assignees may be inaccurate. Google has not performed a legal analysis and makes no representation or warranty as to the accuracy of the list.)
Honda Motor Co Ltd
Original Assignee
Honda Motor Co Ltd
Priority date (The priority date is an assumption and is not a legal conclusion. Google has not performed a legal analysis and makes no representation as to the accuracy of the date listed.)
Filing date
Publication date
Family has litigation
First worldwide family litigation filed litigation Critical https://patents.darts-ip.com/?family=42564215&utm_source=google_patent&utm_medium=platform_link&utm_campaign=public_patent_search&patent=JP2010143331(A) "Global patent litigation dataset” by Darts-ip is licensed under a Creative Commons Attribution 4.0 International License.
Application filed by Honda Motor Co Ltd filed Critical Honda Motor Co Ltd
Priority to JP2008321264A priority Critical patent/JP4871349B2/ja
Priority to MX2009012865A priority patent/MX2009012865A/es
Priority to PE2009001304A priority patent/PE20100612A1/es
Priority to BRPI0905049-3A priority patent/BRPI0905049B1/pt
Priority to ARP090104873 priority patent/AR075315A1/es
Publication of JP2010143331A publication Critical patent/JP2010143331A/ja
Application granted granted Critical
Publication of JP4871349B2 publication Critical patent/JP4871349B2/ja
Expired - Fee Related legal-status Critical Current
Anticipated expiration legal-status Critical

Links

Images

Landscapes

  • Instrument Panels (AREA)
  • Details Of Measuring And Other Instruments (AREA)
  • Time Recorders, Dirve Recorders, Access Control (AREA)
  • Motorcycle And Bicycle Frame (AREA)
  • Lighting Device Outwards From Vehicle And Optical Signal (AREA)

Abstract

【課題】車両用メータ装置において、メータケースから横方向や前方へ突出せず、外形が小さく、周囲の部品やフロントカウル等のレイアウトを制限することなく、保持するカプラが多くなって大型化した場合でも、剛性を確保しやすいカプラホルダを備えた車両用メータ装置を提供しようとするものである。
【解決手段】計器を収納すると共に上部を開口して凹状に形成されたアンダーケースと、計器の上部にレンズを備えると共に下部を開口して凹状に形成されたアッパーケースとから成り、前記アッパーケースが前記アンダーケースの開口側からアンダーケースの外側に重なるようにして取付けられる車両用メータ装置において、メータ用ハーネスと接続先ハーネスとを接続させるカプラ76を支持するカプラ支持ステー81を設け、前記カプラ支持ステー81を、前記メータ装置86の背面側に配置し、前記アッパーケースに取付けた。
【選択図】図33

Description

本発明は、自動二輪車、自動三輪車、あるいは鞍乗型自動四輪車などの車両に取付けられるメータ装置に関するものである。
従来、自動二輪車のメータ装置では、メータ用ハーネスと接続先ハーネスとを接続させるカプラを保持するカプラホルダ部がメータケースに一体に形成されているものが知られている(例えば、特許文献1参照。)。
しかし、このカプラホルダ部は、メータケースから横方向に突出する構成であるため、外形が大きくなり、周囲の部品やフロントカウル等のレイアウトが制限されやすい。さらに、保持するカプラが多くなる場合は、カプラホルダ部を大型化する必要があるが、この場合、カプラホルダ部の剛性を確保しにくいという課題があった。
特開2007−125902号公報(図4)
周囲の部品やフロントカウル等のレイアウトに影響を与えることなく、剛性を確保しやすいカプラホルダ部としてのカプラ支持ステーを備えた車両用メータ装置を提供しようとするものである。
本発明は前記課題を解決したものであって、請求項1に記載の発明は、
計器を収納すると共に上部を開口して凹状に形成されたアンダーケースと、
計器の上部にレンズを備えると共に下部を開口して凹状に形成されたアッパーケースとから成り、前記アッパーケースは前記アンダーケースの開口側からアンダーケースの外側に重なるようにして取付けられる車両用メータ装置において、
メータ用ハーネスと接続先ハーネスとを接続させるカプラを支持するカプラ支持ステーを設け、前記カプラ支持ステーを、前記メータ装置の背面側で、且つメータ装置の投影面積内に配置し、前記アッパーケースに取付けたことを特徴とする車両用メータ装置に関するものである。
請求項2に記載の発明は、請求項1に記載の車両用メータ装置において、
前記アッパーケースの外壁面に、前記カプラ支持ステーを取付けるステー取付け部を設けたことを特徴とするものである。
請求項3に記載の発明は、請求項2に記載の車両用メータ装置において、
前記アッパーケースの側壁を、前記アンダーケースの側壁より下方まで延ばしたことを特徴とするものである。
請求項4に記載の発明は、請求項3に記載の車両用メータ装置において、
前記カプラ支持ステー取付け部は、前記アッパーケースの開口端に設けられることを特徴とするものである。
請求項5に記載の発明は、請求項1乃至請求項4に記載の車両用メータ装置において、
前記メータ装置は、予めトップブリッジ又は車体フレームに取付けられたメータ装置取付け用ステーに、アンダーケースに設けられた取付けボルトを介して取付ける車体取付け部を備え、前記カプラ支持ステーは、前記メータ装置取付け用ステーおよび取付けボルトと干渉しない位置において、アッパーケースに取付けられていることを特徴とするものである。
請求項6に記載の発明は、請求項5に記載の車両用メータ装置において、
カプラ支持ステーは、前記メータ装置の車体取付け部より上方の位置でアッパーケースに取付けられることを特徴とするものである。
請求項7に記載の発明は、請求項1乃至請求項6に記載の車両用メータ装置において、
カプラ支持ステーは、少なくとも前記アッパーケースの幅方向中央部と、幅方向端部とに固定して取付けられることを特徴とするものである。
請求項8に記載の発明は、請求項1乃至請求項7に記載の車両用メータ装置において、
前記メータ装置は、スピードメータと、スピードメータの側方に配置される他の計器又はインジケータを少なくとも備え、前記カプラ支持ステーは、前記スピードメータと、スピードメータの側方に配置される他の計器またはインジケータの双方の背面にわたって配置されることを特徴とするものである。
請求項9に記載の発明は、請求項1乃至請求項8に記載の車両用メータ装置において、
カプラ支持ステーには、前記メータ装置の背面に沿う部分に開口部が設けられていることを特徴とするものである。
請求項10に記載の発明は、請求項1乃至請求項9に記載の車両用メータ装置において、
前記メータ装置を車体に取付けた状態で、カプラ支持ステーは、側面視で前記カプラが車両の前方へ傾くように、カプラ支持面が傾斜して設けてあることを特徴とするものである。
請求項11に記載の発明は、請求項1乃至請求項10に記載の車両用メータ装置において、
車体に取付けられるヘッドライトと、前記ヘッドライトの上方に配置される前記メータ装置の前方と前記ヘッドライトの周囲とを覆うフロントカウルを備え、前記カプラ支持ステーは、ヘッドライトの上方かつフロントカウルの内側に配置されることを特徴とするものである。
請求項12に記載の発明は、請求項11に記載の車両用メータ装置において、
前記フロントカウルの内側に配置されると共にヘッドライトを支持するインナーカウルを備え、前記インナーカウルはその上部に凹部が形成され、前記凹部に前記カプラ支持ステーが配置されることを特徴とするものである。
請求項13に記載の発明は、請求項11及び請求項12に記載の車両用メータ装置において、
前記ヘッドライトの上方には、車両の前後方向に伸びる遮蔽壁部が設けられ、前記カプラ支持ステーは前記遮蔽壁部の上方に配置されることを特徴とするものである。
請求項14に記載の発明は、請求項13に記載の車両用メータ装置において、
前記遮蔽壁部は前記インナーカウルから車両前方へ向けて伸びるよう形成されることを特徴とするものである。
請求項15に記載の発明は、請求項1乃至請求項14に記載の車両用メータ装置において、
ヘッドライト組立体において、フロントカウルをインナーカウルに取付け、
インナーカウルの下部をボトムブリッジに取付け、
インナーカウルの上部をステーを介してトップブリッジに取付ける方法により、
ヘッドライト組立体がメータ装置の下方に設けられることを特徴とするものである。
請求項1の発明において、
カプラ支持ステーを車両用メータ装置の背面側で、且つメータ装置の投影面積内に配置したので、カプラ支持ステーがメータケースから横方向へ突出するのを低減させることができ、外観性を高めることができると共に、周辺部品のレイアウトの自由度を高めることができる。また、カプラ支持ステーをアッパーケースに取付けたので、カプラの保持数を多くしてカプラ支持ステーを大型化した場合であっても、アッパーケースの外殻を使って広い範囲でカプラ支持ステーを支持することができ、カプラ支持ステーの剛性を確保することができる。
請求項2の発明において、
アッパーケースの外壁面にステー取付け部を設けたので、取付け部がアンダーケースと干渉することを防ぐことができ、アッパーケースの外形の小型化を図ることができる
請求項3の発明において、
アッパーケースの側壁をアンダーケースの側壁より下方まで延ばしたので、アッパーケースの剛性を高めることができる。
請求項4の発明において、
カプラ支持ステー取付け部をアッパーケースの開口端に設けたので、カプラ支持ステーを容易に取付けることができ、組立性が向上する。
請求項5の発明において、
前記カプラ支持ステーは、メータ装置取付け用ステーおよびメータ装置取付けボルトを避けてアッパーケースに取付けられるので、車体側との相互干渉を防ぐことができる。
請求項6の発明において、
カプラ支持ステーをメータ装置の車体取付け部より上方でアッパーケースに取付けられるので、カプラ結線時に、メータ装置の車体取付け部が邪魔になるのを防ぐことができる。したがって、結線作業の効率が向上する。
請求項7の発明において、
カプラ支持ステーは、少なくとも前記アッパーケースの幅方向中央部と、幅方向端部とに固定して取付けられるので、カプラ支持ステーを、アッパーケースのほぼ全体にわたって支持させることができ、支持剛性を強固なものにすることができる。
請求項8の発明において、
カプラ支持ステーを、各種計器類の背面にわたって配置するので、カプラ支持ステーの面積を十分に確保することができ、容易にカプラの保持数を増やすことができる。
請求項9の発明において、
カプラ支持ステーは、メータ装置の背面に対向する部分に開口部を設けてあるので、メータの放熱性を向上することができる。更に、開口部を形成することにより、メータ用ハーネスの取り廻しを行いやすくすることができる。
請求項10の発明において、
カプラ支持ステーのカプラ支持面を、カプラが車体前方へ傾くように傾斜させて設けてあるので、車両前方から、カプラにアクセスし易くなる。したがって、メータ装置を車体に固定した後でも、容易にカプラの結線作業を行うことができる。
請求項11の発明において、
フロントカウルの内側とヘッドライトの上方との間に形成されるデッドスペースにカプラ支持ステーを配置することができ、さらに、外乱の影響を受けにくくすることができる。
請求項12の発明において、
インナーカウルはその上部に凹部が形成され、そこにカプラ支持ステーを配置することができるので、インナーカウルとカプラ支持ステーとの干渉を防ぐことができると共に、インナーカウルによってカプラ支持ステーの周囲を保護することができる。
請求項13の発明において、
カプラ支持ステーが遮蔽壁部の上方に配置されるので、遮蔽壁部によってフロントカウルとヘッドライトとの間の隙間からの泥水等の侵入を防ぐことができ、カプラを保護することができる。
請求項14の発明において、
遮蔽壁部をインナーカウルから車両前方へ向けて形成してあるので、インナーカウルに泥水等の浸入を防ぐ機能を持たせることができる。
遮蔽壁部はフロントカウルの背面に形成しても、泥水等の浸入を防ぐ機能を持たせることができるが、この形状では、鋳造固化の際に、素材のポリプロピレンがの収縮し、収縮の影響がフロントカウルの表側に現れて車両の外観性を損ねるので、前記のように、遮蔽壁部をインナーカウルから車両前方へ向けて形成する方が、車両の外観性を高めることができる。
請求項15の発明において、
車両用メータ装置が取付けられていても、それに制約されることなくヘッドライト組立体を取付けることができる。
図1は本発明の一実施形態に係る自動二輪車1の側面図である。自動二輪車1の車体フレームはヘッドパイプ2と、同ヘッドパイプ2から斜め後方に延出するメインフレーム3と、メインフレーム3の後端から下方に延出するセンターフレーム4と、ヘッドパイプ2から下方に伸びるダウンフレーム5と、メインフレーム3から後方に延出するシートステー6と、センターフレーム4の下端とシートステー6を結ぶミッドフレーム7と、ダウンフレーム5とメインフレーム3とを結ぶ補強フレーム8と、を備えている。
前輪9を支持するフロントフォーク10が、ヘッドパイプ2の中に設けられたステアリングステム(図示なし)とトップブリッジ11とボトムブリッジ12とによって操向可能に支持されている。トップブリッジ11には操向ハンドル13が連結され、トップブリッジ11の前側には、メータ装置14が取付けてある。トップブリッジ11とボトムブリッジ12には、インナーカウル15とフロントカウル16によって覆われたヘッドライト17が取付けてある。ボトムブリッジ12には、前輪9を覆うフロントフェンダ18が取付けられている。また、センターフレーム4の後部には、後輪19を支持するリアフォーク20が上下揺動可能に支持され、シートステー6とリアフォーク20との間にはクッションユニット21が設けられている。
エンジン22は、補強フレーム8に設けられたエンジン支持ブラケット23によって、吊り下げ支持されると共に、ダウンフレーム5とセンターフレーム4に設けられたブラケット24、25よって前後を支持されている。エンジン22の動力は、後輪駆動用チェーン26を介して後輪19に伝達される。メインフレーム3には、エンジン22の上方に位置するようにして燃料タンク27が設けられ、シートステー6上には運転者用と同乗者用のタンデム型シート28が取付けられている。エンジンの後部には、吸気ポートに連なるスロットルボディ29とエアクリーナ30が設けられ、エンジン22の前部には、排気ポートから延出する排気管31が設けられ、後方へ伸び、後部のマフラー32に接続されている。エアクリーナ30の後方にバッテリ33が設けてある。
図2〜図4は、トップブリッジ11の図であり、図2はトップブリッジ11の上面図、図3は図2のIII−III断面図、図4は図2のIV−IV断面図である。以下の説明において、各部材の前後左右の表現は、各部材を車両に取付けた状態において、車両の前後左右に対応している。図2、図4において、矢印Fは前方を指している。前記の図において、トップブリッジ11の中央後部には、ステアリングステム挿通孔35が設けられ、左右両端部には、スリット36入りのフロントフォーク保持孔37が設けてある。ステアリングステムの上端部は、ボルト(図示なし)でトップブリッジ11に固定され、フロントフォーク10の上端部は、フロントフォーク保持孔37のスリット36にまたがって装着されたボルト38で締め付け固定される。前記ボルト38によって、後述のヘッドライト組立体取付け用ステー120が共締めされる(図32参照)。図2、図3にはヘッドライト組立体取付け用ステー120の取付け位置が、二点鎖線で示してある。その揺動防止用係合部120aも示してある。トップブリッジ11の後部上面には、操向ハンドル装着部39が設けられ、装着された操向ハンドル13(図1)は、図4に示されるように、上部にハンドル保持部材40をかぶせて、ネジ孔41に螺入されたボルト42で固定される。トップブリッジ11の左側前面には、後述のメータ装置取付け用ステー取付け用ネジ孔43が2箇所設けてある。トップブリッジ11の右側には、前方へ突出するメインスイッチ取付け部44が設けてある。メインスイッチ取付け部44の中央部のメインスイッチ取付け孔45に、メインスイッチとなる後述のメインスイッチ94(図22)が下から取付けられる。
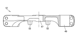
図5〜図6はボトムブリッジ12の図であり、図5はボトムブリッジ12の上面図、図6は図5のVI−VI断面図である。図5において矢印Fは前方をさしている。これらの図において、ボトムブリッジ12の中央後部に、ステアリングステム圧入孔47が設けられ、両端部にスリット48入りのフロントフォーク保持孔49が設けてある。ステアリングステムは、ステアリングステム圧入孔47に圧入固定される。フロントフォーク10はフロントフォーク保持孔49に挿入されて、スリット48にまたがって装着されたボルト50で締め付け固定される。ボトムブリッジ12の前面に、前方へ突出するインナーカウル下部突起挿入孔51が設けてある。これは、後述するヘッドライト17を保持するインナーカウル15の下部突起112(図25、図26)が挿入保持される孔である。ボトムブリッジ12の下面にフロントフェンダ取付けネジ孔52が4個設けてある。ボトムブリッジ12の後面に、スピードセンサハーネス取付けネジ孔53が設けてある。
図7は、ヘッドパイプ2内に回動可能に設けられているステアリングステム(図示なし)と、フロントフォーク10、トップブリッジ11、ボトムブリッジ12、との接続状態を示す側面図である。ステアリングステムの上端は、図示していないボルトでトップブリッジ11に固定され、ステアリングステムの下端は、ボトムブリッジ12のステアリングステム圧入孔47(図5)に圧入されている。フロントフォーク10の上端はボルト38で締め付け固定され、フロントフォーク10のボトムブリッジ挿通部は、ボルト50で締め付け固定されている。トップブリッジ11の前面には、メータ装置支持ステー取付けボルト54が用意してある。トップブリッジ11の右側前方にはメインスイッチ取付け部44が突出している。ボトムブリッジ12の前面に、前方へ突出するインナーカウル下部突起挿入孔51が設けてある。
図8〜図10はトップブリッジ11に取付けられるメータ装置14の図であり、図8はメータ装置14の上面図、図9は図8のIX−IX断面図、図10はメータ装置14の下面図である。図8において、メータ装置14の左半部は可動指針式スピードメータ57が占有し、メータ装置14の右半部には、ウインカー表示ランプ58、フューエルインジェクションシステム警告灯59、ハイビーム表示ランプ60、ニュートラル表示ランプ61等の、ランプ指示部62、および燃料残量計79が設けてある。図9において、メータ装置14の殻体はアンダーケース63とアッパーケース64とから成り、アッパーケース64の側面部はアンダーケース63の下部を覆うほど下方へ伸びている。アッパーケース64の上面には、左右にそれぞれ透明なメータ装置用レンズ65が嵌め込まれている。
アンダーケース63の左半部には筐体66と表示板67とを一体化した可動指針式ムーブメント68が取付けられ、アンダーケース63と筐体66と表示板67とを回動軸69が貫通し、回動軸69の上端に固定された指針70が、回動軸69と共に回動するようになっている。アンダーケースの右半部において、アンダーケース63とランプ式表示板71との間には、表示板71に設けられた光透過性材料からなる前記の複数の表示マーク72を下から照射する表示マーク照射用ランプ73が設けてある。
図10はメータ装置14の下面図である。メータ装置の下面には、前記複数のランプ73等の下面から延出する電気配線74がクランプ87によって支持され、これらの電気配線を束ねてメータ装置側ハーネス75が形成され、その先端はカプラ76に接続されている。クランプ87はアンダーケース63に取付けられている。アンダーケース63には複数の通気孔80が設けてある。アッパーケース64の周囲部に、後述のカプラ支持ステー取付け用ネジ孔78が3個設けてある。図9および図10において、スピードメータ57の下方のアンダーケース63に、メータ装置14を車体側へ取付けるための、3本のメータ装置取付けボルト77の頭部が埋設され、それらのネジ部77a(図9)が下方へ伸びている。
図11〜図13はカプラ支持ステー81の図であり、図11はカプラ支持ステー81の側面図、図12は図11のXII矢視図、図13は図11のXIII矢視図である。図11において、カプラ支持ステー81は、メータ装置14の下面に沿う部分とカプラ76を保持する部分とからなっている。図12はメータ装置14の下面に沿う面、図13はカプラ76を保持する面である。図12のメータ装置14の下面に沿う面には、バッテリカットリレー取付け部127が設けてある。また、開口部83が設けられているので、メータ装置14の放熱性を向上することができると共に、メータ装置側ハーネス75(図10)の取り廻しを行いやすくすることができる。図13に示されるカプラを支持する面には、ハーネスガイド部88と複数のカプラ保持孔82が設けてある。またカプラ支持ステー81の前縁には、メータ装置14のカプラ支持ステー取付け用ネジ孔78に取付けるための、ネジ挿通孔84が3箇所設けてある。
図14〜図15はカプラ支持ステー81をメータ装置14へ取付けた状態の図である。図14はメータ装置14の下面にカプラ支持ステー81が取付けられた状態を下から見た図である。カプラ支持ステー81は、メータ装置14の下面に、図12に示されている面を対向させ、縁部の中央と両端部に設けてあるネジ挿通孔84(図12)を、メータ装置14のアッパーケース64の外周下面に設けられたカプラ支持ステー取付け用ネジ孔78(図10)に対応させ、3本のネジ85によってメータ装置14のアッパーケース64に取付けられる。図15は、メータ装置14の背面側にカプラ支持ステー81を取付けた状態の正面図である。図に見られるようにメータ装置14の幅とカプラ支持ステー81の幅はほぼ等しい。カプラ支持ステーを車両用メータ装置の背面側で、且つメータ装置の投影面積内に配置したので、カプラ支持ステーがメータケースから横方向へ突出するのを低減させることができ、外観性を高めることができる。
図16は、メータ装置14に前記カプラ支持ステー81の取付けがなされた後、メータ装置側カプラ76が、カプラ支持ステー81のカプラ保持孔82(図13〜図15)に装着された状態の側面図である。カプラ保持孔82の下面側から接続先ハーネス95がカプラ76に接続されている。図16のようにメータ装置14とカプラ支持ステー81とハーネス75とカプラ76とが一体となったものをメータ装置組立体86と呼ぶ。
図17〜図19は、メータ装置組立体86を車体へ取付けるために用いるメータ装置取付け用ステー89の図である。図17はメータ装置取付け用ステー89の側面図、図18は図17のXVIII矢視図、図19は図17のXIX矢視図である。メータ装置取付け用ステー89は、平板を折り曲げて作られたものであり、車体側への取付け孔90が2個と、メータ装置取付け孔91が3個設けてある。更に鋼線で作られたハーネス保持部92が溶接されている。
図20は前記メータ装置取付け用ステー89を、車体側のトップブリッジ11に取付けた状態の側面図である。メータ装置取付け用ステー89は、図2に示されるトップブリッジ11の、メータ装置取付け用ステー取付け用ネジ孔43にメータ装置支持ステー取付けボルト54で取付けられる。
図21は前記メータ装置取付け用ステー89にメータ装置組立体86が取付けられた状態の側面図である。メータ装置組立体86は、メータ装置14のアンダーケース63に埋設されていた3本のメータ装置取付けボルト77(図16)とナット93によって、メータ装置取付け用ステー89のメータ装置取付け孔91(図19)に取付けられる。
図22は取付けが完了したメータ装置組立体86を下から見た斜視図である。メータ装置組立体86が取付けられた後に、メータ装置側ハーネス75に連なるメータ装置側カプラ76と、接続先ハーネス95に連なる接続先カプラが接続される。またメインスイッチ94から伸びるハーネス75bに連なるカプラ76bと、接続先ハーネス95に連なる接続先カプラが接続される。なお、接続先ハーネス95はバッテリ33(図1)等へ接続される。この時、トップブリッジ11のメインスイッチ取付け部44(図2)に下からメインスイッチ94が取付けられ、上部がキーシャッター(図示なし)で覆われる。
図23〜図24はヘッドライト17の図である。図23は、ヘッドライト17の縦断面図である。ヘッドライト17の殻体は、リフレクタ96とレンズ97とからなっている。リフレクタ96は凹面反射鏡であり、バルブホルダ98に装着されたバルブ99が後部中央に取付けられる。バルブホルダ98の後端から電気コード100が延出し、端部にヘッドライト用カプラ101が接続されている。図24はリフレクタ96の正面図である。リフレクタ96の上部には後述のインナーカウル15への係合突起102が2箇所設けてある。リフレクタ96の下部には、インナーカウル15に装着した後に使用されるビーム照射角度調節部103が1箇所設けてある。
図25〜図26はインナーカウル15の図であり、図25はインナーカウル15の側面図、図26はインナーカウル15の正面図である。インナーカウル15は前記ヘッドライト17を内部に保持すると共に、後述のフロントカウル16を外部に保持する部材であり、中央部は前後に貫通する中空部104となっている。図26において、中空部104は、上面壁105、下面壁106、および左右の側壁107に囲まれている。図25において、インナーカウル15の上面壁105は前方へ伸びて、メータ装置への泥水等の侵入を防ぐための遮蔽壁108となっている。上面壁105にはヘッドライト17の係合突起102(図23〜図24)が係合するヘッドライト係合孔109が2箇所設けてある。インナーカウルの下面壁106には、ヘッドライトのビーム照射角度調節部103(図23)が装着されるビーム照射角度調節用長孔110が1箇所設けてある。
インナーカウル15の後部左右にはそれぞれヘッドライト組立体取付け用ステー120(図29)へ取付けるための取付け孔111が設けてある。インナーカウル15の下部には、ボトムブリッジ12のインナカウル下部突起挿入孔51(図5)への挿入用の下部突起112が2箇所設けてある。インナーカウル15の上部および下部にはフロントカウル取付け用ネジ挿通孔113がそれぞれ2個ずつ設けてある。図26において、インナーカウル15の上部は、側壁107の上部と上面壁105の上面とによって、凹部119が形成されている。ヘッドライト組立体117を車体側に取付けた時、前記凹部119にメータ装置組立体86のカプラ支持ステー81を配置することができるので、相互の干渉を防ぐことができる。更にカプラ支持ステーの周囲部を保護することができる。
図27はインナーカウル15にヘッドライト17を装着した状態の側面図である。装着に際しては、インナーカウル15の上面壁に設けられたヘッドライト係合孔109に、ヘッドライト17のリフレクタ96の上部に設けられた係合突起102を挿入係合させ、インナーカウル15の下面壁のビーム照射角度調節用長孔110にリフレクタ96下部のビーム照射角度調節部103をネジ止めする。このネジ止めは仮のものであって、最終的なビーム照射角度調節は、ヘッドライト17が車体に取付けられた後に行われる。
図28はヘッドライト組立体117の完成状態の側面図である。図27に示されるヘッドライト17装着済みのインナーカウル15に、フロントカウル16を上から被せて取付けることによってヘッドライト組立体117が完成する。フロントカウル16は、メータ装置組立体86(図16)の前面を覆う位置に設けられる風雨除けの上部傾斜壁114と、メータ装置組立体86とヘッドライト17装着済みのインナーカウル15の左右を覆う側壁115とからなっている。左右の側壁115の上部と下部にインナーカウルへの取付け用ネジ孔116が形成してある。フロントカウル16は、インナーカウル15の取付けネジ挿通孔113(図26)に挿通したネジ118を、フロントカウル16のネジ孔116に螺入して一体化される。ネジ118は前方斜め下方へ向けて螺入される。
図29〜図31は、ヘッドライト組立体取付け用ステー120の図である。ヘッドライト組立体取付け用ステー120は、左右に対称に取付けられるものであり、図示のものは左側のヘッドライト組立体取付け用ステー120を示している。図29はヘッドライト組立体取付け用ステー120の側面図、図30は図29のXXX矢視図、図31は図29のXXXI矢視図である。ヘッドライト組立体取付け用ステー120の後端部に、トップブリッジ11への取付け用孔121が設けてある。ヘッドライト組立体取付け用ステー120の後端に、ヘッドライト組立体取付け用ステー120の揺動防止のためにトップブリッジ11へ係合する揺動防止用係合部120aが設けてある。ヘッドライト組立体取付け用ステー120の前端部には、ヘッドライト組立体取付け用ネジ孔122が設けてある。このヘッドライト組立体取付け用ステー120には、横方向へ伸びるウインカー取付け部123が一体化されている。更に、鋼線を曲げて作られた複数のハーネス保持部124が溶接されている。
図32は前記ヘッドライト組立体取付け用ステー120をトップブリッジ11に取付けた状態の側面図である。この時にはメータ装置組立体86は、既にトップブリッジ11へ取付けられている。ヘッドライト組立体取付け用ステー120は、トップブリッジ11の左右端部のスリット入りフロントフォーク保持孔37(図2)に、フロントフォーク10を締めつけるために取付けられたボルト38を、図29に示されるトップブリッジへの取付け用孔121に挿通して共締め(図2参照)して、トップブリッジ11に取付けられる。この時揺動防止用係合部120aはトップブリッジの端部の上下に係合し、ヘッドライト組立体取付け用ステー120の揺動が防止される。
図33は、図28に示したヘッドライト組立体117を、車体側へ取付けた状態を示す側面図である。ヘッドライト組立体117の取付けにあたっては、まずインナーカウル15の下部突起112(図25〜図26)を、ボトムブリッジ12のインナーカウル下部突起挿入孔51(図5)へ挿入した後、インナーカウル15上部の取付け孔111(図25、図28)にボルト125を挿通し、図29のヘッドライト組立体取付け用ステー120のヘッドライト取付け用ネジ孔122(図29)に螺入して固定する。これによってヘッドライト組立体117の車両への取付けが完了する。インナーカウル15の上面壁105(図25、図26)は、メータ装置組立体86のカプラ支持ステー81やカプラ76より下方に位置し、インナーカウル15の側壁107はカプラ支持ステー81の側方に位置する。即ちインナーカウル15の上部の凹部119(図26)にメータ装置組立体86のカプラ支持ステー81やカプラ76を配置することができるので、ヘッドライト組立体117とメータ装置組立体86との相互干渉を防ぐことができる。更にカプラ支持ステーの周囲部を保護することができる。
以上詳述したように、本実施形態では次の効果がもたらされる。
(1)カプラ支持ステーを車両用メータ装置の背面側で、且つメータ装置の投影面積内に配置したので、カプラ支持ステーがメータケースから横方向へ突出することを防ぐことができ、外観性を高めることができると共に、周辺部品のレイアウトの自由度を高めることができる。また、カプラ支持ステーをアッパーケースに取付けたので、カプラの保持数を多くしてカプラ支持ステーを大型化した場合であっても、アッパーケースの外殻を使って広い範囲でカプラ支持ステーを支持することができ、カプラ支持ステーの剛性を確保することができる。
(2)アッパーケースの外壁面にステー取付け部を設けたので、取付け部がアンダーケースと干渉することを防ぐことができ、アッパーケースの外形の小型化を図ることができる
(3)アッパーケースの側壁をアンダーケースの側壁より下方まで延ばしたので、アッパーケースの剛性を高めることができる。
(4)カプラ支持ステー取付け部をアッパーケースの開口端に設けたので、カプラ支持ステーを容易に取付けることができ、組立性が向上する。
(5)前記カプラ支持ステーは、メータ装置取付け用ステーおよびメータ装置取付けボルトを避けてアッパーケースに取付けられているので、車体側との相互干渉を防ぐことができる。
(6)カプラ支持ステーをメータ装置の車体取付け部より上方でアッパーケースに取付けられるので、カプラ結線時に、メータ装置の車体取付け部が邪魔になるのを防ぐことができる。したがって、結線作業の効率が向上する。
(7)カプラ支持ステーは、少なくとも、アッパーケースの幅方向中央部と幅方向両端部とに固定されるので、カプラ支持ステーは、アッパーケースのほぼ全体にわたって支持され、支持剛性を強固なものにすることができる。
(8)カプラ支持ステーを、各種計器類の背面にわたって配置するので、カプラ支持ステーの面積を十分に確保することができ、容易にカプラの保持数を増やすことができる。
(9)カプラ支持ステーは、メータ装置の背面に対向する部分に開口部を設けてあるので、メータの放熱性を向上することができる。更に、開口部を形成することにより、メータ用ハーネスの取り廻しを行いやすくすることができる。
(10)カプラ支持ステーのカプラ支持面を、カプラが車体前方へ傾くように傾斜させて設けてあるので、車両前方から、カプラにアクセスし易くなる。したがって、メータ装置を車体に固定した後でも、容易にカプラの結線作業を行うことができる。
(11)フロントカウルの内側とヘッドライトの上方との間に形成されるデッドスペースにカプラ支持ステーを配置することができるので、外乱の影響を受けにくい。
(12)インナーカウルの上部には凹部が形成され、そこにカプラ支持ステーを配置するので、ヘッドライト組立体のインナーカウルとカプラ支持ステーとの干渉を防ぐことができると共に、インナーカウルによってカプラ支持ステーの周囲を保護することがができる。
(13)カプラ支持ステーが遮蔽壁部の上方に配置されるので、遮蔽壁部によってフロントカウルとヘッドライトとの間の隙間からの泥水等の侵入を防ぐことができ、カプラを保護することができる。
(14)遮蔽壁部をインナーカウルから車両前方へ向けて形成してあるので、インナーカウルに泥水等の浸入を防ぐ機能を持たせることができる。遮蔽壁部を、フロントカウル側ではなく、インナーカウル側に設けて車両前方へ向けて形成してあるので、車両の外観性を高めることができる。
(15)車両用メータ装置が取付けられていても、それに制約されることなくヘッドライト組立体を取付けることができる。
本発明の一実施形態に係る自動二輪車の側面図である。 トップブリッジの上面図である。 図2のIII−III断面図である。 図2のIV−IV断面図である。 ボトムブリッジの上面図である。 図5のVI−VI断面図である。 トップブリッジ、ボトムブリッジ、フロントフォークの接続を示す側面図である。 メータ装置の上面図である。 図8のIX−IX断面図である。 メータ装置の下面図である。 カプラ支持ステーの側面図である。 図11のXII矢視図である。 図11のXIII矢視図である。 メータ装置の下面にカプラ支持ステーが取付けられた状態を下から見た図。 メータ装置の背面側にカプラ支持ステーを取付けた状態の正面図である。 前記の取付け状態の側面図である。 メータ装置取付け用ステーの側面図である。 図17のXVIII矢視図である。 図17のXIX矢視図である。 メータ装置取付け用ステーをトップブリッジに取付けた状態の側面図である。 メータ装置取付け用ステーにメータ装置組立体を取付けた状態の側面図である。 車体側への取付けが完了したメータ装置組立体を下から見た斜視図である。 ヘッドライトの縦断面図である。 リフレクタの正面図である。 インナーカウルの側面図である。 インナーカウルの正面図である。 インナーカウルにヘッドライトを装着した状態の側面図である。 ヘッドライト組立体の完成状態の側面図である。 ヘッドライト取付け用ステーの側面図である。 図29のXXX矢視図である。 図29のXXXI矢視図である。 ヘッドライト取付け用ステーをトップブリッジに取付けた状態の側面図である。 ヘッドライト組立体を、車体側へ取付けた状態を示す側面図である。
符号の説明
11…トップブリッジ、12…ボトムブリッジ、14…メータ装置、15…インナーカウル、16…フロントカウル、17…ヘッドライト、43…メータ装置取付け用ステー取付け用ネジ孔、44…メインスイッチ取付け部、51…インナーカウル下部突起挿入孔、54…メータ装置支持ステー取付けボルト、63…アンダーケース、64…アッパーケース、68…可動指針式ムーブメント、71…ランプ式表示板、74…電気配線、75…メータ装置側ハーネス、76…メータ装置側カプラ、77…メータ装置取付けボルト、78…カプラ支持ステー取付け用ネジ孔、81…カプラ支持ステー、82…カプラ保持孔、83…開口部、84…ネジ挿通孔、86…メータ装置組立体、89…メータ装置取付け用ステー、105…上面壁、106…下面壁、107…側壁、108…遮蔽壁、117…ヘッドライト組立体、119…凹部(インナーカウルの上部)、120…ヘッドライト組立体取付け用ステー

Claims (15)

  1. 計器を収納すると共に上部を開口して凹状に形成されたアンダーケースと、
    計器の上部にレンズを備えると共に下部を開口して凹状に形成されたアッパーケースとから成り、
    前記アッパーケースは前記アンダーケースの開口側からアンダーケースの外側に重なるようにして取付けられる車両用メータ装置において、
    メータ用ハーネスと接続先ハーネスとを接続させるカプラを支持するカプラ支持ステーを設け、
    前記カプラ支持ステーを、前記メータ装置の背面側で、且つメータ装置の投影面積内に配置し、前記アッパーケースに取付けたことを特徴とする車両用メータ装置。
  2. 前記アッパーケースの外壁面に、前記カプラ支持ステーを取付けるステー取付け部を設けたことを特徴とする請求項1に記載の車両用メータ装置。
  3. 前記アッパーケースの側壁を、前記アンダーケースの側壁より下方まで延ばしたことを特徴とする請求項2に記載の車両用メータ装置。
  4. 前記カプラ支持ステー取付け部は、前記アッパーケースの開口端に設けられることを特徴とする請求項3に記載の車両用メータ装置。
  5. 前記メータ装置は、予めトップブリッジ又は車体フレームに取付けられたメータ装置取付けステーに、アンダーケースに設けられた取付けボルトを介して取付ける車体取付け部を備え、
    前記カプラ支持ステーは、前記メータ装置取付けステーおよび取付けボルトと干渉しない位置において、アッパーケースに取付けられていることを特徴とする請求項1乃至請求項4に記載の車両用メータ装置。
  6. カプラ支持ステーは、前記メータ装置の車体取付け部より上方の位置でアッパーケースに取付けられることを特徴とする請求項5に記載の車両用メータ装置。
  7. カプラ支持ステーは、少なくとも前記アッパーケースの幅方向中央部と、幅方向端部とに固定して取付けられることを特徴とする請求項1乃至請求項6に記載の車両用メータ装置。
  8. 前記メータ装置は、スピードメータと、スピードメータの側方に配置される他の計器又はインジケータを少なくとも備え、前記カプラ支持ステーは、前記スピードメータと、スピードメータの側方に配置される他の計器またはインジケータの双方の背面にわたって配置されることを特徴とする請求項1乃至請求項7に記載の車両用メータ装置。
  9. カプラ支持ステーには、前記メータ装置の背面に沿う部分に開口部が設けられていることを特徴とする請求項1乃至請求項8に記載の車両用メータ装置。
  10. 前記メータ装置を車体に取付けた状態で、カプラ支持ステーは、側面視で前記カプラが車両の前方へ傾くように、カプラ支持面が傾斜して設けてあることを特徴とする請求項1乃至請求項9に記載の車両用メータ装置。
  11. 車体に取付けられるヘッドライトと、
    前記ヘッドライトの上方に配置される前記メータ装置の前方と前記ヘッドライトの周囲とを覆うフロントカウルを備え、
    前記カプラ支持ステーは、ヘッドライトの上方かつフロントカウルの内側に配置されることを特徴とする請求項1乃至請求項10に記載の車両用メータ装置。
  12. 前記フロントカウルの内側に配置されると共にヘッドライトを支持するインナーカウルを備え、
    前記インナーカウルはその上部に凹部が形成され、
    前記凹部に前記カプラ支持ステーが配置されることを特徴とする請求項11に記載の車両用メータ装置。
  13. 前記ヘッドライトの上方には、車両の前後方向に伸びる遮蔽壁部が設けられ、
    前記カプラ支持ステーは前記遮蔽壁部の上方に配置されることを特徴とする請求項11及び請求項12に記載の車両用メータ装置。
  14. 前記遮蔽壁部は前記インナーカウルから車両前方へ向けて伸びるよう形成されることを特徴とする請求項13に記載の車両用メータ装置。
  15. ヘッドライト組立体において、フロントカウルをインナーカウルに取付け、
    インナーカウルの下部をボトムブリッジに取付け、
    インナーカウルの上部をステーを介してトップブリッジに取付ける方法により、
    ヘッドライト組立体がメータ装置の下方に設けられることを特徴とする請求項1乃至請求項14に記載の車両用メータ装置。
JP2008321264A 2008-12-17 2008-12-17 車両用メータ装置 Expired - Fee Related JP4871349B2 (ja)

Priority Applications (5)

Application Number Priority Date Filing Date Title
JP2008321264A JP4871349B2 (ja) 2008-12-17 2008-12-17 車両用メータ装置
MX2009012865A MX2009012865A (es) 2008-12-17 2009-11-27 Dispositivo contador para uso en vehiculos.
PE2009001304A PE20100612A1 (es) 2008-12-17 2009-12-11 Dispositivo medidor para uso en un vehiculo
BRPI0905049-3A BRPI0905049B1 (pt) 2008-12-17 2009-12-11 Dispositivo medidor de uso veicular
ARP090104873 AR075315A1 (es) 2008-12-17 2009-12-15 Dispositivo de medicion para usar en vehiculos

Applications Claiming Priority (1)

Application Number Priority Date Filing Date Title
JP2008321264A JP4871349B2 (ja) 2008-12-17 2008-12-17 車両用メータ装置

Publications (2)

Publication Number Publication Date
JP2010143331A true JP2010143331A (ja) 2010-07-01
JP4871349B2 JP4871349B2 (ja) 2012-02-08

Family

ID=42564215

Family Applications (1)

Application Number Title Priority Date Filing Date
JP2008321264A Expired - Fee Related JP4871349B2 (ja) 2008-12-17 2008-12-17 車両用メータ装置

Country Status (5)

Country Link
JP (1) JP4871349B2 (ja)
AR (1) AR075315A1 (ja)
BR (1) BRPI0905049B1 (ja)
MX (1) MX2009012865A (ja)
PE (1) PE20100612A1 (ja)

Cited By (5)

* Cited by examiner, † Cited by third party
Publication number Priority date Publication date Assignee Title
CN101920739A (zh) * 2010-08-31 2010-12-22 力帆实业(集团)股份有限公司 摩托车前导流罩
JP2016068699A (ja) * 2014-09-29 2016-05-09 本田技研工業株式会社 鞍乗り型車両
WO2017130616A1 (ja) * 2016-01-28 2017-08-03 本田技研工業株式会社 鞍乗型車両用カプラー保持構造
DE112018004932B4 (de) 2017-09-07 2024-06-13 Honda Motor Co., Ltd. Struktur für einen vorderen teil eines sattelfahrzeugs
WO2024135830A1 (ja) * 2022-12-22 2024-06-27 本田技研工業株式会社 鞍乗り型車両のメータ構造

Citations (5)

* Cited by examiner, † Cited by third party
Publication number Priority date Publication date Assignee Title
JPS5750492A (en) * 1980-09-10 1982-03-24 Casio Computer Co Ltd Printed circuit board and method of producing same
JPS58177159A (ja) * 1982-04-12 1983-10-17 Koken Kk 静電気式空気ろ過フイルタ
JPS62127879A (ja) * 1985-11-29 1987-06-10 Ricoh Co Ltd 転写装置
JPH08192665A (ja) * 1995-01-17 1996-07-30 Nippondenso Co Ltd 車両用計器の防水構造
JP2007125902A (ja) * 2005-10-31 2007-05-24 Honda Motor Co Ltd 自動二輪車用メータ装置

Patent Citations (5)

* Cited by examiner, † Cited by third party
Publication number Priority date Publication date Assignee Title
JPS5750492A (en) * 1980-09-10 1982-03-24 Casio Computer Co Ltd Printed circuit board and method of producing same
JPS58177159A (ja) * 1982-04-12 1983-10-17 Koken Kk 静電気式空気ろ過フイルタ
JPS62127879A (ja) * 1985-11-29 1987-06-10 Ricoh Co Ltd 転写装置
JPH08192665A (ja) * 1995-01-17 1996-07-30 Nippondenso Co Ltd 車両用計器の防水構造
JP2007125902A (ja) * 2005-10-31 2007-05-24 Honda Motor Co Ltd 自動二輪車用メータ装置

Cited By (9)

* Cited by examiner, † Cited by third party
Publication number Priority date Publication date Assignee Title
CN101920739A (zh) * 2010-08-31 2010-12-22 力帆实业(集团)股份有限公司 摩托车前导流罩
JP2016068699A (ja) * 2014-09-29 2016-05-09 本田技研工業株式会社 鞍乗り型車両
WO2017130616A1 (ja) * 2016-01-28 2017-08-03 本田技研工業株式会社 鞍乗型車両用カプラー保持構造
CN108463403A (zh) * 2016-01-28 2018-08-28 本田技研工业株式会社 跨骑式车辆用联接器保持结构
JPWO2017130616A1 (ja) * 2016-01-28 2018-08-30 本田技研工業株式会社 鞍乗型車両用カプラー保持構造
DE112018004932B4 (de) 2017-09-07 2024-06-13 Honda Motor Co., Ltd. Struktur für einen vorderen teil eines sattelfahrzeugs
WO2024135830A1 (ja) * 2022-12-22 2024-06-27 本田技研工業株式会社 鞍乗り型車両のメータ構造
JPWO2024135830A1 (ja) * 2022-12-22 2024-06-27
JP7814555B2 (ja) 2022-12-22 2026-02-16 本田技研工業株式会社 鞍乗り型車両のメータ構造

Also Published As

Publication number Publication date
BRPI0905049B1 (pt) 2020-06-16
AR075315A1 (es) 2011-03-23
PE20100612A1 (es) 2010-09-09
BRPI0905049A2 (pt) 2011-02-08
JP4871349B2 (ja) 2012-02-08
MX2009012865A (es) 2010-06-22

Similar Documents

Publication Publication Date Title
JP4104198B2 (ja) 自動2輪車のヘッドライト及びスピードメータ取付装置
US7681681B2 (en) Meter device of motorcycle
CN102811900B (zh) 车辆的显示装置
JP5328544B2 (ja) 鞍乗り型車両におけるメータカバー構造
CN112188979A (zh) 跨骑型车辆
CN204341290U (zh) 跨骑型车辆的前盖罩结构
JP4871349B2 (ja) 車両用メータ装置
JP5793932B2 (ja) 鞍乗型車両
US20060056191A1 (en) Vehicle
TWI427014B (zh) 跨坐型車輛之方向指示裝置
JP4525256B2 (ja) 自動二輪車のリヤビューミラー支持構造
EP3536531B1 (en) Straddled vehicle
JP2019119441A (ja) 鞍乗り型車両のフロントカウル構造
JP5345484B2 (ja) 自動二輪車
JP5921508B2 (ja) 自動二輪車のメータ装置
JP6119161B2 (ja) 自動二輪車
JP2013035305A (ja) 自動二輪車
JP5129060B2 (ja) 車両のカウルステー構造
JP5775914B2 (ja) 鞍乗り型車両における電装部品のケーブル配索構造
JP2015013536A (ja) 自動二輪車用メータ装置
CN204210638U (zh) 摩托车的后部组合单元
JP4458426B2 (ja) ウィンカ取付構造体
JPH0995273A (ja) 自動2輪車のカウリングステー
JP2021030797A (ja) スクータ型車両
JP4683502B2 (ja) ウィンカ取付構造体

Legal Events

Date Code Title Description
A621 Written request for application examination

Free format text: JAPANESE INTERMEDIATE CODE: A621

Effective date: 20101126

A131 Notification of reasons for refusal

Free format text: JAPANESE INTERMEDIATE CODE: A131

Effective date: 20110419

A977 Report on retrieval

Free format text: JAPANESE INTERMEDIATE CODE: A971007

Effective date: 20110421

A521 Written amendment

Free format text: JAPANESE INTERMEDIATE CODE: A523

Effective date: 20110620

TRDD Decision of grant or rejection written
A01 Written decision to grant a patent or to grant a registration (utility model)

Free format text: JAPANESE INTERMEDIATE CODE: A01

Effective date: 20111108

A01 Written decision to grant a patent or to grant a registration (utility model)

Free format text: JAPANESE INTERMEDIATE CODE: A01

A61 First payment of annual fees (during grant procedure)

Free format text: JAPANESE INTERMEDIATE CODE: A61

Effective date: 20111118

R150 Certificate of patent or registration of utility model

Free format text: JAPANESE INTERMEDIATE CODE: R150

Ref document number: 4871349

Country of ref document: JP

Free format text: JAPANESE INTERMEDIATE CODE: R150

FPAY Renewal fee payment (event date is renewal date of database)

Free format text: PAYMENT UNTIL: 20141125

Year of fee payment: 3

LAPS Cancellation because of no payment of annual fees