JP2010055100A - 画素領域外郭部の光漏れを防止するcot構造液晶表示装置及びその製造方法 - Google Patents

画素領域外郭部の光漏れを防止するcot構造液晶表示装置及びその製造方法 Download PDF

Info

Publication number
JP2010055100A
JP2010055100A JP2009254704A JP2009254704A JP2010055100A JP 2010055100 A JP2010055100 A JP 2010055100A JP 2009254704 A JP2009254704 A JP 2009254704A JP 2009254704 A JP2009254704 A JP 2009254704A JP 2010055100 A JP2010055100 A JP 2010055100A
Authority
JP
Japan
Prior art keywords
pixel region
array substrate
liquid crystal
crystal display
forming
Prior art date
Legal status (The legal status is an assumption and is not a legal conclusion. Google has not performed a legal analysis and makes no representation as to the accuracy of the status listed.)
Granted
Application number
JP2009254704A
Other languages
English (en)
Other versions
JP4643738B2 (ja
Inventor
Dong-Guk Kim
東 国 金
Current Assignee (The listed assignees may be inaccurate. Google has not performed a legal analysis and makes no representation or warranty as to the accuracy of the list.)
LG Display Co Ltd
Original Assignee
LG Display Co Ltd
Priority date (The priority date is an assumption and is not a legal conclusion. Google has not performed a legal analysis and makes no representation as to the accuracy of the date listed.)
Filing date
Publication date
Application filed by LG Display Co Ltd filed Critical LG Display Co Ltd
Publication of JP2010055100A publication Critical patent/JP2010055100A/ja
Application granted granted Critical
Publication of JP4643738B2 publication Critical patent/JP4643738B2/ja
Anticipated expiration legal-status Critical
Expired - Lifetime legal-status Critical Current

Links

Images

Classifications

    • GPHYSICS
    • G02OPTICS
    • G02FOPTICAL DEVICES OR ARRANGEMENTS FOR THE CONTROL OF LIGHT BY MODIFICATION OF THE OPTICAL PROPERTIES OF THE MEDIA OF THE ELEMENTS INVOLVED THEREIN; NON-LINEAR OPTICS; FREQUENCY-CHANGING OF LIGHT; OPTICAL LOGIC ELEMENTS; OPTICAL ANALOGUE/DIGITAL CONVERTERS
    • G02F1/00Devices or arrangements for the control of the intensity, colour, phase, polarisation or direction of light arriving from an independent light source, e.g. switching, gating or modulating; Non-linear optics
    • G02F1/01Devices or arrangements for the control of the intensity, colour, phase, polarisation or direction of light arriving from an independent light source, e.g. switching, gating or modulating; Non-linear optics for the control of the intensity, phase, polarisation or colour 
    • G02F1/13Devices or arrangements for the control of the intensity, colour, phase, polarisation or direction of light arriving from an independent light source, e.g. switching, gating or modulating; Non-linear optics for the control of the intensity, phase, polarisation or colour  based on liquid crystals, e.g. single liquid crystal display cells
    • G02F1/133Constructional arrangements; Operation of liquid crystal cells; Circuit arrangements
    • G02F1/136Liquid crystal cells structurally associated with a semi-conducting layer or substrate, e.g. cells forming part of an integrated circuit
    • G02F1/1362Active matrix addressed cells
    • G02F1/136204Arrangements to prevent high voltage or static electricity failures
    • GPHYSICS
    • G02OPTICS
    • G02FOPTICAL DEVICES OR ARRANGEMENTS FOR THE CONTROL OF LIGHT BY MODIFICATION OF THE OPTICAL PROPERTIES OF THE MEDIA OF THE ELEMENTS INVOLVED THEREIN; NON-LINEAR OPTICS; FREQUENCY-CHANGING OF LIGHT; OPTICAL LOGIC ELEMENTS; OPTICAL ANALOGUE/DIGITAL CONVERTERS
    • G02F1/00Devices or arrangements for the control of the intensity, colour, phase, polarisation or direction of light arriving from an independent light source, e.g. switching, gating or modulating; Non-linear optics
    • G02F1/01Devices or arrangements for the control of the intensity, colour, phase, polarisation or direction of light arriving from an independent light source, e.g. switching, gating or modulating; Non-linear optics for the control of the intensity, phase, polarisation or colour 
    • G02F1/13Devices or arrangements for the control of the intensity, colour, phase, polarisation or direction of light arriving from an independent light source, e.g. switching, gating or modulating; Non-linear optics for the control of the intensity, phase, polarisation or colour  based on liquid crystals, e.g. single liquid crystal display cells
    • G02F1/133Constructional arrangements; Operation of liquid crystal cells; Circuit arrangements
    • G02F1/1333Constructional arrangements; Manufacturing methods
    • G02F1/1335Structural association of cells with optical devices, e.g. polarisers or reflectors
    • GPHYSICS
    • G02OPTICS
    • G02FOPTICAL DEVICES OR ARRANGEMENTS FOR THE CONTROL OF LIGHT BY MODIFICATION OF THE OPTICAL PROPERTIES OF THE MEDIA OF THE ELEMENTS INVOLVED THEREIN; NON-LINEAR OPTICS; FREQUENCY-CHANGING OF LIGHT; OPTICAL LOGIC ELEMENTS; OPTICAL ANALOGUE/DIGITAL CONVERTERS
    • G02F1/00Devices or arrangements for the control of the intensity, colour, phase, polarisation or direction of light arriving from an independent light source, e.g. switching, gating or modulating; Non-linear optics
    • G02F1/01Devices or arrangements for the control of the intensity, colour, phase, polarisation or direction of light arriving from an independent light source, e.g. switching, gating or modulating; Non-linear optics for the control of the intensity, phase, polarisation or colour 
    • G02F1/13Devices or arrangements for the control of the intensity, colour, phase, polarisation or direction of light arriving from an independent light source, e.g. switching, gating or modulating; Non-linear optics for the control of the intensity, phase, polarisation or colour  based on liquid crystals, e.g. single liquid crystal display cells
    • G02F1/133Constructional arrangements; Operation of liquid crystal cells; Circuit arrangements
    • G02F1/136Liquid crystal cells structurally associated with a semi-conducting layer or substrate, e.g. cells forming part of an integrated circuit
    • G02F1/1362Active matrix addressed cells
    • G02F1/136222Colour filters incorporated in the active matrix substrate

Landscapes

  • Physics & Mathematics (AREA)
  • Nonlinear Science (AREA)
  • Liquid Crystal (AREA)
  • Mathematical Physics (AREA)
  • Chemical & Material Sciences (AREA)
  • Crystallography & Structural Chemistry (AREA)
  • General Physics & Mathematics (AREA)
  • Optics & Photonics (AREA)
  • Engineering & Computer Science (AREA)
  • Microelectronics & Electronic Packaging (AREA)
  • Devices For Indicating Variable Information By Combining Individual Elements (AREA)

Abstract

【課題】アレイ基板上にブラックマトリックスを形成する工程において、画素領域外郭部にブラックマトリックスを更に形成することで、画素領域外郭部の光漏れ現象を防止するCOT構造液晶表示装置及びその製造方法を提供する。
【解決手段】本発明に係るCOT構造液晶表示素子においては、ゲートライン及びゲートラインと垂直交差するデータラインにより定義される単位画素がマトリックス配列される画素領域と、ゲートライン及びデータラインとそれぞれ連結されて、画素領域の外郭に形成されるパッド部と、パッド部と画素領域間に形成されるシールパターンと、シールパターンと画素領域間に形成されて、第1ブラックマトリックスを有する画素領域外郭部と、パッド部と画素領域間に形成される静電気防止回路部を具備する第1基板と、を包含して構成されることを特徴とする。
【選択図】図1

Description

本発明は、COT構造の液晶表示装置に係るもので、詳しくは、画素領域外郭部にブラックマトリックスが形成された液晶表示装置に関するものである。
液晶表示装置は、屈折率異方性及び誘電率異方性を有する液晶を利用して映像を表現する表示装置であって、単位画素がマトリックス状に配列されるアレイ基板と、アレイ基板に対向してイメージをカラーに表現するカラーフィルター基板と、カラーフィルター基板とアレイ基板間に液晶が充填される構造を有する。
今日、液晶表示装置は、鮮明な色相を実現して輝度に優れたTN(twisted nematic)モードの液晶表示装置が広用されている。TNモードの液晶表示装置は、単位画素がマトリックス状に配列されるアレイ基板と、アレイ基板と対向してカラーフィルター層が形成されるカラーフィルター基板と、二つの基板間に螺旋形に配列される液晶層と、を具備する。アレイ基板には、スイッチング素子である薄膜トランジスタ(TFT)が各画素毎に形成されるために、TFTアレイ基板と呼ぶ。
液晶表示装置は、自ら光を生成し得ないため、外部から光を供給するバックライトアセンブリを更に具備する。通常、TNモードの液晶表示装置は、TFTアレイ基板の下部で光が進行して液晶層及び上部カラーフィルター層を通過して映像を表示するようになる。
ところが、TFTアレイ基板の下部で進行する光のうち一部は、不必要な光であるため、遮断すべきであるが、不必要な光を遮断することがブラックマトリックスである。ブラックマトリックスは、通常、不透明な金属箔膜や有機膜によりカラーフィルター層上に形成される。
しかし、ブラックマトリックスがカラーフィルター基板上に形成される液晶表示装置は、アレイ基板とカラーフィルター基板とを精密に貼り合わせることが難しく、液晶パネルの製造工程がカラーフィルター基板の製造工程とTFTアレイ基板の製造工程に分散される問題がある。
従って、ブラックマトリックス及びカラーフィルター層の製造工程をアレイ基板に形成して液晶パネルの形成工程をアレイ基板に集中させることができ、貼り合わせ工程でアレイ基板とカラーフィルター基板のアラインを容易にするために、カラーフィルター層がアレイ基板に形成されるカラーフィルターオンTFT(Color filter On Glass:COT)構造の液晶表示装置が提案された。
以下、図4を参照してCOT構造の液晶表示装置の構造について説明する。
COT構造の液晶表示装置は、カラーフィルター層110及びブラックマトリックス111がアレイ基板上に形成されるのが特徴である。COT構造の液晶表示装置は、アレイ基板とこれと対向する上部基板に区分され、アレイ基板は、スイッチング素子であるTFTと単位画素毎に形成されるカラーフィルター層と、カラーフィルター層間に形成されるブラックマトリックスを具備することを特徴とする。
また、ブラックマトリックスは、ゲートライン及びデータラインなどの反転ドメイン領域から漏洩する光を遮断する。以下、COT構造液晶表示装置のアレイ基板の構造について、図4を参照してより詳しく説明する。
COT構造のアレイ基板は、ガラスなどの透明な基板101上に薄膜トランジスタTFTがマトリックス状に配列される。また、アレイ基板には、ゲートライン(図示せず)とデータライン108とが互いに垂直に交差して単位画素を定義する。単位画素の一方側にTFTが形成される。
以下、TFTの構成についてより詳細に説明すると、スキャン信号を供給するゲート電極103と、ゲート電極103上に形成されるゲート絶縁層102と、ゲート絶縁層102上に形成される半導体層のアクティブ層104と、アクティブ層104とソース105及びドレイン電極106をオーム接触させるオームコンタクト層107と、を包含して構成される。
また、TFT上には、TFTを外部から保護して絶縁する保護層(passivation layer)109が更に形成されている。
また、保護層109上には、ブラックマトリックス111が形成されるが、ブラックマトリックス111は、ゲートライン及びデータラインの周囲の反転ドメイン(reverse tilt domain)領域を通過する不必要な光を遮断するために、マトリックス状に配列される。また、ゲートラインとデータラインとの交差により定義される画素領域には、赤、緑、青色のサブカラーフィルター層110のうち何れか一つが画素毎に一つずつ形成されている。
また、TFTのドレイン電極106の上部には、コンタクトホールが形成されて画素電極112と相互連結されている。
一方、TFTアレイ基板と対向する上部基板は、ガラスなどの透明な基板150と、基板150上に形成される共通電極151と、共通電極151上に液晶の初期配向のための配向膜152が形成される。
また、配向膜152は、TFTアレイ基板上にも形成されることができる。
一方、TFTアレイ基板は、画素電極112が形成される画素領域の外郭には、ゲート電圧及びデータ電圧を供給するゲートパッド部及びデータパッド部が形成されるパッド部と、上部基板とアレイ基板とを貼り合わせるシーラント(sealant)が形成されるシール領域と、画素領域に隣接する画素領域外郭部と、が形成される。
ところが、画素領域外郭部からバックライトの光が漏洩するという問題が発生する。光を遮断するために、画素領域外郭部に対応する上部基板には、ブラックマトリックスが形成される。
図5を参照して液晶表示パネルの画素領域外郭部の構造について説明する。
アレイ基板は、図5に示すように、画素領域Aと、画素領域Aに隣接する画素領域外郭部0と、シールライン170が形成されるシール領域Pと、各種パッドが形成されるパッド部Qと、がそれぞれ配置される。
また、画素領域Aとシールライン170間の領域である画素領域外郭部0には、画素領域に印加され得る外部の静電気を遮断するための静電気放電(electrostatic discharge、ESD)回路が形成される。ESD回路は、複数のTFTの組合により構成され得るが、その一端子は、パッド170と連結されて、他の端子は、画素電極物質であるITO(Indium Tin Oxide)により画素領域の他の配線と連結される。従って、外部の静電気がパッド170を通って画素領域に進入すると、ESD回路171が作動して静電気を液晶パネルの他の配線に分散させて画素を保護する。
ところが、ESD回路171が形成される画素領域外郭部は、透明な保護層により覆われているため、画素領域外郭部0に光が漏洩する問題が発生する。
上記のような問題を解決するために、液晶表示パネルを外郭から覆うトップケース175の外形により遮断しようとする努力があったが、トップケース175は、上部基板150の上段に設置される偏光板174と接触されてはいけないために、画素領域外郭部0を遮るのに限界があった。
画素領域外郭部を通した光漏れを防止するために、COT構造の液晶表示装置は、画素領域外郭部0を遮るブラックマトリックス173を上部基板150に更に形成する。また、ブラックマトリックス層173は、主に不透明な金属層に形成される。従って、上部基板にブラックマトリックス173が更に追加されるために、COT構造の液晶表示装置は、上部基板150にブラックマトリックスを形成する工程が別途に必要となる。
即ち、このような従来のCOT構造の液晶表示装置においては、アレイ基板の製造工程と上部基板の製造工程において、それぞれ一回ずつ2回のブラックマトリックス形成工程が必要であるという問題があった。
本発明は、このような従来技術の問題を解決するためになされたもので、アレイ基板上にブラックマトリックスを形成する工程において、画素領域外郭部にブラックマトリックスを更に形成して画素領域外郭部の光漏れ現象を防止することを目的とする。また、本発明は、アレイ基板のブラックマトリックス形成工程において、画素領域外郭部にもブラックマトリックスを更に形成することで、上部基板上にブラックマトリックスを形成する工程を省略して全体の製造工程を短縮することを目的とする。
このような目的を達成するために、本発明に係るCOT構造の液晶表示装置においては、第1ブラックマトリックス及びカラーフィルター層を包含する画素領域と、画素領域の外郭に形成されるシールパターンと、シールパターンと画素領域間の光漏れを防止する第2ブラックマトリックスと、第2ブラックマトリックスの外郭に形成される静電気放電回路を具備するアレイ基板と、アレイ基板と対向する上部基板と、を包含して構成されることを特徴とする。
また、本発明に係るCOT構造液晶表示装置の製造工程においては、基板上の画素領域にゲート電極、アクティブ層及びアクティブ層と連結されるソース及びドレイン電極を具備する薄膜トランジスタを形成する段階と、薄膜トランジスタを保護する保護層を形成する段階と、保護層上に画素領域外郭部へ延長されるブラックマトリックスを形成する段階と、ブラックマトリックスの間にカラーフィルター層を形成する段階と、ドレイン電極と連結される画素電極をカラーフィルター層上に形成する段階と、を順次行うアレイ基板形成段階と、アレイ基板と対向する上部基板を形成する段階及びアレイ基板と上部基板をシールパターンにより貼り合わせる段階と、を順次行うことを特徴とする。
本発明に係るCOT構造液晶表示装置及びその製造方法においては、COT構造の液晶表示装置を製造する時、アレイ基板に形成されるブラックマトリックスを画素領域外郭部に更に形成して画素領域外郭部の光漏れ現象を防止して画素領域と画素領域外郭部にブラックマトリックスを同時に形成することで、工程を短縮し得るという効果がある。即ち、上部基板にブラックマトリックスを形成しなくても済むため、上部基板にブラックマトリックスを形成する工程を減らし得るという効果がある。
本発明に係るCOT構造液晶表示装置を示す断面図である。 他の実施形態による本発明に係る液晶表示装置を示す断面図である。 本発明に係る液晶表示装置の製造工程を示すフローチャートである。 図3Aに続く液晶表示装置の製造工程を示すフローチャートである。 図3Bに続く液晶表示装置の製造工程を示すフローチャートである。 図3Cに続く液晶表示装置の製造工程を示すフローチャートである。 図3Dに続く液晶表示装置の製造工程を示すフローチャートである。 図3Eに続く液晶表示装置の製造工程を示すフローチャートである。 図3Fに続く液晶表示装置の製造工程を示すフローチャートである。 従来のCOT構造の液晶表示装置を示す断面図である。 従来のCOT構造の液晶表示装置の画素領域外郭部を示す断面図である。
COT構造の液晶表示装置は、ブラックマトリックスとカラーフィルター層がTFTアレイ基板上に形成されることが特徴である。ブラックマトリックスとカラーフィルター層は、アレイ基板の各画素が配列される画素領域のみに形成される。従って、画素領域の外郭から光漏れが発生するが、本発明は、画素領域外郭部の光漏れを防止するブラックマトリックスを更に形成する。
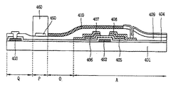
以下、図1を参照して本発明に係るCOT構造液晶表示装置の構造に対し、説明する。
本発明に係る液晶表示装置は、カラーフィルター層を包含するアレイ基板とこれに対向するカラーフィルター基板とがシールパターン460により貼り合わせられている。また、アレイ基板には、複数のゲートライン(図示せず)とゲートラインと垂直交差するデータライン(図示せず)が形成される。ゲートラインとデータラインとの交差により単位画素が定義されて、単位画素の一方側にスイッチング素子である薄膜トランジスタ(TFT)が形成されている。
図1は、TFTを包含する一つの単位画素と画素領域外郭部を示している。単位画素にデータ電圧を印加するソース及びドレイン電極を包含するTFTは、保護層409により外部と絶縁されている。また、保護層409の上部には、ゲートライン及びデータラインなどの反転ドメイン領域を遮るブラックマトリックス410が形成されるが、ブラックマトリックス410は、TFTが形成される領域を一層遮っている。また、ブラックマトリックス410は、マトリックス状に配列されて、反転ドメイン領域を遮る。また、単位画素領域には、赤、緑、青色のカラーフィルター層411のうち何れか一つが形成される。
また、単位画素毎に形成されるカラーフィルター層411上には、画素電極412が形成されて、画素電極412は、TFTのドレイン電極と連結される。
一方、本発明のブラックマトリックス410は、画素領域だけではなく、画素領域外郭部0に延長されて形成される。また、ブラックマトリックス410が画素領域外郭部0に延長されて形成されることで、画素領域外郭部0を通って光漏れが発生することを防止することができる。
ところで、従来は、画素領域外郭部0に静電気放電回路(ESD)が形成されていて、ブラックマトリックスを画素領域外郭部に設置することが困難であった。静電気放電回路は、複数の薄膜トランジスタの組合により形成されるが、その一電極がゲートパッド部又はデータパッド部と連結され、他の電極は画素領域のゲートライン及びデータライン又は上部基板の共通電極などと連結されて、外部から流入される静電気を放電させる役割をする。また、静電気放電回路は、画素電極物質のITO(Indium Tin Oxide)によりパッド部及び画素領域内の複数の配線と連結される。連結は、保護層409上に形成される複数のコンタクトホール(図示せず)を通って行われる。
ところが、保護層409上に厚い有機膜であるブラックマトリックス410が形成されると、コンタクトホールを形成することが難しい。即ち、画素領域内の各種配線及び上部基板に形成される各種配線と静電気防止回路とを連結するためのコンタクトホールは、ブラックマトリックス410及びその下方の保護層409を除去して形成するべきである。
しかし、ブラックマトリックス410は、厚いだけではなく、微細な蝕刻が難しくて静電気防止回路を露出させるコンタクトホールを形成することができない。
従って、本発明は、静電気放電回路を画素領域外郭部0に形成しない。即ち、図1に示すように、本発明に係る静電気防止回路450は、画素領域外郭部0に延長されるブラックマトリックス410の外郭に形成される。特に、画素領域外郭部0とパッド部Q間に上部基板と下部基板とを貼り合わせるシールパターン460が形成されるが、本発明の静電気放電回路450は、シールパターン460下に形成されることができる。
また、シールパターン460は、静電気防止回路部と画素領域の各種配線及び上部基板の各種配線がITO配線により相互連結された後に形成されるために、静電気防止回路部450上にシールパターン460を形成することは可能である。
従って、本発明は、シールパターン形成工程の順序を変化させてブラックマトリックス410を画素領域外郭部0に延長して形成しながらも、ブラックマトリックス410により覆われない静電気放電回路450を構成することができる。
また、シールパターン460の外郭においては、ゲート信号及びデータ信号が入力されるゲートパッド部又はデータパッド部などが形成されるパッド部Qが更に形成されている。
一方、TFTアレイ基板500の上部には、共通電極を包含する上部基板600が位置するが、上部基板は、透明なガラスなどの基板480とアレイ基板500に形成される画素電極412と共に液晶に電界を印加する共通電極(図示せず)及び液晶の初期配向のための配向膜(図示せず)を包含して構成される。
また、上部基板600とアレイ基板500は、シールパターン460により互いに貼り合わせられ、その間に液晶が注入される。上部基板600とアレイ基板500のセルギャップを誘起するために上部基板600又はアレイ基板500には、複数のスペーサ483が更に形成される。
また、上部基板500の外面には偏光板361が形成されるが、偏光板361は、アレイ基板500の外部にも更に形成される。
また、上部基板600とアレイ基板500との貼り合わせにより形成される液晶表示パネルは、モジュール装置により保護されるが、モジュール装置の中の一つが液晶表示パネルの上部から液晶表示パネルの縁を遮るトップケース370である。また、トップケース370は、液晶パネルを外部の衝撃から保護する機能をすると共に、アレイ基板500の画素領域外郭部0から発生する光漏れを防止することができる。
しかし、上部基板に形成される偏光板361との接触を避けるために、トップケース370は、画素領域外郭部0を完全に遮ることができない。従って、本発明の画素領域外郭部0に形成されるブラックマトリックス410は必要である。
一方、本発明は、トップケース370の形成位置を調節して静電気放電回路の形成位置を調節することができる。
本発明の他の実施形態は、静電気放電回路450をシールパターン460の前段に形成することを提案する。
以下、図2を参照して本発明の他の実施形態に係る液晶表示装置の構成に対し、説明する。
本発明に係る液晶表示装置の基本構成は、実施形態と同様であるため、重複する構成要素の説明は省略する。
アレイ基板500上には、図2に示すように、画素領域Aとシールパターン460が形成されるシールライン形成領域Pと、シールライン形成領域Pと画素領域A間に形成される画素領域外郭部0と、ゲート電圧又はデータ電圧が印加されるパッド部Qと、が形成される。画素領域外郭部0の中で、シールパターン460に隣接して静電気放電回路450が形成される。静電気放電回路450を除外した画素領域外郭部0の残りの領域は、ブラックマトリックス410により遮られる。
一方、液晶パネルの外郭を覆うトップケースは、延長されて静電気放電回路450が形成される画素領域外郭部0の一部を遮る。また、トップケースは、上部基板の偏光板361と接触しない範囲でより延長されることができる。
従って、トップケース370とブラックマトリックス410により画素領域外郭部0の光漏れを防止することができる。
製品によってはシールライン形成領域Pからパッド部Qに至るリンク部(図示せず)が更に形成され得る。リンク部は、ゲートライン間又はデータライン間の間隔が狭くなりながらパッド部と連結される所である。従って、リンク部は、空間が狭くて静電気放電回路を形成することが難しいが、本発明は、リンク部ではない画素領域外郭部0に静電気放電回路が形成されるため、静電気放電回路を形成するための空間を十分に確保することができる。しかし、静電気放電回路がシールライン形成部P又は画素領域外郭部0に形成されることで制限されることない。即ち、デザインルールを改善して静電気防止回路を微細線幅に設計する場合、リンク部に形成されることもできる。
以下、本発明に係るCOT構造液晶表示装置の製造工程に対し、図3A〜図3Gを参照して説明する。
図3Aに示すように、ガラスなどの透明な基板401上にゲート電極402及びゲートパッド電極403を形成する。ゲート電極402は、金属箔膜をスパッタリング方法により蒸着してフォトリソグラフィ工程を利用して所定のパターンに形成することができる。
次いで、ゲート電極402上にシリコン酸化膜のゲート絶縁層404をプラズマ化学気相蒸着方法(PECVD)方法により形成する。
次いで、図3Bに示すように、ゲート電極402上にアクティブ層405とオームコンタクト層406を形成する。アクティブ層405は、半導体層から構成されて、 PECVD 方法により蒸着されてドライエッチングプロセスによってパターニングされることができる。
次に、図3Cに示すように、スパッタリング方法により金属箔膜を蒸着し、フォトリソグラフィ工程によりソース及びドレイン電極407、408を形成し、画素領域にはデータライン(図示せず)を形成する。
次いで、ソース及びドレイン電極407、408上に絶縁層の保護層409を更に形成する。
一方、図3A〜図3Cには、図示されなかっが、TFTが形成される画素領域外郭部に静電気放電回路が共に形成されることもできる。静電気放電回路も保護層409により保護される。
次いで、図3Dに示すように、保護層409上、特に、画素領域Aに有機膜から構成されるブラックマトリックス410を形成する。ブラックマトリックスは、格子状に構成されて、ゲートライン及びデータラインを遮って反転ドメイン領域であるゲートライン及びデータラインの隣接部を遮る。且つ、ブラックマトリックス410は、延長されて画素領域外郭部0も同時に遮る。
ブラックマトリックス410を形成した後、ブラックマトリックスの間、即ち、単位画素毎にカラーフィルター層411を形成する。カラーフィルター層411は、赤、緑、青色のサブカラーフィルター層をフォトマスク工程を適用して分散法により形成することができる。
カラーフィルター層を形成する工程において、TFTの所定領域にはカラーフィルター層が形成されないようにする。
次いで、TFTのドレイン電極408を露出させるコンタクトホールを形成する。コンタクトホールは、カラーフィルター層が形成されない領域に形成して保護層のみの除去により容易に形成することができる。
コンタクトホールが形成される段階において、静電気放電回路部の一電極を露出させるコンタクトホールが同時に形成される。また、ゲートパッド電極を露出させるコンタクトホールも共に形成される。
次いで、図3Fに示すように、コンタクトホールを通ってドレイン電極と連結されて単位画素毎に形成される画素電極412を形成する。画素電極は、透明電極であるITOをスパッタリングして蒸着した後、フォトリソグラフィ工程を適用してパターニングする。画素電極がパターニングされる段階において、パッド部のパッド及び静電気放電回路と画素領域の配線とを連結する静電気放電回路の連結配線が同時に形成される。
次いで、ポリイミド(polyimide)から構成される配向膜を画素電極が形成されたアレイ基板上に形成することで、TFTアレイ基板を完成する。
一方、TFTアレイ基板と対向する上部基板が別途の工程によって形成される。上部基板には、共通電極481が形成され、且つ、配向膜482が更に形成される。本発明の上部基板には、画素領域外郭部の光漏れの防止のためのブラックマトリックスが形成されないことが特徴である。
次いで、別途の工程により形成された上部基板とアレイ基板をシールパターンを通って貼り合わせる工程を進行する。貼り合わせ工程は、シールラインの形成工程、上部基板とアレイ基板のアライン工程及び貼り合わせ工程によって形成される。
貼り合わせ工程の後、液晶パネルのセルギャップに液晶を充填させて切断して単位液晶パネルを完成する。
409:保護層
410:ブラックマトリックス
411:カラーフィルター層
412:画素電極
450:静電気防止回路部
460:シールパターン
481:共通電極

Claims (8)

  1. アレイ基板、及び該アレイ基板と貼り合わせられる上部基板と、
    前記アレイ基板上に形成されたゲートライン及び該ゲートラインと垂直交差するデータラインと、
    前記アレイ基板上に形成され、前記ゲートライン及び前記ゲートラインと垂直交差するデータラインにより画定される単位画素がマトリックス配列される画素領域と、
    前記アレイ基板上に形成され、前記ゲートライン及びデータラインとそれぞれ連結されて、前記画素領域の外郭に形成されるパッド部と、
    前記アレイ基板上に形成され、前記アレイ基板上の画素領域にゲート電極、アクティブ層、及び該アクティブ層と連結されたソース及びドレイン電極を備える薄膜トランジスタと、
    前記アレイ基板の全面に形成された保護層と、
    前記保護層上に形成され、前記画素領域と前記パッド部間に定義されるシールパターン形成領域に配置される静電気防止回路部と、
    前記保護層上に形成され、前記画素領域から前記画素領域外郭部まで延びたブラックマトリクスと、
    前記静電気防止回路部を含む保護層上に形成され、前記パッド部と前記画素領域間に定義される前記シールパターン形成領域に形成されるシールパターンと、
    前記保護層上に形成され、前記ブラックマトリクス間に形成されるカラーフィルタ層とを包含して構成されることを特徴とするCOT構造液晶表示素子。
  2. 前記静電気防止回路部は、前記シールパターンの下に形成されることを特徴とする請求項1記載のCOT構造液晶表示装置。
  3. 前記画素領域外郭部を遮るトップケースを更に具備することを特徴とする請求項1記載のCOT構造液晶表示装置。
  4. 前記画素領域外郭部を遮るトップケースを更に具備することを特徴とする請求項1記載のCOT構造液晶表示装置。
  5. 前記静電気防止回路部は、前記ブラックマトリックスにより遮られないことを特徴とする請求項1記載のCOT構造液晶表示装置。
  6. アレイ基板、及び前記アレイ基板と貼り合わせられる上部基板を提供する段階と、
    前記アレイ基板上に単位画素がマトリクス配列される画素領域を定義するゲートライン及び該ゲートラインと垂直交差するデータラインを形成する段階と、
    前記アレイ基板上に、前記アレイ基板上の画素領域にゲート電極、アクティブ層、及び該アクティブ層と連結されたソース及びドレイン電極を備える薄膜トランジスタを形成する段階と、
    前記アレイ基板上に、前記ゲートライン及び前記データラインとそれぞれ連結され、前記画素領域の外郭にパッド部を形成する段階と、
    前記アレイ基板の全面に保護層を形成する段階と、
    前記保護層上に、前記画素領域と前記パッド部間に定義されるシールパターン形成領域に静電気防止回路部を形成する段階と、
    前記保護層上に、前記画素領域から前記画素領域外郭部まで延びるブラックマトリクスを形成する段階と、
    前記保護層上に、前記ブラックマトリクス間にカラーフィルタ層を形成する段階と、
    前記カラーフィルタ層上に前記薄膜トランジスタのドレイン電極と連結される画素電極を形成する段階と、
    前記パッド部と前記画素領域間に定義される前記シールパターン形成領域である前記静電気防止回路部を含む保護層上に、シールパターンを形成する段階と、
    前記シールパターンにより前記アレイ基板と前記上部基板を貼り合わせる段階と
    から構成されることを特徴とするCOT構造液晶表示装置製造方法。
  7. 前記上部基板の形成段階は、
    前記アレイ基板上に共通電極を形成する段階と、
    前記共通電極上に配向膜を形成する段階と、を順次行うことを特徴とする請求項6記載のCOT構造液晶表示装置製造方法。
  8. 前記ブラックマトリクスは、前記静電気防止回路部上には形成されないことを特徴とする請求項6のCOT構造液晶表示装置製造方法。
JP2009254704A 2004-06-29 2009-11-06 画素領域外郭部の光漏れを防止するcot構造液晶表示装置及びその製造方法 Expired - Lifetime JP4643738B2 (ja)

Applications Claiming Priority (1)

Application Number Priority Date Filing Date Title
KR1020040049779A KR100945354B1 (ko) 2004-06-29 2004-06-29 화소영역외곽부에 블랙매트릭스가 형성된 cot구조액정표시장치

Related Parent Applications (1)

Application Number Title Priority Date Filing Date
JP2005185929A Division JP4477552B2 (ja) 2004-06-29 2005-06-27 画素領域外郭部の光漏れを防止するcot構造液晶表示装置及びその製造方法

Publications (2)

Publication Number Publication Date
JP2010055100A true JP2010055100A (ja) 2010-03-11
JP4643738B2 JP4643738B2 (ja) 2011-03-02

Family

ID=35505270

Family Applications (2)

Application Number Title Priority Date Filing Date
JP2005185929A Expired - Lifetime JP4477552B2 (ja) 2004-06-29 2005-06-27 画素領域外郭部の光漏れを防止するcot構造液晶表示装置及びその製造方法
JP2009254704A Expired - Lifetime JP4643738B2 (ja) 2004-06-29 2009-11-06 画素領域外郭部の光漏れを防止するcot構造液晶表示装置及びその製造方法

Family Applications Before (1)

Application Number Title Priority Date Filing Date
JP2005185929A Expired - Lifetime JP4477552B2 (ja) 2004-06-29 2005-06-27 画素領域外郭部の光漏れを防止するcot構造液晶表示装置及びその製造方法

Country Status (4)

Country Link
US (2) US8102489B2 (ja)
JP (2) JP4477552B2 (ja)
KR (1) KR100945354B1 (ja)
CN (1) CN100381894C (ja)

Cited By (2)

* Cited by examiner, † Cited by third party
Publication number Priority date Publication date Assignee Title
US20130113917A1 (en) * 2010-06-29 2013-05-09 Japan Tobacco Inc. Cigarette inspection apparatus
JP2015036819A (ja) * 2013-08-14 2015-02-23 三星ディスプレイ株式會社Samsung Display Co.,Ltd. 薄膜トランジスタ表示板

Families Citing this family (30)

* Cited by examiner, † Cited by third party
Publication number Priority date Publication date Assignee Title
KR100945354B1 (ko) * 2004-06-29 2010-03-08 엘지디스플레이 주식회사 화소영역외곽부에 블랙매트릭스가 형성된 cot구조액정표시장치
TWI261920B (en) * 2005-07-07 2006-09-11 Au Optronics Corp Active device matrix substrate
KR101300819B1 (ko) * 2006-12-05 2013-08-26 삼성디스플레이 주식회사 액정 표시 장치 및 그 제조 방법
KR101430526B1 (ko) * 2006-12-28 2014-08-19 삼성디스플레이 주식회사 표시 기판 및 이를 갖는 표시 장치
KR101386576B1 (ko) * 2008-06-25 2014-04-18 엘지디스플레이 주식회사 액정표시패널
JP5195260B2 (ja) * 2008-10-14 2013-05-08 セイコーエプソン株式会社 電子機器
KR101607636B1 (ko) 2009-11-23 2016-04-12 삼성디스플레이 주식회사 액정 표시 장치
KR101662135B1 (ko) * 2010-01-15 2016-10-05 삼성디스플레이 주식회사 전기영동 표시패널, 이의 제조 방법 및 이를 포함하는 전기영동 표시장치
KR101620526B1 (ko) 2010-01-22 2016-05-13 삼성디스플레이 주식회사 액정 표시 장치의 제조 방법과 이에 의한 액정 표시 장치
CN102722056A (zh) * 2011-03-29 2012-10-10 京东方科技集团股份有限公司 彩色滤光阵列基板及其制造方法和液晶显示面板
JP6028332B2 (ja) * 2012-01-12 2016-11-16 セイコーエプソン株式会社 液晶装置、及び電子機器
KR101982095B1 (ko) * 2012-10-17 2019-05-24 엘지디스플레이 주식회사 씰 패턴을 구비한 액정표시장치
KR101973009B1 (ko) 2012-11-13 2019-04-29 삼성디스플레이 주식회사 액정 표시 장치
JP2014106428A (ja) * 2012-11-28 2014-06-09 Japan Display Inc 表示装置及び電子機器
KR102029437B1 (ko) * 2012-12-17 2019-10-07 엘지디스플레이 주식회사 터치센서 일체형 표시장치
TWI473057B (zh) * 2013-01-30 2015-02-11 Au Optronics Corp 畫素單元及畫素陣列
KR102040084B1 (ko) 2013-03-25 2019-11-05 삼성디스플레이 주식회사 표시 장치
KR102089326B1 (ko) * 2013-10-01 2020-03-17 엘지디스플레이 주식회사 표시장치
KR102124405B1 (ko) * 2013-11-11 2020-06-19 삼성디스플레이 주식회사 액정 표시 장치
KR102127240B1 (ko) * 2013-12-13 2020-06-26 엘지디스플레이 주식회사 표시장치 및 그 신호라인, 그 제조방법
KR102308669B1 (ko) * 2014-12-05 2021-10-05 엘지디스플레이 주식회사 유기전계발광 표시장치 및 그 제조방법
KR102441558B1 (ko) 2015-04-07 2022-09-08 삼성디스플레이 주식회사 유기 발광 표시 장치 및 이의 제조 방법
CN104950541B (zh) * 2015-07-20 2018-05-01 深圳市华星光电技术有限公司 Boa型液晶显示面板及其制作方法
KR102630945B1 (ko) * 2015-11-20 2024-01-30 주식회사 동진쎄미켐 감광성 수지 조성물
CN105445998A (zh) * 2015-12-31 2016-03-30 武汉华星光电技术有限公司 Ltps显示面板及其制备工艺
CN106200160A (zh) * 2016-07-08 2016-12-07 京东方科技集团股份有限公司 阵列基板、显示面板及显示装置
KR102554095B1 (ko) * 2016-09-30 2023-07-10 엘지디스플레이 주식회사 인셀 터치형 액정표시장치 및 그 제조방법
CN106353944A (zh) * 2016-11-04 2017-01-25 京东方科技集团股份有限公司 阵列基板及其制造方法、显示面板、显示装置
KR102843915B1 (ko) 2020-04-29 2025-08-07 삼성디스플레이 주식회사 표시 장치
KR20240127796A (ko) * 2023-02-16 2024-08-23 삼성전자주식회사 디스플레이 장치

Citations (1)

* Cited by examiner, † Cited by third party
Publication number Priority date Publication date Assignee Title
JP2006018275A (ja) * 2004-06-29 2006-01-19 Lg Phillips Lcd Co Ltd 画素領域外郭部の光漏れを防止するcot構造液晶表示装置及びその製造方法

Family Cites Families (24)

* Cited by examiner, † Cited by third party
Publication number Priority date Publication date Assignee Title
JPH05241139A (ja) * 1992-02-27 1993-09-21 Canon Inc 液晶表示装置
JPH07311378A (ja) * 1994-05-18 1995-11-28 Toppan Printing Co Ltd 液晶表示装置
JP3429775B2 (ja) * 1995-08-07 2003-07-22 株式会社 日立製作所 静電気対策に適するアクティブ・マトリックス方式の液晶表示装置
JP3663741B2 (ja) * 1996-05-22 2005-06-22 セイコーエプソン株式会社 アクティブマトリックス型液晶表示装置及びその製造方法
JPH1010516A (ja) * 1996-06-20 1998-01-16 Nec Corp カラー液晶表示装置
KR100218697B1 (ko) * 1996-09-23 1999-09-01 구자홍 액정표시소자
KR100264238B1 (ko) * 1996-10-21 2000-08-16 윤종용 평면구동방식의액정표시장치및그기판
JP3343645B2 (ja) * 1997-03-25 2002-11-11 シャープ株式会社 液晶表示装置及びその製造方法
US6587160B2 (en) * 1997-10-14 2003-07-01 Samsung Electronics Co., Ltd. Liquid crystal displays
KR100280891B1 (ko) * 1998-02-25 2001-02-01 구본준 액정표시장치 케이스
JP3471692B2 (ja) * 2000-01-21 2003-12-02 Nec液晶テクノロジー株式会社 カラー液晶表示パネル
DE10124986B4 (de) * 2000-05-25 2005-03-10 Lg Philips Lcd Co Flüssigkristall-Anzeigevorrichtung und Herstellungsverfahren dafür
JP2002026333A (ja) * 2000-07-11 2002-01-25 Nec Corp アクティブマトリクス基板の製造方法
KR100628259B1 (ko) * 2000-11-22 2006-09-27 엘지.필립스 엘시디 주식회사 액정 디스플레이 패널
JP2002296618A (ja) * 2001-03-29 2002-10-09 Nec Corp 液晶表示装置およびその製造方法
EP1422682B1 (en) * 2001-08-29 2011-07-13 Seiko Epson Corporation Electrooptical device and electronic apparatus
KR100430804B1 (ko) * 2001-11-15 2004-05-10 엘지.필립스 엘시디 주식회사 개구율 향상구조 액정표시장치
JP3808356B2 (ja) * 2001-12-04 2006-08-09 株式会社日立製作所 液晶表示装置
KR100830524B1 (ko) * 2001-12-29 2008-05-21 엘지디스플레이 주식회사 액정표시장치의 빛샘 방지 구조
KR20040009858A (ko) * 2002-07-26 2004-01-31 비오이 하이디스 테크놀로지 주식회사 액정표시장치
TW200410029A (en) * 2002-12-05 2004-06-16 Chunghwa Picture Tubes Ltd Liquid crystal displayer with ink jet color filter and manufacture method thereof
GB2396244B (en) * 2002-12-09 2006-03-22 Lg Philips Lcd Co Ltd Array substrate having color filter on thin film transistor s tructure for LCD device and method of fabricating the same
US6933993B2 (en) * 2003-05-16 2005-08-23 Toppoly Optoelectronics Corp. Method of forming a color filter layer on an array substrate and device thereof
KR100717184B1 (ko) * 2003-08-01 2007-05-11 비오이 하이디스 테크놀로지 주식회사 액정 디스플레이 패널

Patent Citations (2)

* Cited by examiner, † Cited by third party
Publication number Priority date Publication date Assignee Title
JP2006018275A (ja) * 2004-06-29 2006-01-19 Lg Phillips Lcd Co Ltd 画素領域外郭部の光漏れを防止するcot構造液晶表示装置及びその製造方法
JP4477552B2 (ja) * 2004-06-29 2010-06-09 エルジー ディスプレイ カンパニー リミテッド 画素領域外郭部の光漏れを防止するcot構造液晶表示装置及びその製造方法

Cited By (3)

* Cited by examiner, † Cited by third party
Publication number Priority date Publication date Assignee Title
US20130113917A1 (en) * 2010-06-29 2013-05-09 Japan Tobacco Inc. Cigarette inspection apparatus
US9699416B2 (en) * 2010-06-29 2017-07-04 Japan Tobacco Inc. Cigarette inspection apparatus
JP2015036819A (ja) * 2013-08-14 2015-02-23 三星ディスプレイ株式會社Samsung Display Co.,Ltd. 薄膜トランジスタ表示板

Also Published As

Publication number Publication date
US20120105394A1 (en) 2012-05-03
JP4643738B2 (ja) 2011-03-02
JP2006018275A (ja) 2006-01-19
KR20060000808A (ko) 2006-01-06
CN100381894C (zh) 2008-04-16
US8102489B2 (en) 2012-01-24
US8284376B2 (en) 2012-10-09
CN1716015A (zh) 2006-01-04
KR100945354B1 (ko) 2010-03-08
US20050285995A1 (en) 2005-12-29
JP4477552B2 (ja) 2010-06-09

Similar Documents

Publication Publication Date Title
JP4643738B2 (ja) 画素領域外郭部の光漏れを防止するcot構造液晶表示装置及びその製造方法
JP4059676B2 (ja) 液晶表示装置
JP5392670B2 (ja) 液晶表示装置及びその製造方法
JP4831716B2 (ja) アクティブマトリクス型液晶表示装置
KR100884541B1 (ko) 액정표시장치 및 그 제조방법
KR100857133B1 (ko) 액정표시장치용 어레이기판 및 그 제조방법
JP2009162981A (ja) 液晶表示装置及び液晶表示装置の製造方法
KR100955382B1 (ko) 액정표시장치 및 그 제조방법
JP3216379B2 (ja) 液晶表示装置
JP2004272012A (ja) 表示装置
JP2006201312A (ja) 液晶表示パネル及び液晶表示装置
JP2009151285A (ja) 液晶表示装置及びその製造方法
KR100303440B1 (ko) 평면구동방식의액정표시장치
KR100951840B1 (ko) 액정표시장치
JP5429775B2 (ja) 液晶パネル
KR100864410B1 (ko) 액정표시장치용 어레이기판과 그 제조방법
KR20080019838A (ko) 쇼트 패드와 이를 구비한 박막 트랜지스터 기판 및액정표시패널
KR101423909B1 (ko) 표시 기판 및 이를 구비하는 액정 표시 장치
JP5275650B2 (ja) 液晶表示装置
JP5207947B2 (ja) 液晶表示装置及びその製造方法
KR100303447B1 (ko) 정전기보호회로를가지는액정표시장치
KR20160091527A (ko) 액정 표시 장치 및 그 제조 방법
KR20050038116A (ko) 액정표시장치용 기판 및 그 제조방법
KR20150077875A (ko) 컬러필터 기판 및 그의 제조방법
KR101557805B1 (ko) 액정표시장치

Legal Events

Date Code Title Description
A621 Written request for application examination

Free format text: JAPANESE INTERMEDIATE CODE: A621

Effective date: 20091204

A521 Request for written amendment filed

Free format text: JAPANESE INTERMEDIATE CODE: A523

Effective date: 20091222

A131 Notification of reasons for refusal

Free format text: JAPANESE INTERMEDIATE CODE: A132

Effective date: 20100712

A521 Request for written amendment filed

Free format text: JAPANESE INTERMEDIATE CODE: A523

Effective date: 20101012

TRDD Decision of grant or rejection written
A01 Written decision to grant a patent or to grant a registration (utility model)

Free format text: JAPANESE INTERMEDIATE CODE: A01

Effective date: 20101108

A01 Written decision to grant a patent or to grant a registration (utility model)

Free format text: JAPANESE INTERMEDIATE CODE: A01

A61 First payment of annual fees (during grant procedure)

Free format text: JAPANESE INTERMEDIATE CODE: A61

Effective date: 20101202

R150 Certificate of patent or registration of utility model

Ref document number: 4643738

Country of ref document: JP

Free format text: JAPANESE INTERMEDIATE CODE: R150

Free format text: JAPANESE INTERMEDIATE CODE: R150

FPAY Renewal fee payment (event date is renewal date of database)

Free format text: PAYMENT UNTIL: 20131210

Year of fee payment: 3

R250 Receipt of annual fees

Free format text: JAPANESE INTERMEDIATE CODE: R250

R250 Receipt of annual fees

Free format text: JAPANESE INTERMEDIATE CODE: R250

R250 Receipt of annual fees

Free format text: JAPANESE INTERMEDIATE CODE: R250

R250 Receipt of annual fees

Free format text: JAPANESE INTERMEDIATE CODE: R250

R250 Receipt of annual fees

Free format text: JAPANESE INTERMEDIATE CODE: R250

R250 Receipt of annual fees

Free format text: JAPANESE INTERMEDIATE CODE: R250

R250 Receipt of annual fees

Free format text: JAPANESE INTERMEDIATE CODE: R250

R250 Receipt of annual fees

Free format text: JAPANESE INTERMEDIATE CODE: R250

R250 Receipt of annual fees

Free format text: JAPANESE INTERMEDIATE CODE: R250

R250 Receipt of annual fees

Free format text: JAPANESE INTERMEDIATE CODE: R250

R250 Receipt of annual fees

Free format text: JAPANESE INTERMEDIATE CODE: R250

R250 Receipt of annual fees

Free format text: JAPANESE INTERMEDIATE CODE: R250

EXPY Cancellation because of completion of term