JP2010052723A - 車両用サンバイザ - Google Patents

車両用サンバイザ Download PDF

Info

Publication number
JP2010052723A
JP2010052723A JP2009147594A JP2009147594A JP2010052723A JP 2010052723 A JP2010052723 A JP 2010052723A JP 2009147594 A JP2009147594 A JP 2009147594A JP 2009147594 A JP2009147594 A JP 2009147594A JP 2010052723 A JP2010052723 A JP 2010052723A
Authority
JP
Japan
Prior art keywords
support shaft
sun visor
contact
region
urging
Prior art date
Legal status (The legal status is an assumption and is not a legal conclusion. Google has not performed a legal analysis and makes no representation as to the accuracy of the status listed.)
Granted
Application number
JP2009147594A
Other languages
English (en)
Other versions
JP5191960B2 (ja
Inventor
Takashi Asai
崇司 浅井
Current Assignee (The listed assignees may be inaccurate. Google has not performed a legal analysis and makes no representation or warranty as to the accuracy of the list.)
Kyowa Sangyo Co Ltd
Original Assignee
Kyowa Sangyo Co Ltd
Priority date (The priority date is an assumption and is not a legal conclusion. Google has not performed a legal analysis and makes no representation as to the accuracy of the date listed.)
Filing date
Publication date
Application filed by Kyowa Sangyo Co Ltd filed Critical Kyowa Sangyo Co Ltd
Priority to JP2009147594A priority Critical patent/JP5191960B2/ja
Priority to US12/507,106 priority patent/US20100019527A1/en
Priority to DE200910035642 priority patent/DE102009035642A1/de
Priority to CN200910161019.3A priority patent/CN101643015B/zh
Publication of JP2010052723A publication Critical patent/JP2010052723A/ja
Priority to US13/735,445 priority patent/US8562061B2/en
Application granted granted Critical
Publication of JP5191960B2 publication Critical patent/JP5191960B2/ja
Active legal-status Critical Current
Anticipated expiration legal-status Critical

Links

Images

Classifications

    • BPERFORMING OPERATIONS; TRANSPORTING
    • B60VEHICLES IN GENERAL
    • B60JWINDOWS, WINDSCREENS, NON-FIXED ROOFS, DOORS, OR SIMILAR DEVICES FOR VEHICLES; REMOVABLE EXTERNAL PROTECTIVE COVERINGS SPECIALLY ADAPTED FOR VEHICLES
    • B60J3/00Antiglare equipment associated with windows or windscreens; Sun visors for vehicles
    • B60J3/02Antiglare equipment associated with windows or windscreens; Sun visors for vehicles adjustable in position
    • B60J3/0204Sun visors
    • B60J3/0213Sun visors characterised by the mounting means
    • B60J3/0217Brackets for mounting the sun visor support arm to the vehicle

Landscapes

  • Engineering & Computer Science (AREA)
  • Mechanical Engineering (AREA)
  • Clamps And Clips (AREA)
  • Pivots And Pivotal Connections (AREA)
  • Springs (AREA)

Abstract

【課題】 車両用サンバイザにおいて、サンバイザ本体の回動操作に関する所要の回転トルクを確保した上で、支軸に作用する付勢力を軽減する技術を提供する。
【解決手段】 サンバイザ本体103が支軸105回りに回動自在とされている車両用サンバイザにおいて、支軸105を、当該支軸105の周方向に関して、3つの領域のみで付勢保持する付勢保持部材121を有する。付勢保持部材121は、一体状の板ばねを曲げ加工することで形成され、支軸105の外周を覆う3つの領域によって構成される支軸保持領域125a,127a,129aと、当該支軸保持領域125a,127a,129aから、支軸105の長軸方向と交差する方向に所定距離だけ離間した付勢力発生領域123とを一体状に有する。付勢力発生領域123は、付勢保持部材121をサンバイザ本体103に取付ける取付部として設定されている。
【選択図】 図2

Description

この発明は、車両用サンバイザに関する。
車両用サンバイザは、サンバイザ本体と、当該サンバイザ本体に対して相対回動する支軸とを有する。サンバイザ本体は、支軸を介して車室の天井面に装着され、天井面に沿う格納領域と、フロントガラスに沿う使用領域との間で回動可能とされている。サンバイザ本体の内部には、支軸を外側から付勢保持することでサンバイザ本体の回動操作時に所定の回転トルクを発生するバネクリップを有する。このような車両用サンバイザは、例えば特開平5−246241号公報(特許文献1)に記載されている。当該公報に記載された従来のバネクリップは、板バネによって構成され、支軸を外側から挟持することによってサンバイザ本体の回転トルクを得る方式である。
従来のバネクリップの場合、支軸に対して周方向の二箇所で接触する構成(2点把持方式)であり、所要トルクを発生させるのに大きい付勢力(挟持力)が必要となる。その結果として、バネクリップに対する支軸の接触頻度の高い部位が付勢力によって変形(凹みが発生)され、あるいは支軸が合成樹脂製の場合、支軸のクリープ現象が生じて支軸の円形状が維持できなくなり、トルク変動が生じる可能性があり、この点でなお改良の余地がある。
特開平5−246241号公報
本発明は、上記に鑑みてなされたものであり、車両用サンバイザにおいて、サンバイザ本体の回動操作に関する所要の回転トルクを確保した上で、支軸に作用する付勢力を軽減する技術を提供することをその目的とする。
上記課題を達成するため、本発明に係る車両用サンバイザの好ましい形態は、サンバイザ本体と、サンバイザ本体を車体に取り付ける支軸とを有し、サンバイザ本体が支軸回りに相対回動自在とされている。車両用サンバイザは、支軸を、当該支軸の周方向に関して、3つの領域のみで付勢保持する付勢保持部材を更に有している。付勢保持部材は、一体状の板ばねを曲げ加工することで形成され、支軸の外周を覆う3つの領域によって構成される支軸保持領域と、当該支軸保持領域から、支軸の長軸方向と交差する方向に所定距離だけ離間した付勢力発生領域とを一体状に有する。付勢力発生領域は、付勢保持部材をサンバイザ本体に取付ける取付部として設定されている。なお、本発明における「付勢保持する」とは、支軸外面にバネ力を付与して弾発状に保持する態様がこれに該当する。
本発明に係る車両用サンバイザの好ましい形態によれば、特徴的構成として、支軸を、当該支軸の周方向に関して、3つの領域のみで付勢保持する付勢保持部材を有する。支軸を付勢保持する3つの領域は、周方向に関し等間隔に配置する構成とすることが好ましいが、等間隔に限定されない。本発明によれば、支軸を周方向において3箇所で保持する構成とすることで、支軸に対してサンバイザ本体を回動操作する際に必要な回転トルクを確保した上で、支軸に作用する一箇所当たりの付勢力を軽減することができる。その結果、支軸の変形防止効果、あるいはクリープ現象の低減効果を得ることができる。
また、本発明に係る車両用サンバイザの好ましい形態によれば、付勢保持部材は、板バネによって形成され、支軸保持領域と、当該支軸保持領域から、支軸の長軸方向と交差する方向に所定距離だけ離間した付勢力発生領域とを一体状に有する。そして当該付勢力発生領域が、付勢保持部材をサンバイザ本体に取付ける取付部として設定されている。このように、付勢力発生領域が取付部を兼用する構成とすることで、取付部を別途に形成する必要が無く、合理的な支軸保持構造の付勢保持部材を構築できる。
本発明に係る車両用サンバイザの更なる形態によれば、支軸保持領域は、互いに向き合うとともに支軸を弾発状に挟持する2つの挟み込み領域と、支軸を受ける1つの第3の接触領域を有し、2つの挟み込み領域は、当該挟み込み領域の法線方向が第3の接触領域に向かい、かつ互いに交差するように設定されている。かかる構成とすることで、2つの向き合う挟み込み領域によって支軸を挟み込む力を生じさせ、この挟み込む力で支軸を第3の接触領域に押し付けることができる。これにより、支軸を周方向の3箇所で安定的に保持することが可能となる。
支軸保持領域が、互いに向き合う2つの挟み込み領域と1つの第3の接触領域とを有する形態においては、第3の接触領域を挟み込み領域の自由端側の延出部によって構成する態様、あるいは挟み込み領域の固定端側の延出部によって構成する態様のいずれも構築可能である。
本発明によれば、車両用サンバイザにおいて、サンバイザ本体の回動操作に関する所要の回転トルクを確保した上で、支軸に作用する付勢力を軽減する技術が提供されるとともに、発生トルクの安定性もより向上できた。
(本発明の第1の実施形態)
以下、本発明の第1の実施形態に係る車両用サンバイザにつき、図1〜図6を参照しつつ説明する。図1には本実施の形態に係る車両用サンバイザの全体構成が示される。本実施の形態に係る車両用サンバイザ101は、図1に示すように、概括的に見て、サンバイザ101の外形を構成するサンバイザ本体103、サンバイザ本体103を車両に装着するための円形断面の支軸105、及び取付ブラケット107を主体として構成されている。支軸105は、概ね鉛直方向に延びる縦軸部105aと、概ね水平方向に延びる横軸部105bを備えた略L字状に形成されるとともに、横軸部105bがサンバイザ本体103における上縁部の一方の隅部に相対回動自在に取り付けられる。支軸105の縦軸部105aは、取付ブラケット107を介して車室天井面の前側隅部に回動自在に装着される。なお、説明の便宜上、図1において、横軸部105bの長軸方向を車両左右方向、縦軸部105aの長軸方向を上下方向、横軸部105bの長軸方向と交差する水平方向(サンバイザ本体103の厚み方向)を車両前後方向という。
サンバイザ本体103は、支軸105の横軸部105bの長軸回りに上下方向に回動することによって、車室の天井面に沿うように置かれる格納領域と、フロントガラス側へと回動される使用領域(遮光領域)との間での位置変更が可能とされ、縦軸部105aの長軸回りに車両左右方向に回動することで、フロントガラス側のフロント位置とサイドガラス側のサイド位置との間での位置変更が可能とされる。
また、サンバイザ本体103は、上縁部の自由端側にはサポート軸109を有する。このサポート軸109は、サンバイザ本体103がフロント位置に置かれたときに、車室の前側天井面に装着された便宜上図示を省略するフックによって保持される。これによって、サンバイザ本体103がフロント位置に置かれた状態で、格納領域から使用領域へあるいは使用領域から格納領域へと位置変更されるときの、サンバイザ本体103の回動動作の安定化が図られている。
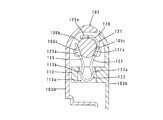
図2及び図3はそれぞれ図1のA−A線断面図であり、図2はサンバイザ本体103が使用領域に置かれた使用時が示され、図3はサンバイザ本体103が格納領域に置かれた格納状態(ロック時)が示されている。また、図4は金属製のバネクリップの斜視図であり、図5はバネクリップの側面図、図6はバネクリップの正面図である。
本実施の形態に係るサンバイザ本体103は、図2に示すように、二つの本体構成部材103A,103Bを前後方向(厚み方向)において互いに対向状に接合することで中空状のシェル構造として構成されるとともに、その外表面が表皮によって覆われる。二つの本体構成部材103A,103Bは、便宜上、図示を省略するが、例えば、一方の本体構成部材103Aに形成された複数の接合ピンと、他方の本体構成部材103Bに形成された複数のボス部のボス孔との嵌め合いによって接合される。そしてサンバイザ本体103の中空状の内部空間には、支軸105の横軸部105bを相対回動自在に支持する軸受体111が設けられる。
軸受体111は、図1示すように、金属製のバネクリップ121を支持するクリップ支持部113と、当該クリップ支持部113を挟んで左右方向(横軸部105bの長軸方向)に配置された左右の軸受部115とを有し、当該軸受体111には支軸105の横軸部105bが相対回動自在に挿通され、かつ抜け止めされる。なお、軸受体111は、一方の本体構成部材103Aに一体に形成する態様、あるいは別部材として形成したものを本体構成部材103Aに止着する態様のいずれであっても差し支えない。バネクリップ121は、本発明における「付勢保持部材」に対応する。
バネクリップ121は、支軸105の横軸部105bの外周面に対し径方向から弾発力を作用させつつ当該横軸部105bを回動自在に把持し、これによりサンバイザ本体103が格納領域と使用領域の間で回動操作される際、当該サンバイザ本体103の回動動作に所定の回転トルクを付与する構成とされる。バネクリップ121は、本発明における「付勢保持部材」に対応する。
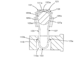
バネクリップ121は、図2〜図6に示すように、一体状の板バネを曲げ加工することによって形成されている。バネクリップ121は、略U字形に曲げられてバネ力を発生する中央屈曲部123と、当該中央屈曲部123から上方(横軸部105b側)へと延在されるとともに互いに対向する第1及び第2アーム部125,127と、第2アーム部127から第1アーム部125の端部に向かってさらに円弧状に延長された延長アーム部129とを主体として構成される。
第1アーム部125には、長軸方向(横軸部105bの長軸方向)の略中央部に横軸部105bの外面に接触する1つの第1接触部125aが形成され、第2アーム部127には、当該第1接触部125aに対して横軸部105bの長軸方向にずれた位置で向き合う2つの第2接触部127aが形成されている。すなわち、第1アーム部125の第1接触部125aと、第2アーム部127の第2接触部127aは、互い違いに向き合う構成とされる。また、延長アーム部129の延長端部には、横軸部105bの外面に接触する第3接触部129aが形成されている。すなわち、第3接触部129aは、本実施の形態では、第2アーム部127の自由端側の延出部によって構成されている。
第1アーム部125の第1接触部125aと、第2アーム部127の第2接触部127aの対向間隔は、横軸部105bの円形外周を挟持したときに、中央屈曲部123を起点として外側に拡開されるような大きさに設定されている。この外側への拡開により第1及び第2アーム部125,127に中央屈曲部123によるバネ力が発生され、当該バネ力によって第1及び第2接触部125a,127aが横軸部105bを挟み込む構成とされる。中央屈曲部123は、本発明における「付勢力発生領域」に対応する。なお、第1アーム部125及び第2アーム部127のバネ力の大きさについては、第1接触部125aと第2接触部127aとの対向間隔の大きさ、あるいは板バネの厚さ等によって適宜に設定することが可能である。
第1接触部125aと第2接触部127aは、傾斜平面によって形成されており、当該傾斜平面の法線方向が第3接触部129aに向かうとともに、互いに交差するように設定されている。これにより、第1接触部125aと第2接触部127aによって横軸部105bを挟み付けたときに、当該横軸部105bに上向きの力を付与させるとともに、当該上向きの力を第3接触部129bによって受ける構成とされる。すなわち、本実施の形態に係るバネクリップ121は、横軸部105bを周方向に関して3箇所で把持する構成であり、第1接触部125a、第2接触部127a及び第3接触部129aが、横軸部105bの周方向に関して概ね等間隔、つまり120度間隔で設定されている。
なお、第1接触部125a、第2接触部127a及び第3接触部129aは、それぞれバネクリップ121の長軸方向の所定長さにわたって形成されている。このため、各接触部125a,127a,129aと横軸部105bの当接は、長軸方向において実質的に線接触で接触する。なお、特に第3接触部129aについては、横軸部105bに対して線接触状態で接触できる限りにおいて、平面状に、あるいは曲面状に延在させて構成可能である。すなわち第3接触部129aは、バネクリップ121の長軸方向と交差する断面につき、平坦状に、あるいは横軸部105bの曲率半径よりも大きな曲率半径を有する曲面状に構成することができる。第1接触部125aを含む第1アーム部125、第2接触部127aを含む第2アーム部127及び第3接触部129aを含む延長アーム部129は、本発明における「支軸保持領域」に対応する。また、第1接触部125aを含む第1アーム部125及び第2接触部127aを含む第2アーム部127は、本発明における「互いに向き合う2つの挟み込み領域」に対応し、第3接触部129aを含む延長アーム部129は、本発明における「1つの第3の接触領域」に対応する。
上記のように構成されるバネクリップ121は、図2および図3に示すように、中央屈曲部123を、軸受体111のクリップ支持部113に形成された支持孔113aに上方から圧入することによって当該クリップ支持部113に取付けられる。中央屈曲部123の外面側に切り起こし加工による上向きの係止片123aを設定し、当該係止片123aが中央屈曲部123とともに支持孔113a内に圧入された際に、当該係止片123aの上端面が支持孔113aの段差部113bに係止して抜け止めされる。すなわち、中央屈曲部123は、本発明における「取付部」に対応する。
抜け止めに関しては、これとは逆に、中央屈曲部123の側部外面側に凹状部を形成し、あるいは中央屈曲部123の側部に貫通孔を形成し、一方、支持孔113aの内壁部に突出状の係止片を形成してもよい。この場合、当該支持孔113aの係止片が、中央屈曲部123の凹状部または貫通孔に係止することで抜け止めが行われる。
さらに、バネクリップ121のクリップ支持部113の取付けについては、上記係止片123a(または支持孔113aの係止片)を利用した係止に加えて、図4に示す切欠部123bに、図1〜3に示すクリップ支持部113のうちの所定の構成部分を係合させることで係止してもよい。この場合、当該切欠部123bがクリップ支持部113の構成部分に係止されることで、係止バネクリップ121の長軸方向への移動を効果的に規制することができ、当該バネクリップ121の配置安定性を向上し、更なる構成の合理化を図ることができる。
支軸105の横軸部105bには、長軸方向に関して、第1アーム部125の第1接触部125aと、第2アーム部127の第2接触部127aと接触する部位には、図3に示すように、周方向の所定の領域につき、切欠状の平坦部105cが形成されている。この平坦部105cは、サンバイザ本体103が使用領域から格納領域へと回動操作されて所定の中間位置に達したときに、横軸部105bに作用する第1接触部125a及び第2接触部127bのバネ力(挟持力)がサンバイザ本体103を格納領域に向けて強制的に回動させるトルクとして付与されるように設定されている。なお、図3はサンバイザ本体103が格納領域に置かれ、横軸部105の平坦部105cに対して第1アーム部125の第1接触部125aと、第2アーム部127の第2接触部127aが面接触された状態、すなわちサンバイザ本体103のロック時を示している。
切欠状の平坦部105cは、第1接触部125a及び第2接触部127bのいずれか一方のみに形成する構成としてもよい。
なお、本実施の形態におけるバネクリップ121の第2接触部127aには、図4に示すように、所定の範囲にわたって凹状の切欠部(肉盗み部)127bが形成されているが、当該切欠部127bを廃止し、第2接触部127bについて切欠部を有さない構成に改変することができる。
本実施の形態に係るバネクリップ121は、図2に示すように、互いに対向され、かつバネ付勢された第1アーム部125と第2アーム部127との2つの接触部125a,127aによって、支軸105の横軸部105bの外周面を周方向に略120度の角度間隔で挟持し、当該2つの接触部125a,127aによって横軸部105bに付与される挟持力を第3接触部129aによって受ける構成としている。すなわち、本実施の形態によれば、支軸105の横軸部105bを周方向に関し3箇所で把持する構成としている。このため、横軸部105bに対してサンバイザ本体103を回動動作する際に必要とされる所要の回転トルクを確保した上で、接触部125a,127a,129aの一箇所当たりのバネ力を従来の2点把持方式よりも軽減することが可能となる。
上記のように、バネクリップ121による一箇所当たりのバネ力を軽減できることにより、横軸部105bに関して、使用領域での使用頻度の高い部位が局部的に変形する(凹む)ことを防止でき、また横軸部105bが、例えば合成樹脂製である場合であれば、当該横軸部105bに生ずるクリープ現象を低減し、長期にわたって横軸部105bの円形状を維持することが可能となり、サンバイザ本体103の回動操作の操作性を向上することができる。
また、横軸部105bを周方向3箇所で把持する構成とすることで、サンバイザ本体103を回動させるとき、横軸部105bとバネクリップ121との径方向の相対移動が生じない。従来の2点把持方式の場合、サンバイザ本体の回動動作の起動時にバネクリップと横軸部間に径方向の相対移動が生ずる可能性があり、かかる径方向の相対移動は、回動所期のトルク抜けによる操作フィーリングの悪化を引き起こすことになるが、本実施の形態によれば、このような不具合を防止できる。
また、本実施の形態においては、バネ力を発生させる部位としての中央屈曲部123を軸受体111のクリップ支持部113の支持孔113aに差し込んで取付ける構成としている。すなわち、バネ力発生部が取付部を兼用する構成であり、わざわざ取付部を別途に設ける必要が無く、合理的な横軸部把持構造のバネクリップ121が提供される。
また、本実施の形態に係るバネクリップ121は、横軸部105bの把持領域は、所定のバネ力が付与された状態で横軸部105bを挟み込む第1及び第2接触部125a,127aの法線方向が概ね120度の角度で互いに交差し、かつ第1及び第2接触部125a,127a間の上方に配置された第3接触部129aに向かう構成としている。このことにより、横軸部105bを挟持する第1及び第2接触部125a,127aの法線と、横軸部105bに付加される挟持力を受ける第3接触部129aの法線との交点が、横軸部105bの中心線上(軸受中心線上)において一致する。このため、バネクリップ121と横軸部105bとの相対回動が軸振れ(回転軸がその軸線方向と交差する方向に変位する現象)のない状態で行われることとなり、サンバイザ本体103を格納領域と使用領域との間で安定的に、かつ円滑に回動操作することができる。
また、本実施の形態では、第1接触部125aと第2接触部127aが互い違いに向きう合う構成としたので、横軸部105bに形成される切欠状の平坦部105cを、第1接触部125a用と第2接触部127a用とで長軸方向に関してずらせて形成できる。このため、第1接触部125a用と第2接触部127a用の平坦部105cが長軸方向の同位置に形成する場合に比べて横軸部105bの強度低下を低減できる。
(本発明の第2の実施形態)
次に本発明の第2の実施形態に係るバネクリップ121つき、図7〜図11を参照して説明する。図7及び図8は本実施の形態に係るバネクリップ121の縦断面図であり、図7はサンバイザ本体103が使用領域に置かれた使用時が示され、図8はサンバイザ本体103が格納領域に置かれた格納状態(ロック時)が示されている。また、図9はバネクリップ121の斜視図であり、図10はバネクリップの正面図、図11はバネクリップの背面図である。
この実施の形態は、前述した第1の実施形態におけるバネクリップ121の一部を変形したものである。この実施形態では、第1アーム部125と第2アーム部127とのそれぞれに延長アーム部131,133を設定するとともに、当該各延長アーム部131,133の内面、すなわち第3接触部131a,133aが横軸部105bの外面に接触する構成としたものであり、この点以外の構成については、第1の実施形態と同様に構成される。従って、第1の実施形態と同様の構成部位については、第1の実施形態と同一の符号を付してその説明を省略あるいは簡略する。
第1の実施形態と同様に、第1アーム部125には、長軸方向(横軸部105bの長軸方向)の略中央部に横軸部105bの外面に接触する1つの第1接触部125aが形成され、第2アーム部127には、当該第1接触部125aに対して長軸方向にずれた位置で向き合う2つの第2接触部127aが形成されている。すなわち、第1アーム部125の第1接触部125aと、第2アーム部127の第2接触部127aは、互い違いに向き合う構成とされる。
これに対応して、第1アーム部125には、第1接触部125aから延在する1つの延長アーム部131が設けられ、第2アーム部127には、2つの第2接触部127aから延長する2つの延長アーム部133が設けられている。すなわち、第1アーム部125と第2アーム部127には、延長アーム部131,133が横軸部105bの長軸方向に互い違いに配置されるように形成されている。これにより延長アーム部131,133相互の干渉が回避されるとともに、協働して横軸部105bに付加される挟持力を受ける。
本実施の形態に係るバネクリップ121は、上記のように構成したものであり、横軸部105bを周方向に関して3箇所で把持することができる。このため、前述した第2の実施形態の場合と同様、1つ当たりの接触部125a,127a、131a,133aに作用するバネ力を軽減した上で、横軸部105bに対してサンバイザ本体103を回動動作する際に必要とされる所要の回転トルクを得ることが可能になる。
(本発明の第3の実施形態)
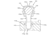
次に本発明の第3の実施形態に係るバネクリップつき、図12〜図15を参照して説明する。図12及び図13は本実施の形態に係るバネクリップ141の斜視図であり、図13は横軸部105bを把持した状態が示される。また、図14はバネクリップ141の側面図であり、図15はバネクリップ141の正面図である。
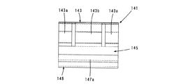
本実施の形態に係るバネクリップ141は、一体状の板バネを曲げ加工することによって形成されている。バネクリップ141は、底辺が上になる略逆三角形に曲げられた中央屈曲部143と、当該中央屈曲部143から下方へと延在されるとともに互いに対向する第1及び第2アーム部145,147とを主体として構成されている。中央屈曲部143は、横軸部105bを把持する把持領域を構成するものであり、互いに向かい合う二辺によって第1接触部143aと第2接触部143bを形成し、三角形の底辺に相当する上辺によって第3接触部143cを形成している。
すなわち、本実施の形態のバネクリップ141は、横軸部105bの外周を周方向に関して3箇所で把持する構成であり、第1接触部143a、第2接触部143b及び第3接触部143cが、横軸部105bの周方向に関して概ね等間隔(略120度間隔)で設定されている。中央屈曲部143は、本発明における「支軸保持領域」に対応する。そして、第3接触部143cは、本実施の形態では、第1及び第2接触部143a,143bが弾性変形する際の変形起点となる固定端143d側の延出部によって構成されている。
また、第1接触部143aと第2接触部143bは、図12に示すように、互い違いに向き合うように形成されている。このため、前述の第1の実施形態でも説明したように、横軸部105bに形成される切欠状の平坦部105cを、第1接触部143a用と第2接触部143b用とで長軸方向に関してずらせて形成できる。このため、第1接触部143a用と第2接触部143b用の平坦部105cが長軸方向の同位置に形成する場合に比べて横軸部105bの強度低下を低減できる。
第1アーム部145及び第2アーム部147は、第1接触部143a及び第2接触部143bから更に下方へと延在されている。第2アーム部147は、その延在端部が略U字状に折り返されるとともに、当該折り返し端部147aが第1アーム部145の延在端部外面に重ねられている。そして、図14に示すように、第1及び第2アーム部145,147の延在端部領域148がクリップ支持部113の支持孔113a内に上方から圧入されるとともに、第2アーム部147の折り返し端部147aの上端面が支持孔113aの段差部113bに係止することで抜け止めされている。
第1接触部143aと第2接触部143bは、共に傾斜平面によって形成されており、当該傾斜平面の法線方向が第3接触部143cに向かうとともに、互いに交差するように設定されている。第1接触部143aと第2接触部143bの対向間隔は、横軸部105bの円形外周を挟持したときに、クリップ支持部113にて支持される延在端部領域148を固定端として外側に拡開される大きさに設定されている。この外側への拡開により第1及び第2アーム部145,147にバネ力が発生され、当該バネ力によって第1及び第2接触部143a,143bが横軸部105bを挟み込む構成とされる。アーム部145,147の延在端部領域148は、本発明における「付勢力発生領域」及び「取付部」に対応する。
本実施の形態に係るバネクリップ141によれば、支軸105の横軸部105bの円形外周を周方向に関し3箇所で把持する構成としている。このため、サンバイザ本体103を回動操作に必要とされる所要の回転トルクを確保した上で、接触部143a,143b,143cの一箇所当たりのバネ力を軽減することができる。その結果、横軸部105bに関して、使用領域での使用頻度の高い部位が局部的に変形する(凹む)といった現象を防止し、また横軸部105bが、例えば合成樹脂製である場合にあっては、当該横軸部105bに生ずるクリープ現象を低減し、長期にわたって横軸部105bの円形状を維持して操作性を向上することができる。
また、横軸部105bを周方向3箇所で把持する構成とすることで、サンバイザ本体103を回動させるとき、横軸部105bとバネクリップ141との径方向の相対移動が生じない。従来の2点把持方式の場合、サンバイザ本体の回動動作の起動時にバネクリップと横軸部間に径方向の相対移動が生ずる可能性があり、かかる径方向の相対移動は、回動所期のトルク抜けによる操作フィーリングの悪化を引き起こすことになるが、本実施の形態によれば、かかる不具合を防止できる。
また、本実施の形態においては、バネ力を発生させる部位としてのアーム部145,147の延在端部領域148クリップ支持部113の支持孔113aに差し込んで取付ける構成としている。すなわち、バネ力発生領域が取付部を兼用する構成であり、わざわざ取付部を別途に設ける必要が無く、合理的な横軸部把持構造のバネクリップ141が提供される。
なお、上述した実施の形態では、バネクリップ121,141を支持するクリップ支持部113と、横軸部105bを相対回動自在に支持する軸受部115とを有する軸受体111が、サンバイザ本体103に対して固定状に設けられる形式のサンバイザ101であるとして説明したが、横軸部105bを相対回動自在に支持する軸受体111がサンバイザ本体103に対して横軸部105bの長軸方向(左右方向)にスライド可能とされるスライド式サンバイザに適用してもよい。
本発明の第1の実施形態に係る車両用サンバイザの全体構成を示す正面図である。 図1のA−A線断面図であり、サンバイザ本体が使用領域に置かれた使用時が示されている。 図1のA−A線断面図であり、サンバイザ本体が格納領域に置かれた格納状態(ロック時)が示されている。 バネクリップの全体構成を示す斜視図である。 バネクリップの側面図である。 バネクリップの正面図である。 第2の実施形態に係るバネクリップの側面図であり、サンバイザ本体が使用領域に置かれた使用時が示される。 同じくバネクリップの側面図であり、サンバイザ本体が格納領域に置かれた格納状態(ロック時)が示されている。 バネクリップの全体構成を示す斜視図である。 バネクリップの正面図である。 バネクリップの背面図である。 第3の実施形態に係るバネクリップの全体構成を示す斜視図である。 同じくバネクリップの全体構成を示す斜視図であり、横軸部を把持した状態が示される。 バネクリップの側面図である。 バネクリップの正面図である。
101 車両用サンバイザ
103 サンバイザ本体
105 支軸
105a 縦軸部
105b 横軸部
105c 平坦部
107 取付ブラケット
109 サポート軸
111 軸受体
113 クリップ支持部
113a 支持孔
113b 段差部
115 軸受部
121 バネクリップ(付勢保持部材)
123 中央屈曲部(付勢力発生領域)(取付部)
123a 係止片
125 第1アーム部(付勢保持領域)(挟み込み領域)
125a 第1接触部(付勢保持領域)(挟み込み領域)
127 第2アーム部(付勢保持領域)(挟み込み領域)
127a 第2接触部(付勢保持領域)(挟み込み領域)
129 延長アーム部(付勢保持領域)(第3の接触領域)
129a 第3接触部(付勢保持領域)(第3の接触領域)
131 延長アーム部(付勢保持領域)(第3の接触領域)
131a 第3接触部(付勢保持領域)(第3の接触領域)
133 延長アーム部(付勢保持領域)(第3の接触領域)
133a 第3接触部(付勢保持領域)(第3の接触領域)
141 バネクリップ(付勢保持部材)
143 中央屈曲部(付勢保持領域)
143a 第1接触部(挟み込み領域)
143b 第2接触部(挟み込み領域)
143c 第3接触部(第3の接触領域)
143d 固定端
145 第1アーム部
147 第2アーム部
147a 折り返し片
148 延在端部領域(付勢力発生領域)(取付部)

Claims (4)

  1. サンバイザ本体と、前記サンバイザ本体を車体に取り付ける支軸とを有し、前記サンバイザ本体が前記支軸回りに回動自在とされている車両用サンバイザであって、
    前記支軸を、当該支軸の周方向に関して、3つの領域のみで付勢保持する付勢保持部材を更に有し、
    前記付勢保持部材は、一体状の板ばねを曲げ加工することで形成され、前記支軸の外周を覆う前記3つの領域によって構成される支軸保持領域と、当該支軸保持領域から、前記支軸の長軸方向と交差する方向に所定距離だけ離間した付勢力発生領域とを一体状に有し、
    前記付勢力発生領域は、前記付勢保持部材を前記サンバイザ本体に取付ける取付部として設定されていることを特徴とする車両用サンバイザ。
  2. 請求項1に記載の車両用サンバイザであって、
    前記支軸保持領域は、互いに向き合うとともに前記支軸を弾発状に挟持する2つの挟み込み領域と、前記支軸を受ける1つの第3の接触領域を有し、
    前記2つの挟み込み領域は、当該挟み込み領域の法線方向が前記第3の接触領域に向かい、かつ互いに交差するように設定されていることを特徴とする車両用サンバイザ。
  3. 請求項2に記載の車両用サンバイザであって、
    前記第3の接触領域は、前記挟み込み領域の自由端側の延出部によって構成されていることを特徴とする車両用サンバイザ。
  4. 請求項2に記載の車両用サンバイザであって、
    前記第3の接触領域は、前記挟み込み領域の固定端側の延出部によって構成されていることを特徴とする車両用サンバイザ。
JP2009147594A 2008-07-28 2009-06-22 車両用サンバイザ Active JP5191960B2 (ja)

Priority Applications (5)

Application Number Priority Date Filing Date Title
JP2009147594A JP5191960B2 (ja) 2008-07-28 2009-06-22 車両用サンバイザ
US12/507,106 US20100019527A1 (en) 2008-07-28 2009-07-22 Sun visor for vehicles
DE200910035642 DE102009035642A1 (de) 2008-07-28 2009-07-23 Sonnenblende für ein Kraftfahrzeug
CN200910161019.3A CN101643015B (zh) 2008-07-28 2009-07-27 车辆用遮阳板
US13/735,445 US8562061B2 (en) 2008-07-28 2013-01-07 Sun visor for vehicles

Applications Claiming Priority (3)

Application Number Priority Date Filing Date Title
JP2008193650 2008-07-28
JP2008193650 2008-07-28
JP2009147594A JP5191960B2 (ja) 2008-07-28 2009-06-22 車両用サンバイザ

Publications (2)

Publication Number Publication Date
JP2010052723A true JP2010052723A (ja) 2010-03-11
JP5191960B2 JP5191960B2 (ja) 2013-05-08

Family

ID=41461931

Family Applications (1)

Application Number Title Priority Date Filing Date
JP2009147594A Active JP5191960B2 (ja) 2008-07-28 2009-06-22 車両用サンバイザ

Country Status (4)

Country Link
US (2) US20100019527A1 (ja)
JP (1) JP5191960B2 (ja)
CN (1) CN101643015B (ja)
DE (1) DE102009035642A1 (ja)

Cited By (3)

* Cited by examiner, † Cited by third party
Publication number Priority date Publication date Assignee Title
JP2014166833A (ja) * 2013-02-28 2014-09-11 Kyowa Sangyo Kk 車両用サンバイザ
JP2021178587A (ja) * 2020-05-14 2021-11-18 トヨタ自動車九州株式会社 車両用サンバイザーの支持部構造および車両用サンバイザー
JP2021178588A (ja) * 2020-05-14 2021-11-18 トヨタ自動車九州株式会社 車両用サンバイザーの支持部構造および車両用サンバイザー

Families Citing this family (10)

* Cited by examiner, † Cited by third party
Publication number Priority date Publication date Assignee Title
SE535511C2 (sv) * 2010-11-18 2012-09-04 Scania Cv Ab Solskyddsanordning för motorfordon
CN102434572A (zh) * 2011-08-31 2012-05-02 熊昉 一种任意翻转角度的遮阳板回转轴机构
JP2013248922A (ja) * 2012-05-30 2013-12-12 Kyowa Sangyo Kk 車両用サンバイザ
KR102047940B1 (ko) * 2013-11-13 2019-11-22 가부시키가이샤 파이오락꾸스 선 바이저용 스프링 및 선 바이저용 지지 장치
US9834068B2 (en) * 2013-12-18 2017-12-05 Hyundai Motor Company Sun visor for vehicle
US10442277B2 (en) * 2015-12-16 2019-10-15 Daimay North America Automotive Engineering Technology, Inc. Slide-on-rod assembly for a vehicle sun visor
US10081228B2 (en) * 2016-11-08 2018-09-25 Mahmoud Razzaghi Car visor
KR102055503B1 (ko) * 2018-06-14 2019-12-12 주식회사 동원테크 자동차용 선바이저
TWI657017B (zh) * 2018-09-21 2019-04-21 美律實業股份有限公司 樞軸組件以及包含其之容器
JP7263182B2 (ja) * 2019-08-27 2023-04-24 共和産業株式会社 車両用サンバイザ

Citations (4)

* Cited by examiner, † Cited by third party
Publication number Priority date Publication date Assignee Title
GB1354485A (en) * 1970-05-18 1974-06-05 Chrysler Uk Sunvisors for vehicles
JPH05246241A (ja) * 1992-03-06 1993-09-24 Neox Lab:Kk 車両用サンバイザの軸受支持構造
JPH0586628U (ja) * 1992-04-27 1993-11-22 河西工業株式会社 自動車用サンバイザ
JP2002331832A (ja) * 2001-05-08 2002-11-19 Mutsuwa Kogyo Kk 車両用サンバイザ

Family Cites Families (9)

* Cited by examiner, † Cited by third party
Publication number Priority date Publication date Assignee Title
US6010174A (en) * 1997-04-14 2000-01-04 Lear Automotive Dearborn, Inc. Sliding visor
DE10306733B4 (de) 2003-02-17 2005-08-18 Johnson Controls Interiors Gmbh & Co. Kg Vorrichtung zur Arretierung, Körper und Anordnung
CN1715087A (zh) * 2004-06-28 2006-01-04 爱信精机株式会社 车用遮阳装置
JP4722458B2 (ja) * 2004-11-09 2011-07-13 株式会社パイオラックス 車両アクセサリ固定用金属クリップ及びそれを用いた車両アクセサリ取付け構造
JP2006213269A (ja) * 2005-02-07 2006-08-17 Kyowa Sangyo Kk 車両用サンバイザとその製造方法
US20060267369A1 (en) * 2005-05-13 2006-11-30 Lear Corporation Sun visor detent spring clip
US7823954B2 (en) * 2006-12-08 2010-11-02 Johnson Controls Technology Company Slidable visor assembly
CN200992129Y (zh) * 2006-12-26 2007-12-19 王绍福 汽车用活动式滤光板
JP2008221873A (ja) 2007-03-08 2008-09-25 Kyowa Sangyo Kk 車両用サンバイザ

Patent Citations (4)

* Cited by examiner, † Cited by third party
Publication number Priority date Publication date Assignee Title
GB1354485A (en) * 1970-05-18 1974-06-05 Chrysler Uk Sunvisors for vehicles
JPH05246241A (ja) * 1992-03-06 1993-09-24 Neox Lab:Kk 車両用サンバイザの軸受支持構造
JPH0586628U (ja) * 1992-04-27 1993-11-22 河西工業株式会社 自動車用サンバイザ
JP2002331832A (ja) * 2001-05-08 2002-11-19 Mutsuwa Kogyo Kk 車両用サンバイザ

Cited By (5)

* Cited by examiner, † Cited by third party
Publication number Priority date Publication date Assignee Title
JP2014166833A (ja) * 2013-02-28 2014-09-11 Kyowa Sangyo Kk 車両用サンバイザ
JP2021178587A (ja) * 2020-05-14 2021-11-18 トヨタ自動車九州株式会社 車両用サンバイザーの支持部構造および車両用サンバイザー
JP2021178588A (ja) * 2020-05-14 2021-11-18 トヨタ自動車九州株式会社 車両用サンバイザーの支持部構造および車両用サンバイザー
JP7477360B2 (ja) 2020-05-14 2024-05-01 トヨタ自動車九州株式会社 車両用サンバイザーの支持部構造および車両用サンバイザー
JP7477361B2 (ja) 2020-05-14 2024-05-01 トヨタ自動車九州株式会社 車両用サンバイザーの支持部構造および車両用サンバイザー

Also Published As

Publication number Publication date
DE102009035642A1 (de) 2010-02-04
US8562061B2 (en) 2013-10-22
US20130119697A1 (en) 2013-05-16
US20100019527A1 (en) 2010-01-28
CN101643015B (zh) 2015-04-01
JP5191960B2 (ja) 2013-05-08
CN101643015A (zh) 2010-02-10

Similar Documents

Publication Publication Date Title
JP5191960B2 (ja) 車両用サンバイザ
JP4089386B2 (ja) アームレスト装置
JPWO2013187122A1 (ja) アシストグリップ
JP5821304B2 (ja) ガーニッシュ取付構造
JP2008212176A (ja) 車両用シートリクライニング装置
JP2008284973A (ja) 車両用サンバイザ
JP5727671B2 (ja) ロック装置
JP2005119536A (ja) 車両用サンバイザの軸受構造
JP2008221873A (ja) 車両用サンバイザ
JP2006282100A (ja) 車載用ディスプレイのヒンジ機構
JP6012286B2 (ja) ターンランプ付きドアミラー
JP4142724B1 (ja) スタビライザブッシュおよびスタビライザブッシュの取付構造
JP2015044433A (ja) 車両用サンバイザー
JP2009269489A (ja) 車両用サンバイザの支持構造
JP5507993B2 (ja) 車両用サンバイザーの取付構造
JP4406459B2 (ja) 車両用開閉体のヒンジ構造
JP2006282088A (ja) 格納式アウターミラー
JP5885628B2 (ja) 車両用サンバイザー
JP5056361B2 (ja) 車両用フードの支持構造
WO2019229967A1 (ja) 車両用サンバイザー
JP2010221895A (ja) 自動車用ベンチレータ装置
JP2003341361A (ja) 車両用サンバイザ
JP2014046756A (ja) 車両用サンバイザー
CN115384281A (zh) 一种遮阳板挂钩
JP2008068833A (ja) ワイパアーム及び車両用ワイパ

Legal Events

Date Code Title Description
A621 Written request for application examination

Free format text: JAPANESE INTERMEDIATE CODE: A621

Effective date: 20110428

A977 Report on retrieval

Free format text: JAPANESE INTERMEDIATE CODE: A971007

Effective date: 20120904

A131 Notification of reasons for refusal

Free format text: JAPANESE INTERMEDIATE CODE: A131

Effective date: 20120914

A521 Request for written amendment filed

Free format text: JAPANESE INTERMEDIATE CODE: A523

Effective date: 20121112

TRDD Decision of grant or rejection written
A01 Written decision to grant a patent or to grant a registration (utility model)

Free format text: JAPANESE INTERMEDIATE CODE: A01

Effective date: 20130107

A61 First payment of annual fees (during grant procedure)

Free format text: JAPANESE INTERMEDIATE CODE: A61

Effective date: 20130130

R150 Certificate of patent or registration of utility model

Ref document number: 5191960

Country of ref document: JP

Free format text: JAPANESE INTERMEDIATE CODE: R150

Free format text: JAPANESE INTERMEDIATE CODE: R150

FPAY Renewal fee payment (event date is renewal date of database)

Free format text: PAYMENT UNTIL: 20160208

Year of fee payment: 3

R250 Receipt of annual fees

Free format text: JAPANESE INTERMEDIATE CODE: R250

R250 Receipt of annual fees

Free format text: JAPANESE INTERMEDIATE CODE: R250

R250 Receipt of annual fees

Free format text: JAPANESE INTERMEDIATE CODE: R250

R250 Receipt of annual fees

Free format text: JAPANESE INTERMEDIATE CODE: R250

R250 Receipt of annual fees

Free format text: JAPANESE INTERMEDIATE CODE: R250

R250 Receipt of annual fees

Free format text: JAPANESE INTERMEDIATE CODE: R250