JP2010032517A - 試料試験管を取り扱う方法および研究室システム並びに画像解析ユニット - Google Patents

試料試験管を取り扱う方法および研究室システム並びに画像解析ユニット Download PDF

Info

Publication number
JP2010032517A
JP2010032517A JP2009172311A JP2009172311A JP2010032517A JP 2010032517 A JP2010032517 A JP 2010032517A JP 2009172311 A JP2009172311 A JP 2009172311A JP 2009172311 A JP2009172311 A JP 2009172311A JP 2010032517 A JP2010032517 A JP 2010032517A
Authority
JP
Japan
Prior art keywords
test tube
sample test
sample
rack
image analysis
Prior art date
Legal status (The legal status is an assumption and is not a legal conclusion. Google has not performed a legal analysis and makes no representation as to the accuracy of the status listed.)
Granted
Application number
JP2009172311A
Other languages
English (en)
Other versions
JP2010032517A5 (ja
JP5241639B2 (ja
Inventor
Christian Marty
マルティ ヒリスティアン
Markus Rinderknecht
リンダークネヒト マルクス
Current Assignee (The listed assignees may be inaccurate. Google has not performed a legal analysis and makes no representation or warranty as to the accuracy of the list.)
F Hoffmann La Roche AG
Original Assignee
F Hoffmann La Roche AG
Priority date (The priority date is an assumption and is not a legal conclusion. Google has not performed a legal analysis and makes no representation as to the accuracy of the date listed.)
Filing date
Publication date
Application filed by F Hoffmann La Roche AG filed Critical F Hoffmann La Roche AG
Publication of JP2010032517A publication Critical patent/JP2010032517A/ja
Publication of JP2010032517A5 publication Critical patent/JP2010032517A5/ja
Application granted granted Critical
Publication of JP5241639B2 publication Critical patent/JP5241639B2/ja
Active legal-status Critical Current
Anticipated expiration legal-status Critical

Links

Images

Classifications

    • GPHYSICS
    • G01MEASURING; TESTING
    • G01NINVESTIGATING OR ANALYSING MATERIALS BY DETERMINING THEIR CHEMICAL OR PHYSICAL PROPERTIES
    • G01N35/00Automatic analysis not limited to methods or materials provided for in any single one of groups G01N1/00 - G01N33/00; Handling materials therefor
    • G01N35/02Automatic analysis not limited to methods or materials provided for in any single one of groups G01N1/00 - G01N33/00; Handling materials therefor using a plurality of sample containers moved by a conveyor system past one or more treatment or analysis stations
    • G01N35/04Details of the conveyor system
    • GPHYSICS
    • G01MEASURING; TESTING
    • G01NINVESTIGATING OR ANALYSING MATERIALS BY DETERMINING THEIR CHEMICAL OR PHYSICAL PROPERTIES
    • G01N35/00Automatic analysis not limited to methods or materials provided for in any single one of groups G01N1/00 - G01N33/00; Handling materials therefor
    • G01N35/00584Control arrangements for automatic analysers
    • G01N35/00594Quality control, including calibration or testing of components of the analyser
    • GPHYSICS
    • G01MEASURING; TESTING
    • G01NINVESTIGATING OR ANALYSING MATERIALS BY DETERMINING THEIR CHEMICAL OR PHYSICAL PROPERTIES
    • G01N35/00Automatic analysis not limited to methods or materials provided for in any single one of groups G01N1/00 - G01N33/00; Handling materials therefor
    • G01N35/00584Control arrangements for automatic analysers
    • G01N35/00722Communications; Identification
    • G01N35/00732Identification of carriers, materials or components in automatic analysers
    • GPHYSICS
    • G01MEASURING; TESTING
    • G01NINVESTIGATING OR ANALYSING MATERIALS BY DETERMINING THEIR CHEMICAL OR PHYSICAL PROPERTIES
    • G01N35/00Automatic analysis not limited to methods or materials provided for in any single one of groups G01N1/00 - G01N33/00; Handling materials therefor
    • G01N35/02Automatic analysis not limited to methods or materials provided for in any single one of groups G01N1/00 - G01N33/00; Handling materials therefor using a plurality of sample containers moved by a conveyor system past one or more treatment or analysis stations
    • G01N35/04Details of the conveyor system
    • G01N2035/0401Sample carriers, cuvettes or reaction vessels
    • G01N2035/0418Plate elements with several rows of samples
    • G01N2035/0425Stacks, magazines or elevators for plates
    • GPHYSICS
    • G01MEASURING; TESTING
    • G01NINVESTIGATING OR ANALYSING MATERIALS BY DETERMINING THEIR CHEMICAL OR PHYSICAL PROPERTIES
    • G01N35/00Automatic analysis not limited to methods or materials provided for in any single one of groups G01N1/00 - G01N33/00; Handling materials therefor
    • G01N35/0099Automatic analysis not limited to methods or materials provided for in any single one of groups G01N1/00 - G01N33/00; Handling materials therefor comprising robots or similar manipulators
    • GPHYSICS
    • G01MEASURING; TESTING
    • G01NINVESTIGATING OR ANALYSING MATERIALS BY DETERMINING THEIR CHEMICAL OR PHYSICAL PROPERTIES
    • G01N35/00Automatic analysis not limited to methods or materials provided for in any single one of groups G01N1/00 - G01N33/00; Handling materials therefor
    • G01N35/02Automatic analysis not limited to methods or materials provided for in any single one of groups G01N1/00 - G01N33/00; Handling materials therefor using a plurality of sample containers moved by a conveyor system past one or more treatment or analysis stations
    • GPHYSICS
    • G01MEASURING; TESTING
    • G01NINVESTIGATING OR ANALYSING MATERIALS BY DETERMINING THEIR CHEMICAL OR PHYSICAL PROPERTIES
    • G01N35/00Automatic analysis not limited to methods or materials provided for in any single one of groups G01N1/00 - G01N33/00; Handling materials therefor
    • G01N35/02Automatic analysis not limited to methods or materials provided for in any single one of groups G01N1/00 - G01N33/00; Handling materials therefor using a plurality of sample containers moved by a conveyor system past one or more treatment or analysis stations
    • G01N35/028Automatic analysis not limited to methods or materials provided for in any single one of groups G01N1/00 - G01N33/00; Handling materials therefor using a plurality of sample containers moved by a conveyor system past one or more treatment or analysis stations having reaction cells in the form of microtitration plates
    • YGENERAL TAGGING OF NEW TECHNOLOGICAL DEVELOPMENTS; GENERAL TAGGING OF CROSS-SECTIONAL TECHNOLOGIES SPANNING OVER SEVERAL SECTIONS OF THE IPC; TECHNICAL SUBJECTS COVERED BY FORMER USPC CROSS-REFERENCE ART COLLECTIONS [XRACs] AND DIGESTS
    • Y10TECHNICAL SUBJECTS COVERED BY FORMER USPC
    • Y10TTECHNICAL SUBJECTS COVERED BY FORMER US CLASSIFICATION
    • Y10T436/00Chemistry: analytical and immunological testing
    • Y10T436/11Automated chemical analysis
    • YGENERAL TAGGING OF NEW TECHNOLOGICAL DEVELOPMENTS; GENERAL TAGGING OF CROSS-SECTIONAL TECHNOLOGIES SPANNING OVER SEVERAL SECTIONS OF THE IPC; TECHNICAL SUBJECTS COVERED BY FORMER USPC CROSS-REFERENCE ART COLLECTIONS [XRACs] AND DIGESTS
    • Y10TECHNICAL SUBJECTS COVERED BY FORMER USPC
    • Y10TTECHNICAL SUBJECTS COVERED BY FORMER US CLASSIFICATION
    • Y10T436/00Chemistry: analytical and immunological testing
    • Y10T436/11Automated chemical analysis
    • Y10T436/113332Automated chemical analysis with conveyance of sample along a test line in a container or rack
    • Y10T436/114165Automated chemical analysis with conveyance of sample along a test line in a container or rack with step of insertion or removal from test line

Landscapes

  • Physics & Mathematics (AREA)
  • Health & Medical Sciences (AREA)
  • Life Sciences & Earth Sciences (AREA)
  • Chemical & Material Sciences (AREA)
  • Analytical Chemistry (AREA)
  • Biochemistry (AREA)
  • General Health & Medical Sciences (AREA)
  • General Physics & Mathematics (AREA)
  • Immunology (AREA)
  • Pathology (AREA)
  • Engineering & Computer Science (AREA)
  • Quality & Reliability (AREA)
  • Automatic Analysis And Handling Materials Therefor (AREA)

Abstract

【課題】試料試験管を保存するための試験管識別自動システム。
【解決手段】試料試験管を収容している搬入一次ラックPRを、移送ユニットにより画像解析ユニット310に移送する段階、画像解析ユニットにおいて、一次ラックに収容されている少なくとも1つの試料試験管の形状についてのパラメータを画像解析により判定する段階、識別・割当ユニットにおいて、各々の試料試験管について、判定された形状についてのパラメータを予め決められた形状基準と比較して、試料試験管の形状が予め決められた形状基準を満たしているか否かを識別する段階からなる。
【選択図】図2

Description

本発明は、検査用研究室環境における試料試験管ラックの取扱いに、具体的にはそのような試料試験管を保存区画に保存するために試料試験管を取り扱う研究室装置に関する。より具体的には、本発明は自動化された試験管識別システムに関する。
患者の試料の検査および種々の試験管内診断が実施される、たとえばクリニックの試験所のような研究室においては、(血液、尿などのような)試料を収容する多数の試験管を、注意深く、ただし効率的な方法で取り扱わなければならない。このためにここ数年は、そのためのシステムと装置を備えることにより自動化された処理が行なわれてきた。
これらの試料試験管を取り扱うときの一観点は、試験管が、たとえば冷蔵装置であってもよいが、保存区画に配置されることに係る。効率よく取り扱うために、試験管は個別に取り扱われることなく所謂ラックに収容されている。一般に試験管は、クライアント、すなわち試料を研究室に送る個人、部署または機関が前もってラックに収容し、その後これらのラックに収容した状態で研究室に送付または搬送される。研究室において、試験管を収容しているラックは、検査のためにさらなる取扱いが行われる。そのようなラックは、大きさ、高さ、径、内容物、試料の有効期限などが異なる試験管をしばしば収容しているために、自動的な取扱いが煩雑になり、場合によってはラックを研究室の検査工程に自動的に乗せ続けることが不可能になるために、ラックを手作業で取り除かなければならなくなることもある。
米国特許第5985215号明細書は、各々が複数の試料容器を保持している試料ラックをラック供給ユニットから識別ユニットに移送して、試料容器の各々の種類を識別する操作を開示している。識別ユニットの後に、複数の分析ユニットが移送ラインに沿って配置されており、また、異なる種類のピペットが、分析ユニットの各々に設けられている。識別ユニットは、光学検出器を用いて試料ラックの各々に保持されている試料容器の各々の長さおよび幅についての情報を検出するようになっている。制御部は、識別ユニットにより検出された情報に基づいて、種類がわかっている試料容器の分析に好適な分析ユニットの1つを選び出し、種類がわかっている試料容器を選ばれた分析ユニットのピペットによる試料採取位置まで移送する。
国際公開第99/28724号パンフレットは、試料容器を自動的に配送するための病理学現場用の配送システムを開示している。このシステムは、試料を異なる種類の一次容器に入れる充填ステーション、容器を受け取って、容器の種類およびその中の試料を識別する試料取扱いステーション、並びにその中の試料について指示された分析方法が付けられている、配送ステーションの区画内またはラック内の容器を配送する容器配送ステーションを有する。取扱いステーションは、容器の種類を識別するために容器の蓋の形状と色および/または容器の他の特徴部分並びに液面および必要に応じて取り出すことができる試料の量を判定するために容器内の試料を撮影する画像解析機を有する。それはまた、容器内の試料を識別するためのバーコードリーダを有する。このために画像解析機は、試験管の大きさを捉えることができるデジタルカメラを有する。さらに試験管の部分的な映像を撮るために、多くの窓がカメラの視野内に画成されている。また、カメラ前方の定位置に配置された各々が対照的な黒と白の区画を撮影するために一対の窓が画成されている。複数の窓を通して撮影された画像は、アルゴリズムを用いて対応する窓の記録画像と比較されるようになっている。しかし周知のシステムは、撮像に当り単一の容器を取扱い、また、分析しなければならないようになっている。
本発明は、請求項1および10の特徴を備える試料試験管を取り扱う方法および研究室システム並びに請求項13の特徴を備える画像解析ユニットを提供するものである。
本発明によると、搬入一次ラックに収容されている試料試験管は、画像解析により分析される。画像解析データに基づいて、試料試験管の形状についてのパラメータが決定され、また、(図示してはいないが、本発明の研究室システムに接続されているCPUの一部である識別・割当てステーションにおいて)分析された試験管が予め決められた形状基準を満たすか否かが判定される。予め決められた基準を満たさない場合には、その試料試験管は、非適合に分類されるとともに、識別・割当てステーションによりそれ用の符号が割り当てられる。本発明によると、システム適合と判定された試料試験管の各々は、その後の処理工程に回され、また、システム非適合と判定された試料試験管は、エラー処理に回される。とりわけ、システム適合と判定された試料試験管の各々は、その後の処理のために(たとえば保存ラックまたはシステム要件準拠の別の標準ラックのような)所謂二次ラックに仕分けされる。
このように、本発明による試験管の識別においては、研究室システムに搬入して分析された試料試験管が所定の形状基準を満たすか否かが判定される。この判定に基づき、試料試験管は、システム適合またはシステム非適合のいずれかに分類され、その結果にしたがってさらなる処理が行なわれる。これにより試料試験管を自動化して取り扱うことが容易になるが、それは試料試験管を既知の種類に応じて分類する必要がなく、またそのような比較は間違いを生じやすいからである。また導入過程にある新しい種類の試験管については、システムのデータベースを更新しなければならない。本発明においては、一式の形状基準は、試料試験管がシステム要件準拠であることだけが求められており、新しい種類の試験管が用いられる場合にも変更する必要はない。その他の利点として、試料試験管は、本発明による分析のために一次ラックから取り出す必要はなく、それらのラック収容位置において分析可能である。これにより、1つのラックに収容されている全ての試験管を、速やかに、短時間でまたは即座にでも処理・分析することが可能になる。とりわけ、試料試験管が一次ラックに収容されている間に検査することにより、それらがシステム要件を満たしていないとき、把持部による試験管取扱いの全ての操作を無くすことができる。非準拠または非適合の試験管を把持部により取り扱うことは圧壊または取扱い操作の失敗になり得るために、このことはシステムのローバスト性を向上させることを可能にする。
本発明の一観点によると、予め決められた基準は試験管の径、試験管の高さ、一次ラックの収容位置にあるときの角度、試験管の蓋の存在および/または剥れそうなバーコードラベルからなる群のいずれか1つの基準を含む。分析は上記の順にまたはその他のいずれの順に進めてもよい。勿論、本発明は上記の基準に限定されるものではなく、当業者の基準リストには、形状についてのその他のパラメータが含まれていてもよい。
また、システム非適合であることが検出された試料試験管は、非適合の符号が割り当てられるようになっている。システム非適合として識別/符号付けされた試料試験管は、エラー処理に回される。たとえば無蓋の符号のように、システムにより解決できるエラーおよび、たとえば形状について求められるパラメータに非準拠の試験管のように、システムにより解決不可能なエラーがある。後者の類のエラーの場合、システムは、たとえば手作業によりさらに取り扱う試料試験管を搬入元に返送する、処分するなどのために、システム非適合の試料試験管を収容しているラックをエラー処理によりエラー位置に移送するようになっている。本発明によると、システム非適合と判定された試料試験管は、一次ラックから取り除かれることはなく、すなわちこの試料試験管はその後の取扱い(とりわけ把持すること)が行なわれないために、試験管を破損または圧壊する危険性を低下させることができる。システム非適合の試験管は(形状についての)システム要件に適合していないために圧壊される危険性が高い。このために圧壊および血液のような試料流体の漏洩を大幅に低減することができる。システム非適合の試験管は、それらのラックに留め置かれ、さらにシステム非適合の試料試験管を取り扱う替わりにラックを取り扱うことによりエラー処理が行なわれる。当ラック内のその他の試料試験管は、システム非適合の試料試験管のエラー処理の前に(特にラックから取り出して)さらなる処理を行うことができる。
試料試験管に(考え得る形状基準の1つである)蓋が付いていないことが検出されたためにエラー処理が開始されるもう1つの場合、非適合の符号とは無蓋の符号である。そのような無蓋の符号付けがなされた場合、システムは試料試験管に対する自動的な再閉蓋のために、その試料試験管を個別に、好ましくは(単体またはそれらの符号に拘らず、このラック内のその他の試料試験管とともに)一次ラックに収容してキャッピングステーションに移送する。キャッピングステーションには小さ過ぎるまたは大き過ぎる径の試験管がキャッピングステーションに移送されることを防止するために、キャッピングステーションへの移送は、試料試験管が径についての基準を満たしているか否かの判定が終わった後にだけ行われるようになっている。ラックおよび試験管の移送は、1つ以上のコンベヤ、1つ以上の搬送ベルトおよび/または1つ以上のロボットアームまたはその他の好適な搬送装置を有する移送ユニットにより自動化して行なわれる。無蓋の試料試験管に蓋が取り付けられ、またその他の適合要件を満たしているとき、この試験管に対する非適合の符号は適合の符号に変更され、本明細書に説明するようにこの試験管にはさらなる処理が行なわれる。
その他の特徴および実施形態は、本記述および添付図面から明白になるであろう。
上述した特徴および以下に説明する内容は、特定した組合せだけではなく、その他の組合せにおいてまたはそれ単独で、本発明の範囲から逸脱することなく用いることができると了解されるであろう。本発明の開示内容は、開示した装置およびシステムの操作に対応する方法も含み、また当記述はプログラムコーディング手段を備えるコンピュータプログラムも含むものであるが、プログラムコーディング手段は、コンピュータプログラムをコンピュータまたは制御ユニット上で走らせるとき、本発明の方法を実施するために好適である。コンピュータプログラム自体およびコンピュータにより読み取り可能なメディアの記憶内容についても特許請求を行なう。
種々の形態が例としての実施形態を用いて図面に模式的に示され、また図面を参照して以下に詳細に説明される。説明は本発明の範囲を決して制限するものではなく、好ましい実施形態の単なる例示であると了解されるものとする。
本発明の研究室システムを備える研究所装置の斜視図である。 本発明の研究室システムのラック取扱領域の平面図である。 本発明の画像解析ユニットの略平面図である。 形状基準が付加されている、5つの試料試験管を収容している一次ラックの画像である。 本発明の画像解析ユニットのバックライトボックスの平面図および正面図である。 本発明の連続画像ユニットの略平面図である。 本発明の連続画像ユニットにより撮影した画像の例である。 一次ラックを保持しているロボットアームの把持部を前方から見たときの斜視図である。 本発明による、分析対象の種々の形状基準である。 本発明による試験管識別のための第1のフローチャートである。 本発明による試験管識別のための第2のフローチャートである。
以下、いくつかの実施形態を参照して詳細に説明するが、その例は添付図面に示されている。可能な限り、同一の参照符号が全図面を通して同一のまたは類似の構成要素を示すために用いられている。
図1は、本発明の研究室システムを備える研究所装置10の斜視図である。この研究所装置10は、総合研究所分析システムの一部を構成する所謂搬入・搬出モジュール(SRM)である。搬入・搬出モジュールは、一次ラック取扱部12(図1においては左側)および冷蔵または冷却区画14(図1においては右側)を有する。2つの部分12、14の間には、ラックが一次ラック取扱部12から冷蔵または冷却区画14に搬入されるかつ(搬出の場合には)反対方向に移送される搬入・搬出インターフェース(図示せず)が配置されている。この搬入・搬出インターフェースは、ゲートなどのように構成されていてもよい。
保存区画14は冷蔵庫16を備える。本発明でいう所の保存区画は、好ましくは保存ラックに収容されている複数の試料試験管を保存できる種々の大きさのキャビネットである。保存区画は保存区画内の試験管の周辺温度を室温未満、場合によっては18℃未満、さらに場合によっては10℃未満に保持できる適切な調節装置を備える。
保存区画14は、多数の試料試験管ラックを保存するための複数の棚をその内部に有する。本発明によると、保存区画に搬入された試料試験管ラックは、所謂保存ラック、すなわち標準ラックである。このことは本発明の形状基準を満たす一次ラック(すなわち種々の搬入ラック)に収容されている全ての試験管は、各々の一次ラックから取り出されて、保存区画14に搬入する前に適切な保存ラックに改めて仕分けされることを意味する。保存区画は、1人または2人の人がドア(図示せず)を通って保存区画14内に入ることができるほどの大きさである。ドアが開いたときには、安全スイッチ回路が、(ロボットアーム若しくはその他の移送または搬送システムのような)全ての動作中のシステムを、たとえばニュートラルまたはホームポジションに切り換えて確実に停止させる。一次ラックは標準形に近い形状の単列配置のラックであり、そのために複数の異なる研究室システムにおいて容易に取り扱うことができるが、二次ラック、とりわけ保存ラックは複数列ラック(たとえば10を超える位置、たとえば13や14の位置を有する3列式)である。したがって二次ラックは、とりわけ保存を目的とするときには、安定性がより高くなり転倒する可能性が小さくなる。
また、保存区画14は処理区画18を有する。処理区画18は、保存区画14を処理区画18から隔離する壁の内部開口(ここに示す)を介して保存区画14に連結されている。有効期限(すなわち保存期限)が経過した試料試験管は、この開口を通り処理装置18により自動的に廃棄される。
ラック取扱部12は、オペレータがラック取扱部の動作状況を直接見ることができるよう窓が設けられた複数の外壁を備えるハウジングを有する。ラック取扱部12は外壁の1つに開口20を有し、そこを介して一次ラックを搬入・搬出モジュール10に挿入することができる。開口20は、(図1において、窓の1つを通して見ることができる)少なくとも1つのロボットアーム220を備えるラック取扱領域210に通じている(図2参照)。開口20は、引き戸または回転式扉(図示せず)により閉鎖できるようになっている。
ラック取扱部12は、空になった一次ラックおよび/またはエラー表示の試料試験管を収容している一次ラックおよび/または少なくとも1つの搬出試料試験管を収容しているラックを搬入・搬出モジュール10から取り出すことができる引出し22、24をさらに有する。取り違えによる誤りを避けるために、上述した種々の(すなわちエラーラック、空のラック、別の検査または再検査が必要な試験管のラック)を取り出すための明確な搬出領域を画成しておくことが好ましい。
またラック取扱部12は、試験管用蓋の供給タンク28を備えるキャッピング部26を有する。
搬入・搬出モジュール10は、また多関節アーム34の端部にタッチ・スクリーン・モニタ32形態のマン・マシン・インターフェース(MMI)30を有する。
図2は、本発明の研究室システムのラック取扱領域210の平面図である。ラック取扱部210は、図1のラック取扱部12の内部に基盤212を有する。それは、本質的には基盤212の中央にまたはラック取扱領域210内の少なくとも全ての部位に届くことができる、少なくともある位置に装着された第1のロボットアーム220をさらに有する。この目的のためには、たとえば4軸、4自由度のSCARA型ロボットのような周知で好適なロボットのいずれをも用いることができる。ロボットアーム220は、その端部に、取り扱うラックを確実につかむことができるようになっている把持部222を有する。
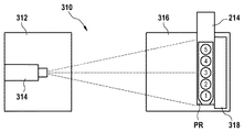
基盤212には、試料試験管(たとえば5つの試料試験管)を収容している搬入一次ラックPRを、基盤212上に同様に配置された画像解析ユニット310に搬送するためのコンベヤ214が設けられている(図3参照)。
さらに複数の配列要素230が、基盤212に設けられている。配列要素230は、一次ラックPRを所望の位置に合わせてまたはロボットアーム220の把持部222の向きに対応する向きに保持できるように構成されている。配列要素230は、一次ラックを基盤212上に一時的に停止または保存するための領域を画成するようになっている。ここには配列要素の形状にマッチするいずれの種類の一次ラックも一時停止させることができるが、保存区画14から取り出した試料試験管は別の検査または再検査が必要であるために、それらを搬入するための所謂標準一次ラックをこの領域にストックしておくことが好ましい。
処理の全ての段階において、(試料試験管の位置1〜5を何時も間違いなく特定できるよう;図3および図4参照)一次ラックPRの適切な向きを確保するために、一次ラックは開口20を介してコンベヤ214に直接搬入するのではなく、ロボットアーム220の把持部222により持ち上げてコンベヤ214に載置される。このために搬入ラックの受入部(図示せず)が設けられており、ロボットアームは搬入ラックを所望の向きにしてコンベヤ214に載置するために、それをそこから取り出すようになっている。このために、ロボットアームは、つかんだラックの把持部に対する向きを判定するための方向検知器が装備されている。代替として、ラックの向きおよびラック内の容器の位置は、画像解析ユニットで得られる形状についてのパラメータに基づいて判定されるようになっている。
図3に示すように画像解析ユニット310は、カメラ314が配置されている第1のハウジング312および第2のハウジング316を有し、第2のハウジング316においては、コンベヤ214が一次ラックPRを第2のハウジング316に搬入するよう、均一に照らしているバックライト318前方の予め決められた位置(検査位置)まで通じている。第2のハウジング316は、録画中に一次ラックを外部光から防護する光トンネルの機能を有する。図4からわかるように、カメラ314はバックライト318前方の予め決められたラック位置に焦点が合って、一次ラックPRの5つの試験管1〜5の少なくとも全てのおよび一次ラックPRの少なくとも上部の映像を撮ることができるように配置されている。照明の均一性をさらに向上させるために、バックグラウンド照明装置には光拡散装置(light homogenisator)、たとえばグラウンドガラスが設けられていてもよい。
カメラ314で撮った画像410は、試料試験管1〜5の、予め決められた形状についての種々のパラメータが、予め決められた形状基準にしたがって解析される。(周知で、好適な種類のいずれの解析機であってもよいが)画像解析機は予め決められた、また位置間の既知の間隔(図示例においては23mm;一次ラックPRの位置1だけは、一次ラックの形状のために21.5mmという小さい幅を有するが、これによりラックが適切な向きにあることを確認することができる)のために種々の試料試験管1〜5を検出して識別することができる。
分析されるパラメータの1つは、一次ラックPRの上部縁から飛び出している試料試験管の高さである。蓋を含む試料試験管の全高をhTC、無蓋の試料試験管の高さをhTとする。
他のパラメータの1つは試料試験管の径であり、それをdTとする。さらに別のパラメータは蓋の径であり、それをdCとする。蓋の存在は、dC>dTであるか否かをおよび/またはhTC>hTであるか否かを判定することにより識別することができる。代替として蓋の存在は、2つの計測視野、蓋外側の基準視野および蓋内部の計測視野の明るさの差を判定するまたは試験管の頂部線を判定することにより識別することができる。
別のパラメータは、ラック内の試料試験管の角度、すなわち所望のまたは最適位置である垂直からのその傾きである。角度は、まず画像解析により試験管の縦軸を確定し、次いで縦軸と垂線の間の角度を測定することにより決定することができる。ラック内の試料試験管の角度を知ることは、大きく傾き過ぎている試料試験管はロボットアームの把持部により適切に持ち上げることが不可能であり、またそれは、把持部により圧壊されるまたは落して粉砕される恐れがあるために重要である。全ての圧壊および粉砕は、多くの場合血液である収容流体の漏洩に繋がるために避けなければならない。
さらにもう1つのパラメータは、試験管の各々の外面(壁)に付いているバーコードラベルが正しく貼付されているか否かまたは剥れそうになっていないか(すなわち剥れそうなバーコードラベルがあるか否か)ということである。このことは、試料試験管の径dTがその高hT全域にわたって一定であるか否かを調べることにより判定することができる。一定の径からの全ての逸脱が、剥れそうなバーコードラベルの表れである。これを知ることは、バーコードラベルが剥れそうな試料試験管は、とりわけ一次ラックから取り出すとき(この場合、試料試験管は剥れそうなバーコードラベルのためにつかえる)またはそれらを別のラックに挿着するとき(この場合、ラベル材が邪魔になって、試験管を目標とするラックの使用可能な開口に挿入することができない)に取扱いの障害となるために重要である。
図9は、本発明の画像解析ユニットにおいて判定される種々の計測パラメータを示す。パラメータP1はバックライトの縁を示し、パラメータP2はフィンを示し、パラメータP3は矩形の計測視野を示し、パラメータP4はラックの上部縁を示し、パラメータP5は試料試験管を示し、パラメータP6は蓋を示し、パラメータP7はバーコードラベルを示し、パラメータP8は(剥れそうなラベルを無視したときの)側壁の形状を示し、パラメータP9は試験管の軸を示し、パラメータP10は頂部線を示し、パラメータP11は全高を示し、パラメータP12は、明るさチェックのための基準および計測視野を示し、パラメータP13は試験管の径を示し、パラメータP14は試験管の頂部線を示し、パラメータP15は試験管の高さを示し、さらにパラメータP16は蓋の軸を示す。図10は、識別工程のための「識別コマンド」の第1のフローチャートを示し、図11は、図10のフローチャートのサブコマンド「1つの矩形を識別せよ」の詳細を示す。
図5は、本発明の画像解析ユニット310のバックライトボックス318の平面図(上図)および正面図(下図)である。バックライトボックス318は、その最も簡単な例においては、5つの囲繞壁とカメラ314側の開放正面からなる箱である。壁の内側は、(バックライト自体から発せられる)照明の均一性を向上させるとともに、散乱光の侵入を防止するように構成されている。図5からわかるように、箱はバックライトボックスの内部にほぼ垂直に延在して、一次ラックPR内の試料試験管1、2、3、4、5の、ラック内の試験管位置に合わせて映像区画511、512、513、514、515を画成するフィンまたはブレード510をさらに有する。
映像区画を画成することの他に、フィン510も、また、1つの区画から別の区画への散乱光を低減させて映像または画像の質を向上させる。バックライトボックスは、波長数nmの単色光を放射するようになっていることが好ましい。カメラは、灰色画像の数値データを記録する。
フィン510は、バックライトボックス318の上壁522に設けられた溝520に配置されている(また、フィンをしっかりと固定するために、対応する溝が底壁524に設けられている)。図からわかるように、フィン510は互いに平行ではなく、カメラ314のレンズの光路に沿った配列になるよう角度をなして配置されている。このことは、フィンの各々がカメラ314により撮った映像または画像に試験管の映像区画を相互に区切る線として写るために試料試験管が所定のラック位置にあることを判定し、また試料試験管を識別することが容易になることを意味する。間違いを無くし、また明確にするために、フィンは図4の例示としての画像には写っていないことに留意しなければならない。
図5の右側には、バックライト318の配線用の端子524が示されている。
使用するときには、一次ラックPRが、画像解析ユニット310の第2のハウジング316のフィン510の前方またはフィン510の後方に挿着される(両方の選択肢が基本的に可能である;後者の場合、一次ラックは、バックライトとフィンの間に挿着される;最初の選択肢は、フィンが1つの区画から別の区画への散乱光を低減するという利点を有する;上記参照)。正しい配置は、一次ラックに収容されている試料試験管の各々の位置が各々2つのフィン510の間にあるときに得られる。図3を参照してすでに先に説明したように、コンベヤ214によりラックを挿着できるようにするために適切な開口(図示せず)が第2のハウジングの側壁の1つに設けられている。
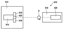
図6は、本発明の連続画像ユニット610の略平面図である。連続画像ユニット610は、追加、すなわち画像解析ユニット310に追加される画像ユニットである。連続画像ユニット610の目的は、試料試験管の各々の連続画像を撮ることである。連続画像(ロールオフ画像とも呼ばれる)は、被写体を異なる画角で撮った連続画像を、好ましくは1つの写真で見せることができる。これは写真を撮る対象を、たとえば回転させ、この回転中に好ましくは所定の回転角度毎の写真を連続して撮ることによって得ることができる。これにより、被写体の全てのまたは少なくとも複数の側面を1つの写真で見ることができるようになる。試料試験管のそのような連続またはロールオフ写真の例は図7に示されており、それは試験管の周囲360°にわたる16の画像を含む、すなわち回転角22.5°毎に撮られた写真である。勿論、360°全域にわたって撮る必要はない。
図6に戻って説明すると、本発明の連続画像ユニット610は、カメラ614が配置されている第1のハウジング612およびレーザスキャナ620が配置されている第2のハウジング616を有する。写真を撮る試料試験管Sを正面から照らすために、光源618が、第1のハウジング612に配置されている。光源618は、カメラ614のレンズ620の周囲に配置されており、また光源618は、ストロボ、フラッシュライトまたは恒明灯であってよい。第2のハウジング616は、レーザスキャナ620に対する光避けまたは遮蔽体である。レーザスキャナ620およびカメラ614は、図6からわかるように、互いに直線上に配置されているが、それらはまた試験管が回転しているとき、その両方が同一の試料試験管Sに対向する限り、異なる光軸上に配置されていてもよい。
使用するときには、試料試験管Sを光路622に配置すると試料試験管Sの回転が開始される。回転は、たとえばロボットの把持部により行うことができる。試料試験管は、把持部によりラックから取り出し、次いで回転させて写真を撮った後にラックの同一の場所に戻される。代替として、試料試験管は把持部によりつまんでバーコードラベルの少なくとも一部をスキャナにより読み取ることができる高さだけラックの上方に持ち上げられるが試料試験管の下部はそれ用のラックの開口内に留まる。この方法は、写真撮影後の試料試験管のラックへの再挿着を容易にしてくれる。別の代替例として、試料試験管を一次ラックからまったく取り出すことをせず、替わって、ラック内で回転させるようになっている。この代替例は(回転させること以外に)試料試験管を取り扱うことがまったく必要ないが、一次ラックPRの、各々の試料試験管位置前方の隙間79(図8参照)が十分な大きさであることが必要であり、この場合、試料試験管の表面に貼付されたバーコードラベルは試料試験管がそのラック位置内で回転している間に、隙間79を介して読取り可能である(図6は、例示を目的として1つの試料試験管だけを示す;実際に使用するときには、試料試験管を収容しているラック全体が上述の代替例にしたがって挿着される)。
回転の開始と同時に、カメラは、後で連続写真となる、初めの(部分)静止画の最初の写真の撮影を開始する。カメラでの撮影開始は、時間または角度によって決められる(角度はロボット把持部の位置センサが決める)。連続写真は、試料試験管Sの周囲360°の一部または全域にわたっていてもよい。
試験管の回転および写真撮影と同時に、レーザスキャナは貼付されているはずのバーコードラベルを読み取るために試料試験管の表面を走査する。それはバーコード情報を読み取り、それを試験管の連続写真とともにまたは連続写真データに対するポインタなどとともにデータベースに保存するようになっている。
連続写真の完成後、試料試験管は、さらに処理された後に保存区画14の冷蔵庫16に保存される。本発明においては、起こり得る追加検査のために保存されている試料試験管を保存区画から取り出す前に、本発明は試験管の対応する連続写真をバーコード情報とともに読み出して試料試験管の全外観を調べることができるようになっているために、オペレータは、取り出す試料試験管が正しい試験管であることを確認でき、これにより違う試料試験管が保存区画から取り出されることを防止することが可能になる。
1、2、3、4、5 試料試験管
26 キャッピングステーション
310 画像解析ユニット
314 カメラ
318 バックライト
511、512、513、514、515 映像区画
520 位置合わせされたフィン

Claims (15)

  1. 試料試験管(1、2、3、4、5)を収容している搬入一次ラック(PR)を移送するための移送ユニット、画像解析ユニット(310)および識別・割当ユニットを有する研究室システムの研究室試料試験管を取り扱う方法において、
    −試料試験管(1、2、3、4、5)を収容している搬入一次ラック(PR)を、前記移送ユニットにより前記画像解析ユニット(310)に移送する段階と、
    −前記画像解析ユニット(310)において、前記一次ラックに収容されている少なくとも1つの試料試験管の形状についてのパラメータを画像解析により判定する段階と、
    −前記識別・割当ユニットにおいて、各々の試料試験管について、前記判定された形状についてのパラメータを予め決められた形状基準と比較して、前記試料試験管の形状が前記予め決められた形状基準を満たしているか否かを識別する段階と、
    −満たしている場合に、前記試料試験管をシステム適合に分類する段階と、
    −そうでない場合には、前記試料試験管をシステム非適合に分類する段階とを含み、
    システム適合と判定された各々の試料試験管は、さらなる処理に回され、また、システム非適合と判定された各々の試料試験管は、エラー処理に回されることを特徴とする方法。
  2. 前記予め決められた基準は、試験管の径、試験管の高さ、一次ラックの収容位置にあるときの角度、試験管用蓋の存在および/または剥れそうなバーコードラベルからなる群のいずれか1つの基準を含むことを特徴とする請求項1記載の方法。
  3. 前記試料試験管が予め決められた基準の少なくとも1つを満たしていないことが確認された場合、前記試料試験管に非適合の符号を割り当てる段階をさらに含むことを特徴とする請求項1または2記載の方法。
  4. 前記非適合の符号は、前記試料試験管に蓋が付いていないことが確認された場合には、無蓋の符号であることを特徴とする請求項3記載の方法。
  5. 無蓋の符号の試料試験管を収容している一次ラックは、前記試料試験管に対する自動的な再閉蓋のためにキャッピングステーション(26)に移送されることを特徴とする請求項4記載の方法。
  6. システム適合と判定された試料試験管は、連続画像ユニット(310)により検査されることを特徴とする請求項1記載の方法。
  7. 非適合の符号が割り当てられた場合、対応する一次ラックは(PR)は、その後の手作業による取扱いのためにエラー位置に移送されることを特徴とする請求項3または4記載の方法。
  8. システム適合と判定された試料試験管は、把持部により前記一次ラック(PR)から取り出されることを特徴とする請求項1記載の方法。
  9. システム適合と判定された試料試験管は、二次ラックに仕分けされることを特徴とする請求項8記載の方法。
  10. 研究室試料試験管を取り扱う研究室システムにおいて、試料試験管(1、2、3、4、5)を収容している搬入一次ラック(PR)を移送するための移送ユニットと、試料試験管を分析するための画像解析ユニット(310)と、前記画像解析ユニット(310)のデータに基づいて、各々の試料試験管(1、2、3、4、5)について試料試験管の形状が予め決められた基準を満たすか否かを判定して、前記判定の結果により各々の試料試験管を各々システム適合またはシステム非適合に分類する識別・割当ユニットとを有し、システム適合と判定された各々の試料試験管は、さらなる処理に回され、また、システム非適合と判定された各々の試料試験管は、エラー処理に回されることを特徴とする研究室システム。
  11. 前記予め決められた基準は、試験管の径、試験管の高さ、一次ラックの収容位置にあるときの角度、試験管用蓋の存在および/または剥れそうなバーコードラベルからなる群のいずれか1つの基準を含むことを特徴とする請求項10記載の研究室システム。
  12. 蓋が付いていないと判定された少なくとも1つの試料試験管を収容している一次ラック(PR)が前記試料試験管に対する自動的な再閉蓋のために移送されるキャッピングステーション(26)をさらに有することを特徴とする請求項10または11記載の研究室システム。
  13. ラック(PR)に収容された研究室試料試験管用の画像解析ユニット(310)において、バックライト(318)前方の、前記ラック(PR)の検査位置と、少なくとも2つの試料試験管を収容している前記ラックの写真を撮るためのカメラ(314)とを有し、前記バックライト(318)は、前記カメラ(314)に向けて光を放射していることを特徴とする画像解析ユニット(310)。
  14. 試料試験管(1、2、3、4、5)の映像区画(511、512、513、514、515)を画成する位置決めされた一式のフィン(520)をさらに有することを特徴とする請求項13記載の画像解析ユニット(310)。
  15. 前記フィン(520)は、前記カメラ(314)の光路に位置が合わされていることを特徴とする請求項14記載の画像解析ユニット(310)。
JP2009172311A 2008-07-25 2009-07-23 試料試験管を取り扱う方法および研究室システム並びに画像解析ユニット Active JP5241639B2 (ja)

Applications Claiming Priority (2)

Application Number Priority Date Filing Date Title
EP20080013458 EP2148205B1 (en) 2008-07-25 2008-07-25 A method and laboratory system for handling sample tubes and an image analysing unit
EP08013458.8 2008-07-25

Related Child Applications (1)

Application Number Title Priority Date Filing Date
JP2013076209A Division JP5629801B2 (ja) 2008-07-25 2013-04-01 試料試験管を取り扱う方法および研究室システム並びに画像解析ユニット

Publications (3)

Publication Number Publication Date
JP2010032517A true JP2010032517A (ja) 2010-02-12
JP2010032517A5 JP2010032517A5 (ja) 2011-11-24
JP5241639B2 JP5241639B2 (ja) 2013-07-17

Family

ID=40091857

Family Applications (2)

Application Number Title Priority Date Filing Date
JP2009172311A Active JP5241639B2 (ja) 2008-07-25 2009-07-23 試料試験管を取り扱う方法および研究室システム並びに画像解析ユニット
JP2013076209A Active JP5629801B2 (ja) 2008-07-25 2013-04-01 試料試験管を取り扱う方法および研究室システム並びに画像解析ユニット

Family Applications After (1)

Application Number Title Priority Date Filing Date
JP2013076209A Active JP5629801B2 (ja) 2008-07-25 2013-04-01 試料試験管を取り扱う方法および研究室システム並びに画像解析ユニット

Country Status (4)

Country Link
US (1) US8859289B2 (ja)
EP (1) EP2148205B1 (ja)
JP (2) JP5241639B2 (ja)
ES (1) ES2402225T3 (ja)

Cited By (6)

* Cited by examiner, † Cited by third party
Publication number Priority date Publication date Assignee Title
JP2011257236A (ja) * 2010-06-08 2011-12-22 Srl Inc 検体認識装置
JP2013024691A (ja) * 2011-07-20 2013-02-04 Hitachi High-Technologies Corp 自動分析装置
JP2014130165A (ja) * 2010-05-24 2014-07-10 Hitachi High-Technologies Corp 検体検査自動化システム
JP2015017868A (ja) * 2013-07-10 2015-01-29 株式会社日立ハイテクノロジーズ 開栓装置
JP2020527712A (ja) * 2017-07-19 2020-09-10 シーメンス・ヘルスケア・ダイアグノスティックス・インコーポレーテッドSiemens Healthcare Diagnostics Inc. 検体の特性を評価するための迷光補償方法及び装置
JP2021107810A (ja) * 2019-12-18 2021-07-29 エフ ホフマン−ラ ロッシュ アクチェン ゲゼルシャフト 検査室自動化システムでの使用に対する、試料管の適合性を評価するための方法および装置

Families Citing this family (55)

* Cited by examiner, † Cited by third party
Publication number Priority date Publication date Assignee Title
DE102009046662A1 (de) * 2009-11-12 2011-05-19 Robert Bosch Gmbh Vorrichtung zur Entnahme von Behältern
EP2743705B1 (en) 2010-07-23 2016-10-12 Beckman Coulter, Inc. System or method of including analytical units
JP5417353B2 (ja) * 2011-01-31 2014-02-12 株式会社日立ハイテクノロジーズ 自動分析システム
KR20140036177A (ko) 2011-05-13 2014-03-25 베크만 컬터, 인코포레이티드 실험실 제품 이송 요소를 포함하는 시스템 및 방법
KR20140036178A (ko) 2011-05-13 2014-03-25 베크만 컬터, 인코포레이티드 실험실 제품 이송 요소 및 경로 배열 구조체
JP5838526B2 (ja) * 2011-05-18 2016-01-06 株式会社テクノメデイカ 採血管自動準備システム
EP2538225A1 (en) 2011-06-20 2012-12-26 F. Hoffmann-La Roche AG System for processing closed sample tubes
EP2538227B1 (en) 2011-06-20 2015-02-18 F. Hoffmann-La Roche AG Device for decapping and recapping sample tubes
JP6021909B2 (ja) 2011-07-21 2016-11-09 ブルックス オートメーション インコーポレイテッド 低温試料グループホルダーにおける寸法変化の補正のための方法と装置
EP2574933A1 (en) * 2011-09-29 2013-04-03 F. Hoffmann-La Roche AG Handling of sample tubes comprising geometric tube data
US8973736B2 (en) 2011-11-07 2015-03-10 Beckman Coulter, Inc. Magnetic damping for specimen transport system
KR20140091033A (ko) 2011-11-07 2014-07-18 베크만 컬터, 인코포레이티드 검체 컨테이너 검출
EP2776843B1 (en) 2011-11-07 2019-03-27 Beckman Coulter, Inc. Centrifuge system and workflow
US9910054B2 (en) 2011-11-07 2018-03-06 Beckman Coulter, Inc. System and method for processing samples
WO2013070754A1 (en) * 2011-11-07 2013-05-16 Beckman Coulter, Inc. Robotic arm
WO2013070716A2 (en) * 2011-11-07 2013-05-16 Beckman Coulter, Inc. Centrifuge imbalance sensor and non-contact specimen container characterization
EP2776846B1 (en) 2011-11-07 2019-08-21 Beckman Coulter, Inc. Aliquotter system and workflow
US9381524B2 (en) 2011-11-08 2016-07-05 Becton, Dickinson And Company System and method for automated sample preparation
DE102011055899B4 (de) * 2011-11-30 2013-11-21 Andreas Hettich Gmbh & Co. Kg Verfahren und eine Vorrichtung zum Handhaben von Probenbehältern
JP5861008B2 (ja) 2012-09-14 2016-02-16 ベックマン コールター, インコーポレイテッド キャピラリ輸送体を備える分析システム
JP6009881B2 (ja) * 2012-09-20 2016-10-19 シスメックス株式会社 検体移し替え装置および検体処理システム
WO2014138533A1 (en) * 2013-03-08 2014-09-12 Siemens Healthcare Diagnostics Inc. Tube characterization station
DE102013214694B4 (de) 2013-07-26 2015-02-12 Roche Pvt Gmbh Verfahren zum Handhaben eines Gegenstands und Vorrichtung zum Handhaben von Gegenständen
EP3194905B8 (en) * 2014-09-17 2024-11-20 Quest Diagnostics Investments Incorporated Device and method for evaluating amount of biological sample in a specimen container
US9835640B2 (en) 2015-02-13 2017-12-05 Abbott Laboratories Automated storage modules for diagnostic analyzer liquids and related systems and methods
JP6719901B2 (ja) * 2015-12-28 2020-07-08 あおい精機株式会社 検体処理装置
EP3408646B1 (en) * 2016-01-28 2024-05-29 Siemens Healthcare Diagnostics Inc. Methods and apparatus for characterizing a specimen container and a specimen
JP6932894B2 (ja) 2016-01-28 2021-09-08 シーメンス・ヘルスケア・ダイアグノスティックス・インコーポレーテッドSiemens Healthcare Diagnostics Inc. 複数の露光を使用して試料容器及び/又は試料を画像化するための方法及び装置
CH712734A1 (de) 2016-07-22 2018-01-31 Tecan Trading Ag Erkennungsvorrichtung und -verfahren zum Erkennen von Kennzeichen an und/oder Merkmalen von Laborobjekten.
IT201600081444A1 (it) 2016-08-03 2018-02-03 I M A Industria Macch Automatiche S P A In Sigla Ima S P A Macchina per il riempimento e confezionamento di flaconi, cartucce, siringhe e simili con cambio di formato automatico.
EP3523045B1 (en) * 2016-10-07 2023-08-02 Azenta, Inc. Sample tube and method
KR102586862B1 (ko) 2016-10-28 2023-10-11 베크만 컬터, 인코포레이티드 물질 준비 평가 시스템
CN108021963B (zh) * 2016-10-28 2020-12-01 北京东软医疗设备有限公司 医疗影像设备零部件的标识装置
CN110178014B (zh) 2016-11-14 2023-05-02 美国西门子医学诊断股份有限公司 用于使用图案照明表征样本的方法和设备
US10427162B2 (en) 2016-12-21 2019-10-01 Quandx Inc. Systems and methods for molecular diagnostics
CN106771287B (zh) * 2017-01-18 2018-03-16 长沙迈迪克智能科技有限公司 智能化血液标本流水线处理系统
CN106814198A (zh) * 2017-03-14 2017-06-09 骏实生物科技(上海)有限公司 一种试剂耗材容器的入位检测装置及其应用
EP3642633A4 (en) 2017-06-21 2021-05-12 Abbott Molecular Inc. Methods of automatized sample loading and processing and devices and systems related thereto
US10598637B2 (en) * 2017-07-18 2020-03-24 Perkinelmer Health Sciences, Inc. Automated thermal desorption systems configured to determine sample tube orientation and/or cap presence, and related methods
EP3655757B1 (en) 2017-07-19 2025-04-16 Siemens Healthcare Diagnostics, Inc. Apparatus and method for specimen characterization using hyperspectral imaging
CN110914669A (zh) 2017-07-31 2020-03-24 美国西门子医学诊断股份有限公司 用于对样本和/或样品容器进行成像的方法和设备
CN207215844U (zh) * 2017-08-22 2018-04-10 深圳市帝迈生物技术有限公司 自动进样血液分析仪及其试管自动进样识别装置
EP3474018B1 (en) 2017-10-18 2020-07-22 Roche Diagnostics GmbH A method to store sample tubes in a laboratory storage and retrieval system
CN111247434B (zh) 2017-10-23 2024-07-30 豪夫迈·罗氏有限公司 自动处理生物样品的实验室系统、其用途和通过这种实验室系统处理生物样品的方法
US10816516B2 (en) 2018-03-28 2020-10-27 Perkinelmer Health Sciences, Inc. Autosamplers and gas chromatographic systems and methods including same
GB2573333A (en) * 2018-05-04 2019-11-06 Stratec Biomedical Ag Sensory based inventory management
DE102018207320B4 (de) * 2018-05-09 2021-07-01 Laservision Gmbh & Co. Kg Strahlungs-Schutzanordnung
CN109171021B (zh) * 2018-08-22 2021-08-27 青岛颐中科技有限公司 电子烟吸烟机的供料系统
EP4102228A1 (en) * 2021-06-11 2022-12-14 F. Hoffmann-La Roche AG Automated method for handling an in-vitro diagnostics container in an in-vitro diagnostics laboratory
CN113624985B (zh) * 2021-08-16 2023-06-30 优爱宝智能机器人(浙江)有限公司 基于多关节或scara机器人的高通量加样处理装置
EP4216170A1 (en) * 2022-01-19 2023-07-26 Stratec SE Instrument parameter determination based on sample tube identification
CN115166273A (zh) * 2022-07-15 2022-10-11 湖南慧泽生物医药科技有限公司 一种扣合式样品管取样系统
EP4379386B1 (en) 2022-11-29 2025-02-19 Roche Diagnostics GmbH Method for operating an in-vitro-diagnostics laboratory system and in-vitro-diagnostics laboratory system
USD1074432S1 (en) 2023-03-24 2025-05-13 Waters Technologies Corporation Bottle cap
CN116660566B (zh) * 2023-07-26 2023-10-17 四川徕伯益自动化技术有限公司 一种样本液的位置识别方法、系统、终端及介质

Citations (5)

* Cited by examiner, † Cited by third party
Publication number Priority date Publication date Assignee Title
JPH11500224A (ja) * 1995-02-16 1999-01-06 スミスクライン・ビーチャム・コーポレイション 装置と方法
JP2000517063A (ja) * 1997-06-16 2000-12-19 デャーグノスティカ スタゴ 管状容器によって担持される識別コードの自動読み取り装置
JP2002040034A (ja) * 2000-07-24 2002-02-06 Olympus Optical Co Ltd 検体仕分け装置
JP2002090374A (ja) * 2000-09-13 2002-03-27 Olympus Optical Co Ltd 検体前処理装置および検体搬送方法
JP2003083991A (ja) * 2001-09-11 2003-03-19 Aloka Co Ltd 検体前処理装置

Family Cites Families (28)

* Cited by examiner, † Cited by third party
Publication number Priority date Publication date Assignee Title
ES8401636A1 (es) 1981-07-20 1983-12-16 American Hospital Supply Corp Dispositivo de carga y transferencia para presentar a un analizador quimico recipientes de muestras de fluidos corporales y para retirarlos y alimentarlos seguidamente.
DE4023149A1 (de) 1990-07-20 1992-01-23 Kodak Ag Vorrichtung zum abtasten von behaeltern mit einer fluessigkeit
ES2137965T3 (es) * 1992-12-19 2000-01-01 Roche Diagnostics Gmbh Dispositivo para detectar una interfase de liquido en un tubo de medida transparente.
JPH0726743U (ja) * 1993-10-15 1995-05-19 株式会社ニッテク 分注装置
JPH07120292A (ja) * 1993-10-21 1995-05-12 Hitachi Ltd 液面検知装置
JP2947146B2 (ja) 1995-09-29 1999-09-13 株式会社島津製作所 オ−トサンプラ
JPH09133687A (ja) 1995-11-13 1997-05-20 Meiji Denki Kogyo Kk 採血試験管における血清量測定装置
JPH09318440A (ja) * 1996-05-29 1997-12-12 Shimadzu Corp 赤外線検出器
JP3032159B2 (ja) 1996-09-24 2000-04-10 株式会社日立製作所 分析システム
AUPP058197A0 (en) * 1997-11-27 1997-12-18 A.I. Scientific Pty Ltd Pathology sample tube distributor
DE19819812C2 (de) * 1998-05-04 2000-11-02 Olympus Diagnostica Gmbh Laborprimärprobenverteiler mit einer Verteileinrichtung
US6068437A (en) * 1998-11-24 2000-05-30 Lab-Interlink Automated laboratory specimen organizer and storage unit
DE10017126C1 (de) * 2000-04-06 2001-06-13 Krones Ag Verfahren und Vorrichtung zum optischen Überprüfen transparenter Behälter
DE60125380T2 (de) * 2000-08-23 2007-10-04 The University Of Virginia Patent Foundation Automatisiertes lagerungs- und entnahmegerät für gefrierfächer und entsprechendes verfahren
JP3740428B2 (ja) * 2002-03-29 2006-02-01 アロカ株式会社 検体前処理システム
JP3694490B2 (ja) 2002-03-29 2005-09-14 アロカ株式会社 検体前処理システム
JP3688657B2 (ja) * 2002-06-28 2005-08-31 アロカ株式会社 検体分析装置
JP2004075363A (ja) 2002-08-21 2004-03-11 Hitachi Koki Co Ltd 自動保管装置
JP2004151025A (ja) * 2002-10-31 2004-05-27 Teruaki Ito 試験管種類判別装置
CA2503797A1 (en) * 2002-11-08 2004-05-27 Irm, Llc Systems and methods of sorting samples
EP1441026B1 (de) * 2003-01-10 2012-10-17 Liconic Ag Automatisches Lagersystem und Klimaschrank mit automatischem Lagersystem
EP1496365B1 (de) * 2003-07-11 2014-06-04 Tecan Trading AG Vorrichtung und Verfahren zum Transportieren von Objekten
JP2006276003A (ja) * 2005-03-03 2006-10-12 Juki Corp 分注装置
EP1899899A1 (en) * 2005-06-30 2008-03-19 Norlitech, LLC Monolithic image perception device and method
FR2888328B1 (fr) * 2005-07-08 2013-09-20 Horiba Abx Sas Procede automatise de preparation d'analyse d'echantillons de sang total et dispositif automatise pour sa mise en oeuvre
EP2682189B1 (en) * 2006-01-23 2015-03-11 Nexus Biosystems, Inc., Automated system for storing, retrieving and managing samples
JP4600888B2 (ja) * 2006-02-20 2010-12-22 国立大学法人東京工業大学 ガス検知管撮影装置、ガス検知管測定装置、ガス濃度測定システムおよびその方法
US7988933B2 (en) * 2006-09-01 2011-08-02 Siemens Healthcare Diagnostics Inc. Identification system for a clinical sample container

Patent Citations (5)

* Cited by examiner, † Cited by third party
Publication number Priority date Publication date Assignee Title
JPH11500224A (ja) * 1995-02-16 1999-01-06 スミスクライン・ビーチャム・コーポレイション 装置と方法
JP2000517063A (ja) * 1997-06-16 2000-12-19 デャーグノスティカ スタゴ 管状容器によって担持される識別コードの自動読み取り装置
JP2002040034A (ja) * 2000-07-24 2002-02-06 Olympus Optical Co Ltd 検体仕分け装置
JP2002090374A (ja) * 2000-09-13 2002-03-27 Olympus Optical Co Ltd 検体前処理装置および検体搬送方法
JP2003083991A (ja) * 2001-09-11 2003-03-19 Aloka Co Ltd 検体前処理装置

Cited By (11)

* Cited by examiner, † Cited by third party
Publication number Priority date Publication date Assignee Title
JP2014130165A (ja) * 2010-05-24 2014-07-10 Hitachi High-Technologies Corp 検体検査自動化システム
US9753048B2 (en) 2010-05-24 2017-09-05 Hitachi High-Technologies Corporation Sample test automation system
US10816564B2 (en) 2010-05-24 2020-10-27 Hitachi High-Tech Corporation Sample test automation system
JP2011257236A (ja) * 2010-06-08 2011-12-22 Srl Inc 検体認識装置
JP2013024691A (ja) * 2011-07-20 2013-02-04 Hitachi High-Technologies Corp 自動分析装置
JP2015017868A (ja) * 2013-07-10 2015-01-29 株式会社日立ハイテクノロジーズ 開栓装置
JP2020527712A (ja) * 2017-07-19 2020-09-10 シーメンス・ヘルスケア・ダイアグノスティックス・インコーポレーテッドSiemens Healthcare Diagnostics Inc. 検体の特性を評価するための迷光補償方法及び装置
JP7048718B2 (ja) 2017-07-19 2022-04-05 シーメンス・ヘルスケア・ダイアグノスティックス・インコーポレーテッド 検体の特性を評価するための迷光補償方法及び装置
US11815519B2 (en) 2017-07-19 2023-11-14 Siemens Healthcare Diagnostics Inc. Stray light compensating methods and apparatus for characterizing a specimen
JP2021107810A (ja) * 2019-12-18 2021-07-29 エフ ホフマン−ラ ロッシュ アクチェン ゲゼルシャフト 検査室自動化システムでの使用に対する、試料管の適合性を評価するための方法および装置
JP7181272B2 (ja) 2019-12-18 2022-11-30 エフ ホフマン-ラ ロッシュ アクチェン ゲゼルシャフト 検査室自動化システムでの使用に対する、試料管の適合性を評価するための方法および装置

Also Published As

Publication number Publication date
JP2013152242A (ja) 2013-08-08
ES2402225T3 (es) 2013-04-29
US20100018330A1 (en) 2010-01-28
EP2148205A1 (en) 2010-01-27
US8859289B2 (en) 2014-10-14
JP5629801B2 (ja) 2014-11-26
ES2402225T8 (es) 2013-05-13
EP2148205B1 (en) 2013-01-02
JP5241639B2 (ja) 2013-07-17

Similar Documents

Publication Publication Date Title
JP5241639B2 (ja) 試料試験管を取り扱う方法および研究室システム並びに画像解析ユニット
JP5243364B2 (ja) 研究室の保存・搬出システムおよび研究室試料試験管を取り扱う方法
CN101218493B (zh) 分析用全血样品自动制备方法和实施该方法的自动设备
EP3324190B1 (en) Slide management system
EP1804046B1 (en) Sample image obtaining apparatus, sample image obtaining system, and method for obtaining sample image
CN105637370B (zh) 样本检查自动化系统和生物试样检验模块以及生物试样的检验方法
US7846384B2 (en) Sample distribution apparatus/system
JP6282060B2 (ja) 検体検査自動化システム
TW201736852A (zh) 檢體處理裝置及檢體處理方法
WO2013150978A1 (ja) 自動分析装置
CN115917328A (zh) 使用至少两个载物片扫描仪扫描载物片的方法和设备
EP1982158B1 (en) An apparatus for execution of treatment operations in connection with colouring of tissue specimens on object glasses
CA3094125C (en) Sample processing system and method for automatically processing histological samples
US20200408658A1 (en) Sample property identification device, sample property identifying method, and sample transport system
JP2007298444A (ja) 分析装置
CN113866436B (zh) 一种细胞分析系统
JP3966220B2 (ja) 蛋白質結晶観察装置
JP4170164B2 (ja) 試験管内検体液面位置検出システム
US20250298043A1 (en) Systems and methods for automated grossing of tissue samples
HK40068289B (zh) 用於在自动化诊断分析系统中对患者进行表徵期间保护患者信息的方法和装置

Legal Events

Date Code Title Description
RD03 Notification of appointment of power of attorney

Free format text: JAPANESE INTERMEDIATE CODE: A7423

Effective date: 20100525

A521 Request for written amendment filed

Free format text: JAPANESE INTERMEDIATE CODE: A523

Effective date: 20111011

A621 Written request for application examination

Free format text: JAPANESE INTERMEDIATE CODE: A621

Effective date: 20111011

A977 Report on retrieval

Free format text: JAPANESE INTERMEDIATE CODE: A971007

Effective date: 20121015

A131 Notification of reasons for refusal

Free format text: JAPANESE INTERMEDIATE CODE: A131

Effective date: 20121023

A521 Request for written amendment filed

Free format text: JAPANESE INTERMEDIATE CODE: A523

Effective date: 20130123

TRDD Decision of grant or rejection written
A01 Written decision to grant a patent or to grant a registration (utility model)

Free format text: JAPANESE INTERMEDIATE CODE: A01

Effective date: 20130305

A61 First payment of annual fees (during grant procedure)

Free format text: JAPANESE INTERMEDIATE CODE: A61

Effective date: 20130402

FPAY Renewal fee payment (event date is renewal date of database)

Free format text: PAYMENT UNTIL: 20160412

Year of fee payment: 3

R150 Certificate of patent or registration of utility model

Free format text: JAPANESE INTERMEDIATE CODE: R150

Ref document number: 5241639

Country of ref document: JP

Free format text: JAPANESE INTERMEDIATE CODE: R150

R250 Receipt of annual fees

Free format text: JAPANESE INTERMEDIATE CODE: R250

R250 Receipt of annual fees

Free format text: JAPANESE INTERMEDIATE CODE: R250

R250 Receipt of annual fees

Free format text: JAPANESE INTERMEDIATE CODE: R250

R250 Receipt of annual fees

Free format text: JAPANESE INTERMEDIATE CODE: R250

R250 Receipt of annual fees

Free format text: JAPANESE INTERMEDIATE CODE: R250

R250 Receipt of annual fees

Free format text: JAPANESE INTERMEDIATE CODE: R250

R250 Receipt of annual fees

Free format text: JAPANESE INTERMEDIATE CODE: R250

R250 Receipt of annual fees

Free format text: JAPANESE INTERMEDIATE CODE: R250

R250 Receipt of annual fees

Free format text: JAPANESE INTERMEDIATE CODE: R250

R250 Receipt of annual fees

Free format text: JAPANESE INTERMEDIATE CODE: R250