JP2010030535A - 作業車両の空気調和装置のダクト構造 - Google Patents

作業車両の空気調和装置のダクト構造 Download PDF

Info

Publication number
JP2010030535A
JP2010030535A JP2008197057A JP2008197057A JP2010030535A JP 2010030535 A JP2010030535 A JP 2010030535A JP 2008197057 A JP2008197057 A JP 2008197057A JP 2008197057 A JP2008197057 A JP 2008197057A JP 2010030535 A JP2010030535 A JP 2010030535A
Authority
JP
Japan
Prior art keywords
duct
air
seat
cab
air conditioner
Prior art date
Legal status (The legal status is an assumption and is not a legal conclusion. Google has not performed a legal analysis and makes no representation as to the accuracy of the status listed.)
Granted
Application number
JP2008197057A
Other languages
English (en)
Other versions
JP5175143B2 (ja
Inventor
Kenji Uemae
健志 上前
Current Assignee (The listed assignees may be inaccurate. Google has not performed a legal analysis and makes no representation or warranty as to the accuracy of the list.)
Komatsu Ltd
Original Assignee
Komatsu Ltd
Priority date (The priority date is an assumption and is not a legal conclusion. Google has not performed a legal analysis and makes no representation as to the accuracy of the date listed.)
Filing date
Publication date
Application filed by Komatsu Ltd filed Critical Komatsu Ltd
Priority to JP2008197057A priority Critical patent/JP5175143B2/ja
Publication of JP2010030535A publication Critical patent/JP2010030535A/ja
Application granted granted Critical
Publication of JP5175143B2 publication Critical patent/JP5175143B2/ja
Active legal-status Critical Current
Anticipated expiration legal-status Critical

Links

Images

Landscapes

  • Air-Conditioning For Vehicles (AREA)

Abstract

【課題】キャブの床下等の構造に関わらず、運転席の設置高さを抑えて頭上空間を十分に確保することが可能な作業車両の空気調和装置のダクト構造を提供する。
【解決手段】油圧ショベル1のダクト構造30は、上下に複数分割された第1ダクト31a,31bと第2ダクト32とを備えている。第1ダクト31a,31bは、室内空間Sに対して空気を吹き出す吹出し口(正面吹出し口31aa,31ba)を有しており、第2ダクト32の上面における左右の端部にそれぞれ設置されている。第2ダクト32は、その上面に、第1ダクト31a,31bに加えて、運転シート20が立設される取付面32bを有している。
【選択図】図5

Description

本発明は、油圧ショベル等の作業車両のキャブ内の空気を調和させる空気調和装置のダクト構造に関する。
近年、油圧ショベル等の建設機械を含む作業車両に搭載されたキャブ内における環境を快適化するために、空気調和装置によって調和された空気をキャブ内に供給するダクト構造が設置されている。
例えば、特許文献1には、キャブ(運転室)の高さを低く抑え、清掃時等に泥等が溜まりにくい作業車両の運転室空気調和装置の取付構造について開示されている。
具体的には、キャブ内の床面等に開口部を設けて、空気調和装置のケースの一部をこの開口部に入れ込むように空気調和装置をキャブ内に設置している。
特開2001−55760号公報(平成13年2月27日公開)
しかしながら、上記従来の作業車両の空気調和装置のダクト構造では、以下に示すような問題点を有している。
すなわち、上記公報に開示された空気調和装置の取付構造では、キャブの床面等に開口部を設けてこの開口部に空気調和装置の一部を埋め込むように配置することで、キャブ内における高さ空間を十分に確保できるものの、例えば、床面下の空間に空気調和装置の一部を格納するスペースがない構造の場合には対応できないおそれがある。
本発明の課題は、キャブの床下等の構造に関わらず、運転席の設置高さを抑えて頭上空間を十分に確保することが可能な作業車両の空気調和装置のダクト構造を提供することにある。
第1の発明に係る作業車両の空気調和装置のダクト構造は、作業車両のキャブ内の空気を調和させる空気調和装置のダクト構造であって、第1ダクト部と、第2ダクト部と、シート取付部と、を備えている。第1ダクト部は、空気調和装置によって空気調和された空気を吹き出す吹出し口を有する。第2ダクト部は、第1ダクト部と連通した状態で第1ダクト部の下段側に設置される。シート取付部は、キャブ内に設置される運手席が取り付けられ、第2ダクト部の上面に配置されている。
ここでは、運転席の下方に設置されるダクトを、上下方向において複数段に分割した構造(第1・第2ダクト部)を採用している。そして、上記分割されたダクト構造のうち、下段側に配置された第2ダクト部の上面に、吹出し口を有する第1ダクト部と運転席とが取り付けられる。
ここで、上下方向に複数分割されたダクト部としては、2分割された構造に限らず、例えば、第3ダクト部を含む3段以上に分割された構造であってもよい。上記シート取付部は、例えば、第2ダクト部の上部平面をいう。また、上記空気調和装置は、キャブ内(例えば、第2ダクト部内や運転席後方空間)に直接設置されていてもよいし、キャブ外に設置されてダクトを通じてキャブ内に調和された空気を供給する構成であってもよい。さらに、上記作業車両としては、油圧ショベルやブルドーザ、ホイルローダ等を含む建設機械、トラクタ等を含む農業用機械も含まれる。
これにより、複数に分割されたダクト構造の下段側の第2ダクト部上に運転席を設置することで、第1ダクト部の高さ分だけ低い位置に運転席を取り付けることができる。よって、上下方向において十分なダクト空間が必要な場合であっても、キャブの床面下の空間を確保できない場合でも、運転席に着座したオペレータの頭上空間を十分に確保することができる。この結果、ダクト空間および頭上空間を十分に確保して、キャブ内における快適性を向上させることができる。
第2の発明に係る作業車両の空気調和装置のダクト構造は、第1の発明に係る作業車両の空気調和装置のダクト構造であって、第1ダクト部は、シート取付部の左右両側、あるいは一方に配置される。
ここでは、運転席が取り付けられるシート取付部の脇(左右両方あるいは一方)に、吹出し口を有する第1ダクト部を配置する。
これにより、第1ダクト部とほぼ同じ高さレベルで運転席を取り付けることができる。よって、通常のダクト構造と比較して、第1ダクト部の分だけ運転席の高さを低くすることで、運転席の頭上空間を十分に確保することができる。
第3の発明に係る作業車両の空気調和装置のダクト構造は、第1または第2の発明に係る作業車両の空気調和装置のダクト構造であって、第1・第2ダクト部は、空気調和装置から送られる空気を供給するダクト部が2分割されて形成される。
ここでは、1つのダクト空間を2分割して、第1・第2ダクト部を形成している。
これにより、簡素な構成によって、ダクト構造を2層構造とすることができる。よって、上述したように、下段側の第2ダクト部の上面にシート取付部を配置することで、第1ダクト部の分だけ運転席の高さを抑えることができる。
第4の発明に係る作業車両の空気調和装置のダクト構造は、第1から第3の発明のいずれか1つに係る作業車両の空気調和装置のダクト構造であって、第2ダクト部は、内部に単一の空間を有している。
ここでは、下段側に配置された第2ダクト部が、単一の大空間を有する。
ここで、第2ダクト部は、空気調和装置において温度や湿度等が調整された空気が直接吹き込む空間である。
これにより、空気調和装置から供給された第2ダクト部内へ空気は、大空間である第2ダクト部内において拡散され、温度や湿度がほぼ均一になった後で第1ダクト部から外部へと供給される。このように、第2ダクト部内において供給される空気の温度を均一化することで、第1ダクト部からほぼ均一な温度、湿度の空気をキャブ内へと供給することができる。
第5の発明に係る作業車両の空気調和装置のダクト構造は、第4の発明に係る作業車両の空気調和装置のダクト構造であって、第2ダクト部内の空間に配置されており、流入してきた空気を拡散する空気拡散部を、さらに備えている。
ここでは、空気調和装置から第2ダクト部内へ供給される空気の流れる経路上に、第2ダクト部内において空気を拡散する空気拡散部を設けている。
ここで、上記空気拡散部は、例えば、第2ダクト部内において、空気調和装置から供給される空気の流入口の正面に設けられた突出板等がある。
これにより、空気調和装置から第2ダクト部内へと供給された空気を空気拡散部によって効果的に拡散して、キャブ内へ供給される空気の温度や湿度をほぼ均一なものにすることができる。
第6の発明に係る作業車両の空気調和装置のダクト構造は、第1から第5の発明のいずれか1つに係る作業車両の空気調和装置のダクト構造であって、第1・第2ダクト部のいずれかの上面に配置されており、作業車両を操作する操作装置が設置されるスタンド取付部を、さらに備えている。
ここでは、第1・第2ダクト部のいずれかの上面に、上述したシート取付部および第1ダクト部に加えて、操作装置のスタンドが設置されるスタンド取付部を配置する。
ここで、スタンド取付部は、操作レバー等が上面に配置された操作装置を立設するためのスタンド部分が取り付けられる部分である。
これにより、例えば、運転席に操作レバー等を含む操作装置が直接取り付けられる構成だけでなく、床面から立設されるスタンド式の操作装置が設置された構成についても対応可能となる。
第7の発明に係る作業車両の空気調和装置のダクト構造は、第1から第6の発明のいずれか1つに係る作業車両の空気調和装置のダクト構造であって、第2ダクト部は、第2ダクト部の周囲を囲むように形成されたフロアマットの土手部分の高さと同程度の高さを有する。
ここでは、例えば、ウォッシャブル対応タイプのように、シート取付部を取り囲む位置に土手部分を含むフロアマットの土手部分の高さと、第2ダクト部の高さとをほぼ同じレベルに設定する。
ここで、上記同程度の高さとは、第2ダクト部の高さよりも若干低い程度から、第2ダクト部から突出した土手部分によって第1ダクト部の吹出し口を覆わない程度の高さ関係をいう。
これにより、例えば、ウォッシャブル対応のフロアマットを使用するために、運転席の取付高さを従来よりも高くする必要がある場合でも、ダクト構造を高さ方向において分割された構成とすることで、運転席の設置高さを従来よりも抑えることができる。この結果、キャブ床面下方空間を確保できない場合でも、運転席の頭上空間を十分に確保してキャブ内におけるオペレータの快適性を確保することができる。
第8の発明に係る作業車両の空気調和装置のダクト構造は、第1から第7の発明のいずれか1つに係る作業車両の空気調和装置のダクト構造であって、第1・第2ダクト部の少なくとも一方は、キャブ内に設置される電子機器に接続される配線が内部に挿通される。
ここでは、キャブ内に設置される電子機器等に接続された配線を、第1・第2ダクト部内に設置する。
ここで、上記配線としては、例えば、作業車両に搭載されたエンジンを停止させるための安全スイッチに接続されるもの等が含まれる。
これにより、空気調和装置から供給されるダクト構造を、配線設置スペースとしても活用することができる。
本発明に係る作業車両の空気調和装置のダクト構造によれば、キャブの床面下の空間を確保できない場合でも、運転席の設置高さを抑えて頭上空間を十分に確保することができる。
本発明の一実施形態に係る油圧ショベル(作業車両)1の空気調和装置のダクト構造30について、図1〜図8を用いて説明すれば以下の通りである。
[油圧ショベル1全体の構成]
本実施形態に係る油圧ショベル1は、図1に示すように、下部走行体2と、旋回台3と、作業機4と、カウンタウェイト5と、エンジンルーム6と、機器室9と、キャブ10と、を備えている。
下部走行体2は、進行方向における左右両端部分に巻き掛けられた履帯Pを回転させることで、油圧ショベル1を前進、後進させるとともに、上面側に旋回台3を旋回可能な状態で搭載している。
旋回台3は、下部走行体2上において、任意の方向に旋回可能であって、上面に作業機4と、カウンタウェイト5と、エンジンルーム6と、キャブ10とを搭載している。
作業機4は、ブーム11と、ブーム11の先端に取り付けられたアーム12と、アーム12の先端に取り付けられたバケット13とを含むように構成されている。そして、作業機4は、図示しない油圧回路に含まれる各油圧シリンダ11a,12a,13a等によって、ブーム11やアーム12、バケット13等を上下に移動させながら、土砂や砂礫等の掘削を行う土木工事の現場において作業を行う。
カウンタウェイト5は、例えば、鋼板を組み立てて形成した箱の中に屑鉄やコンクリート等を入れて固めたものであって、採掘時等において車体のバランスをとるために旋回台3上におけるエンジンルーム6の後方に設けられている。
エンジンルーム6は、図1に示すように、カウンタウェイト5に隣接する位置に配置されており、開閉可能なエンジンフード14によって覆われた点検用の上部開口を有している。そして、エンジンルーム6の内部には、下部走行体2や作業機4を駆動するための動力源である図示しないエンジンやクーリングコア等が収容されている。
機器室9は、作業機4の後方に配置されており、図示しない燃料タンク、作動油タンクおよび操作弁等を収容する。
キャブ10は、図2に示すように、油圧ショベル1のオペレータが乗降する室内空間Sを有しており、作業機4の先端部を見通せるように、旋回台3上における作業機4の側方となる左側前部に配置されている。また、キャブ10の内部には、図3等に示すように、後述する運転シート(運転席)20とダクト構造30とが設置されている。なお、この運転シート20およびダクト構造30周辺の構成については、後段にて詳述する。
[運転シート20およびダクト構造30周辺の構成]
本実施形態では、上述したキャブ10の室内空間S内における運転シート20の下方に、エアコンユニット(空気調和装置)40(図6および図7等参照)からの空気を室内空間S内へ供給するダクト構造30が設置されている。
運転シート20は、キャブ10の室内空間Sにおいてオペレータが着座するための座席であって、図3に示すように、サスペンション23を介して床面側から立設されている。また、運転シート20の両側には、操作レバー21a,21bを含む左右一対の操作装置22a,22bが設けられている。さらに、運転シート20は、スライドレール24(図5等参照)に沿って前後方向にスライド移動可能な状態で取り付けられている。
ダクト構造30は、図3〜図5等に示すように、運転シート20の下方に配置されており、図6および図7に示すように、エアコンユニット40において調和された空気を、ダクト41を介して内部に取り込んだ後、室内空間Sに対して供給する。また、ダクト構造30は、第1ダクト(第1ダクト部)31a,31bと第2ダクト(第2ダクト部)32とを含む上下2段構造を有している。
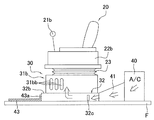
第1ダクト31a,31bは、第2ダクト32の上面における運転シート20の取付面(シート取付部)32bの左右側方にそれぞれ配置されている。第1ダクト31a,31bは、図5および図7に示すように、キャブ10の前方に向かって空気を吹き出すための開口穴として正面吹出し口31aa,31ba、側方に向かって空気を吹き出すための開口穴として側面吹出し口31bb等を、それぞれ有している。第1ダクト31a,31bは、後述する第2ダクト32の連通穴32aを介して第2ダクト32からの空気が供給される。そして、第1ダクト31a,31b内へ供給された空気は、正面吹出し口31aa,31baおよび側面吹出し口31bb等からキャブ10の室内空間Sへと供給される。
第2ダクト32は、図5および図7に示すように、上述した第1ダクト31a,31b、および運転シート20が立設される取付面32bを上面に有している。また、第2ダクト32は、図4に示すように、上記第1ダクト31a,31bに対して連通させる連通穴32aを有しており、内部に比較的大きな単一の空間を有している。また、第2ダクト32は、図6および図7に示すように、キャブ10の後方に配置されたエアコンユニット40と第2ダクト32とを結ぶダクト41に対して背面側において連通しており、エアコンユニット40において調和された空気が供給される。これにより、エアコンユニット40から供給された空気は、流入した第2ダクト32内において温度や湿度がほぼ均一化された後、左右の第1ダクト31a,31bへと供給される。さらに、第2ダクト32は、単一の内部空間内におけるダクト41からの空気が流入する側に、空気拡散壁(空気拡散部)32cを有している。
空気拡散壁32cは、ダクト41から供給された空気がぶつかる位置に配置されている。このため、第2ダクト32の内部空間内において、ダクト41から供給された空気を拡散して温度や湿度等をさらに効果的に均一化することができる。また、第2ダクト32の周りには、図6および図7に示すように、ゴム製のフロアマット43が設けられている。
フロアマット43は、いわゆるウォッシャブルタイプのものであって、キャブ10の床面F(図5等参照)上に敷き詰められている。また、フロアマット43は、図7等に示すように、第2ダクト32と接する部分に土手部分43aを有している。土手部分43aは、他の平面部分よりも1段高く形成された部分であって、図8に示すように、第2ダクト32とほぼ同程度の高さを有している。厳密に見れば、フロアマット43の土手部分43aは、第2ダクト32の高さよりも高さh分だけ低くなるように形成されている。これにより、第1ダクト31a,31bの正面吹出し口31aa,31ba等を土手部分43aが塞ぐことを回避することができる。
本実施形態では、以上のように、エアコンユニット40から供給される空気を、上下2段に分割されたダクト構造30を介して、キャブ10の室内空間S内へと供給する。そして、ダクト構造30は、上下2段構造の下に配置される第2ダクト32の上面には、第1ダクト31a,31bと運転シート20の取付面32bとが配置される。
これにより、上下分割された構造を有するダクト構造30における下側の第2ダクト32上に運転シート20を設置することで、従来よりも運転シート20の設置高さを抑制することができる。よって、キャブ10の床面Fの下に設置空間がないキャブ構成であっても、簡素な構成により、運転シート20の高さ位置を抑えることができる。
[本油圧ショベル1のダクト構造30の特徴]
(1)
本実施形態の油圧ショベル1のダクト構造30は、エアコンユニット40から供給される調和された空気をキャブ10の室内空間Sへと供給するダクトの構造であって、図3〜図7に示すように、上下に複数分割された第1ダクト31a,31bと第2ダクト32とを備えている。第1ダクト31a,31bは、室内空間Sに対して空気を吹き出す吹出し口(正面吹出し口31aa,31ba)を有しており、第2ダクト32の上面における左右の端部にそれぞれ設置されている。第2ダクト32は、その上面に、第1ダクト31a,31bに加えて、運転シート20が立設される取付面32bを有している。
これにより、上下方向において複数段に分割されたダクト構造30の下段側の第2ダクト32の上面に運転シートを立設することができる。よって、第1ダクト31a,31bの高さ分だけ、従来のダクト構造上に設置された運転シートよりも高さ位置を抑えることができる。この結果、例えば、床面下に空間がないキャブ構造であっても、キャブ10内における運転シート20の高さ位置を抑えつつ、オペレータの頭上空間を十分に確保して快適性を向上させることができる。
(2)
本実施形態の油圧ショベル1のダクト構造30では、図5等に示すように、第2ダクト32上に設置される第1ダクト31a,31bを、運転シート20が立設される取付面32bの左右両側にそれぞれ配置している。
これにより、運転シート20が立設される取付面32bと同じ平面上に、第1ダクト31a,31bを設置することができる。よって、運転シート20の高さ位置を抑えつつ、正面吹出し口31aa,31baや側面吹出し口31bb等から室内空間Sに対してエアコンユニット40から供給される空気を吹き出すことができる。
(3)
本実施形態の油圧ショベル1のダクト構造30では、図5等示すように、第1ダクト31a,31bと第2ダクト32という、上下方向において2つに分割された構造を有している。
これにより、第1ダクト31a,31bの分だけ、運転シート20の高さ位置を抑制して、キャブ10内におけるオペレータの頭上空間を十分に確保して快適性を向上させることができる。
(4)
本実施形態の油圧ショベル1のダクト構造30では、図7等に示すように、エアコンユニット40に接続されたダクト41を介して空気を供給される第2ダクト32が、単一の内部空間を有している。
これにより、ダクト41を介して供給された空気は、比較的大きな空間内においてある程度拡散される。よって、第2ダクト32内において、空気の温度や湿度をほぼ均一化することができる。
(5)
本実施形態の油圧ショベル1のダクト構造30では、図6および図7に示すように、第2ダクト32の内部空間に、ダクト41から流入する空気を拡散するための空気拡散壁32cを配置している。
これにより、エアコンユニット40から供給される空気を、一旦、第2ダクト32内において十分に攪拌することができる。この結果、左右の第1ダクト31a,31bから流出する空気の温度や湿度をほぼ均一なものとすることができる。
(6)
本実施形態の油圧ショベル1のダクト構造30では、図7および図8に示すように、第2ダクト32周りを取り囲むように、キャブ10の床面F上に敷き詰められたフロアマット43を備えている。フロアマット43は、第2ダクト32とほぼ同じ高さの土手部分43aを有している。
これにより、ウォッシャブル対応のフロアマット43を採用したために運転シート20の高さ位置が従来よりも高くなるおそれがある場合でも、本実施形態のダクト構造30を採用することで、運転シート20の高さ位置を従来よりも抑えることができる。
[他の実施形態]
以上、本発明の一実施形態について説明したが、本発明は上記実施形態に限定されるものではなく、発明の要旨を逸脱しない範囲で種々の変更が可能である。
(A)
上記実施形態では、運転シート20が設置される第2ダクト32の左右両側に、一対の第1ダクト31a,31bを配置した例を挙げて説明した。しかし、本発明はこれに限定されるものではない。
例えば、図9および図10に示すように、第1ダクト(第1ダクト部)131を、第2ダクト(第2ダクト部)132上における運転シート20の取付面(シート取付部)132bの前方に配置したダクト構造130であってもよい。この場合には、第1ダクト131は、正面吹出し口131aからキャブの前方に向かって空気を吹き出すとともに、サスペンション123を介して取り付けられた運転シート20は、スライドレール124に沿って前後方向にスライド移動可能である。
この他にも、第1ダクトを、運転シートの左右いずれか一方に配置した構成であってもよい。
(B)
上記実施形態では、油圧ショベル1の各部の操作を行う左右の操作装置22a,22bを、運転シート20に対して取り付けた例を挙げて説明した。しかし、本発明はこれに限定されるものではない。
例えば、図11および図12に示すように、第2ダクト32上に取り付けられた第1ダクト(第1ダクト部)231a,231bの上面(スタンド取付部)231aa,231baに左右の操作装置222a,222bを立設してもよい。
この場合には、第1ダクト231a,231bの上面231aa,231ba上に設置された操作装置222a,222bの操作レバー221a,221bを用いて、油圧ショベルの各部を操作することができる。
(C)
上記実施形態では、エアコンユニット40から供給される空気だけが、第1ダクト31a,31bおよび第2ダクト32内を流れる例を挙げて説明した。しかし、本発明はこれに限定されるものではない。
例えば、図13および図14に示すように、第1ダクト331bにおける正面吹出し口331baに隣接する位置にスイッチ331bbを設け、第1・第2ダクト(第1・第2ダクト部)331b,332内にスイッチハーネス(配線)350を通すようなダクト構造330であってもよい。
この場合には、ダクト構造330内を配線スペースとしても有効に活用できる。
(D)
上記実施形態では、キャブ10の床面に設置されるウォッシャブル対応のフロアマット43の土手部分43aの高さが、隣接配置される第2ダクト32の高さよりも高さh分だけ若干低いように構成された例を挙げて説明した。しかし、本発明はこれに限定されるものではない。
例えば、フロアマットの土手部分と第2ダクト部の相対的な高さ関係としては、ほぼ同レベルになっていればよい。
具体的には、第1ダクト部の吹出し開口を塞がない程度で第2ダクト部よりも高い土手部分を有するフロアマットを用いてもよい。
(E)
上記実施形態では、第1ダクト31a,31bと第2ダクト32という上下2段に分割されたダクト構造30を例として挙げて説明した。しかし、本発明はこれに限定されるものではない。
例えば、上下3段以上に分割されたダクト構造であってもよい。
(F)
上記実施形態では、正面吹出し口31aa,31baおよび側面吹出し口31bb等という、第1ダクト31a,31bの正面および側面にそれぞれ形成された吹出し口を例として挙げて説明した。しかし、本発明はこれに限定されるものではない。
例えば、第1ダクトに形成された吹出し口としては、背面に形成されていてもよいし、正面だけあるいは側面だけに形成されていてもよい。
(G)
上記実施形態では、第2ダクト32の内部空間に設置される空気拡散部として、空気拡散用の壁(空気拡散壁32c)を設けた例を挙げて説明した。しかし、本発明はこれに限定されるものではない。
例えば、空気拡散部としては、壁状の部材以外に、略円柱状のものや略三角形のもの等、他の形状のものを用いてもよい。
(H)
上記実施形態では、運転シート20の下部に配置されたダクト構造30の後方に、エアコンユニット40が配置されている例を挙げて説明した。しかし、本発明はこれに限定されるものではない。
例えば、エアコンユニット40を床面下に設置した構成であってもよい。
(I)
上記実施形態では、本発明に係るダクト構造を、油圧ショベル1に対して適用した例を挙げて説明した。しかし、本発明はこれに限定されるものではない。
例えば、ホイルローダやブルドーザ等の建設機械やトラクタ等の農業用機械等を含む各種作業車両に搭載されたキャブ内に設置される空気調和装置のダクト構造に対しても、本発明の適用は可能である。
本発明の作業車両の空気調和装置のダクト構造は、キャブの床面下の空間を確保できない場合でも、運転席の設置高さを抑えて頭上空間を十分に確保することができるという効果を奏することから、油圧ショベル等の建設機械だけでなく、農業用機械を含む各種作業車両に対して広く適用可能である。
本発明の一実施形態に係る空気調和装置のダクト構造が採用された油圧ショベルの構成を示す全体図。 図1の油圧ショベルに搭載されたキャブの構成を示す斜視図。 図2のキャブ内に設置された運転シートおよびダクト構造を示す斜視図。 図3のダクト構造を床面下側から見た斜視図。 図2のキャブ内に設置された運転シートおよびダクト構造を概略的に示す正面図。 図5の運転シートおよびダクト構造の配置を概略的に示す平面図。 図6のA−A線矢視断面図。 図7のダクト構造に含まれる第2ダクトとフロアマットの土手部分との高さ関係を示す拡大断面図。 本発明の他の実施形態に係る作業車両の空気調和装置のダクト構造を示す正面図。 図9のダクト構造を示す側面図。 本発明のさらに他の実施形態に係る作業車両の空気調和装置のダクト構造を示す正面図。 図11のダクト構造を示す側面図。 本発明のさらに他の実施形態に係る作業車両の空気調和装置のダクト構造を示す正面図。 図13のダクト構造を示す側面図。
符号の説明
1 油圧ショベル(作業車両)
2 下部走行体
3 旋回台
4 作業機
5 カウンタウェイト
6 エンジンルーム
9 機器室
10 キャブ
11 ブーム
11a 油圧シリンダ
12 アーム
12a 油圧シリンダ
13 バケット
13a 油圧シリンダ
14 エンジンフード
20 運転シート(運転席)
21a,21b 操作レバー
22a,22b 操作装置
23 サスペンション
24 スライドレール
30 ダクト構造
31a,31b 第1ダクト(第1ダクト部)
31aa,31ba 正面吹出し口
31bb 側面吹出し口
32 第2ダクト(第2ダクト部)
32a 連通穴
32b 取付面(シート取付部)
32c 空気拡散壁(空気拡散部)
40 エアコンユニット(空気調和装置)
41 ダクト
43 フロアマット
43a 土手部分
123 サスペンション
124 スライドレール
130 ダクト構造
131 第1ダクト(第1ダクト部)
131a 正面吹出し口
132 第2ダクト(第2ダクト部)
132c 取付面(シート取付部)
220 運転シート(運転席)
221a,221b 操作レバー
222a,222b 操作装置
230 ダクト構造
231a,231b 第1ダクト(第1ダクト部)
231aa,231ba 上面(スタンド取付部)
330 ダクト構造
331a,331b 第1ダクト(第1ダクト部)
331ba 正面吹出し口
331bb スイッチ
332 第2ダクト(第2ダクト部)
350 スイッチハーネス(配線)
F 床面
h 高さ
P 履帯
S 室内空間

Claims (8)

  1. 作業車両のキャブ内の空気を調和させる空気調和装置のダクト構造であって、
    前記空気調和装置によって空気調和された空気を吹き出す吹出し口を有する第1ダクト部と、
    前記第1ダクト部と連通した状態で前記第1ダクト部の下段側に設置される第2ダクト部と、
    前記キャブ内に設置される運手席が取り付けられ、前記第2ダクト部の上面に配置されたシート取付部と、
    を備えている作業車両の空気調和装置のダクト構造。
  2. 前記第1ダクト部は、前記シート取付部の左右両側、あるいは一方に配置される、
    請求項1に記載の作業車両の空気調和装置のダクト構造。
  3. 前記第1・第2ダクト部は、前記空気調和装置から送られる空気を供給するダクト部が2分割されて形成される、
    請求項1または2に記載の作業車両の空気調和装置のダクト構造。
  4. 前記第2ダクト部は、内部に単一の空間を有している、
    請求項1から3のいずれか1項に記載の作業車両の空気調和装置のダクト構造。
  5. 前記第2ダクト部内の空間に配置されており、流入してきた空気を拡散する空気拡散部を、さらに備えている、
    請求項4に記載の作業車両の空気調和装置のダクト構造。
  6. 前記第1・第2ダクト部のいずれかの上面に配置されており、前記作業車両を操作する操作装置が設置されるスタンド取付部を、さらに備えている、
    請求項1から5のいずれか1項に記載の作業車両の空気調和装置のダクト構造。
  7. 前記第2ダクト部は、前記第2ダクト部の周囲を囲むように形成されたフロアマットの土手部分の高さと同程度の高さを有する、
    請求項1から6のいずれか1項に記載の作業車両の空気調和装置のダクト構造。
  8. 前記第1・第2ダクト部の少なくとも一方は、前記キャブ内に設置される電子機器に接続される配線が内部に挿通される、
    請求項1から7のいずれか1項に記載の作業車両の空気調和装置のダクト構造。
JP2008197057A 2008-07-30 2008-07-30 作業車両の空気調和装置のダクト構造 Active JP5175143B2 (ja)

Priority Applications (1)

Application Number Priority Date Filing Date Title
JP2008197057A JP5175143B2 (ja) 2008-07-30 2008-07-30 作業車両の空気調和装置のダクト構造

Applications Claiming Priority (1)

Application Number Priority Date Filing Date Title
JP2008197057A JP5175143B2 (ja) 2008-07-30 2008-07-30 作業車両の空気調和装置のダクト構造

Publications (2)

Publication Number Publication Date
JP2010030535A true JP2010030535A (ja) 2010-02-12
JP5175143B2 JP5175143B2 (ja) 2013-04-03

Family

ID=41735557

Family Applications (1)

Application Number Title Priority Date Filing Date
JP2008197057A Active JP5175143B2 (ja) 2008-07-30 2008-07-30 作業車両の空気調和装置のダクト構造

Country Status (1)

Country Link
JP (1) JP5175143B2 (ja)

Cited By (1)

* Cited by examiner, † Cited by third party
Publication number Priority date Publication date Assignee Title
WO2016002128A1 (ja) * 2014-06-30 2016-01-07 株式会社デンソー 車両用シート空調装置

Citations (14)

* Cited by examiner, † Cited by third party
Publication number Priority date Publication date Assignee Title
JPS57109065U (ja) * 1980-12-26 1982-07-06
JPH0761226A (ja) * 1993-08-30 1995-03-07 Yanmar Diesel Engine Co Ltd 車両の空調装置
JPH08119155A (ja) * 1994-10-24 1996-05-14 Kubota Corp キャビン付トラクタの空調装置
JPH09263119A (ja) * 1996-03-28 1997-10-07 Kubota Corp キャブの空調用ダクト構造
JPH10114210A (ja) * 1996-10-09 1998-05-06 Mitsubishi Automob Eng Co Ltd ダクト構造
JPH11314515A (ja) * 1999-01-08 1999-11-16 Iseki & Co Ltd トラクタの空調装置
JP2000264036A (ja) * 1999-03-19 2000-09-26 Komatsu Ltd 車輌用空気調和装置
JP2001063342A (ja) * 1999-08-25 2001-03-13 Yanmar Diesel Engine Co Ltd 車両の空調装置
JP2002029244A (ja) * 2001-05-17 2002-01-29 Iseki & Co Ltd キャビン付トラクタの空調装置
JP2002200915A (ja) * 2002-02-12 2002-07-16 Zexel Valeo Climate Control Corp 特殊車両用空調装置
JP2003049452A (ja) * 2001-08-03 2003-02-21 Hitachi Constr Mach Co Ltd 建設機械用キャブ
JP2003267033A (ja) * 2002-03-19 2003-09-25 Denso Corp 車両用空調装置
JP2006008076A (ja) * 2004-06-29 2006-01-12 Kubota Corp キャビンの空調装置
JP2006151070A (ja) * 2004-11-26 2006-06-15 Valeo Thermal Systems Japan Corp 自動車用空調装置

Patent Citations (14)

* Cited by examiner, † Cited by third party
Publication number Priority date Publication date Assignee Title
JPS57109065U (ja) * 1980-12-26 1982-07-06
JPH0761226A (ja) * 1993-08-30 1995-03-07 Yanmar Diesel Engine Co Ltd 車両の空調装置
JPH08119155A (ja) * 1994-10-24 1996-05-14 Kubota Corp キャビン付トラクタの空調装置
JPH09263119A (ja) * 1996-03-28 1997-10-07 Kubota Corp キャブの空調用ダクト構造
JPH10114210A (ja) * 1996-10-09 1998-05-06 Mitsubishi Automob Eng Co Ltd ダクト構造
JPH11314515A (ja) * 1999-01-08 1999-11-16 Iseki & Co Ltd トラクタの空調装置
JP2000264036A (ja) * 1999-03-19 2000-09-26 Komatsu Ltd 車輌用空気調和装置
JP2001063342A (ja) * 1999-08-25 2001-03-13 Yanmar Diesel Engine Co Ltd 車両の空調装置
JP2002029244A (ja) * 2001-05-17 2002-01-29 Iseki & Co Ltd キャビン付トラクタの空調装置
JP2003049452A (ja) * 2001-08-03 2003-02-21 Hitachi Constr Mach Co Ltd 建設機械用キャブ
JP2002200915A (ja) * 2002-02-12 2002-07-16 Zexel Valeo Climate Control Corp 特殊車両用空調装置
JP2003267033A (ja) * 2002-03-19 2003-09-25 Denso Corp 車両用空調装置
JP2006008076A (ja) * 2004-06-29 2006-01-12 Kubota Corp キャビンの空調装置
JP2006151070A (ja) * 2004-11-26 2006-06-15 Valeo Thermal Systems Japan Corp 自動車用空調装置

Cited By (3)

* Cited by examiner, † Cited by third party
Publication number Priority date Publication date Assignee Title
WO2016002128A1 (ja) * 2014-06-30 2016-01-07 株式会社デンソー 車両用シート空調装置
JP2016011063A (ja) * 2014-06-30 2016-01-21 株式会社デンソー 車両用シート空調装置
US9908447B2 (en) 2014-06-30 2018-03-06 Denso Corporation Seat air conditioning device for vehicle

Also Published As

Publication number Publication date
JP5175143B2 (ja) 2013-04-03

Similar Documents

Publication Publication Date Title
JP4846792B2 (ja) 建設機械の冷却装置
CN100383006C (zh) 工程机械
CN103052752B (zh) 电动作业车辆
CN103403267B (zh) 用于作业车辆的驾驶室和作业车辆
WO2013069628A1 (ja) 建設機械
US20090115223A1 (en) Cab structure for construction machine
JP5536964B1 (ja) 建設機械用キャブおよび建設機械
JP2005133495A (ja) 建設機械
JP3702991B2 (ja) 建設機械のキャブ
US7401848B2 (en) Rotatable cab with floor-mounted heating, ventilation and air conditioning
JP6952731B2 (ja) 建設機械
EP2664716B1 (en) Cab for a construction machine
US9027687B2 (en) Cab, and work vehicle
JP5175143B2 (ja) 作業車両の空気調和装置のダクト構造
JP6824118B2 (ja) 作業車両用キャブおよび作業車両
JP5850021B2 (ja) 建設機械の配索構造
JP5548476B2 (ja) 旋回作業機のエアコン用吹出ダクト装置
JP5414609B2 (ja) 建設車両
JP6961635B2 (ja) 建設機械
JP2022053113A (ja) 建設機械
JP6119597B2 (ja) 建設機械
JP5780047B2 (ja) 建設機械の配管類通し構造
JP4208180B2 (ja) 油圧ショベルにおけるキャブへのエンジン熱伝達遮断構造
JP4777221B2 (ja) エンジンルームのダクト構造およびこれを備えた建設機械
JP2024048466A (ja) 作業機械

Legal Events

Date Code Title Description
A621 Written request for application examination

Free format text: JAPANESE INTERMEDIATE CODE: A621

Effective date: 20110310

A977 Report on retrieval

Free format text: JAPANESE INTERMEDIATE CODE: A971007

Effective date: 20120524

A131 Notification of reasons for refusal

Free format text: JAPANESE INTERMEDIATE CODE: A131

Effective date: 20120612

A521 Request for written amendment filed

Free format text: JAPANESE INTERMEDIATE CODE: A523

Effective date: 20120810

TRDD Decision of grant or rejection written
A01 Written decision to grant a patent or to grant a registration (utility model)

Free format text: JAPANESE INTERMEDIATE CODE: A01

Effective date: 20121225

A61 First payment of annual fees (during grant procedure)

Free format text: JAPANESE INTERMEDIATE CODE: A61

Effective date: 20130104

R150 Certificate of patent or registration of utility model

Ref document number: 5175143

Country of ref document: JP

Free format text: JAPANESE INTERMEDIATE CODE: R150

R250 Receipt of annual fees

Free format text: JAPANESE INTERMEDIATE CODE: R250

R250 Receipt of annual fees

Free format text: JAPANESE INTERMEDIATE CODE: R250