JP2010030070A - 液体吐出ヘッド、液体吐出ヘッドの製造方法、画像形成装置 - Google Patents

液体吐出ヘッド、液体吐出ヘッドの製造方法、画像形成装置 Download PDF

Info

Publication number
JP2010030070A
JP2010030070A JP2008192205A JP2008192205A JP2010030070A JP 2010030070 A JP2010030070 A JP 2010030070A JP 2008192205 A JP2008192205 A JP 2008192205A JP 2008192205 A JP2008192205 A JP 2008192205A JP 2010030070 A JP2010030070 A JP 2010030070A
Authority
JP
Japan
Prior art keywords
metal member
diaphragm
metal
liquid
discharge head
Prior art date
Legal status (The legal status is an assumption and is not a legal conclusion. Google has not performed a legal analysis and makes no representation as to the accuracy of the status listed.)
Granted
Application number
JP2008192205A
Other languages
English (en)
Other versions
JP5332375B2 (ja
Inventor
Kenichiro Hashimoto
憲一郎 橋本
Current Assignee (The listed assignees may be inaccurate. Google has not performed a legal analysis and makes no representation or warranty as to the accuracy of the list.)
Ricoh Co Ltd
Original Assignee
Ricoh Co Ltd
Priority date (The priority date is an assumption and is not a legal conclusion. Google has not performed a legal analysis and makes no representation as to the accuracy of the date listed.)
Filing date
Publication date
Application filed by Ricoh Co Ltd filed Critical Ricoh Co Ltd
Priority to JP2008192205A priority Critical patent/JP5332375B2/ja
Priority to US12/508,719 priority patent/US8118413B2/en
Publication of JP2010030070A publication Critical patent/JP2010030070A/ja
Application granted granted Critical
Publication of JP5332375B2 publication Critical patent/JP5332375B2/ja
Expired - Fee Related legal-status Critical Current
Anticipated expiration legal-status Critical

Links

Images

Classifications

    • BPERFORMING OPERATIONS; TRANSPORTING
    • B41PRINTING; LINING MACHINES; TYPEWRITERS; STAMPS
    • B41JTYPEWRITERS; SELECTIVE PRINTING MECHANISMS, i.e. MECHANISMS PRINTING OTHERWISE THAN FROM A FORME; CORRECTION OF TYPOGRAPHICAL ERRORS
    • B41J2/00Typewriters or selective printing mechanisms characterised by the printing or marking process for which they are designed
    • B41J2/005Typewriters or selective printing mechanisms characterised by the printing or marking process for which they are designed characterised by bringing liquid or particles selectively into contact with a printing material
    • B41J2/01Ink jet
    • B41J2/135Nozzles
    • B41J2/16Production of nozzles
    • B41J2/1607Production of print heads with piezoelectric elements
    • B41J2/1612Production of print heads with piezoelectric elements of stacked structure type, deformed by compression/extension and disposed on a diaphragm
    • BPERFORMING OPERATIONS; TRANSPORTING
    • B41PRINTING; LINING MACHINES; TYPEWRITERS; STAMPS
    • B41JTYPEWRITERS; SELECTIVE PRINTING MECHANISMS, i.e. MECHANISMS PRINTING OTHERWISE THAN FROM A FORME; CORRECTION OF TYPOGRAPHICAL ERRORS
    • B41J2/00Typewriters or selective printing mechanisms characterised by the printing or marking process for which they are designed
    • B41J2/005Typewriters or selective printing mechanisms characterised by the printing or marking process for which they are designed characterised by bringing liquid or particles selectively into contact with a printing material
    • B41J2/01Ink jet
    • B41J2/135Nozzles
    • B41J2/16Production of nozzles
    • B41J2/1606Coating the nozzle area or the ink chamber
    • BPERFORMING OPERATIONS; TRANSPORTING
    • B41PRINTING; LINING MACHINES; TYPEWRITERS; STAMPS
    • B41JTYPEWRITERS; SELECTIVE PRINTING MECHANISMS, i.e. MECHANISMS PRINTING OTHERWISE THAN FROM A FORME; CORRECTION OF TYPOGRAPHICAL ERRORS
    • B41J2/00Typewriters or selective printing mechanisms characterised by the printing or marking process for which they are designed
    • B41J2/005Typewriters or selective printing mechanisms characterised by the printing or marking process for which they are designed characterised by bringing liquid or particles selectively into contact with a printing material
    • B41J2/01Ink jet
    • B41J2/135Nozzles
    • B41J2/16Production of nozzles
    • B41J2/1621Manufacturing processes
    • B41J2/1623Manufacturing processes bonding and adhesion
    • BPERFORMING OPERATIONS; TRANSPORTING
    • B41PRINTING; LINING MACHINES; TYPEWRITERS; STAMPS
    • B41JTYPEWRITERS; SELECTIVE PRINTING MECHANISMS, i.e. MECHANISMS PRINTING OTHERWISE THAN FROM A FORME; CORRECTION OF TYPOGRAPHICAL ERRORS
    • B41J2/00Typewriters or selective printing mechanisms characterised by the printing or marking process for which they are designed
    • B41J2/005Typewriters or selective printing mechanisms characterised by the printing or marking process for which they are designed characterised by bringing liquid or particles selectively into contact with a printing material
    • B41J2/01Ink jet
    • B41J2/135Nozzles
    • B41J2/16Production of nozzles
    • B41J2/1621Manufacturing processes
    • B41J2/1626Manufacturing processes etching
    • B41J2/1629Manufacturing processes etching wet etching
    • BPERFORMING OPERATIONS; TRANSPORTING
    • B41PRINTING; LINING MACHINES; TYPEWRITERS; STAMPS
    • B41JTYPEWRITERS; SELECTIVE PRINTING MECHANISMS, i.e. MECHANISMS PRINTING OTHERWISE THAN FROM A FORME; CORRECTION OF TYPOGRAPHICAL ERRORS
    • B41J2/00Typewriters or selective printing mechanisms characterised by the printing or marking process for which they are designed
    • B41J2/005Typewriters or selective printing mechanisms characterised by the printing or marking process for which they are designed characterised by bringing liquid or particles selectively into contact with a printing material
    • B41J2/01Ink jet
    • B41J2/135Nozzles
    • B41J2/16Production of nozzles
    • B41J2/1621Manufacturing processes
    • B41J2/1631Manufacturing processes photolithography
    • BPERFORMING OPERATIONS; TRANSPORTING
    • B41PRINTING; LINING MACHINES; TYPEWRITERS; STAMPS
    • B41JTYPEWRITERS; SELECTIVE PRINTING MECHANISMS, i.e. MECHANISMS PRINTING OTHERWISE THAN FROM A FORME; CORRECTION OF TYPOGRAPHICAL ERRORS
    • B41J2/00Typewriters or selective printing mechanisms characterised by the printing or marking process for which they are designed
    • B41J2/005Typewriters or selective printing mechanisms characterised by the printing or marking process for which they are designed characterised by bringing liquid or particles selectively into contact with a printing material
    • B41J2/01Ink jet
    • B41J2/135Nozzles
    • B41J2/16Production of nozzles
    • B41J2/1621Manufacturing processes
    • B41J2/164Manufacturing processes thin film formation
    • B41J2/1643Manufacturing processes thin film formation thin film formation by plating

Landscapes

  • Engineering & Computer Science (AREA)
  • Manufacturing & Machinery (AREA)
  • Particle Formation And Scattering Control In Inkjet Printers (AREA)

Abstract

【課題】複数の金属板と樹脂板が予め接合されている積層部材を用いて振動板部材を構成する場合、相対的に精度が低くても速く(短時間で)形成し、時間がかかっても相対的に高精度に形成したいことがある。
【解決手段】液滴を吐出する複数のノズル6が連通する複数の加圧液室7の壁面を形成する振動板10を形成する振動板部材4と、振動板部材4の振動板10を変位させる圧電素子部材2とを有し、振動板部材4は、振動板10を形成する樹脂部材21と、樹脂部材21の両面に設けられた第1、第2の金属部材22、23とを含む少なくとも3層の積層部材20からなり、第1、第2の金属部材22、23は異なる種類の金属材料から形成され、第1の金属部材22はイオン化傾向が水素よりも大きい材料で形成され、第2の金属部材23はイオン化傾向が水素よりも小さい材料で形成されている。
【選択図】図2

Description

本発明は液体吐出ヘッド、液体吐出ヘッドの製造方法、画像形成装置に関する。
プリンタ、ファクシミリ、複写装置、プロッタ、これらの複合機等の画像形成装置として、例えばインク液滴を吐出する記録ヘッドを用いた液体吐出記録方式の画像形成装置としてインクジェット記録装置などが知られている。この液体吐出記録方式の画像形成装置は、記録ヘッドからインク滴を、搬送される用紙(紙に限定するものではなく、OHPなどを含み、インク滴、その他の液体などが付着可能なものの意味であり、被記録媒体あるいは記録媒体、記録紙、記録用紙などとも称される。)に対して吐出して、画像形成(記録、印字、印写、印刷も同義語で使用する。)を行なうものであり、記録ヘッドが主走査方向に移動しながら液滴を吐出して画像を形成するシリアル型画像形成装置と、記録ヘッドが移動しない状態で液滴を吐出して画像を形成するライン型ヘッドを用いるライン型画像形成装置がある。
なお、本願において、液体吐出記録方式の「画像形成装置」は、紙、糸、繊維、布帛、皮革、金属、プラスチック、ガラス、木材、セラミックス等の媒体に液体を吐出して画像形成を行う装置を意味し、また、「画像形成」とは、文字や図形等の意味を持つ画像を媒体に対して付与することだけでなく、パターン等の意味を持たない画像を媒体に付与すること(単に液滴を媒体に着弾させること)をも意味する。また、「インク」とは、インクと称されるものに限らず、記録液、定着処理液、液体などと称されるものなど、画像形成を行うことができるすべての液体の総称として用い、例えば、DNA試料、レジスト、パターン材料なども含まれる。
液体吐出ヘッドとしては、個別流路(以下「加圧液室」という。)内のインクを加圧する圧力を発生するための圧力発生手段(アクチュエータ手段)として圧電素子などで構成される圧電アクチュエータを用いたもの、発熱抵抗体などで構成されるサーマルアクチュエータを用いたもの、静電力を発生する静電アクチュエータを用いたものなどが知られている。
ところで、画像形成装置においては、より高品位な画像を、より速い印刷速度で出力できることが求められるようになっている。そのため、液滴の小滴化やノズルの高密度化を図って高解像度化に対応し、液滴吐出の駆動周波数を高め、1ヘッド当たりのノズル数を増やしたライン型ヘッドに代表されるヘッドの長尺化で高速化に対応することが行われている。
ヘッドの長尺化によるノズル数の増加に対応するために複雑な液流路形状を形成する流路部材(流路形成部材)については、低コスト化を図るために、長尺化が困難なシリコン材ではなく、金属板や樹脂板が用いられるようになりつつある。
特開2006−88400号公報 特許第3596586号公報
特に、特許文献3には3層基材を用いて振動板と流路板を同時に形成することで接合回数を削減し、接合精度を向上することが記載されている。
特開2002−264346号公報
ところで、金属膜の単膜を接着剤接合することは。多くの接合工数を要し、コストが高く、接合精度を要求する工程を設計する必要があるという課題がある。また、難接着材料とされるステンレス材を接合プロセスが必要とされる多層構成とすることは好ましくなく、また、接合プロセスにおけるプレート同士の接合ズレが生じやすいという課題もある。そこで、特許文献3に記載されているように複数の金属板と樹脂板とがあらかじめ接合されている積層部材を用いることが行われる。
この場合、特許文献3に記載のものは耐エッチング部材の両面に設けたエッチング可能な金属部材を同時にエッチングすることにより液室間隔壁(流路間隔壁)及び圧電素子と接合する連結部などの凸部を形成するとき、両側のエッチング可能部材はエッチング速度が異なる材料を用いてエッチング量を調整するため、両側のエッチング可能部材の厚さは、それぞれのエッチングレートから計算される厚さから選ぶ必要があり、液体吐出ヘッドとして十分な特性の得られる寸法や形状を得るのが困難であるという課題がある。
また、複数の金属板と樹脂板が予め接合されている積層部材を用いて振動板部材を構成する場合、上述したように、一方の金属板は液室側の液室間隔壁(流路間隔壁)を形成する部分に、他方の金属板は駆動手段としての例えば圧電素子との連結部を形成する部分となるが、一方の金属板で厚さ(高さ)が厚い液室間隔壁全体を形成するような場合には厚さの薄い連結部に対して相対的に精度が低くても速く(短時間で)形成し、圧電素子と接合する連結部分は時間がかかっても相対的に高精度に形成したいことがある。
本発明は上記の課題に鑑みてなされたものであり、樹脂部材の両面に金属部材が予め接合されている積層部材を用いる場合に、両者の金属部材を異なる精度及びエッチング速度で加工できるようにするとともに、ヘッドとして充分な特性が得られるようにするための設計の自由度を高め、工程の簡略化を図れるようにすることを目的とする
上記の課題を解決するため、本発明に係る液体吐出ヘッドは、
液滴を吐出する複数のノズルが連通する複数の流路の少なくとも1つの壁面を形成する振動板を形成する振動板部材と、
前記振動板部材の振動板を変位させる駆動手段と、を有し、
前記振動板部材は、前記振動板を形成する樹脂部材と、前記樹脂部材の両面に設けられた第1、第2の金属部材と、を含む少なくとも3層の積層部材からなり、
前記第1、第2の金属部材は異なる種類の金属材料から形成され、前記第1の金属部材のイオン化傾向が水素よりも大きく、前記第2の金属部材のイオン化傾向が水素よりも小さい
構成とした。
ここで、前記振動板部材の前記第1の金属部材は2つの流路間の隔壁の少なくとも一部を形成している構成とできる。
また、前記第1の金属部材で流路間隔壁の少なくとも一部が形成され、前記第2の金属部材で前記流路間隔壁に対応する前記駆動手段側の対応部分が形成され、
前記第1の金属部材で形成された流路間隔壁の少なくとも一部を形成するパターンの平面形状における面積が前記第2の金属部材で形成された前記対応部分のパターンの平面形状における面積より大きく、
前記駆動手段によって前記振動板を前記流路側に変形変位させて前記液滴を吐出させる
構成とできる。
また、前記第2の金属部材で流路間隔壁の少なくとも一部が形成され、前記第1の金属部材で前記流路間隔壁に対応する前記駆動手段側の対応部分が形成され、
前記第1の金属部材で形成された前記対応部分のパターンの平面形状における面積が前記第1の金属部材で形成された前記流路間隔壁の少なくとも一部を形成するパターンの平面形状における面積より大きく、
前記駆動手段によって前記振動板を前記流路側と反対側に変形変位させて前記液滴を吐出させる
構成とできる。
本発明に係る液体吐出ヘッドの製造方法は、前記振動板部材の前記第1の金属部材と前記第2の金属部材とを異なるエッチング液でエッチングして所要のパターンを形成する構成とした。
本発明に係る液体吐出ヘッドの製造方法は、前記振動板部材の前記第1の金属部材と前記第2の金属部材とを第1のエッチング液でエッチングを行い、その後、前記第1又は第2の金属部材を第2のエッチング液でエッチングを行う構成とした。
本発明に係る画像形成装置は、本発明に係る液体吐出ヘッドを備えている構成とした。
本発明に係る液体吐出ヘッドによれば、振動板部材は、振動板を形成する樹脂部材と、樹脂部材の両面に設けられた第1、第2の金属部材と、を含む少なくとも3層の積層部材からなり、第1、第2の金属部材は異なる種類の金属材料から形成され、第1の金属部材のイオン化傾向が水素よりも大きく、第2の金属部材のイオン化傾向が水素よりも小さい構成としたので、第1の金属部材を短時間で加工でき、第2の金属部材を高精度に加工できるようになるとともに、2つの金属部材の他方をマスキング保護することなく、それぞれの金属部材や層の厚さに対して最適なエッチング時間の設定が可能となって、加工工程の簡略化を図れるようになる。
本発明に係る液体吐出ヘッドの製造方法によれば、振動板部材の第1の金属部材と第2の金属部材とを異なるエッチング液でエッチングして所要のパターンを形成する構成としたので、第1の金属部材のみのエッチング、第2の金属部材のみのエッチングを、それぞれ他方をマスキングすることなく行うことができて、簡単な工程でヘッドを製造することができる。
本発明に係る液体吐出ヘッドの製造方法によれば、振動板部材の第1の金属部材と第2の金属部材とを第1のエッチング液でエッチングを行い、その後、第1又は第2の金属部材を第2のエッチング液でエッチングを行う構成としたので、ヘッドの製造にかかる時間を短縮することができる。
本発明に係る画像形成装置によれば、本発明に係る液体吐出ヘッドを備えているので、低コスト化を図れる。
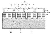
以下、本発明の実施の形態について添付図面を参照して説明する。まず、本発明に係る液体吐出ヘッドの第1実施形態について図1及び図2を参照して説明する。なお、図1は同液体吐出ヘッドの液室長手方向(ノズル並び方向と直交する方向)に沿う断面説明図、図2は同じく液室短手方向(ノズル並び方向)に沿う断面説明図である。
この液体吐出ヘッドは、ベース部材1上に設けた駆動手段(駆動素子)である複数の圧電素子柱2A、2Bが形成された積層型圧電素子部材2と、ベース部材1の外周側に配置したフレーム部材3と、圧電素子部材2上に設けた振動板部材4と、この振動板部材4上に設けたノズル板5とを備え、インク滴を吐出するノズル6、このノズル6が連通する流路である加圧液室7、加圧液室7に流体抵抗部8を介してインクを供給する共通インク室9を設けている。
振動板部材4は、加圧液室7の底部壁面を形成する耐エッチング部材(材料)からなる振動板10と、この振動板10の上側に積層したエッチング可能部材(金属部材)からなる構造体である液室隔壁部(流路間隔壁)11と、振動板10の下側に積層したエッチング可能部材(金属部材)からなる構造体であって圧電素子柱2Aと接合する島状凸部(厚肉部)12と、同じくこの凸部12を形成するエッチング可能部材(材料)からなる構造体であってフレーム部材3及び圧電素子柱2Bと接合する厚肉部13とを形成している。
また、ノズル板5には加圧液室7に連通する直径10から30μmの大きさのノズル6を形成する穴部を形成している。このノズル板5のインク吐出面(ノズル表面側)は、PTFE−Ni共析メッキやフッ素樹脂の電着塗装、蒸発性のあるフッ素樹脂(例えばフッ化ピッチなど)を蒸着コートしたもの、シリコン系樹脂・フッ素系樹脂の溶剤塗布後の焼き付け等、インク物性に応じて選定した撥水処理膜を設けて、インクの滴形状、飛翔特性を安定化し、高品位の画像品質を得られるようにしている。
そして、振動板10の面外側(加圧液室7と反対面側)に各加圧液室7に対応して駆動手段としての圧電素子部材2の圧電素子柱2Aに島状凸部12を接合し、厚肉部13を圧電素子柱2Bに接合している。これらの振動板10と圧電素子部材2によって振動板10を変形させる圧電型アクチュエータを構成している。
ここで、圧電素子部材2は、例えば厚さ10〜50μm/1層のチタン酸ジルコン酸鉛(PZT)の圧電層54と、厚さ数μm/1層の銀・パラジューム(AgPd)からなる内部電極層55A、55Bとを交互に積層したものであり、内部電極層55A、55Bを交互に端面の端面電極(外部電極)である個別電極57、共通電極56に電気的に接続している。
そして、圧電素子部材2には分断することなく溝加工(スリット加工)を施すことで、複数の圧電素子柱2A、2Bを形成し、各圧電素子柱2Aは駆動波形を印加する駆動圧電素子柱とし、各圧電素子柱2Bは液室間隔壁11に対応する支柱(非駆動)圧電素子柱として使用している。そして、圧電素子部材2の各駆動圧電素子柱2Aの一端面には駆動波形を与えるためのFPCケーブル14が外部電極57に接続されている。
なお、圧電素子部材2の圧電方向としてd33方向の変位を用いて加圧液室7内のインクを加圧する構成とすることも、圧電素子部材2の圧電方向としてd31方向の変位を用いて加圧液室7内のインクを加圧する構成とすることもできる。本実施形態ではd33方向の変位を用いた構成をとっている。
また、ベース部材1は金属材料で形成することが好ましい。ベース部材1の材質(材料)が金属であれば、圧電素子部材2の自己発熱による蓄熱を防止することができる。圧電素子部材2とベース部材1は接着剤により接着接合しているが、チャンネル数が増えると、圧電素子部材2の自己発熱により100℃近くまで温度が上昇し、接合強度が著しく低下することになる。また、自己発熱によりヘッド内部の温度上昇が発生し、液体温度が上昇するが、液体の温度が上昇すると、液体粘度が低下し、噴射特性に大きな影響を与える。したがって、ベース部材1を金属材料で形成して圧電素子部材2の自己発熱による蓄熱を防止することで、これらの接合強度の低下、液体粘度の低下による噴射特性の劣化を防止することができる。
また、FPCケーブル14には各チャンネル(各加圧液室7に対応する)を駆動する駆動波形(電気信号)を印加するためのドライバIC15を複数搭載している。
さらに、振動板部材4の周囲にはフレーム部材16を接着剤で接合している。そして、このフレーム部材16には、ドライバIC15と少なくともベース部材1を挟んで反対側に配置されるように、加圧液室7に外部からインクを供給するための共通液室9を形成している。この共通液室9は、振動板部材4のインク供給口17を介して流体抵抗部8及び加圧液室7に連通している。
共通液室9には、ダイヤフラム部18によってダンパ室19が形成され、滴吐出によって共通液室9内に発生する圧力波を減衰させ、液体吐出を安定させる。
このように構成した液体吐出ヘッドにおいては、圧電素子部材2に駆動電圧を印加することによって、圧電素子部材2に積層方向の変位が生じて振動板10が加圧液室7側に変形変位して加圧液室7の内容積が減少し、加圧液室7内圧力が上昇してノズル6からインク滴が吐出される。このとき、加圧液室7内のインクは流体抵抗部8を通じて共通インク室9側にも流入しようとするが、流体抵抗部8によって共通インク室9側へのインク流入が抑制されるので、効率的なインク滴吐出を行なうことができる。
そして、インク滴吐出の終了に伴い、加圧液室7内のインク圧力が低減し、インクの流れの慣性と駆動電圧の放電過程によって加圧液室7に負圧が発生してインク充填行程へ移行し、共通インク室9から流体抵抗部8を通じて加圧液室7にインクが充填される。そして、ノズル6の出口付近のインクメニスカス面の振動が減衰し、ある程度定常状態に戻れば次のインク滴吐出動作に移行する。
次に、振動板部材4の詳細について図3をも参照して説明する。なお、図3は同振動板部材を本発明に係る製造方法の第1実施形態を適用した製造工程とともに説明する断面説明図である。以下では振動板部材4の異なる例を説明するため、上述した図1及び図2とはかならずしも図示の形状は一致しない。
振動板部材4は、図3(a)に示すように、耐エッチング部材であるポリイミド(PI)やポリフェニレンサルファイド(PPS)などの樹脂部材21の両側を異種材料の金属部材である第1の金属部材22、第2の金属部材23で挟んだ3層の積層部材20を用いて形成する。本実施形態では、積層部材20の第1の金属部材22はイオン化傾向が水素よりも大きいクロムとし、第2の金属部材23はイオン化傾向が水素より小さい銅としている。
まず、同図(b)に示すように、積層部材20の全面にレジストを塗布してこれをパターニングすることで、第1の金属部材22側に加圧液室7に対応する部分が開口したレジストパターン24を、第2の金属部材23側に凸部12及び厚肉部13以外の部分に対応する部分が開口したレジストパターン25を形成する。
そして、同図(c)に示すように、アンモニア水で第2の金属部材23をエッチングする。ここで、第1の金属部材22はイオン化傾向が水素より大きく、第2の金属部材23はイオン化傾向が水素より小さい材料を選択しているので、イオン化傾向が水素より大きい第1の金属部材22は、一般的に耐アルカリ性が大きく、アンモニア水ではエッチングされない。したがって、第1の金属部材22側を保護しなくても第2の金属部材23のエッチングが可能である。エッチングは耐エッチング部材である樹脂部材21でストップするので、エッチング可能部材である第2の金属部材23が彫り込まれる。
次に、同図(d)に示すように、第1の金属部材22を塩酸でエッチングする。第2の金属部材23はイオン化傾向が水素より小さいので耐酸性が大きく、エッチングされない。
その後、同図(e)に示すように、レジストを除去することにより、第1の金属部材22で加圧液室7となる凹部7a及び構造体である液室間隔壁11を形成し、第2の金属部材23で構造体である凸部12及び厚肉部13を形成するとともに、樹脂部材21からなる振動板10を形成した振動板部材4が得られる。
この場合、イオン化傾向が水素より小さい第2の金属部材23のエッチングレートは、イオン化傾向が水素より大きい第1の金属部材22のエッチングレートよりも遅くなる。したがって、イオン化傾向が水素より小さい第2の金属部材23による凸部12及び厚肉部13は高精度に形成することができ、イオン化傾向が水素より大きい第1の金属部材22による液室間隔壁11及び加圧液室7となる凹部7aは厚み(高さ)が厚いものの短時間で形成することができる。
なお、3層の積層部材20としては、例えば、あらかじめ市販されている3層積層品(ステンレス−ポリイミド−銅など)を用いても良いし、あらかじめ3層を接合した後、エッチングをしても良い。この場合、接合とエッチング工程の前後については、接合後のエッチングではパターンエッジ部に接着層のはみ出しがほとんど生じないため、容易に区別できる。また、耐エッチング部材(層)とエッチング可能部材(層)の接合に関して、接着層や接合力増強のための表面改質層を形成する場合もあり、見かけ上3層以上の構造になることもあるが、本発明の本質からはずれるものではない。
このように、耐エッチング材料である樹脂部材で振動板を形成し、その両側を異種金属部材(材料)で挟んだ3層構造として、エッチング可能材料である金属部材で構造体が形成されていることにより、振動板の両面の構造体を位置ずれなく形成でき、しかも工程が簡略で安価に形成できるため、組み付け精度の良い安価なインクジェットヘッドを得ることができる。
また、異種材料金属部材のイオン化傾向が、一方は水素よりも大きく、もう一方は水素よりも小さいので、それぞれの金属部材(材料)でエッチング特性が異なり、第1の金属部材と第2の金属部材のエッチング液を変えることにより、第1の金属部材のみのエッチング、第2の金属部材のみのエッチングを、他方をマスキングすることなく行うことができる、これにより、それぞれの金属部材の厚さやパターンに最適なエッチング時間の設定が可能であり、金属部材の厚さやパターンの設計の自由度が増すことにより、特性の優れた液体吐出ヘッドを実現できる。
ここで、イオン化傾向が水素よりも大きい金属の例としては、マグネシウム、チタン、アルミニウム、クロム、鉄、ニッケル、あるいはクロム、鉄、ニッケルの合金であるSUS304、SUS316、SUS430などのステンレスも含まれる。イオン化傾向が水素よりも小さい金属の例としては、銅、銀、金、白金などがある。
なお、本実施形態では、イオン化傾向が水素より大きい第1の金属部材22で液室間隔壁11を、イオン化傾向が水素より小さい第2の金属部材23で凸部12及び厚肉部13を形成したが、これに限ることはなく、イオン化傾向が水素より小さい第2の金属部材で液室間隔壁を、イオン化傾向が水素より大きい第1の金属部材で凸部12及び厚肉部13を形成してもよい。
ただし、本実施形態のように、イオン化傾向が水素よりも大きい第1の金属部材22で液室間隔壁を形成する方が好ましい。その理由は、イオン化傾向が水素よりも大きい金属は耐アルカリ性が大きい。本発明に係る液体吐出ヘッドをインクジェットヘッドに用いた場合、インクジェットのインクはアルカリ性であり、主にインクに直接接触する液室間隔壁には耐アルカリ性が要求される。イオン化傾向が水素より大きい金属で液室間隔壁を形成することで、耐インク性が得られ、耐久性の高いヘッドを実現できる。
また、樹脂部材21は絶縁性であるので、第1の金属部材22と第2の金属部材23との間が絶縁される。インクを満たされると、第1の金属部材22と第2の金属部材23により電池となり金属部材が溶出することを防ぐことができる。
また、本実施形態では第2の金属部材23のエッチングを行ってから、第1の金属部材22のエッチングを行ったが、エッチングの順番は適宜選択できる。
これらの各例においては、振動板10と液室間隔壁11とを一体化した部材を形成することができ、こうして形成された部材は接合後にパターン形成されているため、位置ずれは両面のマスク位置精度でのみ決まり、凸部12と加圧液室7を高精度で位置合わせできる。また、接合部へのはみ出しも少なく、形状精度も高い部材が形成できる。
このようにして形成する液室隔壁部材、および厚肉部の一部は、インクに接液するため、耐インク性が求められるが、耐インク性が低い材料でも表面を有機ないし無機材料で被覆することで耐インク性を確保することは可能であり、そのような層構成であっても、本発明の本質からはずれることはない。
振動板部材4の振動板10を形成する耐エッチング部材としては樹脂部材21とすることが好ましい。つまり、振動板を形成する耐エッチング部材は駆動手段の変形を効率よく伝え、かつその周辺の構造体に振動を伝搬させないため、剛性の低い樹脂部材(材料)で形成することが好ましい。振動が周辺の液室間隔壁などの構造体に伝搬すると、液室7及びノズル6も振動し、極めて吐出が不安定になる。これに対して、樹脂部材21の振動板10であれば、金属などの材料に比べヤング率が約2桁低く、軟らかいため、周辺に振動を伝えにくいという効果がある。
樹脂部材(材料)21としては、アクリル樹脂、ポリイミド樹脂、アラミド樹脂など各種あるが、振動板部はインクに接液するため、耐インク性の高いポリイミド樹脂、アラミド樹脂などが好ましい。もちろんこれ以外の樹脂であっても、表面を有機ないし無機材料で被覆することで耐インク性を確保することは可能であり、そのような層構成であっても、本発明の本質からはずれることはない。樹脂振動板は、ヤング率が低いため、厚みを5〜100μmと厚く形成することができ、取り扱いやピンホール欠陥が生じ難く、歩留まりも向上する。
次に、本発明に係る液体吐出ヘッドの第2実施形態について図4を参照して説明する。なお、図4は同液体吐出ヘッドの液室短手方向(ノズル並び方向)に沿う断面説明図である。
本実施形態では、前記第1実施形態と同様に、第1の金属部材22で液室間隔壁(流路間隔壁)11が形成され、第2の金属部材23で流路間隔壁11に対応する駆動手段(圧電素子部材2)側の対応部分である厚肉部13が形成されている。
そして、第1の金属部材22のパターンと第2の金属部材23のパターンが重なる部分において、第2の金属部材23のパターンである厚肉部13のパターンより、第1の金属部材22のパターンである液室間隔壁11のパターンの方を平面形状における面積を大きくしている。つまり、第1の金属部材22で形成された液室間隔壁11を形成するパターンの平面形状における面積が第2の金属部材23で形成された対応部分である厚肉部13のパターンの平面形状における面積より大きく形成されている。
また、本実施形態では、前記第1実施形態と同様に、圧電素子部材2の圧電方向としてd33方向の変位を用いて、振動板10を流路側(加圧液室7側)に変形変位させてノズル6から液滴を吐出させる構成としている。
このように圧電素子部材2の圧電方向としてd33方向の変位を用いて振動板10を加圧液室7側に変形変位させて液室7内のインクを加圧する構成をとる場合、圧電素子部材2の分極を劣化させないためには分極方向に順方向に電圧を印加することになる。したがって、d33方向の変位を用いる場合には、図4に示すように、振動板10を押す方向に圧電素子部材2(駆動圧電素子柱2A)が変形し、圧電素子部材2が変形したときに、振動板10には固定端部分(図4中のAの部分)に大きな応力が働くことになる。
このとき、第2の金属部材23のパターンである厚肉部13のパターンより、第1の金属部材21のパターンである液室間隔壁11のパターンの方を大きくすることで、振動板10と液室間隔壁11或いは厚肉部13との接合界面に作用する引き剥がす力を小さくでき、振動板10と液室間隔壁11或いは厚肉部13との接合界面の剥がれに対する信頼性を向上することができる。
また、圧電素子部材2が高周波で振動した場合、液室間隔壁11のエッジ部分に応力が働き、長期的に見れば液室間隔壁11と樹脂部材21との界面の信頼性の問題が出てくる。しかしながら、前述したように、液室間隔壁11はイオン化傾向が水素より大きい第1の金属部材21で形成されているので、第1の金属部材21は表面に金属酸化膜を形成しやすい。この金属酸化膜はOH基を持ち、樹脂部材21や接着剤との相性が良く、その結果、液室間隔壁11と樹脂部材21との間の接合信頼性も高めることができる。
次に、本発明に係る液体吐出ヘッドの第3実施形態について図5を参照して説明する。なお、図5は同液体吐出ヘッドの液室短手方向(ノズル並び方向)に沿う断面説明図である。
本実施形態では、前記第1実施形態とは逆に、第2の金属部材23で液室間隔壁(流路間隔壁)11が形成され、第1の金属部材22で流路間隔壁11に対応する駆動手段側の支柱となる非駆動圧電素子柱32Bと接合する対応部分である厚肉部13が形成されている。
そして、第1の金属部材22のパターンと第2の金属部材23のパターンが重なる部分において、第2の金属部材23のパターンである液室間隔壁11のパターンより、第1の金属部材22のパターンである厚肉部13のパターンの方を平面形状における面積を大きくしている。つまり、第2の金属部材23で形成された液室間隔壁11を形成するパターンの平面形状における面積が第1の金属部材22で形成された対応部分である厚肉部13のパターンの平面形状における面積より大きく形成されている。
また、本実施形態では、前記第1実施形態とは異なり、ベース部材1上に、駆動圧電素子柱32Aと非駆動圧電素子柱32Bとで構成される圧電素子部材32を配置し、圧電方向としてd31方向の変位を用いて、振動板10を流路側(加圧液室7側)と反対側に変形変位させてノズル6から液滴を吐出させる構成としている。
このように、圧電素子部材2の圧電方向としてd31方向の変位を用いて加圧液室7側と反対側に振動板10を変形変位させてその戻り力で加圧液室7内のインクを加圧する構成とした場合には、図5に示すように、振動板10を引く方向に圧電素子部材2が変形するので、圧電素子部材2が変形したときに振動板10には固定端部分(図5のBの部分)に大きな応力が働くことになる。
このとき、第2の金属部材23のパターンである液室間隔壁11のパターンより、第1の金属部材のパターンである厚肉部23のパターンの方を大きくすることで、振動板10と液室間隔壁11或いは厚肉部13との接合界面に作用する引き剥がす力を小さくでき、振動板10と液室間隔壁11或いは厚肉部13との接合界面の剥がれに対する信頼性を向上することができる。
また、圧電素子部材2が高周波で振動した場合、厚肉部13のエッジ部分に応力が働き、長期的に見れば厚肉部13と樹脂部材21との界面の信頼性の問題が出てくる。ここで、厚肉部13は第1の金属部材22で形成されている。第1の金属部材22はイオン化傾向が大きく、表面に金属酸化膜を形成しやすい。金属酸化膜はOH基を持ち、樹脂部材21や接着剤との相性が良い。したがって、厚肉部13と樹脂部材21との間の接合信頼性も高くなる。
次に、本発明に係る液体吐出ヘッドの第4実施形態について図6を参照して説明する。なお、図6は同液体吐出ヘッドにおける振動板部材を本発明に係る製造方法の第2実施形態を適用した製造工程とともに説明する断面説明図である。
振動板部材4は、図6(a)に示すように、耐エッチング部材であるポリイミド(PI)やポリフェニレンサルファイド(PPS)などの樹脂部材21の両側を異種材料の金属部材である第1の金属部材22、第2の金属部材23で挟んだ3層の積層部材20を用いて形成する。本実施形態では、積層部材20の第1の金属部材22はイオン化傾向が水素よりも大きいSUS304Hとし、第2の金属部材23はイオン化傾向が水素より小さい銅としている。
まず、同図(b)に示すように、全面にレジストを塗布してこれをパターニングすることで、第1の金属部材22側に加圧液室7に対応する部分が開口したレジストパターン24を、第2の金属部材23側に凸部12及び厚肉部13以外の部分に対応する部分が開口したレジストパターン25を形成する。本実施例では、第1の金属部材22にSUS304H、第2の金属部材23に銅を用いた。
次に、同図(c)に示すように、第1のエッチング液である塩化第2鉄でエッチングを行う。塩化第2鉄は第1の金属部材22であるSUS304Hと第2の金属部材23である銅の両方をエッチングすることができる。エッチングは、耐エッチング部材である樹脂部材21でストップするので、エッチング可能部材である第1の金属部材22及び第2の金属部材23が彫り込まれる。
次に、同図(d)に示すように、第1の金属部材22を第2のエッチング液である塩酸と硝酸の混合液でエッチングする。このとき、第2の金属部材23はイオン化傾向が水素より小さいので耐酸性が大きく、エッチングされない。
その後、同図(e)に示すように、レジストを除去することにより、第1の金属部材22で加圧液室7となる凹部7a及び構造体である液室間隔壁11を形成し、第2の金属部材23で構造体である凸部12及び厚肉部13を形成するとともに、樹脂部材21からなる振動板10を形成した振動板部材4を得る。
このように、本実施形態では、第1のエッチング液である塩化第2鉄で第1の金属部材22であるSUS304Hと第2の金属部材23である銅の両方のエッチングを行い、その後、第2のエッチング液である塩酸と硝酸の混合液で、第1の金属部材22であるSUS304Hのエッチングを行う。第2のエッチング液では第2の金属部材23のエッチングは進まず、第2の金属部材23の形状は第1のエッチングで決まる。一方、第2の金属部材23は、第1のエッチング液でもエッチングされ、第2のエッチング液のエッチング時間は少なくてすむ。そのため、製造にかかる時間を短縮することができ、コストを低減することができる。
次に、本発明に係る液体吐出ヘッドの第5実施形態について図7及び図8を参照して説明する。なお、図7は同液体吐出ヘッドの液室長手方向(ノズル並び方向と直交する方向)に沿う断面説明図、図8は同じく液室短手方向(ノズル並び方向)に沿う断面説明図である。
本実施形態では、振動板部材4の第1の金属部材22で液室間隔壁11の一部(隔壁部分)11Aを形成し、この振動板部材4上に液室間隔壁11の残部(隔壁部分)11Bを形成する液室部材20を接合することで、液室間隔壁11を2層構造としたものである。
液室部材20は、エッチング、プレスなどの加工方法により形成し、隔壁部分11Aに接着接合されている。液室間隔壁11の高さは、液流量を稼ぐためにある程度必要であるが、振動板部材4の第1の金属部材22による隔壁部分11Aはエッチングで形成するので、加圧液室7を高密度に並べた場合、隔壁部分11Aの高さは、低くしないと形成できない。そこで、高密度に加圧液室7を配列し、別部材である液室部材20を積層することによって、液室間隔壁11の高さを高くすることができる。
なお、本発明に係る液体吐出ヘッドにインクを供給するカートリッジを一体化した構成のヘッド一体型カートリッジ又はカートリッジ一体型のヘッドにも同様に適用することができる。
次に、本発明に係る液体吐出ヘッドを備える本発明に係る画像形成装置の一例について図9及び図10を参照して説明する。なお、図9は同装置の機構部の全体構成を説明する概略構成図、図10は同機構部の要部平面説明図である。
この画像形成装置はシリアル型画像形成装置であり、左右の側板201A、201Bに横架したガイド部材である主従のガイドロッド231、232でキャリッジ233を主走査方向に摺動自在に保持し、図示しない主走査モータによってタイミングベルトを介して矢示方向(キャリッジ主走査方向)に移動走査する。
このキャリッジ233には、イエロー(Y)、シアン(C)、マゼンタ(M)、ブラック(K)の各色のインク滴を吐出するための本発明に係る液体吐出ヘッドからなる記録ヘッド234a、234b(区別しないときは「記録ヘッド234」という。)を複数のノズルからなるノズル列を主走査方向と直交する副走査方向に配列し、インク滴吐出方向を下方に向けて装着している。
記録ヘッド234は、それぞれ2つのノズル列を有し、記録ヘッド234aの一方のノズル列はブラック(K)の液滴を、他方のノズル列はシアン(C)の液滴を、記録ヘッド234bの一方のノズル列はマゼンタ(M)の液滴を、他方のノズル列はイエロー(Y)の液滴を、それぞれ吐出する。なお、ここでは2ヘッド構成で4色の液滴を吐出する構成としているが、各色毎の記録ヘッドを備えることもできるし、4色の液滴を吐出する複数のノズルを並べたノズル列を有する1つの記録ヘッド構成とすることもできる。
また、キャリッジ233には、記録ヘッド234のノズル列に対応して各色のインクを供給するためのサブタンク235a、235b(区別しないときは「サブタンク235」という。)を搭載している。このサブタンク235には各色の供給チューブ236を介して、供給ユニット224によって各色のインクカートリッジ210から各色のインクが補充供給される。
一方、給紙トレイ202の用紙積載部(圧板)241上に積載した用紙242を給紙するための給紙部として、用紙積載部241から用紙242を1枚ずつ分離給送する半月コロ(給紙コロ)243及び給紙コロ243に対向し、摩擦係数の大きな材質からなる分離パッド244を備え、この分離パッド244は給紙コロ243側に付勢されている。
そして、この給紙部から給紙された用紙242を記録ヘッド234の下方側に送り込むために、用紙242を案内するガイド部材245と、カウンタローラ246と、搬送ガイド部材247と、先端加圧コロ249を有する押さえ部材248とを備えるとともに、給送された用紙242を静電吸着して記録ヘッド234に対向する位置で搬送するための搬送手段である搬送ベルト251を備えている。
この搬送ベルト251は、無端状ベルトであり、搬送ローラ252とテンションローラ253との間に掛け渡されて、ベルト搬送方向(副走査方向)に周回するように構成している。また、この搬送ベルト251の表面を帯電させるための帯電手段である帯電ローラ256を備えている。この帯電ローラ256は、搬送ベルト251の表層に接触し、搬送ベルト251の回動に従動して回転するように配置されている。この搬送ベルト251は、図示しない副走査モータによってタイミングを介して搬送ローラ252が回転駆動されることによってベルト搬送方向に周回移動する。
さらに、記録ヘッド234で記録された用紙242を排紙するための排紙部として、搬送ベルト251から用紙242を分離するための分離爪261と、排紙ローラ262及び排紙コロ263とを備え、排紙ローラ262の下方に排紙トレイ203を備えている。
また、装置本体の背面部には両面ユニット271が着脱自在に装着されている。この両面ユニット271は搬送ベルト251の逆方向回転で戻される用紙242を取り込んで反転させて再度カウンタローラ246と搬送ベルト251との間に給紙する。また、この両面ユニット271の上面は手差しトレイ272としている。
さらに、キャリッジ233の走査方向一方側の非印字領域には、記録ヘッド234のノズルの状態を維持し、回復するための回復手段を含む本発明に係るヘッドの維持回復装置である維持回復機構281を配置している。この維持回復機構281には、記録ヘッド234の各ノズル面をキャピングするための各キャップ部材(以下「キャップ」という。)282a、282b(区別しないときは「キャップ282」という。)と、ノズル面をワイピングするためのブレード部材であるワイパーブレード283と、増粘した記録液を排出するために記録に寄与しない液滴を吐出させる空吐出を行うときの液滴を受ける空吐出受け284などを備えている。
また、キャリッジ233の走査方向他方側の非印字領域には、記録中などに増粘した記録液を排出するために記録に寄与しない液滴を吐出させる空吐出を行うときの液滴を受ける液体回収容器であるインク回収ユニット(空吐出受け)288を配置し、このインク回収ユニット288には記録ヘッド234のノズル列方向に沿った開口部289などを備えている。
このように構成したこの画像形成装置においては、給紙トレイ202から用紙242が1枚ずつ分離給紙され、略鉛直上方に給紙された用紙242はガイド245で案内され、搬送ベルト251とカウンタローラ246との間に挟まれて搬送され、更に先端を搬送ガイド237で案内されて先端加圧コロ249で搬送ベルト251に押し付けられ、略90°搬送方向を転換される。
このとき、帯電ローラ256に対してプラス出力とマイナス出力とが交互に繰り返すように、つまり交番する電圧が印加され、搬送ベルト251が交番する帯電電圧パターン、すなわち、周回方向である副走査方向に、プラスとマイナスが所定の幅で帯状に交互に帯電されたものとなる。このプラス、マイナス交互に帯電した搬送ベルト251上に用紙242が給送されると、用紙242が搬送ベルト251に吸着され、搬送ベルト251の周回移動によって用紙242が副走査方向に搬送される。
そこで、キャリッジ233を移動させながら画像信号に応じて記録ヘッド234を駆動することにより、停止している用紙242にインク滴を吐出して1行分を記録し、用紙242を所定量搬送後、次の行の記録を行う。記録終了信号又は用紙242の後端が記録領域に到達した信号を受けることにより、記録動作を終了して、用紙242を排紙トレイ203に排紙する。
このように、この画像形成装置では本発明に係る液体吐出ヘッドを記録ヘッドとして備えているので、低コスト化を図れ、またヘッドの信頼性が向上し、安定した記録を行うことができる。
なお、上記実施形態では本発明をプリンタ構成の画像形成装置に適用した例で説明したが、これに限るものではなく、例えば、プリンタ/ファックス/コピア複合機などの画像形成装置に適用することができる。また、狭義のインク以外の液体や定着処理液などを用いる画像形成装置にも適用することができる。
本発明に係る液体吐出ヘッドの第1実施形態を示す液室長手方向に沿う断面説明図である。 同じく液室短手方向に沿う断面説明図である。 同じく振動板部材を本発明に係る製造方法の第1実施形態を適用した製造工程とともに示す断面説明図である。 本発明に係る液体吐出ヘッドの第2実施形態を示す液室短手方向に沿う断面説明図である。 本発明に係る液体吐出ヘッドの第3実施形態を示す液室短手方向に沿う断面説明図である。 本発明に係る液体吐出ヘッドの第4実施形態における振動板部材を本発明に係る製造方法の第2実施形態を適用した製造工程とともに示す断面説明図である 本発明に係る液体吐出ヘッドの第5実施形態を示す液室長手方向に沿う断面説明図である。 同じく液室短手方向に沿う断面説明図である。 本発明に係る液体吐出ヘッドを含む本発明に係る画像形成装置の一例を示す概略構成図である。 同じく要部平面説明図である。
符号の説明
1…ベース基板
2…圧電素子部材
2A,2B…圧電素子柱
3…フレーム部材
4…振動板部材
5…ノズル板
6…ノズル
7…加圧液室(流路)
10…振動板
11…液室間隔壁(流路間隔壁)
20…液室部材
21…樹脂部材
22…第1の金属部材
23…第2の金属部材
234…記録ヘッド(液体吐出ヘッド)

Claims (7)

  1. 液滴を吐出する複数のノズルが連通する複数の流路の少なくとも1つの壁面を形成する振動板を形成する振動板部材と、
    前記振動板部材の振動板を変位させる駆動手段と、を有し、
    前記振動板部材は、前記振動板を形成する樹脂部材と、前記樹脂部材の両面に設けられた第1、第2の金属部材と、を含む少なくとも3層の積層部材からなり、
    前記第1、第2の金属部材は異なる種類の金属材料から形成され、前記第1の金属部材のイオン化傾向が水素よりも大きく、前記第2の金属部材のイオン化傾向が水素よりも小さい
    ことを特徴とする液体吐出ヘッド。
  2. 請求項1に記載の液体吐出ヘッドにおいて、前記振動板部材の前記第1の金属部材は流路間隔壁の少なくとも一部を形成していることを特徴とする液体吐出ヘッド。
  3. 請求項1に記載の液体吐出ヘッドにおいて、
    前記第1の金属部材で流路間隔壁の少なくとも一部が形成され、前記第2の金属部材で前記流路間隔壁に対応する前記駆動手段側の対応部分が形成され、
    前記第1の金属部材で形成された流路間隔壁の少なくとも一部を形成するパターンの平面形状における面積が前記第2の金属部材で形成された前記対応部分のパターンの平面形状における面積より大きく、
    前記駆動手段によって前記振動板を前記流路側に変形変位させて前記液滴を吐出させる
    ことを特徴とする液体吐出ヘッド。
  4. 請求項1に記載の液体吐出ヘッドにおいて、
    前記第2の金属部材で流路間隔壁の少なくとも一部が形成され、前記第1の金属部材で前記流路間隔壁に対応する前記駆動手段側の対応部分が形成され、
    前記第1の金属部材で形成された前記対応部分のパターンの平面形状における面積が前記第1の金属部材で形成された前記流路間隔壁の少なくとも一部を形成するパターンの平面形状における面積より大きく、
    前記駆動手段によって前記振動板を前記流路側と反対側に変形変位させて前記液滴を吐出させる
    ことを特徴とする液体吐出ヘッド。
  5. 請求項1ないし3のいずれかに記載の液体吐出ヘッドを製造する製造方法であって、前記振動板部材の前記第1の金属部材と前記第2の金属部材とを異なるエッチング液でエッチングして所要のパターンを形成することを特徴とする液体吐出ヘッドの製造方法。
  6. 請求項4に記載の液体吐出ヘッドを製造する製造方法であって、前記振動板部材の前記第1の金属部材と前記第2の金属部材とを第1のエッチング液でエッチングを行い、その後、前記第1又は第2の金属部材を第2のエッチング液でエッチングを行うことを特徴とする液体吐出ヘッドの製造方法。
  7. 請求項1ないし4のいずれかに記載の液体吐出ヘッドを備えていることを特徴とする画像形成装置。
JP2008192205A 2008-07-25 2008-07-25 液体吐出ヘッド、液体吐出ヘッドの製造方法、画像形成装置 Expired - Fee Related JP5332375B2 (ja)

Priority Applications (2)

Application Number Priority Date Filing Date Title
JP2008192205A JP5332375B2 (ja) 2008-07-25 2008-07-25 液体吐出ヘッド、液体吐出ヘッドの製造方法、画像形成装置
US12/508,719 US8118413B2 (en) 2008-07-25 2009-07-24 Liquid ejecting head, image forming apparatus, and method for manufacturing liquid ejecting head

Applications Claiming Priority (1)

Application Number Priority Date Filing Date Title
JP2008192205A JP5332375B2 (ja) 2008-07-25 2008-07-25 液体吐出ヘッド、液体吐出ヘッドの製造方法、画像形成装置

Publications (2)

Publication Number Publication Date
JP2010030070A true JP2010030070A (ja) 2010-02-12
JP5332375B2 JP5332375B2 (ja) 2013-11-06

Family

ID=41568246

Family Applications (1)

Application Number Title Priority Date Filing Date
JP2008192205A Expired - Fee Related JP5332375B2 (ja) 2008-07-25 2008-07-25 液体吐出ヘッド、液体吐出ヘッドの製造方法、画像形成装置

Country Status (2)

Country Link
US (1) US8118413B2 (ja)
JP (1) JP5332375B2 (ja)

Cited By (3)

* Cited by examiner, † Cited by third party
Publication number Priority date Publication date Assignee Title
JP2011173319A (ja) * 2010-02-24 2011-09-08 Ricoh Co Ltd 液体吐出ヘッド及び画像形成装置
CN109895501A (zh) * 2017-12-08 2019-06-18 松下知识产权经营株式会社 喷墨头以及喷墨印刷装置
KR20190068444A (ko) * 2017-12-08 2019-06-18 파나소닉 아이피 매니지먼트 가부시키가이샤 잉크젯 헤드 및 잉크젯 인쇄 장치

Families Citing this family (5)

* Cited by examiner, † Cited by third party
Publication number Priority date Publication date Assignee Title
JP6098099B2 (ja) 2011-12-13 2017-03-22 株式会社リコー 液体吐出ヘッド及び画像形成装置
JP5943292B2 (ja) 2012-03-19 2016-07-05 株式会社リコー 液体吐出ヘッド、画像形成装置、液体吐出ヘッドの製造方法
US9809024B2 (en) 2015-06-11 2017-11-07 Ricoh Company, Ltd. Image forming apparatus
US10144213B2 (en) 2016-06-08 2018-12-04 Ricoh Company, Ltd. Printing apparatus, recording medium storing program, and printing method
US10759175B2 (en) * 2018-03-02 2020-09-01 Ricoh Company, Ltd. Liquid discharge head, head module, liquid discharge device, and liquid discharge apparatus

Citations (4)

* Cited by examiner, † Cited by third party
Publication number Priority date Publication date Assignee Title
JPH09314734A (ja) * 1996-05-29 1997-12-09 Mitsubishi Chem Corp 難燃性金属樹脂複合板
JP2002264346A (ja) * 2001-03-14 2002-09-18 Ricoh Co Ltd インクジェットヘッド
JP2005125798A (ja) * 1996-04-04 2005-05-19 Sony Corp プリンタ装置
JP2008166479A (ja) * 2006-12-28 2008-07-17 Kobe Steel Ltd 配線基板、および、配線の形成方法

Family Cites Families (13)

* Cited by examiner, † Cited by third party
Publication number Priority date Publication date Assignee Title
JPH10202856A (ja) * 1997-01-20 1998-08-04 Minolta Co Ltd インクジェット記録ヘッド
JP3596586B2 (ja) 1998-03-05 2004-12-02 セイコーエプソン株式会社 インクジェット式記録ヘッド、及びインク供給口形成基板の製造方法
US6367914B1 (en) * 1999-04-15 2002-04-09 Ricoh Company, Ltd. Electrostatic ink-jet head and method of production of the same
JP2002292868A (ja) * 2001-03-28 2002-10-09 Ricoh Co Ltd 液滴吐出ヘッド、インクカートリッジ及びインクジェット記録装置
EP1423282B1 (en) * 2001-09-06 2011-02-09 Ricoh Company, Ltd. Method of manufacturing a liquid drop discharge head
DE60326962D1 (de) * 2002-08-06 2009-05-14 Ricoh Kk Durch ein halbleiterherstellungsverfahren gebildetes elektrostatisches stellglied
JP2005219426A (ja) * 2004-02-09 2005-08-18 Ricoh Co Ltd 液体吐出ヘッド、液体カートリッジ、液体吐出装置、画像形成装置及び液体吐出ヘッドの製造方法
JP4439319B2 (ja) * 2004-04-14 2010-03-24 株式会社リコー 液体吐出ヘッド、液体カートリッジ、液体吐出装置及び画像形成装置
JP2006088400A (ja) 2004-09-21 2006-04-06 Fuji Xerox Co Ltd インクジェット記録ヘッド及びその製造方法、並びに、それを備えたインクジェット記録装置
JP2006175845A (ja) * 2004-11-29 2006-07-06 Ricoh Co Ltd 液体吐出ヘッド、液体吐出装置及び画像形成装置
JP4726159B2 (ja) * 2006-03-14 2011-07-20 株式会社リコー 液体吐出ヘッド、液体吐出装置、画像形成装置
JP5233130B2 (ja) * 2006-04-14 2013-07-10 株式会社リコー 圧電アクチュエータ、液体吐出ヘッド、液体吐出装置、画像形成装置
US8197048B2 (en) * 2006-04-26 2012-06-12 Ricoh Company, Ltd. Image forming apparatus

Patent Citations (4)

* Cited by examiner, † Cited by third party
Publication number Priority date Publication date Assignee Title
JP2005125798A (ja) * 1996-04-04 2005-05-19 Sony Corp プリンタ装置
JPH09314734A (ja) * 1996-05-29 1997-12-09 Mitsubishi Chem Corp 難燃性金属樹脂複合板
JP2002264346A (ja) * 2001-03-14 2002-09-18 Ricoh Co Ltd インクジェットヘッド
JP2008166479A (ja) * 2006-12-28 2008-07-17 Kobe Steel Ltd 配線基板、および、配線の形成方法

Cited By (5)

* Cited by examiner, † Cited by third party
Publication number Priority date Publication date Assignee Title
JP2011173319A (ja) * 2010-02-24 2011-09-08 Ricoh Co Ltd 液体吐出ヘッド及び画像形成装置
CN109895501A (zh) * 2017-12-08 2019-06-18 松下知识产权经营株式会社 喷墨头以及喷墨印刷装置
KR20190068444A (ko) * 2017-12-08 2019-06-18 파나소닉 아이피 매니지먼트 가부시키가이샤 잉크젯 헤드 및 잉크젯 인쇄 장치
CN109895501B (zh) * 2017-12-08 2020-10-16 松下知识产权经营株式会社 喷墨头以及喷墨印刷装置
KR102584915B1 (ko) 2017-12-08 2023-10-05 파나소닉 아이피 매니지먼트 가부시키가이샤 잉크젯 헤드 및 잉크젯 인쇄 장치

Also Published As

Publication number Publication date
US8118413B2 (en) 2012-02-21
JP5332375B2 (ja) 2013-11-06
US20100020130A1 (en) 2010-01-28

Similar Documents

Publication Publication Date Title
JP4869108B2 (ja) 液体吐出ヘッド、液体カートリッジ、画像形成装置
JP4938574B2 (ja) 液体吐出ヘッド及び画像形成装置
JP5954565B2 (ja) 液体吐出ヘッド、画像形成装置
JP5332375B2 (ja) 液体吐出ヘッド、液体吐出ヘッドの製造方法、画像形成装置
JP5754188B2 (ja) 液体吐出ヘッド及び画像形成装置
JP5359129B2 (ja) 圧電アクチュエータ、液体吐出ヘッド及び画像形成装置
JP2009172969A (ja) 液体吐出ヘッド及び画像形成装置
JP4906537B2 (ja) 液体吐出ヘッド、画像形成装置
JP2011056922A (ja) 液体吐出ヘッド及び画像形成装置
JP2007307774A (ja) 液体吐出ヘッド、液体吐出装置、画像形成装置
JP2010162862A (ja) 液体吐出ヘッド及び画像形成装置
JP5943292B2 (ja) 液体吐出ヘッド、画像形成装置、液体吐出ヘッドの製造方法
JP5068063B2 (ja) 液体吐出ヘッド、液体吐出装置、画像形成装置、液体吐出ヘッドの製造方法
JP4876046B2 (ja) 液体吐出ヘッド及び画像形成装置
JP5549163B2 (ja) 液体吐出ヘッド及び画像形成装置
JP2008114561A (ja) 液体吐出ヘッド、液体吐出装置、画像形成装置
JP5338585B2 (ja) 液体吐出ヘッド及び画像形成装置
JP5668382B2 (ja) 液体吐出ヘッド及び画像形成装置
JP4961373B2 (ja) 液体吐出ヘッド及び画像形成装置
JP5065845B2 (ja) 液体吐出ヘッド、液体吐出装置、画像形成装置
JP5857559B2 (ja) 液体吐出ヘッド及び画像形成装置
JP2013065663A (ja) 圧電アクチュエータ、液体吐出ヘッド及び画像形成装置
JP2009066890A (ja) 液体吐出ヘッド及び画像形成装置
JP5310414B2 (ja) 液体吐出ヘッド及び画像形成装置
JP2012192709A (ja) 液体吐出ヘッド、画像形成装置、液体吐出ヘッドの製造方法

Legal Events

Date Code Title Description
A621 Written request for application examination

Free format text: JAPANESE INTERMEDIATE CODE: A621

Effective date: 20110408

A977 Report on retrieval

Free format text: JAPANESE INTERMEDIATE CODE: A971007

Effective date: 20120913

A131 Notification of reasons for refusal

Free format text: JAPANESE INTERMEDIATE CODE: A131

Effective date: 20120925

A521 Written amendment

Free format text: JAPANESE INTERMEDIATE CODE: A523

Effective date: 20121120

TRDD Decision of grant or rejection written
A01 Written decision to grant a patent or to grant a registration (utility model)

Free format text: JAPANESE INTERMEDIATE CODE: A01

Effective date: 20130702

A61 First payment of annual fees (during grant procedure)

Free format text: JAPANESE INTERMEDIATE CODE: A61

Effective date: 20130715

LAPS Cancellation because of no payment of annual fees