JP2010011883A - ガイドワイヤ - Google Patents
ガイドワイヤ Download PDFInfo
- Publication number
- JP2010011883A JP2010011883A JP2008171827A JP2008171827A JP2010011883A JP 2010011883 A JP2010011883 A JP 2010011883A JP 2008171827 A JP2008171827 A JP 2008171827A JP 2008171827 A JP2008171827 A JP 2008171827A JP 2010011883 A JP2010011883 A JP 2010011883A
- Authority
- JP
- Japan
- Prior art keywords
- guide wire
- wire
- linear body
- catheter
- convex
- Prior art date
- Legal status (The legal status is an assumption and is not a legal conclusion. Google has not performed a legal analysis and makes no representation as to the accuracy of the status listed.)
- Granted
Links
Images
Classifications
-
- A—HUMAN NECESSITIES
- A61—MEDICAL OR VETERINARY SCIENCE; HYGIENE
- A61M—DEVICES FOR INTRODUCING MEDIA INTO, OR ONTO, THE BODY; DEVICES FOR TRANSDUCING BODY MEDIA OR FOR TAKING MEDIA FROM THE BODY; DEVICES FOR PRODUCING OR ENDING SLEEP OR STUPOR
- A61M25/00—Catheters; Hollow probes
- A61M25/01—Introducing, guiding, advancing, emplacing or holding catheters
- A61M25/09—Guide wires
-
- A—HUMAN NECESSITIES
- A61—MEDICAL OR VETERINARY SCIENCE; HYGIENE
- A61M—DEVICES FOR INTRODUCING MEDIA INTO, OR ONTO, THE BODY; DEVICES FOR TRANSDUCING BODY MEDIA OR FOR TAKING MEDIA FROM THE BODY; DEVICES FOR PRODUCING OR ENDING SLEEP OR STUPOR
- A61M25/00—Catheters; Hollow probes
- A61M25/01—Introducing, guiding, advancing, emplacing or holding catheters
- A61M25/09—Guide wires
- A61M2025/09133—Guide wires having specific material compositions or coatings; Materials with specific mechanical behaviours, e.g. stiffness, strength to transmit torque
Landscapes
- Health & Medical Sciences (AREA)
- Life Sciences & Earth Sciences (AREA)
- Hematology (AREA)
- Animal Behavior & Ethology (AREA)
- Engineering & Computer Science (AREA)
- Anesthesiology (AREA)
- Biomedical Technology (AREA)
- Heart & Thoracic Surgery (AREA)
- Biophysics (AREA)
- Pulmonology (AREA)
- General Health & Medical Sciences (AREA)
- Public Health (AREA)
- Veterinary Medicine (AREA)
- Media Introduction/Drainage Providing Device (AREA)
- Materials For Medical Uses (AREA)
- Endoscopes (AREA)
Abstract
【解決手段】ガイドワイヤ1Aは、可撓性を有する長尺なワイヤ本体10を備えるものである。このガイドワイヤ1Aのワイヤ本体10は、その外表面に形成された複数の凸部34と、隣接する凸部34間に形成された凹部35とを有し、凸部34は、凹部35を構成する材料よりも小さい摩擦係数を有する材料で構成されている。
【選択図】図1
Description
(1) 可撓性を有する長尺なワイヤ本体を備えるガイドワイヤであって、
前記ワイヤ本体は、その外表面に形成された複数の凸部と、該隣接する凸部間に形成された凹部とを有し、
前記凸部は、前記凹部を構成する材料よりも小さい摩擦係数を有する材料で構成されていることを特徴とするガイドワイヤ。
前記ワイヤ本体は、その外表面に形成された複数の凸部と、該隣接する凸部間に形成された凹部とを有し、
当該ガイドワイヤが使用されるとき、前記凸部の頂部に主に接触する場合の摺動抵抗は、前記凹部の底部にも接触する場合の摺動抵抗よりも小さく、これにより、前記頂部は、前記底部よりも滑り易いことを特徴とするガイドワイヤ。
本発明のガイドワイヤにおいて、前記凸部は、少なくとも1本の線状体で構成されているのが好ましい。
本発明のガイドワイヤにおいて、前記凸部は、その配設密度が互いに異なる高密度部と、高密度部よりも基端側に位置する低密度部とを有するのが好ましい。
本発明のガイドワイヤにおいて、前記高密度部は、前記テーパ部と前記外径一定部とにまたがっているのが好ましい。
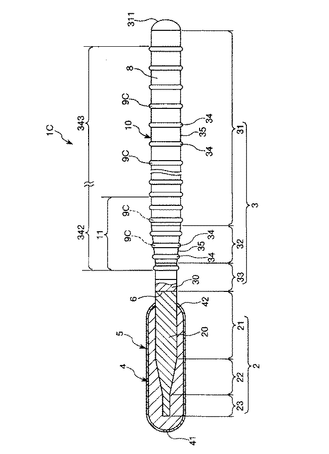
図1は、本発明のガイドワイヤの第1実施形態を示す部分縦断面図、図2は、図1中の一点鎖線で囲まれた領域[A]の拡大縦断面図、図3は、図1中の一点鎖線で囲まれた領域[B]の拡大縦断面図、図4は、図1中の一点鎖線で囲まれた領域[C]の拡大縦断面図、図11は、図1に示すガイドワイヤの凸部および凹部のそれぞれの摩擦係数を示すグラフである。なお、以下では、説明の都合上、図1〜図4中(図5〜図10においても同様)の右側を「基端」、左側を「先端」と言う。また、図1〜図10中では、理解を容易にするため、ガイドワイヤの長さ方向を短縮し、ガイドワイヤの太さ方向を誇張して模式的に図示しており、長さ方向と太さ方向の比率は実際とは異なる。
線状体9A中の樹脂材料としては、特に限定されないが、内層7と同様に、例えば、フッ素系樹脂材料を用いるのが好ましい。このフッ素系樹脂材料としては、例えば、ポリテトラフルオロエチレン(PTFE)、フッ化エチレンプロピレン(FEP)等を用いることができる。
PTFEは、その摩擦係数がFEPの摩擦係数よりも小さい材料である。このため、線状体9AをPTFEで構成し、外層8をFEPで構成することにより、凸部34の摩擦係数が凹部35の底部351の摩擦係数よりも確実に小さくなる。
PTFEに顔料やPTFEよりも摩擦係数が小さい材料であるバインダ樹脂を混練すると、その材料の摩擦係数は、PTFE単体で構成した材料の摩擦係数よりも大きくなる。このため、線状体9AをPTFEで構成し、外層8をPTFEと顔料および/またはバインダ樹脂とを含む材料で構成することによっても、凸部34の摩擦係数が凹部35の底部351の摩擦係数よりも確実に小さくなる。
線状体9A中の顔料の含有率を外層8中の顔料の含有率よりも少なくすることにより、凸部34の摩擦係数が凹部35の底部351の摩擦係数よりも確実に小さくなる。
このような工程により、線状体9Aを形成することができる。
図5は、本発明のガイドワイヤの第2実施形態を示す部分縦断面図である。
本実施形態は、凸部の構成/形状が異なること以外は前記第1実施形態と同様である。
図6は、本発明のガイドワイヤの第3実施形態を示す部分縦断面図である。
本実施形態は、凸部の構成が異なること以外は前記第1実施形態と同様である。
図7は、本発明のガイドワイヤの第4実施形態を示す部分縦断面図である。
本実施形態は、凸部の構成が異なること以外は前記第1実施形態と同様である。
図8は、本発明のガイドワイヤの第5実施形態を示す部分縦断面図である。
本実施形態は、線状体の形成形態が異なること以外は前記第4実施形態と同様である。
図9は、本発明のガイドワイヤの第6実施形態を示す部分縦断面図である。
本実施形態は、凸部の構成が異なること以外は前記第1実施形態と同様である。
図10は、本発明のガイドワイヤの第7実施形態を示す部分縦断面図である。
(実施例1)
ワイヤ本体を構成する芯線がNi−Ti合金からなる図1に示すガイドワイヤを作製した。外層は、PTFE、FEP,バインダ樹脂および顔料からなり、線状体は、PTFEおよび顔料からなっている。なお、図1と異なり、線状体におけるピッチは、ワイヤ長手方向に沿って一定とした。
ガイドワイヤとして、Glidewire Advantage(テルモ社製)を用いた。また、このガイドワイヤの外表面には、前記実施例1のような線状体は設けられていない。
実施例1と同様のガイドワイヤを用い、そのほぼ全体にポリテトラフルオロエチレン(PTFE)の被覆層を形成したガイドワイヤを作製した。
実施例1および各比較例のガイドワイヤに対し、下記のトルク試験1〜3を行った。
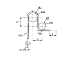
図12に示すように、5Fr.(フレンチ)のカテーテル800(テルモ社製:ラジフォーカス・カテーテルM)を用意し、これを第1の部材600に掛け渡し、その両端部が鉛直下方を向くように設置した。
図13に示すように、カテーテル800を用意し、これを第1の部材600と第2の部材700に掛け渡し、第2の部材700で、それよりも先端側と基端側との部分の中心軸同士のなす角度が45°となるように設置した。
その評価結果を表1に示す。
図14に示すように、カテーテル800を用意し、これを第1の部材600と第2の部材700に掛け渡し、第2の部材700で、それよりも先端側と基端側との部分の中心軸同士のなす角度が90°となるように設置した。
その評価結果を表1に示す。
2 第1ワイヤ
20 芯線(線材)
21 大径部
22 テーパ部
23 小径部
3 第2ワイヤ
30 芯線(線材)
31 大径部(外径一定部)
311 基端
32 テーパ部
33 小径部
34 凸部
341 頂部
342 高密度部
343 低密度部
35 凹部
351 底部
4 先端部材
41 先端
42 基端
5 被覆層
6 接合部(接合面)
7 内層
8 外層
9A 線状体(第1の線状部)
9B 線状体(第2の線状部)
9C リング状部(線状体)
9D、9E 線状体
9F ドット
91 交差部
10 ワイヤ本体
11 被覆層
200 カテーテル
201 内腔(ルーメン)
202 内壁
500 指先
501 皮膚(表面)
600 第1の部材
700 第2の部材
800 カテーテル
Claims (5)
- 可撓性を有する長尺なワイヤ本体を備えるガイドワイヤであって、
前記ワイヤ本体は、その外表面に形成された複数の凸部と、該隣接する凸部間に形成された凹部とを有し、
前記凸部は、前記凹部を構成する材料よりも小さい摩擦係数を有する材料で構成されていることを特徴とするガイドワイヤ。 - 前記凸部の頂部は、フッ素系樹脂材料で構成されている請求項1に記載のガイドワイヤ。
- 前記凸部の頂部は、丸みを帯びている請求項1または2に記載のガイドワイヤ。
- 前記凹部の底部は、縦断面視で前記ワイヤ本体の長手方向に沿って直線状をなす部分を有する請求項1ないし3のいずれかに記載のガイドワイヤ。
- 可撓性を有する長尺なワイヤ本体を備えるガイドワイヤであって、
前記ワイヤ本体は、その外表面に形成された複数の凸部と、該隣接する凸部間に形成された凹部とを有し、
当該ガイドワイヤが使用されるとき、前記凸部の頂部に主に接触する場合の摺動抵抗は、前記凹部の底部にも接触する場合の摺動抵抗よりも小さく、これにより、前記頂部は、前記底部よりも滑り易いことを特徴とするガイドワイヤ。
Priority Applications (5)
| Application Number | Priority Date | Filing Date | Title |
|---|---|---|---|
| JP2008171827A JP5147569B2 (ja) | 2008-06-30 | 2008-06-30 | ガイドワイヤ |
| CN2009101465700A CN101618249B (zh) | 2008-06-30 | 2009-06-08 | 导向线 |
| US12/492,948 US8197424B2 (en) | 2008-06-30 | 2009-06-26 | Guide wire |
| EP09164038.3A EP2140904B1 (en) | 2008-06-30 | 2009-06-29 | Guide wire |
| US13/471,643 US9259555B2 (en) | 2008-06-30 | 2012-05-15 | Guide wire |
Applications Claiming Priority (1)
| Application Number | Priority Date | Filing Date | Title |
|---|---|---|---|
| JP2008171827A JP5147569B2 (ja) | 2008-06-30 | 2008-06-30 | ガイドワイヤ |
Publications (2)
| Publication Number | Publication Date |
|---|---|
| JP2010011883A true JP2010011883A (ja) | 2010-01-21 |
| JP5147569B2 JP5147569B2 (ja) | 2013-02-20 |
Family
ID=41061258
Family Applications (1)
| Application Number | Title | Priority Date | Filing Date |
|---|---|---|---|
| JP2008171827A Active JP5147569B2 (ja) | 2008-06-30 | 2008-06-30 | ガイドワイヤ |
Country Status (4)
| Country | Link |
|---|---|
| US (2) | US8197424B2 (ja) |
| EP (1) | EP2140904B1 (ja) |
| JP (1) | JP5147569B2 (ja) |
| CN (1) | CN101618249B (ja) |
Cited By (12)
| Publication number | Priority date | Publication date | Assignee | Title |
|---|---|---|---|---|
| JP2011152211A (ja) * | 2010-01-26 | 2011-08-11 | Piolax Medical Device:Kk | ガイドワイヤ |
| JP2012070978A (ja) * | 2010-09-29 | 2012-04-12 | Terumo Corp | ガイドワイヤ |
| JP2013141461A (ja) * | 2012-01-06 | 2013-07-22 | Terumo Corp | ガイドワイヤ |
| WO2013118649A1 (ja) * | 2012-02-07 | 2013-08-15 | テルモ株式会社 | ガイドワイヤ |
| JP2013158541A (ja) * | 2012-02-07 | 2013-08-19 | Terumo Corp | ガイドワイヤ |
| WO2014091935A1 (ja) * | 2012-12-11 | 2014-06-19 | グンゼ株式会社 | 医療用ガイドワイヤ |
| WO2016072394A1 (ja) * | 2014-11-04 | 2016-05-12 | グンゼ株式会社 | ワイヤ部材 |
| WO2017086114A1 (ja) * | 2015-11-17 | 2017-05-26 | グンゼ株式会社 | 医療用ガイドワイヤ |
| WO2018181187A1 (ja) * | 2017-03-30 | 2018-10-04 | テルモ株式会社 | 医療用具 |
| CN109803712A (zh) * | 2017-04-06 | 2019-05-24 | 朝日英达科株式会社 | 管状体及具有该管状体的导管 |
| JP2019523665A (ja) * | 2016-05-31 | 2019-08-29 | インテュイティブ サージカル オペレーションズ, インコーポレイテッド | 柔軟な生検針システム |
| JP2022009998A (ja) * | 2018-02-09 | 2022-01-14 | グンゼ株式会社 | 医療用ガイドワイヤ |
Families Citing this family (23)
| Publication number | Priority date | Publication date | Assignee | Title |
|---|---|---|---|---|
| WO2010018762A1 (ja) * | 2008-08-11 | 2010-02-18 | テルモ株式会社 | 医療用具 |
| US9795406B2 (en) | 2010-05-13 | 2017-10-24 | Rex Medical, L.P. | Rotational thrombectomy wire |
| US8764779B2 (en) | 2010-05-13 | 2014-07-01 | Rex Medical, L.P. | Rotational thrombectomy wire |
| US8663259B2 (en) | 2010-05-13 | 2014-03-04 | Rex Medical L.P. | Rotational thrombectomy wire |
| US9023070B2 (en) | 2010-05-13 | 2015-05-05 | Rex Medical, L.P. | Rotational thrombectomy wire coupler |
| JP5424499B2 (ja) * | 2011-04-18 | 2014-02-26 | 朝日インテック株式会社 | 医療用ガイドワイヤ |
| EP2723434B1 (en) * | 2011-06-23 | 2019-05-29 | Koninklijke Philips N.V. | Composite fiber guidewires |
| EP2799105B1 (en) * | 2011-12-28 | 2016-06-15 | Terumo Kabushiki Kaisha | Guide wire |
| US10029076B2 (en) * | 2012-02-28 | 2018-07-24 | Covidien Lp | Intravascular guidewire |
| JP6197111B2 (ja) * | 2013-07-03 | 2017-09-13 | ボストン サイエンティフィック サイムド,インコーポレイテッドBoston Scientific Scimed,Inc. | ガイドワイヤ |
| US10124437B2 (en) | 2013-08-19 | 2018-11-13 | Covidien Lp | Laser welding of nickel titanium alloys |
| CN104224105A (zh) * | 2014-02-18 | 2014-12-24 | 杜鹃 | 一种胃镜检查用辅助气囊套管 |
| WO2015168335A1 (en) * | 2014-04-29 | 2015-11-05 | C.R. Bard, Inc. | Kink-resistant guidewire with improved rigidity |
| US9645732B2 (en) * | 2015-03-08 | 2017-05-09 | Apple Inc. | Devices, methods, and graphical user interfaces for displaying and using menus |
| US20160263354A1 (en) * | 2015-03-12 | 2016-09-15 | Cook Medical Technologies Llc | Flexible hybrid wire guide |
| JP6426068B2 (ja) * | 2015-08-10 | 2018-11-21 | 朝日インテック株式会社 | カテーテル及びバルーンカテーテル |
| EP3508246B1 (en) * | 2016-09-05 | 2021-08-11 | Asahi Intecc Co., Ltd. | Guide wire |
| WO2018129455A1 (en) * | 2017-01-09 | 2018-07-12 | Boston Scientific Scimed, Inc. | Guidewire with tactile feel |
| WO2018181184A1 (ja) | 2017-03-30 | 2018-10-04 | テルモ株式会社 | 医療用具 |
| US20200338318A1 (en) * | 2019-04-25 | 2020-10-29 | Lake Region Medical, Inc. | Guidewire with tactile feel |
| JP7461753B2 (ja) * | 2020-02-19 | 2024-04-04 | 朝日インテック株式会社 | ガイドワイヤ |
| JP7457579B2 (ja) * | 2020-06-01 | 2024-03-28 | 朝日インテック株式会社 | ダイレータ |
| JP7627555B2 (ja) * | 2020-08-25 | 2025-02-06 | 朝日インテック株式会社 | ガイドワイヤ |
Citations (4)
| Publication number | Priority date | Publication date | Assignee | Title |
|---|---|---|---|---|
| JPH07328126A (ja) * | 1994-06-06 | 1995-12-19 | Hanako Medical Kk | 手元が滑らない湿潤時潤滑性を有するガイドワイヤー |
| JP2002017863A (ja) * | 2000-07-05 | 2002-01-22 | Terumo Corp | ガイドワイヤ |
| JP2006519061A (ja) * | 2003-02-26 | 2006-08-24 | ボストン サイエンティフィック リミテッド | テクスチャ感を備えた基端部を有するガイドワイヤ |
| JP2007097662A (ja) * | 2005-09-30 | 2007-04-19 | Piolax Medical Device:Kk | 医療用ガイドワイヤ |
Family Cites Families (29)
| Publication number | Priority date | Publication date | Assignee | Title |
|---|---|---|---|---|
| US4724846A (en) * | 1986-01-10 | 1988-02-16 | Medrad, Inc. | Catheter guide wire assembly |
| JPS62231675A (ja) | 1986-03-31 | 1987-10-12 | 加藤発条株式会社 | 医療用ガイドワイヤ |
| US5095915A (en) | 1990-03-19 | 1992-03-17 | Target Therapeutics | Guidewire with flexible distal tip |
| US5147317A (en) * | 1990-06-04 | 1992-09-15 | C.R. Bard, Inc. | Low friction varied radiopacity guidewire |
| CA2068584C (en) | 1991-06-18 | 1997-04-22 | Paul H. Burmeister | Intravascular guide wire and method for manufacture thereof |
| US5437288A (en) | 1992-09-04 | 1995-08-01 | Mayo Foundation For Medical Education And Research | Flexible catheter guidewire |
| US5358493A (en) | 1993-02-18 | 1994-10-25 | Scimed Life Systems, Inc. | Vascular access catheter and methods for manufacture thereof |
| US5438288A (en) * | 1993-05-28 | 1995-08-01 | National Semiconductor Corporation | High differential output impedance setter |
| US5404887A (en) | 1993-11-04 | 1995-04-11 | Scimed Life Systems, Inc. | Guide wire having an unsmooth exterior surface |
| US5746701A (en) * | 1995-09-14 | 1998-05-05 | Medtronic, Inc. | Guidewire with non-tapered tip |
| JPH10118188A (ja) | 1996-10-24 | 1998-05-12 | Terumo Corp | 体腔内挿入用医療用器具およびその製造方法 |
| JPH1119217A (ja) | 1997-07-04 | 1999-01-26 | Olympus Optical Co Ltd | 医療用ガイドワイヤー |
| US6106485A (en) | 1997-11-18 | 2000-08-22 | Advanced Cardivascular Systems, Inc. | Guidewire with shaped intermediate portion |
| JP4778012B2 (ja) | 1999-10-20 | 2011-09-21 | パナソニック株式会社 | 像加熱装置及びこれを用いる画像形成装置 |
| WO2001091842A1 (fr) | 2000-05-30 | 2001-12-06 | Olympus Optical Co., Ltd. | Fil-guide medical |
| JP2004535233A (ja) * | 2001-06-20 | 2004-11-25 | マイクロ ベンション インコーポレイテッド | 全体又は部分的にポリマーコーティングを有する医療装置及びその製造方法 |
| US6807440B2 (en) | 2001-11-09 | 2004-10-19 | Scimed Life Systems, Inc. | Ceramic reinforcement members for MRI devices |
| JP4677205B2 (ja) * | 2003-07-17 | 2011-04-27 | テルモ株式会社 | ガイドワイヤ |
| US8613712B1 (en) | 2003-09-16 | 2013-12-24 | Abbott Cardiovascular Systems Inc. | Textured polymer coated guide wire and method of manufacture |
| US7553287B2 (en) * | 2003-10-30 | 2009-06-30 | Boston Scientific Scimed, Inc. | Guidewire having an embedded matrix polymer |
| US20050096665A1 (en) | 2003-10-30 | 2005-05-05 | Scimed Life Systems, Inc. | Guidewire having a helically contoured portion |
| CN100558423C (zh) * | 2003-12-18 | 2009-11-11 | 泰尔茂株式会社 | 导向线 |
| WO2006101848A1 (en) * | 2005-03-18 | 2006-09-28 | Wilson-Cook Medical, Inc. | Wire guides having novel outer surface areas and reservoirs for enhancing hydrophilic properties and delivering therapeutic agents |
| JP3940161B1 (ja) * | 2006-07-03 | 2007-07-04 | 朝日インテック株式会社 | 医療用ガイドワイヤ、医療用ガイドワイヤとマイクロカテーテルとの組立体、および医療用ガイドワイヤとバルーンカテーテルとガイディングカテーテルとの組立体 |
| US20080119762A1 (en) | 2006-11-16 | 2008-05-22 | Tateishi Tadasu | Guide wire |
| EP1970092B1 (en) | 2007-03-14 | 2013-01-23 | Terumo Kabushiki Kaisha | Guide wire |
| WO2008126286A1 (ja) | 2007-03-30 | 2008-10-23 | Piolax Medical Devices, Inc. | 医療用ガイドワイヤ |
| WO2009004876A1 (ja) | 2007-06-29 | 2009-01-08 | Piolax Medical Devices, Inc. | ガイドワイヤ |
| US8048471B2 (en) * | 2007-12-21 | 2011-11-01 | Innovatech, Llc | Marked precoated medical device and method of manufacturing same |
-
2008
- 2008-06-30 JP JP2008171827A patent/JP5147569B2/ja active Active
-
2009
- 2009-06-08 CN CN2009101465700A patent/CN101618249B/zh active Active
- 2009-06-26 US US12/492,948 patent/US8197424B2/en active Active
- 2009-06-29 EP EP09164038.3A patent/EP2140904B1/en active Active
-
2012
- 2012-05-15 US US13/471,643 patent/US9259555B2/en active Active
Patent Citations (4)
| Publication number | Priority date | Publication date | Assignee | Title |
|---|---|---|---|---|
| JPH07328126A (ja) * | 1994-06-06 | 1995-12-19 | Hanako Medical Kk | 手元が滑らない湿潤時潤滑性を有するガイドワイヤー |
| JP2002017863A (ja) * | 2000-07-05 | 2002-01-22 | Terumo Corp | ガイドワイヤ |
| JP2006519061A (ja) * | 2003-02-26 | 2006-08-24 | ボストン サイエンティフィック リミテッド | テクスチャ感を備えた基端部を有するガイドワイヤ |
| JP2007097662A (ja) * | 2005-09-30 | 2007-04-19 | Piolax Medical Device:Kk | 医療用ガイドワイヤ |
Cited By (27)
| Publication number | Priority date | Publication date | Assignee | Title |
|---|---|---|---|---|
| JP2011152211A (ja) * | 2010-01-26 | 2011-08-11 | Piolax Medical Device:Kk | ガイドワイヤ |
| JP2012070978A (ja) * | 2010-09-29 | 2012-04-12 | Terumo Corp | ガイドワイヤ |
| JP2013141461A (ja) * | 2012-01-06 | 2013-07-22 | Terumo Corp | ガイドワイヤ |
| US9623212B2 (en) | 2012-02-07 | 2017-04-18 | Terumo Kabushiki Kaisha | Guide wire |
| WO2013118649A1 (ja) * | 2012-02-07 | 2013-08-15 | テルモ株式会社 | ガイドワイヤ |
| JP2013158541A (ja) * | 2012-02-07 | 2013-08-19 | Terumo Corp | ガイドワイヤ |
| WO2014091935A1 (ja) * | 2012-12-11 | 2014-06-19 | グンゼ株式会社 | 医療用ガイドワイヤ |
| US10974030B2 (en) | 2012-12-11 | 2021-04-13 | Gunze Limited | Medical guide wire |
| JPWO2014091935A1 (ja) * | 2012-12-11 | 2017-01-05 | グンゼ株式会社 | 医療用ガイドワイヤ |
| US10850072B2 (en) | 2014-11-04 | 2020-12-01 | Gunze Limited | Wire member |
| CN107106818A (zh) * | 2014-11-04 | 2017-08-29 | 郡是株式会社 | 线构件 |
| JP2016087044A (ja) * | 2014-11-04 | 2016-05-23 | グンゼ株式会社 | ワイヤ部材 |
| WO2016072394A1 (ja) * | 2014-11-04 | 2016-05-12 | グンゼ株式会社 | ワイヤ部材 |
| US11173284B2 (en) | 2015-11-17 | 2021-11-16 | Gunze Limited | Medical guide wire |
| CN107847716A (zh) * | 2015-11-17 | 2018-03-27 | 郡是株式会社 | 医疗用导线 |
| JPWO2017086114A1 (ja) * | 2015-11-17 | 2018-08-30 | グンゼ株式会社 | 医療用ガイドワイヤ |
| WO2017086114A1 (ja) * | 2015-11-17 | 2017-05-26 | グンゼ株式会社 | 医療用ガイドワイヤ |
| JP7553006B2 (ja) | 2016-05-31 | 2024-09-18 | インテュイティブ サージカル オペレーションズ, インコーポレイテッド | 医療ツール |
| JP2019523665A (ja) * | 2016-05-31 | 2019-08-29 | インテュイティブ サージカル オペレーションズ, インコーポレイテッド | 柔軟な生検針システム |
| JP2023076719A (ja) * | 2016-05-31 | 2023-06-01 | インテュイティブ サージカル オペレーションズ, インコーポレイテッド | 柔軟な生検針システム |
| WO2018181187A1 (ja) * | 2017-03-30 | 2018-10-04 | テルモ株式会社 | 医療用具 |
| JP7010929B2 (ja) | 2017-03-30 | 2022-01-26 | テルモ株式会社 | 医療用具 |
| US11446414B2 (en) | 2017-03-30 | 2022-09-20 | Terumo Kabushiki Kaisha | Medical device |
| JPWO2018181187A1 (ja) * | 2017-03-30 | 2020-02-06 | テルモ株式会社 | 医療用具 |
| CN109803712A (zh) * | 2017-04-06 | 2019-05-24 | 朝日英达科株式会社 | 管状体及具有该管状体的导管 |
| JP2022009998A (ja) * | 2018-02-09 | 2022-01-14 | グンゼ株式会社 | 医療用ガイドワイヤ |
| JP7093459B2 (ja) | 2018-02-09 | 2022-06-29 | グンゼ株式会社 | 医療用ガイドワイヤ |
Also Published As
| Publication number | Publication date |
|---|---|
| EP2140904A1 (en) | 2010-01-06 |
| EP2140904B1 (en) | 2017-12-20 |
| CN101618249B (zh) | 2013-11-13 |
| CN101618249A (zh) | 2010-01-06 |
| US8197424B2 (en) | 2012-06-12 |
| US9259555B2 (en) | 2016-02-16 |
| US20100004561A1 (en) | 2010-01-07 |
| US20120226263A1 (en) | 2012-09-06 |
| JP5147569B2 (ja) | 2013-02-20 |
Similar Documents
| Publication | Publication Date | Title |
|---|---|---|
| JP5147569B2 (ja) | ガイドワイヤ | |
| JP4981471B2 (ja) | ガイドワイヤ | |
| JP6082807B2 (ja) | ガイドワイヤ | |
| JP5020630B2 (ja) | ガイドワイヤ | |
| JP6109749B2 (ja) | ガイドワイヤ | |
| JP6356850B2 (ja) | ガイドワイヤ | |
| WO2013118649A1 (ja) | ガイドワイヤ | |
| JP2012070979A (ja) | ガイドワイヤ | |
| JP2023021138A (ja) | 医療用ガイドワイヤ | |
| JP5473677B2 (ja) | ガイドワイヤ | |
| JP5931479B2 (ja) | ガイドワイヤ | |
| JP2012070978A (ja) | ガイドワイヤ | |
| JP5430065B2 (ja) | ガイドワイヤ | |
| JP5979894B2 (ja) | ガイドワイヤ | |
| JP5997370B2 (ja) | ガイドワイヤ | |
| JP4405252B2 (ja) | 医療用ワイヤ | |
| JP2004065797A (ja) | ガイドワイヤ | |
| JP6053696B2 (ja) | ガイドワイヤ | |
| JP5979879B2 (ja) | ガイドワイヤ | |
| JP2009172251A (ja) | ガイドワイヤ | |
| JP5572378B2 (ja) | ガイドワイヤ | |
| JP2008161219A (ja) | ガイドワイヤ | |
| JP2004065795A (ja) | ガイドワイヤ | |
| JP2017164061A (ja) | ガイドワイヤ |
Legal Events
| Date | Code | Title | Description |
|---|---|---|---|
| A621 | Written request for application examination |
Free format text: JAPANESE INTERMEDIATE CODE: A621 Effective date: 20110620 |
|
| TRDD | Decision of grant or rejection written | ||
| A977 | Report on retrieval |
Free format text: JAPANESE INTERMEDIATE CODE: A971007 Effective date: 20121031 |
|
| A01 | Written decision to grant a patent or to grant a registration (utility model) |
Free format text: JAPANESE INTERMEDIATE CODE: A01 Effective date: 20121106 |
|
| A61 | First payment of annual fees (during grant procedure) |
Free format text: JAPANESE INTERMEDIATE CODE: A61 Effective date: 20121127 |
|
| R150 | Certificate of patent or registration of utility model |
Ref document number: 5147569 Country of ref document: JP Free format text: JAPANESE INTERMEDIATE CODE: R150 Free format text: JAPANESE INTERMEDIATE CODE: R150 |
|
| FPAY | Renewal fee payment (event date is renewal date of database) |
Free format text: PAYMENT UNTIL: 20151207 Year of fee payment: 3 |
|
| R250 | Receipt of annual fees |
Free format text: JAPANESE INTERMEDIATE CODE: R250 |
|
| R250 | Receipt of annual fees |
Free format text: JAPANESE INTERMEDIATE CODE: R250 |
|
| R250 | Receipt of annual fees |
Free format text: JAPANESE INTERMEDIATE CODE: R250 |
|
| R250 | Receipt of annual fees |
Free format text: JAPANESE INTERMEDIATE CODE: R250 |
|
| R250 | Receipt of annual fees |
Free format text: JAPANESE INTERMEDIATE CODE: R250 |
|
| R250 | Receipt of annual fees |
Free format text: JAPANESE INTERMEDIATE CODE: R250 |
|
| R250 | Receipt of annual fees |
Free format text: JAPANESE INTERMEDIATE CODE: R250 |
|
| R250 | Receipt of annual fees |
Free format text: JAPANESE INTERMEDIATE CODE: R250 |
