JP2005299981A - 冷媒蒸発器 - Google Patents

冷媒蒸発器 Download PDF

Info

Publication number
JP2005299981A
JP2005299981A JP2004114569A JP2004114569A JP2005299981A JP 2005299981 A JP2005299981 A JP 2005299981A JP 2004114569 A JP2004114569 A JP 2004114569A JP 2004114569 A JP2004114569 A JP 2004114569A JP 2005299981 A JP2005299981 A JP 2005299981A
Authority
JP
Japan
Prior art keywords
refrigerant
tank
plate
refrigerant evaporator
communication
Prior art date
Legal status (The legal status is an assumption and is not a legal conclusion. Google has not performed a legal analysis and makes no representation as to the accuracy of the status listed.)
Granted
Application number
JP2004114569A
Other languages
English (en)
Other versions
JP4120611B2 (ja
Inventor
Yoshitake Kato
吉毅 加藤
Etsuo Hasegawa
恵津夫 長谷川
Masaaki Kawakubo
昌章 川久保
Current Assignee (The listed assignees may be inaccurate. Google has not performed a legal analysis and makes no representation or warranty as to the accuracy of the list.)
Denso Corp
Original Assignee
Denso Corp
Priority date (The priority date is an assumption and is not a legal conclusion. Google has not performed a legal analysis and makes no representation as to the accuracy of the date listed.)
Filing date
Publication date
Application filed by Denso Corp filed Critical Denso Corp
Priority to JP2004114569A priority Critical patent/JP4120611B2/ja
Priority to US11/100,155 priority patent/US7367203B2/en
Priority to DE102005015799.8A priority patent/DE102005015799B4/de
Publication of JP2005299981A publication Critical patent/JP2005299981A/ja
Application granted granted Critical
Publication of JP4120611B2 publication Critical patent/JP4120611B2/ja
Anticipated expiration legal-status Critical
Expired - Fee Related legal-status Critical Current

Links

Images

Classifications

    • FMECHANICAL ENGINEERING; LIGHTING; HEATING; WEAPONS; BLASTING
    • F28HEAT EXCHANGE IN GENERAL
    • F28FDETAILS OF HEAT-EXCHANGE AND HEAT-TRANSFER APPARATUS, OF GENERAL APPLICATION
    • F28F9/00Casings; Header boxes; Auxiliary supports for elements; Auxiliary members within casings
    • F28F9/02Header boxes; End plates
    • F28F9/026Header boxes; End plates with static flow control means, e.g. with means for uniformly distributing heat exchange media into conduits
    • F28F9/0278Header boxes; End plates with static flow control means, e.g. with means for uniformly distributing heat exchange media into conduits in the form of stacked distribution plates or perforated plates arranged over end plates
    • FMECHANICAL ENGINEERING; LIGHTING; HEATING; WEAPONS; BLASTING
    • F25REFRIGERATION OR COOLING; COMBINED HEATING AND REFRIGERATION SYSTEMS; HEAT PUMP SYSTEMS; MANUFACTURE OR STORAGE OF ICE; LIQUEFACTION SOLIDIFICATION OF GASES
    • F25BREFRIGERATION MACHINES, PLANTS OR SYSTEMS; COMBINED HEATING AND REFRIGERATION SYSTEMS; HEAT PUMP SYSTEMS
    • F25B39/00Evaporators; Condensers
    • F25B39/02Evaporators
    • FMECHANICAL ENGINEERING; LIGHTING; HEATING; WEAPONS; BLASTING
    • F28HEAT EXCHANGE IN GENERAL
    • F28DHEAT-EXCHANGE APPARATUS, NOT PROVIDED FOR IN ANOTHER SUBCLASS, IN WHICH THE HEAT-EXCHANGE MEDIA DO NOT COME INTO DIRECT CONTACT
    • F28D1/00Heat-exchange apparatus having stationary conduit assemblies for one heat-exchange medium only, the media being in contact with different sides of the conduit wall, in which the other heat-exchange medium is a large body of fluid, e.g. domestic or motor car radiators
    • F28D1/02Heat-exchange apparatus having stationary conduit assemblies for one heat-exchange medium only, the media being in contact with different sides of the conduit wall, in which the other heat-exchange medium is a large body of fluid, e.g. domestic or motor car radiators with heat-exchange conduits immersed in the body of fluid
    • F28D1/04Heat-exchange apparatus having stationary conduit assemblies for one heat-exchange medium only, the media being in contact with different sides of the conduit wall, in which the other heat-exchange medium is a large body of fluid, e.g. domestic or motor car radiators with heat-exchange conduits immersed in the body of fluid with tubular conduits
    • F28D1/053Heat-exchange apparatus having stationary conduit assemblies for one heat-exchange medium only, the media being in contact with different sides of the conduit wall, in which the other heat-exchange medium is a large body of fluid, e.g. domestic or motor car radiators with heat-exchange conduits immersed in the body of fluid with tubular conduits the conduits being straight
    • F28D1/0535Heat-exchange apparatus having stationary conduit assemblies for one heat-exchange medium only, the media being in contact with different sides of the conduit wall, in which the other heat-exchange medium is a large body of fluid, e.g. domestic or motor car radiators with heat-exchange conduits immersed in the body of fluid with tubular conduits the conduits being straight the conduits having a non-circular cross-section
    • F28D1/05366Assemblies of conduits connected to common headers, e.g. core type radiators
    • F28D1/05391Assemblies of conduits connected to common headers, e.g. core type radiators with multiple rows of conduits or with multi-channel conduits combined with a particular flow pattern, e.g. multi-row multi-stage radiators
    • FMECHANICAL ENGINEERING; LIGHTING; HEATING; WEAPONS; BLASTING
    • F28HEAT EXCHANGE IN GENERAL
    • F28FDETAILS OF HEAT-EXCHANGE AND HEAT-TRANSFER APPARATUS, OF GENERAL APPLICATION
    • F28F9/00Casings; Header boxes; Auxiliary supports for elements; Auxiliary members within casings
    • F28F9/02Header boxes; End plates
    • F28F9/0202Header boxes having their inner space divided by partitions
    • F28F9/0204Header boxes having their inner space divided by partitions for elongated header box, e.g. with transversal and longitudinal partitions
    • FMECHANICAL ENGINEERING; LIGHTING; HEATING; WEAPONS; BLASTING
    • F28HEAT EXCHANGE IN GENERAL
    • F28FDETAILS OF HEAT-EXCHANGE AND HEAT-TRANSFER APPARATUS, OF GENERAL APPLICATION
    • F28F9/00Casings; Header boxes; Auxiliary supports for elements; Auxiliary members within casings
    • F28F9/02Header boxes; End plates
    • F28F9/0219Arrangements for sealing end plates into casing or header box; Header box sub-elements
    • F28F9/0221Header boxes or end plates formed by stacked elements
    • FMECHANICAL ENGINEERING; LIGHTING; HEATING; WEAPONS; BLASTING
    • F28HEAT EXCHANGE IN GENERAL
    • F28DHEAT-EXCHANGE APPARATUS, NOT PROVIDED FOR IN ANOTHER SUBCLASS, IN WHICH THE HEAT-EXCHANGE MEDIA DO NOT COME INTO DIRECT CONTACT
    • F28D21/00Heat-exchange apparatus not covered by any of the groups F28D1/00 - F28D20/00
    • F28D2021/0019Other heat exchangers for particular applications; Heat exchange systems not otherwise provided for
    • F28D2021/008Other heat exchangers for particular applications; Heat exchange systems not otherwise provided for for vehicles
    • F28D2021/0085Evaporators

Landscapes

  • Engineering & Computer Science (AREA)
  • Physics & Mathematics (AREA)
  • Thermal Sciences (AREA)
  • Mechanical Engineering (AREA)
  • General Engineering & Computer Science (AREA)
  • Heat-Exchange Devices With Radiators And Conduit Assemblies (AREA)
  • Air-Conditioning For Vehicles (AREA)
  • Details Of Heat-Exchange And Heat-Transfer (AREA)

Abstract

【課題】 前後左右クロスパスを構成しつつ、より冷媒側圧力損失が少なく、より簡素なタンク構造とする。
【解決手段】 タンク部2Bを、第1パス部1Pを経た冷媒をタンク部の左右方向端部に冷媒を導く機能を持つ流路としての冷媒集合部10a・11aと、第2パス部2Pを形成するチュ−ブ4へ冷媒を導く流路としての冷媒分配部10b・10c・11b・11cとを備えたタンク部と、チュ−ブ4への冷媒集配空間を有するヘッダプレート7にて構成し、そのタンク部左右方向端部の解放部を包括するように覆い、上記流路間を空間的に接続するサイドタンク12を設け、空間的に断絶させる箇所にはセパレ−タ9を設けることで前後左右クロスパスを構成した。
これにより、簡素な手段にてタンク部端部(冷媒流れ曲がり部)における流路断面積を大きく取れるため、タンク部における冷媒側圧力損失を少なくでき、性能を向上させることができる。
【選択図】 図2

Description

本発明は、冷凍サイクルの冷媒を蒸発させる冷媒蒸発器に関するものであり、例えば、車両用空調装置に用いて好適なものである。尚ここで、冷媒蒸発器としては、ヒ−トポンプ使用時における室外熱交換器も含まれる。
近年、車両ユ−ザの要求により、運転席と助手席との風量を独立に制御することが検討されて実施されている。この要求に対して、冷媒蒸発器の通過風量をコア幅方向において左右独立にコントロ−ルすることで対応してきている。従来、熱交換チュ−ブを縦置きに配置する場合の冷媒蒸発器において、左右風量独立コントロ−ルを行う場合、コア幅方向に冷媒流れを分割すべくセパレ−タをタンク内に挿入し、冷媒が左右の違う流路にて流通する構造が必要となっていた。
しかし、これにより、冷媒の流路距離が長くなって圧力損失が大きくなることで冷媒蒸発器の性能向上の妨げとなっていた。その対応方法として本発明者らは、特願2003−434216に記載する冷媒蒸発器(熱交換器)を出願している。これは前面の第1パス(先の出願明細書中の「ターン」と対応)を経た冷媒流れを後面の第2パスへ折り返す際、左右方向で入れ替えることで、冷媒側の圧力損失の低減と、温度分布の改善と、左右風量独立制御とを可能としている(以後、この新規冷媒パス方式を前後左右クロスパスと称する)。
しかしながら、この前後左右クロスパスを持つ熱交換器を、量産容易な簡素な構成とすることが当面の課題であった。よって本発明は、上記出願技術の問題点に鑑みて成されたものであり、その目的は、前後左右クロスパスを構成しつつ、より冷媒側圧力損失が少なく、より簡素なタンク構造を持った冷媒蒸発器を提供することにある。
本発明は上記目的を達成するために、請求項1ないし請求項27に記載の技術的手段を採用する。すなわち、請求項1に記載の発明では、外部を流れる被冷却流体と内部を流れる冷媒との熱交換を行う冷媒蒸発器であり、冷媒流れは、冷媒導入部(6a)と冷媒導出部(6b)との間に、少なくとも第1パス部(1P)と第2パス部(2P)とを有し、チュ−ブ(4)を並列させたチュ−ブ列で形成されるコア部と、第1パス部(1P)を経た冷媒を集合する冷媒集合部(10a、11a)と、冷媒を第2パス部(2P)に分配する冷媒分配部(10b、10c、11b、11c)とを備え、コア部は、左右略全領域で第1パス部(1P)および第2パス部(2P)をそれぞれ形成する第1チュ−ブ列(1L)と第2チュ−ブ列(2L)とを前後の一方ずつに備え、冷媒集合部(10a、11a)は、第1パス部(1P)の冷媒を、左右に分割して集合させる構造を有し、冷媒分配部(10b、10c、11b、11c)は、一対の前後に配列されたタンク部(11b、11c)で形成され、第1パス部(1P)とは左右方向で別領域に第2パス部(2P)が形成されるように分配する構造を有し、冷媒集合部(10a、11a)と冷媒分配部(10b、10c、11b、11c)とは一対の連通部材(12)を介して接続されていることを特徴としている。
これは例えば、通風方向下流側の第1パス部(1P)を経た冷媒が、コア部の左右方向にて入れ替わって通風方向上流側の第2パス部(2P)に流れるような形態の冷媒蒸発器(熱交換器)のタンク部(2A)を、第1パス部(1P)を経た冷媒をタンク部の左右方向端部に冷媒を導く機能を持つ流路としての冷媒集合部(10a、11a)と、第2パス部(2P)を形成するチュ−ブ(4)群へ冷媒を導く流路としての冷媒分配部(10b、10c、11b、11c)とを備えたタンク部と、チュ−ブ(4)への冷媒集配空間を有するヘッダプレート(7)にて構成し、そのタンク部左右方向端部の解放部を包括するように覆い、上記の流路間を空間的に接続するサイドタンク(連通部材)(12)を設け、空間的に断絶させる箇所にはセパレ−タ(流通防止堰)(9)を設けることで前後左右クロスパスを構成したものである。
この請求項1に記載の発明によれば、簡素な手段にてタンク部左右方向端部(冷媒流れ曲がり部)における流路断面積を大きく取れるため、タンク部における冷媒側圧力損失を少なくでき、性能を向上させることができる。
また、請求項2に記載の発明では、タンク部(11b、11c)と連通部材(12)内とを連通させない部位において、連通部材(12)の側面部を用いて連通を防いだことを特徴としている。この請求項2に記載の発明によれば、構成部品としてセパレ−タ(流通防止堰)(9)を削減することができ、コストを抑えることができる。
また、請求項3に記載の発明では、連通部材(12)内と連通させないタンク部(11b、11c)の長手方向端部に切り欠き部(k1)を設け、その切り欠いた長手方向端部に連通部材(12)の外側側面部を当接させて連通を防いだことを特徴としている。この請求項3に記載の発明によれば、構成部品としてセパレ−タ(流通防止堰)(9)を削減することができ、コストを抑えることができる。また、切り欠き部(k1)を連通部材(12)のコア部幅方向での位置決めに利用することができる。
また、請求項4に記載の発明では、連通部材(12)内と連通させないタンク部(11b、11c)の長手方向端部に切れ込み部(k2)を設け、その切れ込み部(k2)に連通部材(12)の一方の側面部を挿入して連通を防いだことを特徴としている。この請求項4に記載の発明によれば、構成部品としてセパレ−タ(流通防止堰)(9)を削減することができ、コストを抑えることができる。また、切れ込み部(k2)により連通部材(12)をコア部幅方向でより確実に位置決めすることができる。
また、請求項5に記載の発明では、各タンク部(11a、11b、11c)の長手方向端部に一致した切れ込み部(k3)を設け、その切れ込み部(k3)に連通部材(12)の一方の側面部を挿入すると共に、連通部材(12)内と各タンク部(11a、11b、11c)とを連通させる部位には側面部に開口部(12a、12b、12c)を設け、連通させない部位には側面部に開口部(12a、12b、12c)を設けないことで連通を防いだことを特徴としている。
この請求項5に記載の発明によれば、構成部品としてセパレ−タ(流通防止堰)(9)を削減することができ、コストを抑えることができる。また、切れ込み部(k3)により連通部材(12)をコア部幅方向でより確実に位置決めすることができるうえ、上記請求項4に記載の切り欠き部(k1)よりも加工を容易とすることができる。
また、請求項6に記載の発明では、連通部材(12)内となる各タンク部(11a、11b、11c)の長手方向端部上面側に孔部(h1、h2)を設け、その孔部(h1、h2)にて連通部材(12)内と各タンク部(11a、11b、11c)との連通を取り、連通取らないタンク部(11b、11c)には孔部(h1、h2)を設けないと共に、その長手方向端部を連通部材(12)の内側側面部を当接させて連通を防いだことを特徴としている。
この請求項6に記載の発明によれば、構成部品としてセパレ−タ(流通防止堰)(9)を削減することができ、コストを抑えることができる。また、タンクの端部を連通部材(12)のコア部幅方向での位置決めに利用することができるうえ、上方より孔部(h1、h2)を加工する方法により加工を容易とすることができる。
また、請求項7に記載の発明では、連通部材(12)を略半円筒形状に加工したことを特徴としている。この請求項7に記載の発明によれば、構成部品として連通部材(12)の軸方向両端を封止するサイドキャップ(13)を削減することができ、コストを抑えることができる。また、ロウ付け時のサイドキャップ13のロウ付け不良や欠品がなくなる。
また、請求項8に記載の発明では、連通部材(12)に、他の部材とのかしめ結合用の爪部(12d)を形成したことを特徴としている。この請求項8に記載の発明によれば、爪部(12d)により連通部材(12)のコア部幅方向での位置決めが容易になるうえ、ロウ付け時のサイドキャップ(13)のロウ付け不良や転落防止が可能となる。
また、請求項9に記載の発明では、各タンク部(11a、11b、11c)の長手方向端部に切れ込み部(k4)を設けると共に、連通部材(12)に切れ込み部(k4)に嵌合する爪部(12e)を形成したことを特徴としている。この請求項9に記載の発明によれば、切れ込み部(k4)と爪部(12e)により連通部材(12)のコア部幅方向での位置決めが容易になる。
また、請求項10に記載の発明では、冷媒集合部(10a、11a)と冷媒分配部(10b、10c、11b、11c)は、各チュ−ブ(4)を接続するヘッダプレート(7)と、各タンク部(11a、11b、11c)を一体に形成したタンクヘッダプレート(11)と、これらの間に配されて各チュ−ブ(4)と各タンク部(11a、11b、11c)とを連通させる連通孔(10a〜10c)を設けた分配プレート(10)とを積層して形成したことを特徴としている。この請求項10に記載の発明によれば、量産容易な簡素な構成とすることができる。
また、請求項11に記載の発明では、分配プレート(10)に形成する連通孔(10a〜10c)を、左右に分割される第1パス部(1P)および第2パス部(2P)に対応して複数連結して開けたことを特徴としている。この請求項11に記載の発明によれば、耐圧性があまり要求されない熱交換器などに適用することができ、分配プレート(10)の加工性を上げ加工費を抑えることができる。
また、請求項12に記載の発明では、ヘッダプレート(7)を、各チュ−ブ(4)とのロウ付け機能部分(7A)と、各チュ−ブ(4)との間の冷媒集配空間機能部分(7B、7C)とに分けて構成したことを特徴としている。この請求項12に記載の発明によれば、ヘッダプレート(7)の加工性を上げ加工費を抑えることができる。また、ヘッダプレート(7)の形状が決め易くなるうえ形状ばらつきが抑えられ、耐圧性も確保し易くなる。ちなみに、図14に示すように分配プレート(10)も複数枚で構成しても良い。
また、請求項13に記載の発明では、ヘッダプレート(7)と分配プレート(10)との間、および分配プレート(10)とタンクヘッダプレート(11)との間の平面ロウ付け部(H1〜H4)において、接合されるいずれかの側にプレート(7、10、11)に小孔(h3)を設けたことを特徴としている。この請求項13に記載の発明によれば、小孔(h3)によりボイドの発生が防がれるうえ、小孔(h3)が起点となってロウ付けが進行することによりロウ付け品質も生産性も向上する。尚、孔の形状は限定されるものではない。
また、請求項14に記載の発明では、外部を流れる被冷却流体と内部を流れる冷媒との熱交換を行う冷媒蒸発器であり、冷媒流れは、冷媒導入部(6a)と冷媒導出部(6b)との間に、少なくとも第1パス部(1P)と第2パス部(2P)とを有し、チュ−ブ(4)を並列させたチュ−ブ列で形成されるコア部と、第1パス部(1P)を経た冷媒を集合する冷媒集合部(15a、16a)と、冷媒を第2パス部(2P)に分配する冷媒分配部(15a、16a)と、冷媒集合部(15a、16a)と冷媒分配部(15a、16a)とを連通させる一対のタンク部(14a、17a)とを備え、コア部は、左右略全領域で第1パス部(1P)および第2パス部(2P)をそれぞれ形成する第1チュ−ブ列(1L)と第2チュ−ブ列(2L)とを前後の一方ずつに備え、冷媒集合部(15a、16a)と冷媒分配部(15a、16a)とは、それぞれ左右に分割されており、一対のタンク部(14a、17a)は、それぞれ左右方向で別領域の冷媒集合部(15a、16a)と冷媒分配部(15a、16a)とを連通させることを特徴としている。
これは、冷媒流れを入れ替えるタンク部(2B)を、風流れ方向やチューブ並列方向とは直交する垂直方向に2つの流路としてのタンク部(14a、17a)を形成するヘッダプレート(14)・タンクヘッダプレート(17)と、チュ−ブ(4)への冷媒集配空間を形成する空間形成プレート(15)と、その空間形成プレート(15)からの冷媒を先の2つの流路(タンク部14a・17a)に誘導するセパレ−タ機能と2つの流路(タンク部14a・17a)を隔てるセパレ−タ機能を果たす分配プレ−ト(16)を積層することで前後左右クロスパスを構成したものである。
この請求項14に記載の発明によれば、請求項1に記載の発明に対して、更に冷媒流れの曲がり部が少ないうえタンク内での流路長さも短くできるため、タンク部における冷媒側圧力損失を少なくでき、性能を向上させることができる。
また、請求項15に記載の発明では、冷媒集合部(15a、16a)と冷媒分配部(15a、16a)と一対のタンク部(14a、17a)は、各チュ−ブ(4)を接続すると共にタンク部(14a)を有するヘッダプレート(14)、冷媒集配空間機能を果たす空間形成プレート(15)、それぞれ左右方向で別領域の冷媒集合部(15a、16a)と冷媒分配部(15a、16a)とを交差させて連通させるため連通防止部(Ta〜Td)を設けた交差プレート(16)、空間形成プレート(15)、およびタンク部(17a)を有するタンクヘッダプレート(17)を積層して形成していることを特徴としている。この請求項15に記載の発明によれば、量産容易な簡素な構成とすることができる。
また、請求項16に記載の発明では、ヘッダプレート(14)およびタンクヘッダプレート(17)に各チュ−ブ(4)に対応する凸部分(14c、17b)を形成することで、空間形成プレート(15)が果たしていた冷媒集配空間機能を一体に持たせたことを特徴としている。この請求項16に記載の発明によれば、構成部品として空間形成プレート(15)を削減することができ、素材量が低減して軽量化するうえ、コストを抑えることができる。また、組み付けが容易となり生産性の向上ともなる。ちなみにヘッダプレート(14)側は、タンクヘッダプレート(17)にチュ−ブ孔を追加した形状となる。
また、請求項17に記載の発明では、空間形成プレート(15)に形成する空間孔(15a)、および交差プレート(16)に形成する連通孔(16a)と連通防止部(Ta〜Td)を、左右に分割される第1パス部(1P)および第2パス部(2P)に対応して複数連結して大きく形成したことを特徴としている。この請求項17に記載の発明によれば、耐圧性があまり要求されない熱交換器などに適用することができ、空間形成プレート(15)や交差プレート(16)の加工性を上げ加工費を抑えることができる。
また、請求項18に記載の発明では、空間形成プレート(15)に形成する空間孔(15a)と交差プレート(16)に形成する連通孔(16a)とを、左右に分割される第1パス部(1P)および第2パス部(2P)に対応して複数連結して大きく形成すると共に、連通防止部(Ta〜Td)を空間形成プレート(15)に形成して交差プレート(16)を仕切り板機能だけにしたことを特徴としている。この請求項18に記載の発明によれば、より量産容易な簡素な形状とすることができる。
また、請求項19に記載の発明では、ヘッダプレート(14)およびタンクヘッダプレート(17)に対して交差プレート(16)に設けた連通防止部(Ta〜Td)が、交差プレート(16)を形成する板材の表裏面にて当接するようにしたことを特徴としている。この請求項19に記載の発明によれば、交差プレート(16)に両面クラッド材などを使用した場合、両ヘッダプレート(14、17)との接合がより強固なものとなり、タンク部のロウ付け品質を向上することができる。
また、請求項20に記載の発明では、各チュ−ブ(4)間に配されるフィン(5)の端部をヘッダプレート(14)に形成されたタンク部(14a)の外面に接触するようにしたことを特徴としている。これは従来、タンク部の曲率が大きいためフィン(5)とタンク面とが面接触となり、フィン(5)が溶けるという問題があった。また、チューブ(4)の根付け部のロウ材を引っ張ってしまいロウ付け不良を起こすという問題があった。そのため従来は、タンク面とフィン(5)との間に空間を設けるという処置を施してきたが、その空間の通風抵抗が小さくなることから通風がこの空間から漏れて熱交換効率が悪くなるという別の問題もあった。
しかし、この請求項20に記載の発明によれば、タンク突起の曲率が小さいため、フィン(5)とタンク面とを接触させても線接触となり、フィン溶けは起こり難くい。また、チューブ(4)の根付けとも距離が確保されるため根付け不良もない。更にタンク面とフィン(5)との間に空間が生じないため、伝熱面積向上により性能が向上し、上記した空間からの風漏れもなくなり熱交換効率の低下が抑えられる。また、凝縮した水に冷えない風が当たり、再蒸発することで白い湯気状の気体となる白霧の発生も抑制できる。
また、請求項21に記載の発明では、空間形成プレート(15)の長手方向両端部に切り起こし部(15b)を設けてタンク部(14a、17a)の長手方向両端の封止手段としたことを特徴としている。この請求項21に記載の発明によれば、構成部品としてキャップ(9)を削減することができ、素材量が低減して軽量化するうえ、コストを抑えることができる。また、組み付けが容易となり生産性の向上ともなる。
また、請求項22に記載の発明では、空間形成プレート(15)および交差プレート(16)の長手方向両端部に細孔部(15c、16b)を設けると共に、その細孔部(15c、16b)に縦長としたキャップ(9)を挿入してタンク部(14a、17a)の長手方向両端の封止手段としたことを特徴としている。この請求項22に記載の発明によれば、キャップ(9)構成数を削減することができ、素材量が低減して軽量化するうえ、コストを抑えることができる。また、キャップ(9)が空間形成プレート(15)と交差プレート(16)との位置決め部品となって組み付けが容易となり生産性の向上ともなる。
また、請求項23に記載の発明では、被冷却流体の流れ方向にチュ−ブ列を3列以上備えた冷媒蒸発器において、前後左右で交差させて別領域にパスさせる、いわゆる前後左右クロスパスを、全部または一部のチュ−ブ列で形成したことを特徴としている。また、請求項24に記載の発明では、被冷却流体の流れ方向にチュ−ブ列を複数備えた冷媒蒸発器において、前後左右で交差させて別領域にパスさせる、いわゆる前後左右クロスパスを、コア面全部または一部のチュ−ブ(4)で形成したことを特徴としている。
これら請求項23、請求項24に記載の発明によれば、必要な性能部分のみ前後左右クロスパスとする選択ができて温度分布などの最適化が可能となるうえ、タンク構造も一部簡素化できる。そして前後左右クロスパスの数が増えれば増えるほどこの効果は大きくなる。
また、請求項25に記載の発明では、ヘッダプレート(7、14)、分配プレート(10)、タンクヘッダプレート(11、17)、空間形成プレート(15)および交差プレート(16)のいずれかを積層してかしめ結合する場合、そのかしめ部を各チュ−ブ(4)間となる位置に配置したことを特徴としている。この請求項25に記載の発明によれば、かしめ作業などで生産性が向上する。また、位置決めが容易となる効果もある。
また、請求項26に記載の発明では、分配プレート(10)、空間形成プレート(15)および交差プレート(16)のいずれかを両面クラッド材にて構成したことを特徴としている。 この請求項26に記載の発明によれば、生産性が向上し、ベア材の構成部品が増えればそれだけコストを抑えることができる。
また、請求項27に記載の発明では、外部を流れる流体と内部を流れる冷媒との熱交換を行う熱交換器において、構成する板部材間をかしめ結合する場合、板部材に設けられたかしめ結合用の爪部(12d)を、板部材の板厚(t)方向と直交する方向に変形させることを特徴としている。
これは、例えば熱交換器のタンク部などにおいて構成部品を組み上げる際、かしめ結合用の爪を部品に設けてかしめ結合することが一般的である。しかしながら、二酸化炭素(CO)冷媒などを用いて高圧で使用する熱交換器のタンク部構成部品においては、その耐圧性のため、従来のフロン(R134a)冷媒などを使用する熱交換器に対して板厚な設計とならざるを得ず、この板厚な設計のために従来よりもかしめスぺ−スの確保ができなくなっている。そこで、従来は板厚(t)方向であったかしめ爪の曲げ方向を本発明では板厚(t)方向に直交する方向としたものである。
この請求項27に記載の発明によれば、爪部(12d)を変形させる際の加工力を小さくすることが容易であり、かしめスペ−スの確保も可能となる。また板厚(t)をかしめ幅に生かしてかしめ結合で必要な強度を容易に得ることができる。ちなみに、上記各手段の括弧内の符号は、後述する実施形態に記載の具体的手段との対応関係を示す一例である。
(第1実施形態)
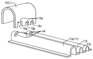
以下、本発明の実施の形態について図面を用いて詳細に説明する。図1は、本発明の第1実施形態における冷媒蒸発器1の斜視図であり、図2は図1の冷媒蒸発器1における上タンク2A部の分解斜視構成図である。尚、本明細書中での前後方向とは、風下側を前、風上側を後とし、左右方向とは、風の流れ方向に対面する直交面におけるチュ−ブ(扁平チューブ)4が並んでいるコア幅方向を左右として意味する。
本実施形態は、幅方向に全パスとした構成の前後Uターン蒸発器に適用したものであり、二酸化炭素冷媒(以下、CO冷媒)などを用いて高圧側の冷媒圧力が臨界圧以上となって作動する超臨界冷凍サイクルに、本発明の冷媒蒸発器1を適用した例にて説明する。冷媒上流側にある図示しない膨張弁によって減圧されたCO冷媒が流入し、蒸発器1にて空気と熱交換することでCO冷媒が蒸発し、気化された冷媒がより下流側へ流出されるものである。
上タンク部(冷媒集合部・分配部)2Aと下タンク部(冷媒導入部・導出部)3の間に、前側コア部(第1パス部)1Pとなる前チュ−ブ列(第1チュ−ブ列)1Lと後側コア部(第2パス部)2Pとなる後チュ−ブ列(第2チュ−ブ列)2Lが配されたマルチフロ−(MF)型である。コネクタ6の冷媒導入部6aから入った冷媒は、前下タンク部8A側からコア部に流入(導入)され後下タンク部8Bから流出(導出)し、コネクタ6の冷媒導出部6bから出る構成となっている。尚、前後下タンク部8A・8Bの両端部は、キャップ9にて封止されている。
各コア部1P・2Pは、各チュ−ブ4と前チュ−ブ列1Lと後チュ−ブ列2Lとで形成される各隙間には、図示の如く、吸熱フィン(コルゲ−トフィン)5が配されて形成されている。チュ−ブ4とコルゲ−トフィン5との位置関係の詳細を図1(b)に示す。そして、図例では、第1パスが前側コア部(前チュ−ブ列)1Pで行われ、且つ上昇流となるようになっている。従来と同様、直交対向流となるので、性能・温度的に有利となる。また、第1パス部1Pを前側にして冷媒を下側から流入させた方が、各チュ−ブ4に対する分配性(ディストリビュ−ション性)が良好となり、温度分布の均一性に寄与する。
尚、コネクタ6を上側に配し、第1パス1Pを下降流となるようにしても良い。また、第1パス1Pが後側コア部(第2チュ−ブ列)2Pで行われるようにしても良い。上記前後Uターン蒸発器において、一つのパスを経た冷媒をコア幅方向で入れ替えて流す構造となっている。尚、以下では、コア幅方向で各チュ−ブ4の全部を入れ替えた事例について説明をするが、部分的に入れ替えても本発明の効果は奏する。
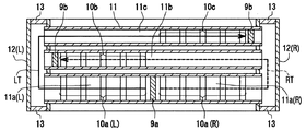
本実施形態に示すタンク部2Aは、概略コア部上に、ヘッダプレート7・分配プレート10・タンクヘッダプレート11・サイドタンク(連通部材)12を積層して形成されている。タンクヘッダプレート11は、前後に3条(広幅1条、狭幅2条)のタンク部11a〜11cを形成するよう板材をプレス成形したものであり、タンク部11aは冷媒集合部となり、タンク部11b・11cは冷媒分配部となる。
分配プレート10は、前側にタンク部11aに対応して冷媒集合部となる全長に渡った連通孔群10aと、後側の左側半分にタンク部11bに対応して冷媒分配部となる連通孔群10bと、後側の右側半分にタンク部11cに対応して冷媒分配部となる連通孔群10cとを板材にプレスで孔開けしたものである。そして、前側の連通孔群10aは前コア部(前チュ−ブ列)1P、後側の通孔群10bは後コア部(後チュ−ブ列)2Pの左側半分2P(L)、後側の通孔群10cは後コア部(後チュ−ブ列)2Pの右側半分2P(R)の各チュ−ブ4の上側開口端と対応するようになっている。
ヘッダプレート7は、各チューブ4を接続するためのものであり、各チューブ4に対応した図示しないチュ−ブ孔と冷媒集配空間部7aとを形成するよう板材をプレス加工したものである。そして、本発明の要部であるサイドタンク12は、タンク部11a〜11cの左右方向両端部の解放部を包括するように覆って各タンク部11a〜11cで形成される流路間を空間的に接続するためのものであり、各タンク部11a〜11cに対応した開口部12a〜12cを設けて板材をプレス加工したものである。
サイドタンク12の軸方向両端は、封止部材であるサイドキャップ13が配置される。また、タンク部11aには流路を左右に分けるためのセパレ−タ9aが配置され、タンク部11b・11cとサイドタンク12との間で流路を断絶させる箇所にはセパレ−タ(流通防止堰)9bが配置される。尚、これらのセパレータ9は、完全に冷媒の流通を阻止するものでなくても良い。そしてこれらの部品は全てアルミニウムで形成されており、積層してロウ付けにて一体に接合される。
次に、上記構造の冷媒蒸発器1での冷媒の流れを説明する。図3は上記構造の上タンク部2Aを水平に切断した平面断面図であり、図4は冷媒の流れを示す模式図である。そして、本形態におけるコア幅方向における冷媒流れの入れ替えは下記の如く行われる。右側第1パス1P(R)として前コア部1Pの右側チュ−ブ列から連通孔群10a(R)を経て右側タンク部11a(R)に集合した冷媒は、右側サイドタンク12(R)を経てタンク部11bに流入し、左側の連通孔群10bを介して後コア部2Pの左側チュ−ブ列へ流入することにより左側第2パス2P(L)へ移る(太点線RT参照)。
他方、左側第1パス1P(L)として前コア部1Pの左側チュ−ブ列から連通孔群10a(L)を経てタンク部11a(L)内に集合した冷媒は、左側サイドタンク12(L)を経てタンク部11cに流入し、右側の連通孔群10cを介して後コア部2Pの右側チュ−ブ列へ流入することにより右側第2パス2P(R)へ移る(太実線LT参照)。尚、図4(b)は図4(a)と冷媒の流入・流出方向を入れ替えたものであるが、どちらから流通させても同様の流路が構成されることを示しており、詳しい説明は省略する。
次に、本実施形態での特徴と、その効果について述べる。まず、外部を流れる空気と内部を流れる冷媒との熱交換を行う冷媒蒸発器であり、冷媒流れは、冷媒導入部6aと冷媒導出部6bとの間に、少なくとも第1パス部1Pと第2パス部2Pとを有し、チュ−ブ4を並列させたチュ−ブ列で形成されるコア部と、第1パス部1Pを経た冷媒を集合する冷媒集合部10a・11aと、冷媒を第2パス部2Pに分配する冷媒分配部10b・10c・11b・11cとを備え、コア部は、左右略全領域で第1パス部1Pおよび第2パス部2Pをそれぞれ形成する第1チュ−ブ列1Lと第2チュ−ブ列2Lとを前後の一方ずつに備え、冷媒集合部10a・11aは、第1パス部1Pの冷媒を、左右に分割して集合させる構造を有し、冷媒分配部10b・10c・11b・11cは、一対の前後に配列されたタンク部11b・11cで形成され、第1パス部1Pとは左右方向で別領域に第2パス部2Pが形成されるように分配する構造を有し、冷媒集合部10a・11aと冷媒分配部10b・10c・11b・11cとは一対のサイドタンク12を介して接続されている。
これは例えば、通風方向下流側の第1パス部1Pを経た冷媒が、コア部の左右方向にて入れ替わって通風方向上流側の第2パス部2Pに流れるような形態の冷媒蒸発器(熱交換器)のタンク部2Aを、第1パス部1Pを経た冷媒をタンク部の左右方向端部に冷媒を導く機能を持つ流路としての冷媒集合部10a・11aと、第2パス部2Pを形成するチュ−ブ4群へ冷媒を導く流路としての冷媒分配部10b・10c・11b・11cとを備えたタンク部と、チュ−ブ4への冷媒集配空間を有するヘッダプレート7にて構成し、そのタンク部左右方向端部の解放部を包括するように覆い、上記の流路間を空間的に接続するサイドタンク12を設け、空間的に断絶させる箇所にはセパレ−タ9を設けることで前後左右クロスパスを構成したものである。
これによれば、簡素な手段にてタンク部左右方向端部(冷媒流れ曲がり部)における流路断面積を大きく取れるため、タンク部における冷媒側圧力損失を少なくでき、性能を向上させることができる。また、冷媒集合部10a・11aと冷媒分配部10b・10c・11b・11cは、各チュ−ブ4を接続するヘッダプレート7と、各タンク部11a〜11cを一体に形成したタンクヘッダプレート11と、これらの間に配されて各チュ−ブ4と各タンク部11a〜11cとを連通させる連通孔10a〜10cを設けた分配プレート10とを積層して形成している。これによれば、量産容易な簡素な構成とすることができる。
尚、本実施形態に示した図ではタンク部11aを大きくし、タンク部11b・11cを小さく描いてあるが同等の大きさでも良く、流路の大きさを限定するものではない。ちなみに、タンク部11a〜11cを均等にして配置すれば、サイドタンク12の右用・左用と、セパレータ9の大小とがなくせるなどの利点がある。
(他の実施形態1)
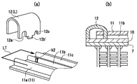
図5の(a)は図1の冷媒蒸発器1における他の実施形態1を示す部分斜視図であり、(b)は(a)中の11bの中心で縦に切った部分断面図である。タンク部11b・11cとサイドタンク12内とを連通させない部位において、サイドタンク12の側面部を用いて連通を防ぐようにしている。より具体的には、図5は上タンク2Aの左側端部で、サイドタンク12でタンク部11aとタンク部11cとを連通させ、タンク部11bとは断絶させる箇所である。
そのため、タンク部11bの長手方向端部に切り欠き部k1を設け、サイドタンク12には開口部12bを設けずに切り欠き部k1に対応した形状12b´としている。そして、切り欠いた長手方向端部にサイドタンク12の外側側面部を当接させて連通を防いでいる。これによれば、構成部品としてセパレ−タ9bを削減することができ、コストを抑えることができる。また、切り欠き部k1をサイドタンク12のコア部幅方向での位置決めに利用することができる。
(他の実施形態2)
図6の(a)は図1の冷媒蒸発器1における他の実施形態2を示す部分斜視図であり、(b)は(a)中の11bの中心で縦に切った部分断面図である。上述の他の実施形態1と同じ部位で、切り欠き部k1の代わりに切れ込み部k2を設け、その切れ込み部k2にサイドタンク12の一方の側面部を挿入して連通を防いでいる。これによっても、構成部品としてセパレ−タ9bを削減することができ、コストを抑えることができる。また、切れ込み部k2によりサイドタンク12をコア部幅方向でより確実に位置決めすることができる。
(他の実施形態3)
図7の(a)は図1の冷媒蒸発器1における他の実施形態3を示す部分斜視図であり、(b)は(a)中の11bの中心で縦に切った部分断面図である。上述の他の実施形態2と同じ部位で、切れ込み部k2の代わりにタンク部11a〜11cに渡って切れ込み部k3を設け、その切れ込み部k3にサイドタンク12の一方の側面部を挿入すると共に、サイドタンク12内と連通させるタンク部11a・11cに対応する部位には、側面部に開口部12a、12cを設け、連通させない部位には側面部に対応した形状12b´を設けて連通を防いでいる。
これによっても、構成部品としてセパレ−タ9bを削減することができ、コストを抑えることができる。また、切れ込み部k3によりサイドタンク12をコア部幅方向でより確実に位置決めすることができるうえ、他の実施形態1の切り欠き部k1よりも加工を容易とすることができる。
(他の実施形態4)
図8の(a)は図1の冷媒蒸発器1における他の実施形態4を示す部分斜視図であり、(b)は(a)中の11aの中心、(c)は(a)中の11bの中心、(d)は(a)中の11cの中心で縦に切った部分断面図である。上述の他の実施形態3と同じ部位で、サイドタンク12内となる各タンク部11a〜11cのうち連通させるタンク部11a・11cの長手方向端部上面側に孔部h1・h2を設け、その孔部h1・h2にてサイドタンク12内とタンク部11a・11cとの連通を取り、連通取らないタンク部11bには孔部を設けないと共に、その長手方向端部をサイドタンク12の内側側面部を当接させて連通を防いでいる。
これによっても、構成部品としてセパレ−タ9bを削減することができ、コストを抑えることができる。また、タンクの端部をサイドタンク12のコア部幅方向での位置決めに利用することができるうえ、上方より孔部h1・h2を加工する方法により加工を容易とすることができる。
(他の実施形態5)
図9は、図1の冷媒蒸発器1における他の実施形態5を示す部分斜視図である。サイドタンク12を略半円筒形状にプレス加工したものである。これによれば、構成部品としてサイドタンク12の軸方向両端を封止するサイドキャップ13を削減することができ、コストを抑えることができる。また、ロウ付け時のサイドキャップ13のロウ付け不良や欠品がなくなる。
(他の実施形態6)
図10は、図1の冷媒蒸発器1における他の実施形態6を示す部分斜視図である。サイドタンク12に、他の部材とのかしめ結合用の爪部12dを形成したものである。これによれば、爪部12dによりサイドタンク12のコア部幅方向での位置決めが容易になるうえ、ロウ付け時のサイドキャップ13のロウ付け不良や転落防止が可能となる。
(他の実施形態7)
図11は、図1の冷媒蒸発器1における他の実施形態7を示す部分斜視図である。各タンク部11a〜11cの長手方向端部に切れ込み部k4を設けると共に、サイドタンク12にその切れ込み部k4に嵌合する爪部12eを形成したものである。これによれば、切れ込み部k4と爪部12eによりサイドタンク12のコア部幅方向での位置決めが容易になる。尚、これら他の実施形態1〜7については図示しなかった上タンク2Aの右側端部でも同様である。
(他の実施形態8)
図12は、図1の冷媒蒸発器1における他の実施形態8を示す部分斜視図である。分配プレート10に形成する連通孔10a〜10cを、左右に分割される第1パス部1Pおよび第2パス部2Pに対応して複数連結して開けたものである。これによれば、耐圧性があまり要求されない熱交換器などに適用することができ、分配プレート10の加工性を上げ加工費を抑えることができる。
(他の実施形態9)
図13は、図1の冷媒蒸発器1における他の実施形態9を示す部分斜視図である。ヘッダプレート7を、各チュ−ブ4とのロウ付け機能部分7Aと、各チュ−ブ4との間の冷媒集配空間機能部分7B・7Cとに分けて構成したものである。これによれば、ヘッダプレート7の加工性を上げ加工費を抑えることができる。また、ヘッダプレート7の形状が決め易くなるうえ形状ばらつきが抑えられ、耐圧性も確保し易くなる。ちなみに、図14は図1の冷媒蒸発器1におけるその他の実施形態を示す部分斜視図である。図14に示すように分配プレート10も複数枚で構成しても良い。
(他の実施形態10)
図15の(a)は図1の冷媒蒸発器1における他の実施形態10を示す部分斜視図であり、(b)は(a)中のA視部分平面図である。ヘッダプレート7と分配プレート10との間、および分配プレート10とタンクヘッダプレート11との間の平面ロウ付け部H1〜H4において、接合されるいずれかの側にプレート7・10・11に小孔h3を設けたものである。
図15はタンクヘッダプレート11に小孔h3を設けた例で、各タンク部11a〜11cの間、およびその外側に小孔h3を配列して設けている。これによれば、小孔h3によりボイドの発生が防がれるうえ、小孔h3が起点となってロウ付けが進行することによりロウ付け品質も生産性も向上する。尚、孔の形状は限定されるものではない。
(第2実施形態)
図16は、本発明の第2実施形態における冷媒蒸発器1の斜視図であり、図17は図16の冷媒蒸発器1における上タンク2B部の分解斜視構成図である。上述した第1実施形態とは上タンクの構造のみ異なっている。尚、上述した実施形態と同一部分については同一符号を付し、それらの説明の全部または一部を省略する。
本実施形態に示すタンク部2Bは、概略コア部上に、ヘッダプレート14・空間形成プレート15・交差プレート16・空間形成プレート15・タンクヘッダプレート17を積層して形成されている。タンクヘッダプレート17は、中央に1条のタンク部17aを形成するよう板材をプレス成形したものである。
また、ヘッダプレート14も同様に、中央に1条のタンク部14aを形成するよう板材をプレス成形したものであり、タンクヘッダプレート17と異なるのは、チューブ4を接続するチューブ孔14bが対応する位置に開けられていることである。そして、タンク部14aと17aは第1パス部1Pと第2パス部2Pとの連通する一対の連通部となっている。
空間形成プレート15は、冷媒集配空間機能を果たすものであり、板材の各チュ−ブ4と対応する位置に空間孔15aプレスで孔開けしたものである。交差プレート16は、第1パス部1Pを経た冷媒流れを第2パス部2Pへ折り返す際、左右方向で入れ替わるよう、上記一対の連通部14a・17aを使って流路を形成するためのものであり、板材の各チュ−ブ4と対応する位置に連通孔16aを開けると共に、前後左右の各パス部に対応して連通部14a・17aとの連通を阻止する部分に連通防止部Ta〜Td(図18(b)・(c)参照)となる切り起こしをプレス加工したものである。
そして、これらを積層すると空間孔15a・連通孔16aおよび連通部14a・17aを使って冷媒集合部と冷媒分配部とが形成される。タンク部14a・17aの両端部は、キャップ9が配置される。これらの部品は全てアルミニウムで形成されており、ロウ付けにて一体に接合される。
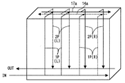
次に、上記構造の冷媒蒸発器1での冷媒の流れを説明する。図18の(a)は図16の冷媒蒸発器1における上タンク2B部の斜視図であり、(b)は(a)中のA−A断面図、(c)は(a)中のB−B断面図である。また、図19は冷媒の流れを示す模式図である。そして、本形態におけるコア幅方向における冷媒流れの入れ替えは下記の如く行われる。左側第1パス1P(L)として前コア部1Pの左側チュ−ブ列から前側の空間15a・16aを経てタンク部14a内に集合した冷媒(A−A断面図中の実線矢印)は、タンク部14b内を右方へと流れ、後側の空間15a・16aを経て後コア部2Pの右側チュ−ブ列へ流入することにより右側第2パス2P(R)へ移る(B−B断面図中の実線矢印)。
他方、右側第1パス1P(R)として前コア部1Pの右側チュ−ブ列から前側の空間15a・16aを経てタンク部17a内に集合した冷媒(A−A断面図中の点線矢印)は、タンク部17a内を左方へと流れ、後側の空間15a・16aを経て後コア部2Pの左側チュ−ブ列へ流入することにより左側第2パス2P(L)へ移る(B−B断面図中の点線矢印)。尚、本実施形態の冷媒蒸発器1は、前述した第1実施形態の冷媒蒸発器1と同様に、どちらから冷媒を流入させても同様の流路が構成される。
次に、本実施形態での特徴と、その効果について述べる。まず、外部を流れる空気と内部を流れる冷媒との熱交換を行う冷媒蒸発器であり、冷媒流れは、冷媒導入部6aと冷媒導出部6bとの間に、少なくとも第1パス部1Pと第2パス部2Pとを有し、チュ−ブ4を並列させたチュ−ブ列で形成されるコア部と、第1パス部1Pを経た冷媒を集合する冷媒集合部15a・16aと、冷媒を第2パス部2Pに分配する冷媒分配部15a・16aと、冷媒集合部15a・16aと冷媒分配部15a・16aとを連通させる一対のタンク部14a・17aとを備え、コア部は、左右略全領域で第1パス部1Pおよび第2パス部2Pをそれぞれ形成する第1チュ−ブ列1Lと第2チュ−ブ列2Lとを前後の一方ずつに備え、冷媒集合部15a・16aと冷媒分配部15a・16aとは、それぞれ左右に分割されており、一対のタンク部14a・17aは、それぞれ左右方向で別領域の冷媒集合部15a・16aと冷媒分配部15a・16aとを連通させるようになっている。
これは、冷媒流れを入れ替えるタンク部2Bを、風流れ方向やチューブ並列方向とは直交する垂直方向に2つの流路としてのタンク部14a・17aを形成するヘッダプレート14・タンクヘッダプレート17と、チュ−ブ4への冷媒集配空間を形成する空間形成プレート15と、その空間形成プレート15からの冷媒を先の2つの流路(タンク部14a・17a)に誘導するセパレ−タ機能と2つの流路(タンク部14a・17a)を隔てるセパレ−タ機能を果たす分配プレ−ト16を積層することで前後左右クロスパスを構成したものである。
これによれば、第1実施形態の冷媒蒸発器1に対して、更に冷媒流れの曲がり部が少ないうえタンク内での流路長さも短くできるため、タンク部における冷媒側圧力損失を少なくでき、性能を向上させることができる。
また、冷媒集合部15a・16aと冷媒分配部15a・16aと一対のタンク部14a・17aは、各チュ−ブ4を接続すると共にタンク部14aを有するヘッダプレート14、冷媒集配空間機能を果たす空間形成プレート15、それぞれ左右方向で別領域の冷媒集合部15a・16aと冷媒分配部15a・16aとを交差させて連通させるため連通防止部Ta〜Tdを設けた交差プレート16、空間形成プレート15、およびタンク部17aを有するタンクヘッダプレート17を積層して形成している。これによれば、量産容易な簡素な構成とすることができる。
(他の実施形態11)
図20の(a)は図16の冷媒蒸発器1における他の実施形態11を示す斜視図であり、(b)は(a)中のC−C断面図、(c)は(a)中のD−D断面図である。ヘッダプレート14およびタンクヘッダプレート17に各チュ−ブ4に対応する凸部分14c・17bをプレスにて形成することで、空間形成プレート15が果たしていた冷媒集配空間機能を一体に持たせたものである。実際はこれとあわせて、交差プレート16に切り起こした連通防止部Ta〜Tdの先端を、略円弧状に形成することとなる。これによれば、構成部品として空間形成プレート15を削減することができ、素材量が低減して軽量化するうえ、コストを抑えることができる。また、組み付けが容易となり生産性の向上ともなる。
(他の実施形態12)
図21は、図16の冷媒蒸発器1における他の実施形態12を示す分解斜視構成図である。図17の構成と異なるのは、空間形成プレート15に形成する空間孔15a、および交差プレート16に形成する連通孔16aと連通防止部Ta〜Tdを、左右に分割される第1パス部1Pおよび第2パス部2Pに対応して複数連結して大きく形成したものである。これによれば、耐圧性があまり要求されない熱交換器などに適用することができ、空間形成プレート15や交差プレート16の加工性を上げ加工費を抑えることができる。
(他の実施形態13)
図22は、図16の冷媒蒸発器1における他の実施形態13を示す分解斜視構成図である。図17の構成と異なるのは、空間形成プレート15に形成する空間孔15aと交差プレート16に形成する連通孔16aとを、左右に分割される第1パス部1Pおよび第2パス部2Pに対応して複数連結して大きく形成すると共に、連通防止部Ta〜Tdを空間形成プレート15に形成して交差プレート16を仕切り板機能だけにしたものである。これによれば、より量産容易な簡素な形状とすることができる。
(他の実施形態14)
図23の(a)(b)とも図16の冷媒蒸発器1における他の実施形態14を示す部分断面図であり、図18のA−A断面に相当する。ヘッダプレート14およびタンクヘッダプレート17に対して交差プレート16に設けた連通防止部Ta〜Tdが、交差プレート16を形成する板材の表裏面にて当接するようにしたものである。交差プレート16の仕切り板となる部分の形状は、(a)(b)どちらであっても良く、限定するものではない。これによれば、交差プレート16に両面クラッド材などを使用した場合、両ヘッダプレート14・17との接合がより強固なものとなり、タンク部のロウ付け品質を向上することができる。
(他の実施形態15)
図24の(a)は図16の冷媒蒸発器1におけるその他の実施形態15を示す部分断面図であり、(b)は(a)中のB視部分側面図である。各チュ−ブ4間に配されるフィン5の端部をヘッダプレート14に形成されたタンク部14aの外面に接触するようにしたものである。これは従来、タンク部の曲率が大きいためフィン5とタンク面とが面接触となり、フィン5が溶けるという問題があった。
また、チューブ4の根付け部のロウ材を引っ張ってしまいロウ付け不良を起こすという問題があった。そのため従来は、タンク面とフィン5との間に空間を設けるという処置を施してきたが、その空間の通風抵抗が小さくなることから通風がこの空間から漏れて熱交換効率が悪くなるという別の問題もあった。
しかし、これによれば、タンク突起の曲率が小さいため、フィン5とタンク面とを接触させても線接触となり、フィン溶けは起こり難くい。また、チューブ4の根付けとも距離が確保されるため根付け不良もない。更にタンク面とフィン5との間に空間が生じないため、伝熱面積向上により性能が向上し、上記した空間からの風漏れもなくなり熱交換効率の低下が抑えられる。また、凝縮した水に冷えない風が当たり、再蒸発することで白い湯気状の気体となる白霧の発生も抑制できる。
(他の実施形態16)
図25は、図16の冷媒蒸発器1における他の実施形態16を示す斜視図である。空間形成プレート15の長手方向両端部に切り起こし部15bを設けてタンク部14a・17aの長手方向両端の封止手段としたものである。これによれば、構成部品としてキャップ9を削減することができ、素材量が低減して軽量化するうえ、コストを抑えることができる。また、組み付けが容易となり生産性の向上ともなる。
(他の実施形態17)
図26は、図16の冷媒蒸発器1における他の実施形態17を示す斜視図である。空間形成プレート15および交差プレート16の長手方向両端部に細孔部15c・16bを設けると共に、その細孔部15c・16bに縦長としたキャップ9を挿入してタンク部14a・17aの長手方向両端の封止手段としたものである。これによれば、キャップ9構成数を削減することができ、素材量が低減して軽量化するうえ、コストを抑えることができる。また、キャップ9が空間形成プレート15と交差プレート16との位置決め部品となって組み付けが容易となり生産性の向上ともなる。
(他の実施形態18)
図27の(a)(b)とも図1・図16の冷媒蒸発器1における他の実施形態18を示す模式図である。(a)は被冷却流体の流れ方向にチュ−ブ列を3列以上備えた冷媒蒸発器において、前後左右で交差させて別領域にパスさせる、いわゆる前後左右クロスパスを、全部または一部のチュ−ブ列で形成したものである。また、(b)は被冷却流体の流れ方向にチュ−ブ列を複数備えた冷媒蒸発器において、前後左右で交差させて別領域にパスさせる、いわゆる前後左右クロスパスを、コア面全部または一部のチュ−ブ4で形成したものである。
これらによれば、必要な性能部分のみ前後左右クロスパスとする選択ができて温度分布などの最適化が可能となるうえ、タンク構造も一部簡素化できる。そして前後左右クロスパスの数が増えれば増えるほどこの効果は大きくなる。
(他の実施形態19)
図28の(a)(b)とも図1・図16の冷媒蒸発器1における他の実施形態19を示す模式図である。ヘッダプレート7・14、分配プレート10、タンクヘッダプレート11・17、空間形成プレート15および交差プレート16のいずれかを積層してかしめ結合する場合、そのかしめ部を各チュ−ブ4間となる位置に配置したものである。これによれば、かしめ作業などで生産性が向上する。また、位置決めが容易となる効果もある。
(他の実施形態20)
図29の(a)は本発明の第3実施形態におけるサイドタンク12の斜視図であり、(b)は従来のかしめ状態を示す部分側面図、(c)は本発明のかしめ状態を示す部分側面図である。外部を流れる流体と内部を流れる冷媒との熱交換を行う熱交換器において、構成する板部材間をかしめ結合する場合、板部材に設けられたかしめ結合用の爪部12dを、板部材の板厚t方向と直交する方向に変形させるものである。
これは、例えば熱交換器のタンク部などにおいて構成部品を組み上げる際、かしめ結合用の爪を部品に設けてかしめ結合することが一般的である。しかしながら、二酸化炭素(CO)冷媒などを用いて高圧で使用する熱交換器のタンク部構成部品においては、その耐圧性のため、従来のフロン(R134a)冷媒などを使用する熱交換器に対して板厚な設計とならざるを得ず、この板厚な設計のために従来よりもかしめスぺ−スの確保ができなくなっている。そこで、従来は板厚t方向であったかしめ爪の曲げ方向を本発明では板厚t方向に直交する方向としたものである。
これによれば、爪部12dを変形させる際の加工力を小さくすることが容易であり、かしめスペ−スの確保も可能となる。また板厚tをかしめ幅に生かしてかしめ結合で必要な強度を容易に得ることができる。
(その他の実施形態)
本発明は、上記各実施形態に限定されることなく、特許請求の範囲に記載される範囲内で種々に及ぶものである。上述の実施形態では、CO冷媒を用いた超臨界冷凍サイクルの例で示したが、本発明は冷媒種類や冷媒圧力を限定するものではなく、例えばフロン冷媒などを用いた冷凍サイクルに適用しても良い。また、上述の実施形態では、冷媒蒸発器について説明してきたが、本発明は、冷媒以外の熱媒体を使用し、被温調流体を温調(加熱など)する場合にも適用が可能と期待できる。その場合の構成は、下記のようなものとなる。
外部を流れる被温調流体と熱媒体との熱交換を行う熱交換器において、
熱媒体流れは、熱媒体導入部と熱媒体導出部との間に、少なくとも、第1パスと第2パスとを有し、
チュ−ブを並列させたチュ−ブ列で形成されるコア部と、前記第1パスを経た前記熱媒体を集合する熱媒体集合部と、前記熱媒体を前記第2パスに分配する熱媒体分配部とを備え、
前記コア部は、左右略全領域で、互いに逆方向に流れる前記第1パスおよび前記第2パスを形成する単列または複列のチュ−ブ列を備え、
前記熱媒体集合部は、前記第1パスの熱媒体を、左右に分割させて集合する構造を有し、
前記熱媒体分配部は、前記第1パスとは左右方向で別領域に前記第2パスが形成されるように分配する構造を有し、
前記熱媒体集合部と熱媒体分配部とは一対の連通部を介して接続されていることを特徴とする。
本発明の第1実施形態における冷媒蒸発器1の斜視図である。 図1の冷媒蒸発器1における上タンク2A部の分解斜視構成図である。 図1の冷媒蒸発器1における上タンク部2Aを水平に切断した平面断面図である。 図1の冷媒蒸発器1における冷媒の流れを示す模式図であり、(a)と(b)とで冷媒のIN・OUT方向が異なる。 (a)は図1の冷媒蒸発器1における他の実施形態1を示す部分斜視図であり、(b)は(a)中の11bの中心で縦に切った部分断面図である。 (a)は図1の冷媒蒸発器1における他の実施形態2を示す部分斜視図であり、(b)は(a)中の11bの中心で縦に切った部分断面図である。 (a)は図1の冷媒蒸発器1における他の実施形態3を示す部分斜視図であり、(b)は(a)中の11bの中心で縦に切った部分断面図である。 (a)は図1の冷媒蒸発器1における他の実施形態4を示す部分斜視図であり、(b)は(a)中の11aの中心、(c)は(a)中の11bの中心、(d)は(a)中の11cの中心で縦に切った部分断面図である。 図1の冷媒蒸発器1における他の実施形態5を示す部分斜視図である。 図1の冷媒蒸発器1における他の実施形態6を示す部分斜視図である。 図1の冷媒蒸発器1における他の実施形態7を示す部分斜視図である。 図1の冷媒蒸発器1における他の実施形態8を示す部分斜視図である。 図1の冷媒蒸発器1における他の実施形態9を示す部分斜視図である。 図1の冷媒蒸発器1におけるその他の実施形態を示す部分斜視図である。 (a)は図1の冷媒蒸発器1における他の実施形態10を示す部分斜視図であり、(b)は(a)中のA視部分平面図である。 本発明の第2実施形態における冷媒蒸発器1の斜視図である。 図16の冷媒蒸発器1における上タンク2B部の分解斜視構成図である。 (a)は図16の冷媒蒸発器1における上タンク2B部の斜視図であり、(b)は(a)中のA−A断面図、(c)は(a)中のB−B断面図である。 図16の冷媒蒸発器1における冷媒の流れを示す模式図である。 (a)は図16の冷媒蒸発器1における他の実施形態11を示す斜視図であり、(b)は(a)中のC−C断面図、(c)は(a)中のD−D断面図である。 図16の冷媒蒸発器1における他の実施形態12を示す分解斜視構成図である。 図16の冷媒蒸発器1における他の実施形態13を示す分解斜視構成図である。 (a)(b)とも図16の冷媒蒸発器1における他の実施形態14を示す部分断面図である。 (a)は図16の冷媒蒸発器1におけるその他の実施形態15を示す部分断面図であり、(b)は(a)中のB視部分側面図である。 図16の冷媒蒸発器1における他の実施形態16を示す斜視図である。 図16の冷媒蒸発器1における他の実施形態17を示す斜視図である。 (a)(b)とも図1、図16の冷媒蒸発器1における他の実施形態18を示す模式図である。 (a)(b)とも図1、図16の冷媒蒸発器1における他の実施形態19を示す模式図である。 (a)は本発明の第3実施形態におけるサイドタンク12の斜視図であり、(b)は従来のかしめ状態を示す部分側面図、(c)は本発明のかしめ状態を示す部分側面図である。
符号の説明
1L…前チュ−ブ列(第1チュ−ブ列)
1P…前側コア部(第1パス部)
2L…後チュ−ブ列(第2チュ−ブ列)
2P…後側コア部(第2パス部)
4…扁平チュ−ブ(チュ−ブ)
5…コルゲ−トフィン(フィン)
6a…冷媒導入部
6b…冷媒導出部
7…ヘッダプレート
7A…ロウ付け機能部分
7B、7C…冷媒集配空間機能部分
9…キャップ
10…分配プレート
10a…連通孔、冷媒集合部
10b、10c…連通孔、冷媒分配部
11…タンクヘッダプレート
11a…タンク部、冷媒集合部
11b、11c…タンク部、冷媒分配部
12…サイドタンク(連通部材)
12a〜12c…開口部
12d、12e…爪部
14…ヘッダプレート
14a…連通部、タンク部
14c…凸部分
15…空間形成プレート
15a…空間孔、冷媒集合部、冷媒分配部
15b…切り起こし部
15c…細孔部
16…交差プレート
16a…連通孔、冷媒集合部、冷媒分配部
16b…細孔部
17…タンクヘッダプレート
17a…連通部、タンク部
17b…凸部分
H1〜H4…平面ロウ付け部
h1、h2…孔部
h3…小孔
k1…切り欠き部
k2〜k4…切れ込み部
Ta〜Td…連通防止部
t…板厚

Claims (27)

  1. 外部を流れる被冷却流体と内部を流れる冷媒との熱交換を行う冷媒蒸発器であり、
    冷媒流れは、冷媒導入部(6a)と冷媒導出部(6b)との間に、少なくとも第1パス部(1P)と第2パス部(2P)とを有し、
    チュ−ブ(4)を並列させたチュ−ブ列で形成されるコア部と、前記第1パス部(1P)を経た冷媒を集合する冷媒集合部(10a、11a)と、冷媒を前記第2パス部(2P)に分配する冷媒分配部(10b、10c、11b、11c)とを備え、
    前記コア部は、左右略全領域で前記第1パス部(1P)および前記第2パス部(2P)をそれぞれ形成する第1チュ−ブ列(1L)と第2チュ−ブ列(2L)とを前後の一方ずつに備え、
    前記冷媒集合部(10a、11a)は、前記第1パス部(1P)の冷媒を、左右に分割して集合させる構造を有し、
    前記冷媒分配部(10b、10c、11b、11c)は、一対の前後に配列されたタンク部(11b、11c)で形成され、前記第1パス部(1P)とは左右方向で別領域に前記第2パス部(2P)が形成されるように分配する構造を有し、
    前記冷媒集合部(10a、11a)と前記冷媒分配部(10b、10c、11b、11c)とは一対の連通部材(12)を介して接続されていることを特徴とする冷媒蒸発器。
  2. 前記タンク部(11b、11c)と前記連通部材(12)内とを連通させない部位において、前記連通部材(12)の側面部を用いて連通を防いだことを特徴とする請求項1に記載の冷媒蒸発器。
  3. 前記連通部材(12)内と連通させない前記タンク部(11b、11c)の長手方向端部に切り欠き部(k1)を設け、その切り欠いた長手方向端部に前記連通部材(12)の外側側面部を当接させて前記連通を防いだことを特徴とする請求項2に記載の冷媒蒸発器。
  4. 前記連通部材(12)内と連通させない前記タンク部(11b、11c)の長手方向端部に切れ込み部(k2)を設け、その切れ込み部(k2)に前記連通部材(12)の一方の側面部を挿入して前記連通を防いだことを特徴とする請求項2に記載の冷媒蒸発器。
  5. 各タンク部(11a、11b、11c)の長手方向端部に一致した切れ込み部(k3)を設け、その切れ込み部(k3)に前記連通部材(12)の一方の側面部を挿入すると共に、前記連通部材(12)内と前記各タンク部(11a、11b、11c)とを連通させる部位には前記側面部に開口部(12a、12b、12c)を設け、連通させない部位には前記側面部に前記開口部(12a、12b、12c)を設けないことで前記連通を防いだことを特徴とする請求項2に記載の冷媒蒸発器。
  6. 前記連通部材(12)内となる各タンク部(11a、11b、11c)の長手方向端部上面側に孔部(h1、h2)を設け、その孔部(h1、h2)にて前記連通部材(12)内と前記各タンク部(11a、11b、11c)との連通を取り、連通取らない前記タンク部(11b、11c)では前記孔部(h1、h2)を設けないと共に、その長手方向端部を前記連通部材(12)の内側側面部を当接させて前記連通を防いだことを特徴とする請求項2に記載の冷媒蒸発器。
  7. 前記連通部材(12)を略半円筒形状に加工したことを特徴とする請求項1に記載の冷媒蒸発器。
  8. 前記連通部材(12)に、他の部材とのかしめ結合用の爪部(12d)を形成したことを特徴とする請求項1に記載の冷媒蒸発器。
  9. 各タンク部(11a、11b、11c)の長手方向端部に切れ込み部(k4)を設けると共に、前記連通部材(12)に前記切れ込み部(k4)に嵌合する爪部(12e)を形成したことを特徴とする請求項1に記載の冷媒蒸発器。
  10. 前記冷媒集合部(10a、11a)と前記冷媒分配部(10b、10c、11b、11c)は、前記各チュ−ブ(4)を接続するヘッダプレート(7)と、各タンク部(11a、11b、11c)を一体に形成したタンクヘッダプレート(11)と、これらの間に配されて前記各チュ−ブ(4)と前記各タンク部(11a、11b、11c)とを連通させる連通孔(10a〜10c)を設けた分配プレート(10)とを積層して形成したことを特徴とする請求項1に記載の冷媒蒸発器。
  11. 前記分配プレート(10)に形成する前記連通孔(10a〜10c)を、左右に分割される前記第1パス部(1P)および前記第2パス部(2P)に対応して複数連結して開けたことを特徴とする請求項10に記載の冷媒蒸発器。
  12. 前記ヘッダプレート(7)を、前記各チュ−ブ(4)とのロウ付け機能部分(7A)と、前記各チュ−ブ(4)との間の冷媒集配空間機能部分(7B、7C)とに分けて構成したことを特徴とする請求項10に記載の冷媒蒸発器。
  13. 前記ヘッダプレート(7)と前記分配プレート(10)との間、および前記分配プレート(10)と前記タンクヘッダプレート(11)との間の平面ロウ付け部(H1〜H4)において、接合されるいずれかの側にプレート(7、10、11)に小孔(h3)を設けたことを特徴とする請求項10に記載の冷媒蒸発器。
  14. 外部を流れる被冷却流体と内部を流れる冷媒との熱交換を行う冷媒蒸発器であり、
    冷媒流れは、冷媒導入部(6a)と冷媒導出部(6b)との間に、少なくとも第1パス部(1P)と第2パス部(2P)とを有し、
    チュ−ブ(4)を並列させたチュ−ブ列で形成されるコア部と、前記第1パス部(1P)を経た冷媒を集合する冷媒集合部(15a、16a)と、冷媒を前記第2パス部(2P)に分配する冷媒分配部(15a、16a)と、前記冷媒集合部(15a、16a)と前記冷媒分配部(15a、16a)とを連通させる一対のタンク部(14a、17a)とを備え、
    前記コア部は、左右略全領域で前記第1パス部(1P)および前記第2パス部(2P)をそれぞれ形成する第1チュ−ブ列(1L)と第2チュ−ブ列(2L)とを前後の一方ずつに備え、
    前記冷媒集合部(15a、16a)と前記冷媒分配部(15a、16a)とは、それぞれ左右に分割されており、
    前記一対のタンク部(14a、17a)は、それぞれ左右方向で別領域の前記冷媒集合部(15a、16a)と前記冷媒分配部(15a、16a)とを連通させることを特徴とする冷媒蒸発器。
  15. 前記冷媒集合部(15a、16a)と前記冷媒分配部(15a、16a)と前記一対のタンク部(14a、17a)は、前記各チュ−ブ(4)を接続すると共に前記タンク部(14a)を有するヘッダプレート(14)、冷媒集配空間機能を果たす空間形成プレート(15)、それぞれ左右方向で別領域の前記冷媒集合部(15a、16a)と前記冷媒分配部(15a、16a)とを交差させて連通させるため連通防止部(Ta〜Td)を設けた交差プレート(16)、前記空間形成プレート(15)、および前記タンク部(17a)を有するタンクヘッダプレート(17)を積層して形成していることを特徴とする請求項14に記載の冷媒蒸発器。
  16. 前記ヘッダプレート(14)および前記タンクヘッダプレート(17)に前記各チュ−ブ(4)に対応する凸部分(14c、17b)を形成することで、前記空間形成プレート(15)が果たしていた冷媒集配空間機能を一体に持たせたことを特徴とする請求項15に記載の冷媒蒸発器。
  17. 前記空間形成プレート(15)に形成する空間孔(15a)、および前記交差プレート(16)に形成する連通孔(16a)と前記連通防止部(Ta〜Td)を、左右に分割される前記第1パス部(1P)および前記第2パス部(2P)に対応して複数連結して大きく形成したことを特徴とする請求項15に記載の冷媒蒸発器。
  18. 前記空間形成プレート(15)に形成する空間孔(15a)と前記交差プレート(16)に形成する連通孔(16a)とを、左右に分割される前記第1パス部(1P)および前記第2パス部(2P)に対応して複数連結して大きく形成すると共に、前記連通防止部(Ta〜Td)を前記空間形成プレート(15)に形成して前記交差プレート(16)を仕切り板機能だけにしたことを特徴とする請求項15に記載の冷媒蒸発器。
  19. 前記ヘッダプレート(14)および前記タンクヘッダプレート(17)に対して前記交差プレート(16)に設けた前記連通防止部(Ta〜Td)が、前記交差プレート(16)を形成する板材の表裏面にて当接するようにしたことを特徴とする請求項15に記載の冷媒蒸発器。
  20. 前記各チュ−ブ(4)間に配されるフィン(5)の端部を前記ヘッダプレート(14)に形成された前記タンク部(14a)の外面に接触するようにしたことを特徴とする請求項15に記載の冷媒蒸発器。
  21. 前記空間形成プレート(15)の長手方向両端部に切り起こし部(15b)を設けて前記タンク部(14a、17a)の長手方向両端の封止手段としたことを特徴とする請求項15に記載の冷媒蒸発器。
  22. 前記空間形成プレート(15)および前記交差プレート(16)の長手方向両端部に細孔部(15c、16b)を設けると共に、その細孔部(15c、16b)に縦長としたキャップ(9)を挿入して前記タンク部(14a、17a)の長手方向両端の封止手段としたことを特徴とする請求項15に記載の冷媒蒸発器。
  23. 被冷却流体の流れ方向に前記チュ−ブ列を3列以上備えた冷媒蒸発器において、前後左右で交差させて別領域にパスさせる、いわゆる前後左右クロスパスを、全部または一部の前記チュ−ブ列で形成したことを特徴とする請求項1または請求項14に記載の冷媒蒸発器。
  24. 被冷却流体の流れ方向に前記チュ−ブ列を複数備えた冷媒蒸発器において、前後左右で交差させて別領域にパスさせる、いわゆる前後左右クロスパスを、コア面全部または一部の前記チュ−ブ(4)で形成したことを特徴とする請求項1または請求項14に記載の冷媒蒸発器。
  25. 前記ヘッダプレート(7、14)、前記分配プレート(10)、前記タンクヘッダプレート(11、17)、前記空間形成プレート(15)および前記交差プレート(16)のいずれかを積層してかしめ結合する場合、そのかしめ部を前記各チュ−ブ(4)間となる位置に配置したことを特徴とする請求項10または請求項15に記載の冷媒蒸発器。
  26. 前記分配プレート(10)、前記空間形成プレート(15)および前記交差プレート(16)のいずれかを両面クラッド材にて構成したことを特徴とする請求項10または請求項15に記載の冷媒蒸発器。
  27. 外部を流れる流体と内部を流れる冷媒との熱交換を行う熱交換器において、構成する板部材間をかしめ結合する場合、前記板部材に設けられたかしめ結合用の爪部(12d)を、前記板部材の板厚(t)方向と直交する方向に変形させることを特徴とする熱交換器。
JP2004114569A 2004-04-08 2004-04-08 冷媒蒸発器 Expired - Fee Related JP4120611B2 (ja)

Priority Applications (3)

Application Number Priority Date Filing Date Title
JP2004114569A JP4120611B2 (ja) 2004-04-08 2004-04-08 冷媒蒸発器
US11/100,155 US7367203B2 (en) 2004-04-08 2005-04-06 Refrigerant evaporator
DE102005015799.8A DE102005015799B4 (de) 2004-04-08 2005-04-06 Kältemittelverdampfer

Applications Claiming Priority (1)

Application Number Priority Date Filing Date Title
JP2004114569A JP4120611B2 (ja) 2004-04-08 2004-04-08 冷媒蒸発器

Publications (2)

Publication Number Publication Date
JP2005299981A true JP2005299981A (ja) 2005-10-27
JP4120611B2 JP4120611B2 (ja) 2008-07-16

Family

ID=35135041

Family Applications (1)

Application Number Title Priority Date Filing Date
JP2004114569A Expired - Fee Related JP4120611B2 (ja) 2004-04-08 2004-04-08 冷媒蒸発器

Country Status (3)

Country Link
US (1) US7367203B2 (ja)
JP (1) JP4120611B2 (ja)
DE (1) DE102005015799B4 (ja)

Cited By (10)

* Cited by examiner, † Cited by third party
Publication number Priority date Publication date Assignee Title
JP2007218442A (ja) * 2006-02-14 2007-08-30 Showa Denko Kk 熱交換器
WO2013132826A1 (ja) * 2012-03-06 2013-09-12 株式会社デンソー 冷媒蒸発器
JP2013195029A (ja) * 2012-03-22 2013-09-30 Denso Corp 冷媒蒸発器
WO2014006897A1 (ja) * 2012-07-04 2014-01-09 株式会社デンソー 冷媒蒸発器
WO2014188690A1 (ja) * 2013-05-24 2014-11-27 株式会社デンソー 冷媒蒸発器
WO2020244397A1 (zh) * 2019-06-03 2020-12-10 杭州三花研究院有限公司 集管箱、换热器及集管箱的制备方法
WO2021170139A1 (zh) * 2020-02-28 2021-09-02 杭州三花研究院有限公司 换热器
KR20220140419A (ko) * 2021-04-09 2022-10-18 도시바 캐리어 가부시키가이샤 열교환기 및 냉동 사이클 장치
JP7590519B2 (ja) 2019-12-24 2024-11-26 日本キヤリア株式会社 熱交換器および冷凍サイクル装置
WO2025053631A1 (ko) * 2023-09-06 2025-03-13 한온시스템 주식회사 열교환기의 헤더탱크

Families Citing this family (30)

* Cited by examiner, † Cited by third party
Publication number Priority date Publication date Assignee Title
JP4281634B2 (ja) * 2004-06-28 2009-06-17 株式会社デンソー 冷媒蒸発器
CN101317049A (zh) * 2005-11-21 2008-12-03 江森控制丹麦有限公司 具有集成冷凝器和膨胀阀的冷却系统
FR2898669B1 (fr) * 2006-03-15 2008-12-05 Valeo Systemes Thermiques Boite collectrice amelioree pour echangeur a chambres multiples et echangeur de chaleur correspondant
US7485234B2 (en) * 2006-06-08 2009-02-03 Marine Desalination Systems, Llc Hydrate-based desalination using compound permeable restraint panels and vaporization-based cooling
JP2008008574A (ja) * 2006-06-30 2008-01-17 Denso Corp 熱交換器
DK2079973T3 (da) * 2006-10-13 2012-08-13 Carrier Corp Varmeveksler med mange strømningsbaner, og hvor der findes tilbageløbs-forgreningsrør med indskudte fordelingsorganer
KR100941301B1 (ko) * 2007-06-15 2010-02-11 주식회사 경동나비엔 열교환기
CN201059823Y (zh) * 2007-06-19 2008-05-14 上海双桦汽车零部件股份有限公司 平行流蒸发器
FR2923902A1 (fr) * 2007-11-16 2009-05-22 Valeo Systemes Thermiques Boite collectrice pour echangeur de chaleur amelioree et echangeur de chaleur correspondant
ITPN20080018A1 (it) * 2008-02-29 2009-09-01 Xchange S R L "scambiatore di calore con testate componibili"
FR2947332B1 (fr) * 2009-06-25 2011-07-22 Valeo Systemes Thermiques Boite collectrice pour echangeur de chaleur ayant une aptitude au brasage amelioree
US9279626B2 (en) 2012-01-23 2016-03-08 Honeywell International Inc. Plate-fin heat exchanger with a porous blocker bar
US10571168B2 (en) 2012-09-03 2020-02-25 Trane International Inc. Methods and systems to manage refrigerant in a heat exchanger
JP5998854B2 (ja) * 2012-10-31 2016-09-28 株式会社デンソー 冷媒蒸発器
JP6098343B2 (ja) 2013-05-10 2017-03-22 株式会社デンソー 冷媒蒸発器
US10161659B2 (en) 2013-05-20 2018-12-25 Denso Corporation Refrigerant evaporator
USD720841S1 (en) * 2013-09-05 2015-01-06 Keihin Thermal Technology Corporation Connecting tool for evaporator
US10054376B2 (en) * 2013-10-29 2018-08-21 Mitsubishi Electric Corporation Heat exchanger and air-conditioning apparatus
CN105318745A (zh) * 2014-07-30 2016-02-10 上海德朗汽车散热器制造有限公司 一种车用油冷器
CN107003085B (zh) * 2014-11-04 2019-01-04 三菱电机株式会社 层叠型集管、热交换器以及空调装置
JP6558269B2 (ja) 2015-02-27 2019-08-14 株式会社デンソー 冷媒蒸発器
US9816766B2 (en) * 2015-05-06 2017-11-14 Hamilton Sundstrand Corporation Two piece manifold
US11480398B2 (en) * 2015-05-22 2022-10-25 The Johns Hopkins University Combining complex flow manifold with three dimensional woven lattices as a thermal management unit
EP3926258B1 (en) * 2016-10-26 2022-09-14 Mitsubishi Electric Corporation Distributor and heat exchanger
US10240874B2 (en) 2017-08-04 2019-03-26 Denso International America, Inc. Radiator tank
CN112888910B (zh) * 2018-10-29 2022-06-24 三菱电机株式会社 热交换器以及制冷循环装置
FR3089612A1 (fr) * 2018-12-10 2020-06-12 Valeo Systemes Thermiques Boîte collectrice pour echangeur de chaleur et echangeur de chaleur comprenant une telle boîte collectrice
DE102021208717A1 (de) * 2021-08-10 2023-02-16 Mahle International Gmbh Wärmeübertrager
EP4382846A1 (en) * 2022-12-05 2024-06-12 Valeo Systemes Thermiques A heat exchanger for vehicles
DE102023100727A1 (de) * 2023-01-13 2024-07-18 Mahle International Gmbh Wärmeübertrager mit einem verbesserten Temperaturprofil

Citations (6)

* Cited by examiner, † Cited by third party
Publication number Priority date Publication date Assignee Title
JPS6076788U (ja) * 1983-10-31 1985-05-29 住友精密工業株式会社 熱交換器用ヘツダ−
JPS63173673U (ja) * 1987-04-28 1988-11-10
JPH05296606A (ja) * 1992-03-31 1993-11-09 Modine Mfg Co 高効率蒸発器
JP2002031495A (ja) * 2000-07-14 2002-01-31 Denso Corp 熱交換器の製造方法
JP2004003810A (ja) * 2002-04-03 2004-01-08 Denso Corp 熱交換器
JP2005207716A (ja) * 2003-04-21 2005-08-04 Denso Corp 冷媒蒸発器

Family Cites Families (8)

* Cited by examiner, † Cited by third party
Publication number Priority date Publication date Assignee Title
US5241839A (en) * 1991-04-24 1993-09-07 Modine Manufacturing Company Evaporator for a refrigerant
JP3358250B2 (ja) * 1992-10-21 2002-12-16 株式会社デンソー 冷媒蒸発器
US5562157A (en) * 1994-09-30 1996-10-08 Nippondenso Co., Ltd. Heat exchanger
JPH10185463A (ja) * 1996-12-19 1998-07-14 Sanden Corp 熱交換器
TW552382B (en) * 2001-06-18 2003-09-11 Showa Dendo Kk Evaporator, manufacturing method of the same, header for evaporator and refrigeration system
US6516486B1 (en) * 2002-01-25 2003-02-11 Delphi Technologies, Inc. Multi-tank evaporator for improved performance and reduced airside temperature spreads
JP4024095B2 (ja) 2002-07-09 2007-12-19 カルソニックカンセイ株式会社 熱交換器
JP2004333065A (ja) * 2003-05-09 2004-11-25 Showa Denko Kk 蒸発器、冷凍システム、そのシステムを備えた車両及び冷媒の蒸発方法

Patent Citations (6)

* Cited by examiner, † Cited by third party
Publication number Priority date Publication date Assignee Title
JPS6076788U (ja) * 1983-10-31 1985-05-29 住友精密工業株式会社 熱交換器用ヘツダ−
JPS63173673U (ja) * 1987-04-28 1988-11-10
JPH05296606A (ja) * 1992-03-31 1993-11-09 Modine Mfg Co 高効率蒸発器
JP2002031495A (ja) * 2000-07-14 2002-01-31 Denso Corp 熱交換器の製造方法
JP2004003810A (ja) * 2002-04-03 2004-01-08 Denso Corp 熱交換器
JP2005207716A (ja) * 2003-04-21 2005-08-04 Denso Corp 冷媒蒸発器

Cited By (15)

* Cited by examiner, † Cited by third party
Publication number Priority date Publication date Assignee Title
JP2007218442A (ja) * 2006-02-14 2007-08-30 Showa Denko Kk 熱交換器
WO2013132826A1 (ja) * 2012-03-06 2013-09-12 株式会社デンソー 冷媒蒸発器
JP2013185723A (ja) * 2012-03-06 2013-09-19 Denso Corp 冷媒蒸発器
US9631841B2 (en) 2012-03-06 2017-04-25 Denso Corporation Refrigerant evaporator
JP2013195029A (ja) * 2012-03-22 2013-09-30 Denso Corp 冷媒蒸発器
WO2014006897A1 (ja) * 2012-07-04 2014-01-09 株式会社デンソー 冷媒蒸発器
JP2014228234A (ja) * 2013-05-24 2014-12-08 株式会社デンソー 冷媒蒸発器
WO2014188690A1 (ja) * 2013-05-24 2014-11-27 株式会社デンソー 冷媒蒸発器
US10107532B2 (en) 2013-05-24 2018-10-23 Denso Corporation Refrigerant evaporator having a tank external refrigerant space
WO2020244397A1 (zh) * 2019-06-03 2020-12-10 杭州三花研究院有限公司 集管箱、换热器及集管箱的制备方法
JP7590519B2 (ja) 2019-12-24 2024-11-26 日本キヤリア株式会社 熱交換器および冷凍サイクル装置
WO2021170139A1 (zh) * 2020-02-28 2021-09-02 杭州三花研究院有限公司 换热器
KR20220140419A (ko) * 2021-04-09 2022-10-18 도시바 캐리어 가부시키가이샤 열교환기 및 냉동 사이클 장치
KR102725038B1 (ko) * 2021-04-09 2024-10-31 니혼 캐리어 가부시키가이샤 열교환기 및 냉동 사이클 장치
WO2025053631A1 (ko) * 2023-09-06 2025-03-13 한온시스템 주식회사 열교환기의 헤더탱크

Also Published As

Publication number Publication date
DE102005015799A1 (de) 2006-05-24
US20050235691A1 (en) 2005-10-27
JP4120611B2 (ja) 2008-07-16
US7367203B2 (en) 2008-05-06
DE102005015799B4 (de) 2018-03-29

Similar Documents

Publication Publication Date Title
JP4120611B2 (ja) 冷媒蒸発器
JP4281634B2 (ja) 冷媒蒸発器
JP2737987B2 (ja) 積層型蒸発器
US7886811B2 (en) Evaporator and process for fabricating same
CN101069060B (zh) 换热器
KR101786965B1 (ko) 헤더유닛 및 이를 가지는 열교환기
KR101462173B1 (ko) 열교환기
JPWO2004005831A1 (ja) 熱交換器用チューブ
JP5408951B2 (ja) 冷媒蒸発器およびそれを用いた空調装置
JP2014055736A (ja) 熱交換器
JP5660068B2 (ja) 冷媒蒸発器
JP2001324244A (ja) 熱交換器
JP2014089012A (ja) 冷媒蒸発器
JP2009144997A (ja) 熱交換器
WO2012165225A1 (ja) 熱交換器
JP2004044851A (ja) 熱交換器
JP4207855B2 (ja) 冷媒蒸発器
US8002024B2 (en) Heat exchanger with inlet having a guide
JP2010107131A (ja) 冷媒蒸発器
JP2005321137A (ja) 熱交換器
JP2000055573A (ja) 冷媒蒸発器
JP2017190896A (ja) 熱交換器
JP5499834B2 (ja) 蒸発器
JP5525805B2 (ja) 熱交換器
JP3596267B2 (ja) 冷媒蒸発器

Legal Events

Date Code Title Description
A621 Written request for application examination

Free format text: JAPANESE INTERMEDIATE CODE: A621

Effective date: 20060530

A977 Report on retrieval

Free format text: JAPANESE INTERMEDIATE CODE: A971007

Effective date: 20070903

TRDD Decision of grant or rejection written
A01 Written decision to grant a patent or to grant a registration (utility model)

Free format text: JAPANESE INTERMEDIATE CODE: A01

Effective date: 20080401

A61 First payment of annual fees (during grant procedure)

Free format text: JAPANESE INTERMEDIATE CODE: A61

Effective date: 20080414

FPAY Renewal fee payment (event date is renewal date of database)

Free format text: PAYMENT UNTIL: 20110509

Year of fee payment: 3

R150 Certificate of patent or registration of utility model

Ref document number: 4120611

Country of ref document: JP

Free format text: JAPANESE INTERMEDIATE CODE: R150

Free format text: JAPANESE INTERMEDIATE CODE: R150

FPAY Renewal fee payment (event date is renewal date of database)

Free format text: PAYMENT UNTIL: 20120509

Year of fee payment: 4

FPAY Renewal fee payment (event date is renewal date of database)

Free format text: PAYMENT UNTIL: 20120509

Year of fee payment: 4

FPAY Renewal fee payment (event date is renewal date of database)

Free format text: PAYMENT UNTIL: 20130509

Year of fee payment: 5

FPAY Renewal fee payment (event date is renewal date of database)

Free format text: PAYMENT UNTIL: 20140509

Year of fee payment: 6

R250 Receipt of annual fees

Free format text: JAPANESE INTERMEDIATE CODE: R250

R250 Receipt of annual fees

Free format text: JAPANESE INTERMEDIATE CODE: R250

S802 Written request for registration of partial abandonment of right

Free format text: JAPANESE INTERMEDIATE CODE: R311802

R350 Written notification of registration of transfer

Free format text: JAPANESE INTERMEDIATE CODE: R350

R250 Receipt of annual fees

Free format text: JAPANESE INTERMEDIATE CODE: R250

R250 Receipt of annual fees

Free format text: JAPANESE INTERMEDIATE CODE: R250

R250 Receipt of annual fees

Free format text: JAPANESE INTERMEDIATE CODE: R250

R250 Receipt of annual fees

Free format text: JAPANESE INTERMEDIATE CODE: R250

R250 Receipt of annual fees

Free format text: JAPANESE INTERMEDIATE CODE: R250

R250 Receipt of annual fees

Free format text: JAPANESE INTERMEDIATE CODE: R250

R250 Receipt of annual fees

Free format text: JAPANESE INTERMEDIATE CODE: R250

LAPS Cancellation because of no payment of annual fees