JP2005297923A - 四輪駆動車両 - Google Patents

四輪駆動車両 Download PDF

Info

Publication number
JP2005297923A
JP2005297923A JP2004120847A JP2004120847A JP2005297923A JP 2005297923 A JP2005297923 A JP 2005297923A JP 2004120847 A JP2004120847 A JP 2004120847A JP 2004120847 A JP2004120847 A JP 2004120847A JP 2005297923 A JP2005297923 A JP 2005297923A
Authority
JP
Japan
Prior art keywords
axle
hydraulic
drive device
driving
housing
Prior art date
Legal status (The legal status is an assumption and is not a legal conclusion. Google has not performed a legal analysis and makes no representation as to the accuracy of the status listed.)
Pending
Application number
JP2004120847A
Other languages
English (en)
Inventor
Toshitaka Hasegawa
利恭 長谷川
Nobuhiro Ishii
宣広 石井
Koji Iwaki
浩二 岩木
Takeaki Nozaki
豪朗 野崎
Hiroaki Shimizu
浩明 清水
Current Assignee (The listed assignees may be inaccurate. Google has not performed a legal analysis and makes no representation or warranty as to the accuracy of the list.)
Kanzaki Kokyukoki Manufacturing Co Ltd
Original Assignee
Kanzaki Kokyukoki Manufacturing Co Ltd
Priority date (The priority date is an assumption and is not a legal conclusion. Google has not performed a legal analysis and makes no representation as to the accuracy of the date listed.)
Filing date
Publication date
Application filed by Kanzaki Kokyukoki Manufacturing Co Ltd filed Critical Kanzaki Kokyukoki Manufacturing Co Ltd
Priority to JP2004120847A priority Critical patent/JP2005297923A/ja
Priority to US11/104,457 priority patent/US20050230171A1/en
Priority to DE602005008299T priority patent/DE602005008299D1/de
Priority to EP05008220A priority patent/EP1586479B1/en
Publication of JP2005297923A publication Critical patent/JP2005297923A/ja
Pending legal-status Critical Current

Links

Images

Classifications

    • BPERFORMING OPERATIONS; TRANSPORTING
    • B60VEHICLES IN GENERAL
    • B60KARRANGEMENT OR MOUNTING OF PROPULSION UNITS OR OF TRANSMISSIONS IN VEHICLES; ARRANGEMENT OR MOUNTING OF PLURAL DIVERSE PRIME-MOVERS IN VEHICLES; AUXILIARY DRIVES FOR VEHICLES; INSTRUMENTATION OR DASHBOARDS FOR VEHICLES; ARRANGEMENTS IN CONNECTION WITH COOLING, AIR INTAKE, GAS EXHAUST OR FUEL SUPPLY OF PROPULSION UNITS IN VEHICLES
    • B60K17/00Arrangement or mounting of transmissions in vehicles
    • B60K17/34Arrangement or mounting of transmissions in vehicles for driving both front and rear wheels, e.g. four wheel drive vehicles
    • B60K17/356Arrangement or mounting of transmissions in vehicles for driving both front and rear wheels, e.g. four wheel drive vehicles having fluid or electric motor, for driving one or more wheels
    • BPERFORMING OPERATIONS; TRANSPORTING
    • B60VEHICLES IN GENERAL
    • B60KARRANGEMENT OR MOUNTING OF PROPULSION UNITS OR OF TRANSMISSIONS IN VEHICLES; ARRANGEMENT OR MOUNTING OF PLURAL DIVERSE PRIME-MOVERS IN VEHICLES; AUXILIARY DRIVES FOR VEHICLES; INSTRUMENTATION OR DASHBOARDS FOR VEHICLES; ARRANGEMENTS IN CONNECTION WITH COOLING, AIR INTAKE, GAS EXHAUST OR FUEL SUPPLY OF PROPULSION UNITS IN VEHICLES
    • B60K17/00Arrangement or mounting of transmissions in vehicles
    • B60K17/04Arrangement or mounting of transmissions in vehicles characterised by arrangement, location or kind of gearing
    • B60K17/10Arrangement or mounting of transmissions in vehicles characterised by arrangement, location or kind of gearing of fluid gearing
    • B60K17/105Units comprising at least a part of the gearing and a torque-transmitting axle, e.g. transaxles
    • BPERFORMING OPERATIONS; TRANSPORTING
    • B60VEHICLES IN GENERAL
    • B60WCONJOINT CONTROL OF VEHICLE SUB-UNITS OF DIFFERENT TYPE OR DIFFERENT FUNCTION; CONTROL SYSTEMS SPECIALLY ADAPTED FOR HYBRID VEHICLES; ROAD VEHICLE DRIVE CONTROL SYSTEMS FOR PURPOSES NOT RELATED TO THE CONTROL OF A PARTICULAR SUB-UNIT
    • B60W10/00Conjoint control of vehicle sub-units of different type or different function
    • B60W10/04Conjoint control of vehicle sub-units of different type or different function including control of propulsion units
    • BPERFORMING OPERATIONS; TRANSPORTING
    • B60VEHICLES IN GENERAL
    • B60WCONJOINT CONTROL OF VEHICLE SUB-UNITS OF DIFFERENT TYPE OR DIFFERENT FUNCTION; CONTROL SYSTEMS SPECIALLY ADAPTED FOR HYBRID VEHICLES; ROAD VEHICLE DRIVE CONTROL SYSTEMS FOR PURPOSES NOT RELATED TO THE CONTROL OF A PARTICULAR SUB-UNIT
    • B60W10/00Conjoint control of vehicle sub-units of different type or different function
    • B60W10/10Conjoint control of vehicle sub-units of different type or different function including control of change-speed gearings
    • B60W10/101Infinitely variable gearings
    • B60W10/103Infinitely variable gearings of fluid type

Landscapes

  • Engineering & Computer Science (AREA)
  • Chemical & Material Sciences (AREA)
  • Combustion & Propulsion (AREA)
  • Transportation (AREA)
  • Mechanical Engineering (AREA)
  • Motor Power Transmission Devices (AREA)
  • Arrangement And Driving Of Transmission Devices (AREA)

Abstract

【課題】エンジンを挟んで前後に車軸駆動装置を配してなる四輪駆動車両をコンパクトかつ低コストに構成する。
【解決手段】エンジン7を挟んで、後車軸9を駆動する後車軸駆動装置8と、前車軸14を駆動する前車軸駆動装置13とを機体前後に配設しており、該前車軸駆動装置13は、該前車軸14駆動用に油圧モータ41を備えており、該後車軸駆動装置8は、後車軸9駆動用に正逆転切換機能を有する変速機構を備えてエンジン7に駆動連結しているとともに、該前車軸駆動装置13の油圧モータ41に作動油を供給するための油圧ポンプ40を備えている。
【選択図】図1

Description

本発明は、前輪と後輪との間に原動機が配置される車両、特に運搬車において、前輪に対する伝動構造を油圧駆動化した四輪駆動車両に関する。
従来、内燃機関等の原動機を挟んで、(例えば後輪用の)第一車軸を支持し駆動する第一車軸駆動装置と、(例えば前輪用の)第二車軸を支持し駆動する第二車軸駆動装置とを機体前後に配設しており、該第一車軸駆動装置の左右一側に設けた入力部を、CVT(ベルト式無段変速装置)を介して該原動機に駆動連結し、該入力部とは反対側の該第一車軸駆動装置の左右他側部に動力取出し部(PTO部)を連設し、該PTO部を前記第二車軸駆動装置の入力部にベベルギアや伝動軸、或いはユニバーサルジョイント等で駆動連結した構造を有する四輪駆動運搬車が公知となっており、例えば、特許文献1に記載されている。
米国特許出願公開第2001/4031号明細書
しかし、前記の従来の車両構造では、前記第一車軸駆動装置に、前述のような特別のPTO部を構成する必要があり、さらに、原動機との干渉を回避して前記第二車軸駆動装置の入力部への伝動系を該PTO部より延設するためには、該PTO部をかなり左右方向に長く取る必要がある。このように、伝動軸やユニバーサルジョイント等で機械式に第一車軸駆動装置と第二車軸駆動装置とを駆動連結するのは、原動機との干渉を回避する点で構造が複雑化し、この伝動機構の配置スペースを確保する分、運搬車のコンパクト性も阻害する。
また、前述のように、一般的には第一車軸駆動装置と原動機とをCVTにて駆動連結しているが、CVTは、放熱のためにカバーで覆わずにむき出しになっており、その分、寿命が短いので、代替の無段変速装置が望まれる。
本発明は、四輪駆動車両に関しての以上の如き課題を次のような手段で解決するものである。まず、本発明は、請求項1記載の如き四輪駆動車両を提供するものであって、即ち、原動機を挟んで、第一車軸を駆動する第一車軸駆動装置と、第二車軸を駆動する第二車軸駆動装置とを機体前後に配設しており、該第二車軸駆動装置は、該第二車軸駆動用に油圧モータを備えており、該第一車軸駆動装置は、前記第一車軸駆動用に正逆転切換機能を有する変速機構を備えて前記原動機に駆動連結しているとともに、該第二車軸駆動装置の油圧モータに作動油を供給するための油圧ポンプを備えている。
このような四輪駆動車両における前記第一車軸駆動装置の好ましい第一様態として、請求項2記載の如く、前記油圧ポンプは、該第一車軸駆動装置のハウジング内に設けた伝動軸をポンプ軸として、該ハウジングに取り付けられている。さらに好ましくは、請求項3記載の如く、該伝動軸を、該第一車軸駆動装置の変速機構の出力軸により駆動されている。
また、前記第一車軸駆動装置の好ましい第二様態として、請求項4記載の如く、前記変速機構が、該第一車軸駆動装置のハウジング外に設けた上手側の第一変速機構と、該ハウジング内に設けた下手側の第二変速機構とよりなるものとしている。さらに好ましくは、請求項5記載の如く、該第一変速機構をCVTとし、前記第二変速機構が前記の正逆切換機能を有するものとし、該第二変速機構の出力軸をポンプ軸として前記油圧ポンプを設けている。
また、前記第一車軸駆動装置の好ましい第三様態として、請求項6記載の如く、前記変速機構が、油圧ポンプと第一車軸駆動用の油圧モータとを組み合わせてなるHSTを備えており、該HSTの油圧ポンプを前記の第二車軸駆動装置の油圧モータへの作動油供給用の油圧ポンプとして兼用する。
このような第三様態の第一車軸駆動装置において、好ましくは、請求項7記載の如く、前記油圧ポンプを可変容積型とし、前記の変速機構における正逆転切換機能を該油圧ポンプの吐出方向の切換により現出する。
また、好ましくは、請求項8記載の如く、前記原動機の出力軸をポンプ軸として前記油圧ポンプを設けている。
また、好ましくは、請求項9記載の如く、前記変速機構が前記第一車軸駆動装置のハウジング外に設けた前記HSTと、その下手側であって、該ハウジング内に設けた有段の第二変速機構とよりなるものとし、前記第一車軸駆動用の油圧モータのモータ軸を、該第二変速機構の入力軸としている。
また、好ましくは、請求項10記載の如く、前記第一車軸駆動用の油圧モータを可変容積型とし、前記第一車軸を支持する前記第一車軸駆動装置のハウジング内に収納している。
そして、前記の請求項1記載の如き四輪駆動車両において、前記第二車軸駆動装置の好ましい第一様態として、請求項11記載の如く、前記第二車軸を左右一対とし、該左右一対の第二車軸と前記油圧モータとの間に差動機構を設けている。
また、前記第二車軸駆動装置の好ましい第二様態として、請求項12記載の如く、前記第二車軸を左右一対とし、該左右一対の第二車軸各別駆動用に前記の油圧モータを一対備えている。さらに好ましくは、請求項13記載の如く、前記一対の油圧モータのモータ軸同士を、差動制限機構を介して機械式に接続する。或いは請求項14記載の如く、前記一対の油圧モータを、前記第一車軸駆動装置における油圧ポンプに対し並列接続して前記第二車軸の差動回転を許容するとともに、両油圧モータを直列接続に切替え可能に構成する。
また、前記第二車軸駆動装置の好ましい第三様態として、請求項15記載の如く、前記油圧モータと前記第二車軸との間に、該第二車軸側から該油圧モータへの伝動を防止し、該油圧モータから該第二車軸への伝動のみを可能とするクラッチを介設している。
本発明は、以上のような手段により、以下のような効果を奏する。まず、請求項1記載の如く構成することにより、該第一車軸駆動装置に備えられた油圧ポンプから該第二車軸駆動装置の油圧モータへの油路を、配管等の柔軟な構造によって構成することで、第一・第二車軸駆動装置同士を駆動連結することができ、両車軸駆動装置間に介在する原動機との干渉を容易に回避することができる。
このような四輪駆動車両において、前記第一車軸駆動装置については、その油圧ポンプを、請求項2記載の如く構成することで、油圧ポンプをハウジングと一つのユニットとして取り扱うことができる。さらに、請求項3記載の如く構成することで、該第一車軸駆動装置に備えた油圧ポンプは、該変速機構で変速された後の回転力で駆動された状態にて第二車軸駆動装置の油圧モータに作動油を供給するので、第二車軸駆動装置において、第一車軸に第二車軸を同期させるための減速機構を削減或いは縮小することができる。また、該変速機構が該第一車軸の駆動方向の切換機能を有する場合には、その切換に応じてポンプ軸の回転方向が切り換えられるため、第二車軸駆動装置に特別に第二車軸の駆動方向を切り換えるための機構も不要である。このように、第二変速機構の操作に応じての第一車軸の回転速度や方向の切換に第二車軸を同期させる上で、好適の構造となっている。
また、請求項4記載の如く、第一車軸駆動装置の第二様態として、その前記変速機構を第一変速機構と第二変速機構の組み合わせとすることで、変速のバリエーションを増やすことができ、さらに、第二変速機構のみを第一車軸支持ハウジング内に組み込むことで、該ハウジングをコンパクトに構成できる。さらには、請求項5記載の如く構成することで、第一変速機構たるCVTによる無段変速効果を得ることができ、また、第二車軸駆動装置の油圧モータに対しては、正逆転切換機能を有する第二変速機構の出力軸を前記油圧ポンプのポンプ軸とすることで、第二車軸駆動装置に特別の機能を設けずとも、第一車軸の前後進回転の切換に第二車軸の前後進回転の切換を対応させることができる。
或いは、請求項6記載の如く、第一車軸駆動装置の第三様態として、その前記変速機構をHSTとすることで、前述の如きCVTにより生じていた耐久性についての不具合を解消でき、長期間にわたってメンテナンス作業を不要とする四輪駆動車両を提供できる。
また、この場合に、該HSTの油圧ポンプは、該HST(第一車軸駆動装置駆動用の)の油圧モータと、前記の第二車軸駆動装置の油圧モータとに作動油を供給するものであって、両油圧モータを特に直列に油圧ポンプに接続している場合には、両油圧モータの差動が生じにくいので、後述の請求項15記載の如き発明の効果に関して記述するような、モータがポンプを駆動してしまうという伝動上の不具合は生じず、従って、請求項15記載の如きクラッチを第二車軸駆動装置に設ける必要もない。
また、このような構造において、請求項7記載の如く、可変容積型油圧ポンプにて正逆転切換機能を現出させることができ、請求項8記載の如く原動機の出力軸をポンプ軸として油圧ポンプを設ける構成と相まって、第一車軸を支持するハウジング内に例えば機械式(ギアクラッチ式)の正逆転方向切換手段を設ける必要がなくなり、該ハウジングをコンパクトにすることができる。
また、第一車軸駆動装置の変速機構について、請求項9記載の如く構成することで、HSTを第一車軸支持用ハウジング外に配設し、その下手側の機械式第二変速機構を該ハウジング内に設けることで、該HSTの油圧ポンプが前記の如く正逆転切換機能を有することから、該ハウジング内の機械式第二変速機構については、正逆転切換用の手段を具備せずにすみ、従って、該ハウジングのコンパクト化、或いは、該ハウジング内のスペース拡大化を得ることができる。
或いは、請求項10記載の如く、該HSTの油圧モータを可変容積型とすることにより、この油圧モータが請求項9記載の如き機械式第二変速機構の効果を有するので、逆にいえば該ハウジング内の機械式第二変速機構に代えて可変容積型の油圧モータを該ハウジング内に収納することで、該ハウジング外のHST構成部品を削減でき、第一車軸駆動装置全体としてのコンパクト化につながる。
一方、第二車軸駆動装置に関しては、請求項11記載の如く構成することで、左右一対の第二車軸に対し、その差動を可能としつつ、油圧モータは一つですみ、コンパクトかつ低コストの第二車軸駆動装置を提供できる。
或いは、第二車軸駆動装置を、請求項12記載の如く、該左右一対の第二車軸を各別に一対の油圧モータにて駆動する構成とすることで、機械式差動機構を削除することができ車両レイアウトの自由度が増し、また、該第二車軸駆動装置の一対の油圧モータ個々は小さな容積のもので対応でき、更にモータ回転数を比較的低く設定できるため低騒音の車両が提供できる。
そして、このような構成において、請求項13記載の如く構成することにより、第二車軸の片側が例えば溝にはまったような状態でも他側の駆動力を確実に維持することができる。
或いは、請求項14記載の如く構成することによっても、第二車軸のデフロック作用を得ることができ、また、機械式の差動制限機構ではなく、油圧回路の切り替えで簡易な構成により当該作用を得ることができる。
また、特に、例えば前述のCVTとギア式第二変速機構との組み合わせで構成される第一変速車軸装置によって第二車軸駆動装置の油圧モータを駆動させる場合には、ギア式第二変速機構の出力側に前記油圧モータ駆動用の油圧ポンプを配設する必要があるが第二車軸は地面から摩擦で駆動されるときの回転数と油圧モータにより駆動されるときの回転数とが同期していれば問題はないが、例えば、発進直後などでは油圧ポンプの回転数が低く、この少量の吐出油を受けて駆動される油圧モータの回転数は低回転状態での容積効率特性により地面から摩擦で駆動される第二車軸の回転数よりも低くなる。そのため、第二車軸によって油圧モータが回され、油圧モータが油圧ポンプを逆駆動してしまうという伝動上の不具合が生じる。これに対し、請求項15記載の如く第二車軸駆動装置にクラッチ(ワンウェイクラッチ、もしくはツーウェイクラッチ)を備えることで、第二車軸の回転数が第一車軸の回転数より小さくなった場合では、第二車軸から該油圧モータへの伝動が防止され、このような不具合を生じさせない。
本発明に係る四輪駆動車両、特に四輪駆動運搬車の全体像は、図1に示す如きものである。図2及び図5を参照して図1に示す四輪駆動運搬車を代表例にとりその概略構造を説明する。
この四輪駆動運搬車の機体フレーム1上にはプラットフォーム1bが構成され、その前方にはフロントカバー1aが搭載され、その上部にステアリングハンドル2及び変速(前後進切換)レバー3が突設されている。該ステアリングハンドル2は後述の前輪14の操舵のため、該変速レバー3は、後述の後車軸ハウジング8a内の副変速及び前後進切換機構の操作のために設けられている。また、該フロントカバー1aの足元部の左右一側(右側)にアクセルペダル4が設けられている。なお、フロントカバー1aの足元部の左右他側(左側)には図略のブレーキペダルが設けられている。該機体フレーム1の、プラットフォーム1bより後方部分は一段高くなっていて、その前端上部に運転席5を、その後方に荷台6を搭載している。
該機体フレーム1は、該荷台6の下方にて、前方にエンジン(原動機)7を、後方に後車軸ハウジング8aを支持しており、該後車軸ハウジング8aは、左右一対の後車軸(第一車軸)9を支持し、それぞれ、左右各後輪10に対し、図2に示す如きユニバーサルジョイント11・11及び伝動軸12を介して駆動連結し、さらに機体フレーム1より各後輪10に対し、図示しないサスペンション(コイルバネ、エアシリンダ等)を連結して、該左右後輪10に対し該後車軸ハウジング8aを上下に相対移動可能に支持している。
後車軸ハウジング8aは、後述の左右後車軸9・9同士を差動連結するデフギア機構34(図2参照)を収納しており、後車軸ハウジング8a外に配した後記のCVTやHST等の無段変速機構等を介して該デフギア機構34をエンジン7に駆動連結する構成により、後車軸駆動装置(第一車軸駆動装置)8を構成している。
また、該機体フレーム1は、該フロントカバー1aの下方にて、前車軸駆動装置13(第二車軸駆動装置)の前車軸ハウジング13aを支持しており、該前車軸ハウジング13aは、左右一対の前車軸(第二車軸)14を支持し、それぞれ、左右各前輪15に対し、図5に示す如きユニバーサルジョイント16・18及び伝動軸17を介して駆動連結し、さらに機体フレーム1より各前輪15に対し、図示しないサスペンション(コイルバネ、エアシリンダ等)を連結して、該左右前輪15に対し該前車軸ハウジング13を上下に相対移動可能に支持している。
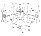
後述の図2〜図4にはそれぞれ後車軸駆動装置8及びそのエンジン7との駆動連係の第一〜第三実施例を、図5〜図9にはそれぞれ前車軸駆動装置13の第二〜第五実施例を描いているが、図1に示す四輪駆動運搬車は、後車軸駆動装置8及びそのエンジン7との駆動連係に関しては図2に示す第一実施例を、前車軸駆動装置13に関しては図5に示す第一実施例を採用している。即ち、図2に示す如く、エンジン7及び後車軸駆動装置8の左右一側にて、エンジン7の出力軸7aと後車軸ハウジング8a内の副変速機構の入力軸21とを、主変速機構たるCVT20にて駆動連結しており、該後車軸ハウジング8aの左右他側に、油圧ポンプ40を取り付けている。一方、前車軸駆動装置13は、図5に示すように、両車軸14間にデフギア機構42(図1では図略)を介設しており、その前方にて、前記油圧ポンプ40より作動油を供給される油圧モータ41を配置している。なお、左右前輪15は操舵可能に支持されており、図1に示す如く、両前輪15間にパワーステアリングシリンダ30が設けられて、前記ハンドル2の操作にてパワーステアリングシリンダ30のピストンを移動させて、両前輪15を操舵する。
図2に示す後車軸駆動装置8及びそのエンジン7との駆動連係の第一実施例を説明する。前記の入力軸21が左右に延伸されて後車軸ハウジング8a内にて軸支されており、該ハウジング8a内にて、該入力軸21上には回転センサ(ガバナウェイト)23が設けられ、その側方にて、該入力軸21上に、高低二段の副変速ギア、即ち、高速駆動ギア24、低速駆動ギア25を固設し、また、さらにその側方にて、後進駆動ギア26を固設している。
入力軸21上の回転センサ23は、遠心制御式エンジンガバナを構成すべく、エンジン7のスロットルに連係されており、その入力軸21の回転に伴う開度変化に応じてスロットルの開度が決定される。該スロットルは、前記のアクセルペダル4にも連係されており、アクセルペダル4の踏み込みにてスロットル開度を設定するものであり、入力軸21の実際回転数がその設定に応じた回転数より低くなれば回転センサ23が閉じ気味となり、これを検出してガバナがスロットルの開度を増大し、車速を保つのである。なお、CVT20はエンジン回転数の増大に応じて無段に減速比を小さくする。このエンジンガバナ構造については、図10をもとに後述する。
さらに、CVT20には通例の如く、ドリブンプーリに負荷制御用のトルクカム機構(図示せず)を設けている。即ち、走行駆動系の車輪の対地負荷を検出して、エンジンの負担を軽減するためにCVT20の減速比を増大させるのである。
該ハウジング8a内の該入力軸21の下方にて、該入力軸21と平行に出力軸22に高速クラッチギア29、低速クラッチギア30、後進クラッチギア31が遊嵌されており、該高速用クラッチギア29を該高速駆動ギア24に、該低速クラッチギア30を該低速駆動ギア25に常時噛合させている。また、該ハウジング8a内に、該入力軸21・出力軸22と平行にアイドラギア軸28が軸支されていて、該アイドラ軸28上に設けたアイドラギア27が、該後進用駆動ギア26及び該後進用クラッチギア31に噛合している。
該出力軸22上にはさらに、軸芯方向に摺動可能かつ相対回転不能にクラッチスライダ32を設けており、該クラッチスライダ32を摺動させて、該高速クラッチギア29、該低速クラッチギア30、該後進クラッチギア31のいずれかに噛合させるものとしている。また、該クラッチスライダ32は、出力軸22に対する入力軸21の回転動力の伝達を絶つべく該ギア29・30・31のいずれにも噛合しないようにも配置される。このクラッチスライダ32は前記の変速レバー3に操作連係されている。
該出力軸22にはピニオン33が固設され、デフギア機構34のブルギア34bに噛合している。該デフギア機構34は、左右両車軸9・9間に配置されて、両車軸9・9同士を差動連結している。出力軸22上のピニオン33が左右一側に寄っている関係上、ブルギア34bは、その側の一車軸9上に遊嵌されているが、ピニオンとの位置関係によっては両車軸9・9の内端突き合わせ部分上に配設してもよい。もう一方の車軸9上にはデフロック部材34aが設けられており、適時に、該デフギア機構34のデフケースに相対回転不能に嵌合して、両車軸9・9同士を差動不能に連結する。
ハウジングに支持される車軸が車輪の中心まで延伸されている構造のものでは、一般に該ハウジング内にて左右各車軸上に湿式多板型ブレーキを設けるが、本実施例の後車軸ハウジング8aは、前述の如く、サスペンションにて後輪10・10に対し上下移動可能に支持されているため、ハウジング内部のブレーキ構造は不適である。そこで、各後輪10の中心軸に乾式単板型ブレーキ10bを付設している。両ブレーキ10bは油圧的あるいは機械的に前述の図略のブレーキペダルに操作連係されている。
出力軸22は、PTO軸として、CVT20への入力軸21の突出側とは左右反対側に、該前車軸ハウジング8aより突出しており、該前車軸ハウジング8aの当該左右側に付設したポンプハウジング8b内に設けた油圧ポンプ40のポンプ軸40aに、スリーブ状のカップリングによるスプライン嵌合等の手段により、同一軸芯上にて相対回転不能に係合されている。
この油圧ポンプ40より、好ましくは油圧管にて構成される一対の給排用油路50a・50bが延設されて、駆動モード切換バルブ44に接続され、また、該駆動モード切換バルブ44に、前車軸駆動装置13の油圧モータ41より、好ましくは油圧管にて構成される一対の給排用油路51a・51bが接続されている。
駆動モード切換バルブ44は、二輪駆動位置と四輪駆動位置とに切り換えられる。四輪駆動位置にある時は、油路50a・51a同士、油路50b・51b同士が接続されて、後車軸駆動装置8に付設した油圧ポンプ40と前車軸駆動装置13の油圧モータ41とを油圧接続して、HSTを構成し、後車軸駆動装置8の動力を前車軸駆動装置13に伝達して、運搬車を四輪駆動にて走行させる。
二輪駆動位置にある時は、油路50a・50b同士、油路51a・51b同士が接続されて、油圧ポンプ40・油圧モータ41それぞれ独立の循環回路を構成し、前車軸駆動装置13を後車軸駆動装置8の駆動力より隔離して、運搬車を後輪のみの駆動にて走行させる。なお、油路50a・50b同士の接続により、油圧ポンプ40は出力軸22の回転につれて自由に回転し、油路51a・51b同士の接続により、油圧モータ41は前輪15が後輪10の駆動に伴って転動するのにつれて自由に回転する。
なお、油圧ポンプ40は、後車軸ハウジング8a内の副変速機構の下手側の出力軸22、即ち、クラッチスライダ32をいずれの位置にするかにより回転速度や回転方向が切り換わる出力軸22をポンプ軸として共用するので、油圧ポンプ40の駆動速度及び方向を、該副変速機構による後輪10の速度や駆動方向の変化に対応させることができ、従って、前車軸駆動装置13に特別な機構を設けることなく容易に前輪15の駆動を後輪10の駆動に同期させることができる。
図3に示す後車軸駆動装置8及びそのエンジン7との駆動連係の第二実施例を説明する。図2に示す第一実施例のものと同一部材または同一機能を有する部材については同一符号を付しており、これらについての説明は省略する。本実施例の後車軸駆動装置8は、エンジン7に対し、CVTではなく、HSTにて駆動連係されている。このHSTは、エンジン7の出力軸7aをポンプ軸としてエンジン7に付設した油圧ポンプ40と、後車軸駆動装置8の入力軸21をモータ軸として後車軸ハウジング8に付設した油圧モータ45とを油圧回路にて接続することで構成されている。
エンジン7の一側面にはポンプハウジング7bが付設されていて、この中に出力軸7aが突入し、油圧ポンプ40のポンプ軸41aを、スリーブ状のカップリングによるスプライン嵌合等の手段により、同一軸芯上にて相対回転不能に該出力軸7aに接続している。さらに、該ポンプ軸41aは、ともに該ポンプハウジング7b内に収納したチャージポンプ43の駆動軸として兼用されている。チャージポンプ43から吐出される油は、HSTの補充油として用いる他、前述のステアリングシリンダ30等の駆動用として用いることができる。
後車軸ハウジング8aの左右側端のうち、ポンプハウジング7bと同一側にモータハウジング8cが付設され、この中に入力軸21が突入し、これに油圧モータ45のモータ軸45aを、スリーブ状のカップリングによるスプライン嵌合等の手段により、同一軸芯上にて相対回転不能に接続している。この油圧モータ45は実施例では互いに流体接続する前記油圧ポンプ40と離間された状態にあるが共通のハウジングに収納して、エンジン7側もしくは後車軸ハウジング8a側の方へ集中配置しても良い。
油圧ポンプ40と駆動モード切換バルブ44とを結ぶ一対の給排油路50a・50bのうち、油路50bの途中部に油圧モータ45を介設するものとしており、油圧ポンプ40と油圧モータ45との間の油路50bは、好ましくはポンプハウジング7b・モータハウジング8cとの間に介設した油圧管等にて構成されている。そして、油路50a及び油圧モータ45・駆動モード切換バルブ44間の油路50bを、それぞれ、好ましくは、ポンプハウジング7b・モータハウジング8cより延設される油圧管にて構成している。また、駆動モード切換バルブ44には前述と同様に、前車軸駆動装置13の油圧モータ41からの油路51a・51bが接続されている。
駆動モード切換バルブ44を四輪駆動位置にすると、油路50a・51a同士、油路50b・51b同士を接続して、一つの油圧ポンプ40に対し二つの油圧モータ41・45を直列接続したHSTを構成する。即ち、油圧ポンプ40の吐出油が後輪10駆動用の油圧モータ45と前輪15駆動用の油圧モータ41とに供給され、運搬車は四輪駆動にて走行する。一方、駆動モード切換バルブ44を二輪駆動位置にすると、油路50a・50b同士、油路51a・51b同士が接続され、後輪10駆動用の、油圧ポンプ40・モータ45よりなるHSTが構成されるとともに、前輪15駆動用の油圧モータ41は、該油圧ポンプ40からの圧油を受けず、運搬車は二輪駆動にて走行する。
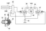
後車軸駆動装置8においては、油圧ポンプ40を可変容積型とし、その可動斜板40bの傾斜方向を切り換えることで、その吐出方向を切り換え、油圧モータ45・41の回転方向を切り換えることができるので、第一実施例の如きハウジング8a内における入力軸21・出力軸22間の後進用ギア列は不要となる。その分、ハウジング8a内の入力軸21上にスペース的な余裕ができ、これを利用して、油圧ポンプ40の容積を走行時にかかる後輪10の負荷に応じて制御とするためのトルクセンサ60を入力軸21上に設けている。なお、正確には該入力軸21は、トルクセンサ60によるトルク検出のために、油圧モータ45側の第一部21aと、デフギア機構34側の第二部21bとに分割されており、低速駆動ギア25・高速駆動ギア24・回転センサ23を第二部21b上に設けている。即ち、入力軸21の第一部21a・第二部21bの軸回りの相対変位を推力に変換して後輪10の負荷トルクを検出するのである。
トルクセンサ60は油圧ポンプ40の可動斜板40bに(電気式或いは機械式に)操作連係されており、該トルクセンサ60が設定値以上の負荷トルクを検出すると、それに応じて可動斜板40bが減速側に移動する構成となっている。この油圧ポンプ40の負荷制御は後に図12をもとに詳述する。一方、回転センサ23は前記同様にエンジン7のスロットルに操作連係されていて、エンジンガバナを構成している。なお、エンジン負荷に応じたHSTの制御については、トルク検出に代えて、HSTの油圧検出に基づく方法もある。これらの構成については図10以降の図面をもとに後述する。
図4に示す後車軸駆動装置8及びそのエンジン7との駆動連係の第三実施例を説明する。図2・図3に示す第一・第二実施例のものと同一部材または同一機能を有する部材については同一符号を付しており、これらについての説明は省略する。本実施例では、後車軸駆動装置8のエンジン7に対する駆動連係を、第二実施例と同様に、HSTによるものとしている。即ち、エンジン7の出力軸7aをポンプ軸としてエンジン7に付設した油圧ポンプ40と、後車軸ハウジング8に支持される入力軸21をモータ軸とする油圧モータ45とを油圧回路にて接続したものである。この油圧ポンプ40の吐出油は、第二実施例同様に、駆動モード切換バルブ44を介して、前車軸駆動装置13の油圧モータ41にも供給可能となっている。
第二実施例と異なる点として、第二実施例の油圧モータ45は固定容積型であり、後車軸ハウジング8aに外付けされていたが、本実施例の油圧モータ45は可動斜板45aを有する可変容積型であり、後車軸ハウジング8a内に収納されている。即ち、油圧ポンプ40の可動斜板40bの位置制御によるHSTの減速比制御を主変速として割り当てる一方で、油圧モータ45の可動斜板45aの位置制御によってさらに副変速としてのHSTの減速比制御を行っている。
これにより、後車軸ハウジング8a内において、第二実施例に示す如き副変速用の高低ギア列は不要となり、その分、該ハウジング8a内に余裕ができることから、前述のように油圧モータ45を該ハウジング8a内に収納できるのであり、前車軸駆動装置8全体のさらなるコンパクト化を実現している。
なお、本実施例の後車軸ハウジング8a内においては、油圧モータ45のモータ軸として延伸される入力軸21に小径ギア61を固設するとともに回転センサ23を設けており、出力軸22上に、該小径ギア61と常時噛合する大径ギア62を遊嵌して、両軸21・22間に減速ギア列を構成しており、該大径ギア62と出力軸22との間にはトルクセンサ60を介設している。即ち、本実施例でのトルクセンサ60は、入力軸21に常時ギア噛合する大径ギア61と、デフギア機構43に常時ギア噛合する出力軸22との相対回転差を検知して負荷トルクを検出する。
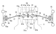
次に、図5に示す前車軸駆動装置13の第一実施例を説明する。前車軸ハウジング13a内に機械式デフギア機構70が設けられていて、左右前車軸14・14同士を差動連結している。一方の前車軸14上にはデフロック部材70aを設けている。デフギア機構70のブルギア70bは、その前方にて前車軸ハウジング13a内に収容した油圧モータ41のモータ軸41aに固設したモータギア41cに常時噛合している。
油圧モータ41への一対の給排ポートが前車軸ハウジング13a外側に設けられていて、前述の油圧ポンプ40との間で作動油を循環させるための油路51a・51bが油圧管等で構成されて、駆動モード切換バルブ44より延設され、該給排ポートに接続される。こうして、油圧モータ41が駆動されることにより、デフギア機構70を介して左右車軸14・14を駆動するものである。
なお、油圧モータ41は可変容積型であって、前記ハンドル2から操舵輪たる前輪15までのリンク機構のいずれかの部位に操作連係される可動斜板41bを具備しており、ハンドル2の切り角の増大に応じて可動斜板41bが増速側に傾動するように構成して旋回時の前輪と後輪との軌跡に応じた理想的な回転数に近づけるように前輪10を速度制御している。これについては、後述の図6〜図8に示す第二〜第四実施例でも同様である。
各車軸14と各前輪15との間の駆動連結は、前述の如くユニバーサルジョイント16・18及び伝動軸17によるものであり、各ユニバーサルジョイント18に連結される各前輪15の中心軸15a上には乾式単板型のブレーキ15bが付設されている。
なお、前輪15は後輪10によって地面から駆動されるときの回転数と油圧モータ41により駆動されるときの回転数とが同期していれば問題はないが、例えば、発進直後などでは油圧ポンプ40の回転数が低く、この少量の吐出油を受けて駆動される油圧モータ41の回転数は低回転状態における容積効率特性により、地面からの摩擦を受けて駆動される前輪15の回転数よりも低くなる。そのため、前輪15に油圧モータ41が連れ回り、油圧モータ41が油圧ポンプ40を逆駆動する背圧現象が生じる。これは、出力軸22にブレーキング作用を与え走行安定性を極端に悪化させるので、前輪15から油圧モータ41方向へのみ駆動力伝達を防止すべく、各前車軸15と、該前車軸15を伝動軸17に連結するユニバーサルジョイント16との間にて、ワンウェイクラッチもしくはツーウェイクラッチ71を介設している。
このツーウェイクラッチ71は、例えば、入力側の内輪と出力側外輪との間に、内外側部分にカム面が形成されたトルク伝達部材である複数のスプラグを円周方向に沿って配置し、各スプラグを、内外輪間に介在させた外側保持器と内側保持器とで保持した状態で内外輪の周面に対して係合・離脱可能とした構造をしている。スプラグが内外輪間で起立した中立状態では、スプラグのカム面が内外輪の周面から離脱し、これにより、内輪からの回転トルクを遮断して前輪15から前車軸14への向きの動力伝達を防止する。一方、内側保持器に対する外側保持器の差動回転によりスプラグが所定量傾動すると、そのスプラグのカム面が内外輪の周面に圧接係合し、これにより、内輪からの回転トルクをスプラグを介して外輪に伝達して、前車軸14の前進回転及び後進回転を前輪15へと伝達するのを許容している。このツーウェイクラッチ71は、開示した実施例の他に、前車軸ハウジング13a内のデフギア機構70におけるサイドベベルギアと前車軸14との間、或いは、前輪15とその中心軸15aとの間に配設することもできる。
これらのクラッチ71は、特に、後車軸駆動装置8が前述の第一実施例の如き構成である時のように、後輪駆動用の伝動軸をポンプ軸とする油圧ポンプ40と前輪駆動用の油圧モータ41とが1対1で流体接続されてHSTを構成しており、前輪15と後輪10との駆動が完全には同期しない構造の場合に有効である。一方、後車軸駆動装置8が前述の第二・第三実施例のような場合には、一つの油圧ポンプ40に対して、前輪駆動用油圧モータ41と後輪駆動用油圧モータ45とが直列で接続されているため、両モータ41・45の駆動、即ち、前輪15・後輪10の駆動が略完全に同期されるものについては不要である。図6〜図9の前車軸駆動装置13の各実施例にもクラッチ71を開示しているが、同様であって、第二・第三実施例の後車軸駆動装置8と組み合わせる場合には削除してもよい。
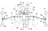
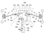
前車軸駆動装置13についての図6〜9の第二〜第五実施例は、それぞれ、図5に示したような機械式デフギア機構70を除いて、左右各車軸14に対し各別に設けた一対の油圧モータ41・41間の油圧的な差動で、左右前輪15・15の差動回転を許容する。但し、この場合、該一対の油圧モータ41・41を油圧ポンプ40に対し並列で接続するが、左右前輪15・15のいずれかに負荷がかかった場合、負荷の小さい方の前輪15駆動用の油圧モータ41に多くの油が流れ、負荷の大きい方の前輪15側の油圧モータ41を流れる油は少なくなる現象による。このことは次のような不具合が生じる可能性がある。例えば、一方の前輪15が溝にはまると、はまった前輪15の負荷が極端に小さくなるので、この前輪15用の油圧モータ41ばかりに油が供給され、溝にはまっていない前輪15用の油圧モータ41が駆動されず、脱出ができないこととなる。
図6〜9の各実施例は、このような不具合を解消すべく、両油圧モータ41・41間の差動を制限する手段を設けている。特にこのことを中心に、前車軸駆動装置13の第二〜第五各実施例を説明する。
まず、図6、図7の第二・第三各実施例においては、駆動モード切換バルブ44に接続される油路51a・51b間に、両油圧モータ41・41を並列に接続するための並列回路を介在させるものであり、該並列回路は、両油圧モータ41・41を介して、油路51a側に接続する分岐油路52・52と、油路51b側に接続する分岐油路53・53とよりなる。図8、図9の第四・第五実施例は、基本的に駆動モード切換バルブ44を介して油圧ポンプ40に両油圧モータ41・41を並列接続することは同じであるが、この回路構成を改変することで両モータ41・41間の差動制限手段としており、これについては後に詳述する。
図6に示す第二実施例においては、両油圧モータ41・41の各モータ軸をそのまま前車軸14と(或いは同一軸芯上に配して各前車軸14に駆動接続)して、左右外側に延設しており、各モータ軸41aを左右内側に延長し、その内側延長部41a同士を機械式のリミティッドスリップ機構73により接続して、両モータ軸間の差動を制限している。
各前輪15と、該前輪15を伝動軸17に接続する各ユニバーサルジョイント18との間には、減速ギアケース74が介設されている。該減速ギアケース74内には、ユニバーサルジョイント18からの伝動軸18aと、該前輪15の中心軸15aとが対向状に突入しており、両軸18a・15a間に遊星ギア式の減速ギア機構75が介設されている。なお、両軸18a・15a間の減速機構はこの構成には限らない。該減速ギアケース74内において、該伝動軸18a上に、好ましくは乾式単板型のブレーキ76が設けられている。
図7に示す第三実施例においては、モータ軸41a・41a同士を機械式リミティッドスリップ機構73で連結する一方、後車軸ハウジング13a内において、各前車軸14は各油圧モータ41のモータ軸41aに平行に軸支されており、各モータ軸41a上に固設した小径ギア77と、各前車軸14上の大径ギア78とを噛合させて減速ギア列を構成している。
これにより、第二実施例に示したような前輪15とユニバーサルジョイント18との間の減速ギアケース74は省いて、該前輪15の中心軸15aを直接ユニバーサルジョイント18に連結しており、乾式単板型ブレーキ15bを各前輪15の中心軸15a上に設けている。左右両前輪15各別の減速ギア機構を設けなくてすむので、コストを低減できる。
また、第二実施例におけるリミティッドスリップ機構73が、減速機構を各別に各前輪15に付設している構成において、前車軸14・14として延設されているモータ軸41a・41a間を連結しているのに対し、本実施例のリミティッドスリップ機構73は、車軸14・14に対し減速ギア列を介してその上流側に駆動連結したモータ軸41a・41a同士を連結しており、その連結に要するトルクは、第二実施例のものよりも小さくてすむ。従って、本実施例の場合には、リミティッドスリップ機構73を小型化できるという利点がある。
図8に示す第四実施例は、油圧モータ41L・41Rの各々と各前輪15との間の減速機構については、第二実施例と同様に、減速ギア機構75及びブレーキ76を収納する減速ギアケース74を各前輪15とユニバーサルジョイント18との間に介設している。
本実施例は、該一対の油圧モータ41L・41Rの油路構成を工夫してデフロック作用を現出可能としたものであって、並列に接続される左右2つの油圧モータ41L・41R同士をデフロック時に直列に接続することによりデフロック効果を現出させるものである。
本実施例の油圧モータ41L・41R駆動用油圧回路について説明する。駆動モード切換バルブ44からの一方の油路51aが、一方の油圧モータ41(本実施例では左の油圧モータ41Lとしているが、いずれでもよい)の一方の給排ポートに連通する油路52aに対し、第一デフロックバルブ88aを介して常時(デフロック位置でもデフロック解除位置でも)連通している。該油圧モータ41Lの他方の給排ポートは油路53aを介して第二デフロックバルブ88bに連通しており、該デフロックバルブ88bには、もう一方の油圧モータ41(本実施例では右の油圧モータ41R)の両給排ポートからの油路53b・57が接続されている。油路53bからは駆動モード切換バルブ44への油路51bを分岐させており、油路57からは第一デフロックバルブ88aへの油路52bを分岐させている。
両デフロックバルブ88a・88bはソレノイドバルブであり、図外の操作具により同期してそれぞれのデフロック位置とデフロック解除位置とに切り換えられる。両デフロックバルブ88a・88bのソレノイドが解磁状態で図示のデフロック解除位置にある時、第一デフロックバルブ88aは油路51aを分岐し、両油圧モータ41L・41Rの一方の給排ポートに対しそれぞれ油路52a・52bを介して連通させる。一方、第二デフロックバルブ88bは、該油圧モータ41Lからの油路53aを、油路53b・57のうち、油路53bに接続して、油圧モータ41L・41Rの他方の給排ポート同士を接続し、これにより、油圧モータ41L・41Rを油圧ポンプ40に対し並列接続する。従って、油圧ポンプ40からの吐出油が駆動モード切換バルブ44を介してそれぞれの負荷に応じた量で油圧モータ41L・41Rに供給され、両油圧モータ41L・41Rの差動回転が許容される。
一方、両デフロックバルブ88a・88bのソレノイドを励磁してデフロック位置にすると、第一ソレノイドバルブ88aは、油圧モータ41Rからの油路52bを、駆動モード切換バルブ44からの油路51aより隔離し、第二ソレノイドバルブ88bは油圧モータ41Lからの油路53aを、油路53b・57のうち、油路57に接続する。これにより、油圧モータ41L・41Rを油圧ポンプ40に対し直列接続し、油圧モータ41L・41Rの差動回転を不可能にする。
図9に示す第五実施例は、上記第四実施例のバルブ構成・回路構成の簡素化を図ったものであり、前記駆動モード切換バルブ44の油路51aは油圧モータ41Rの油路52bと常時接続し、前記駆動モード切換バルブ44の油路51bは油圧モータ41Lの油路53aと常時接続してある。そして、油圧モータ41Lの油路52aと油圧モータ41Rの油路53bをそれぞれ前記油路51aと前記油路51bの各々に接続するデフロック解除位置と、油圧モータ41Lの油路52aと油圧モータ41Rの油路53bを相互連通させて前記油路51aと前記油路51bをブロックするデフロック位置に切替え可能な単一のデフロックバルブ88cを設ける。該デフロックバルブ88cはソレノイドバルブであり、該ソレノイドが解磁状態でデフロック解除位置にある時、両油圧モータ41L・41Rの一方の給排ポートに通じる油路52a・52bが油路51aと連通する一方、両油圧モータ41L・41Rの他方の給排ポートに通じる油路53a・53bが油路51bと連通する。これにより、油圧モータ41L・41Rを油圧ポンプ40に対し並列接続される。従って、油圧ポンプ40からの吐出油が駆動モード切換バルブ44を介してそれぞれの負荷に応じた量で油圧モータ41L・41Rに供給され、両油圧モータ41L・41Rの差動が許容される。
一方、デフロックバルブ88cのソレノイドを励磁してデフロック位置にすると、駆動モード切換バルブ44の油路51aから油圧モータ41Rの油路52b、油路53b、油圧モータ41Lの油路52a、油路53aを経て駆動モード切換バルブ44の油路51bに接続する。これにより、油圧モータ41L・41Rを油圧ポンプ40に対し直列接続されることとなり、油圧モータ41L・41Rの差動を不可能にする。
なお、これら第四、五実施例の場合には、並列、直列接続状態で油圧モータ41L・41Rを流れる油量が変化するので、油圧モータ41L・41Rの回転数はデフロック解除位置のときに比べてデフロック位置では大きくなる。この油圧モータの回転数変動は次のようにして防止することができる。
即ち、後車軸駆動装置8が図2に示す第一実施例のように、主変速機構をCVTとしている実施例においては、後車軸ハウジング8aに付設している油圧ポンプ40は前輪駆動用油圧モータ41に作動油を供給するものであるが、この油圧ポンプ40を図示したように可変容積型のものに置き換えて、バルブ80がデフロック位置になった時には該油圧ポンプ40の吐出量を減少させるように制御すればよい。或いは、油圧モータ41L・41Rには可変容積型のものが使用されているので、油圧モータ41L・41Rの容積をバルブ80がデフロック位置になった時に大きくするように制御すればよい。この結果、デフロック解除位置での車軸14の回転数に対して、デフロック位置での車軸14の回転数を略一致させることができる。
また、後車軸駆動装置8が図3、図4に示す第二・第三実施例のように、主変速機構をHSTとしている場合でも、後者の制御方式を用いることにより対処することができる。
以上の様々なタイプの前車軸駆動装置13のうちの一つと、様々なタイプの後車軸駆動装置8のうちの一つとを選択して組み合わせることにより、四輪駆動運搬車のための多様な伝動構造を提供することができる。
次に、本運搬車に適用されるエンジン回転数制御機構について、図10〜図13より説明する。まず、基本的な(図2に示す後車軸駆動装置8に適用されるような)エンジンガバナについては図10に示す如きであり、図2〜図4で開示した如く後車軸駆動装置8のハウジング8a内にて入力軸21上に配設した回転センサ23が、スロットルアクチュエータ81のシリンダ81a内に摺動可能に内装したピストンロッド81bの一端に連係されており、該ピストンロッド81bの他端はエンジン7のスロットルバルブ7cに一体状に設けたスロットルアーム7dに連係されている。具体的には上下中心部にて枢支されたアーム82の回動両端にそれぞれ、ピストンロッド81bの該他端と、該アーム83からのワイヤ等のリンク部材とを連結している。なお、スロットルアーム7dはバネ7eにてスロットルバルブ7cの閉じ側に付勢されている。また、シリンダ81a内にて、ピストンロッド81b上にピストン81cが固設され、該ピストン81cとシリンダ81aの一端との間にバネ81dが介設されている。さらに、シリンダ81aがアクセルペダル4に連係されている。具体的には、上下中心部にて枢支されたアーム82の回動両端にそれぞれ、シリンダ81aと、該スロットルペダル4基端のアーム4aからのワイヤ等のリンク部材とを連結している。
図10での位置を基準として説明すると、アクセルペダル4を踏み込むことにより、アーム82の上端が右へ、下端が左へと回動し、これにより、バネ81dの付勢力に抗してシリンダ81bが左に移動する。バネ81dは直ちに復帰してピストン81cを左に押し、ピストンロッド81bを左に移動させる。これにより、アーム83の上端が左に、下端が右に回動して、スロットルアーム7dがバネ7eの付勢力に抗してスロットルバルブ7cの開き側に回動する。こうして、アクセルペダル4の踏み込み量に応じた開度にてアクセルバルブ7cが開く。
こうしてアクセルペダル4で設定したスロットルバルブ7cの開度に応じて、入力軸21の回転中は回転センサ23が遠心力で開いている。その入力軸21の回転速度がアクセルペダル4による設定速度よりも落ちると、回転センサ23が閉じて、ピストンロッド81bを左側に押す。これにより、アーム83の上端が左に、下端が右に回動して、スロットルバルブ7cの開き側にスロットルアーム7dが回動し、エンジン回転数を増大させる。
なお、図11、図12に示すエンジン回転数制御機構は、図3及び4の如き後車軸駆動装置8を採用した場合のものであり、即ち、主変速としてHSTを設け、その減速比をトルクセンサ60の検出に基づいて制御する構成と組み合わせている。アクセルペダル4は、前進用ペダル4F・後進用ペダル4Rのツインペダルとしており(シーソー型の単一ペダルの各端を前進用・後進用の踏み込み部としてもよい)、スロットルアクチュエータ80のシリンダ80aは、上下中心部を枢支軸として一体に回動するツインアーム82F・82Rの下端が枢結されており、両ツインアーム82F・82Rの上端には、それぞれ各ペダル4F・4Rからのワイヤ等のリンク部材の端部が枢結されている。具体的には各ツインアーム84F・84Rの上端部に長孔82aが形成されていて、各ペダル4F・4Rからのリンク部材の端部を摺動自在に嵌入しており、両ペダル4F・4Rのうち一方が踏み込まれることで、その長孔84a内のリンク部材端部が動いても、もう一方のペダル4Rからのリンク部材の端部はその位置にとどまることができるようになっている。こうして、両ペダル4F・4Rのいずれを踏み込んだ場合にも、その踏み込み量に応じてスロットルバルブ7cの開度が設定される。
そして、この前進用ペダル4F・後進用ペダル4Rは、そのまま油圧ポンプ40の可動斜板40bの操作具となっており、各ペダル4F・4Rの踏み込み量100F・100Rがポテンショメータ等で検出されて、コントローラ85に入力信号として送信される。可動斜板40bのアクチュエータは電磁弁制御による油圧作動型となっており、これについて図12にて説明する。後車軸ハウジング8aに枢支された可動斜板4b制御用のコントロールアーム40dの回動端に、アクチュエータとしての油圧シリンダ86・86のピストンロッドが両側より連結されており、各油圧シリンダ86にはそれぞれ電磁弁87を介してチャージポンプ43からの圧油が供給される。前述のコントローラに入力された各ペダル4F・4Rの踏み込み量検出値に基づき、電磁弁87・87が制御されて、コントロールアーム40dを回動し、可動斜板40bを踏み込み位置に応じた傾斜角度に設定するのである。さらにその傾斜角度が出力信号としてポテンショメータ等で検出され、フィードバックされて、コントローラ85にてペダル4F・4Rからの踏み込み量検出信号と比較演算されて、偏差が0となるようにコントローラ85より油圧シリンダ86・86に制御信号が発せられる。こうして、可動斜板40bの傾斜角度を、ペダル4F・4Rいずれかの踏み込み量に正確に対応したものにする。
さらに、このように設定した可動斜板40bが、エンジン負荷制御機構を構成するトルクセンサ60でのトルク検出に基づき適正角度に修正される。即ち、出力軸22と大径ギア62との相対回転差が内部のカムボールによって推力に変換されこれをポテンショメータ等でトルクセンサ60のトルク検出量としてコントローラ85にて認識され、所定値以上のトルクが検出されている場合には、可動斜板40bの傾斜角度を中立方向へ減少させてポンプ吐出量を減少させるべく、電磁弁87・87を制御する。なお、図12に図示のトルクセンサ60は、図4に示す場合のものであり、図3に示す実施例に適用されるように、入力軸21の第一部21a・第二部21bとの間に介設するものとして、両者21a・21b間の相対回転差を推力に変換するものとしてもよい。水力にもよい。
このHSTによる負荷制御は、トルクセンサの検出ではなく、HSTの油圧検出によるものとしてもよい。図13は、HSTの油圧検出に基づくエンジン負荷制御機構を開示している。前・後進ペダル4F・4R、回転センサ23、スロットルバルブ7c、及びスロットルアクチュエータ81で構成されるエンジン回転数制御機構の構成は、図11に示したものと同様である。油圧ポンプ40・油圧モータ45間の一対の油路それぞれの油圧を検出するセンサとして、油圧スライダ90が設けられている。油圧スライダ90は、スプール状で軸芯方向に移動可能であり、両端より中立位置にバネ96・96にて付勢されていて、その各端部は、各プランジャ95F・95Rに押接している。油圧ポンプ40の可動斜板40bは、斜板アクチュエータたる複動式油圧シリンダ94のピストン94aと操作連係されていて、方向切換バルブ92からの一対の油路がピストン94a両側の油室のそれぞれに連通している。ピストン94aから延びるフィードバックアーム94bが方向切換バルブ92外周に配したスリーブ92aと機械的に連係され、これにより、方向切換バルブ92がスリーブ92a内を移動して中立位置より前進または後進位置に切替えられピストン94aが移動するとスリーブ92aを同方向へ移動させて相対的に原位置に戻して中立位置に制御される。
プランジャ95Fは、そのプランジャ油室95aが、油圧ポンプ・モータ40・45間の閉回路を構成する一対の油路のうち、前進時に高圧側となる油路に連通し、プランジャ95Rのプランジャ油室95aは、後進時に高圧側となる油路に連通している。各油路を流れる油圧は絞りを経て該プランジャ油室95a内に導入され、バネ96・96の付勢力を上回ると各プランジャ95F・95Rが押し出されて、油圧スライダ90を反対側に押動する。
方向切換バルブ92の操作部材としてのリンクロッド91の途中部に係合ピン91aを設けており、該油圧スライダ90の軸芯方向の長孔90a内に該係合ピン91aを摺動可能に嵌入している。該リンクロッド91は該油圧スライダ90を通過して、その先端を揺動アーム93一端の受け部93a内にて、設定負荷相当の付勢力を有するバネ93b・93bにより両側より挟持している。該揺動アーム93は、その途中部に枢支点を有し、該受け部93aとは反対側の端部に、前進ペダル4F・後進ペダル4Rからのリンク部材(ロッド或いはワイヤ等)の各一端が接続されている。
前進ペダル4Fには揺動アーム4Fa、後進ペダル4Rには揺動アーム4Raがそれぞれ固設されている。該揺動アーム4Faは、その上下途中部が前進ペダル4Fの基端枢支点となっていて、その下端がスロットルアクチュエータ81のアーム82Fへのリンク部材との接続点に、そして、その上端が、前記揺動アーム93へのリンク部材との接続点になっている。一方、該揺動アーム4Raは、その上端が後進ペダル4Rの基端枢支点となっていて、その下端部にスロットルアクチュエータ81のアーム82Rへのリンク部材との接続点と、揺動アーム93へのリンク部材との接続点とを設けている。従って、前進ペダル4Fを踏むか、後進ペダル4Rを踏むかで、アーム93の揺動方向が反対になる。図13によれば、前進ペダル4Fを踏み込むと、アーム4Faの上端が左方に回動するので、揺動アーム93の受け部93aは右に回動する。一方、後進ペダル4Rを踏み込むと、アーム4Raの下端が右方に回動するので、揺動アーム93の受け部93aは左に回動する。
ここで、図13での位置関係をもとに、前進ペダル4Fを踏んだ場合を想定すると、揺動アーム93が紙面時計回りに揺動して左側のバネ93bを通じてリンクロッド91を右方へ移動させる。また、油圧スライダ90の長孔90a内を右に係合ピン91aが移動して、該長孔90aの右端に当接する。これにより、方向切換バルブ92を中立位置から紙面左側の前進位置へ切り換え、油圧シリンダ94のピストン94aを移動し、可動斜板40bを中立位置から前進方向へ傾動させた後、方向切換バルブ92はピストン94aからのフィードバックを受けて中立位置に復帰する。この結果、可動斜板40bの傾動位置が保持される。
油圧ポンプ40からの圧油を受けて駆動される油圧モータ45が前進駆動用に作動している間は、プランジャ95Fのプランジャ油室95aに連通する油路が高圧側になるが、この高圧側油路の油圧が絞りを経てプランジャ95Fのプランジャ室95a内に導入され、バネ96の付勢力以上の圧力に達するとプランジャ95Fは油圧スライダ90を左に押動する。この時、係合ピン91aが長孔90aの右端にあるため、係合ピン91aが油圧スライダ90に押されて左方に移動することとなり、従って、リンクロッド91は、左方に押し返され、方向切換バルブ92は、中立位置から紙面右側の後進位置に切り換わり、可動斜板40bを中立位置の方向へ動かしてその傾斜角を小さくして、油圧ポンプ40の吐出量を低減し、プランジャ95Fのプランジャ室95a内に導入される圧油がバネ96の付勢力以下の圧力になるまで継続される。これにより、HSTにかかる負荷を自動的に軽減する。後進ペダル9Rの踏み込み時にも同様の負荷制御がなされる。
このように、油圧スライダ90は、高圧側となっている油路の油圧が設定値以上になった時に、前進・後進ペダル4F・4Rいずれかの踏み込み量に応じて設定した油圧ポンプ40の吐出量を低減させるのである。
本発明の後車軸駆動装置8の第一実施例と前車軸駆動装置13の第一実施例とを採用する四輪駆動運搬車の側面略図である。 後車軸駆動装置8の第一実施例のスケルトン図である。 後車軸駆動装置8の第二実施例のスケルトン図である。 後車軸駆動装置8の第三実施例のスケルトン図である。 前車軸駆動装置13の第一実施例のスケルトン図である。 前車軸駆動装置13の第二実施例のスケルトン図である。 前車軸駆動装置13の第三実施例のスケルトン図である。 前車軸駆動装置13の第四実施例のスケルトン図である。 前車軸駆動装置13の第五実施例のスケルトン図である。 基本的なエンジンガバナの構造略図である。 後車軸駆動装置8の主変速機構をHSTとした場合に採用される、前進・後進ペダル4F・4Rを用いたエンジンガバナの構造略図である。 後車軸駆動装置8の主変速機構をHSTとした場合の、可動斜板40bの制御機構の油圧回路図である。 後車軸駆動装置8の主変速機構をHSTとした場合の、エンジンガバナと、HSTの油圧検出によるHSTの負荷制御ガバナの構造略図である。
符号の説明
4 アクセルペダル
4F 前進ペダル
4R 後進ペダル
7 エンジン(原動機)
8 後車軸駆動装置(第一車軸駆動装置)
8a 後車軸ハウジング(第一車軸支持ハウジング)
9 後車軸(第一車軸)
10 後輪
13 前車軸駆動装置(第二車軸駆動装置)
13a 前車軸ハウジング(第二車軸支持ハウジング)
14 前車軸(第二車軸)
15 前輪
20 CVT(ベルト式無段変速装置)
40 油圧ポンプ
41 (前輪駆動用)油圧モータ
44 駆動モード切換バルブ
45 (後輪駆動用)油圧モータ
71 クラッチ
73 リミティッドスリップ機構

Claims (15)

  1. 原動機を挟んで、第一車軸を駆動する第一車軸駆動装置と、第二車軸を駆動する第二車軸駆動装置とを機体前後に配設しており、該第二車軸駆動装置は、該第二車軸駆動用に油圧モータを備えており、該第一車軸駆動装置は、前記第一車軸駆動用に正逆転切換機能を有する変速機構を備えて前記原動機に駆動連結しているとともに、該第二車軸駆動装置の油圧モータに作動油を供給するための油圧ポンプを備えていることを特徴とする四輪駆動車両。
  2. 前記第一車軸駆動装置において、前記油圧ポンプは、該第一車軸駆動装置のハウジング内に設けた伝動軸をポンプ軸として、該ハウジングに取り付けられていることを特徴とする請求項1記載の四輪駆動車両。
  3. 前記伝動軸は、前記第一車軸駆動装置の変速機構の出力軸により駆動されていることを特徴とする請求項2記載の四輪駆動車両。
  4. 前記第一車軸駆動装置において、前記変速機構は、該第一車軸駆動装置のハウジング外に設けた上手側の第一変速機構と、該ハウジング内に設けた下手側の第二変速機構とよりなることを特徴とする請求項1記載の四輪駆動車両。
  5. 前記第一変速機構をCVTとし、前記第二変速機構が前記の正逆切換機能を有するものとし、前記油圧ポンプは、該第二変速機構の出力軸をポンプ軸として設けられていることを特徴とする請求項4記載の四輪駆動車両。
  6. 前記第一車軸駆動装置において、前記変速機構は、油圧ポンプと第一車軸駆動用の油圧モータとを組み合わせてなるHSTを備えており、該HSTの油圧ポンプを前記の第二車軸駆動装置の油圧モータへの作動油供給用の油圧ポンプとして兼用することを特徴とする請求項1記載の四輪駆動車両。
  7. 前記油圧ポンプを可変容積型とし、前記の変速機構における正逆転切換機能を該油圧ポンプの吐出方向の切換により現出することを特徴とする請求項6記載の四輪駆動車両。
  8. 前記油圧ポンプは、前記原動機の出力軸をポンプ軸として設けられていることを特徴とする請求項6記載の四輪駆動車両。
  9. 前記変速機構は、前記第一車軸駆動装置のハウジング外に設けた前記HSTと、その下手側であって、該ハウジング内に設けた有段の第二変速機構とよりなるものとし、前記第一車軸駆動用の油圧モータのモータ軸を、該第二変速機構の入力軸としていることを特徴とする請求項6記載の四輪駆動車両。
  10. 前記第一車軸駆動用の油圧モータを可変容積型とし、前記第一車軸を支持する前記第一車軸駆動装置のハウジング内に収納したことを特徴とする請求項6記載の四輪駆動車両。
  11. 前記第二車軸駆動装置において、前記第二車軸を左右一対とし、該左右一対の第二車軸と前記油圧モータとの間に差動機構を設けていることを特徴とする請求項1記載の四輪駆動車両。
  12. 前記第二車軸駆動装置において、前記第二車軸を左右一対とし、該左右一対の第二車軸各別駆動用に前記の油圧モータを一対備えていることを特徴とする請求項1記載の四輪駆動車両。
  13. 前記第二車軸駆動装置において、前記一対の油圧モータのモータ軸同士を、差動制限機構を介して機械式に接続することを特徴とする請求項12記載の四輪駆動車両。
  14. 前記第二車軸駆動装置において、前記一対の油圧モータを、前記第一車軸駆動装置における油圧ポンプに対し並列接続して前記第二車軸の差動回転を許容するとともに、両油圧モータを直列接続に切替え可能に構成することを特徴とする請求項12記載の四輪駆動車両。
  15. 前記第二車軸駆動装置において、前記油圧モータと前記第二車軸との間に、該第二車軸側から該油圧モータへの伝動を防止し、該油圧モータから該第二車軸への伝動のみを可能とするクラッチを介設していることを特徴とする請求項1記載の四輪駆動車両。
JP2004120847A 2004-04-15 2004-04-15 四輪駆動車両 Pending JP2005297923A (ja)

Priority Applications (4)

Application Number Priority Date Filing Date Title
JP2004120847A JP2005297923A (ja) 2004-04-15 2004-04-15 四輪駆動車両
US11/104,457 US20050230171A1 (en) 2004-04-15 2005-04-13 Four-wheel drive vehicle
DE602005008299T DE602005008299D1 (de) 2004-04-15 2005-04-14 Fahrzeug mit Allradantrieb
EP05008220A EP1586479B1 (en) 2004-04-15 2005-04-14 Four-wheel drive vehicle

Applications Claiming Priority (1)

Application Number Priority Date Filing Date Title
JP2004120847A JP2005297923A (ja) 2004-04-15 2004-04-15 四輪駆動車両

Publications (1)

Publication Number Publication Date
JP2005297923A true JP2005297923A (ja) 2005-10-27

Family

ID=34935203

Family Applications (1)

Application Number Title Priority Date Filing Date
JP2004120847A Pending JP2005297923A (ja) 2004-04-15 2004-04-15 四輪駆動車両

Country Status (4)

Country Link
US (1) US20050230171A1 (ja)
EP (1) EP1586479B1 (ja)
JP (1) JP2005297923A (ja)
DE (1) DE602005008299D1 (ja)

Cited By (2)

* Cited by examiner, † Cited by third party
Publication number Priority date Publication date Assignee Title
JP2008137436A (ja) * 2006-11-30 2008-06-19 Kubota Corp トラクタのpto構造
WO2025142809A1 (ja) * 2023-12-25 2025-07-03 住友重機械工業株式会社 親機械

Families Citing this family (16)

* Cited by examiner, † Cited by third party
Publication number Priority date Publication date Assignee Title
EP1808324B1 (en) * 2006-01-16 2010-03-17 Kanzaki Kokyukoki Mfg. Co., Ltd. Hydrostatic transaxle
DE102007053320A1 (de) * 2007-11-08 2009-05-14 Agco Gmbh Getriebesynchronisierungsverfahren und -vorrichtung für mindestens zwei Getriebe
DE102007058535A1 (de) * 2007-12-06 2009-06-10 Deere & Company, Moline Antriebssystem eines Arbeitsfahrzeugs
US8002073B2 (en) * 2008-04-22 2011-08-23 Kanzaki Kokyukoki Mfg. Co., Ltd. Hydraulic drive working vehicle
ITPD20090025A1 (it) * 2009-02-11 2010-08-12 Faresin Ind S P A Carro miscelatore per la preparazione e distribuzione di alimenti in ambito zootecnico, particolarmente adatto per elevate velocita' di trasferimento
JP4873058B2 (ja) * 2009-09-28 2012-02-08 マツダ株式会社 車両用自動変速機
TWI444550B (zh) * 2010-06-08 2014-07-11 Ind Tech Res Inst 複合動力系統無段變速器之液壓控制裝置之控制方法與系統
CN102358163B (zh) * 2011-08-09 2014-03-26 吉林大学 轮毂马达液压驱动系统
US9242544B2 (en) 2011-09-23 2016-01-26 Kanzaki Kokyukoki Mfg. Co., Ltd. Vehicle with electric transaxle
DE102012010946A1 (de) * 2012-06-04 2013-12-05 Claas Selbstfahrende Erntemaschinen Gmbh Hydrostatische Antriebseinheit eines Fahrzeugs
JP5705928B2 (ja) * 2013-08-08 2015-04-22 株式会社小松製作所 ホイールローダ
FR3010006B1 (fr) * 2013-09-03 2017-05-12 Poclain Hydraulics Ind Vehicule a assistance hydraulique comprenant une structure amelioree de differentiel sur l'essieu mene
JP2015054578A (ja) * 2013-09-11 2015-03-23 株式会社 神崎高級工機製作所 作業車両の走行伝動装置
GB2531767A (en) * 2014-10-29 2016-05-04 Bamford Excavators Ltd Working Machine
US11535208B2 (en) * 2018-03-05 2022-12-27 Kanzaki Kokyukoki Mfg. Co., Ltd. Hydraulic transaxle
CN108725195A (zh) * 2018-06-22 2018-11-02 长沙桑铼特农业机械设备有限公司 一种液压驱动系统及拖拉机

Citations (6)

* Cited by examiner, † Cited by third party
Publication number Priority date Publication date Assignee Title
JPH05104968A (ja) * 1991-10-16 1993-04-27 Ntn Corp 車両の駆動力伝達装置
JPH05246259A (ja) * 1992-03-06 1993-09-24 Nippondenso Co Ltd 4輪駆動車
JPH09309352A (ja) * 1996-05-24 1997-12-02 Nissan Motor Co Ltd 四輪駆動車
JPH10181362A (ja) * 1996-12-24 1998-07-07 Kanzaki Kokyukoki Mfg Co Ltd 走行車両の4輪駆動機構
JP2001180319A (ja) * 1999-12-21 2001-07-03 Kanzaki Kokyukoki Mfg Co Ltd 多輪駆動車両
JP2003003880A (ja) * 2002-04-17 2003-01-08 Mazda Motor Corp 車両の駆動装置

Family Cites Families (22)

* Cited by examiner, † Cited by third party
Publication number Priority date Publication date Assignee Title
CH393935A (de) * 1960-04-02 1965-06-15 Maschf Augsburg Nuernberg Ag Allradantrieb für Tragschlepper
GB1071661A (en) * 1963-07-03 1967-06-14 Lucas Industries Ltd Attachments for use with wheeled vehicles
GB1165217A (en) * 1965-10-22 1969-09-24 Int Harvester Co Four Wheel Drive for Vehicles
DE2039668A1 (de) * 1970-08-10 1972-02-17 Kloeckner Humboldt Deutz Ag Fahrzeug,insbesondere landwirtschaftlich nutzbares Motorfahrzeug
DE2052084A1 (de) * 1970-10-23 1972-04-27 Zahnradfabrik Friedrichshafen Ag, 7990 Friedrichshafen Fahrzeugachse in Gehäuseform
DE3216821A1 (de) * 1982-05-05 1983-11-10 Zahnradfabrik Friedrichshafen Ag, 7990 Friedrichshafen Hydrostatischer antrieb fuer fahrzeuge
AT384283B (de) * 1984-08-30 1987-10-27 Steyr Daimler Puch Ag Antriebsanordnung fuer kraftfahrzeuge mit zwei triebachsen
JPH0747850A (ja) * 1993-08-05 1995-02-21 Honda Motor Co Ltd 車両用動力伝達装置
DE59301564D1 (de) * 1993-10-29 1996-03-14 Ec Eng & Consult Spezialmasch Verfahren zum hydrostatischen Antreiben eines Fahrzeugs
US5427195A (en) * 1994-05-04 1995-06-27 Int. Silvatech Ltd. Hydraulic drive and steering systems for a vehicle
US5607027A (en) * 1995-04-28 1997-03-04 Anser, Inc. Hydraulic drive system for a vehicle
EP1745973A1 (en) * 1997-07-22 2007-01-24 Kanzaki Kokyukoki Mfg. Co., Ltd. Driving system for a working vehicle
US6540633B1 (en) * 1998-09-25 2003-04-01 Tuff Torq Corporation Transmission for speed changing and steering of a vehicle
FR2789352B1 (fr) * 1999-02-05 2001-04-27 Poclain Hydraulics Ind Dispositif de transmission d'un engin mobile ayant au moins deux organes de deplacement moteurs en ligne
WO2000071459A1 (en) * 1999-05-21 2000-11-30 Tcm Corporation Fork lift with traverse system
US6536845B2 (en) * 2000-02-14 2003-03-25 Multiquip, Inc. All wheel drive power buggy
EP1442240A1 (en) * 2001-10-12 2004-08-04 Clark Equipment Company Operation of wheeled work machine
JP2003136988A (ja) * 2001-10-30 2003-05-14 Kanzaki Kokyukoki Mfg Co Ltd 車輌の走行用伝動機構
US6845837B2 (en) * 2002-10-15 2005-01-25 Kanzaki Kokyukoki Mfg. Co., Ltd. Hydraulic transaxle apparatus for a four-wheel driving vehicle and four-wheel driving vehicle using the apparatus
JP4131816B2 (ja) * 2002-12-27 2008-08-13 株式会社 神崎高級工機製作所 走行車の駆動装置
US6926111B1 (en) * 2003-05-09 2005-08-09 Koji Irikura Vehicle having front and rear steerable driven wheels
US7204779B2 (en) * 2003-09-26 2007-04-17 Koji Irikura Hydraulic steering transaxle and hydraulic driving vehicle

Patent Citations (6)

* Cited by examiner, † Cited by third party
Publication number Priority date Publication date Assignee Title
JPH05104968A (ja) * 1991-10-16 1993-04-27 Ntn Corp 車両の駆動力伝達装置
JPH05246259A (ja) * 1992-03-06 1993-09-24 Nippondenso Co Ltd 4輪駆動車
JPH09309352A (ja) * 1996-05-24 1997-12-02 Nissan Motor Co Ltd 四輪駆動車
JPH10181362A (ja) * 1996-12-24 1998-07-07 Kanzaki Kokyukoki Mfg Co Ltd 走行車両の4輪駆動機構
JP2001180319A (ja) * 1999-12-21 2001-07-03 Kanzaki Kokyukoki Mfg Co Ltd 多輪駆動車両
JP2003003880A (ja) * 2002-04-17 2003-01-08 Mazda Motor Corp 車両の駆動装置

Cited By (2)

* Cited by examiner, † Cited by third party
Publication number Priority date Publication date Assignee Title
JP2008137436A (ja) * 2006-11-30 2008-06-19 Kubota Corp トラクタのpto構造
WO2025142809A1 (ja) * 2023-12-25 2025-07-03 住友重機械工業株式会社 親機械

Also Published As

Publication number Publication date
EP1586479B1 (en) 2008-07-23
DE602005008299D1 (de) 2008-09-04
EP1586479A2 (en) 2005-10-19
EP1586479A3 (en) 2006-07-19
US20050230171A1 (en) 2005-10-20

Similar Documents

Publication Publication Date Title
JP2005297923A (ja) 四輪駆動車両
KR101240817B1 (ko) 변속 전동 장치
US7404341B2 (en) Transmission system for tractor
US5937697A (en) Power take-off assembly for tractors
US20050070390A1 (en) Hydraulic steering transaxle and hydraulic driving vehicle
US6044720A (en) Drive transmission assembly for working vehicles
KR20010050864A (ko) 차량의 동력전달장치
JP2002087086A (ja) 作業車両の動力取出し装置
KR100373584B1 (ko) 작업기의 조향장치
JP2009078699A (ja) 作業車の走行伝動構造
JP2009078785A (ja) 作業車の走行伝動構造
JP2008045723A (ja) 油圧式無段変速装置
JP4104148B2 (ja) トラクタの伝動構造
JP4104149B2 (ja) トラクタのpto伝動構造
JP4233498B2 (ja) トラクタの操作構造
JP3583064B2 (ja) 農作業機の操向装置
JP2002144901A (ja) トラクタのトランスミッション
JP3013780B2 (ja) 操作装置及び車両用動力伝達装置の切換え操作装置
JP3583063B2 (ja) 農作業機の操向装置
JP4194832B2 (ja) 車輌のフレーム構造体
JP2007203972A (ja) 走行用伝動機構からの動力取出構造
JP4017512B2 (ja) ブレーキ機構
JP4375776B2 (ja) 車輌のフレーム構造体
JP2006017142A (ja) 動力車両の変速装置
JP3652268B2 (ja) スプール弁の操作装置

Legal Events

Date Code Title Description
A621 Written request for application examination

Free format text: JAPANESE INTERMEDIATE CODE: A621

Effective date: 20061219

A977 Report on retrieval

Free format text: JAPANESE INTERMEDIATE CODE: A971007

Effective date: 20090612

A131 Notification of reasons for refusal

Free format text: JAPANESE INTERMEDIATE CODE: A131

Effective date: 20090616

A521 Written amendment

Free format text: JAPANESE INTERMEDIATE CODE: A523

Effective date: 20090723

A131 Notification of reasons for refusal

Free format text: JAPANESE INTERMEDIATE CODE: A131

Effective date: 20091117

A02 Decision of refusal

Free format text: JAPANESE INTERMEDIATE CODE: A02

Effective date: 20100413