JP2005271663A - ネット体とネット体の締結具およびタイヤ滑り止め装置 - Google Patents
ネット体とネット体の締結具およびタイヤ滑り止め装置 Download PDFInfo
- Publication number
- JP2005271663A JP2005271663A JP2004085279A JP2004085279A JP2005271663A JP 2005271663 A JP2005271663 A JP 2005271663A JP 2004085279 A JP2004085279 A JP 2004085279A JP 2004085279 A JP2004085279 A JP 2004085279A JP 2005271663 A JP2005271663 A JP 2005271663A
- Authority
- JP
- Japan
- Prior art keywords
- net body
- tightening
- tire
- width direction
- net
- Prior art date
- Legal status (The legal status is an assumption and is not a legal conclusion. Google has not performed a legal analysis and makes no representation as to the accuracy of the status listed.)
- Pending
Links
Images
Landscapes
- Tires In General (AREA)
Abstract
【課題】別体の補助金具を設けることなく緊締索を取り付け可能にしたネット体と、フックを緊締索の端部に設けるようにしたネット体の締結具と、これらネット体および締結具を用いて製造し易いタイヤ滑り止め装置を提供する。
【解決手段】締結具4は、ネット体3の幅方向一方側を緊締する緊締索19a、19bと、接続部材20a、20bとを備えており、ネット体3の幅方向一方側には、緊締索19a、19bを取り付ける取付部16がネット体3と一体に形成されており、この取付部16は、ネット体3の帯長手方向に向いた孔17aを有するループ形状とされていて、この取付部16内に芯材6がループ状に埋設されており、緊締索19a、19bの一端側に、接続部材20a、20bと連結するための連結部22が設けられ、連結部22はフック体23の基部23aを緊締索19a、19bに埋設固定して形成され、緊締索19a、19bが孔17aに挿通されている。
【選択図】図1
【解決手段】締結具4は、ネット体3の幅方向一方側を緊締する緊締索19a、19bと、接続部材20a、20bとを備えており、ネット体3の幅方向一方側には、緊締索19a、19bを取り付ける取付部16がネット体3と一体に形成されており、この取付部16は、ネット体3の帯長手方向に向いた孔17aを有するループ形状とされていて、この取付部16内に芯材6がループ状に埋設されており、緊締索19a、19bの一端側に、接続部材20a、20bと連結するための連結部22が設けられ、連結部22はフック体23の基部23aを緊締索19a、19bに埋設固定して形成され、緊締索19a、19bが孔17aに挿通されている。
【選択図】図1
Description
本発明は、タイヤ滑り止め用のネット体とこのネット体の締結具およびこれらを用いたタイヤ滑り止め装置に関するものである。
従来、タイヤ滑り止め装置として、タイヤの外周部に巻回されて幅方向一方側がタイヤ外側に装着されるとともに幅方向の他方側がタイヤ内側に装着される帯状のネット体を備え、緊締索を備えた締結具を用いてネット体の幅方向一方側を締結することでタイヤに装着されるものがある(例えば特許文献1参照)。この従来のタイヤ滑り止め装置のネット体には、締結具を取り付けるためにネット体とは別体の補助金具が複数設けられている。
また、ネット体を締結するための緊締索には、ロープの端部を折り返してカシメ金具でカシメることでループ部を形成し、このループ部にフックが取り付けられたものがある(例えば特許文献2参照)。
特開平7−266816号公報
特許第2578100号公報
また、ネット体を締結するための緊締索には、ロープの端部を折り返してカシメ金具でカシメることでループ部を形成し、このループ部にフックが取り付けられたものがある(例えば特許文献2参照)。
従来のタイヤ滑り止め装置のネット体では、補助金具をネット体に複数取り付けなければならず、その分、ネット体の製造工程が多くて手間がかかっていた。また、従来のネット体の締結に用いる締結具の緊締索は、カシメ金具を用いてループ部を形成していたため、この部分が嵩張ってしまい、緊締索をネット体に取り付ける際に邪魔になる場合があった。
そこで、本発明は、ネット体の幅方向の端部に緊締索を取り付けるための取付部を形成することによって別体の補助金具を設けることなく緊締索を取り付けることができるようにしたネット体を提供することを目的とする。
そこで、本発明は、ネット体の幅方向の端部に緊締索を取り付けるための取付部を形成することによって別体の補助金具を設けることなく緊締索を取り付けることができるようにしたネット体を提供することを目的とする。
本発明の他の目的は、カシメ金具等の取付具を用いることなく、フックを緊締索の端部に設けるようにしたネット体の締結具を提供することである。
また、本発明の他の目的は、ネット体の幅方向の端部に緊締索を取り付けるための取付部を形成することによって補助金具を設けることなく緊締索を取り付けることができるようにしたネット体と、カシメ金具等の取付具を用いることなくフックを緊締索の端部に設けるようにしたネット体の締結具とを組み合わせて、製作が容易なタイヤ滑り止め装置を提供することである。
また、本発明の他の目的は、ネット体の幅方向の端部に緊締索を取り付けるための取付部を形成することによって補助金具を設けることなく緊締索を取り付けることができるようにしたネット体と、カシメ金具等の取付具を用いることなくフックを緊締索の端部に設けるようにしたネット体の締結具とを組み合わせて、製作が容易なタイヤ滑り止め装置を提供することである。
本発明は上記の目的を達成するために以下の技術的手段を講じた。
すなわち、第1に、タイヤの外周部に巻回されて、幅方向一方側がタイヤ外側に装着され、幅方向の他方側がタイヤ内側に装着される帯状のネット体において、前記ネット体の幅方向他方側には、ネット体を緊締するための緊締索を取り付ける取付部が前記ネット体と一体に形成されており、この取付部は、ネット体の帯長手方向に向いた孔を有するループ形状とされており、この取付部内に芯材がループ状に埋設されていることである。
これによれば、取付部をネット体に一体に形成することによって、別体の補助金具をネット体に取り付ける必要がなく、製造工程を短縮することができる。
すなわち、第1に、タイヤの外周部に巻回されて、幅方向一方側がタイヤ外側に装着され、幅方向の他方側がタイヤ内側に装着される帯状のネット体において、前記ネット体の幅方向他方側には、ネット体を緊締するための緊締索を取り付ける取付部が前記ネット体と一体に形成されており、この取付部は、ネット体の帯長手方向に向いた孔を有するループ形状とされており、この取付部内に芯材がループ状に埋設されていることである。
これによれば、取付部をネット体に一体に形成することによって、別体の補助金具をネット体に取り付ける必要がなく、製造工程を短縮することができる。
第2に、タイヤの外周部に巻回される帯状のネット体の幅方向一方側を緊締する有端状の緊締索と、緊締索を無端状に接続する接続部材とを備えたネット体の締結具において、前記緊締索の一端側に、前記接続部材と連結するための連結部が設けられ、連結部は先端がフック状のフック体の基部を緊締索に埋設固定して形成されていることである。
これによれば、フック体の基部が緊締索の端部に埋設固定されているので、従来のようにカシメ金具等の取付具を用いずに、フックを緊締索の端部に設けることができ、フックの基部の周りが嵩張ることもなく、邪魔にならない。
これによれば、フック体の基部が緊締索の端部に埋設固定されているので、従来のようにカシメ金具等の取付具を用いずに、フックを緊締索の端部に設けることができ、フックの基部の周りが嵩張ることもなく、邪魔にならない。
第3に、タイヤの外周部に巻回されて、幅方向一方側がタイヤ外側に装着され、幅方向の他方側がタイヤ内側に装着される帯状のネット体と、ネット体の締結具を備えたタイヤ滑り止め装置において、前記締結具は、ネット体の幅方向一方側を緊締する有端状の緊締索と、緊締索を無端状に接続する接続部材とを備えており、前記ネット体の幅方向他方側には、前記緊締索を取り付ける取付部が前記ネット体と一体に形成されており、この取付部は、ネット体の帯長手方向に向いた孔を有するループ形状とされており、この取付部内に芯材がループ状に埋設されており、前記緊締索の一端側に、前記接続部材と連結するための連結部が設けられ、連結部は先端がフック状のフック体の基部を緊締索に埋設固定して形成され、前記緊締索が前記孔に挿通されていることである。
これによれば、取付部をネット体に一体に形成することによって、別体の補助金具をネット体に取り付ける必要がなく、製造工程を短縮することができるとともに、フック体の基部が緊締索の端部に埋設されているので、カシメ金具等の取付具を用いずに、フックを緊締索の端部に設けることができ、フックの基部の周りが嵩張ることもなく、この部分が邪魔になることもない。
また、緊締索の端部にフック体の基部を埋設しているので、この基部まわりが嵩張ることがなく、取付部の孔に緊締索を挿通するときの邪魔にならず、タイヤ滑り止め装置の組み立て(製造)が容易になる。
また、緊締索の端部にフック体の基部を埋設しているので、この基部まわりが嵩張ることがなく、取付部の孔に緊締索を挿通するときの邪魔にならず、タイヤ滑り止め装置の組み立て(製造)が容易になる。
本発明によれば、ネット体は別体の補助金具を設けることなく緊締索を取り付けることができる。
また、ネット体の締結具については、カシメ金具等の取付具を用いることなく、フックを緊締索の端部に設けるようにできる。
また、タイヤ滑り止め装置は、ネット体に補助金具を設けることなく緊締索を取り付け、そしてネット体の締結具を、カシメ金具等の取付具を用いることなく、フックを緊締索に取り付けたものとすることで、製作が容易になる。
また、ネット体の締結具については、カシメ金具等の取付具を用いることなく、フックを緊締索の端部に設けるようにできる。
また、タイヤ滑り止め装置は、ネット体に補助金具を設けることなく緊締索を取り付け、そしてネット体の締結具を、カシメ金具等の取付具を用いることなく、フックを緊締索に取り付けたものとすることで、製作が容易になる。
以下、図面を参照しながら本発明の実施形態を説明する。
図1〜図5において、タイヤ滑り止め装置1は、タイヤ2の外周を被覆する帯状のネット体3と、このネット体3を締め付けてタイヤ2に装着させるための締結具4とを備えている。
ネット体3は、その幅方向の一方側(以下、幅方向外側ともいう)がタイヤ2の外側に装着され、幅方向の他方側(以下、幅方向内側ともいう)がタイヤ2の内側に装着されてタイヤ2外周部に巻回されるようになっている。
図1〜図5において、タイヤ滑り止め装置1は、タイヤ2の外周を被覆する帯状のネット体3と、このネット体3を締め付けてタイヤ2に装着させるための締結具4とを備えている。
ネット体3は、その幅方向の一方側(以下、幅方向外側ともいう)がタイヤ2の外側に装着され、幅方向の他方側(以下、幅方向内側ともいう)がタイヤ2の内側に装着されてタイヤ2外周部に巻回されるようになっている。
ネット体3は、その帯長手方向(またはタイヤ2周方向)に所定間隔をおいて2枚並設されており、各ネット体3、3の間が開口部5とされている。この開口部5は、タイヤ滑り止め装置1をタイヤ2へ装着するときにタイヤ2の接地部分に対応する隙間となる。
各ネット体3は、所定のネット模様に張りめぐらせた芯材6に合成ゴム、天然ゴム又は合成樹脂などの非金属製の弾性材料を被覆することにより形成されるが、この実施形態では、ゴム材を加硫成形することによってネット状に形成されている。
ネット体3のネット模様は、基本単位であるネット片7を帯長手方向に複数(図例では各ネット体3は5つのネット片7からなる)並設することによって構成される。なお、各ネット片7の幅方向各端部は先細り状に形成されている。
各ネット体3は、所定のネット模様に張りめぐらせた芯材6に合成ゴム、天然ゴム又は合成樹脂などの非金属製の弾性材料を被覆することにより形成されるが、この実施形態では、ゴム材を加硫成形することによってネット状に形成されている。
ネット体3のネット模様は、基本単位であるネット片7を帯長手方向に複数(図例では各ネット体3は5つのネット片7からなる)並設することによって構成される。なお、各ネット片7の幅方向各端部は先細り状に形成されている。
ネット体3の幅方向中央部は、タイヤトレッドに対応して地面に接地するトレッド対応領域(接地領域)9とされている。このトレッド対応領域9の幅方向両側は、タイヤ2のショルダー部に対応するショルダー部対応領域10とされている。このショルダー部対応領域10の幅方向両側は、タイヤ2のサイドウォール部に対応するサイドウォール対応領域11とされている。
また、各ネット体3の帯長手方向両側は、帯幅方向に延びる細帯部12a、12bとされており、これらの細帯部12a、12bの間に所定のネット模様が形成されている。なお、2つのネット体3が対向する側の細帯部を第1細帯部12aといい、第1細帯部12aの反対側の細帯部を第2細帯部12bという。
また、各ネット体3の帯長手方向両側は、帯幅方向に延びる細帯部12a、12bとされており、これらの細帯部12a、12bの間に所定のネット模様が形成されている。なお、2つのネット体3が対向する側の細帯部を第1細帯部12aといい、第1細帯部12aの反対側の細帯部を第2細帯部12bという。
ネット体3の幅方向内側の端部には、タイヤ2の内側に位置してネット体3を緊締する内側緊締部13が設けられている。内側緊締部13は、各ネット片7の幅方向内側の端部、および各細帯部12a、12bのタイヤ2内側寄りの端部に設けられている。
図1に示すように、各内側緊締部13は、ネット体3の帯長手方向に沿って帯状に形成されており、内側緊締部13同士は、連結フック14によって連結されていて、タイヤ2に取り付けたときにネット体3を無端状に連結できるようになっている。
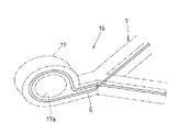
ネット体3の幅方向外側には、前記締結具4を取り付けるための取付部16が設けられている。取付部16は、ネット体3に複数形成されており、具体的には、各ネット片7の幅方向外側の端部に形成されている。
図1に示すように、各内側緊締部13は、ネット体3の帯長手方向に沿って帯状に形成されており、内側緊締部13同士は、連結フック14によって連結されていて、タイヤ2に取り付けたときにネット体3を無端状に連結できるようになっている。
ネット体3の幅方向外側には、前記締結具4を取り付けるための取付部16が設けられている。取付部16は、ネット体3に複数形成されており、具体的には、各ネット片7の幅方向外側の端部に形成されている。
図1、図3に示すように、取付部16は、加硫成形によってネット片7と一体に形成されていて、幅方向外方に突出して形成されている。取付部16の先端部はループ状(環状)に形成されており(以下、この先端部をループ部17という)、このループ部17には帯長手方向に向いた孔17aが形成されている。
取付部16内には芯材6が設けられている。この芯材6は、ネット片7内に設けられたネット状の芯材6を延長したものであり、ループ部17のループ形状に係合してループ状に構成されている。
取付部16内には芯材6が設けられている。この芯材6は、ネット片7内に設けられたネット状の芯材6を延長したものであり、ループ部17のループ形状に係合してループ状に構成されている。
この芯材6のループ形状は、一本の線材を折り曲げることによって形成されている。すなわち、図2、図3に示すように、ネット片7の幅方向外端部は、網目の一辺と他の一辺が交差して先細り状とされているが、芯材6は前記網目の一辺からループ部17に向かって延長されてループを構成するように折り返され、そしてネット片7の網目の他の一辺に延長されて連結されている。
上述のように、締結具4を取り付けるための取付部16をネット体3の加硫成型処理の際に同時に形成することによって、従来のように補助金具をネット体3にカシメ等によって設けるといった行程を経ることがなくなり、これによってネット体3(タイヤ滑り止め装置1)を製造行程を短縮して製造コストを低減することができる。
上述のように、締結具4を取り付けるための取付部16をネット体3の加硫成型処理の際に同時に形成することによって、従来のように補助金具をネット体3にカシメ等によって設けるといった行程を経ることがなくなり、これによってネット体3(タイヤ滑り止め装置1)を製造行程を短縮して製造コストを低減することができる。
前記締結具4は、有端状の緊締索19a、19bと、この緊締索19a、19bの端部同士を接続する接続部材20a、20bとを備えている。緊締索19a、19bは各ネット体3に対として設けられている。以下、対の緊締索の一方を第1緊締索19aといい、他方を第2緊締索19bという。
各緊締索19a、19bの本体部21の一端側には、接続部材20a、20bと連結するための連結部22が設けられている。緊締索19a、19bの本体部21は、ネット体3と同様のゴム材料によってロープ状に形成されており、連結部22は、本体部21の一端部にフック体23を埋設固定することによって先端がフック状に形成されている。
各緊締索19a、19bの本体部21の一端側には、接続部材20a、20bと連結するための連結部22が設けられている。緊締索19a、19bの本体部21は、ネット体3と同様のゴム材料によってロープ状に形成されており、連結部22は、本体部21の一端部にフック体23を埋設固定することによって先端がフック状に形成されている。
図4に示すように、フック体23のフック状の先端部とは反対の基部23aには、本体部21の内部に埋設するための埋設しろ25が設けてあり、この部分が本体部21の端部に被覆されている。このフック体23の基部23aは、本体部21の端部に被覆された状態で、本体部21の加硫成形処理の際にこの本体部21と一体に接着され、これによって、フック体23は本体部21に固定される。
緊締索19a、19bは、ネット体3の取付部16の孔17aに挿通されている。緊締索19a、19bの連結部22は、上述のようにフック体23を本体部21に埋設しているので、従来のように本体部21の先端を折り返してループ状に形成する必要がなく、この埋設部分は、嵩張ることもないので、緊締索19a、19bを取付部16の孔17aに挿通しやすくなり、タイヤ滑り止め装置1を組み立て(製造)し易くなっており、また扱いやすいものになっている。なお、この孔17aは、緊締索19a、19bの連結部22が挿通できるように、帯長手方向にやや長い長孔とされている。
緊締索19a、19bは、ネット体3の取付部16の孔17aに挿通されている。緊締索19a、19bの連結部22は、上述のようにフック体23を本体部21に埋設しているので、従来のように本体部21の先端を折り返してループ状に形成する必要がなく、この埋設部分は、嵩張ることもないので、緊締索19a、19bを取付部16の孔17aに挿通しやすくなり、タイヤ滑り止め装置1を組み立て(製造)し易くなっており、また扱いやすいものになっている。なお、この孔17aは、緊締索19a、19bの連結部22が挿通できるように、帯長手方向にやや長い長孔とされている。
図1,図5に示すように、各ネット体3に設けられる対の各緊締索19a、19bの連結部22は、ネット体3の帯長手方向(またはタイヤ2の周方向)で対向して設けられており、連結部22同士が接続部材(以下、第1接続部材20aという)によって連結されている。
第1緊締索19aの連結部22とは反対の端部26は、ネット体3の第1細帯部12aにジョイント部材27を介して連結されており、一方、第2緊締索19bの連結部22とは反対の端部28は、ネット体3の第2細帯部12bにジョイント部材29を介して連結されている。
第1緊締索19aの連結部22とは反対の端部26は、ネット体3の第1細帯部12aにジョイント部材27を介して連結されており、一方、第2緊締索19bの連結部22とは反対の端部28は、ネット体3の第2細帯部12bにジョイント部材29を介して連結されている。
第1緊締索19aの前記端部(連結部22とは反対の端部26)同士は、接続部材(以下、第2接続部材20bという)によって連結可能とされている。
また、第2緊締索19bの連結部22とは反対の端部28同士はフック状の連結体31によって連結可能とされており、連結体31によってこの端部同士を連結することで、対のネット体3同士を無端状に連結できるようになっている。
第1接続部材20aは、タイヤ滑り止め装置1をタイヤ2に装着するときに、第1緊締索19aと第2緊締索19bとを連結した状態で、ネット体3の締め付けができるようになっている。
また、第2緊締索19bの連結部22とは反対の端部28同士はフック状の連結体31によって連結可能とされており、連結体31によってこの端部同士を連結することで、対のネット体3同士を無端状に連結できるようになっている。
第1接続部材20aは、タイヤ滑り止め装置1をタイヤ2に装着するときに、第1緊締索19aと第2緊締索19bとを連結した状態で、ネット体3の締め付けができるようになっている。
この第1接続部材20aは、工具係合体32を備えており、この工具係合体の対角部に第1緊締索19aおよび第2緊締索19bの連結部22の先端を揺動自在に連結している。
第1接続部材20aは図示しない締め付け用工具によって工具係合体32を回転操作することで、前記第1緊締索19aの連結部22と第2緊締索19bの連結部22とを、伸長状態と折り込み状態とに切り替え可能とされ、折り込み状態とすることで前記連結部22同士の間隔を狭めるように引き締めることができる。
第1接続部材20aは図示しない締め付け用工具によって工具係合体32を回転操作することで、前記第1緊締索19aの連結部22と第2緊締索19bの連結部22とを、伸長状態と折り込み状態とに切り替え可能とされ、折り込み状態とすることで前記連結部22同士の間隔を狭めるように引き締めることができる。
第2接続部材20bは、第1接続部材20aと略同様の構成であり、各ネット体3の第1細帯部12aに連結されている緊締索19a、19bの端部同士を2本の連結フック34とこの第2接続部材20bとによって連結し、締め付け用工具によって第1接続部材20aと同様に折り込み状態とすることによって、ネット体3を締め付けることができる。
図5に示すようにタイヤ滑り止め装置1をタイヤ2に装着するには、各ネット体3の間にある開口部5をタイヤ2の接地箇所に対応させて、タイヤ2の内側に廻し込み、タイヤ2とフェンダーのすきまから引き上げて、ネット体3をタイヤ2に巻回する。
図5に示すようにタイヤ滑り止め装置1をタイヤ2に装着するには、各ネット体3の間にある開口部5をタイヤ2の接地箇所に対応させて、タイヤ2の内側に廻し込み、タイヤ2とフェンダーのすきまから引き上げて、ネット体3をタイヤ2に巻回する。
そして、連結フック14によって内側緊締部13同士を連結し、ネット体3の幅方向内側をタイヤ2の周方向に沿って無端状に連結する。
さらに、第1接続部材20a、第2接続部材20bおよびフック状の連結体31によって、第1緊締索19aおよび第2緊締索19bが無端状に接続するとともに、各ネット体3を無端状に接続する。
その後、第1接続部材20a、第2接続部材20bを締め付け用工具によって操作して、伸張状態から折り込み状態とすると、各緊締索19a、19bは縮径するように引っ張られネット体3の幅方向外側がタイヤ径内方向に締め付けられ、装着が完了する。
さらに、第1接続部材20a、第2接続部材20bおよびフック状の連結体31によって、第1緊締索19aおよび第2緊締索19bが無端状に接続するとともに、各ネット体3を無端状に接続する。
その後、第1接続部材20a、第2接続部材20bを締め付け用工具によって操作して、伸張状態から折り込み状態とすると、各緊締索19a、19bは縮径するように引っ張られネット体3の幅方向外側がタイヤ径内方向に締め付けられ、装着が完了する。
1 タイヤ滑り止め装置
2 タイヤ
3 ネット体
4 締結具
6 芯材
16 取付部
17a 孔
19 緊締索(19a、19b)
20 接続部材(20a、20b)
22 連結部
23 フック体
23a 基部
2 タイヤ
3 ネット体
4 締結具
6 芯材
16 取付部
17a 孔
19 緊締索(19a、19b)
20 接続部材(20a、20b)
22 連結部
23 フック体
23a 基部
Claims (3)
- タイヤ(2)の外周部に巻回されて、幅方向一方側がタイヤ(2)外側に装着され、幅方向の他方側がタイヤ(2)内側に装着される帯状のネット体(3)において、
前記ネット体(3)の幅方向一方側には、ネット体(3)を緊締するための緊締索(19a、19b)を取り付ける取付部(16)が前記ネット体(3)と一体に形成されており、この取付部(16)は、ネット体(3)の帯長手方向に向いた孔(17a)を有するループ形状とされており、この取付部(16)内に芯材(6)がループ状に埋設固定されていることを特徴とするネット体。 - タイヤ(2)の外周部に巻回される帯状のネット体(3)の幅方向一方側を緊締する有端状の緊締索(19a、19b)と、緊締索(19a、19b)を無端状に接続する接続部材(20a、20b)とを備えたネット体の締結具において、
前記緊締索(19a、19b)の一端側に、前記接続部材(20a、20b)と連結するための連結部(22)が設けられ、連結部(22)は、先端がフック状のフック体(23)の基部(23a)を緊締索(19a、19b)に埋設固定して形成されていることを特徴とするネット体の締結具。 - タイヤ(2)の外周部に巻回されて、幅方向一方側がタイヤ(2)外側に装着され、幅方向の他方側がタイヤ(2)内側に装着される帯状のネット体(3)と、このネット体(3)の締結具(4)とを備えたタイヤ滑り止め装置において、
前記締結具(4)は、ネット体(3)の幅方向一方側を緊締する有端状の緊締索(19a、19b)と、緊締索(19a、19b)を無端状に接続する接続部材(20a、20b)とを備えており、
前記ネット体(3)の幅方向一方側には、前記緊締索(19a、19b)を取り付ける取付部(16)が前記ネット体(3)と一体に形成されており、この取付部(16)は、ネット体(3)の帯長手方向に向いた孔(17a)を有するループ形状とされていて、この取付部(16)内に芯材(6)がループ状に埋設されており、
前記緊締索(19a、19b)の一端側に、前記接続部材(20a、20b)と連結するための連結部(22)が設けられ、連結部(22)は先端がフック状のフック体(23)の基部(23a)を緊締索(19a、19b)に埋設固定して形成されており、
前記緊締索(19a、19b)が前記孔(17a)に挿通されていることを特徴とするタイヤ滑り止め装置。
Priority Applications (1)
| Application Number | Priority Date | Filing Date | Title |
|---|---|---|---|
| JP2004085279A JP2005271663A (ja) | 2004-03-23 | 2004-03-23 | ネット体とネット体の締結具およびタイヤ滑り止め装置 |
Applications Claiming Priority (1)
| Application Number | Priority Date | Filing Date | Title |
|---|---|---|---|
| JP2004085279A JP2005271663A (ja) | 2004-03-23 | 2004-03-23 | ネット体とネット体の締結具およびタイヤ滑り止め装置 |
Publications (1)
| Publication Number | Publication Date |
|---|---|
| JP2005271663A true JP2005271663A (ja) | 2005-10-06 |
Family
ID=35171778
Family Applications (1)
| Application Number | Title | Priority Date | Filing Date |
|---|---|---|---|
| JP2004085279A Pending JP2005271663A (ja) | 2004-03-23 | 2004-03-23 | ネット体とネット体の締結具およびタイヤ滑り止め装置 |
Country Status (1)
| Country | Link |
|---|---|
| JP (1) | JP2005271663A (ja) |
-
2004
- 2004-03-23 JP JP2004085279A patent/JP2005271663A/ja active Pending
Similar Documents
| Publication | Publication Date | Title |
|---|---|---|
| JPH0330522B2 (ja) | ||
| JP2005271663A (ja) | ネット体とネット体の締結具およびタイヤ滑り止め装置 | |
| JPH0340641Y2 (ja) | ||
| JP2845435B2 (ja) | タイヤ滑り止め装置 | |
| JPH034564Y2 (ja) | ||
| JP2719342B2 (ja) | タイヤ滑り止め装置 | |
| JPH057043Y2 (ja) | ||
| JPH04964Y2 (ja) | ||
| JP2525992B2 (ja) | タイヤの滑止め装置 | |
| JPH02322Y2 (ja) | ||
| JP2888277B2 (ja) | タイヤ用滑り止め装置 | |
| JPH0611202Y2 (ja) | タイヤ滑止具の連結具 | |
| JPS6347523Y2 (ja) | ||
| JPS581365Y2 (ja) | ゴム車輪に装着するガ−ドル構造 | |
| JP3986164B2 (ja) | タイヤ用滑り止め装置 | |
| JP2661713B2 (ja) | タイヤ滑り止め装置 | |
| JP2575416Y2 (ja) | タイヤ滑り止め装置のジョイントフック付きテンションバンド | |
| JP2524959B2 (ja) | タイヤ滑止め具 | |
| JPH0420647Y2 (ja) | ||
| JPH067925Y2 (ja) | タイヤ滑止具の連結具 | |
| JPH0323363Y2 (ja) | ||
| JPH0596918A (ja) | タイヤの滑止め装置 | |
| JP2525984B2 (ja) | タイヤの滑止め装置 | |
| JPH0472724B2 (ja) | ||
| JPH0478607A (ja) | 非金属製タイヤ滑り止め装置 |