EP1174772B1 - Verfahren und Gerät zum Bedrucken von Einzelblättern in Gruppen nach dem Duplexverfahren - Google Patents
Verfahren und Gerät zum Bedrucken von Einzelblättern in Gruppen nach dem Duplexverfahren Download PDFInfo
- Publication number
- EP1174772B1 EP1174772B1 EP01122470A EP01122470A EP1174772B1 EP 1174772 B1 EP1174772 B1 EP 1174772B1 EP 01122470 A EP01122470 A EP 01122470A EP 01122470 A EP01122470 A EP 01122470A EP 1174772 B1 EP1174772 B1 EP 1174772B1
- Authority
- EP
- European Patent Office
- Prior art keywords
- printing
- individual sheets
- sheets
- printing unit
- individual
- Prior art date
- Legal status (The legal status is an assumption and is not a legal conclusion. Google has not performed a legal analysis and makes no representation as to the accuracy of the status listed.)
- Expired - Lifetime
Links
Images
Classifications
-
- G—PHYSICS
- G03—PHOTOGRAPHY; CINEMATOGRAPHY; ANALOGOUS TECHNIQUES USING WAVES OTHER THAN OPTICAL WAVES; ELECTROGRAPHY; HOLOGRAPHY
- G03G—ELECTROGRAPHY; ELECTROPHOTOGRAPHY; MAGNETOGRAPHY
- G03G15/00—Apparatus for electrographic processes using a charge pattern
- G03G15/22—Apparatus for electrographic processes using a charge pattern involving the combination of more than one step according to groups G03G13/02 - G03G13/20
- G03G15/23—Apparatus for electrographic processes using a charge pattern involving the combination of more than one step according to groups G03G13/02 - G03G13/20 specially adapted for copying both sides of an original or for copying on both sides of a recording or image-receiving material
- G03G15/231—Arrangements for copying on both sides of a recording or image-receiving material
- G03G15/238—Arrangements for copying on both sides of a recording or image-receiving material using more than one reusable electrographic recording member, e.g. single pass duplex copiers
-
- G—PHYSICS
- G03—PHOTOGRAPHY; CINEMATOGRAPHY; ANALOGOUS TECHNIQUES USING WAVES OTHER THAN OPTICAL WAVES; ELECTROGRAPHY; HOLOGRAPHY
- G03G—ELECTROGRAPHY; ELECTROPHOTOGRAPHY; MAGNETOGRAPHY
- G03G15/00—Apparatus for electrographic processes using a charge pattern
- G03G15/01—Apparatus for electrographic processes using a charge pattern for producing multicoloured copies
- G03G15/0142—Structure of complete machines
- G03G15/0178—Structure of complete machines using more than one reusable electrographic recording member, e.g. one for every monocolour image
- G03G15/0194—Structure of complete machines using more than one reusable electrographic recording member, e.g. one for every monocolour image primary transfer to the final recording medium
-
- G—PHYSICS
- G03—PHOTOGRAPHY; CINEMATOGRAPHY; ANALOGOUS TECHNIQUES USING WAVES OTHER THAN OPTICAL WAVES; ELECTROGRAPHY; HOLOGRAPHY
- G03G—ELECTROGRAPHY; ELECTROPHOTOGRAPHY; MAGNETOGRAPHY
- G03G2215/00—Apparatus for electrophotographic processes
- G03G2215/00016—Special arrangement of entire apparatus
- G03G2215/00021—Plural substantially independent image forming units in cooperation, e.g. for duplex, colour or high-speed simplex
-
- G—PHYSICS
- G03—PHOTOGRAPHY; CINEMATOGRAPHY; ANALOGOUS TECHNIQUES USING WAVES OTHER THAN OPTICAL WAVES; ELECTROGRAPHY; HOLOGRAPHY
- G03G—ELECTROGRAPHY; ELECTROPHOTOGRAPHY; MAGNETOGRAPHY
- G03G2215/00—Apparatus for electrophotographic processes
- G03G2215/01—Apparatus for electrophotographic processes for producing multicoloured copies
- G03G2215/0103—Plural electrographic recording members
Definitions
- the invention relates to a method for printing single sheets in a printer or in a copier, wherein a double-sided printing process takes place on individual sheets. Furthermore, the invention relates to a printing or copying machine.
- High-performance printers can be operated in so-called duplex mode, which is also called duplex color spot operation.
- duplex mode single sheets are printed on both sides. If only one print is made on one side and two different colors on the other side, it is called duplex printing with three printing. If two prints are made on both sides of the single sheet, this is called duplex printing with four printing.
- duplex printing systems with at least two printing units are known from US 4,591,884 A.
- Another high-performance printing device with two printing units is known from WO 91/13386 A1. It has two printing units and turning channels for turning the single sheets. Each printing unit is assigned a transfer printing path. The two transfer transport paths are connected to one another via a connecting channel.
- FIG. 1 shows a high-performance printer 10, which is used for the rapid printing of individual sheets of paper.
- the high-performance printer 10 includes a first, lower printing unit D1 and a second, upper printing unit D2. Both printing units D1, D2 work according to the known electrographic process with the same transfer printing speed.
- the printing units D1, D2 are followed by fixing devices, which are indicated schematically in Figure 1 by two pairs of rollers 12, 14.
- a paper input 16 connected, which contains a plurality of reservoirs 18 to 24 with individual sheets and an external paper input channel 26, can be fed via the outside of the individual sheets. About a transport channel 27 individual sheets are fed to an input section 28.
- a paper output 30 is connected to the high-performance printer 10, which contains a plurality of output containers 32 to 36. Furthermore, two output channels 38, 40 are provided, via which individual sheets can be output to further processing stations.
- the high-performance printer 10 delivers the printed single sheets over the discharge section 42.
- the printing units D1, D2 each Umtik-transport paths 44, 46 are assigned, which are each set by drives so that the supplied single sheets on the printing units D1, D2 have their transfer printing speed. Both transfer transport paths 44, 46 are connected to each other via a connecting channel 48.
- the transport path around the first printing unit D1 is supplemented to form a ring R1 by a feed channel 50, via which individual sheets can also be fed from the input section 28 to the second transfer printing path 46.
- the transport path for the second printing unit D2 is supplemented in a similar manner to form a ring R2 by a discharge channel 52, via which individual sheets printed by the printing unit D1 can be fed to the delivery section 42.
- a first switch W1 is arranged, which allows individual sheets from the input section 28 optionally to the first transfer transport path 44 or the feed channel 50 are supplied. Another variant is that on the feed channel 50 in the direction the switch W1 transported sheets can be supplied to the first transfer printing path 44.
- a second shunt W2 and a third shunt W3 are arranged at the ends of the connecting channel 48 and connect the adjacent transport paths 44, 48, 52 and 46, 48, 50, respectively.
- a fourth shunt W4 is located in the vicinity of the dispensing section 42 and connects the adjacent transport routes.
- the paper dispenser 30 includes a fifth shunt W5, which operates as a turning device. Furthermore, it should be noted on a Aus Kunststoff Anlagen 54, which are supplied via a switch W6 Committee single sheets.
- various modes of the high-performance printer 10 can be realized.
- the relevant operating modes are duplex printing with four printing and duplex printing with three printing.
- FIGS. 2 to 9 show various operating phases in duplex printing operation with four printing operations. For reasons of clarity, a multiplicity of components, which were explained in connection with FIG. 1, have been omitted from the figures. However, it is readily apparent how the operations shown in FIGS. 2 to 9 are realized by the components shown in more detail in FIG.
- the front and back of the cut sheets are printed with different color patterns.
- the printing units D1 and D2 can print different colored printed images.
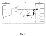
- a group of six individual sheets B1 to B6 are fed via the input section 28 and the switch W1 (see in each case FIG. 1) and moved along the first transfer printing path 44 past the lower printing unit D1, wherein the first page is printed with a first color, indicated by dots. While the first cut sheet B1 has almost reached the switch W2 and the connection channel 48, the last cut sheet B6 of the group is still in or in front of the input section 28.
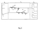
- FIG. 3 shows that the sheets successively pass through the connecting channel 48 and are fed to the second printing unit D2 for printing via the second transfer printing transport path 46.
- a higher transport speed than the transfer printing speed is preferably present in order to convey the single sheets on the path between the two printing units D1, D2 in the shortest possible time.
- the single sheets B1 to B6 are decelerated again to transfer printing speed.
- the printing unit D2 is on the already printed by the printing unit D1 page another print with a different color, e.g. Red, upset.
- this second printing is characterized by longitudinal lines.
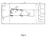
- FIG. 4 shows the operating phase in which the first single sheet B1 has been further conveyed after printing and has been turned over at the switch W4 with a turning function. Thereafter, the single sheets B1 to B6 are sequentially conveyed along the discharge channel 52 again in the direction of the first printing unit D1. It should be noted that the sixth individual sheet B6 is still in a sufficient safety distance before the first sheet B1 on the way towards the connecting channel 48.
- FIG. 5 shows the operating phase in which the sixth individual sheet B6 is printed by the second printing unit D2, while the first single sheet B1 has already passed through the connecting channel 48 and is now conveyed along the feed channel 50 becomes. All single sheets B1 to B6 are turned at the switch W4.
- FIG. 6 shows the first single sheet B1 shortly before being fed to the first printing unit D1.
- the conveying speed for the single sheet B1 is again set to the transfer printing speed.
- the other single sheets B2 to B6 are still promoted at increased speed.
- Figure 7 shows that the cut sheets B1 and B2 are printed for the third time, i. the first printing unit prints on the other side of the single sheets, illustrated in FIG. 7 by dots.
- the sixth single sheet B6 is still in the connecting channel 48, but has a sufficiently large safety distance from the following single sheet B1.
- the first single sheet B1 'of the following group is already supplied to be introduced after the passage of the single sheet B6 to the switch W1 in the first transfer printing path 44.
- FIG. 8 shows the re-feeding of the single sheet B1 as well as the further single sheets B2 to B6 of the first group to the printing group D2.
- the fourth pressure is applied. It can be seen on the right in the image that the individual sheets B1 ', B2', B3 'of the following group are fed to the first transfer printing path 44 at the switch W1.
- the distance between the last single sheet B6 of the first group and the first single sheet B1 'of the second group corresponds to the predetermined distance a of the single sheets at Umtik nie.
- FIG. 9 shows an operating phase in which the first group of individual sheets B1 to B6 are printed by the second printing unit D2 (indicated by horizontal lines in FIG FIG. 9) and subsequently conveyed via the output section 42 into the paper output 30 and deposited there.
- the second group of individual sheets B1 'to B6' is subsequently already printed by the first printing unit D1.
- the turning does not necessarily take place at the switch W4, but can also be carried out on the turnouts W2, W3 or, if equipped appropriately, on switch W1, provided that the associated drive elements can perform a turning function.
- a turning process is explained below with reference to the shunt W4.
- the respective single sheet is first transported past the switch W4 on a first transport path in a transport direction in the direction of the switch W5. Subsequently, the transport direction is reversed and the respective single sheet is conveyed in the direction of the discharge channel 52.
- a similar mode of operation is possible for the further points W1, W2, W3.
- Another variant is to choose the path of the group of individual sheets differently, for example by the group first the printing unit D2, then the printing unit D1, after subsequent turning turn printing unit D2, then fed to printing unit D1 and the single sheets are output via the discharge channel 52 ,
- FIG. 10 shows the feeding of the first group of individual sheets B1 to B6 from the paper input 16 to the first printing unit D1, which prints the single sheets B1 to B6 with a first color (shown dotted), for example with a black color.
- the feeding speed may be higher than the transfer printing speed, but this higher speed must be be reduced to the transfer printing speed when reaching the first printing unit D1.
- FIG. 11 shows the turning of the individual sheets on the shunt W2 (see FIG. 1), wherein the single sheet B1 is first conveyed in the direction of the shunt W4, then the transport direction is reversed and the single sheet B1 is transported in the direction of the connecting channel 48.
- a higher transport speed can be selected.
- FIG. 12 shows that the individual sheets B1 to B6 are conveyed along the first closed transport path R1.
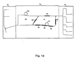
- FIG. 13 shows the printing of the back side of the single sheets B1 to B6 by the printing unit D1.
- Figure 14 shows the promotion of the individual sheets B1 to B6 via the connecting channel 48 to the second transport path 46, wherein no turning takes place.
- the individual sheets B1 ', B2' of the following group are already provided via the paper input 16.
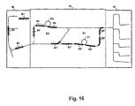
- FIG. 15 shows the printing of the one side of the single sheets B1 to B6 by the second printing unit D2.
- the first printing unit D1 the single sheets are already supplied to the following group, i. the first single sheet B1 'of the following group follows the last single sheet B6 of the first group.
- Figure 16 shows the removal of the individual sheets B1 to B6 of the first group in the paper output 30, wherein no turning and a so-called face-down storage takes place.
- the individual sheets B1 'to B6' of the following group are in an operating phase, as shown in FIG.
- FIG. 17 shows the further depositing of the individual sheets B1 to B6 of the first group and the printing of the individual sheets B1 'to B6' of the following group.
- the group of cut sheets can first be fed to the second printing unit D2 and printed a first time; then the single sheets are fed again along the closed second transport path R2 to the second printing unit D2, wherein the single sheets were previously turned, for example, at the switch W4; then the single sheets are fed without turning the first printing unit D1 via the connecting channel 48 and printed. Subsequently, the three-fold printed single sheets are issued.
- FIGS. 18 to 28 show various operating phases in the case of duplex printing operation with four-times printing, with individual sheets being conveyed alternately to the first transport ring R1 or the second transport ring R2. For reasons of clarity, a multiplicity of components, which were explained in connection with FIG. 1, have been omitted from the figures. However, it is readily apparent how the operations shown in FIGS. 18 to 28 are realized by the components shown in more detail in FIG.
- the front and back of the cut sheets are printed with different color patterns.
- the printing units D1 and D2 can print different colored printed images.
- a group of eleven cut sheets B1 to B11 are fed from the paper input 16 via the input section 28 and the shunt W1 (see, respectively, Figure 1) and along the first transfer transport path 44 past the lower printing unit D1, wherein the first side is printed with a first color, indicated by dots. While the first cut sheet B1 has almost reached the switch W2 and the connection channel 48, the last cut sheet B11 of the group is still in the paper input 16 before the input section 28.
- FIG. 19 shows that the individual sheets successively pass through the connecting channel 48 and are fed to the second printing unit D2 for printing via the second transfer printing transport path 46.
- a higher transport speed than the transfer printing speed is present to convey the single sheets on the path between the two printing units D1, D2 in the shortest possible time.
- the single sheets B1 to B11 are decelerated again to transfer printing speed.
- the printing unit D2 is on the already printed by the printing unit D1 page another print with a different color, e.g. Red, upset.
- this second printing is characterized by longitudinal lines.
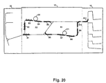
- FIG. 20 shows the operating phase in which the first single sheet B1 has been further conveyed after printing and has been turned over at the switch W4 with a turning function. Thereafter, the single sheets B1 to B11 are successively conveyed within the ring R2 along the discharge channel 52 again in the direction of the first printing unit D1. It should be noted that the eleventh single sheet B11 is still in the unprinted state before the input section 28 and the single sheet B6 and the following single sheets B7, B8, B9 have not yet passed through the connecting channel 48.
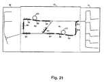
- FIG. 21 shows an operating phase in which the first single sheet B1 at the diverter W2 is interposed between the individual sheets B6 and B7 is threaded and is conveyed in the connecting channel 48 upwards.
- the individual sheets B1 to B11 are conveyed after leaving the printing unit D1 at a higher speed than the transfer printing speed up to the printing unit D2. This increases the distance between the individual sheets. This distance is used in the invention for threading coming from the printing unit D2 and arranged at the beginning of the group of individual sheets.
- FIG. 22 shows the operating state in which the cut sheet B1 is conveyed in the direction of the first printing unit D1 after leaving the turnaround W3.
- the single sheet B6, however, has been promoted in the direction of the printing unit D2.
- the following single sheet B7 is just deflected by the switch W3 in the direction of printing unit D2.
- the single sheet B2 has been threaded between the individual sheets B7 and B8 and is conveyed upwards in the connecting channel 48.
- FIG. 23 shows the first single sheet B1 shortly before feeding to the first printing unit D1.
- the conveying speed for the single sheet B1 is again set to the transfer printing speed.
- the other single sheets B2, B3, B4 in the ring R1 are still promoted at increased speed.
- the cut sheet B4 has been inserted at the turnout W3 between the cut sheets B9 and B10.
- FIG. 24 shows that the single sheets B1 and B2 are printed for the third time, ie the first printing unit D1 prints on the other side of the single sheets, illustrated by dots in FIG.
- the eleventh single sheet B11 is still in the connecting channel 48 and is deflected for printing in the direction of printing unit D2.
- the single sheet B6 is inserted between the single sheets B11 and B1 and is conveyed in the connecting channel 48 upwards.
- FIG. 25 shows the re-feeding of the single sheet B1 as well as the further single sheets B2 and the still following sheets B3 to B11 of the first group to the printing group D2.
- the single sheet B7 is inserted in the connecting channel 48 between the single sheets B1 and B2.
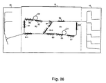
- FIG. 26 shows the operating phase in which a first part of the single sheets B1, B2, B3 of the first group is printed by the second printing unit D2, indicated by horizontal lines.
- the individual sheets B10 and B11 are inserted in the manner of a zipper system between the individual sheets B4 and B5 or B5 and B6 in the connecting channel 48.
- Figure 27 shows that the single sheets provided with a fourth print image, e.g. the single sheets B1, B2, are conveyed via the output section 42 in the paper output 30 and stored there.
- a subsequent Gurppe of individual sheets B1 'to B11' is conveyed from the paper input 16.
- the group of cut sheets B1 'to B11' then passes through the high-performance printer in the manner described for the first group of cut sheets B1 to B11.
- FIG. 28 shows the common transport of individual sheets B3 to B11 of the first group as well as of the single sheets B1 ', B2' and B3 'of the following second group. Both printing units D1 and D2 are utilized to almost 100% in the illustrated mode of operation.
- the turning does not necessarily take place at the switch W4, but can also be carried out at the turnouts W2, W3 or, if the equipment is suitable, also at the turnout W1, provided that the associated turnout W1 Drive elements can perform a turning function.
- a turning process is explained below with reference to the shunt W4. The respective single sheet is first transported past the switch W4 on a first transport path in a transport direction in the direction of the switch W5. Subsequently, the transport direction is reversed and the respective single sheet is conveyed in the direction of the discharge channel 52.
- a similar mode of operation is possible for the further points W1, W2, W3.
- Another variant is to choose the path of the group of individual sheets differently, for example by the group first the printing unit D2, then the printing unit D1, after subsequent turning turn printing unit D2, then fed to printing unit D1 and the single sheets are output via the discharge channel 52 ,
- the group of single sheets in this mode first passes through the first transfer transport path 44, then the connection channel 48, the second transfer transport path 46, the discharge channel 52, again the connection channel 48, the feed channel 50 and the first transfer transport path 44 and then output at the output section 42.
- the switch W2 When returning the printed by the second printing unit D2 single sheets to the first printing unit D1 single sheets are threaded on the switch W2 in the manner described and fed to the switch W3 either the first ring R1 or the second ring R2.
- the group-wise printing of the single sheets is achieved that the first printing unit D1 is 100% utilized, ie for the printing unit D1 is an uninterrupted printing operation before.
- the maximum number of individual sheets of a group depends on the total length of the transport path in the printing system.
- the predetermined number of individual sheets of a group results to N ⁇ INT ⁇ L 44 + L 46 + L 48 + L 50 + L 52 L B + a ⁇ .
- L 44 is the length of the first transfer transport path 44
- L 46 the length of the second transfer transport path 46
- L 48 the length of the connecting channel 48
- L 50 the length of the feed channel 50
- L 52 the length of the discharge channel 52
- L B the Seen length of the single sheet in the transport direction
- a is the distance between two consecutive single sheets at Umtig nie.
- the switch W3 is actuated when leaving the single sheets at each cut sheet to supply the successive single sheets alternately the first or the second printing unit D1 or D2.
- the single sheet B1 and the following single sheets are transported from the shunt W6 to the shunt W2 at Umtik founded printed on the printing unit D1 for the third time and thread between the single sheets B6 and B7 and the following single sheets, which have a corresponding distance from each other.
- the single sheets B1 and the following single sheets are conveyed at an increased speed to the printing unit D2.
- the single sheets are again transported at an increased speed over the shunt W4 in the direction of the paper exit 30.
- the single sheets are selectively turned to place them in one of the output compartments 32, 34, 36 with the front down (face down) or front up (face up).
- the last cut sheet B11 of the first group of cut sheets has passed the common path in the connection channel 48 and the first cut sheet B1 'of the following group of pens can be fed.
- the stream of single sheets is closed.
- the advantage is that no special control effort is required when threading the switch W2. Rather, the return transport of the individual sheets from the upper printing unit D2 for lower printing unit D1 at a constant speed.
- the disadvantage is that tolerances in the distances between the individual sheets within the group can not be compensated and so a jam during threading can occur.
- the single sheet B1 to be led from the printing unit D2 to the printing unit D1 is to be threaded between the individual sheets B6 and B7 on the switch W2.
- the distance between the individual sheets B6 and B7 and the following individual sheets is the same as the short nominal distance.
- the single sheet B1 is transported after leaving the switch W4 with reversing function with such great speed in the direction of the switch W2 that it arrives sufficiently early in front of the switch W2, preferably before the cut sheet B6 has passed the switch W2.
- the single sheet B1 is stopped briefly or slowed in its speed. The further transport of the single sheet B1 is then triggered by the single sheet B6.
- a signal is generated when leaving the rear end of the cut sheet B6, which preferably causes the transport of the single sheet B1 in the connecting channel 48 at the same speed with which the cut sheet B6 is promoted.
- the single sheet B1 thus threads at the same increased speed between the individual sheets B6 and B7 as the transport speed of the single sheet B6 in the connecting channel 48.
- this pair of rollers and the subsequent in the connecting channel 48 in its transport speed reduced to transfer printing speed, since the cut sheet B7 is still partially in the range of the first printing unit D1, for example, in a Decurler. Consequently, the single sheet B1 is reduced in its speed to the speed of the single sheet B7.
- the cut sheet B7 leaves the printing area, preferably the area of the decurler, in the printing unit D1, it can be transported at increased speed again. Also, the single sheet B1 is then transported forward at an increased speed and reaches the transport path 50. The single sheet B1 is transported at a consistently increased speed to the area at the switch W6 and then controlled down to transfer printing speed. The time to reduce the transport speed of the single sheet B1 can be matched to the leading single sheet B11. Then, the gap between the end of the cut sheet B11 and the beginning of the cut sheet B1 can be set at the nominal pitch or slightly larger.
- the other single sheets B2, B3 etc. within the group of individual sheets are transported in a similar manner as has been described for the single sheet B1.
- controlled threading takes place at the shunt W2. This reduces the risk of congestion during threading and the distance between the individual sheets can be minimized.
- the disadvantage is the increased control and control effort when threading.
- the leaves can be threaded controlled on the switch W2, a second transport control path in the region of the switch W1 is required in addition to a transport control path in the region of the switch W2.
- the operations and transport speeds of the single sheets from the input 16 to the switch W4 are consistent with those described in ungetriggered operation.
Landscapes
- Physics & Mathematics (AREA)
- General Physics & Mathematics (AREA)
- Separation, Sorting, Adjustment, Or Bending Of Sheets To Be Conveyed (AREA)
- Handling Of Cut Paper (AREA)
- Counters In Electrophotography And Two-Sided Copying (AREA)
- Conveyance By Endless Belt Conveyors (AREA)
- Color Electrophotography (AREA)
Applications Claiming Priority (5)
| Application Number | Priority Date | Filing Date | Title |
|---|---|---|---|
| DE19814384 | 1998-03-31 | ||
| DE19814384 | 1998-03-31 | ||
| DE19836746 | 1998-08-13 | ||
| DE19836746 | 1998-08-13 | ||
| EP99917943A EP1068560B1 (de) | 1998-03-31 | 1999-03-31 | Verfahren zum bedrucken von einzelblättern in gruppen nach dem duplexverfahren |
Related Parent Applications (1)
| Application Number | Title | Priority Date | Filing Date |
|---|---|---|---|
| EP99917943A Division EP1068560B1 (de) | 1998-03-31 | 1999-03-31 | Verfahren zum bedrucken von einzelblättern in gruppen nach dem duplexverfahren |
Publications (3)
| Publication Number | Publication Date |
|---|---|
| EP1174772A2 EP1174772A2 (de) | 2002-01-23 |
| EP1174772A3 EP1174772A3 (de) | 2002-12-04 |
| EP1174772B1 true EP1174772B1 (de) | 2006-08-09 |
Family
ID=26045156
Family Applications (2)
| Application Number | Title | Priority Date | Filing Date |
|---|---|---|---|
| EP99917943A Expired - Lifetime EP1068560B1 (de) | 1998-03-31 | 1999-03-31 | Verfahren zum bedrucken von einzelblättern in gruppen nach dem duplexverfahren |
| EP01122470A Expired - Lifetime EP1174772B1 (de) | 1998-03-31 | 1999-03-31 | Verfahren und Gerät zum Bedrucken von Einzelblättern in Gruppen nach dem Duplexverfahren |
Family Applications Before (1)
| Application Number | Title | Priority Date | Filing Date |
|---|---|---|---|
| EP99917943A Expired - Lifetime EP1068560B1 (de) | 1998-03-31 | 1999-03-31 | Verfahren zum bedrucken von einzelblättern in gruppen nach dem duplexverfahren |
Country Status (5)
| Country | Link |
|---|---|
| US (2) | US6259884B1 (enExample) |
| EP (2) | EP1068560B1 (enExample) |
| JP (1) | JP4456757B2 (enExample) |
| DE (2) | DE59901193D1 (enExample) |
| WO (1) | WO1999050715A1 (enExample) |
Families Citing this family (21)
| Publication number | Priority date | Publication date | Assignee | Title |
|---|---|---|---|---|
| DE59901193D1 (de) * | 1998-03-31 | 2002-05-16 | Oce Printing Systems Gmbh | Verfahren zum bedrucken von einzelblättern in gruppen nach dem duplexverfahren |
| DE19958295A1 (de) * | 1999-12-03 | 2001-06-13 | Weitmann & Konrad Fa | Druckvorrichtung und Befeuchtungsstation für eine Druckvorrichtung |
| US6381440B1 (en) * | 2000-10-26 | 2002-04-30 | OCé PRINTING SYSTEMS GMBH | Printing system having at least three printer devices as well as method for the operation of such a printing system |
| DE10212840A1 (de) * | 2002-03-22 | 2003-10-09 | Oce Printing Systems Gmbh | Verfahren und Einrichtung zum Bedrucken von Einzelblättern mit einer Wendevorrichtung |
| US6669190B1 (en) * | 2002-07-12 | 2003-12-30 | Lite-On Technology Corporation | Double-side automatic feeding apparatus |
| US6980762B2 (en) * | 2003-12-19 | 2005-12-27 | Xerox Corporation | Modular multi-stage fusing system |
| US8488184B2 (en) * | 2004-03-18 | 2013-07-16 | Riso Kagaku Corporation | Image forming apparatus having a plurality of individually controlled recording heads |
| US7486421B2 (en) * | 2004-08-16 | 2009-02-03 | Lite-On Technology Corporation | Media transfer mechanism |
| US7324779B2 (en) | 2004-09-28 | 2008-01-29 | Xerox Corporation | Printing system with primary and secondary fusing devices |
| US7672634B2 (en) * | 2004-11-30 | 2010-03-02 | Xerox Corporation | Addressable fusing for an integrated printing system |
| JP4720161B2 (ja) * | 2004-12-01 | 2011-07-13 | セイコーエプソン株式会社 | 複合処理装置及びその制御方法 |
| US7731184B2 (en) * | 2005-07-15 | 2010-06-08 | Hewlett-Packard Development Company, L.P. | Duplexer |
| US7430380B2 (en) * | 2005-09-23 | 2008-09-30 | Xerox Corporation | Printing system |
| DE102006025454B4 (de) | 2006-05-31 | 2013-12-12 | Océ Printing Systems GmbH & Co. KG | Druck- oder Kopiersystem zum Verarbeiten von Einzelblättern mit Bestimmung des kürzestmöglichen Einzugsabstands und Verfahren zum Steuern eines solchen Druck- oder Kopiersystems |
| JP5366428B2 (ja) * | 2007-07-23 | 2013-12-11 | 理想科学工業株式会社 | 両面印刷装置 |
| WO2013163748A1 (en) * | 2012-05-03 | 2013-11-07 | Delphax Technologies Canada Ltd. | Inkjet printer with selectable simplex and duplex printing |
| JP6167819B2 (ja) * | 2013-10-02 | 2017-07-26 | 富士ゼロックス株式会社 | 画像形成装置 |
| DE102015017156B4 (de) | 2015-04-30 | 2023-11-30 | Koenig & Bauer Ag | Verfahren zum Betrieb einer Transporteinrichtung zum Transport von Bogen in einer Anordnung von mehreren jeweils Bogen bearbeitenden Bearbeitungsstationen |
| DE102015208050A1 (de) * | 2015-04-30 | 2016-11-03 | Koenig & Bauer Ag | Verfahren zum Betrieb einer Transporteinrichtung zum Transport von Bogen in einer Anordnung von mehreren jeweils Bogen bearbeitenden Bearbeitungsstationen |
| US9370940B1 (en) * | 2015-09-10 | 2016-06-21 | Xerox Corporation | Single decurler configuration for reduced contamination of decurler |
| JP7487004B2 (ja) * | 2020-05-18 | 2024-05-20 | キヤノン株式会社 | 画像形成装置 |
Family Cites Families (26)
| Publication number | Priority date | Publication date | Assignee | Title |
|---|---|---|---|---|
| US4591884A (en) * | 1983-03-10 | 1986-05-27 | Canon Kabushiki Kaisha | Multi-function image recording apparatus |
| DE3422942A1 (de) * | 1983-06-22 | 1985-01-10 | Canon K.K., Tokio/Tokyo | Bilderzeugungsgeraet |
| JP2529222B2 (ja) * | 1986-10-27 | 1996-08-28 | 株式会社リコー | 両面記録装置 |
| JPS63246754A (ja) * | 1987-04-01 | 1988-10-13 | Minolta Camera Co Ltd | 画像作成装置 |
| US4943832A (en) | 1988-06-09 | 1990-07-24 | Minolta Camera Kabushiki Kaisha | Image forming apparatus |
| JP2815154B2 (ja) * | 1988-08-31 | 1998-10-27 | 株式会社リコー | 画像形成装置 |
| US5049946A (en) * | 1988-10-17 | 1991-09-17 | Kabushiki Kaisha Toshiba | Base for supporting an image forming apparatus, and function-adding device for combination therewith |
| DE4002785A1 (de) | 1989-02-01 | 1990-08-02 | Ricoh Kk | Verfahren zum erzeugen beidseitiger kopien in einer bilderzeugungseinrichtung |
| JP2656630B2 (ja) * | 1989-08-31 | 1997-09-24 | キヤノン株式会社 | 両面印字用搬送路を備える画像形成装置 |
| WO1991013386A1 (de) | 1990-02-26 | 1991-09-05 | Siemens Nixdorf Informationssysteme Aktiengesellschaft | Modular aufgebaute elektrofotografische druckeinrichtung |
| JPH0466423A (ja) * | 1990-07-05 | 1992-03-02 | Minolta Camera Co Ltd | 画像作成装置 |
| JPH0498266A (ja) * | 1990-08-17 | 1992-03-30 | Ricoh Co Ltd | 電子写真式画像形成装置 |
| JPH04119866A (ja) * | 1990-09-10 | 1992-04-21 | Minolta Camera Co Ltd | 画像作成装置 |
| US5159395A (en) * | 1991-08-29 | 1992-10-27 | Xerox Corporation | Method of scheduling copy sheets in a dual mode duplex printing system |
| US5184185A (en) * | 1991-08-29 | 1993-02-02 | Xerox Corporation | Method for duplex printing scheduling system combining finisher interset skipped pitches with duplex sheet scheduling |
| JPH0591263A (ja) * | 1991-09-26 | 1993-04-09 | Oki Electric Ind Co Ltd | スキヤナ付き印刷装置 |
| US5499091A (en) * | 1993-04-19 | 1996-03-12 | Canon Kabushiki Kaisha | Image forming apparatus having a counting device to facilitate two-sided copying |
| FR2707188B1 (fr) * | 1993-05-06 | 1997-02-21 | Licentia Patent Verwaltungs Gmbh | Dispositif pour l'inversion de la direction d'articles plats |
| US5337135A (en) * | 1993-09-30 | 1994-08-09 | Xerox Corporation | Higher productivity trayless duplex printer with variable path velocity |
| JPH08286525A (ja) * | 1995-04-14 | 1996-11-01 | Fuji Xerox Co Ltd | 画像形成装置 |
| JP2814964B2 (ja) * | 1995-09-21 | 1998-10-27 | 日本電気株式会社 | プリンタ装置 |
| US5568246A (en) * | 1995-09-29 | 1996-10-22 | Xerox Corporation | High productivity dual engine simplex and duplex printing system using a reversible duplex path |
| US5598257A (en) * | 1995-09-29 | 1997-01-28 | Xerox Corporation | Simplex and duplex printing system using a reversible duplex path |
| US6112047A (en) * | 1996-03-11 | 2000-08-29 | Ricoh Company, Ltd. | Image forming apparatus having a substantially vertical sheet transport path and a relaying mechanism that cooperate to transfer a sheet to a sheet discharge section |
| DE19781182B4 (de) * | 1996-10-22 | 2010-06-10 | OCé PRINTING SYSTEMS GMBH | Druck- oder Kopiersystem mit zwei Druckwerken und Verfahren zum Betreiben eines solchen Druck- oder Kopiersystems |
| DE59901193D1 (de) * | 1998-03-31 | 2002-05-16 | Oce Printing Systems Gmbh | Verfahren zum bedrucken von einzelblättern in gruppen nach dem duplexverfahren |
-
1999
- 1999-03-31 DE DE59901193T patent/DE59901193D1/de not_active Expired - Lifetime
- 1999-03-31 JP JP2000541564A patent/JP4456757B2/ja not_active Expired - Fee Related
- 1999-03-31 DE DE59913765T patent/DE59913765D1/de not_active Expired - Lifetime
- 1999-03-31 EP EP99917943A patent/EP1068560B1/de not_active Expired - Lifetime
- 1999-03-31 EP EP01122470A patent/EP1174772B1/de not_active Expired - Lifetime
- 1999-03-31 WO PCT/EP1999/002232 patent/WO1999050715A1/de not_active Ceased
- 1999-03-31 US US09/647,432 patent/US6259884B1/en not_active Expired - Fee Related
-
2001
- 2001-06-08 US US09/877,425 patent/US6647239B2/en not_active Expired - Fee Related
Also Published As
| Publication number | Publication date |
|---|---|
| DE59901193D1 (de) | 2002-05-16 |
| US6647239B2 (en) | 2003-11-11 |
| EP1068560B1 (de) | 2002-04-10 |
| EP1174772A3 (de) | 2002-12-04 |
| EP1174772A2 (de) | 2002-01-23 |
| JP4456757B2 (ja) | 2010-04-28 |
| DE59913765D1 (de) | 2006-09-21 |
| WO1999050715A1 (de) | 1999-10-07 |
| US6259884B1 (en) | 2001-07-10 |
| US20020081120A1 (en) | 2002-06-27 |
| EP1068560A1 (de) | 2001-01-17 |
| JP2002510068A (ja) | 2002-04-02 |
Similar Documents
| Publication | Publication Date | Title |
|---|---|---|
| EP1174772B1 (de) | Verfahren und Gerät zum Bedrucken von Einzelblättern in Gruppen nach dem Duplexverfahren | |
| EP0977095B1 (de) | Drucker mit zwei Druckwerken | |
| DE19781182B4 (de) | Druck- oder Kopiersystem mit zwei Druckwerken und Verfahren zum Betreiben eines solchen Druck- oder Kopiersystems | |
| DE69406638T2 (de) | Hochgeschwindigkeitsdrucker | |
| DE19714951C2 (de) | Druckmaschine | |
| DE10113558B4 (de) | Kombi-Drucker | |
| EP0937282B1 (de) | Drucker mit zwei druckwerken und durch schrittmotore angetriebene transportwalzenpaare | |
| DE3718219A1 (de) | Widerdruckmaschine | |
| DE2820877A1 (de) | Beschickungsvorrichtung fuer mindestens eine verarbeitungsmaschine fuer papierbogen | |
| DE3918961C2 (de) | Elektrofotografisches Druck- oder Kopiergerät | |
| DE60120328T2 (de) | Blattwendesystem | |
| DE69804183T2 (de) | Kuvertiermaschine mit optimisierten Wegen für die Dokumente | |
| DE69431466T2 (de) | Mechanismus für beidseitiges Drucken und Verfahren dafür | |
| EP1976788A1 (de) | Vorrichtung zum umlenken von blattgut | |
| DE19612416A1 (de) | Einrichtung zum Zuführen einer zu bedruckenden Bahn aus Endlosmaterial zu einem Drucker | |
| DE2026050A1 (de) | Verfahren zum Herstellen mehrerer Bahn einheiten | |
| DE102004002645A1 (de) | Verfahren und Steuerungseinrichtung zum Transportieren von Bedruckstoff | |
| EP0759360B1 (de) | Verfahren zur Steuerung einer Druckeinrichtung | |
| EP0937281B1 (de) | Verfahren und einrichtung zum steuern der abgabe von blättern aus eingabefächern einer papierabgabevorrichtung einer druck- und kopiereinrichtung | |
| EP2623425B1 (de) | Vorrichtung und Verfahren zum Etikettieren von Gegenständen | |
| EP1633569B1 (de) | Druckstrasse mit bahnspeichereinheit und nachverarbeitungssystem | |
| DE10356810A1 (de) | Verfahren zum Zuführen von Bögen in einer Druckmaschine | |
| DE102011082447B4 (de) | Vorrichtung und Verfahren zum Zusammenführen von Gütern | |
| WO1989008963A1 (fr) | Systeme d'enregistrement d'images | |
| DE10003107A1 (de) | Verfahren für einen Transport einer Bedruckstoffbahn zwischen Funktionseinheiten einer Rotationsdruckmaschine in besonderen Betriebssituationen |
Legal Events
| Date | Code | Title | Description |
|---|---|---|---|
| PUAI | Public reference made under article 153(3) epc to a published international application that has entered the european phase |
Free format text: ORIGINAL CODE: 0009012 |
|
| AC | Divisional application: reference to earlier application |
Ref document number: 1068560 Country of ref document: EP |
|
| AK | Designated contracting states |
Kind code of ref document: A2 Designated state(s): DE FR GB |
|
| PUAL | Search report despatched |
Free format text: ORIGINAL CODE: 0009013 |
|
| AK | Designated contracting states |
Kind code of ref document: A3 Designated state(s): DE FR GB |
|
| RIC1 | Information provided on ipc code assigned before grant |
Free format text: 7G 03G 15/00 A, 7G 03G 15/23 B |
|
| 17P | Request for examination filed |
Effective date: 20021211 |
|
| AKX | Designation fees paid |
Designated state(s): DE FR GB |
|
| 17Q | First examination report despatched |
Effective date: 20040921 |
|
| RTI1 | Title (correction) |
Free format text: METHOD AND DEVICE FOR GROUPWISE SINGLE SHEET PRINTING IN DUPLEX MODE |
|
| GRAP | Despatch of communication of intention to grant a patent |
Free format text: ORIGINAL CODE: EPIDOSNIGR1 |
|
| GRAS | Grant fee paid |
Free format text: ORIGINAL CODE: EPIDOSNIGR3 |
|
| GRAA | (expected) grant |
Free format text: ORIGINAL CODE: 0009210 |
|
| AC | Divisional application: reference to earlier application |
Ref document number: 1068560 Country of ref document: EP Kind code of ref document: P |
|
| AK | Designated contracting states |
Kind code of ref document: B1 Designated state(s): DE FR GB |
|
| REG | Reference to a national code |
Ref country code: GB Ref legal event code: FG4D Free format text: NOT ENGLISH |
|
| REF | Corresponds to: |
Ref document number: 59913765 Country of ref document: DE Date of ref document: 20060921 Kind code of ref document: P |
|
| GBT | Gb: translation of ep patent filed (gb section 77(6)(a)/1977) |
Effective date: 20061024 |
|
| ET | Fr: translation filed | ||
| PLBE | No opposition filed within time limit |
Free format text: ORIGINAL CODE: 0009261 |
|
| STAA | Information on the status of an ep patent application or granted ep patent |
Free format text: STATUS: NO OPPOSITION FILED WITHIN TIME LIMIT |
|
| 26N | No opposition filed |
Effective date: 20070510 |
|
| PGFP | Annual fee paid to national office [announced via postgrant information from national office to epo] |
Ref country code: FR Payment date: 20120403 Year of fee payment: 14 |
|
| PGFP | Annual fee paid to national office [announced via postgrant information from national office to epo] |
Ref country code: GB Payment date: 20120327 Year of fee payment: 14 |
|
| PGFP | Annual fee paid to national office [announced via postgrant information from national office to epo] |
Ref country code: DE Payment date: 20120530 Year of fee payment: 14 |
|
| GBPC | Gb: european patent ceased through non-payment of renewal fee |
Effective date: 20130331 |
|
| REG | Reference to a national code |
Ref country code: FR Ref legal event code: ST Effective date: 20131129 |
|
| REG | Reference to a national code |
Ref country code: DE Ref legal event code: R119 Ref document number: 59913765 Country of ref document: DE Effective date: 20131001 |
|
| PG25 | Lapsed in a contracting state [announced via postgrant information from national office to epo] |
Ref country code: GB Free format text: LAPSE BECAUSE OF NON-PAYMENT OF DUE FEES Effective date: 20130331 Ref country code: FR Free format text: LAPSE BECAUSE OF NON-PAYMENT OF DUE FEES Effective date: 20130402 Ref country code: DE Free format text: LAPSE BECAUSE OF NON-PAYMENT OF DUE FEES Effective date: 20131001 |