EP0906825B1 - Verfahren zum Betrieb einer Rotationsdruckmaschine - Google Patents

Verfahren zum Betrieb einer Rotationsdruckmaschine Download PDF

Info

Publication number
EP0906825B1
EP0906825B1 EP98115978A EP98115978A EP0906825B1 EP 0906825 B1 EP0906825 B1 EP 0906825B1 EP 98115978 A EP98115978 A EP 98115978A EP 98115978 A EP98115978 A EP 98115978A EP 0906825 B1 EP0906825 B1 EP 0906825B1
Authority
EP
European Patent Office
Prior art keywords
printing
image
imaging
printing form
print
Prior art date
Legal status (The legal status is an assumption and is not a legal conclusion. Google has not performed a legal analysis and makes no representation as to the accuracy of the status listed.)
Expired - Lifetime
Application number
EP98115978A
Other languages
English (en)
French (fr)
Other versions
EP0906825A2 (de
EP0906825A3 (de
Inventor
Gotthard Schmid
John Sheridan Richards
Current Assignee (The listed assignees may be inaccurate. Google has not performed a legal analysis and makes no representation or warranty as to the accuracy of the list.)
Heidelberger Druckmaschinen AG
Original Assignee
Heidelberger Druckmaschinen AG
Priority date (The priority date is an assumption and is not a legal conclusion. Google has not performed a legal analysis and makes no representation as to the accuracy of the date listed.)
Filing date
Publication date
Application filed by Heidelberger Druckmaschinen AG filed Critical Heidelberger Druckmaschinen AG
Publication of EP0906825A2 publication Critical patent/EP0906825A2/de
Publication of EP0906825A3 publication Critical patent/EP0906825A3/de
Application granted granted Critical
Publication of EP0906825B1 publication Critical patent/EP0906825B1/de
Anticipated expiration legal-status Critical
Expired - Lifetime legal-status Critical Current

Links

Images

Classifications

    • BPERFORMING OPERATIONS; TRANSPORTING
    • B41PRINTING; LINING MACHINES; TYPEWRITERS; STAMPS
    • B41FPRINTING MACHINES OR PRESSES
    • B41F7/00Rotary lithographic machines
    • B41F7/02Rotary lithographic machines for offset printing
    • BPERFORMING OPERATIONS; TRANSPORTING
    • B41PRINTING; LINING MACHINES; TYPEWRITERS; STAMPS
    • B41PINDEXING SCHEME RELATING TO PRINTING, LINING MACHINES, TYPEWRITERS, AND TO STAMPS
    • B41P2217/00Printing machines of special types or for particular purposes
    • B41P2217/10Printing machines of special types or for particular purposes characterised by their constructional features
    • B41P2217/13Machines with double or multiple printing units for "flying" printing plates exchange
    • BPERFORMING OPERATIONS; TRANSPORTING
    • B41PRINTING; LINING MACHINES; TYPEWRITERS; STAMPS
    • B41PINDEXING SCHEME RELATING TO PRINTING, LINING MACHINES, TYPEWRITERS, AND TO STAMPS
    • B41P2227/00Mounting or handling printing plates; Forming printing surfaces in situ
    • B41P2227/70Forming the printing surface directly on the form cylinder

Definitions

  • DE-PS 28 44 418 is a web-fed rotary printing press with flying Print image change described in an impression unit, that is, when reaching a certain edition with a first impression of the printing unit currently printing turned off and another printing unit of the impression unit without machine downtime in Is put into operation. While the other printing unit is working, the one that is turned off can be switched off Printing unit to be prepared for the next impression.
  • An illustration of printing forms in the printing press is not provided here, so that for small print runs per Print image the cost of prepress, e.g. B. the photochemical plate copy, a represent a comparatively large proportion of the total costs. Automation of the Printing plate changes can only be achieved with considerable technical effort.
  • EP 0 368 179 A2 describes a pixel transmission device which first with means of electrography, electrophotography or magnetography Charge image generated on a transfer belt on which a subsequently applied toner-like substance adheres more or less depending on the charge.
  • the transfer belt is then heated by means of a heatable unit which functions as an image delivery unit
  • the roller is pressed against a printing form cylinder so that it melts again Substance is transferred from the transfer belt to the printing form cylinder.
  • the Printing form cylinder is already illustrated, the transfer belt from the printing form cylinder switched off. While production continues on the printing cylinder just illustrated, may the transfer belt to be placed on another printing form cylinder and another in Form of substance parts temporarily stored print image can be transferred to the latter.
  • the time of production can be used by means of the pixel transmission device to transfer a new print image onto the transfer belt.
  • the methods for operating a Rotary printing press with at least two images that can be imaged in the printing press are, among other things, characterized in that during the printing with the first printing form second printing form is illustrated.
  • the second printing form is illustrated in particular for printing with the first printing form after the printing second printing form.
  • the methods can also be carried out by means of a device in which the first Printing form and the second printing form a single common imaging device is assigned, which can be used for imaging the first and the second printing form.
  • the invention in contrast to the dynamic or erasable forms in as output devices for Personal computer used, e.g. B. printers working according to the electrographic principle and plotter, the invention relates to uniquely imageable - that is, the master system assignable - printing forms with a storable, non-erasable print image.
  • This Printing forms can be in the form of a printing plate, a sleeve or a curable Fluid layer or preferably a print film that can be unwound and wound up Printing form cylinders to be applied.
  • the printing forms can be used as offset printing forms, e.g. B. as conventional wet offset printing forms or as damp-proof working Dry offset printing forms, and also as printing forms for direct planographic printing (Dilitho) be trained.
  • the printing form can be cleaned by means of a cleaning device or by the Substrate.
  • the one to be printed on or off can be used an existing printing material used especially for cleaning become.
  • Imaging residues can be removed from the substrate directly during the Start of printing z. B. by few sheets becoming waste, or in one Print preceding cleaning run to be included.
  • the imaging process is one that follows the actual imaging process Cleaning process not necessary. Instead, other processes can Make the printing form ready for printing and attach the images.
  • a total edition of a printed product can be made up of the first partial edition, which with a Print image or impression should be provided, and the second partial edition, which with to be provided with another printed image or impression image.
  • the second printing form is imaged in the printing press, z. B. irradiated and cleaned.
  • printing of the first partial edition is required far more time than the entire imaging process, so that this can be carried out completely during the printing of the first partial edition.
  • Printing units can be the actual print image of the total print run of the order are printed, the first and second printing device additional impressions in this actual print image can be printed.
  • the other printing units can be conventional Include printing forms, the z. B. by means of plate copying outside the printing press and cannot be imaged within the printing press.
  • alternate images can be used and an alternate use of the first printing form and the second printing form respectively.
  • the method can also be done using more are carried out as two printing forms that can be imaged in the printing press, where z. B. a first printing form is in use, while a second printing form and a third printing form can be illustrated.
  • a first printing form is in use
  • a second printing form and a third printing form can be illustrated.
  • the first and the second Imaging device of the device for performing the method can by a separately assigned one or by a single selectable one common electronic control device can be controlled.
  • a device can be used to carry out a special embodiment of the inventive method, which includes that in an already printed Print image can be printed in-line impressions, be trained.
  • a Rotary printing machine can be designed such that in the substrate conveying direction seen the one or two-sided four or multi-color printing necessary printing units are subordinated to two impression devices.
  • Each of the Impression devices can e.g. B. on and on an impression cylinder adjustable printing form cylinder or one on the impression cylinder on and adjustable printing form and blanket cylinder combination.
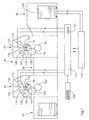
  • the rotary printing machine shown in Fig. 1 in a row with A device for carrying out the method according to the invention comprises a first one Printing unit 82, a second printing unit 84, a sheet feeder 86, one Sheet transfer and / or sheet turning device 88, a sheet delivery 90 and a central control device 118 for controlling the said Components of the printing press including those not shown in FIG. 1 Drives of the components and of the printing units 82, 84, not shown assigned ink or ink and dampening units.
  • Each of the printing units 82, 84 includes an impression cylinder 96, 102, a blanket cylinder 94, 100 and a printing form cylinder 92, 98 with a printing form 104, 110.
  • the printing form 104, 110 are a cleaning device 108, 114 and one each Imaging device 106, 112 assigned.
  • the imaging devices 106, 112 can be a laser, a modulator downstream of this and a die include modulated radiation to a focusing optics transmitting fiber optics.
  • the Focusing optics can spiral over the surface of the printing form 104, 110 on the rotating printing form cylinders 92, 98 are guided, where the laser beam to the Positions of the grid drills the desired cells.
  • the Imaging devices 106, 112 are by a Imaging control device 116 controlled, which is in a first operating mode the first imaging device 106 and in a second operating mode controls second imaging device 112 and that with the central Control device 118 is connected.
  • the central control device 118 is connected to a control panel 138, via which in a known manner Operating parameters and commands for controlling the printing press can be entered.
  • a control panel 138 Through which in a known manner Operating parameters and commands for controlling the printing press can be entered.
  • Imaging control device 116 or an imaging control by the central control device 118 are also possible.
  • the printing form cylinders 92, 98 are in an imaging position movable, in which they do not contact the blanket cylinders 94, 100.
  • a Positioning 120, 124 of the imaging devices 106, 112 can additionally be provided so that in this way a suitable distance for imaging between the effective elements of the imaging devices 106, 112, e.g. B. Laser diodes or focusing optics, and the printing form surface of the Printing forms 104, 110 can be set and kept constant, so that a exactly defined diameter of the grid points or cells is guaranteed.
  • the Cleaning devices 108, 114 are also positionable and can be in shape of a winding and unwinding cleaning cloth in combination with one the pressing element pressing the printing plate surface may be formed, wherein a cleaning fluid indirectly via the cleaning device or directly can be applied to the printing form surface.
  • the implementation of the method according to the invention is exemplified below explained in the event that two print jobs are processed.
  • the first Print job is already using the second printing unit 84 illustrated second printing form 110 printed.
  • Sheets 128 are from Sheet feeder 86 to the first printing unit 82, from this via the Sheet transfer device 88 to the second printing unit 84 and via this to Supported sheet delivery 90.
  • the first printing form 104 is imaged in the first Printing unit 82 for the second print job, which is the first print job to be processed below.
  • the printing form cylinder 92 is switched off from the blanket cylinder 94, the Blanket cylinder 94 placed on the impression cylinder 96 or by this can be turned off.
  • Processing the complete edition of the first Print job can be a sufficient for imaging the first printing form 104 Require a period of time so that complete imaging, including one Burning all pixels into the first printing form 104 and one subsequent cleaning of the first printing form 104 from the ablative Imaging of thermally decomposed printing plate material using the Cleaning device 108 can be carried out in this period.
  • To Processing the first print job becomes processing the second Print job started by the printing form cylinder 92 in a working position is brought, in which an interaction with the blanket cylinder 94th is given and by simultaneously the printing form cylinder 98 from such Working position is brought into an imaging position.
  • the imaging controller 116 can be operated manually or, as shown, by the central control device 118 optionally in a first operating mode - for Activation of the first imaging device 106 for imaging the first Printing form 104 - and in a second operating mode - for controlling the second Imaging device 112 for imaging the second printing form 110 - switchable his.
  • the print image data and other data for imaging the printing forms 104, 110 can be from the imaging control device 116 in the data flow upstream electronic publishing systems on-line or, as shown, by portable data storage media 130, e.g. B. floppy disks.
  • the Connection of the imaging control device 116 to the central one Control device 118 and also an integration in the latter enable a further one Use of the image data for the control of further machine components, e.g.
  • the printing press 80 for printing unit-specific inking unit setting, as well as a current operating status the printing press 80, in particular the printing units 82, 84 Signal flow to the imaging control device 116. Furthermore, one is also optional Connection of the imaging control device 116 to the Imaging devices 106, 112 and their activation and deactivation possible by manual operation.
  • the printing press 80 in other functions also as a multi-color printing machine and as a Schönund Back printing machine operated, z. B. one after the other imaging of the printing forms 104, 110 can take place before the start of printing.
  • the printing press 80 can comprise further printing units, which are the printing units 82, 84 can be upstream, intermediate and downstream.
  • the invention Procedure using appropriate control software in one Microprocessor circuit comprising central control device 118 realized.
  • An example of a program flow chart for such control software is shown in Fig. 2 and is referred to below as an example to Fig. 1 described.
  • step 142 After starting the program in stage 140, which, for. B. with turning on Printing machine can take place, in step 142, the printing positions in second printing unit 84 set, z. B. the one already fully illustrated first Printing form cylinder 98 carrying printing form 110 from an imaging position in a working position is brought relative to the blanket cylinder 100.
  • the next program stage 144 is the printing in the second printing unit 84 Printing machine 80 started.
  • the imaging of the first takes place in a subsequent program stage 146
  • Printing form 104 which is complete in a further program stage 148 is completed, so that the first printing form 104 is now ready for printing.
  • an adjustment of the printing positions in the first printing unit 82 e.g. B.
  • the second printing form 110 is renewed, z. B. by manually replacing a printing form sleeve or a printing plate is automatically changed or a print film web that can be wound up and unwound is clocked further, so that the printing form cylinder 98 with a new imageable Printing form 110 is provided.
  • a further program stage 156 there is a Return query, that is, whether the second print job has other print jobs follow or whether the number n of successive orders to be processed is greater than that Number z orders completed.
  • the satellite printing unit 2 and the Imprinting unit 4 can be coupled to one another with the connecting element 78, wherein further couplings are not shown in the figure.
  • the driving Coupling can e.g. B. via an electronic coupling of separate drives both Units 2, 4 by means of the central control device 71 or via one into a of units 2; 4 integrated central drive and one of its drive power for other unit 2; 4 transmitting gear, z. B. realized a gear train his.
  • At least one of the units 2; 4 is displaceable in a direction 46, while the other unit 2; 4 can be anchored stationary in the foundation 33.
  • the Displaceability of the units 2, 4 can be guided in rails 35 Rollers 36 or other guides facilitating displacements can be made possible, the displaceable units 2, 4 in the foundation 33 with locking elements 37 can be locked.
  • the units 2, 4 and operation with additional modules e.g. B. bow-laying and -interpreting and print processing modules, - d. H. an operational one optional combination and also separate operation of units 2, 4 - possible.
  • the satellite printing unit 2 can essentially with a similar or mirror image trained additional satellite printing unit be combined so that a two-sided four or multi-color printing or a single-sided eight or multi-color printing is possible.
  • the method according to the invention can be within only one of the satellite printing units or impression units or be carried out across modules.
  • the sheet transfer device 22, 24, 26 operates as one Turning device, wherein the transfer drum 24 as a storage drum with the second transfer drum 26 in which acts here as a turning drum cooperates in a known manner, acts so that the printing sheets 30 applied the impression unit 4 are transferred, the printing sheets 30 with their previous front 40 rest on the impression cylinder 20 and a Printing the back 44 is feasible.
  • the arrowheads in Fig. 3 symbolize the colors printed on the printed sheet on the respective page.
  • a first variant includes that an illustration of one or more impression devices 16, 18 of the unit 4 during printing with the printing devices 5, 7, 9, 11 of the unit 2 or that during printing with one or more of the Impression devices 16, 18 of unit 4 illustrate one or more Printing devices 5, 7, 9, 11 of the unit 2 takes place.
  • This first variant is too applicable to two coupled satellite printing units.
  • one or more of the printing forms 5, 7, 9, 11 during printing with one or more of the printing forms 5, 7, 9, 11 imaged can be used in separate operation of the Satellite printing unit 2 as well as with other modules, eg. B. the Impression unit 4, coupled operation can be realized.
  • the preferred third variant includes the implementation of the invention Method by means of the devices 62 integrated in the impression unit 4, 70, 72, 73.
  • the z. B. trained as a write head with laser diodes Imaging device 72 is in a first position a for imaging the first Printing form 49 and in a second position b for imaging the second Printing form 51 and optionally in a neutral position c. This can preferably done by pivoting the imaging device 72. In addition to the pivoting movement 74, a further one - if appropriate with this forcibly synchronized movement 76 of the imaging device 72 respectively.
  • a single imaging device 66 with an associated one Imaging control device 73 for sequential imaging of the Printing devices 6, 8, 10, 12 or printing forms 5, 7, 9, 11 are used.
  • Fig. 3 it is shown that the impression device 16 except for imaging Operation has taken place, for which the printing form cylinder 58 and the inking unit 60 Printing form cylinder 58 and the blanket cylinder 56 and the blanket cylinder 56 and impression cylinder 20 are separated and parked. While four-color printed images of a first printed in the satellite printing unit 2 Partial order on the front side 42 of the printing sheet with the second printing form 51 18 impression images are printed in the second impression device, one takes place Illustration of the first printing form 49 of the first impression device 16 for the Imprinting another imprint image into four-color print images of a second one Part order.
  • Printing form 49 can illustrate the second printing form 51 for a third Partial order take place, the printing form 51 brought first by a new one imageable printing form is replaced, then irradiation with the Imaging device 62 and this one may be required Cleaning the printing form 51 can be done with the cleaning device 62.

Landscapes

  • Engineering & Computer Science (AREA)
  • Mechanical Engineering (AREA)
  • Inking, Control Or Cleaning Of Printing Machines (AREA)
  • Rotary Presses (AREA)
  • Manufacture Or Reproduction Of Printing Formes (AREA)

Description

Die Erfindung betrifft Verfahren zum Betrieb einer Rotationsdruckmaschine mit mindestens zwei in der Druckmaschine bebilderbaren Druckformen, mit denen nach einer einmaligen Bebilderung mehrere Drucke durchführbar sind, gemäß dem Oberbegriff der Ansprüche 1 und 2.
In der DE 195 12 420 A1 ist eine Mehrfarbendruckmaschine mit einer mehreren Druckformzylindern nacheinander zuordenbaren Bebilderungseinheit beschrieben. Auf diese Weise werden die Kosten im Vergleich zu einer Zuordnung von je einer Bebilderungseinrichtung pro Druckformzylinder reduziert. Ein Bebildern von Druckformen während des Betriebes der Druckmaschine ist hier nicht vorgesehen, so daß für jeden Auftragswechsel eine Betriebsunterbrechung notwendig ist. Der daraus resultierende Makulaturanfall bei Betriebsfortsetzung und die in der Summe hohen Stillstandszeiten verursachen eine vergleichsweise schlechte Wirtschaftlichkeit.
In der DE-PS 28 44 418 ist eine Rollenrotationsdruckmaschine mit fliegendem Druckbildwechsel in einer Eindruckeinheit beschrieben, das heißt, daß beim Erreichen einer bestimmten Auflage mit einem ersten Eindruckbild das momentan druckende Druckwerk abgestellt und ein weiteres Druckwerk der Eindruckeinheit ohne Maschinenstillstand in Betrieb genommen wird. Während das weitere Druckwerk arbeitet, kann das abgestellte Druckwerk für den nächsten Eindruck vorbereitet werden. Ein Bebildern von Druckformen in der Druckmaschine ist hier nicht vorgesehen, so daß bei kleinen Auflagenhöhen pro Druckbild die Kosten für die Druckvorstufe, z. B. die photochemische Plattenkopie, einen vergleichsweisen großen Kostenanteil der Gesamtkosten darstellen. Eine Automatisierung des Druckplattenwechsels läßt sich nur mit einem erheblichen technischen Aufwand erreichen.
In der EP 0 368 179 A2 ist eine Bildpunkt-Übertragungseinrichtung beschrieben, welche zunächst mit Mitteln der Elektrographie, Elektrophotographie oder Magnetographie ein Ladungsbild auf einem Transferband erzeugt, auf dem eine anschließend aufgetragene tonerähnliche Substanz in Abhängigkeit von der Ladung mehr oder weniger stark anhaftet. Danach wird das Transferband mittels einer als Bildabgabeeinheit fungierenden beheizbaren Walze an einen Druckformzylinder angedrückt, so dass die dabei wieder abschmelzende Substanz vom Transferband auf den Druckformzylinder übertragen wird. Wenn der Druckformzylinder fertig bebildert ist, wird das Transferband vom Druckformzylinder abgestellt. Während an dem soeben bebilderten Druckformzylinder der Fortdruck läuft, kann das Transferband an einen anderen Druckformzylinder angestellt werden und ein weiteres in Form von Substanzteilen zwischengespeichertes Druckbild auf letzteren übertragen werden. Ebenso kann die Zeit des Fortdrucks dazu genutzt werden, mittels der Bildpunkt-Übertragungseinrichtung ein neues Druckbild auf das Transferband zu übertragen.
Der Erfindung liegt die Aufgabe zugrunde, Verfahren zum Betrieb einer Rotationsdruckmaschine zu schaffen, durch welche Verfahren auch Druckaufträge und Teilauflagen geringer Auflagenhöhe bei geringem Makulaturanfall und günstiger Maschinenauslastung wirtschaftlich herstellbar sind.
Die Aufgabe wird gemäß der Erfindung durch Verfahren mit den Merkmalen von Anspruch 1 und 2 gelöst.
Gemäß der vorliegenden Erfindung zeichnen sich die Verfahren zum Betrieb einer Rotationsdruckmaschine mit mindestens zwei in der Druckmaschine bebilderbaren Druckformen, mit denen nach einer einmaligen Bebilderung mehrere Drucke durchführbar sind, unter anderem dadurch aus, daß während des Druckens mit der ersten Druckform die zweite Druckform bebildert wird. Die Bebilderung der zweiten Druckform erfolgt insbesondere für ein dem Drucken mit der ersten Druckform nachfolgendes Drucken mit der zweiten Druckform.
Die Verfahren lassen sich mittels einer Vorrichtung durchführen, bei welcher der ersten Druckform eine erste Bebilderungseinrichtung und der zweiten Druckform eine zweite Bebilderungseinrichtung zugeordnet ist.
Die Verfahren lassen sich auch mittels einer Vorrichtung durchführen, bei welcher der ersten Druckform und der zweiten Druckform eine einzige gemeinsame Bebilderungseinrichtung zugeordnet ist, welche zur Bebilderung der ersten und der zweiten Druckform einsetzbar ist.
Die Verfahren lassen sich beim Betrieb von Rollenrotations- und von Bogenrotationsdruckmaschinen anwenden. Die Vorrichtungen sind in diesen Maschinen einsetzbar.
Im Gegensatz zu den dynamischen bzw. löschbaren Druckformen in als Ausgabegeräte für Personalcomputer genutzten, z. B. nach dem elektrografischen Prinzip arbeitende Druckern und Plottern, bezieht sich die Erfindung auf einmalig bebilderbare - also dem Master-System zuordenbare - Druckformen mit einem speicherbaren, nicht löschbaren Druckbild. Diese Druckformen können in Form einer Druckplatte, einer Hülse oder einer aushärtbaren Fluidschicht oder vorzugsweise einer ab- und aufwickelbaren Druckfolie auf Druckformzylindern aufgebracht sein. Die Druckformen können als Offsetdruckformen, z. B. als konventionelle Naßoffsetdruckformen oder als feuchtmittellos arbeitende Trockenoffsetdruckformen, und auch als Druckformen des direkten Flachdrucks (Dilitho) ausgebildet sein.
Die Direktbebilderung der Druckformen kann gemäß eines Computer-to-press-Bebilderungsverfahrens erfolgen, welches eine örtliche bzw. pixelweise, vorzugsweise hochenergetische, Bestrahlung und eine nachfolgende manuelle oder automatische Reinigung der Druckform von Bebilderungsrückständen, z. B. thermisch zersetzten Materials einer nichtdruckenden Schicht der Druckform, umfaßt, so daß eine druckende Schicht an den Bildstellen freigelegt und aktiviert wird. Die nichtdruckende Schicht der Druckform kann eine Silikonschicht und die druckende Schicht eine Infrarotabsorptionsschicht sein.
Die Reinigung der Druckform kann mittels einer Reinigungseinrichtung oder durch den Bedruckstoff erfolgen. Für die Reinigung kann der nachfolgend zu bedruckende oder aus einem speziell für die Reinigung vorgesehenen Material bestehender Bedruckstoff eingesetzt werden. Die Bebilderungsrückstände können vom Bedruckstoff unmittelbar während des Druckbeginns z. B. durch wenige dabei zu Makulatur werdende Bogen, oder in einem dem Drucken vorangehenden Reinigungsdurchlauf aufgenommen werden. Bei nichtablativen Bebilderungsverfahren ist ein dem eigentlichen Bebilderungsprozeß folgender Reinigungsprozeß nicht erforderlich. Statt dessen können sich andere Prozesse zum Druckfertigmachen der Druckform dem Bebildern anschließen.
Die vollständige Bebilderung der Druckform erfordert in Abhängigkeit vom jeweiligen Bebilderungsverfahren einen bestimmten Zeitaufwand, z. B. insgesamt 12 Min., wobei die Bestrahlung der Druckform 6 Min. und das Reinigen 6 Min. dauern kann.
Eine Gesamtauflage eines Druckproduktes kann aus der ersten Teilauflage, welche mit einem Druckbild oder Eindruck versehen werden soll, und der zweiten Teilauflage, welche mit einem anderen Druckbild oder Eindruckbild versehen werden soll, bestehen. Während der Herstellung der ersten Teilauflage unter Einsatz der das erste Druck- oder Eindruckbild druckenden ersten Druckform wird die zweite Druckform in der Druckmaschine bebildert, z. B. bestrahlt und gereinigt. In der Regel erfordert das Drucken der ersten Teilauflage weitaus mehr Zeit, als der Bebilderungsvorgang insgesamt in Anspruch nimmt, so daß dieser vollständig während des Druckens der ersten Teilauflage durchgeführt werden kann.
In diesem Fall erfolgt zwischen dem Drucken mit der ersten Druckform und dem Drucken mit der zweiten Druckform der fliegende Wechsel. Hierzu wird eine die zweite Druckform umfassende, zweite Druckeinrichtung über einen Antrieb auf Fortdruckdrehzahl beschleunigt, die zweite Druckeinrichtung mit der Druckmaschinendrehzahl synchronisiert und an den Hauptantrieb der Druckmaschine angekuppelt sowie die zweite Druckform in Druckposition gebracht. Währenddessen kann die erste Druckform aus der Druckposition gebracht und die die erste Druckform umfassende, erste Druckeinrichtung vom Hauptantrieb abgekuppelt werden, so daß die erste Druckeinrichtung bis zum Stillstand oder bis zum Erreichen einer geringeren Drehzahl (Schleichgang) verzögert werden kann. Der zuvor beschriebene fliegende Wechsel kann bei ununterbrochen fortlaufendem Betrieb einer dritten oder mehrerer weiterer von der Druckmaschine umfaßten Druckeinrichtungen oder Druckwerke erfolgen. Mit letztgenannten weiteren Druckwerken kann das eigentliche Druckbild der Gesamtauflage des Auftrages gedruckt werden, wobei mittels der als Eindruckeinheit fungierenden ersten und zweiten Druckeinrichtung zusätzliche Eindrucke in dieses eigentliche Druckbild gedruckt werden können. Die weiteren Druckwerke können dabei konventionelle Druckformen umfassen, die z. B. mittels Plattenkopie außerhalb der Druckmaschine und nicht innerhalb der Druckmaschine bebilderbar sind.
Bei Aufträgen mit mehr als zwei Teilauflagen kann eine wechselweise Bebilderung und ein wechselweiser Einsatz der ersten Druckform und der zweiten Druckform erfolgen. Selbstverständlich kann das Verfahren auch unter Verwendung von mehr als zwei in der Druckmaschine bebilderbaren Druckformen durchgeführt werden, wobei z. B. eine erste Druckform im Einsatz ist, während eine zweite Druckform und eine dritte Druckform bebildert werden. Nach Fertigstellung der mit der ersten Druckform gedruckten Teilauflage erfolgt ein Wechsel des Druckwerkes, so daß die folgenden Drucke oder Eindrucke unter Einsatz der zweiten Druckform durchgeführt werden, währenddessen die Bebilderung der ersten Druckform beginnt und die Bebilderung der dritten Druckform zu Ende geführt wird. Die erste und die zweite Bebilderungseinrichtung der Vorrichtung zur Durchführung des Verfahrens können durch je eine separat zugeordnete oder durch eine einzige wahlweise zuschaltbare gemeinsame elektronische Steuerungseinrichtung angesteuert werden. Die Steuerungseinrichtung kann z. B. einen Mikroprozessor enthalten und Bitmap-Dateien aus Electronic-Publishing-Systemen, z. B. aus einem Raster-Image-Processor, übernehmen, wobei diese digitalen Daten an die z. B. eine Zeile von 11 Laser-Dioden oder elektroerosive Funken erzeugende Elektroden umfassenden Schreibköpfe der Bebilderungseinrichtungen weitergeleitet werden. Eine gemeinsame Bebilderungseinrichtung der erfindungsgemäßen Vorrichtung kann durch ein wahlweises Anbringen, z. B. ein Umstecken von einer ersten, der ersten Druckform zugeordneten Halterung in eine zweite, der zweiten Druckform zugeordnete Halterung, der jeweiligen Druckform zugeordnet werden. Vorzugsweise kann die gemeinsame Bebilderungseinrichtung in eine ersten Position zur Bebilderung der ersten Druckform und in eine zweite Position zur Bebilderung der zweiten Druckform verstellbar, z. B. verschieb-, dreh- oder schwenkbar, ausgebildet sein. Weitere Zuordnungen oder Verstellungen der gemeinsamen Bebilderungseinrichtung in Positionen, z. B. in eine Bebilderungsposition zur Bebilderung einer dritten oder weiterer Druckformen oder in eine eine Reinigung der zweiten Druckform während des Einsatzes der ersten Druckform ermöglichende Neutralposition, sind möglich.
Eine Vorrichtung kann zur Durchführung einer besonderen Ausführungsform des erfindungsgemäßen Verfahrens, welches beinhaltet, daß in ein bereits gedrucktes Druckbild in-line Eindrucke eingedruckt werden, ausgebildet sein. Hierzu kann eine Rotationsdruckmaschine derart ausgestaltet sein, daß in Bedruckstofförderrichtung gesehen den für einen ein- oder zweiseitigen Vier- oder Mehrfarbendruck notwendigen Druckwerken zwei Eindruckeinrichtungen nachgeordnet sind. Jede der Eindruckeinrichtungen kann z. B. einen an einen Gegendruckzylinder an- und abstellbaren Druckformzylinder oder eine an den Gegendruckzylinder an- und abstellbare Druckform - und Gummituchzylinder-Kombination umfassen.
Das erfindungsgemäße Verfahren umfaßt ferner eine Verfahrensvariante, bei welcher eine Druckmaschine mit vier Druckwerken für zweifarbiges Drucken eingesetzt wird, wobei jedes Druckwerk eine in der Druckmaschine bebilderbare Druckform umfaßt. Hierbei erfolgt während des Druckens eines ersten zweifarbigen Auftrages mit einem ersten und einem zweiten Druckwerk eine Bebilderung des dritten und vierten Druckwerkes für einen nachfolgenden zweiten zweifarbigen Auftrag. Auf diese Weise können Druckmaschinen mit einer großen Anzahl von Druckwerken für Aufträge mit einer kleineren Anzahl von zu verdruckenden Farben - z. B. Vierfarbendruckmaschinen für Zweifarbenaufträge oder Perfektordruckmaschinen mit acht Druckwerken und Wendeeinrichtung zum zweiseitigen Bedrucken in einem Druckgang für einseitige Vierfarbenaufträge - sehr wirtschaftlich ausgelastet werden.
Die Erfindung wird nachfolgend mit Bezug auf die Zeichnungen anhand bevorzugter Ausführungsformen beschrieben.
In den Zeichnungen zeigen:
Fig. 1
eine schematische Darstellung einer Rotationsdruckmaschine in Reihenbauweise mit einer Vorrichtung zur Durchführung des erfindungsgemäßen Verfahrens;
Fig. 2
ein Flußdiagramm, welches schematisch den Ablauf der Steuerungsvorgänge der Steuerung einzelner Maschinenkomponenten der in Fig. 1 dargestellten Druckmaschine bei der Durchführung des erfindungsgemäßen Verfahrens veranschaulicht und
Fig. 3
eine schematische Darstellung einer Rotationsdruckmaschine in Satellitenbauweise mit einer weiteren Vorrichtung zur Durchführung des erfindungsgemäßen Verfahren.
Die in Fig. 1 dargestellte Rotationsdruckmaschine in Reihenbauweise mit einer Vorrichtung zur Durchführung des erfindungsgemäßen Verfahrens umfaßt ein erstes Druckwerk 82, ein zweites Druckwerk 84, einen Bogenanleger 86, eine Bogenübergabe- und/oder Bogenwendeeinrichtung 88, einen Bogenausleger 90 und eine zentrale Steuerungseinrichtung 118 für die Steuerung der genannten Komponenten der Druckmaschine einschließlich der in Fig. 1 nicht dargestellten Antriebe der Komponenten sowie der nicht dargestellten, den Druckwerken 82, 84 zugeordneten Farb- oder Farb- und Feuchtwerke. Jedes der Druckwerke 82, 84 umfaßt einen Gegendruckzylinder 96, 102, einen Gummituchzylinder 94, 100 und einen Druckformzylinder 92, 98 mit einer Druckform 104, 110. Den Druckformen 104, 110 sind je eine Reinigungseinrichtung 108, 114 und eine Bebilderungseinrichtung 106, 112 zugeordnet. Die Bebilderungseinrichtungen 106, 112 können einen Laser, einen diesem nachgeordneten Modulator sowie eine die modulierte Strahlung zu einer Fokusieroptik übertragende Faseroptik umfassen. Die Fokusieroptik kann spiralförmig über die Oberfläche der Druckform 104, 110 auf dem rotierenden Druckformzylinder 92, 98 geführt werden, wo der Laserstrahl an den Positionen des Rasters die gewünschten Näpfchen bohrt. Die Bebilderungseinrichtungen 106, 112 werden durch eine Bebilderungssteuereinrichtung 116 gesteuert, welche in einem ersten Betriebsmodus die erste Bebilderungseinrichtung 106 und in einem zweiten Betriebsmodus die zweite Bebilderungseinrichtung 112 ansteuert und die mit der zentralen Steuerungseinrichtung 118 verbunden ist. Die zentrale Steuerungseinrichtung 118 ist mit einem Bedienpult 138 verbunden, über welches in bekannter Weise Betriebsparameter und Befehle zur Steuerung der Druckmaschine eingebbar sind. Eine von der zentralen Steuereinrichtung 118 getrennte Bebilderungssteuereinrichtung 116 oder eine Bebilderungssteuerung durch die zentrale Steuereinrichtung 118 sind ebenso möglich.
Zur Bebilderung sind die Druckformzylinder 92, 98 in eine Bebilderungsposition bewegbar, in der sie die Gummituchzylindern 94, 100 nicht kontaktieren. Eine Positionierung 120, 124 der Bebilderungseinrichtungen 106, 112 kann zusätzlich vorgesehen sein, so daß auf diese Weise ein für die Bebilderung geeigneter Abstand zwischen den wirksamen Elementen der Bebilderungseinrichtungen 106, 112, z. B. Laser-Dioden oder einer Fokusieroptik, und der Druckformoberfläche der Druckformen 104, 110 eingestellt und konstant gehalten werden kann, so daß ein exakt definierter Durchmesser der Rasterpunkte bzw. Näpfchen gewährleistet ist. Die Reinigungseinrichtungen 108, 114 sind ebenfalls positionierbar und können in Form eines auf- und abwickelbaren Reinigungstuches in Kombination mit einem dieses an die Druckformoberfläche anpressenden Andrückelement ausgebildet sein, wobei indirekt über die Reinigungseinrichtung oder auf direktem Weg ein Reinigungsfluid auf die Druckformoberfläche aufgebracht werden kann.
Die Durchführung des erfindungsgemäßen Verfahrens wird nachfolgend beispielhaft für den Fall erläutert, daß zwei Druckaufträge bearbeitet werden. Der erste Druckauftrag wird mit dem zweiten Druckwerk 84 unter Einsatz der bereits bebilderten zweiten Druckform 110 gedruckt. Die Bögen 128 werden vom Bogenanleger 86 zum ersten Druckwerk 82, von diesem über die Bogenübergabeeinrichtung 88 zum zweiten Druckwerk 84 und über dieses zum Bogenausleger 90 gefördert. Während die Bögen 128 im zweiten Druckwerk 84 bedruckt werden, erfolgt eine Bebilderung der ersten Druckform 104 im ersten Druckwerk 82 für den zweiten Druckauftrag, welcher dem ersten Druckauftrag nachfolgend bearbeitet werden soll. Bei der Bebilderung der ersten Druckform 104 ist der Druckformzylinder 92 vom Gummituchzylinder 94 abgestellt, wobei der Gummituchzylinder 94 an den Gegendruckzylinder 96 angestellt oder von diesem abgestellt sein kann. Die Bearbeitung der kompletten Auflage des ersten Druckauftrages kann eine zur Bebilderung der ersten Druckform 104 hinreichende Zeitspanne erfordern, so daß eine komplette Bebilderung, einschließlich eines Einbrennens aller Bildpunkte bzw. Pixel in die ersten Druckform 104 sowie eines nachfolgenden Reinigens der ersten Druckform 104 vom bei der ablativen Bebilderung thermisch zersetzten Druckformmaterial mittels der Reinigungseinrichtung 108, in dieser Zeitspanne durchführbar sein kann. Nach Bearbeitung des ersten Druckauftrages wird die Bearbeitung des zweiten Druckauftrages begonnen, indem der Druckformzylinder 92 in eine Arbeitsposition gebracht wird, in welcher ein Zusammenwirken mit dem Gummituchzylinder 94 gegeben ist und indem gleichzeitig der Druckformzylinder 98 aus einer derartigen Arbeitsposition in eine Bebilderungsposition gebracht wird. Ein solcher fliegender Druckformenwechsel minimiert die anfallende Makulatur, wobei gegebenenfalls ein kurzes Zwischenwaschen des Gummituchzylinders 100 und / oder ein Aufheben dessen Kontaktes zum Gegendruckzylinder 102 erfolgen kann. Die vorzugsweise als Druckfolienbahnen ausgebildeten Druckform 104, 110 können durch einen Druckfolienvorschub 132 erneuert werden, indem bebilderte und gebrauchte Bereiche einer Druckfolienbahn auf einen ersten Wickel 134 aufgewickelt und frische bebilderbare Druckfolienabschnitte von einem zweiten Wickel 136 abgewickelt werden. Danach kann während der Druckbearbeitung des zweiten Druckauftrages im ersten Druckwerk 82 eine Bebilderung der zweiten Druckform 110 erfolgen.
Die Bebilderungssteuereinrichtung 116 kann manuell oder, wie gezeigt, durch die zentrale Steuereinrichtung 118 wahlweise in einen ersten Betriebsmodus - zur Ansteuerung der ersten Bebilderungseinrichtung 106 zur Bebilderung der ersten Druckform 104 - und in einen zweiten Betriebsmodus - zur Ansteuerung der zweiten Bebilderungseinrichtung 112 zur Bebilderung der zweiten Druckform 110 - schaltbar sein. Die Druckbilddaten und andere Daten für die Bebilderung der Druckformen 104, 110 können von der Bebilderungssteuereinrichtung 116 von im Datenfluß vorgeordneten electronic-publishing-Systemen on-line oder, wie gezeigt, von transportablen Datenspeichermedien 130, z. B. Disketten, übernommen werden. Die Verbindung der Bebilderungssteuereinrichtung 116 mit der zentralen Steuereinrichtung 118 und auch eine Integration in letzerer ermöglichen eine weitere Nutzung der Bilddaten für die Steuerung weiterer Maschinenkomponenten, z. B. zur druckbildspezifischen Farbwerkseinstellung, sowie einen aktuelle Betriebszustände der Druckmaschine 80, insbesondere der Druckwerke 82, 84, betreffenden Signalfluß zur Bebilderungssteuereinrichtung 116. Ferner ist auch eine wahlweise Zuschaltung der Bebilderungssteuereinrichtung 116 zu den Bebilderungseinrichtungen 106, 112 sowie deren Aktivierung und Deaktivierung durch manuelle Bedienung möglich. Selbstverständlich kann die Druckmaschine 80 in weiteren Funktionen auch als eine Mehrfarbendruckmaschine und als eine Schönund Widerdruckmaschine betrieben werden, wobei z. B. eine nacheinander erfolgende Bebilderung der Druckformen 104, 110 vor Druckbeginn erfolgen kann. Die Druckmaschine 80 kann weitere Druckwerke umfassen, die den Druckwerken 82, 84 vor -, zwischen- und nachgeordnet sein können.
Bei einer bevorzugten Ausführungsform der Erfindung wird das erfindungsgemäße Verfahren unter Einsatz einer entsprechenden Steuerungssoftware in der eine Microprozessor-Schaltung umfassenden zentralen Steuereinrichtung 118 realisiert. Ein Beispiel für einen Programmablaufplan für eine derartige Steuerungssoftware ist in Fig. 2 dargestellt und wird nachfolgend beispielhaft auf Fig. 1 bezogen beschrieben.
Nach dem Programmstart in Stufe 140, welcher z. B. mit dem Einschalten der Druckmaschine erfolgen kann, werden in der Stufe 142 die Druckpositionen im zweiten Druckwerk 84 eingestellt, wobei z. B. der eine bereits fertig bebilderte erste Druckform 110 tragende Druckformzylinder 98 aus einer Bebilderungsposition in eine Arbeitsposition relativ zum Gummituchzylinder 100 gebracht wird. In der nächsten Programmstufe 144 wird mit dem Druck im zweiten Druckwerk 84 der Druckmaschine 80 begonnen. Nach dem Druckbeginn mit dem zweiten Druckwerk 84 erfolgt in einer nachfolgenden Programmstufe 146 die Bebilderung der ersten Druckform 104, welche in einer weiteren Programmstufe 148 vollständig abgeschlossen wird, so daß jetzt die ersten Druckform 104 druckfertig bebildert ist. Jetzt kann eine Einstellung der Druckpositionen im ersten Druckwerk 82, z. B. in oben der beschriebenen Weise, gemäß einer Programmstufe 150 erfolgen. Nachdem ein erster Druckauftrag mit der im zweiten Druckwerk 84 enthaltenen zweiten Druckform 110 fertiggestellt wurde und nachdem die komplette Auflage des ersten Druckauftrages gedruckt wurde, folgt eine Programmstufe 152, in welcher ein fliegender Wechsel vom Drucken mit dem zweiten Druckwerk 84 zum Drucken mit dem ersten Druckwerk 82, d. h. ein mit der Druckbeendung des Druckens mit der zweiten Druckform 110 gleichzeitiger Druckbeginn eines zweiten Druckauftrages mit der ersten Druckform 104. Dieser fliegende Wechsel kann erfolgen, indem z. B. der Gummituchzylinder 94 zuerst an den eingefärbten Druckformzylinder 92 und nachfolgend an den Gegendruckzylinder 96 angestellt wird, währenddessen gleichzeitig der Gummituchzylinder 100 vom Gegendruckzylinder 102 und dem Druckformzylinder 98 abgestellt wird. Die Druckformzylinder 92, 98 können über Kupplungen an den Antrieb der Druckmaschine 80 koppelbar und von diesem abkoppelbar sein, so daß der jeweils nichtdruckende Druckformzylinder 92; 98 durch einen weiteren Antrieb mit einer von der Maschinengeschwindigkeit unabhängigen Bebilderungsgeschwindigkeit antreibbar ist.
In einer nachfolgenden Programmstufe 154 wird die zweite Druckform 110 erneuert, z. B. indem eine Druckformhülse manuell ausgetauscht wird oder eine Druckplatte automatisch gewechselt wird oder eine auf- und abwickelbare Druckfolienbahn weitergetaktet wird, so daß der Druckformzylinder 98 mit einer neuen bebilderbaren Druckform 110 versehen wird. In einer weiteren Programmstufe 156 erfolgt eine Rücksprungabfrage, das heißt, ob dem zweiten Druckauftrag weitere Druckaufträge folgen bzw. ob die Anzahl n hintereinander zu bearbeitender Aufträge größer als die Anzahl z fertiggestellter Aufträge ist. Liegt kein weiterer Druckauftrag vor, kann, nachdem die komplette Auflage des zweiten Druckauftrages gedruckt wurde, in einer folgenden Programmstufe 158, das Drucken mit der ersten Druckform 104 beendet werden, indem der Druckformzylinder 92 vom Gummituchzylinder 96 abgestellt wird. Liegen weitere Druckaufträge, z. B. ein dritter Druckauftrag, vor, dann werden die vorangegangenen Programmstufen erneut durchlaufen, wie mit der Schleife 160 angedeutet. In der letzten Programmstufe 161 wird das Programm beendet.
Gemäß einer bevorzugten Ausführungsform der Erfindung umfaßt eine in Fig. 3 dargestellte Rotationsdruckmaschine eine Satellitendruckwerkseinheit 2 mit vier oder mehr um einen mehrfachgroßen gemeinsamen Gegendruckzylinder 14 gruppierten Druckeinrichtungen 6, 8, 10, 12 und einer Eindruckwerkseinheit 4 mit einer ersten Eindruckeinrichtung 16 und einer zweiten Eindruckeinrichtung 18 und gegebenenfalls weiterer Eindruckeinrichtungen. Die Satellitendruckwerkseinheit 2 und die Eindruckwerkseinheit 4 sind zueinander an- und abkoppelbar, wobei die Trennstelle 48 der Koppelung zwischen der einfachgroßen, zweiten Übergabetrommel 26 und der doppeltgroßen - d. h. zwei Druckbögen zugleich führenden - Transfertrommel 24, welcher eine einfachgroße, erste Übergabetrommel 22 vorgeordnet ist, verläuft. Die Satellitendruckwerkseinheit 2 und die Eindruckwerkseinheit 4 sind mit dem Verbindungselement 78 aneinander koppelbar, wobei weitere Koppelungen nicht in der Figur dargestellt sind. Die antriebsmäßige Koppelung kann z. B. über eine elektronische Koppelung separater Antriebe beider Einheiten 2, 4 mittels der zentralen Steuerungseinrichtung 71 oder über einen in eine der Einheiten 2; 4 integrierten Zentralantrieb und einen dessen Antriebsleistung zur anderen Einheit 2; 4 übertragendes Getriebe, z. B. einen Zahnräderzug, realisiert sein.
Zumindest eine der Einheiten 2; 4 ist in eine Richtung 46 verschiebbar, während die andere Einheit 2; 4 stationär im Fundament 33 verankert sein kann. Die Verschiebbarkeit der Einheiten 2, 4 kann durch in Laufschienen 35 geführte Rollen 36 oder andere Verschiebungen erleichternde Führungen ermöglicht sein, wobei die verschiebbaren Einheiten 2, 4 im Fundament 33 mit Feststellelementen 37 arretierbar sein können.
Durch die geschaffene Trenn- und Koppelbarkeit ist eine Koppelung der Einheiten 2, 4 und ein Betrieb mit weiteren Modulen, z. B. bogenanlegenden und -auslegenden sowie druckweiterverarbeitenden Modulen, - d. h. eine einsatzbedingte wahlweise Kombination und auch ein Separatbetrieb der Einheiten 2, 4 - möglich. Beispielsweise kann die Satellitendruckwerkseinheit 2 mit einer im wesentlichen gleichartig oder spiegelbildlich ausgebildeten weiteren Satellitendruckwerkseinheit kombiniert werden, so daß ein zweiseitiger Vier- oder Mehrfarbendruck oder ein einseitiger Acht- oder Mehrfarbendruck möglich ist. Das erfindungsgemäße Verfahren kann dabei innerhalb nur einer der Satellitendruckwerke- bzw. Eindruckeinheiten oder modulübergreifend durchgeführt werden.
Die Übergabetrommeln 22, 26 und die Transfertrommel 24 weisen Druckbögen haltende Einrichtungen, z. B. Greiferleisten und Sauggreifer, auf, so daß die Druckbögen 30 lagesicher auf den Umfangsoberflächen der Trommel 22, 24, 26 geführt und von einer Trommel 22; 24 zur anderen Trommel 24; 26 übergeben werden können. Die Druckbogentransfereinrichtung 22, 24, 26 kann umstellbar und dadurch in zwei Betriebsmodi betreibbar ausgebildet sein. Die von der Bogentransfereinrichtung 22, 24, 26 von der Satellitendruckwerkseinheit 2, z. B. direkt vom vierfachgroßen Gegendruckzylinder 14 übernommenen, ein Druckbild auf der Vorderseite 40 tragenden Druckbögen 30 können in einem ersten Betriebsmodus - dem Schöndruckmodus - derart an die Eindruckwerkseinheit 4, z. B. direkt an den mehrfachgroßen Gegendruckzylinder 20, übergeben werden, daß mit der Eindruckwerkseinheit 4 Eindruckbilder in das Druckbild der Vorderseite 42 eindruckbar sind. In einem zweiten Betriebsmodus - dem Schön- und Wiederdruckmodus - arbeitet die Druckbogentransfereinrichtung 22, 24, 26 als eine Wendeeinrichtung, wobei die Transfertrommel 24 als eine Speichertrommel, die mit der hierbei als Wendetrommel fungierenden zweiten Übergabetrommel 26 in bekannter Weise zusammenwirkt, fungiert, so daß die Druckbögen 30 gewendet an die Eindruckwerkseinheit 4 übergeben werden, wobei die Druckbögen 30 mit ihrer vormaligen Vorderseite 40 auf dem Gegendruckzylinder 20 aufliegen und ein Bedrucken der Rückseite 44 durchführbar ist. Die Pfeilspitzen in Fig. 3 symbolisieren die auf den Druckbogen auf der jeweilige Seite aufgedruckten Farben.
Das erfindungsgemäße Verfahren kann mit der in Fig. 3 dargestellten Vorrichtung auf verschiedene Weise durchgeführt werden. Eine ersten Variante beinhaltet, daß eine Bebilderung einer oder mehrerer Eindruckeinrichtungen 16, 18, der Einheit 4 während des Druckens mit den Druckeinrichtungen 5, 7, 9, 11 der Einheit 2 erfolgt oder daß während des Druckens mit einer oder mehreren der Eindruckeinrichtungen 16, 18 der Einheit 4 eine Bebilderung einer oder mehrerer Druckeinrichtungen 5, 7, 9, 11 der Einheit 2 erfolgt. Diese ersten Variante ist auch auf zwei gekoppelte Satellitendruckwerkseinheiten anwendbar.
Gemäß einer zweiten Variante werden ein oder mehrere der Druckformen 5, 7, 9, 11 während des Druckens mit einer oder mehreren der Druckformen 5, 7, 9, 11 bebildert. Diese Variante kann sowohl im Separatbetrieb der Satellitendruckwerkseinheit 2 als auch im mit anderen Modulen, z. B. der Eindruckwerkseinheit 4, gekoppelten Betrieb realisiert sein.
Eine Kombination dieser Varianten untereinander und mit einer nachfolgend beschriebenen bevorzugten dritten Varianten und mit in der Beschreibung zu den Fig. 1 und 2 genannten oder in diesen gezeigten Merkmalen ist möglich.
Die bevorzugte dritte Variante beinhaltet die Durchführung des erfindungsgemäßen Verfahrens mittels der in die Eindruckwerkseinheit 4 integrierten Vorrichtungen 62, 70, 72, 73. Die z. B. als Schreibkopf mit Laserdioden ausgebildete Bebilderungseinrichtung 72 ist in eine erste Position a zur Bebilderung der ersten Druckform 49 und in eine zweite Position b zur Bebilderung der zweiten Druckform 51 sowie gegebenenfalls in eine Neutralpositon c stellbar. Dies kann vorzugsweise erfolgen, indem die Bebilderungseinrichtung 72 geschwenkt wird. Neben der Schwenkbewegung 74 kann eine weitere - gegebenenfalls mit dieser zwangsweise synchronisierte - Bewegung 76 der Bebilderungseinrichtung 72 erfolgen.
Bei der in Fig. 3 dargestellten Ausführungsvariante ist jeder Bebilderungseinrichtung 66, 72 eine separate Bebilderungssteuereinrichtung 73 zugeordnet. Es kann auch vorgesehen sein, daß den Bebilderungseinrichtungen 66, 72 eine gemeinsame, wahlweise zuschaltbare Bebilderungssteuereinrichtung 73 zugeordnet ist, welche die Bebilderung der Druckformen 5, 7, 9, 11 und die Bebilderung der Druckformen 49, 51 steuert.
Ferner kann auch eine einzige Bebilderungseinrichtung 66 mit zugehöriger Bebilderungssteuereinrichtung 73 zur nacheinander erfolgenden Bebilderung der Druckeinrichtungen 6, 8, 10, 12 bzw. Druckformen 5, 7, 9, 11 eingesetzt werden.
in Fig. 3 ist dargestellt, daß die Eindruckeinrichtung 16 zur Bebilderung außer Betrieb genommen ist, wozu der Druckformzylinder 58 und das Farbwerk 60, der Druckformzylinder 58 und der Gummituchzylinder 56 sowie der Gummituchzylinder 56 und Gegendruckzylinder 20 voneinander getrennt und abgestellt sind. Während in der Satellitendruckwerkseinheit 2 gedruckte vierfarbige Druckbilder eines ersten Teilauftrages auf der Vorderseite 42 des Druckbogens mit der zweiten Druckform 51 der zweiten Eindruckeinrichtung 18 Eindruckbilder eingedruckt werden, erfolgt eine Bebilderung der ersten Druckform 49 der ersten Eindruckeinrichtung 16 für das Eindrucken eines anderen Eindruckbildes in vierfarbige Druckbilder eines zweiten Teilauftrages. Während des Druckens dieses zweiten Teilauftrages mit der ersten Druckform 49 kann eine Bebilderung der zweiten Druckform 51 für einen dritten Teilauftrag erfolgen, wobei zuerst die gebrachte Druckform 51 durch eine neue bebilderbare Druckform ersetzt wird, dann eine Bestrahlung mit der Bebilderungseinrichtung 62 und dieser nachfolgend eine eventuell erforderliche Reinigung der Druckform 51 mit der Reinigungsvorrichtung 62 erfolgen kann.
Bezugszeichenliste
2
Satellitendruckwerkseinheit
4
Eindruckwerkseinheit
5, 7, 9, 11
Druckformen
6, 8, 10, 12
Druckeinrichtung
14, 20
Gegendruckzylinder
16
erste Eindruckeinrichtung
18
zweite Eindruckeinrichtung
22
erste Übergabetrommel
24
Transfertrommel
26
zweite Übergabetrommel
28
Bogenanleger
30
Druckbogen
31
Anlagestapel
32
Bogenausleger
33
Fundament
34
Auslagestapel
36
Rollen
37
Feststellelement
38
Laufschiene
40, 42
Bogenvorderseite
44
Bogenrückseite
46
Richtung
48
Trennstelle
49
erste Druckform
50, 56
Gummituchzylinder
51
zweite Druckform
52, 58
Druckformzylinder
54, 60
Farbwerk
62
Reinigungseinrichtung
64
Zustellbewegung
68
Achse
70
Schwenkarm
71
Zentrale Steuereinrichtung
72
Bebilderungseinrichtung
73
Bebilderungssteuereinrichtung
74
Schwenkbewegung
76
Bewegung
78
Verbindungselement
80
Bogenoffset-Rotationsdruckmaschine
82
erstes Druckwerk
84
zweites Druckwerk
86
Bogenanleger
88
Bogenübergabeeinrichtung
90
Bogenausleger
92, 98
Druckformzylinder
94, 100
Gummituchzylinder
96, 102
Gegendruckzylinder
104
erste Druckform
106
erste Bebilderungseinrichtung
108
erste Reinigungseinrichtung
110
zweite Druckform
112
zweite Bebilderungseinrichtung
114
zweite Reinigungseinrichtung
116
Bebilderungssteuereinrichtung
118
zentrale Steuereinrichtung
120, 124
Positionierung der Bebilderungseinrichtung
122, 126
Positionierung der Reinigungseinrichtung
128
Druckbogen
130
Datenspeichermedium
132
Druckfolienvorschub
134
erster Wickel
136
zweiter Wickel
138
Bedienpult
140, 142, 144, 146, 148, 150, 152, 154, 156, 158, 160, 161
Programmstufen
a, b, c
Positionen

Claims (8)

  1. Verfahren zum Betrieb einer Rotationsdruckmaschine mit mindestens zwei in der Druckmaschine bebilderbaren Druckformen, mit denen nach einer einmaligen Bebilderung mehrere Drucke durchführbar sind,
    dadurch gekennzeichnet, daß mit den Druckformen (49, 51; 104, 110) ein erster Druckauftrag und ein zweiter Druckauftrag gedruckt werden, wobei während des Druckens des ersten Druckauftrages mit der ersten Druckform (49, 104) die zweite Druckform (51, 110) für das Drucken des zweiten Druckauftrags bebildert wird,
    wobei diese Bebilderung der zweiten Druckform (51, 110) in der Druckmaschine erfolgt, wobei zwischen dem Einsatz der ersten Druckform (49, 104) zum Drucken des ersten Druckauftrages und dem Einsatz der zweiten Druckform (51, 110) zum Drucken des zweiten Druckauftrages ein fliegender Wechsel der Druckformen (49, 51; 104, 110) erfolgt und
    wobei die Bebilderung der Druckformen (49, 51; 104, 110) durch örtliche Bestrahlung erfolgt.
  2. Verfahren zum Betrieb einer Rotationsdruckmaschine mit mindestens zwei in der Druckmaschine bebilderbaren Druckformen, mit denen nach einer einmaligen Bebilderung mehrere Drucke durchführbar sind,
    dadurch gekennzeichnet, daß mit den Druckformen (49, 51; 104, 110) eine sich aus einer ersten Teilauflage und einer zweiten Teilauflage zusammensetzende Gesamtauflage gedruckt wird,
    wobei während des Druckens der ersten Teilauflage mit der ersten Druckform (49, 104) die zweite Druckform (51, 110) für das Drucken der zweiten Teilauflage bebildert wird, wobei diese Bebilderung der zweiten Druckform (51, 110) in der Druckmaschine erfolgt,
    wobei zwischen dem Einsatz der ersten Druckform (49, 104) zum Drucken der ersten Teilauflage und dem Einsatz der zweiten Druckform (51, 110) zum Drucken der zweiten Teilauflage ein fliegender Wechsel der Druckformen (49, 51; 104;110) erfolgt und
    wobei die Bebilderung der Druckformen (49, 51; 104, 110) durch örtliche Bestrahlung erfolgt.
  3. Verfahren nach Anspruch 1 oder 2,
    dadurch gekennzeichnet, daß die Druckformen (49, 51; 104, 110) nach der Bestrahlung durch einen Reinigungsvorgang von Bebilderungsrückständen gereinigt werden.
  4. Verfahren nach einem der Ansprüche 1 bis 3,
    dadurch gekennzeichnet, dass die Bebilderung der ersten Druckform (104) mittels einer der ersten Druckform (104) zugeordneten ersten Bebilderungseinrichtung (106) und die Bebilderung der zweiten Druckform (110) mittels einer der zweiten Druckform (110) zugeordneten zweiten Bebilderungseinrichtung (112) durchgeführt wird.
  5. Verfahren nach einem der Ansprüche 1 bis 3,
    dadurch gekennzeichnet, dass die Bebilderung der Druckformen (49, 51) mittels einer den Druckformen (49, 51) gemeinsam zugeordneten, einzigen Bebilderungseinrichtung (72) durchgeführt wird.
  6. Verfahren nach Anspruch 5,
    dadurch gekennzeichnet, daß die gemeinsame Bebilderungseinrichtung (72) zur Bebilderung der ersten Druckform (49) in eine erste Position a und zur Bebilderung der zweiten Druckform (51) in eine zweite Position b verstellt wird.
  7. Verfahren nach Anspruch 6,
    dadurch gekennzeichnet, daß die gemeinsame Bebilderungseinrichtung (72) in die erste Position a und die zweite Position b geschwenkt wird.
  8. Verfahren nach Anspruch 4,
    dadurch gekennzeichnet, daß die Bebilderungseinrichtungen (106, 112) mittels einer gemeinsamen Bebilderungssteuereinrichtung (116) gesteuert werden.
EP98115978A 1997-10-02 1998-08-25 Verfahren zum Betrieb einer Rotationsdruckmaschine Expired - Lifetime EP0906825B1 (de)

Applications Claiming Priority (2)

Application Number Priority Date Filing Date Title
DE19743770A DE19743770A1 (de) 1997-10-02 1997-10-02 Verfahren zum Betrieb einer Rotationsdruckmaschine und Vorrichtung zur Durchführung des Verfahrens
DE19743770 1997-10-02

Publications (3)

Publication Number Publication Date
EP0906825A2 EP0906825A2 (de) 1999-04-07
EP0906825A3 EP0906825A3 (de) 1999-09-15
EP0906825B1 true EP0906825B1 (de) 2002-11-20

Family

ID=7844517

Family Applications (1)

Application Number Title Priority Date Filing Date
EP98115978A Expired - Lifetime EP0906825B1 (de) 1997-10-02 1998-08-25 Verfahren zum Betrieb einer Rotationsdruckmaschine

Country Status (5)

Country Link
US (1) US6101944A (de)
EP (1) EP0906825B1 (de)
JP (1) JPH11157046A (de)
DE (2) DE19743770A1 (de)
IL (1) IL126108A0 (de)

Cited By (1)

* Cited by examiner, † Cited by third party
Publication number Priority date Publication date Assignee Title
DE102010001314A1 (de) 2010-01-28 2011-08-18 KOENIG & BAUER Aktiengesellschaft, 97080 Verfahren zum Betreiben einer Bogenoffsetdruckmaschine

Families Citing this family (32)

* Cited by examiner, † Cited by third party
Publication number Priority date Publication date Assignee Title
WO1998055312A1 (de) * 1997-06-03 1998-12-10 Koenig & Bauer Aktiengesellschaft Verfahren und einrichtung zum antrieb einer druckmaschine mit einer integrierten bebilderungseinrichtung
DE19812226B4 (de) * 1998-03-20 2008-08-14 Koenig & Bauer Aktiengesellschaft Verfahren und Einrichtung zum Bebildern
DE19859437A1 (de) * 1998-12-22 2000-06-29 Heidelberger Druckmasch Ag Farbwerk
DE19961605A1 (de) * 1999-01-18 2000-07-20 Heidelberger Druckmasch Ag Druckmaschine mit mehreren Druckwerken zum Übereinanderdrucken mehrerer Druckfarben in einem Durchlauf
DE29908649U1 (de) 1999-05-15 1999-08-05 Sandhoo, Sarbjeet Singh, 67133 Maxdorf Selbstbedienungsgerät zur individuellen Mustergestaltung von Produkten
DE10047394A1 (de) 1999-10-15 2001-04-19 Heidelberger Druckmasch Ag Modulares Druckmaschinensystem zum Bedrucken von Bogen
DE10046466A1 (de) 1999-10-15 2001-04-19 Heidelberger Druckmasch Ag Modulares Druckmaschinensystem zum Bedrucken von Bogen
DE10047040A1 (de) 1999-10-15 2001-04-19 Heidelberger Druckmasch Ag Modulares Druckmaschinensystem zum Bedrucken von Bogen
DE19949751A1 (de) 1999-10-15 2001-04-19 Heidelberger Druckmasch Ag Modulares Druckmaschinensystem zum Bedrucken von Bogen
JP2001322250A (ja) * 2000-05-17 2001-11-20 Komori Corp 印刷機および印刷機の制御方法
JP2001322254A (ja) * 2000-05-17 2001-11-20 Komori Corp 印刷機および印刷機の制御方法
US6474231B1 (en) * 2000-07-26 2002-11-05 Heidelberger Druckmaschinen Ag Multi-color printing press with common blanket cylinder
WO2002024454A1 (de) * 2000-09-20 2002-03-28 Koenig & Bauer Aktiengesellschaft Druckeinheit
DE10048313A1 (de) * 2000-09-28 2002-04-11 Koenig & Bauer Ag Druckmaschine mit Druckplattenbebilderung
DE10050097A1 (de) * 2000-10-09 2002-06-20 Roland Man Druckmasch Gummizylinderhülse für Offsetdruckmaschinen
DE10155038B4 (de) * 2000-12-04 2014-03-06 Heidelberger Druckmaschinen Ag Wechselbare Bebilderungseinrichtung zum Bebildern von Druckformen
DE10105926B4 (de) * 2001-02-09 2005-06-16 Koenig & Bauer Ag Rollenrotationsdruckmaschine
US6796239B2 (en) * 2001-03-22 2004-09-28 Heidelberger Druckmaschinen Ag Method and device for driving a printing press
DE10121827B4 (de) 2001-05-04 2005-12-22 Man Roland Druckmaschinen Ag Druckwerk mit reversibler Bebilderung und digitaler Umrüstung
US6851368B2 (en) * 2001-08-29 2005-02-08 Heidelberger Druckmaschinen Ag Rotary printing press having a switchable speed-change gear mechanism with plant gears
US7692802B2 (en) * 2001-11-15 2010-04-06 Heidelberger Druckmaschinen Ag Image setting device, module and printing press for relative motion compensation of image setting device and printing form
US6722279B2 (en) * 2001-12-05 2004-04-20 Heidelberger Druckmaschinen Ag Device and corresponding method for rapid image data transfer in printing presses
DE10308436C5 (de) 2003-02-27 2010-08-26 Heidelberger Druckmaschinen Ag Druckplattenbelichter zur Aufzeichnung von Druckvorlagen
DE10319685A1 (de) * 2003-05-02 2004-11-18 Werner Kammann Maschinenfabrik Gmbh Vorrichtung zum Belichten von Druckplatten eines Druckwerkes
DE102004021657B4 (de) * 2004-05-03 2010-04-08 Manroland Ag Verfahren zur Durchführung eines druckplattenspezifischen Produktionswechsels an einer Druckmaschine
DE102005018367B4 (de) * 2004-12-20 2008-08-07 Koenig & Bauer Aktiengesellschaft Vorrichtung zum Ausbilden eines Druckbildes an mindestens einer Druckbildstelle auf einem Formzylinder sowie deren Verwendung
WO2006067118A1 (de) 2004-12-20 2006-06-29 Koenig & Bauer Aktiengesellschaft Kommunikationssysteme mit einem netzwerk zur übertragung von bilddaten an mindestens eine bebilderungsvorrichtung und kommunikationssystem mit einem netzwerk zur steuerung und/oder überwachung einer mehrere sektionen aufweisenden druckmaschine
DE102006011614A1 (de) * 2006-03-14 2007-09-20 Man Roland Druckmaschinen Ag Rollenrotatationsdruckmaschine
DE202006004340U1 (de) * 2006-03-18 2006-05-11 Man Roland Druckmaschinen Ag Bogendruckmaschine
US20070235923A1 (en) * 2006-04-05 2007-10-11 Keller James J Sheet feeder, feed roller system and method
DE102006032201B4 (de) * 2006-07-12 2013-07-18 Koenig & Bauer Aktiengesellschaft Handhabungseinrichtung zum Handhaben von Druckplatten bei einer Druckmaschine
US7920279B2 (en) * 2006-10-13 2011-04-05 Infoprint Solutions Company, Llc Apparatus and methods for improved printing in a tandem LED printhead engine

Family Cites Families (22)

* Cited by examiner, † Cited by third party
Publication number Priority date Publication date Assignee Title
DE7235379U (de) * 1972-12-21 H Clauberg Maschinenfab Eindruckwerk
DE1039537B (de) * 1956-02-17 1958-09-25 Goebel Gmbh Maschf Verfahren und Einrichtung zum Aufdrucken von wechselnden Text- oder Bildeindrucken
DE2033836C3 (de) * 1970-07-08 1980-07-10 Walter Dr. 6100 Darmstadt Matuschke Rollen-Rotationsdruckmaschine
DE2844418C3 (de) * 1978-10-12 1982-02-11 Albert-Frankenthal Ag, 6710 Frankenthal Rollen-Rotationsdruckmaschine mit einer Einrichtung zum Herstellen von Druckerzeugnissen mit wechselnden Eindrucken
DE3825145A1 (de) * 1988-07-23 1990-01-25 Koenig & Bauer Ag Rollenrotations-offsetdruckmaschine mit einem druckwerk fuer fliegenden plattenwechsel
US5163368B1 (en) * 1988-08-19 1999-08-24 Presstek Inc Printing apparatus with image error correction and ink regulation control
DE3837898A1 (de) * 1988-11-09 1990-06-13 Roland Man Druckmasch Verfahren und vorrichtung zur integrierten druckformherstellung an einer offset- druckmaschine
US5072671A (en) * 1988-11-09 1991-12-17 Man Roland Druckmaschinen Ag System and method to apply a printing image on a printing machine cylinder in accordance with electronically furnished image information
DE4103744C1 (de) * 1991-02-07 1992-09-17 Man Roland Druckmaschinen Ag, 6050 Offenbach, De
DE9116212U1 (de) * 1991-04-19 1992-04-02 Albert-Frankenthal Ag, 6710 Frankenthal Druckeinheit für eine Rotationsdruckmaschine
DE4112925A1 (de) * 1991-04-19 1992-10-22 Frankenthal Ag Albert Druckeinheit fuer eine rotationsdruckmaschine
US5305019A (en) * 1992-03-02 1994-04-19 Rockwell International Corporation Imaging system for a printing press
US5351617A (en) * 1992-07-20 1994-10-04 Presstek, Inc. Method for laser-discharge imaging a printing plate
DE4328058A1 (de) * 1993-08-20 1995-02-23 Roland Man Druckmasch Druckmaschine mit mindestens einem auswechselbaren Zylinder, insbesondere einem auswechselbaren Formzylinder, oder mit einer auswechselbaren Druckform
US5816161A (en) * 1994-07-22 1998-10-06 Man Roland Druckmaschinen Ag Erasable printing plate having a smooth pore free metallic surface
DE19503619A1 (de) * 1995-02-03 1996-08-08 Heidelberger Druckmasch Ag Koppelbare Satelliltendruckwerke
DE19512420B4 (de) * 1995-04-03 2005-01-27 Koenig & Bauer Ag Mehrfarbendruckmaschine mit Druckplattenbebilderung
DE19523378A1 (de) * 1995-06-30 1997-01-02 Koenig & Bauer Albert Ag Bogenoffsetrotationsdruckmaschine
DE19533811A1 (de) * 1995-09-13 1997-03-20 Heidelberger Druckmasch Ag Verfahren zum Bebildern eines Druckformträgers für eine Druckmaschine
DE19602289A1 (de) * 1996-01-23 1997-07-24 Roland Man Druckmasch Druckvorrichtung
DE19603663A1 (de) * 1996-02-02 1997-08-07 Roland Man Druckmasch Druckwerk für den fliegenden Druckplattenwechsel
JP3466867B2 (ja) * 1997-03-28 2003-11-17 大日本スクリーン製造株式会社 印刷装置

Cited By (1)

* Cited by examiner, † Cited by third party
Publication number Priority date Publication date Assignee Title
DE102010001314A1 (de) 2010-01-28 2011-08-18 KOENIG & BAUER Aktiengesellschaft, 97080 Verfahren zum Betreiben einer Bogenoffsetdruckmaschine

Also Published As

Publication number Publication date
JPH11157046A (ja) 1999-06-15
DE19743770A1 (de) 1999-04-08
DE59806339D1 (de) 2003-01-02
EP0906825A2 (de) 1999-04-07
EP0906825A3 (de) 1999-09-15
IL126108A0 (en) 1999-05-09
US6101944A (en) 2000-08-15

Similar Documents

Publication Publication Date Title
EP0906825B1 (de) Verfahren zum Betrieb einer Rotationsdruckmaschine
EP0834398B1 (de) Antrieb für eine Bogendruckmaschine
DE19739283C2 (de) Verfahren zum Erreichen des Fortdruckzustandes in einer Rollenrotationsdruckmaschine
EP0899095B1 (de) Bogenrotationsdruckmaschine
DE69402638T2 (de) Druckplattenzylinder mit einer Einrichtung zum automatischen Zuführen von Druckplattenmaterial zur Verwendung in einem System zur Herstellung von Druckplatten
EP1170122B1 (de) Einrichtung in Druckmaschinen zum Bebildern von Oberflächen
EP1176008B1 (de) Mehrfarben-Druckmaschine mit einem gemeinsamen Gummituchzylinder
EP0925189B1 (de) Mehrfarben-bogendruckmaschine
WO2009040178A1 (de) Verfahren zum hochlauf einer rotationsdruckmaschine
DE10115121A1 (de) Verfahren und Vorrichtung zur Erzeugung einer Farbverteilung im Farbwerk von Druckmaschinen
DE19921628A1 (de) Verfahren zum Dosieren von Feuchtmittel beim Drucken mit einer Druckform für Offsetdruck
EP1361047A2 (de) Druckeinheit
DE60129633T2 (de) Druckmaschine und Kontrollverfahren dieser Druckmaschine
DE60225386T2 (de) Vorrichtung und Verfahren zum automatischen Wechseln von Plattenzylindern in Rotationsdruckmaschinen
DE60129634T2 (de) Apparat für das halb-Automatisieren von Schaltungsoperationen einer Rollenoffsetdruckmaschine
DE19602307A1 (de) Druckmaschine
DE10311514B4 (de) Verfahren zum Betreiben eines Offset-Druckwerks und Offset-Druckwerk
EP1354700B1 (de) Verfahren zum Behandeln von erneut bebilderbaren Druckformen oder Druckformzylindern in Druckmaschinen
EP1179425B1 (de) Verfahren zum Behandeln von erneut bebilderbaren Druckformen oder Druckformzylindern in Druckmaschinen
EP2022643A2 (de) Entwicklung von Druckplatten in Offsetdruckmaschinen
DE3011031C2 (de) Bogen-Rotations-Andruckoffsetdruckmaschine
DE102023107271A1 (de) Verfahren zum Betreiben einer Druckmaschine und Druckmaschine
DE3505113A1 (de) Apparat zur herstellung von mehrfachkopien, insbesondere mehrfarbigen kopien, mittels elektrostatischer vervielfaeltigung
EP1638773A1 (de) Verfahren zum betrieb eines farbwerks
WO2008095557A1 (de) Verfahren zum abrüsten und/oder hochlauf einer rotationsdruckmaschine

Legal Events

Date Code Title Description
PUAI Public reference made under article 153(3) epc to a published international application that has entered the european phase

Free format text: ORIGINAL CODE: 0009012

17P Request for examination filed

Effective date: 19980825

AK Designated contracting states

Kind code of ref document: A2

Designated state(s): BE CH DE FR GB IT LI NL

AX Request for extension of the european patent

Free format text: AL;LT;LV;MK;RO;SI

PUAL Search report despatched

Free format text: ORIGINAL CODE: 0009013

AK Designated contracting states

Kind code of ref document: A3

Designated state(s): AT BE CH CY DE DK ES FI FR GB GR IE IT LI LU MC NL PT SE

AX Request for extension of the european patent

Free format text: AL;LT;LV;MK;RO;SI

AKX Designation fees paid

Free format text: BE CH DE FR GB IT LI NL

17Q First examination report despatched

Effective date: 20000925

RTI1 Title (correction)

Free format text: METHOD FOR OPERATING A ROTARY PRESS

GRAG Despatch of communication of intention to grant

Free format text: ORIGINAL CODE: EPIDOS AGRA

GRAG Despatch of communication of intention to grant

Free format text: ORIGINAL CODE: EPIDOS AGRA

GRAH Despatch of communication of intention to grant a patent

Free format text: ORIGINAL CODE: EPIDOS IGRA

GRAH Despatch of communication of intention to grant a patent

Free format text: ORIGINAL CODE: EPIDOS IGRA

GRAA (expected) grant

Free format text: ORIGINAL CODE: 0009210

AK Designated contracting states

Kind code of ref document: B1

Designated state(s): BE CH DE FR GB IT LI NL

REG Reference to a national code

Ref country code: GB

Ref legal event code: FG4D

Free format text: NOT ENGLISH

REG Reference to a national code

Ref country code: CH

Ref legal event code: EP

REF Corresponds to:

Ref document number: 59806339

Country of ref document: DE

Date of ref document: 20030102

GBT Gb: translation of ep patent filed (gb section 77(6)(a)/1977)

Effective date: 20030127

ET Fr: translation filed
PG25 Lapsed in a contracting state [announced via postgrant information from national office to epo]

Ref country code: GB

Free format text: LAPSE BECAUSE OF NON-PAYMENT OF DUE FEES

Effective date: 20030825

PG25 Lapsed in a contracting state [announced via postgrant information from national office to epo]

Ref country code: LI

Free format text: LAPSE BECAUSE OF NON-PAYMENT OF DUE FEES

Effective date: 20030831

Ref country code: CH

Free format text: LAPSE BECAUSE OF NON-PAYMENT OF DUE FEES

Effective date: 20030831

Ref country code: BE

Free format text: LAPSE BECAUSE OF NON-PAYMENT OF DUE FEES

Effective date: 20030831

PLBE No opposition filed within time limit

Free format text: ORIGINAL CODE: 0009261

STAA Information on the status of an ep patent application or granted ep patent

Free format text: STATUS: NO OPPOSITION FILED WITHIN TIME LIMIT

26N No opposition filed

Effective date: 20030821

BERE Be: lapsed

Owner name: *HEIDELBERGER DRUCKMASCHINEN A.G.

Effective date: 20030831

PG25 Lapsed in a contracting state [announced via postgrant information from national office to epo]

Ref country code: NL

Free format text: LAPSE BECAUSE OF NON-PAYMENT OF DUE FEES

Effective date: 20040301

GBPC Gb: european patent ceased through non-payment of renewal fee
REG Reference to a national code

Ref country code: CH

Ref legal event code: PL

PG25 Lapsed in a contracting state [announced via postgrant information from national office to epo]

Ref country code: FR

Free format text: LAPSE BECAUSE OF NON-PAYMENT OF DUE FEES

Effective date: 20040430

NLV4 Nl: lapsed or anulled due to non-payment of the annual fee

Effective date: 20040301

REG Reference to a national code

Ref country code: FR

Ref legal event code: ST

PG25 Lapsed in a contracting state [announced via postgrant information from national office to epo]

Ref country code: IT

Free format text: LAPSE BECAUSE OF NON-PAYMENT OF DUE FEES

Effective date: 20050825

PGFP Annual fee paid to national office [announced via postgrant information from national office to epo]

Ref country code: DE

Payment date: 20100920

Year of fee payment: 13

REG Reference to a national code

Ref country code: DE

Ref legal event code: R119

Ref document number: 59806339

Country of ref document: DE

Effective date: 20120301

PG25 Lapsed in a contracting state [announced via postgrant information from national office to epo]

Ref country code: DE

Free format text: LAPSE BECAUSE OF NON-PAYMENT OF DUE FEES

Effective date: 20120301