EP0806336B1 - Hilfsvorrichtung für das Lenken eines Fahrzeuges - Google Patents
Hilfsvorrichtung für das Lenken eines Fahrzeuges Download PDFInfo
- Publication number
- EP0806336B1 EP0806336B1 EP97303191A EP97303191A EP0806336B1 EP 0806336 B1 EP0806336 B1 EP 0806336B1 EP 97303191 A EP97303191 A EP 97303191A EP 97303191 A EP97303191 A EP 97303191A EP 0806336 B1 EP0806336 B1 EP 0806336B1
- Authority
- EP
- European Patent Office
- Prior art keywords
- steering
- lane
- vehicle
- lane change
- course
- Prior art date
- Legal status (The legal status is an assumption and is not a legal conclusion. Google has not performed a legal analysis and makes no representation as to the accuracy of the status listed.)
- Expired - Lifetime
Links
- 230000008859 change Effects 0.000 claims description 219
- 230000006698 induction Effects 0.000 claims description 137
- 238000012790 confirmation Methods 0.000 claims description 34
- 230000003247 decreasing effect Effects 0.000 claims description 33
- 230000004044 response Effects 0.000 claims description 28
- 230000001965 increasing effect Effects 0.000 claims description 25
- 230000009467 reduction Effects 0.000 claims description 20
- 230000003313 weakening effect Effects 0.000 claims description 9
- 238000001514 detection method Methods 0.000 claims description 7
- 238000012545 processing Methods 0.000 description 65
- 238000000034 method Methods 0.000 description 37
- 230000002250 progressing effect Effects 0.000 description 26
- 238000004364 calculation method Methods 0.000 description 13
- 238000010586 diagram Methods 0.000 description 11
- 230000008569 process Effects 0.000 description 11
- 230000004043 responsiveness Effects 0.000 description 8
- 238000006073 displacement reaction Methods 0.000 description 7
- 230000007246 mechanism Effects 0.000 description 7
- 238000012937 correction Methods 0.000 description 4
- 230000000694 effects Effects 0.000 description 4
- 230000008901 benefit Effects 0.000 description 3
- 238000013459 approach Methods 0.000 description 2
- 238000006243 chemical reaction Methods 0.000 description 2
- 230000006870 function Effects 0.000 description 2
- 230000004048 modification Effects 0.000 description 2
- 238000012986 modification Methods 0.000 description 2
- 230000009471 action Effects 0.000 description 1
- 230000004913 activation Effects 0.000 description 1
- 238000013461 design Methods 0.000 description 1
- 230000004069 differentiation Effects 0.000 description 1
- 230000002708 enhancing effect Effects 0.000 description 1
- 238000000605 extraction Methods 0.000 description 1
- 239000003999 initiator Substances 0.000 description 1
- 238000007689 inspection Methods 0.000 description 1
- 230000035945 sensitivity Effects 0.000 description 1
- 238000006557 surface reaction Methods 0.000 description 1
- 238000012546 transfer Methods 0.000 description 1
- 230000001052 transient effect Effects 0.000 description 1
Images
Classifications
-
- B—PERFORMING OPERATIONS; TRANSPORTING
- B62—LAND VEHICLES FOR TRAVELLING OTHERWISE THAN ON RAILS
- B62D—MOTOR VEHICLES; TRAILERS
- B62D15/00—Steering not otherwise provided for
- B62D15/02—Steering position indicators ; Steering position determination; Steering aids
- B62D15/025—Active steering aids, e.g. helping the driver by actively influencing the steering system after environment evaluation
-
- B—PERFORMING OPERATIONS; TRANSPORTING
- B62—LAND VEHICLES FOR TRAVELLING OTHERWISE THAN ON RAILS
- B62D—MOTOR VEHICLES; TRAILERS
- B62D15/00—Steering not otherwise provided for
- B62D15/02—Steering position indicators ; Steering position determination; Steering aids
- B62D15/025—Active steering aids, e.g. helping the driver by actively influencing the steering system after environment evaluation
- B62D15/0255—Automatic changing of lane, e.g. for passing another vehicle
-
- G—PHYSICS
- G05—CONTROLLING; REGULATING
- G05D—SYSTEMS FOR CONTROLLING OR REGULATING NON-ELECTRIC VARIABLES
- G05D1/00—Control of position, course, altitude or attitude of land, water, air or space vehicles, e.g. using automatic pilots
- G05D1/02—Control of position or course in two dimensions
- G05D1/021—Control of position or course in two dimensions specially adapted to land vehicles
- G05D1/0231—Control of position or course in two dimensions specially adapted to land vehicles using optical position detecting means
- G05D1/0246—Control of position or course in two dimensions specially adapted to land vehicles using optical position detecting means using a video camera in combination with image processing means
-
- G—PHYSICS
- G05—CONTROLLING; REGULATING
- G05D—SYSTEMS FOR CONTROLLING OR REGULATING NON-ELECTRIC VARIABLES
- G05D1/00—Control of position, course, altitude or attitude of land, water, air or space vehicles, e.g. using automatic pilots
- G05D1/02—Control of position or course in two dimensions
- G05D1/021—Control of position or course in two dimensions specially adapted to land vehicles
- G05D1/0268—Control of position or course in two dimensions specially adapted to land vehicles using internal positioning means
- G05D1/0272—Control of position or course in two dimensions specially adapted to land vehicles using internal positioning means comprising means for registering the travel distance, e.g. revolutions of wheels
-
- B—PERFORMING OPERATIONS; TRANSPORTING
- B60—VEHICLES IN GENERAL
- B60T—VEHICLE BRAKE CONTROL SYSTEMS OR PARTS THEREOF; BRAKE CONTROL SYSTEMS OR PARTS THEREOF, IN GENERAL; ARRANGEMENT OF BRAKING ELEMENTS ON VEHICLES IN GENERAL; PORTABLE DEVICES FOR PREVENTING UNWANTED MOVEMENT OF VEHICLES; VEHICLE MODIFICATIONS TO FACILITATE COOLING OF BRAKES
- B60T2201/00—Particular use of vehicle brake systems; Special systems using also the brakes; Special software modules within the brake system controller
- B60T2201/08—Lane monitoring; Lane Keeping Systems
-
- B—PERFORMING OPERATIONS; TRANSPORTING
- B60—VEHICLES IN GENERAL
- B60T—VEHICLE BRAKE CONTROL SYSTEMS OR PARTS THEREOF; BRAKE CONTROL SYSTEMS OR PARTS THEREOF, IN GENERAL; ARRANGEMENT OF BRAKING ELEMENTS ON VEHICLES IN GENERAL; PORTABLE DEVICES FOR PREVENTING UNWANTED MOVEMENT OF VEHICLES; VEHICLE MODIFICATIONS TO FACILITATE COOLING OF BRAKES
- B60T2201/00—Particular use of vehicle brake systems; Special systems using also the brakes; Special software modules within the brake system controller
- B60T2201/08—Lane monitoring; Lane Keeping Systems
- B60T2201/087—Lane monitoring; Lane Keeping Systems using active steering actuation
-
- B—PERFORMING OPERATIONS; TRANSPORTING
- B60—VEHICLES IN GENERAL
- B60W—CONJOINT CONTROL OF VEHICLE SUB-UNITS OF DIFFERENT TYPE OR DIFFERENT FUNCTION; CONTROL SYSTEMS SPECIALLY ADAPTED FOR HYBRID VEHICLES; ROAD VEHICLE DRIVE CONTROL SYSTEMS FOR PURPOSES NOT RELATED TO THE CONTROL OF A PARTICULAR SUB-UNIT
- B60W2540/00—Input parameters relating to occupants
- B60W2540/18—Steering angle
Definitions
- the present invention relates a steering assist system in a vehicle for permitting the vehicle to continuously travel along a lane, which system includes a steering means for operating a steering wheel, and a control unit for detecting a reference lane on which the vehicle is traveling based on information concerning the road ahead of the vehicle to substantially establish a reference target course (zone) within said reference lane and for applying a reference induction force determined depending upon the magnitude and direction of a deviation of the subject vehicle from said reference target course (zone) to the steering means to cause the vehicle to travel along said reference lane.
- a concept that the vehicle is automatically driven, for example, along each of a plurality of lanes is disclosed in Japanese Patent Application Laid-open No. 6-255514.
- an imaginary bank or incline is created in a process prepared for the lateral sides of each of the lanes, so that if the vehicle approaches a white line during traveling within the lane, a steering system functions to cause the vehicle to be brought back to the center of the lane as though the lanes are banked at the white lines on each side of each lane.
- Japanese Patent Application Laid-open No. 6-255514 when the lane has been changed without operation of a turn signal blinker, it is required that the vehicle travel up the bank once and then down the bank.
- the driver cannot afford the time to permit dissension with the system.
- the lane change is high in priority, and the speed is also generally high and hence, the driver can little afford the time.
- an excellent man-machine interface is required which is designed to permit the work to be shared between the system and the driver in carrying out the lane change.
- a drive assist system for a vehicle permitting lane change following the activation of an indicator is disclosed in EP 0640903.
- the preample of the independent claim is based on this document.
- the present invention has been accomplished with such circumstances in view, and it is an object of the present invention to provide a steering assist system for a vehicle, wherein an excellent man-machine interface is established such that normally the system exhibits an initiative, and the driver receives information of a steerage optimized to permit the traveling of the vehicle along a current lane from the system through the steering wheel, thereby achieving the steerage based on this information by himself.
- control unit further includes a means for weakening at least one of the reference induction force and the second induction force on the second lane during the lane change.
- another embodiment of the invention provides the control unit with a means for weakening at least one of said reference induction force and the second induction force on the second lane during the lane change and for changing the situation of the weakening of the induction force in accordance with the result of the confirmation provided by the lane change confirming means.
- the control unit may be arranged to eliminate the connection course (zone) in response to the confirmation of the substantial completion and non-execution of the lane change by the lane change confirming means. Further, the control unit may be arranged to start the weakening of either the reference induction force or said second induction force on said second lane in response to an output from the intention perceiving means. Still further, the control unit may be arranged to restore the reference induction force or the second induction force weakened once, in response to the confirmation of the substantial completion and non-execution of the lane change by the lane change confirming means.
- the steering assist system for a vehicle includes a steering wheel 1 positioned to be rotated by a driver of the vehicle, a steering shaft 2 that is rotated in response to the operation of the steering wheel 1, a steering means 3 for operating a front wheel 5 as a steered wheel (the second front wheel is omitted for simplicity), a driving means 4 for operating the steering means 3, and a CPU 15 for controlling the driving means 4 as a control means.
- the steering shaft 2 is comprised of a transmitting shaft portion 2a connected at one end to the steering wheel 1 and connected at the other end to one end of a transmitting shaft portion 2c through a torsion bar 2b.
- the other end of the transmitting shaft portion 2c is connected to the steering means 3.
- the steering means 3 is constructed of a rack and pinion type by a pinion 8 provided at the other end of the transmitting shaft portion 2c and a rack 9 meshed with the pinion 8.
- Opposite ends of the rack 9 are connected to the left and right front wheels 5 through tie rods 10, respectively.
- the rack 9 can be driven by the rotation of the pinion 8 (vertically in Fig. 1) and both of the front wheels 5 can be turned about their rotating axes in response to the operation of the rack 9, thereby achieving a desired steerage.
- the driving means 4 is connected to one end of the transmitting shaft portion 2c of the steering shaft 2 and includes a motor 11, and a worm gear mechanism 12 for boosting an output from the motor 11 to input the boosted output to the transmitting shaft portion 2c of the steering shaft 2.
- the worm gear mechanism 12 is comprised of a screw gear 13 connected to an output shaft of the motor 11, and a worm gear 14 provided on the transmitting shaft portion 2c and meshed with the screw gear 13.
- the operation of the driving means 4 is controlled by the CPU 15.
- Inputted to the CPU 15 is information provided by a steering force sensor 16 as a steering force detecting means provided on the steering shaft 2 for detecting a steering force, a steering angle sensor 17 as a steering angle detecting means which is an encoder for detecting a rotational angle of the motor 11, a vehicle speed sensor 18 for electrically detecting a vehicle speed, a yaw rate sensor 19 for electrically detecting a speed of rotation of the vehicle about its vertical axis, and a CCD camera 20 for taking an image of a situation of a road ahead of the vehicle.
- an SAS (steer assist system) switch 21 which is capable of switching over whether a lane induction control is carried out, an indicating lamp 22 for indicating that a lane induction mechanism is in operation, and a blinker (a conventional turn signal or direction indicator) 40 for confirming the driver's intention of changing the lane, all of which are located near the driver's seat.
- SAS steer assist system
- the driving means 4 now will be described in more detail.
- An actuator having the worm gear mechanism 12 mounted on the steering shaft 2 is used in a known manner, mainly in a power steering system of a lightweight vehicle.
- the steering force sensor 16 for detecting the steering force is provided in the vicinity of the worm gear mechanism 12 and on the side of the steering wheel 1.
- both the driving means 4 and the steering force sensor 16 are used in common with a lane induction control system.
- the principle of the steering force sensor 16 is to convert the torsion of the torsion bar 2b caused by receiving the steering force from the driver through the steering wheel 1, into an axial rectilinear displacement by a mechanism such as a cam and to convert the displacement into an electric signal by a potentiometer or the like for providing a signal.
- This principle is used in a known manner.
- a picture taken by the CCD camera 20 is subjected to processing such as an extraction of feature points and a hough conversion in a picture processing section 23.
- a travelable area is searched in a travelable area perceiving section 24 based on the picture after being processed in the picture processing section 23.
- a scheme of a course along which the vehicle will travel from now is determined based on the result of the searching in a target course determining section 25 and is inputted to the CPU 15.
- the output from the steering angle sensor 17 of the encoder type is inputted directly to the CPU 15, and the output from the steering force sensor 16 is an analog signal and hence, is inputted through an A/D converter 26 to the CPU 15.
- the outputs from the vehicle speed sensor 18 and the yaw rate sensor 19 are also inputted directly to the CPU 15.
- a digital signal corresponding to the result of a calculation of an operation amount of the motor 11 in the CPU 15 is converted into an analog signal in a D/A converter 27. Further, this very weak analog signal is converted into an electric current value in a motor amplifier 28 and applied to the motor 11.
- the CPU 15 has a memory device (ROM) 29 for storing various gains and constants required for the calculation, and if required, information in the ROM 29 is read.
- ROM memory device
- the CPU 15 operates the motor 11 according to an algorithm which will be described hereinafter, thereby producing enough steering force for the vehicle to travel following a lane as induced by the driver.
- the front wheel 5 is deviated in an appropriate amount from the induction course in accordance with the driver's steering force applied to the steering wheel 1, and the driver receives a reaction force corresponding to the deviated amount as road information.
- Reference lane A lane on which the subject vehicle is now traveling.
- Reference target course A course, the traveling of the vehicle along which the driver aims at from a reference lane on which the vehicle is now traveling (which also will be referred as a current-travel lane for simplification of the description).
- Second lane A lane on which the vehicle will travel after the lane change.
- Second target course A course, the traveling of the vehicle along which the driver aims at after the lane change.
- Connection course A travel course interconnecting the reference target course and the second target course, wherein when the vehicle travels within this course, the system does not provide any information substantially concerning the steerage.
- Course (zone) This is qualified or explained by attaching "zone", because each of the three courses generally has a width. However, the width may be 0 (namely, the course may be comprised of a line) in some cases, and hence, "zone" is enclosed in parenthesis.
- Induction force Steering force information applied from the system to the driver.
- a source of this information is a steering angle, but the steering angle, by itself alone, is hard to deal with and hence, the direction and degree of the steerage is converted into the steering force and provided through the steering wheel.
- the driver feels as if the system induces the steering direction and hence, the steering force information is called the induction force.
- Sign of the characters The sign of the gain (sensitivity of a sub-system) and the reference value are specifically defined.
- the steering angle and the steering force are represented by a positive sign, when they are in a clockwise direction as viewed from the side of the driver, and by a negative sign, when they are in a counterclockwise direction.
- the rightward and leftward steerages are systematically dealt with.
- Figs. 3 to 5 illustrate a control algorithm established in CPU 15.
- a start cycle in this system is 5 msec in every case.
- the system is started when predetermined conditions have been established, such as a condition in which the engine is in operation.
- information from the various sensors are read.
- step S112 it is determined whether a flag Flag-SAS is 1, i.e., whether conditions to exhibit a lane induction function are established to indicate that the system has been started. If the system is still not started, it is determined at step S113 whether the SAS switch 21 has been pushed. If the SAS switch 21 is not pushed, the processing is advanced to step S114 (Fig. 5), where the output torque to the motor 11 is determined at "0". That is, the motor 11 cannot produce any torque, and normal steering is carried out by the driver.
- step S118 the signs of characters used in the calculation which will be described hereinafter are determined. That is, if the steering force ⁇ s is positive (in a clockwise direction), the constant E is defined as being "+1", and if the steering force ⁇ s is negative (in a counterclockwise direction), the constant E is defined as being "-1". The sign of constant E is changed depending upon the positive or negative of the steering force.
- each constant having constant as an suffix in the following flow e.g., the gain K E and the like, are governed by the above rule.
- step S118 the same processings as described in the prior application (Japanese Patent Application Laid-open No. 5-197423) are carried out. Based on this, a target point Pi to which the vehicle is to be guided is determined, and a correcting factor Kmi used hereinafter is determined. The details thereof are fully described in the above Patent and hence, are merely described here in brief.
- x-y relative coordinates are established, wherein the vehicle W is defined as an origin; the longitudinal direction of the vehicle is defined by an x axis; the widthwise (lateral) direction of the vehicle W is defined by a y axis; and a target course M based on picture information provided by the CCD camera 20, the picture processing section 23, the steerable-area perceiving section 24 and the target course determining section 25 is established on the x-y relative coordinates.
- an inclination angle ⁇ w of the vehicle W is determined.
- a point (X w , Y w ) of the present position of the vehicle W on the X-Y fixed coordinate system is calculated.
- a target point Pi on the target course M is determined.
- interruption processings at steps S122 and S123 are carried out.
- a travelable course Ai for the vehicle is determined, and a curvature pi of the travelable course Ai and the lane width Li are determined from the picture information.
- a correcting factor Kmi is determined by a fuzzy theory from the curvature pi, the lane width Li and the present vehicle speed V.
- the correcting factor Kmi is determined in accordance with the determined quantities such as the curvature pi and the lane width Li in consideration of the fact that it is difficult for the target points to smoothly converge into the target course M depending upon the curvature of the travel course.
- step S130 shown in Fig. 4.
- the flow chart portion surrounded by a one-dot dashed line in Fig. 4 is a flow characterizing the first embodiment.
- Various embodiments from this first embodiment to a fifth embodiment will be illustrated, but the portions surrounded by the one-dot dashed line are different in the embodiments.
- step S130 it is determined whether a flag Flag-L/C is equal to "1". If the flag Flag-L/C is not equal to "1”, the processing is advanced to step S131, at which it is determined whether a flag Flag-D is equal to "1". If the flag Flag-D is also not equal to "1”, the processing is advanced to step S132, at which it is determined whether the deviation ⁇ Lo from the center of the current travel lane exceeds 40% of the lane width L. If the deviation ⁇ Lo is within 40% of the lane width L, it is determined the driver has no intention to change the lane, progressing to step S133.
- a first timer Ct is set at "0", progressing to step S134, at which the gain Ko concerned with a subject-vehicle's lane (a reference lane) is determined at a predetermined gain value K, and the gain K E concerned with an adjacent lane (a second lane) is determined at "0".
- the gain K E can assume any of three values, because the constant only can be one of three values "0", "+1" and "-1". To be discussed herein is only the gain K E concerned with the direction of the steering force ⁇ s, and in this embodiment, the gain K E in a direction opposite from that of the steering force ⁇ s is defined as being always "0".
- step S132 If it is determined at step S132 that the deviation ⁇ Lo exceeds 40 % of the lane width L, the flag Flag-D for perceiving the intention of the lane change is set to "1" at step S135.
- step S137 the gains Ko and K E are set at the same values as at step S134, progressing to step S138.
- step S138 it is determined whether the second timer Dt has reached "0".
- the gains Ko and K E are changed in the following manner in accordance with the counted value of the first timer Ct. More specifically, for the first 2 seconds (600 ⁇ counted value ⁇ 1,000), the gain Ko is decreased by a very small value ⁇ K from the last numerical value and determined as a new value Ko, whenever the cycle is passed to a next run. The magnitude of the ⁇ K is selected so that it assumes just "0" when up to 400 runs of the cycle have been passed. During this time, K E consistently remains “0". For the next 1 second of the first timer Ct (400 ⁇ counted value ⁇ 600), both of the two gains Ko and K E are left at "0".
- the gain Ko consistently remains "0", but the gain K E is determined at a renewed value larger than the last value by ⁇ K' for every cycle.
- This value ⁇ K' is also selected so that K E assumes just K at the time when the last 400 runs of the cycle have been passed.
- an algorithm is established so that different numerals can be selected for ⁇ K and ⁇ K', because a case is assumed where the time when the gain Ko reaches "0" from K is different from the time when the gain K E reaches K from "0".
- the gain K E is maintained at "0" until the counted value of the first timer Ct reaches "800" after the counted value of the second timer Dt has reached "0", but thereafter, the gain Ko is increased.
- the two gains Ko and K E are continuously decreased and increased and changed in principal role from each other. In this case, the gain K -1 during the lane change to a left lane is fixed to "0".
- step S142 the processing is advanced to step S142, at which it is inspected again whether the deviation ⁇ Lo exceeds 40% of the lane width L. This is because the attempt to change the lane has been made once, but the lane change might be discontinued for some reason. If it is determined at step S142 that the deviation ⁇ Lo is lower than 40% of the lane width L, the flag Flag-D is set at "0" at step S143, even if the driver's intention to change the lane is being confirmed, and then progresses to step S133. at step S133, the first timer Ct is set "0", and at step S134, the gains Ko and K E are returned to original preset values.
- step S145 At which an operation of decreasing the first timer Ct by "1" is carried out. In this manner, the first timer Ct is decreased one by one for every cycle.
- a target yaw rate ⁇ mi is calculated at step S170.
- a target point-reach yaw rate ⁇ pi produced during traveling of the vehicle along a phantom course Sp is first determined.
- a deviation ⁇ Pi in angle between the vehicle W and the target course Mi at the target point Pi is calculated, and a correction value ⁇ Pi of yaw rate for eliminating the angle deviation ⁇ Pi is determined.
- the previously determined yaw rate ⁇ Pi is corrected by this correction value ⁇ Pi according to the following equation, and a yaw rate resulting from the correction is determined as a target yaw rate ⁇ mi.
- ⁇ m i ⁇ p i ⁇ K m i ⁇ ⁇ ⁇ P i wherein the correction factor Kmi is a factor determined at step S123 described above.
- a target steering angle ⁇ mi of the front wheel 5 required for producing the target yaw rate ⁇ mi provided at step S170 is determined. Further, at step S172, a target value ⁇ di of a deviation angle of the motor 11 to match the steering angle of the front wheel 5 to the target steering angle ⁇ mi is calculated based on a gear ratio of the steering means 3 and the driving means 4. At step S173, a value resulting from the multiplication of a difference between a now deviation angle ⁇ t of the motor 11 and the target deviation angle ⁇ di by the previously determined gains Ko and K E is calculated as a command value of the motor torque.
- step S173 by surrounding it by a dot line in Fig. 5 is to mean that the motor torque is calculated for the same purpose as at step S173 in an arrangement which will be described hereinafter, and this calculation is a portion of that arrangement corresponding to the calculation of the motor torque.
- the indication of step S173 by surrounding by a dot line in Fig. 5 is unneccessary for the first embodiment.
- a value T resulting from the arithmetic addition, at step S174, of the motor torque command values To and T E provided at the step S173 is determined as a motor torque.
- the determined value T is outputted to the motor amplifier 28 at step S175. It should be noted that at least one of the gains Ko and K E is "0", i.e., at least one of the motor torque command values T 0 and T E is "0" as defined at step S141.
- step S176 After outputting of the determined value T to the motor amplifier 28, it is determined at step S176 whether the first timer Ct has reached "0". If the first timer Ct has not reached “0", the processing is returned to the START to carry out the same cycle. If the first timer Ct has reached "0", the flag Flag-L/C is set at "0" at step S177, and an operation for renewing the lane is carried out at step S178. In other words, an operation is conducted for changing the now-current lane after the lane change has occurred to register and renew such now-current lane as a lane on which the vehicle is now traveling. Thus, "0" is assigned to the new lane, and "E” is assigned to the adjacent lane. After this operation, the processing is returned to the original flow, where the same processes are repeated.
- FIG. 8 Three lanes are shown in Fig. 8, and it is supposed that the vehicle is now traveling on the central lane.
- a target course is established in each of the lanes by a technique which is disclosed in the prior patent application (Japanese Patent Application Laid-open No. 5-197423).
- the target course may be established by another technique in addition to the technique disclosed in the prior patent application, or may be prepared in hardware road equipment. Magnetic force lines embedded in the ground are known as an examples of such a road equipment.
- the description will be made on the assumption that the target course is established by the technique disclosed in the prior patent application.
- the steering force ⁇ s before the lane change is determined in a manner shown in Fig. 9. More specifically, when the vehicle is traveling on the target course in a now travel lane, the steering force ⁇ s is "0", but if the vehicle departs from the target course, the steering force ⁇ s acts in a direction to allow the vehicle to be returned to the central target course in accordance with such deviation. At this time, the relationship between the steering force ⁇ s and the deviation from the course assumes a complicated curve by the geometry (a geometric configuration) of the traveling path of the vehicle, but is simplified and approximated to a straight line as shown in Fig. 9 for the purpose of easily understanding the description.
- the upper limit of the steering force ⁇ s is physically determined by the capacity of the motor 11 and hence, even if the vehicle is far away from the target course, the steering force ⁇ s is not increased to a predetermined value or more rather than being rectilinearly increased intact. Even when the motor 11 can afford an increase in steering force, the proportion of the increase in steering force ⁇ s can be decreased as the vehicle is farther and farther away from the target course, thereby relatively easily performing the lane change, as disclosed in another patent application (Japanese Patent Application Laid-open No. 8-21322) filed by the present applicant. However, these are not concerned directly with the present invention and hence, are not described herein. In any case, the steering force ⁇ s is a reference induction force which will be described hereinafter.
- the reference induction force ⁇ s is varied as shown in Fig. 10 by the gain Ko defined at step S141 in the control algorithm shown in Figs.3 to 5.
- the reference induction force is continuously weakened as the counted value of the first timer Ct is decreased (as time is lapsed) and ultimately, the reference induction force vanishes.
- the driver can steer the vehicle by the same feeling as in a normal vehicle.
- the induction force intensified by the steering for the lane change is weakened with the passage of time and hence, a natural feeling can be taken back.
- Shown in Fig. 11 is a state in which the induction force is increased again, as the counted value of the first timer Ct is decreased (as the time is lapsed), when the vehicle has been moved, for example, to the right lane.
- the origin of the vehicle does not exist in the original lane (the reference lane) and is placed in a second target course on a second lane. Therefore, in this case, the steering force felt by the driver is directed to the second target course with time. If the vehicle is on the second target course, the induction force ⁇ s is equal to "0".
- the induction force is increased in proportion to the distance from the second target course. This is a second induction force.
- the steering force felt by the driver in the above manner is continuously switched over from a steering force for maintaining the original lane naturally to a steering force for maintaining the second lane before and after the lane change.
- a natural lane change it is possible to provide a natural lane change.
- the first embodiment has been described on the assumption that the lane change cannot be discontinued in any case after the flag Flag-L/C has once assumed "1". However, if it is desired to accommodate the situation of the discontinuation of the lane change even when the flag Flag-L/C is "1", the following modification may be made. Rather than a sudden advancement of the processing to step S145 after the answer of YES has been provided at step S130, the same determining process as at step S142 may be provided between steps S130 and S145, so that if the answer of the determination in the determining process in a step like step S142 is NO, the processing may be advanced to step S143 after returning of the flag Flag-L/C to "0".
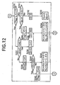
- Figs.12 and 13 illustrate a second embodiment of the present invention.
- Fig. 12 is a flow chart illustrating an essential portion of a control algorithm
- Fig. 13 is a diagram for explaining a situation of transfer of the steering force on a road shown in Fig. 8.
- the control algorithm in the second embodiment is formed by replacing that portion of the control algorithm in the first embodiment which is shown in Fig. 4 (i.e., a portion surrounded by the one-dot dashed line) by a portion surrounded by a one-dot dashed line in Fig. 12.
- the other portions of the control algorithm are the same as in the first embodiment.
- step S230 it is determined at step S230 whether the flag Flag-L/C is at "1". If the flag Flag-L/C is not at "1", it is determined at step S231 whether the deviation ⁇ Lo from a target course on a lane where the vehicle is now traveling exceeds 50% of the lane width L. It is defined herein that 50% of the lane width L corresponds to a case where the vehicle is actually traveling on a white line. Even in this case, when
- step S231 When it is determined at step S231 that the deviation ⁇ Lo exceeds 50 %, the processing is advanced to step S234 at which the flag Flag-L/C is set at "1" and then the timer Ct is set at "1,000" (5 seconds) at step S235.
- the gains Ko and K E for a period of decreasing of the counted value of the timer Ct are defined at step S236. More specifically, a value resulting from the subtraction of a vary small value ⁇ K from the last value of the gain Ko is newly defined as new Ko, and a value resulting from the addition of the vary small value ⁇ K to the last value of the gain K E is defined as new K E .
- the decreasing of the gain Ko and the increasing of the gain K E are advanced in parallel to each other.
- the gain K E after 5 seconds is equal to K.
- step S230 When the flag Flag-L/C is already at "1" at step S230, the processing is advanced to step S237, at which it is checked whether the current deviation ⁇ Lo is smaller than a value of 40%, which is a second and smaller reference value. This is a check for confirming the fact that a discontinuation of the lane change might occur. If the current deviation ⁇ Lo still exceeds 40%, an operation for decreasing the counted value of the timer Ct by "1" is carried out at step S238. Thus, if the flag Flag-L/C is "1" and the deviation ⁇ Lo is not smaller than a second reference value (40%), the timer Ct is continued to be decreased toward "0".
- step S239 the processing is advanced to step S239, at which an operation for increasing the timer Ct by 1 toward the originally set initial value of "1,000" is carried out. It is checked at step S240 whether the timer Ct has reached "1000". If the timer Ct is lower than "1000", the changes of the gains Ko and K E are reversed from those at previously described step S236. In other words, the gain Ko is increased by ⁇ K, and the gain K E is decreased by the same value ⁇ K, for every cycle in step S241.
- step S240 At the time point when the counted value of the timer Ct has reached "1,000", the processing is advanced from step S240 to step S242, at which the flag Flag-L/C is set at "0". Then, the processing is advanced to step S114 (see Fig. 5) described in the first embodiment, at which step the motor torque command value T is set at "0".
- steps S233, S236 and S241 are the same as in the steps (see Fig. 5) at and after step S170 described in the first embodiment.
- a difference in the second embodiment from the first embodiment is that the first reference value (50%) and the second reference value (40%) are set for the deviation ⁇ Lo without the use of the timer for confirmation of the driver's lane change intention, and if the deviation ⁇ Lo exceeds the first reference value, it is determined that the driver has a lane change intention, and if the deviation ⁇ Lo is smaller than the second reference value, which is smaller than the first reference value, it is determined that the lane change has been discontinued.
- the time required for the determination can be saved, and the system has a more enhanced responsiveness than in the first embodiment.
- connection course at which the induction force is approximately "0"
- the connection course is extending in a straight line laterally obliquely and forwards from the reference target course toward the second target course to become connected with the second target course.
- the induction force depending upon the distance from the connection course acts in a direction to allow the subject vehicle to be returned toward the connection course. Therefore, if the driver drives the vehicle while taking-in the steering force, the lane change can be performed through the connection course to the second target course after the flag Flag-L/C has once become "1", unlike the first embodiment.
- the system it is possible for the system to have a flexibility with a smaller discord between the system and the human being.
- the induction force is returned directly to the original reference induction force.
- the connecting itself is reduced to the reference target course, so that the induction force is returned to the original reference induction force with the passage of time.
- the lane change is not determined before the deviation ⁇ Lo of the vehicle from the reference target course reaches a considerably large value and hence, during this time, the driver is likely to be returned toward the reference lane by a larger induction force.
- a third embodiment in which such a disadvantage is improved will be described below with reference to Fig. 14.
- the portion surrounded by a one-dot dashed line in Fig. 14 has an interchangeability with the portion surrounded by the one-dot dashed line in Fig. 4 in the first embodiment.
- step S324 it is determined at step S324 whether a flag Flag-ini is at "1". If the flag Flag-ini is not at "1" (if the current cycle is a first cycle), the processing is advanced to step S325, at which the flag Flag-ini is set at "1", and the processing advances to step S332 where the timer Ct is set to "0". Then, at step S333, the gain Ko of the reference induction force is set at "K”, and the gain K E of the second induction force is set at "0", thereafter progressing to step S170 (see Fig. 5) described in the first embodiment. Only at this time point, the target deviation angle ⁇ do of the motor suitable for traveling of the vehicle along the reference target course is calculated.
- step S330 it is determined at step S330 whether the flag Flag-L/C is at "1". If the answer is NO at step S330, the processing is advanced to step S331, at which it is checked whether a difference between the deviation angle ⁇ do of the motor suitable for traveling of the vehicle along the reference target course and the current steering angle ⁇ t is larger than a reference value ⁇ 1.
- a numerical value calculated one cycle ago is used as the deviation angle ⁇ do. To be exact, the deviation angle ⁇ do is equal to ⁇ do(t-1), but in order to avoid the troublesome reference numerals, the deviation angle ⁇ do is represented merely by ⁇ do.
- step S332 the processing is advanced to step S332, at which the timer Ct is set at "0".
- the gain Ko of the reference induction force is set at "K”
- the gain K E of the second induction force is set at "0"
- step S331 When it is determined YES at step S331 that the driver has the lane change intention, the processing is advanced to step S334, where it is determined whether the flag Flag-D is at "1", which it is not in the first cycle, and then the timer Dt for the determination is set at 100 (0.5 seconds) at step S335 in order to increase the degree of confidence of such intention. Namely, unless the state of YES at the step is continued at least for 0.5 seconds, it is not determined that the lane change is really performed.
- step S336 the processing is advanced to step S336, at which the flag Flag-D is set at "1", thereafter progressing to steps S332 and S333, at which the same gain as at the last time is provided.
- step S334 the processing is advanced from step S334 to step S337, because the flag Flag-D has been set at "1".
- step S337 the value of the timer Dt is replaced by a "1"-subtracted value, and at next step S338, it is checked whether the timer Dt has reached "0". If the timer Dt does not reach "0", the processing is advanced to steps S332 and S333, at which the same gain as at the last time is selected. However, if the timer Dt has reached "0", it is determined that the driver's intention has been confirmed, progressing to step S339, at which the flag Flag-D is set at "0" and at the same time, the flag Flag-L/C is set at "1". Then, at step S340, the timer Ct is set at "1,000" for performing the bridging. Thereafter, the processing is advanced to step S341, at which the operation for decreasing the gain Ko of the reference induction force by ⁇ K and, at the same time, increasing the gain K E of the second induction force by ⁇ K is carried out as in the second embodiment.
- step S342 it is checked whether the difference between the deviation angle ⁇ do of the motor suitable for traveling of the vehicle along the reference target course and the current steering angle ⁇ t is larger than a second reference value ⁇ 2.
- the deviation angle ⁇ do must be ⁇ do(t-1), but is represented only by ⁇ do.
- the second reference value ⁇ 2 is defined as being a numerical value smaller than the reference value ⁇ 1. That is, it is checked whether the driver is continuously steering the steering wheel toward the second target course, or back to the reference target course.
- step S342 If it is determined at step S342 that the driver is still steering the steering wheel toward the second target course, the processing is advanced to step S343, at which it is checked that the deviation ⁇ L E of the subject vehicle from the second target course is equal to or smaller than a sufficiently small value of 0.1L. Namely, it is checked whether the lane change has been completed. If the deviation ⁇ L E of the subject vehicle from the second target course has not reached that the sufficiently small value of 0.1L, the timer Ct is decreased by "1" at step S344, returning to step S341, at which the gains are further increased and decreased, respectively.
- step S343 it is determined at step S343 that the vehicle is closer to the second target course by a sufficient distance, the processing is advanced to step S345, at which the flag Flag-L/C is set at "0". Then, at step S346, the lane on which the vehicle is now traveling is replaced by the reference lane to replace "E" by "0", thereafter returning to the start in the flow chart.
- step S342 It is determined at step S342 that the difference ⁇ t between the deviation angle ⁇ do of the motor suitable for traveling of the vehicle along the reference target course and the current steering angle ⁇ t is smaller than the second reference value ⁇ 2, it is construed that the lane change has been discontinued, progressing to step S347, at which the flag Flag-L/C is set at "0". Then, at step S348, the timer Ct is brought to "0", and at step S349, the gain Ko of the reference induction force is set at "K", while the gain K E of the second induction force is set at "0", thereafter progressing to step S170 (see Fig. 5).
- the driver has the intention of the lane change and hence, it is possible to further enhance the responsiveness of the system, as compared with the first and second embodiments.
- the steering angle is a first trigger for the lane change and corresponds to a differentiation term defined in the control. It is a common sense in this technical field that if the differential term is used for the trigger, the control with the phase correspondingly advanced can be achieved.
- a confirming period of 0.5 seconds is provided even after appearance of the deviation equal to or larger than the reference value, but of course, it is not an essential condition and may be omitted. In this case, if the reference value is set slightly large, no problem arises in practical use.
- the system is arranged, so that the deviation of the current steering angle from the steering angle optimized to permit the continuous traveling of the vehicle along the reference target course is utilized even for the detection of the discontinuation of the lane change. Therefore, the system has a responsiveness enhanced for the same reason.
- the completion of the lane change is determined by the fact that the deviation of the subject vehicle from the second target course has been decreased to a small value and hence, the completion of the lane change can be reliably confirmed.
- the renewing operation for re-perceiving the lane on which the vehicle is now traveling as the basic lane is conducted. Therefore, there is an effect that the driver can perceive an induction force along the new lane simultaneously with the completion of the lane change.
- Fig. 15 illustrates a fourth embodiment. Even in the fourth embodiment, the portion surrounded by a one-dot dashed line in Fig. 15 has an interchangeability with the portion surrounded by the one-dot dashed line in Fig. 4.
- the fourth embodiment is designed so that the steering angle speed further advanced in phase more than the steering angle is detected to further enhance the responsiveness of the system.
- step S430 after passing of an initial routine for determining a steering angle ⁇ d at steps S424 and S425, it is checked at step S430 whether the flag Flag-L/C is already at "1". If the answer is NO, the processing is advanced to step S431, at which a difference between the current steering angle ⁇ t and the last steering angle ⁇ (t-1) is determined, and it is checked whether this difference is larger than a preset steering change speed ⁇ , i.e. the actual steering angle change for one cycle time of 5 msec.
- a preset steering change speed ⁇ i.e. the actual steering angle change for one cycle time of 5 msec.
- This difference ⁇ t - ⁇ (t-1) ⁇ has the same effect as one type of calculation from the fact that the flow is started for every given speed and hence, the speed may be considered with the difference.
- the steering operation includes two types of rightward and leftward steerages, which can be commonly dealt with, if compared by absolute values. If the answer at step S431 is NO, the processing is advanced to step S432 as in the third embodiment, at which the timer Ct is set "0". At step S433, the gains Ko and K E are defined, thereafter progressing to the next processing (at step S170 shown in Fig. 5).
- step S431 If the answer at step S431 is YES, the flag Flag-L/C is set at "1" at step S434, and the timer Ct is set at 1,000 (5 seconds) at step S435. The gains are decreased and increased respectively at step S436.
- step S437 the processing is advanced to step S437, at which it is checked whether the current steering angle is larger than the smaller reference value ⁇ 2 with respect to the steering angle optimized to permit the continued traveling of the vehicle along the reference target course as in the third embodiment. If the answer of the checking is YES, the processing is advanced to step S438, at which it is checked whether the deviation ⁇ Lo of the subject vehicle from the reference target course exceeds 90 % of the lane width L. If the result of the checking shows that the deviation ⁇ Lo still does not exceed 90 %, the processing is advanced to step S439, at which the timer Ct is decreased by "1", thereafter returning to step S436.
- step S438 It is determined at step S438 that the deviation ⁇ Lo exceeds 90 % of the lane width, it is perceived that the lane change has been completed, progressing to step S443, at which the flag Flag-L/C is set at "0". Then, an operation for renewing and registering, as a reference lane, the lane on which the vehicle is now traveling, is carried out at step 5444.
- step S437 If it is determined at previous step S437 that the current steering angle is equal to or smaller than the smaller second reference value ⁇ 2 with respect to the optimized steering angle, it is determined that the lane change has been discontinued, progressing to step S440, at which the flag Flag-L/C is set at "0". Then, at step S441, the timer Ct is brought to "0" and further, at step S442, the gains are redefined.
- the confirmation of the lane change intention is performed based on the phase-advanced information in the form of the steering angle speed and hence, the system has a remarkably enhanced responsiveness.
- the determination criterion used at step S438 may be a deviation from the reference target course as information substituted for the deviation from the second target course described in the third embodiment.
- Fig. 16 illustrates a fifth embodiment of the present invention. Even in the fifth embodiment, the portion surrounded by a one-dot dashed line in Fig. 16 has an interchangeability with the portion surrounded by the one-dot dashed line in Fig. 4 in the first embodiment.
- the lane change intention can be confirmed even by a steering force ⁇ s in place of the steering angle speed of the fourth embodiment. It is determined at step S531 whether the steering force ⁇ s exceeds a preset value ⁇ o. If the result is YES, it is construed that the driver has the lane change intention.
- the arrangement is such that, rather than determining that the driver has the lane change intention immediately from the result at step S531, the intention is confirmed, only when the steering force exceeds the reference value continuously for a predetermined time (0.5 seconds) as in the third embodiment. The reason is that if the steering force has reached a considerable value and has been continued for a significant time, this confirms the fact that the driver has a strong lane change intention.
- the completion of the lane change is confirmed by the fact that the deviation between the steering angle ⁇ d E optimized to continue the traveling of the second target course and the current steering angle ⁇ t is smaller than a very small angle reference value ⁇ 3 at step S543.
- the reason will be able to be easily understood from the contents described in the previous patent application (Japanese Patent Application Laid-open No.5-197423) filed by the present applicant.
- steps S530, S532 to S542 and S544 to S549 are identical to steps S330, S332 to S342 and S344 to S349 in the third embodiment shown in Fig. 14, and hence, the description of them is omitted here.
- the steering force ⁇ s that is capable of being directly measured is used as the determination criterion and therefore, there is an effect that the time required for the calculation can be saved, leading to a correspondingly decreased possibility of mistake.
- the present invention need not be limited to this, and if the reference value of the steering force is large, it is not necessary to wait to make the determination for a predetermined time, but rather it may be determined immediately that the driver has the lane change intention.
- the responsiveness of the system has been considerably enhanced, and a technique for further enhancing the responsiveness and a technique for permitting the driver to easily perform the lane change will be described in a subsequent sixth embodiment.
- Figs. 17 to 20 show an arrangement that is not in accordance with present invention but, which is described for explanatory purposes.
- Fig. 17 is a flow chart illustrating a control algorithm corresponding to Fig. 3;
- Fig. 18 is a flow chart illustrating a portion of a control algorithm corresponding to the control algorithm shown in Fig. 4;
- Fig. 19 a flow chart illustrating the remainder of the control algorithm corresponding to the control algorithm shown in Fig. 4;
- Figs. 20A, 20B and 20C are diagrams each illustrating a variation in induction force with the passage of time.
- steps S611 to S613 and S615 to S623 correspond to steps S111 to S113 and S115 to S123 shown in Fig. 3, except that the definition of the processing step for defining the constant E as at step S118 surrounded by a dashed line in Fig. 17 is changed for a reason which will be described hereinafter, and such processing is shifted to a subsequent step (step S626 in Fig. 18).
- step S624 subsequent to steps S621 and S623 in Fig. 17, it is checked whether a flag Flag-ini is "1".
- This flag Flag-ini is initially not “1” and hence, the processing is advanced to step S625, at which the flag Flag-ini is set at "1".
- step S632 various gains are defined, progressing to steps corresponding to step S170 and subsequent steps in the first embodiment (see Fig. 5), at which a target deviation angle ⁇ do of the motor suitable for the traveling of the vehicle along the reference target course is calculated.
- the flag-ini is "1" and hence, the result at step S624 shows YES, thereby progressing to step S626.
- the target deviation angle ⁇ do of the motor calculated in the previous cycle is used. Namely, to be exact, the target deviation angle ⁇ do at step S626 is ⁇ do(t-1), but is represented only by ⁇ do for the same reason as in the previous embodiment.
- the constant E is newly defined in this process.
- the constant E +1
- the constant E -1
- connection course for the lane change has a width, and no induction force is basically generated within a zone of the connection course and hence, the direction of steering provided by the driver cannot be simply specified by the steering force ⁇ s.
- the lane change can be achieved even if the steering wheel has been steered slightly leftwards (at this time, ⁇ s is minus).
- the direction of steering provided by the driver cannot be specified by the sign of the steering force ⁇ s.
- the reason why the process for defining the constant E has been shifted to this stage is that the constant E cannot be defined before the target deviation angle ⁇ do of the motor is calculated.
- step 5630 subsequent to step 5626, it is checked whether the flag-L/C is at "1". If the flag-L/C is not at "1", the processing is advanced to step S631, at which it is checked whether the blinker is in operation. At this time, the direction of the blinker is read simultaneously. If the blinker is in a non-operated state, the processing is advanced to step S632, at which both the left and right gains E Ko and -E Ko pertaining to the reference induction force are set at K and both the left and right gains O K E and E K E pertaining to the second induction force are set at 0, thereafter progressing to step S170 and subsequent steps (see Fig. 5) described in the first embodiment.
- the gains E Ko and - E Ko, oK E and E K E will be described in brief.
- the single gain is assigned to each of the reference target course and the second target course in the first to fifth embodiments
- the left and right gains are managed separately in each of the target courses and independent gains are assigned in this arrangement.
- the gains +1 Ko and 1 Ko indicate the right and left gains in the reference target course.
- the gain on the side of the reference course is managed as o K E
- the gain on the opposite side is managed as E K E .
- step S631 If the blinker is in operation at step S631, then the processing is advanced to step S633, at which the flag Flag-L/C is set at "1". At next step S634, the amounts ⁇ X 0 and ⁇ X E of movement of coordinates on the reference target course and the second target course are set at "0".
- step S630 it is checked whether the blinker has been canceled. If the blinker has been canceled, it is further checked at step S636 whether the deviation ⁇ Lo of the subject vehicle from the current reference target course exceeds 20 % of the lane width. If the deviation ⁇ Lo exceeds 20 % of the lane width, it is checked whether the variation in the deviation with the passage of time is being increased by an amount greater than ⁇ L at step S637. If the variation is being increased, the processing is advanced to step S638, at which it is determined if a flag Flag-Ro is at "1". The flag Flag-Ro will be described in brief.
- the flag Flag-Ro is set at "1". Initially, the flag Flag-Ro is not "1" and hence, the processing is advanced from step S638 to step S639, at which it is checked whether the previous deviation ⁇ Lo exceeds 60 % of the lane width L. If the deviation ⁇ Lo does not exceed 60 %, the processing is advanced directly to step S649. If the deviation ⁇ Lo exceeds 60%, an operation for laterally shifting the lateral abscissa ⁇ Xo of the target point on the reference target course by 50 % of the lane width L is carried out at step S640, whereby the direction thereof is matched with the direction of E.
- step S637 The reason for the provision of step S637 will be further supplementarily described below. It will be described how the blinker is used during traveling of the vehicle on a highway. Usually, the blinker is operated in carrying out the lane change, but even in the middle of the lane change, the blinker may be canceled in very many cases. This is because a large lane change can be performed on the highway even if the steering wheel is steered at a small steering angle and hence, a mechanism for automatically canceling the blinker is scarcely operated, and in general, the canceling is conducted manually. Namely, the canceling is carried out at driver's option by a driver's occasional judgment and for this reason, in the middle of the lane change, the canceling may be conducted in some cases.
- step S637 ensures that even in such a case, if the deviation ⁇ Lo from the reference target course is being increased by a significant amount ⁇ L, the control can be continued under the consideration of the fact that the lane change intention is subsequently maintained.
- step S641 subsequent to step S640, the flag Flag-Ro is set at "1", thereafter progressing to step S649.
- the flag Flag-Ro has become equal to 1 and hence, during the next cycle time, the result at step S638 is changed to YES, and the processing can be advanced to step S642 in Fig. 19.
- step S642 an operation for further displacing the offset amount ⁇ Xo of the X ordinate of the target point on the reference target course by a very small amount from the last offset amount is carried out.
- the direction of this offset is matched with the direction of E.
- the processing is advanced to step S643, at which it is checked that the accumulated amount of offset of the target point resulting from the displacement exceeds 95 % of the lane width. If the accumulated amount of offset still does not exceed 95%, the processing is advanced to step S649 (Fig. 18) with such offset amount left as it is.
- the flag Flag-R E will be described here in brief.
- step S646 both of the amounts ⁇ Xo and ⁇ X E of offset of the X ordinates on the reference target course and the second target course are set at "0", thereafter progressing to step S649 (Fig. 18).
- the flag Flag-R E is at "1" and hence, the result at step S644 is changed to YES, thereby progressing from step S644 to step S647.
- step S647 an operation for laterally displacing the amount of offset ⁇ X E of the X ordinate of the target point on the second target course by ⁇ L from the last amount is carried out, and the direction of this displacement is opposite from the direction of E.
- step S648 it is checked whether the accumulated amount of offset resulting from the displacement exceeds 95% of the lane width. If the accumulated amount of offset still does not exceed 95%, the processing is advanced to step S649 with the offset amount left as it is.
- step S649 for the left and right gains of the reference induction force, the gain E Ko in the direction of E is defined as "0", and the gain -E Ko in the direction opposite from the direction of E is defined as "K".
- the gain E K E in the direction of E is def ined as "K”
- the gain - O K E in the direction opposite from the direction of E is defined as "0”.
- step S650 at which an operation for adding the above-described offset amount ⁇ Xo to the ordinate Xpo of the target point on the reference target course is carried out, thereafter progressing to steps corresponding to step S170 and subsequent steps (see Fig. 5) described in the first embodiment.
- step S648 If the answer at step S648 is YES, it is considered that discontinuation of the lane change has occurred and that returning to the original lane has been completed, thereafter progressing to step S651, at which that ordinate of the target point on the second target course which has been displaced theretofore is returned to the second target course.
- both of the flags Flag-R E and Flag-L/C are set at "0".
- step S652 At which the left and right gains E Ko and E Ko of the reference induction force are returned to "K", and the gains E K E and - E Ko of the second induction force are defined as "0".
- step S652 At step S652, at which the left and right gains E Ko and E Ko of the reference induction force are returned to "K", and the gains E K E and - E Ko of the second induction force are defined as "0".
- Substantially no problem can be caused by the fact that the ordinate of the target point on the second target course has been returned to the second target course by the operation
- step S653 If the answer at step S643 is YES, it is determined that the lane change has been actually completed, progressing to step S653.
- step S653 that ordinate of the target point on the reference target course which has been displaced theretofore is returned to the original reference target course, and both of the flags Flag-Ro and Flag-L/C are set "0", thereafter progressing to step S654.
- step S654 the left and right gains E Ko and -E Ko of the reference induction force are defined as "0”, and the gains E K E and -O K E of the second induction force are defined as "K”. This operation causes the reference induction force to disappear, while establishing the left and right second induction forces.
- the gain E Ko is used for calculation of the motor torque To
- the gain oK E is used for calculation of the motor torque T E .
- the gain -E Ko is used for calculation of the motor torque To
- the gain E K E is used for calculation of the motor torque T E .
- connection course zone with an induction force of substantially "0" is produced between the reference target course and the second target course, and when the vehicle travels in this area, the driver cannot receive any induction force from the system. (This is true, but depending upon the steering angle, a road surface reaction force is of course produced from the alignment of the front wheels.)
- the reduction of the connection course is started by the reception of an output from step S637 for confirming that the lane change has been substantially carried out, and the situation of such reduction is shown in Figs. 20A, 20B and 20C, illustrate the reduction upon the rightward steering.
- An induction force immediately before the blinker is operated is shown in Fig. 20A as being related to the initiator reference target course; an induction force immediately after the blinker has been operated is shown in Fig. 20B; and an induction force after the deviation ⁇ Lo of the subject vehicle from the reference target course exceeds 60 % is shown in Fig. 20C.
- Fig. 20A An induction force immediately before the blinker is operated is shown in Fig. 20A as being related to the initiator reference target course; an induction force immediately after the blinker has been operated is shown in Fig. 20B; and an induction force after the deviation ⁇ Lo of the subject vehicle from the reference target course exceeds 60 % is shown in Fig. 20C.
- Fig. 20C As best
- the right half E K o of the reference induction force disappears immediately after the operation of the blinker, and in place of this, the right half E K E of the second induction force is established.
- the driver feels this as if right half of the reference induction force has been displaced rightwards in a moment by the lane width L, and the area where the vehicle can be freely steered without action of the induction force is widened by the displaced mount corresponding to the lane width.
- Fig. 20C when the deviation ⁇ Lo of the subject vehicle from the reference target course exceeds 60%, the position of the subject vehicle is beyond a white line.
- the left half of the reference induction force - E K o is first displaced rightwards by 0.5L and then displaced rightwards by ⁇ L in each consecutive cycle. Finally, the condition at step S643 is satisfied to establish the perfect left and right second induction forces.
- the bridge course (zone) is widened from the reference target course in a moment by the operation of the blinker 40 and connected to the second target course.
- the substantial completion of the lane change is confirmed by the fact that the deviation of the subject vehicle from the reference target course exceeds 60 % of the lane width, and the connection course (zone) is reduced suddenly by half under the reception of the confirmation of the lane change at step S640 and thereafter, is reduced by a very small amount ⁇ L at step S642.
- the second induction force to be received by the driver is provided in a short time. Namely, it is desired to reduce the width of the connection course toward the second lane quickly, but if the entire width of the connection course is reduced roughly and quickly, the following disadvantage is encountered: the induction force is intensified at a higher speed than that of the driver's intended lane change, thereby forcing the connection course to approach the second target course.
- the induction force is far from the restoration, and a benefit of the system is not provided.
- the above-described control ensures that when there is no problem even if the entire width of the connection course is reduced quickly, the width of the connection course can be reduced quickly, and in a range in which a problem is expected, the width of the connection course can be reduced slowly.
- step S637 at which it is determined whether the canceling of the blinker results from the discontinuation of the lane change or the driver has canceled the blinker early, notwithstanding that the lane change is being continued, the system becomes more intellectual and has a remarkably enhanced convenience in practical use.
- connection course is reduced from the second target course toward the reference target course with the passage of time.
- the reference induction force for permitting the vehicle to travel along the reference target course is gradually narrowed and intensified.
- the width of the connection course is actually matched with the original reference target course, the original reference induction force is restored by each of steps S648, S651 and S652.
- the driver feels as if the steering force which is initially free is gradually drawn to a desired target course, and a benefit of the reference induction force can be smoothly received again. In such case, the speed of the reduction is constant.
- the reduction is generally carried out in a state in which the deviation from the position of the subject vehicle to the reference target course is not very large and hence, it is unnecessary to positively change the speed of the reduction.
- the arrangement may be such that the speed is changed at two or multiple stages.
- connection course reduction of this arrangement may be conducted initially rapidly and then slowly, and a further illustrative arrangement is provided for the purpose of illustrating this fact.
- Figs. 21 and 22 illustrate this further arrangement.
- Fig. 21 is a flow chart illustrating a portion of a control algorithm corresponding to the control algorithm shown in Fig. 4
- Fig. 22 is a flow chart illustrating the remainder of the control algorithm corresponding to the control algorithm shown in Fig. 4.
- step S739 substituted for step S639 in the previous arrangement it is determined whether the deviation ⁇ Lo between the position of the subject vehicle and the reference target course exceeds 95 % of the lane width. Only when the deviation ⁇ Lo exceeds 95 %, the reduction is conducted. Namely, the timing of the reduction is not limited to that described for in the previous arrangement, and an equivalent effect can be provided, even if the arrangement is such that when the lane change has been completed, the reduction is conducted by detecting the completion of the lane change.
- the width of the connection course is first reduced by 10 % of the lane width L and then, the remainder of the width of the connection course is reduced at a predetermined rate (which is represented by ⁇ in the disclosed technique) at step S742 in Fig. 22.
- This operation causes the width of the connection course to be reduced, wherein the reduction is continued by ⁇ of the remaining width at all times and ultimately, the width disappears substantially.
- the speed of the reduction is gradually decreased as the connection width is reduced.
- the speed shows a exponential characteristic.
- ⁇ is illustrated by an example in which it can be initially set at a value different from 10 %. However, if ⁇ is set at 0.1, the reduction is performed in an exponential characteristic with the rate constant from the beginning.
- the steering assist system in the vehicle having an excellent man-machine interface built therein, thereby enabling the automatic traveling of the vehicle along the reference lane and the automatic traveling of the vehicle along the second lane, and easily achieving the lane change along the connection course with the force applied from the driving means to the steering means being substantially "0", by intervention of the driver.
- this invention it also is possible to enable the automatic traveling of the vehicle along the reference lane and the automatic traveling of the Vehicle along the second lane, to easily achieve the lane change along the connection course with the force applied from the driving means to the steering means being substantially "0", by intervention of the driver, and to appropriately accommodate the next-lane following control by the variation in connection course according to the degree of the advance of the lane change.
- connection course can be formed for reasonably conducting the lane change from the reference lane to the second lane.
- the driver can be provided with steering angle information suitable for conducting the lane change along the connection course from the reference lane to the second lane.
- connection course (zone) toward the second target course (zone) in response to the perceiving the driver's lane change intention and to change the width of the connection course (zone) in accordance with the degree of the advance of the lane change to smoothly shift the lane change to the automatic steering.
- the technique based on the Japanese Patent Application Laid-open No.5-197423 previously filed by the present applicant has been disclosed as the technique for realizing the traveling of the vehicle along the lane, but it is not required that the present invention be limited to this technique, and it is evident that the traveling of the vehicle along the lane may be achieved, for example, by the technique in the Japanese Patent Application Laid-open No.6-255514 cited above as prior art.
- a technique for moving the bank toward the other lane in addition to a technique for decreasing or eliminating the height of the bank made in the potential process at the lane change, will be easily effected from the technique disclosed herein.
Landscapes
- Engineering & Computer Science (AREA)
- Physics & Mathematics (AREA)
- General Physics & Mathematics (AREA)
- Chemical & Material Sciences (AREA)
- Mechanical Engineering (AREA)
- Automation & Control Theory (AREA)
- Transportation (AREA)
- Combustion & Propulsion (AREA)
- Remote Sensing (AREA)
- Aviation & Aerospace Engineering (AREA)
- Radar, Positioning & Navigation (AREA)
- Electromagnetism (AREA)
- Multimedia (AREA)
- Computer Vision & Pattern Recognition (AREA)
- Steering Control In Accordance With Driving Conditions (AREA)
- Control Of Driving Devices And Active Controlling Of Vehicle (AREA)
- Control Of Position, Course, Altitude, Or Attitude Of Moving Bodies (AREA)
Claims (48)
- Lenkunterstützungssystem in einem Fahrzeug, umfassend: ein Lenkmittel (3), welches mit einem gelenkten Rad (5) und ebenso mit einem Lenkrad (1) derart verbunden ist, dass es in der Lage ist, ein Drehmoment von dem Lenkrad (1) zu übertragen, ein Antriebsmittel (4) zum Betätigen des Lenkradmittels (3), und eine Steuer/Regeleinheit (15) zum Erfassen einer Bezugsspur, auf welcher das Fahrzeug gerade fährt, auf Grundlage einer Information einer Fahrbahn vor dem Fahrzeug, um in der Bezugsspur einen Bezugszielkurs im Wesentlichen einzustellen;
und wobei auf das Lenkmittel (3) eine Bezugsinduktionskraft ausgeübt wird, welche nach Maßgabe der Größe und Richtung einer Abweichung des Subjektfahrzeugs von dem Bezugszielkurs bestimmt wird, wodurch der Betrieb des Antriebsmittels (4) derart gesteuert/geregelt wird, dass das Fahren des Fahrzeugs entlang der Bezugsspur realisiert wird;
wobei die Steuer/Regeleinheit (15) umfasst: ein Spurwechselbestätigungsmittel, um die wesentliche Ausführung, Nichtausführung und den Abschluss eines Spurwechsels zu bestätigen;
ein Mittel, um einen zweiten Zielkurs in einer zweiten Spur im Wesentlichen einzustellen, entlang welchem das Fahrzeug nach dem Spurwechsel fährt;
ein Mittel zum Bestimmen einer zweiten Induktionskraft, welche auf das Lenkmittel (3) ausgeübt werden soll, um das Fahren des Fahrzeugs entlang der zweiten Spur zu realisieren, und zwar nach Maßgabe der Größe und Richtung der Abweichung des Subjektfahrzeugs von dem zweiten Zielkurs;
ein Mittel zum Verbinden des Bezugszielkurses und des zweiten Zielkurses durch einen Verbindungskurs, wobei eine von dem Antriebsmittel (4) auf das Lenkmittel (3) während des Spurwechsels ausgeübte Kraft im Wesentlichen gleich "0" ist, und zum Ändern des Verbindungskurses nach Maßgabe des Ergebnisses der Bestätigung durch das Spurwechselbestätigungsmittel; sowie
ein Absichtswahrnehmungsmittel zur Wahrnehmung einer Spurwechselabsicht des Fahrers,
wobei die Steuer/Regeleinheit (15) derart angeordnet ist, dass sie den Verbindungskurs im Ansprechen auf eine Ausgabe von dem Absichtswahrnehmungsmittel erstellt;
wobei das Lenkunterstützungssystem dadurch gekennzeichnet ist, dass das Absichtswahrnehmungsmittel die Spurwechselabsicht des Fahrers dadurch wahrnimmt, dass eine Abweichung des Subjektfahrzeugs von dem Bezugszielkurs gleich oder größer als ein erster vorbestimmter Wert ist. - Lenkunterstützungssystem in einem Fahrzeug, umfassend: ein Lenkmittel (3), welches mit einem gelenkten Rad (5) und ebenso mit einem Lenkrad (1) derart verbunden ist, dass es in der Lage ist, ein Drehmoment von dem Lenkrad (1) zu übertragen, ein Antriebsmittel (4) zum Betätigen des Lenkradmittels (3), und eine Steuer/Regeleinheit (15) zum Erfassen einer Bezugsspur, auf welcher das Fahrzeug gerade fährt, auf Grundlage einer Information einer Fahrbahn vor dem Fahrzeug, um in der Bezugsspur einen Bezugszielkurs im Wesentlichen einzustellen;
und wobei auf das Lenkmittel (3) eine Bezugsinduktionskraft ausgeübt wird, welche nach Maßgabe der Größe und Richtung einer Abweichung des Subjektfahrzeugs von dem Bezugszielkurs bestimmt wird, wodurch der Betrieb des Antriebsmittels (4) derart gesteuert/geregelt wird, dass das Fahren des Fahrzeugs entlang der Bezugsspur realisiert wird;
wobei die Steuer/Regeleinheit (15) umfasst: ein Spurwechselbestätigungsmittel, um die wesentliche Ausführung, Nichtausführung und den Abschluss eines Spurwechsels zu bestätigen;
ein Mittel, um einen zweiten Zielkurs in einer zweiten Spur im Wesentlichen einzustellen, entlang welchem das Fahrzeug nach dem Spurwechsel fährt;
ein Mittel zum Bestimmen einer zweiten Induktionskraft, welche auf das Lenkmittel (3) ausgeübt werden soll, um das Fahren des Fahrzeugs entlang der zweiten Spur zu realisieren, und zwar nach Maßgabe der Größe und Richtung der Abweichung des Subjektfahrzeugs von dem zweiten Zielkurs;
ein Mittel zum Verbinden des Bezugszielkurses und des zweiten Zielkurses durch einen Verbindungskurs, wobei eine von dem Antriebsmittel (4) auf das Lenkmittel (3) während des Spurwechsels ausgeübte Kraft im Wesentlichen gleich "0" ist, und zum Ändern des Verbindungskurses nach Maßgabe des Ergebnisses der Bestätigung durch das Spurwechselbestätigungsmittel; sowie
ein Absichtswahrnehmungsmittel zur Wahrnehmung einer Spurwechselabsicht des Fahrers,
wobei die Steuer/Regeleinheit (15) derart angeordnet ist, dass sie den Verbindungskurs im Ansprechen auf eine Ausgabe von dem Absichtswahrnehmungsmittel erstellt;
wobei das Lenkunterstützungssystem dadurch gekennzeichnet ist, dass das Absichtswahrnehmungsmittel die Spurwechselabsicht des Fahrers dadurch wahrnimmt, dass ein Zustand, in welchem die Abweichung des Subjektfahrzeugs von dem Bezugszielkurs gleich oder größer als ein erster vorbestimmter Wert ist, für eine vorbestimmte Zeit oder darüber hinaus fortdauert. - Lenkunterstützungssystem in einem Fahrzeug, umfassend: ein Lenkmittel (3), welches mit einem gelenkten Rad (5) und ebenso mit einem Lenkrad (1) derart verbunden ist, dass es in der Lage ist, ein Drehmoment von dem Lenkrad (1) zu übertragen, ein Antriebsmittel (4) zum Betätigen des Lenkradmittels (3), und eine Steuer/Regeleinheit (15) zum Erfassen einer Bezugsspur, auf welcher das Fahrzeug gerade fährt, auf Grundlage einer Information einer Fahrbahn vor dem Fahrzeug, um in der Bezugsspur einen Bezugszielkurs im Wesentlichen einzustellen;
und wobei auf das Lenkmittel (3) eine Bezugsinduktionskraft ausgeübt wird, welche nach Maßgabe der Größe und Richtung einer Abweichung des Subjektfahrzeugs von dem Bezugszielkurs bestimmt wird, wodurch der Betrieb des Antriebsmittels (4) derart gesteuert/geregelt wird, dass das Fahren des Fahrzeugs entlang der Bezugsspur realisiert wird;
wobei die Steuer/Regeleinheit (15) umfasst: ein Spurwechselbestätigungsmittel, um die wesentliche Ausführung, Nichtausführung und den Abschluss eines Spurwechsels zu bestätigen;
ein Mittel, um einen zweiten Zielkurs in einer zweiten Spur im Wesentlichen einzustellen, entlang welchem das Fahrzeug nach dem Spurwechsel fährt;
ein Mittel zum Bestimmen einer zweiten Induktionskraft, welche auf das Lenkmittel (3) ausgeübt werden soll, um das Fahren des Fahrzeugs entlang der zweiten Spur zu realisieren, und zwar nach Maßgabe der Größe und Richtung der Abweichung des Subjektfahrzeugs von dem zweiten Zielkurs;
ein Mittel zum Verbinden des Bezugszielkurses und des zweiten Zielkurses durch einen Verbindungskurs, wobei eine von dem Antriebsmittel (4) auf das Lenkmittel (3) während des Spurwechsels ausgeübte Kraft im Wesentlichen gleich "0" ist, und zum Ändern des Verbindungskurses nach Maßgabe des Ergebnisses der Bestätigung durch das Spurwechselbestätigungsmittel; sowie
ein Absichtswahrnehmungsmittel zur Wahrnehmung einer Spurwechselabsicht des Fahrers,
wobei die Steuer/Regeleinheit (15) derart angeordnet ist, dass sie den Verbindungskurs im Ansprechen auf eine Ausgabe von dem Absichtswahrnehmungsmittel erstellt;
wobei das Lenkunterstützungssystem dadurch gekennzeichnet ist, dass das Absichtswahrnehmungsmittel die Spurwechselabsicht des Fahrers dadurch wahrnimmt, dass eine Abweichung des Subjektfahrzeugs von dem Bezugszielkurs erhöht wird oder nicht verringert wird. - Lenkunterstützungssystem in einem Fahrzeug, umfassend: ein Lenkmittel (3), welches mit einem gelenkten Rad (5) und ebenso mit einem Lenkrad (1) derart verbunden ist, dass es in der Lage ist, ein Drehmoment von dem Lenkrad (1) zu übertragen, ein Antriebsmittel (4) zum Betätigen des Lenkradmittels (3), und eine Steuer/Regeleinheit (15) zum Erfassen einer Bezugsspur, auf welcher das Fahrzeug gerade fährt, auf Grundlage einer Information einer Fahrbahn vor dem Fahrzeug, um in der Bezugsspur einen Bezugszielkurs im Wesentlichen einzustellen;
und wobei auf das Lenkmittel (3) eine Bezugsinduktionskraft ausgeübt wird, welche nach Maßgabe der Größe und Richtung einer Abweichung des Subjektfahrzeugs von dem Bezugszielkurs bestimmt wird, wodurch der Betrieb des Antriebsmittels (4) derart gesteuert/geregelt wird, dass das Fahren des Fahrzeugs entlang der Bezugsspur realisiert wird;
wobei die Steuer/Regeleinheit (15) umfasst: ein Spurwechselbestätigungsmittel, um die wesentliche Ausführung, Nichtausführung und den Abschluss eines Spurwechsels zu bestätigen;
ein Mittel, um einen zweiten Zielkurs in einer zweiten Spur im Wesentlichen einzustellen, entlang welchem das Fahrzeug nach dem Spurwechsel fährt;
ein Mittel zum Bestimmen einer zweiten Induktionskraft, welche auf das Lenkmittel (3) ausgeübt werden soll, um das Fahren des Fahrzeugs entlang der zweiten Spur zu realisieren, und zwar nach Maßgabe der Größe und Richtung der Abweichung des Subjektfahrzeugs von dem zweiten Zielkurs;
ein Mittel zum Verbinden des Bezugszielkurses und des zweiten Zielkurses durch einen Verbindungskurs, wobei eine von dem Antriebsmittel (4) auf das Lenkmittel (3) während des Spurwechsels ausgeübte Kraft im Wesentlichen gleich "0" ist, und zum Ändern des Verbindungskurses nach Maßgabe des Ergebnisses der Bestätigung durch das Spurwechselbestätigungsmittel; sowie
ein Absichtswahrnehmungsmittel zur Wahrnehmung einer Spurwechselabsicht des Fahrers,
wobei die Steuer/Regeleinheit (15) derart angeordnet ist, dass sie den Verbindungskurs im Ansprechen auf eine Ausgabe von dem Absichtswahrnehmungsmittel erstellt;
wobei das Lenkunterstützungssystem dadurch gekennzeichnet ist, dass das Absichtswahrnehmungsmittel die Spurwechselabsicht des Fahrers dadurch wahrnimmt, dass wenigstens ein Abschnitt des Subjektfahrzeugs auf der zweiten Spur vorhanden ist. - Lenkunterstützungssystem in einem Fahrzeug, umfassend: ein Lenkmittel (3), welches mit einem gelenkten Rad (5).und ebenso mit einem Lenkrad (1) derart verbunden ist, dass es in der Lage ist, ein Drehmoment von dem Lenkrad (1) zu übertragen, ein Antriebsmittel (4) zum Betätigen des Lenkradmittels (3), und eine Steuer/Regeleinheit (15) zum Erfassen einer Bezugsspur, auf welcher das Fahrzeug gerade fährt, auf Grundlage einer Information einer Fahrbahn vor dem Fahrzeug, um in der Bezugsspur einen Bezugszielkurs im Wesentlichen einzustellen;
und wobei auf das Lenkmittel (3) eine Bezugsinduktionskraft ausgeübt wird, welche nach Maßgabe der Größe und Richtung einer Abweichung des Subjektfahrzeugs von dem Bezugszielkurs bestimmt wird, wodurch der Betrieb des Antriebsmittels (4) derart gesteuert/geregelt wird, dass das Fahren des Fahrzeugs entlang der Bezugsspur realisiert wird;
wobei die Steuer/Regeleinheit (15) umfasst: ein Spurwechselbestätigungsmittel, um die wesentliche Ausführung, Nichtausführung und den Abschluss eines Spurwechsels zu bestätigen;
ein Mittel, um einen zweiten Zielkurs in einer zweiten Spur im Wesentlichen einzustellen, entlang welchem das Fahrzeug nach dem Spurwechsel fährt;
ein Mittel zum Bestimmen einer zweiten Induktionskraft, welche auf das Lenkmittel (3) ausgeübt werden soll, um das Fahren des Fahrzeugs entlang der zweiten Spur zu realisieren, und zwar nach Maßgabe der Größe und Richtung der Abweichung des Subjektfahrzeugs von dem zweiten Zielkurs;
ein Mittel zum Verbinden des Bezugszielkurses und des zweiten Zielkurses durch einen Verbindungskurs, wobei eine von dem Antriebsmittel (4) auf das Lenkmittel (3) während des Spurwechsels ausgeübte Kraft im Wesentlichen gleich "0" ist, und zum Ändern des Verbindungskurses nach Maßgabe des Ergebnisses der Bestätigung durch das Spurwechselbestätigungsmittel; sowie
ein Absichtswahrnehmungsmittel zur Wahrnehmung einer Spurwechselabsicht des Fahrers,
wobei die Steuer/Regeleinheit (15) derart angeordnet ist, dass sie den Verbindungskurs im Ansprechen auf eine Ausgabe von dem Absichtswahrnehmungsmittel erstellt;
wobei das Lenkunterstützungssystem dadurch gekennzeichnet ist, dass das Absichtswahrnehmungsmittel die Spurwechselabsicht des Fahrers dadurch wahrnimmt, dass ein Unterschied zwischen Ausgaben von einem Kursbeibehaltungs-Lenkwinkelberechnungsmittel zur Berechnung eines Lenkwinkels, der erforderlich ist, um die Relativpositionsbeziehung zwischen der Bezugsspur und dem Subjektfahrzeug beizubehalten, und einem Lenkwinkelerfassungsmittel (17) zur Erfassung eines momentanen Lenkwinkels gleich oder größer als ein vorbestimmter Wert ist. - Lenkunterstützungssystem in einem Fahrzeug, umfassend: ein Lenkmittel (3), welches mit einem gelenkten Rad (5) und ebenso mit einem Lenkrad (1) derart verbunden ist, dass es in der Lage ist, ein Drehmoment von dem Lenkrad (1) zu übertragen, ein Antriebsmittel (4) zum Betätigen des Lenkradmittels (3), und eine Steuer/Regeleinheit (15) zum Erfassen einer Bezugsspur, auf welcher das Fahrzeug gerade fährt, auf Grundlage einer Information einer Fahrbahn vor dem Fahrzeug, um in der Bezugsspur einen Bezugszielkurs im Wesentlichen einzustellen;
und wobei auf das Lenkmittel (3) eine Bezugsinduktionskraft ausgeübt wird, welche nach Maßgabe der Größe und Richtung einer Abweichung des Subjektfahrzeugs von dem Bezugszielkurs bestimmt wird, wodurch der Betrieb des Antriebsmittels (4) derart gesteuert/geregelt wird, dass das Fahren des Fahrzeugs entlang der Bezugsspur realisiert wird;
wobei die Steuer/Regeleinheit (15) umfasst: ein Spurwechselbestätigungsmittel, um die wesentliche Ausführung, Nichtausführung und den Abschluss eines Spurwechsels zu bestätigen;
ein Mittel, um einen zweiten Zielkurs in einer zweiten Spur im Wesentlichen einzustellen, entlang welchem das Fahrzeug nach dem Spurwechsel fährt;
ein Mittel zum Bestimmen einer zweiten Induktionskraft, welche auf das Lenkmittel (3) ausgeübt werden soll, um das Fahren des Fahrzeugs entlang der zweiten Spur zu realisieren, und zwar nach Maßgabe der Größe und Richtung der Abweichung des Subjektfahrzeugs von dem zweiten Zielkurs;
ein Mittel zum Verbinden des Bezugszielkurses und des zweiten Zielkurses durch einen Verbindungskurs, wobei eine von dem Antriebsmittel (4) auf das Lenkmittel (3) während des Spurwechsels ausgeübte Kraft im Wesentlichen gleich "0" ist, und zum Ändern des Verbindungskurses nach Maßgabe des Ergebnisses der Bestätigung durch das Spurwechselbestätigungsmittel; sowie
ein Absichtswahrnehmungsmittel zur Wahrnehmung einer Spurwechselabsicht des Fahrers,
wobei die Steuer/Regeleinheit (15) derart angeordnet ist, dass sie den Verbindungskurs im Ansprechen auf eine Ausgabe von dem Absichtswahrnehmungsmittel erstellt;
wobei das Lenkunterstützungssystem dadurch gekennzeichnet ist, dass das Absichtswahrnehmungsmittel die Spurwechselabsicht des Fahrers dadurch wahrnimmt, dass der Unterschied zwischen Ausgaben von einem Kursbeibehaltungs-Lenkwinkelberechnungsmittel und dem Lenkwinkelerfassungsmittel (17) kontinuierlich für eine vorbestimmte Zeit oder darüber hinaus gleich oder größer als ein vorbestimmter Wert ist. - Lenkunterstützungssystem in einem Fahrzeug, umfassend: ein Lenkmittel (3), welches mit einem gelenkten Rad (5) und ebenso mit einem Lenkrad (1) derart verbunden ist, dass es in der Lage ist, ein Drehmoment von dem Lenkrad (1) zu übertragen, ein Antriebsmittel (4) zum Betätigen des Lenkradmittels (3), und eine Steuer/Regeleinheit (15) zum Erfassen einer Bezugsspur, auf welcher das Fahrzeug gerade fährt, auf Grundlage einer Information einer Fahrbahn vor dem Fahrzeug, um in der Bezugsspur einen Bezugszielkurs im Wesentlichen einzustellen;
und wobei auf das Lenkmittel (3) eine Bezugsinduktionskraft ausgeübt wird, welche nach Maßgabe der Größe und Richtung einer Abweichung des Subjektfahrzeugs von dem Bezugszielkurs bestimmt wird, wodurch der Betrieb des Antriebsmittels (4) derart gesteuert/geregelt wird, dass das Fahren des Fahrzeugs entlang der Bezugsspur realisiert wird;
wobei die Steuer/Regeleinheit (15) umfasst: ein Spurwechselbestätigungsmittel, um die wesentliche Ausführung, Nichtausführung und den Abschluss eines Spurwechsels zu bestätigen;
ein Mittel, um einen zweiten Zielkurs in einer zweiten Spur im Wesentlichen einzustellen, entlang welchem das Fahrzeug nach dem Spurwechsel fährt;
ein Mittel zum Bestimmen einer zweiten Induktionskraft, welche auf das Lenkmittel (3) ausgeübt werden soll, um das Fahren des Fahrzeugs entlang der zweiten Spur zu realisieren, und zwar nach Maßgabe der Größe und Richtung der Abweichung des Subjektfahrzeugs von dem zweiten Zielkurs;
ein Mittel zum Verbinden des Bezugszielkurses und des zweiten Zielkurses durch einen Verbindungskurs, wobei eine von dem Antriebsmittel (4) auf das Lenkmittel (3) während des Spurwechsels ausgeübte Kraft im Wesentlichen gleich "0" ist, und zum Ändern des Verbindungskurses nach Maßgabe des Ergebnisses der Bestätigung durch das Spurwechselbestätigungsmittel; sowie
ein Absichtswahrnehmungsmittel zur Wahrnehmung einer Spurwechselabsicht des Fahrers,
wobei die Steuer/Regeleinheit (15) derart angeordnet ist, dass sie den Verbindungskurs im Ansprechen auf eine Ausgabe von dem Absichtswahrnehmungsmittel erstellt;
wobei das Lenkunterstützungssystem dadurch gekennzeichnet ist, dass das Absichtswahrnehmungsmittel die Spurwechselabsicht des Fahrers dadurch wahrnimmt, dass ein Erfassungswert, welcher durch ein Lenkgeschwindigkeitserfassungsmittel zur Erfassung einer Lenkgeschwindigkeit erfasst wird, gleich oder größer als ein vorbestimter Wert ist. - Lenkunterstützungssystem in einem Fahrzeug, umfassend: ein Lenkmittel (3), welches mit einem gelenkten Rad (5) und ebenso mit einem Lenkrad (1) derart verbunden ist, dass es in der Lage ist, ein Drehmoment von dem Lenkrad (1) zu übertragen, ein Antriebsmittel (4) zum Betätigen des Lenkradmittels (3), und eine Steuer/Regeleinheit (15) zum Erfassen einer Bezugsspur, auf welcher das Fahrzeug gerade fährt, auf Grundlage einer Information einer Fahrbahn vor dem Fahrzeug, um in der Bezugsspur einen Bezugszielkurs im Wesentlichen einzustellen;
und wobei auf das Lenkmittel (3) eine Bezugsinduktionskraft ausgeübt wird, welche nach Maßgabe der Größe und Richtung einer Abweichung des Subjektfahrzeugs von dem Bezugszielkurs bestimmt wird, wodurch der Betrieb des Antriebsmittels (4) derart gesteuert/geregelt wird, dass das Fahren des Fahrzeugs entlang der Bezugsspur realisiert wird;
wobei die Steuer/Regeleinheit (15) umfasst: ein Spurwechselbestätigungsmittel, um die wesentliche Ausführung, Nichtausführung und den Abschluss eines Spurwechsels zu bestätigen;
ein Mittel, um einen zweiten Zielkurs in einer zweiten Spur im Wesentlichen einzustellen, entlang welchem das Fahrzeug nach dem Spurwechsel fährt;
ein Mittel zum Bestimmen einer zweiten Induktionskraft, welche auf das Lenkmittel (3) ausgeübt werden soll, um das Fahren des Fahrzeugs entlang der zweiten Spur zu realisieren, und zwar nach Maßgabe der Größe und Richtung der Abweichung des Subjektfahrzeugs von dem zweiten Zielkurs;
ein Mittel zum Verbinden des Bezugszielkurses und des zweiten Zielkurses durch einen Verbindungskurs, wobei eine von dem Antriebsmittel (4) auf das Lenkmittel (3) während des Spurwechsels ausgeübte Kraft im Wesentlichen gleich "0" ist, und zum Ändern des Verbindungskurses nach Maßgabe des Ergebnisses der Bestätigung durch das Spurwechselbestätigungsmittel; sowie
ein Absichtswahrnehmungsmittel zur Wahrnehmung einer Spurwechselabsicht des Fahrers,
wobei die Steuer/Regeleinheit (15) derart angeordnet ist, dass sie den Verbindungskurs im Ansprechen auf eine Ausgabe von dem Absichtswahrnehmungsmittel erstellt;
wobei das Lenkunterstützungssystem dadurch gekennzeichnet ist, dass das Absichtswahrnehmungsmittel die Spurwechselabsicht des Fahrers dadurch wahrnimmt, dass ein Erfassungswert, welcher von einem Lenkkrafterfassungsmittel (16) zur Erfassung einer Lenkkraft erfasst wird, gleich oder größer als ein vorbestimmter Wert ist. - Lenkunterstützungssystem in einem Fahrzeug, umfassend: ein Lenkmittel (3), welches mit einem gelenkten Rad (5) und ebenso mit einem Lenkrad (1) derart verbunden ist, dass es in der Lage ist, ein Drehmoment von dem Lenkrad (1) zu übertragen, ein Antriebsmittel (4) zum Betätigen des Lenkradmittels (3), und eine Steuer/Regeleinheit (15) zum Erfassen einer Bezugsspur, auf welcher das Fahrzeug gerade fährt, auf Grundlage einer Information einer Fahrbahn vor dem Fahrzeug, um in der Bezugsspur einen Bezugszielkurs im Wesentlichen einzustellen;
und wobei auf das Lenkmittel (3) eine Bezugsinduktionskraft ausgeübt wird, welche nach Maßgabe der Größe und Richtung einer Abweichung des Subjektfahrzeugs von dem Bezugszielkurs bestimmt wird, wodurch der Betrieb des Antriebsmittels (4) derart gesteuert/geregelt wird, dass das Fahren des Fahrzeugs entlang der Bezugsspur realisiert wird;
wobei die Steuer/Regeleinheit (15) umfasst: ein Spurwechselbestätigungsmittel, um die wesentliche Ausführung, Nichtausführung und den Abschluss eines Spurwechsels zu bestätigen;
ein Mittel, um einen zweiten Zielkurs in einer zweiten Spur im Wesentlichen einzustellen, entlang welchem das Fahrzeug nach dem Spurwechsel fährt;
ein Mittel zum Bestimmen einer zweiten Induktionskraft, welche auf das Lenkmittel (3) ausgeübt werden soll, um das Fahren des Fahrzeugs entlang der zweiten Spur zu realisieren, und zwar nach Maßgabe der Größe und Richtung der Abweichung des Subjektfahrzeugs von dem zweiten Zielkurs;
ein Mittel zum Verbinden des Bezugszielkurses und des zweiten Zielkurses durch einen Verbindungskurs, wobei eine von dem Antriebsmittel (4) auf das Lenkmittel (3) während des Spurwechsels ausgeübte Kraft im Wesentlichen gleich "0" ist, und zum Ändern des Verbindungskurses nach Maßgabe des Ergebnisses der Bestätigung durch das Spurwechselbestätigungsmittel; sowie
ein Absichtswahrnehmungsmittel zur Wahrnehmung einer Spurwechselabsicht des Fahrers,
wobei die Steuer/Regeleinheit (15) derart angeordnet ist, dass sie den Verbindungskurs im Ansprechen auf eine Ausgabe von dem Absichtswahrnehmungsmittel erstellt;
wobei das Lenkunterstützungssystem dadurch gekennzeichnet ist, dass das Absichtswahrnehmungsmittel die Spurwechselabsicht des Fahrers dadurch wahrnimmt, dass ein Erfassungswert, welcher von einem Lenkkrafterfassungsmittel (16) erfasst wird, kontinuierlich für eine vorbestimmte Zeit oder darüber hinaus gleich oder größer als ein vorbestimmter Wert ist. - Lenkunterstützungssystem in einem Fahrzeug nach einem der vorhergehenden Ansprüche, wobei die Steuer/Regeleinheit (15) ferner ein Mittel umfasst zum Schwächen wenigstens einer Kraft aus der Bezugsinduktionskraft und der zweiten Induktionskraft auf der zweiten Spur während des Spurwechsels.
- Lenkunterstützungssystem in einem Fahrzeug nach einem der Ansprüche 1 bis 9, wobei die Steuer/Regeleinheit (15) ferner ein Mittel umfasst zum Schwächen wenigstens einer Kraft aus der Bezugsinduktionskraft und der zweiten Induktionskraft auf der zweiten Spur während eines Spurwechsels und zum Ändern der Situation der Schwächung der Induktionskraft nach Maßgabe des Ergebnisses der durch das Spurwechselbestätigungsmittel bereitgestellten Bestätigung.
- Lenkunterstützungssystem in einem Fahrzeug nach einem der Ansprüche 1 bis 9, wobei die Steuer/Regeleinheit derart angeordnet ist, dass sie den Verbindungskurs im Ansprechen auf die Bestätigung des wesentlichen Abschlusses und der wesentlichen Nichtausführung des Spurwechsels durch das Spurwechselbestätigungsmittel eliminiert.
- Lenkunterstützungssystem in einem Fahrzeug nach Anspruch 10 oder 11,
wobei die Steuer/Regeleinheit (15) derart angeordnet ist, dass sie das Schwächen von wenigstens einer Kraft aus der Bezugsinduktionskraft und der zweiten Induktionskraft auf der zweiten Spur im Ansprechen auf eine Ausgabe von dem Absichtswahrnehmungsmittel startet. - Lenkunterstützungssystem in einem Fahrzeug nach Anspruch 11, wobei die Steuer/Regeleinheit (15) derart angeordnet ist, dass sie die Bezugsinduktionskraft oder die zweite Induktionskraft, welche einmal im Ansprechen auf die Bestätigung des wesentlichen Abschlusses und der wesentlichen Nichtausführung des Spurwechsels durch das Spurwechselbestätigungsmittel geschwächt wurde, wieder herstellt.
- Lenkunterstützungssystem in einem Fahrzeug nach einem der Ansprüche 1 bis 9, wobei der Verbindungskurs gebildet ist aus einer Linie mit einer vorbestimmten Breite.
- Lenkunterstützungssystem in einem Fahrzeug nach einem der Ansprüche 1 bis 9, wobei der Verbindungskurs auf der Seite der zweiten Spur ausgehend von dem Bezugszielkurs oder auf der Seite der Bezugsspur ausgehend von dem zweiten Zielkurs erstellt wird.
- Lenkunterstützungssystem in einem Fahrzeug nach einem der Ansprüche 1 bis 9, wobei die Breite des Verbindungskurses derart bestimmt ist, dass sie mit dem Fortschreiten des Spurwechsels schmäler wird.
- Lenkunterstützungssystem in einem Fahrzeug nach einem der Ansprüche 1 bis 9, wobei die Steuer/Regeleinheit (15) derart angeordnet ist, dass sie eine Induktionskraft zum Führen des von dem Verbindungskurs abgewichenen Subjektfahrzeugs auf das Lenkmittel nach Maßgabe des Abstandes von dem Verbindungskurs zu der Position des Subjektfahrzeugs ausübt.
- Lenkunterstützungssystem in einem Fahrzeug nach einem der Ansprüche 1 bis 9, wobei die Steuer/Regeleinheit (15) derart angeordnet ist, dass sie den Verbindungskurs von der Seite des Bezugszielkurses zu dem zweiten Zielkurs gleichzeitig mit der Wahrnehmung der Spurwechselabsicht des Fahrers durch das Absichtswahrnehmungsmittel oder nach einem Verstreichen einer vorbestimmten Zeit von dem Wahrnehmen der Spurwechselabsicht des Fahrers an breiter macht.
- Lenkunterstützungssystem in einem Fahrzeug nach einem der Ansprüche 1 bis 9, wobei die Steuer/Regeleinheit (15) derart angeordnet ist, dass sie den Verbindungskurs von der Seite des Bezugszielkurses zu dem zweiten Zielkurs bei einer vorbestimmten Geschwindigkeit im Ansprechen auf die Wahrnehmung der Spurwechselabsicht des Fahrers durch das Absichtswahrnehmungsmittel ausdehnt.
- Lenkunterstützungssystem in einem Fahrzeug nach einem der Ansprüche 1 bis 9, wobei die Steuer/Regeleinheit (15) derart angeordnet ist, dass sie die Breite des Verbindungskurses zu dem zweiten Zielkurs hin in Antwort auf die Bestätigung der wesentlichen Ausführung oder des wesentlichen Abschlusses des Spurwechsels durch das Spurwechselbestätigungsmittel verringert.
- Lenkunterstützungssystem in einem Fahrzeug nach einem der Ansprüche 1 bis 9, wobei die Steuer/Regeleinheit (15) derart angeordnet ist, dass sie die Breite des Verbindungskurses zu dem Bezugszielkurs im Ansprechen auf die Bestätigung der wesentlichen Ausführung oder des wesentlichen Abschlusses des Spurwechsels durch das Spurwechselbestätigungsmittel verringert.
- Lenkunterstützungssystem in einem Fahrzeug nach Anspruch 21 oder 22, wobei die Steuer/Regeleinheit (15) derart angeordnet ist, dass sie die Breite des Verbindungskurses bei einer konstanten Geschwindigkeit oder bei vorbestimmten Geschwindigkeiten, welche bei einer Mehrzahl von Stufen variiert werden, reduziert.
- Lenkunterstützungssystem in einem Fahrzeug nach einem der Ansprüche 1 bis 11, wobei die Steuer/Regeleinheit (15) derart angeordnet ist, dass sie das Ausmaß der Relation zwischen der Abweichung des Subjektfahrzeugs von dem Bezugszielkurs und der Bezugsinduktionskraft ändert, wenn die Bezugsinduktionskraft während des Spurwechsels geschwächt wird.
- Lenkunterstützungssystem in einem Fahrzeug nach einem der Ansprüche 1 bis 11, wobei die Steuer/Regeleinheit (15) derart angeordnet ist, dass sie eine Bezugsinduktionskraft bestimmt, welche ein vorbestimmtes Ausmaß einer Relation in einem Bereich betrifft, in welchem die Abweichung des Subjektfahrzeugs von dem Bezugszielkurs einen Bezugswert übersteigt, und dass sie den Bezugswert dann erhöht, wenn die Bezugsinduktionskraft während des Spurwechsels geschwächt wird.
- Lenkunterstützungssystem in einem Fahrzeug nach einem der Ansprüche 1 bis 9 oder 11, wobei die Steuer/Regeleinheit (15) derart angeordnet ist, dass sie die zweite Induktionskraft auf der Bezugsspur im Ansprechen auf die Bestätigung der wesentlichen Ausführung oder des wesentlichen Abschlusses des Spurwechsels durch das Spurwechselbestätigungsmittel erhöht.
- Lenkunterstützungssystem in einem Fahrzeug nach einem der Ansprüche 1 bis 9, wobei die Steuer/Regeleinheit (15) derart angeordnet ist, dass sie die zweite Induktionskraft wenigstens auf der Bezugsspur nach einem Verstreichen einer vorbestimmten Zeit ausgehend von der Ernstellung des Verbindungskurses erhöht.
- Lenkunterstützungssystem in einem Fahrzeug nach Anspruch 13, wobei die Steuer/Regeleinheit (15) derart angeordnet ist, dass sie die Bezugsinduktionskraft wenigstens auf der zweiten Spur verringert und die zweite Induktionskraft wenigstens auf der Bezugsspur erhöht, und zwar im Ansprechen auf das Wahrnehmen der Spurwechselabsicht des Fahrers durch das Absichtswahrnehmungsmittel.
- Lenkunterstützungssystem in einem Fahrzeug nach einem der Ansprüche 1 bis 9 oder 11, wobei die Steuer/Regeleinheit (15) derart angeordnet ist, dass sie die Bezugsinduktionskraft wenigstens auf der zweiten Spur im Ansprechen auf die Wahrnehmung der Spurwechselabsicht des Fahrers durch das Absichtswahrnehmungsmittel verringert und dass sie die zweite Induktionskraft wenigstens auf der Bezugsspur im Ansprechen auf die Bestätigung der wesentlichen Ausführung oder des wesentlichen Abschlusses des Spurwechsels durch das Spurwechselbestätigungsmittel erhöht.
- Lenkunterstützungssystem in einem Fahrzeug nach Anspruch 14, wobei die Steuer/Regeleinheit (15) derart angeordnet ist, dass sie das Ausmaß der Relation zwischen der Abweichung des Subjektfahrzeugs von dem Bezugszielkurs und der Bezugsinduktionskraft stärkt, wenn die Bezugsinduktionskraft auf einen Anfangswert wiederhergestellt wird.
- Lenkunterstützungssystem in einem Fahrzeug gemäß Anspruch 14, wobei die Steuer/Regeleinheit (15) derart angeordnet ist, dass sie eine Bezugsinduktionskraft bestimmt, welche auf die Abweichung des Subjektfahrzeugs von dem Bezugszielkurs in einem vorbestimmten Relationsausmaß in einem Bereich, in welchem die Abweichung des Subjektfahrzeugs einen Bezugswert überschreitet, bezogen ist, und dass sie den Bezugswert verringert, wenn die Bezugsinduktionskraft auf einen Anfangswert wiederhergestellt wird.
- Lenkunterstützungssystem in einem Fahrzeug nach Anspruch 29, wobei die Steuer/Regeleinheit (15) derart angeordnet ist, dass sie das Verringern der Bezugsinduktionskraft und das Erhöhen der zweiten Induktionskraft gemäß einem vorbestimmten Zeitplan ausführt.
- Lenkunterstützungssystem in einem Fahrzeug nach einem der Ansprüche 1 bis 9 oder 11, wobei die Steuer/Regeleinheit (15) derart angeordnet ist, dass sie die zweite Spur durch die Bezugsspur ersetzt oder den zweiten Zielkurs durch den Bezugszielkurs ersetzt, und zwar im Ansprechen auf die Bestätigung des wesentlichen Abschlusses des Spurwechsels durch das Spurwechselbestätigungsmittel.
- Lenkunterstützungssystem in einem Fahrzeug nach einem der Ansprüche 1 bis 9 oder 11, wobei die Steuer/Regeleinheit (15) derart angeordnet ist, dass sie die Verringerung des Verbindungskurses im Ansprechen auf die Bestätigung des wesentlichen Abschlusses des Spurwechsels durch das Spurwechselbestätigungsmittel ermöglicht, und dass es die Ersetzung der zweiten Spur durch die Bezugsspur oder die Ersetzung des zweiten Zielkurses durch den Bezugszielkurs nach einem Abschluss der Verringerung des Verbindungskurses ausführt.
- Lenkunterstützungssystem in einem Fahrzeug nach Anspruch 26, wobei die Steuer/Regeleinheit (15) derart angeordnet ist, dass sie die zweite Spur durch die Bezugsspur ersetzt oder den zweiten Zielkurs durch den Bezugszielkurs ersetzt, und zwar nach einem Abschluss der Erhöhung der zweiten Induktionskraft.
- Lenkunterstützungssystem in einem Fahrzeug gemäß einem der Ansprüche 1 bis 9 oder 13, ferner umfassend ein Lenkkrafterfassungsmittel (16) zur Erfassung einer Lenkkraft, und wobei das Bestimmungskriterium in dem Absichtswahrnehmungsmittel derart ist, dass der durch das Lenkkrafterfassungsmittel (16) erfasste Erfassungswert gleich oder größer als ein vorbestimmter Wert ist, oder dass der durch das Lenkkrafterfassungsmittel (16) erfasste Erfassungswert kontinuierlich für die vorbestimmte Zeit oder darüber hinaus gleich oder größer als der vorbestimmte Wert ist.
- Lenkunterstützungssystem in einem Fahrzeug nach einem der Ansprüche 1 bis 9 oder 13, ferner umfassend ein Lenkgeschwindigkeitserfassungsmittel zum Erfassen einer Lenkgeschwindigkeit, und wobei das Bestimmungskriterium in dem Absichtswahrnehmungsmittel derart ist, dass der durch das Lenkgeschwindigkeitserfassungsmittel erfasste Wert gleich oder größer als ein vorbestimmter Wert ist.
- Lenkunterstützungssystem in einem Fahrzeug nach einem der Ansprüche 1 bis 9 oder 13, ferner umfassend ein Kursbeibehaltungs-Lenkwinkelberechnungsmittel zum Berechnen eines Lenkwinkels, welcher erforderlich ist, um die Relativpositionsbeziehung zwischen der Bezugsspur und dem Subjektfahrzeug beizubehalten, und ein Lenkwinkelerfassungsmittel (17) zur Erfassung eines momentanen Lenkwinkels, und wobei das Bestimmungskriterium in dem Absichtswahrnehmungsmittel derart ist, dass der Unterschied zwischen Ausgaben von dem Kursbeibehaltungs-Lenkwinkelberechnungsmittel und dem Lenkwinkelerfassungsmittel (17) gleich oder größer als ein vorbestimmter Wert ist, oder derart ist, dass der Unterschied zwischen Ausgaben von dem Kursbeibehaltungs-Lenkwinkelberechnungsmittel und dem Lenkwinkelerfassungsmittel (17) kontinuierlich für eine vorbestimmte Zeit oder darüber hinaus gleich oder größer als der vorbestimmte Wert ist.
- Lenkunterstützungssystem in einem Fahrzeug nach einem der Ansprüche 1 bis 9 oder 11, wobei das Kriterium einer Bestätigung der wesentlichen Ausführung des Spurwechselbestätigungsmittels das Löschen des Blinkers (40) ist.
- Lenkunterstützungssystem in einem Fahrzeug nach einem der Ansprüche 1 bis 9 oder 11, wobei das Kriterium einer Bestätigung der wesentlichen Ausführung durch das Spurwechselausführungsbestätigungsmittel derart ist, dass die Abweichung des Subjektfahrzeugs von dem Bezugszielkurs gleich oder größer als der zweite vorbestimmte Wert ist.
- Lenkunterstützungssystem in einem Fahrzeug nach einem der Ansprüche 1 bis 9 oder 11, wobei das Kriterium einer Bestätigung der wesentlichen Ausführung durch das Spurwechselausführungsbestätigungsmittel derart ist, dass die Abweichung des Subjektfahrzeugs von dem Bezugszielkurs erhöht oder nicht verringert wird.
- Lenkunterstützungssystem in einem Fahrzeug nach einem der Ansprüche 1 bis 9 oder 11, wobei das Kriterium einer Bestätigung des wesentlichen Abschlusses durch das Spurwechselausführungsbestätigungsmittel derart ist, dass die Abweichung des Subjektfahrzeugs von dem zweiten Zielkurs gleich oder kleiner als ein vorbestimmter Wert ist, oder derart ist, dass die Abweichung des Subjektfahrzeugs von dem Bezugszielkurs gleich oder größer als ein vorbestimmter Wert ist.
- Lenkunterstützungssystem in einem Fahrzeug nach einem der Ansprüche 1 bis 9 oder 11, ferner umfassend ein Kursbeibehaltungs-Lenkwinkelberechnungsmittel zum Berechnen eines Lenkwinkels, welcher erforderlich ist, um die Relativpositionsbeziehung zwischen der zweiten Spur und dem Subjektfahrzeug beizubehalten, sowie ein Lenkwinkelerfassungsmittel 17 zum Erfassen eines momentanen Lenkwinkels, und wobei das Kriterium einer Bestätigung des wesentlichen Abschlusses durch das Spurwechselbestätigungsmittel derart ist, dass der Unterschied zwischen Ausgaben von dem Kursbeibehaltungs-Lenkwinkelberechnungsmittel und dem Lenkwinkelerfassungsmittel (17) kleiner als ein vorbestimmter Wert ist.
- Lenkunterstützungssystem in einem Fahrzeug nach einem der Ansprüche 1 bis 9 oder 11, wobei das Kriterium einer Bestätigung der wesentlichen Nichtausführung durch das Spurwechselbestätigungsmittel derart ist, dass die Abweichung des Subjektfahrzeugs von dem Bezugszielkurs kleiner als ein vorbestimmter Wert während eines Löschens des Blinkers (40) ist, oder derart ist, dass die Abweichung des Subjektfahrzeugs von dem Bezugszielkurs nach einem Löschen des Blinkers (40) verringert wird.
- Lenkunterstützungssystem in einem Fahrzeug nach einem der Ansprüche 1 bis 9 oder 11, wobei das Kriterium einer Bestätigung der wesentlichen Nichtausführung durch das Spurwechselbestätigungsmittel derart ist, dass die Abweichung des Subjektfahrzeugs von dem Bezugszielkurs erhöht wird, um einen vorbestimmten Wert zu übersteigen, und dann auf einen Wert kleiner als der vorbestimmte Wert verringert wird, oder derart ist, dass die Abweichung des Subjektfahrzeugs von dem Bezugszielkurs erhöht wird, um einen vorbestimmten Wert zu übersteigen und dann auf einen Wert kleiner als ein weiterer vorbestimmter Wert, der kleiner als der vorbestimmte Wert ist, verringert wird.
- Lenkunterstützungssystem in einem Fahrzeug nach einem der Ansprüche 1 bis 9 oder 11, ferner umfassend ein Kursbeibehaltungs-Lenkwinkelberechnungsmittel zum Berechnen eines Lenkwinkels, welcher erforderlich ist, um die Relativpositionsbeziehung zwischen der Bezugsspur und dem Subjektfahrzeug beizubehalten, und ein Lenkwinkelerfassungsmittel (17) zum Erfassen eines momentanen Lenkwinkels, und wobei das Kriterium einer Bestätigung der wesentlichen Nichtausführung durch das Spurwechselbestätigungsmittel derart ist, dass der Unterschied zwischen Ausgaben von dem Kursbeibehaltungs-Lenkwinkelberechnungsmittel und dem Lenkwinkelerfassungsmittel (17) erhöht wird, um einen vorbestimmten Wert zu übersteigen, und dann verringert wird auf einen Wert, welcher kleiner als der vorbestimmte Wert ist, oder derart ist, dass der Unterschied zwischen Ausgaben von dem Kursbeibehaltungs-Lenkwinkelberechnungsmittel und dem Lenkwinkelberechnungsmittel (17) erhöht wird, um einen vorbestimmten Wert zu übersteigen, und dann verringert wird auf einen Wert kleiner als ein weiterer vorbestimmter Wert, welcher kleiner als der vorbestimmte Wert ist.
- Lenkunterstützungssystem in einem Fahrzeug nach einem der Ansprüche 1 bis 9 oder 11, ferner umfassend ein Kursbeibehaltungs-Lenkwinkelberechnungsmittel zum Berechnen eines Lenkwinkels, welcher erforderlich ist, um die Relativpositionsbeziehung zwischen der Bezugsspur und dem Subjektfahrzeug beizubehalten, und ein Lenkwinkelerfassungsmittel (17) zum Erfassen eines momentanen Lenkwinkels, und wobei das Kriterium einer Bestätigung der wesentlichen Nichtausführung durch das Spurwechselbestätigungsmittel derart ist, dass der Unterschied zwischen Ausgaben von dem Kursbeibehaltungs-Lenkwinkelberechnungsmittel und dem Lenkwinkelerfassungsmittel gleich oder kleiner als ein vorbestimmter Wert während eines Löschens des Blinkers ist.
- Lenkunterstützungssystem in einem Fahrzeug nach einem der Ansprüche 1 bis 9, wobei die Steuer/Regeleinheit (15) Mittel aufweist zum Steuern/Regeln der Bezugsinduktionskraft und der Spurwechselinduktionskraft, um einem Fahrer des Fahrzeugs zu gestatten, das Fahrzeug von der Bezugsspur manuell zu der neuen Spur zu steuern, ohne dass eine übermäßige Kraft durch die Bezugsinduktionskraft und die Spurwechselinduktionskraft auf das Lenkmittel ausgeübt wird.
Applications Claiming Priority (3)
| Application Number | Priority Date | Filing Date | Title |
|---|---|---|---|
| JP11487596 | 1996-05-09 | ||
| JP114875/96 | 1996-05-09 | ||
| JP11487596A JP3599144B2 (ja) | 1996-05-09 | 1996-05-09 | 車両用操舵支援装置 |
Publications (3)
| Publication Number | Publication Date |
|---|---|
| EP0806336A2 EP0806336A2 (de) | 1997-11-12 |
| EP0806336A3 EP0806336A3 (de) | 1999-10-20 |
| EP0806336B1 true EP0806336B1 (de) | 2006-06-14 |
Family
ID=14648879
Family Applications (1)
| Application Number | Title | Priority Date | Filing Date |
|---|---|---|---|
| EP97303191A Expired - Lifetime EP0806336B1 (de) | 1996-05-09 | 1997-05-09 | Hilfsvorrichtung für das Lenken eines Fahrzeuges |
Country Status (4)
| Country | Link |
|---|---|
| US (1) | US6092619A (de) |
| EP (1) | EP0806336B1 (de) |
| JP (1) | JP3599144B2 (de) |
| DE (1) | DE69736090T2 (de) |
Cited By (1)
| Publication number | Priority date | Publication date | Assignee | Title |
|---|---|---|---|---|
| EP4382398A1 (de) * | 2022-11-16 | 2024-06-12 | JTEKT Corporation | Lenksteuervorrichtung |
Families Citing this family (70)
| Publication number | Priority date | Publication date | Assignee | Title |
|---|---|---|---|---|
| FR2773130B1 (fr) * | 1997-12-31 | 2000-02-18 | Renault | Systeme de commande d'une direction intelligente de vehicule automobile |
| JP3344463B2 (ja) * | 1998-04-27 | 2002-11-11 | トヨタ自動車株式会社 | 車両用操舵制御装置 |
| JP3694423B2 (ja) * | 1999-06-25 | 2005-09-14 | 本田技研工業株式会社 | 車両および車両用操舵制御装置 |
| JP3508665B2 (ja) * | 1999-12-24 | 2004-03-22 | 株式会社豊田自動織機 | 操舵支援装置 |
| US6487769B2 (en) | 2000-11-30 | 2002-12-03 | Emerson Electric Co. | Method and apparatus for constructing a segmented stator |
| US6597078B2 (en) | 2000-12-04 | 2003-07-22 | Emerson Electric Co. | Electric power steering system including a permanent magnet motor |
| US6584813B2 (en) | 2001-03-26 | 2003-07-01 | Emerson Electric Co. | Washing machine including a segmented stator switched reluctance motor |
| US7012350B2 (en) | 2001-01-04 | 2006-03-14 | Emerson Electric Co. | Segmented stator switched reluctance machine |
| US6700284B2 (en) | 2001-03-26 | 2004-03-02 | Emerson Electric Co. | Fan assembly including a segmented stator switched reluctance fan motor |
| US6744166B2 (en) | 2001-01-04 | 2004-06-01 | Emerson Electric Co. | End cap assembly for a switched reluctance electric machine |
| US6897591B2 (en) | 2001-03-26 | 2005-05-24 | Emerson Electric Co. | Sensorless switched reluctance electric machine with segmented stator |
| ITTO20020129A1 (it) * | 2002-02-15 | 2003-08-18 | Fiat Ricerche | Sistema di ausilio alla guida di un veicolo. |
| US8718919B2 (en) | 2002-04-23 | 2014-05-06 | Robert Bosch Gmbh | Method and apparatus for lane recognition for a vehicle |
| DE10218010A1 (de) * | 2002-04-23 | 2003-11-06 | Bosch Gmbh Robert | Verfahren und Vorrichtung zur Querführungsunterstützung bei Kraftfahrzeugen |
| US7510038B2 (en) * | 2003-06-11 | 2009-03-31 | Delphi Technologies, Inc. | Steering system with lane keeping integration |
| DE10331232B4 (de) * | 2003-07-10 | 2008-10-02 | Zf Lenksysteme Gmbh | Vorrichtung zur spurhaltungsgeregelten Lenkung |
| JP3982483B2 (ja) * | 2003-11-13 | 2007-09-26 | 日産自動車株式会社 | 車線逸脱防止装置 |
| JP4226455B2 (ja) * | 2003-12-16 | 2009-02-18 | 日産自動車株式会社 | 運転意図推定装置、車両用運転操作補助装置および車両用運転操作補助装置を備えた車両 |
| US7349767B2 (en) * | 2003-12-16 | 2008-03-25 | Nissan Motor Co., Ltd. | Method and system for intention estimation and operation assistance |
| JP4281543B2 (ja) | 2003-12-16 | 2009-06-17 | 日産自動車株式会社 | 車両用運転操作補助装置および車両用運転操作補助装置を備えた車両 |
| JP4211685B2 (ja) * | 2004-05-31 | 2009-01-21 | トヨタ自動車株式会社 | 運転支援装置 |
| JP4211684B2 (ja) * | 2004-05-31 | 2009-01-21 | トヨタ自動車株式会社 | 運転支援装置 |
| JP4400316B2 (ja) * | 2004-06-02 | 2010-01-20 | 日産自動車株式会社 | 運転意図推定装置、車両用運転操作補助装置および車両用運転操作補助装置を備えた車両 |
| JP4229051B2 (ja) * | 2004-11-26 | 2009-02-25 | 日産自動車株式会社 | 運転意図推定装置、車両用運転操作補助装置および車両用運転操作補助装置を備えた車両 |
| ITMI20050788A1 (it) | 2005-05-02 | 2006-11-03 | Iveco Spa | Sistema di ausilio alla guida per supportare il mantenimento corsia per assistere il cambio di corsia e monitorare lo stato del guidatore di un veicolo |
| ATE519647T1 (de) * | 2006-06-11 | 2011-08-15 | Volvo Technology Corp | Verfahren und vorrichtung zur verwendung eines automatisierten spurhaltesystems zur bewahrung von seitlichem fahrzeugabstand |
| DE102006027325A1 (de) * | 2006-06-13 | 2007-12-20 | Robert Bosch Gmbh | Spurhalteassistent mit Spurwechselfunktion |
| US7885730B2 (en) * | 2007-01-26 | 2011-02-08 | Nexteer (Beijing) Technology Co., Ltd. | Systems, methods and computer program products for lane change detection and handling of lane keeping torque |
| DE102007020280A1 (de) * | 2007-04-30 | 2008-11-06 | Robert Bosch Gmbh | Verfahren und Vorrichtung für die Steuerung eines Fahrerassistenzsystems |
| EP2017162B1 (de) * | 2007-07-19 | 2013-06-12 | Nissan Motor Co., Ltd. | Spurhaltesystem, Automobil und Spurhalteverfahren |
| JP4995029B2 (ja) * | 2007-10-18 | 2012-08-08 | 富士重工業株式会社 | 車両の運転支援装置 |
| DE102007058078A1 (de) * | 2007-12-03 | 2009-06-04 | Audi Ag | Verfahren und Vorrichtung zum aktiven Halten einer Fahrspur |
| JP5303185B2 (ja) * | 2008-05-20 | 2013-10-02 | 本田技研工業株式会社 | 車体流れ抑制装置 |
| JP5255988B2 (ja) * | 2008-10-22 | 2013-08-07 | 富士重工業株式会社 | 操舵支援装置 |
| US8170751B2 (en) * | 2008-12-17 | 2012-05-01 | GM Global Technology Operations LLC | Detection of driver intervention during a torque overlay operation in an electric power steering system |
| JP5282889B2 (ja) | 2009-01-13 | 2013-09-04 | トヨタ自動車株式会社 | 車両の操舵制御装置 |
| JP5434128B2 (ja) * | 2009-02-20 | 2014-03-05 | 日産自動車株式会社 | 運転操作支援装置、自動車及び運転操作支援方法 |
| KR101249177B1 (ko) | 2009-04-10 | 2013-04-02 | 도요타 지도샤(주) | 차량의 제어 장치 |
| DE102009022054A1 (de) * | 2009-05-20 | 2010-11-25 | Audi Ag | Verfahren zum Betrieb eines Fahrerassistenzsystems zur Querführung eines Kraftfahrzeugs und Kraftfahrzeug |
| JP5421019B2 (ja) * | 2009-08-03 | 2014-02-19 | トヨタ自動車株式会社 | 車両の走行支援装置 |
| DE102009048789A1 (de) * | 2009-10-08 | 2011-04-14 | Continental Teves Ag & Co. Ohg | Verfahren zur Querführung eines Kraftfahrzeugs |
| WO2011111121A1 (ja) * | 2010-03-12 | 2011-09-15 | トヨタ自動車株式会社 | 操舵支援装置 |
| CN103496399B (zh) * | 2010-03-12 | 2016-02-24 | 丰田自动车株式会社 | 转向辅助装置 |
| JP2012232704A (ja) | 2011-05-09 | 2012-11-29 | Jtekt Corp | 車両用操舵装置 |
| MX345320B (es) * | 2011-08-31 | 2017-01-25 | Toyota Motor Co Ltd | Dispositivo de control de conducción de vehículo. |
| EP2765046B1 (de) * | 2011-10-03 | 2020-02-12 | Toyota Jidosha Kabushiki Kaisha | Fahrhilfesystem für ein fahrzeug |
| KR101398223B1 (ko) * | 2012-11-06 | 2014-05-23 | 현대모비스 주식회사 | 차량의 차선 변경 제어 장치 및 그 제어 방법 |
| JP6036406B2 (ja) * | 2013-02-27 | 2016-11-30 | 株式会社ジェイテクト | 電動パワーステアリング装置 |
| DE102013211645A1 (de) * | 2013-06-20 | 2014-12-24 | Robert Bosch Gmbh | Ausweichassistent für Kraftfahrzeuge |
| DE102013012181A1 (de) * | 2013-07-22 | 2015-01-22 | GM Global Technology Operations LLC (n. d. Gesetzen des Staates Delaware) | Einrichtung zur Steuerung eines Fahrtrichtungsanzeigers |
| US9251709B2 (en) | 2013-11-25 | 2016-02-02 | Nissan North America, Inc. | Lateral vehicle contact warning system |
| EP3742339A1 (de) | 2013-12-04 | 2020-11-25 | Mobileye Vision Technologies Ltd. | System und verfahren zur durchführung eines mehrsegment-bremsprofils für ein fahrzeug |
| KR101534958B1 (ko) * | 2013-12-09 | 2015-07-07 | 현대자동차주식회사 | 차량의 자동 조향 제어 장치 및 방법 |
| JP6040945B2 (ja) * | 2014-02-14 | 2016-12-07 | 株式会社デンソー | 先行車選択装置 |
| JP6331637B2 (ja) * | 2014-04-18 | 2018-05-30 | トヨタ自動車株式会社 | 走行支援装置 |
| EP3158392B1 (de) | 2014-06-23 | 2020-03-04 | Honda Motor Co., Ltd. | System und verfahren zur reaktion auf einen fahrerzustand |
| JP2016215906A (ja) * | 2015-05-22 | 2016-12-22 | 株式会社ジェイテクト | 操舵支援装置 |
| JP6515823B2 (ja) * | 2016-01-14 | 2019-05-22 | 株式会社デンソー | 車線変更支援装置 |
| JP6323470B2 (ja) * | 2016-02-05 | 2018-05-16 | トヨタ自動車株式会社 | 車両制御システム |
| JP6493272B2 (ja) * | 2016-03-30 | 2019-04-03 | 株式会社デンソー | 走行支援装置 |
| US10977946B2 (en) * | 2017-10-19 | 2021-04-13 | Veoneer Us, Inc. | Vehicle lane change assist improvements |
| JP7189514B2 (ja) * | 2020-06-02 | 2022-12-14 | トヨタ自動車株式会社 | 制振制御装置及び制振制御方法 |
| JP7477236B2 (ja) * | 2020-08-28 | 2024-05-01 | 株式会社Subaru | 車線逸脱抑制制御装置 |
| US11772648B2 (en) | 2021-02-26 | 2023-10-03 | R.H. Sheppard Co. Inc. | Lane keep assistance based on rate of departure |
| DE102021105174B3 (de) * | 2021-03-04 | 2022-03-31 | Dr. Ing. H.C. F. Porsche Aktiengesellschaft | Verfahren und Vorrichtung zur Spurregelung eines Fahrzeugs |
| JP7705265B2 (ja) | 2021-03-31 | 2025-07-09 | 本田技研工業株式会社 | 車両制御装置及び車両、並びに、車両制御装置の制御方法及びプログラム |
| JP7631073B2 (ja) | 2021-03-31 | 2025-02-18 | 本田技研工業株式会社 | 車両制御装置及び車両、並びに、車両制御装置の制御方法及びプログラム |
| JP7648423B2 (ja) * | 2021-03-31 | 2025-03-18 | 本田技研工業株式会社 | 車両制御装置及び車両、並びに、車両制御装置の制御方法及びプログラム |
| US12252127B2 (en) * | 2022-04-19 | 2025-03-18 | Aptiv Technologies AG | Dynamically calculating lane change trajectories |
| CN115471813A (zh) * | 2022-08-25 | 2022-12-13 | 广州小马慧行科技有限公司 | 车辆加塞意图识别方法、装置、计算机设备和存储介质 |
Family Cites Families (15)
| Publication number | Priority date | Publication date | Assignee | Title |
|---|---|---|---|---|
| US5663879A (en) * | 1987-11-20 | 1997-09-02 | North American Philips Corporation | Method and apparatus for smooth control of a vehicle with automatic recovery for interference |
| JP2506146B2 (ja) * | 1988-03-29 | 1996-06-12 | 株式会社クボタ | ビ―ム光利用の作業車誘導装置 |
| JP3286334B2 (ja) * | 1992-01-17 | 2002-05-27 | 本田技研工業株式会社 | 移動体の制御装置 |
| JP3183966B2 (ja) * | 1992-04-20 | 2001-07-09 | マツダ株式会社 | 車両の走行制御装置 |
| AU4118393A (en) * | 1992-04-28 | 1993-11-29 | Regents Of The University Of Michigan, The | Human crabp-I and crabp-II |
| JP3057950B2 (ja) * | 1993-03-04 | 2000-07-04 | 三菱自動車工業株式会社 | 車両用操舵制御装置 |
| GB9317983D0 (en) * | 1993-08-28 | 1993-10-13 | Lucas Ind Plc | A driver assistance system for a vehicle |
| DE4332836C1 (de) * | 1993-09-27 | 1994-09-15 | Daimler Benz Ag | Vorrichtung zur spurhaltungsgeregelten Lenkung eines Fahrzeugs |
| US5648905A (en) * | 1993-12-07 | 1997-07-15 | Mazda Motor Corporation | Traveling control system for motor vehicle |
| JP3287117B2 (ja) * | 1994-07-05 | 2002-05-27 | 株式会社日立製作所 | 撮像装置を用いた車両用の環境認識装置 |
| JPH08282510A (ja) * | 1995-04-17 | 1996-10-29 | Koyo Seiko Co Ltd | パワーステアリング装置 |
| JP3574235B2 (ja) * | 1995-08-31 | 2004-10-06 | 本田技研工業株式会社 | 車両の操舵力補正装置 |
| JP3457441B2 (ja) * | 1995-10-31 | 2003-10-20 | 本田技研工業株式会社 | 自動走行車の制御方法 |
| US5708427A (en) * | 1996-04-18 | 1998-01-13 | Bush; E. William | Vehicle in-lane positional indication/control by phase detection of RF signals induced in completely-passive resonant-loop circuits buried along a road lane |
| US5742141A (en) * | 1996-06-04 | 1998-04-21 | Ford Motor Company | Semi-autonomous parking control system for a vehicle providing tactile feedback to a vehicle operator |
-
1996
- 1996-05-09 JP JP11487596A patent/JP3599144B2/ja not_active Expired - Fee Related
-
1997
- 1997-05-07 US US08/852,844 patent/US6092619A/en not_active Expired - Lifetime
- 1997-05-09 DE DE69736090T patent/DE69736090T2/de not_active Expired - Fee Related
- 1997-05-09 EP EP97303191A patent/EP0806336B1/de not_active Expired - Lifetime
Cited By (2)
| Publication number | Priority date | Publication date | Assignee | Title |
|---|---|---|---|---|
| EP4382398A1 (de) * | 2022-11-16 | 2024-06-12 | JTEKT Corporation | Lenksteuervorrichtung |
| US12391309B2 (en) | 2022-11-16 | 2025-08-19 | Jtekt Corporation | Steering control device |
Also Published As
| Publication number | Publication date |
|---|---|
| JPH09301206A (ja) | 1997-11-25 |
| US6092619A (en) | 2000-07-25 |
| JP3599144B2 (ja) | 2004-12-08 |
| DE69736090T2 (de) | 2007-04-12 |
| DE69736090D1 (de) | 2006-07-27 |
| EP0806336A3 (de) | 1999-10-20 |
| EP0806336A2 (de) | 1997-11-12 |
Similar Documents
| Publication | Publication Date | Title |
|---|---|---|
| EP0806336B1 (de) | Hilfsvorrichtung für das Lenken eines Fahrzeuges | |
| JP6652045B2 (ja) | 自動運転車両 | |
| EP1491429B1 (de) | Fahrhilfseinrichtung und -verfahren für ein Fahrzeug | |
| EP0782059B1 (de) | Vorrichtung für fahrerlose Fahrzeuge und Verfahren zu ihrer Steuerung | |
| EP1491979B1 (de) | Fahrhilfeanlage und Fahrhilfeverfahren für ein Fahrzeug | |
| EP1394015B1 (de) | Elektrische Servolenkung | |
| JP3246428B2 (ja) | 車線逸脱防止装置 | |
| US6263270B1 (en) | Vehicle steering control apparatus | |
| JPH09221052A (ja) | 車両衝突予防装置 | |
| JPH05131946A (ja) | 車両の後輪操舵制御装置 | |
| EP1346901B1 (de) | Automatisches Lenkregelsystem und -verfahren | |
| JP5380861B2 (ja) | 車線維持支援装置及び車線維持支援方法 | |
| JP3882318B2 (ja) | 車両の操舵制御装置 | |
| JP5380860B2 (ja) | 車線維持支援装置及び車線維持支援方法 | |
| JP4030535B2 (ja) | 車両用操舵支援装置 | |
| JP2005161946A (ja) | 操舵制御装置 | |
| JP3255052B2 (ja) | 車両の操舵制御装置 | |
| JPH10138941A (ja) | 車両の操舵制御装置 | |
| JPH07105499A (ja) | 自動車の走行制御装置 | |
| JP2004314967A (ja) | 車両用操舵支援装置 | |
| JP3575206B2 (ja) | 車両の操舵制御装置 | |
| JPH1199955A (ja) | 電動パワーステアリング装置 | |
| JPH1191607A (ja) | 車両の後輪操舵制御装置 | |
| US12377913B2 (en) | Driver assist system for vehicle | |
| JP2002337714A (ja) | 自動操舵装置 |
Legal Events
| Date | Code | Title | Description |
|---|---|---|---|
| PUAI | Public reference made under article 153(3) epc to a published international application that has entered the european phase |
Free format text: ORIGINAL CODE: 0009012 |
|
| AK | Designated contracting states |
Kind code of ref document: A2 Designated state(s): DE FR GB |
|
| PUAL | Search report despatched |
Free format text: ORIGINAL CODE: 0009013 |
|
| AK | Designated contracting states |
Kind code of ref document: A3 Designated state(s): DE FR GB |
|
| 17P | Request for examination filed |
Effective date: 19991119 |
|
| 17Q | First examination report despatched |
Effective date: 20011022 |
|
| GRAP | Despatch of communication of intention to grant a patent |
Free format text: ORIGINAL CODE: EPIDOSNIGR1 |
|
| GRAS | Grant fee paid |
Free format text: ORIGINAL CODE: EPIDOSNIGR3 |
|
| GRAA | (expected) grant |
Free format text: ORIGINAL CODE: 0009210 |
|
| AK | Designated contracting states |
Kind code of ref document: B1 Designated state(s): DE FR GB |
|
| REG | Reference to a national code |
Ref country code: GB Ref legal event code: FG4D |
|
| REF | Corresponds to: |
Ref document number: 69736090 Country of ref document: DE Date of ref document: 20060727 Kind code of ref document: P |
|
| ET | Fr: translation filed | ||
| PLBE | No opposition filed within time limit |
Free format text: ORIGINAL CODE: 0009261 |
|
| STAA | Information on the status of an ep patent application or granted ep patent |
Free format text: STATUS: NO OPPOSITION FILED WITHIN TIME LIMIT |
|
| PGFP | Annual fee paid to national office [announced via postgrant information from national office to epo] |
Ref country code: DE Payment date: 20070503 Year of fee payment: 11 |
|
| 26N | No opposition filed |
Effective date: 20070315 |
|
| PGFP | Annual fee paid to national office [announced via postgrant information from national office to epo] |
Ref country code: GB Payment date: 20070509 Year of fee payment: 11 |
|
| PGFP | Annual fee paid to national office [announced via postgrant information from national office to epo] |
Ref country code: FR Payment date: 20070510 Year of fee payment: 11 |
|
| GBPC | Gb: european patent ceased through non-payment of renewal fee |
Effective date: 20080509 |
|
| REG | Reference to a national code |
Ref country code: FR Ref legal event code: ST Effective date: 20090119 |
|
| PG25 | Lapsed in a contracting state [announced via postgrant information from national office to epo] |
Ref country code: FR Free format text: LAPSE BECAUSE OF NON-PAYMENT OF DUE FEES Effective date: 20080602 Ref country code: DE Free format text: LAPSE BECAUSE OF NON-PAYMENT OF DUE FEES Effective date: 20081202 |
|
| PG25 | Lapsed in a contracting state [announced via postgrant information from national office to epo] |
Ref country code: GB Free format text: LAPSE BECAUSE OF NON-PAYMENT OF DUE FEES Effective date: 20080509 |