EP0733798B1 - Kraftstoff-Einspritzvorrichtung nach dem Festkörper-Energiespeicherprinzip für Brennkraftmaschinen - Google Patents

Kraftstoff-Einspritzvorrichtung nach dem Festkörper-Energiespeicherprinzip für Brennkraftmaschinen Download PDF

Info

Publication number
EP0733798B1
EP0733798B1 EP96109438A EP96109438A EP0733798B1 EP 0733798 B1 EP0733798 B1 EP 0733798B1 EP 96109438 A EP96109438 A EP 96109438A EP 96109438 A EP96109438 A EP 96109438A EP 0733798 B1 EP0733798 B1 EP 0733798B1
Authority
EP
European Patent Office
Prior art keywords
valve
cylinder
bore
tappet
piston
Prior art date
Legal status (The legal status is an assumption and is not a legal conclusion. Google has not performed a legal analysis and makes no representation as to the accuracy of the status listed.)
Expired - Lifetime
Application number
EP96109438A
Other languages
English (en)
French (fr)
Other versions
EP0733798A3 (de
EP0733798A2 (de
Inventor
Wolfgang Dr. Heimberg
Wolfram Hellmich
Pau Malatinszky
Franz Kögl
Current Assignee (The listed assignees may be inaccurate. Google has not performed a legal analysis and makes no representation or warranty as to the accuracy of the list.)
Ficht GmbH and Co KG
Original Assignee
Ficht GmbH and Co KG
Priority date (The priority date is an assumption and is not a legal conclusion. Google has not performed a legal analysis and makes no representation as to the accuracy of the date listed.)
Filing date
Publication date
Priority claimed from DE4206817A external-priority patent/DE4206817C2/de
Application filed by Ficht GmbH and Co KG filed Critical Ficht GmbH and Co KG
Publication of EP0733798A2 publication Critical patent/EP0733798A2/de
Publication of EP0733798A3 publication Critical patent/EP0733798A3/de
Application granted granted Critical
Publication of EP0733798B1 publication Critical patent/EP0733798B1/de
Anticipated expiration legal-status Critical
Expired - Lifetime legal-status Critical Current

Links

Images

Classifications

    • FMECHANICAL ENGINEERING; LIGHTING; HEATING; WEAPONS; BLASTING
    • F02COMBUSTION ENGINES; HOT-GAS OR COMBUSTION-PRODUCT ENGINE PLANTS
    • F02MSUPPLYING COMBUSTION ENGINES IN GENERAL WITH COMBUSTIBLE MIXTURES OR CONSTITUENTS THEREOF
    • F02M69/00Low-pressure fuel-injection apparatus ; Apparatus with both continuous and intermittent injection; Apparatus injecting different types of fuel
    • F02M69/46Details, component parts or accessories not provided for in, or of interest apart from, the apparatus covered by groups F02M69/02 - F02M69/44
    • F02M69/462Arrangement of fuel conduits, e.g. with valves for maintaining pressure in the pipes after the engine being shut-down
    • FMECHANICAL ENGINEERING; LIGHTING; HEATING; WEAPONS; BLASTING
    • F01MACHINES OR ENGINES IN GENERAL; ENGINE PLANTS IN GENERAL; STEAM ENGINES
    • F01MLUBRICATING OF MACHINES OR ENGINES IN GENERAL; LUBRICATING INTERNAL COMBUSTION ENGINES; CRANKCASE VENTILATING
    • F01M1/00Pressure lubrication
    • F01M1/02Pressure lubrication using lubricating pumps
    • FMECHANICAL ENGINEERING; LIGHTING; HEATING; WEAPONS; BLASTING
    • F02COMBUSTION ENGINES; HOT-GAS OR COMBUSTION-PRODUCT ENGINE PLANTS
    • F02DCONTROLLING COMBUSTION ENGINES
    • F02D33/00Controlling delivery of fuel or combustion-air, not otherwise provided for
    • F02D33/003Controlling the feeding of liquid fuel from storage containers to carburettors or fuel-injection apparatus ; Failure or leakage prevention; Diagnosis or detection of failure; Arrangement of sensors in the fuel system; Electric wiring; Electrostatic discharge
    • F02D33/006Controlling the feeding of liquid fuel from storage containers to carburettors or fuel-injection apparatus ; Failure or leakage prevention; Diagnosis or detection of failure; Arrangement of sensors in the fuel system; Electric wiring; Electrostatic discharge depending on engine operating conditions, e.g. start, stop or ambient conditions
    • FMECHANICAL ENGINEERING; LIGHTING; HEATING; WEAPONS; BLASTING
    • F02COMBUSTION ENGINES; HOT-GAS OR COMBUSTION-PRODUCT ENGINE PLANTS
    • F02DCONTROLLING COMBUSTION ENGINES
    • F02D41/00Electrical control of supply of combustible mixture or its constituents
    • F02D41/20Output circuits, e.g. for controlling currents in command coils
    • FMECHANICAL ENGINEERING; LIGHTING; HEATING; WEAPONS; BLASTING
    • F02COMBUSTION ENGINES; HOT-GAS OR COMBUSTION-PRODUCT ENGINE PLANTS
    • F02MSUPPLYING COMBUSTION ENGINES IN GENERAL WITH COMBUSTIBLE MIXTURES OR CONSTITUENTS THEREOF
    • F02M37/00Apparatus or systems for feeding liquid fuel from storage containers to carburettors or fuel-injection apparatus; Arrangements for purifying liquid fuel specially adapted for, or arranged on, internal-combustion engines
    • F02M37/0047Layout or arrangement of systems for feeding fuel
    • FMECHANICAL ENGINEERING; LIGHTING; HEATING; WEAPONS; BLASTING
    • F02COMBUSTION ENGINES; HOT-GAS OR COMBUSTION-PRODUCT ENGINE PLANTS
    • F02MSUPPLYING COMBUSTION ENGINES IN GENERAL WITH COMBUSTIBLE MIXTURES OR CONSTITUENTS THEREOF
    • F02M37/00Apparatus or systems for feeding liquid fuel from storage containers to carburettors or fuel-injection apparatus; Arrangements for purifying liquid fuel specially adapted for, or arranged on, internal-combustion engines
    • F02M37/04Feeding by means of driven pumps
    • F02M37/08Feeding by means of driven pumps electrically driven
    • FMECHANICAL ENGINEERING; LIGHTING; HEATING; WEAPONS; BLASTING
    • F02COMBUSTION ENGINES; HOT-GAS OR COMBUSTION-PRODUCT ENGINE PLANTS
    • F02MSUPPLYING COMBUSTION ENGINES IN GENERAL WITH COMBUSTIBLE MIXTURES OR CONSTITUENTS THEREOF
    • F02M39/00Arrangements of fuel-injection apparatus with respect to engines; Pump drives adapted to such arrangements
    • F02M39/005Arrangements of fuel feed-pumps with respect to fuel injection apparatus
    • FMECHANICAL ENGINEERING; LIGHTING; HEATING; WEAPONS; BLASTING
    • F02COMBUSTION ENGINES; HOT-GAS OR COMBUSTION-PRODUCT ENGINE PLANTS
    • F02MSUPPLYING COMBUSTION ENGINES IN GENERAL WITH COMBUSTIBLE MIXTURES OR CONSTITUENTS THEREOF
    • F02M51/00Fuel-injection apparatus characterised by being operated electrically
    • F02M51/04Pumps peculiar thereto
    • FMECHANICAL ENGINEERING; LIGHTING; HEATING; WEAPONS; BLASTING
    • F02COMBUSTION ENGINES; HOT-GAS OR COMBUSTION-PRODUCT ENGINE PLANTS
    • F02MSUPPLYING COMBUSTION ENGINES IN GENERAL WITH COMBUSTIBLE MIXTURES OR CONSTITUENTS THEREOF
    • F02M55/00Fuel-injection apparatus characterised by their fuel conduits or their venting means; Arrangements of conduits between fuel tank and pump F02M37/00
    • FMECHANICAL ENGINEERING; LIGHTING; HEATING; WEAPONS; BLASTING
    • F02COMBUSTION ENGINES; HOT-GAS OR COMBUSTION-PRODUCT ENGINE PLANTS
    • F02MSUPPLYING COMBUSTION ENGINES IN GENERAL WITH COMBUSTIBLE MIXTURES OR CONSTITUENTS THEREOF
    • F02M55/00Fuel-injection apparatus characterised by their fuel conduits or their venting means; Arrangements of conduits between fuel tank and pump F02M37/00
    • F02M55/007Venting means
    • FMECHANICAL ENGINEERING; LIGHTING; HEATING; WEAPONS; BLASTING
    • F02COMBUSTION ENGINES; HOT-GAS OR COMBUSTION-PRODUCT ENGINE PLANTS
    • F02MSUPPLYING COMBUSTION ENGINES IN GENERAL WITH COMBUSTIBLE MIXTURES OR CONSTITUENTS THEREOF
    • F02M55/00Fuel-injection apparatus characterised by their fuel conduits or their venting means; Arrangements of conduits between fuel tank and pump F02M37/00
    • F02M55/02Conduits between injection pumps and injectors, e.g. conduits between pump and common-rail or conduits between common-rail and injectors
    • FMECHANICAL ENGINEERING; LIGHTING; HEATING; WEAPONS; BLASTING
    • F02COMBUSTION ENGINES; HOT-GAS OR COMBUSTION-PRODUCT ENGINE PLANTS
    • F02MSUPPLYING COMBUSTION ENGINES IN GENERAL WITH COMBUSTIBLE MIXTURES OR CONSTITUENTS THEREOF
    • F02M57/00Fuel-injectors combined or associated with other devices
    • F02M57/02Injectors structurally combined with fuel-injection pumps
    • FMECHANICAL ENGINEERING; LIGHTING; HEATING; WEAPONS; BLASTING
    • F02COMBUSTION ENGINES; HOT-GAS OR COMBUSTION-PRODUCT ENGINE PLANTS
    • F02MSUPPLYING COMBUSTION ENGINES IN GENERAL WITH COMBUSTIBLE MIXTURES OR CONSTITUENTS THEREOF
    • F02M57/00Fuel-injectors combined or associated with other devices
    • F02M57/02Injectors structurally combined with fuel-injection pumps
    • F02M57/022Injectors structurally combined with fuel-injection pumps characterised by the pump drive
    • F02M57/027Injectors structurally combined with fuel-injection pumps characterised by the pump drive electric
    • FMECHANICAL ENGINEERING; LIGHTING; HEATING; WEAPONS; BLASTING
    • F02COMBUSTION ENGINES; HOT-GAS OR COMBUSTION-PRODUCT ENGINE PLANTS
    • F02MSUPPLYING COMBUSTION ENGINES IN GENERAL WITH COMBUSTIBLE MIXTURES OR CONSTITUENTS THEREOF
    • F02M59/00Pumps specially adapted for fuel-injection and not provided for in groups F02M39/00 -F02M57/00, e.g. rotary cylinder-block type of pumps
    • F02M59/38Pumps characterised by adaptations to special uses or conditions
    • FMECHANICAL ENGINEERING; LIGHTING; HEATING; WEAPONS; BLASTING
    • F02COMBUSTION ENGINES; HOT-GAS OR COMBUSTION-PRODUCT ENGINE PLANTS
    • F02MSUPPLYING COMBUSTION ENGINES IN GENERAL WITH COMBUSTIBLE MIXTURES OR CONSTITUENTS THEREOF
    • F02M61/00Fuel-injectors not provided for in groups F02M39/00 - F02M57/00 or F02M67/00
    • F02M61/04Fuel-injectors not provided for in groups F02M39/00 - F02M57/00 or F02M67/00 having valves, e.g. having a plurality of valves in series
    • F02M61/047Fuel-injectors not provided for in groups F02M39/00 - F02M57/00 or F02M67/00 having valves, e.g. having a plurality of valves in series the valves being formed by deformable nozzle parts, e.g. flexible plates or discs with fuel discharge orifices
    • FMECHANICAL ENGINEERING; LIGHTING; HEATING; WEAPONS; BLASTING
    • F02COMBUSTION ENGINES; HOT-GAS OR COMBUSTION-PRODUCT ENGINE PLANTS
    • F02MSUPPLYING COMBUSTION ENGINES IN GENERAL WITH COMBUSTIBLE MIXTURES OR CONSTITUENTS THEREOF
    • F02M61/00Fuel-injectors not provided for in groups F02M39/00 - F02M57/00 or F02M67/00
    • F02M61/04Fuel-injectors not provided for in groups F02M39/00 - F02M57/00 or F02M67/00 having valves, e.g. having a plurality of valves in series
    • F02M61/08Fuel-injectors not provided for in groups F02M39/00 - F02M57/00 or F02M67/00 having valves, e.g. having a plurality of valves in series the valves opening in direction of fuel flow
    • FMECHANICAL ENGINEERING; LIGHTING; HEATING; WEAPONS; BLASTING
    • F02COMBUSTION ENGINES; HOT-GAS OR COMBUSTION-PRODUCT ENGINE PLANTS
    • F02MSUPPLYING COMBUSTION ENGINES IN GENERAL WITH COMBUSTIBLE MIXTURES OR CONSTITUENTS THEREOF
    • F02M63/00Other fuel-injection apparatus having pertinent characteristics not provided for in groups F02M39/00 - F02M57/00 or F02M67/00; Details, component parts, or accessories of fuel-injection apparatus, not provided for in, or of interest apart from, the apparatus of groups F02M39/00 - F02M61/00 or F02M67/00; Combination of fuel pump with other devices, e.g. lubricating oil pump
    • F02M63/06Use of pressure wave generated by fuel inertia to open injection valves
    • FMECHANICAL ENGINEERING; LIGHTING; HEATING; WEAPONS; BLASTING
    • F02COMBUSTION ENGINES; HOT-GAS OR COMBUSTION-PRODUCT ENGINE PLANTS
    • F02MSUPPLYING COMBUSTION ENGINES IN GENERAL WITH COMBUSTIBLE MIXTURES OR CONSTITUENTS THEREOF
    • F02M69/00Low-pressure fuel-injection apparatus ; Apparatus with both continuous and intermittent injection; Apparatus injecting different types of fuel
    • F02M69/16Low-pressure fuel-injection apparatus ; Apparatus with both continuous and intermittent injection; Apparatus injecting different types of fuel characterised by means for metering continuous fuel flow to injectors or means for varying fuel pressure upstream of continuously or intermittently operated injectors
    • F02M69/18Low-pressure fuel-injection apparatus ; Apparatus with both continuous and intermittent injection; Apparatus injecting different types of fuel characterised by means for metering continuous fuel flow to injectors or means for varying fuel pressure upstream of continuously or intermittently operated injectors the means being metering valves throttling fuel passages to injectors or by-pass valves throttling overflow passages, the metering valves being actuated by a device responsive to the engine working parameters, e.g. engine load, speed, temperature or quantity of air
    • F02M69/24Low-pressure fuel-injection apparatus ; Apparatus with both continuous and intermittent injection; Apparatus injecting different types of fuel characterised by means for metering continuous fuel flow to injectors or means for varying fuel pressure upstream of continuously or intermittently operated injectors the means being metering valves throttling fuel passages to injectors or by-pass valves throttling overflow passages, the metering valves being actuated by a device responsive to the engine working parameters, e.g. engine load, speed, temperature or quantity of air the device comprising a member for transmitting the movement of the air throttle valve actuated by the operator to the valves controlling fuel passages
    • FMECHANICAL ENGINEERING; LIGHTING; HEATING; WEAPONS; BLASTING
    • F02COMBUSTION ENGINES; HOT-GAS OR COMBUSTION-PRODUCT ENGINE PLANTS
    • F02MSUPPLYING COMBUSTION ENGINES IN GENERAL WITH COMBUSTIBLE MIXTURES OR CONSTITUENTS THEREOF
    • F02M69/00Low-pressure fuel-injection apparatus ; Apparatus with both continuous and intermittent injection; Apparatus injecting different types of fuel
    • F02M69/30Low-pressure fuel-injection apparatus ; Apparatus with both continuous and intermittent injection; Apparatus injecting different types of fuel characterised by means for facilitating the starting-up or idling of engines or by means for enriching fuel charge, e.g. below operational temperatures or upon high power demand of engines
    • F02M69/34Low-pressure fuel-injection apparatus ; Apparatus with both continuous and intermittent injection; Apparatus injecting different types of fuel characterised by means for facilitating the starting-up or idling of engines or by means for enriching fuel charge, e.g. below operational temperatures or upon high power demand of engines with an auxiliary fuel circuit supplying fuel to the engine, e.g. with the fuel pump outlet being directly connected to injection nozzles
    • FMECHANICAL ENGINEERING; LIGHTING; HEATING; WEAPONS; BLASTING
    • F02COMBUSTION ENGINES; HOT-GAS OR COMBUSTION-PRODUCT ENGINE PLANTS
    • F02MSUPPLYING COMBUSTION ENGINES IN GENERAL WITH COMBUSTIBLE MIXTURES OR CONSTITUENTS THEREOF
    • F02M69/00Low-pressure fuel-injection apparatus ; Apparatus with both continuous and intermittent injection; Apparatus injecting different types of fuel
    • F02M69/46Details, component parts or accessories not provided for in, or of interest apart from, the apparatus covered by groups F02M69/02 - F02M69/44
    • FMECHANICAL ENGINEERING; LIGHTING; HEATING; WEAPONS; BLASTING
    • F02COMBUSTION ENGINES; HOT-GAS OR COMBUSTION-PRODUCT ENGINE PLANTS
    • F02DCONTROLLING COMBUSTION ENGINES
    • F02D41/00Electrical control of supply of combustible mixture or its constituents
    • F02D41/20Output circuits, e.g. for controlling currents in command coils
    • F02D2041/202Output circuits, e.g. for controlling currents in command coils characterised by the control of the circuit
    • F02D2041/2058Output circuits, e.g. for controlling currents in command coils characterised by the control of the circuit using information of the actual current value
    • FMECHANICAL ENGINEERING; LIGHTING; HEATING; WEAPONS; BLASTING
    • F02COMBUSTION ENGINES; HOT-GAS OR COMBUSTION-PRODUCT ENGINE PLANTS
    • F02DCONTROLLING COMBUSTION ENGINES
    • F02D41/00Electrical control of supply of combustible mixture or its constituents
    • F02D41/20Output circuits, e.g. for controlling currents in command coils
    • F02D2041/2068Output circuits, e.g. for controlling currents in command coils characterised by the circuit design or special circuit elements
    • F02D2041/2075Type of transistors or particular use thereof
    • FMECHANICAL ENGINEERING; LIGHTING; HEATING; WEAPONS; BLASTING
    • F02COMBUSTION ENGINES; HOT-GAS OR COMBUSTION-PRODUCT ENGINE PLANTS
    • F02MSUPPLYING COMBUSTION ENGINES IN GENERAL WITH COMBUSTIBLE MIXTURES OR CONSTITUENTS THEREOF
    • F02M37/00Apparatus or systems for feeding liquid fuel from storage containers to carburettors or fuel-injection apparatus; Arrangements for purifying liquid fuel specially adapted for, or arranged on, internal-combustion engines
    • F02M37/04Feeding by means of driven pumps
    • F02M37/08Feeding by means of driven pumps electrically driven
    • F02M2037/085Electric circuits therefor
    • FMECHANICAL ENGINEERING; LIGHTING; HEATING; WEAPONS; BLASTING
    • F02COMBUSTION ENGINES; HOT-GAS OR COMBUSTION-PRODUCT ENGINE PLANTS
    • F02MSUPPLYING COMBUSTION ENGINES IN GENERAL WITH COMBUSTIBLE MIXTURES OR CONSTITUENTS THEREOF
    • F02M2200/00Details of fuel-injection apparatus, not otherwise provided for
    • F02M2200/24Fuel-injection apparatus with sensors
    • FMECHANICAL ENGINEERING; LIGHTING; HEATING; WEAPONS; BLASTING
    • F02COMBUSTION ENGINES; HOT-GAS OR COMBUSTION-PRODUCT ENGINE PLANTS
    • F02MSUPPLYING COMBUSTION ENGINES IN GENERAL WITH COMBUSTIBLE MIXTURES OR CONSTITUENTS THEREOF
    • F02M2200/00Details of fuel-injection apparatus, not otherwise provided for
    • F02M2200/40Fuel-injection apparatus with fuel accumulators, e.g. a fuel injector having an integrated fuel accumulator

Definitions

  • the invention relates to a device for injecting Fuel for internal combustion engines in the preamble of the claim 1 specified Art.
  • Injection devices their electrically operated reciprocating pumps according to the so-called solid-state energy storage principle work, have a delivery piston or cylinder on accelerated along a certain path almost without resistance, usually fuel is moved before the delivery pressure is built up to spray the fuel through the injector is required. That way before the actual pressure build-up required for injection kinetic energy absorbed or stored, which then suddenly converted into a pressure increase in the fuel becomes.
  • a so-called pump-nozzle element known from DD-PS 120 514, that according to the solid-state energy storage principle works, has the receiving piston of the injection pump Fuel delivery chamber axially parallel in a first section arranged grooves in the inner wall through which Fuel can drain to the back of the delivery piston, though the delivery piston starts to move without it becoming one noticeable pressure build-up in the fuel.
  • the subsequent second section of the fuel delivery chamber is the actual pressure chamber that has no grooves. If the accelerated delivery piston enters this pressure chamber, the incompressible fuel suddenly slows it down, whereby the stored kinetic energy into one Pressure surge is converted by the resistance of the injector is overcome so that it can be used to cumshot Fuel is coming.
  • the disadvantage here is that when immersed of the delivery piston in the second section of the delivery chamber due to unfavorable gap conditions, namely one relative large gap width and a relatively small gap length, noticeable high pressure drops occur, in particular the possible Reduce the speed and pressure level of the pressure build-up and thus adversely affect the spraying process.
  • the pressure drops are caused by fuel flowing out of the pressure chamber into the pressure antechamber (first section of the fuel delivery chamber) caused.
  • this disadvantage should be avoided, by storing an impact body in the pressure chamber of the delivery cylinder on the piston accelerated almost without resistance hits, so that the pressure loss during pressure build-up by a relatively large gap length despite a relatively large gap width (large Manufacturing tolerances) between the impact body and the pressure chamber inner wall surface can be kept reasonably small.
  • the disadvantage here is that it is due to the impact process there is a high level of wear on the bodies that meet.
  • the impact body is caused by the impact in longitudinal vibrations offset, which are transferred to the fuel and there the injection process as high-frequency pressure vibrations to disturb.
  • a particular disadvantage of these known solid-state energy storage injection devices is that the injection process is controllable only to a very limited extent, that is to say only very limitedly can be adapted to the load conditions of the engine.
  • a cross hole in the pump cylinder allows fuel to drain to the back of the Cylinders when storing energy.
  • Driving over the front edge of the piston with the bore leads to pressure build-up and thus to spraying of fuel. In this case, too, there are high gap losses when pressure builds up.
  • the object of the invention is an inexpensive, easy to manufacture Device for injecting fuel at the beginning to create the type mentioned, with the noticeable loss of pressure wear-free during pressure build-up and precisely controllable depending on the load Fuel can be injected and in particular is suitable for high-speed internal combustion engines.
  • the fuel injection device has a Reciprocating pump, in which a valve is integrated, which the uninterrupted acceleration interrupts, so that a pressure surge is generated with which fuel is sprayed.
  • the valve is outside the leading liquid-tight contact area between a piston element and a piston cylinder Reciprocating pump arranged so that without noticeable pressure drops the pressure can be built up without wear, depending on the load precisely controllable fuel is sprayable and the entire device is very simple.
  • Figure 1 shows a compact design of the invention electrically operated piston pump with integrated stop valve. It is in a cylindrical multi-part housing 200 in one of an outer jacket 200a and a cylindrical inner jacket 200b and a tank side End wall 200c and a pressure line end wall 200d delimited interior 202, a coil 201 is arranged.
  • the from Inner jacket 200b surrounding cylindrical interior 202 of the housing 200 is extended by a radially inward Ring 203 in a tank side and a pressure line side Interior area divided.
  • Pressure line side is against Ring edge of the ring 203 a positive and firm in this Set inside ring bead 204 of a piston 205, the piston 205 spacing the ring opening 206 of the ring 203 reaches through and into the tank-side area of the interior 202 protrudes.
  • the piston 205 is from a through bore 207 penetrates, which extends in the tank-side end region of the piston is formed and there stores a valve 208, which by a Coil spring 209 towards the tank side for the closed position is pressed against a valve seat 209a, through with the Exposure to pressure from the tank side opened can be.
  • a pump cylinder 210 of the reciprocating pump On the inside of the tank 202 of the interior 202 located part of the piston 205 sits positively and slidably a pump cylinder 210 of the reciprocating pump, which by a one end on the ring 203 and the other end on a ring step 212 of the cylinder 210 supporting coil spring 211 with its Tank-side end face 214 against a ring step 213 in Inner space 202 is pressed, with a protruding from the end face 214 Valve nozzle 215 with a radial distance a bit in the in this area radially narrowed interior 202a protrudes and where the end face of the cylinder 210 in the pressure line side Distance from the ring 203 is arranged and thus a movement space is created for the cylinder 210.
  • the form-fitting on the Inner walls of the interior 202 are guided cylinders 210 has axially parallel, frontal open longitudinal grooves 216 in the Lateral surface, the function of which is explained below.
  • the continuous through the pump cylinder 210, the piston 205 receiving bore 217 is stored on the tank side of the piston 205 upstream tappet valve, the tappet disc 218 at a distance from the face surface of the piston 205 in a short Hole extension is arranged and its pushrod 219th the narrowed bore 217a in the valve stub 215, against the Supporting inner wall of the bore 217a, reaches through and into the narrowed interior 202a protrudes.
  • the plunger stem 219 still on Extends beyond the plate 220 and against the tank side Bottom surface 222 of the interior 202a abuts.
  • the pestle handle 219 chosen so long that the plunger plate 218 from its Valve seat, the pressure line side opening 223 of the narrowed Bore 217a is lifted off, so that a certain gap "X" is formed whose meaning and purpose is explained below.
  • a coil spring 224 stabilizes this position of the tappet valve in the shown idle position of the reciprocating pump, in which the spring 224 ends on the end face 214 of the Cylinder 210 and otherwise supported against the plate 220.
  • the valve chamber 226 is located with one leading to the fuel tank Fuel line in connection (not shown); to the end wall 200d on the pressure line side or to an extended one A pressure line is attached to the inner wall 200b (not shown), which leads to the spray valve.
  • Fuel line in connection (not shown); to the end wall 200d on the pressure line side or to an extended one
  • a pressure line is attached to the inner wall 200b (not shown), which leads to the spray valve.
  • the arrows drawn in FIG. 13 indicate the path of the fuel on.
  • the reciprocating pump shown in Figure 1 works like follows.
  • the cylinder 210 By energizing the coil 201, the cylinder 210 almost from the shown rest position towards the pressure line accelerated without resistance, from room 202 over the Grooves 216 and from the bore 217 or the tappet plate space Fuel flows out toward interior 202a.
  • the accelerated Movement ends with the impact of the valve seat 223 the valve plate 218 abruptly, so that the stored energy of the Cylinder 210 on the fuel in the plunger vestibule is transmitted.
  • the valve 208 is opened and the Pressure on the one in the bore 207 or in the pressure line Fuel propagated, causing a splash of Fuel is injected through the injector. If the excitement is not yet switched off, fuel is sprayed off for as long as how the cylinder is moved.
  • the tappet valve 218, 219 is taken along by the cylinder 210 and a Vacuum in the interior 202, 202a and in the holes 225 and the anteroom of the valve chamber delimited by valve 229 226 so that the valve 229 is opened.
  • the fuel flows coming from the tank through the peripheral grooves 230 in the valve plate 229, the anteroom of the valve chamber 226, the bores 225 and the Holes 221 in the plate 220 in the interior 202a and over the Grooves 216 in the interior 202.
  • the spring 211 After switching off the excitation the spring 211 returns the cylinder to its rest or home position pushed back, previously the pushrod 219 hits against the bottom wall 222 and opens the tappet valve is so that fuel through the space between the Tappet stem and bore 217a in the plunger plate vestibule 217 can flow.
  • the valve 208 remains closed. It works as a standing pressure valve and stops in between Injector (not shown) and the valve plate 208 located, filled with fuel a stand pressure in the Upright fuel, e.g. is higher than the vapor pressure of the Liquid at maximum temperature, so that Blistering can be prevented.
  • Piston 205 formed integrally with the end wall 200d and the standing pressure valve 208, 209, which in a pipe socket 208a is housed, covers the mouth of the discharge line bore 207 going through the piston 205.
  • the sliding pump cylinder 210 acting as an anchor is for one simple possibility of mounting the valve lifter 218, 219 constructed in several parts. Since the multiple parts are not essential to the invention is the structure of the cylinder 210 is not closer described.
  • the plunger stem 219 is relatively short and can be over the tank-side end ring surface 214 of the cylinder 210 only by that Protrude valve clearance.
  • the end ring surface 214 abuts in the area the end wall 200c against a plastic block stored there 231, which has through holes 232, the peripheral open into grooves 233, which with the tank-side interior 202 are connected, with 202 holes from the tank-side interior 234 to the enlarged bore area of bore 217 in Guide cylinder 210.
  • the holes 232 open into the tank leading axial valve chamber 226, which in a pipe socket 226a is housed.
  • the tappet valve 218, 219 not spring loaded. It works due to inertial forces, the plunger stem approximately form-fitting in the narrowed bore 217a sits.
  • the tappet valve is positioned by the on the tappet plate 218 acting pressure prevailing in rooms 202, 217, 207 pressed against the plastic block 231. If the cylinder 210 accelerates, the tappet valve remains in this position until it is taken away from the valve seat 223. With the return movement of the armature cylinder 210, the plunger stem 219 abuts against the Plastic block 231 so that the tappet valve is back in its shown starting position arrives.
  • the hole extension expediently forms the hole 217, in which the tappet plate 218 is received, on the pressure line side a ring stage 235, which is in the rest position of the Tappet valve only a short distance in front of tappet plate 218 is located and against which the plunger plate 218 hits when the Tappet due to inertia during the return movement of the cylinder 210 lifts off the valve seat and / or the valve from the plastic block 231 rebounded during the return movement of the cylinder 210 should be.
  • Recesses 235a In the end face of the ring step 235 are Recesses 235a introduced, which has an unimpeded flow ensure the fuel. In this way is the rest position of the tappet valve ensured with simple means.
  • the acceleration of the armature cylinder 210 flows in this embodiment of the injection pump fuel from the pressure line-side interior 202 via the grooves 216 in the Tank-side interior 202 and from the bores 207, 217 through the recesses 235a past the plunger plate 218 through the Valve seat opening in the bores 235 also in the tank side Interior 202.
  • the displacement of the fuel is by the closing of the tappet valve 218, 219 suddenly interrupted, whereby the intended pressure surge is achieved.
  • With the return movement of the armature cylinder 210 opens the tappet valve 218, 219 and the fuel flows in the opposite direction.
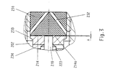
  • the embodiment of the reciprocating pump according to FIGS. 2 and 3 can with a simply constructed effective anchor damping device be provided, which is shown in Fig. 4.
  • the plunger stem 219 has one in its free end region Flange ring 219a on which the end face 214 a piece overlaps laterally and lie against the end face 214 can.
  • Flange ring 219a In the surface of the plastic block 231 is one Flange ring 219a introduced corresponding recess 231a, in which the flange ring 219a fits approximately form-fitting, so that a piston-cylinder-shaped hydraulic damping device becomes.
  • the thickness of the flange ring 219a is expediently somewhat executed greater than the depth of the recess 231a, so that the Front ring surface 214 in the rest position of the armature cylinder 210 remains at a distance from the surface of the plastic block 231 and support bars are not required.
  • the pressure line side Interior 202 leads to the outside and a nozzle on the outside 237 is set with a through hole 238.
  • a bore 236 the pressure line side Interior 202 leads to the outside and a nozzle on the outside 237 is set with a through hole 238.
  • Through the Bore 236 and drain connector 237 can e.g. during the Start phase of the pump or motor fuel from the armature cylinder 210 are pumped out, so that the pump and / or the fuel Supply line of air bubbles can be flushed out.
  • the Sequence 236, 237 can also during the injection activity the pump is flushed with fuel and thereby dissipates heat, as well as blistering can be avoided.
  • cylinder 210 acts as a piston-like anchor element, that is liquid-tight in the inner cylinder 200b becomes.
  • Injection pump 1 One similar to the injection pump shown in FIG. 1 Injection pump 1 is shown in Fig. 5, the same Parts have the same reference numbers.
  • the piston partially seated in the armature cylinder bore 217 205a is not fastened to the end wall 200d on the pressure line side, but axially movable and part of the spray valve device 3.
  • the injection valve 3 has a valve cap 3b, which in the front wall 200d of the housing 200 in the injection valve side Interior 202 is screwed gripping.
  • the valve cap has an injection nozzle hole in the center 3d.
  • the piston 205a covers in its rest position with a Diameter reduced face 205b the injector bore 3a from.
  • the reduced surface area 205b goes with it a truncated cone 205c in the cylindrical part of the piston 205a about.
  • the piston 205a is in the armature cylinder bore 217 from a compression spring 240 against the injector bore 3d pressed, the compression spring 240 against another in the intermediate cylinder 241 arranged in the armature cylinder bore 217 is supported, which bore 217 in an injector side and into a tank-side area.
  • the anchor cylinder in the tank-side area of the interior 202 Grooves on, the groove webs on the inner wall of the interior 202 and there are guides for the armature cylinder 210 form.
  • the pressure surge is applied to the cone surface of the truncated cone 205c transfers and lifts the piston 205 against the pressure of the spring 240 from the nozzle 3a so that fuel is hosed.
  • room 202a and a negative pressure in the tank-side interior 202 which also affects the Piston 205 acts, but is much less than the spring force the spring is 240, so that the piston is unaffected remains.
  • the negative pressure opens the valve 229, so that Fuel is sucked up.
  • the valve 229 closes due to the spring force of spring 228 again when the return movement the armature cylinder 210 begins, so that then by the armature-cylinder movement Fuel into the spaces of bore 217 and Interior 202 is pushed.
  • the function of the valve 292 corresponds the function of the same valve 229 in the Embodiment of the injection pump 1 according to FIG. 13.
  • FIG. 6 Another embodiment of the injection pump according to the invention 1, in which the injection nozzle 3 directly in the end wall 200d is housed in the housing 200 of the injection pump 1, results from Fig. 6. This embodiment is similar to that of Fig. 5, which is why the same parts with the same reference numerals Marked are.
  • valve cap 3b forms a valve seat 3c for a tappet valve 244, the valve plate 245 against the outside the valve seat 3c is pulled, and its tappet stem 246 the the valve seat 3c following cap bore 3d free or through Ridges 247 reach radially supported and freely through the Armature cylinder bore 217 goes and just before the expanded area the bore 217 ends in which the tappet plate 218 des Tappet valve 218, 219 is added.
  • This injection pump which has no separate piston, works in contrast to the embodiment according to FIG. 5 as follows. If the tappet valve 218, 219 from the valve seat of the armature cylinder 210 is taken, the sudden pressure build-up in the fuel takes place in space 202, 217 and 3d, so that the tappet valve 244 to Spraying against the pressure of the return spring 250 opens. Subsequently hits the plunger plate 218 after a further stroke "H" on plunger stem 246 and holds valve 244 open.
  • FIG. 7 An embodiment similar to the embodiment shown in FIG. 6 the injection pump 1 according to the invention is shown in FIG. 7 shown, the same parts again with the same reference numerals are designated.
  • the tappet stem 246 of the tappet valve 244 is made shorter and is sufficient in the rest position or starting position of the pump 1 only up to the injector-side end area of the armature cylinder bore 217. Accordingly, the return spring is 250 shortened. In addition, however, presses another Compression spring 251 from the tank side against the ring 248a one end against a central bore 217d Wall 217e supports the bore 217 in an injection valve side and divided a tank side area that communicate through hole 217d.
  • the spring supports this version of injection pump 1 251 the opening of the valve 244 as in the case of the embodiment 6, in which the belching through the valve plate 218 is supported, which hits the pushrod 246.
  • the Springs then also hold valve 244 in the open position, as long as the spring pressure of the spring 250 or 251 causes this.

Landscapes

  • Engineering & Computer Science (AREA)
  • Mechanical Engineering (AREA)
  • General Engineering & Computer Science (AREA)
  • Chemical & Material Sciences (AREA)
  • Combustion & Propulsion (AREA)
  • Fuel-Injection Apparatus (AREA)
  • Electrical Control Of Air Or Fuel Supplied To Internal-Combustion Engine (AREA)
  • Electromagnetic Pumps, Or The Like (AREA)
  • Other Liquid Machine Or Engine Such As Wave Power Use (AREA)
  • Steroid Compounds (AREA)

Description

Die Erfindung betrifft eine Vorrichtung zum Einspritzen von Kraftstoff für Brennkraftmaschinen der im Oberbegriff des Anspruchs 1 angegebenen Art.
Einspritzvorrichtungen, deren elektrisch betriebene Hubkolbenpumpen nach dem sogenannten Festkörper-Energiespeicher-Prinzip arbeiten, weisen einen Förderkolben oder -zylinder auf, der auf einem bestimmten Weg nahezu widerstandslos beschleunigt wird, wobei in der Regel Kraftstoff bewegt wird, bevor derjenige Förderdruck aufgebaut wird, der zum Abspritzen des Kraftstoffes über die Einspritzdüse erforderlich ist. Auf diese Weise wird vor dem eigentlichen zum Einspritzen erforderlichen Druckaufbau kinetische Energie aufgenommen bzw. gespeichert, die dann schlagartig in einen Druckanstieg im Kraftstoff umgewandelt wird.
Bei einem aus der DD-PS 120 514 bekannten sogenannten Pumpe-Düse-Element, das nach dem Festkörper-Energiespeicher-Prinzip arbeitet, weist der den Förderkolben der Einspritzpumpe aufnehmende Kraftstofförderraum in einem ersten Abschnitt axial parallel angeordnete Nuten in der Innenwandung auf, durch die Kraftstoff zur Rückseite des Förderkolbens abfließen kann, wenn sich der Förderkolben in Bewegung setzt, ohne daß es zu einem merklichen Druckaufbau im Kraftstoff kommt.
Der sich anschließende zweite Abschnitt des Kraftstofförderraumes ist der eigentliche Druckraum, der keine Nuten aufweist. Tritt der beschleunigte Förderkolben in diesen Druckraum ein, wird er durch den inkompressiblen Kraftstoff schlagartig abgebremst, wodurch die gespeicherte kinetische Energie in einen Druckstoß umgewandelt wird, durch den der Widerstand des Einspritzventils überwunden wird, so daß es zum Abspritzen von Kraftstoff kommt. Nachteilig hierbei ist, daß beim Eintauchen des Förderkolbens in den zweiten Abschnitt des Förderraumes aufgrund ungünstiger Spaltbedingungen, nämlich einer relativ großen Spaltbreite und einer relativ kleinen Spaltlänge, spürbar hohe Druckverluste auftreten, die insbesondere die mögliche Geschwindigkeit und Druckhöhe des Druckaufbaus reduzieren und damit den Abspritzvorgang ungünstig beeinflussen. Die Druckverluste werden durch Abfließen von Kraftstoff aus dem Druckraum in den Druckvorraum (erster Abschnitt des Kraftstofförderraumes) verursacht.
Nach der DD-PS 213 472 soll dieser Nachteil vermieden werden, indem im Druckraum des Förderzylinders ein Schlagkörper gelagert wird, auf den der nahezu widerstandslos beschleunigte Kolben auftrifft, so daß der Druckverlust beim Druckaufbau durch eine relativ große Spaltlänge trotz relativ großer Spaltbreite (große Fertigungstoleranzen) zwischen dem Schlagkörper und der Druckrauminnenwandungsfläche vertretbar klein gehalten werden kann. Nachteilig hierbei ist jedoch, daß es durch den Schlagvorgang zu einem hohen Verschleiß der aufeinandertreffenden Körper kommt. Zudem wird der Schlagkörper durch den Schlag in Longitudinalschwingungen versetzt, die sich auf den Kraftstoff übertragen und dort als hochfrequente Druckschwingungen den Einspritzvorgang stören.
Ein besonderer Nachteil dieser bekannten Festkörper-Energiespeicher-Einspritzvorrichtungen besteht darin, daß der Einspritzvorgang nur sehr begrenzt steuerbar ist, sich also nur sehr beschränkt an die Lastverhältnisse des Motors anpassen läßt. Das Gleiche gilt für die Kraftstoffeinspritzvorrichtung nach der DE-OS 23 07 435, bei der die Hubkolbenpumpe als bewegliches Pumpenglied einen hülsenförmigen Pumpenzylinder hat, der längsverschieblich auf einem im Pumpengehäuse fest sitzenden Pumpenkolben angeordnet ist und den Pumpendruckraum begrenzt, der über eine Längsbohrung im Pumpenkolben mit der Einspritzventileinrichtung in Verbindung steht. Eine Querbohrung im Pumpenzylinder ermöglicht das Abfließen von Kraftstoff auf die Rückseite des Zylinders beim Energiespeichern. Das Überfahren der Kolbenstirnkante mit der Bohrung führt zum Druckaufbau und damit zum Abspritzen von Kraftstoff. Auch in diesem Fall treten hohe Spaltverluste beim Druckaufbau auf.
Aufgabe der Erfindung ist, eine kostengünstige, einfach zu fertigende Vorrichtung zum Einspritzen von Kraftstoff der eingangs genannten Art zu schaffen, mit der ohne spürbare Druckverluste beim Druckaufbau verschleißfrei, sowie lastabhängig genau steuerbar Kraftstoff eingespritzt werden kann und die insbesondere für schnellaufende Brennkraftmaschinen geeignet ist.
Gelöst wird diese Aufgabe durch die kennzeichnenden Merkmale des Anspruchs 1. Vorteilhafte Weiterbildungen der Erfindung sind in den Unteransprüchen gekennzeichnet.
Die erfindungsgemäße Kraftstoff-Einspritzvorrichtung weist eine Hubkolbenpumpe auf, in die ein Ventil integriert ist, das die widerstandslose Beschleunigung unterbricht, so daß ein Druckstoß erzeugt wird, mit dem Kraftstoff abgespritzt wird. Das Ventil ist außerhalb des führenden flüssigkeitsdichten Kontaktbereichs zwischen einem Hubkolbenelement und einem Hubkolbenzylinder der Hubkolbenpumpe angeordnet, so daß ohne spürbare Druckverluste verschleißfrei der Druckaufbau erfolgen kann, wobei lastabhängig genau steuerbar Kraftstoff abspritzbar ist und die gesamte Vorrichtung sehr einfach aufgebaut ist.
Anhand der Zeichnung wird die Erfindung beispielhaft näher erläutert. Es zeigen:
Fig. 1 und 2
schematisch im Längsschnitt jeweils eine Ausführungsform der erfindungsgemäßen Einspritzvorrichtung,
Fig. 3 und 4
jeweils einen Schnitt durch eine Ankerdämpfungseinrichtung, und
Fig. 5 bis 7
schematisch im Längsschnitt jeweils eine Ausführungsform der erfindungsgemäßen Einspritzvorrichtung.
Die Figur 1 zeigt eine kompakte Bauform der erfindungsgemäßen elektrisch betriebenen Hubkolbenpumpe mit integriertem Anschlagventil. Dabei ist in einem zylindrischen mehrteiligen Gehäuse 200 in einem von einem Außenmantel 200a und einem zylindrischen Innenmantel 200b sowie einer tankseitigen Stirnwandung 200c und einer druckleitungsseitigen Stirnwandung 200d begrenzten Innenraum 202 eine Spule 201 angeordnet. Der vom Innenmantel 200b umgebene zylindrische Innenraum 202 des Gehäuses 200 wird durch einen sich radial nach innen erstreckenden Ring 203 in einen tankseitigen und einen druckleitungsseitigen Innenraumbereich abgeteilt. Druckleitungsseitig ist gegen die Ringkante des Rings 203 ein formschlüssig und fest in diesem Innenraum sitzender Ringwulst 204 eines Kolbens 205 gesetzt, wobei der Kolben 205 die Ringöffnung 206 des Rings 203 mit Abstand durchgreift und in den tankseitigen Bereich des Innenraums 202 ragt. Der Kolben 205 ist von einer durchgehenden Bohrung 207 durchsetzt, die im tankseitigen Endbereich des Kolbens erweitert ausgebildet ist und dort ein Ventil 208 lagert, das von einer Schraubenfeder 209 in Richtung Tankseite für die Schließstellung gegen einen Ventilsitz 209a gedrückt wird, mit hin durch die Einwirkung eines von der Tankseite wirkenden Druckes geöffnet werden kann.
Auf dem im tankseitigen Innenraumbereich des Innenraums 202 befindlichen Teil des Kolbens 205 sitzt formschlüssig und gleitbar ein Pumpenzylinder 210 der Hubkolbenpumpe, der von einer sich einendig auf dem Ring 203 und anderendig an einer Ringstufe 212 des Zylinders 210 abstützenden Schraubenfeder 211 mit seiner tankseitigen Stirnringfläche 214 gegen eine Ringstufe 213 im Innenraum 202 gedrückt wird, wobei ein die Stirnfläche 214 überragender Ventilstutzen 215 mit radialem Abstand ein Stück in den in diesem Bereich radial verengten Innenraum 202a ragt und wobei die druckleitungsseitige Stirnringfläche des Zylinders 210 im Abstand vom Ring 203 angeordnet ist und somit ein Bewegungsraum für den Zylinder 210 geschaffen wird. Der formschlüssig an der Innenwandung des Innenraums 202 geführt sitzende Zylinder 210 weist achsparallele, stirnseitig offene Längsnuten 216 in der Mantelfläche auf, deren Funktion weiter unten erläutert wird.
Die den Pumpenzylinder 210 durchsetzende, durchgehende, den Kolben 205 aufnehmende Bohrung 217 lagert tankseitig ein dem Kolben 205 vorgeordnetes Stößelventil, dessen Stößelteller 218 im Abstand von der Stirnringfläche des Kolbens 205 in einer kurzen Bohrungserweiterung angeordnet ist und dessen Stößelstiel 219 die verengte Bohrung 217a im Ventilstutzen 215, sich gegen die Innenwandung der Bohrung 217a abstützend, durchgreift und in den verengten Innenraum 202a ragt.
Am freien Ende des Stößelstils 219 ist zweckmäßigerweise ein Teller 220 befestigt, der Löcher 221 aufweist, deren Funktion weiter unten erläutert wird, wobei der Stößelstiel 219 noch ein Stück über den Teller 220 hinausragt und gegen die tankseitige Bodenfläche 222 des Innenraums 202a stößt. Dabei ist der Stößelstiel 219 so lang gewählt, daß der Stößelteller 218 von seinem Ventilsitz, der druckleitungsseitigen Öffnung 223 der verengten Bohrung 217a, abgehoben ist, so daß ein bestimmter Spalt "X" gebildet wird, dessen Sinn und Zweck weiter unten erläutert wird. Eine Schraubenfeder 224 stabilisiert diese Stellung des Stößelventils in der abgebildeten Ruhestellung der Hubkolbenpumpe, in dem sich die Feder 224 einendig auf der Stirnringfläche 214 des Zylinders 210 und anderendig gegen den Teller 220 abstützt.
Von der Bodenfläche 222 erstrecken sich achsparallele Bohrungen 225 in die Bodenwandung und münden in einen axialen Ventilraum 226, in dem ein von einer Schraubenfeder 228 in Tankrichtung gegen einen Ventilsitz 227 gedrückter Ventilteller 229 angeordnet ist, der peripher vom Ventilsitz 227 abdeckbare Rillen 230 aufweist, so daß das Ventil durch einen tankanschlußseitigen Druck gegen die Belastung der Feder 228 geöffnet werden kann und einen Durchgang vom Ventilraum 226 zu den Bohrungen 225 geschaffen wird.
Der Ventilraum 226 steht mit einer zum Kraftstofftank führenden Kraftstoffleitung in Verbindung (nicht dargestellt); an die druckleitungsseitige Stirnwandung 200d bzw. an einen verlängerten Stutzen der Innenwandung 200b wird eine Druckleitung angesetzt (nicht dargestellt), die zum Abspritzventil führt. Die in der Figur 13 gezeichneten Pfeile deuten den Weg des Kraftstoffes an.
Die in Figur 1 abgebildete Hubkolbenpumpe funktioniert wie folgt. Durch die Erregung der Spule 201 wird der Zylinder 210 aus der abgebildeten Ruhestellung in Richtung Druckleitung nahezu widerstandslos beschleunigt, wobei aus dem Raum 202 über die Nuten 216 und aus der Bohrung 217 bzw. dem Stößeltellerraum Kraftstoff in Richtung Innenraum 202a abfließt. Die beschleunigte Bewegung endet mit dem Auftreffen des Ventilsitzes 223 auf dem Ventilteller 218 abrupt, so daß die gespeicherte Energie des Zylinders 210 auf den in dem Stößelvorraum befindlichen Kraftstoff übertragen wird. Das Ventil 208 wird geöffnet und der Druck auf den in der Bohrung 207 bzw. in der Druckleitung befindlichen Kraftstoff fortgepflanzt, wodurch ein Abspritzen von Kraftstoff durch die Einspritzdüse erfolgt. Wenn die Erregung dann noch nicht abgeschaltet ist, wird so lange Kraftstoff abgespritzt, wie der Zylinder bewegt wird. Das Stößelventil 218, 219 wird dabei vom Zylinder 210 mitgenommen und es entsteht ein Unterdruck in den Innenräumen 202, 202a sowie in den Bohrungen 225 und dem vom Ventil 229 abgegrenzten Vorraum des Ventilraums 226, so daß das Ventil 229 geöffnet wird. Der Kraftstoff fließt vom Tank kommend durch die peripheren Rillen 230 im Ventilteller 229, den Vorraum des Ventilraums 226, die Bohrungen 225 und die Löcher 221 im Teller 220 in den Innenraum 202a sowie über die Nuten 216 in den Innenraum 202. Nach dem Abschalten der Erregung wird der Zylinder von der Feder 211 in seine Ruhe- bzw. Ausgangsstellung zurückgedrückt, wobei vorher der Stößelstiel 219 gegen die Bodenwandung 222 stößt und das Stößelventil geöffnet wird, so daß Kraftstoff durch den Zwischenraum zwischen dem Stößelstiel und der Bohrung 217a in den Stößeltellervorraum 217 fließen kann. Dabei bleibt das Ventil 208 geschlossen. Es wirkt als Standdruckventil und hält in dem zwischen dem Einspritzventil (nicht dargestellt) und dem Ventilteller 208 befindlichen, mit Kraftstoff gefüllten Raum einen Standdruck im Kraftstoff aufrecht, der z.B. höher ist als der Dampfdruck der Flüssigkeit bei maximal auftretender Temperatur, so daß Blasenbildung verhindert werden kann.
Bei der in Fig. 2 dargestellten Ausführungsform der Einspritzpumpe, die der Ausführungsform nach Fig. 1 gleicht, weshalb gleiche Teile mit gleichen Bezugszeichen versehen sind, ist der Kolben 205 einstückig mit der Stirnwandung 200d ausgebildet und das Standdruckventil 208, 209, das in einem Rohrstutzen 208a untergebracht ist, deckt die druckleitungsseitige Mündung der durch den Kolben 205 gehenden Bohrung 207 ab.
Der als Anker wirkende gleitende Pumpenzylinder 210 ist für eine einfache Möglichkeit der Montage des Ventilstößels 218, 219 mehrteilig aufgebaut. Da die Mehrteiligkeit nicht erfindungswesentlich ist, wird der Aufbau des Zylinders 210 nicht näher beschrieben.
Der Stößelstiel 219 ist relativ kurz ausgebildet und kann über die tankseitige Stirnringfläche 214 des Zylinders 210 nur um das Ventilspiel herausragen. Die Stirnringfläche 214 stößt im Bereich der Stirnwandung 200c gegen einen dort gelagerten Kunststoffblock 231, der Durchgangsbohrungen 232 aufweist, die peripher in Nuten 233 münden, die mit dem tankseitigen Innenraum 202 in Verbindung stehen, wobei vom tankseitigen Innenraum 202 Bohrungen 234 zum erweiterten Bohrungsbereich der Bohrung 217 im Zylinder 210 führen. Die Bohrungen 232 münden in den zum Tank führenden axialen Ventilraum 226, der in einem Rohrstutzen 226a untergebracht ist.
Bei dieser Ausführungsform der Erfindung ist das Stößelventil 218, 219 nicht federbelastet. Es funktioniert aufgrund von Trägheitskräften, wobei der Stößelstiel etwa formschlüssig in der verengten Bohrung 217a sitzt. In die in Fig. 2 dargestellte Stellung wird das Stößelventil durch den auf den Stößelteller 218 wirkenden in den Räumen 202, 217, 207 herrschenden Druck gegen den Kunststoffblock 231 gedrückt. Wird der Zylinder 210 beschleunigt, verharrt das Stößelventil in dieser Stellung, bis es vom Ventilsitz 223 mitgenommen wird. Bei der Rückstellbewegung des Ankerzylinders 210 stößt der Stößelstiel 219 gegen den Kunststoffblock 231, so daß das Stößelventil wieder in seine dargestellte Ausgangsstellung gelangt.
Zweckmäßigerweise bildet die Bohrungserweiterung der Bohrung 217, in der der Stößelteller 218 aufgenommen ist, druckleitungsseitig eine Ringstufe 235, die sich in der Ruhestellung des Stößelventils nur in geringem Abstand vor dem Stößelteller 218 befindet und gegen die der Stößelteller 218 stößt, wenn der Stößel trägheitsbedingt bei der Rückstellbewegung des Zylinders 210 vom Ventilsitz abhebt und/oder das Ventil vom Kunststoffblock 231 bei der Rückstellbewegung des Zylinders 210 zurückgeprellt werden sollte. In der Stirnfläche der Ringstufe 235 sind Ausnehmungen 235a eingebracht, die einen ungehinderten Durchfluß des Kraftstoffs gewährleisten. Auf diese Weise ist die Ruhestellung des Stößelventils mit einfachen Mitteln sichergestellt.
Während der Beschleunigung des Anker-Zylinders 210 fließt bei dieser Ausführungsform der Einspritzpumpe Kraftstoff aus dem druckleitungsseitigen Innenraum 202 über die Nuten 216 in den tankseitigen Innenraum 202 sowie aus den Bohrungen 207, 217 durch die Ausnehmungen 235a am Stößelteller 218 vorbei durch die Ventilsitzöffnung in die Bohrungen 235 ebenfalls in den tankseitigen Innenraum 202. Die Verdrängung des Kraftstoffs wird durch das Schließen des Stößelventils 218, 219 plötzlich unterbrochen, wodurch der beabsichtigte Druckstoß erwirkt wird. Bei der Rückstellbewegung des Anker-Zylinders 210 öffnet das Stößelventil 218, 219 und der Kraftstoff fließt in umgekehrter Richtung.
Damit die Startbewegung des Anker-Zylinders 210 aus der Ruhestellung nicht beeinträchtigt werden kann, ist zweckmäßigerweise vorgesehen, daß die Stirnringfläche 214 mit geringem Abstand "A" von der Oberfläche des Kunststoffblocks 231 angeordnet ist (Fig. 15). Abstützstege 214a, die von der Stirnringfläche 214 vorstehen, liegen an der Oberfläche des Kunststoffblocks 231 an und sorgen für den Abstand "A", so daß kein störender Unterdruckeffekt beim Start des Anker-Zylinders 210 zwischen der Stirnringfläche 214 und der Oberfläche des Kunststoffblocks 231 auftreten kann. Ebensolche Abstützstege können zum gleichen Zweck auf der Stirnfläche des Stößelstiels 219 angeorndet sein (nicht dargestellt). Darüberhinaus ist der Abstand "A" so klein gewählt, daß beim Rückstellhub eine Dämpfung durch Ausquetschen von Kraftstoff aus dem Spalt "A" erfolgt.
Die Ausführungsform der Hubkolbenpumpe nach Fig. 2 und 3 kann mit einer einfach aufgebauten wirkungsvollen Ankerdämpfungseinrichtung versehen sein, die in Fig. 4 dargestellt ist. Dabei weist der Stößelstiel 219 in seinem freien Endbereich einen Flanschring 219a auf, der die Stirnringfläche 214 ein Stück seitlich übergreift und an der Stirnringfläche 214 anliegen kann. In die Oberfläche des Kunststoffblocks 231 ist eine dem Flanschring 219a entsprechende Ausnehmung 231a eingebracht, in die der Flanschring 219a etwa formschlüssig paßt, so daß eine kolbenzylinderartige hydraulische Dämpfeinrichtung gebildet wird. Bei der Rückstellbewegung des Anker-Zylinders 210 wird der Flanschring 219a mit Anhang von der Stirnringfläche 214 mitgenommen. Sobald der Flanschring 219a in die Ausnehmung 231a eintaucht, wird Kraftstoff daraus verdrängt und eine Abbremsung des Anker-Zylinders 210 bewirkt. Bei der Beschleunigung des Anker-Zylinders 210 bewegt sich der Anker-Zylinder fast widerstandslos. Der Flanschring 219a und damit das Stößelventil 218, 219 verharrt zunächst in der Ausnehmung 231a bis die Mitnahme des Stößelventils durch den Ventilsitz erfolgt.
Zweckmäßigerweise ist die Dicke des Flanschrings 219a etwas größer als die Tiefe der Ausnehmung 231a ausgeführt, so daß die Stirnringfläche 214 in der Ruhestellung des Anker-Zylinders 210 im Abstand von der Oberfläche des Kunststoffblocks 231 bleibt und Abstütztstege insoweit nicht benötigt werden.
Zweckmäßigerweise ist in der druckleitungsseitigen Stirnwand 200d eine Bohrung 236 angeordnet, die vom druckleitungsseitigen Innenraum 202 nach außen führt und auf die außenseitig ein Stutzen 237 mit einer Durchgangsbohrung 238 gesetzt ist. Durch die Bohrung 236 und den Ablaufstutzen 237 kann z.B. während der Startphase der Pumpe bzw. des Motors Kraftstoff vom Anker-Zylinder 210 abgepumpt werden, so daß die Pumpe und/oder die Kraftstoff Zuleitung von Luftblasen freigespült werden kann. Durch den Ablauf 236, 237 kann aber auch während der Einspritzaktivität der Pumpe Kraftstoff umgespült werden und dadurch Wärme abgeführt, sowie Blasenbildung vermieden werden.
Zweckmäßigerweise ist an der Innenwandung des druckleitungsseitigen Innenraums 202 eine sich an der Stirnwandung 200b abstützende Druckfeder 238 angeordnet, gegen die bei der Beschleunigung des Anker-Zylinders 210 eine Stirnringfläche 239 des Anker-Zylinders erst stößt, wenn ein großer Hub für eine große abzuspritzende Kraftstoffmenge initiiert wird. Die Feder wird dabei komprimiert. Bei der Rückstellbewegung des Anker-Zylinders 210 gibt die Feder 238 ihre gespeicherte Federkraft an den Anker-Zylinder 210 ab, so daß sich dieser entsprechend beschleunigt in die Ruhestellung bewegt.
Bei den im folgenden anhand der Figuren 5, 6, 7 beschriebenen Hubkolbenpumpen wirkt der Zylinder 210 als kolbenartiges Ankerelement, das im Innenzylinder 200b flüssigkeitsdicht geführt wird.
Eine der in der Fig. 1 abgebildeten Einspritzpumpe ähnelnde Einspritzpumpe 1 wird in Fig. 5 dargestellt, wobei gleiche Teile mit gleichen Bezugsziffern belegt sind.
Der teilweise in der Anker-Zylinderbohrung 217 sitzende Kolben 205a ist nicht an der druckleitungsseitigen Stirnwand 200d befestigt, sondern axial bewegbar gelagert und Teil der Abspritzventileinrichtung 3. Das Einspritzventil 3 weist eine Ventilkappe 3b auf, die in die Sirnwand 200d des Gehäuses 200 in den einspritzventilseitigen Innenraum 202 greifend eingeschraubt ist. Die Ventilkappe verfügt zentral über eine Einspritzdüsenbohrung 3d. Der Kolben 205a deckt in seiner Ruhestellung mit einer im Durchmesser reduzierten Stirnfläche 205b die Einspritzdüsenbohrung 3a ab. Die im Durchmesser reduzierte Fläche 205b geht mit einem Kegelstumpf 205c in den zylindrischen Teil des Kolbens 205a über. Der Kolben 205a wird in der Ankerzylinderbohrung 217 von einer Druckfeder 240 gegen die Einspritzdüsenbohrung 3d gedrückt, wobei sich die Druckfeder 240 anderendig gegen eine in der Anker-Zylinderbohrung 217 angeordnete Zwischenwand 241 abstützt, die die Bohrung 217 in einen einspritzdüsenseitigen und in einen tankseitigen Bereich abteilt. Dabei führt mindestens eine Bohrung 242 von der Stirnringfläche 212 durch den Anker-Zylinder 210 in den erweiterten Zylinderbohrungsraum des tankseitigen Bereichs der Bohrung 217, in dem der Stößelteller 218 aufgenommen ist, und eine Bohrung 243 durch den Ankerzylinder 210 vom einspritzdüsenseitigen Bereich der Bohrung 217 in den tankseitigen Innenraum 202, wobei der mittlere Bereich des Anker-Zylinders 210 formschlüssig und nahezu flüssigkeitsdicht an der Innenwandung des Innenraums 202 sitzt. Vorzugsweise weist der Anker-Zylinder im tankseitigen Bereich des Innenraums 202 Nuten auf, wobei die Nutenstege an der Innenwandung des Innenraums 202 anliegen und dort Führungen für den Anker-Zylinder 210 bilden.
Die Einspritzpumpe nach Fig. 5 funktioniert wie folgt. Wird der Anker-Zylinder 210 aus der dargestellten Ruhestellung zunächst widerstandslos beschleunigt, fließt Kraftstoff über die Bohrung 242 in den tankseitigen Raum der Bohrung 217 und von dort in den Raum 202a, wobei das Ventil 229 geschlossen bleibt. Zudem fließt Kraftstoff durch die Bohrung 243 aus dem einspritzventilseitigen Raum der Bohrung 217 in den tankseitigen Innenraum 202 und von dort - da der Anker-Zylinder 210 von der Stirnringfläche 213 abgehoben hat - durch den dadurch gebildeten Spalt ebenfalls in den Raum 202a. Sobald das Stößelventil 218, 219 vom Ventilsitz erfaßt wird, entsteht der gewünschte Druckstoß im einspritzventilseitigen Innenraum 202. Der Druckstoß wird auf die Kegelfläche des Kegelstumpfes 205c übertragen und hebt den Kolben 205 gegen den Druck der Feder 240 von der Düse 3a ab, so daß Kraftstoff abgespritzt wird. Gleichzeitig entsteht im Raum 202a und im tankseitigen Innenraum 202 ein Unterdruck, der auch auf den Kolben 205 wirkt, der aber sehr viel geringer ist als die Federkraft der Feder 240 beträgt, so daß der Kolben insofern unbeeinflußt bleibt. Der Unterdruck öffnet aber das Ventil 229, so daß Kraftstoff nachgesaugt wird. Das Ventil 229 schließt aufgrund der Federkraft der Feder 228 wieder, wenn die Rückstellbewegung des Ankerzylinders 210 beginnt, so daß dann durch die Anker-Zylinderbewegung Kraftstoff in die Räume der Bohrung 217 und des Innenraums 202 gedrängt wird. Die Funktion des Ventils 292 entspricht der Funktion des gleichen Ventils 229 in der Ausführungsform der Einspritzpumpe 1 nach Fig. 13.
Eine weitere Ausführungsform der erfindungsgemäßen Einspritzpumpe 1, bei der die Einspritzdüse 3 unmittelbar in der Stirnwand 200d im Gehäuse 200 der Einspritzpumpe 1 untergebracht ist, ergibt sich aus Fig. 6. Diese Ausführungsform ähnelt der nach Fig. 5, weshalb wiederum gleiche Teile mit gleichen Bezugsziffern gekennzeichnet sind.
Die Ventilkappe 3b bildet in diesem Fall einen Ventilsitz 3c für ein Stößelventil 244, dessen Ventilteller 245 von außen gegen den Ventilsitz 3c gezogen wird, und dessen Stößelstiel 246 die dem Ventilsitz 3c nachfolgende Kappenbohrung 3d frei oder durch Rippen 247 radial abgestützt durchgreift sowie frei durch die Ankerzylinderbohrung 217 geht und kurz vor dem erweiterten Bereich der Bohrung 217 endet, in dem der Stößelteller 218 des Stößelventils 218, 219 aufgenommen ist. Am freien Ende des Stößelstiels 246 ist ein Löcher oder randliche Ausnehmung 248 aufweisender Ring 248a befestigt, gegen den sich einspritzventilseitig eine Druckfeder 250 abstützt, die anderendig an der Stirnwand 200d des Gehäuses 200 bzw. an der Ventilkappe 3b anliegt. Wesentlich ist bei dieser Ausführungsform, daß der Anker-zylinder 210 lediglich die Durchgangsbohrung 217 und keine randlichen Nuten aufweist, sondern formschlüssig an der Innenwandung des Innenraums 202 anliegt.
Diese Einspritzpumpe, die keinen separaten Kolben aufweist, funktioniert im Unterschied zur Ausführungsform nach Fig. 5 wie folgt. Wenn das Stößelventil 218, 219 vom Ventilsitz des Ankerzylinders 210 mitgenommen wird, erfolgt der plötzliche Druckaufbau im Kraftstoff im Raum 202, 217 und 3d, so daß das Stößelventil 244 zum Abspritzen gegen den Druck der Rückstellfeder 250 öffnet. Anschließend trifft der Stößelteller 218 nach einem weiteren Hubweg "H" auf den Stößelstiel 246 und hält das Ventil 244 offen.
Eine der in Fig. 6 dargestellten Ausführungsform ähnelnde Ausführungsform der erfindungsgemäßen Einspritzpumpe 1 ist in Fig. 7 abgebildet, wobei gleiche Teile wiederum mit gleichen Bezugsziffern bezeichnet sind.
Der Stößelstiel 246 des Stößelventils 244 ist kürzer ausgeführt und reicht in der Ruhestellung bzw. Ausgangsstellung der Pumpe 1 nur bis in den einspritzventilseitigen Endbereich der Anker-zylinderbohrung 217. Demgemäß ist auch die Rückstellfeder 250 verkürzt ausgeführt. Zusätzlich drückt jedoch eine weitere Druckfeder 251 von der Tankseite her gegen den Ring 248a, die sich einendig gegen eine eine zentrale Bohrung 217d aufweisende Wandung 217e abstützt, die die Bohrung 217 in einen einspritzventilseitigen und einen tankseitigen Bereich unterteilt, die über die Bohrung 217d in Verbindung stehen.
Bei dieser Version der Einspritzpumpe 1 unterstützt die Feder 251 das Aufstoßen des Ventils 244 wie im Falle der Ausführungsform nach Fig. 6, bei der das Aufstoßen durch den Ventilteller 218 unterstützt wird, der auf den Stößelstiel 246 stößt. Die Federn halten dann auch das Ventil 244 in der Offenstellung, solange der Federdruck der Feder 250 bzw. 251 dies bewirkt.

Claims (29)

  1. Kraftstoff-Einspritzvorrichtung, die nach dem Festkörper-Energiespeicher-Prinzip als Hubkolbenpumpe arbeitet, wobei ein in einem Hubkolbenzylinder angeordnetes Hubkolbenelement aus einer Ausgangsstellung während einer nahezu widerstandslosen Beschleunigungsphase, von einem Elektromagneten angetrieben, kinetische Energie speichert und ein Druckstoß durch ein die widerstandlose Beschleunigung plötzlich unterbrechendes Mittel erzeugt wird, so daß der Druckstoß auf den Kraftstoff übertragen wird, wobei der Druckstoß zum Abspritzen von Kraftstoff duch eine Einspritzdüseneinrichtung verwendet wird,
    dadurch gekennzeichnet,
    daß das die widerstandslose Beschleunigung unterbrechende Mittel ein in die Hubkolbenpumpe integriertes Anschlagventil mit einem sich im Hubkolbenzylinder abstützenden Ventilkörper (218, 219) und einem Ventilsitz (223) am Hubkolbemelement ist, das außerhalb des führenden flüssigkeitsdichten Kontaktbereichs zwischen dem Hubkolbenelement (210) und dem Hubkolbenzylinder der Hubkolbenpumpe angeordnet ist, und in der Ausgangsstellung des Hubkolbenelementes der Ventilkörper (218, 219) vom Ventilsitz (223) um einen bestimmten Spalt "X" beabstandet ist, so daß die widerstandslose Beschleunigungsphase unterbrochen wird, wenn das Ventil geschlossen wird, nachdem das Hubkolbenelement aus der Ausgangsstellung um die Länge des Spaltes "X" bewegt worden ist.
  2. Kraftstoff-Einspritzvorrichtung nach Anspruch 1,
    dadurch gekennzeichnet,
    daß der Ventilsitz (223) am Hubkolbenelement (210) ausgebildet ist.
  3. Kraftstoff-Einspritzvorrichtung nach Anspruch 1 und/oder 2,
    dadurch gekennzeichnet,
    daß der Ventilkörper ein Stößel, bestehend aus einem StöStößelteller (218) und einem Stößelstiel (219), ist.
  4. Vorrichtung nach einem oder mehreren der Ansprüche 1 bis 3
    dadurch gekennzeichnet,
    daß das Hubkolbenelement als Pumpenzylinder (210) ausgebildet ist, wobei ein Gehäuseinnenraum (202) durch einen sich radial nach innen erstreckenden Ring (203) in einen tankseitigen und einen druckleitungsseitigen Innenraumbereich abgeteilt wird und wobei druckleitungsseitig gegen eine Ringkante des Rings (203) ein formschlüssig und fest in diesem Innenraum sitzender Ringwulst (204) eines Kolbens (205) der Hubkolbenpumpe (1) gesetzt ist, der die Ringöffnung (06) des Rings (203) mit Abstand durchgreift und in den tankseitigen Bereich des Innenraums (202) ragt, wo er in eine durchgehende Bohrung (217) des Ankerzylinders (210) eingreift.
  5. Vorrichtung nach Anspruch 4,
    dadurch gekennzeichnet,
    daß der Kolben (205) von einer durchgehenden Bohrung (207) durchsetzt ist, die im tankseitigen Endbereich des Kolbens erweitert ausgebildet ist und dort ein Rückschlagventil (208) lagert, das von einer Schraubenfeder (209) in Richtung Tankseite für die Schließstellung gegen einen Ventilsitz (209a) gedrückt wird.
  6. Vorrichtung nach Anspruch 4 und/oder 5,
    dadurch gekennzeichnet,
    daß auf dem im tankseitigen Innenraumbereich des Innenraums (202) befindlichen Teil des Kolbens (205) formschlüssig und gleitbar der Pumpenzylinder (210) der Hubkolbenpumpe sitzt, der von einer sich einendig auf dem Ring (203) und anderendig an einer Ringstufe (212) des Zylinders (210) abstützenden Schraubenfeder (211) mit seiner tankseitigen Stirnringfläche (214) gegen eine Ringstufe (213) im Innenraum (202) gedrückt wird, wobei ein die Stirnringfläche (214) überragender Ventilstutzen (215) mit radialem Abstand ein Stück in den in diesem Bereich radial verengten Innenraum (202) ragt und wobei die druckleitungsseitige Stirnringfläche des Zylinders (210) im Abstand vom Ring (203) angeordnet ist und somit ein Bewegungsraum für den Zylinder (210) geschaffen wird.
  7. Vorrichtung nach Anspruch 6,
    dadurch gekennzeichnet,
    daß der formschlüssig an der Innenwandung des Innenraums (202) geführt sitzende Zylinder (2120) achsparallele stirnseitig offenen Längsnuten (216) in der Mantelfläche aufweist, und daß die den Pumpenzylinder (210) durchsetzende, durchgehende, den Kolben (205) aufnehmende Bohrung (217) tankseitig das dem Kolben (205) vorgeordnetes Stößelventil lagert, dessen Stößelteller (218) im Abstand von der Stirnringfläche des Kolbens (205) in einer kurzen Bohrungserweiterung angeordnet ist und dessen Stößelstil (219) die verengte Bohrung (217a) im Ventilstutzen (215) - sich gegen die Innenwandung der Bohrung (217a) abstützend - durchgreift und in den verengten Innenraum (202a) ragt.
  8. Vorrichtung nach Anspruch 7,
    dadurch gekennzeichnet,
    daß am freien Ende des Stößelstiels (219) ein Teller (220) befestigt ist, der Löcher (221) aufweist, wobei der Stößelstiel (219) noch ein Stück über den Teller (220) hinausragt, und gegen die tankseitige Bodenfläche (222) des Innenraums (202a) stößt, wobei der Stößelstiel (219) so lang gewählt ist, daß der Stößelteller (218) von seinem Ventilsitz (223) der verengten Bohrung (217a) abgehoben ist, so daß ein bestimmter Spalt "X" gebildet wird.
  9. Vorrichtung nach Anspruch 8 ,
    dadurch gekennzeichnet,
    daß eine Schraubenfeder (224) die Stellung des Stößelventils in der Ruhestellung der Hubkolbenpumpe stabilisiert, indem sich die Feder (224) einendig auf der Stirnringfläche (214) des Zylinders (210) und anderendig gegen den Teller (220) abstützt.
  10. Vorrichtung nach einem oder mehreren der Ansprüche 4 bis 9,
    dadurch gekennzeichnet,
    daß von der Bodenfläche (222) sich achsparallele Bohrungen (225) in die Bodenwandung erstrecken und in einen axialen Ventilraum (226) münden, in dem ein von einer Schraubenfeder (228) in Tankrichtung gegen einen Ventilsitz (227) gedrückter Ventilteller (229) angeordnet ist, der peripher vom Ventilsitz (227) abdeckbare Rillen (230) aufweist, so daß das Ventil durch einen tankanschlußseitigen Druck gegen die Belastung der Feder (228) geöffnet werden kann und einen Durchgang vom Ventilraum (226) zu den Bohrungen (225) geschaffen wird.
  11. Vorrichtung nach Anspruch 4,
    dadurch gekennzeichnet,
    daß der Kolben (205) einstückig mit der Stirnwandung (200d) des Gehäuses (200) ausgebildet ist, wobei das Standdruckventil (208, 209) druckleitungsseitig dem Kolben (205) in einem Rohrstutzen (208a) vorgeordnet ist und die druckleitungsseitige Mündung der durch den Kolben (205) gehenden Bohrung (207) abdeckt.
  12. Vorrichtung nach Anspruch 11,
    dadurch gekennzeichnet,
    daß der Stößelstiel (219) relativ kurz ausgebildet ist und über die tankseitige Stirnringfläche (214) des Zylinders (210) nur um das Ventilspiel herausragen kann.
  13. Vorrichtung nach Anspruch 12,
    dadurch gekennzeichnet,
    daß die Stirnringfläche (214) im Bereich der Stirnwandung (200c) gegen einen dort gelagerten Kunststoffblock (231) stößt, der Durchgangsbohrungen (232) aufweist, die peripher in Nuten (233) münden, die mit dem tankseitigen Innenraum (202) in Verbindung stehen, wobei vom tankseitigen Innenraum (202) Bohrungen (234) zum erweiterten Bohrungsbereich der Bohrung (217) im Zylinder (210) führen und wobei die Bohrungen (232) in den zum Tank führenden axialen Ventilraum (226) münden, der in einem Rohrstutzen (226a) untergebracht ist.
  14. Vorrichtung nach Anspruch 13,
    dadurch gekennzeichnet,
    daß die Bohrungserweiterung der Bohrung (217) in der der Stößelteller (218) aufgenommen ist, druckleitungsseitig eine Ringstufe (235) bildet, die sich in der Ruhestellung des Stößelventils nur in geringem Abstand vor dem Stößelteller (218) befindet und gegen die der Stößelteller (218) stößt, wenn der Stößel trägheitsbedingt bei der Rückstellbewegung des Zylinders (210) vom Ventilsitz abhebt und/oder das Ventil vom Kunststoffblock (231) bei der Rückstellbewegung des Zylinders (210) rückgeprellt werden sollte.
  15. Vorrichtung nach Anspruch 14,
    dadurch gekennzeichnet,
    daß in der Stirnfläche der Ringstufe (235) Ausnehmungen (235a) eingebracht sind, die einen ungehinderten Durchfluß des Kraftstoffs gewährleisten.
  16. Vorrichtung nach einem oder mehreren der Ansprüche 13 bis 15,
    dadurch gekennzeichnet,
    daß die Stirnringfläche (214) mit geringem Abstand von der Oberfläche des Kunststoffblocks (231) angeordnet ist.
  17. Vorrichtung nach Anspruch 16,
    dadurch gekennzeichnet,
    daß auf der Stirnringfläche (214) vorstehende Abstützstege (214a) angeordnet sind.
  18. Vorrichtung nach einem oder mehreren der Ansprüche 4 bis 17,
    gekennzeichnet, durch
    eine Ankerdämpfungseinrichtung im freien Endbereich des Stößelstiels (219), wobei dort ein Flanschring (219a) angeordnet ist, der die Stirnringfläche (214) ein Stück seitlich übergreift und an der Stirnringfläche (214) anliegen kann, und wobei in der Oberfläche des Kunststoffblocks (231) eine dem Flanschring (219a) entsprechende Ausnehmung (231a) eingebracht ist, in die der Flanschring (219a) etwa formschlüssig paßt.
  19. Vorrichtung nach Anspruch 18,
    dadurch gekennzeichnet,
    daß die Dicke des Flanschrings (219a) etwas größer als die Tiefe der Ausnehmung (231a) ausgeführt ist.
  20. Vorrichtung nach einem oder mehreren der Ansprüche 4 bis 19,
    dadurch gekennzeichnet,
    daß in der druckleitungsseitigen Stirnwand (200d) eine Bohrung (234) angeordnet ist, die vom druckleitungsseitigen Innenraum (202) nach außen führt und auf die zweckmäßigerweise außenseitig ein Stutzen (237) mit einer Durchgangsbohrung (238) gesetzt ist, wobei durch die Bohrung (236) und den Ablaufstutzen (237) während der Startphase der Pumpe 1 bzw. des Motors oder laufend Kraftstoff vom Anker-Zylinder (210) abgepumpt werden kann.
  21. Vorrichtung nach einem oder mehreren der Ansprüche 4 bis 20,
    dadurch gekennzeichnet,
    daß an der Innenwandung des druckleitungsseitigen Innenraums (202) eine sich an der Stirnwandung (200b) abstützende Druckfeder (238a) angeordnet ist, gegen die bei der Beschleunigung des Ankerzylinders (210) eine Stirnringfläche (239) des Ankerzylinders stößt und dabei die Feder komprimiert.
  22. Vorrichtung nach einem oder mehreren der Ansprüche 4 bis 21,
    dadurch gekennzeichnet,
    daß der Zylinder (210) als kolbenartiges Ankerelement im Innenraum (202) flüssigkeitsdicht geführt wird.
  23. Vorrichtung nach Anspruch 22,
    dadurch gekennzeichnet,
    daß ein teilweise in der Ankerzylinderbohrung (217) sitzender Kolben (205a) axial bewegbar gelagert ist und Teil der Abspritzventileinrichtung (3) ist.
  24. Vorrichtung nach Anspruch 23,
    dadurch gekennzeichnet,
    daß die Abspritzventileinrichtung (3) eine Ventilkappe (3b) aufweist, die in die Stirnwand (200d) des Gehäuses (200) in den einspritzventilseitigen Innenraum (202) greifend eingeschraubt ist, der Kolben (205a) in seiner Ruhestellung mit einer im Durchmesser reduzierten Stirnfläche (205b) die Einspritzdüsenbohrung (3d) abdeckt und die im Durchmesser reduzierte Fläche (205b) mit einem Kegelstumpf (205c ) in den zylindrischen Teil des Kolbens (205a) übergeht.
  25. Vorrichtung nach Anspruch 24,
    dadurch gekennzeichnet,
    daß der Kolben (205a) in der Ankerzylinderbohrung (217) von einer Druckfeder (240) gegen die Einspritzdüsenbohrung (3d) gedrückt wird, wobei sich die Druckfeder (240) anderendig gegen eine in der Ankerzylinderbohrung (217) angeordnete Zwischenwand (241) abstützt, die die Bohrung (217) in einen einspritzdüsenseitigen und in einen tankseitigen Bereich abteilt.
  26. Vorrichtung nach Anspruch 25,
    dadurch gekennzeichnet,
    daß mindestens eine Bohrung (242) von der Stirnringfläche (212) durch den Ankerzylinder (210) in den erweiterten Zylinderbohrungsraum des tankseitigen Bereichs der Bohrung (217) führt, in dem der Stößelteller (218) aufgenommen ist, und daß eine Bohrung (243) durch den Ankerzylinder (210) vom einspritzdüsenseitigen Bereich der Bohrung (217) in den tankseitigen Innenraum (202) geht, wobei der mittlere Bereich des Anker-Zylinders (210) formschlüssig und nahezu flüssigkeitsdicht an der Innenwandung des Innenraums (202) sitzt.
  27. Vorrichtung nach Anspruch 26,
    dadurch gekennzeichnet,
    daß der Anker-Zylinder (210) im tankseitigen Bereich des Innenraums (202) Nuten aufweist, wobei die Nutstege an der Innenwandung des Innenraums (202) anliegen und dort Führungen für den Anker-Zylinder (210) bilden.
  28. Vorrichtung nach einem oder mehreren der Ansprüche 4 bis 22,
    dadurch gekennzeichnet,
    daß die Einspritzdüse (3) unmittelbar in der Stirnwand (200d) des Gehäuses (200) untergebracht ist und eine Ventilkappe (3b) mit einem Ventilsitz (3c) für ein Stößelventil (244) aufweist, dessen Ventilteller (245) von außen gegen den Ventilsitz (3c) gezogen wird und dessen Stößelstiel (246) die dem Ventilsitz (3c) nachfolgende Kappenbohrung (3d) frei oder durch Rippen (247) radial abgestützt durchgreift sowie frei durch die Ankerzylinderbohrung (217) geht und kurz vor dem erweiterten Bereich der Bohrung (217) endet, in dem der Stößelteller (218) des Stößelventils (218, 219)aufgenommen ist, wobei am freien Ende des Stößelstiels (246) ein Löcher oder radiale Ausnehmungen (248) aufweisender Ring (248a) befestigt ist, gegen den sich einspritzventilseitig eine Druckfeder (250) abstützt, die anderendig an der Stirnwand (200d) des Gehäuses (200) bzw. an der Ventilkappe (3b) anliegt, wobei der Ankerzylinder (210) lediglich die Durchgangsbohrung (217a) und keine radialen Nuten aufweist, sondern formschlüssig und flüssigkeitsdicht an der Innenwandung des Innenraums (202) anliegt und wobei der Stößelteller (218) nach einem bestimmten Hubweg auf den Stößelstiel (246) bei der Pumpbewegung stößt.
  29. Vorrichtung nach Anspruch 28,
    dadurch gekennzeichnet,
    daß der Stößelstiel (246) des Stößelventils (244) kürzer ausgeführt ist und in der Ruhestellung der Pumpe (1) nur bis in den einspritzventilseitigen Endbereich der Anker-zylinderbohrung (217) reicht, wobei zusätzlich eine weitere Druckfeder (251) von der Tankseite her gegen den Ring (248a) drückt, die sich einendig gegen eine eine zentrale Bohrung (217d) aufweisende Wandung (217e) abstützt, die die Bohrung (217) in einen einspritzventilseitigen und einen tankseitigen Bereich unterteilt, die über die Bohrung (217d) in Verbindung stehen.
EP96109438A 1992-03-04 1993-03-04 Kraftstoff-Einspritzvorrichtung nach dem Festkörper-Energiespeicherprinzip für Brennkraftmaschinen Expired - Lifetime EP0733798B1 (de)

Applications Claiming Priority (3)

Application Number Priority Date Filing Date Title
DE4206817A DE4206817C2 (de) 1991-10-07 1992-03-04 Kraftstoff-Einspritzvorrichtung nach dem Festkörper-Energiespeicher-Prinzip für Brennkraftmaschinen
DE4206817 1992-03-04
EP93905299A EP0629265B1 (de) 1992-03-04 1993-03-04 Kraftstoff-einspritzvorrichtung nach dem festkörper-energiespeicher-prinzip für brennkraftmaschinen

Related Parent Applications (2)

Application Number Title Priority Date Filing Date
EP93905299.9 Division 1993-03-04
EP93905299A Division EP0629265B1 (de) 1992-03-04 1993-03-04 Kraftstoff-einspritzvorrichtung nach dem festkörper-energiespeicher-prinzip für brennkraftmaschinen

Publications (3)

Publication Number Publication Date
EP0733798A2 EP0733798A2 (de) 1996-09-25
EP0733798A3 EP0733798A3 (de) 1996-12-11
EP0733798B1 true EP0733798B1 (de) 2000-06-07

Family

ID=6453209

Family Applications (5)

Application Number Title Priority Date Filing Date
EP96101218A Expired - Lifetime EP0725215B1 (de) 1992-03-04 1993-03-04 Kraftstoff-Einspritzvorrichtung nach dem Festkörper-Energiespeicher-Prinzip für Brennkraftmaschinen
EP96109438A Expired - Lifetime EP0733798B1 (de) 1992-03-04 1993-03-04 Kraftstoff-Einspritzvorrichtung nach dem Festkörper-Energiespeicherprinzip für Brennkraftmaschinen
EP93905298A Expired - Lifetime EP0629264B1 (de) 1992-03-04 1993-03-04 Hubkolbenpumpe
EP93905299A Expired - Lifetime EP0629265B1 (de) 1992-03-04 1993-03-04 Kraftstoff-einspritzvorrichtung nach dem festkörper-energiespeicher-prinzip für brennkraftmaschinen
EP93905295A Expired - Lifetime EP0630442B1 (de) 1992-03-04 1993-03-04 Kraftstoff-einspritzvorrichtung nach dem festkörper-energiespeicher-prinzip für brennkraftmaschinen

Family Applications Before (1)

Application Number Title Priority Date Filing Date
EP96101218A Expired - Lifetime EP0725215B1 (de) 1992-03-04 1993-03-04 Kraftstoff-Einspritzvorrichtung nach dem Festkörper-Energiespeicher-Prinzip für Brennkraftmaschinen

Family Applications After (3)

Application Number Title Priority Date Filing Date
EP93905298A Expired - Lifetime EP0629264B1 (de) 1992-03-04 1993-03-04 Hubkolbenpumpe
EP93905299A Expired - Lifetime EP0629265B1 (de) 1992-03-04 1993-03-04 Kraftstoff-einspritzvorrichtung nach dem festkörper-energiespeicher-prinzip für brennkraftmaschinen
EP93905295A Expired - Lifetime EP0630442B1 (de) 1992-03-04 1993-03-04 Kraftstoff-einspritzvorrichtung nach dem festkörper-energiespeicher-prinzip für brennkraftmaschinen

Country Status (8)

Country Link
US (3) US5469828A (de)
EP (5) EP0725215B1 (de)
JP (8) JP2626678B2 (de)
AT (5) ATE154100T1 (de)
AU (5) AU671100B2 (de)
CA (3) CA2127799C (de)
DE (5) DE59308851D1 (de)
WO (3) WO1993018296A1 (de)

Families Citing this family (59)

* Cited by examiner, † Cited by third party
Publication number Priority date Publication date Assignee Title
US5469828A (en) * 1992-03-04 1995-11-28 Ficht Gmbh Fuel injection device according to the solid-state energy storage principle for internal combustion engines
FR2713717B1 (fr) * 1993-12-07 1996-01-26 Rahban Thierry Pompe à actionnement électromagnétique à collision élastique de l'équipage mobile.
DE4421145A1 (de) * 1994-06-16 1995-12-21 Ficht Gmbh Ölbrenner
US5630401A (en) * 1994-07-18 1997-05-20 Outboard Marine Corporation Combined fuel injection pump and nozzle
US5562428A (en) * 1995-04-07 1996-10-08 Outboard Marine Corporation Fuel injection pump having an adjustable inlet poppet valve
ATE191064T1 (de) * 1995-04-28 2000-04-15 Ficht Gmbh & Co Kg Kraftstoff-einspritzvorrichtung für brennkraftmaschinen
DE19515775C2 (de) * 1995-04-28 1998-08-06 Ficht Gmbh Verfahren zum Ansteuern einer Erregerspule einer elektromagnetisch angetriebenen Hubkolbenpumpe
DE19515774C2 (de) * 1995-04-28 1999-04-01 Ficht Gmbh & Co Kg Kraftstoff-Einspritzvorrichtung für Brennkraftmaschinen
DE19515782A1 (de) * 1995-04-28 1996-10-31 Ficht Gmbh Kraftstoff-Einspritzvorrichtung für Brennkraftmaschinen
US5687050A (en) * 1995-07-25 1997-11-11 Ficht Gmbh Electronic control circuit for an internal combustion engine
US5779454A (en) * 1995-07-25 1998-07-14 Ficht Gmbh & Co. Kg Combined pressure surge fuel pump and nozzle assembly
DE19527550A1 (de) * 1995-07-27 1997-01-30 Ficht Gmbh Verfahren zum Steuern des Zündzeitpunktes bei Brennkraftmaschinen
DE19541508A1 (de) * 1995-11-08 1997-05-15 Bosch Gmbh Robert Kraftstoffeinspritzventil für Brennkraftmaschinen
FR2748783B1 (fr) * 1996-05-17 1998-08-14 Melchior Jean F Dispositif d'injection de combustible liquide pour moteur a combustion interne
US6161525A (en) * 1996-08-30 2000-12-19 Ficht Gmbh & Co. Kg Liquid gas engine
DE19643886C2 (de) * 1996-10-30 2002-10-17 Ficht Gmbh & Co Kg Verfahren zum Betreiben einer Brennkraftmaschine
US6280867B1 (en) 1997-12-05 2001-08-28 Griff Consulting, Inc. Apparatus for pumping a fluid in a fuel cell system
DE19845441C2 (de) 1998-10-02 2003-01-16 Ficht Gmbh & Co Kg Verfahren zum elektronischen Trimmen einer Einspritzvorrichtung
DE19860573A1 (de) * 1998-12-29 2000-07-06 Eberspaecher J Gmbh & Co Brennstoffdosierpumpe für ein Heizgerät, insbesondere für einen Zuheizer oder eine Standheizung eines Kraftfahrzeuges
DE19918984A1 (de) * 1999-04-27 2000-11-02 Deutz Ag Kraftstoffversorgungssystem einer Brennkraftmaschine
US6283095B1 (en) * 1999-12-16 2001-09-04 Bombardier Motor Corporation Of America Quick start fuel injection apparatus and method
DE10002721A1 (de) * 2000-01-22 2001-08-02 Bosch Gmbh Robert Ventil zum Steuern von Flüssigkeiten
US6966760B1 (en) * 2000-03-17 2005-11-22 Brp Us Inc. Reciprocating fluid pump employing reversing polarity motor
US6364281B1 (en) * 2000-03-22 2002-04-02 Eaton Corporation Method of energizing solenoid operated valves
US6295972B1 (en) * 2000-03-30 2001-10-02 Bombardier Motor Corporation Of America Fuel delivery using multiple fluid delivery assemblies per combustion chamber
US6792968B1 (en) * 2000-05-30 2004-09-21 Robert H. Breeden Pump assembly and method
EP1306544B1 (de) * 2000-08-02 2006-10-04 Mikuni Corporation Elektronisch gesteuerte kraftstoffeinspritzvorrichtung
JP4431268B2 (ja) * 2000-11-17 2010-03-10 株式会社ミクニ 電子制御燃料噴射装置
CN1133810C (zh) * 2001-02-16 2004-01-07 郗大光 电动燃油喷射装置
JP2003003889A (ja) * 2001-06-20 2003-01-08 Denso Corp 内燃機関の燃料供給装置
DE60210508T2 (de) * 2001-11-29 2007-05-10 Mikuni Corp. Verfahren zum antrieb einer kraftstoffeinspritzpumpe
US6693787B2 (en) * 2002-03-14 2004-02-17 Ford Global Technologies, Llc Control algorithm for soft-landing in electromechanical actuators
US7753657B2 (en) * 2005-02-02 2010-07-13 Brp Us Inc. Method of controlling a pumping assembly
DE102006003484A1 (de) * 2005-03-16 2006-09-21 Robert Bosch Gmbh Vorrichtung zum Einspritzen von Kraftstoff
US20070075285A1 (en) * 2005-10-05 2007-04-05 Lovejoy Kim A Linear electrical drive actuator apparatus with tandem fail safe hydraulic override for steam turbine valve position control
US7857281B2 (en) * 2006-06-26 2010-12-28 Incova Technologies, Inc. Electrohydraulic valve control circuit with magnetic hysteresis compensation
DE102007037869A1 (de) * 2007-08-10 2009-02-12 Robert Bosch Gmbh Aktuator für eine Brennkraftmaschine sowie Verfahren zum Betreiben eines Aktuators
DE102007039794A1 (de) 2007-08-23 2009-03-12 Eberspächer Unna GmbH & Co. KG Dosiersystem und Verfahren zum Dosieren eines flüssigen Reduktionsmittels in ein Abgassystem einer Brennkraftmaschine
DE102008007349B4 (de) * 2008-02-04 2021-07-08 Robert Bosch Gmbh Kompakte Einspritzvorrichtung mit reduzierter Dampfblasenneigung
DE102009012688B3 (de) * 2009-03-11 2010-07-22 Continental Automotive Gmbh Ventil zum Einblasen von Gas
DE102009014444A1 (de) * 2009-03-23 2010-10-07 Continental Automotive Gmbh Tankentlüftungsvorrichtung für eine aufgeladene Brennkraftmaschine und zugehöriges Steuerverfahren
DE102011077059A1 (de) * 2011-06-07 2012-12-13 Robert Bosch Gmbh Kraftstoffeinspritzventil
DE102011078159A1 (de) * 2011-06-28 2013-01-03 Robert Bosch Gmbh Kraftstoffeinspritzventil
US9500170B2 (en) 2012-10-25 2016-11-22 Picospray, Llc Fuel injection system
US20170030298A1 (en) * 2015-07-31 2017-02-02 Briggs & Stratton Corporation Atomizing fuel delivery system
JP6245238B2 (ja) * 2015-09-11 2017-12-13 トヨタ自動車株式会社 燃料ポンプ
DE102015014350B4 (de) * 2015-11-05 2017-06-14 L'orange Gmbh Druckbetätigter Injektor
DE102015014349B4 (de) * 2015-11-05 2017-06-14 L'orange Gmbh Druckstoßbetätigter Injektor
US10030961B2 (en) 2015-11-27 2018-07-24 General Electric Company Gap measuring device
US10197025B2 (en) 2016-05-12 2019-02-05 Briggs & Stratton Corporation Fuel delivery injector
WO2018022754A1 (en) 2016-07-27 2018-02-01 Picospray, Llc Reciprocating pump injector
US10723610B2 (en) * 2016-09-26 2020-07-28 Gate Cfv Solutions, Inc. Magnetically controlled valve using a blocking device and a movement device
US10947940B2 (en) 2017-03-28 2021-03-16 Briggs & Stratton, Llc Fuel delivery system
DE102018200715A1 (de) * 2018-01-17 2019-07-18 Robert Bosch Gmbh Kraftstofffördereinrichtung für kryogene Kraftstoffe
DE102018211338A1 (de) * 2018-07-10 2020-01-16 Robert Bosch Gmbh Kraftstofffördereinrichtung für kryogene Kraftstoffe und Verfahren zum Betreiben einer Kraftstofffördereinrichtung
US11668270B2 (en) 2018-10-12 2023-06-06 Briggs & Stratton, Llc Electronic fuel injection module
CN111441889B (zh) * 2020-04-27 2024-11-05 安徽宝隽机车部件有限公司 一种燃油泵转子安装装置
KR102572903B1 (ko) * 2021-01-07 2023-08-30 주식회사 현대케피코 고압 연료펌프의 유량제어밸브 구조
DE102021207320A1 (de) * 2021-07-12 2023-01-12 Robert Bosch Gesellschaft mit beschränkter Haftung Sperrventil und Steuerungsverfahren zum Steuern eines Wasserstoffflusses aus einem Drucktank

Family Cites Families (42)

* Cited by examiner, † Cited by third party
Publication number Priority date Publication date Assignee Title
DE213472C (de) *
CH328209A (de) * 1953-12-23 1958-02-28 Cav Ltd Brennstoffeinspritzpumpe für Brennkraftmaschinen
FR1150971A (fr) * 1956-05-24 1958-01-22 Perfectionnements apportés à des dispositifs d'injection de combustible
US2881749A (en) * 1956-11-13 1959-04-14 Studebaker Packard Corp Combination accumulator and starting pump for fuel injection system
FR1183662A (fr) * 1957-10-01 1959-07-10 Pompe d'injection électromagnétique pour moteurs à combustion interne
DE1278792B (de) * 1963-12-05 1968-09-26 Vyzk Ustav Prislusenstvi Motor Kraftstoffeinspritzpumpe mit Pumpen- und Verteilerrotor und Regelung der Einspritzmenge durch einen Ausweichkolben
DE2306875A1 (de) * 1973-02-13 1974-08-15 Bosch Gmbh Robert Elektromagnetische dosierpumpe
DE2307435A1 (de) * 1973-02-15 1974-08-22 Bosch Gmbh Robert Kraftstoffeinspritzeinrichtung fuer brennkraftmaschinen
JPS51120321A (en) * 1975-04-14 1976-10-21 Yanmar Diesel Engine Co Ltd Fuel injection pump for diesel engine
DD120514A1 (de) * 1975-06-09 1976-06-12
CH597596A5 (de) * 1975-06-27 1978-04-14 Hoffmann La Roche
GB1574128A (en) * 1976-01-20 1980-09-03 Lucas Industries Ltd Fuel pump injector
GB1574132A (en) * 1976-03-20 1980-09-03 Lucas Industries Ltd Fuel injection pumps
DE2634282C2 (de) * 1976-07-28 1978-04-13 Mannesmann Ag, 4000 Duesseldorf Verfahren zum kontinuierlichen Einbringen von Zusatzmitteln in ein mit flüssigem Metall gefülltes Gefäß
DE2720144A1 (de) * 1977-05-05 1978-11-16 Volkswagenwerk Ag Einspritzvorrichtung, insbesondere fuer eine brennkraftmaschine
DE2809122A1 (de) * 1978-03-03 1979-09-06 Bosch Gmbh Robert Einspritzvorrichtung fuer eine brennkraftmaschine
NL7810629A (nl) * 1978-10-25 1980-04-29 Holec Nv Inrichting voor het afgeven van brandstof aan een verbrandingsmotor.
US4355620A (en) * 1979-02-08 1982-10-26 Lucas Industries Limited Fuel system for an internal combustion engine
JPS5749059A (en) * 1980-09-08 1982-03-20 Toshiba Corp Driving circuit of injector
US4327695A (en) * 1980-12-22 1982-05-04 Ford Motor Company Unit fuel injector assembly with feedback control
JPS5851233A (ja) * 1981-09-21 1983-03-25 Hitachi Ltd 燃料噴射弁駆動回路
DE3237258C1 (de) * 1982-10-08 1983-12-22 Daimler-Benz Ag, 7000 Stuttgart Elektrisch vorgesteuerte Ventilanordnung
DD213472B5 (de) * 1983-02-04 1999-12-30 Ficht Gmbh Pumpe-Duese-System fuer Brennkraftmaschinen
DE3329734A1 (de) * 1983-08-17 1985-03-07 Mannesmann Rexroth GmbH, 8770 Lohr Proportionalmagnet
JPS6062658A (ja) * 1983-09-16 1985-04-10 Mitsubishi Heavy Ind Ltd ジャ−ク式燃料ポンプの噴射開始タイミング変更装置
GB8402470D0 (en) * 1984-01-31 1984-03-07 Lucas Ind Plc Drive circuits
DE3567506D1 (en) * 1984-08-14 1989-02-16 Ail Corp Fuel delivery control system
NL8501647A (nl) * 1985-06-06 1987-01-02 Volvo Car Bv Brandstofinjector.
JPS61286540A (ja) * 1985-06-14 1986-12-17 Nippon Denso Co Ltd 燃料噴射制御装置
JPS62107265A (ja) * 1985-11-02 1987-05-18 Nippon Soken Inc 電歪式油圧制御弁
JP2546231B2 (ja) * 1986-03-12 1996-10-23 日本電装株式会社 圧電素子の駆動装置
FR2607278B1 (fr) * 1986-11-26 1989-06-23 Bendix Electronics Sa Circuit integrable de regulation de courant dans une charge inductive et son application a la commande de bobine d'allumage d'un moteur a combustion interne
DE3701872A1 (de) * 1987-01-23 1988-08-04 Pierburg Gmbh Elektromagnetisch getaktetes einspritzventil fuer gemischverdichtende brennkraftmaschinen
GB8703419D0 (en) * 1987-02-13 1987-03-18 Lucas Ind Plc Fuel injection pump
EP0309753A1 (de) * 1987-09-30 1989-04-05 Siemens Aktiengesellschaft Verfahren zur Überwachung einer induktiven Last
NZ222499A (en) * 1987-11-10 1990-08-28 Nz Government Fuel injector pump: flow rate controlled by controlling relative phase of reciprocating piston pumps
JP2568603B2 (ja) * 1988-01-11 1997-01-08 日産自動車株式会社 燃料噴射装置
DE3903313A1 (de) * 1989-02-04 1990-08-09 Bosch Gmbh Robert Speicherkraftstoffeinspritzvorrichtung
JPH03107568A (ja) * 1989-09-22 1991-05-07 Aisin Seiki Co Ltd 燃料噴射装置
DE4106015A1 (de) * 1991-02-26 1992-08-27 Ficht Gmbh Druckstoss-kraftstoffeinspritzung fuer verbrennungsmotoren
US5469828A (en) * 1992-03-04 1995-11-28 Ficht Gmbh Fuel injection device according to the solid-state energy storage principle for internal combustion engines
US5437255A (en) * 1994-03-15 1995-08-01 Sadley; Mark L. Fuel injection sytem employing solid-state injectors for liquid fueled combustion engines

Also Published As

Publication number Publication date
JP3282711B2 (ja) 2002-05-20
WO1993018297A1 (de) 1993-09-16
EP0725215A3 (de) 1996-08-21
ATE154100T1 (de) 1997-06-15
ATE193753T1 (de) 2000-06-15
EP0725215A2 (de) 1996-08-07
JP3330544B2 (ja) 2002-09-30
JPH11107883A (ja) 1999-04-20
DE59308851D1 (de) 1998-09-10
AU664739B2 (en) 1995-11-30
AU667345B2 (en) 1996-03-21
CA2127800C (en) 1999-06-29
CA2127801A1 (en) 1993-09-16
JPH09170519A (ja) 1997-06-30
EP0629264B1 (de) 1996-07-24
AU3630893A (en) 1993-10-05
CA2127799A1 (en) 1993-09-16
AU3630793A (en) 1993-10-05
AU3790995A (en) 1996-03-07
EP0629265A1 (de) 1994-12-21
JP2626678B2 (ja) 1997-07-02
AU679648B2 (en) 1997-07-03
AU681827B2 (en) 1997-09-04
CA2127801C (en) 1999-06-15
DE59310057D1 (de) 2000-07-13
JPH07504475A (ja) 1995-05-18
US5520154A (en) 1996-05-28
AU3630593A (en) 1993-10-05
EP0630442B1 (de) 1996-12-27
US5469828A (en) 1995-11-28
DE59304903D1 (de) 1997-02-06
EP0629264A1 (de) 1994-12-21
JPH11101169A (ja) 1999-04-13
AU671100B2 (en) 1996-08-15
DE59303326D1 (de) 1996-08-29
EP0725215B1 (de) 1998-08-05
WO1993018290A1 (de) 1993-09-16
ATE140768T1 (de) 1996-08-15
ATE146851T1 (de) 1997-01-15
JPH07504476A (ja) 1995-05-18
JP2867334B2 (ja) 1999-03-08
JP2002089413A (ja) 2002-03-27
AU5627396A (en) 1996-10-03
CA2127799C (en) 1999-06-29
CA2127800A1 (en) 1993-09-16
US6188561B1 (en) 2001-02-13
HK1013676A1 (en) 1999-09-03
EP0733798A3 (de) 1996-12-11
JP2626677B2 (ja) 1997-07-02
JPH07504954A (ja) 1995-06-01
EP0629265B1 (de) 1997-06-04
EP0733798A2 (de) 1996-09-25
JPH09177636A (ja) 1997-07-11
DE59306679D1 (de) 1997-07-10
EP0630442A1 (de) 1994-12-28
WO1993018296A1 (de) 1993-09-16
ATE169376T1 (de) 1998-08-15

Similar Documents

Publication Publication Date Title
EP0733798B1 (de) Kraftstoff-Einspritzvorrichtung nach dem Festkörper-Energiespeicherprinzip für Brennkraftmaschinen
DE3874702T2 (de) Steuerventil.
DE60126173T2 (de) Magnetventil und Brennstoffeinspritzventil unter Verwendung desselben
EP0764254B1 (de) Ölbrenner
DE3151953C2 (de)
EP0941400A1 (de) Ventil zum steuern von flüssigkeiten
DE4206817C2 (de) Kraftstoff-Einspritzvorrichtung nach dem Festkörper-Energiespeicher-Prinzip für Brennkraftmaschinen
DE19545162B4 (de) Brennstoffeinspritzvorrichtung mit federvorgespanntem Steuerventil
WO1995034786A9 (de) Ölbrenner
EP0489740B1 (de) Kraftstoffverteilereinspritzpumpe für brennkraftmaschinen
EP0302904B1 (de) Kraftstoffeinspritzpumpe für eine brennkraftmaschine
EP0279267B1 (de) Steuereinrichtung für ein Ventil
DE2938412C2 (de)
DE2740879A1 (de) Einspritzventil fuer hubkolbenbrennkraftmaschinen
DE102009055356A1 (de) Elektromagnetisch betätigtes Mengensteuerventil, insbesondere zur Steuerung der Fördermenge einer Kraftstoff-Hochdruckpumpe
DE3731240C2 (de) Einspritzvorrichtung
EP0656472B1 (de) Zur Vor- und Haupteinspritzung von Kraftstoff eingerichtete Einspritzvorrichtung
WO2005052352A1 (de) Einspritzdüse
EP0685645A2 (de) Einspritzventil für eine Kraftstoffeinspritzanlage einer Brennkraftmaschine, insbesondere eines Dieselmotors
WO1984002379A1 (fr) Gicleur de carburant pour moteurs a combustion interne
WO2006079425A1 (de) Kraftstoffeinspritzvorrichtung
DE10329732A1 (de) Kraftstoffeinspritzsystem für Brennkraftmaschinen
DE3933233A1 (de) Pumpeduese fuer die kraftstoffeinspritzanlage einer brennkraftmaschine
DE4022198A1 (de) Steuereinrichtung fuer eine kraftstoff-einspritzduese
DE3933232A1 (de) Pumpeduese fuer die einspritzanlage einer brennkraftmaschine

Legal Events

Date Code Title Description
PUAI Public reference made under article 153(3) epc to a published international application that has entered the european phase

Free format text: ORIGINAL CODE: 0009012

17P Request for examination filed

Effective date: 19960612

AC Divisional application: reference to earlier application

Ref document number: 629265

Country of ref document: EP

AK Designated contracting states

Kind code of ref document: A2

Designated state(s): AT BE DE FR GB IT SE

PUAL Search report despatched

Free format text: ORIGINAL CODE: 0009013

AK Designated contracting states

Kind code of ref document: A3

Designated state(s): AT BE DE FR GB IT SE

17Q First examination report despatched

Effective date: 19980512

GRAG Despatch of communication of intention to grant

Free format text: ORIGINAL CODE: EPIDOS AGRA

GRAG Despatch of communication of intention to grant

Free format text: ORIGINAL CODE: EPIDOS AGRA

GRAH Despatch of communication of intention to grant a patent

Free format text: ORIGINAL CODE: EPIDOS IGRA

RAP1 Party data changed (applicant data changed or rights of an application transferred)

Owner name: FICHT GMBH & CO. KG

GRAH Despatch of communication of intention to grant a patent

Free format text: ORIGINAL CODE: EPIDOS IGRA

GRAA (expected) grant

Free format text: ORIGINAL CODE: 0009210

AC Divisional application: reference to earlier application

Ref document number: 629265

Country of ref document: EP

AK Designated contracting states

Kind code of ref document: B1

Designated state(s): AT BE DE FR GB IT SE

REF Corresponds to:

Ref document number: 193753

Country of ref document: AT

Date of ref document: 20000615

Kind code of ref document: T

GBT Gb: translation of ep patent filed (gb section 77(6)(a)/1977)

Effective date: 20000608

REF Corresponds to:

Ref document number: 59310057

Country of ref document: DE

Date of ref document: 20000713

ET Fr: translation filed
ITF It: translation for a ep patent filed
PLBE No opposition filed within time limit

Free format text: ORIGINAL CODE: 0009261

STAA Information on the status of an ep patent application or granted ep patent

Free format text: STATUS: NO OPPOSITION FILED WITHIN TIME LIMIT

26N No opposition filed
REG Reference to a national code

Ref country code: GB

Ref legal event code: IF02

PGFP Annual fee paid to national office [announced via postgrant information from national office to epo]

Ref country code: SE

Payment date: 20020306

Year of fee payment: 10

PGFP Annual fee paid to national office [announced via postgrant information from national office to epo]

Ref country code: AT

Payment date: 20020313

Year of fee payment: 10

PGFP Annual fee paid to national office [announced via postgrant information from national office to epo]

Ref country code: BE

Payment date: 20020527

Year of fee payment: 10

PGFP Annual fee paid to national office [announced via postgrant information from national office to epo]

Ref country code: GB

Payment date: 20030226

Year of fee payment: 11

PG25 Lapsed in a contracting state [announced via postgrant information from national office to epo]

Ref country code: AT

Free format text: LAPSE BECAUSE OF NON-PAYMENT OF DUE FEES

Effective date: 20030304

PG25 Lapsed in a contracting state [announced via postgrant information from national office to epo]

Ref country code: SE

Free format text: LAPSE BECAUSE OF NON-PAYMENT OF DUE FEES

Effective date: 20030305

PGFP Annual fee paid to national office [announced via postgrant information from national office to epo]

Ref country code: FR

Payment date: 20030310

Year of fee payment: 11

PGFP Annual fee paid to national office [announced via postgrant information from national office to epo]

Ref country code: DE

Payment date: 20030313

Year of fee payment: 11

PG25 Lapsed in a contracting state [announced via postgrant information from national office to epo]

Ref country code: BE

Free format text: LAPSE BECAUSE OF NON-PAYMENT OF DUE FEES

Effective date: 20030331

REG Reference to a national code

Ref country code: FR

Ref legal event code: TP

Ref country code: FR

Ref legal event code: CD

BERE Be: lapsed

Owner name: *FICHT G.M.B.H. & CO. K.G.

Effective date: 20030331

EUG Se: european patent has lapsed
PG25 Lapsed in a contracting state [announced via postgrant information from national office to epo]

Ref country code: GB

Free format text: LAPSE BECAUSE OF NON-PAYMENT OF DUE FEES

Effective date: 20040304

PG25 Lapsed in a contracting state [announced via postgrant information from national office to epo]

Ref country code: DE

Free format text: LAPSE BECAUSE OF NON-PAYMENT OF DUE FEES

Effective date: 20041001

GBPC Gb: european patent ceased through non-payment of renewal fee
PG25 Lapsed in a contracting state [announced via postgrant information from national office to epo]

Ref country code: FR

Free format text: LAPSE BECAUSE OF NON-PAYMENT OF DUE FEES

Effective date: 20041130

REG Reference to a national code

Ref country code: FR

Ref legal event code: ST

PG25 Lapsed in a contracting state [announced via postgrant information from national office to epo]

Ref country code: IT

Free format text: LAPSE BECAUSE OF NON-PAYMENT OF DUE FEES

Effective date: 20050304