EP0463992B1 - Rasiergerät - Google Patents
Rasiergerät Download PDFInfo
- Publication number
- EP0463992B1 EP0463992B1 EP91810461A EP91810461A EP0463992B1 EP 0463992 B1 EP0463992 B1 EP 0463992B1 EP 91810461 A EP91810461 A EP 91810461A EP 91810461 A EP91810461 A EP 91810461A EP 0463992 B1 EP0463992 B1 EP 0463992B1
- Authority
- EP
- European Patent Office
- Prior art keywords
- flat
- application
- preparation
- applicator
- contour
- Prior art date
- Legal status (The legal status is an assumption and is not a legal conclusion. Google has not performed a legal analysis and makes no representation as to the accuracy of the status listed.)
- Expired - Lifetime
Links
Images
Classifications
-
- B—PERFORMING OPERATIONS; TRANSPORTING
- B26—HAND CUTTING TOOLS; CUTTING; SEVERING
- B26B—HAND-HELD CUTTING TOOLS NOT OTHERWISE PROVIDED FOR
- B26B21/00—Razors of the open or knife type; Safety razors or other shaving implements of the planing type; Hair-trimming devices involving a razor-blade; Equipment therefor
- B26B21/40—Details or accessories
- B26B21/44—Means integral with, or attached to, the razor for storing shaving-cream, styptic, or the like
- B26B21/446—Shaving aid stored in the razor handle
-
- B—PERFORMING OPERATIONS; TRANSPORTING
- B05—SPRAYING OR ATOMISING IN GENERAL; APPLYING FLUENT MATERIALS TO SURFACES, IN GENERAL
- B05B—SPRAYING APPARATUS; ATOMISING APPARATUS; NOZZLES
- B05B11/00—Single-unit hand-held apparatus in which flow of contents is produced by the muscular force of the operator at the moment of use
- B05B11/0005—Components or details
-
- B—PERFORMING OPERATIONS; TRANSPORTING
- B05—SPRAYING OR ATOMISING IN GENERAL; APPLYING FLUENT MATERIALS TO SURFACES, IN GENERAL
- B05B—SPRAYING APPARATUS; ATOMISING APPARATUS; NOZZLES
- B05B11/00—Single-unit hand-held apparatus in which flow of contents is produced by the muscular force of the operator at the moment of use
- B05B11/01—Single-unit hand-held apparatus in which flow of contents is produced by the muscular force of the operator at the moment of use characterised by the means producing the flow
- B05B11/10—Pump arrangements for transferring the contents from the container to a pump chamber by a sucking effect and forcing the contents out through the dispensing nozzle
- B05B11/1028—Pumps having a pumping chamber with a deformable wall
- B05B11/1032—Pumps having a pumping chamber with a deformable wall actuated without substantial movement of the nozzle in the direction of the pressure stroke
Definitions
- the invention is in the field of personal care and relates to a shaving device for wet shaving (blade shaving) according to the preamble of the independent claims, with which hair on any part of the body (surface, rounding or contour shaving) using any preparation (for example problem shaving), that is applied by the device while shaving, can be cut off very close.
- a lubricant and softener any problem shave
- the flat application of thin layers of such cosmetic (possibly pharmaceutical) preparations to the skin is usually carried out by hand or by spraying.
- a good dosage and a very regular distribution is difficult. It is unavoidable that part of the sometimes expensive preparation to be applied remains on the application hand.
- spray cans with which the application problem is also not solved are no longer desirable because of environmental pollution.
- the hygiene problem always remains current.
- the object of the invention to provide such a device with the aid of which a pumpable preparation can be applied as a thin, regular layer over a wide area and in a manner suitable for cutting.
- the supply of preparation for application should only be possible during the application or pumping process be. If not applied, all feed routes should be automatically interrupted and shielded. For hygienic reasons, it should be prevented that contaminants are brought into the preparation from outside. It should be easy for the user to precisely dose the preparation.
- the device is said to be suitable for shaving for women as well as for men. For women-specific shaving, areas with greater curvatures, i.e. rounding shaving (concave and convex), are required, while for men-specific shaving, areas with predominantly less pronounced curves are in the foreground. But the so-called "dimple problem" has always been an issue for men-specific shaving and it is not least due to the requirements of women-specific shaving that these problems of male shaving can also be solved.
- the device according to the characterizing parts of the independent claims consists of an applicator part, a fluid supply part and a blade part.
- the following description and the associated figures first deal generally with the interaction of the applicator part and the blade part ( Figure 1), then in detail with the applicator part ( Figures 2 and 3), with the feed part ( Figures 4 to 8) and finally with the integration of the blade part to a razor according to the invention ( Figures 9 to 14), in which the three parts come together to work.
- the blade part and applicator part are formally matched to one another; the feed part including the reservoir is functionally matched to the applicator part, so that the applicator part on the one hand doses to the blade part and the shield to the dining area.
- this intermediate link can be designed in many ways, can be adapted to any blade shape and controls the pumped-in flow of the fluid from its reservoir.
- the application opening is preferably slit-shaped.
- the elements delimiting the opening can be movable or rigid. If they are movable, the mobility can be used for application (for example, rollers) or for shrinking to cover the opening (for example, swivel axis of a roller) or for both.
- the elements delimiting the opening can be arranged in relation to the blade part (one or more cutting edges) in such a way that the cutting is mechanically supported, so that the geometry of the cutting edge (s) and opening limiting element (s) is of additional importance.
- the application opening is in turn connected via the feed part to the fluid reservoir, which is shielded by the feed channel and the delimiting elements, in order to meet the hygiene requirements.
- 1.1 shows an abstracted schematic representation of the feeding, application and cutting function of a shaving device.
- An application angle is designated by ⁇ and a cutting angle is designated by ⁇ , the angle ⁇ being greater than the angle ⁇ for trouble-free shaving.
- the two angles relate to the skin surface H.
- an applicator part (manipulation part) 30.2 influencing the cutting angle, which on the one hand delimits the application opening on the blade side and optionally the Fluid channel 10 is the closing part.
- a crossed double arrow shows the adjustment options. Pushed towards the skin surface, it causes a local pushing back of the skin surface H into the position H '.
- the scraping A that is hair and abrasion of the preparation and skin, can be removed between the blade 2 and the manipulation part 30.2.
- the fluid In the fluid channel, the fluid is conveyed to the applicator part under a certain pump pressure (arrow p) and emerges at the application opening in the area of the skin surface. If the blade part is moved in the cutting direction, the applicator part distributes the preparation over the skin surface.
- FIG. 1.2 shows an embodiment according to the invention, in which the fluid channel 10 of the applicator part can be closed or at least narrowed by a roller-shaped addition on the wall parts 30.1, 30.2.
- the applicator part 30.2 (manipulation part) influencing the cutting angle is, for example, a cylindrical roller 3 which on the one hand delimits the application opening on the blade side and partially covers the fluid channel by its position.
- the adjustment options are indicated by a double arrow if the roller 3 is mounted in a slot-shaped bearing.
- the channel is covered more or less.
- the skin surface is influenced more or less, that is, locally pushed back into a position H '.
- roller-shaped manipulator part 30.2 If the roller-shaped manipulator part 30.2 is now brought into a rest position, in which the outlet opening of the fluid channel 10 is closed, for example by means of spring pressure, movement of the blade part in the cutting direction causes the latter to open, so that the fluid under pump pressure can emerge unhindered. At the same time, roller part 30.2 spreads it on the skin surface.
- FIG. 1.3 shows a schematic section through an exemplary embodiment of the device according to the invention, which consists of the three parts, namely an applicator, a cutting device and a feed device from which the preparation is fed into the applicator.
- the applicator corresponds to the roller solution according to Figure 1.2.
- the cutting device is integrated in the applicator, that is to say the cutting device and applicator together form the shaving head 1.
- the main component of the applicator is an application roller 3 arranged parallel to the blades 2.
- the feeding device is accommodated in the handle 4 of the device and consists of a small pump 5 and a reservoir 6.
- the shaving head 1 is pulled over the skin with the aid of the handle 4 in such a way that the application roller 3 rolls over the skin immediately in front of the blades 2.
- the pump 5 is positioned in such a way that it lies between the thumb and forefinger and, depending on the embodiment, can be actuated by slightly alternating pressing and releasing.
- the preparation is pumped from the reservoir 6 into the applicator and distributed as a thin film on the application roller 3 and transferred from there to the skin.
- the dosage is easy. If the dosage is too short, the application roller runs dry, and if the dosage is too strong, it forms droplets.
- the applicator consists of an application roll and a feed system.
- the application roll is rolled over the skin for the application, for example. It is, for example, rotatably and pivotably mounted so that it is swiveled out in one direction (application direction R) when unrolling, while it remains in its rest position when unrolling in the other direction and, if it is not rolling. Swiveling out makes it possible for a thin film of preparation to be carried outwards from the feed system on the roll surface. In the rest position, the application roller shields the feed system from the outside. In another embodiment, the application roller is fixed and the gap width remains constant. This embodiment is suitable for preparations that do not dry out too much and tend to form little film. In a further embodiment, the application roller can also only be pivoted, but not rotatably, so that it closes and opens the application opening, but acts for the application itself in approximately the same way as an application spatula, as will be described below.
- FIG. 2a shows an applicator from the side. It consists of the roller 3, a head piece 21 and two bearing parts 22 attached laterally from the head piece 21.
- the bearings 23 in the bearing parts 22 are either designed so that they not only rotate the roller 3 about its axis of rotation, but also pivot it out Allow axis of rotation or so that they only move about their axis of rotation.
- the first variant results in a variable application gap width and in the second variant a fixed application gap width.
- FIG. 2b which represents a separate bearing part 22, a bearing 23, which enables a variable application gap width, is also shown separately.
- FIG. 3a shows a section through the head part 21 of the embodiment of the applicator shown in FIG. 2a.
- the bore opens into a channel 32, which runs parallel to roller 3 and is open towards roller 3.
- the bore is designed in accordance with the connection to the feed device.
- the head part is shaped into lips 33.1 and 33.2 on both sides of the channel 32.
- the bearings of the roller 3 in the bearing parts 22 are designed in such a way that the roller can assume two extreme swivel positions: a “rest position” (shown in solid lines in the figure) and an “application position”"(shown in dashed lines in the figure).
- a “rest position” shown in solid lines in the figure
- an “application position” shown in dashed lines in the figure.
- the width of the column A does not change, while the column C widens until its width in the application position corresponds to the desired exit quantity for the preparation.
- the application position for a desired exit quantity can also remain fixed, so that the rest position corresponds to that of the application position.
- the shielding is then good or better, depending on the film formation, the drying is good or worse.
- the roller 3 If, in the case of the embodiment with a variable application gap, the roller 3 is pulled over the skin in the application direction, it is rotated by the friction between the skin and the roller in the direction of the arrow R and thereby swung out into the application position and held in it. If the roller 3 is rotated in the direction opposite the arrows R, it is pivoted into the rest position and held in this position. If the roller 3 is in its application position, but is no longer rotated in the direction of application, which is the case immediately after application, it is withdrawn against the rest position by the surface tension of the preparation surface in the gap C. The physical properties of the preparation are therefore used to close gap C after application. The surface is under tension that tries to reduce the surface to a minimum.
- the roller is moved against the rest position as soon as it is not in the opposite direction by the application movement is pressed. If the applicator is left to its own devices after the gap C has been closed by the surface tension, a skin forms in the gap C by drying the preparation surface, which shields the rest of the preparation from the outside in the delivery system. This shielding is sufficient to prevent further drying of the preparation and to protect the preparation against oxidants and bacteria, for example. When reapplied, the skin covering gap C is immediately torn and does not interfere with the application in any way.
- the gap A between the lip 33.1 and the roller 3 is very small in any pivot position (open / closed or for, correspondingly open) of the roller 3, the channel 32 on the side of the lip 33.1 is always closed to the outside. In the rest position and in the application position of the roller 3, no preparation can get out in this direction, in the application position no contamination that carries the roller from the skin can pass the lip 33.1 into the channel 32. In the embodiment with a fixed gap, this is only weakened.
- a lid which is placed on the applicator after the application has ended and which is shaped in such a way that it presses the roller 3 against the two lips 33.1 and 33.2 or simply covers the application gap.
- additional mechanical pressing means for example springs, can be provided in order to press the application roller 3 against the sealing lip. This may be necessary if, for example, such a shaving device is exposed to strong pressure fluctuations in travel versions and an additional closing force is desired on the device.
- FIG. 3b shows a section through the embodiment of the applicator according to the invention with a variable gap. It shows the same parts as the applicator shown in FIG. 3a, but a blade carrier 34 with blades 2 is placed on its head part 21 by means of, for example, a sliding and snap fastening.
- the roller 3 is advantageously as long as the width of the blade or blades 2.
- the blade carrier 34 is placed on the head part 21 in such a way that the roller runs parallel to the blades and when the shaving head is guided over the skin in the shaving direction (same as the application direction) is rotated in the direction of arrow R and is thereby pivoted into the application position.
- the application device with application roller 3, head part 21 and bearing parts 22 can also be integrated in an interchangeable blade carrier which can be placed or exchanged as a whole on a razor head.
- This solution has hygienic advantages because the application roller that comes into contact with the skin is periodically renewed with the blades.
- the supply part arranged on the blade carrier is connected to the supply part arranged on the razor by suitable measures.
- FIG. 4a shows a schematic longitudinal section through an exemplary embodiment of the feeding device according to the invention.
- this consists of a small pump 5 and a reservoir 6, both of which together, for example, simultaneously form the handle 4 of the application device, or are accommodated in a corresponding handle.
- the reservoir 6, as shown, is accommodated in the end 4.1 of the handle (reservoir part of the handle) facing away from the applicator, where a sufficient volume does not have a disruptive effect.
- the small pump 5 is advantageously arranged in such a way that it can be actuated during application, that is to say its actuating members are located in the region of the fingers holding the handle during application, that is to say at the end of the handle facing the applicator, and forms the pump part 4.2 of the handle .
- the handle 4 is connected to the connecting part 4.3 with the supply system of the applicator.
- the main components of the small pump are an elastic hollow bellows 41, the internal volume of which can be reduced, a one-way valve 42, which functions as an outlet valve for the reservoir 6, and a second one-way valve 43, which functions as an inlet valve in the applicator.
- the reservoir is provided with an appropriate pressure compensation means so that pressure equalization is possible when the preparation is pressed out of the reservoir.
- This can be, for example, a piston 48 movable in the reservoir 6 or a pressure compensation valve.
- an inner pump body 44 is attached inside the bellows 41, which in this exemplary embodiment has the shape of a tube, fixed to the reservoir part 4.1 of the handle and is connected to the connecting part 4.3 and is provided with openings 45 for pressure equalization. Because the inner pump body is angled, it forms an ergonomic handle together with the other parts of the feed device.
- the bellows 41 is placed over the inner pump body 44 and clamped in place with elastically deformable means 46, for example clamping rings.
- the two one-way valves 42 and 43 are, for example, diaphragm valves.
- a resilient membrane 47.1 keeps the outlet of the reservoir closed in the force-free state and a corresponding membrane 47.2 keeps the entrance to the applicator closed.
- the two membranes are arranged in such a way that the membrane 47.2 is deformed in the event of overpressure within the bellows, but the membrane 47.1 in the event of underpressure.
- the membranes are designed in such a way that they allow the preparation to pass through when deformed.
- Figures 4b to d show examples of membranes suitable for use. 4b and c represent hollow spherical membranes which comprise openings D lying outside the area of the opening to be closed, FIG. 4d a rectangular membrane which, because it does not span the entire inner cross section of the handle, allows passage for the preparation.
- Figure 5 shows a further embodiment of the small pump.
- the pump itself is designed in the same way as the pump in FIG. 4, but includes other one-way valves 42 and 43. As shown in FIG. 5a, these one-way valves can be ball or piston valves.
- a ball 51 or a piston 52 are pressed by a spring 53 in a direction opposite to the pressure force generated by the bellows 41 against the opening to be closed.
- the spring 53 is designed such that the compressive force that can be generated with the bellows 41 is greater than the spring force.
- the piston 52 must allow passage for the preparation. For this purpose, it can be provided, for example, on its cylindrical surface with grooves 55, which can be seen in the detailed drawing 5b.
- the inner pump body 44 which is advantageously made of metal, is a separate part, while the reservoir part 4.1 of the handle and the connecting part 4.3 to the applicator with elastically deformable clamp connections on the Ends K are provided.
- the bellows 41 is placed over the pump body 44 and then the reservoir part 4.1 of the handle and the connecting part 4.3 are put on.
- the bellows 41 also performs its function as a pump part and also acts as a sealant between the different parts of the feed device.
- FIG. 5c represents the same embodiment variant as FIG. 5a, but is provided with diaphragm valves.
- design variants are like shown in Figure 4, but provided with ball or piston valves, conceivable.
- FIGS. 6 to 8 show further embodiments for the small pump and its connections to the reservoir part 4.1 of the handle and the connection part 4.3 to the applicator.
- the variant shown in FIG. 6 contains an inner pump body which has the shape of a block with corresponding bores which contain the one-way valves 42 and 43.
- the pump body 61 is provided with grooves 62.1 / 2 and with stops 63.1 / 2 such that the correspondingly shaped bellows 41 can be slipped over it during assembly and the thickened bellows ends 64.1 / 2 come to rest in the grooves 62.1 / 2 while the parts 4.1 and 4.3, which in turn are provided with elastically deformable connection points K, are pushed over the stops 63.1 / 2.
- FIG. 7 shows a further embodiment variant of the small pump and its connections to reservoir part 4.1 and connection part 4.3.
- reservoir part 4.1 and connection part 4.3 have elastically deformable connection points K, in that, as shown in FIG. 7b, they are equipped with a longitudinal slot L.
- the pump body 44 is plug-shaped at its two ends in such a way that reservoir part 4.1 and connecting part 4.3 can be simply plugged on.
- the sealing function is also carried out here by the correspondingly shaped bellows ends of the bellows 41 put over the pump body 44.
- FIG. 8 shows an embodiment of the small pump which is advantageous due to its simplicity.
- Reservoir part 4. 1 pump body 44 and connecting part 4.3 of the Handle 4 are held together by the tubular bellows 41, for example glued or welded.
- the membranes 47.1 and 47.2 are between reservoir part 4.1 and pump body 44. mounted between connector 4.3 and pump body 44.
- the elastic, tubular bellows 41 connects the individual parts of the handle, seals all connection points and serves as a pump operating element.
- FIG. 9 shows, as an exemplary embodiment, a complete shaving device consisting of a feeding device, applicator and cutting device, which is placed on the applicator in the form of a blade holder with blades.
- a small pump 5 and reservoir 6 form the handle.
- the headpiece 21 of the applicator is connected directly to the small pump 5 and is designed in such a way that a blade carrier 34 can be attached to it.
- the applicator corresponds to the embodiment described in connection with FIG. 3b.
- the small pump 5 consists of a cylindrical pump body 44, the diameter of which is larger at its two ends than in its central part, and a tubular bellows 41, which is placed over the central part of the pump body 44.
- the reservoir 6 is firmly connected to the pump body 44.
- the applicator comprises a connection part which overlaps the pump body and is fastened to the pump body, for example, with the aid of fastening screws 92.
- the two one-way valves 42 and 43 are integrated in the pump body 44.
- the outlet valve 42 from the reservoir consists of an axial bore 93, which extends from the end face of the reservoir to the part with a reduced diameter and opens into at least one radial opening 94 there.
- the exit of the opening 94 is closed by an O-ring 95.
- the inlet valve 43 to the applicator consists of a radial opening 96 in the part with a reduced diameter of the pump body, which opens into an axial bore 97.
- the axial bore 97 is closed on the applicator-side end by the head part 21 of the applicator and by the O-ring 100.
- At least one radial opening 98 opens into the axial bore 97 against the end face of the pump body, the outlet of which is closed off with an O-ring 99 at the slightly reduced outer diameter of the pump body 44 at this point.
- the feed channel 31 of the applicator opens directly into the annular channel 101 resulting from the reduction in diameter. Vacuum in the space between bellows 41 and pump body 44 presses the O-ring 95 away from the opening 94, overpressure the O-ring 99 from the opening 98.
- the reservoir 6 of this embodiment of the feed device forms the reservoir part 4.1 of the handle. It carries an axially movable piston 48 in its interior and on its end facing away from the small pump, an end piece 104 with a ventilation opening 105. When the small pump is used to pump product out of the reservoir, the piston 48 moves against the small pump until the pressure is equalized .
- the embodiment of the feed device according to FIG. 9 typically allows half a drop of preparation (approx. 25 microliters) to be dosed per pump movement. If, for example, 4 drops of preparation are required for a shave, this means that the pump must be operated every 15 to 20 seconds. In this case, a reservoir volume of 10 cm3 that can be easily integrated in one hand is sufficient for approx. 50 shaves.
- the application roller can be structured on the surface (not a figure), which ensures some advantages, such as better abrasion resistance on the skin and better fluid transport, but also has disadvantages, such as drying of the fluid in the recesses of the structure and also a " Return transport "of used fluid in the area of the fluid supply channel.
- the application roller can also not be pivoted, that is to say it can only be rotatably or rigidly connected to the lips 33.1 and 33.2, as shown in FIG. 10 .
- the application roller functions in the manner according to the invention as a means for distributing the fluid on the skin, for pushing back the skin locally immediately before the cutting edges pass over it, and for partially but not changeably covering the feed channel 31.
- a displaceably or resiliently mounted blade carrier 34 with an integrated, rotatably mounted or rigid application roller 3 can also be used, as shown in FIG .
- the advantage can be seen in the constant distance between the application roller 3 and the blade or blades 2. If the blades are spring-loaded, there is also the advantage of constant pressure on the skin, which reduces the risk of cuts. In the unloaded state the feed channel 31 is closed by the spring force, which would correspond to the embodiment with the variable feed gap.
- FIGS. 12 a and b has a manually displaceable outer lip 36.3, with the aid of which the fluid supply can be opened, closed and regulated manually.
- the outlet opening is not self-regulating, the opening torque can be determined independently of the pump pressure.
- the lower part of the application head can be designed as a comb, so that the hair is offered to the blade in a nicely aligned manner due to a combing effect.
- a corresponding exemplary embodiment with a comb 35 which is attached to the outer lip 33.2 is shown in FIG. 13
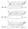
- the shaving head can be designed accordingly for shaving more or less flat or more rounded surfaces by using appropriately shaped application rollers or application spatulas and application openings and blades designed according to the function of the roller shape.
- FIGS. 14a to c show examples in which the course of the cutting blades essentially follows the course of the application roller (whereby such shapes can also be transferred to the application spatula). Deviations from this shape can also make sense, but the shape of the application roll should be functionally related to the blade shape.
- the options outlined here only represent suggestions for further development and therefore only one application roller 3 and blades 2 are shown here in their relative arrangement.
- FIG. 14a shows a typical arrangement with a cylindrical application roller 3a for shaving skin surfaces that can be deformed from the application roller into a flat surface
- FIG. 14b shows an arrangement with a convex application roller 3b for shaving concave surfaces such as depressions, for example in the armpits, which are no longer accessible with the linear blade
- 14c shows an arrangement with a concave application roller 3c for shaving convex surfaces such as elevations, for example on the larynx, in which the linear blade would entail an increased risk of injury.
- the application gap is also formally assigned to the application roll, the functional relationship between the supply of the fluid and its distribution also remaining the same here. Embodiments designed in this way can work on more rounded shaving surfaces.
Landscapes
- Life Sciences & Earth Sciences (AREA)
- Forests & Forestry (AREA)
- Engineering & Computer Science (AREA)
- Mechanical Engineering (AREA)
- Dry Shavers And Clippers (AREA)
Description
- Die Erfindung liegt auf dem Gebiete der Körperpflege und betrifft ein Rasiergerät zur Feuchtrasur (Klingenrasur) gemäss dem Oberbegriff der unabhängigen Patentansprüche, mit welcher Haare an beliebigen Körperstellen (Flächen-, Rundungs- oder Konturrasur) unter Verwendung eines beliebigen Präparats (bspw. Problemrasur), das durch das Gerät während der Rasur aufgetragen wird, hautnah abgeschnitten werden können.
- Vor einer Klingenrasur, ob frauen- oder männerspezifisch, muss in der Regel ein Gleit- und Weichmittel (allfällige Problemrasur) auf die Hautoberfläche aufgetragen werden. Die flächige Applikation dünner Schichten von solchen kosmetischen (gegebenenfalls pharmazeutischen) Präparaten auf die Haut, wird meist von Hand durchgeführt oder aber durch einen Sprühvorgang. Dabei ist eine gute Dosierung und eine sehr regelmässige Verteilung schwierig. Es ist unvermeidbar, dass ein Teil des zu applizierenden, mitunter teuren Präparates auf der applizierenden Hand verbleibt. Ferner sind Spraydosen, mit denen das Applikationsproblem auch nicht gelöst wird, wegen Umweltverschmutzung nicht mehr erwünscht. Zudem bleibt bei der bekannten Art von Klingenrasur stets das Hygieneproblem aktuell.
- So werden zum Beispiel kombinierte Präparate zur Behandlung von Körperhaar vor dem Rasieren und der frischrasierten Haut nach dem Rasieren von der kosmetischen Industrie entwickelt und dauernd verbessert. Solche Präparate werden in Form einer Flüssigkeit, Creme oder Schaum vor dem Rasieren meist von Hand auf der Haut verteilt. Dies bedeutet einen Arbeitsgang vor dem Rasieren und eine sehr erwünschte sparsame Dosierung ist eigentlich nicht möglich. Dies ist vor allem ein Nachteil bei Verwendung von neueren Präparaten, die derart wirksam sind, dass schon sehr kleine Mengen, beispielsweise 150 bis 250mgr, für eine Rasur vollauf genügen können. Es ist kaum möglich, eine so kleine Menge von Hand regelmässig zu verteilen.
- Es sind schon früh Vorrichtungen entwickelt worden, die es erlauben, Hautpräparate während des Rasierens automatisch auf die Haut zu verteilen. Allerdings beziehen sich diese Vorrichtungen ausschliesslich auf männerspezifisches Rasieren. Es ist zum Beispiel in den U.S. Patentschriften 4,074,429, 4,381,293 und 4,562,644 vorgeschlagen worden, ein Hautpräparat in fester Form derart am Rasierkopf anzubringen, dass es beim Rasieren vor der Klinge oder den Klingen über die Haut gezogen wird, wobei ein dünner Film des Präparates auf die Haut abgerieben wird. Das feste Präparat verändert jedoch durch den Verbrauch seine Form und muss deshalb in seiner Position gegenüber der Klinge oft ajustiert werden, ausserdem muss das Präparat, wie gesagt, für die Formhaltung eine feste Konsistenz aufweisen.
- Ferner ist vorgeschlagen worden, flüssige oder schaumförmige Präparate mit am Rasierkopf befestigten Teilen aus schwammartigem Material (U.S Patentschriften 3,895,437 und 4,314,404) oder mit entsprechenden Gummirollen (U.S Patentschriften 2,677,883 und 2,861,338) zu applizieren. Auch mit diesen Vorrichtungen ist es schwierig, einen regelmässigen Präparatefilm auf die Haut zu bringen. Bei diesen Vorrichtungen wird ein Behälterteil mit einem flüssigen oder schaumförmigen Präparat gefüllt, das mit dem Applikationsteil auf die Haut gebracht wird. Es wird also kein frisches Fluid zugeführt, sondern in einer Art Recycling das zum Teil verbrauchte Fluid wieder zum Einsatz gebracht. Nach dem Rasieren wird der Rest des Präparates zusammen mit verbrauchtem Präparat mittels Spülen entfernt. Hauptzweck dieser Vorrichtungen ist das Vermeiden eines dem Rasieren vorangehenden Behandlungsvorganges. Es sind somit keine Dosier-/Applikationsvorrichtungen und das Hygieneproblem bleibt zudem ungelöst.
- Aus der GB-A-488,143 ist eine Vorrichtung zur Flächen- und/oder Konturrasur bekannt, bei der ein dünner Film eines Präparates unter Druck aus einem Fluidkanal direkt über eine spaltförmige Applikationsöffnung vor der Schneide auf die Haut aufgebracht wird. Doch wird bei dieser Lösung eine einwandfreies Auftragen und Verteilen der Fluidschicht nicht gewährleistet.
- Alle diese Ansätze mangeln des richtigen Zusammenspiels zwischen dem Rasierpäparat, dessen Zuführung zur Rasier-Vorrichtung und dem Klingenteil. Das ledigliche Hinzufügen eines beliebigen Teils von Präparat während eines Rasiervorganges ist unzureichend. Insbesondere dann, wenn an schon bestehende Rasiergeräte solche Zusatzmechanismen angeordnet werden. Für das richtige Zusammenspiel braucht es ein vollständig neues Gerät mit aufeinander abgestimmten Funktionsteilen.
- Es ist nun die Aufgabe der Erfindung, ein solches Gerät zu schaffen, mit dessen Hilfe ein pumpbares Präparat als dünne, regelmässige Schicht flächig und schneidgerecht appliziert werden kann. Die Zufuhr von Präparat zur Applikation soll nur während des Applikations- oder Pumpvorganges möglich sein. Wird nicht appliziert, sollen sämtliche Zufuhrwege automatisch unterbrochen und abgeschirmt sein. Es soll aus hygienischen Gründen verhindert werden, dass Verunreinigungen von aussen in das vorrätige Präparat eingeschleppt werden. Es soll für den Anwender leicht möglich sein, das Präparat genau zu dosieren. Die Vorrichtung soll sich für frauen- wie für männerspezifisches Rasieren eignen. Beim frauenspezifischen Rasieren sind Flächen mit stärkeren Rundungen, also ein Rundungsrasieren (konkav und konvex) erforderlich, während beim männerspezifischen Rasieren vorwiegend Flächen mit weniger starken Rundungen im Vordergrund stehen. Doch seit jeher ist auch beim männerspezifischen Rasieren das sogenannte "Grübchenproblem" jeweils Thema gewesen und es ist nicht zuletzt auf die Erfordernisse des frauenspezifischen Rasierens zurückzuführen, dass auch diese Problemstellungen des Männerrasierens lösbar werden.
- Die oben gestellte Aufgabe wird durch die Vorrichtung gemäss den kennzeichnenden Teilen der unabhängigen Patentansprüche gelöst. Die erfindungsgemässe Vorrichtung besteht aus einem Applikatorteil, einem Fluid-Speiseteil und einem Klingenteil. Die folgende Beschreibung und die dazugehörenden Figuren befassen sich zuerst generell mit dem Zusammenwirken von Applikatorteil und Klingenteil (Figur 1), dann im Detail mit dem Applikatorteil (Figuren 2 und 3), mit dem Speiseteil (Figuren 4 bis 8) und zuletzt mit der Integration des Klingenteils zu einem Rasiergerät gemäss Erfindung (Figuren 9 bis 14), in dem die drei Teile kombiniert miteinander zur Wirkung kommen.
- Diese Kombination bewirkt ein neuartiges arbeitsmässiges Zusammenwirken von Klinge und Präparat bzw. ein funktionelles Zusammenwirken von in einem Reservoir hygienisch untergebrachtem Fluid (das Präparat), welches mittels eines Speiseteils an einen Applikatorteil geführt wird, welcher das Fluid dosierend am schneidrichtigen Ort auf die Haare verteilt und gleichzeitig die Schneidposition beeinflussend den Klingenteil in seiner Arbeit unterstützt. Beim Absetzen des Geräts wird die Fluidzufuhr unterbrochen und in einen wasch- oder spülbaren Zustand gebracht, wobei das Präparatereservoir gegen aussen abgeschirmt ist. Ohne zusätzliche Manipulationen ist das Gerät in einem hygienischen Zustand gleich wieder einsetzbar. Klingenteil und Applikatorteil sind formmässig aufeinander abgestimmt; der Speiseteil samt Reservoir ist auf den Applikatorteil funktionell abgestimmt, so, dass der Applikatorteil einerseits die Dosierung an den Klingenteil und die Abschirmung zum Speiseteil bewirkt. Dieses Zwischenglied ist trotz seiner Doppelfunktion vielfältig gestaltbar, kann jeder Klingenform angepasst werden und kontrolliert den zugepumpten Fluss des Fluids aus seinem Reservoir.
- Vorzugsweise ist die Applikationsöffnung spaltförmig. Die die Offnung begrenzenden Elemente können beweglich oder starr sein. Sind sie beweglich, so kann die Beweglichkeit zur Applizierung (bspw. Rollen) oder zum Verkleinern bis Verdecken der Öffnung (bspw. Schwenkachse einer Rolle) oder für beides dienen. Die die Öffnung begrenzenden Elemente können so zum Klingenteil (eine oder mehrere Schneiden) angeordnet sein, dass das Schneiden mechanisch unterstützt wird, sodass der Geometrie von Schneide(n) und Öffnungsbegrenzungselement(en) eine zusätzliche Bedeutung zukommt. Die Applikationsöffnung ist ihrerseits über den Speiseteil mit dem Fluidreservoir verbunden, das durch den Speisekanal und die Begrenzungselemente abgeschirmt ist, um den Hygieneanforderungen zu genügen. Dazu gehört auch, dass der Speiseteil nur in einer Richtung, die Abgaberichtung nämlich, arbeitet. Das nachdrängende Fluid "säubert" den/die Zufuhrungskanal/-kanäle von infiltrierenden Anteilen, ist aber durch die integrierte Dosierung trotzdem sparsam. Auch hier ist durch die zwangsläufige Abgaberichtung und durch die Dosierungsfähigkeit des Gerätes ein Doppelnutzen zu vermerken.
- Die folgenden Figuren dienen der generellen Beschreibung der Fluidzuführung zu einem Klingenteil, dabei zeigen:
- Fig. 1.1
- ein generelles Prinzipschema,
- Fig. 1.2
- dasselbe für eine Ausführungsform mit Applikationsrolle,
- Fig. 1.3
- ein schematisches, erfindungsgemässes Rasiergerät.
- Fig. 1.1 zeigt eine abstrahierte Prinzipdarstellung der Speise-, Applikations- und Schneidfunktion eines Rasiergerätes. Mit α ist ein Applikationswinkel und mit β ein Schneidwinkel bezeichnet, wobei für ein störungsfreies Rasieren der Winkel α grösser ist als der Winkel β. Die beiden Winkel beziehen sich auf die Hautoberfläche H. Zwischen den die beiden Winkel zur Haut definierenden Geräteteilen, Klingen 2 und äussere Fluidkanalbegrenzung 30. 1, ist ein den Schneidwinkel beeinflussender Applikatorteil (Manipulationsteil) 30.2 angeordnet, der einerseits die Applikationsöffnung klingenseitig begrenzender und wahlweise den Fluidkanal 10 verschliessender Teil ist. Ein gekreuzter Doppelpfeil zeigt die Verstellmöglichkeiten. In Richtung Hautoberfläche geschoben, bewirkt er ein lokales Zurückschieben der Hautoberfläche H in die Position H′. Zwischen Klinge 2 und dem Manipulationsteil 30.2 kann sich der Abschab A, das sind Haare und Abrieb von Präparat und Haut, entfernen. Im Fluidkanal wird das Fluid unter einem bestimmten Pumpdruck zum Applikatorteil gefördert (Pfeil p) und tritt an der Applikationsöffnung im Bereich der Hautoberfläche aus. Wird der Klingenteil in Schneidrichtung bewegt, so verteilt der Applikatorteil das Präparat auf die Hautoberfläche.
- Fig. 1.2 zeigt eine erfindungsgemässe Ausführungsform, bei welcher der Fluidkanal 10 des Applikatorteils durch einen rollenförmigen Zusatz an den Wandteilen 30.1, 30.2 verschlossen oder zumindest verengt werden kann. Der den Schneidwinkel beeinflussende Applikatorteil 30.2 (Manipulationsteil) ist beispielsweise eine zylinderförmige Rolle 3, die einerseits die Applikationsöffnung klingenseitig begrenzt und durch ihre Position den Fluidkanal partiell abdeckt. Es sind durch einen Doppelpfeil die Verstellmöglichkeiten angezeigt, falls die Rolle 3 in einem schlitzförmigen Lager gelagert ist. Je nach Position des schwenkbaren Rollenteils wird der Kanal mehr oder weniger abgedeckt. Je nach Rollendurchmesser wird die Hautoberfläche mehr oder weniger beeinflusst, das heisst, örtlich in eine Position H′ zurückgeschoben. Wird nun der rollenförmige Manipulatorteil 30.2 in eine Ruhelage gebracht, bei der die Austrittsöffnung des Fluidkanals 10 geschlossen ist, bspw. mittels Federdruck, so bewirkt eine Bewegung des Klingenteils in Schneidrichtung ein Öffnen desselben, sodass das unter Pumpdruck stehende Fluid ungehindert austreten kann. Gleichzeitig wird es vom Rollenteil 30.2 auf der Hautoberfläche verstrichen.
- Fig. 1.3 zeigt einen schematischen Schnitt durch eine beispielhafte Ausführungsform der erfindungsgemässen Vorrichtung, die aus den drei Teilen, nämlich aus einem Applikator, einer Schneidvorrichtung und einer Speisevorrichtung, aus der das Präparat in den Applikator gespeist wird, besteht. Der Applikator entspricht der Rollenlösung gemäss Figur 1.2. Die Schneidvorrichtung ist in den Applikator integriert, das heisst Schneidvorrichtung und Applikator bilden zusammen den Rasierkopf 1. Der Hauptbestandteil des Applikators ist eine parallel zu den Klingen 2 angeordnete Applikationsrolle 3. Die Speisevorrichtung ist im Handgriff 4 der Vorrichtung untergebracht und besteht aus einer kleinen Pumpe 5 und einem Reservoir 6.
- Zum Rasieren wird der Rasierkopf 1 mit Hilfe des Handgriffes 4 derart über die Haut gezogen, dass die Applikationsrolle 3 unmittelbar vor den Klingen 2 über die Haut rollt. Die Pumpe 5 ist derart positioniert, dass sie zwischen Daumen und Zeigefinger liegt und, je nach Ausführungsform, durch leichtes alternierendes Drücken und Wieder-Loslassen betätigt werden kann. Dadurch wird Präparat aus dem Reservoir 6 in den Applikator gepumpt und als dünner Film auf die Applikationsrolle 3 verteilt und von dieser auf die Haut übertragen. Die Dosierung ist einfach. Eine zu knappe Dosierung wirkt sich durch Trockenlaufen der Applikationsrolle, eine zu starke Dosierung durch Tropfenbildung aus.
- Die folgenden Figuren dienen der Beschreibung des Applikatorteils.
- Fig. 2
- (a und b) zeigt eine Seitenansicht einer beispielhaften Ausführungsform eines Applikators gemäss Erfindung, bei dem ein separater Lagerteil besonders hervorgehoben ist;
- Fig. 3
- (a und b) zeigt Schnitte durch dieselbe Ausführungsform und durch eine weitere, in einen Rasierkopf integrierte Ausführungsform.
- Der Applikator besteht aus einer Applikationsrolle und einem Zuführsystem. Die Applikationsrolle wird für die Applikation zum Beispiel über die Haut gerollt. Sie ist bspw. dreh- und schwenkbar gelagert, so dass sie beim Abrollen in der einen Richtung (Applikationsrichtung R) ausgeschwenkt wird, während sie beim Abrollen in die andere Richtung und, wenn sie nicht rollt, in ihrer Ruhelage verbleibt. Durch das Ausschwenken wird es möglich, dass auf der Rollenoberfläche ein dünner Film von Präparat aus dem Zuführsystem gegen aussen mitgeführt wird. In Ruhestellung schirmt die Applikationsrolle das Zuführsystem gegen aussen ab. In einer anderen Ausführungsform ist die Applikationsrolle fix gelagert und die Spaltbreite bleibt konstant. Diese Ausführungsform eignet sich bei Präparaten, die nicht stark eintrocknen und nur zu geringer Filmbildung neigen. In einer weiteren Ausführungsform kann die Applikationsrolle auch nur schwenkbar, aber nicht drehbar gelagert sein, sodass sie die Applikationsöffnung verschliesst und frei gibt, für die Applikation selbst aber etwa in derselben Weise wirkt wie ein Applikationsspachtel, wie er im fogenden noch beschrieben werden soll.
- Fig. 2a zeigt einen Applikator von der Seite. Er besteht aus der Rolle 3, einem Kopfstück 21 und zwei seitlich vom Kopfstück 21 angebrachten Lagerteilen 22. Die Lager 23 in den Lagerteilen 22 sind entweder so gestaltet, dass sie nicht nur eine Drehung der Rolle 3 um ihre Drehachse, sondern auch ein Ausschwenken dieser Drehachse ermöglichen oder so, dass sie lediglich um ihre Drehachse bewegen. In der ersten Variante resultiert eine variable Applikationsspaltbreite und in der zweiten Variante eine fixe Applikationsspaltbreite. In Fig. 2b, die einen separaten Lagerteil 22 darstellt, ist ein Lager 23, das eine variable Applikationsspaltbreite ermöglicht, noch separat dargestellt.
- Fig. 3a zeigt einen Schnitt durch den Kopfteil 21 der in Fig. 2a dargestellten Ausführungsform des Applikators. Eine Bohrung 31, die der Zufuhr des Präparates dient, verbindet das rollentragende Ende des Kopfteiles 21 mit seinem Anschlussende. Am Rollenende mündet die Bohrung in einen parallel, zur Rolle 3 verlaufenden, gegen die Rolle 3 offenen Kanal 32. Am Anschlussende ist die Bohrung entsprechend dem Anschluss an die Speisevorrichtung ausgestaltet. Auf beiden Seiten des Kanales 32 ist der Kopfteil zu Lippen 33.1 und 33.2 geformt.
- Die Lager der Rolle 3 in den Lagerteilen 22 (siehe Figur 2) sind, im Gegensatz zu einer fixen Rollenlagerung, derart gestaltet, dass die Rolle zwei extreme Schwenkpositionen einnehmen kann: eine "Ruhelage" (in der Figur ausgezogen dargestellt) und eine "Applikationslage" (in der Figur gestrichelt dargestellt). Wenn die Rolle 3 in ihrer Ruhelage ist, ist sowohl die Spalte A zwischen der Lippe 33.1 und der Rolle 3, als auch die Spalte C zwischen der Lippe 33.2 und der Rolle 3 derart schmal, dass kein Präparat austreten kann und der Kanal 32 und damit das Zuführsystem gegen aussen abgeschirmt ist. Wenn die Rolle 3 von der Ruhelage in die Applikationslage bewegt wird, verändert sich die Breite der Spalte A nicht, während sich die Spalte C verbreitert, bis in der Applikationslage ihre Breite der gewünschten Austrittsmenge für das Präparat entspricht. Die Applikationslage für eine gewünschte Austrittsmenge kann auch fix bleiben, sodass die Ruhelage der der Applikationslage entspricht. Die Abschirmung ist dann je nach Filmbildung gut oder besser, das Eintrocknen gut oder schlechter.
- Wird im Falle der Ausführungsform mit variablem Applikationsspalt die Rolle 3 in Applikationsrichtung über die Haut gezogen, wird sie durch die Reibung zwischen der Haut und der Rolle in der Richtung des Pfeiles R gedreht und dadurch in die Applikationslage ausgeschwenkt und in dieser gehalten. Wird die Rolle 3 in der dem Pfeile R entgegengesetzten Richtung gedreht, wird sie in die Ruhelage geschwenkt und in dieser gehalten. Ist die Rolle 3 in ihrer Applikationslage, wird aber nicht mehr in Applikationsrichtung gedreht, was unmittelbar nach dem Applizieren der Fall ist, wird sie durch die Oberflächenspannung der Präparateoberfläche im Spalt C gegen die Ruhelage zurückgezogen. Es werden also zum Wiederschliessen des Spaltes C nach der Applikation die physikalischen Eigenschaften des Präparates ausgenützt. Die Oberfläche steht unter einer Spannung, die die Oberfläche auf ein Minimum zu reduzieren versucht. Sind nun die Lager 23 derart ausgestaltet, dass die Lagerkräfte, die für eine Schwenkung der Rolle 3 überwunden werden müssen, kleiner als die aus der Oberflächenspannung resultierenden Kräfte, wird die Rolle gegen die Ruhelage bewegt, sobald sie nicht durch die Applikationsbewegung in die entgegengesetzte Richtung gedrückt wird. Wird der Applikator nach dem Schliessen des Spaltes C durch die Oberflächenspannung sich selber überlassen, bildet sich durch Eintrocknen der Präparateoberfläche im Spalt C eine Haut, die das restliche Präparat im Zufuhrsystem gegen aussen abschirmt. Diese Abschirmung ist genügend, um eine weitere Eintrocknung des Präparates zu verhindern und um das Präparat zum Beispiel gegen Oxydantien und Bakterien zu schützen. Bei einer erneuten Applikation wird die Haut, die den Spalt C bedeckt, sofort zerrissen und stört die Applikation in keiner Weise.
- Versuche haben gezeigt, dass die physikalischen Eigenschaften einer grossen Zahl von handelsüblichen Hautpräparaten für das Rasieren den Anforderungen, die durch den beschriebenen Abschirmmechanismus gestellt werden, entsprechen, also für eine Anwendung im erfindungsgemässen Applikator, ob mit varaiblem oder mit fixem Applikationsspalt, geeignet sind.
- Dadurch dass der Spalt A zwischen der Lippe 33.1 und der Rolle 3 in jeder Schwenkposition (offen/zu oder für, entsprechend offen) der Rolle 3 sehr klein ist, ist der Kanal 32 der Seite der Lippe 33.1 immer gegen aussen abgeschlossen. In Ruhelage und in Applikationslage der Rolle 3 kann dadurch kein Präparat in dieser Richtung nach aussen gelangen, in Applikationslage kann keine Verschmutzung, die die Rolle von der Haut mitträgt an der Lippe 33.1 vorbei in den Kanal 32 gelangen. Bei der Ausführungsform mit fixem Spalt ist dies nur abgeschwächt der Fall.
- Für zusätzlichen Schutz und Abschluss des Applikators kann er auch einen Deckel besitzen, der nach Beenden der Applikation auf den Applikator gesetzt wird und der derart geformt ist, dass er die Rolle 3 gegen die beiden Lippen 33.1 und 33.2 presst oder einfach nur den Applikationsspalt überdeckt. Ebenso können an Stelle einer Schutzkappe zusätzliche mechanische Anpressmittel, bspw. Federn vorgesehen sein, um die Applikationsrolle 3 gegen die Verschlusslippe zu pressen. Dies kann nötig sein, wenn bspw. ein solches Rasiergerät in Reiseausführungen starken Druckschwankungen ausgesetzt wird und man eine zusätzliche Verschlusskraft an der Vorrichtung wünscht.
- Fig 3b zeigt einen Schnitt durch die Ausführungsform des erfindungsgemässen Applikators mit variablem Spalt. Er zeigt dieselben Teile wie der in Fig. 3a dargestellte Applikator, auf seinem Kopfteil 21 ist aber ein Klingenträger 34 mit Klingen 2 mittels beispielsweise einer Schiebe- und Schnappbefestigung aufgesetzt. Die Rolle 3 ist vorteilhafterweise so lang wie die Breite der Klinge oder Klingen 2. Der Klingenträger 34 ist derart auf dem Kopfteil 21 aufgesetzt, dass die Rolle parallel zu den Klingen verläuft und, wenn der Rasierkopf in Rasierrichtung (gleich Applikationsrichtung) über die Haut geführt wird, in der Richtung des Pfeiles R, gedreht und dabei in die Applikationslage geschwenkt wird.
- Die Applikationsvorrichtung mit Applikationsrolle 3, Kopfteil 21 und Lagerteilen 22 kann auch in einem auswechselbaren Klingenträger integriert sein, der so als ganzes auf einen Rasierkopf aufgesetzt bzw. ausgetauscht werden kann. Diese Lösung hat hygienische Vorteile, da die mit der Haut jeweils in Berührung kommende Applikationsrolle mit den Klingen periodisch erneuert wird. Durch geeignete Massnahmen wird der auf dem Klingenträger angeordnete Zuführungsteil mit dem am Rasiergerät angeordneten Zuführungsteil verbunden.
- Die erfindungsgemässe Speisevorrichtung, mit der der Applikator mit Präparat gespeist wird, wird anhand der folgenden Figuren beschrieben.
- Fig. 4
- (a bis d) zeigt einen schematischen Längsschnitt durch eine beispielhafte Ausführungsform der erfindungsgemässen Speisevorrichtung (4a) und Ausführungsformen der Membrane (4b/c/d) der für diese Ausführung verwendeten Membranventile.
- Fig. 5
- (a bis c) zeigt die Kleinpumpe mit anderen Ausführungsformen von Ventilen,
- Fig. 6, 7a und b, 8
- zeigen weitere beispielhafte Ausführungsformen der Kleinpumpe und ihrer Verbindungen zu Reservoir und Applikator.
- Figur 4a zeigt einen schematischen Längsschnitt durch eine beispielhafte Ausführungsform der erfindungsgemässen Speisevorrichtung. Diese besteht prinzipiell aus einer Kleinpumpe 5 und einem Reservoir 6, die beide zusammen beispielsweise gleichzeitig den Handgriff 4 der Applikationsvorrichtung bilden, oder in einem entsprechenden Handgriff untergebracht sind. Das Reservoir 6 ist, wie abgebildet, im vom Applikator abgewandten Ende 4.1 des Handgriffs (Reservoirteil des Handgriffes) untergebracht, wo ein genügendes Volumen sich nicht störend auswirkt. Die Kleinpumpe 5 ist vorteilhafterweise derart angeordnet, dass sie während dem Applizieren betätigt werden kann, das heisst, ihre Betätigungsorgane befinden sich im Bereich der beim Applizieren den Handgriff haltenden Finger, also am dem Applikator zugewandten Ende des Handgriffes, und bildet den Pumpenteil 4.2 des Handgriffes. Der Handgriff 4 ist mit dem Anschlussteil 4.3 mit dem Versorgungssystem des Applikators verbunden. Die Hauptbestandteile der Kleinpumpe sind ein elastischer Hohlbalg 41, dessen Innenvolumen verkleinert werden kann, ein Einwegventil 42, das als Auslassventil für das Reservoir 6 funktioniert, und ein zweites Einwegventil 43, das als Einlassventil in den Applikator funktioniert.
- Wird der Balg 41 komprimiert, entsteht in seinem Innenraum ein Überdruck, der das Einlassventil 43 öffnet. Dadurch fliesst Präparat oder Luft in den Applikator bis der Druck sich ausgleicht und das Einlassventil 43 wieder schliesst. Wird nun der Balg losgelassen, wodurch er in seine ursprüngliche Form zurückkehrt, entsteht in seinem Innenraum ein Unterdruck, wodurch sich das Auslassventil 42 öffnet und Präparat aus dem Reservoir gefördert wird bis der Druck wieder ausgeglichen ist und das Auslassventil 42 schliesst. Durch alternierendes Komprimieren und loslassen des Balges 41 kann so viel Präparat in den Applikator gepumpt werden, dass die Zuführungsbohrung 31 und der Kanal 32 (Figur 3) gefüllt werden und das von der Rolle 3 nach aussen getragene Präparat dauernd ersetzt wird.
- Damit ein Druckausgleich beim Auspressen von Präparat aus dem Reservoir möglich ist, ist das Reservoir mit einem entsprechenden Druckausgleichmittel versehen. Dies kann beispielsweise ein im Reservoir 6 beweglicher Kolben 48 sein oder ein Druckausgleichventil.
- Da die Kleinpumpe gleichzeitig als Handgriff dient, der Balg für diese Funktion aber zu wenig Stabilität besitzt, ist im Innern des Balges 41 ein innerer Pumpenkörper 44 angebracht, der in dieser beispielhaften Ausführungsform die Form eines Rohres hat, fest mit dem Reservoirteil 4.1 des Handgriffes und mit dem Anschlussteil 4.3 verbunden ist und für den Druckausgleich mit Öffnungen 45 versehen ist. Dadurch, dass der innere Pumpenkörper abgewinkelt ist, bildet er zusammen mit den anderen Teilen der Speisevorrichtung einen ergonomischen Handgriff. Der Balg 41 ist über den inneren Pumpenkörper 44 gestülpt und mit elastisch deformierbaren Mitteln 46, beispielsweise Klemmringen, festgeklemmt.
- Die beiden Einwegventile 42 und 43 sind in der abgebildeten Ausführungsform beispielsweise Membranventile. Eine federnde Membran 47.1 hält im kräftefreien Zustand den Ausgang des Reservoirs und eine entsprechende Membran 47.2 den Eingang zum Applikator geschlossen. Die beiden Membrane sind derart angeordnet, dass bei Überdruck innerhalb des Balges die Membran 47.2 deformiert wird, bei Unterdruck jedoch die Membran 47.1. Die Membrane sind derart gestaltet, dass sie in deformiertem Zustand dem Präparat Durchgang gewähren. Die Figuren 4b bis d zeigen Beispiele von für die Anwendung geeigneten Membranen. Fig. 4b und c stellen Hohlkugelmembrane dar, die ausserhalb des Bereiches der zu verschliessenden Öffnung liegende Durchbrüche D umfassen, Figur 4d eine Rechteckmembran, die dadurch dass sie nicht den ganzen Innenquerschnitt des Handgriffes überspannt, Durchgang für das Präparat erlaubt.
- Figur 5 zeigt eine weitere Ausführungsform der Kleinpumpe. Die Pumpe an sich ist gleich gestaltet wie die Pumpe in Figur 4, umfasst aber andere Einwegventile 42 und 43. Diese Einwegventile können, wie in Figur 5a gezeigt, Kugel- oder Kolbenventile sein. Eine Kugel 51 oder ein Kolben 52 werden von einer Feder 53 in einer der durch den Balg 41 erzeugten Druckkraft entgegengesetzten Richtung gegen die zu verschliessende Öffnung gepresst. Die Feder 53 ist so ausgelegt, dass die Druckkraft, die mit dem Balg 41 erzeugt werden kann, grösser ist als die Federkraft. Der Kolben 52 muss für das Präparat Durchgang gewähren. Dafür kann er beispielsweise an seiner zylindrischen Oberfläche mit Rillen 55 versehen sein, die aus der Detailzeichnung 5b ersichtlich sind.
- Im Gegensatz zu der in Fig. 4 abgebildeten Ausführungsform ist bei der in Fig. 5 abgebildeten Ausführungsform der vorteilhafterweise aus Metall gefertigte, innere Pumpenkörper 44 ein separater Teil, während der Reservoirteil 4.1 des Handgriffes und der Anschlussteil 4.3 zum Applikator mit elastisch deformierbaren Klemmanschlüssen an den Enden K versehen sind. Zur Herstellung der Speisevorrichtung wird der Balg 41 über den Pumpenkörper 44 gestülpt und dann der Reservoirteil 4.1 des Handgriffes und der Anschlussteil 4.3 aufgesetzt. Der Balg 41 übernimmt dabeineben seiner Funktion als Pumpenteil auch die Funktion als Dichtmittel zwischen den verschiedenen Teilen der Speisevorrichtung.
- Die Art der verwendeten Einwegventile ist nicht gebunden an eine spezielle Ausführungsvariante der Kleinpumpe. Dies wird illustriert durch die Figur 5c, die dieselbe Ausführungsvariante darstellt wie die Figur 5a, aber mit Membranventilen versehen ist. In derselben Weise sind Ausführungsvarianten wie in Figur 4 dargestellt, aber mit Kugel- oder Kolbenventilen versehen, vorstellbar.
- Figuren 6 bis 8 zeigen weitere Ausführungsformen für die Kleinpumpe und ihre Anschlüsse an den Reservoirteil 4.1 des Handgriffes und den Anschlussteil 4.3 zum Applikator.
- Die in Figur 6 dargestellte Variante enthält einen inneren Pumpenkörper, der die Form eines Blockes aufweist mit entsprechenden Bohrungen, die die Einwegventile 42 und 43 enthalten. Der Pumpenkörper 61 ist derart mit Nuten 62.1/2 und mit Anschlägen 63.1/2 versehen, dass der entsprechend geformte Balg 41 bei der Montage über ihn gestülpt werden kann und die verdickten Balgenden 64.1/2 in die Nuten 62.1/2 zu liegen kommen, während die wiederum mit elastisch deformierbaren Anschlussstellen K versehenen Teile 4.1 und 4.3 über die Anschläge 63.1/2 gesteckt werden.
- Figur 7 zeigt eine weitere Ausführungsvariante der Kleinpumpe und ihrer Anschlüsse zu Reservoirteil 4.1 und Anschlussteil 4.3. Auch in diesem Falle haben Reservoirteil 4.1 und Anschlussteil 4.3 elastisch deformierbare Anschlussstellen K, dadurch dass sie, wie in Figur 7b dargestellt, mit einem Längsschlitz L ausgerüstet sind. Der Pumpenkörper 44 ist an seinen beiden Enden derart stopfenförmig geformt, dass Reservoirteil 4.1 und Anschlussteil 4.3 einfach aufgesteckt werden können. Die Dichtungsfunktion wird auch hier von den entsprechend geformten Balgenden des über den Pumpenkörper 44 gestülpten Balges 41 übernommen.
- Figur 8 zeigt eine durch ihre Einfachheit vorteilhafte Ausführungsform der Kleinpumpe. Reservoirteil 4. 1, Pumpenkörper 44 und Anschlussteil 4.3 des Handgriffes 4 werden durch den schlauchförmigen Balg 41 zusammengehalten, bspw. verklebt oder verschweisst. Die Membranen 47.1 und 47.2 sind zwischen Reservoirteil 4.1 und Pumpenkörper 44 rsp. zwischen Anschlussteil 4.3 und Pumpenkörper 44 gelagert. Der elastische, schlauchförmige Balg 41 verbindet die einzelnen Teile des Handgriffes, dichtet alle Verbindungsstellen ab und dient als Pumpenbedienungsorgan.
- Die folgenden Figuren stellen beispielhafte Ausführungsformen von erfindungsgemässen Rasiergeräten dar. Dabei zeigen:
- Fig. 9
- einen Schnitt durch ein Rasiergerät mit auslenkbarer Applikationsrolle,
- Fig.10
- ein Detail einer Ausführungsform mit starrer Applikationsrolle,
- Fig.11
- ein Detail einer Ausführungsform mit auslenkbarer Schneidvorrichtung und starr damit verbundener Applikationsrolle,
- Fig.12
- (a und b) eine Ausführung mit verschiebbarer äusserer Lippe,
- Fig.13
- eine Ausführungsformen mit Kamm an der äusseren Lippe.
- Fig.14
- (a, b und c) Ausführungsformen mit zylindrischer, konvexer und konkaver Applikationsrolle und entsprechend gestalteten Klingen.
- Fig. 9 zeigt als beispielhafte Ausführungsform ein komplettes Rasiergerät bestehend aus Speisevorrichtung, Applikator und Schneidvorrichtung, die in Form eines Klingenträgers mit Klingen auf dem Applikator aufgesetzt ist.
- Eine Kleinpumpe 5 und Reservoir 6 bilden den Handgriff. An die Kleinpumpe 5 ist direkt das Kopfstück 21 des Applikators angeschlossen, das derart ausgestaltet ist, dass ein Klingenträger 34 darauf aufgesteckt werden kann. Der Applikator entspricht der im Zusammenhang mit der Figur 3b beschriebenen Ausführungsform. Die Kleinpumpe 5 besteht aus einem zylindrischen Pumpenkörper 44, dessen Durchmesser an seinen beiden Enden grösser ist als in seiner mittleren Partie, und einem schlauchförmigen Balg 41, der über die mittlere Partie des Pumpenkörpers 44 gestülpt ist. Das Reservoir 6 ist fest mit dem Pumpenkörper 44 verbunden. Der Applikator umfasst eine Anschlusspartie, die den Pumpenkörper überlappt, und ist beispielsweise mit Hilfe von Befestigungsschrauben 92 am Pumpenkörper befestigt. Die beiden Einwegventile 42 und 43 sind in den Pumpenkörper 44 integriert. Das Auslassventil 42 aus dem Reservoir besteht aus einer achsialen Bohrung 93, die von der reservoirseitigen Stirnseite bis in die Partie mit vermindertem Durchmesser reicht und dort in mindestens eine radiale Öffnung 94 mündet. Der Ausgang der Öffnung 94 ist von einem O-Ring 95 verschlossen. Das Einlassventil 43 zum Applikator besteht aus einer radialen Offnung 96 in der Partie mit vermindertem Durchmesser des Pumpenkörpers, die in eine achsiale Bohrung 97 mündet. Die achsiale Bohrung 97 ist an der applikatorseitigen Stirnseite durch den Kopfteil 21 des Applikators und durch den O-Ring 100 abgeschlossen. In die achsiale Bohrung 97 mündet gegen die Stirnseite des Pumpenkörpers mindestens eine radiale Öffnung 98, deren Ausgang am an dieser Stelle leicht reduzierten Aussendurchmesser des Pumpenkörpers 44 mit einem O-Ring 99 abgeschlossen wird. Der Zufuhrkanal 31 des Applikators mündet direkt in den durch die Durchmesserverringerung entstehenden ringförmigen Kanal 101. Unterdruck im Raum zwischen Balg 41 und Pumpenkörper 44 drückt den O-Ring 95 von der Öffnung 94 weg, Überdruck den O-Ring 99 von der Öffnung 98.
- Das Reservoir 6 dieser Ausführungsform der Speisevorrichtung bildet den Reservoirteil 4.1 des Handgriffes. Es trägt in seinem Inneren einen achsial beweglichen Kolben 48 und auf seinem der Kleinpumpe abgewandten Ende ein Abschlussstück 104 mit einer Belüftungsöffnung 105. Wenn mit der Kleinpumpe Präparat aus dem Reservoir gepumpt wird, bewegt sich der Kolben 48 gegen die Kleinpumpe, bis der Druck ausgeglichen ist.
- Die Ausführungsform der Speisevorrichtung gemäss der Figur 9 erlaubt typischerweise, dass pro Pumpenbewegung ein halber Tropfen Präparat (ca. 25 Mikroliter) dosiert werden. Wenn für eine Rasur beispielsweise 4 Tropfen Präparat benötigt werden, bedeutet dies, dass die Pumpe alle 15 bis 20 Sekunden betätigt werden muss. Ein in einem Handgriff leicht integrierbares Reservoirvolumen von 10cm³ reicht in diesem Falle für ca. 50 Rasuren.
- Im Zusammenhang mit den weiteren Figuren werden nun weitere beispielhafte Ausführungsformen des Applikators gezeigt und zwar immer an der Ausführungsform des Rasiergerätes wie es in der Figur 9 dargestellt ist, also mit einer auf den Applikator aufgesteckten Schneidvorrichtung. Selbstverständlich sind entsprechende Ausführungsformen auch für beispielsweise im Applikator integrierte Schneidvorrichtungen und auch kombiniert mit irgendwelchen anderen Speisevorrichtungen denkbar.
- Die Applikationsrolle kann an der Oberfläche strukturiert ausgestaltet sein (keine Figur), was einige Vorteile, wie bessere Anriebshaftung auf der Haut und besseren Fluidtransport gewährleistet, aber auch mit Nachteilen behaftet ist, wie ein Eintrocknen des Fluids in den Vertiefungen der Struktur und auch ein "Rücktransport" von verbrauchtem Fluid in den Bereich des Fluidzuführkanals.
- Die Applikationsrolle kann für eine einfachere Ausführungsform auch nicht schwenkbar, also nur drehbar oder überhaupt starr mit den Lippen 33.1 und 33.2 verbunden sein sein, wie in Figur 10 dargestellt. Sie fungiert dadurch in der erfindungsgemässen Weise als Mittel zur Verteilung des Fluids auf der Haut, zum lokalen Zurückschieben der Haut, unmittelbar bevor die Schneiden darüber fahren, und zum teilweisen, allerdings nicht veränderbaren Abdecken des Zuführkanales 31.
- An Stelle einer schwenkbaren Applikationsrolle kann auch ein verschiebbar oder federnd gelagerter Klingenträger 34 mit integrierter, drehbar gelagerter oder starrer Applikationsrolle 3 verwendet werden, wie dies in Figur 11 dargestellt ist. Hier ist der Vorteil im konstanten Abstand zwischen Applikationsrolle 3 und Klinge oder Klingen 2 zu sehen. Sind die Klingen federnd gelagert, hat man ausserdem den Vorteil eines konstanten Anpressdruckes auf der Haut, was die Schnittgefahr vermindert. Im unbelasteten Zustand wird der Zuführkanal 31 durch die Federkraft geschlossen, was der Ausführungsform mit dem variablen Zuführspalt entsprechen würde.
- Die in den Figuren 12 a und b dargestellte Variante besitzt eine manuell verschiebbare äussere Lippe 36.3, mit deren Hilfe die Fluidzufuhr manuell geöffnet, geschlossen und reguliert werden kann. Die Austrittsöffnung ist dadurch zwar nicht selbstregulierend, jedoch kann der Oeffnungsmoment unabhängig vom Pumpendruck bestimmt werden.
- Bei allen Ausführungsformen kann der Unterteil des Applikationskopfes als Kamm ausgebildet sein, sodass durch eine kämmende Wirkung die Haare schön ausgerichtet der Klinge angeboten werden. Eine entsprechende, beispielhafte Ausführungsform mit einem Kamm 35, der an der äusseren Lippe 33.2 angebracht ist, ist in der Figur 13 dargestellt.
- Der Rasierkopf kann je nach Verwendung für das Rasieren von mehr oder weniger ebenen oder mehr gerundeten Flächen entsprechend ausgestaltet werden, indem entsprechend geformte Applikationsrollen oder Applikationsspachtel und Applikationsöffnungen und entsprechend zur Funktion der Rollenform ausgestaltete Klingen zum Einsatz kommen. Die Figuren 14a bis c sind Beispiele dargestellt, bei denen der Verlauf der Schneidklingen im wesentlichen dem Verlauf der Applikationsrolle folgt (wobei sinngemäss solche Formen auch auf die Applikationsspachtel übertragbar sind). Es können auch Abweichungen dieser Verlaufsform sinnvoll sein, aber die Form der Applikationsrolle soll zum Klingenverlauf in einem funktionellen Bezug stehen. Die hier skizzierten Möglichkeiten stellen nur Anregungen zur Weitergestaltung dar und deshalb sind hier lediglich nur eine Applikationsrolle 3 und Klingen 2 in ihrer relativen Anordnung abgebildet. Figur 14a stellt eine typische Anordnung mit zylindrischer Applikationsrolle 3a für das Rasieren von Hautoberflächen dar, die sich von der Applikationsrolle zu einer ebenen Fläche verformen lassen, Figur 14b stellt eine Anordnung mit konvexer Applikationsrolle 3b für das Rasieren von konkaven Flächen wie Vertiefungen, bspw. in den Achselhöhlen, die mit der linearen Klinge nicht mehr erreichbar sind, dar, und Figur 14c stellt eine Anordnung mit einer konkaven Applikationsrolle 3c für das Rasieren von konvexen Flächen wie Erhöhungen, bspw. auf dem Kehlkopf, bei der die lineare Klinge eine erhöhte Verletzungsgefahr mit sich bringen würde, dar. Gemäss den schon gezeigten Ausführungsformen (und gemäss der Prinzipdarstellung in den Figuren 1. bis 1.3) wird der Applikationsspalt der Applikationsrolle auch formlich zugeordnet, wobei auch hier der funktionelle Zusammenhang zwischen Zuführung des Fluids und dessen Verteilung derselbe bleibt. Mit solcherart gestalteten Ausführungsformen kann auf stärker gerundeten Rasierflächen gearbeitet werden.
Claims (19)
- Vorrichtung zur Flächen- oder Konturrasur mit gleichzeitiger Applikation eines dünnen Filmes eines rasierspezifischen Präparates, die funktionell aufeinander abgestimmt einen Schneid- oder Klingenteil, einen Applikatorteil und einen Speiseteil umfasst, wobei Mittel vorhanden sind, die ein aus dem Speiseteil unter Druck ausbringbares Fluid in einen Fluidkanal (10) im Applikatorteil führen und wobei der Applikatorteil eine spaltförmige Applikationsöffnung mit Begrenzungsmitteln (30.1 und 30.2) aufweist, dadurch gekennzeichnet, dass die Begrenzungsmittel (30.1 und 30.2) einerseits aus einer gegen Schneiden (2) und im wesentlichen achsparallel zu diesen auf einer starren inneren Lippe (33.1) angeordneten Applikationsrolle (3) und andererseits aus einer von den Schneiden entfernt, ebenfalls im wesentlichen achsparallel zu diesen angeordneten starren äusseren Lippe (33.2) bestehen, mittels welchen beim Bewegen der Vorrichtung in Schnittrichtung das Fluid auf der Haut verteilt wird
- Vorrichtung zur Flächen- oder Konturrasur nach Anspruch 1, dadurch gekennzeichnet, dass der Applikatorteil zum Aufbringen und Verteilen eines Fluids und der Schneidteil mit den Klingen (2) einen Rasierkopf (1) bilden, welcher Rasierkopf auf den Speiseteil aufsetzbar ist und den Fluidkanal (10) vom Speiseteil mit der Applikationsöffnung im Applikatorteil verbindet.
- Vorrichtung zur Flächen- oder Konturrasur nach Anspruch 1, dadurch gekennzeichnet, dass die Applikationsrolle (3) drehbar oder schwenkbar gelagert ist.
- Vorrichtung zur Flächen- oder Konturrasur gemäss Anspruch 3, dadurch gekennzeichnet, dass die Applikationsrolle (3) dreh- und schwenkbar auf der inneren Lippe (33.1) angeordnet ist.
- Vorrichtung zur Flächen- oder Konturrasur nach Anspruch 3 oder 4, dadurch gekennzeichnet, dass die Schwenkachse der Applikationsrolle (3) derart parallel zur Spalte (A) zwischen der Rolle (3) und der Lippe (33.1) liegt, dass die Spalte (A) in jeder Schwenkposition der Rolle (3) eine minimale Breite hat.
- Vorrichtung zur Flächen- oder Konturrasur nach einem der Ansprüche 4 oder 5, dadurch gekennzeichnet, dass der durch die Schwenkung der Rolle (3) von der Ruhelage in die Applikationslage zwischen der Lippe (33.2) und der Rolle (3) entstehende Spalt (C) in seiner Breite der für die Applikation erwünschten Austrittsmenge des Präparates entspricht.
- Vorrichtung zur Flächen- oder Konturrasur gemäss Anspruch 2, dadurch gekennzeichnet, dass die Applikationsrolle (3) drehbar oder nicht drehbar auf dem Klingenhalter (34) angeordnet ist und dass der Klingenhalter (34) mit Hilfe von federnden Mitteln auf dem Rasierkopf angebracht ist.
- Vorrichtung zur Flächen- oder Konturrasur nach einem der Ansprüche 1 bis 7, dadurch gekennzeichnet, dass die Applikationsrolle (3 oder 3') eine zylindrische, konvexe oder konkave Applikationsfläche aufweist.
- Vorrichtung zur Flächen- oder Konturrasur nach einem der Ansprüche 1 bis 8, dadurch gekennzeichnet, dass auf dem äusseren Begrenzungsmittel (30.1) parallel zu den Klingen (2) ein kämmendes Mittel (37) angebracht ist.
- Vorrichtung zur Flächen- oder Konturrasur nach einem der Ansprüche 1 bis 9, dadurch gekennzeichnet, dass der Speiseteil aus einem Präparatreservoir (6) und einer Kleinpumpe (5) besteht und dass Präparatreservoir (6) und Kleinpumpe (5) zusammen den Handgriff (4) der Vorrichtung bilden.
- Vorrichtung zur Flächen- oder Konturrasur nach Anspruch 10, dadurch gekennzeichnet, dass die Kleinpumpe (5) einen elastischen Balg (41) und zwei Einwegventile (42 und 43) umfasst.
- Vorrichtung zur Flächen- oder Konturrasur nach Anspruch 11, dadurch gekennzeichnet, dass im Speiseteil als Einwegventile Membran, Kugel- oder Kolbenventile eingesetzt sind.
- Vorrichtung zur Flächen- oder Konturrasur nach Anspruch 11, dadurch gekennzeichnet, dass die Einwegventile des Speiseteiles gebildet werden durch Öffnungssysteme (93/94 rsp. 96/97/98) im zylindrischen Pumpenkörper (44), deren Ausgänge an der Zylinderoberfläche vorzugsweise durch O-Ringe (95 rsp. 99) abgeschlossen sind.
- Vorrichtung zur Flächen- oder Konturrasur nach einem der Ansprüche 10 bis 13, dadurch gekennzeichnet, dass Reservoirteil (4.1), Pumpenkörper (44) und Anschlussteil (4.3), einen fest zusammengefügten Teil bilden und dass der Balg (41) um den Pumpenkörper (44) angeordnet und mit elastischen Befestigungsmitteln (46) befestigt ist.
- Vorrichtung zur Flächen- oder Konturrasur nach Anspruch 14, dadurch gekennzeichnet, dass die elastischen Befestigungsmittel (46) Klemmringe sind.
- Vorrichtung zur Flächen- oder Konturrasur nach einem der Ansprüche 11 bis 13, dadurch gekennzeichnet, dass Reservoirteil (4.1), Pumpenkörper (44) und Anschlussteil (4.3) elastisch deformierbare Verbindungsstellen (K) umfassen, mit deren Hilfe sie aneinander gefügt sind, und dass der Balg (41) derart ausgestaltet ist, dass er diese Verbindungsstellen abdichtet.
- Vorrichtung zur Flächen- oder Konturrasur nach einem der Ansprüche 11 bis 13, dadurch gekennzeichnet, dass Reservoirteil (4.1), Pumpenkörper (44) und Anschlussteil (4.3) durch den Balg (41) zusammengehalten und gegeneinander abgedichtet werden und dass die Membranventile (42 rsp. 43) aus zwischen Reservoirteil (4.1) und Pumpenkörper (44) rsp. zwischen Pumpenkörper (44) und Anschlussteil (4.3) liegenden, federnden Membranen bestehen.
- Vorrichtung zur Fläche- oder Konturrasur nach einem der Ansprüche 10 bis 17, dadurch gekennzeichnet, dass das Präparatereservoir (6) im Speiseteil aus einem Hohlzylinder und einem in diesem Hohlzylinder beweglichen Kolben (48) besteht.
- Vorrichtung zur Flächen- oder Konturrasur nach einem der Ansprüche 10 bis 17, dadurch gekennzeichnet, dass das Präparatereservoir (6) im Speiseteil aus einem deformierbaren Hohlkörper besteht.
Applications Claiming Priority (2)
| Application Number | Priority Date | Filing Date | Title |
|---|---|---|---|
| CH209790 | 1990-06-22 | ||
| CH2097/90 | 1990-06-22 |
Publications (2)
| Publication Number | Publication Date |
|---|---|
| EP0463992A1 EP0463992A1 (de) | 1992-01-02 |
| EP0463992B1 true EP0463992B1 (de) | 1994-03-16 |
Family
ID=4225814
Family Applications (1)
| Application Number | Title | Priority Date | Filing Date |
|---|---|---|---|
| EP91810461A Expired - Lifetime EP0463992B1 (de) | 1990-06-22 | 1991-06-17 | Rasiergerät |
Country Status (7)
| Country | Link |
|---|---|
| US (1) | US5168628A (de) |
| EP (1) | EP0463992B1 (de) |
| JP (1) | JPH04231909A (de) |
| AT (1) | ATE102861T1 (de) |
| DE (1) | DE59101190D1 (de) |
| DK (1) | DK0463992T3 (de) |
| ES (1) | ES2053309T3 (de) |
Cited By (1)
| Publication number | Priority date | Publication date | Assignee | Title |
|---|---|---|---|---|
| DE102008009082A1 (de) * | 2008-02-14 | 2009-08-20 | Peiniger Gmbh | Vorrichtung sowie Schneidwerkzeug für die abtragende Hautbehandlung |
Families Citing this family (101)
| Publication number | Priority date | Publication date | Assignee | Title |
|---|---|---|---|---|
| DK0495754T3 (da) * | 1991-01-17 | 1994-05-09 | Kai Ind Co Ltd | Udskiftningspatron til barbermaskine med påsmøringsanordning samt barberapparat |
| GB2282773A (en) * | 1993-10-13 | 1995-04-19 | Giles Norman Lantos | Safety-razor |
| DE9407891U1 (de) * | 1994-05-16 | 1995-09-14 | Bramlage GmbH, 49393 Lohne | Lippenstift |
| US5402574A (en) * | 1994-05-20 | 1995-04-04 | Milner; Joshua P. | Shaving apparatus |
| US5903979A (en) * | 1994-07-13 | 1999-05-18 | The Gillette Company | Safety razors |
| US5678316A (en) * | 1995-12-15 | 1997-10-21 | Warner-Lambert Company | Disposable razor |
| JPH11514562A (ja) * | 1996-08-29 | 1999-12-14 | フィリップス エレクトロニクス ネムローゼ フェン ノートシャップ | 脱毛システム、脱毛装置およびそのカートリッジ |
| GB2342884A (en) * | 1998-10-23 | 2000-04-26 | Anita Casali | Razor with self-contained lubricant |
| DE19907224C2 (de) * | 1999-02-19 | 2001-02-22 | Braun Gmbh | Flüssigkeitsbehälter |
| DE19907025A1 (de) | 1999-02-19 | 2000-08-31 | Braun Gmbh | Haarentfernungsgerät |
| US6167625B1 (en) | 1999-05-18 | 2001-01-02 | Warner-Lambert Company | Shaving implement |
| DE60203153T2 (de) * | 2001-10-22 | 2006-01-26 | Eveready Battery Co., Inc. | Rasiergerät |
| CN1642698B (zh) * | 2002-02-13 | 2010-04-28 | 松下电工株式会社 | 具有洗剂施加器的毛发去除装置 |
| US6763590B2 (en) | 2002-10-21 | 2004-07-20 | Eveready Battery Company, Inc. | Razor assembly having a clutch controlled shaving aid delivery system |
| US6986207B2 (en) * | 2003-01-24 | 2006-01-17 | Ali Saban Selek | Single-use disposable shaving set |
| PL1615751T3 (pl) * | 2003-04-07 | 2012-01-31 | Eveready Battery Inc | System dozowania substancji ułatwiającej golenie przeznaczony do wykorzystywania w maszynce do golenia na mokro |
| AU2003252664A1 (en) * | 2003-04-30 | 2004-11-23 | Eisho Hujibe | Shaving supporting liquid delivery device |
| JP4599047B2 (ja) * | 2003-09-30 | 2010-12-15 | 株式会社貝印刃物開発センター | 剃刀 |
| US6925716B2 (en) | 2003-12-04 | 2005-08-09 | Eveready Battery Company, Inc. | Shaving apparatus |
| US7043841B2 (en) * | 2003-12-04 | 2006-05-16 | Eveready Battery Co., Inc. | Shaving apparatus |
| US6964097B2 (en) | 2003-12-04 | 2005-11-15 | Eveready Battery Company, Inc. | Shaving apparatus |
| US7121754B2 (en) * | 2003-12-08 | 2006-10-17 | Eveready Battery Company, Inc. | Shaving apparatus with pivot-actuated valve for delivery of shaving aid material |
| US6910274B1 (en) * | 2003-12-16 | 2005-06-28 | Eveready Battery Company, Inc. | Shaving apparatus |
| US6886254B1 (en) | 2003-12-16 | 2005-05-03 | Eveready Battery Company, Inc. | Shaving apparatus |
| US7137203B2 (en) * | 2003-12-30 | 2006-11-21 | Eveready Battery Company, Inc. | Shaving apparatus |
| US20050138814A1 (en) * | 2003-12-30 | 2005-06-30 | Eveready Battery Company, Inc. | Shaving apparatus with shaving aid material dispenser |
| US8061566B2 (en) * | 2007-04-26 | 2011-11-22 | Sealed Air Corporation (Us) | Metering dispensing system with improved valving to prevent accidental dispensing of liquid therefrom |
| US7997454B2 (en) * | 2007-04-26 | 2011-08-16 | Sealed Air Corporation (Us) | Metering dispensing system with improved valving to prevent accidental dispensing of liquid therefrom |
| US7419322B2 (en) * | 2004-03-10 | 2008-09-02 | Poly-D Llc | Fluid dispensing device with metered delivery |
| US7140115B2 (en) * | 2004-05-10 | 2006-11-28 | Greene Todd M | Shaving apparatus with wheel |
| US20060080837A1 (en) * | 2004-10-20 | 2006-04-20 | Robert Johnson | Shaving razors and cartridges |
| DE102004059517A1 (de) * | 2004-12-10 | 2006-06-14 | Mahran Wanli | Rasierer und Verfahren zu seiner Herstellung |
| US20080181714A1 (en) * | 2006-12-11 | 2008-07-31 | Poly-D, Llc | Sponge device with urethane and cellulose material combination construction |
| MX2009006123A (es) * | 2006-12-11 | 2009-09-18 | Poly D Llc | Bolsa erguida de distribucion. |
| US8128303B2 (en) * | 2007-02-09 | 2012-03-06 | Sealed Air Corporation (Us) | Metering dispensing flexible pouch with spray nozzle |
| WO2008100754A1 (en) * | 2007-02-09 | 2008-08-21 | Poly-D, Llc | Metered dosing container with independently deformable internal bladder |
| CA2678192C (en) * | 2007-02-13 | 2013-10-15 | Poly-D, Llc | Container having a secondary reservoir for metered dosing of additives |
| US8167510B2 (en) * | 2007-02-23 | 2012-05-01 | Sealed Air Corporation (Us) | Surface scrubber with rotating pad |
| US8152400B2 (en) * | 2007-02-23 | 2012-04-10 | Sealed Air Corporation (Us) | Surface cleaner with removable wand |
| WO2008103892A2 (en) * | 2007-02-23 | 2008-08-28 | Poly-D, Llc | Toothbrush with integrated toothpaste delivery |
| US8136700B2 (en) * | 2007-02-23 | 2012-03-20 | Sealed Air Corporation (Us) | Dual chambered fluid dispenser with mixing chamber |
| US20080203114A1 (en) * | 2007-02-23 | 2008-08-28 | Poly-D, Llc | Fluid dispenser with docking station |
| ES2396966T3 (es) * | 2007-03-14 | 2013-03-01 | Sealed Air Corporation (Us) | Dispensador con sistema de doble bomba |
| WO2008118830A1 (en) * | 2007-03-26 | 2008-10-02 | Poly-D, Llc | Hanging liquid dispenser |
| ATE489205T1 (de) * | 2007-04-26 | 2010-12-15 | Valeo Trading And Invest 3 Pty Ltd | Rasierapparat |
| KR20100006583A (ko) * | 2007-06-12 | 2010-01-19 | 더 질레트 컴퍼니 | 수동으로 작동가능한 액체 분배 면도기 |
| CL2008001727A1 (es) * | 2007-06-12 | 2010-02-05 | Gillette Co | Maquina de afeitar que comprende un mango con un extremo proximal y otro distal, un cuello de adaptador unido de manera pivotante al extremo proximal del mango, una bomba unida a un canal alimentador, una horquilla de conexion a un cartucho y un cartucho para maquina de afeitar. |
| FR2924044B1 (fr) * | 2007-11-28 | 2010-05-28 | Lindal France | Rasoir manuel a tete de rasage pivotante |
| WO2009094222A1 (en) * | 2008-01-23 | 2009-07-30 | Poly-D, Llc | Razor with integrated dispensing of shaving treatments |
| US20090320293A1 (en) * | 2008-03-19 | 2009-12-31 | Sean Peter Clarke | Manually Actuable Liquid Dispensing Razor With Degradable Shaving Aid |
| US20090263176A1 (en) * | 2008-04-21 | 2009-10-22 | Mileti Robert J | Replaceable Cartridge Dispenser Assembly |
| US9744680B2 (en) | 2008-10-17 | 2017-08-29 | The Gillette Company | Fluid dispensing hair removal device |
| ES2606562T3 (es) * | 2008-10-17 | 2017-03-24 | The Gillette Company Llc | Dispositivo de eliminación de pelo dispensador de fluido |
| EP2218437A1 (de) * | 2009-02-17 | 2010-08-18 | The Gillette Company | Rasierzusammensetzungen mit farbstofftragenden Teilchen |
| US8826543B2 (en) * | 2009-03-23 | 2014-09-09 | The Gillette Company | Manually actuable liquid dispensing razor |
| US8745877B2 (en) * | 2009-03-23 | 2014-06-10 | The Gillette Company | Manually actuable liquid dispensing razor |
| JP5282168B2 (ja) | 2009-07-08 | 2013-09-04 | ポーリー−ディー,エルエルシー | 一体式ポンプアセンブリ付き計量分配システム |
| US9375856B2 (en) | 2009-12-15 | 2016-06-28 | Koninklijke Philips N.V. | Shaving device |
| EP2547497A1 (de) * | 2010-03-15 | 2013-01-23 | The Gillette Company | Haarentfernungsvorrichtung |
| US8365416B2 (en) * | 2010-03-15 | 2013-02-05 | The Gillette Company | Liquid dispensing device comprising a peristaltic pump |
| WO2011130372A1 (en) * | 2010-04-15 | 2011-10-20 | The Procter & Gamble Company | Fluid dispensing hair removal device |
| US8720072B2 (en) | 2010-08-11 | 2014-05-13 | Thomas J. Bucco | Razor with three-axis multi-position capability |
| MX2013004696A (es) * | 2010-10-27 | 2013-06-12 | Gillette Co | Dispositivo dosificador de composiciones que comprende una composicion hidratante no espumante. |
| WO2012058214A1 (en) * | 2010-10-28 | 2012-05-03 | The Gillette Company | Applicator with a baffle for a hair removal device |
| CN102452092B (zh) | 2010-10-28 | 2015-04-01 | 吉列公司 | 分配液体的毛发移除装置 |
| CN102452096A (zh) * | 2010-10-28 | 2012-05-16 | 吉列公司 | 用于分配液体的毛发移除装置的柄部 |
| CN102452094A (zh) | 2010-10-28 | 2012-05-16 | 吉列公司 | 分配液体的毛发移除套件 |
| CN102452091B (zh) * | 2010-10-28 | 2015-08-12 | 吉列公司 | 用于毛发移除装置的具有导流板的施用装置 |
| CN102452095B (zh) | 2010-10-28 | 2014-10-29 | 吉列公司 | 用于分配液体的毛发移除装置的施用装置 |
| CN102452085B (zh) * | 2010-10-28 | 2016-01-27 | 吉列公司 | 用于分配液体的毛发移除装置的泵 |
| CN103189169B (zh) * | 2010-10-28 | 2015-09-09 | 吉列公司 | 具有用于毛发移除装置的导流板的施用装置 |
| CN102452088B (zh) | 2010-10-28 | 2015-07-01 | 吉列公司 | 具有刀片架保持覆盖件的毛发移除装置 |
| EP2651268B1 (de) * | 2010-12-13 | 2015-08-05 | Novissa Haushaltgeräte AG | Vorrichtung zur saft- und fruchtfleischauspressung aus obst oder gemüse |
| JP5860707B2 (ja) * | 2011-05-18 | 2016-02-16 | 株式会社貝印刃物開発センター | 首振り式剃刀 |
| US9156175B2 (en) * | 2011-12-09 | 2015-10-13 | The Gillette Company | Fluid applicator for a personal-care appliance |
| BR112014012805A8 (pt) * | 2011-12-09 | 2017-06-20 | Gillette Co | aparelho de barbear ou depilar com dispensação de fluido |
| US9283685B2 (en) * | 2012-07-26 | 2016-03-15 | Shavelogic, Inc. | Pivoting razors |
| US9486930B2 (en) | 2012-09-27 | 2016-11-08 | Shavelogic, Inc. | Shaving systems |
| WO2014051842A1 (en) | 2012-09-27 | 2014-04-03 | Shavelogic, Inc. | Shaving systems |
| WO2014051843A1 (en) | 2012-09-28 | 2014-04-03 | Shavelogic, Inc. | Shaving systems |
| US9623575B2 (en) | 2012-12-18 | 2017-04-18 | Shavelogic, Inc. | Shaving systems |
| US20150158192A1 (en) | 2013-12-09 | 2015-06-11 | Shavelogic, Inc. | Multi-material pivot return for shaving systems |
| US11325270B2 (en) | 2014-03-21 | 2022-05-10 | Sl Ip Company Llc | Metal spring return and method |
| US12240135B2 (en) | 2018-03-30 | 2025-03-04 | The Gillette Company Llc | Razor handle with a pivoting portion |
| WO2019191178A1 (en) | 2018-03-30 | 2019-10-03 | The Gillette Company Llc | Razor handle with movable members |
| USD874061S1 (en) | 2018-03-30 | 2020-01-28 | The Gillette Company Llc | Shaving razor cartridge |
| JP2021517043A (ja) | 2018-03-30 | 2021-07-15 | ザ ジレット カンパニー リミテッド ライアビリティ カンパニーThe Gillette Company Llc | 枢動部分を有するかみそりハンドル |
| CN111819044B (zh) | 2018-03-30 | 2022-09-16 | 吉列有限责任公司 | 具有枢转部分的剃刀柄部 |
| BR112020020134A2 (pt) | 2018-03-30 | 2021-01-05 | The Gillette Company Llc | Empunhadura de aparelho de barbear ou depilar com elementos móveis |
| US11607820B2 (en) | 2018-03-30 | 2023-03-21 | The Gillette Company Llc | Razor handle with movable members |
| US11691307B2 (en) | 2018-03-30 | 2023-07-04 | The Gillette Company Llc | Razor handle with a pivoting portion |
| JP2021517045A (ja) | 2018-03-30 | 2021-07-15 | ザ ジレット カンパニー リミテッド ライアビリティ カンパニーThe Gillette Company Llc | 可動部材を有するかみそりハンドル |
| EP3549728B1 (de) * | 2018-03-30 | 2021-12-01 | The Gillette Company LLC | Rasierergriff |
| WO2019190962A1 (en) | 2018-03-30 | 2019-10-03 | The Gillette Company Llc | Razor handle with a pivoting portion |
| BR112020020123A2 (pt) | 2018-03-30 | 2021-01-26 | The Gillette Company Llc | empunhadura de aparelho de barbear ou depilar com uma porção pivotante |
| EP3774214B1 (de) | 2018-03-30 | 2023-11-15 | The Gillette Company LLC | Rasierersystem |
| US11123888B2 (en) | 2018-03-30 | 2021-09-21 | The Gillette Company Llc | Razor handle with a pivoting portion |
| US11229270B2 (en) * | 2018-07-08 | 2022-01-25 | Youti Kuo | Shaving applicator device |
| US10864647B2 (en) * | 2019-01-22 | 2020-12-15 | Reyna Alvarez | Adjustable razor and method of use |
| KR102289030B1 (ko) * | 2019-09-11 | 2021-08-11 | 주식회사 도루코 | 면도기 카트리지 및 이를 이용한 면도기 조립체 |
| US20250083348A1 (en) * | 2023-09-12 | 2025-03-13 | Alonzo Terry | Shaving Gel And Aftershave Dispensing Shaving Razor Device |
Family Cites Families (17)
| Publication number | Priority date | Publication date | Assignee | Title |
|---|---|---|---|---|
| US1892836A (en) * | 1932-04-29 | 1933-01-03 | George R Harvey | Combination razor and shaving brush |
| GB490808A (en) * | 1937-02-17 | 1938-08-17 | Manuel Andres Y Gonzalez | Improvements in or relating to razors, particularly safety razors |
| GB488143A (en) * | 1937-09-18 | 1938-07-01 | Arthur James Wakeford | Improvements in or relating to safety razors |
| CH279398A (de) * | 1947-10-29 | 1951-11-30 | Noel Davies James | Rasierapparat mit Rasierflüssigkeit. |
| US2861338A (en) * | 1955-09-20 | 1958-11-25 | Edward R Boland | Lather-applying safety razors |
| US2866265A (en) * | 1956-11-02 | 1958-12-30 | John D Kells | Combination safety razor and lather dispenser having telescopically related head and dispensing assemblies |
| GB879736A (en) * | 1959-01-20 | 1961-10-11 | Baruch Shalev | Improvements in safety razors |
| US3139683A (en) * | 1963-04-02 | 1964-07-07 | Waldman Joseph | Safety razor with fluid distributing manifold |
| US3417468A (en) * | 1965-07-27 | 1968-12-24 | Miyauchi Hideo | Razor |
| US4074429A (en) * | 1976-08-23 | 1978-02-21 | Roberts Thomas G | Novel lathering device and razor assembly |
| US4023269A (en) * | 1976-08-30 | 1977-05-17 | Lopez Jr Lorenzo | Shaving device |
| US4077119A (en) * | 1977-02-16 | 1978-03-07 | Jose Manuel Sellera | Shaving device |
| US4314404A (en) * | 1980-02-20 | 1982-02-09 | Ruiz Rene A | Razor with pre-wetting or capillarizer system |
| FR2494603A1 (fr) * | 1980-11-26 | 1982-05-28 | Normos Norbert | Dispositif de pulverisation de fluides |
| US4562644A (en) * | 1984-08-10 | 1986-01-07 | Hitchens Peter B | Lubricant-applying safety razor |
| FR2605923A1 (fr) * | 1986-10-31 | 1988-05-06 | Kolacinski Patrice | Rasoir mecanique incorpore d'un doseur de produit de rasage |
| DE8911246U1 (de) * | 1989-09-21 | 1991-01-24 | Wilkinson Sword GmbH, 5650 Solingen | Rasierapparatekopf, insbesondere Rasierklingeneinheit |
-
1991
- 1991-06-17 AT AT91810461T patent/ATE102861T1/de not_active IP Right Cessation
- 1991-06-17 DK DK91810461.3T patent/DK0463992T3/da active
- 1991-06-17 DE DE91810461T patent/DE59101190D1/de not_active Expired - Fee Related
- 1991-06-17 ES ES91810461T patent/ES2053309T3/es not_active Expired - Lifetime
- 1991-06-17 EP EP91810461A patent/EP0463992B1/de not_active Expired - Lifetime
- 1991-06-19 US US07/718,557 patent/US5168628A/en not_active Expired - Fee Related
- 1991-06-21 JP JP3150137A patent/JPH04231909A/ja active Pending
Cited By (2)
| Publication number | Priority date | Publication date | Assignee | Title |
|---|---|---|---|---|
| DE102008009082A1 (de) * | 2008-02-14 | 2009-08-20 | Peiniger Gmbh | Vorrichtung sowie Schneidwerkzeug für die abtragende Hautbehandlung |
| DE102008009082B4 (de) * | 2008-02-14 | 2017-08-31 | Peiniger Gmbh | Vorrichtung sowie Schneidwerkzeug für die abtragende Hautbehandlung |
Also Published As
| Publication number | Publication date |
|---|---|
| DK0463992T3 (da) | 1994-04-05 |
| US5168628A (en) | 1992-12-08 |
| EP0463992A1 (de) | 1992-01-02 |
| ATE102861T1 (de) | 1994-04-15 |
| JPH04231909A (ja) | 1992-08-20 |
| ES2053309T3 (es) | 1994-07-16 |
| DE59101190D1 (de) | 1994-04-21 |
Similar Documents
| Publication | Publication Date | Title |
|---|---|---|
| EP0463992B1 (de) | Rasiergerät | |
| EP0605397B1 (de) | Rasierapparatekopf, insbesondere Rasierklingeneinheit | |
| DE60001055T2 (de) | Rasierer | |
| AT395816B (de) | Vorrichtung zur manuellen hautmassage und zum gleichzeitigen auftragen eines fluessigen oder pastenartigen produktes auf die haut | |
| DE3829395C2 (de) | Vorrichtung zum Auftragen eines Produkts auf eine Oberfläche, insbesondere Applikatorvorrichtung für ein kosmetisches, insbesondere depilatorisches Produkt | |
| DE69100851T2 (de) | Inhalationsgerät. | |
| DE2260724C3 (de) | Auftragsvorrichtung für ein in einem Behälter untergebrachtes kosmetisches Präparat | |
| DE69302337T2 (de) | Abgabevorrichtung für wenigstens ein flüssiges oder pastöses Produkt, die ein Verschlusssystem ohne Luftansaugen aufweist und diese Vorrichtung gebrauchendes Konservierungsverfahren | |
| DE69911627T2 (de) | Ausgabebehälter | |
| DE60115183T2 (de) | Stift , insbesondere für ein creme- ,gel- oder pastenartiges Produkt | |
| EP0013691A1 (de) | Spender für pastöse Produkte | |
| EP0155616A2 (de) | Behälter mit Vorrichtung zum Auftragen von Flüssigkeiten auf eine Fläche | |
| CH682041A5 (en) | Applicator for thin film cosmetic or pharmaceutical prepn. on skin - has storage device in handgrip with application by means of rotatable and pivotable roller | |
| DE102004042617B4 (de) | Applikator und Haarbehandlungsmittel-Behälter | |
| DE1807236A1 (de) | Mechanischer Rasierapparat | |
| DE60025346T2 (de) | Bandspender | |
| DE3245877A1 (de) | Reinigungskassette | |
| EP2272393A1 (de) | Applikator für Haarfärbemittel | |
| EP0901839A2 (de) | Vorrichtung zum Auftragen von Flüssigkeiten auf ein Substrat | |
| EP0268860B1 (de) | Vorrichtung zur Handhabung von Flüssigkeiten für die Behandlung der Haare und für dergleichen Anwendung | |
| DE564828C (de) | Zerstaeuber | |
| DE2050458C3 (de) | Handgerat zum Auftragen flussigen Materials | |
| DE4106578A1 (de) | Fluessigkeitsauftraeger | |
| DE19963065B4 (de) | Vorrichtung zum Auftragen eines Haarbehandlungsmittels und Verwendung der Vorrichtung | |
| DE2801551C3 (de) | Druckgerät mit einem Betätigungshebel, einer Druckstange o.dgl |
Legal Events
| Date | Code | Title | Description |
|---|---|---|---|
| PUAI | Public reference made under article 153(3) epc to a published international application that has entered the european phase |
Free format text: ORIGINAL CODE: 0009012 |
|
| AK | Designated contracting states |
Kind code of ref document: A1 Designated state(s): AT BE CH DE DK ES FR GB GR IT LI LU NL SE |
|
| RAP1 | Party data changed (applicant data changed or rights of an application transferred) |
Owner name: KAI INDUSTRIES CO. LTD. |
|
| 17P | Request for examination filed |
Effective date: 19920624 |
|
| 17Q | First examination report despatched |
Effective date: 19921029 |
|
| GRAA | (expected) grant |
Free format text: ORIGINAL CODE: 0009210 |
|
| AK | Designated contracting states |
Kind code of ref document: B1 Designated state(s): AT BE CH DE DK ES FR GB GR IT LI LU NL SE |
|
| REF | Corresponds to: |
Ref document number: 102861 Country of ref document: AT Date of ref document: 19940415 Kind code of ref document: T |
|
| ITF | It: translation for a ep patent filed | ||
| REG | Reference to a national code |
Ref country code: DK Ref legal event code: T3 |
|
| REF | Corresponds to: |
Ref document number: 59101190 Country of ref document: DE Date of ref document: 19940421 |
|
| GBT | Gb: translation of ep patent filed (gb section 77(6)(a)/1977) |
Effective date: 19940413 |
|
| ET | Fr: translation filed | ||
| REG | Reference to a national code |
Ref country code: ES Ref legal event code: FG2A Ref document number: 2053309 Country of ref document: ES Kind code of ref document: T3 |
|
| EPTA | Lu: last paid annual fee | ||
| REG | Reference to a national code |
Ref country code: GR Ref legal event code: FG4A Free format text: 3011937 |
|
| PLBE | No opposition filed within time limit |
Free format text: ORIGINAL CODE: 0009261 |
|
| EAL | Se: european patent in force in sweden |
Ref document number: 91810461.3 |
|
| 26N | No opposition filed | ||
| PGFP | Annual fee paid to national office [announced via postgrant information from national office to epo] |
Ref country code: GR Payment date: 19950417 Year of fee payment: 5 |
|
| PGFP | Annual fee paid to national office [announced via postgrant information from national office to epo] |
Ref country code: LU Payment date: 19950501 Year of fee payment: 5 |
|
| PGFP | Annual fee paid to national office [announced via postgrant information from national office to epo] |
Ref country code: BE Payment date: 19950510 Year of fee payment: 5 |
|
| PGFP | Annual fee paid to national office [announced via postgrant information from national office to epo] |
Ref country code: GB Payment date: 19950606 Year of fee payment: 5 |
|
| PGFP | Annual fee paid to national office [announced via postgrant information from national office to epo] |
Ref country code: ES Payment date: 19950615 Year of fee payment: 5 Ref country code: DK Payment date: 19950615 Year of fee payment: 5 |
|
| PGFP | Annual fee paid to national office [announced via postgrant information from national office to epo] |
Ref country code: SE Payment date: 19950616 Year of fee payment: 5 Ref country code: AT Payment date: 19950616 Year of fee payment: 5 |
|
| PGFP | Annual fee paid to national office [announced via postgrant information from national office to epo] |
Ref country code: FR Payment date: 19950628 Year of fee payment: 5 |
|
| PGFP | Annual fee paid to national office [announced via postgrant information from national office to epo] |
Ref country code: NL Payment date: 19950629 Year of fee payment: 5 |
|
| PGFP | Annual fee paid to national office [announced via postgrant information from national office to epo] |
Ref country code: DE Payment date: 19950829 Year of fee payment: 5 |
|
| PG25 | Lapsed in a contracting state [announced via postgrant information from national office to epo] |
Ref country code: LU Free format text: LAPSE BECAUSE OF NON-PAYMENT OF DUE FEES Effective date: 19960617 Ref country code: GB Effective date: 19960617 Ref country code: DK Effective date: 19960617 Ref country code: AT Effective date: 19960617 |
|
| REG | Reference to a national code |
Ref country code: DK Ref legal event code: EBP |
|
| PG25 | Lapsed in a contracting state [announced via postgrant information from national office to epo] |
Ref country code: SE Effective date: 19960618 Ref country code: ES Free format text: LAPSE BECAUSE OF THE APPLICANT RENOUNCES Effective date: 19960618 |
|
| PG25 | Lapsed in a contracting state [announced via postgrant information from national office to epo] |
Ref country code: BE Effective date: 19960630 |
|
| BERE | Be: lapsed |
Owner name: KAI INDUSTRIES CO. LTD Effective date: 19960630 |
|
| PG25 | Lapsed in a contracting state [announced via postgrant information from national office to epo] |
Ref country code: GR Free format text: THE PATENT HAS BEEN ANNULLED BY A DECISION OF A NATIONAL AUTHORITY Effective date: 19961231 |
|
| PG25 | Lapsed in a contracting state [announced via postgrant information from national office to epo] |
Ref country code: NL Effective date: 19970101 |
|
| REG | Reference to a national code |
Ref country code: GR Ref legal event code: MM2A Free format text: 3011937 |
|
| GBPC | Gb: european patent ceased through non-payment of renewal fee |
Effective date: 19960617 |
|
| PG25 | Lapsed in a contracting state [announced via postgrant information from national office to epo] |
Ref country code: FR Effective date: 19970228 |
|
| PG25 | Lapsed in a contracting state [announced via postgrant information from national office to epo] |
Ref country code: DE Effective date: 19970301 |
|
| EUG | Se: european patent has lapsed |
Ref document number: 91810461.3 |
|
| NLV4 | Nl: lapsed or anulled due to non-payment of the annual fee |
Effective date: 19970101 |
|
| REG | Reference to a national code |
Ref country code: FR Ref legal event code: ST |
|
| REG | Reference to a national code |
Ref country code: ES Ref legal event code: FD2A Effective date: 19991007 |
|
| PGFP | Annual fee paid to national office [announced via postgrant information from national office to epo] |
Ref country code: CH Payment date: 20030522 Year of fee payment: 13 |
|
| PG25 | Lapsed in a contracting state [announced via postgrant information from national office to epo] |
Ref country code: LI Free format text: LAPSE BECAUSE OF NON-PAYMENT OF DUE FEES Effective date: 20040630 Ref country code: CH Free format text: LAPSE BECAUSE OF NON-PAYMENT OF DUE FEES Effective date: 20040630 |
|
| REG | Reference to a national code |
Ref country code: CH Ref legal event code: PL |
|
| PG25 | Lapsed in a contracting state [announced via postgrant information from national office to epo] |
Ref country code: IT Free format text: LAPSE BECAUSE OF NON-PAYMENT OF DUE FEES;WARNING: LAPSES OF ITALIAN PATENTS WITH EFFECTIVE DATE BEFORE 2007 MAY HAVE OCCURRED AT ANY TIME BEFORE 2007. THE CORRECT EFFECTIVE DATE MAY BE DIFFERENT FROM THE ONE RECORDED. Effective date: 20050617 |