WO2019159572A1 - 投影表示装置 - Google Patents
投影表示装置 Download PDFInfo
- Publication number
- WO2019159572A1 WO2019159572A1 PCT/JP2019/000566 JP2019000566W WO2019159572A1 WO 2019159572 A1 WO2019159572 A1 WO 2019159572A1 JP 2019000566 W JP2019000566 W JP 2019000566W WO 2019159572 A1 WO2019159572 A1 WO 2019159572A1
- Authority
- WO
- WIPO (PCT)
- Prior art keywords
- optical path
- concave mirror
- display device
- mirror
- projection
- Prior art date
- Legal status (The legal status is an assumption and is not a legal conclusion. Google has not performed a legal analysis and makes no representation as to the accuracy of the status listed.)
- Ceased
Links
Images
Classifications
-
- G—PHYSICS
- G02—OPTICS
- G02B—OPTICAL ELEMENTS, SYSTEMS OR APPARATUS
- G02B7/00—Mountings, adjusting means, or light-tight connections, for optical elements
- G02B7/18—Mountings, adjusting means, or light-tight connections, for optical elements for prisms; for mirrors
- G02B7/182—Mountings, adjusting means, or light-tight connections, for optical elements for prisms; for mirrors for mirrors
- G02B7/1821—Mountings, adjusting means, or light-tight connections, for optical elements for prisms; for mirrors for mirrors for rotating or oscillating mirrors
-
- B—PERFORMING OPERATIONS; TRANSPORTING
- B60—VEHICLES IN GENERAL
- B60K—ARRANGEMENT OR MOUNTING OF PROPULSION UNITS OR OF TRANSMISSIONS IN VEHICLES; ARRANGEMENT OR MOUNTING OF PLURAL DIVERSE PRIME-MOVERS IN VEHICLES; AUXILIARY DRIVES FOR VEHICLES; INSTRUMENTATION OR DASHBOARDS FOR VEHICLES; ARRANGEMENTS IN CONNECTION WITH COOLING, AIR INTAKE, GAS EXHAUST OR FUEL SUPPLY OF PROPULSION UNITS IN VEHICLES
- B60K35/00—Instruments specially adapted for vehicles; Arrangement of instruments in or on vehicles
- B60K35/10—Input arrangements, i.e. from user to vehicle, associated with vehicle functions or specially adapted therefor
-
- B—PERFORMING OPERATIONS; TRANSPORTING
- B60—VEHICLES IN GENERAL
- B60K—ARRANGEMENT OR MOUNTING OF PROPULSION UNITS OR OF TRANSMISSIONS IN VEHICLES; ARRANGEMENT OR MOUNTING OF PLURAL DIVERSE PRIME-MOVERS IN VEHICLES; AUXILIARY DRIVES FOR VEHICLES; INSTRUMENTATION OR DASHBOARDS FOR VEHICLES; ARRANGEMENTS IN CONNECTION WITH COOLING, AIR INTAKE, GAS EXHAUST OR FUEL SUPPLY OF PROPULSION UNITS IN VEHICLES
- B60K35/00—Instruments specially adapted for vehicles; Arrangement of instruments in or on vehicles
- B60K35/20—Output arrangements, i.e. from vehicle to user, associated with vehicle functions or specially adapted therefor
- B60K35/21—Output arrangements, i.e. from vehicle to user, associated with vehicle functions or specially adapted therefor using visual output, e.g. blinking lights or matrix displays
- B60K35/22—Display screens
-
- B—PERFORMING OPERATIONS; TRANSPORTING
- B60—VEHICLES IN GENERAL
- B60K—ARRANGEMENT OR MOUNTING OF PROPULSION UNITS OR OF TRANSMISSIONS IN VEHICLES; ARRANGEMENT OR MOUNTING OF PLURAL DIVERSE PRIME-MOVERS IN VEHICLES; AUXILIARY DRIVES FOR VEHICLES; INSTRUMENTATION OR DASHBOARDS FOR VEHICLES; ARRANGEMENTS IN CONNECTION WITH COOLING, AIR INTAKE, GAS EXHAUST OR FUEL SUPPLY OF PROPULSION UNITS IN VEHICLES
- B60K35/00—Instruments specially adapted for vehicles; Arrangement of instruments in or on vehicles
- B60K35/60—Instruments characterised by their location or relative disposition in or on vehicles
-
- G—PHYSICS
- G02—OPTICS
- G02B—OPTICAL ELEMENTS, SYSTEMS OR APPARATUS
- G02B26/00—Optical devices or arrangements for the control of light using movable or deformable optical elements
- G02B26/08—Optical devices or arrangements for the control of light using movable or deformable optical elements for controlling the direction of light
- G02B26/0816—Optical devices or arrangements for the control of light using movable or deformable optical elements for controlling the direction of light by means of one or more reflecting elements
-
- G—PHYSICS
- G02—OPTICS
- G02B—OPTICAL ELEMENTS, SYSTEMS OR APPARATUS
- G02B27/00—Optical systems or apparatus not provided for by any of the groups G02B1/00 - G02B26/00, G02B30/00
- G02B27/01—Head-up displays
- G02B27/0101—Head-up displays characterised by optical features
-
- B—PERFORMING OPERATIONS; TRANSPORTING
- B60—VEHICLES IN GENERAL
- B60K—ARRANGEMENT OR MOUNTING OF PROPULSION UNITS OR OF TRANSMISSIONS IN VEHICLES; ARRANGEMENT OR MOUNTING OF PLURAL DIVERSE PRIME-MOVERS IN VEHICLES; AUXILIARY DRIVES FOR VEHICLES; INSTRUMENTATION OR DASHBOARDS FOR VEHICLES; ARRANGEMENTS IN CONNECTION WITH COOLING, AIR INTAKE, GAS EXHAUST OR FUEL SUPPLY OF PROPULSION UNITS IN VEHICLES
- B60K2360/00—Indexing scheme associated with groups B60K35/00 or B60K37/00 relating to details of instruments or dashboards
- B60K2360/122—Instrument input devices with reconfigurable control functions, e.g. reconfigurable menus
-
- B—PERFORMING OPERATIONS; TRANSPORTING
- B60—VEHICLES IN GENERAL
- B60K—ARRANGEMENT OR MOUNTING OF PROPULSION UNITS OR OF TRANSMISSIONS IN VEHICLES; ARRANGEMENT OR MOUNTING OF PLURAL DIVERSE PRIME-MOVERS IN VEHICLES; AUXILIARY DRIVES FOR VEHICLES; INSTRUMENTATION OR DASHBOARDS FOR VEHICLES; ARRANGEMENTS IN CONNECTION WITH COOLING, AIR INTAKE, GAS EXHAUST OR FUEL SUPPLY OF PROPULSION UNITS IN VEHICLES
- B60K2360/00—Indexing scheme associated with groups B60K35/00 or B60K37/00 relating to details of instruments or dashboards
- B60K2360/149—Instrument input by detecting viewing direction not otherwise provided for
-
- B—PERFORMING OPERATIONS; TRANSPORTING
- B60—VEHICLES IN GENERAL
- B60K—ARRANGEMENT OR MOUNTING OF PROPULSION UNITS OR OF TRANSMISSIONS IN VEHICLES; ARRANGEMENT OR MOUNTING OF PLURAL DIVERSE PRIME-MOVERS IN VEHICLES; AUXILIARY DRIVES FOR VEHICLES; INSTRUMENTATION OR DASHBOARDS FOR VEHICLES; ARRANGEMENTS IN CONNECTION WITH COOLING, AIR INTAKE, GAS EXHAUST OR FUEL SUPPLY OF PROPULSION UNITS IN VEHICLES
- B60K2360/00—Indexing scheme associated with groups B60K35/00 or B60K37/00 relating to details of instruments or dashboards
- B60K2360/20—Optical features of instruments
- B60K2360/23—Optical features of instruments using reflectors
-
- B—PERFORMING OPERATIONS; TRANSPORTING
- B60—VEHICLES IN GENERAL
- B60K—ARRANGEMENT OR MOUNTING OF PROPULSION UNITS OR OF TRANSMISSIONS IN VEHICLES; ARRANGEMENT OR MOUNTING OF PLURAL DIVERSE PRIME-MOVERS IN VEHICLES; AUXILIARY DRIVES FOR VEHICLES; INSTRUMENTATION OR DASHBOARDS FOR VEHICLES; ARRANGEMENTS IN CONNECTION WITH COOLING, AIR INTAKE, GAS EXHAUST OR FUEL SUPPLY OF PROPULSION UNITS IN VEHICLES
- B60K2360/00—Indexing scheme associated with groups B60K35/00 or B60K37/00 relating to details of instruments or dashboards
- B60K2360/20—Optical features of instruments
- B60K2360/33—Illumination features
- B60K2360/334—Projection means
-
- B—PERFORMING OPERATIONS; TRANSPORTING
- B60—VEHICLES IN GENERAL
- B60K—ARRANGEMENT OR MOUNTING OF PROPULSION UNITS OR OF TRANSMISSIONS IN VEHICLES; ARRANGEMENT OR MOUNTING OF PLURAL DIVERSE PRIME-MOVERS IN VEHICLES; AUXILIARY DRIVES FOR VEHICLES; INSTRUMENTATION OR DASHBOARDS FOR VEHICLES; ARRANGEMENTS IN CONNECTION WITH COOLING, AIR INTAKE, GAS EXHAUST OR FUEL SUPPLY OF PROPULSION UNITS IN VEHICLES
- B60K2360/00—Indexing scheme associated with groups B60K35/00 or B60K37/00 relating to details of instruments or dashboards
- B60K2360/77—Instrument locations other than the dashboard
- B60K2360/785—Instrument locations other than the dashboard on or in relation to the windshield or windows
-
- G—PHYSICS
- G02—OPTICS
- G02B—OPTICAL ELEMENTS, SYSTEMS OR APPARATUS
- G02B27/00—Optical systems or apparatus not provided for by any of the groups G02B1/00 - G02B26/00, G02B30/00
- G02B27/01—Head-up displays
- G02B27/0149—Head-up displays characterised by mechanical features
- G02B2027/0154—Head-up displays characterised by mechanical features with movable elements
- G02B2027/0159—Head-up displays characterised by mechanical features with movable elements with mechanical means other than scaning means for positioning the whole image
-
- G—PHYSICS
- G02—OPTICS
- G02B—OPTICAL ELEMENTS, SYSTEMS OR APPARATUS
- G02B27/00—Optical systems or apparatus not provided for by any of the groups G02B1/00 - G02B26/00, G02B30/00
- G02B27/01—Head-up displays
- G02B27/0179—Display position adjusting means not related to the information to be displayed
- G02B2027/0181—Adaptation to the pilot/driver
Definitions
- the present invention relates to a projection display apparatus including a display device and an optical system that configures an optical path for projecting light emitted from the display device toward a predetermined projection position as a display image.
- HUD head-up display
- a vehicle HUD apparatus In general, in a vehicle HUD apparatus, light projected from a display device is projected onto a projection position such as a windshield through an optical system constituted by a plurality of optical members, and the light reflected at the projection position is operated. An optical path is formed so as to go to the person's eye point. Accordingly, the driver can visually recognize the display image displayed on the windshield or the like as a virtual image while simultaneously viewing the scenery in front of the vehicle through the windshield.
- the driver's eye point differs depending on the driver's physique and the seating position on the seat. Therefore, in the vehicle HUD device, for example, there are eye points at various positions within the range so that the driver can continue to visually recognize the display image even if the eye points differ within a certain range.
- the optical system is designed to realize various optical paths corresponding to the case. In order to design an optical system assuming such various optical paths, for example, the optical member is enlarged in order to ensure a large incidence range of individual optical members (for example, mirrors) constituting the optical system. It is possible. However, when the optical member is enlarged, the entire HUD device is usually enlarged.
- One of the objects of the present invention is to provide a projection display device capable of coping with various eye points and downsizing the device.
- the projection display device comprises: A display device, and an optical system that configures an optical path for projecting light emitted from the display device toward a predetermined projection position as a display image
- the optical system is A pair of mirrors provided in the middle of the optical path, wherein one of the mirrors is configured such that an optical path convergence point where the light is converged can be set on the optical path, and the other mirror is the optical path While having a pair of mirrors provided at a position corresponding to the convergence point, At least one of the pair of mirrors so as to project the light that has passed through the pair of mirrors and the optical path converging point to the projection position corresponding to the eye point of the user who will visually recognize the display image.
- the mirror surface position can be adjusted while corresponding to the eye point.
- the optical system is An optical member that performs optical processing on the light is provided at a position corresponding to the optical path convergence point.
- the apparatus further includes at least one of a measurement unit that measures the eyepoint regardless of the operation of the user, and an input unit that inputs the eyepoint by the operation of the user.
- the other is placed at a position corresponding to the optical path convergence point set by the one mirror.
- the display image can be continuously projected at the projection position corresponding to the eye point while maintaining the state in which the mirror is present.
- the other mirror is always arranged at a position corresponding to the optical path convergence point regardless of the position of the eye point, the possible incident range of light assumed for the other mirror can be narrowed.
- the entire optical path can be handled without increasing the size. As a result, the projection display device itself can be reduced in size.
- the projection display device According to the projection display device according to the first aspect, it is possible to achieve both compatibility with various eye points and miniaturization of the device.
- the position “corresponding” to the optical path convergence location may be the optical path convergence location itself or may be in the vicinity of the optical path convergence location within a range where the above-described effect can be exhibited.
- an optical member that performs optical processing is disposed at a position corresponding to the optical path convergence point.
- the optical member can be miniaturized for the same reason as the reason why the other mirror described above can be miniaturized.
- it is possible to suppress an increase in the size of the projection display device associated with the arrangement of the optical member.
- a heat cutoff filter, a cold mirror, and the like disposed on the optical path are assumed assuming that sunlight from the outside travels back in the optical path toward the display device. Is done.
- the projection position of the display image can be automatically adjusted by automatically measuring the eye point with the measuring unit.
- the user can operate the input unit to manually adjust the projection position so that the display image is projected onto the projection position suitable for the user's eye point.
- a vehicle HUD device 1 projection display device
- FIG. 1 vehicle longitudinal direction
- vehicle vertical direction front
- rear front
- upper rear
- lower front
- a direction orthogonal to the vehicle longitudinal direction and the vehicle vertical direction is referred to as a “vehicle width direction”.
- the HUD device 1 includes a display device 10, an optical system 20, and a control device 30.
- the display device 10 and the optical system 20 are accommodated inside the dashboard DB of the vehicle.
- the control device 30 may be accommodated inside the dashboard DB or may be disposed outside the dashboard.
- the display device 10 has a display surface 11 that can display an arbitrary two-dimensional image.
- the display device 10 emits light from the display surface 11 toward the front of the vehicle.
- the display device 10 is fixedly arranged on the HUD device 1.
- a transmissive liquid crystal display panel is assumed as the display device 10, but a projector having a screen at the position of the display surface 11 may be used.
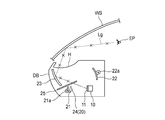
- the optical system 20 includes a first concave mirror 21, a second concave mirror 22, a third concave mirror 23, a heat blocking filter 24, and a light shielding plate 25.
- the first concave mirror 21 is positioned in front of the vehicle with respect to the display device 10 and has an aspheric concave mirror surface facing the rear of the vehicle.
- the first concave mirror 21 is supported by the HUD device 1 so as to be rotatable up and down within a predetermined range about a rotation axis extending in the vehicle width direction provided on the back side (opposite side of the mirror surface) of the first concave mirror 21. ing.
- the angle of the first concave mirror 21 can be arbitrarily adjusted by a first actuator 21 a provided on the back side of the first concave mirror 21.
- the angle of the first concave mirror 21 shown in FIG. 1 is a standard design angle within the adjustment range.
- the second concave mirror 22 is positioned behind the vehicle and above the display device 10 and has an aspheric concave mirror surface facing the front of the vehicle.
- the second concave mirror 22 is supported by the HUD device 1 so as to be rotatable up and down within a predetermined range around a rotation axis extending in the vehicle width direction provided on its back side (opposite to the mirror surface). ing.
- the angle of the second concave mirror 22 can be arbitrarily adjusted by a second actuator 22a provided on its back side.
- the angle of the second concave mirror 22 shown in FIG. 1 is a standard design angle within the adjustment range.
- the third concave mirror 23 has an aspheric concave mirror surface that is located in front of the vehicle and above the first concave mirror 21 and just below the opening H and facing the rear of the vehicle.
- the third concave mirror 23 is fixedly disposed on the HUD device 1 (non-rotatable).
- the light emitted from the display surface 11 of the display device 10 toward the front of the vehicle passes through the optical path (light flux) L1 toward the first concave mirror 21, and the light incident on the mirror surface of the first concave mirror 21 is the mirror surface.
- the light that is reflected by the light beam and passes through the optical path (light beam) L2 toward the second concave mirror 22 and is incident on the mirror surface of the second concave mirror 22 is reflected by the mirror surface and passes through the optical path (light beam) L3.
- the light that is directed to the mirror 23 and is incident on the mirror surface of the third concave mirror 23 is reflected by the mirror surface, is emitted from the opening H through the optical path (light beam) L4, and is the inner surface (projection surface) of the windshield WS. Is projected onto the projection position P.
- the light projected on the projection position P of the windshield WS is reflected by the projection surface of the windshield WS and travels to the driver's eye point EP through an optical path (light beam) L5.
- An eye point EP shown in FIG. 1 indicates a standard position in design of the driver's eye point. Therefore, the projection position P shown in FIG. 1 corresponding to the eye point EP shown in FIG. 1 indicates a standard position for designing the projection position.
- Optical paths (light beams) L1 to L5 indicate design standard optical paths through which light constituting a display image visually recognized by the driver at the eye point EP passes.
- this standard optical path for example, when viewed from the second concave mirror 22 side, the optical path L2 converges at an optical path convergence point C that is one point on the mirror surface of the first concave mirror 21.
- the mirror surface of the first concave mirror 21 is located at the optical path convergence point C of the optical path L2 formed by the concave shape of the mirror surface of the second concave mirror 22.
- the driver can visually recognize the display image projected by the HUD device 1 at the eye point EP.
- the display image actually viewed by the driver is formed as a virtual image VI at a predetermined position in front of the vehicle with respect to the windshield WS.
- the light emitted from the HUD device 1 is reflected by the projection surface of the windshield WS and guided to the eyepoint EP.
- an optical device such as a combiner or a half mirror is used instead of the windshield WS.
- a reflection member may be employed, and the light emitted from the HUD device 1 may be reflected by the projection surface of the optical reflection member and guided to the eye point EP.
- the light shielding plate 25 is fixedly disposed on the HUD device 1 at a position and an orientation between the first concave mirror 21 and the third concave mirror 23 so as not to interfere with the optical paths L2 and L3. As shown in FIG. 4, the light shielding plate 25 allows the light emitted from the display device 10 to reach the eye point EP through an optical path Lg different from the regular optical paths L1, L2, L3, L4, and L5. This is provided to prevent the driver from visually recognizing an image different from the regular display image (so-called ghost image).
- the optical path L2 of the present embodiment converges at the optical path convergence point C, which is one point on the mirror surface of the first concave mirror 21, and the mirror surface of the first concave mirror 21 is located at this optical path convergence point C. ing. That is, the width of the optical path L2 becomes narrower as the first concave mirror 21 is approached. Therefore, the freedom degree of arrangement
- the light shielding plate 25 also has a function of shielding sunlight from the outside so as to suppress the display device 10 from being exposed to sunlight.
- the optical path L ⁇ b> 2 is converged between the first concave mirror 21 and the second concave mirror 22. Therefore, there is a margin in the internal space of the HUD device 1 as much as the optical path L2 is converged. Therefore, the light shielding plate 25 can be enlarged using this margin. By increasing the size of the light shielding plate 25, it is possible to more reliably shield sunlight reaching the display device 10.
- the control device 30 includes a display device 10, a first actuator 21 a, a second actuator 22 a, and an eye point measurement camera 31 provided at a predetermined position above the inner side surface of the windshield WS. And are electrically connected.
- the control device 30 is, for example, a microcomputer.
- the eye point measurement camera 31 is a camera that photographs around the driver's face (eyes) in order to measure the position of the driver's eye point EP.
- the control device 30 displays various images on the display surface 11 of the display device 10 according to the state of the vehicle. In other words, the control device 30 controls the light emitted from the display device 10.
- the control device 30 adjusts the angle of the first concave mirror 21 by controlling the first actuator 21a.
- the control device 30 adjusts the angle of the second concave mirror 22 by controlling the second actuator 22a.
- the control device 30 analyzes the image taken by the eye point measurement camera 31, and measures the position of the driver's eye point EP.
- the position of the eye point EP differs depending on, for example, the driver's physique. If the eye point EP is different, the projection position P corresponding to the eye point EP on the projection surface of the windshield WS is also different.
- the angles of the first concave mirror 21 and the second concave mirror 22 are changed from the standard angle shown in FIG.
- the angle of the first concave mirror 21 is changed downward from the standard angle shown in FIG. 1
- the angle of the second concave mirror 22 is changed upward from the standard angle shown in FIG. Yes.
- the optical path L2a shown in FIG. 2 (a) is also an optical path convergence point which is one point on the mirror surface of the first concave mirror 21 when viewed from the second concave mirror 22 side, similarly to the optical path L2 shown in FIG. Converged with Ca.
- the optical path convergence point Ca on the mirror surface of the first concave mirror 21, the optical path convergence point Ca (see FIG. 2A) is slightly above the optical path convergence point C (see FIG. 1). Will be moved to.
- the angles of the first concave mirror 21 and the second concave mirror 22 are changed from the standard angles shown in FIG.
- the angle of the first concave mirror 21 is changed upward from the standard angle shown in FIG. 1
- the angle of the second concave mirror 22 is changed downward from the standard angle shown in FIG. Yes.
- the optical path L2b shown in FIG. 2 (b) is also an optical path convergence point which is one point on the mirror surface of the first concave mirror 21 when viewed from the second concave mirror 22 side, similarly to the optical path L2 shown in FIG. Convergence at Cb.
- the optical path convergence point Cb is slightly below the optical path convergence point C (see FIG. 1). Will be moved to.
- control device 30 of the HUD device 1 adjusts the angles of the first concave mirror 21 and the second concave mirror 22 according to the position of the eye point EP.
- the flow of processing will be described.
- the control device 30 repeatedly executes the process shown in FIG. 3 at a predetermined timing.
- the control device 30 first determines whether or not the HUD device 1 is in an operating state (step S1). When the HUD device 1 is not in the operating state (No in step S1), the control device 30 maintains the display device 10 in the OFF state (step S6). On the other hand, when the HUD device 1 is in an operating state (Yes in step S1), the control device 30 turns on the display device 10 (step S2).
- control device 30 analyzes the image captured by the eye point measurement camera 31 using one of known methods, and measures the position of the driver's eye point EP (step S3).
- step S2 The eyepoint measured in step S2 while maintaining the state where the mirror surface of the first concave mirror 21 is located at the optical path convergence point C of the optical path L2 generated by the second concave mirror 22 as a result of the processing described above by the control device 30.
- a display image is projected to the projection position P corresponding to EP.
- the angles of the first concave mirror 21 and the second concave mirror 22 are changed even when the eye point EP moves within a range assumed in design.
- the state in which the mirror surface of the first concave mirror 21 is located at the optical path convergence portion of the optical path L2 generated by the second concave mirror 22 is maintained.
- a display image can be projected onto the projection position P corresponding to the eye point EP on the projection surface of the windshield WS. Therefore, even if the eye point EP moves within the range assumed in design, the driver can continue to visually recognize the display image.
- the mirror surface of the first concave mirror 21 is always arranged at the optical path convergence point of the optical path L2 even if the eye point EP moves within the range assumed in the design, the assumption on the mirror surface of the first concave mirror 21 is assumed. It is possible to narrow the incident range of the emitted light.
- the first concave mirror 21 can be made extremely small by designing the optical system 20 so that the intervals between the optical path convergence points C, Ca, and Cb shown in FIG. As a result, the entire HUD device 1 can be reduced in size.
- the heat shutoff filter 24 is disposed in the vicinity of the first concave mirror 21 on the optical path L2 between the first concave mirror 21 and the second concave mirror 22 (that is, in the vicinity of the optical path converging portion of the optical path). ing. As a result, it is possible to narrow the assumed light incidence range in the heat cutoff filter 24. For this reason, the heat cutoff filter 24 can be made small for the same reason as the first concave mirror 21. As a result, the enlargement of the entire HUD device 1 associated with the arrangement of the heat cutoff filter 24 can be suppressed.
- the first concave mirror 21, the second concave mirror 22, and the third concave mirror 23 are aspherical mirrors having a convex shape.
- an aspherical mirror having a convex shape or an aspherical mirror in which a concave surface and a convex surface are mixed may be used.
- the 3rd concave mirror 23 may be further rotatable.
- the eye point EP is automatically measured using the image taken by the eye point measuring camera 31, and the projection position P is automatically adjusted.
- an input unit such as an adjustment lever that can be operated by the driver may be provided instead of the eye point measurement camera 31, and the projection position P can be manually adjusted so that the projection position P according to his / her eye point EP can be obtained.
- the projection position P on the projection plane of the windshield WS is changed by changing the angles of both the first concave mirror 21 and the second concave mirror 22.
- the optical system 20 includes the heat cutoff filter 24 and the light shielding plate 25.
- the heat cutoff filter 24 and the light shielding plate 25 may be omitted from the optical system 20.
- a projection display device (1) comprising: The optical system is It is a pair of mirrors (21, 22) provided in the middle of the optical path, and one of the mirrors (22) can set an optical path convergence point (C) where the light is converged on the optical path.
- the other mirror (21) has a pair of mirrors provided at positions corresponding to the optical path convergence locations, The pair of the mirrors and the light path converging points are projected onto the projection position (P) corresponding to the eye point (EP) of the user who will visually recognize the display image.
- the mirror surface position of at least one of the mirrors can be adjusted while corresponding to the eye point.
- Projection display device [2] In the projection display device according to [1] above,
- the optical system is An optical member (24) for optically processing the light is provided at a position corresponding to the optical path convergence point. Projection display device.
- the projection display device according to [1] or [2] above, It further comprises at least one of a measurement unit (31) that measures the eye point regardless of the user's operation, and an input unit that inputs the eye point by the user's operation, Projection display device.
- the projection display device of the present invention can achieve both compatibility with various eye points and miniaturization of the device.
- the present invention having this effect can be used, for example, in a head-up display (HUD) device for a vehicle.
- HUD head-up display
Landscapes
- Engineering & Computer Science (AREA)
- Physics & Mathematics (AREA)
- Chemical & Material Sciences (AREA)
- Combustion & Propulsion (AREA)
- Transportation (AREA)
- Mechanical Engineering (AREA)
- General Physics & Mathematics (AREA)
- Optics & Photonics (AREA)
- Instrument Panels (AREA)
Priority Applications (3)
| Application Number | Priority Date | Filing Date | Title |
|---|---|---|---|
| CN201980008391.2A CN111602083A (zh) | 2018-02-14 | 2019-01-10 | 投影显示装置 |
| EP19754744.1A EP3754413B1 (en) | 2018-02-14 | 2019-01-10 | Projection display device |
| US16/926,212 US11491873B2 (en) | 2018-02-14 | 2020-07-10 | Projection display device |
Applications Claiming Priority (2)
| Application Number | Priority Date | Filing Date | Title |
|---|---|---|---|
| JP2018023902A JP7140504B2 (ja) | 2018-02-14 | 2018-02-14 | 投影表示装置 |
| JP2018-023902 | 2018-02-14 |
Related Child Applications (1)
| Application Number | Title | Priority Date | Filing Date |
|---|---|---|---|
| US16/926,212 Continuation US11491873B2 (en) | 2018-02-14 | 2020-07-10 | Projection display device |
Publications (1)
| Publication Number | Publication Date |
|---|---|
| WO2019159572A1 true WO2019159572A1 (ja) | 2019-08-22 |
Family
ID=67619264
Family Applications (1)
| Application Number | Title | Priority Date | Filing Date |
|---|---|---|---|
| PCT/JP2019/000566 Ceased WO2019159572A1 (ja) | 2018-02-14 | 2019-01-10 | 投影表示装置 |
Country Status (5)
| Country | Link |
|---|---|
| US (1) | US11491873B2 (enExample) |
| EP (1) | EP3754413B1 (enExample) |
| JP (1) | JP7140504B2 (enExample) |
| CN (1) | CN111602083A (enExample) |
| WO (1) | WO2019159572A1 (enExample) |
Cited By (1)
| Publication number | Priority date | Publication date | Assignee | Title |
|---|---|---|---|---|
| WO2021132089A1 (ja) * | 2019-12-25 | 2021-07-01 | 日本精機株式会社 | ヘッドアップディスプレイ装置 |
Families Citing this family (5)
| Publication number | Priority date | Publication date | Assignee | Title |
|---|---|---|---|---|
| CN108508607A (zh) * | 2018-03-30 | 2018-09-07 | 京东方科技集团股份有限公司 | 车载显示设备 |
| WO2021065698A1 (ja) * | 2019-09-30 | 2021-04-08 | 日本精機株式会社 | ヘッドアップディスプレイ装置、方法、及びコンピュータ・プログラム |
| WO2024070714A1 (ja) * | 2022-09-29 | 2024-04-04 | 京セラ株式会社 | 空中像表示装置 |
| DE102023107275B3 (de) * | 2023-03-23 | 2024-06-27 | Bayerische Motoren Werke Aktiengesellschaft | Kompakte Projektionseinheit mit einem richtungsabhängigen Diffusor zur Unterdrückung von parasitärem Bild, sowie Blickfeldanzeigevorrichtung und Fahrzeug |
| US12429692B2 (en) * | 2023-05-17 | 2025-09-30 | Far Vision Technology Co., Ltd. | Head-up display using backlight to control eyebox |
Citations (8)
| Publication number | Priority date | Publication date | Assignee | Title |
|---|---|---|---|---|
| JPH1123997A (ja) * | 1997-07-02 | 1999-01-29 | Denso Corp | 車両用ヘッドアップディスプレイ |
| JP2015225119A (ja) * | 2014-05-26 | 2015-12-14 | 株式会社デンソー | ヘッドアップディスプレイ装置 |
| JP2016080860A (ja) * | 2014-10-16 | 2016-05-16 | 日本精機株式会社 | ヘッドアップディスプレイ装置 |
| US20170169612A1 (en) * | 2015-12-15 | 2017-06-15 | N.S. International, LTD | Augmented reality alignment system and method |
| JP2017173557A (ja) | 2016-03-24 | 2017-09-28 | 日本精機株式会社 | ヘッドアップディスプレイ装置 |
| JP2017181644A (ja) | 2016-03-29 | 2017-10-05 | 矢崎総業株式会社 | 車両用投影表示装置 |
| WO2017183556A1 (ja) * | 2016-04-20 | 2017-10-26 | 日本精機株式会社 | ヘッドアップディスプレイ装置 |
| JP2018023902A (ja) | 2017-11-17 | 2018-02-15 | 株式会社大一商会 | 遊技機 |
Family Cites Families (31)
| Publication number | Priority date | Publication date | Assignee | Title |
|---|---|---|---|---|
| GB2303059B (en) * | 1995-07-06 | 1997-08-27 | Fuji Kiko Kk | Seat lifter for motor vehicles |
| JP2004258439A (ja) * | 2003-02-27 | 2004-09-16 | Sharp Corp | 投射型表示装置 |
| US7280282B2 (en) * | 2005-03-09 | 2007-10-09 | Yazaki Corporation | Display apparatus for vehicle |
| US7695045B2 (en) * | 2007-03-30 | 2010-04-13 | Mazda Motor Corporation | Driving position adjusting device |
| JP5075595B2 (ja) * | 2007-11-26 | 2012-11-21 | 株式会社東芝 | 表示装置及びそれを用いた移動体 |
| JP2010097193A (ja) * | 2008-09-17 | 2010-04-30 | Toshiba Corp | 表示装置及び移動体 |
| EP2298613B1 (en) * | 2009-09-18 | 2013-04-24 | Mazda Motor Corporation | Driving position adjusting apparatus for a vehicle and vehicle provided therewith |
| JP2011133633A (ja) * | 2009-12-24 | 2011-07-07 | Olympus Corp | 視覚表示装置 |
| JP6107153B2 (ja) * | 2012-03-28 | 2017-04-05 | 日本精機株式会社 | 車両用表示装置 |
| JP6252203B2 (ja) * | 2014-01-23 | 2017-12-27 | 日本精機株式会社 | 表示装置 |
| US10001646B2 (en) * | 2014-05-14 | 2018-06-19 | Denso Corporation | Head-up display |
| JP6409337B2 (ja) * | 2014-05-23 | 2018-10-24 | 日本精機株式会社 | 表示装置 |
| JP6540988B2 (ja) | 2014-06-09 | 2019-07-10 | 日本精機株式会社 | ヘッドアップディスプレイ装置 |
| JP5930231B2 (ja) * | 2014-08-20 | 2016-06-08 | 日本精機株式会社 | 投影装置及びヘッドアップディスプレイ装置 |
| KR20170063647A (ko) * | 2014-09-24 | 2017-06-08 | 닛폰 세이키 가부시키가이샤 | 헤드업 디스플레이 장치 |
| JP6409511B2 (ja) * | 2014-11-04 | 2018-10-24 | 日本精機株式会社 | ヘッドアップディスプレイ装置 |
| JP6703747B2 (ja) * | 2015-09-18 | 2020-06-03 | 株式会社リコー | 情報表示装置、情報提供システム、移動体装置、情報表示方法及びプログラム |
| JP6606998B2 (ja) * | 2015-11-25 | 2019-11-20 | 株式会社リコー | スクリーン、画像表示装置及び物体装置 |
| CN108292045B (zh) * | 2016-02-12 | 2020-11-06 | 麦克赛尔株式会社 | 车辆用影像显示装置 |
| JP6252883B1 (ja) * | 2016-03-24 | 2017-12-27 | パナソニックIpマネジメント株式会社 | ヘッドアップディスプレイ装置、及び車両 |
| JP6819679B2 (ja) | 2016-05-09 | 2021-01-27 | 日本精機株式会社 | ヘッドアップディスプレイ装置 |
| JP6680109B2 (ja) * | 2016-06-28 | 2020-04-15 | 株式会社デンソー | 映像投射装置及びそれを備えるヘッドアップディスプレイ装置 |
| JP6834537B2 (ja) * | 2017-01-30 | 2021-02-24 | 株式会社リコー | 表示装置、移動体装置、表示装置の製造方法及び表示方法。 |
| JP6604287B2 (ja) * | 2016-08-05 | 2019-11-13 | 株式会社デンソー | ヘッドアップディスプレイ装置 |
| JP6572856B2 (ja) * | 2016-09-22 | 2019-09-11 | 株式会社デンソー | ヘッドアップディスプレイ装置 |
| CN107870421A (zh) * | 2016-09-27 | 2018-04-03 | 上海蔚兰动力科技有限公司 | 抬头显示装置的可调式反射器及包含其的抬头显示装置 |
| WO2018061444A1 (ja) * | 2016-09-30 | 2018-04-05 | ソニー株式会社 | 反射板、情報表示装置および移動体 |
| JP2018105737A (ja) * | 2016-12-27 | 2018-07-05 | トヨタ紡織株式会社 | アイポイント測定装置、及びアイポイント測定方法 |
| US11498485B2 (en) * | 2017-05-19 | 2022-11-15 | Georgios Zafeirakis | Techniques for vehicle collision avoidance |
| JP2019077392A (ja) * | 2017-10-26 | 2019-05-23 | 矢崎総業株式会社 | 車両用表示装置 |
| JP2019144413A (ja) * | 2018-02-21 | 2019-08-29 | 矢崎総業株式会社 | 車両用表示装置 |
-
2018
- 2018-02-14 JP JP2018023902A patent/JP7140504B2/ja active Active
-
2019
- 2019-01-10 EP EP19754744.1A patent/EP3754413B1/en active Active
- 2019-01-10 CN CN201980008391.2A patent/CN111602083A/zh active Pending
- 2019-01-10 WO PCT/JP2019/000566 patent/WO2019159572A1/ja not_active Ceased
-
2020
- 2020-07-10 US US16/926,212 patent/US11491873B2/en active Active
Patent Citations (8)
| Publication number | Priority date | Publication date | Assignee | Title |
|---|---|---|---|---|
| JPH1123997A (ja) * | 1997-07-02 | 1999-01-29 | Denso Corp | 車両用ヘッドアップディスプレイ |
| JP2015225119A (ja) * | 2014-05-26 | 2015-12-14 | 株式会社デンソー | ヘッドアップディスプレイ装置 |
| JP2016080860A (ja) * | 2014-10-16 | 2016-05-16 | 日本精機株式会社 | ヘッドアップディスプレイ装置 |
| US20170169612A1 (en) * | 2015-12-15 | 2017-06-15 | N.S. International, LTD | Augmented reality alignment system and method |
| JP2017173557A (ja) | 2016-03-24 | 2017-09-28 | 日本精機株式会社 | ヘッドアップディスプレイ装置 |
| JP2017181644A (ja) | 2016-03-29 | 2017-10-05 | 矢崎総業株式会社 | 車両用投影表示装置 |
| WO2017183556A1 (ja) * | 2016-04-20 | 2017-10-26 | 日本精機株式会社 | ヘッドアップディスプレイ装置 |
| JP2018023902A (ja) | 2017-11-17 | 2018-02-15 | 株式会社大一商会 | 遊技機 |
Non-Patent Citations (1)
| Title |
|---|
| See also references of EP3754413A4 |
Cited By (3)
| Publication number | Priority date | Publication date | Assignee | Title |
|---|---|---|---|---|
| WO2021132089A1 (ja) * | 2019-12-25 | 2021-07-01 | 日本精機株式会社 | ヘッドアップディスプレイ装置 |
| JPWO2021132089A1 (enExample) * | 2019-12-25 | 2021-07-01 | ||
| JP7586096B2 (ja) | 2019-12-25 | 2024-11-19 | 日本精機株式会社 | ヘッドアップディスプレイ装置 |
Also Published As
| Publication number | Publication date |
|---|---|
| US20200338987A1 (en) | 2020-10-29 |
| JP7140504B2 (ja) | 2022-09-21 |
| EP3754413B1 (en) | 2022-05-11 |
| US11491873B2 (en) | 2022-11-08 |
| EP3754413A1 (en) | 2020-12-23 |
| CN111602083A (zh) | 2020-08-28 |
| JP2019139129A (ja) | 2019-08-22 |
| EP3754413A4 (en) | 2021-10-27 |
Similar Documents
| Publication | Publication Date | Title |
|---|---|---|
| JP7140504B2 (ja) | 投影表示装置 | |
| KR101408523B1 (ko) | 헤드업 디스플레이 장치 | |
| JP5310810B2 (ja) | ヘッドアップディスプレイ装置 | |
| JP6221942B2 (ja) | ヘッドアップディスプレイ装置 | |
| JP5930231B2 (ja) | 投影装置及びヘッドアップディスプレイ装置 | |
| JP6187329B2 (ja) | 虚像表示システム | |
| JP2015152718A (ja) | ヘッドアップディスプレイ装置 | |
| JP6414131B2 (ja) | 投影装置及びヘッドアップディスプレイ装置 | |
| JP2017015776A (ja) | スクリーン装置及びヘッドアップディスプレイ装置 | |
| WO2018225309A1 (ja) | 虚像表示装置、中間像形成部および画像表示光生成ユニット | |
| JP6784058B2 (ja) | 情報表示装置 | |
| JP2011180351A (ja) | ヘッドアップディスプレイ装置 | |
| JP2021015132A (ja) | ヘッドアップディスプレイ装置 | |
| JP2015045690A (ja) | ヘッドアップディスプレイ及び投影装置 | |
| JPWO2020004093A1 (ja) | ヘッドアップディスプレイ装置 | |
| JP2019207263A (ja) | ヘッドアップディスプレイ装置 | |
| KR101550606B1 (ko) | 차량용 곡면 디스플레이 장치 | |
| JP6335524B2 (ja) | ヘッドアップディスプレイ装置 | |
| JP6593393B2 (ja) | 虚像表示装置 | |
| JP2015085879A (ja) | 車両用表示装置 | |
| JP2019045605A (ja) | ヘッドアップディスプレイ装置 | |
| KR20170070306A (ko) | 헤드업 디스플레이 | |
| JP6926832B2 (ja) | ヘッドアップディスプレイ装置 | |
| WO2020195404A1 (ja) | 映像表示システム、映像表示方法、プログラムおよび移動体 | |
| WO2019124323A1 (ja) | 虚像表示装置、およびヘッドアップディスプレイ装置 |
Legal Events
| Date | Code | Title | Description |
|---|---|---|---|
| 121 | Ep: the epo has been informed by wipo that ep was designated in this application |
Ref document number: 19754744 Country of ref document: EP Kind code of ref document: A1 |
|
| NENP | Non-entry into the national phase |
Ref country code: DE |
|
| ENP | Entry into the national phase |
Ref document number: 2019754744 Country of ref document: EP Effective date: 20200914 |