WO2018123101A1 - 圧着端子 - Google Patents

圧着端子 Download PDF

Info

Publication number
WO2018123101A1
WO2018123101A1 PCT/JP2017/016504 JP2017016504W WO2018123101A1 WO 2018123101 A1 WO2018123101 A1 WO 2018123101A1 JP 2017016504 W JP2017016504 W JP 2017016504W WO 2018123101 A1 WO2018123101 A1 WO 2018123101A1
Authority
WO
WIPO (PCT)
Prior art keywords
barrel
seal
crimp terminal
seal member
region
Prior art date
Legal status (The legal status is an assumption and is not a legal conclusion. Google has not performed a legal analysis and makes no representation as to the accuracy of the status listed.)
Ceased
Application number
PCT/JP2017/016504
Other languages
English (en)
French (fr)
Japanese (ja)
Inventor
慶 佐藤
一栄 高橋
Current Assignee (The listed assignees may be inaccurate. Google has not performed a legal analysis and makes no representation or warranty as to the accuracy of the list.)
Yazaki Corp
Original Assignee
Yazaki Corp
Priority date (The priority date is an assumption and is not a legal conclusion. Google has not performed a legal analysis and makes no representation as to the accuracy of the date listed.)
Filing date
Publication date
Application filed by Yazaki Corp filed Critical Yazaki Corp
Priority to CN201780073008.2A priority Critical patent/CN110024227B/zh
Priority to EP17887306.3A priority patent/EP3565061B1/en
Publication of WO2018123101A1 publication Critical patent/WO2018123101A1/ja
Priority to US16/420,559 priority patent/US10756449B2/en
Anticipated expiration legal-status Critical
Ceased legal-status Critical Current

Links

Images

Classifications

    • HELECTRICITY
    • H01ELECTRIC ELEMENTS
    • H01RELECTRICALLY-CONDUCTIVE CONNECTIONS; STRUCTURAL ASSOCIATIONS OF A PLURALITY OF MUTUALLY-INSULATED ELECTRICAL CONNECTING ELEMENTS; COUPLING DEVICES; CURRENT COLLECTORS
    • H01R4/00Electrically-conductive connections between two or more conductive members in direct contact, i.e. touching one another; Means for effecting or maintaining such contact; Electrically-conductive connections having two or more spaced connecting locations for conductors and using contact members penetrating insulation
    • H01R4/10Electrically-conductive connections between two or more conductive members in direct contact, i.e. touching one another; Means for effecting or maintaining such contact; Electrically-conductive connections having two or more spaced connecting locations for conductors and using contact members penetrating insulation effected solely by twisting, wrapping, bending, crimping, or other permanent deformation
    • H01R4/18Electrically-conductive connections between two or more conductive members in direct contact, i.e. touching one another; Means for effecting or maintaining such contact; Electrically-conductive connections having two or more spaced connecting locations for conductors and using contact members penetrating insulation effected solely by twisting, wrapping, bending, crimping, or other permanent deformation by crimping
    • H01R4/183Electrically-conductive connections between two or more conductive members in direct contact, i.e. touching one another; Means for effecting or maintaining such contact; Electrically-conductive connections having two or more spaced connecting locations for conductors and using contact members penetrating insulation effected solely by twisting, wrapping, bending, crimping, or other permanent deformation by crimping for cylindrical elongated bodies, e.g. cables having circular cross-section
    • H01R4/184Electrically-conductive connections between two or more conductive members in direct contact, i.e. touching one another; Means for effecting or maintaining such contact; Electrically-conductive connections having two or more spaced connecting locations for conductors and using contact members penetrating insulation effected solely by twisting, wrapping, bending, crimping, or other permanent deformation by crimping for cylindrical elongated bodies, e.g. cables having circular cross-section comprising a U-shaped wire-receiving portion
    • H01R4/185Electrically-conductive connections between two or more conductive members in direct contact, i.e. touching one another; Means for effecting or maintaining such contact; Electrically-conductive connections having two or more spaced connecting locations for conductors and using contact members penetrating insulation effected solely by twisting, wrapping, bending, crimping, or other permanent deformation by crimping for cylindrical elongated bodies, e.g. cables having circular cross-section comprising a U-shaped wire-receiving portion combined with a U-shaped insulation-receiving portion
    • HELECTRICITY
    • H01ELECTRIC ELEMENTS
    • H01RELECTRICALLY-CONDUCTIVE CONNECTIONS; STRUCTURAL ASSOCIATIONS OF A PLURALITY OF MUTUALLY-INSULATED ELECTRICAL CONNECTING ELEMENTS; COUPLING DEVICES; CURRENT COLLECTORS
    • H01R4/00Electrically-conductive connections between two or more conductive members in direct contact, i.e. touching one another; Means for effecting or maintaining such contact; Electrically-conductive connections having two or more spaced connecting locations for conductors and using contact members penetrating insulation
    • H01R4/10Electrically-conductive connections between two or more conductive members in direct contact, i.e. touching one another; Means for effecting or maintaining such contact; Electrically-conductive connections having two or more spaced connecting locations for conductors and using contact members penetrating insulation effected solely by twisting, wrapping, bending, crimping, or other permanent deformation
    • H01R4/18Electrically-conductive connections between two or more conductive members in direct contact, i.e. touching one another; Means for effecting or maintaining such contact; Electrically-conductive connections having two or more spaced connecting locations for conductors and using contact members penetrating insulation effected solely by twisting, wrapping, bending, crimping, or other permanent deformation by crimping
    • HELECTRICITY
    • H01ELECTRIC ELEMENTS
    • H01RELECTRICALLY-CONDUCTIVE CONNECTIONS; STRUCTURAL ASSOCIATIONS OF A PLURALITY OF MUTUALLY-INSULATED ELECTRICAL CONNECTING ELEMENTS; COUPLING DEVICES; CURRENT COLLECTORS
    • H01R4/00Electrically-conductive connections between two or more conductive members in direct contact, i.e. touching one another; Means for effecting or maintaining such contact; Electrically-conductive connections having two or more spaced connecting locations for conductors and using contact members penetrating insulation
    • H01R4/10Electrically-conductive connections between two or more conductive members in direct contact, i.e. touching one another; Means for effecting or maintaining such contact; Electrically-conductive connections having two or more spaced connecting locations for conductors and using contact members penetrating insulation effected solely by twisting, wrapping, bending, crimping, or other permanent deformation
    • H01R4/18Electrically-conductive connections between two or more conductive members in direct contact, i.e. touching one another; Means for effecting or maintaining such contact; Electrically-conductive connections having two or more spaced connecting locations for conductors and using contact members penetrating insulation effected solely by twisting, wrapping, bending, crimping, or other permanent deformation by crimping
    • H01R4/188Electrically-conductive connections between two or more conductive members in direct contact, i.e. touching one another; Means for effecting or maintaining such contact; Electrically-conductive connections having two or more spaced connecting locations for conductors and using contact members penetrating insulation effected solely by twisting, wrapping, bending, crimping, or other permanent deformation by crimping having an uneven wire-receiving surface to improve the contact
    • HELECTRICITY
    • H01ELECTRIC ELEMENTS
    • H01RELECTRICALLY-CONDUCTIVE CONNECTIONS; STRUCTURAL ASSOCIATIONS OF A PLURALITY OF MUTUALLY-INSULATED ELECTRICAL CONNECTING ELEMENTS; COUPLING DEVICES; CURRENT COLLECTORS
    • H01R4/00Electrically-conductive connections between two or more conductive members in direct contact, i.e. touching one another; Means for effecting or maintaining such contact; Electrically-conductive connections having two or more spaced connecting locations for conductors and using contact members penetrating insulation
    • H01R4/58Electrically-conductive connections between two or more conductive members in direct contact, i.e. touching one another; Means for effecting or maintaining such contact; Electrically-conductive connections having two or more spaced connecting locations for conductors and using contact members penetrating insulation characterised by the form or material of the contacting members
    • H01R4/62Connections between conductors of different materials; Connections between or with aluminium or steel-core aluminium conductors
    • HELECTRICITY
    • H01ELECTRIC ELEMENTS
    • H01RELECTRICALLY-CONDUCTIVE CONNECTIONS; STRUCTURAL ASSOCIATIONS OF A PLURALITY OF MUTUALLY-INSULATED ELECTRICAL CONNECTING ELEMENTS; COUPLING DEVICES; CURRENT COLLECTORS
    • H01R4/00Electrically-conductive connections between two or more conductive members in direct contact, i.e. touching one another; Means for effecting or maintaining such contact; Electrically-conductive connections having two or more spaced connecting locations for conductors and using contact members penetrating insulation
    • H01R4/70Insulation of connections
    • HELECTRICITY
    • H01ELECTRIC ELEMENTS
    • H01RELECTRICALLY-CONDUCTIVE CONNECTIONS; STRUCTURAL ASSOCIATIONS OF A PLURALITY OF MUTUALLY-INSULATED ELECTRICAL CONNECTING ELEMENTS; COUPLING DEVICES; CURRENT COLLECTORS
    • H01R43/00Apparatus or processes specially adapted for manufacturing, assembling, maintaining, or repairing of line connectors or current collectors or for joining electric conductors
    • H01R43/04Apparatus or processes specially adapted for manufacturing, assembling, maintaining, or repairing of line connectors or current collectors or for joining electric conductors for forming connections by deformation, e.g. crimping tool
    • H01R43/048Crimping apparatus or processes
    • HELECTRICITY
    • H01ELECTRIC ELEMENTS
    • H01RELECTRICALLY-CONDUCTIVE CONNECTIONS; STRUCTURAL ASSOCIATIONS OF A PLURALITY OF MUTUALLY-INSULATED ELECTRICAL CONNECTING ELEMENTS; COUPLING DEVICES; CURRENT COLLECTORS
    • H01R13/00Details of coupling devices of the kinds covered by groups H01R12/70 or H01R24/00 - H01R33/00
    • H01R13/46Bases; Cases
    • H01R13/52Dustproof, splashproof, drip-proof, waterproof, or flameproof cases
    • H01R13/5216Dustproof, splashproof, drip-proof, waterproof, or flameproof cases characterised by the sealing material, e.g. gels or resins

Definitions

  • the present invention relates to a crimp terminal that is crimp-connected to a covered electric wire having an aluminum core wire.
  • a covered electric wire having an aluminum core wire for a wire harness instead of a covered electric wire having a copper core wire has been performed.
  • some crimp terminals such as connector terminals are formed of a copper alloy or the like and have a surface plated with tin or gold.
  • a contact of a dissimilar metal occurs between the aluminum core wire and the crimping barrel portion of the crimp terminal.
  • moisture adheres to such a contact site there is a possibility that the aluminum core wire made of aluminum which is a base metal corrodes due to so-called dissimilar metal corrosion.
  • FIG. 49 is a diagram showing an example of a conventional crimp terminal in which the periphery of the contact portion between the barrel portion and the aluminum core wire is surrounded by a seal member.
  • the crimp terminal 7 shown in FIG. 49 is made of a metal plate such as a copper alloy by sheet metal working, and has a barrel portion 71 and a terminal portion 72 having a predetermined axis with tin plating or gold plating on the surface. They are arranged in the direction D71.
  • the barrel portion 71 is a portion that is wound around and crimped to the end portion W7a of the covered electric wire W7 having the aluminum core wire W71 where the aluminum core wire W71 is exposed.
  • the terminal portion 72 is a female terminal that is connected to a pin terminal (not shown) to be connected.
  • the barrel portion 71 has a structure in which a metal plate is bent so that a cross-sectional shape intersecting the axial direction D71 is substantially U-shaped. After the end portion W7a of the covered electric wire W7 is placed on the inner surface 711 of the barrel portion 71, the barrel portion 71 is wound around the end portion W7a and crimped. A part of the inner surface 711 of the barrel portion 71 becomes a contact portion 711a with the aluminum core wire W71 at the end portion W7a.
  • the sealing member 73 is provided so that this contact site
  • the seal member 73 seals gaps at various places around the contact portion 711a to prevent moisture from entering.
  • the contact part 711a is formed with serrations 74 in which grooves extending in an intersecting direction D72 intersecting the axial direction D71 in a plan view with respect to the contact part 711a are arranged in a plurality of rows in the axial direction D71.
  • the edge of each groove forming the serration 74 bites into the aluminum core wire W71, so that good conduction between the covered electric wire W7 and the crimp terminal 7 is obtained.
  • the barrel portion is extended by pressure applied to the barrel portion during crimping.
  • the extension in the axial direction perpendicular to the grooves tends to be large.
  • the seal member also follows. However, if the barrel portion is excessively extended, the seal member may be partially thinned to cause a decrease in waterproofness.
  • the present invention pays attention to the above-described problems, and an object thereof is to provide a crimp terminal in which manufacturing difficulty is eased while ensuring waterproofness to a contact portion with an aluminum core wire.
  • a crimp terminal of the present invention includes a barrel portion that is wound around and crimped to an end portion of the covered electric wire having an aluminum core wire, and a terminal portion that is connected to a connection target.
  • crimp terminals arranged in a predetermined axial direction, wherein the barrel portion has a bottom plate portion extending in the axial direction on which the end portion of the covered electric wire is placed, and a plan view with respect to the bottom plate portion.
  • the inner barrel piece and the outer barrel piece extending from the bottom plate portion on both sides in the intersecting direction intersecting with the axial direction, and are wound around the end portion with the inner barrel piece facing inward at the time of crimping
  • a seal member for sealing the opening on the terminal portion side and between the covering portion and the barrel portion is provided, and the inner surface of the barrel portion has a circular or elliptical concave portion in plan view with respect to the inner surface. It is characterized by being distributed in plural.
  • the crimping terminal of the present invention good conduction between the coated electric wire and the crimping terminal can be obtained by crimping the edge of each recess provided on the inner surface of the barrel part into the aluminum core wire.
  • serrations are formed on the inner surface of the barrel portion by providing a plurality of recesses dispersed therein.
  • the degree of conduction in serration is determined by the total length of the portions that cut into the aluminum core wire per unit area.
  • the sum of the lengths is the sum of the peripheral lengths of the recesses formed in a circular or elliptical shape.
  • the serration area necessary for obtaining good conduction between the covered electric wire and the crimp terminal is compared with, for example, the conventional crimp terminal 7 shown in FIG. Can be suppressed. Since the serration area is suppressed, a space for providing the seal member can be widened in order to secure the waterproof property for the contact portion with the aluminum core wire, and the manufacturing difficulty can be alleviated. That is, according to the crimp terminal of the present invention, it is possible to alleviate the difficulty in manufacturing while ensuring the waterproof property for the contact portion with the aluminum core wire.
  • the circular or elliptical concave portion has a stronger resistance to the force to expand the concave portion in the in-plane direction of the inner surface of the barrel portion than, for example, the groove forming the serration 74 shown in FIG.
  • the pressure applied to the barrel portion at the time of crimping is just a force acting in the in-plane direction of the inner surface of the barrel portion, and the crimping terminal of the present invention has a strong resistance force in each recess against such pressure. For this reason, in the crimp terminal of the present invention, extension of the barrel portion due to pressure applied during crimping is suppressed. As a result, extension of the seal member is also suppressed, and waterproofness can be secured at a high level. According to the crimp terminal of the present invention, in this sense as well, it is possible to alleviate the difficulty in manufacturing while ensuring the waterproof property for the contact portion with the aluminum core wire.
  • a groove portion is formed on the inner surface of the barrel portion so as to overlap the seal member in the first region, the second region, and the third region, It is preferable that the plurality of concave portions are provided so as to avoid the groove portions.
  • this preferred crimp terminal the movement of the seal member due to the pressure applied during crimping is suppressed by the groove overlapping the seal member. Therefore, according to this preferred crimp terminal, it is possible to alleviate manufacturing difficulties while ensuring waterproofness at a higher level.
  • FIG. 1 It is a figure for demonstrating the crimp terminal concerning 1st Embodiment of this invention. It is a schematic diagram which shows a mode that the sealing member shown by FIG. 1 is affixed on the inner surface of a barrel part. It is a figure which shows the procedure until the preparation for crimping
  • FIG. 6 is a diagram showing a change during a crimping operation on a cross section taken along line V11-V11, a cross section taken along line V12-V12, and a cross section taken along line V13-V13 in FIG. It is a schematic diagram which shows a mode that the clearance gap between the 2nd seal part and 3rd seal part shown by FIG. 2, and a 1st seal part is block
  • FIG. 6 is a cross-sectional view taken along line V14-V14 in FIG. 5 showing a state in which the seal member seals various portions in the barrel portion of the crimp terminal after crimping.
  • FIG. 9 is a view showing a crimp terminal of a first modification to the crimp terminal of the first embodiment shown in FIGS. 1 to 8; It is a figure which shows the cross section similar to FIG. 8 of the crimp terminal of the 1st modification shown by FIG.
  • FIG. 9 is a view for explaining a crimp terminal of a second modified example with respect to the crimp terminal of the first embodiment shown in FIGS. 1 to 8; It is a schematic diagram which shows a mode that the sealing member shown by FIG. 11 is affixed on the inner surface of a barrel part.
  • FIG. 9 is a schematic diagram showing that the degree of electrical continuity with an aluminum core wire in the crimp terminal shown in FIGS. 1 to 8 is determined by the total length of portions that bite into the aluminum core wire per unit area. It is a schematic diagram which shows the pressure applied to a barrel part at the time of pressure bonding.
  • FIG. 9 is a view showing a recess in a third modification of the crimp terminal of the first embodiment shown in FIGS. 1 to 8;
  • FIG. 9 is a view showing a recess in a fourth modification of the crimp terminal of the first embodiment shown in FIGS. 1 to 8;
  • FIG. 9 is a view showing a recess in a third modification of the crimp terminal of the first embodiment shown in FIGS. 1 to 8;
  • FIG. 9 is a view showing a recess in a fourth modification of the crimp terminal of the first embodiment shown in FIGS. 1 to 8;
  • FIG. 9 is a view showing a recess in a third modification of the crimp terminal of the first embodiment shown in FIGS. 1 to 8;
  • FIG. 9 is a view showing a recess in a fourth modification of the crimp terminal of the first embodiment shown in FIGS. 1 to 8;
  • FIG. 9 is a view showing a recess in a third modification of the
  • FIG. 10 is a view showing a recess in a fifth modification of the crimp terminal of the first embodiment shown in FIGS. 1 to 8; It is a figure explaining the advantage by a part of several recessed part overlapping with a sealing member.
  • FIG. 10 is a diagram showing a sixth modification of the crimp terminal according to the first embodiment shown in FIGS. 1 to 8; It is a schematic diagram which shows a mode that the clearance gap between the 2nd seal part and 3rd seal part shown by FIG. 23, and a 1st seal part is block
  • FIG. 10 is a view showing a seal member in a seventh modification of the crimp terminal of the first embodiment shown in FIGS.
  • FIG. 10 is a view showing a seal member in an eighth modification to the crimp terminal of the first embodiment shown in FIGS. 1 to 8;
  • FIG. 10 is a view showing a seal member in a ninth modification of the crimp terminal of the first embodiment shown in FIGS. 1 to 8;
  • FIG. 10 is a view showing a seal member in a tenth modification of the crimp terminal of the first embodiment shown in FIGS. 1 to 8; It is a figure for demonstrating the crimp terminal concerning 2nd Embodiment of this invention. It is a schematic diagram which shows a mode that the sealing member shown by FIG. 29 is affixed on the inner surface of a barrel part.
  • FIG. 34 is a diagram showing a cross section taken along line V51-V51, a cross section taken along line V52-V52, and a cross section taken along line V53-V53 in FIG. It is a figure which shows the V54-V54 line cross section in FIG. FIG.
  • FIG. 36 is a view showing a seal member in a first modification of the crimp terminal of the second embodiment shown in FIGS. 29 to 35.
  • FIG. 36 is a view showing a seal member in a second modification of the crimp terminal of the second embodiment shown in FIGS. 29 to 35.
  • FIG. 36 is a view showing a seal member in a third modification of the crimp terminal of the second embodiment shown in FIGS. 29 to 35.
  • FIG. 36 is a view showing a seal member in a fourth modification of the crimp terminal of the second embodiment shown in FIGS. 29 to 35.
  • FIG. 36 is a view showing a seal member in a fifth modification of the crimp terminal of the second embodiment shown in FIGS. 29 to 35.
  • FIG. 36 is a view showing a seal member in a sixth modification of the crimp terminal of the second embodiment shown in FIGS. 29 to 35.
  • FIG. 36 is a view showing a seal member in a seventh modification of the crimp terminal of the second embodiment shown in FIGS. 29 to 35.
  • FIG. 36 is a view showing a sealing member in an eighth modification of the crimp terminal of the second embodiment shown in FIGS. 29 to 35.
  • FIG. 36 is a view showing a seal member in a ninth modification of the crimp terminal of the second embodiment shown in FIGS. 29 to 35.
  • FIG. 36 is a view showing a seal member in a tenth modification of the crimp terminal of the second embodiment shown in FIGS. 29 to 35.
  • FIG. 36 is a view showing a seal member in an eleventh modification of the crimp terminal of the second embodiment shown in FIGS. 29 to 35.
  • FIG. 36 is a view showing a seal member in a twelfth modification of the crimp terminal of the second embodiment shown in FIGS. 29 to 35.
  • FIG. 36 is a view showing a seal member in a thirteenth modification to the crimp terminal of the second embodiment shown in FIGS. 29 to 35. It is a figure which shows an example of the conventional crimp terminal which enclosed the circumference
  • FIG. 1 is a view for explaining a crimp terminal according to a first embodiment of the present invention.
  • the crimp terminal 1 in this embodiment is crimped to the end W1a of the covered electric wire W1 having the aluminum core wire W11 where the aluminum core wire W11 is exposed.
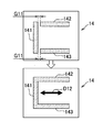
  • the crimp terminal 1 includes a barrel portion 11, a terminal portion 12, and a seal member 14. In FIG. 1, two crimp terminals 1 are shown, but one crimp terminal 1 is shown with the seal member 14 removed so that the inner surface shape of the barrel portion 11 can be seen. .
  • the barrel portion 11 and the terminal portion 12 are made from a metal plate such as a copper alloy by punching and sheet metal processing, and the surface thereof is subjected to tin plating or gold plating.
  • the barrel part 11 and the terminal part 12 are arranged in a predetermined axial direction D11.
  • the barrel part 11 and the terminal part 12 are collectively formed in a state where a plurality of the crimp terminals 1 are connected by the strip-like connecting piece 1a.
  • the barrel portion 11 is a plate-like portion that is wound around the end portion W1a of the covered electric wire W1 so as to wrap the aluminum core wire W11 and the covered portion W12 in the circumferential direction.
  • the terminal portion 12 is a rectangular tubular female terminal that is connected to a pin terminal (not shown) to be connected.
  • the barrel portion 11 has a bottom plate portion 111, an inner barrel piece 112, and an outer barrel piece 113.
  • the bottom plate portion 111 is a portion extending in the axial direction D11.
  • the inner barrel piece 112 and the outer barrel piece 113 are portions extending from the bottom plate portion 111 on both sides in the intersecting direction D12 intersecting the axial direction D11 in a plan view with respect to the bottom plate portion 111.
  • the barrel portion 11 is wound around the end portion W1a with the inner barrel piece 112 on the inner side and the outer barrel piece 113 on the outer side at the time of crimping to the end portion W1a of the covered electric wire W1.
  • each recess 114 is formed in a circular shape in plan view with respect to the inner surface 11 a of the barrel portion 11.
  • the convex part 115 is formed in the bottom plate part 111 of the barrel part 11 by the press work from an outer surface side in the position where the aluminum core wire W11 in the edge part W1a of the covered electric wire W1 is mounted.
  • a part of the plurality of concave portions 114 is also formed on the convex portion 115.
  • a seal member 14 formed of an adhesive gel sheet is attached to the inner surface 11a of the barrel portion 11 so as to surround the plurality of concave portions 114 from three directions in plan view.
  • the seal member 14 is affixed as follows.
  • the adhesive gel sheet include, but are not limited to, those using an acrylic adhesive.
  • FIG. 2 is a schematic diagram showing a state where the seal member shown in FIG. 1 is affixed to the inner surface of the barrel portion.
  • the seal member 14 is formed of an adhesive gel sheet, and is arranged over three regions of the first region 11a-1, the second region 11a-2, and the third region 11a-3 on the inner surface 11a of the barrel part 11. Is done.
  • the first region 11a-1 is a region that vertically cuts the outer barrel piece 113 in the axial direction D11.
  • the second region 11a-2 is a region that crosses the inner surface 11a in the intersecting direction D12 closer to the terminal portion 12 than the aluminum core wire W11 when the end portion W1a is placed.
  • the third region 11a-3 is a region that crosses the inner surface 11a in the intersecting direction D12 so as to intersect with the covering portion W12 of the end W1a.
  • the seal member 14 is composed of three parts, a first seal part 141, a second seal part 142, and a third seal part 143.
  • the first seal portion 141 is a portion that extends in a strip shape in the axial direction D11 in the first region 11a-1.
  • the second seal portion 142 is a portion extending in a band shape in the intersecting direction D12 in the second region 11a-2.
  • the third seal portion 143 is a portion extending in a strip shape in the intersecting direction D12 in the third region 11a-3.
  • the seal member 14 is affixed in a state of being divided in the middle of the path 11a-4 from the second area 11a-2 through the first area 11a-1 to the third area 11a-3. Specifically, the seal member 14 is affixed in a state where both the second seal portion 142 and the third seal portion 143 are separated from the first seal portion 141. Further, the second seal portion 142 and the third seal portion 143 are pasted in a state of being divided from the first seal portion 141 across the path 11a-4 in the axial direction D11. A slight gap G11 is opened between the second seal portion 142 and the third seal portion 143, and the first seal portion 141.
  • a groove portion 116 is formed in the first region 11a-1, the second region 11a-2, and the third region 11a-3 so as to overlap the seal member 14. ing.
  • one groove 116 extends in the axial direction D11 while being bent in a sawtooth shape in the middle.
  • one straight line extends in the intersecting direction D12
  • in the third region 11a-3 three straight lines extend in the intersecting direction D12 and on the first region 11a-1 side. They are joining each other.
  • the plurality of recesses 114 are provided avoiding the groove 116.
  • the first seal portion 141, the second seal portion 142, and the third seal portion 143 are overlapped with the grooves 116 of the first region 11a-1, the second region 11a-2, and the third region 11a-3, respectively. Affixed.
  • the plurality of recesses 114 are provided so as to partially overlap the seal member 14.
  • the concave portion 114 on the edge side of the outer barrel piece 113 partially overlaps the first region 11a-1
  • the concave portion 114 on the most terminal portion 12 side is the first concave portion 114.
  • Two regions 11a-2 are provided so as to partially overlap.
  • the first seal portion 141 attached to the first region 11a-1 and the second seal portion 142 attached to the second region 11a-2 partially overlap with the recess 114.
  • the crimp terminal 1 described above is manufactured by the following terminal manufacturing method.
  • a sheet metal processing step for forming a structure before the sealing member 14 is attached is performed.
  • the barrel portion 11 is formed of a metal plate together with the terminal portion 12.
  • the barrel portion 11 and the terminal portion 12 are formed together in a state where a plurality of the crimp terminals 1 are connected by the strip-like connecting piece 1a.
  • formation of a plurality of concave portions 114, formation of the convex portions 115, and formation of the groove portions 116 on the inner surface 11a of the barrel portion 11 are also performed.
  • This seal member affixing step is a step of affixing the seal member 14 in a state where it is divided along the path 11a-4 from the second region 11a-2 through the first region 11a-1 to the third region 11a-3. is there. That is, the first seal portion 141, the second seal portion 142, and the third seal portion 143 are individually attached to the inner surface 11 a of the barrel portion 11.
  • the first seal portion 141, the second seal portion 142, and the third seal portion 143 are removed from the adhesive gel sheet and attached to the inner surface 11a of the barrel portion 11.
  • the die cutting and sticking are performed almost simultaneously by pressing the pressure-sensitive adhesive gel sheet to the sticking place while punching the die toward the sticking place on the inner surface 11a of the barrel portion 11 with the die cutting cutter of each seal portion.
  • the crimp terminal 1 manufactured in this manner is crimped to the end W1a of the covered electric wire W1 as follows.
  • FIG. 3 is a diagram showing a procedure for the crimping terminal shown in FIGS. 1 and 2 until preparation for crimping to the end of the covered electric wire is completed
  • FIG. 4 is shown in FIG. It is a figure which shows the procedure until a crimp terminal is crimped
  • FIG. 3 also shows a sheet metal working step (S11) and a seal member attaching step (S12) in the terminal manufacturing method described above.
  • the barrel portion 11 and the terminal portion 12 are formed in the sheet metal processing step (S11), and the first seal portion 141, the second seal portion 142, and the third seal portion that form the seal member 14 in the seal member attaching step (S12). 143 is affixed.
  • the crimp terminal 1 to be crimped is separated from the connecting piece 1a shown in FIG. And about the barrel part 11, curved deformation is performed as preparation for mounting the edge part W1a of the covered electric wire W1 (S13).
  • the bending deformation is performed so that the inner barrel piece 112 and the outer barrel piece 113 are brought close to each other and the cross section intersecting the axial direction D11 is substantially U-shaped.
  • the end portion W1a of the covered electric wire W1 is placed on the barrel portion 11 after the bending deformation (S14). At this time, the end W1a is placed such that the tip of the aluminum core wire W11 does not overlap the second seal portion 142. In addition, if it is somewhat, the front-end
  • the seal member 14 seals the various portions of the crimp terminal 1 as follows.
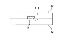
  • FIG. 5 is a view showing the crimp terminal after crimping, which is also shown in FIG.
  • FIG. 6 is a diagram showing changes during the crimping operation on the V11-V11 line cross section, the V12-V12 line cross section, and the V13-V13 line cross section in FIG.
  • the first stage (S151) of the crimping operation bending of the inner barrel piece 112 and the outer barrel piece 113 is started so as to be wound around the aluminum core wire W11 on the convex portion 115 and the covering portion W12 in the vicinity thereof.
  • the first seal portion 141 is in contact with the aluminum core wire W11
  • the third seal portion 143 is in contact with the covering portion W12
  • most of the second seal portion 142 is not substantially in contact with each other.
  • the barrel portion 11 has a cylindrical shape. Then, the first seal portion 141 is sandwiched between the inner barrel piece 112 and the outer barrel piece 113, and the third seal portion 143 is stretched while being sandwiched between the covering portion W12 and the barrel portion 11. Go.
  • the edges of the plurality of recesses 114 bite into the aluminum core wire W11. Further, at this time, the strands of the aluminum core wire W11 are separated and expanded by the convex portions 115 located below the aluminum core wire W11, and the number of contacts between the barrel portion 11 and these strands increases. At the same time, the extension of the seal member 14 also proceeds.
  • a slight gap G11 is opened between the second seal portion 142, the third seal portion 143, and the first seal portion 141. This gap G11 is closed by the extension of the sealing member 14 during the pressure bonding.
  • FIG. 7 is a schematic view showing a state in which the gap between the second seal portion and the third seal portion shown in FIG. 2 and the first seal portion is closed by the extension of the seal member at the time of crimping.
  • the second seal portion 142 and the third seal portion 143 are extended in the intersecting direction D12 that coincides with the length direction thereof.
  • the second seal portion 142 and the third seal portion 143 are connected to the first seal portion 141, and the gap G11 is closed.
  • FIG. 8 is a cross-sectional view taken along the line V14-V14 in FIG. 5, showing that the sealing member seals the various portions of the barrel portion of the crimp terminal after crimping.
  • the space between the inner barrel piece 112 and the outer barrel piece 113 is sealed by the first seal portion 141, and the opening 11 b on the terminal portion 12 side of the barrel portion 11 is the second seal portion 142. Sealed by. Further, the space between the covering portion W12 and the barrel portion 11 is sealed by the third seal portion 143.
  • the vertical dimension (hereinafter referred to as crimp height CH11) in FIG. 8 where pressure is mainly applied to the barrel part 11 after crimping is set to the following dimension. That is, the cylindrical barrel portion 11 is sized so that a part of the seal member 14 formed of an adhesive gel sheet having a certain thickness and width protrudes from the opening 11 b of the barrel portion 11.
  • the crimp height CH11 is set to such dimensions.
  • the opening 11b of the barrel portion 11 is sealed at a high level.
  • a part of the sealing member 14 protrudes from between the covering part W12 and the barrel part 11 even on the extending side of the covered electric wire W1 in the barrel part 11, and seals the part at a high level.
  • the dimensions such as the width of each of the first seal portion 141, the second seal portion 142, and the third seal portion 143 forming the seal member 14 are dimensions that are necessary and sufficient for such sealing after crimping. ing.
  • each part in the sealing member 14 is formed with a dimension that protrudes from the opening 11b of the barrel portion 11 and the extending side of the covered electric wire W1, so that these portions are surely sealed with the sealing member 14 after the crimping. This can be confirmed visually.
  • FIG. 9 is a view showing a crimp terminal of a first modification to the crimp terminal of the first embodiment shown in FIGS. 1 to 8, and FIG. 10 is a first modification shown in FIG. It is a figure which shows the cross section similar to FIG. 9 and 10, the same components as those shown in FIGS. 1 to 8 are denoted by the same reference numerals as those in FIGS. 1 to 8. In the following, these equivalent components A duplicate description of elements is omitted.
  • the crimp height CH21 on the terminal section 12 side (hereinafter referred to as the front end section 211) in the barrel section 21 after crimping is more than the crimp height CH22 of the crimp section 212 of the aluminum core wire W11. Crimped to increase. Even in this case, the crimp height CH21 of the front end portion 211 is dimensioned such that a part of the seal member 14 protrudes from the opening 11b of the barrel portion 11 and is sealed at a high level.
  • the first and second seal portions 141, 142, and 143 of the seal member 14 have dimensions such as the width and the like necessary for such sealing after crimping. .
  • the crimp height CH22 of the crimping portion 212 is relatively reduced as described above, whereby the crimping of the aluminum core wire W11 is strengthened and the contact reliability with the crimp terminal 2 is improved.
  • each concave portion 114 provided on the inner surface 11a of the barrel portion 11 bites into the aluminum core wire W1a by crimping, so that the coated electric wire W1 and the crimp terminal 1 are good. Conductivity is obtained.
  • the sealing member 14 formed with the adhesive gel sheet is affixed on the inner surface 11a of the barrel part 11. FIG. After the pressure bonding, the seal member 14 is between the inner barrel piece 112 and the outer barrel piece 113, between the opening 11b on the terminal portion 12 side of the cylindrical barrel portion 11, and between the covering portion W12 and the barrel portion 11. And seal.
  • the sealing member 14 ensures waterproofness to a contact portion that is a different metal contact between the aluminum core wire W1a and the inner surface 11a of the barrel portion 11.
  • the seal member 14 is partway along the path 11a-4 from the second area 11a-2 to the third area 11a-3 through the first area 11a-1. It is affixed in a divided state. That is, in order to obtain waterproofness, the sealing member 14 that tends to have a complicated shape along the path 11a-4 as described above is attached to each divided piece.
  • FIG. 11 is a view for explaining a crimp terminal of a second modification to the crimp terminal of the first embodiment shown in FIGS. 1 to 8, and FIG. 12 is a diagram of the seal shown in FIG. It is a schematic diagram which shows a mode that a member is affixed on the inner surface of a barrel part. 11 and 12, the same components as those shown in FIGS. 1 to 8 are denoted by the same reference numerals as those in FIGS. 1 to 8. In the following, these equivalent components will be described. A duplicate description of elements is omitted. Also, in FIG. 11, two crimp terminals 3 are shown, but one crimp terminal 3 is shown in a state where the seal member 34 is removed so that the inner surface shape of the barrel portion 11 can be seen. .
  • the seal member 34 is not divided, and the second seal portion 342 and the third seal portion 343 extend from the first seal portion 341 in the form of two arms. It is formed in a C shape in plan view connected together.
  • This seal member 34 is affixed to the C-shaped region 11a-5 in a plan view that overlaps the groove 116 on the inner surface 11a of the barrel portion 11 and a part of the plurality of recesses 114.
  • the first seal portion 341 seals between the inner barrel piece 112 and the outer barrel piece 113
  • the second seal portion 342 seals the opening on the terminal portion 12 side of the cylindrical barrel portion 11
  • the third The seal portion 343 seals between the covering portion W12 and the barrel portion 11.
  • the crimping terminal 1 of the first embodiment described above makes it easier to apply the sealing member 14 that is applied to each of the three divided pieces.
  • the difficulty in manufacture can be eased, ensuring the waterproofness with respect to a contact part with the aluminum core wire W1a.
  • the sealing member 14 is a sheet of adhesive gel having a predetermined thickness
  • the gel for sealing the above portions without excess or deficiency depending on the area of the sealing member 14. Can be easily and accurately adjusted during manufacture. According to the crimp terminal 1 of the present embodiment, in this sense as well, it is difficult to manufacture while ensuring a high level of waterproofness as compared to, for example, applying a gel-like resin material for sealing. Can be relaxed.
  • the divided seal member 14 is connected by being stretched by crimping as described above with reference to FIG.
  • the cross direction D12 is larger than the axial direction D11.
  • the seal member 14 is divided across the path 11a-4 in the axial direction D11. Therefore, at the time of crimping, the divided portions are connected by the extension in the intersecting direction D12 having a high elongation rate. It will be. Therefore, higher waterproofness can be ensured.
  • the seal member 14 is pasted in a very simple shape in which all of the first seal portion 141, the second seal portion 142, and the third seal portion 143 are in the form of a single band.
  • the Rukoto is a very simple shape in which all of the first seal portion 141, the second seal portion 142, and the third seal portion 143 are in the form of a single band.
  • the groove portion 116 is formed on the inner surface 11 a of the barrel portion 11 so as to overlap the seal member 14, and the plurality of concave portions 114 are provided avoiding the groove portion 116. .
  • the movement of the seal member 14 due to the pressure applied at the time of pressure bonding is suppressed by the groove portion 116 overlapping the seal member 14. Therefore, according to the crimp terminal 1 of the present embodiment, it is possible to alleviate manufacturing difficulties while ensuring waterproofness at a higher level.
  • the groove part 116 provided in the inner surface 11a of the barrel part 11 contributes to ensuring waterproofness at a high level also in the following points.
  • FIG. 13 is a schematic diagram showing an example in which the groove portion is not provided on the inner surface of the barrel portion as a comparative example for explaining that the groove portion provided on the inner surface of the barrel portion contributes to securing a high level of waterproofness.
  • FIG. 14 is a figure which shows that the groove part provided in the inner surface of a barrel part contributes to ensuring waterproofness at a high level in contrast with the example of FIG.
  • the seal member 14 affixed to the outer barrel piece 113 ' may be moved to one side by the edge of the inner barrel piece 112' during crimping.
  • the groove 116 is provided so as to overlap the seal member 14, even if the seal member 14 is moved to one side as shown in FIG. Part is secured.
  • the groove part 116 provided in the inner surface 11a of the barrel part 11 contributes to ensuring waterproofness at a high level.
  • the sealing member 14 since the sealing member 14 is attached in a divided state, the waterproof property to the contact portion with the aluminum core wire W1a is ensured. However, the manufacturing difficulty can be alleviated. Moreover, according to the terminal manufacturing method of this embodiment, since the sealing member 14 is formed with an adhesive gel sheet, manufacturing difficulty can be alleviated while ensuring waterproofness at a high level.
  • the edges of the concave portions 114 provided on the inner surface 11a of the barrel portion 11 bite into the aluminum core wire W11 by crimping, so that the covered electric wire W1 and the crimp terminal 1 are. And good electrical continuity is obtained. That is, it can be said that serrations are formed on the inner surface 11a of the barrel portion 11 by providing a plurality of recesses 114 in a dispersed manner. The degree of conduction in serration is determined by the total length of the portions that bite into the aluminum core wire W11 per unit area.
  • FIG. 15 is a schematic diagram showing that the degree of electrical continuity with the aluminum core wire in the crimp terminal shown in FIGS. 1 to 8 is determined by the total length of the portions that bite into the aluminum core wire per unit area. .
  • the sum of the lengths of the portions that bite into the aluminum core wire W11 is the sum of the circumferential lengths of the concave portions 114 formed in a circular shape.
  • the total length of the edge of the groove 741 extending linearly is the sum of the lengths of the grooves 741 per unit area.
  • the sum of the peripheral lengths of the plurality of recesses 114 formed in the above becomes longer.
  • the serration region necessary for obtaining good conduction between the covered electric wire W11 and the crimp terminal 1 is represented by, for example, the conventional crimp terminal 7 shown in FIG.
  • the circular concave portion 114 has a stronger resistance to a force for expanding the concave portion 114 in the in-plane direction of the inner surface 11a of the barrel portion 11 as compared with, for example, a linear groove.
  • the pressure applied to the barrel part 11 at the time of crimping is just a force acting in the in-plane direction of the inner surface 11a of the barrel part 11, and the crimping terminal 1 of the present embodiment has a strong resistance in each recess against such pressure.
  • FIG. 16 is a schematic diagram showing the pressure applied to the barrel during crimping.
  • a force F ⁇ b> 11 that tries to crush the barrel portion 11 of the crimp terminal 1 is applied to the barrel portion 11 by a pressing device (not shown) or the like.
  • a force F12 is generated in the barrel portion 11 so as to expand the recess 114 in the in-plane direction of the inner surface 11a.
  • FIG. 17 is a diagram illustrating the influence of the force generated in the barrel part during crimping by taking a barrel part provided with a linear groove instead of the concave part as a comparative example.
  • the same components as those shown in FIGS. 1 to 8 are denoted by the same reference numerals as those in FIGS. 1 to 8. In the following, these equivalent components will be described. The duplicate description of is omitted.
  • each groove 114a is provided along an intersecting direction D12 that intersects the axial direction D11.
  • each groove 114a is deformed into a deformed groove 114a 'whose width is increased.
  • the barrel portion 11' extends in the axial direction D11.
  • the seal member 14 provided in the barrel portion 11 ′ is also extended to follow. However, if this extension is too large, for example, the seal member 14 between the inner barrel piece 112 and the outer barrel piece 113 is sealed. There is a possibility that unevenness of the member 14 or the like occurs and the waterproofness is lowered.
  • the crimp terminal 1 of the first embodiment has a strong resistance to the force F12 that attempts to expand the recess 114 in the in-plane direction of the inner surface 11a.
  • FIG. 18 is a diagram for explaining that the crimping terminal of the first embodiment has a strong resistance to a force for expanding the recess.
  • FIG. 19 is a view showing a recess in a third modification of the crimp terminal of the first embodiment shown in FIGS.
  • FIG. 20 is a view showing a recess in a fourth modification of the crimp terminal of the first embodiment shown in FIGS.
  • FIG. 21 is a view showing a recess in a fifth modification of the crimp terminal of the first embodiment shown in FIGS.
  • the recess 114b in the third modification shown in FIG. 19 is formed in an elliptical shape in plan view.
  • the recessed part 114c in the 4th modification shown by FIG. 20 is formed in the parallelogram in planar view.
  • the recessed part 114d in the 5th modification shown by FIG. 21 is formed in the hexagon by planar view.
  • modifications to the recess 114 in the crimp terminal 1 of the first embodiment include a triangular shape and other polygons in plan view.
  • the resistance force to the force F12 that attempts to spread in the in-plane direction of the inner surface 11a is strong.
  • the elliptical concave portion 114b in the third modification has the same strength as the circular concave portion 114 in the first embodiment.
  • the parallelogram-shaped recess 114c in the fourth modification and the hexagonal recess 114d in the fifth modification are compared to the circular recess 114 in the first embodiment and the elliptic recess 114b in the third modification. The resistance will be weakened.
  • the crimp terminal 1 of the first embodiment has the following advantages.
  • FIG. 22 is a diagram for explaining an advantage of a part of the plurality of recesses overlapping with the seal member.
  • the first seal portion 141 attached to the outer barrel piece 113 side of the seal member 14 is first positioned on the edge side of the outer barrel piece 113 among the plurality of recesses 114. And partially overlaps the recessed portion 114-1. Accordingly, the concave portion 114-1 at a position overlapping with the first seal portion 141 can be used as a mark when the first seal portion 141 is provided on the inner surface 11a of the barrel portion 11.
  • the second seal portion 142 attached to the terminal portion 12 side also partially overlaps the concave portion 114-1 positioned closest to the terminal portion 12 side.
  • the concave portion 114-1 at a position overlapping the second seal portion 142 can be used as a mark when the second seal portion 142 is provided on the inner surface 11a of the barrel portion 11. According to the crimp terminal 1 of the present embodiment, it is possible to reduce manufacturing difficulties in these respects. Further, the concave portion 114-1 overlapping the first seal portion 141 and the second seal portion 142 suppresses the movement of the first seal portion 141 and the second seal portion 142 due to the pressure applied at the time of pressure bonding, and has a higher level of waterproofness. It also contributes to securing.
  • the recess 114 provided for good conduction between the covered electric wire W1 and the crimp terminal 1 while ensuring the waterproof property for the contact portion with the aluminum core wire W11.
  • the movement of the seal member 14 due to the pressure applied during crimping is also suppressed by the groove 116 that overlaps the seal member 14.
  • difficulty in manufacturing can be alleviated while ensuring waterproofness at a higher level.
  • the groove part 116 which overlaps with the seal member 14 can also be used as a mark when the seal member 14 is provided on the inner surface 11a of the barrel part 11, and the manufacturing difficulty can be further alleviated in this respect.
  • the seal member 14 is slightly recessed. Even if it overlaps with 114, the influence on conduction is small. For this reason, when sticking the seal member 14, it is not necessary to perform alignment so strictly, and also in this respect, manufacturing difficulties can be further alleviated.
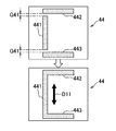
  • FIG. 23 is a view showing a sixth modification of the crimp terminal according to the first embodiment shown in FIGS.
  • the sixth modified example not only the shape of the seal member but also the shape of the recess is different from the crimp terminal 1 of the first embodiment.
  • constituent elements equivalent to those shown in FIGS. 1 to 8 are denoted by the same reference numerals as those in FIGS. 1 to 8. In the following, these equivalent constituent elements will be described. Duplicate explanation is omitted.
  • the concave portion 414 provided on the inner surface 41a of the barrel portion 41 is a parallelogram-shaped concave portion in plan view shown as the fourth modified example in FIG.
  • the second seal portion 442 and the third seal portion 443 are each divided from the first seal portion 441 across the path 11a-4 in the intersecting direction D12. ing.
  • a slight gap G41 is opened in the axial direction D11 between the second seal portion 442 and the third seal portion 443, and the first seal portion 441.
  • the gap G41 is closed by the extension of the seal member 44 during the pressure bonding.
  • FIG. 24 is a schematic diagram showing a state in which the gap between the second seal portion and the third seal portion shown in FIG. 23 and the first seal portion is closed by the extension of the seal member at the time of crimping.
  • the first seal portion 441 is extended in the axial direction D11 that coincides with the length direction thereof.
  • the second seal portion 442 and the third seal portion 443 are connected to the first seal portion 441, and the gap G41 is closed.
  • the cross direction D12 becomes larger than the axial direction D11.
  • the extent of extension is smaller than that of the first embodiment described with reference to FIG. 7 and the like, but by appropriately adjusting the gap G41 generated at the time of sticking, the gap G41 is closed at the time of crimping. A high level of waterproofness can be ensured.
  • FIG. 25 is a view showing a seal member in a seventh modification to the crimp terminal of the first embodiment shown in FIGS.
  • FIG. 26 is a view showing a seal member in an eighth modification to the crimp terminal of the first embodiment shown in FIGS.
  • FIG. 27 is a view showing a seal member in a ninth modification of the crimp terminal of the first embodiment shown in FIGS.
  • FIG. 28 is a view showing a seal member in a tenth modification of the crimp terminal of the first embodiment shown in FIGS.
  • the seal member 44a in the seventh modification shown in FIG. 25 is divided into a first seal portion 441a and a second seal portion 442a, and a gap G41a in the intersecting direction D12 is opened.
  • sticker part 443a are connected, and both are formed in the L-shape by planar view. That is, the seal member 44a is in a two-divided state.
  • the second seal portion 442a is extended in the intersecting direction D12. By this extension, the second seal portion 442a is connected to the first seal portion 441a, and the gap G41a is closed.
  • the first seal portion 441b and the second seal portion 442b are divided to open the gap G41b in the axial direction D11.
  • sticker part 443b are connected, and both are formed in the L-shape by planar view.
  • the first seal portion 441b is extended in the axial direction D11. By this extension, the first seal portion 441b is connected to the second seal portion 442b, and the gap G41b is closed.
  • the first seal portion 441c and the third seal portion 443c are divided to open a gap G41c in the cross direction D12.
  • sticker part 442c are connected, and both are formed in the reverse L shape by planar view.
  • the third seal portion 443c is extended in the intersecting direction D12. By this extension, the third seal portion 443c is connected to the first seal portion 441c, and the gap G41c is closed.
  • the first seal portion 441d and the third seal portion 443d are divided to open a gap G41d in the axial direction D11.
  • the first seal portion 441d and the second seal portion 442d are connected to each other and formed in an inverted L shape in plan view.
  • the first seal portion 441d extends in the axial direction D11.
  • the first seal portion 441d is connected to the third seal portion 443d, and the gap G41d is closed.
  • the second embodiment is different from the first embodiment in a plurality of recesses provided on the inner surface of the barrel portion. In the following, the second embodiment will be described by paying attention to differences from the first embodiment.
  • FIG. 29 is a view for explaining a crimp terminal according to the second embodiment of the present invention.
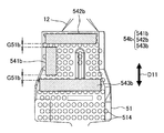
  • FIG. 30 is a schematic view showing a state where the seal member shown in FIG. 29 is affixed to the inner surface of the barrel portion. 29 and 30, the same components as those shown in FIGS. 1 to 8 are denoted by the same reference numerals as those in FIGS. 1 to 8. A duplicate description of elements is omitted. Also, in FIG. 29, two crimp terminals 5 are shown, but one crimp terminal 5 is shown with the seal member 14 removed so that the inner surface shape of the barrel portion 51 can be seen. .
  • the inner surface 51a of the barrel portion 51 has a plurality of recesses 514 over substantially the entire area including the first region 51a-1, the second region 51a-2, and the third region 51a-3. Are distributed.
  • a convex portion 515 is also formed by pressing from the outer surface side at a position where the aluminum core wire W11 is placed.
  • the first region 51a-1 is a region that vertically cuts the outer barrel piece 513 in the axial direction D11.
  • the second region 51a-2 is closer to the terminal portion 12 than the aluminum core wire W11, and the inner surface 51a of the barrel portion 51 including the bottom plate portion 511 is disposed between the inner barrel piece 512 side and the outer barrel piece 513 side in the intersecting direction D12. It is an area that crosses over.
  • the third region 51a-3 is a region that crosses the inner surface 51a between the inner barrel piece 512 side and the outer barrel piece 513 side in the intersecting direction D12 so as to intersect the covering portion W12 of the end W1a. It is.
  • the seal member 14 including the first seal portion 141, the second seal portion 142, and the third seal portion 143 is provided in each of the first region 51a-1, the second region 51a-2, and the third region 51a-3. It is stuck so as to overlap with the recess 514. Between the second seal portion 142 and the third seal portion 143, a path 51a- between the second region 51a-2, the first region 51a-1, and the third region 51a-3 is formed between the second seal portion 142 and the third seal portion 141. A gap G11 crossing 4 in the axial direction D11 is open.
  • the crimp terminal 5 described above is manufactured by the following terminal manufacturing method.
  • a sheet metal processing step for forming a structure before the sealing member 14 is attached is performed.
  • the barrel portion 51 is formed of a metal plate together with the terminal portion 12.
  • the barrel portion 51 and the terminal portion 12 are formed together in a state where a plurality of the crimp terminals 5 are connected by the strip-like connecting piece 5a.
  • formation of a plurality of concave portions 514 and formation of convex portions 515 on the inner surface 51a of the barrel portion 51 are also performed.
  • This sealing member sticking step is a step of sticking the sealing member 14 in a state of being divided in the middle of the above-described path 51a-4. That is, the first seal portion 141, the second seal portion 142, and the third seal portion 143 are individually attached to the inner surface 51a of the barrel portion 51.
  • the first seal portion 141, the second seal portion 142, and the third seal portion 143 are die-cut from the adhesive gel sheet, Affixed to the inner surface 51 a of the barrel portion 51.
  • the crimp terminal 5 manufactured in this way is crimped to the end W1a of the covered wire W1 as follows.
  • FIG. 31 is a diagram showing a procedure until the crimp terminal shown in FIGS. 29 and 30 is ready for crimping to the end of the covered electric wire
  • FIG. 32 is shown in FIG. It is a figure which shows the procedure until a crimp terminal is crimped
  • FIG. 31 also shows a sheet metal working step (S51) and a seal member attaching step (S52) in the terminal manufacturing method described above.
  • the barrel portion 51 and the terminal portion 12 are formed in the sheet metal processing step (S51), and the first seal portion 141, the second seal portion 142, and the third seal portion that form the seal member 14 in the seal member attaching step (S52). 143 is affixed.
  • the crimp terminal 5 to be crimped is cut off from the connecting portion 5a shown in FIG. Then, the barrel portion 51 is subjected to bending deformation as preparation for placing the end portion W1a of the covered electric wire W1 (S53). This bending deformation is performed so that the inner barrel piece 512 and the outer barrel piece 513 are brought close to each other and the cross section intersecting the axial direction D11 is substantially U-shaped.
  • the end portion W1a of the covered electric wire W1 is placed on the barrel portion 51 after the bending deformation (S54). At this time, the end W1a is placed such that the tip of the aluminum core wire W11 does not overlap the second seal portion 142. In addition, if it is somewhat, the front-end
  • the seal member 14 seals the various portions of the crimp terminal 5 as follows.
  • FIG. 33 is a view showing the crimp terminal after crimping, which is also shown in FIG. 34 is a diagram showing a cross section taken along line V51-V51, a cross section taken along line V52-V52, and a cross section taken along line V53-V53 in FIG.
  • FIG. 35 is a diagram showing a cross section taken along line V54-V54 in FIG.
  • the concave portion 514 that overlaps with the seal member 14 plays the role of the groove 116 in the first embodiment.
  • the gap G11 between the second seal portion 142 and the third seal portion 143 and the first seal portion 141 in the seal member 14 is the crossing direction D11 of the second seal portion 142 and the third seal portion 143. It is connected by the extension of.
  • the space between the inner barrel piece 512 and the outer barrel piece 513 is sealed with the first seal portion 141 of the seal member 14.
  • the opening 51 b on the terminal portion 12 side of the cylindrical barrel portion 51 is sealed with the second seal portion 142, and the space between the covering portion W ⁇ b> 12 and the barrel portion 51 is sealed with the third seal portion 143.
  • the crimp height CH51 in the barrel portion 51 after crimping is set to a dimension that crushes the cylindrical barrel portion 51 so that a part of the seal member 14 protrudes from the opening 51b of the barrel portion 51.
  • the opening 51b of the barrel part 51 is sealed at a high level.
  • a part of the sealing member 14 protrudes from between the covering part W12 and the barrel part 51 even on the extending side of the covered wire W1 in the barrel part 51 and seals the part at a high level.
  • the first and second seal portions 141, 142, and 143 of the seal member 14 have dimensions such as the width and the like necessary for such sealing after crimping. .
  • the edges of the recesses 514 provided on the inner surface 51a of the barrel part 51 are bitten into the aluminum core wire W11 by crimping, so that the coated electric wire W1 and the crimp terminal 5 are good. Continuity is obtained.
  • a part of several recessed part 514 provided in the inner surface of the barrel part 51 overlaps with the sealing member 14 for ensuring the waterproof property with respect to the contact part with the aluminum core wire W11.
  • the recessed part 514 of the position which overlaps with the seal member 14 can be used as a mark when the seal member 14 is provided on the inner surface 51a of the barrel part 51, and manufacturing difficulty can be reduced in this respect. .
  • the recessed part 514 which overlaps with the sealing member 14 suppresses the movement of the sealing member 14 due to the pressure applied at the time of pressure bonding, and contributes to ensuring waterproofness at a higher level.
  • the recessed part 514 provided for favorable conduction
  • the barrel portion Manufacturing difficulties can be further alleviated for the molding of 51.
  • the seal member 14 when the seal member 14 is provided, if the seal member 14 is provided along the outer periphery of the barrel portion 51, the seal member 14 and the recessed portion 514 can be provided so as to overlap even if the seal member 14 is slightly inclined. . That is, when the seal member 14 is provided, the position accuracy is not so high, so that the manufacturing difficulty can be further reduced.
  • FIG. 36 is a view showing a seal member in a first modification to the crimp terminal of the second embodiment shown in FIGS. 29 to 35.
  • FIG. FIG. 37 is a view showing a seal member in a second modification to the crimp terminal of the second embodiment shown in FIGS.
  • FIG. 38 is a view showing a seal member in a third modification to the crimp terminal of the second embodiment shown in FIGS.
  • FIG. 39 is a view showing a seal member in a fourth modification to the crimp terminal of the second embodiment shown in FIGS.
  • FIG. 40 is a view showing a seal member in a fifth modification of the crimp terminal of the second embodiment shown in FIGS.
  • FIG. 41 is a view showing a seal member in a sixth modification to the crimp terminal of the second embodiment shown in FIGS.
  • FIG. 42 is a view showing a seal member in a seventh modification of the crimp terminal of the second embodiment shown in FIGS.
  • a gap G51a in the axial direction D11 is opened between the second seal portion 542a and the third seal portion 543a and the first seal portion 541a.
  • the first seal portion 541a extends in the axial direction D11 and closes the gap G51a at the time of pressure bonding, and a high level of waterproofness can be ensured.
  • the first seal portion 541b is formed to be short, and the entire seal member 54b is located closer to the terminal portion 12 than in the first modified example. Affixed. Also in the second modified example, the gap G51b in the axial direction D11 is opened between the second seal portion 542b and the third seal portion 543b and the first seal portion 541b, and the gap G51b is closed by the extension during press bonding. In this second modified example, the area sealed by the seal member 54b is narrowed, but the affixing position is set to a position where waterproofing for the contact portion between the aluminum core wire W11 and the barrel portion 51 is obtained. Is the premise.
  • the sticking position of the seal member 54b is set based on the high degree of freedom of the sticking position due to the recesses 514 being formed on the substantially entire surface of the barrel part 51. is there.
  • the amount of the adhesive gel sheet used can be suppressed by the amount of the first seal portion 541b being shortened, and the cost can be reduced.
  • a gap G51c in the intersecting direction D12 is opened between the second seal portion 542c, the third seal portion 543c, and the first seal portion 541c. .
  • the gap G51c is closed by the second seal portion 542c and the third seal portion 543c extending in the intersecting direction D12 during pressure bonding.
  • the sticking position of the third seal portion 543c is determined based on the degree of freedom of the sticking position due to the concave portion 514 being formed on the substantially entire surface of the barrel part 51. The position is biased to the side.
  • the seal member 54d in the fourth modification shown in FIG. 39 is a modification of the above-described third modification.
  • the first seal portion 541d is shortened, and the second seal portion 542d and the third seal are used.
  • the length of the portion 543d is substantially the same.
  • a gap G51e in the intersecting direction D12 is opened between the second seal portion 542e and the third seal portion 543e and the first seal portion 541e. .
  • the gap G51e is closed when the second seal portion 542e and the third seal portion 543e extend in the intersecting direction D12 during pressure bonding.
  • the first seal portion 541e is attached with an inclination on the basis of the degree of freedom of the attaching position due to the formation of the recess 514 on the substantially entire surface of the barrel portion 51. It has become.
  • the seal member 54f in the sixth modification shown in FIG. 41 is a modification of the first modification shown in FIG. 36, and is obtained by shortening the first seal portion 541f.
  • the second seal portion 542f is attached with an inclination on the basis of the degree of freedom of the attaching position due to the concave portion 514 formed on the substantially entire surface of the barrel portion 51. It has become.
  • the third seal portion 543f is equivalent to the first modified example of FIG.
  • the seal member 54g in the seventh modification shown in FIG. 42 is also a modification of the first modification shown in FIG. In the seventh modification, the first seal portion 541g is shortened and the second seal portion 542g is lengthened. Further, the third seal portion 543g is long and wide.
  • the concave portion 514 is formed on the substantially entire surface of the barrel portion 51, the sticking method and shape of the seal member are high as described in various modifications. It is possible to set appropriately with the degree of freedom.
  • FIG. 43 is a view showing a seal member in an eighth modification to the crimp terminal of the second embodiment shown in FIGS. 29 to 35.
  • FIG. FIG. 44 is a view showing a seal member in a ninth modification to the crimp terminal of the second embodiment shown in FIGS.
  • FIG. 45 is a view showing a seal member in a tenth modification to the crimp terminal of the second embodiment shown in FIGS.
  • FIG. 46 is a view showing a seal member in an eleventh modification of the crimp terminal of the second embodiment shown in FIGS.
  • FIG. 47 is a view showing a seal member in a twelfth modification of the crimp terminal of the second embodiment shown in FIGS.
  • FIG. 48 is a view showing a seal member in a thirteenth modification to the crimp terminal of the second embodiment shown in FIGS.
  • the second seal portion 552a and the third seal portion 553a extend from the first seal portion 551a in the form of two arms. And formed in a C shape in plan view connected together.
  • the seal member 55b in the ninth modification shown in FIG. 44 is such that a C-shaped seal member 55b in a plan view is affixed to the barrel portion 51 in a state inclined clockwise in FIG. It has become.
  • the seal member 55c in the tenth modification shown in FIG. 45 is obtained by sticking the C-shaped seal member 55c to the barrel portion 51 in a state of being inclined counterclockwise in FIG. It has become.
  • the seal member 55d in the eleventh modification shown in FIG. 46 is formed by connecting the second seal portion 552d and the third seal portion 553d, which are formed short, by the first seal portion 551d.
  • the seal member 55d is affixed in a state of being biased toward the inner barrel piece 512 of the barrel portion 51 as a whole.
  • the seal member 55e in the twelfth modification shown in FIG. 47 is also formed by connecting the second seal portion 552e and the third seal portion 553e that are formed short by the first seal portion 551e. However, in the twelfth modification, the seal member 55e is affixed in a state of being biased toward the outer barrel piece 513 of the barrel portion 51 as a whole.
  • the seal member 55f in the thirteenth modification shown in FIG. 48 connects the second seal portion 552f and the third seal portion 553f with a first seal portion 551f formed short. And in this 13th modification, the sealing member 55f is affixed in the state biased near the terminal part 12 of the barrel part 51 as a whole.
  • the crimp terminal 5 of the second embodiment has the concave portion 514 formed on the substantially entire surface of the barrel portion 51 even when an integral seal member is used. It is possible to appropriately set the way of attaching and the shape with a high degree of freedom.
  • a form in which a convex portion is provided on the barrel portion by pressing from the outer surface side is illustrated.
  • the barrel portion is not limited to this form, and the convex portion may be omitted.
  • a crimp terminal having the terminal portion 12 as a rectangular tubular female terminal is exemplified.
  • a terminal part is not restricted to this, The specific shape and connection aspect are not ask

Landscapes

  • Engineering & Computer Science (AREA)
  • Manufacturing & Machinery (AREA)
  • Connections Effected By Soldering, Adhesion, Or Permanent Deformation (AREA)
PCT/JP2017/016504 2016-12-27 2017-04-26 圧着端子 Ceased WO2018123101A1 (ja)

Priority Applications (3)

Application Number Priority Date Filing Date Title
CN201780073008.2A CN110024227B (zh) 2016-12-27 2017-04-26 压接端子
EP17887306.3A EP3565061B1 (en) 2016-12-27 2017-04-26 Crimp terminal
US16/420,559 US10756449B2 (en) 2016-12-27 2019-05-23 Crimp terminal

Applications Claiming Priority (2)

Application Number Priority Date Filing Date Title
JP2016-253772 2016-12-27
JP2016253772A JP6858552B2 (ja) 2016-12-27 2016-12-27 圧着端子

Related Child Applications (1)

Application Number Title Priority Date Filing Date
US16/420,559 Continuation US10756449B2 (en) 2016-12-27 2019-05-23 Crimp terminal

Publications (1)

Publication Number Publication Date
WO2018123101A1 true WO2018123101A1 (ja) 2018-07-05

Family

ID=62710185

Family Applications (1)

Application Number Title Priority Date Filing Date
PCT/JP2017/016504 Ceased WO2018123101A1 (ja) 2016-12-27 2017-04-26 圧着端子

Country Status (5)

Country Link
US (1) US10756449B2 (enExample)
EP (1) EP3565061B1 (enExample)
JP (1) JP6858552B2 (enExample)
CN (1) CN110024227B (enExample)
WO (1) WO2018123101A1 (enExample)

Cited By (1)

* Cited by examiner, † Cited by third party
Publication number Priority date Publication date Assignee Title
DE102019109460A1 (de) * 2019-04-10 2020-10-15 Te Connectivity Germany Gmbh Crimpkontakt

Families Citing this family (2)

* Cited by examiner, † Cited by third party
Publication number Priority date Publication date Assignee Title
JP6803877B2 (ja) * 2018-07-09 2020-12-23 矢崎総業株式会社 端子付き電線
US11264735B1 (en) * 2020-08-28 2022-03-01 TE Connectivity Services Gmbh Electrical terminal for terminating a wide size range of magnet wires

Citations (4)

* Cited by examiner, † Cited by third party
Publication number Priority date Publication date Assignee Title
JPS55108192A (en) * 1979-02-13 1980-08-19 Sumitomo Electric Industries Method of solderless connecting terminal of aluminum conductor wire
JPS5940198B2 (ja) 1977-04-12 1984-09-28 川研フアインケミカル株式会社 改良された固形洗剤
JP2015079687A (ja) * 2013-10-18 2015-04-23 矢崎総業株式会社 圧着端子
JP2015201269A (ja) * 2014-04-04 2015-11-12 矢崎総業株式会社 圧着端子と電線の接続構造

Family Cites Families (26)

* Cited by examiner, † Cited by third party
Publication number Priority date Publication date Assignee Title
DE19549174A1 (de) * 1995-10-28 1997-07-03 Bosch Gmbh Robert Kontaktelement mit Crimpabschnitt
JP3566541B2 (ja) * 1998-03-31 2004-09-15 矢崎総業株式会社 防水コネクタ及び防水処理方法
JP2009230998A (ja) * 2008-03-21 2009-10-08 Autonetworks Technologies Ltd 端子金具付き電線の製造方法及び端子金具付き電線
JP5146187B2 (ja) * 2008-08-06 2013-02-20 住友電装株式会社 端子金具及びワイヤーハーネス
JP2010044913A (ja) * 2008-08-11 2010-02-25 Mitsubishi Materials Corp 圧着接続端子
JP2011096452A (ja) 2009-10-28 2011-05-12 Yazaki Corp 圧着端子
JP5606115B2 (ja) * 2010-03-23 2014-10-15 矢崎総業株式会社 圧着端子の電線に対する接続構造
CN102859795B (zh) * 2010-03-30 2015-08-19 古河电气工业株式会社 压接端子、连接构造体和连接器
JP5675205B2 (ja) * 2010-08-05 2015-02-25 矢崎総業株式会社 圧着端子
JP2012059438A (ja) * 2010-09-07 2012-03-22 Sumitomo Wiring Syst Ltd 防水コネクタ
JP5953591B2 (ja) * 2012-04-05 2016-07-20 矢崎総業株式会社 圧着端子を電線に圧着する方法
JP5899593B2 (ja) * 2012-07-31 2016-04-06 矢崎総業株式会社 圧着端子付きアルミ電線
CN202930577U (zh) * 2012-11-30 2013-05-08 浙江荣得利航空部件有限公司 一种接线片
WO2014129084A1 (ja) * 2013-02-21 2014-08-28 古河電気工業株式会社 圧着端子、端子付き電線およびワイヤハーネス構造体
DE102013203796A1 (de) * 2013-03-06 2014-09-11 Tyco Electronics Amp Gmbh Elektrische Crimpkontaktvorrichtung
JP6063788B2 (ja) * 2013-03-19 2017-01-18 矢崎総業株式会社 端子金具及び端子付き電線の製造方法
DE102013205235B4 (de) * 2013-03-25 2024-10-17 Te Connectivity Germany Gmbh Crimpverbindung sowie Crimpelement, Crimpvorrichtung und Verfahren zum Herstellen einer Crimpverbindung
DE112014003899T5 (de) * 2013-08-26 2016-06-09 Yazaki Corporation Verbindungsstruktur eines Crimp-Anschlusses in Bezug auf einen Draht
CN105098384B (zh) * 2014-05-19 2017-12-15 矢崎总业株式会社 微电流压接端子和微电流线束
WO2015194640A1 (ja) * 2014-06-19 2015-12-23 株式会社フジクラ 圧着端子
JP5940198B2 (ja) 2015-06-18 2016-06-29 古河電気工業株式会社 圧着端子、接続構造体及びコネクタ
JP6422851B2 (ja) * 2015-12-16 2018-11-14 矢崎総業株式会社 圧着端子の製造方法
JP6423783B2 (ja) * 2015-12-16 2018-11-14 矢崎総業株式会社 圧着端子
US9853368B2 (en) * 2016-05-03 2017-12-26 Te Connectivity Corporation Electrical crimp terminal
JP6822834B2 (ja) * 2016-12-27 2021-01-27 矢崎総業株式会社 圧着端子および端子製造方法
JP6904147B2 (ja) * 2017-08-01 2021-07-14 株式会社オートネットワーク技術研究所 端子付き電線

Patent Citations (4)

* Cited by examiner, † Cited by third party
Publication number Priority date Publication date Assignee Title
JPS5940198B2 (ja) 1977-04-12 1984-09-28 川研フアインケミカル株式会社 改良された固形洗剤
JPS55108192A (en) * 1979-02-13 1980-08-19 Sumitomo Electric Industries Method of solderless connecting terminal of aluminum conductor wire
JP2015079687A (ja) * 2013-10-18 2015-04-23 矢崎総業株式会社 圧着端子
JP2015201269A (ja) * 2014-04-04 2015-11-12 矢崎総業株式会社 圧着端子と電線の接続構造

Non-Patent Citations (1)

* Cited by examiner, † Cited by third party
Title
See also references of EP3565061A4

Cited By (1)

* Cited by examiner, † Cited by third party
Publication number Priority date Publication date Assignee Title
DE102019109460A1 (de) * 2019-04-10 2020-10-15 Te Connectivity Germany Gmbh Crimpkontakt

Also Published As

Publication number Publication date
CN110024227A (zh) 2019-07-16
US20190280399A1 (en) 2019-09-12
EP3565061A1 (en) 2019-11-06
US10756449B2 (en) 2020-08-25
CN110024227B (zh) 2021-05-25
EP3565061A4 (en) 2019-12-25
EP3565061B1 (en) 2021-04-07
JP6858552B2 (ja) 2021-04-14
JP2018106993A (ja) 2018-07-05

Similar Documents

Publication Publication Date Title
WO2018123101A1 (ja) 圧着端子
US9368953B2 (en) Terminal-formed wire and manufacturing method thereof
WO2018123102A1 (ja) 圧着端子
WO2018123100A1 (ja) 圧着端子および端子製造方法
US10658784B2 (en) Crimp terminal
JP2018106996A (ja) 端子接続方法
EP3565062B1 (en) Terminal-equipped electric wire and terminal production method

Legal Events

Date Code Title Description
121 Ep: the epo has been informed by wipo that ep was designated in this application

Ref document number: 17887306

Country of ref document: EP

Kind code of ref document: A1

NENP Non-entry into the national phase

Ref country code: DE

ENP Entry into the national phase

Ref document number: 2017887306

Country of ref document: EP

Effective date: 20190729