WO2018062571A1 - トナー力ートリッジおよびトナー供給機構 - Google Patents

トナー力ートリッジおよびトナー供給機構 Download PDF

Info

Publication number
WO2018062571A1
WO2018062571A1 PCT/JP2017/036050 JP2017036050W WO2018062571A1 WO 2018062571 A1 WO2018062571 A1 WO 2018062571A1 JP 2017036050 W JP2017036050 W JP 2017036050W WO 2018062571 A1 WO2018062571 A1 WO 2018062571A1
Authority
WO
WIPO (PCT)
Prior art keywords
toner cartridge
container
opening
cartridge according
toner
Prior art date
Legal status (The legal status is an assumption and is not a legal conclusion. Google has not performed a legal analysis and makes no representation as to the accuracy of the status listed.)
Ceased
Application number
PCT/JP2017/036050
Other languages
English (en)
French (fr)
Japanese (ja)
Inventor
木村 喬
小嶋 久義
陽介 樫出
Current Assignee (The listed assignees may be inaccurate. Google has not performed a legal analysis and makes no representation or warranty as to the accuracy of the list.)
Canon Inc
Original Assignee
Canon Inc
Priority date (The priority date is an assumption and is not a legal conclusion. Google has not performed a legal analysis and makes no representation as to the accuracy of the date listed.)
Filing date
Publication date
Priority to SG11201901982UA priority Critical patent/SG11201901982UA/en
Priority to MX2019003124A priority patent/MX2019003124A/es
Priority to MYPI2019001722A priority patent/MY197113A/en
Priority to CN202111118640.9A priority patent/CN113759684B/zh
Priority to KR1020197012319A priority patent/KR102217074B1/ko
Priority to DE112017004984.9T priority patent/DE112017004984T5/de
Priority to AU2017337463A priority patent/AU2017337463B2/en
Priority to GB1906069.8A priority patent/GB2569930A/en
Priority to CA3038787A priority patent/CA3038787C/en
Priority to KR1020217004047A priority patent/KR102316346B1/ko
Priority to EP17856518.0A priority patent/EP3521938A4/en
Priority to RU2019112737A priority patent/RU2741483C2/ru
Application filed by Canon Inc filed Critical Canon Inc
Priority to CN201780059131.9A priority patent/CN109804318B/zh
Priority to BR112019004676-3A priority patent/BR112019004676B1/pt
Publication of WO2018062571A1 publication Critical patent/WO2018062571A1/ja
Priority to CONC2019/0002489A priority patent/CO2019002489A2/es
Priority to US16/366,023 priority patent/US10747144B2/en
Priority to PH12019500699A priority patent/PH12019500699A1/en
Anticipated expiration legal-status Critical
Priority to US16/816,655 priority patent/US11506993B2/en
Priority to AU2020203966A priority patent/AU2020203966B2/en
Priority to US17/211,912 priority patent/US11366409B2/en
Ceased legal-status Critical Current

Links

Images

Classifications

    • GPHYSICS
    • G03PHOTOGRAPHY; CINEMATOGRAPHY; ANALOGOUS TECHNIQUES USING WAVES OTHER THAN OPTICAL WAVES; ELECTROGRAPHY; HOLOGRAPHY
    • G03GELECTROGRAPHY; ELECTROPHOTOGRAPHY; MAGNETOGRAPHY
    • G03G15/00Apparatus for electrographic processes using a charge pattern
    • G03G15/06Apparatus for electrographic processes using a charge pattern for developing
    • G03G15/08Apparatus for electrographic processes using a charge pattern for developing using a solid developer, e.g. powder developer
    • G03G15/0822Arrangements for preparing, mixing, supplying or dispensing developer
    • G03G15/0877Arrangements for metering and dispensing developer from a developer cartridge into the development unit
    • G03G15/0881Sealing of developer cartridges
    • G03G15/0886Sealing of developer cartridges by mechanical means, e.g. shutter, plug
    • GPHYSICS
    • G03PHOTOGRAPHY; CINEMATOGRAPHY; ANALOGOUS TECHNIQUES USING WAVES OTHER THAN OPTICAL WAVES; ELECTROGRAPHY; HOLOGRAPHY
    • G03GELECTROGRAPHY; ELECTROPHOTOGRAPHY; MAGNETOGRAPHY
    • G03G15/00Apparatus for electrographic processes using a charge pattern
    • G03G15/06Apparatus for electrographic processes using a charge pattern for developing
    • G03G15/08Apparatus for electrographic processes using a charge pattern for developing using a solid developer, e.g. powder developer
    • GPHYSICS
    • G03PHOTOGRAPHY; CINEMATOGRAPHY; ANALOGOUS TECHNIQUES USING WAVES OTHER THAN OPTICAL WAVES; ELECTROGRAPHY; HOLOGRAPHY
    • G03GELECTROGRAPHY; ELECTROPHOTOGRAPHY; MAGNETOGRAPHY
    • G03G15/00Apparatus for electrographic processes using a charge pattern
    • G03G15/06Apparatus for electrographic processes using a charge pattern for developing
    • G03G15/08Apparatus for electrographic processes using a charge pattern for developing using a solid developer, e.g. powder developer
    • G03G15/0822Arrangements for preparing, mixing, supplying or dispensing developer
    • G03G15/0865Arrangements for supplying new developer
    • G03G15/0867Arrangements for supplying new developer cylindrical developer cartridges, e.g. toner bottles for the developer replenishing opening
    • G03G15/087Developer cartridges having a longitudinal rotational axis, around which at least one part is rotated when mounting or using the cartridge
    • G03G15/0872Developer cartridges having a longitudinal rotational axis, around which at least one part is rotated when mounting or using the cartridge the developer cartridges being generally horizontally mounted parallel to its longitudinal rotational axis
    • GPHYSICS
    • G03PHOTOGRAPHY; CINEMATOGRAPHY; ANALOGOUS TECHNIQUES USING WAVES OTHER THAN OPTICAL WAVES; ELECTROGRAPHY; HOLOGRAPHY
    • G03GELECTROGRAPHY; ELECTROPHOTOGRAPHY; MAGNETOGRAPHY
    • G03G15/00Apparatus for electrographic processes using a charge pattern
    • G03G15/06Apparatus for electrographic processes using a charge pattern for developing
    • G03G15/08Apparatus for electrographic processes using a charge pattern for developing using a solid developer, e.g. powder developer
    • G03G15/0822Arrangements for preparing, mixing, supplying or dispensing developer
    • G03G15/0877Arrangements for metering and dispensing developer from a developer cartridge into the development unit
    • GPHYSICS
    • G03PHOTOGRAPHY; CINEMATOGRAPHY; ANALOGOUS TECHNIQUES USING WAVES OTHER THAN OPTICAL WAVES; ELECTROGRAPHY; HOLOGRAPHY
    • G03GELECTROGRAPHY; ELECTROPHOTOGRAPHY; MAGNETOGRAPHY
    • G03G15/00Apparatus for electrographic processes using a charge pattern
    • G03G15/06Apparatus for electrographic processes using a charge pattern for developing
    • G03G15/08Apparatus for electrographic processes using a charge pattern for developing using a solid developer, e.g. powder developer
    • G03G15/0896Arrangements or disposition of the complete developer unit or parts thereof not provided for by groups G03G15/08 - G03G15/0894
    • GPHYSICS
    • G03PHOTOGRAPHY; CINEMATOGRAPHY; ANALOGOUS TECHNIQUES USING WAVES OTHER THAN OPTICAL WAVES; ELECTROGRAPHY; HOLOGRAPHY
    • G03GELECTROGRAPHY; ELECTROPHOTOGRAPHY; MAGNETOGRAPHY
    • G03G21/00Arrangements not provided for by groups G03G13/00 - G03G19/00, e.g. cleaning, elimination of residual charge
    • G03G21/16Mechanical means for facilitating the maintenance of the apparatus, e.g. modular arrangements
    • GPHYSICS
    • G03PHOTOGRAPHY; CINEMATOGRAPHY; ANALOGOUS TECHNIQUES USING WAVES OTHER THAN OPTICAL WAVES; ELECTROGRAPHY; HOLOGRAPHY
    • G03GELECTROGRAPHY; ELECTROPHOTOGRAPHY; MAGNETOGRAPHY
    • G03G21/00Arrangements not provided for by groups G03G13/00 - G03G19/00, e.g. cleaning, elimination of residual charge
    • G03G21/16Mechanical means for facilitating the maintenance of the apparatus, e.g. modular arrangements
    • G03G21/1604Arrangement or disposition of the entire apparatus
    • G03G21/1623Means to access the interior of the apparatus
    • G03G21/1633Means to access the interior of the apparatus using doors or covers
    • GPHYSICS
    • G03PHOTOGRAPHY; CINEMATOGRAPHY; ANALOGOUS TECHNIQUES USING WAVES OTHER THAN OPTICAL WAVES; ELECTROGRAPHY; HOLOGRAPHY
    • G03GELECTROGRAPHY; ELECTROPHOTOGRAPHY; MAGNETOGRAPHY
    • G03G21/00Arrangements not provided for by groups G03G13/00 - G03G19/00, e.g. cleaning, elimination of residual charge
    • G03G21/16Mechanical means for facilitating the maintenance of the apparatus, e.g. modular arrangements
    • G03G21/1642Mechanical means for facilitating the maintenance of the apparatus, e.g. modular arrangements for connecting the different parts of the apparatus
    • G03G21/1647Mechanical connection means
    • GPHYSICS
    • G03PHOTOGRAPHY; CINEMATOGRAPHY; ANALOGOUS TECHNIQUES USING WAVES OTHER THAN OPTICAL WAVES; ELECTROGRAPHY; HOLOGRAPHY
    • G03GELECTROGRAPHY; ELECTROPHOTOGRAPHY; MAGNETOGRAPHY
    • G03G2215/00Apparatus for electrophotographic processes
    • G03G2215/06Developing structures, details
    • G03G2215/066Toner cartridge or other attachable and detachable container for supplying developer material to replace the used material
    • G03G2215/0663Toner cartridge or other attachable and detachable container for supplying developer material to replace the used material having a longitudinal rotational axis, around which at least one part is rotated when mounting or using the cartridge
    • G03G2215/0665Generally horizontally mounting of said toner cartridge parallel to its longitudinal rotational axis
    • G03G2215/067Toner discharging opening covered by arcuate shutter
    • GPHYSICS
    • G03PHOTOGRAPHY; CINEMATOGRAPHY; ANALOGOUS TECHNIQUES USING WAVES OTHER THAN OPTICAL WAVES; ELECTROGRAPHY; HOLOGRAPHY
    • G03GELECTROGRAPHY; ELECTROPHOTOGRAPHY; MAGNETOGRAPHY
    • G03G2221/00Processes not provided for by group G03G2215/00, e.g. cleaning or residual charge elimination
    • G03G2221/16Mechanical means for facilitating the maintenance of the apparatus, e.g. modular arrangements and complete machine concepts
    • G03G2221/1651Mechanical means for facilitating the maintenance of the apparatus, e.g. modular arrangements and complete machine concepts for connecting the different parts
    • G03G2221/1657Mechanical means for facilitating the maintenance of the apparatus, e.g. modular arrangements and complete machine concepts for connecting the different parts transmitting mechanical drive power

Definitions

  • an electrophotographic image forming apparatus a configuration in which elements such as a photosensitive drum and a developing roller as a rotating body related to image formation are integrated as a cartridge and is detachable from an image forming apparatus main body (hereinafter referred to as an apparatus main body) is known. Yes.
  • the toner cartridge containing the toner (developer) consumed during the image formation can be replaced separately from the photosensitive drum and the developing roller.
  • the configuration is also known.
  • the toner (developer) accommodated in the toner cartridge is transferred from the discharge port to a developing device having a developing roller or the like.
  • a configuration is known in which an opening / closing member such as a shutter for opening and closing the discharge port is provided in order to prevent toner from leaking from the discharge port to the outside.
  • Japanese Patent Laid-Open No. 7-199623 discloses a configuration in which a shutter is opened by rotating a toner cartridge when a cylindrical toner cartridge (developer supply container) is mounted on the main body of the image forming apparatus. Yes.
  • the object of the present invention is to develop the above-described conventional technology.
  • the typical composition of this application is: In a toner cartridge detachably attached to a receiving device having a toner receiving port and a receiving device side guide, A container, An accommodating portion for accommodating toner, an outlet for discharging toner from the accommodating portion toward the receiving port, and a cartridge side guide configured to be guided by the receiving device side guide, A container having, An opening and closing member, A closing portion for closing the discharge port, and an engaging portion that protrudes in the longitudinal direction of the container from the side wall of the container and is engageable with the guide on the receiving device side.
  • An open / close member configured to move relative to the container between a closed position for closing the discharge port and an open position for opening the discharge port in the closing portion; Have When the toner cartridge is removed from the receiving device, the engaging portion engages with the receiving device-side guide to receive a force for moving the opening / closing member from the open position to the closed position. It is configured as follows.
  • FIG. 1 is a side view of the toner cartridge according to the embodiment.
  • FIG. 2 is a cross-sectional view schematically showing a schematic configuration of the image forming apparatus according to the embodiment.
  • FIG. 3 is a side cross-sectional view schematically showing a state where the toner cartridge is mounted on the developing unit.
  • FIG. 4 is a perspective view schematically showing the developing unit according to the embodiment.
  • FIG. 5 is a schematic diagram of the toner cartridge according to the embodiment.
  • FIG. 6 is a schematic diagram of the developing unit and the toner cartridge before installation (insertion).
  • FIG. 7 is a schematic diagram of the developing unit and the toner cartridge in the middle of installation (insertion).
  • FIG. 8 is a side view schematically showing a modified example of the configuration of the insertion guide portion.
  • FIG. 9 is a side view schematically showing a force relationship acting on the toner cartridge.
  • FIG. 10 is a schematic diagram showing a state in which the butted portion and the butted portion are in contact with each other.
  • FIG. 11 is a schematic diagram when the toner cartridge is positioned by rotating the container frame.
  • FIG. 12 is a schematic diagram when the respective shutters are moved to the open position and the respective toner storage portions are communicated.
  • FIG. 13 is a perspective view showing a modification of the configuration of the operation unit of the toner cartridge.
  • FIG. 14 is a perspective view of a developing unit and a toner cartridge showing a modified example of the configuration of the extending member.
  • FIG. 15 is a side view of the toner cartridge provided with a drive transmission unit that meshes with the second drive transmission unit.
  • FIG. 16 is a side sectional view of the developing unit and the toner cartridge showing a modification of the configuration of the restricting portion.
  • FIG. 17 is a perspective view of the developing unit.
  • FIG. 18 is a sectional view of the developing unit and the toner cartridge.
  • FIG. 19 is an explanatory diagram of the arrangement relationship of the second shutter.
  • the image forming apparatus forms an image on a recording medium using, for example, an electrophotographic image forming process.
  • an electrophotographic copying machine for example, an LED printer, a laser beam printer, etc.
  • an electrophotographic facsimile machine and the like are included.
  • a monochrome image forming apparatus provided with one toner image forming unit is illustrated.
  • the number of toner image forming units provided in the image forming apparatus is not limited to this.
  • the image forming apparatus may have a plurality of toner image forming units and form a color image.
  • the upper direction means the upper direction in the gravity direction when the image forming apparatus is installed.
  • the present invention relates to an improvement in operation feeling when a user mounts a toner cartridge on a developing unit.
  • the operation of attaching the toner cartridge to the developing unit is called an attaching operation, and the operation of removing it is called a removing operation.
  • the position where the protrusions and holes engage with each other is called the engagement position, and the position where the engagement is released is called the non-engagement position (engagement release position).
  • FIG. 2 is a side sectional configuration diagram showing the configuration of the image forming apparatus A according to the present embodiment.
  • the image forming apparatus A shown in FIG. 2 receives image information from an external device such as a personal computer connected so as to be communicable. Then, according to the received image information, the image forming apparatus A forms an image (toner image) with a developer (toner) on a recording medium P (for example, recording paper, an OHP sheet, cloth, etc.) by an electrophotographic image forming process. To do.
  • an external device such as a personal computer connected so as to be communicable.
  • the image forming apparatus A forms an image (toner image) with a developer (toner) on a recording medium P (for example, recording paper, an OHP sheet, cloth, etc.) by an electrophotographic image forming process.
  • a recording medium P for example, recording paper, an OHP sheet, cloth, etc.
  • a toner image forming unit (toner image forming unit) B is detachably attached to the main body of the image forming apparatus A.
  • the toner image forming unit (toner image forming unit) B of this embodiment includes a drum unit C, a developing unit (developing device) D, and a toner cartridge E.
  • the toner cartridge E is detachable from the developing unit D. That is, the developing unit D has a mounting portion for mounting the toner cartridge E, and is a receiving device (receiving device) that receives the toner cartridge E.
  • the toner image forming unit (toner image forming unit) B can be regarded as a unit including a photosensitive drum and an element (process member) acting on the photosensitive drum.
  • the drum unit C and the developing unit D are integrated, and can be attached to and detached from the apparatus main body of the image forming apparatus as one cartridge.
  • a cartridge in which the drum unit C and the developing unit D are integrated may be particularly referred to as a process cartridge. That is, the toner cartridge E is attached to and detached from the developing unit D of the process cartridge.
  • the entire process cartridge can be regarded as a receiving device.
  • the process cartridge can be attached to and detached from the apparatus main body with the toner cartridge E attached to the developing unit D. That is, the drum unit C, the developing unit D, and the toner cartridge E can be attached to and detached from the apparatus main body in an integrated state. Therefore, the toner image forming unit (toner image forming unit) B including all of the drum unit C, the developing unit D, and the toner cartridge E may be referred to as a process cartridge.
  • the drum unit C, the developing unit D, and the toner cartridge E may be individually made into cartridges.
  • the drum unit C may be called a drum cartridge
  • the developing unit D may be called a developing cartridge.
  • the photosensitive drum or the drum unit having the photosensitive drum
  • the photosensitive drum is fixed to the apparatus main body, and only the developing unit (developing cartridge) D and the toner cartridge E are detachable.
  • the photosensitive drum and the developing unit may be fixed to the apparatus main body, and only the toner cartridge E may be detachable from the apparatus main body.
  • the image forming apparatus main body itself can be regarded as a receiving device for the toner cartridge E.
  • the combined portion of the receiving device and the toner cartridge E may be called a toner supply mechanism (toner supply unit, toner supply device) or the like.
  • toner supply mechanism toner supply unit, toner supply device
  • toner supply mechanism toner is supplied (supplemented) from the toner cartridge E to the developing unit D provided in the receiving device.
  • the photosensitive drum as the image carrier indicates a configuration in which a flange or the like is integrated with a cylinder having a photosensitive layer.
  • the apparatus main body image forming apparatus main body refers to a component obtained by removing each cartridge (drum unit C, developing unit D, toner cartridge E) from the image forming apparatus A.
  • the drum unit C is a unit in which a photosensitive drum (image carrier) 16, a charging roller 17, a cleaning blade 19, and the like are integrally formed.
  • the drum unit C is connected to the developing unit D and is part of a process cartridge. Is configured.
  • the developing unit D is a unit in which a developing roller (developer carrying member) 24 and the like are integrally formed, and is a part of a process cartridge in this embodiment.
  • the toner cartridge E is a cartridge in which a toner storage container (developer storage container, container) 47 for storing toner t as a developer is integrally formed as a cartridge.
  • the photosensitive drum 16 rotates in the direction of arrow a shown in FIG.
  • the surface of the rotating photosensitive drum 16 is uniformly charged by a charging roller 17 as charging means.
  • a charging roller 17 As charging means.
  • the photosensitive drum 16 By irradiating the photosensitive drum 16 with laser light L corresponding to the image information from the laser scanner (exposure means) 1, an electrostatic latent image corresponding to the image information is formed on the photosensitive drum 16.
  • the toner t carried and conveyed by the developing roller 24 develops the electrostatic latent image. As a result, a toner image is formed on the photosensitive drum 16.
  • the frame 35 of the developing unit D as a receiving device supports the developing roller 24 in a rotatable manner.
  • the developing roller 24 is rotationally driven with respect to the photosensitive drum 16 in the forward direction (the direction of arrow b in the figure).
  • the toner t in the developing chamber 31 is carried on the peripheral surface of the developing roller 24 with the layer thickness regulated by the developing blade 25.
  • the layer thickness is regulated, a charge is imparted to the toner by frictional charging.
  • the charged toner forms an electrostatic latent image on the photosensitive drum 16.
  • the developing chamber 31 communicates with the first toner accommodating portion (developer accommodating portion) 28 through the first opening 29.
  • a first toner conveying means 27 that is rotationally driven by a drive source (not shown) supplies toner t from the first toner storage portion 28 to the developing chamber 31.
  • a communication portion 58 is formed by the second opening (container opening / receiving port, receiving opening) 30 and the third opening (container opening / discharge port, discharge opening) 49.
  • the first toner accommodating portion (container accommodating chamber) 28 communicates with the second toner accommodating portion (container accommodating chamber) 47 t of the toner cartridge E via the communication portion 58.
  • the second toner storage portion 47t is a space provided inside the container 47 for storing toner.
  • the second toner container 47t is a container (toner container, developer container) formed by the frame (container frame 47a) of the container 47.
  • the third opening 49 is formed in the container frame 47a and is a discharge port for discharging toner from the second toner container 47t toward the outside of the container 47 (that is, the developing unit D).
  • the toner discharged from the third opening 49 is received in the second opening (receiving port) 30 of the developing unit D.
  • the first toner storage unit 28 is supplied with the toner t from the second toner storage unit 47t by the second toner transport member 46 rotated by the driving force input from the apparatus main body via the developing unit D.
  • the recording medium P set in the feeding cassette 2 is separated and fed one by one by a pickup roller 3 and a pressure contact member 5 that is in pressure contact therewith. Then, in synchronization with the toner image formed on the photosensitive drum, the recording medium P is conveyed along the conveyance guide 4 to a transfer roller 6 as a transfer unit.
  • the recording medium P passes through the transfer nip portion 11 formed by the photosensitive drum 16 and the transfer roller 6 to which a constant voltage is applied. At this time, the toner image formed on the photosensitive drum 16 is transferred to the recording medium P.
  • the recording medium P to which the toner image is transferred is conveyed to the fixing unit 8 by the conveyance guide 7.
  • the fixing means 8 includes a driving roller 8a and a fixing roller 8c incorporating a heater 8b.
  • the recording medium P receives heat and pressure passing through the nip portion 8d formed by the fixing roller 8c and the driving roller 8a. As a result, the toner image transferred onto the recording medium P is fixed to the recording medium P. Thereafter, the recording medium P on which the toner image is fixed is conveyed by the discharge roller pair 9 and discharged to the discharge tray 10.
  • the cleaning blade 19 is provided so as to elastically contact the outer peripheral surface of the photosensitive drum 16. As a result, the toner t (transfer residual toner) remaining on the photosensitive drum 16 that has not been transferred to the recording medium P is scraped off by the cleaning blade 19. The toner t thus scraped off is stored in a removed toner storage portion (waste toner storage portion) 18a of the frame 18 to which the cleaning blade 19 is fixed.
  • an image forming apparatus of the present embodiment has been described with respect to the configuration in which an image is formed on a recording medium (recording material) using a developer (toner) by an electrophotographic image forming method.
  • an image forming apparatus may form an image on a recording medium, and an electrophotographic copying machine, an electrophotographic printer (laser beam printer, LED printer, etc.), an electrophotographic facsimile apparatus, an electrophotographic word processor, etc. There is no.
  • the toner image forming portion B has an electrophotographic photosensitive member (photosensitive member) that is an image carrier and process means that acts on the photosensitive member.
  • the toner image forming unit is configured to be detachable from the apparatus main body of the image forming apparatus as one or more cartridges.
  • Process means include charging means (charging member, charging device), developing means (developing device, developing unit), cleaning means (cleaning device, cleaning member), and the like.
  • the developing device is a device used for developing an electrostatic latent image on a photoreceptor.
  • the developing device (developing unit) is detachable from the image forming apparatus as a part of the process cartridge.
  • the toner cartridge (developer cartridge, toner bottle, developer bottle, toner container, developer container) stores developer (toner) used to develop the electrostatic latent image formed on the photoreceptor.
  • Cartridge [Configuration of each cartridge (unit)]
  • each cartridge (each unit) detachably provided in the image forming apparatus. (Detailed description near the toner cartridge receiving part of the developing unit)
  • FIG. 4 is a perspective view of the vicinity of the receiving portion (mounting portion) of the toner cartridge E of the developing unit D.
  • FIG. 4A is a view for explaining a state where the second opening 30 is closed (the first shutter 37 is in the closed position).
  • FIG. 4B is a diagram for explaining a state in which the second opening 30 is opened (the first shutter 37 is in the open position).
  • the longitudinal direction of the developing unit D indicates a direction parallel to the rotational axis direction of the developing roller 24 provided in the developing unit D. In the state where the toner cartridge E is mounted on the developing unit, the longitudinal direction of the toner cartridge E is substantially parallel to the longitudinal direction of the developing unit D.
  • the developing unit D is configured such that the toner cartridge E can be attached to the receiving portion (removable) in the frame (developing frame) 35.
  • the developing unit D has a second opening (a container opening, a receiving port) 30 and a first shutter (a container shutter, a receiving device side shutter, a receiving device side opening / closing member) 37.
  • the second opening 30 is provided at the center in the longitudinal direction of the developing unit D.
  • the position of the second opening 30 is not limited to the central portion in the longitudinal direction as long as it is a position facing a third opening (container opening) 49 described later.
  • the second opening 30 is sealed by a first shutter 37 having a curvature along the outer peripheral surface of the toner cartridge E.
  • the first shutter 37 has a hole 37 a that engages with a convex portion (container side engaging portion, opening / closing member moving portion, container side protrusion) 45 provided on the toner cartridge E. Two convex portions 45 and two hole portions 37 are provided. The hole 37 is provided outside the sealing range where the first shutter 37 seals the second opening 30.
  • both ends in the longitudinal direction of the first shutter 37 engage with the first shutter guide portion 34 provided on the frame body 35 of the developing unit D.
  • the first shutter 37 is configured to be slidable (movable) along the first shutter guide portion 34 (in the directions of arrows W1 and W2).
  • the first shutter 37 closes the second opening 30 (reception port closed position, FIG. 4A), and opens the second opening 30 (reception port open position, FIG. 4B). )).
  • the first sealing seal 32 for sealing the space between the first shutter 37 and the second opening 30 is provided in the frame 35 of the developing unit D as the second opening. It is attached so as to surround the portion 30.
  • the developing unit D includes insertion guide portions (receiving device side guides) 35d that guide the toner cartridge E while maintaining the posture (mounting posture) of the toner cartridge E when the toner cartridge E is loaded (inserted) at both ends in the longitudinal direction of the frame 35. 36d.
  • the developing unit D has abutted portions 35a and 36a against which the abutting portions 42a and 43a of the toner cartridge E abut when a toner cartridge E described later is inserted.
  • the developing unit D includes a rotation guide portion 35b that guides the rotation of the toner cartridge E when the first shutter 37 and the second shutter (toner cartridge side shutter) 53 are opened and closed at both ends in the longitudinal direction of the frame 35. 36b.
  • the insertion guide portions 35d and 36d are formed linearly and parallel to each other along the insertion direction f (FIG. 4A) of the toner cartridge E.
  • a direction opposite to the insertion direction of the toner cartridge E may be referred to as a removal direction.
  • the extraction direction is a direction in which the toner cartridge E is extracted from the developing unit D.
  • the downstream side in the insertion direction can be regarded as the upstream side in the removal direction, and the upstream side in the insertion direction can be regarded as the downstream side in the removal direction.
  • the side on which the drive unit (eg, first drive transmission unit 38) such as a gear is disposed at both ends in the longitudinal direction of the developing unit D is hereinafter referred to as the drive side.
  • the non-driving side of the developing unit is used to mean the side opposite to the driving side in the longitudinal direction.
  • the abutted portion 35a and the rotation guide portion 35b are on the downstream side in the insertion direction f of the insertion guide portion 35d on the non-drive side, and the abutted portion 36a and the rotation guide 36b are on the insertion guide portion 36d on the drive side. Each is provided downstream in the insertion direction f.
  • a first drive transmission portion 38 for transmitting driving to a second toner conveying means 46 of a toner cartridge E described later is provided at one end portion in the longitudinal direction of the frame body 35.
  • the first drive transmission unit 38 is a gear (gear), and is connected to the drive mechanism of the image forming apparatus main body inside the developing unit D.
  • the first drive transmission unit 38 is a rotational force transmission unit (driving force transmission unit) that transmits a rotational force for driving the second toner conveying member 46 from the outside of the toner cartridge E. (Detailed description of toner cartridge)
  • FIG. 5A is a perspective view of the toner cartridge E as viewed from the second drive transmission unit 48 side (drive side).
  • FIG. 5B is a perspective view of the toner cartridge E viewed from the side opposite to the second drive transmission unit 48 side (non-drive side).
  • FIG. 5C is a cross-sectional view of the toner cartridge E viewed from the side opposite to the second drive transmission portion 48 side when the third opening 49 is closed.
  • FIG. 5D is a cross-sectional view of the toner cartridge E viewed from the side opposite to the second drive transmission portion 48 side when the third opening 49 is released.
  • FIG. 5E is a perspective view when the second shutter 53 of the toner cartridge E is in an open position (a state where the third opening 49 is opened). In FIG. 5, the toner t is not shown.
  • the toner cartridge E is attached to the container 47, a second shutter 53 that can move relative to the container 47 (developer container shutter) 53, a second toner conveying member 46 provided inside the container 47, and the second toner conveying member 46.
  • the second drive transmission unit (gear) 48 and the like are provided.
  • the container 47 has a substantially cylindrical shape. That is, the frame (container frame) 47a constituting the main body portion (main portion) of the container 47 has a substantially cylindrical shape.
  • the longitudinal direction of the toner cartridge E coincides with the longitudinal direction (axial direction) of the cylindrical shape.
  • an inserted guide part (guided part, cartridge side guide part) 42 protruding outward in the longitudinal direction from the side wall 47a2 of the container frame 47a.
  • an insertion guide portion (guided portion, cartridge side guide portion) 43 protruding outward in the longitudinal direction from the side wall 47a1 of the container frame 47a is provided at the other longitudinal end portion of the container 47.
  • the container 47 has an operation unit 44 that is operated by the user.
  • the operation unit 44 is a U-shaped (U-shaped) protrusion formed integrally with the frame 47a.
  • the shape of the operation unit 44 is not limited to the U shape. Moreover, it may be integrally formed with the container frame 47a, or may be constituted by a member different from the frame 47a and attached to the frame 47a.
  • the operation unit 44 is a gripping part (grip, gripping part) for gripping when the user attaches or removes the toner cartridge E.
  • the container frame (cylindrical portion) 47a is hollow, and a second toner accommodating portion 47t for accommodating toner is formed inside thereof.
  • a second toner conveying member 46 for conveying toner is rotatably provided inside the second toner accommodating portion 47t of the container frame 47a.
  • a second drive transmission portion 48 for receiving power (rotational force, driving force) for rotationally driving the second toner transport member 46 is provided at one end in the longitudinal direction (rotation axis direction) of the second toner transport member 46. (FIG. 5A).
  • the second drive transmission unit 48 is a gear (drive input gear) to which drive force (rotational force) is input from the outside of the toner cartridge E (that is, from the developing unit D that is a receiving device).
  • the driving force is transmitted directly from the second drive transmission unit 48 to the second toner conveying member 46.
  • the driving force may be transmitted from the second drive transmission unit 48 to the second toner conveying member 46 via another drive transmission member (for example, one or a plurality of gears).
  • another drive transmission member for example, one or a plurality of gears.
  • the container frame 47a is provided with a third opening 49 on the peripheral surface thereof for discharging the toner t of the second toner storage portion 47t.
  • the third opening 49 is provided at the center in the longitudinal direction of the toner cartridge E on the outer peripheral surface of the container frame 47a.
  • the position of the third opening 49 is not limited to a specific position as long as it is a position facing the second opening 30.
  • the cross section of the second shutter 53 (the cross section perpendicular to the central axis R of the container frame 47a) has a curved shape (substantially arc shape) along the outer periphery of the container frame 47a. .
  • the container frame 47a has a curved surface (substantially cylindrical shape, substantially arc shape) at least around the third opening 49.
  • the second shutter 53 can rotate (revolve) around the container frame 47 a along the curved surface portion (arc portion) around the third opening 49. Thereby, the second shutter 53 can open and close the third opening 49.
  • the second shutter 53 has a shutter main body portion 53m (main body portion, closing portion) for closing the third opening 49. Note that the longitudinal direction of the shutter main body 53m is substantially parallel to the longitudinal direction of the toner cartridge E.
  • the second shutter 53 has an extending portion 53x extending in the longitudinal direction.
  • a restriction portion 53x1 that protrudes outward in the longitudinal direction from the side wall 47a1 of the container frame 47a is provided at an end portion in the longitudinal direction of the extending portion 53x.
  • the other end portion in the longitudinal direction of the extending portion 53x is provided with a restricting portion 53x2 that protrudes outward in the longitudinal direction from the side wall 47a2 of the container frame 47a.
  • the second shutter 53 changes from the state in which the third opening 49 is closed (FIG. 5C) to the state in which the second shutter 53 is opened (FIG. 5D).
  • the extending part 53 x and the restricting parts 51 x 1 and 51 x 2 are arranged so as to be away from the operation part 44.
  • the third opening 49 is opened from the closed state. (FIG. 5D).
  • the extending portion 53x provided in the second shutter 53 also moves in the direction of the arrow n with respect to the container frame 47a, like the second shutter 53. That is, the extending portion 53x moves away from the operation portion 44 when the second shutter 53 is opened from the state in which the third opening 49 is closed.
  • the extending portion 53x is configured integrally with the second shutter 53, but may be configured separately. Further, at least a part of the extending portion 53x may be formed of a member (such as a metal rod) having a higher strength than the portion other than the extending portion 53x.
  • the container frame 47a includes two convex portions 45 provided on the outer periphery of the cylindrical shape so as to be engageable with the hole 37a of the first shutter 37.
  • the two protrusions 45 are protrusions protruding in substantially the same direction.
  • the two convex portions 45 protrude toward the downstream side in the insertion direction in which the toner cartridge E is inserted into the developing unit D.
  • a line connecting the two convex portions 45 is substantially parallel to the longitudinal direction of the toner cartridge E.
  • the end 53c on the distal end side of the second shutter 53 means the downstream side in the direction in which the second shutter 53 moves relative to the container frame 47a (the direction of the arrow u) when closing the third opening 49. It is.
  • the end 53c on the front end side of the second shutter 53 is an end 53c in the short direction of the second shutter 53 (a direction orthogonal to the longitudinal direction of the second shutter 53).
  • the toner cartridge E is viewed along the longitudinal direction.
  • the second shutter 53 changes from the state in which the third opening 49 is closed (FIG. 5B) to the state in which the second shutter 53 is opened (FIG. 5E).
  • the two convex portions 45 are arranged on the side farther from the end portion 53 c on the front end side of the second shutter 53.
  • the two convex portions 45 are arranged outside the third opening 49. More specifically, when the two convex portions 45 and the third opening 49 are projected on a virtual line parallel to the central axis R of the container frame 47a that is the rotational axis of the second shutter 53, the projection of the two convex portions is projected. The entire projection area of the third opening 49 is located within the range between the areas.
  • Both longitudinal end portions 53n of the second shutter 53 engage with second shutter guide portions (opening / closing guides) 52 provided on both sides in the longitudinal direction of the third opening 49 in the container frame 47a.
  • the shutter main body 53m of the second shutter 53 is assembled along the second shutter guide portion 52 so as to be slidable on the outer peripheral surface of the container frame 47a in the circumferential direction.
  • the second shutter 53 opens the third opening 49 along the outer peripheral surface of the toner cartridge E (the container open position, FIG. 5E), and closes the third opening 49. It can move between positions (container closed position, FIG. 5B).
  • the shutter main body 53m may be configured to supply at least a part of the third opening 49 and supply the toner t from the toner cartridge E to the developing unit D when the second shutter 53 is in the open position.
  • the second shutter 53 when the second shutter 53 is in the closed position, it is desirable that all the third openings 49 are covered with the shutter main body 53m as shown in FIG. However, even if the third opening 49 is slightly opened, the third opening 49 is substantially closed by the shutter main body 53m, and the leakage of toner from the third opening 49 is sufficiently suppressed. If so, it is possible to adopt such a configuration. That is, when the second shutter 53 is in the closed position, the shutter main body 53m only needs to substantially close the third opening 49. (Modification of the operation unit)
  • the shape of the operation portion 44 may be protrusions formed at both longitudinal ends of the frame 47a. Moreover, as shown in FIG.13 (b), the operation part 44 does not need to be provided in the longitudinal both ends of a frame, and the protrusion provided in the longitudinal end may be sufficient.
  • the operation unit 44 is shown as an example in which the operation unit 44 is integrally formed with the frame body 47a. However, the operation unit 44 may be formed of a member different from the frame body 47a and attached to the frame body 47a.
  • the operation unit 44 is preferably disposed on the outer side in the longitudinal direction of the container frame 47a with respect to the extending part 53x (regulating parts 53x1, 53x2). [Mounting the toner cartridge to the development unit]
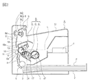
  • FIG. 1A is a side view of the developing unit D when viewed from the non-driving side when the toner cartridge E is inserted.
  • FIG. 1B is a side view of the toner cartridge E and the developing unit D viewed from the drive side, showing the positional relationship between the operation unit 44 and the abutting unit 43a with respect to the mounting direction of the toner cartridge E.
  • FIG. 6A and 6B are schematic views showing the state of the toner cartridge E and the developing unit D before the toner cartridge E is mounted (inserted).
  • FIG. 6A is a perspective view and
  • FIG. 6B is a side view. It is.
  • FIG. 7 is a side view showing a state of the toner cartridge E and the developing unit D in a state where the toner cartridge E is being mounted (inserted).
  • the toner cartridge E includes a rotated guide portion 42b.
  • the rotated guide portion 42 b guides the container frame 47 a when the toner cartridge E is rotated to open and close the first shutter 37 and the second shutter 53.
  • the container 47 can be smoothly rotated by the rotated guide portion 42b.
  • the rotated guide portion 42b is a rotation guide (toner cartridge side rotation guide) for guiding the rotation of the toner cartridge E.
  • the rotated guide portion 42b has a curved surface shape (substantially arc shape) (details will be described later).
  • the abutting portion 42a, the rotated guide portion 42b, the restricting portion 42c1, and the restricting portion 42c2 are integrally formed with the insertion guide portion 42 on the non-driving side.
  • each function satisfies each function, they may be provided as separate members.
  • the insertion guide portion 43 has an abutting portion 43a that abuts against the abutting portion 36a of the developing unit D when the toner cartridge E is inserted.
  • the insertion guide portion 43 also serves as a rotation guide portion (toner cartridge side rotation guide portion) that guides the container frame 47a when the abutting portion 43a opens and closes the first shutter 37 and the second shutter 53. It has become.
  • the inserted guide portion 43 and the abutting portion 43a may be configured by separate members. Moreover, you may provide a to-be-rotated guide part as a member different from the abutting part 43a. As described above, the portions of the toner cartridge E and the developing unit D that are not in contact with each other (non-functional portion / non-contact portion) may be appropriately omitted in consideration of strength and the like.
  • the insertion guide portion 43 is provided at the end of the second drive transmission portion 48 at the end in the longitudinal direction of the second toner transport portion 46.
  • the insertion guide portion 43 may be provided on the container frame 47a.
  • the direction along the surface of the restricting portion 42c is defined as the f direction. More specifically, it can be said that the direction in which the abutting portion 42a is on the downstream side with respect to the insertion guide portion 42 among the directions along the surface of the restricting portion 42c is the f direction. That is, the insertion direction of the toner cartridge E into the developing unit D is the f direction.
  • a plane parallel to the insertion direction f of the toner cartridge E regulated by the regulating part 42c1 and the regulating part 42c2 and passing through the abutting part 42a and the abutting part 43a (virtual surface passing through the rotation center S of the container frame 47a). Let it be surface m.
  • the operation unit 44 is installed downstream of the surface m in the opening direction (the direction of arrow e in FIG. 1 (a)) of the third opening 49 (see FIG. 5 (d)).
  • the opening direction of the third opening 49 (the direction of arrow e) is the direction in which the toner cartridge E is rotated in order to set the toner cartridge E in the developing unit D (setting direction).
  • the inserted guide portion 42, the restricting portion 53x1, and the restricting portion 53x2 are arranged along a predetermined direction (insertion direction f or removal direction). That is, the inserted guide part 42, the restricting part 53x1, and the restricting part 53x2 are arranged in the same straight line along the insertion direction f (or the removal direction). Further, the restricting portion 53x1 and the restricting portion 53x2 are disposed on the upstream side of the insertion guide portion 42 in the insertion direction f.
  • the inserted guide portion 42 alone is arranged along the predetermined direction (insertion direction f or removal direction). That is, the insertion guide portion 42 extends along the insertion direction f (or the removal direction).
  • An imaginary line (first imaginary line) extending perpendicularly to the insertion direction f of the toner cartridge E when the toner cartridge E is viewed along its longitudinal direction is defined as n.
  • the projection region 53y2 of the restricting portion 53x2 is disposed in the projection region 50 of the inserted guide portion 42. Note that it is not necessary that the entire projection region 53y2 of the restricting portion 53x2 is included in the projection region 50 of the insertion guide portion 42, and at least a part of it may be disposed.
  • the projection region 53y1 of the restriction portion 53x1 is within the projection region 51 of the insertion guide portion 43.
  • the restricting portion 53x2 and the restricting portion 53x1 can be engaged with the respective insertion guide portions 35d and 36d. (Details will be described later).
  • the extending portions 53x do not need to be arranged in a straight line in the longitudinal direction, and may have a crank shape or the like (see FIG. 14).
  • the first shutter 37 is in the closed position of the second opening 30 (not shown), and the second shutter 53 is in the third opening.
  • Part 49 (not shown) is in the closed position. That is, the second opening 30 (see FIG. 4A) of the developing unit D and the third opening 49 (see FIG. 5D) of the toner cartridge E are closed by the first shutter 37 and the second shutter 53, respectively. It is in a state.
  • the insertion guide portion 42 of the toner cartridge E has a restriction portion (a restriction surface, a posture restriction portion, an insertion direction restriction) for restricting the insertion posture / extraction posture (insertion direction / removal direction) of the toner cartridge E during insertion. Part) 42c1 and 42c2.
  • the user holds the operation unit 44 and moves the toner cartridge E with respect to the developing unit D in the insertion direction f.
  • the user moves the toner cartridge E so that the insertion guide portion 42 of the toner cartridge E and the insertion guide portion 35d of the developing unit D, and the insertion guide portion 43 and the insertion guide portion 36d engage with each other. Since the inserted guide portions 42 and 43 are guided by the insertion guide portions 35d and 36d of the developing unit D, the posture when the toner cartridge E is mounted is stabilized.
  • the inserted guide portions 42 and 43 and the insertion guide portions 35d and 36d are configured so that the insertion direction f is oblique to the gravity direction g.
  • the toner cartridge E is inserted with the regulated portion 42c1 below the gravity direction g of the insertion guide portion 42 and the surface 35d1 below the gravity direction g of the insertion guide portion 35d (see FIG. 1A). ). Similarly, the toner cartridge E is inserted with the restriction portion 42c2 on the lower side in the gravitational direction g of the insertion guide portion 42 and the surface 35d2 on the lower side in the gravitational direction g of the insertion guide portion 35d (FIG. 1B).
  • the abutting portion 42a is provided in the insertion guide portion 42 provided in the toner cartridge E as shown in FIG. It has been.
  • the abutting portion 42a abuts against the abutted portion 35a provided in the developing unit D.
  • the abutting portion 43a provided in the toner cartridge E abuts against the abutted portion 36a provided in the developing unit D as shown in FIG. Thereby, the insertion of the toner cartridge E is completed.
  • FIG. 8A to 8C are side views showing various configuration examples of the insertion guide portion 42, the abutting portion 42a, and the regulating portion 42c of the toner cartridge E, respectively.
  • the insertion guide portion 42 of the toner cartridge E is constituted by a single long round protrusion.
  • FIGS. 8A to 8C may be adopted as long as the same function can be exhibited.
  • a configuration in which an elongated round protrusion and a cylindrical protrusion are combined may be used.
  • the surface 42d of the elongated round protrusion is brought into contact (contacted) with the surface 35d1 of the insertion guide part 35d
  • the surface 42c2 of the cylindrical protrusion is brought into contact (contacted) with the surface 35d2 of the insertion guide part 35d.
  • the posture when the toner cartridge E is inserted is regulated.
  • the abutting portion 42a of the long round projection abuts against the abutted portion 35a, and the insertion of the toner cartridge E is completed.
  • the inserted guide portion may be configured by combining a plurality of cylindrical protrusions.
  • the shape of the protrusion may not be a cylindrical shape, and may be a triangular prism shape.
  • the shape is not limited as long as the insertion guide portion is arranged along the insertion direction f of the toner cartridge E and can regulate the insertion posture of the toner cartridge E.
  • there may be a single inserted guide portion.
  • the columnar protrusions 42e and 42f aligned along the insertion direction f are aligned with the surface 35d1 of the insertion guide portion 35d. Further, the surface 42c2 of the cylindrical protrusion 42 and the surface 35d2 of the insertion guide portion 35d are combined. Thereby, the attitude of the toner cartridge E is regulated. Similarly, the columnar protrusion 42f disposed on the downstream side in the insertion direction f has an abutting portion 42a, and the abutting portion 42a abuts against the abutted portion 35a. Thereby, the insertion of the toner cartridge E into the developing unit D is completed.
  • the columnar protrusions 42e and 42f aligned along the insertion direction f are respectively aligned with the surface 35d1 of the insertion guide portion 35d. Further, the columnar protrusions 42e and 42f are aligned with the surface 35d2 of the insertion guide portion 35d. Thereby, the attitude of the toner cartridge E is regulated. Further, the cylindrical protrusion 42f disposed on the downstream side in the insertion direction f has an abutting portion 42a and abuts against the abutted portion 35a, whereby the insertion of the toner cartridge E into the developing unit D is completed. .
  • the inserted guide portion 42 and the restricting portion 53x1 are each projected onto a plane n perpendicular to the insertion direction f.
  • the projection region 53y2 of the restricting portion 53x2 is disposed in the projection region 50 of the insertion guide portion 42.
  • FIG. 10A is a side view of the insertion guide portion 42 of the toner cartridge E and the frame 35 of the developing unit D in a state where the abutting portion 42a and the abutted portion 35a abut.
  • FIG. 10B is a cross-sectional view of the toner cartridge E and the developing unit D in a state where the abutting portion 42a and the abutted portion 35a abut against each other.
  • FIG. 11A is a side view of the insertion guide portion 42 of the toner cartridge E and the frame 35 of the developing unit D in a state where the toner cartridge E is positioned with respect to the developing unit D.
  • FIG. 11B is a cross-sectional view showing the engagement relationship between the positioned toner cartridge E and the developing unit D. More specifically, FIG. 11B is a cross-sectional view of the toner cartridge E and the developing unit D cut at the position of the second shutter 53.
  • FIG. 10A shows a state after the toner cartridge E is completely inserted into the developing unit D.
  • the container 47 is rotated around the rotation axis S of the toner cartridge E in the direction of arrow e.
  • the abutting portion 42a and the rotated guide 42b are engaged with the rotating guide 35b, respectively.
  • the toner cartridge E is positioned relative to the developing unit D.
  • the rotated guide portion 42 b is guided by the rotation guide 35 b provided in the developing unit D. Thereby, the container 47 can rotate smoothly.
  • the first shutter 37 of the developing unit D and the second shutter 53 of the toner cartridge E are the second opening 30 and the third opening 49, respectively. Is released (moves to the open position). Conversely, in the process of removing the toner cartridge E from the developing unit D, the first shutter 37 and the second shutter 53 close the second opening 30 and the third opening 49, respectively (move to the closed position).
  • the toner cartridge E is mounted on the developing unit D by at least a mounting operation involving a rotation operation. Specifically, the toner cartridge E is linearly inserted into the developing unit D, and then rotated with respect to the developing unit D. The first shutter 37 and the second shutter 53 are moved from the closed position to the open position in conjunction with the rotation operation when the toner cartridge E is mounted.
  • the toner cartridge E is removed from the developing unit D by at least a removal operation involving a rotation operation. Specifically, after the toner cartridge E rotates with respect to the developing unit D, it is pulled out from the developing unit D almost linearly and removed.
  • the first shutter 37 and the second shutter 53 are moved from the open position to the closed position in accordance with the rotation operation when the toner cartridge E is removed. (Shutter opening operation)
  • FIGS. 1A, 10B, 11A, 11B, 12A, and 12B the first shutter 37 of the developing unit D and the toner
  • the opening operation of the second shutter 53 of the cartridge E will be described.
  • 12A is a side view of the insertion guide portion 42 of the toner cartridge E and the frame body 35 of the developing unit D in a state where the second opening 30 and the third opening 49 are opened.
  • FIG. 12B is a cross-sectional view of the toner cartridge E and the developing unit D in a state where the second opening 30 and the third opening 49 are opened.
  • the relative positions of the second opening 30 and the third opening 49 can be different.
  • it is configured such that at least two positions (two states) can be taken by rotating the toner cartridge E with the toner cartridge E attached to the developing unit D.
  • the first position of the toner cartridge E is a non-communication position where the second opening 30 and the third opening 49 do not overlap, and the first toner storage unit 28 and the second toner storage unit 47t are in a non-communication state. Yes (FIG. 10B). In this state, the first shutter 37 is in a closed position that closes the second opening 30.
  • the second position of the toner cartridge E is a communication position where the second opening 30 and the third opening 49 overlap, and the first toner storage portion 28 and the second toner storage portion 47t are in a communication state ( FIG. 12 (b)).
  • the first shutter 37 is in an open position where the second opening 30 is opened.
  • the convex portion 45 of the container frame 47a and the hole portion 37a of the first shutter 37 are engaged. That is, the insertion posture of the toner cartridge E is restricted so that the insertion guide portion 42 is guided by the insertion guide portion 35d, so that the convex portion 45 can be inserted into the hole portion 37a.
  • the restricting portion 53x2 provided at one end in the longitudinal direction of the extending portion 53x enters the insertion guide portion 35d.
  • at least a part of the restriction portion 53x1 provided at the other longitudinal end of the extending portion 53x enters the insertion guide portion 36d. That is, when the toner cartridge E is inserted into the developing unit D, the restricting portion 53x2 and the restricting portion 53x1 are engaged with the insertion guide portion 35d and the insertion guide portion 36d, respectively.
  • the container frame 47a is rotated in the direction of arrow e by the operation of the operation unit 44 by the user.
  • the engaged state between the inserted guide portion 42 and the frame 35 is overlapped with the second opening 30 and the third opening 49 shown in FIG. 12A through the state shown in FIG. It becomes a state (not shown).
  • the rotation axis S of the toner cartridge E (container frame 47a) is substantially parallel to the longitudinal direction of the toner cartridge E.
  • FIG. 1A is a side view of the state when the toner cartridge E is inserted into a predetermined position of the developing unit D, as viewed from the drive side and the longitudinally opposite direction.
  • the restricting portion 53x2 is in a position where it abuts on the surface 35d2 when the toner cartridge E continues to rotate around the rotation axis S in the direction of arrow e.
  • the restricting portion 53x2 provided at one end in the longitudinal direction of the extending portion 53x abuts against the surface 35d2 of the insertion guide portion 35d. .
  • the restricting portion 53x2 receives the reaction force F1 from the surface 35d2. For this reason, as shown in FIG. 11A, even if the container frame 47a rotates in the direction of arrow e, the restricting portion 53x2 continues to receive the force F1 from the surface 35d2. Therefore, the extending portion 53x does not rotate in the arrow e direction together with the container frame 47a.
  • the toner cartridge E is inserted into a predetermined position of the developing unit D.
  • the extending portion 53x does not rotate in the direction of the arrow e together with the container frame 47a if the restricting portion 53x2 is in a position where the toner cartridge E continues to rotate around the rotation axis S in the direction of the arrow e. .
  • FIG. 1B is a side sectional view of the state when the toner cartridge E is inserted into a predetermined position of the developing unit D as viewed from the longitudinal direction opposite to the driving side.
  • the restricting portion 53x1 is in a position where it abuts on the surface 36d2 when the toner cartridge E continues to rotate around the rotation axis S in the direction of arrow e.
  • the restricting portion 53x1 of the extending portion 53x abuts against the surface 36d2 of the insertion guide portion 36d as shown in FIG.
  • the restricting portion 53x1 receives the reaction force F2 from the surface 36d2. For this reason, as shown in FIG.
  • the insertion guides 35d and 36d regulate the rotation of the extending portion 53x together with the container frame 47a in the direction of the arrow e. That is, the second shutter 53 is restricted from rotating together with the container frame 47a in the direction of the arrow e. From this state, the container frame 47a is further rotated in the direction in which the toner cartridge E is attached to the developing unit D (direction of arrow e). Then, the container frame 47a moves in a direction (opening direction) in which the third opening 49 for supplying toner to the developing unit is opened.
  • the second shutter moves relative to the container frame 47a in the direction in which the third opening 49 is opened.
  • the force F1 received by the restricting portion 53x2 and the force F2 received by the restricting portion 53x2 are forces for moving the second shutter 53 from the closed position to the open position.
  • the first toner storage portion 28 and the second toner storage portion 47 communicate with each other via the third opening 49 and the second opening 30. Become. Thereby, the opening operation of the second opening 30 and the third opening 49 is completed.
  • the second drive transmission portion 48 of the toner cartridge E is connected to the drive transmission portion 38 (see FIG. 4A) of the developing unit D.
  • the driving force for rotating the second toner conveying member 46 can be transmitted from the developing unit D.
  • the toner t can be distributed (supplied) from the second toner container 47t of the toner cartridge E to the first toner container 28 of the developing unit D.
  • the drive transmission unit 38 that transmits the drive to the second drive transmission unit 48 of the toner cartridge E is provided on the developing unit D side.
  • a drive transmission unit 38 that meshes with the second drive transmission unit 48 may be provided on the toner cartridge E side.
  • FIG. 15 is a side view seen from the drive side in the case where the drive transmission portion 38 that meshes with the second drive transmission portion 48 is provided on the toner cartridge E side.
  • FIG. 15A shows a state in which the third opening 49 (not shown) is closed by the second shutter 52.
  • FIG. 15B shows a state in which the third opening 49 (not shown) is released.
  • the toner cartridge E has two gears (38, 48).
  • the drive transmission unit 38 is a drive input gear that receives a driving force from the developing unit D.
  • the second drive transmission unit 48 is a transmission gear (second gear) that transmits the driving force received by the drive transmission unit 38 to the second toner conveying member 46.
  • the second drive transmission unit 48 is arranged coaxially with the second toner conveyance member 46.
  • the restricting portion 53x1 and restricting portion 53x2 are driven input gears (drive transmitting portion 38). It is comprised so that it may approach the axis line.
  • meshing between the gears is referred to as meshing, and even when a belt or the like provided with a protrusion is engaged, it is regarded as meshing. (Switching from toner cartridge insertion operation to shutter release operation)
  • FIG. 9A is a side view showing the relationship of forces acting on the toner cartridge E when the insertion into the developing unit D is completed.
  • FIG. 9B is a side view showing a force relationship acting on the toner cartridge E in another configuration example of the abutting portion 42a.
  • the inserted guide 35d is viewed in a watermarked state.
  • the toner cartridge E is inserted into the developing unit D by a user operation, and the abutting portion 42a and the abutted portion 35a abut against each other.
  • force F1 and force F2 act on the toner cartridge E.
  • a force F1 applied when the user inserts the toner cartridge E acts on the operation portion 44, and an equivalent force F2 acts on the abutting portion 42a of the insertion guide portion 42 as a reaction.
  • a plane (virtual plane) m parallel to the mounting direction of the toner cartridge E passing through the rotation axis (the rotation center of the second shutter member 53) S of the toner cartridge E is considered.
  • the length of the arm from the surface m to the operation unit 44 is r1
  • the length of the arm from the rotation axis (rotation center) S to the abutting portion 42a is r2.
  • the rotation direction of the toner cartridge E (container frame 47a) when opening the second opening 30 and the third opening 49 is such that the toner cartridge E is placed in the container frame 47a.
  • the direction of the counterclockwise arrow e is obtained.
  • the operation unit 44 is provided on the downstream side in the rotational direction e with respect to the surface m when the opening direction (arrow e direction) of the second opening 30 and the third opening 49 is positive.
  • F3 ⁇ r3 is a moment in the opening direction e of the second opening 30 and the third opening 49. Therefore, the moment M is increased, and the container frame 47a is easily rotated in the opening direction e. In addition, even if the positional relationship between the abutting portion 42a and the operation portion 44 described above is applied to the relationship between the abutting portion 43a and the operation portion 44, the same effect can be obtained. (Shutter closing operation)
  • the closing operation of the first shutter 37 of the developing unit D and the second shutter 53 of the toner cartridge E will be described with reference to FIGS. 10 (a), 10 (b), 11 (b), and 12 (b). To do.
  • the closing operation of the first shutter 37 and the second shutter 53 is performed by the operation opposite to the opening operation described above.
  • the closing direction of the first shutter 37 and the second shutter 53 is the clockwise direction of the container frame 47a when viewed from the opposite side to the installation side of the second drive transmission portion 48 (see the arrow h in FIG. 12 (b)). Direction).
  • the user operates the operation unit 44 to rotate the container frame 47a in the closing direction (arrow h direction / closing direction).
  • the surface 45b of the convex portion 45 of the container frame 47a hits the surface 37a2 of the hole 37a of the first shutter 37, and a force F6 is applied from the surface 45b to the surface 37a2.
  • the surface 37a2 of the first shutter 37 receives a force in the direction of the arrow h from the surface 45b and rotates in conjunction with the rotation operation of the container 47.
  • the first shutter 37 moves to a closed position that closes the second opening 30.
  • the surface 45b of the convex portion 45 is a closing force applying portion that applies a force to the first shutter 37 and moves the first shutter 37 to the closed position.
  • the user operates the operation unit 44 to rotate the container frame 47a in the closing direction (arrow h direction / closing direction).
  • the restricting portion 53x2 is in a position where it abuts on the surface 35d1 when the toner cartridge E continues to rotate around the rotation axis S in the direction of the arrow h (FIG. 12A).
  • the restricting portion 53x1 is in a position where it abuts on the surface 35d1 when the toner cartridge E continues to rotate around the rotation axis S in the direction of the arrow h.
  • the restricting portion 53x1 of the extending portion 53x hits the surface 36d1 of the insertion guide portion 36d. Thereby, the restricting portion 53x1 receives the force F4 in the arrow Y direction from the surface 36d1. Therefore, as shown in FIG. 10B, even if the container frame 47a rotates in the direction of the arrow h, the restricting portion 53x1 continues to receive the reaction force F4 from the surface 36d2. Therefore, the extending portion 53x does not rotate in the arrow h direction together with the container frame 47a.
  • the insertion guides 35d and 36d regulate the rotation of the extending portion 53x in the direction of the arrow h together with the container frame 47a. That is, the second shutter 53 is restricted from rotating together with the container frame 47a in the arrow h direction.
  • the second shutter 53 and the container frame 47a can be moved relative to each other. Therefore, the second shutter 53 moves relative to the container frame 47 a and moves to a closed position that closes the third opening 49.
  • the force F3 received by the restricting portion 53x2 and the force F4 received by the restricting portion 53x1 are forces for moving the second shutter 53 from the open position to the closed position.
  • the toner cartridge E can be removed from the developing unit D as shown in FIGS. 10 (a) and 10 (b). .
  • the second opening 30 and the third opening 49 are closed by the first shutter 37 and the second shutter 53, respectively.
  • the operation unit 44 passes through the rotation center and is inserted along the direction of the rotation axis of the container frame 47a. It is located on the downstream side in the rotation direction of the container frame 47a with respect to the virtual plane m extending in the direction f. At this position, the operation unit 44 is configured to receive a force for rotating the container frame 47a by a user operation. This position is a position where a moment that acts to rotate the container frame 47a with respect to the developing unit D is generated when the operation unit 44 receives a force acting in the insertion direction f.
  • the toner cartridge E has a force (FIG. 9, arrow R) acting on the operation unit 44 when the container frame 47a is rotated at this position in the insertion direction f.
  • a component force (FIG. 9, arrow Rf) is included.
  • the user grasps the operation unit (grip unit) 44 and inserts the toner cartridge E to the mounting position of the developing unit D, and then, from a series of mounting operations for rotating the container frame 47a, from the insertion operation to the rotation operation.
  • the power conversion is smooth. Therefore, the user can intuitively operate the insertion of the toner cartridge E into the developing unit D and the opening operation of the first shutter 37 and the second shutter 53, and the operability can be greatly improved.
  • the operation unit (grip unit) 44 abuts. It is arranged at a position farther from the rotation center (rotation axis) than the portion 42a. In this state, the operation unit 44 is configured to receive a force from the user.
  • the container frame 47a is rotated, the container frame 47a is rotated with a small force by the lever principle against the sliding resistance between the abutting portion 42a, the abutted portion 35a, and the rotation guide 35b. Can do. The same applies to the sliding resistance between the abutting portion 43a, the abutted portion 36a, and the rotation guide 36b.
  • FIG. 19 is an explanatory diagram for explaining the arrangement of the operation unit, and shows a state in which the toner cartridge E is viewed along the longitudinal direction of the toner cartridge E.
  • FIG. 19 is an explanatory diagram for explaining the arrangement of the operation unit, and shows a state in which the toner cartridge E is viewed along the longitudinal direction of the toner cartridge E.
  • FIG. 19 shows a state where the second shutter 53 closes the third opening 49.
  • the operation unit 44 is disposed between the tip 53c of the second shutter 53 and the extending portion 53x. More specifically, in the direction of arrow u, the operation unit 44 is upstream of the tip of the second shutter 53 (downstream end in the direction of arrow b) 53c. And the operation part 44 is arrange
  • the extension unit 53x and the regulation units 53x1 and 53x2 do not hinder the movement of the operation unit.
  • the extension unit 53x (regulation unit 53x1, 53x2) disposed on the upstream side of the operation unit 44 in the arrow u direction. Hardly affects the movement of the operation unit 44.
  • the arrow u direction is a direction in which the container 47 and the operation unit 44 move relative to the second shutter 53 when the second shutter 53 opens the toner discharge port (third opening 49). At this time, the second shutter 53 moves relative to the container 47 and the operation unit 44 in the direction of the arrow n opposite to the arrow u.
  • the arrow n direction is the moving direction of the second shutter 53 when the discharge port is released (the opening direction of the opening / closing member).
  • the direction of arrow n indicates the direction in which the container 47 and the operation unit 44 move relative to the second shutter 53 when the second shutter 53 closes the discharge port (third opening 49) (the container when the discharge port is closed). 47 moving direction). At this time, the second shutter 53 moves in the arrow u direction with respect to the container 47 and the operation unit 44. That is, the arrow u direction is also the moving direction of the shutter 53 when the discharge port is closed (the closing direction of the opening / closing member).
  • the operation unit 44 is upstream of the downstream end of the second shutter 53 in the closing direction (arrow u direction) in which the second shutter 53 moves relative to the container 47 to close the third opening 49. , Located on the downstream side of the extending portion 53x (regulating portions 53x1, 53x2).
  • the restriction portions (53 ⁇ 1, 53 ⁇ 2) and the operation portion 44 occupy an area of the angle ⁇ 1.
  • the angle ⁇ 1 is 50 degrees or less. That is, with the center of the container 47 as a reference, the whole of the restricting portions (53x1, 53x2) and the whole of the operating portion 44 are included in an area within an angle of 50 degrees. It is desirable that at least a part of the restriction part (53x1, 53x2) and a part of the operation part 44 are included in a region having an angle of 50 degrees. By doing so, the toner cartridge E can be kept small.
  • the center R of the container 47 based on the angle ⁇ 1 is the rotation axis of the container 47. That is, the center R of the rotation of the container 47 when the second shutter 53 is opened and closed is a reference for the angle ⁇ 1.
  • the frame of the container 47 has a substantially cylindrical shape.
  • the center R of the cylindrical shape is a reference for the angle ⁇ 1. (Regarding the modification of the restriction part)
  • the restricting portion 53x1 and the restricting portion 53x2 provided in the extending portion 53x are configured to have a circular cross-sectional shape viewed from the longitudinal direction.
  • the cross-sectional shape is not limited to a circular shape as long as the above-described arrangement conditions are satisfied.
  • FIGS. 16A, 16B, and 16C are side views of the toner cartridge E viewed from the opposite side in the longitudinal direction when the toner cartridge E is inserted into a predetermined position of the developing unit D.
  • FIG. there is no intention to limit the shape, number, and arrangement of the protrusions to the illustrated configuration. Further, the shape and the like are not limited to the restricting portion 53x2, but may be adopted for the restricting portion 53x1.
  • the restricting portion 53x2 is in a position where it abuts on the surface 35d2 when the toner cartridge E continues to rotate around the rotation axis S in the direction of arrow e. More specifically, the surface 53x2a on the downstream side in the arrow e direction of the restricting portion 53x2 is in a position where it abuts on the surface 35d2 when the toner cartridge E continues to rotate around the rotation axis S in the arrow e direction. For this reason, when the toner cartridge E continues to rotate in the direction of arrow e, the surface 53x2a continues to receive the force F1 from the surface 35d2. Therefore, the extending portion 53x does not rotate in the direction of the arrow e together with the container frame 47a (not shown).
  • the restricting portion 53x2 is in a position where it abuts on the surface 35d1 when the toner cartridge E continues to rotate around the rotation axis S in the direction of the arrow h. More specifically, the surface 53x2b on the downstream side in the arrow h direction of the restricting portion 53x2 is in a position where it abuts on the surface 35d1 when the toner cartridge E continues to rotate around the rotation axis S in the arrow h direction. Therefore, when the toner cartridge E continues to rotate in the direction of the arrow h, the surface 53x2b continues to receive the force F3 from the surface 35d2. Therefore, the extending portion 53x does not rotate in the arrow h direction together with the container frame 47a (not shown).
  • the cross-sectional shape provided at the end of the extending portion 53x may not be a circle or a square.
  • the restricting portion 53x2 is a portion indicated by a surface 53x2c, a surface 53x2d, and a surface 53x2e. At this time, when each of the insertion guide portion 42 and the restriction portion 53x2 is projected onto a line n perpendicular to the insertion direction f, the projection region 53y2 of the restriction portion 53x2 is disposed within the projection region 50 of the insertion guide portion 42. .
  • the surface 53x2c of the restricting portion 53x2 is in a position where it abuts on the surface 35d2 when the toner cartridge E continues to rotate around the rotation axis S in the direction of arrow e. More specifically, the surface 53x2c on the downstream side in the arrow e direction of the restricting portion 53x2 is in a position where it abuts on the surface 35d2 when the toner cartridge E continues to rotate around the rotation axis S in the arrow e direction.
  • the restricting portion 53x2 is in a position where it abuts on the surface 35d1 when the toner cartridge E continues to rotate around the rotation axis S in the direction of the arrow h. More specifically, the surface 53x2d on the downstream side in the arrow h direction of the restricting portion 53x2 is in a position where it abuts on the surface 35d1 when the toner cartridge E continues to rotate around the rotation axis S in the arrow h direction. Therefore, when the toner cartridge E continues to rotate in the direction of the arrow h, the surface 53x2d continues to receive the force F3 from the surface 35d2. Therefore, the extending portion 53x does not rotate in the arrow h direction together with the container frame 47a (not shown).
  • the restricting portion 53x2 may be provided by a plurality of members.
  • the restricting portion 53x2 is a portion indicated by the protrusion 53x2f and the protrusion 53x2g.
  • the projection region 53y2 of the restriction portion 53x2 is disposed within the projection region 50 of the insertion guide portion 42.
  • the protrusion 53x2f of the restricting portion 53x2 is in a position where it abuts on the surface 35d2 when the toner cartridge E continues to rotate around the rotation axis S in the direction of arrow e. Therefore, when the toner cartridge E continues to rotate in the direction of the arrow e, the protrusion 53x2f continues to receive the force F1 from the surface 35d2. Therefore, the extending portion 53x does not rotate in the direction of the arrow e together with the container frame 47a (not shown).
  • the protrusion 53x2g of the restricting portion 53x2 is in a position where it abuts on the surface 35d1 when the toner cartridge E continues to rotate around the rotation axis S in the direction of the arrow h. Therefore, when the toner cartridge E continues to rotate in the direction of the arrow h, the protrusion 53x2g continues to receive the force F3 from the surface 35d2. Therefore, the extending portion 53x does not rotate in the arrow h direction together with the container frame 47a (not shown). (Modification of development unit D)
  • FIG. 17 is a perspective view showing the periphery of the first shutter 37 of the developing unit D.
  • FIG. 17A shows a state in which the first shutter 37 is open
  • FIG. 17B shows a state in which the first shutter 37 is closed.
  • FIG. 18 is a cross-sectional view of the toner cartridge E and the developing unit D. 18A shows a process in which the toner cartridge E is inserted into the developing unit D
  • FIG. 18B shows a state in which the insertion of the toner cartridge E is completed.
  • FIG. 18C is an enlarged view of a part of FIG.
  • the developing unit D is provided with a lock arm (receiving device side lock member) 61 in order to prevent the first shutter 37 from unintentionally opening.
  • a lock arm receiving device side lock member
  • two lock arms 61 are provided in the developing unit D, and each lock arm 61 has a claw portion (engagement portion, projection portion, lock portion) 61a at the tip thereof.
  • the lock arm 61 can be elastically deformed.
  • the claw portion 61 a of the lock arm 61 is located at the same position as the hole portion 37 a of the first shutter 37 in the longitudinal direction of the developing unit D.
  • the claw portion 61a In a state where the first shutter 37 closes the second opening 30, the claw portion 61a enters the hole 37a and engages with the hole 37a. Thereby, the claw portion 61a locks the movement of the first shutter 37 and suppresses the first shutter 37 from opening unintentionally.
  • the two convex portions 45 provided on the toner cartridge E come into contact with the corresponding claw portions 61a.
  • the lock arm 61 is elastically deformed, whereby the claw portion 61a is retracted from the hole portion 37a and the lock of the first shutter 37 is released. That is, the first shutter 37 can move.
  • the claw portion 61a enters the hole portion 37a and locks the first shutter 37 in conjunction with the operation of the convex portion 45 retracting from the hole portion 37a ( FIG. 18 (a)).
  • the convex portion 45 of the toner cartridge E functions as a release protrusion for releasing the lock by the lock arm 61.
  • the second shutter 53 is configured to be rotatable around the container 47 (container frame 47a).
  • the second shutter 53 can be opened and closed by an operation (rotation operation) in which the toner cartridge E rotates with respect to the developing unit D (receiving device).
  • the center of the toner cartridge E (rotation axis S) hardly moves with respect to the developing unit D just by changing the posture of the toner cartridge E. That is, the area occupied by the toner cartridge E in the developing unit D during the opening / closing operation of the second shutter 53 hardly changes. As a result, it is not necessary to provide a large space in the developing unit D for opening and closing the second shutter 53. That is, by adopting the toner cartridge E as in this embodiment, it is possible to reduce the size of the receiving device (developing unit D) that receives the toner cartridge E and the image forming apparatus provided with the receiving device.
  • a toner cartridge and a toner supply mechanism for forming an electrophotographic image are provided. [Explanation of symbols]

Landscapes

  • Physics & Mathematics (AREA)
  • General Physics & Mathematics (AREA)
  • Dry Development In Electrophotography (AREA)
  • Electrophotography Configuration And Component (AREA)
PCT/JP2017/036050 2016-09-30 2017-09-27 トナー力ートリッジおよびトナー供給機構 Ceased WO2018062571A1 (ja)

Priority Applications (20)

Application Number Priority Date Filing Date Title
EP17856518.0A EP3521938A4 (en) 2016-09-30 2017-09-27 TONER CARTRIDGE AND TONER FEEDING MECHANISM
MYPI2019001722A MY197113A (en) 2016-09-30 2017-09-27 Toner cartridge and toner supplying mechanism
CN202111118640.9A CN113759684B (zh) 2016-09-30 2017-09-27 调色剂盒和调色剂供应机构
KR1020197012319A KR102217074B1 (ko) 2016-09-30 2017-09-27 토너 카트리지 및 토너 공급 기구
DE112017004984.9T DE112017004984T5 (de) 2016-09-30 2017-09-27 Tonerkartusche und Tonerliefermechanismus
MX2019003124A MX2019003124A (es) 2016-09-30 2017-09-27 Cartucho de toner y mecanismo de suministro de toner.
GB1906069.8A GB2569930A (en) 2016-09-30 2017-09-27 Toner cartridge and toner supply mechanism
CA3038787A CA3038787C (en) 2016-09-30 2017-09-27 Toner cartridge and toner supplying mechanism
KR1020217004047A KR102316346B1 (ko) 2016-09-30 2017-09-27 토너 카트리지 및 토너 공급 기구
RU2019112737A RU2741483C2 (ru) 2016-09-30 2017-09-27 Картридж с тонером и механизм подачи тонера
AU2017337463A AU2017337463B2 (en) 2016-09-30 2017-09-27 Toner cartridge and toner supply mechanism
SG11201901982UA SG11201901982UA (en) 2016-09-30 2017-09-27 Toner cartridge and toner supplying mechanism
CN201780059131.9A CN109804318B (zh) 2016-09-30 2017-09-27 调色剂盒和调色剂供应机构
BR112019004676-3A BR112019004676B1 (pt) 2016-09-30 2017-09-27 Cartucho de toner e mecanismo de fornecimento de toner
CONC2019/0002489A CO2019002489A2 (es) 2016-09-30 2019-03-15 Cartucho de tóner y mecanismo de suministro de tóner
US16/366,023 US10747144B2 (en) 2016-09-30 2019-03-27 Toner cartridge and toner supplying mechanism
PH12019500699A PH12019500699A1 (en) 2016-09-30 2019-03-29 Toner cartridge and toner supply mechanism
US16/816,655 US11506993B2 (en) 2016-09-30 2020-03-12 Toner cartridge and toner supplying mechanism
AU2020203966A AU2020203966B2 (en) 2016-09-30 2020-06-15 Toner cartridge and toner supply mechanism
US17/211,912 US11366409B2 (en) 2016-09-30 2021-03-25 Toner cartridge and toner supplying mechanism

Applications Claiming Priority (2)

Application Number Priority Date Filing Date Title
JP2016192719 2016-09-30
JP2016-192719 2016-09-30

Related Child Applications (1)

Application Number Title Priority Date Filing Date
US16/366,023 Continuation US10747144B2 (en) 2016-09-30 2019-03-27 Toner cartridge and toner supplying mechanism

Publications (1)

Publication Number Publication Date
WO2018062571A1 true WO2018062571A1 (ja) 2018-04-05

Family

ID=61760474

Family Applications (1)

Application Number Title Priority Date Filing Date
PCT/JP2017/036050 Ceased WO2018062571A1 (ja) 2016-09-30 2017-09-27 トナー力ートリッジおよびトナー供給機構

Country Status (20)

Country Link
US (3) US10747144B2 (enExample)
EP (1) EP3521938A4 (enExample)
JP (1) JP7016657B2 (enExample)
KR (2) KR102316346B1 (enExample)
CN (2) CN109804318B (enExample)
AU (2) AU2017337463B2 (enExample)
BR (1) BR112019004676B1 (enExample)
CA (2) CA3038787C (enExample)
CL (1) CL2019000723A1 (enExample)
CO (1) CO2019002489A2 (enExample)
DE (1) DE112017004984T5 (enExample)
GB (1) GB2569930A (enExample)
MA (1) MA46364A (enExample)
MX (2) MX2019003124A (enExample)
MY (1) MY197113A (enExample)
PH (1) PH12019500699A1 (enExample)
RU (2) RU2752560C2 (enExample)
SG (1) SG11201901982UA (enExample)
TW (3) TWI722463B (enExample)
WO (1) WO2018062571A1 (enExample)

Cited By (1)

* Cited by examiner, † Cited by third party
Publication number Priority date Publication date Assignee Title
EP3660590A1 (en) * 2018-11-27 2020-06-03 Ricoh Company, Ltd. Powder container, process cartridge, and image forming apparatus

Families Citing this family (7)

* Cited by examiner, † Cited by third party
Publication number Priority date Publication date Assignee Title
MY201943A (en) 2016-09-30 2024-03-25 Canon Kk Toner cartridge and toner supplying mechanism
JP7172355B2 (ja) * 2018-09-25 2022-11-16 富士フイルムビジネスイノベーション株式会社 カートリッジ支持ユニットおよび画像形成装置
US11392058B2 (en) * 2019-05-28 2022-07-19 Hewlett-Packard Development Company, L.P. Toner refilling portion of development cartridge to provide feedback indicating inlet shutter position
JP2021117473A (ja) * 2020-01-29 2021-08-10 ブラザー工業株式会社 プロセスカートリッジおよび画像形成装置
US11474449B2 (en) * 2020-06-12 2022-10-18 Canon Kabushiki Kaisha Image forming apparatus having dual operation
US12222674B2 (en) 2022-06-24 2025-02-11 Canon Kabushiki Kaisha Cartridge, toner cartridge, and image forming apparatus
JP2024002834A (ja) 2022-06-24 2024-01-11 キヤノン株式会社 トナーカートリッジ

Citations (5)

* Cited by examiner, † Cited by third party
Publication number Priority date Publication date Assignee Title
JPH07199623A (ja) 1993-12-28 1995-08-04 Canon Inc トナーカートリッジ及び現像剤補給方法及び現像装置
US20040052559A1 (en) * 2002-09-13 2004-03-18 Samsung Electronics Co., Ltd. Apparatus for discharging waste toner
JP2008224962A (ja) * 2007-03-12 2008-09-25 Brother Ind Ltd 現像剤カートリッジ
JP2009175759A (ja) * 2005-03-04 2009-08-06 Canon Inc 現像剤補給容器及び現像剤補給機構
JP2017182006A (ja) * 2016-03-31 2017-10-05 ブラザー工業株式会社 トナーカートリッジ

Family Cites Families (63)

* Cited by examiner, † Cited by third party
Publication number Priority date Publication date Assignee Title
US5471284A (en) 1990-01-19 1995-11-28 Canon Kabushiki Kaisha Image forming apparatus having toner depletion detection feature
JPH04110870A (ja) 1990-08-31 1992-04-13 Canon Inc カラー画像形成装置
US5235383A (en) 1990-08-31 1993-08-10 Canon Kabushiki Kaisha Process cartridge and image forming apparatus using same
US5442421A (en) 1990-10-01 1995-08-15 Canon Kabushiki Kaisha Process cartridge and image forming apparatus using the same
US5521693A (en) 1991-05-14 1996-05-28 Canon Kabushiki Kaisha Image forming apparatus and process cartridge detachably mountable to same
US5249026A (en) 1991-05-17 1993-09-28 Canon Kabushiki Kaisha Image forming system and process cartridge mountable on same
JP3119682B2 (ja) 1991-08-01 2000-12-25 株式会社リコー トナーカートリッジ
DE69432837T2 (de) 1993-02-24 2004-05-19 Canon K.K. Entwicklungseinheit mit einem Unterstützungselement zur drehbaren Halterung einer Entwicklungsvorrichtung, und Entwicklungsgerät
JP3774488B2 (ja) 1995-04-28 2006-05-17 キヤノン株式会社 プロセスカートリッジ及び画像形成装置
JP3869901B2 (ja) 1996-03-05 2007-01-17 キヤノン株式会社 現像カートリッジ及び電子写真画像形成装置
US6072969A (en) 1996-03-05 2000-06-06 Canon Kabushiki Kaisha Developing cartridge
US5950049A (en) 1996-03-05 1999-09-07 Canon Kabushiki Kaisha Developing cartridge
JP3311250B2 (ja) 1996-07-31 2002-08-05 キヤノン株式会社 プロセスカートリッジ及び画像形成装置
JP3869913B2 (ja) 1996-09-30 2007-01-17 キヤノン株式会社 電子写真画像形成装置に用いられる円筒部材及びプロセスカートリッジ
JP3689552B2 (ja) 1997-04-07 2005-08-31 キヤノン株式会社 トナーフレーム、プロセスカートリッジ、及び、電子写真画像形成装置
JP3408166B2 (ja) * 1997-09-30 2003-05-19 キヤノン株式会社 トナー供給容器及び電子写真画像形成装置
JPH11265135A (ja) 1998-03-16 1999-09-28 Canon Inc クリーニング装置、プロセスカートリッジ、電子写真画像形成装置
US6157792A (en) 1998-03-31 2000-12-05 Canon Kabushiki Kaisha Electrophotographic apparatus having plural image forming modes, and a process cartridge applied to such electrophotographic apparatus
JP2000075764A (ja) 1998-08-26 2000-03-14 Canon Inc プロセスカートリッジ及び画像形成装置
JP2000075733A (ja) 1998-08-31 2000-03-14 Canon Inc 電子写真感光体ドラム取り付け方法、及び、電子写真感光体ドラム交換方法、及び、プロセスカートリッジ
JP3893222B2 (ja) 1998-08-31 2007-03-14 キヤノン株式会社 シャッターピン及び現像カートリッジ
JP3554200B2 (ja) 1998-08-31 2004-08-18 キヤノン株式会社 プロセスカートリッジ及び画像形成装置及びクリーニング部材取り付け方法
US6400916B1 (en) 1998-11-30 2002-06-04 Canon Kabushiki Kaisha Process cartridge and electrophotographic apparatus
JP2000194248A (ja) 1998-12-28 2000-07-14 Canon Inc プロセスカ―トリッジ及び帯電ユニット及び現像ユニット
JP3768706B2 (ja) 1998-12-28 2006-04-19 キヤノン株式会社 電子写真画像形成装置
JP3679645B2 (ja) 1999-03-29 2005-08-03 キヤノン株式会社 プロセスカートリッジ
JP4458642B2 (ja) 1999-08-31 2010-04-28 キヤノン株式会社 画像形成装置
JP3478797B2 (ja) 1999-12-28 2003-12-15 キヤノン株式会社 プロセスカートリッジ及び電子写真画像形成装置
JP4250294B2 (ja) 2000-02-16 2009-04-08 キヤノン株式会社 カラー電子写真画像形成装置及びプロセスカートリッジ
JP4672875B2 (ja) * 2001-01-25 2011-04-20 キヤノン株式会社 現像装置及び画像形成装置
EP1184741B1 (en) 2000-09-01 2010-07-28 Canon Kabushiki Kaisha Cartridge having developer supply opening and image forming apparatus usable therewith
JP4652783B2 (ja) 2003-12-10 2011-03-16 キヤノン株式会社 現像剤供給容器
JP4636853B2 (ja) 2004-11-12 2011-02-23 キヤノン株式会社 現像剤供給容器および画像形成装置
CN100594443C (zh) * 2005-03-04 2010-03-17 佳能株式会社 显影剂供给容器和显影剂接收装置
US8190068B2 (en) 2005-03-04 2012-05-29 Canon Kabushiki Kaisha Developer supply container with mounting attitude regulation and drive receiving member rotation suppression features
ES2605527T3 (es) 2005-04-27 2017-03-14 Ricoh Company, Ltd. Recipiente de tóner y aparato de formación de imagen
JP2006323082A (ja) * 2005-05-18 2006-11-30 Canon Inc 現像剤補給容器
JP5056032B2 (ja) * 2007-01-30 2012-10-24 ブラザー工業株式会社 現像装置およびトナーカートリッジ
KR100927141B1 (ko) * 2007-03-27 2009-11-18 삼성전자주식회사 회전체 지지장치, 이를 구비한 현상카트리지와화상형성장치, 및 현상카트리지 조립방법 및 분해방법
ES2760500T3 (es) * 2008-09-09 2020-05-14 Ricoh Co Ltd Recipiente de tóner y aparato de formación de imágenes
JP2011186447A (ja) 2010-02-15 2011-09-22 Canon Inc 現像装置及びプロセスカートリッジ
JP5772004B2 (ja) * 2010-03-10 2015-09-02 株式会社リコー トナー容器及び画像形成装置
WO2011136129A1 (ja) * 2010-04-27 2011-11-03 株式会社リコー 粉体収容器、粉体搬送装置及び画像形成装置
US8848817B2 (en) 2010-04-30 2014-09-30 Texas Instruments Incorporated Transmission modes and signaling for uplink MIMO support or single TB dual-layer transmission in LTE uplink
KR101749567B1 (ko) 2010-10-21 2017-06-21 에스프린팅솔루션 주식회사 화상형성장치
JP5901327B2 (ja) 2012-02-09 2016-04-06 キヤノン株式会社 現像装置、プロセスカートリッジ、および画像形成装置
JP5675888B2 (ja) 2012-05-17 2015-02-25 キヤノン株式会社 現像剤収納ユニット、現像装置、プロセスカートリッジ、画像形成装置
JP6202911B2 (ja) 2012-09-07 2017-09-27 キヤノン株式会社 画像形成装置、プロセスカートリッジ
JP5980064B2 (ja) 2012-09-13 2016-08-31 キヤノン株式会社 現像装置の製造方法及びプロセスカートリッジの製造方法
JP6053428B2 (ja) 2012-09-27 2016-12-27 キヤノン株式会社 現像剤収容容器、現像カートリッジ、プロセスカートリッジ及び画像形成装置
JP5822816B2 (ja) * 2012-11-20 2015-11-24 株式会社沖データ 現像剤収容体、現像剤収容体保持ユニット、及び画像形成装置
US9377714B2 (en) 2012-12-14 2016-06-28 Canon Kabushiki Kaisha Developer accommodating unit with frames for accommodating a developer accommodating member
CN110780564B (zh) * 2013-05-30 2022-06-07 株式会社理光 调色剂容器、显影装置、处理盒和成像设备
JP6376782B2 (ja) 2014-03-10 2018-08-22 キヤノン株式会社 カートリッジ及び画像形成装置
SG10201804311QA (en) * 2014-03-17 2018-07-30 Ricoh Co Ltd Nozzle receiver, powder container, and image forming apparatus
TWI655521B (zh) * 2014-08-01 2019-04-01 佳能股份有限公司 色料匣
KR102270425B1 (ko) 2014-11-28 2021-06-28 캐논 가부시끼가이샤 카트리지
US9291989B1 (en) 2015-02-25 2016-03-22 Lexmark International, Inc. Replaceable unit for an electrophotographic image forming device having an engagement member for positioning a magnetic sensor
CA3221256A1 (en) 2015-02-27 2016-09-01 Canon Kabushiki Kaisha Cartridge
JP6304116B2 (ja) * 2015-04-27 2018-04-04 京セラドキュメントソリューションズ株式会社 現像剤補給装置、およびこれを備えた現像装置、画像形成装置、現像剤補給装置に装着される現像剤収容容器
JP6206530B2 (ja) * 2016-03-31 2017-10-04 ブラザー工業株式会社 トナーカートリッジ
MY201943A (en) 2016-09-30 2024-03-25 Canon Kk Toner cartridge and toner supplying mechanism
US10579006B2 (en) 2017-12-01 2020-03-03 Ricoh Company, Ltd. Image forming apparatus including circuitry for correcting a relative positional deviation of an image to be printed on a recording medium and image forming method for the same

Patent Citations (5)

* Cited by examiner, † Cited by third party
Publication number Priority date Publication date Assignee Title
JPH07199623A (ja) 1993-12-28 1995-08-04 Canon Inc トナーカートリッジ及び現像剤補給方法及び現像装置
US20040052559A1 (en) * 2002-09-13 2004-03-18 Samsung Electronics Co., Ltd. Apparatus for discharging waste toner
JP2009175759A (ja) * 2005-03-04 2009-08-06 Canon Inc 現像剤補給容器及び現像剤補給機構
JP2008224962A (ja) * 2007-03-12 2008-09-25 Brother Ind Ltd 現像剤カートリッジ
JP2017182006A (ja) * 2016-03-31 2017-10-05 ブラザー工業株式会社 トナーカートリッジ

Cited By (2)

* Cited by examiner, † Cited by third party
Publication number Priority date Publication date Assignee Title
EP3660590A1 (en) * 2018-11-27 2020-06-03 Ricoh Company, Ltd. Powder container, process cartridge, and image forming apparatus
US10877432B2 (en) 2018-11-27 2020-12-29 Ricoh Company, Ltd. Powder container, process cartridge, and image forming apparatus

Also Published As

Publication number Publication date
BR112019004676A2 (pt) 2019-05-28
EP3521938A4 (en) 2020-06-17
EP3521938A1 (en) 2019-08-07
CA3038787A1 (en) 2018-04-05
CL2019000723A1 (es) 2019-08-02
TW201814409A (zh) 2018-04-16
AU2020203966B2 (en) 2021-12-02
TW201945872A (zh) 2019-12-01
MA46364A (fr) 2019-08-07
KR102217074B1 (ko) 2021-02-17
CN109804318B (zh) 2021-09-28
RU2741483C2 (ru) 2021-01-26
US20190219948A1 (en) 2019-07-18
BR112019004676B1 (pt) 2024-01-02
US10747144B2 (en) 2020-08-18
CO2019002489A2 (es) 2019-06-28
GB201906069D0 (en) 2019-06-12
RU2019112737A (ru) 2020-10-30
SG11201901982UA (en) 2019-04-29
AU2020203966A1 (en) 2020-07-02
KR102316346B1 (ko) 2021-10-21
JP7016657B2 (ja) 2022-02-07
MX2023011844A (es) 2023-10-12
TWI780609B (zh) 2022-10-11
US11366409B2 (en) 2022-06-21
CN113759684B (zh) 2025-01-14
US11506993B2 (en) 2022-11-22
CA3038787C (en) 2023-05-02
DE112017004984T5 (de) 2019-06-27
AU2017337463B2 (en) 2020-08-13
AU2017337463A1 (en) 2019-03-21
CA3118581C (en) 2023-09-12
MY197113A (en) 2023-05-26
RU2019112737A3 (enExample) 2020-10-30
RU2021100756A3 (enExample) 2021-05-26
KR20210019128A (ko) 2021-02-19
PH12019500699A1 (en) 2019-06-17
TWI722463B (zh) 2021-03-21
KR20190052148A (ko) 2019-05-15
MX2019003124A (es) 2019-07-04
GB2569930A (en) 2019-07-03
CN113759684A (zh) 2021-12-07
RU2752560C2 (ru) 2021-07-29
TWI673579B (zh) 2019-10-01
JP2018060190A (ja) 2018-04-12
US20210208523A1 (en) 2021-07-08
TW202129440A (zh) 2021-08-01
RU2021100756A (ru) 2021-01-26
CN109804318A (zh) 2019-05-24
US20200209784A1 (en) 2020-07-02
CA3118581A1 (en) 2018-04-05

Similar Documents

Publication Publication Date Title
JP7016657B2 (ja) トナーカートリッジ、トナー供給機構
JP7013187B2 (ja) トナーカートリッジ、トナー供給機構
HK40002085A (en) Toner cartridge and toner supply mechanism
HK40001948B (zh) 调色剂盒和调色剂供应机构
HK40002085B (zh) 调色剂盒和调色剂供应机构

Legal Events

Date Code Title Description
121 Ep: the epo has been informed by wipo that ep was designated in this application

Ref document number: 17856518

Country of ref document: EP

Kind code of ref document: A1

WWE Wipo information: entry into national phase

Ref document number: NC2019/0002489

Country of ref document: CO

ENP Entry into the national phase

Ref document number: 2017337463

Country of ref document: AU

Date of ref document: 20170927

Kind code of ref document: A

REG Reference to national code

Ref country code: BR

Ref legal event code: B01A

Ref document number: 112019004676

Country of ref document: BR

ENP Entry into the national phase

Ref document number: 3038787

Country of ref document: CA

ENP Entry into the national phase

Ref document number: 20197012319

Country of ref document: KR

Kind code of ref document: A

ENP Entry into the national phase

Ref document number: 201906069

Country of ref document: GB

Kind code of ref document: A

Free format text: PCT FILING DATE = 20170927

ENP Entry into the national phase

Ref document number: 2017856518

Country of ref document: EP

Effective date: 20190430

ENP Entry into the national phase

Ref document number: 112019004676

Country of ref document: BR

Kind code of ref document: A2

Effective date: 20190311

WWP Wipo information: published in national office

Ref document number: NC2019/0002489

Country of ref document: CO

WWG Wipo information: grant in national office

Ref document number: NC2019/0002489

Country of ref document: CO

WWW Wipo information: withdrawn in national office

Ref document number: 2017856518

Country of ref document: EP