JP5772004B2 - トナー容器及び画像形成装置 - Google Patents

トナー容器及び画像形成装置 Download PDF

Info

Publication number
JP5772004B2
JP5772004B2 JP2011010008A JP2011010008A JP5772004B2 JP 5772004 B2 JP5772004 B2 JP 5772004B2 JP 2011010008 A JP2011010008 A JP 2011010008A JP 2011010008 A JP2011010008 A JP 2011010008A JP 5772004 B2 JP5772004 B2 JP 5772004B2
Authority
JP
Japan
Prior art keywords
toner
cap
shutter
container
toner container
Prior art date
Legal status (The legal status is an assumption and is not a legal conclusion. Google has not performed a legal analysis and makes no representation as to the accuracy of the status listed.)
Active
Application number
JP2011010008A
Other languages
English (en)
Other versions
JP2012018377A (ja
Inventor
木村 秀樹
秀樹 木村
木村 則幸
則幸 木村
英介 堀
英介 堀
高見 伸雄
伸雄 高見
賢治 菊地
賢治 菊地
鈴木 裕次
裕次 鈴木
Current Assignee (The listed assignees may be inaccurate. Google has not performed a legal analysis and makes no representation or warranty as to the accuracy of the list.)
Ricoh Co Ltd
Original Assignee
Ricoh Co Ltd
Priority date (The priority date is an assumption and is not a legal conclusion. Google has not performed a legal analysis and makes no representation as to the accuracy of the date listed.)
Filing date
Publication date
Priority to JP2011010008A priority Critical patent/JP5772004B2/ja
Application filed by Ricoh Co Ltd filed Critical Ricoh Co Ltd
Priority to MX2012010362A priority patent/MX2012010362A/es
Priority to CA3015004A priority patent/CA3015004C/en
Priority to MX2015008909A priority patent/MX347363B/es
Priority to TW103122364A priority patent/TWI530763B/zh
Priority to SG2012061693A priority patent/SG183417A1/en
Priority to SG10201501658VA priority patent/SG10201501658VA/en
Priority to CA2791509A priority patent/CA2791509C/en
Priority to NZ601975A priority patent/NZ601975A/xx
Priority to CA3086128A priority patent/CA3086128C/en
Priority to ES11753518T priority patent/ES2771173T3/es
Priority to CA2896439A priority patent/CA2896439C/en
Priority to BR112012023494-3A priority patent/BR112012023494B1/pt
Priority to PCT/JP2011/056129 priority patent/WO2011111863A1/en
Priority to SG10201600729YA priority patent/SG10201600729YA/en
Priority to EP19205555.6A priority patent/EP3620863B1/en
Priority to CN201180023248.4A priority patent/CN102918465B/zh
Priority to CN201510690118.6A priority patent/CN105242508B/zh
Priority to EP11753518.7A priority patent/EP2545414B1/en
Priority to TW100107974A priority patent/TWI516882B/zh
Priority to AU2011225083A priority patent/AU2011225083B2/en
Priority to HK13105050.1A priority patent/HK1178265B/xx
Publication of JP2012018377A publication Critical patent/JP2012018377A/ja
Priority to US13/434,096 priority patent/US8929779B2/en
Priority to US14/522,217 priority patent/US9128415B2/en
Priority to US14/807,288 priority patent/US9329529B2/en
Application granted granted Critical
Publication of JP5772004B2 publication Critical patent/JP5772004B2/ja
Priority to US15/075,810 priority patent/US9541862B2/en
Priority to US15/379,985 priority patent/US9778596B2/en
Priority to US15/709,145 priority patent/US10054873B2/en
Priority to US16/048,931 priority patent/US10459370B2/en
Priority to US16/591,618 priority patent/US10976686B2/en
Priority to US17/203,750 priority patent/US11314185B2/en
Active legal-status Critical Current
Anticipated expiration legal-status Critical

Links

Images

Landscapes

  • Dry Development In Electrophotography (AREA)

Description

この発明は、複写機、プリンタ、ファクシミリ、又は、それらの複合機等の画像形成装置に設置される略筒状のトナー容器と、それが設置された画像形成装置と、に関するものである。
従来から、複写機等の画像形成装置においては、画像形成装置本体に着脱自在に設置される筒状のトナー容器(トナーボトル)が多く用いられている(例えば、特許文献1、2参照。)。
特許文献1、2において、画像形成装置本体に交換自在に設置されるトナー容器(トナーボトル)は、主として、容器本体(ボトル本体)とキャップ部(被保持部)とで構成されている。
また、このようなトナー容器において、色が異なるトナーが収容されたものや、仕向け地の異なるものが、画像形成装置本体における所定の設置箇所に誤セットされないように、トナー容器の種類を特定するための非互換形状部をトナー容器に設ける技術が広く知られている。すなわち、トナー容器の非互換形状部が、画像形成装置本体の嵌合部に合致したときにのみ、そのトナー容器が画像形成装置本体にセットされることになる。
従来のトナー容器は、画像形成装置本体への装着時に、非互換形状部が画像形成装置本体の嵌合部に嵌合する前に、キャップ部のトナー排出口に覆設されたシャッタ部材の開放動作がわずかに開始されてしまう不具合が生じてしまうことがあった。このため、種類の異なるトナー容器に収容されたトナーがトナー排出口から画像形成装置本体に向けて誤って供給されてしまう可能性があった。
この発明は、上述のような課題を解決するためになされたもので、画像形成装置本体に種類の異なるトナー容器が誤セットされそうになった場合であっても、そのトナー容器から画像形成装置本体に向けて誤ってトナーが供給される不具合が生じることのない、トナー容器及び画像形成装置を提供することにある。
この発明の請求項1記載の発明にかかるトナー容器は、長手方向を水平方向とした状態で画像形成装置本体に対して前記長手方向に対して平行に着脱自在に設置されるトナー容器であって、前記長手方向の一端側に開口部が形成されるとともに、内部に収容したトナーが前記開口部に向けて搬送されるように構成された筒状の容器本体と、前記容器本体の前記開口部が内挿されるとともに、前記容器本体の前記開口部から排出されたトナーを容器外であって鉛直方向下方に排出するためのトナー排出口を底部に具備したキャップ部と、前記キャップ部の底部に保持されるとともに、前記トナー排出口を開閉するシャッタ部材と、を備え、前記キャップ部は、当該トナー容器の種類を特定するためにその種類ごとに外周面上の異なる位置に前記長手方向に沿って凸状又は凹状に延在する非互換形状部が、前記長手方向の先端の位置を基点として前記容器本体の側に向けて設けられ、前記シャッタ部材は、前記キャップ部において前記長手方向に延在するように設けられたレール部に係合して当該レール部に沿って移動することで前記トナー排出口を開閉するシャッタ主部と、前記シャッタ主部に一体的に形成されるとともに、前記シャッタ主部との接続位置を基点にして上下方向に弾性変形可能に形成されたシャッタ変形部と、を具備し、前記シャッタ変形部は、前記キャップ部に形成された当接部に当接して前記トナー排出口を閉鎖した状態から前記トナー排出口を開放する方向への前記シャッタ部材の移動を規制するストッパ部と、鉛直方向下方に突出するように形成されるとともに、下方から外力を受けることにより当該シャッタ変形部の上方への弾性変形にともない前記ストッパ部を上方に変位させて前記当接部との当接状態を解除するストッパ解除部と、を具備し、前記ストッパ部は、前記シャッタ主部との前記接続位置から前記長手方向に最も離れた位置であって前記シャッタ変形部における開放方向の最端部に形成され、前記ストッパ解除部は、前記シャッタ部材が前記トナー排出口を閉鎖した状態において、前記非互換形状部に対して前記長手方向の前記容器本体の側に配設されて、前記長手方向において、前記ストッパ部と、前記シャッタ主部と前記シャッタ変形部との前記接続位置と、の間に形成されたものである。
また、請求項2記載の発明にかかるトナー容器は、前記請求項1に記載の発明において、前記非互換形状部は、前記キャップ部の上方に配設されたものである。
また、発明の請求項3記載の発明にかかるトナー容器は、前記請求項1又は請求項2に記載の発明において、前記キャップ部は、その内部に前記長手方向に延在するように形成された円柱状の空洞と、前記空洞の下方の周面から前記トナー排出口に向けて一定の流路面積にて柱状に形成されたトナー落下経路と、を具備したものである。
また、発明の請求項4記載の発明にかかるトナー容器は、前記請求項1〜請求項3のいずれかに記載の発明において、前記容器本体は、その内周面に螺旋状の突起を有するとともに、前記キャップ部に対して回転可能に保持されるものである。
また、発明の請求項5記載の発明にかかる画像形成装置は、請求項1〜請求項4のいずれかに記載のトナー容器が前記画像形成装置本体に設置されたものである。
また発明の請求項6記載の発明にかかる画像形成装置は、前記請求項5に記載の発明において、前記画像形成装置本体は、前記トナー容器の前記キャップ部を保持するキャップ受部と、前記トナー容器の前記容器本体を保持するとともに、前記トナー容器が上方から載置された後に当該トナー容器を前記キャップ部に向けて滑動させるためのボトル受面を具備したボトル受部と、を備え、前記キャップ受部は、前記長手方向の前記ボトル受部に近い側に、前記トナー容器の前記非互換形状部に嵌合する嵌合部を具備したものである。
また、発明の請求項7記載の発明にかかる画像形成装置は、前記請求項6に記載の発明において、前記画像形成装置本体の前記ボトル受部は、前記キャップ部に向けた前記トナー容器の滑動にともない前記ストッパ解除部を押動するストッパ解除付勢部を具備し、前記ストッパ解除付勢部は、前記トナー容器の前記非互換形状部が前記嵌合部に嵌合した後に、前記ストッパ解除部に係合する位置に配設されたものである。
本発明は、トナー容器のキャップ部における長手方向の先端の位置に非互換形状部を設けているため、画像形成装置本体に種類の異なるトナー容器が誤セットされそうになった場合であっても、そのトナー容器から画像形成装置本体に向けて誤ってトナーが供給される不具合が生じることのない、トナー容器及び画像形成装置を提供することができる。
この発明の実施の形態1における画像形成装置を示す全体構成図である。 作像部を示す断面図である。 トナー補給装置にトナー容器が設置された状態を示す模式図である。 トナー容器収容部にトナー容器が設置される状態を示す概略斜視図である。 トナー容器を斜め上方から示す斜視図である。 トナー容器を斜め下方から示す斜視図である。 トナー容器を示す6面図である。 トナー容器をキャップ部側から示す正面図である。 トナー容器の一部を示す分解図である。 トナー容器の容器本体における頭部側を示す斜視図である。 トナー容器のキャップ部を示す斜視図である。 トナー容器のキャップ部を示す別の斜視図である。 トナー容器のキャップ部を示す断面斜視図である。 トナー容器のキャップ部の近傍を示す断面図である。 トナー容器のシャッタ部材がトナー排出口を閉鎖した状態を示す斜視図である。 トナー容器のシャッタ部材がトナー排出口を開放した状態を示す斜視図である。 図16の状態におけるキャップ部の内部を示す斜視図である。 トナー容器収容部へのトナー容器の装着動作に連動したシャッタ部材の開放動作を示す模式図である。 シャッタ部材が取出された状態のキャップ部を示す斜視図である。 シャッタ部材が取出された状態のキャップ部を示す別の斜視図である。 図19のキャップ部においてシール材が取外された状態を示す斜視図である。 図20のキャップ部においてシール材が取外された状態を示す斜視図である。 キャップ部を容器本体側から示す背面図である。 キャップ部を射出成型する金型の一部を示す模式図である。 シャッタ部材を示す斜視図である。 シャッタ部材を示す別の斜視図である。 種類の異なるトナー容器をキャップ部側から示す正面図である。 さらに別の形態のトナー容器をキャップ部側から示す正面図である。 トナー容器収容部におけるボトル受部の近傍を示す斜視図である。 トナー容器収容部におけるボトル受部の近傍を示す別の斜視図である。 トナー容器収容部の一部を示す分解斜視図である。 トナー容器収容部のボトル受部を示す分解斜視図である。 トナー容器収容部のボトル受部を示す別の分解斜視図である。 トナー容器収容部のキャップ受部にトナー容器のキャップ部が装着される状態を示す斜視図である。 図34に続く下面図である。 図35に続く下面図である。 トナー容器収容部の押圧部にトナー容器の被押圧部が係合しながらキャップ受部に装着される状態を上方から示す断面図である。 図37に続く下面図である。 図38に続く下面図である。 トナー容器収容部のキャップ受部にトナー容器のキャップ部が装着される状態を示す断面斜視図である。 図40に続く下面図である。 図41に続く下面図である。 トナー容器収容部のシャッタ挟持機構にトナー容器のシャッタ部材が係合しながらトナー排出口を開放していく状態を示す下面図である。 図43に続く下面図である。 図44に続く下面図である。 トナー容器収容部のキャップ受部にトナー容器のキャップ部が装着される状態を側方から示す断面図である。 この発明の実施の形態2におけるトナー容器の一部を示す斜視図である。 図47のトナー容器におけるキャップ部を示す分解斜視図である。 図47のトナー容器におけるキャップ部を示す別の分解斜視図である。 第1部材と第2部材とが溶着された後のキャップ部を示す斜視図である。 図47のトナー容器におけるキャップ部の内部を示す斜視図である。 この発明の実施の形態3におけるトナー容器の撹拌部材を示す斜視図である。 図52の撹拌部材を示す別の斜視図である。 図52の撹拌部材を示す3面図である。 (A)図52の撹拌部材が回転する状態を示す概略正面図と、(B)実施の形態1におけるトナー容器における撹拌部材が回転する状態を示す概略正面図と、である。 この発明の実施の形態4におけるトナー容器のキャップ部を示す概略断面図である。 図56のトナー容器のトナー排出口近傍に設置される可撓性部材を示す斜視図である。 図56のトナー容器における撹拌部材が回転する状態を示す概略正面図である。 この発明の実施の形態5におけるトナー容器を示す斜視図である。 図59のトナー容器を示す断面図である。 図59のトナー容器のキャップ部の近傍を示す断面図である。 別形態のトナー容器を示す構成図である。
以下、この発明を実施するための形態について、図面を参照して詳細に説明する。なお、各図中、同一又は相当する部分には同一の符号を付しており、その重複説明は適宜に簡略化ないし省略する。
実施の形態1.
図1〜図46にて、この発明の実施の形態1について詳細に説明する。
まず、画像形成装置全体の構成・動作について説明する。
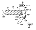
図1に示すように、画像形成装置本体100の上方にあるトナー容器収容部70には、各色(イエロー、マゼンタ、シアン、ブラック)に対応した4つのトナー容器32Y、32M、32C、32Kが着脱自在(交換自在)に設置されている(図3、図4、図36等をも参照できる。)。
トナー容器収容部70の下方には中間転写ユニット15が配設されている。その中間転写ユニット15の中間転写ベルト8に対向するように、各色(イエロー、マゼンタ、シアン、ブラック)に対応した作像部6Y、6M、6C、6Kが並設されている。
トナー容器32Y、32M、32C、32Kの下方には、それぞれ、トナー補給装置60Y、60M、60C、60Kが配設されている。そして、トナー容器32Y、32M、32C、32Kに収容されたトナーは、それぞれ、トナー補給装置60Y、60M、60C、60Kによって、作像部6Y、6M、6C、6Kの現像装置内に供給(補給)される。
図2を参照して、イエローに対応した作像部6Yは、感光体ドラム1Yと、感光体ドラム1Yの周囲に配設された帯電部4Y、現像装置5Y(現像部)、クリーニング部2Y、除電部(不図示である。)、等で構成されている。そして、感光体ドラム1Y上で、作像プロセス(帯電工程、露光工程、現像工程、転写工程、クリーニング工程)がおこなわれて、感光体ドラム1Y上にイエロー画像が形成されることになる。
なお、他の3つの作像部6M、6C、6Kも、使用されるトナーの色が異なる以外は、イエローに対応した作像部6Yとほぼ同様の構成となっていて、それぞれのトナー色に対応した画像が形成される。以下、他の3つの作像部6M、6C、6Kの説明を適宜に省略して、イエローに対応した作像部6Yのみの説明をおこなうことにする。
図2を参照して、感光体ドラム1Yは、不図示の駆動モータによって図2中の時計方向に回転駆動される。そして、帯電部4Yの位置で、感光体ドラム1Yの表面が一様に帯電される(帯電工程である。)。
その後、感光体ドラム1Yの表面は、露光装置7(図1を参照できる。)から発せられたレーザ光Lの照射位置に達して、この位置での露光走査によってイエローに対応した静電潜像が形成される(露光工程である。)。
その後、感光体ドラム1Yの表面は、現像装置5Yとの対向位置に達して、この位置で静電潜像が現像されて、イエローのトナー像が形成される(現像工程である。)。
その後、感光体ドラム1Yの表面は、中間転写ベルト8及び第1転写バイアスローラ9Yとの対向位置に達して、この位置で感光体ドラム1Y上のトナー像が中間転写ベルト8上に転写される(1次転写工程である。)。このとき、感光体ドラム1Y上には、僅かながら未転写トナーが残存する。
その後、感光体ドラム1Yの表面は、クリーニング部2Yとの対向位置に達して、この位置で感光体ドラム1Y上に残存した未転写トナーがクリーニングブレード2aによって機械的に回収される(クリーニング工程である。)。
最後に、感光体ドラム1Yの表面は、不図示の除電部との対向位置に達して、この位置で感光体ドラム1Y上の残留電位が除去される。
こうして、感光体ドラム1Y上でおこなわれる、一連の作像プロセスが終了する。
なお、上述した作像プロセスは、他の作像部6M、6C、6Kでも、イエロー作像部6Yと同様におこなわれる。すなわち、作像部の下方に配設された露光部7から、画像情報に基いたレーザ光Lが、各作像部6M、6C、6Kの感光体ドラム上に向けて照射される。詳しくは、露光部7は、光源からレーザ光Lを発して、そのレーザ光Lを回転駆動されたポリゴンミラーで走査しながら、複数の光学素子を介して感光体ドラム上に照射する。
その後、現像工程を経て各感光体ドラム上に形成した各色のトナー像を、中間転写ベルト8上に重ねて転写する。こうして、中間転写ベルト8上にカラー画像が形成される。
ここで、図1を参照して、中間転写ユニット15は、中間転写ベルト8、4つの1次転写バイアスローラ9Y、9M、9C、9K、2次転写バックアップローラ12、複数のテンションローラ、中間転写クリーニング部、等で構成される。中間転写ベルト8は、複数のローラ部材によって張架・支持されるとともに、1つのローラ部材12の回転駆動によって図1中の矢印方向に無端移動される。
4つの1次転写バイアスローラ9Y、9M、9C、9Kは、それぞれ、中間転写ベルト8を感光体ドラム1Y、1M、1C、1Kとの間に挟み込んで1次転写ニップを形成している。そして、1次転写バイアスローラ9Y、9M、9C、9Kに、トナーの極性とは逆の転写バイアスが印加される。
そして、中間転写ベルト8は、矢印方向に走行して、各1次転写バイアスローラ9Y、9M、9C、9Kの1次転写ニップを順次通過する。こうして、感光体ドラム1Y、1M、1C、1K上の各色のトナー像が、中間転写ベルト8上に重ねて1次転写される。
その後、各色のトナー像が重ねて転写された中間転写ベルト8は、2次転写ローラ19との対向位置に達する。この位置では、2次転写バックアップローラ12が、2次転写ローラ19との間に中間転写ベルト8を挟み込んで2次転写ニップを形成している。そして、中間転写ベルト8上に形成された4色のトナー像は、この2次転写ニップの位置に搬送された転写紙等の記録媒体P上に転写される。このとき、中間転写ベルト8には、記録媒体Pに転写されなかった未転写トナーが残存する。
その後、中間転写ベルト8は、中間転写クリーニング部(不図示である。)の位置に達する。そして、この位置で、中間転写ベルト8上の未転写トナーが回収される。
こうして、中間転写ベルト8上でおこなわれる、一連の転写プロセスが終了する。
ここで、2次転写ニップの位置に搬送された記録媒体Pは、装置本体100の下方に配設された給紙部26から、給紙ローラ27やレジストローラ対28等を経由して搬送されたものである。
詳しくは、給紙部26には、転写紙等の記録媒体Pが複数枚重ねて収納されている。そして、給紙ローラ27が図1中の反時計方向に回転駆動されると、一番上の記録媒体Pがレジストローラ対28のローラ間に向けて給送される。
レジストローラ対28に搬送された記録媒体Pは、回転駆動を停止したレジストローラ対28のローラニップの位置で一旦停止する。そして、中間転写ベルト8上のカラー画像にタイミングを合わせて、レジストローラ対28が回転駆動されて、記録媒体Pが2次転写ニップに向けて搬送される。こうして、記録媒体P上に、所望のカラー画像が転写される。
その後、2次転写ニップの位置でカラー画像が転写された記録媒体Pは、定着部20の位置に搬送される。そして、この位置で、定着ローラ及び加圧ローラによる熱と圧力とにより、表面に転写されたカラー画像が記録媒体P上に定着される。
その後、記録媒体Pは、排紙ローラ対29のローラ間を経て、装置外へと排出される。排紙ローラ対29によって装置外に排出された被転写Pは、出力画像として、スタック部30上に順次スタックされる。
こうして、画像形成装置における、一連の画像形成プロセスが完了する。
次に、図2にて、作像部における現像装置の構成・動作について、さらに詳しく説明する。
現像装置5Yは、感光体ドラム1Yに対向する現像ローラ51Y、現像ローラ51Yに対向するドクターブレード52Y、現像剤収容部53Y、54Y内に配設された2つの搬送スクリュ55Y、現像剤中のトナー濃度を検知する濃度検知センサ56Y、等で構成される。現像ローラ51Yは、内部に固設されたマグネットや、マグネットの周囲を回転するスリーブ等で構成される。現像剤収容部53Y、54Y内には、キャリアとトナーとからなる2成分現像剤Gが収容されている。現像剤収容部54Yは、その上方に形成された開口を介してトナー搬送管64Y(トナー搬送経路)に連通している。
このように構成された現像装置5Yは、次のように動作する。
現像ローラ51Yのスリーブは、図2の矢印方向に回転している。そして、マグネットにより形成された磁界によって現像ローラ51Y上に担持された現像剤Gは、スリーブの回転にともない現像ローラ51Y上を移動する。
ここで、現像装置5Y内の現像剤Gは、現像剤中のトナーの割合(トナー濃度)が所定の範囲内になるように調整される。詳しくは、現像装置5Y内のトナー消費に応じて、トナー容器32Yに収容されているトナーが、トナー補給装置60Y(図3等を参照できる。)を介して現像剤収容部54Y内に補給される。なお、トナー補給装置の構成・動作については、後で詳しく説明する。
その後、現像剤収容部54Y内に補給されたトナーは、2つの搬送スクリュ55Yによって、現像剤Gとともに混合・撹拌されながら、2つの現像剤収容部53Y、54Yを循環する(図2の紙面垂直方向の移動である。)。そして、現像剤G中のトナーは、キャリアとの摩擦帯電によりキャリアに吸着して、現像ローラ51Y上に形成された磁力によりキャリアとともに現像ローラ51Y上に担持される。
現像ローラ51Y上に担持された現像剤Gは、図2中の矢印方向に搬送されて、ドクターブレード52Yの位置に達する。そして、現像ローラ51Y上の現像剤Gは、この位置で現像剤量が適量化された後に、感光体ドラム1Yとの対向位置(現像領域である。)まで搬送される。そして、現像領域に形成された電界によって、感光体ドラム1Y上に形成された潜像にトナーが吸着される。その後、現像ローラ51Y上に残った現像剤Gはスリーブの回転にともない現像剤収容部53Yの上方に達して、この位置で現像ローラ51Yから離脱される。
次に、図3及び図4にて、トナー補給装置60Y、60M、60C、60Kについて詳述する。
図3を参照して、装置本体100のトナー容器収容部70に設置された各トナー容器32Y、32M、32C、32K内のトナーは、各色の現像装置内のトナー消費に応じて、トナー色ごとに設けられたトナー補給装置60Y、60M、60C、60Kによって適宜に各現像装置内に補給される。
なお、4つのトナー補給装置60Y、60M、60C、60Kやトナー容器32Y、32M、32C、32Kは、作像プロセスに用いられるトナーの色が異なる以外はほぼ同一構造であるので、イエローに対応したトナー補給装置60Yやトナー容器32Yのみの説明をおこない、他の3つの色に対応したトナー補給装置60M、60C、60Kやトナー容器32M、32C、32Kの説明を適宜に省略する。
図4に示すように、トナー容器32Y、32M、32C、32Kが装置本体100のトナー容器収容部70に装着(矢印Qに沿った移動である。)されると、その装着動作に連動して、トナー容器32Y、32M、32C、32Kのシャッタ部材34dが移動してトナー排出口Wが開放されるとともに、トナー容器収容部70(トナー補給装置60Y、60M、60C、60K)のトナー補給口72w(図3、図37〜図39等を参照できる。)とトナー排出口Wとが連通する。これにより、トナー容器32Y、32M、32C、32K内に収容されたトナーが、トナー排出口Wから排出されて、トナー容器収容部70(トナー補給装置60Y、60M、60C、60K)のトナー補給口72wからトナータンク部61Y内に貯溜されることになる。
ここで、図3の模式図を参照して、トナー容器32Yは、略円筒状のトナーボトルであって、主として、トナー容器収容部70に非回転で保持されるキャップ部34Yと、ギア33cが一体的に形成された容器本体33Y(ボトル本体)と、で構成される。容器本体33Yは、キャップ部34Yに対して相対的に回転可能に保持されていて、駆動部91(駆動モータ、駆動ギア81等で構成され、図42等をも参照できる。)によって図3の矢印方向に回転駆動される。そして、容器本体33Y自体が回転することで、容器本体33Yの内周面に螺旋状に形成された突起33bによって、トナー容器32Y(容器本体33Y)の内部に収容されたトナーが長手方向に搬送されて(図3の左方から右方への搬送である。)、キャップ部34Yのトナー排出口Wからトナーが排出される。すなわち、駆動部91によってトナー容器32Yの容器本体33Yが適宜に回転駆動されることで、トナータンク部61Yにトナーが適宜に供給される。なお、トナー容器32Y、32M、32C、32Kは、それぞれ、寿命に達したとき(収容するトナーがほとんどすべて消費されて空になったときである。)に新品のものに交換される。
図3を参照して、トナー補給装置60Y、60M、60C、60Kは、トナー容器収容部70、トナータンク部61Y、トナー搬送コイル62Y、トナーエンドセンサ66Y、駆動部91、等で構成されている。
トナータンク部61Yは、トナー容器32Yのトナー排出口Wの下方に配設されていて、トナー容器32Yのトナー排出口Wから排出されたトナーが貯留される。トナータンク部61Yの底部は、トナー搬送管64Yの上流部に接続されている。
また、トナータンク部61Yの壁面(底部から所定高さの位置である。)には、トナータンク部61Yに貯留されたトナーが所定量以下になったことを検知するトナーエンドセンサ66Yが設置されている。トナーエンドセンサ66Yとしては、圧電センサ等を用いることができる。そして、トナーエンドセンサ66Yによってトナータンク部61Yに貯留されたトナーが所定量以下になったことが制御部90にて検知(トナーエンド検知)されると、制御部90の制御により駆動部91(駆動ギア81)によってトナー容器32Yの容器本体33Yを所定時間回転駆動してトナータンク部61Yへのトナー補給をおこなう。さらに、このような制御を繰り返してもトナーエンドセンサ66Yによるトナーエンド検知が解除されない場合には、トナー容器32Y内にトナーがないものとして、装置本体100の表示部(不図示である。)にトナー容器32Yの交換を促す旨の表示をおこなう。
図示は省略するが、トナー搬送コイル62Yは、トナー搬送管64Yに内設されていて、トナータンク部61Yに貯留されたトナーをトナー搬送管64Yを介して現像装置5Yに向けて搬送するものである。詳しくは、トナー搬送コイル62Yは、トナータンク部61Yの底部(最下点)から現像装置5Yの上方に向けてトナーをトナー搬送管64Yに沿って搬送する。そして、トナー搬送コイル62Yによって搬送されたトナーは、現像装置5Y(現像剤収容部54Y)内に補給される。
また、図4を参照して、トナー容器収容部70は、主として、トナー容器32Yのキャップ部34Yを保持するためのキャップ受部73と、トナー容器32Yの容器本体33Yを保持するためのボトル受部72(容器本体受部)と、で構成されている。なお、トナー容器収容部70(ボトル受部72、キャップ受部73)の構成・動作については、図29〜図46を用いて後で詳しく説明する。
ここで、図1を参照して、装置本体100の手前側(図1の紙面垂直方向手前側である。)の上方に設置された本体カバー(不図示である。)を開放すると、トナー容器収容部70が露呈される。そして、各トナー容器32Y、32M、32C、32Kの長手方向を水平方向とした状態で、装置本体100の手前側上方からの各トナー容器32Y、32M、32C、32Kの着脱操作(トナー容器の長手方向を着脱方向とする着脱操作である。)がおこなわれる。
詳しくは、装置本体100への装着時には、各トナー容器32Y、32M、32C、32Kは、本体カバーが開放された状態の装置本体100の上方からトナー容器収容部70上に載置され、その後にキャップ部34Yを先頭にして水平方向に押し込まれることになる(図4の矢印Qに沿った移動である。)。これに対して、装置本体100からの離脱時には、各トナー容器32Y、32M、32C、32Kは、装着時と逆の操作がおこなわれることになる。
また、本実施の形態1では、トナー容器32Y、32M、32C、32Kが着脱自在に並設される、トナー容器収容部70のキャップ受部73に、アンテナ73e(RFID用アンテナ)が設置されている(図30、図31等を参照できる。)。詳しくは、アンテナ73eは、トナー容器32Yのキャップ部34Yの端面に設置された電子情報格納部材としてのRFID用チップ35(図5、図9等を参照できる。)と非接触で無線通信をおこなうためのものである。
そして、トナー容器32Y、32M、32C、32KのRFID用チップ35(電子情報格納部材)と、装置本体100のアンテナ73e(RFID用アンテナ)と、の間で必要な情報の授受がおこなわれる。双方の間で通信される情報としては、トナー容器の製造番号、リサイクル回数等の情報や、トナーの容量、ロット番号、色等の情報や、画像形成装置本体100の使用履歴等の情報がある。RFID用チップ35(電子情報格納部材)には、これらの電子情報が画像形成装置本体100に設置される前に予め格納されている(又は、設置された後に装置本体100から受け取った情報が格納される)。
次に、図5〜図28にて、トナー容器32Y、32M、32C、32Kについて詳述する。
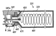
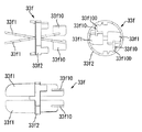
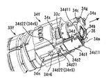
図5〜図7に示すように、トナー容器32Yは、主として、容器本体33Y(ボトル本体)と、その頭部に設けられたキャップ部34Y(ボトルキャップ)と、で構成される。さらに、図9を参照して、トナー容器32Yは、容器本体33Yとキャップ部34Yとの他に、撹拌部材33f、シール材としてのキャップシール37、シャッタ部材34d、シャッタシール36、電子情報格納部材としてのRFID用チップ35(RFID用のチップ)等に分解される。
容器本体33Yの頭部には、容器本体33Yとともに一体的に回転する、言い換えると開口部と共に回転するギア33cと、開口部Aと、が長手方向(図8紙面垂直方向である。)の一端側に設けられている(図9を参照できる。)。開口部Aは、容器本体33Yの頭部(装着動作において先方となる位置である。)に設けられていて、容器本体33Y内に収容されたトナーをキャップ部34Y内のスペース(空洞Bであって、図14を参照できる。)に向けて排出するためのものである。
なお、容器本体33Y内からキャップ部34Y内の空洞Bへのトナー搬送(容器本体33Yの回転駆動)は、キャップ部34Y内におけるトナーが所定の喫水線を下回らない程度に適宜におこなわれる。
ギア33cは、装置本体100のトナー容器収容部70に設けられた駆動ギア81と噛合して、容器本体33Yを回転軸を中心に回転駆動させるためのものである。詳しくは、ギア33cは、開口部Aの周りを1周するように形成されていて、容器本体33Yの回転軸に対して放射状に複数の歯が形成されている。そして、ギア33cは、その一部が、キャップ部34Yに形成された切欠部34x(図16等を参照できる。)から露呈して、図8における斜め下方の噛合位置で装置本体100の駆動ギア81と噛合する。そして、駆動ギア81からギア33cに駆動力が伝達されて、容器本体33Yが図8の時計方向に回転することになる。なお、本実施の形態1において、駆動ギア81及びギア33cは平歯車である。
図5及び図6を参照して、容器本体33Yの長手方向他端側(装着方向の後方の端部である。)には、トナー容器32Yの着脱作業をおこなう際にユーザーが把持するための把持部33dが設けられている。ユーザーは把持部33dを把持しながら、画像形成装置本体100に対してトナー容器32Yの装着をおこなうことになる(図5の矢印方向へのトナー容器32Yの移動である。)。
また、容器本体33Yの内周面には、螺旋状の突起33bが設けられている(外周面側から見ると螺旋状の溝となっている。)。この螺旋状の突起33bは、容器本体33Yを所定方向に回転駆動して開口部Aからトナーを排出するためのものである。このように構成された容器本体33Yは、その周面上に配設されるギア33cや把持部33dとともにブロー成形にて製造することができる。
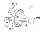
なお、図9及び図10を参照して、本実施の形態1におけるトナー容器32Yは、容器本体33Yとともに回転する撹拌部材33fがボトル口部33a(開口部A)に嵌合されている。撹拌部材33fは、キャップ部34Y内の空洞Bから容器本体33Y内に向けて延設された1対の板状部材である(図14をも参照できる。)。この撹拌部材33fは、1対の板状部材がそれぞれ互い違いになるように傾斜している。また、撹拌部材33fは、キャップ部34Yと容器本体33Yとを組み付けたときに、その先端がキャップ部34Y内の排出口Wの上方に届くように構成されるとともに、その後端(反対側の端部)が汲み上げ部(図9、図10の破線で囲んだ部分である。)に届くように構成されている。容器本体33Yの開口部Aとともに撹拌部材33fが回転することで、開口部Aからのトナー排出性が向上する。
また、図9及び図10を参照して、容器本体33Yのボトル口部33aには、キャップ部34Yの爪部34j(図14、図19等を参照できる。)に係合して双方の部材33Y、34Yを接続するための嵌合部(凸部)が、外周を1周するように形成されている。このように、容器本体33Yは、キャップ部34Yに対して相対的に回転可能に嵌合されている。したがって、ギア33cは、キャップ部34Yに対して相対的に回転することになる。
また、容器本体33Yの頭部(ギア33cが形成された位置近傍である。)の内径は、トナーが収容された収容部(螺旋状の突起33bが形成された位置である。)の内径よりも小さくなるように形成されている(図14をも参照できる。)。そして、容器本体33Yの頭部には、その内周面が内部に向かってせり出すように形成された汲み上げ部(図9、図10の破線で囲んだ部分である。)が設けられている。そして、容器本体33Yの回転にともない螺旋状の突起33bによって開口部Aに向けて搬送されたトナーは、汲み上げ部(図9、図10の破線で囲んだ部分である。)によって頭部の小径部に汲み上げられる。その後、頭部の小径部に汲み上げられたトナーは、撹拌部材33fに撹拌されながら、開口部Aからキャップ部34Yの空洞Bに向けて排出される。
図11〜図14を参照して、トナー容器32Yのキャップ部34Yには、シャッタ部材34d、シャッタシール36、キャップシール37(シール材)、RFID用チップ35(電子情報格納部材)、等が設置される。
キャップ部34Yは、空洞Bよりも大きな内径を有するように形成された内挿部34z(図17を参照できる。)に、容器本体33Yの開口部Aが内挿される。図13、図16等を参照して、キャップ部34Yの底部には、容器本体33Yの開口部Aから排出されたトナーを容器外であって鉛直方向下方に排出(自重落下)させるためのトナー排出口Wが形成されている。そして、キャップ部34Yの底部には、トナー排出口Wの開閉をおこなうためのシャッタ部材34dが、スライド移動可能に保持されている。具体的に、シャッタ部材34Yは、キャップ部34Yの側から容器本体33Yの側への長手方向の相対的な移動(図14の左方への移動である。)によりトナー排出口Wを開放して、容器本体33Yの側からキャップ部34Yの側への長手方向の相対的な移動(図14の右方への移動である。)によりトナー排出口Wを閉鎖する。シャッタ部材34dの開閉動作(トナー排出口Wの開閉動作である。)は、トナー容器収容部70(装置本体100)へのトナー容器32Yの長手方向の着脱動作に連動しておこなわれる。
なお、図15及び図16は、シャッタ部材34dがトナー排出口Wの開放を開始してから開放が完了するまでの動作を示すものである。また、図18は、そのときのシャッタ部材34d(シャッタ変形部34d2)の開放動作を示す模式図である。
図11、図12等を参照して、キャップ部34Yの上部(天井部)には、長手方向に直交するキャップ部34Yの端面から長手方向に延設された第1の穴部34a(主基準穴)が形成されている。この第1の穴部34aは、画像形成装置本体100におけるキャップ部34Yの位置決め主基準となる。詳しくは、トナー容器収容部70へのトナー容器32Yの長手方向の装着動作に連動して、キャップ部34Yの第1の穴部34aがキャップ受部73の主基準ピン73a(図32、図46等を参照できる。)に係合する。
また、キャップ部34Yの下部(底部)には、長手方向に直交するキャップ部34Yの端面から長手方向に延設された第2の穴部34b(従基準穴)が、トナー排出口Wの位置に達しないように形成されている。この第2の穴部34bは、画像形成装置本体100におけるキャップ部34Yの位置決め従基準となる。詳しくは、トナー容器収容部70へのトナー容器32Yの長手方向の装着動作に連動して、キャップ部34Yの第2の穴部34bがキャップ受部73の従基準ピン73b(図32、図46等を参照できる。)に係合する。なお、第2の穴部34bは、図8に示すように、鉛直方向を長手方向(この「長手方向」は、その他で記載しているトナー容器32Yの「長手方向」の意味とは異なる。)とする長穴である。
このように構成された2つの穴部34a、34bによって、トナー容器収容部70におけるキャップ部34Yの位置決めがおこなわれる。また、図8を参照して、長手方向に直交する平面でみたときに、第1の穴部34aの中心を通る仮想垂線と、第2の穴部34bの中心を通る仮想垂線と、は、同一直線であるとともに、キャップ部34Yの円中心を通るように形成されている。
ここで、図14等を参照して、第1の穴部34aの穴の深さ(又は、主基準ピン73aの長手方向の長さ)は、第2の穴部34bの穴の深さ(又は、従基準ピン73bの長手方向の長さ)よりも長く設定されている。これにより、トナー容器収容部70(キャップ受部73)へのトナー容器32Yの長手方向の装着動作において、位置決め主基準となる第1の穴部34aへの主基準ピン73aの係合が開始された後に、位置決め従基準となる第2の穴部34bへの従基準ピン73bの係合が開始されることになり、トナー容器収容部70(キャップ受部73)へのトナー容器32Yのスムーズな装着が可能になる。なお、本実施の形態1では、第1の穴部34aの開口部と第2の穴部34bの開口部とが同じ仮想平面(装着方向に直交する仮想平面である。)上に形成されるとともに、主基準ピン73aの根元部と従基準ピン73bの根元部とが同じ仮想平面(装着方向に直交する仮想平面である。)上に形成されているが、これらの開口部や根元部が同じ仮想平面上に形成されていない場合であっても、主基準ピン73aの先端部の位置と従基準ピン73bの先端部の位置との装着方向の距離差が、第1の穴部34aの開口部の位置と第2の穴部34bの開口部の位置との装着方向の距離差よりも長くなるように形成することで、本実施の形態1と同様に、位置決め主基準となる第1の穴部34aへの主基準ピン73aの係合が開始された後に、位置決め従基準となる第2の穴部34bへの従基準ピン73bの係合が開始されることになる。
また、このように長手方向に長い第1の穴部34aは、キャップ部34Yの天井部(トナーに埋没することがない部分である。)に設けられているために、キャップ部34Y内におけるトナーの搬送性(流動性)に与える影響が生じないことになる。また、長手方向に短い第2の穴部34bは、キャップ部34Yの底部に設けられているものの、キャップ部34Yの端面からトナー排出口Wの位置までの短いスペースを利用して設置できるものであって、位置決め従基準としての機能を充分に発揮する。
また、図11及び図12等を参照して、キャップ部34Yの天井部には、画像形成装置本体100(キャップ受部73)におけるキャップ部34Yの長手方向に直交する水平方向の姿勢を規制する規制部としての第1係合部34e及び第2係合部34fが形成されている。第1係合部34eと第2係合部34fとは、いずれも、長手方向に直交する断面(図8の正面図に平行する断面である。)でみたときに第1の穴部34aの穴中心を通る仮想垂線に対して線対称形となるようにキャップ部34Yの外周面から鉛直方向上方に突出するとともに、長手方向(図8の紙面垂直方向である。)に延設されている。そして、第1係合部34eと第2係合部34fとが、図29等に示すキャップ受部73の被係合部73mに係合して、キャップ部34Yの水平方向の姿勢が規制されながらキャップ受部73に対してキャップ部34Yが着脱されるとともに、キャップ受部73にキャップ部34Yが装着された状態でのキャップ部34Yの水平方向の姿勢が規制される。
さらに詳しくは、第1係合部34e(規制部)は、第1の穴部34aの真上に形成されていて、長手方向に直交する断面でみたときに略矩形状の断面を有する。また、第1係合部34eは、第1の穴部34aの端面に対して長手方向(装着方向)に突出する突出部34e1が形成されている。この突出部34e1の先端は、図11等に示すように、テーパ状に形成されている。他方、第2係合部34f(規制部)は、第1係合部34eを挟むように第1係合部34eの両側に形成されている。そして、キャップ受部73に形成された被係合部73mに、第1係合部34e及び第2係合部34fが入り込むように係合する。ここで、キャップ受部73に対してキャップ部34Yが装着されるときに、第1の穴部34aにおけるテーパ状の突出部34e1が第2係合部34fよりも先に被係合部73mに係合するため、キャップ受部73へのキャップ部34Yの装着がスムーズにおこなわれることになる。
また、図11及び図12を参照して、キャップ部34Yにおいて、内挿部34zを形成する部分の外周部であってその上方両側には、それぞれ、肩部34qが形成されている。この肩部34qは、上面と側面とが平面で構成されており、それらの平面が略直交するように構成されている。
肩部34qは、トナー容器32Yをトナー容器収容部70に装着する際に、その装着動作に連動して、トナー容器収容部70のキャップ受部73に設けられた位置決め部73q(図29を参照できる。)に接触する。これにより、キャップ受部73におけるキャップ部34Yの振れが抑制されて、キャップ受部73へのキャップ部34Yの装着がスムーズにおこなわれることになる。
また、図11、図12等を参照して、キャップ部34Yの両側方部には、それぞれ、キャップ部34Yの外周面上に突出する被押圧部34cが設けられている。この被押圧部34cは、キャップ部34Yがトナー容器収容部70(画像形成装置本体100)のキャップ受部73に装着(又は、離脱)されるときに、キャップ受部73の押圧部73d(図29、図37〜図39等を参照できる。)によって装着方向(又は、離脱方向)の力に抗する方向に押圧されるものである。したがって、ユーザーは、キャップ受部73へのトナー容器32Yの装着動作(又は、離脱動作)において、被押圧部34cと押圧部73dとが係合する位置で装着方向(又は、離脱方向)の操作力に抗する反力を感じた後に、装着方向(又は、離脱方向)の操作力をさらに高めて一気に装着動作(又は、離脱動作)を完了することになる。そのため、ユーザーは、キャップ受部73へのトナー容器32Yの装着動作(又は、離脱動作)において、高いクリック感を得ることができる。
なお、図8等を参照して、キャップ部34Yの両側方部に形成された被押圧部34cは、それぞれ、キャップ部34Yの先端部(被押圧部34cや非互換形状部34gが形成された小径部である。)の中心を通る仮想水平面上であって、その外周面上に設けられている。また、被押圧部34cは、長手方向に直交する断面でみたときに第1の穴部34aの穴中心と第2の穴部34bの穴中心とを結ぶ仮想線分の中点を通る仮想水平線上に配設されるようにキャップ部34Yの外周面から水平方向両側に突出するとともに、長手方向(図8の紙面垂直方向である。)に延設されている。
さらに詳しくは、被押圧部34cは、図11、図12等に示すように、長手方向(装着方向)に沿って山形に形成されている。この被押圧部34cの山形の形状は、先端側の傾斜が容器本体側の傾斜に比べて緩やかになるように形成されている。これにより、ユーザーは、キャップ受部73へのトナー容器32Yの着脱動作において、高いクリック感を得ながら着脱動作をスムーズにおこなうことができる。
図11、図12等を参照して、キャップ部34Yの端面上には、第1の穴部34aと第2の穴部34bとの間に形成された設置部34k(凸部で囲まれている。)に、種々の電子情報が格納された電子情報格納部材としてのRFID用チップ35が設置されている。RFID用チップ35は、トナー容器収容部70(キャップ受部73)にキャップ部34Yが装着された状態で、キャップ受部73のアンテナ73e(RFID用アンテナ)に対して所定距離離間して対向するように構成されている。そして、RFID用チップ35は、キャップ部34Yがキャップ受部73に保持された状態で、アンテナ73eとの間で非接触通信(無線通信)をおこなう。
ここで、本実施の形態1では、RFID用チップ35が第1の穴部34a(主基準穴)と第2の穴部34b(従基準穴)との間に固設されているために、キャップ受部73のアンテナ73eに対して高精度に位置が定められることになる。したがって、アンテナ73eに対するRFID用チップ35の位置ずれによる通信不良を抑止することができる。
なお、突出部34e1と突起部34mとは、それぞれ、設置部34kの周囲に形成された凸部(リブ)よりも前面側(図14の右側である。)に突出するように形成されている。これにより、万が一、トナー容器32Yが容器本体33Yを上方としてキャップ部34Yを下方として静置されそうになった場合等であっても、設置部34k内に保持されたRFID用チップ35が静置面に直接的に接触してダメージを受ける不具合が抑止されることになる。
また、図11及び図12を参照して、キャップ部34Yの外周面上には、トナー容器32Yの非互換性を担保するための非互換形状部34gが設けられている。この非互換形状部34gは、トナー容器収容部70へのトナー容器32Yの装着操作が正しいときに(トナー容器収容部70の正規位置へ装着されたときに)、キャップ受部73の嵌合部73c(図32等を参照できる。)に嵌合するように構成されている。
具体的に、図8及び図27(A)〜(C)を参照して、非互換形状部34gは、トナー容器(容器本体)に収容されるトナーの色に応じて異なる形状とされている。図27(A)に示すようにシアンに対応したトナー容器32Cの非互換形状部34gはトナー容器収容部70のシアン用の嵌合部73cにのみ係合する形状とされ、図27(B)に示すようにマゼンタに対応したトナー容器32Mの非互換形状部34gはトナー容器収容部70のマゼンタ用の嵌合部73cにのみ係合する形状とされ、図8に示すようにイエローに対応したトナー容器32Yの非互換形状部34gはトナー容器収容部70のイエロー用の嵌合部73cにのみ係合する形状とされ、図27(C)に示すようにブラックに対応したトナー容器32Kの非互換形状部34gはトナー容器収容部70のブラック用の嵌合部73cにのみ係合する形状とされている。
このような構成によって、所定の色のトナー容器収容部(例えば、シアンのトナー容器収容部である。)に、異なる色のトナー容器(例えば、イエローのトナー容器である。)がセットされて、所望のカラー画像が形成できなくなる不具合が抑止される。すなわち、トナー容器収容部へのトナー容器の誤セットが抑止される。
なお、異なるトナー容器ごとの非互換系上部34gの形状は、上述した図8及び図27(A)〜(C)のものに限定されることなく、例えば、図28(A)〜(E)に示すものも用いることができる。
ここで、本実施の形態1におけるキャップ部34Yは、非互換形状部34gが、長手方向の先端の位置を基点として容器本体33Yの側に向けて延在するように形成されている。また、非互換形状部34gは、その先端部(装着方向の先端部であって、図14の右側の先端部である。)が、少なくとも、トナー排出口Wよりも装着方向の側(図14の右側である。)に位置するように形成されている。
このように構成することで、図4に示すようなトナー容器32Yの装着動作をおこなう際に、そのトナー容器が異なる色のものであると、キャップ部34Yの先端に設けた非互換形状部34gが真っ先にキャップ受部73の嵌合部73cに係合せずに干渉することになるため、キャップ部34Yのトナー排出口Wに覆設されたシャッタ部材34dの開放動作が開始されて色の異なるトナーがトナー排出口Wから画像形成装置本体100に向けて誤って供給されてしまう不具合が確実に抑止される。
特に、本実施の形態1における画像形成装置100は、図4に示すように、トナー容器収容部70に対してトナー容器34Yが上方から載置された後に水平方向(長手方向)にスライド移動されて装着動作が完了するように構成されているために、トナー容器収容部70におけるキャップ受部73の位置でトナー容器の非互換性を判断する必要がある。したがって、上述したようにキャップ部34Yの先端に非互換形状部34gを設ける構成が、有用になる。
また、図8及び図12を参照して、非互換形状部34gは、キャップ部34Yの先端上部に放射状に形成された2つの突起である。この2つの突起(非互換形状部34g)は、それぞれ、台座部34g1と、台座部34g1からさらに2つ突出する非互換爪部34g2と、からなっている。台座部34g1は、外方に向かって広がるように台形状に形成されている。2つの非互換爪部34g2は、その台座部34g1の上面から外側に向けて放射状に突出するように形成されている。
そして、この非互換爪部34g2が、トナー容器に収容されているトナーの種類(色)に応じて切断されることで、各色に対する非互換の機能をもたせることが可能になる。すなわち、図8に示すように、左右合計して4つの非互換爪部34g2が形成された状態のキャップ部34Yに対して、ニッパ、カッタ等の切断治具を用いて必要な非互換爪部34g2を切り落とすことで、先に図27(A)〜(C)又は図28(A)〜(E)で説明したような種々の形状の非互換形状部34gを形成することができる。
このような構成により、トナー容器(キャップ部)の種類と同数の金型を製造する必要がなく、1つの金型で複数種類の非互換性のあるキャップ部を形成することができるため、複数種類のトナー容器全体の製造コストを低減することができる。
なお、図8及び図12を参照して、ニッパ、カッタ等の切断治具を用いて非互換爪部34g2を容易に切断できるように、非互換形状部34gにおける2つの非互換爪部34g2の間隔がある程度大きく設定されている。
また、図11及び図12を参照して、非互換形状部34gは、キャップ部34Yの上方に配設されている。これにより、キャップ受部73に対して、トナー容器32Y(キャップ部34Y)が長手方向が水平方向に対して傾斜して挿入された場合であっても、キャップ受部73の嵌合部73cの位置で非互換形状部34gが干渉するため、上述したトナー容器の非互換性の判断を確実におこなうことができる。
なお、キャップ部34Yの先端部に形成した非互換形状部34gは、トナー容器の種類を特定するためにその種類ごとにキャップ部34Yの外周面上の異なる位置に長手方向に沿って凸状に延在させたものである。この非互換形状部34gは、トナー容器内に収容されたトナーの色を特定するもの以外の用途で用いることもできる。また、本実施の形態1では、キャップ部34Yの非互換形状部34gを凸状に形成して、キャップ受部73の嵌合部73cを凹状に形成したが、キャップ部34Yの非互換形状部34gを凹状に形成して、キャップ受部73の嵌合部73cを凸状に形成することもできる。
また、図12等を参照して、本実施の形態1におけるキャップ部34Yには、トナー容器の仕向け地(例えば、国内用と北米用と欧州用とその他用とである。)等を特定するために、非互換用の凸部34hが形成されている。この凸部34hは、セットされる画像形成装置本体100自体が正しいときに(正規の装置本体100へ装着されたときに)、ボトル受部72に形成された嵌合部材(不図示である。)に嵌合するように構成されている。
図12を参照して、キャップ部34Yの外周面には、容器本体33Yのギア33cの一部が露呈する切欠部34x(挿入口)が設けられている。そして、トナー容器32Yがトナー容器収容部70に装着された状態で、キャップ部34Yの切欠部34xから露呈するギア33cが、キャップ受部73に設置された駆動ギア81(図29等の破線の位置に配設される。図40〜図42をも参照できる。)に噛合して、駆動ギア81によってギア33cとともに容器本体33Yが回転駆動される。
図13、図14等を参照して、キャップ部34Yの底部には、シャッタ部材34dがトナー排出口Wを開放するときにシャッタ部材34dの一部(シャッタ変形部34d2である。)を内部に収納するシャッタ収納部34n(収納部)が形成されている。シャッタ収納部34nは、内挿部34zの底面が下方に向かって膨出した部分である。トナー容器32Yの装着方向(長手方向)に直交する断面でみたときに、内挿部34zは容器本体33Yの外周に沿うように内周面の形状が略円形とされているが、シャッタ収納部34nは略矩形の部分が下方に突出するような空間となっている。また、容器本体33Yが挿入される部分(内挿部34z)と、シャッタ収納部34nと、は特に壁によって区切られておらず、一続きの空間となっている。したがって、キャップ部34Yに容器本体33Yが挿入された状態では、内挿部34zの下方において、断面が略矩形の空間が空くことになる。
シャッタ収納部34n(収納部)は、シャッタ部材34dがトナー排出口Wを開放した後のシャッタ変形部34d2を、内部に保持して収納する。ここで、図11及び図12を参照して、シャッタ収納部34nの内側面には、シャッタレール34t(第2のレール部であって、図20等を参照できる。)とともに、シャッタ部材34dの開閉動作を案内するレール部として機能するスライド溝34n1(第1のレール部)が形成されている。スライド溝34n1は、キャップ部34Yの長手方向に平行に延びる溝部であり、シャッタ収納部34nの前面側(図14の右方である。)から延設されている。また、スライド溝34n1とシャッタレール34tとは、いずれも、長手方向に平行に設けられている。さらに、シャッタレール34tは、シャッタ収納部34nまでは延びておらず、シャッタレール34tとシャッタ収納部34nとの間には隙間が存在する。なお、シャッタ部材34dの構成・動作については、後で詳しく説明する。
このように構成されたキャップ部34Yは、開口部Aを介して容器本体33Yに連通していて、開口部Aから排出されたトナーをトナー排出口Wから排出する(図3中の破線矢印方向の移動である。)。
ここで、本実施の形態1では、図14を参照して、キャップ部34Yの内部に、長手方向(図14の左右方向である。)に延在するように略円柱状の空洞B(スペース)が形成されている。なお、この空洞Bの内径は、図17に示す内挿部34z(容器本体33Yの頭部が挿入される部分である。)の内径よりも小さく形成されている。さらに、キャップ部34Yの内部には、略円柱状の空洞Bの下方の周面からトナー排出口Wに向けて一定の流路面積(流路断面積)にて柱状に形成されたトナー落下経路Cが設けられている。これによって、容器本体33Yの開口部Aからキャップ部34Yの空洞Bに排出されたトナーは、柱状のトナー落下経路Cを自重落下してトナー排出口Wから容器外(トナータンク部61Y)にスムーズに排出されることになる。
図21、図22等を参照して、キャップ部34Y(シャッタ部材34d、シャッタシール36、キャップシール37、RFID用チップ35が取出された状態のものである。)は、複数の成型品を溶着して形成したものではなくて、一体成型にて形成したものである。
具体的に、キャップ部34Yは、爪部34j、非互換形状部34g、被押圧部34c、トナー排出口W、トナー落下経路C等が設けられていて、複雑な構造をしている。このような複雑な構造のキャップ部34Yを、複数対の金型を用いることなく一体成型にて形成するためには、図23に示すように、キャップ部34Yを単体で長手方向に直交する投影面でみたときに(金型の分割方向でみたときに)、複数の爪部34j、複数の爪部34jを形成するためにその近傍にそれぞれ設けられた複数の成型加工用の穴部34j1、34j3、非互換形状部34g、被押圧部34c、トナー排出口W、トナー落下経路C、等の各部分が、互いに重ならないように構成する必要がある。特に、複数の爪部34jと複数の成型加工用の穴部34j1、34j3とは、上述した投影面でみたときに、円周上に複数配列されるものであるため、その他のいずれの部分(非互換形状部34g、被押圧部34c、トナー排出口W、トナー落下経路C等である。)とも重ならないように形成する必要がある。
なお、キャップ部34Yには、内挿部34zと空洞Bとの間に、爪部34jが形成される爪部形成部34iが設けられている。この爪部形成部34iは、その外周径が、内挿部34zの外周径よりも小さく、空洞Bが設けられている部分の外周径より大きくなるように形成されている。同様に、爪部形成部34iは、その内周径も、内挿部34zの内周径よりも小さく、空洞Bが設けられている部分の内周径より大きくなるように形成されている。
詳しくは、爪部34jは、容器本体33Yのボトル口部33a(開口部A)に嵌合するために、その先端に内部に向けて突出するフック部が形成されている。図24は、このような爪部34jを有するキャップ部34Yを射出成型するための金型200の一部を示すものである。
金型200は、内型201と外型202とからなる。そして、図24(A)に示すように、双方の型201、202を合わせた状態で、双方の型201、2020の間に溶融された樹脂材料を流し込んで、その後に冷却工程をおこなって爪部34j(キャップ部34Y)を形成する。その後、図24(B)に示すように、双方の型201、202を分割した後に、爪部34j(キャップ部34Y)を取り出すことになる。ここで、爪部34jのフック部を形成するために、外型202には起立部202aが形成されている。そして、双方の型201、202を分割するために、キャップ部34Yにおける爪部材34jの近傍には、外型202の起立部202aが抜けるための成型加工用の第1穴部34j1が設けられている。具体的に、爪部形成部34iの外周と空洞Bの外周との間には壁が立設されており、この壁に第1穴部34j1が設けられている。これが、図23において、爪部34jの内周面側に形成された第1穴部34j1である。この爪部34jの内周面側に形成された第1穴部34j1は、図21を参照して、キャップシール37が貼着される貼着面34vに形成されている。ただし、キャップシール37の機能(容器本体33Yとキャップ部34Yとのシール性である。)を満足させるために、第1穴部34j1の位置を外してキャップシール37の大部分が貼着面34v上に設置されるように構成している。
なお、図23を参照して、爪部34jの外周面側に形成された第2穴部34j3(成型加工用の穴部)は、爪部34jの背面(フック部が突出していない側の面である。)を形成するためのものである。具体的に、第2穴部34j3は、爪部形成部34iと内挿部34zとの間に立設されている壁面に形成された開口である。図23を参照して、右下方に形成された爪部34jについては、切欠部34xが第2穴部34j3の役目を果たしている。また、図23を参照して、最上方に形成された爪部34jについては、凹部34j2が第2穴部34j3の役目を果たしている。
このように、本実施の形態1では、キャップ部34Yが一体成型にて形成されているため、キャップ部を2部品以上の成型品を接着又は溶着して構成する場合に比べて、接着又は溶着の精度のバラツキによってキャップ部自体の寸法が狙いのものからずれてしまう不具合が生じないことになる。したがって、容器本体33Yとキャップ部34Yとの隙間もばらつきにくくなって、双方の部材33Y、34Y間におけるキャップシール37によるシール性が低下してしまう不具合や、キャップ部34Yのトナー排出口Wと画像形成装置本体100のトナー補給口72wとの位置がずれてトナー飛散が生じてしまう不具合が抑止される。さらに、キャップ部34Yが一体成型にて形成されているため、キャップ部を2部品以上の成型品を接着又は溶着して構成する場合に比べて、キャップ部34Y自体の機械的強度が高くなるとともに、金型費用が比較的安価になる。
なお、本実施の形態1では、キャップ部34Yを一体成型にて形成したが、キャップ部を2部品以上の成型品を接着又は溶着して構成する場合であっても、その内の1つの成型品が、少なくとも爪部34jとキャップシール37の貼着面34vとが一体となって構成されたものであれば、キャップシール37と容器本体33Yとの位置精度が向上して、容器本体33Yとキャップシール37との接触面からトナーが漏出する不具合(シール性が低下する不具合)が抑止されることになる。
なお、図19〜図22を参照して、キャップ部34Yの対向面(容器本体33Yの開口部Aの周囲のボトル口部33aに対向する面であって、貼着面34vである。)には、シール材として環状のキャップシール37が貼着されている。キャップシール37は、開口部Aの周囲で容器本体33Y及びキャップ部34Yの互いの対向面の隙間を封止するためのもので、発泡ポリウレタン等の弾性材料(発泡樹脂材料)で形成されている。
ここで、図21及び図22を参照して、本実施の形態1では、キャップ部34Yの貼着面34vには、キャップシール37をキャップ部34Yから分離するための窪み34v1が形成されている。また、この窪み34v1が形成された位置に対向するキャップ部34Yの外周面上の位置には、キャップシール37をキャップ部34Yから分離するための棒状の治具が挿入される挿入口としての切欠部34xが形成されている。さらに、この切欠部34x(挿入口)の一部には、上述した治具のテコの支点となる凹部34x1が形成されている。
このような構成により、トナー容器32Y(キャップ部34Y)をリサイクルする場合やメンテナンスする場合であっても、キャップ部34Yからキャップシール37を簡単に分離することができる。具体的に、棒状の治具(例えば、プラス・ドライバーのようなものである。)を切欠部34x(挿入口)から差し込んで、その先端を窪み34v1に挿入する。すなわち、キャップシール37の下面(貼着面側である。)の一部に治具の先端が挿入される。そして、棒状の治具の中央部を凹部34x1に係合させながら、凹部34x1をテコの支点としてキャップシール37を貼着面34vから分離する。
なお、本実施の形態1におけるキャップシール37は、キャップ部37Yに貼着される面にフィルム部材37aが貼着されている。このフィルム部材37aは、ポリエステルフィルム等の材料で形成されていて、キャップシール37の本体を構成する発泡樹脂材料に比べて硬質であるために、上述した治具による分離作業性が向上することになる。
また、キャップシール37を分離するための窪み34v1は、キャップシール37の内周面側に対応する位置であって、キャップシール37が容器本体33Yに当接する領域の領域外に対応する位置に形成されている。すなわち、窪み34v1は、キャップシール37において実際にシール性に寄与する領域から外れた部分に対向するように形成されている。これによって、容器本体33Yとキャップ部34Yとの間に挟まれるキャップシール37が、窪み34v1によって変形するようなことはなく、双方の部材33Y、34Yのシール性が低下する不具合が抑止される。
ここで、本実施の形態1におけるキャップ部34Yは、図20等を参照して、長手方向の先端部に設置された被押圧部34cに対して、キャップシール37(シール材)が長手方向の容器本体33Yの側(図14の左方である。)に配設されている。このように、キャップ部34Yの外周面から突出してキャップ部34Yの外径を大きくしてしまう被押圧部34cと、容器本体33Yのボトル口部33a(開口部A)の大きさに合わせてある程度の貼着範囲(又は、キャップ部34Yの外径)が必要とされるキャップシール37と、を別々の位置に設けることで、キャップ部34Yの大型化(大径化)を防ぐことができる。
具体的に、キャップ部34Yは、被押圧部34cが形成された先端部の外径が、キャップシール37の貼着面34vが形成された部分の外径よりも小さくなるように形成されている。したがって、キャップ部34Yの先端部は被押圧部34cが形成されていてもその外径がそれほど大きくならず、キャップシール37の貼着面をある程度大きく確保することができる。すなわち、キャップ部34Yが大型化することなく、容器本体33Yとキャップ部34Yとの高いシール性が維持されて、トナー容器32Yの着脱動作がスムーズにおこなわれることになる。
また、図11、図14等に示すように、キャップ部34Yの端面には、RFID用チップ35を設置するための設置部34kが形成されている。設置部34kは、その周囲がキャップ部34Yの端面から突出するように形成された壁部となっている。設置部34kの内部であって、矩形の壁部の四隅には、略矩形のRFID用チップ35の四隅を固定するための台座部が設けられている。この台座部上にRFID用チップ35を載置することによって、RFID用チップ35の裏面(第1部材34Y1に対向する面である。)に形成された電子デバイスが第1部材34Y1に接触しないように構成されている。なお、設置部34kへのRFID用チップ35の固定は、台座部上にRFID用チップ35を載置した後に、台座部の一部に熱と圧力とを加えながら融解してから冷却固化してRFID用チップ35の四隅に接合させることでおこなわれる。
また、図20等に示すように、キャップ部34Yの底部には、その両側に、シャッタ部材34dがトナー排出口Wを開閉するようにシャッタ部材34dを案内して長手方向に移動させるためのシャッタレール34t(第2のレール部)が形成されている。より具体的に、シャッタレール34tは、トナー排出口Wが形成されている底面の縁部に短手方向(トナー容器32Yの長手方向に対して直交する方向であって、図14の紙面垂直方向である。)に張り出したリブ状の張り出し部が、長手方向(トナー容器32Yの長手方向に対して平行な方向である。)に延設されて形成されたものである。この張り出し部の端部が、次に説明する鉛直面34sとして機能する。
キャップ部34Yの両側端にそれぞれ形成された2つの鉛直面34sは、トナー排出口Wを閉鎖した位置にあるシャッタ部材34dの閉鎖方向の端部から長手方向(装着方向)に突出する位置まで連続的に形成されている(図45をも参照できる。)。シャッタレール34tの端部上面にはシャッタ部材34dが前面側に抜けないように係止する係止突起が設けられている。本実施の形態1において、シャッタレール34tとして機能する部分は、上述した係止突起から、容器本体33Y側に延びている部分である。また、鉛直面34sは、上述した係止突起の位置からさらに前面側に向かって延びている。
さらに詳しくは、キャップ部34Yには、長手方向に直交する端面から長手方向(装着方向)に突起する2つの突起部34m(ツノ部材)が形成されている。この2つの突起部34mは、第2の穴部34bの下端近傍であって第2の穴部34bを短手方向(図14の紙面垂直方向である。)に挟むように配設されている。そして、上述した2つの鉛直面34sが、2つの突起部34mにおける側端の鉛直面をそれぞれ含むように構成されている。すなわち、突起部34mの外側の側端の鉛直面は、シャッタレール34tが形成されたリブの鉛直面34sと同一面となるように形成されている。
ここで、2つの突起部34mの根元は、それぞれ、第2の穴部34bを形成するリブ(穴部34bの縁部)と同一の高さまで延びていて、リブの一部を形成している。また、第2の穴部34bの縁部と、2つの突起部34mの根元部分と、が設けられた端面は、シャッタ部材34dが閉鎖されている状態において、後述するシャッタシール36の先端面(前面側の端面である。)に対して略同一の平面上になるように形成されている。なお、本実施の形態1では、鉛直面34sを形成するものとして1対のツノ状の突起部34mが設けられているが、これらの1対のツノ状の突起部34mの先端面を繋げて1つの板状の突起部を形成して、その突起部の両側面を鉛直面34sとして用いることもできる。
このように構成された鉛直面34sは、キャップ受部73(トナー容器収容部70)のシャッタ閉機構72d(シャッタ挟持機構)における第1挟持部72d1によって挟持される挟持面である(図45等を参照できる。)。すなわち、キャップ受部73にセットされたキャップ部34Yにおけるシャッタ部材34dの姿勢は、シャッタ挟持機構としても機能するシャッタ閉機構72dによって定められることになる。
そして、このように挟持面として機能する鉛直面34sを上述したように装着方向(図45の右方である。)に長く延設することで、トナー容器収容部70からトナー容器32Yを取出するときに、シャッタ閉機構72dがシャッタ部材34dを完全に閉鎖するタイミングに対して、シャッタ閉機構72d(第2挟持部72d2)が鉛直面34sを基準としたシャッタ部材34dの保持を解除するタイミングを遅らせることができる。これにより、シャッタ部材34dがトナー排出口Wを完全に閉鎖しないうちにトナー容器32Yが装置本体100から取出される不具合が抑止されることになる。特に、2つの突起部34mの長手方向(装着方向)の先端部は、第1の穴部34aの端面から長手方向(装着方向)に突出した位置にあるため、キャップ部34Yがキャップ受部73から離脱されるときの最後のタイミングで、シャッタ閉機構72d(第2挟持部72d2)によるシャッタ部材34dの保持の解除がおこなわれて、上述したシャッタ部材34dの閉鎖不良を防止する効果が確実なものになる。
なお、シャッタ閉機構72d(シャッタ挟持機構)の構成・動作については、後で図43〜図45等を用いて詳しく説明する。
このように構成されたキャップ部34Yの底部には、トナー排出口Wとの対向面上にシャッタシール36が貼着されたシャッタ部材34dが、設置されている。このシャッタ部材34dは、図15〜図17に示すように、トナー容器収容部70へのトナー容器32Yの着脱動作に連動してトナー排出口Bを開閉するためのものである。
詳しくは、図25及び図26を参照して、シャッタ部材34dは、板状のシャッタ主部34d1と、シャッタ主部34d1から容器本体33Y側(キャップ部34Yと容器本体33Yとが組み付けられた状態における、容器本体側である。)に向けて突出してシャッタ主部34d1より厚さが薄くて弾性をもたせたシャッタ変形部34d2と、で構成されている。シャッタ主部34d1は、その両外側に1対のシャッタスライダ34d12が形成され、その両内側に1対のシャッタレール係合部34d15が形成されている。シャッタスライダ34d12は、シャッタ主部34d1の側部に、トナー容器32Yの挿入方向に対して平行に延設されている突起である。シャッタレール係合部34d15は、シャッタ主部34d1の内側(シャッタスライダ34d12が突出している側の反対側)に、シャッタシール36と所定の間隔をもって突出している突起である。
そして、シャッタ主部34d1のシャッタスライダ34d12がキャップ部34Yのスライド溝34n1(第1のレール部)に係合するとともに、シャッタ主部34d1のシャッタレール係合部34d15とシャッタシール36との間でキャップ部34Yのシャッタレール34t(第2のレール部)が挟み込むように係合して、これらのレール部34n1、34tに沿ってシャッタ部材34dが移動することで、シャッタ主部34d1がトナー排出口Wを開閉する。
なお、本実施の形態1では、図20等を参照して、シャッタ収容部34nに形成されたスライド溝34n1(第1のレール部)の長手方向の長さ(トナー容器32Yの挿入方向に対する長さである。)が、シャッタレール34t(第2のレール部)の前記長手方向の長さに比べて、短くなるように形成されている。
ここで、シャッタ主部34d1の上面(トナー排出口Wに対向する面である。)には、シール部材としてのシャッタシール36が貼着されている。シャッタシール36は、シャッタ主部34d1(シャッタ部材34d)がトナー排出口Wを閉鎖した状態において、シャッタ主部34d1とトナー排出口Wとの間からトナーが漏出するのを防止するためのものであって、発泡樹脂材料等で形成することができる。
本実施の形態1におけるシャッタシール36は、図25及び図26に示すように、シャッタ部材34dの閉鎖方向の端部から長手方向(装着方向)に突出するように配設されている。このシャッタシール36の先端部(突出した部分)は、キャップ部34Yがキャップ受部73に装着されるときに、トナー補給口72wの周囲に形成された壁部(図29等を参照できる。)に当接して、トナー容器32Y内のトナーがトナー補給口72wの周囲に漏出するのを防止するシール材として機能することになる。
図25及び図26を参照して、シャッタ部材34dのシャッタ変形部34d2は、シャッタ主部34d1に一体的に形成されていて、シャッタ主部34d1との接続位置(図18の破線で囲んだ部分である。)を基点にして上下方向に弾性変形可能に形成されている。シャッタ変形部34d2は、シャッタ主部34d1に対して長手方向であって容器本体33Yの側に配設されている(図15等を参照できる。)。このシャッタ変形部34d2には、ストッパ部34d22とストッパ解除部34d21とが形成されている。また、シャッタ変形部34d2は、シャッタ主部34d1から下方(図14の下方である。)に向かって傾斜を有するように延設されている。
シャッタ変形部34d2のストッパ部34d22は、シャッタ変形部34d2の開放方向(図18の左方向である。)の最端部(シャッタ主部34d1から離れたシャッタ変形部34d2の先端である。)に形成された壁部であって、これがキャップ部34Yの収納部34nに形成された当接部34n5に当接することで、トナー排出口Wを閉鎖した状態からトナー排出口Wを開放する方向へのシャッタ部材34dの移動を規制する。すなわち、トナー容器32Yは、単独の状態(装置本体100にセットされていない状態である。)で、シャッタ部材34dのストッパ部34d22が当接部34n5に当接しているために、シャッタ部材34dが独自に開放方向に移動してトナー排出口Wを開放してしまうようなことは生じない。
シャッタ変形部34d2のストッパ解除部34d21(ストッパ解除用突起部)は、鉛直方向下方に突出するように形成されていて、下方から外力を受けることによりシャッタ変形部34d2の上方への弾性変形にともないストッパ部34d22を上方に変位させて当接部34n5との当接状態を解除するためのものである。ストッパ解除部34d21は、ストッパ部34d22と、接続位置(シャッタ主部34d1とシャッタ変形部34d2との接続位置である。)と、の間に形成されていて、長手方向の両側にスロープが形成された山形の突起である。そして、このストッパ解除部34d21が、トナー容器収容部70へのトナー容器32Yの装着動作に連動して、ボトル受部72に形成されたストッパ解除付勢部72b(図29等を参照できる。)に当接して、ストッパ解除付勢部72bによって上方に押し上げられることによって(下方から外力を受けることによって)、シャッタ変形部34d2が上方に弾性変形されてストッパ部34d22も上方に変位される。こうして、ストッパ部34d22と当接部34n5との当接状態が解除されて、シャッタ部材34dの開放方向の移動が可能になる。
また、本実施の形態1において、シャッタ変形部34d2は、上述したように下方に向かって傾斜しているため、ストッパ解除付勢部72bによって上方に押し上げられて弾性変形することによりその傾斜が相殺されて、シャッタ主部34d1に対して直線的になる。そのため、シャッタ収納部34n内でシャッタ変形部34d2がシャッタ主部34d1に対して上方に反り返る量が少なくなる(又は、反り返る量がゼロになる。)。したがって、シャッタ収納部34n内に収容されたシャッタ変形部34d2が、容器本体33Yに接触する等の不具合が抑止され、シャッタ収納部34nのスペースが有効に活用されることになる。
以下、図18(A)〜図18(C)を用いて、トナー容器収容部70へのトナー容器32Yの装着動作に連動したシャッタ部材34dの動作について詳述する。なお、図18(A)、図18(C)におけるシャッタ部材34dの位置は、それぞれ、図15、図16におけるシャッタ部材34dの位置に対応する。
図18(A)に示すように、トナー容器収容部70へのトナー容器32Yの装着動作(図18の右方向への移動である。)が開始されて、ボトル受部72に形成されたストッパ解除付勢部72b(図29等をも参照できる。)の位置にシャッタ部材34dのストッパ解除部34d21が達していないとき、シャッタ部材34dのストッパ部34d22が当接部34n5に当接していて、シャッタ部材34dの開放方向の移動が規制されている。
その後、トナー容器32Yの装着動作が進むと、図18(B)に示すように、ストッパ解除付勢部72bによってストッパ解除部34d21が押し上げられて、シャッタ変形部34d2が接続位置(破線で囲んだ部分である。)を基点として弾性変形する。これにより、ストッパ部34d22と当接部34n5との当接状態が解除されて、シャッタ部材34dの開放方向の相対的な移動が可能になる。
その後、シャッタ部材34dは、キャップ受部73のトナー補給口72wの周囲に形成された壁部(図29等を参照できる。)に当接して、トナー容器収容部70(キャップ受部73)における移動が規制される(シャッタ部材34dは長手方向に絶対的に移動しないことになる。)。しかし、トナー容器32Yの装着方向の移動は進められるために、シャッタ部材34dの開放方向の相対的な移動がおこなわれる。すなわち、図18(C)に示すように、シャッタ部材34dは、容器本体33Yの側に相対的に移動して、そのシャッタ変形部34d2がシャッタ収納部34n(収納部)内に収納される。こうして、シャッタ部材34dの開放方向の移動によるトナー排出口Wの開放が完全に終了する。このとき、シャッタ部材34dのストッパ解除部34d21は、シャッタ収納部34nの切欠部34n6(図17等も参照できる。)に格納される。
このように、本実施の形態1におけるトナー容器32Yは、シャッタ部材34dにシャッタ主部34d1との接続位置を基点にして弾性変形するシャッタ変形部34d2を設けて、そのシャッタ変形部34d2にシャッタ部材34dの開放方向の移動を規制するストッパ部34d22とそれを解除するストッパ解除部34d21とを設けているため、トナー容器32Yが単体の状態でシャッタ部材34dが勝手にトナー排出口Wを開放してしまうことがなく、トナー容器32Yが画像形成装置本体100にセットされるときにのみその装着動作に連動してシャッタ部材34dがトナー排出口Wを開放することになる。
ここで、シャッタ主部34d1のシャッタレール係合部34d15(図25を参照できる。)は、キャップ部34Yに形成された第2の当接部34s10(図20を参照できる。)に当接して閉鎖方向(ストッパ部34d22によって規制される方向とは逆方向である。)へのシャッタ部材34dの移動を規制する第2のストッパ部としても機能する。すなわち、シャッタ部材34dがトナー排出口Wを開放した状態(図16、図17の状態である。)から閉鎖した状態(図15の状態である。)に移行するときに、閉鎖方向手前側ではシャッタ部材34dのシャッタレール係合部34d15(第2のストッパ部)が第2の当接部34s10に当接して、閉鎖方向奥側ではシャッタ部材34dのストッパ部34d22が当接部34n5に当接して、シャッタ部材34dの閉鎖時の位置が定まることになる。
なお、図20を参照して、シャッタレール34tの上方には、溝部を挟んで、シャッタレール34tの鉛直面34sを含む仮想平面上にある鉛直面(又は、仮想平面に対して平行な鉛直面)を有するリブ34pが長手方向に延設されている。このリブ34pは、図43〜図45等に示すシャッタ閉機構72d(シャッタ挟持機構)の第1挟持部材72d1によって、シャッタレール34tの鉛直面34sが挟持されるときに、第1挟持部材72d1がシャッタレール34t上方の溝部に入り込まないようにするためのものである。すなわち、リブ34pとシャッタレール34tとの間の距離(溝部の距離である。)は、第1挟持部材72d1の高さ(図43の紙面垂直方向の長さである。)よりも狭く設定されている。
なお、リブ34pは、側方(図14の紙面垂直方向である。)に突出するとともに長手方向(図14の左右方向である。)に延設されていればその機能を達成することができ、上述した鉛直面を必ずしも有していなくてもよい。
また、図25、図26等を参照して、シャッタ部材34dのシャッタ主部34d1の両側端であって装着方向先端には、1対の被挟持部34d11が形成されている。この被挟持部34d11は、図43〜図45等に示すように、シャッタ部材34dの開閉動作時にシャッタ閉機構72d(シャッタ挟持機構)の第2挟持部材72d2によって挟持されるためのものである。被挟持部34d11は、シャッタ主部34d1の装着方向先端に起立する係合壁34d11aと、被挟持部34d11の上方に装着方向に平行に延設されている抑え壁34d11bと、側壁34d11c(シャッタ主部34d1の側壁も兼ねている。)と、からなる。
シャッタ部材34dの開閉動作時に、シャッタ部材34dの被挟持部34d11がシャッタ閉機構72d(シャッタ挟持機構)の第2挟持部材72d2に挟持され、キャップ部34Yの鉛直面34sがシャッタ閉機構72d(シャッタ挟持機構)の第1挟持部材72d1に挟持されることで、シャッタ部材34dの開閉動作時におけるキャップ受部73でのシャッタ部材34d及びキャップ部34Yの姿勢が定められることになる。このとき、シャッタ閉機構72d(シャッタ挟持機構)の第2挟持部材72d2に挟持されているのは被挟持部34d11(シャッタ主部34d1)の側壁34d11cであり、抑え壁34d11bは第2挟持部材72d2に対して被挟持部34d11が上下方向に移動するのを抑える役割を果たす。また、後述するが、被挟持部34d11の係合壁34d11aは、第2挟持部材72d2に係合する。
ここで、本実施の形態1におけるトナー容器32Yは、図15を参照して、シャッタ部材34dのストッパ解除部34d21が、キャップ部34Yの非互換形状部34gに対して長手方向の容器本体33Yの側(図14の左側である。)に配設されている。すなわち、非互換形状部34gが形成された位置に対して、ストッパ解除部34d21は図14の左側に形成されている。
このように構成することで、図4に示すようなトナー容器32Yの装着動作をおこなう際に、そのトナー容器が異なる色のものであると、キャップ部34Yの先端に設けた非互換形状部34gが真っ先にキャップ受部73の嵌合部73cに係合せずに当接することになるため、キャップ部34Yのトナー排出口Wに覆設されたシャッタ部材34dの開放動作(ストッパ解除部34d21によるストッパ部34d22の解除動作)が開始されて色の異なるトナーがトナー排出口Wから画像形成装置本体100に向けて誤って供給されてしまう不具合が確実に抑止される。
特に、本実施の形態1における画像形成装置100は、図4に示すように、トナー容器収容部70に対してトナー容器34Yが上方から載置された後に水平方向(長手方向)にスライド移動されて装着動作が完了するように構成されているために、トナー容器収容部70におけるキャップ受部73の位置でトナー容器の非互換性を判断する必要がある。したがって、上述したようにキャップ部34Yの先端に非互換形状部34gを設ける構成が、有用になる。
また、本実施の形態1におけるトナー容器32Yは、先に説明したように、シャッタ部材34dにおけるシャッタ主部34d1がトナー排出口Wを開閉する動作を案内するレール部として、スライド溝34n1(第1のレール部)と、シャッタレール34t(第2のレール部)と、が設けられている。図20を参照して、スライド溝34n1(第1のレール部)は、シャッタ主部34d1におけるシャッタ変形部34d2の側(図14の左方である。)を支持するように長手方向に延設されている。これに対して、シャッタレール34t(第2のレール部)は、シャッタ主部34d1におけるシャッタ変形部34d2から離れた側を(図14の右方である。)を支持するように長手方向に延設されている。すなわち、シャッタ主部34d1は、スライド溝34n1(第1のレール部)とシャッタレール34t(第2のレール部)とによって、長手方向の両側で支持されていることになる。
そして、図20等を参照して、シャッタ収容部34nに形成されたスライド溝34n1(第1のレール部)の長手方向の長さ(トナー容器32Yの挿入方向に対する長さである。)が、シャッタレール34t(第2のレール部)の前記長手方向の長さに比べて、短くなるように形成されている。なお、スライド溝34n1は、シャッタ部材34dのシャッタスライダ34d12の長さよりも短くなるようにも形成されている。
詳しくは、図20を参照して、シャッタレール34t(鉛直面34sとリブ34pとの間に挟まれた溝部である。)は、長手方向の長さが15〜20mm程度に比較的長く形成されている。これに対して、図19、図20を参照して、スライド溝34n1(上壁と側壁と下壁とで囲まれた溝部であって、図中の破線で囲んだ部分である。)は、長手方向の長さが1〜2mm程度に短く形成されている。また、スライド溝34n1の端部は、キャップ部34Yの内部で他の壁面と同一面になっている。すなわち、スライド溝34n1の長手方向の長さは、キャップ部34Yの肉厚分となっている。
換言すると、本実施の形態1におけるキャップ部34Yは、シャッタ部材34dがトナー排出口Wを開放する動作にともない、シャッタ主部34d1においてスライド溝34n1に支持された部分とシャッタレール34tによって支持された部分との距離が短くなるように構成されていることになる。すなわち、図20に示すスライド溝34n1の位置(スライド溝34n1とシャッタスライダ34d12とが当接する位置である。)と、シャッタレール34tとシャッタスライダ34d12とが当接する位置と、の距離(長手方向の距離である。)が、シャッタ部材34dの開放動作にともない徐々に短くなっていく。
したがって、シャッタ部材34dがトナー排出口Wを完全に開放した状態(図16、図17の状態であって、シャッタ変形部34d2がシャッタ収納部34nに収納された状態である。)では、シャッタ主部34d1はスライド溝34n1とシャッタレール34tとの短いスパンにて支持されていることになる。そのため、シャッタ主部34d1が長いスパンにて支持されている場合(図15の状態である。)に比べて、シャッタ主部34d1が上下方向にガタつきやすくなり、シャッタ主部34d1の端部(容器本体33Y側の端部である。)に接続されたシャッタ変形部34d2(シャッタ収納部34nとの当接によって弾性変形している。)の弾性変形の度合いが小さくなる。これをシャッタ部材34dの開放動作に合わせて連続的にみると、シャッタ変形部34d2の弾性変形量は、ストッパ解除部34d21によるストッパ部34d22の解除がおこなわれたとき(装置本体100のストッパ解除付勢部72bによってストッパ解除部34d21が押し上げられたときである。)に最大になり、その後はシャッタ主部34d1がスライド溝34n1とシャッタレール34tとによって支持されるスパンの漸減にともない弾性変形量も漸減する。
このような構成により、シャッタ部材34dがトナー排出口Wを開放している状態(図16、図17の状態であって、シャッタ変形部34d2がシャッタ収納部34nに収納されている状態である。)が長時間続いても、シャッタ部材34dがトナー排出口Wを閉鎖している状態(図15の状態である。)と同様に、シャッタ部材34dに塑性変形が生じてしまう不具合が抑止される。したがって、シャッタ部材34dの開閉動作をおこなった後であっても、シャッタ部材34dの周囲からトナーが漏出する不具合を未然に防止することができる。さらには、シャッタ部材34dの開放動作にともない、シャッタ変形部34d2の弾性変形量が漸減していくために、トナー容器32Yの装着動作(シャッタ部材34dの開放動作)もスムーズにおこなわれることになる。
なお、上述した構成において、シャッタ部材34dがトナー排出口Wを完全に開放したとき(図16、図17の状態である。)に、シャッタ主部34d1においてシャッタレール34t(第2のレール部)によって支持されていた部分がシャッタレール34tから離脱して、シャッタ主部34d1がスライド溝34n1(第1のレール部)によってのみ支持されるように構成することもできる。その場合には、シャッタ部材34dがトナー排出口Wを完全に開放した状態において、シャッタ主部34d1はスライド溝34n1のみで支持されてそのガタツキ量をさらに大きくできるため、シャッタ変形部34d2の弾性変形量もさらに小さくなって、上述した効果をさらに確実なものにすることができる。
ここで、本実施の形態1では、図15を参照して、シャッタ収納部34n(収納部)に、シャッタ部材34dの開放動作にともないシャッタ変形部34d2のストッパ解除部34d21が通過する位置に、シャッタ収納部34nに対するストッパ解除部34d21の接触力を低下させる穴部としての切欠部34n6が形成されている。このように、シャッタ収納部34nに切欠部34n6(穴部)を設けることで、シャッタ部材34dの開放動作にともないシャッタ変形部34d2がシャッタ収納部34nに収納される際に、ストッパ解除部34d21はシャッタ収納部34nの上面にまったく接触しないことになる(押圧されないことになる)。したがって、シャッタ部材34dの開放動作にともなう、シャッタ変形部34d2の弾性変形を小さくすることができる。
なお、本実施の形態1では、シャッタ収納部34nに対するストッパ解除部34d21の接触力を低下させるために、切欠部34n6(穴部)を形成したが、切欠部34n6(穴部)の代わりに溝部を同じ範囲に設けることもできる。
また、本実施の形態1では、シャッタ部材34dの開放動作にともないシャッタ変形部34d2のストッパ解除部34d21が通過する位置(範囲)に切欠部34n6(穴部)を形成したが、シャッタ部材34dの開放動作の終了にともないストッパ解除部34d21が停止する位置に穴部又は溝部を形成することもできる。この場合には、シャッタ収納部34nにシャッタ変形部34d2が収納された状態(図16、図17の状態である。)におけるシャッタ変形部34d2の弾性変形を小さくすることができる。
なお、本実施の形態1におけるシャッタ収納部34n(収納部)は、シャッタ部材34dの開閉動作をスムーズにおこなうためのものである。すなわち、キャップ部34Yにシャッタ収納部34nを設けることで、シャッタ部材34dがトナー排出口Wを開放している状態でも、シャッタ部材34dがトナー排出口Wを閉鎖している状態と同様に、シャッタ部材34dがキャップ部34Yから下方に突出することなくキャップ部34Yと一体化するため、シャッタ部材34dの開閉動作がスムーズにおこなわれる。
ここで、本実施の形態1におけるキャップ部34Yは、長手方向に直交する断面でみたときに、図23に示すように、容器本体33Yを回転可能に保持するために周方向に並設された5つの爪部34jのうち、1つの爪部34jがシャッタ収納部34nに対向する上部に配置され、いずれの爪部34jもシャッタ収納部34nの位置には配置されないように構成されている。上述したように、シャッタ収納部34nは、シャッタ変形部34d2が収納される部分であるために、構造的に、容器本体33Yとの隙間が大きくなってしまうとともに、爪部34jを形成することができない。そのため、構造的に、キャップ部34Yの底部(シャッタ収納部34nが設けられた部分である。)では、容器本体33Yを保持する力(規制力)が小さくなってしまう。これに対して、本実施の形態1では、1つの爪部34jがシャッタ収納部34nに対向する上部に配置されているために、容器本体33Yの下方に対するキャップ部34Yの規制力が弱くて容器本体33Yが上下方向に倒れようとしても、それを相殺するようにシャッタ収納部34nに対向する上部に設置された爪部34jが容器本体33Yを保持することになる。したがって、キャップ部34Yによって容器本体33Yが周方向にわたってバランスよく保持されることになる。
さらに、図14を参照して、本実施の形態1におけるキャップ部34Yには、シャッタ収納部34nの近傍の位置に、容器本体33Yとの隙間を小さくするための突出部Hが設けられている。
このような構成により、上述したように容器本体33Yの下方に対するキャップ部34Yの規制力が弱くて容器本体33Yが上下方向に倒れようとしても、その動作がキャップ部34Yの突出部Hが容器本体33Yに当接することで制限されることになる。したがって、キャップ部34Yによって容器本体33Yが周方向にわたってバランスよく保持されることになる。
ここで、図16及び図45を参照して、上述のように構成されたシャッタ部材34dによって開閉されるキャップ部34Yのトナー排出口Wは、鉛直方向下方からみたときに、六角形状に形成されている。
詳しくは、キャップ部34Yには、トナー排出口Wの周囲に、下方に向けて突出する縁部34rが形成されている。この縁部34rは、長手方向(図45の左右方向である。)の両側の先端部34r1が、それぞれ、トナー排出口Wの中央部から離れる方向に向かって長手方向に尖状に形成されている。詳しくは、縁部34rは、鉛直方向下方からみたときに、長手方向に沿って互いに対向する平行部34r2と、長手方向に対向する先端部に位置する2つの頂角部34r1と、を有する六角形状の縁部である。そして、トナー排出口Wは、縁部34rの六角形状に沿うように六角形状に形成されている。
このように、トナー排出口Wの周囲の縁部34rの、長手方向(シャッタ部材34dが開閉される方向でもある。)の先端部34r1を尖状に形成することで、シャッタ部材34dに貼着されたシャッタシール36は、シャッタ部材34dを閉鎖するときには尖状の先端部34r1によって小さな面積にて縁部34r1との摺接が開始されて徐々にその摺接面積が広がっていくために、縁部34rとの接触によってシャッタシール36に剥がれや破損が生じにくくなる。また、シャッタ部材34dを開放するときにも縁部34rとの摺接面積が徐々に狭まっていくために、縁部34rとの接触によるシャッタシール36へのダメージが少なくなる。
さらに、図46を参照して、キャップ受部73のトナー補給口72wの周囲にも、発泡樹脂材料からなるシール部材76が貼着されていて、トナー容器32Yのトナー排出口Wに連通するトナー補給口72wからのトナー飛散が防止される。そして、トナー補給口72wの周囲に設置されたシール部材76に対して、トナー容器32Yの長手方向の装着動作にともないキャップ部34Yの縁部34rが摺接しても、尖状の先端部34r1によって小さな面積にて縁部34r1とシール部材76との摺接が開始されて徐々にその摺接面積が広がっていくために、縁部34rとの接触によってトナー補給口72wのシール部材76に剥がれや破損が生じにくくなる。また、トナー容器32Yの長手方向の離脱動作をおこなうときにも、トナー補給口72wのシール部材76と縁部34rとの摺接面積が徐々に狭まっていくために、縁部34rとの接触によるトナー補給口72wのシール部材76へのダメージが少なくなる。
したがって、装置本体100へのトナー容器32Yの着脱動作にともないトナー容器32Y内に収納しているトナー(又は、残留するトナー)が外部に飛散する不具合を確実に防止することができる。
なお、図16を参照して、本実施の形態1において、キャップ部34Yの縁部34rは、長手方向(図45の左右方向である。)に向いた面(先端部34r1に接する面である。)が、トナー排出口Wの中央部から離れるにつれて下方に向けて突出する量が漸減するようにテーパ状に形成されている。
このような構成により、トナー容器32Yの長手方向の着脱動作にともないシャッタ部材34dに貼着されたシャッタシール36が縁部34rと擦れても、シャッタシール36にダメージがさらに生じにくくなる。同様に、トナー容器32Yの長手方向の着脱動作にともない、キャップ受部73のトナー補給口72wの周囲に設けられたシール部材76(図46を参照できる。)が縁部34rと擦れても、そのシール部材76にダメージがさらに生じにくくなる。
ここで、本実施の形態1では、トナー容器32Y、32M、32C、32K内に収容するトナーとして、体積平均粒径をDv(μm)として個数平均粒径をDn(μm)としたときに、
3≦Dv≦8 …(1)
1.00≦Dv/Dn≦1.40 …(2)
なる関係が成立するように形成されたものを用いている。これによって、現像工程時に画像パターンに応じたトナー粒子の選択がおこなわれて良好な画質が維持されるとともに、現像装置で長時間撹拌されても良好な現像性が維持される。さらには、チューブ71等のトナー補給経路が閉塞することなく、トナーが効率的かつ確実に搬送されることになる。
なお、トナーの体積平均粒径及び個数平均粒径の測定は、代表的には、コールカウンター式粒度分布測定器「コールターカウンターTA−2」(コールター社製)又は「コールターマルチサイザー2」(コールター社製)を用いて測定することができる。
さらに、本実施の形態1では、トナー容器32Y、32M、32C、32K内に収容するトナーとして、形状係数SF−1が100〜180の範囲になって、形状係数SF−2が100〜180の範囲になるように形成された略球形トナーを用いている。これにより、高い転写効率を維持しつつ、クリーニング性能の低下を抑止することができる。さらには、チューブ71等のトナー補給経路が閉塞することなく、トナーが効率的かつ確実に搬送されることになる。
ここで、形状係数SF−1は、トナー粒子の球形度を示すものであり、次式で求まる。
SF−1=(M2/S)×(100π/4)
上式において、Mはトナー粒子の投影面における最大粒径(まばらな粒径の中で最も大きな粒径である。)であり、Sはトナー粒子の投影面の面積である。したがって、形状係数SF−1が100であるトナー粒子は真球であって、100から大きくなるほど球形度が低くなる。
また、形状係数SF−2は、トナー粒子の凹凸度を示すものであり、次式で求まる。
SF−2=(N2/S)×(100/4π)
上式において、Nはトナー粒子の投影面における周長であり、Sはトナー粒子の投影面の面積である。したがって、形状係数SF−2が100であるトナー粒子は凹凸がなくて、100から大きくなるほど凹凸が大きくなる。
なお、形状係数SF−1及び形状係数SF−2は、走査型電子顕微鏡「S−800」(日立製作所社製)にて撮影したトナー粒子の写真を、画像解析装置「LUSEX3」(ニレコ社製)にて解析して求める。
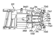
次に、図29〜図46にて、トナー容器収容部70(ボトル受部72、キャップ受部73)について詳述する。
先に図4にて説明したように、トナー容器収容部70には、ボトル受部72やキャップ受部73が設けられている。そして、トナー容器32Yは、ユーザーによって、長手方向を水平方向とした状態でボトル受部72のボトル受面72a上に上方から載置された後に、容器本体33Yに対してキャップ部34Yを先頭にして長手方向を装着方向としてボトル受面72a上を滑動しながらキャップ受部73に向けて押し込まれる。
ここで、図29、図30等を参照して、ボトル受部72には各色ごとにボトル受面72aが形成され、キャップ受部73にも各色ごとにボトル受部73が形成されていて、それぞれに対応するトナー容器32Y、32M,32C、32Kが挿入されて(白矢印方向の挿入である。)、各ボトル受部72でそれぞれのキャップ部が非回転で保持される。
なお、図29、図30、図34〜図36、図40〜図42等において、ボトル受部72の構成を図示するために、4つのキャップ受部72のうち一部のキャップ部の図示を省略している。
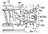
図29〜図31を参照して、トナー容器収容部70のボトル受部72には、ボトル受面72a、ストッパ解除付勢部72b、シャッタ挟持機構としてのシャッタ閉機構72d、トナー補給口72w、シール部材76、等が設けられている。
ボトル受面72aは、トナー容器32Yの着脱動作時にはトナー容器32Yの滑動面として機能し、トナー容器32Yのセットが完了した後には回転駆動する容器本体33Yの保持部として機能する。
ストッパ解除付勢部72bは、ボトル受面72aにおいてキャップ受部73の側(トナー容器32Yの装着方向下流側である。)に形成された台形状のリブである。先に図18等で説明したように、ストッパ解除付勢部72bは、トナー容器32Yの装着動作に連動して、シャッタ部材34Yのストッパ解除部34d21を押し上げてストッパ部34d22と当接部34n5との当接状態を解除するためのものである(シャッタ部材34dの開放動作を可能にするためのものである。)。
図29〜図31、図43〜図45を参照して、シャッタ閉機構72d(シャッタ挟持機構)は、キャップ受部73に覆われたボトル受部72上の位置であって、トナー補給口72wに対してトナー容器32Yの装着方向上流側に配設されている。シャッタ閉機構72dは、図43の上下方向に対向するように配設された1対の略馬蹄形の部材であって、ねじりコイルスプリングが設置された支軸部72d3を中心にして回動可能に構成されている。シャッタ閉機構72d(シャッタ挟持機構)は、一端側に第1挟持部72d1が形成され、他端側に第2挟持部72d2が形成されている。そして、先に説明したように、トナー容器32Yにおけるシャッタ部材34dの開閉動作時に、シャッタ部材34dの被挟持部34d11が第2挟持部材72d2に挟持され、キャップ部34Yの鉛直面34sが第1挟持部材72d1に挟持されることで、シャッタ部材34dの開閉動作時におけるキャップ受部73でのシャッタ部材34d及びキャップ部34Yの姿勢が定められてスムーズな開閉動作が可能になる。
なお、シャッタ部材34dの開閉動作にともなうシャッタ閉機構72d(シャッタ挟持機構)の動作については、後で図43〜図45にて詳述する。
図29〜図33を参照して、トナー容器収容部70のキャップ受部73には、主基準ピン73a、従基準ピン73b、嵌合部73c、押圧部73d、被係合部73m、アンテナ73e(RFID用アンテナ)、駆動ギア81、軸受73k、等が設けられている。
先に図11等を用いて説明したように、主基準ピン73aと従基準ピン73bとは、それぞれ、キャップ部34Yの第1の穴部34aと第2の穴部34bとに係合する。そして、キャップ受部73におけるキャップ部34Yの位置決めがおこなわれる。
ここで、図32、図46等を参照して、主基準ピン73aは、従基準ピン73bよりも長手方向に長く形成されている(根元部となる基準面の位置は同一平面上に形成されている。)。なお、主基準ピン73aと従基準ピン73bとは、いずれも、長手方向(トナー容器32Yの着脱方向である。)に延設されている。また、主基準ピン73aは、その先端部が先細り形状となっている。これらにより、キャップ受部73へのトナー容器32Yの長手方向の装着動作において、キャップ受部73へのトナー容器32Yのスムーズな装着が可能になる。
また、被係合部73mは、トナー容器32Yのキャップ部34Yに形成された第1係合部34e及び第2係合部34f(規制部)に係合する。これにより、キャップ部34Yの姿勢が規制されながらキャップ受部73に対してキャップ部34Yが着脱されるとともに、キャップ受部73にキャップ部34Yが装着された状態でのキャップ部34Yの姿勢が規制される。
また、嵌合部73cは、トナー容器32Yのキャップ部34Yの先端部に形成された非互換形状部34gに係合する。このように、キャップ受部73にトナー容器32Yの非互換形状部34gに対応する嵌合部73cを設けることで、所定の色のトナー容器収容部(例えば、シアンのトナー容器収容部である。)に、異なる色のトナー容器(例えば、イエローのトナー容器である。)が誤セットされる不具合が防止される。
ここで、この嵌合部73cは、図32等を参照して、キャップ受部73において長手方向のボトル受部72に近い側に設けられている。これにより、キャップ部34Yの先端に設けた非互換形状部34gが真っ先にキャップ受部73の嵌合部73cに係合せずに干渉することになるため、キャップ部34Yのトナー排出口Wに覆設されたシャッタ部材34dの開放動作が開始されて色の異なるトナーがトナー排出口Wから画像形成装置本体100に向けて誤って供給されてしまう不具合が確実に抑止される。
特に、本実施の形態1における画像形成装置100は、図4に示すように、トナー容器収容部70に対してトナー容器34Yが上方から載置された後に水平方向(長手方向)にスライド移動されて装着動作が完了するように構成されているために、キャップ受部73においてボトル受部73に近い位置でトナー容器の非互換性を判断する必要がある。したがって、上述したように嵌合部73cをボトル受部72に近い側に設ける構成が、有用になる。
また、本実施の形態1におけるトナー容器収容部70は、トナー容器32Yの装着動作において、キャップ部34Yの非互換形状部34gが嵌合部73cに嵌合した後に、キャップ部34Yのストッパ解除部34d21にストッパ解除付勢部72bが係合するように、ストッパ解除付勢部72bと嵌合部73cとの位置関係が設定されている。
これにより、非互換性の判断がされた後にシャッタ部材45dの開放動作がおこなわれることになるため、上述したトナー容器の誤セットを防止して色の異なるトナーが供給される不具合を抑止する効果が、さらに確実なものになる。
図31〜図33、図40を参照して、軸受73kは、駆動部91における駆動ギア81の駆動シャフトを、キャップ受部73に回転自在に支持するためのものである。
また、キャップ受部73における奥側の端面には、アンテナ73eが設置されている。このアンテナ73eは、トナー容器32Yのキャップ部34Yの端面に設置されたRFID用チップ35(図5、図9等を参照できる。)と非接触で無線通信をおこなうためのものである。
図31〜図33等を参照して、キャップ受部73の押圧部73dは、トナー容器32Yの装着方向下流側であって、ボトル受部73の両側壁にそれぞれ設置されている。
図31〜図33等を参照して、押圧部73dは、スライダ73d1、トーションスプリング73d2等で構成されている。スライダ73d1は、その先端が山形に形成されている。詳しくは、図33を参照して、このスライダ73d1の山形の形状は、ボトル受部72側の傾斜73d11が奥側(装着方向奥側である。)の傾斜73d12に比べて緩やかになるように形成されている。これにより、ユーザーは、キャップ受部73へのトナー容器32Yの着脱動作において、高いクリック感を得ながら着脱動作をスムーズにおこなうことができる。
そして、このスライダ73d1の凹部(窪み部)73d13に、トーションスプリング73d2の一端が保持される。また、スライダ73d1がキャップ受部73のスライド挿入口73d6に挿入され、キャップ受部73の軸部73d5にトーションスプリング73d2のコイル部が挿入される。さらに、トーションスプリング73d2の他端は、キャップ受部73の突起部73d7に保持される。このような構成により、トーションスプリング73d2のスプリング力によって、1対のスライダ73d1が図37の矢印方向(トナー容器32Yに対向する方向である。)に付勢されることになる。
そして、このように構成された1対の押圧部73d(スライダ73d1)によって、トナー容器収容部70(キャップ受部73)へのトナー容器32Y(キャップ部34Y)の装着時(又は、離脱時)に、キャップ部34Yの被押圧部34cが装着方向(又は、離脱方向)の力に抗する方向に押圧されることになる。したがって、ユーザーは、キャップ受部73へのトナー容器32Yの装着動作(又は、離脱動作)において、被押圧部34cと押圧部73dとが係合する位置で装着方向(又は、離脱方向)の操作力に抗する反力を感じた後に、装着方向(又は、離脱方向)の操作力をさらに高めて一気に装着動作(又は、離脱動作)を完了することになる。そのため、ユーザーは、キャップ受部73へのトナー容器32Yの装着動作(又は、離脱動作)において、高いクリック感を得ることができる。
図34〜図36は、トナー容器収容部70のキャップ受部73にトナー容器32Yのキャップ部34Yが装着されていく状態を順番に示す斜視図である。また、図37〜図39は、キャップ受部73の押圧部73dにトナー容器32Yの被押圧部34cが係合しながらキャップ受部73に装着されていく状態を順番に示す断面上面図である。さらに、図40〜図42は、キャップ受部73にトナー容器32Yのキャップ部34Yが装着されていく状態を順番に示す断面斜視図である。
図34、図37、図40に示すように、トナー容器32Yは、ボトル受部72上に載置された後に、キャップ受部73に向かって押し込まれてスライド移動することになる。
その後、図35、図38、図41に示すように、トナー容器32Yは、被押圧部34cが押圧部73d(スライダ73d1の傾斜面73d11)に当接することになる。そして、さらにトナー容器32Yが押し込まれることで、押圧部73d(スライダ73d1)が被押圧部34cの傾斜面に摺接しながらトーションスプリング34d2のスプリング力に抗するようにキャップ部34Yから遠ざかる方向(図37の矢印方向に対して逆の方向である。)に退避していく。
その後、図36、図39、図42に示すように、スライダ73d1が被押圧部34cの傾斜面の頂点を越えると、スライダ73d1の奥側の傾斜面73d12が、被押圧部34cの容器本体33Y側の傾斜面に当接する。このとき、スライダ73d1はトーションスプリング34d2によって付勢されているため、被押圧部34cの容器本体33Y側の傾斜面がスライダ73d1の奥側の傾斜面73d12に押し出されて、キャップ部34Yはキャップ受部73の奥側に向けて一気に移動することになる。こうして、キャップ部34Yは、トナー排出口Wがトナー補給口72wに合致する位置(正規の装着位置)に到達することになる。
なお、スライダ73d1が被押圧部34cの傾斜面の頂点に当接しているとき、スライダ73d1は長手方向に直交する方向に被押圧部34cを押圧することになる。
このようなトナー容器32Yの一連の装着動作において、ユーザーは、操作開始直後は小さな抵抗を感じつつトナー容器32Yをキャップ受部73に向けて挿入していき、スライダ34d1が被押圧部34cに押圧されるときにはやや大きな抵抗を感じて、その後にスライダ34d1が被押圧部34cの頂点を越えるときにトナー容器32Yが一気に奥側にしっかりと嵌まり込む感覚を得ることになる。このように、トナー容器32Yの装着操作において、ユーザーに確かなクリック感を与えることで、トナー容器32Yのキャップ部34Yがキャップ受部73の正規の装着位置に装着されないセット不良を抑止することができる。
なお、トナー容器収容部70(キャップ受部73)からのトナー容器32Y(キャップ部34Y)の離脱時の動作は、上述した装着時の動作と逆になる。
ここで、キャップ部34Yの被押圧部34cの容器本体33Y側の傾斜面は、先端側の傾斜面に比べて急になるように形成されている(垂直傾斜に近くなっている。)。また、それに合わせて、キャップ受部73のスライダ73d1の傾斜面73d12の傾斜も急なものになっている。これにより、キャップ受部73への装着が完了したトナー容器32Y(キャップ部34Y)が、容易に引き抜かれないようになる。
ここで、本実施の形態1では、図8等を参照して、キャップ部34Yの両側方部に形成された被押圧部34cは、それぞれ、キャップ部34Yの先端部(被押圧部34cや非互換形状部34gが形成された小径部である。)の中心を通る仮想水平面上であって、その外周面上に設けられている。同様に、キャップ受部73の押圧部73dも、1対の被押圧部34cにそれぞれ当接するように上述した仮想水平面上の対向する位置にそれぞれ設置されている。
このような構成により、図38を参照して、1対の押圧部73dが1対の被押圧部34cに当接するときに、それぞれの被押圧部34cに作用する1対の押圧部73dの力のベクトル(図38中の矢印で示す力のベクトルである。)が、容器本体33Yの回転軸に対して線対称になる。そのため、トナー容器32Yの着脱時において1対の押圧部73dによって1対の被押圧部34cが押圧されるときに、キャップ部34Yが図38の上下方向に対して均等に押圧されることになる。したがって、キャップ部34Yが不均等に押圧されて、キャップ部34Yと容器本体33Yとの間に設置されたキャップシール37にネジレが生じて、双方の部材33Y、34Yの間のシール性が低下してしまうような不具合が抑止される。さらに、バランスが良く、スムーズなトナー容器32Yの着脱操作が可能になる。
また、本実施の形態1では、図46等を参照して、トナー容器32Yの装着動作において、キャップ受部73の主基準ピン73aがキャップ部34Yの主基準穴34aへの係合を開始するタイミングが、キャップ受部73の押圧部73dがキャップ部34Yの被押圧部34cへの係合を開始するタイミングよりも早くなるように構成されている。具体的には、キャップ部34Yにおいて被押圧部34cの頂点よりも主基準穴34aの開口部が先端側に形成されるとともに、キャップ受部73においてスライダ34d1が設置された位置よりも主基準ピン73aがボトル受部72側に延設されている。
このような構成により、キャップ受部73におけるキャップ部34Yの位置が定まってから、押圧部73dによる被押圧部34cの押圧が開始されることになるため、トナー容器32Yの着脱時において1対の押圧部73dによって1対の被押圧部34cが押圧されるときに、キャップ部34Yが図38の上下方向に対して均等に押圧されることになる。
図43〜図45は、シャッタ部材34dの開閉動作にともなうシャッタ閉機構72d(シャッタ挟持機構)の動作と、押圧部73dの動作と、を示す図である。
シャッタ部材34dの開放動作時には、まず、図43に示すように、白矢印方向のトナー容器32Yの装着動作にともない、第1挟持部材72d1が突起部34mに当接して、第2挟持部材72d2がシャッタ部材34dの被挟持部34d11に当接する。
その後、図44に示すように、白矢印方向のトナー容器32Yの装着動作が進むと、シャッタ閉機構72d(シャッタ挟持機構)が支軸部72d3を中心に回転して、第1挟持部材72d1がキャップ部34Yの突起部34mの鉛直面34sを挟持して、第2挟持部材72d2がシャッタ部材34dの被挟持部34d11の係合壁34d11aに係合しながらシャッタ主部34d1(被挟持部34d11)の側壁34d11c(シャッタ部材34d)を挟持する。
その後、シャッタ部材34dは、キャップ受部73のトナー補給口72wの周囲に形成された壁部(図29等を参照できる。)に当接して、その壁部と第2挟持部72d2とによって挟み込まれるようにしてキャップ受部73におけるシャッタ部材34dの移動が規制される(シャッタ部材34dは長手方向に絶対的に移動しないことになる。)。しかし、トナー容器32Yの装着方向の移動は進められるために、シャッタ部材34dの開放方向の相対的な移動がおこなわれる。すなわち、図45に示すように、シャッタ部材34dは、容器本体33Yの側に相対的に移動して、トナー排出口Wの開放がおこなわれる。このとき、図45に示すように、第1挟持部材72d1がキャップ部34Yの鉛直面34sを挟持して、第2挟持部材72d2がシャッタ部材34dの被挟持部34d11に係合しながらシャッタ部材34dを挟持した状態でシャッタ部材34dの開放動作がおこなわれるため、キャップ受部73でのシャッタ部材34d及びキャップ部34Yの姿勢が定められて、シャッタ部材34dのスムーズな開放動作が可能になる。
他方、トナー容器32Yをトナー容器収容部70(キャップ受部73)から取出(離脱)する場合には、上述の装着時の手順と逆の手順で操作がおこなわれる。すなわち、図45、図44、図43の順に、シャッタ部材34dの閉鎖動作にともなうシャッタ閉機構72d(シャッタ挟持機構)の動作がおこなわれる。
ここで、図45を参照して、本実施の形態1では、第1挟持部72d1によって挟持される挟持面として機能する鉛直面34sを装着方向(図45の右方である。)に長く延設しているため(突起部34mを設けているため)、トナー容器収容部70からトナー容器32Yを取出するときに、シャッタ閉機構72dがシャッタ部材34dを完全に閉鎖するタイミングに対して、シャッタ閉機構72d(第2挟持部72d2)が鉛直面34sを基準としたシャッタ部材34d(被挟持部34d11)の保持を解除するタイミングを遅らせることができる。すなわち、シャッタ部材34dの閉鎖動作がおこなわれるとき(図45の状態から図44の状態へのシャッタ部材34dの相対的な移動である。)に、鉛直面34s(突起部34m)が図44の右方に突出するように長く形成されているため、第1挟持部72d1が突起部34mの鉛直面34sを挟持して第2挟持部72d2がシャッタ部材34dの被挟持部34d11を保持している状態で、シャッタ閉機構72dが図43のように回転することなく、シャッタ部材34dの閉鎖動作を完全に終了することができる。換言すると、鉛直面34sが図45の右方に突出するように長く形成されていない場合には、第1挟持部72d1が鉛直面34sの挟持を解除してシャッタ閉機構72dが図43のようにいち早く回転してしまうために、それに合わせて第2挟持部72d2もシャッタ部材34dの被挟持部34d11の挟持を解除してしまい、シャッタ部材34dの閉鎖動作が完全に終了しないことになる。
このように、本実施の形態1では、キャップ部34Yに突起部34mを設けているために、シャッタ部材34dがトナー排出口Wを完全に閉鎖しないうちにトナー容器32Yが装置本体100から取出される不具合が抑止されることになる。
また、図43〜図45を参照して、本実施の形態1では、トナー容器32Yの着脱動作において、押圧部73dがキャップ部34Yを押圧する力が最大となるタイミング(スライダ73d1が被押圧部34cの頂点に達するタイミングである。)と、ストッパ解除付勢部72bがストッパ解除部34d21に係合するタイミング(ストッパ変形部34d2の弾性変形が最大となるタイミングである。)と、が一致しないように構成されている。
これにより、ストッパ解除付勢部72bがストッパ解除部34d21に係合するときにキャップ部34Yが受ける力の分を加えて、被押圧部34cを押圧する押圧部73dの押圧力をそれほど大きく設定しなくても、上述した被押圧部34cによる着脱操作時のクリック感を得ることができる。
また、図43〜図45を参照して、本実施の形態1では、トナー容器収容部70へのトナー容器32Y(キャップ部34Y)の装着時に、シャッタ閉機構72d(シャッタ挟持機構)によるシャッタ部材34dの挟持動作とともにシャッタ部材34dの開放動作が開始された後に、押圧部73dが被押圧部34cを押圧する動作が開始されるように構成されている。さらに、トナー容器収容部70からのトナー容器32Y(キャップ部34Y)の離脱時に、押圧部73dが被押圧部34cを押圧する動作が終了して押圧部73dが被押圧部34cから離間した後に、シャッタ部材34dの閉鎖動作におけるシャッタ閉機構72d(シャッタ挟持機構)によるシャッタ部材34dの挟持が開放されるように構成している。
これにより、トナー容器32Yの装着時において、シャッタ閉機構72d(シャッタ挟持機構)によるシャッタ部材34dの挟持動作が開始されるときに、キャップ部34Yは押圧部73dからの押圧力を受けないことになり、上述したシャッタ閉機構72d(シャッタ挟持機構)の挟持動作にともなうシャッタ部材34dの開放動作がスムーズにおこなわれることになる(シャッタ部材34dの開放不良が生じないことになる)。また、トナー容器32Yの離脱時において、シャッタ閉機構72d(シャッタ挟持機構)によるシャッタ部材34dの挟持動作が終了するときに、キャップ部34Yは押圧部73dからの押圧力を受けないことになり、上述したシャッタ閉機構72d(シャッタ挟持機構)の挟持動作にともなうシャッタ部材34dの閉鎖動作がスムーズにおこなわれることになる(シャッタ部材34dの閉鎖不良が生じないことになる)。
なお、トナー容器収容部70に対してトナー容器32Yの装着動作が進められるときに、キャップ部34Yに対してボトル受部72及びキャップ受部73の各部位が係る手順は以下のようになる。
まず、キャップ部34Yは、ボトル受面72a上を滑動しながら、非互換形状部34gがキャップ受部73の嵌合部73cと係合することになる。その後、キャップ部34Yの第1係合部34e及び第2係合部34fがキャップ受部73の被係合部73mに係合して、キャップ受部73におけるキャップ部34Yの姿勢が規制される。そして、キャップ部34Yの第1の穴部34aがキャップ受部73の主基準ピン73aに係合して主基準の位置決めがされ、その後にキャップ部34Yの第2の穴部34bがキャップ受部73の従基準ピン73bに係合して主従の位置決めが完了する。また、この位置決めが完了するまでの間に、シャッタ閉機構72d(シャッタ挟持機構)によってキャップ受部73におけるシャッタ部材34d及びキャップ部34Yの姿勢が定められた状態でシャッタ部材34dの開放動作が開始され、その後に押圧部73dが被押圧部34cを押圧する動作が開始される。さらに、押圧部73dが被押圧部34cを押圧する動作とタイミングをずらすように、ストッパ解除付勢部72bによってキャップ部34Yのシャッタ部材34dのストッパ部34d22と当接部34n5との当接状態が解除される。そして、キャップ部34Yにおいて開放されたトナー排出口Wと、キャップ受部73のトナー補給口72wと、が連通して、キャップ受部73(トナー容器収容部70)におけるキャップ部34Y(トナー容器32Y)のセットが完了する。このとき、容器本体33Yのギア33cと装置本体100の駆動ギア81とが噛合するとともに、装置本体100のアンテナ73eに対してキャップ部34YのRFID用チップ35が無線通信可能な最適な位置にくる。
以上説明したように、本実施の形態1における画像形成装置では、ユーザーがトナー容器32Yをボトル受部72上に載置した後に水平方向に移動させる少ないアクションで、その動作に連動してシャッタ部材34dによるトナー排出口Wの開閉動作もおこなわれて、トナー容器32Yの装着動作及び離脱動作が完了することになる。
また、本実施の形態1のトナー容器32Yは、比較的開口面積の大きなトナー排出口Wが鉛直方向下方に向けて配設されていて、トナー排出口Wから直接的に自重落下によりトナーの排出を効率的におこなうことができる。
また、トナー容器32Yは、その長手方向を水平方向として装置本体100に設置されるために、画像形成装置100全体の高さ方向のレイアウトに影響を及ぼすことなく、トナー容器32Yのトナー容量を多くしてその交換頻度を少なくすることができる。
さらに、本実施の形態1におけるトナー容器収容部70は、図30等を参照して、各色用の4つのキャップ受面72a(キャップ受部72)のうち、隣接するキャップ受面72a(キャップ受部72)同士の鉛直方向の高さ位置が異なるように配設されている。具体的に、イエロー用のキャップ受面72a、マゼンタ用のキャップ受面72a、シアン用のキャップ受面72a、ブラック用のキャップ受面72a、の順に鉛直方向の高さ位置が低くなっている(4つのキャップ受面72aが段状に配設されている)。
このような構成により、隣接するキャップ受部73において水平方向に突出する部分(主として、押圧部73dが設置された部分である。)を互いに干渉させずに、4つのキャップ受部73を並設することができる。そのため、装置本体100(トナー容器収容部70)を、長手方向に直交する水平方向に小型化することができる。
以上説明したように、本実施の形態1におけるトナー容器32Yは、キャップ部34Yにおける長手方向の先端の位置に非互換形状部34gを設けているため、画像形成装置本体100に種類の異なるトナー容器が誤セットされそうになった場合であっても、そのトナー容器から画像形成装置本体100に向けて誤ってトナーが供給される不具合を抑止することができる。
実施の形態2.
図47〜図51にて、この発明の実施の形態2について詳細に説明する。
図47は、本実施の形態2におけるトナー容器32Yの一部を示す斜視図である。また、図48及び図49は、それぞれ、キャップ部34Yを示す分解斜視図である。図50は、第1部材34Y1と第2部材34Y2とが溶着された後のキャップ部34Yを示す斜視図である。図51は、トナー容器32Yにおけるキャップ部34Yの内部を示す斜視図である。
本実施の形態2におけるトナー容器は、キャップ部が2つの成型部品を溶着又は接着して形成されたものである点が、キャップ部が一体成型にて形成された前記実施の形態1のものとは相違する。
本実施の形態2におけるトナー容器32Yも、前記実施の形態1のものと同様に、容器本体33Y(ボトル本体)と、その頭部に設けられたキャップ部34Yと、で構成される。さらに、トナー容器32Yには、容器本体33Yとキャップ部34Yとの他に、撹拌部材33f、キャップシール37、シャッタ部材34d、シャッタシール36、RFID35等が設けられている。
ここで、図47〜図51を参照して、本実施の形態2におけるトナー容器32Yは、前記実施の形態1のものとは異なり、キャップ部34Y(キャップシール37、シャッタ部材34d、シャッタシール36、RFID35等が取出された状態のものである。)が2つの成型部品34Y1、34Y2を溶着(又は接着)して形成されている。
詳しくは、キャップ部34Yは、第1部材34Y1と第2部材34Y2とからなる。第1部材34Y1には、トナー排出口Wや、被押圧部34cや、キャップシール37を貼着する貼着面34v、が形成されている。第2部材34Y2には、第1部材34Y1の一部を覆うように形成された小径部34Y2dと、小径部34Y2dよりも大きな外径を有する大径部(内挿部34zが形成された部分である。)と、が形成されている。そして、第2部材34Y2の切欠部34Y2a、34Y2b、34Y2cに、第1部材34Y1の上部(主基準穴34a等が形成された部分である。)や側部34Y1b(被押圧部34cが形成された部分である。)や底部(トナー排出口W等が形成された部分である。)を差し込み、第2部材34Y2の小径部34Y2dを第1部材34Y1の接合部34Y1aに合わせて接合(溶着)する。
ここで、図47、図50を参照して、第1部材34Y1の被押圧部34cは、第2部材34Y2の小径部34Y2dの外径の範囲内に収まるように形成されている。すなわち、キャップ部34Yを長手方向に直交する投影面でみたときに、第1部材34Y1の被押圧部34cが、第2部材34Y2の小径部34Y2dの外周から突出しないように構成されている。なお、第1部材34Y1の貼着面34vは、第2部材34Y2の小径部34Y2dの内径の範囲内にぎりぎり収まるように形成されている。
このように、キャップ部34Yの外周面から突出してキャップ部34Yの外径を大きくしてしまう被押圧部34cを、第2部材34Y2の小径部34Y2dの外周から突出しないように構成することで、キャップ部34Yの大型化(大径化)を防ぐことができる。
また、本実施の形態2におけるキャップ部34Yは、2つの成型部品34Y1、34Y2で構成されているために、1つの成型部品で構成された前記実施の形態1のものに比べて、爪部34j、非互換形状部34g、被押圧部34c、トナー排出口W、トナー落下経路C等の各部分の配列の自由度が比較的高くなる。
以上説明したように、本実施の形態2におけるトナー容器32Yも、前記実施の形態1のものと同様に、キャップ部34Yにおける長手方向の先端の位置に非互換形状部34gを設けているため、画像形成装置本体100に種類の異なるトナー容器が誤セットされそうになった場合であっても、そのトナー容器から画像形成装置本体100に向けて誤ってトナーが供給される不具合を抑止することができる。
実施の形態3.
図52〜図55にて、この発明の実施の形態3について詳細に説明する。
本実施の形態3におけるトナー容器は、撹拌部材33fの構成が、前記実施の形態1のものと相違する。
本実施の形態3におけるトナー容器32Yも、前記実施の形態1のものと同様に、主として、容器本体33Y(ボトル本体)と、その頭部に設けられたキャップ部34Y(ボトルキャップ)と、で構成される。また、本実施の形態3におけるトナー容器32Yも、容器本体33Yとキャップ部34Yとの他に、撹拌部材33f、キャップシール37、シャッタ部材34d、シール部材としてのシャッタシール36、電子情報格納部材としてのRFID用チップ35等に分解される(図9を参照できる)。
さらに、本実施の形態3におけるトナー容器32Yも、前記実施の形態1のものと同様に、容器本体33Yとともに回転する撹拌部材33fがボトル口部33a(開口部A)に嵌合されている。詳しくは、図52〜図54を参照して、撹拌部材33fの嵌合部33f2が、図9に示すボトル口部33a(開口部A)に圧入される。
また、図52〜図54に示すように、本実施の形態3における撹拌部材33fにも、キャップ部34Y内の空洞Bから容器本体33Y内に向けて延設された1対の板状部材33f1が設けられている。そして、この撹拌部材33fの板状部材33f1は、前記実施の形態1のものと同様に、それぞれ互い違いになるように傾斜している。また、撹拌部材33fは、キャップ部34Yと容器本体33Yとを組み付けたときに、その先端(押出板33f10が形成された側である。)がキャップ部34Y内のトナー排出口Wの上方に届くように構成されるとともに、その後端(反対側の端部)が汲み上げ部(図9、図10の破線で囲んだ部分である。)に届くように構成されている。容器本体33Yの開口部Aとともに撹拌部材33fが回転することで、開口部Aからのトナー排出性が向上する。
ここで、図52〜図54に示すように、本実施の形態3における撹拌部材33fは、前記実施の形態1のものとは異なり、板状部材33f1の先端(キャップ部34Y内に向かう側である。)に押出板33f10が設けられている。この押出板33f10は、板状部材33f1の本体部に対して略垂直に起立する板材であって、その外周部にテーパ部34f100が形成されている。
このように、撹拌部材33fにおける板状部材33f1の先端に押出板33f10を設けることで、撹拌部材33fの回転にともない押出板33f10がキャップ部34Y内のトナー排出口Wに向けてトナーを押し付けることになり、トナー排出口Wの近傍(トナー落下経路C)でトナーが詰まった状態になってしまっても、トナー排出口Wからのスムーズなトナー排出が可能になる。
なお、図55(A1)〜(A4)は、押出板33f10が設けられた撹拌部材33f(本実施の形態3のものである。)が設置されたトナー容器32Yにおいて、撹拌部材33fが回転する状態を示す概略正面図である。これに対して、図55(B1)〜(B4)は、押出板33f10が設けられていない撹拌部材33f(前記実施の形態1のものである。)が設置されたトナー容器32Yにおいて、撹拌部材33fが回転する状態を示す概略正面図である。
図55(A1)及び(B1)において、黒矢印は、トナー排出口W(トナー補給口73w)に向けて撹拌部材33fによって搬送されるトナーの搬送方向を示す。
図55(B1)に示すように、撹拌部材33fにおける板状部材33f1の先端に押出板33f10を設けない場合には、撹拌部材33fの回転にともない押出板33f10によってトナーがキャップ部34Yの内周部に沿って周方向に搬送されることがわかる。これに対して、図55(A1)に示すように、撹拌部材33fにおける板状部材33f1の先端に押出板33f10を設けることで、撹拌部材33fの回転にともない押出板33f10によってトナーがトナー排出口Wに向けて搬送(キャップ部34Yの内周部に対して略法線方向の搬送である。)されることがわかる。
ここで、本実施の形態3におけるトナー容器32Yも、前記実施の形態1のものと同様に、キャップ部34Yにおける長手方向の先端の位置に非互換形状部34gを設けている。
これにより、本実施の形態3においても、前記実施の形態1と同様に、画像形成装置本体100に種類の異なるトナー容器が誤セットされそうになった場合であっても、そのトナー容器から画像形成装置本体100に向けて誤ってトナーが供給される不具合を抑止することができる。
実施の形態4.
図56〜図58にて、この発明の実施の形態4について詳細に説明する。
本実施の形態4におけるトナー容器は、キャップ部34Yにおけるトナー排出口Wの近傍に可撓性部材34uが設置されている点が、前記実施の形態3のものと相違する。
本実施の形態4におけるトナー容器32Yも、前記実施の形態3のものと同様に、主として、容器本体33Y(ボトル本体)と、その頭部に設けられたキャップ部34Y(ボトルキャップ)と、で構成される。また、本実施の形態4におけるトナー容器32Yも、容器本体33Yとキャップ部34Yとの他に、撹拌部材33f、キャップシール37、シャッタ部材34d、シール部材としてのシャッタシール36、電子情報格納部材としてのRFID用チップ35等に分解される(図9を参照できる)。
さらに、本実施の形態4におけるトナー容器32Yも、前記実施の形態3のものと同様に、容器本体33Yとともに回転する撹拌部材33fがボトル口部33a(開口部A)に嵌合されている。
また、図56に示すように、本実施の形態4における撹拌部材33fにも、キャップ部34Y内の空洞Bから容器本体33Y内に向けて延設された1対の板状部材33f1(それぞれ互い違いになるように傾斜している。)が設けられている。さらに、本実施の形態4における撹拌部材33fも、前記実施の形態3のものと同様に、板状部材33f1の先端(キャップ部34Y内に向かう側である。)に押出板33f10が設けられている。
ここで、図56及び図58を参照して、本実施の形態4におけるキャップ部34Yには、前記実施の形態3のものとは異なり、厚さが0.188〜0.5mm程度のマイラー等の可撓性材料からなる可撓性部材34uが、トナー落下経路Cから空洞Bにかけて設置されている。詳しくは、図57に示すように、可撓性部材34uは、一箇所が屈曲した形状に形成されていて、その固定部34u2(可撓部34u1よりも幅広に形成されている。)が貼着面となってトナー落下経路Cの内壁(トナー排出口Wに近い側の内壁であって、撹拌部材33fの回転方向下流側の内壁である。)に貼着(固定)されている。また、可撓性部材34uの屈曲部がトナー落下経路C中に位置するように、トナー落下経路Cの内壁に固定部34u2が貼着されている。また、可撓性部材34uの可撓部34u1は、自由端として、トナー落下経路Cから空洞B内に向けて延在している。そして、この可撓部34u1の先端が、撹拌部材33fの回転にともない押出板33f10に接触することで、トナー排出口Wの近傍(トナー落下経路C)でトナーが詰まった状態になってしまっても、トナー排出口Wからのさらにスムーズなトナー排出が可能になる。
詳しくは、図58(A)〜(D)に示すように、撹拌部材33fの回転にともない、押出板33f10に押圧されて、可撓性部材34u(可撓部34u1)が徐々に弓状に撓んでいく。このとき、図58(A)の状態でトナー落下経路Cの内壁と可撓性部材34uとの間にトナーが詰まっていても、図58(D)の状態で可撓性部材34uが大きく弓状に撓むことで、トナー落下経路Cの内壁と可撓性部材34uとの空間が大きくなるため、トナー落下経路Cに詰まっているトナーが崩れることになる。
その後、図58(E)に示すように、押出板33f10の平面部と可撓性部材34uの平面部とが互いに重なり、可撓性部材34uは固定部34u2から可撓部34u1にかけて略平面状に変形する。このときには、可撓性部材34uとトナーとの空間がどんどん広がってゆきトナーの崩れが進行するとともに、その空間に押出板33f10によってトナーが押し込まれながら供給されることになる(図56の状態である。)。これにより、トナー排出口W(トナー落下経路C)におけるトナー排出性とトナー崩れとが促進される。その後、図58(F)に示すように、可撓性部材34uが完全に反り返った状態になり、その後に押出板33f10との接触が解除される。そして、図58(G)に示すように、可撓性部材34uの弾性力によって、可撓性部材34uは初期の状態に回復する。このとき、可撓性部材34uの弾性による戻りの力がトナーに作用して、トナー落下経路Cにおけるトナーの崩れとトナー排出とが促進される。
なお、可撓性部材34uの形状は、本実施の形態4のものに限定されることなく、例えば、屈曲部を有さない形状のものや、固定部34u2の形状が異なるもの等を可撓性部材として用いることもできる。
ここで、本実施の形態4におけるトナー容器32Yも、前記各実施の形態のものと同様に、キャップ部34Yにおける長手方向の先端の位置に非互換形状部34gを設けている。
これにより、本実施の形態4においても、前記各実施の形態と同様に、画像形成装置本体100に種類の異なるトナー容器が誤セットされそうになった場合であっても、そのトナー容器から画像形成装置本体100に向けて誤ってトナーが供給される不具合を抑止することができる。
実施の形態5.
図59〜図61にて、この発明の実施の形態5について詳細に説明する。
本実施の形態5におけるトナー容器は、容器本体33Yがキャップ部34Yとともに非回転でトナー容器収容部70に保持される点が、容器本体33Yがトナー容器収容部70に回転可能に保持される前記各実施の形態のものと相違する。
図59を参照して、本実施の形態5におけるトナー容器32Yも、前記各実施の形態のものと同様に、主として、容器本体33Y(ボトル本体)と、その頭部に設けられたキャップ部34Y(ボトルキャップ)と、で構成される。
ここで、本実施の形態5におけるトナー容器32Yは、前記各実施の形態のものとは異なり、キャップ部34Y(ボトルキャップ)に対して容器本体33Y(ボトル本体)が、接着又は融着されたり係止される等の固定方法によって固定されている。すなわち、容器本体33Yは、キャップ部34Yに対して相対的に回転可能に接続されているのではなくて、キャップ部34Yに対して相対的に回転しないように固定されている。
ここで、本実施の形態5における容器本体33Yは、前記各実施の形態のものとは異なり、その周面に螺旋状の突起が形成されていない。また、容器本体33Yには前記各実施の形態のもののようにギア33cが一体的に形成されておらず、ギア部材42Y(図61を参照できる。)が撹拌部材33fとともに容器本体33Y及びキャップ部34Yに対して相対的に回転可能に設置されている。また、容器本体33Yの内部には、前記各実施の形態のものとは異なり、容器本体33Yの内部に収容したトナーを開口部Aに向けて搬送するための搬送部材41Y(図60を参照できる。)が設置されている。
なお、キャップ部34Yは、容器本体33Yが貼着(固定)される点を除き、前記各実施の形態のものとほぼ同様に構成することができる。
また、撹拌部材33fも、容器本体33Yに固定されていない点を除き、前記各実施の形態のものとほぼ同様に構成することができる。
以下、図60及び図61を用いて、さらに詳しく説明する。
図60を参照して、本実施の形態5においても、容器本体33Yの長手方向他端側(キャップ部34Yが設置された長手方向一端側の反対側であって、装置本体100への装着方向の後方の端部である。)には、トナー容器32Yの着脱作業をおこなう際にユーザーが把持するための把持部33dが設けられている。そして、この把持部33dには、容器本体33Yの内外に通じる貫通穴が形成されていて、この貫通穴に蓋部材49Yが着脱可能に設置されている。この蓋部材49Yは、製造時やリサイクル時等においてトナー容器32Y(容器本体33Y)の内部にトナーを充填(又は、清掃)するためのものであって、トナーを充填(又は、清掃)するときに容器本体33Yから取出されて、トナーの充填が完了した後に容器本体33Yに装着されるものである。
図60を参照して、容器本体33Y内に設置された搬送部材41Yは、軸部41Yaに、マイラー等の材料で形成された薄い可撓性撹拌部材41Ybが貼着されたものである。搬送部材41Yの軸部41Yaは、その長手方向一端側の端部41Ya1(図61を参照できる。)が撹拌部材33fの回転中心の位置に設置された連結部33f20に係止され、その長手方向他端側の端部が軸受部33d1(把持部33dの根元部分であって、容器本体33Y内に入り込んだ部分に形成されている。)に回転可能に支持されている。そして、容器本体33Y及びキャップ部34Yがトナー容器収容部70に非回転で保持された状態で、駆動部91から駆動力を受けてギア部材42Yとともに撹拌部材33fが回転することで、連結部33f20の位置で撹拌部材33fに連結された搬送部材41Yも回転することになる。こうして、搬送部材41Yに設置された可撓性撹拌部材41Ybの搬送力によって、容器本体33Y内に収容されたトナーがキャップ部34Y側に向けて搬送されることになる。
なお、搬送部材41Yの可撓性撹拌部材41Ybは、長手方向の複数個所(本実施の形態5では、6箇所である。)に切込み41Yb1が形成されている。これにより、搬送部材41Yの回転にともない、可撓性撹拌部材41Ybの先端(軸部41Yaに支持されていない自由端側である。)が容器本体33Yの内周面に摺接して、可撓性撹拌部材41Ybが適度に捩れて撓んだ状態で回転しながら容器本体33Y内に収容されたトナーを図60の右方に向けて撹拌搬送することになる。
こうして、本実施の形態5におけるトナー容器32Yにおいても、前記各実施の形態のものと同様に、キャップ部34Yのトナー排出口Wからトナーが排出されることになる。
ここで、図61を参照して、ギア部材42Yは、容器本体33Yに対して、回転可能に取り付けられている。
詳しくは、容器本体33Yのボトル口部33aの外周面に形成された突起に、ギア部材42Yに形成されたギア係止部42Ybが引っ掛かることで、ギア部材42Yが容器本体33Yに回転可能に保持されることになる。また、ギア部材42Yの外周面にはギア部42Ya(平歯車)が形成されていて、トナー容器32Yが装置本体100にセットされると、このギア部42Yaが装置本体100の駆動ギア81に噛合することになる。
また、ギア部材42Yとボトル口部33aの端面との間には、トナー容器32Y外へのトナーの漏出を防止するために、シール材40Yが設けられている。このシール材40Yは、発泡ポリウレタン等の発泡弾性材料からなり、ボトル口部33aの端面に沿うように環状に形成されていて、ギア部材42Yに貼着されている。そして、ギア部材42Yが容器本体32Yにセットされると、ボトル口部33aの端面にシール材40Yが押し付けられて双方の部材33Y、42Yの間のシール性が担保されることになる。
また、ギア部材42Yは、キャップ部34Yに対しても固定されておらず、キャップ部34Yの爪部34jに対して回転可能に保持されている。なお、キャップ部34Yに対するギア部材42Yの保持方法は、前記各実施の形態で説明した容器本体33Yのボトル口部33aに対するキャップ部34Yの保持方法と同様である。すなわち、ギア部材42Yに設けられた鍔状の嵌合部にキャップ部34Yの爪部34jが係合して、ギア部材42Yがキャップ部34Yに回転可能に支持されることになる。さらに、キャップ部34Yには、ギア部材42Yの端面(容器本体33Y側とは反対側の端面である。)が押し付けられる部分に、発泡弾性材料からなるキャップシール43Yが貼着されている。これにより、ギア部材42Yとキャップ部34Yとの間からのトナーの漏出を防止することができる。
また、ギア部材42Yの内径部には、撹拌部材33fが取り付けられている。さらに、撹拌部材33fの連結部33f20には、上述したように搬送部材41Yの軸部41Ya(一端側の端部41Ya1)が連結されている。
なお、本実施の形態5では、キャップ部34Yに形成されたトナー落下経路C1、C2が、上流側(略円柱状の空洞Bの下方)から下流側(トナー排出口W)にかけて流路面積(流路断面積)が漸増するように形成されている。すなわち、図61に示すように、鉛直方向上方のトナー落下経路C1の流路面積に比べて、鉛直方向下方のトナー落下経路C2の流路面積が大きくなるように設定されている(C1<C2である)。これにより、トナー落下経路においてトナーが詰まる不具合がさらに軽減されて、トナー排出口Wからのさらにスムーズなトナー排出が可能になる。
ここで、本実施の形態5におけるトナー容器32Yも、前記各実施の形態のものと同様に、キャップ部34Yにおける長手方向の先端の位置に非互換形状部34gを設けている。
これにより、本実施の形態5においても、前記各実施の形態と同様に、画像形成装置本体100に種類の異なるトナー容器が誤セットされそうになった場合であっても、そのトナー容器から画像形成装置本体100に向けて誤ってトナーが供給される不具合を抑止することができる。
なお、前記各実施の形態では、トナー容器32Y、32M、32C、32K内にトナーのみを収容したが、トナーとキャリアとからなる2成分現像剤を現像装置に適宜に供給する画像形成装置に対してはトナー容器32Y、32M、32C、32K内に2成分現像剤を収容することもできる。その場合であっても、上述した前記各実施の形態と同様の効果を得ることができる。
また前記各実施の形態において、作像部6Y、6M、6C、6Kの一部又は全部をプロセスカートリッジとすることもできる。その場合であっても、上述した前記各実施の形態と同様の効果を得ることができる。
また、前記実施の形態1〜4では、容器本体33Yを回転自在に構成することで、容器本体33Yの内部に収容したトナーが開口部Aに向けて搬送されるように構成した。これに対して、容器本体33Yがキャップ部34Yとともに非回転でトナー容器収容部70に保持されるように構成するとともに、容器本体33Y内に開口部Aに向けてトナーを搬送する搬送部材(例えば、軸部状に搬送コイルや複数の搬送羽根が設置されて、容器本体から独立したギアによって所定方向に回転する搬送部材である。)を設置することで、容器本体33Yの内部に収容したトナーが開口部Aに向けて搬送されるように構成してもよい(図62を参照できる)。
詳しくは、図62に示すように、トナー容器32Yは、主として、容器本体33Yと、ギア44Yと、キャップ部34Y(ボトルキャップ)と、で構成される。容器本体33Yの頭部には開口部Aが設けられていて、その開口部Aの外周部にはギア44Yが回転自在に設置されている。ギア44Yは、装置本体100の駆動ギアと噛合してコイル46Yを回転中心軸を中心に回転駆動するためのものである。また、開口部Aは、容器本体33Y内に収容されたトナーをキャップ部34Y内のスペースに向けて排出するためのものである。ギア44Yには回転軸45Yが一体的に設けられていて、回転軸45Yには螺旋状のコイル46Y(搬送コイル)が連結されている。回転軸45Yの一端は、キャップ部34Yの軸受部34Yaに支持されている。コイル46Yは、容器本体33Y内部の開口部Aから底部にかけて延設されている。そして、ギア44Yが容器本体33Yの周りを回転することで、回転軸45Y及びコイル46Yも回転駆動される。これにより、容器本体33Yに収容されたトナーは、コイル46Yのトナー搬送力によって開口部A側に搬送されることになる。なお、ギア44Yは、容器本体33Yとキャップ部34Yとに挟まれるように、開口部Aの外周部に挿設されている。ギア44Yの両端面のうち、一端面側には容器本体33Yとの間にゴム部材47Yが設けられていて、他端面側にはキャップ部34Yとの間にシール部材48Yが設けられている。このような構成によって、トナー容器32Y全体としてのシール性が担保されている。すなわち、ギア44Y、容器本体33Y、キャップ部34Yのそれぞれの間からトナーが漏出する不具合が抑止される。
そして、このようなトナー容器32Yに対しても、上述した前記各実施の形態と同様に本発明を適用することで、上述した前記各実施の形態と同様の効果を得ることができる。
また、前記実施の形態1〜4では、キャップ部34Yにおけるトナー落下経路Cを、上流側(略円柱状の空洞Bの下方)から下流側(トナー排出口W)にかけて一定の流路面積(流路断面積)にて形成した。これに対して、前記実施の形態1〜4におけるトナー落下経路Cを、前記実施の形態5におけるトナー落下経路C1、C2(図61を参照できる。)のように、上流側(略円柱状の空洞Bの下方)から下流側(トナー排出口W)にかけて流路面積(流路断面積)が漸増するように形成することもできる。そして、そのような場合には、トナー落下経路Cにおいてトナーが詰まる不具合がさらに軽減されて、トナー排出口Wからのさらにスムーズなトナー排出が可能になる。
なお、本発明が前記各実施の形態に限定されず、本発明の技術思想の範囲内において、前記各実施の形態の中で示唆した以外にも、本実施の形態は適宜変更され得ることは明らかである。また、前記構成部材の数、位置、形状等は前記実施の形態に限定されず、本発明を実施する上で好適な数、位置、形状等にすることができる。
5Y 現像装置、
32Y、32M、32C、32K トナー容器、
33Y 容器本体、
33b 突起(螺旋状の突起)、 33c ギア、 33f 撹拌部材、
34Y キャップ部、
34a 第1の穴部(主基準穴)、
34b 第2の穴部(従基準穴)、
34c 被押圧部、
34d シャッタ部材、
34d1 シャッタ主部、
34d11 被挟持部、
34d15 シャッタレール係合部、
34d2 シャッタ変形部、
34d21 ストッパ解除部、 34d22 ストッパ部、
34e 第1係合部(規制部)、
34f 第2係合部(規制部)、
34g 非互換形状部、
34j 爪部、
34j1 成型加工用の穴部、
34m 突起部、
34n シャッタ収納部(収納部)、
34n1 スライド溝(第1のレール部)、
34n6 切欠部(穴部)、
34t シャッタレール(第2のレール部)、
34v 貼着面、 34v1 窪み、
34x 切欠部(挿入口)、 34x1 凹部、
35 RFID用チップ(電子情報格納部材)、
36 シャッタシール、
37 キャップシール(シール材)、
37a フィルム部材、
60Y、60M、60C、60K トナー補給装置、
70 トナー容器収容部、
72 ボトル受部、
72a ボトル受面、
72b ストッパ解除付勢部、
72d シャッタ閉機構(シャッタ挟持機構)、
72w トナー補給口、
73 キャップ受部、
73a 主基準ピン、 73b 従基準ピン、
73c 嵌合部、
73d 押圧部、
73d1 スライダ、
73m 被係合部、
100 画像形成装置本体(装置本体)、
A 開口部、 B 空洞、 C トナー落下経路、 W トナー排出口。
特開平4−1681号公報 特開2002−268344公報

Claims (7)

  1. 長手方向を水平方向とした状態で画像形成装置本体に対して前記長手方向に対して平行に着脱自在に設置されるトナー容器であって、
    前記長手方向の一端側に開口部が形成されるとともに、内部に収容したトナーが前記開口部に向けて搬送されるように構成された筒状の容器本体と、
    前記容器本体の前記開口部が内挿されるとともに、前記容器本体の前記開口部から排出されたトナーを容器外であって鉛直方向下方に排出するためのトナー排出口を底部に具備したキャップ部と、
    前記キャップ部の底部に保持されるとともに、前記トナー排出口を開閉するシャッタ部材と、
    を備え、
    前記キャップ部は、当該トナー容器の種類を特定するためにその種類ごとに外周面上の異なる位置に前記長手方向に沿って凸状又は凹状に延在する非互換形状部が、前記長手方向の先端の位置を基点として前記容器本体の側に向けて設けられ、
    前記シャッタ部材は、
    前記キャップ部において前記長手方向に延在するように設けられたレール部に係合して当該レール部に沿って移動することで前記トナー排出口を開閉するシャッタ主部と、
    前記シャッタ主部に一体的に形成されるとともに、前記シャッタ主部との接続位置を基点にして上下方向に弾性変形可能に形成されたシャッタ変形部と、
    を具備し、
    前記シャッタ変形部は、
    前記キャップ部に形成された当接部に当接して前記トナー排出口を閉鎖した状態から前記トナー排出口を開放する方向への前記シャッタ部材の移動を規制するストッパ部と、
    鉛直方向下方に突出するように形成されるとともに、下方から外力を受けることにより当該シャッタ変形部の上方への弾性変形にともない前記ストッパ部を上方に変位させて前記当接部との当接状態を解除するストッパ解除部と、
    を具備し、
    前記ストッパ部は、前記シャッタ主部との前記接続位置から前記長手方向に最も離れた位置であって前記シャッタ変形部における開放方向の最端部に形成され、
    前記ストッパ解除部は、
    前記シャッタ部材が前記トナー排出口を閉鎖した状態において、前記非互換形状部に対して前記長手方向の前記容器本体の側に配設されて、
    前記長手方向において、前記ストッパ部と、前記シャッタ主部と前記シャッタ変形部との前記接続位置と、の間に形成されたことを特徴とするトナー容器。
  2. 前記非互換形状部は、前記キャップ部の上方に配設されたことを特徴とする請求項1に記載のトナー容器。
  3. 前記キャップ部は、
    その内部に前記長手方向に延在するように形成された円柱状の空洞と、
    前記空洞の下方の周面から前記トナー排出口に向けて一定の流路面積にて柱状に形成されたトナー落下経路と、
    を具備したことを特徴とする請求項1又は請求項2に記載のトナー容器。
  4. 前記容器本体は、その内周面に螺旋状の突起を有するとともに、前記キャップ部に対して回転可能に保持されることを特徴とする請求項1〜請求項3のいずれかに記載のトナー容器。
  5. 請求項1〜請求項4のいずれかに記載のトナー容器が前記画像形成装置本体に設置されたことを特徴とする画像形成装置。
  6. 前記画像形成装置本体は、
    前記トナー容器の前記キャップ部を保持するキャップ受部と、
    前記トナー容器の前記容器本体を保持するとともに、前記トナー容器が上方から載置された後に当該トナー容器を前記キャップ部に向けて滑動させるためのボトル受面を具備したボトル受部と、
    を備え、
    前記キャップ受部は、前記長手方向の前記ボトル受部に近い側に、前記トナー容器の前記非互換形状部に嵌合する嵌合部を具備したことを特徴とする請求項5に記載の画像形成装置。
  7. 前記画像形成装置本体の前記ボトル受部は、前記キャップ部に向けた前記トナー容器の滑動にともない前記ストッパ解除部を押動するストッパ解除付勢部を具備し、
    前記ストッパ解除付勢部は、前記トナー容器の前記非互換形状部が前記嵌合部に嵌合した後に、前記ストッパ解除部に係合する位置に配設されたことを特徴とする請求項6に記載の画像形成装置。
JP2011010008A 2010-03-10 2011-01-20 トナー容器及び画像形成装置 Active JP5772004B2 (ja)

Priority Applications (31)

Application Number Priority Date Filing Date Title
JP2011010008A JP5772004B2 (ja) 2010-03-10 2011-01-20 トナー容器及び画像形成装置
CN201510690118.6A CN105242508B (zh) 2010-03-10 2011-03-09 调色剂容器以及成像设备
MX2015008909A MX347363B (es) 2010-03-10 2011-03-09 Contenedor de tóner y dispositivo de formación de imágenes.
TW103122364A TWI530763B (zh) 2010-03-10 2011-03-09 碳粉容器及使用該碳粉容器的影像形成系統
SG2012061693A SG183417A1 (en) 2010-03-10 2011-03-09 Toner container and image forming device
SG10201501658VA SG10201501658VA (en) 2010-03-10 2011-03-09 Toner container and image forming device
CA2791509A CA2791509C (en) 2010-03-10 2011-03-09 Toner container and image forming device
NZ601975A NZ601975A (en) 2010-03-10 2011-03-09 Toner container with an identifying non compatible shape part
CA3086128A CA3086128C (en) 2010-03-10 2011-03-09 Toner container and image forming device
ES11753518T ES2771173T3 (es) 2010-03-10 2011-03-09 Recipiente de tóner y dispositivo de formación de imágenes
CA2896439A CA2896439C (en) 2010-03-10 2011-03-09 Toner container and image forming device
BR112012023494-3A BR112012023494B1 (pt) 2010-03-10 2011-03-09 recipiente de toner e dispositivo de formação de imagem
PCT/JP2011/056129 WO2011111863A1 (en) 2010-03-10 2011-03-09 Toner container and image forming device
SG10201600729YA SG10201600729YA (en) 2010-03-10 2011-03-09 Toner container and image forming device
EP19205555.6A EP3620863B1 (en) 2010-03-10 2011-03-09 Toner container and image forming device
CN201180023248.4A CN102918465B (zh) 2010-03-10 2011-03-09 调色剂容器以及成像设备
MX2012010362A MX2012010362A (es) 2010-03-10 2011-03-09 Recipiente de pigmento organico y dispositivo de formacion de imagenes.
CA3015004A CA3015004C (en) 2010-03-10 2011-03-09 Toner container and image forming device
TW100107974A TWI516882B (zh) 2010-03-10 2011-03-09 碳粉容器及影像形成裝置
AU2011225083A AU2011225083B2 (en) 2010-03-10 2011-03-09 Toner container and image forming device
HK13105050.1A HK1178265B (en) 2010-03-10 2011-03-09 Toner container and image forming device
EP11753518.7A EP2545414B1 (en) 2010-03-10 2011-03-09 Toner container and image forming device
US13/434,096 US8929779B2 (en) 2010-03-10 2012-03-29 Toner container and image forming apparatus in which the toner container has protrusions which interact with the image forming device
US14/522,217 US9128415B2 (en) 2010-03-10 2014-10-23 Toner container including first and second rails and a shutter which moves along the rails
US14/807,288 US9329529B2 (en) 2010-03-10 2015-07-23 Toner container and image forming apparatus in which the toner container has protrusions which interact with the image forming apparatus
US15/075,810 US9541862B2 (en) 2010-03-10 2016-03-21 Toner container including a cap with two shoulders and image forming device
US15/379,985 US9778596B2 (en) 2010-03-10 2016-12-15 Toner container and image forming apparatus including a shutter having extension
US15/709,145 US10054873B2 (en) 2010-03-10 2017-09-19 Toner container having protrusions projecting from opposite sides of the toner container
US16/048,931 US10459370B2 (en) 2010-03-10 2018-07-30 Toner container having protrusions projecting from opposite sides of the toner container
US16/591,618 US10976686B2 (en) 2010-03-10 2019-10-03 Toner container having protrusions projecting from opposite sides of the toner container
US17/203,750 US11314185B2 (en) 2010-03-10 2021-03-17 Toner container having protrusions projecting from opposite sides of the toner container

Applications Claiming Priority (5)

Application Number Priority Date Filing Date Title
JP2010052607 2010-03-10
JP2010052607 2010-03-10
JP2010134313 2010-06-11
JP2010134313 2010-06-11
JP2011010008A JP5772004B2 (ja) 2010-03-10 2011-01-20 トナー容器及び画像形成装置

Publications (2)

Publication Number Publication Date
JP2012018377A JP2012018377A (ja) 2012-01-26
JP5772004B2 true JP5772004B2 (ja) 2015-09-02

Family

ID=45603638

Family Applications (1)

Application Number Title Priority Date Filing Date
JP2011010008A Active JP5772004B2 (ja) 2010-03-10 2011-01-20 トナー容器及び画像形成装置

Country Status (1)

Country Link
JP (1) JP5772004B2 (ja)

Families Citing this family (11)

* Cited by examiner, † Cited by third party
Publication number Priority date Publication date Assignee Title
MX375084B (es) 2010-12-03 2025-03-06 Ricoh Co Ltd Recipiente de polvo, dispositivo de suministro de polvo y aparato de formacion de imagenes.
TWI559104B (zh) 2011-11-25 2016-11-21 理光股份有限公司 粉末容器及影像形成設備
JP2013222181A (ja) * 2012-04-19 2013-10-28 Ricoh Co Ltd 粉体詰まり抑制手段、粉体収容器及び画像形成装置
TWI581078B (zh) 2012-06-03 2017-05-01 理光股份有限公司 粉末容器及影像形成裝置
US9465317B2 (en) 2013-02-25 2016-10-11 Ricoh Company, Ltd. Nozzle insertion member, powder container, and image forming apparatus
RU2655673C1 (ru) 2013-03-15 2018-05-29 Рикох Компани, Лимитед Контейнер для порошка и устройство формирования изображений
JP6020827B2 (ja) * 2013-08-28 2016-11-02 コニカミノルタ株式会社 消耗品カートリッジ及び画像形成装置
JP6460002B2 (ja) 2016-02-15 2019-01-30 京セラドキュメントソリューションズ株式会社 画像形成装置
BR112019004676B1 (pt) 2016-09-30 2024-01-02 Canon Kabushiki Kaisha Cartucho de toner e mecanismo de fornecimento de toner
JP6610519B2 (ja) * 2016-11-30 2019-11-27 京セラドキュメントソリューションズ株式会社 画像形成装置、画像形成装置に装着可能なトナー容器
JP7583993B2 (ja) * 2020-11-17 2024-11-15 株式会社リコー トナー容器、及び、画像形成装置

Family Cites Families (5)

* Cited by examiner, † Cited by third party
Publication number Priority date Publication date Assignee Title
JP4636853B2 (ja) * 2004-11-12 2011-02-23 キヤノン株式会社 現像剤供給容器および画像形成装置
JP4134061B2 (ja) * 2005-02-14 2008-08-13 シャープ株式会社 トナーカートリッジ及びそれが装着される画像形成装置
JP4557296B2 (ja) * 2005-06-07 2010-10-06 株式会社リコー 画像形成装置
JP2007065368A (ja) * 2005-08-31 2007-03-15 Toshiba Corp トナーカートリッジ
JP4215784B2 (ja) * 2006-07-13 2009-01-28 シャープ株式会社 トナー容器、トナー供給装置、および画像形成装置

Also Published As

Publication number Publication date
JP2012018377A (ja) 2012-01-26

Similar Documents

Publication Publication Date Title
JP5772004B2 (ja) トナー容器及び画像形成装置
JP5483101B2 (ja) トナー容器及び画像形成装置
JP5569241B2 (ja) トナー補給装置、及び、画像形成装置
CA2791357C (en) Toner container and image forming apparatus
JP4958325B2 (ja) トナー容器及び画像形成装置
WO2011027604A1 (ja) トナー容器及び画像形成装置
JP5748113B2 (ja) トナー容器及び画像形成装置
JP5344326B2 (ja) トナー容器及び画像形成装置
JP5769050B2 (ja) トナー容器及び画像形成装置
JP5660378B2 (ja) トナー容器、及び、画像形成装置
JP5741727B2 (ja) トナー容器及び画像形成装置
JP5561603B2 (ja) トナー容器、及び、画像形成装置
JP2012189920A (ja) トナー容器及び画像形成装置
JP5664266B2 (ja) トナー容器及び画像形成装置
JP5659815B2 (ja) トナー容器及び画像形成装置
JP5692639B2 (ja) トナー容器及び画像形成装置
JP2013250474A (ja) トナー容器、及び、画像形成装置
JP5879871B2 (ja) トナー容器、及び、画像形成装置
JP2012032741A (ja) トナー補給装置、及び、画像形成装置
JP2012189821A (ja) 現像剤収納容器、粉体補給装置及び画像形成装置
HK1208533B (zh) 调色剂容器和成像设备

Legal Events

Date Code Title Description
A621 Written request for application examination

Free format text: JAPANESE INTERMEDIATE CODE: A621

Effective date: 20131202

A131 Notification of reasons for refusal

Free format text: JAPANESE INTERMEDIATE CODE: A131

Effective date: 20140902

A521 Written amendment

Free format text: JAPANESE INTERMEDIATE CODE: A523

Effective date: 20141028

A02 Decision of refusal

Free format text: JAPANESE INTERMEDIATE CODE: A02

Effective date: 20150114

A521 Written amendment

Free format text: JAPANESE INTERMEDIATE CODE: A523

Effective date: 20150402

A911 Transfer of reconsideration by examiner before appeal (zenchi)

Free format text: JAPANESE INTERMEDIATE CODE: A911

Effective date: 20150409

TRDD Decision of grant or rejection written
A01 Written decision to grant a patent or to grant a registration (utility model)

Free format text: JAPANESE INTERMEDIATE CODE: A01

Effective date: 20150602

A61 First payment of annual fees (during grant procedure)

Free format text: JAPANESE INTERMEDIATE CODE: A61

Effective date: 20150615

R151 Written notification of patent or utility model registration

Ref document number: 5772004

Country of ref document: JP

Free format text: JAPANESE INTERMEDIATE CODE: R151