WO2017111174A1 - 積層体 - Google Patents

積層体 Download PDF

Info

Publication number
WO2017111174A1
WO2017111174A1 PCT/JP2016/088765 JP2016088765W WO2017111174A1 WO 2017111174 A1 WO2017111174 A1 WO 2017111174A1 JP 2016088765 W JP2016088765 W JP 2016088765W WO 2017111174 A1 WO2017111174 A1 WO 2017111174A1
Authority
WO
WIPO (PCT)
Prior art keywords
layer
substrate
oxide semiconductor
metal oxide
electrode layer
Prior art date
Legal status (The legal status is an assumption and is not a legal conclusion. Google has not performed a legal analysis and makes no representation as to the accuracy of the status listed.)
Ceased
Application number
PCT/JP2016/088765
Other languages
English (en)
French (fr)
Japanese (ja)
Inventor
義弘 上岡
隆司 関谷
重和 笘井
絵美 川嶋
勇輝 霍間
基浩 竹嶋
Current Assignee (The listed assignees may be inaccurate. Google has not performed a legal analysis and makes no representation or warranty as to the accuracy of the list.)
Idemitsu Kosan Co Ltd
Original Assignee
Idemitsu Kosan Co Ltd
Priority date (The priority date is an assumption and is not a legal conclusion. Google has not performed a legal analysis and makes no representation as to the accuracy of the date listed.)
Filing date
Publication date
Application filed by Idemitsu Kosan Co Ltd filed Critical Idemitsu Kosan Co Ltd
Priority to US16/065,239 priority Critical patent/US11189737B2/en
Priority to JP2017558338A priority patent/JP6976858B2/ja
Priority to KR1020187016344A priority patent/KR102382656B1/ko
Priority to CN201680075286.7A priority patent/CN108475702B/zh
Publication of WO2017111174A1 publication Critical patent/WO2017111174A1/ja
Anticipated expiration legal-status Critical
Ceased legal-status Critical Current

Links

Images

Classifications

    • HELECTRICITY
    • H10SEMICONDUCTOR DEVICES; ELECTRIC SOLID-STATE DEVICES NOT OTHERWISE PROVIDED FOR
    • H10DINORGANIC ELECTRIC SEMICONDUCTOR DEVICES
    • H10D8/00Diodes
    • H10D8/60Schottky-barrier diodes 
    • HELECTRICITY
    • H01ELECTRIC ELEMENTS
    • H01LSEMICONDUCTOR DEVICES NOT COVERED BY CLASS H10
    • H01L21/00Processes or apparatus adapted for the manufacture or treatment of semiconductor or solid state devices or of parts thereof
    • H01L21/02Manufacture or treatment of semiconductor devices or of parts thereof
    • H01L21/04Manufacture or treatment of semiconductor devices or of parts thereof the devices having potential barriers, e.g. a PN junction, depletion layer or carrier concentration layer
    • H01L21/18Manufacture or treatment of semiconductor devices or of parts thereof the devices having potential barriers, e.g. a PN junction, depletion layer or carrier concentration layer the devices having semiconductor bodies comprising elements of Group IV of the Periodic Table or AIIIBV compounds with or without impurities, e.g. doping materials
    • H01L21/28Manufacture of electrodes on semiconductor bodies using processes or apparatus not provided for in groups H01L21/20 - H01L21/268
    • HELECTRICITY
    • H01ELECTRIC ELEMENTS
    • H01LSEMICONDUCTOR DEVICES NOT COVERED BY CLASS H10
    • H01L21/00Processes or apparatus adapted for the manufacture or treatment of semiconductor or solid state devices or of parts thereof
    • H01L21/02Manufacture or treatment of semiconductor devices or of parts thereof
    • H01L21/04Manufacture or treatment of semiconductor devices or of parts thereof the devices having potential barriers, e.g. a PN junction, depletion layer or carrier concentration layer
    • H01L21/18Manufacture or treatment of semiconductor devices or of parts thereof the devices having potential barriers, e.g. a PN junction, depletion layer or carrier concentration layer the devices having semiconductor bodies comprising elements of Group IV of the Periodic Table or AIIIBV compounds with or without impurities, e.g. doping materials
    • H01L21/30Treatment of semiconductor bodies using processes or apparatus not provided for in groups H01L21/20 - H01L21/26
    • H01L21/31Treatment of semiconductor bodies using processes or apparatus not provided for in groups H01L21/20 - H01L21/26 to form insulating layers thereon, e.g. for masking or by using photolithographic techniques; After treatment of these layers; Selection of materials for these layers
    • H01L21/3205Deposition of non-insulating-, e.g. conductive- or resistive-, layers on insulating layers; After-treatment of these layers
    • HELECTRICITY
    • H10SEMICONDUCTOR DEVICES; ELECTRIC SOLID-STATE DEVICES NOT OTHERWISE PROVIDED FOR
    • H10DINORGANIC ELECTRIC SEMICONDUCTOR DEVICES
    • H10D30/00Field-effect transistors [FET]
    • H10D30/60Insulated-gate field-effect transistors [IGFET]
    • H10D30/67Thin-film transistors [TFT]
    • H10D30/674Thin-film transistors [TFT] characterised by the active materials
    • H10D30/6755Oxide semiconductors, e.g. zinc oxide, copper aluminium oxide or cadmium stannate
    • H10D30/6756Amorphous oxide semiconductors
    • HELECTRICITY
    • H10SEMICONDUCTOR DEVICES; ELECTRIC SOLID-STATE DEVICES NOT OTHERWISE PROVIDED FOR
    • H10DINORGANIC ELECTRIC SEMICONDUCTOR DEVICES
    • H10D62/00Semiconductor bodies, or regions thereof, of devices having potential barriers
    • H10D62/40Crystalline structures
    • HELECTRICITY
    • H10SEMICONDUCTOR DEVICES; ELECTRIC SOLID-STATE DEVICES NOT OTHERWISE PROVIDED FOR
    • H10DINORGANIC ELECTRIC SEMICONDUCTOR DEVICES
    • H10D62/00Semiconductor bodies, or regions thereof, of devices having potential barriers
    • H10D62/80Semiconductor bodies, or regions thereof, of devices having potential barriers characterised by the materials
    • H10D62/875Semiconductor bodies, or regions thereof, of devices having potential barriers characterised by the materials being semiconductor metal oxide, e.g. InGaZnO
    • HELECTRICITY
    • H10SEMICONDUCTOR DEVICES; ELECTRIC SOLID-STATE DEVICES NOT OTHERWISE PROVIDED FOR
    • H10DINORGANIC ELECTRIC SEMICONDUCTOR DEVICES
    • H10D64/00Electrodes of devices having potential barriers
    • H10D64/60Electrodes characterised by their materials
    • H10D64/62Electrodes ohmically coupled to a semiconductor
    • HELECTRICITY
    • H10SEMICONDUCTOR DEVICES; ELECTRIC SOLID-STATE DEVICES NOT OTHERWISE PROVIDED FOR
    • H10DINORGANIC ELECTRIC SEMICONDUCTOR DEVICES
    • H10D64/00Electrodes of devices having potential barriers
    • H10D64/60Electrodes characterised by their materials
    • H10D64/64Electrodes comprising a Schottky barrier to a semiconductor
    • HELECTRICITY
    • H10SEMICONDUCTOR DEVICES; ELECTRIC SOLID-STATE DEVICES NOT OTHERWISE PROVIDED FOR
    • H10DINORGANIC ELECTRIC SEMICONDUCTOR DEVICES
    • H10D64/00Electrodes of devices having potential barriers
    • H10D64/60Electrodes characterised by their materials
    • H10D64/66Electrodes having a conductor capacitively coupled to a semiconductor by an insulator, e.g. MIS electrodes
    • H10D64/68Electrodes having a conductor capacitively coupled to a semiconductor by an insulator, e.g. MIS electrodes characterised by the insulator, e.g. by the gate insulator
    • H10D64/691Electrodes having a conductor capacitively coupled to a semiconductor by an insulator, e.g. MIS electrodes characterised by the insulator, e.g. by the gate insulator comprising metallic compounds, e.g. metal oxides or metal silicates 
    • HELECTRICITY
    • H10SEMICONDUCTOR DEVICES; ELECTRIC SOLID-STATE DEVICES NOT OTHERWISE PROVIDED FOR
    • H10DINORGANIC ELECTRIC SEMICONDUCTOR DEVICES
    • H10D64/00Electrodes of devices having potential barriers
    • H10D64/60Electrodes characterised by their materials
    • H10D64/66Electrodes having a conductor capacitively coupled to a semiconductor by an insulator, e.g. MIS electrodes
    • H10D64/68Electrodes having a conductor capacitively coupled to a semiconductor by an insulator, e.g. MIS electrodes characterised by the insulator, e.g. by the gate insulator
    • H10D64/693Electrodes having a conductor capacitively coupled to a semiconductor by an insulator, e.g. MIS electrodes characterised by the insulator, e.g. by the gate insulator the insulator comprising nitrogen, e.g. nitrides, oxynitrides or nitrogen-doped materials
    • HELECTRICITY
    • H10SEMICONDUCTOR DEVICES; ELECTRIC SOLID-STATE DEVICES NOT OTHERWISE PROVIDED FOR
    • H10DINORGANIC ELECTRIC SEMICONDUCTOR DEVICES
    • H10D62/00Semiconductor bodies, or regions thereof, of devices having potential barriers
    • H10D62/40Crystalline structures
    • H10D62/402Amorphous materials
    • HELECTRICITY
    • H10SEMICONDUCTOR DEVICES; ELECTRIC SOLID-STATE DEVICES NOT OTHERWISE PROVIDED FOR
    • H10DINORGANIC ELECTRIC SEMICONDUCTOR DEVICES
    • H10D62/00Semiconductor bodies, or regions thereof, of devices having potential barriers
    • H10D62/80Semiconductor bodies, or regions thereof, of devices having potential barriers characterised by the materials

Definitions

  • the present invention relates to a laminate, a semiconductor element using the same, an electronic circuit and an electric device using the same.
  • a Schottky barrier diode is a diode having a rectifying action by using a potential barrier formed at a junction surface between a Schottky metal and a semiconductor having a sufficiently high carrier concentration.
  • the work function of a metal is ⁇ m and the work function of an n-type semiconductor is ⁇ s (where the work function of a semiconductor is defined as the difference between a vacuum level and a Fermi level)
  • a potential barrier is formed at the metal-semiconductor interface.
  • the metal side is a positive electrode and the semiconductor side is a negative diode.
  • the potential barrier is lowered, and electrons flow through the barrier and current flows.
  • reverse bias electrons are blocked by the potential barrier and current is blocked.
  • Si is the most common semiconductor used.
  • Si-based Schottky diodes are used for high-speed switching elements, transmission / reception mixers in the several GHz frequency band, frequency conversion elements, and the like. Although generally used for power applications, the band gap is as small as 1.1 eV, and the dielectric breakdown electric field is as small as 0.3 MV / cm. Therefore, it is necessary to increase the thickness of the element in order to achieve a large withstand voltage. There is a drawback that the on-resistance in the forward direction is increased. In addition, the Si-based Schottky barrier diode excellent in high-speed response has insufficient voltage resistance.
  • SiC has a large band gap of 3 eV or more and a dielectric breakdown electric field of 3 MV / cm, which is suitable for power use.
  • ⁇ -Ga 2 O 3 has a wider band gap (4.8 eV to 4.9 eV) and is expected to have a high withstand voltage.
  • there are still problems in manufacturing a high-quality substrate and there are problems in mass productivity and cost. is there.
  • Oxide semiconductors have a wider bandgap than Si and have a high dielectric breakdown electric field, so application to power semiconductors is expected.
  • a Schottky barrier diode using an oxide semiconductor is expected to have high-speed response and good reverse recovery characteristics.
  • Non-Patent Document 1 discloses a Schottky barrier diode using amorphous IGZO as an oxide semiconductor and using a Ti / Pd stacked structure as a Schottky metal electrode. Further, according to the present technology, a good Schottky barrier is formed by oxygen plasma treatment of Pd. However, in this technology, leakage current in the reverse direction is large, and when this is incorporated in an electronic circuit using a Schottky barrier diode, the power loss at the time of output becomes larger than the input power, or the circuit itself is erroneous. I am concerned that it will work. Furthermore, this technology can only form a diode that takes out current in the lateral direction, and it is difficult to take out a large current due to the resistance of the take-out electrode.
  • Patent Document 1 discloses a Schottky barrier diode using a Ga 2 O 3 system as an oxide semiconductor layer and sandwiched between an ohmic electrode layer and a Schottky electrode layer.
  • a Ga 2 O 3 -based oxide semiconductor layer is formed on a silicon substrate, for example, the forward on-resistance increases, and when this is incorporated into an electronic circuit in which a Schottky barrier diode is used, The power loss at the time of output becomes larger than the power.
  • Patent Document 2 discloses a technique for realizing a diode having a low reverse saturation current by electrically connecting a gate electrode and a source or drain electrode of an FET using an oxide semiconductor.
  • the element configuration becomes complicated and there is a problem in the yield when it is made into a device.
  • JP 2013-102081 A Japanese Patent Laid-Open No. 2015-84439
  • An object of the present invention is to provide a semiconductor element having a small forward on-resistance, a small reverse leakage current, a small power loss, and a current that can be taken out, and a laminate used therefor.
  • the reduction suppressing layer includes one or more elements selected from Pd, Mo, Pt, Ir, Ru, Au, Ni, W, Cr, Re, Te, Tc, Mn, Os, Fe, Rh, and Co.
  • the Schottky electrode layer comprises an oxide of one or more metals selected from Pd, Mo, Pt, Ir, Ru, Ni, W, Cr, Re, Te, Tc, Mn, Os, Fe, Rh, and Co.
  • 11. The laminate according to any one of 1 to 10, having an ohmic electrode layer on the metal oxide semiconductor layer. 12
  • the outer edge of the metal oxide semiconductor layer is the same as the outer edge of the Schottky electrode layer or is located inside the outer edge of the Schottky electrode layer, and the Schottky electrode layer is a lower surface of the metal oxide semiconductor layer.
  • the present invention it is possible to provide a semiconductor element that has a low forward on-resistance, a low reverse leakage current, a low power loss, and a current that can be taken out, and a laminate used therefor.
  • FIG. 4 is a cross-sectional TEM image of a laminated electrode produced in Example 2.
  • FIG. 6 is a cross-sectional view schematically showing elements produced in Examples 16 to 28.
  • One embodiment of the laminate of the present invention includes a substrate, one or more layers selected from a contact resistance reduction layer and a reduction suppression layer, a Schottky electrode layer, and a metal oxide semiconductor layer in this order.
  • the Schottky barrier diode can be formed regardless of the substrate and the base material.
  • One or more layers selected from the contact resistance reduction layer and the reduction suppression layer are preferably in contact with the Schottky electrode layer, and the Schottky electrode layer and the metal oxide semiconductor layer are preferably in contact.
  • Another embodiment of the laminate of the present invention has at least a Schottky electrode layer and a metal oxide semiconductor layer in this order on a conductive substrate, and reduces contact resistance between the conductive substrate and the Schottky electrode layer. It has one or more layers selected from a layer and a reduction suppression layer.
  • the one embodiment of the laminate of the present invention and the other embodiment of the laminate of the invention are collectively referred to as the laminate of the present invention.
  • the contact resistance reducing layer and the reduction suppressing layer may include both or only one of them.
  • the laminated body of this invention may laminate
  • the laminate according to the present invention has the above-described configuration, so that the on-resistance in the forward direction can be reduced when used in a semiconductor element. Further, the reverse leakage current can be reduced, the power loss can be reduced, and the current can be extracted.
  • Examples of the layer structure of the laminate of the present invention include the following structures. (1) substrate // contact resistance reduction layer / Schottky electrode layer / metal oxide semiconductor layer (2) substrate // reduction suppression layer / Schottky electrode layer / metal oxide semiconductor layer (3) substrate // contact resistance reduction Layer / reduction suppression layer / Schottky electrode layer / metal oxide semiconductor layer (“/” indicates that each layer is laminated adjacently) ("//" indicates that the layers are stacked without being adjacent to each other.)
  • the following structure can be mentioned as a layer structure which laminated
  • substrate // contact resistance reduction layer / Schottky electrode layer / metal oxide semiconductor layer / ohmic electrode layer (5) substrate // reduction suppression layer / Schottky electrode layer / metal oxide semiconductor layer / ohmic electrode layer ( 6)
  • Substrate // Contact resistance reduction layer / Reduction suppression layer / Schottky electrode layer / Metal oxide semiconductor layer / Ohmic electrode layer
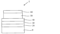
  • the laminated structure (6) above is shown in FIG.
  • the contact resistance reducing layer 20, the reduction suppressing layer 30, the Schottky electrode layer 40, the metal oxide semiconductor layer 50, and the ohmic electrode layer 60 are stacked in this order on the substrate 9.
  • the outer edge (end part) of the metal oxide semiconductor layer 50 may be the same as the outer edge (end part) of the Schottky electrode layer 40 or may be located inside the outer edge of the Schottky electrode layer 40. Good. The latter case is shown as a laminate 2 in FIG.
  • symbol shall mean the same structure.
  • the outer edge (end portion) of the ohmic electrode layer 60 may be the same as the outer edge (end portion) of the metal oxide semiconductor layer 50 or may be positioned inside the outer edge of the metal oxide semiconductor layer 50. May be. The latter case is shown as a laminate 3 in FIG. Each configuration will be described later.
  • conductive substrate / contact resistance reduction layer / Schottky electrode layer / metal oxide semiconductor layer (12) conductive substrate / reduction suppression layer / Schottky electrode layer / metal oxide semiconductor layer (13) conductive substrate / Contact resistance reduction layer / reduction suppression layer / Schottky electrode layer / metal oxide semiconductor layer (“/” indicates that each layer is laminated adjacently)
  • the following structure can also be mentioned as a layer structure which laminated
  • Conductive substrate / contact resistance reduction layer / Schottky electrode layer / metal oxide semiconductor layer / ohmic electrode layer (15) Conductive substrate / reduction suppression layer / Schottky electrode layer / metal oxide semiconductor layer / ohmic electrode Layer (16) conductive substrate / contact resistance reduction layer / reduction suppression layer / Schottky electrode layer / metal oxide semiconductor layer / ohmic electrode layer
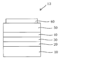
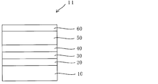
  • FIG. 4 shows the layered structure (16) above.
  • the contact resistance reducing layer 20, the reduction suppressing layer 30, the Schottky electrode layer 40, the metal oxide semiconductor layer 50, and the ohmic electrode layer 60 are stacked in this order on the conductive substrate 10.
  • the outer edge (end part) of the metal oxide semiconductor layer 50 may be the same as the outer edge (end part) of the Schottky electrode layer 40 or may be located inside the outer edge of the Schottky electrode layer 40. Good. The latter case is shown as a laminate 12 in FIG. In this case, the Schottky electrode layer 40 covers the lower surface of the metal oxide semiconductor layer 50, that is, the entire lower surface of the metal oxide semiconductor layer 50 is in contact with the Schottky electrode layer 40.
  • the end of the semiconductor is not in direct contact with the Schottky electrode in order to achieve a high withstand voltage.
  • the metal oxide semiconductor since the metal oxide semiconductor has little leakage current at the film end, the end of the metal oxide semiconductor layer can be the same as or inside the end of the Schottky metal layer. Become. By doing so, it is possible to prevent the electric field from concentrating on the end portion of the semiconductor layer when a reverse bias is applied, and to realize a high withstand voltage.
  • the outer edge (end portion) of the ohmic electrode layer 60 may be the same as the outer edge (end portion) of the metal oxide semiconductor layer 50 or may be positioned inside the outer edge of the metal oxide semiconductor layer 50. May be. The latter case is shown as a laminate 13 in FIG. In this case, the metal oxide semiconductor layer 50 is configured to cover the lower surface of the ohmic electrode layer 60.
  • FIGS. 2 and 3 can be applied to a stacked configuration other than the stacked configuration of Formula (6). Moreover, the structure shown in FIG. 2 and FIG. 3 can also be provided simultaneously. 5 and FIG. 6 can also be applied to a stacked configuration other than the stacked configuration of Expression (16). Moreover, the structure shown in FIG. 5 and FIG. 6 can also be provided simultaneously.
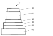
  • FIG. 7 shows another embodiment of the laminated structure (16).
  • the laminated body 14 in FIG. 7 has a laminated structure in which the structures shown in FIGS. 5 and 6 are provided at the same time, and the outer edge (end part) of the Schottky electrode layer 40 is the outer edge (end part) of the reduction suppressing layer 30.
  • the outer edge (end part) of the contact resistance reducing layer 20 is located inside the outer edge (end part) of the conductive substrate 10.
  • the substrate is not particularly limited and a known material can be used, and examples thereof include a conductive substrate, a semiconductor substrate, and an insulating substrate.
  • the conductive substrate examples include a silicon substrate and a metal substrate.
  • a low-resistance silicon substrate having a high impurity doping concentration is preferable, and an n-type low-resistance silicon substrate is more preferable.
  • Conventionally known B, P, Pb, As, etc. can be used as the dopant.
  • the silicon substrate preferably has a low resistance.
  • the volume resistivity ⁇ of the silicon substrate is preferably 100 m ⁇ cm or less, more preferably 10 m ⁇ cm or less, and further preferably 5 m ⁇ cm or less.
  • the metal of the metal substrate examples include Cu, Al, Au, Cr, Fe, Ni, and W. These alloys can also be used. Preferably, Cu, Al, or an alloy thereof is low resistance, low cost, and excellent thermal conductivity. When a metal substrate is used as the conductive substrate, this metal substrate can also serve as a contact resistance reducing layer.
  • the laminate of the present invention can provide a Schottky barrier diode that exhibits good diode characteristics even when an inexpensive silicon substrate or metal substrate is used as a conductive substrate.
  • the thickness of the conductive substrate is usually 200 ⁇ m to 2 mm.
  • the material of the semiconductor substrate is not particularly limited as long as the surface smoothness is maintained.
  • a semiconductor substrate a Si substrate, a GaN substrate, a SiC substrate, a GaP substrate, a GaAs substrate, a ZnO substrate, a Ga 2 O 3 substrate, a GaSb substrate, an InP substrate, and an InAs whose carrier concentration is adjusted to 1 ⁇ 10 18 cm ⁇ 3 or less.
  • Examples include a substrate, an InSb substrate, a ZnS substrate, a ZnTe substrate, and a diamond substrate.
  • the semiconductor substrate may be single crystal or polycrystalline. Further, an amorphous substrate or a substrate partially containing amorphous may be used.
  • a substrate in which a semiconductor film is formed using a technique such as CVD (chemical vapor deposition) on a conductor substrate, a semiconductor substrate, or an insulating substrate may be used.
  • the thickness of the semiconductor substrate is usually 200 ⁇ m to 2 mm.
  • the thickness is preferably 200 ⁇ m to 1 mm, more preferably 200 ⁇ m to 700 ⁇ m.
  • the insulating substrate is not particularly limited as long as it is an insulating substrate, and a substrate generally used can be arbitrarily selected as long as the effects of the present invention are not lost.
  • a substrate generally used can be arbitrarily selected as long as the effects of the present invention are not lost.
  • the insulating substrate for example, quartz glass, barium borosilicate glass, aluminoborosilicate glass, aluminosilicate glass, etc., alkali-free glass substrate produced by the fusion method or float method, ceramic substrate, and processing temperature of this production process And a plastic substrate having heat resistance that can withstand heat.
  • a dielectric substrate may also be used as the insulating substrate.
  • the dielectric substrate include a lithium niobate substrate, a lithium tantalate substrate, a zinc oxide substrate, a quartz substrate, and a sapphire substrate.
  • an insulating substrate or a dielectric substrate in which an insulating film or a dielectric film is provided on the surface of a metal substrate such as a stainless alloy may be used.
  • an insulating film may be formed over the substrate as a base film.
  • a single layer or a stacked layer such as a silicon oxide film, a silicon nitride film, a silicon oxynitride film, or a silicon nitride oxide film can be formed by a CVD method, a sputtering method, or the like.
  • the thickness of the insulating substrate is not particularly limited, but is 2 ⁇ m to 2 mm, for example.
  • the thickness is preferably 2 ⁇ m to 1 mm, more preferably 2 ⁇ m to 700 ⁇ m.
  • a base material having an arbitrary structure, layer structure, circuit, wiring, electrode, or the like made of a plurality of materials may be used on the above-described conductive substrate, semiconductor substrate, or insulating substrate.
  • Examples of materials having an arbitrary structure include composite materials of various metals and insulators such as a metal that forms a back end of line on a large scale integrated circuit (LSI), an interlayer insulating film, and the like.
  • LSI large scale integrated circuit
  • interlayer insulating film and the like.
  • substrate is not specifically limited, Preferably it is 150 nm or less, More preferably, it is 50 nm or less, More preferably, it is 10 nm or less.
  • the smoothness of the Schottky electrode layer is maintained when the contact resistance reduction layer, the reduction suppression layer, and the Schottky electrode layer are stacked, and the device is evaluated as an element. The leakage current in the reverse direction is kept low.
  • the surface roughness of the substrate can be determined, for example, by the method described in the examples.
  • the layer structure is not particularly limited, and is an electrode layer, an insulating layer, a semiconductor layer, a dielectric layer, a protective film layer, a stress buffer layer, a light shielding layer, an electron / hole injection layer, an electron / hole transport layer, a light emitting layer.
  • Known layers such as an electron / hole blocking layer, a crystal growth layer, an adhesion improving layer, a memory layer, a liquid crystal layer, a capacitor layer, and a power storage layer can be used.
  • an insulating layer generally Al, Si, Sc, Ti, V, Cr, Ni, Cu, Zn, Ga, Ge, Y, Zr, Nb, Mo, Tc, Ru, Rh, Pd, Ag, Cd, In, Examples thereof include an oxide insulating film and a nitride film containing one or more metals selected from the group consisting of Sn, Sb, Te, Hf, Ta, W, Re, Os, Ir, Pt, and Au.
  • oxide semiconductor layers, organic semiconductor layers such as pentacene, and the like are widely used regardless of the crystalline state of single crystal, polycrystal, or amorphous.
  • a lithium niobate layer As the dielectric layer, a lithium niobate layer, a lithium tantalate layer, a zinc oxide layer, a quartz substrate layer, a sapphire layer, a BaTiO 3 layer, a Pb (Zr, Ti) O 3 (PZT) layer, (Pb, La) ( Zr, Ti) O 3 (PLZT) layer, Pb (Zr, Ti, Nb) O 3 (PZTN) layer, Pb (Ni, Nb) O 3 —PbTiO 3 (PNN-PT) layer, Pb (Ni, Nb) O 3 —PbZnO 3 (PNN—PZ) layer, Pb (Mg, Nb) O 3 —PbTiO 3 (PMN—PT) layer, SrBi 2 Ta 2 O 9 (SBT) layer, (K, Na) TaO 3 layer, (K, Na) NbO 3 layer, BiFeO 3 layer, Bi (Nd, La
  • the protective film layer As a film of the protective film layer, a film having excellent insulating properties regardless of inorganic materials and organic materials and low permeability of water or the like can be used.
  • Examples of the stress buffer layer include an AlGaN layer.
  • Examples of the light shielding layer include a black matrix layer containing a metal, a metal-organic material, and a color filter layer.
  • Examples of the electron / hole injection layer include an oxide semiconductor layer and an organic semiconductor layer.
  • Examples of the electron / hole transport layer include an oxide semiconductor layer and an organic semiconductor layer.
  • Examples of the light emitting layer include an inorganic semiconductor layer and an organic semiconductor layer.
  • Examples of the electron / hole blocking layer include an oxide semiconductor layer.
  • Examples of the base material include a power generation device, a light emitting device, a sensor, a power conversion device, an arithmetic device, a protection device, an optoelectronic device, a display, a memory, a semiconductor device having a back end of line, and a power storage device.
  • the layer having a layer structure may be a single layer or two or more layers.
  • the contact resistance reducing layer plays a role of preventing the interaction between the base substrate and the Schottky electrode metal. In addition, it improves the adhesion of the Schottky electrode to the underlying substrate and improves the surface smoothness of the Schottky electrode. That is, it is a layer for reducing the contact resistance when the substrate and the Schottky electrode are directly laminated.
  • the substrate and the Schottky electrode are directly laminated, for example, when an n-type low-resistance silicon substrate is used as the substrate and these are directly laminated using palladium oxide for the Schottky electrode, the palladium oxide and Si are in the opposite directions. A -n junction is formed and becomes a large resistance component in the forward direction. Further, the interface between Si and palladium oxide is not smooth, and as a result, the smoothness of the surface of the Schottky electrode is lost, and there is a possibility that the withstand voltage is lowered.
  • one or more metals selected from Ti, Mo, Ag, In, Al, W, Co, and Ni, alloys thereof, or silicides thereof can be used.
  • Ti, Mo, Ag, In, or Al that forms a low-resistance silicide and more preferably Ti or Mo that forms a good Schottky contact when combined with a low-resistance and Schottky metal.
  • Mo has a high thermal conductivity. Since Mo is excellent in heat dissipation and has high thermal conductivity, element degradation is less likely to occur due to Joule heat due to current when the diode is driven.
  • the thickness of the contact resistance reducing layer is usually 1 nm to 1 ⁇ m, preferably 2 nm to 500 nm, more preferably 5 nm to 500 nm. If it is this range, it has sufficient adhesiveness and there is little increase in resistance. More preferably, it is 10 nm to 500 nm.
  • the in-plane coverage of the contact resistance reducing layer is high, and it is easy to obtain characteristics with small in-plane resistance variation in the forward direction when the diode is driven. Furthermore, when used as an element for taking out a current in the lateral direction, the wiring resistance is lowered and a high current value is easily obtained.
  • the contact resistance reduction layer can be confirmed by cross-sectional TEM observation or secondary ion mass spectrometry. The same applies to the ohmic electrode, the metal oxide semiconductor layer, the reduction suppressing layer, the Schottky electrode layer, and the substrate.
  • the reduction suppression layer is a layer that prevents reduction of the Schottky electrode layer. If the reduction suppressing layer is provided, the reduction of the Schottky electrode layer is suppressed, and the Schottky interface is formed without any problem.
  • metal used for the reduction suppression layer one or more kinds selected from Pd, Mo, Pt, Ir, Ru, Au, Ni, W, Cr, Re, Te, Tc, Mn, Os, Fe, Rh, and Co. Element and these alloys are mentioned.
  • the reduction suppressing layer that is, the metal oxide metal constituting the Schottky electrode layer.
  • the combination of the reduction suppressing layer and the Schottky electrode layer include Pd / palladium oxide, Pt / platinum oxide, Ir / iridium oxide, Ru / ruthenium oxide, and the like.
  • the thickness of the reduction suppressing layer is usually 1 nm to 1 ⁇ m, preferably 2 nm to 500 nm, more preferably 5 nm to 100 nm, and particularly preferably 10 nm to 50 nm. Within this range, since the reduction suppressing effect is excellent, the on-resistance during forward bias can be reduced. In addition, the flatness of the Schottky interface can be improved.
  • the work function of the metal contained in the Schottky electrode layer is preferably 3.7 eV or more, more preferably 4.4 eV or more, and further preferably 4.7 eV or more.
  • the upper limit of the work function is not particularly specified, but is usually 6.5 eV.
  • Pd oxide, Pt oxide, Ir oxide or Ru oxide is preferable.
  • a high Schottky barrier can be formed by a combination with a metal oxide semiconductor.
  • the carrier concentration of the Schottky electrode layer is preferably 1 ⁇ 10 18 cm ⁇ 3 or more.
  • the carrier concentration can be obtained, for example, by hole measurement.
  • the thickness of the Schottky electrode layer is usually 1 nm to 1 ⁇ m, preferably 2 nm to 100 nm, more preferably 5 nm to 50 nm. Within this range, the on-resistance during forward bias is excellent. In addition, the flatness of the Schottky interface can be improved and the voltage resistance is excellent.
  • the production method for obtaining the metal oxide of the Schottky electrode is not particularly limited, and examples thereof include a method of performing reactive sputtering of a metal target in an oxygen-containing atmosphere.
  • the composition of the metal oxide semiconductor layer is not particularly limited as long as it is a metal oxide semiconductor.
  • An oxide containing one or more elements selected from In, Ga, Zn, and Sn is preferable. Examples thereof include an oxide semiconductor (IGZO) of In, Ga, and Zn.
  • IGZO oxide semiconductor
  • Hydrogen concentration of the metal oxide semiconductor layer is preferably from 10 17 to 10 22 / cm 3, more preferable to be 10 19 to 10 22 / cm 3, more preferably 10 20 to 10 21 / cm 3.
  • Oxide semiconductors easily form oxygen vacancies, and leakage current may flow through the vacancies. However, oxygen vacancies are terminated with hydroxyl groups by increasing the hydrogen atom concentration in the film to 10 20 atoms / cm 3 or more. Leakage current can be reduced.
  • the hydrogen atom concentration is measured by secondary ion mass spectrometry.
  • the method for adjusting the hydrogen atom concentration is not particularly limited, but can be adjusted by optimizing the atmosphere during film formation, annealing after film formation, and the atmosphere during film formation of the ohmic electrode.
  • the free carrier concentration of the metal oxide semiconductor layer is usually 1 ⁇ 10 13 cm ⁇ 3 or more and less than 1 ⁇ 10 18 cm ⁇ 3 .
  • the free carrier concentration can be obtained, for example, by hole measurement.
  • the band gap of the metal oxide semiconductor layer is preferably 2.0 eV to 6.0 eV, more preferably 2.5 eV to 5.5 eV, and further preferably 3.0 eV to 5.0 eV.
  • the band gap is measured by the method described in the examples.
  • the thickness of the metal oxide semiconductor layer is usually 10 nm to 10 ⁇ m, preferably 50 nm to 7 ⁇ m, more preferably 100 nm to 5 ⁇ m.
  • the film thickness can be selected so as to obtain a desired withstand voltage. If it is too thick, the resistance during forward bias may increase.
  • the laminate of the present invention can provide a Schottky barrier diode that exhibits good diode characteristics even when a metal oxide semiconductor layer is formed by a method having excellent productivity such as sputtering.
  • the material of the ohmic electrode layer is not particularly limited as long as a good ohmic connection with the metal oxide semiconductor layer can be achieved, but one or more elements selected from the group consisting of Mo, Ti, Au, Ag, and Al and alloys thereof Is mentioned.
  • the ohmic electrode layer can be composed of a plurality of layers.
  • a Mo electrode layer can be used on the side in contact with the metal oxide semiconductor layer, and a metal layer of Au or Al can be stacked. In this way, power loss can be reduced and current can be extracted.
  • the thickness of the ohmic electrode layer is not particularly limited, but is usually 100 nm to 5 ⁇ m.
  • the film forming method of each layer is not particularly limited, but the CVD method such as thermal CVD method, CAT-CVD method, photo CVD method, mist CVD method, MO-CVD method, plasma CVD method, atomic level control such as MBE, ALD, etc.
  • CVD method such as thermal CVD method, CAT-CVD method, photo CVD method, mist CVD method, MO-CVD method, plasma CVD method, atomic level control such as MBE, ALD, etc.
  • Conventionally known ceramic processes such as PVD methods such as film forming method, ion plating, ion beam sputtering, magnetron sputtering, doctor blade method, injection method, extrusion method, hot press method, sol-gel method, aerosol deposition method are used.
  • a wet method such as a method, a coating method, a spin coating method, a printing method, a spray method, an electrodeposition method, a plating method, or a micellar electrolysis method can be used.
  • the laminated body of the present invention includes a power semiconductor element, a (rectifier) diode element, a Schottky barrier diode element, an electrostatic discharge (ESD) protection diode, a transient voltage protection (TVS) protection diode, a light emitting diode, and a metal semiconductor field effect transistor (MESFET). ), Junction field effect transistor (JFET), metal oxide semiconductor field effect transistor (MOSFET), Schottky source / drain MOSFET, avalanche multiplication type photoelectric conversion element, solid-state imaging device, solar cell element, photosensor element, display It can be used for semiconductor elements such as elements and resistance change memories.
  • the semiconductor element can be used for a Schottky barrier diode or a junction transistor.
  • An electronic circuit using this element, a Schottky barrier diode, or a junction transistor can be used in an electric device, an electronic device, a vehicle, a power engine, and the like.
  • Example 1 [Production of Schottky barrier diode] A Schottky barrier diode element was fabricated as follows. An n-type Si substrate (diameter 4 inches) having a resistivity of 1 m ⁇ ⁇ cm was mounted on a sputtering apparatus (manufactured by Anelva: E-200S), and Ti was deposited to a thickness of 15 nm as a contact resistance reducing layer. The film forming conditions were a DC 50 W, Ar atmosphere. Next, 10 nm of palladium oxide was deposited as a Schottky electrode layer (carrier concentration: 1 ⁇ 10 20 cm ⁇ 3 ). Film forming conditions, DC50W, and a mixed gas atmosphere of Ar and O 2.
  • this substrate was set in a sputtering apparatus (ULVAC: CS-200) together with Area Max, and 200 nm of IGZO having the composition shown in Table 1 was formed as a metal oxide semiconductor layer (free carrier concentration: 5 ⁇ 10 16 cm ⁇ 3 ).
  • the film forming conditions were DC 300 W and a gas flow rate ratio shown in Table 1.
  • the substrate was taken out and annealed in an electric furnace at 300 ° C. for 1 hour in air.
  • This substrate was set again in a sputtering apparatus together with Area Max, and then Mo was deposited to a thickness of 150 nm as an ohmic electrode layer.
  • the film forming conditions were DC 100 W, Ar atmosphere.
  • the free carrier concentration of the metal oxide semiconductor layer and the carrier concentration of the Schottky electrode layer were measured as follows. It performed through the metal oxide semiconductor layer film-forming process (or Schottky electrode layer film-forming process) with respect to the glass substrate. Then, each substrate was cut into 1 cm square, and In electrodes were provided at the four corners to obtain Hall effect measurement elements.
  • the free carrier concentration (carrier concentration) is measured at room temperature using a Hall effect measuring device (manufactured by ACCENT: HL-5500PC), and the resulting free carrier amount (carrier amount) is measured on the metal semiconductor layer.
  • the free carrier concentration (carrier concentration) was normalized by the volume (or the Schottky electrode volume).
  • the band gap of the metal oxide semiconductor layer was evaluated as follows. The process up to the step of forming the metal oxide semiconductor layer in the above Schottky barrier diode manufacturing process was performed on the substrate, and the obtained laminate was cut into 1 cm square. Using a spectroscopic ellipsometry measuring device (manufactured by JA Woollam Japan Co., Ltd .: M-2000D) at room temperature, the incident angle of polarized light is changed to 50 °, 60 °, 70 ° from the direction perpendicular to the substrate, The measurement was performed at a measurement wavelength of 192.3 nm to 1689 nm and a measurement width of 3.4 nm.
  • the absorption coefficient ⁇ was calculated.
  • the spectrum of the absorption coefficient alpha of the metal oxide semiconductor layer, by plotting the alpha 2 relative to the energy range 2 eV ⁇ 5 eV of light was calculated intersection of the energy axis which is extended linearly as a band gap. The results are shown in Table 1.
  • the hydrogen atom concentration of the metal oxide semiconductor layer was evaluated as follows. The measurement was carried out by a quadrupole secondary ion mass spectrometer (manufactured by ULVAC-PHI, Inc .: D-SIMS) under measurement conditions of a Cs ion source of 1 kV, a primary ion current of 100 nA, and a chamber vacuum degree of 5 ⁇ 10 ⁇ 10 torr.
  • the hydrogen atom concentration of the metal oxide semiconductor layer is determined based on the hydrogen secondary ion intensity obtained by the quadrupole secondary ion mass spectrometer integrated with the thickness of the metal semiconductor thin film.
  • the strength was normalized by using an In—Ga—Zn—O thin film with a known concentration and film thickness, and the hydrogen concentration was quantified. The obtained value was defined as the hydrogen atom concentration.
  • Table 1 The results are shown in Table 1.
  • Example 2 A device was fabricated in the same manner as in Example 1 except that 20 nm of Pd was deposited as a reduction suppressing layer following the formation of the contact resistance reducing layer.
  • the film forming conditions were a DC 50 W, Ar atmosphere.
  • a cross-sectional TEM image obtained by an electron microscope (manufactured by JEOL: JEM-2800) of the laminated electrode is shown in FIG.
  • the obtained element Si / Ti / Pd / palladium oxide / IGZO / Mo
  • the obtained element was evaluated in the same manner as in Example 1. The results are shown in Table 1.
  • the obtained element has a structure shown in FIG.
  • Example 3 Following the formation of the contact resistance reducing layer, a device was fabricated in the same manner as in Example 1 except that Ru was deposited to a thickness of 20 nm as a reduction suppressing layer and then ruthenium oxide was deposited to a thickness of 10 nm as a Schottky electrode.
  • the Ru film formation conditions were DC 50 W, Ar atmosphere, and the ruthenium oxide film formation conditions were DC 50 W, a mixed gas atmosphere of Ar and O 2 (carrier concentration: 1 ⁇ 10 20 cm ⁇ 3 ).
  • the obtained element Si / Ti / Ru / ruthenium oxide / IGZO / Mo
  • the obtained element was evaluated in the same manner as in Example 1. The results are shown in Table 1.
  • the obtained element has a structure shown in FIG.
  • Example 4 Following the formation of the contact resistance reducing layer, a device was fabricated in the same manner as in Example 1 except that 20 nm of Pt was formed as a reduction suppressing layer and then 10 nm of platinum oxide was formed as a Schottky electrode.
  • the Pt film formation conditions were DC 50 W and Ar atmosphere, and the platinum oxide film formation conditions were DC 50 W and a mixed gas atmosphere of Ar and O 2 (carrier concentration: 1 ⁇ 10 20 cm ⁇ 3 ).
  • the obtained element Si / Ti / Pt / platinum oxide / IGZO / Mo
  • the obtained element was evaluated in the same manner as in Example 1. The results are shown in Table 1.
  • the obtained element has a structure shown in FIG.
  • Example 5 Following the formation of the contact resistance reducing layer, an element was fabricated in the same manner as in Example 1 except that Ir was deposited to a thickness of 20 nm as a reduction suppression layer, and then iridium oxide was deposited to a thickness of 10 nm as a Schottky electrode.
  • the Ir film formation conditions were DC 50 W and Ar atmosphere, and the iridium oxide film formation conditions were DC 50 W and a mixed gas atmosphere of Ar and O 2 (carrier concentration: 1 ⁇ 10 20 cm ⁇ 3 ).
  • the obtained element Si / Ti / Ir / iridium oxide / IGZO / Mo
  • the obtained element was evaluated in the same manner as in Example 1. The results are shown in Table 1.
  • the obtained element has a structure shown in FIG.
  • the devices obtained in Examples 2 to 5 exhibited good diode characteristics with an on-resistance Ron of less than 1 m ⁇ cm 2 and a leakage current Ir of 3 ⁇ 10 ⁇ 8 A / cm
  • Comparative Example 1 A device was fabricated in the same manner as in Example 1 except that the contact resistance reducing layer was not formed.
  • the obtained element Si / palladium oxide / IGZO / Mo
  • the results are shown in Table 1.
  • the device obtained in Comparative Example 1 had a high on-resistance Ron of 200 m ⁇ cm 2 or more, and the leakage current Ir was 2 ⁇ 10 ⁇ 3 A / cm 2 .
  • Examples 6-9 A device was fabricated in the same manner as in Example 2 except that the reduction suppressing layer and the Schottky electrode layer were changed to the combinations shown in Table 2 with respect to Example 2. The obtained device was evaluated in the same manner as in Example 1. The results are shown in Table 2. The devices obtained in Examples 6 to 9 exhibited good diode characteristics with an on-resistance Ron of less than 10 m ⁇ cm 2 and a leakage current Ir of 5 ⁇ 10 ⁇ 8 A / cm 2 or less.
  • Examples 10-12 A device was fabricated in the same manner as in Example 2 except that the thickness of the Schottky electrode layer was changed as described in Table 3 with respect to Example 2. The obtained device was evaluated in the same manner as in Example 1. The results are shown in Table 3.
  • the devices obtained in Examples 10 and 11 had good diode characteristics with an on-resistance Ron of less than 1 m ⁇ cm 2 and a leakage current Ir of 1 ⁇ 10 ⁇ 7 A / cm 2 or less.
  • the device obtained in Example 12 had an on-resistance Ron of less than 10 m ⁇ cm 2 and a leakage current Ir of 3 ⁇ 10 ⁇ 5 A / cm 2 or less.
  • Examples 13-15 A device was fabricated in the same manner as in Example 2 except that the Schottky electrode layer and the reduction suppression layer were changed as described in Table 4 with respect to Example 2. The obtained device was evaluated in the same manner as in Example 1. The results are shown in Table 4.
  • the device obtained in Example 13 had good diode characteristics with an on-resistance Ron of less than 1 m ⁇ cm 2 and a leakage current Ir of 5 ⁇ 10 ⁇ 7 A / cm 2 or less.
  • the devices obtained in Examples 14 and 15 had a low on-resistance Ron of less than 1 m ⁇ cm 2 , and the leakage currents Ir were 2 ⁇ 10 ⁇ 3 A / cm 2 and 7 ⁇ 10 ⁇ 1 A / cm 2 , respectively. there were.
  • Examples 16-19 An element was manufactured on a substrate shown in Table 5 using a photomask.
  • the film forming conditions of Example 2 and each layer are the same.
  • FIG. 9 shows the structure of the obtained element (laminated body) 15.
  • Ti was sputtered on the one surface of the substrate 8 as the contact resistance reducing layer 20, and Pd was sputtered as the reduction suppressing layer 30 at 15 nm and 20 nm, respectively.
  • the Ti / Pd laminated film was patterned using a photomask.
  • AZ1500 manufactured by AZ Electronic Materials
  • TMAH tetramethylammonium hydroxide
  • AURUM-302 manufactured by Kanto Chemical
  • AZ5214 manufactured by AZ Electronic Materials
  • AZ5214 was exposed through a photomask, exposed on the entire surface after the reverse baking step, and developed with tetramethylammonium hydroxide (TMAH).
  • TMAH tetramethylammonium hydroxide
  • the interlayer insulating film 70 was patterned using a thermosetting non-photosensitive polyimide and a photomask. Specifically, first, a thermosetting non-photosensitive polyimide solution was applied on the entire surface of the substrate with a spin coater, and then patterned using AZ5214 and a photomask. AZ5214 was exposed through a photomask, exposed on the entire surface after the reverse baking step, and developed with tetramethylammonium hydroxide (TMAH). Subsequently, the thermosetting non-photosensitive polyimide was etched with TMAH and patterned. After patterning, the thermosetting non-photosensitive polyimide was heated and cured in the atmosphere at 200 ° C. for 1 hour.
  • TMAH tetramethylammonium hydroxide
  • the ohmic electrode layer 60 was patterned by a lift-off process using an image reversal resist AZ5214 and a photomask.
  • AZ5214 was exposed through a photomask, exposed on the entire surface after the reverse baking step, and developed with tetramethylammonium hydroxide (TMAH).
  • TMAH tetramethylammonium hydroxide
  • Mo 150 nm was deposited as an ohmic electrode layer, and then an Au layer 80 was deposited to 500 nm. Thereafter, the ohmic electrode layer 60 was patterned by lifting off in acetone.
  • the element was measured by grounding the probe on the ohmic electrode side and connecting it to the ground, grounding the probe in a region where the ohmic electrode and Au were directly laminated on the reduction suppression layer, and changing the voltage. Other evaluations were performed in the same manner as in Example 1. The results are shown in Table 5.
  • the carrier concentration of the Schottky electrode layer was 1 ⁇ 10 20 cm ⁇ 3 .
  • the devices obtained in Examples 16 to 18 had good diode characteristics with an on-resistance Ron of less than 1 m ⁇ cm 2 and a leakage current Ir of 5 ⁇ 10 ⁇ 8 A / cm 2 or less.
  • the device obtained in Example 19 had a leakage current Ir of 1 ⁇ 10 ⁇ 1 A / cm, which was higher than those in Examples 16 to 18.
  • the surface roughness of the substrate was measured by observing the fabricated device with a cross-sectional TEM (transmission electron microscope) image and EDX (energy dispersive X-ray spectroscopy). The specific procedure is shown below.
  • the area where the constituent elements of each substrate shown in Table 5 were detected by EDX was defined as the substrate, and the interface was defined from the difference in contrast between the substrate and the ohmic electrode layer in the cross-sectional TEM image.
  • the arithmetic average roughness Ra was calculated from the equation (1) with respect to the unevenness of the substrate interface to obtain surface roughness. The results are shown in Table 5.
  • the crystallinity of the substrate was evaluated by an electron diffraction image obtained by an electron microscope (manufactured by JEOL: JEM-2800). In the electron beam irradiation area, a diffraction image was obtained from a region having a diameter of 10 nm or more with respect to the cross section of the substrate. Those in which the spot shape was observed in the diffraction image were judged as single crystals, and those in the ring shape were judged as polycrystalline. The results are shown in Table 5.
  • Examples 20-23 A device was fabricated in the same manner as in Example 16 except that the insulating substrate shown in Table 6 was used. The obtained device was evaluated in the same manner as in Example 16. The results are shown in Table 6. The carrier concentration of the Schottky electrode layer was 1 ⁇ 10 20 cm ⁇ 3 . The devices obtained in Examples 20 to 23 exhibited good diode characteristics with an on-resistance Ron of less than 1 m ⁇ cm 2 and a leakage current Ir of 3 ⁇ 10 ⁇ 7 A / cm 2 or less.
  • Examples 24-28 A device was fabricated in the same manner as in Example 2 except that the metal oxide semiconductor layer was formed with the metal composition shown in Table 7 and the ratio of the introduced gas during film formation. The obtained device was evaluated in the same manner as in Example 1. The results are shown in Table 7. The obtained element has a structure shown in FIG. The devices obtained in Examples 24 to 28 exhibited good diode characteristics with an on-resistance Ron of less than 1 m ⁇ cm 2 and a leakage current Ir of 2 ⁇ 10 ⁇ 6 A / cm 2 or less.
  • Examples 29-33 A device was fabricated in the same manner as in Example 2 except that the metal oxide semiconductor layer was formed with the metal composition shown in Table 8 and the ratio of the introduced gas during film formation. The obtained device was evaluated in the same manner as in Example 1. The results are shown in Table 8. As a result of evaluating the hydrogen atom concentration of the devices obtained in Examples 29 to 31, they were 8 ⁇ 10 20 cm ⁇ 3 , 5 ⁇ 10 21 cm ⁇ 3 , and 5 ⁇ 10 20 cm, respectively. The devices obtained in Examples 29 to 31 exhibited good diode characteristics with an on-resistance Ron of less than 1 m ⁇ cm 2 and a leakage current Ir of 2 ⁇ 10 ⁇ 8 A / cm 2 or less.
  • the hydrogen atom concentration of the devices obtained in Examples 32 and 33 were 4 ⁇ 10 15 cm ⁇ 3 and 8 ⁇ 10 16 cm ⁇ 3 , respectively.
  • the devices obtained in Examples 32 and 33 had an on-resistance Ron of less than 1 m ⁇ cm 2 , but the leakage currents Ir were 9 ⁇ 10 ⁇ 1 A / cm 2 and 1 ⁇ 10 ⁇ 2 A / cm 2 , respectively. there were.
  • Examples 34-35 A device was fabricated in the same manner as in Example 2 except that the contact resistance reducing layer or the ohmic electrode layer was changed to the material shown in Table 9. The obtained device was evaluated in the same manner as in Example 1. The results are shown in Table 9. The devices obtained in Examples 34 and 35 had an on-resistance Ron of less than 1 m ⁇ cm 2 , but the leakage currents Ir were 1 ⁇ 10 ⁇ 1 A / cm 2 and 3 ⁇ 10 ⁇ 8 A / cm 2 , respectively. There was good diode characteristics.
  • the laminate of the present invention can be used for a semiconductor element such as a power semiconductor element, a diode element, and a Schottky barrier diode element, and an electronic circuit using the element is used for an electric device, an electronic device, an electric vehicle, and the like. Can do.
  • a semiconductor element such as a power semiconductor element, a diode element, and a Schottky barrier diode element

Landscapes

  • Engineering & Computer Science (AREA)
  • Physics & Mathematics (AREA)
  • Condensed Matter Physics & Semiconductors (AREA)
  • General Physics & Mathematics (AREA)
  • Manufacturing & Machinery (AREA)
  • Computer Hardware Design (AREA)
  • Microelectronics & Electronic Packaging (AREA)
  • Power Engineering (AREA)
  • Electrodes Of Semiconductors (AREA)
  • Chemical & Material Sciences (AREA)
  • Crystallography & Structural Chemistry (AREA)
  • Laminated Bodies (AREA)
PCT/JP2016/088765 2015-12-25 2016-12-26 積層体 Ceased WO2017111174A1 (ja)

Priority Applications (4)

Application Number Priority Date Filing Date Title
US16/065,239 US11189737B2 (en) 2015-12-25 2016-12-26 Laminated body
JP2017558338A JP6976858B2 (ja) 2015-12-25 2016-12-26 積層体
KR1020187016344A KR102382656B1 (ko) 2015-12-25 2016-12-26 적층체
CN201680075286.7A CN108475702B (zh) 2015-12-25 2016-12-26 层叠体

Applications Claiming Priority (4)

Application Number Priority Date Filing Date Title
JP2015254555 2015-12-25
JP2015-254555 2015-12-25
JP2016-159352 2016-08-15
JP2016159352 2016-08-15

Publications (1)

Publication Number Publication Date
WO2017111174A1 true WO2017111174A1 (ja) 2017-06-29

Family

ID=59090563

Family Applications (1)

Application Number Title Priority Date Filing Date
PCT/JP2016/088765 Ceased WO2017111174A1 (ja) 2015-12-25 2016-12-26 積層体

Country Status (6)

Country Link
US (1) US11189737B2 (enExample)
JP (2) JP6976858B2 (enExample)
KR (1) KR102382656B1 (enExample)
CN (1) CN108475702B (enExample)
TW (1) TWI795349B (enExample)
WO (1) WO2017111174A1 (enExample)

Cited By (6)

* Cited by examiner, † Cited by third party
Publication number Priority date Publication date Assignee Title
JP2019153743A (ja) * 2018-03-06 2019-09-12 株式会社東芝 半導体装置、基板、半導体装置の製造方法、及び、基板の製造方法
JP2021038112A (ja) * 2019-09-02 2021-03-11 信越化学工業株式会社 積層構造体、半導体装置及び半導体システム
WO2021157719A1 (ja) * 2020-02-07 2021-08-12 株式会社Flosfia 半導体素子および半導体装置
WO2021157720A1 (ja) * 2020-02-07 2021-08-12 株式会社Flosfia 半導体素子および半導体装置
JP2022544979A (ja) * 2019-09-20 2022-10-24 山東大学 Igzoショットキーダイオードに基づくメタマテリアルの動的調整制御の方法
WO2024162270A1 (ja) * 2023-01-31 2024-08-08 日亜化学工業株式会社 ダイオード、これを用いた整流回路、及び受電レクテナ

Families Citing this family (10)

* Cited by examiner, † Cited by third party
Publication number Priority date Publication date Assignee Title
KR102402945B1 (ko) 2017-08-31 2022-05-30 마이크론 테크놀로지, 인크 금속 산화물 반도체 디바이스의 접촉을 위한 반도체 디바이스, 트랜지스터, 및 관련된 방법
EP3676878A4 (en) 2017-08-31 2020-11-04 Micron Technology, Inc. SEMICONDUCTOR DEVICES, HYBRID TRANSISTORS AND RELATED PROCESSES
KR102786022B1 (ko) * 2018-07-17 2025-03-26 소니 세미컨덕터 솔루션즈 가부시키가이샤 촬상 소자, 적층형 촬상 소자 및 고체 촬상 장치
CN110890280B (zh) * 2019-11-27 2024-02-06 山东大学 一种利用钯/钯氧化物双层肖特基电极制备氧化物半导体肖特基二极管的方法
CN111129166B (zh) * 2019-12-13 2023-02-07 合肥中科微电子创新中心有限公司 氧化镓基半导体结构及其制备方法
CN111081788B (zh) * 2019-12-31 2021-06-29 山东大学 一种底部为肖特基接触的铟铝锌氧化物二极管及其制备方法
CN111081765B (zh) * 2019-12-31 2021-06-29 山东大学 一种基于铟铝锌氧化物的肖特基二极管及其制备方法
JP7500293B2 (ja) * 2020-06-12 2024-06-17 パナソニックホールディングス株式会社 Iii族窒化物結晶、iii族窒化物基板、及びiii族窒化物結晶の製造方法
EP4318603A4 (en) * 2021-03-30 2025-04-09 Idemitsu Kosan Co.,Ltd. Photoelectric conversion element and method for producing a photoelectric conversion element
KR20240041395A (ko) * 2022-09-22 2024-04-01 삼성디스플레이 주식회사 표시 장치 및 이의 제조 방법

Citations (4)

* Cited by examiner, † Cited by third party
Publication number Priority date Publication date Assignee Title
WO2015025500A1 (ja) * 2013-08-19 2015-02-26 出光興産株式会社 酸化物半導体基板及びショットキーバリアダイオード
WO2015025499A1 (ja) * 2013-08-19 2015-02-26 出光興産株式会社 酸化物半導体基板及びショットキーバリアダイオード
JP2015109315A (ja) * 2013-12-03 2015-06-11 出光興産株式会社 薄膜トランジスタ、その製造方法、酸化物半導体層、表示装置及び半導体装置
JP2015227279A (ja) * 2014-05-08 2015-12-17 株式会社Flosfia 結晶性積層構造体および半導体装置

Family Cites Families (15)

* Cited by examiner, † Cited by third party
Publication number Priority date Publication date Assignee Title
JPS5136878A (en) * 1974-09-14 1976-03-27 Tokyo Shibaura Electric Co Handotaisochi no seizohoho
US5027166A (en) * 1987-12-04 1991-06-25 Sanken Electric Co., Ltd. High voltage, high speed Schottky semiconductor device and method of fabrication
KR100348269B1 (ko) * 2000-03-22 2002-08-09 엘지전자 주식회사 루데니움 산화물을 이용한 쇼트키 콘택 방법
KR101796909B1 (ko) 2009-10-30 2017-12-12 가부시키가이샤 한도오따이 에네루기 켄큐쇼 비선형 소자, 표시 장치, 및 전자 기기
TWI446626B (zh) * 2010-05-05 2014-07-21 Yageo Corp 寬頻行動通訊天線
KR20130037238A (ko) * 2010-06-24 2013-04-15 메르크 파텐트 게엠베하 유기 전자 디바이스에서 전극들을 개질하는 방법
JP5449094B2 (ja) * 2010-09-07 2014-03-19 株式会社東芝 半導体装置
JP2013102081A (ja) 2011-11-09 2013-05-23 Tamura Seisakusho Co Ltd ショットキーバリアダイオード
JP6135487B2 (ja) * 2013-12-09 2017-05-31 富士通株式会社 半導体装置及び半導体装置の製造方法
JP6149786B2 (ja) 2014-04-11 2017-06-21 豊田合成株式会社 半導体装置および半導体装置の製造方法
US10340356B2 (en) * 2015-12-25 2019-07-02 Idemitsu Kosan Co., Ltd. Laminated article
US10546960B2 (en) * 2016-02-05 2020-01-28 Semiconductor Energy Laboratory Co., Ltd. Metal oxide film, semiconductor device, and manufacturing method of semiconductor device
US10804362B2 (en) * 2016-08-31 2020-10-13 Flosfia Inc. Crystalline oxide semiconductor film, crystalline oxide semiconductor device, and crystalline oxide semiconductor system
WO2018128103A1 (ja) * 2017-01-05 2018-07-12 パナソニック株式会社 半導体リレー
TWI762467B (zh) * 2017-02-22 2022-05-01 晶元光電股份有限公司 氮化物半導體磊晶疊層結構及其功率元件

Patent Citations (4)

* Cited by examiner, † Cited by third party
Publication number Priority date Publication date Assignee Title
WO2015025500A1 (ja) * 2013-08-19 2015-02-26 出光興産株式会社 酸化物半導体基板及びショットキーバリアダイオード
WO2015025499A1 (ja) * 2013-08-19 2015-02-26 出光興産株式会社 酸化物半導体基板及びショットキーバリアダイオード
JP2015109315A (ja) * 2013-12-03 2015-06-11 出光興産株式会社 薄膜トランジスタ、その製造方法、酸化物半導体層、表示装置及び半導体装置
JP2015227279A (ja) * 2014-05-08 2015-12-17 株式会社Flosfia 結晶性積層構造体および半導体装置

Cited By (12)

* Cited by examiner, † Cited by third party
Publication number Priority date Publication date Assignee Title
JP2019153743A (ja) * 2018-03-06 2019-09-12 株式会社東芝 半導体装置、基板、半導体装置の製造方法、及び、基板の製造方法
JP2021038112A (ja) * 2019-09-02 2021-03-11 信越化学工業株式会社 積層構造体、半導体装置及び半導体システム
JP7093329B2 (ja) 2019-09-02 2022-06-29 信越化学工業株式会社 積層構造体、半導体装置及び半導体システム
JP2022544979A (ja) * 2019-09-20 2022-10-24 山東大学 Igzoショットキーダイオードに基づくメタマテリアルの動的調整制御の方法
JP7660915B2 (ja) 2019-09-20 2025-04-14 山東大学 Igzoショットキーダイオードに基づくメタマテリアルの動的調整制御の方法
WO2021157719A1 (ja) * 2020-02-07 2021-08-12 株式会社Flosfia 半導体素子および半導体装置
JPWO2021157719A1 (enExample) * 2020-02-07 2021-08-12
WO2021157720A1 (ja) * 2020-02-07 2021-08-12 株式会社Flosfia 半導体素子および半導体装置
JPWO2021157720A1 (enExample) * 2020-02-07 2021-08-12
TWI887353B (zh) * 2020-02-07 2025-06-21 日商Flosfia股份有限公司 半導體元件、半導體裝置及半導體系統
US12453108B2 (en) 2020-02-07 2025-10-21 Flosfia Inc. Semiconductor element and semiconductor device
WO2024162270A1 (ja) * 2023-01-31 2024-08-08 日亜化学工業株式会社 ダイオード、これを用いた整流回路、及び受電レクテナ

Also Published As

Publication number Publication date
JP6976858B2 (ja) 2021-12-08
TW201737485A (zh) 2017-10-16
TWI795349B (zh) 2023-03-11
KR102382656B1 (ko) 2022-04-04
KR20180099655A (ko) 2018-09-05
CN108475702B (zh) 2021-11-23
JP2021141337A (ja) 2021-09-16
US11189737B2 (en) 2021-11-30
CN108475702A (zh) 2018-08-31
US20200266304A1 (en) 2020-08-20
JPWO2017111174A1 (ja) 2018-10-18

Similar Documents

Publication Publication Date Title
JP6976858B2 (ja) 積層体
CN108369964B (zh) 层叠体
KR102413244B1 (ko) 구조물, 그 제조 방법, 반도체 소자 및 전자 회로
JP7084465B2 (ja) 酸化物半導体基板及びショットキーバリアダイオード
CN108431963B (zh) 半导体元件和使用该半导体元件的电气设备
TWI769929B (zh) 半導體元件及使用其之電氣機器
KR20150126994A (ko) 정류 다이오드 및 그 제조방법

Legal Events

Date Code Title Description
121 Ep: the epo has been informed by wipo that ep was designated in this application

Ref document number: 16879058

Country of ref document: EP

Kind code of ref document: A1

ENP Entry into the national phase

Ref document number: 2017558338

Country of ref document: JP

Kind code of ref document: A

ENP Entry into the national phase

Ref document number: 20187016344

Country of ref document: KR

Kind code of ref document: A

NENP Non-entry into the national phase

Ref country code: DE

122 Ep: pct application non-entry in european phase

Ref document number: 16879058

Country of ref document: EP

Kind code of ref document: A1