WO2017094296A1 - ヘッドライト装置、ヘッドライト制御方法およびヘッドライト制御プログラム - Google Patents

ヘッドライト装置、ヘッドライト制御方法およびヘッドライト制御プログラム Download PDF

Info

Publication number
WO2017094296A1
WO2017094296A1 PCT/JP2016/074666 JP2016074666W WO2017094296A1 WO 2017094296 A1 WO2017094296 A1 WO 2017094296A1 JP 2016074666 W JP2016074666 W JP 2016074666W WO 2017094296 A1 WO2017094296 A1 WO 2017094296A1
Authority
WO
WIPO (PCT)
Prior art keywords
headlight
vanishing point
light
irradiation
vehicle
Prior art date
Legal status (The legal status is an assumption and is not a legal conclusion. Google has not performed a legal analysis and makes no representation as to the accuracy of the status listed.)
Ceased
Application number
PCT/JP2016/074666
Other languages
English (en)
French (fr)
Japanese (ja)
Inventor
久 小磯
Current Assignee (The listed assignees may be inaccurate. Google has not performed a legal analysis and makes no representation or warranty as to the accuracy of the list.)
JVCKenwood Corp
Original Assignee
JVCKenwood Corp
Priority date (The priority date is an assumption and is not a legal conclusion. Google has not performed a legal analysis and makes no representation as to the accuracy of the date listed.)
Filing date
Publication date
Application filed by JVCKenwood Corp filed Critical JVCKenwood Corp
Priority to EP16870237.1A priority Critical patent/EP3385121B1/en
Priority to CN201680065913.9A priority patent/CN108290514B/zh
Publication of WO2017094296A1 publication Critical patent/WO2017094296A1/ja
Priority to US15/982,000 priority patent/US10364956B2/en
Anticipated expiration legal-status Critical
Ceased legal-status Critical Current

Links

Images

Classifications

    • GPHYSICS
    • G06COMPUTING OR CALCULATING; COUNTING
    • G06VIMAGE OR VIDEO RECOGNITION OR UNDERSTANDING
    • G06V20/00Scenes; Scene-specific elements
    • G06V20/50Context or environment of the image
    • G06V20/56Context or environment of the image exterior to a vehicle by using sensors mounted on the vehicle
    • G06V20/588Recognition of the road, e.g. of lane markings; Recognition of the vehicle driving pattern in relation to the road
    • FMECHANICAL ENGINEERING; LIGHTING; HEATING; WEAPONS; BLASTING
    • F21LIGHTING
    • F21SNON-PORTABLE LIGHTING DEVICES; SYSTEMS THEREOF; VEHICLE LIGHTING DEVICES SPECIALLY ADAPTED FOR VEHICLE EXTERIORS
    • F21S41/00Illuminating devices specially adapted for vehicle exteriors, e.g. headlamps
    • F21S41/60Illuminating devices specially adapted for vehicle exteriors, e.g. headlamps characterised by a variable light distribution
    • F21S41/65Illuminating devices specially adapted for vehicle exteriors, e.g. headlamps characterised by a variable light distribution by acting on light sources
    • F21S41/657Illuminating devices specially adapted for vehicle exteriors, e.g. headlamps characterised by a variable light distribution by acting on light sources by moving light sources
    • BPERFORMING OPERATIONS; TRANSPORTING
    • B60VEHICLES IN GENERAL
    • B60QARRANGEMENT OF SIGNALLING OR LIGHTING DEVICES, THE MOUNTING OR SUPPORTING THEREOF OR CIRCUITS THEREFOR, FOR VEHICLES IN GENERAL
    • B60Q1/00Arrangement of optical signalling or lighting devices, the mounting or supporting thereof or circuits therefor
    • B60Q1/02Arrangement of optical signalling or lighting devices, the mounting or supporting thereof or circuits therefor the devices being primarily intended to illuminate the way ahead or to illuminate other areas of way or environments
    • B60Q1/04Arrangement of optical signalling or lighting devices, the mounting or supporting thereof or circuits therefor the devices being primarily intended to illuminate the way ahead or to illuminate other areas of way or environments the devices being headlights
    • B60Q1/14Arrangement of optical signalling or lighting devices, the mounting or supporting thereof or circuits therefor the devices being primarily intended to illuminate the way ahead or to illuminate other areas of way or environments the devices being headlights having dimming means
    • FMECHANICAL ENGINEERING; LIGHTING; HEATING; WEAPONS; BLASTING
    • F21LIGHTING
    • F21SNON-PORTABLE LIGHTING DEVICES; SYSTEMS THEREOF; VEHICLE LIGHTING DEVICES SPECIALLY ADAPTED FOR VEHICLE EXTERIORS
    • F21S41/00Illuminating devices specially adapted for vehicle exteriors, e.g. headlamps
    • F21S41/10Illuminating devices specially adapted for vehicle exteriors, e.g. headlamps characterised by the light source
    • F21S41/14Illuminating devices specially adapted for vehicle exteriors, e.g. headlamps characterised by the light source characterised by the type of light source
    • F21S41/141Light emitting diodes [LED]
    • F21S41/143Light emitting diodes [LED] the main emission direction of the LED being parallel to the optical axis of the illuminating device
    • FMECHANICAL ENGINEERING; LIGHTING; HEATING; WEAPONS; BLASTING
    • F21LIGHTING
    • F21SNON-PORTABLE LIGHTING DEVICES; SYSTEMS THEREOF; VEHICLE LIGHTING DEVICES SPECIALLY ADAPTED FOR VEHICLE EXTERIORS
    • F21S41/00Illuminating devices specially adapted for vehicle exteriors, e.g. headlamps
    • F21S41/10Illuminating devices specially adapted for vehicle exteriors, e.g. headlamps characterised by the light source
    • F21S41/14Illuminating devices specially adapted for vehicle exteriors, e.g. headlamps characterised by the light source characterised by the type of light source
    • F21S41/141Light emitting diodes [LED]
    • F21S41/147Light emitting diodes [LED] the main emission direction of the LED being angled to the optical axis of the illuminating device
    • F21S41/148Light emitting diodes [LED] the main emission direction of the LED being angled to the optical axis of the illuminating device the main emission direction of the LED being perpendicular to the optical axis
    • FMECHANICAL ENGINEERING; LIGHTING; HEATING; WEAPONS; BLASTING
    • F21LIGHTING
    • F21SNON-PORTABLE LIGHTING DEVICES; SYSTEMS THEREOF; VEHICLE LIGHTING DEVICES SPECIALLY ADAPTED FOR VEHICLE EXTERIORS
    • F21S41/00Illuminating devices specially adapted for vehicle exteriors, e.g. headlamps
    • F21S41/60Illuminating devices specially adapted for vehicle exteriors, e.g. headlamps characterised by a variable light distribution
    • F21S41/67Illuminating devices specially adapted for vehicle exteriors, e.g. headlamps characterised by a variable light distribution by acting on reflectors
    • F21S41/675Illuminating devices specially adapted for vehicle exteriors, e.g. headlamps characterised by a variable light distribution by acting on reflectors by moving reflectors
    • BPERFORMING OPERATIONS; TRANSPORTING
    • B60VEHICLES IN GENERAL
    • B60WCONJOINT CONTROL OF VEHICLE SUB-UNITS OF DIFFERENT TYPE OR DIFFERENT FUNCTION; CONTROL SYSTEMS SPECIALLY ADAPTED FOR HYBRID VEHICLES; ROAD VEHICLE DRIVE CONTROL SYSTEMS FOR PURPOSES NOT RELATED TO THE CONTROL OF A PARTICULAR SUB-UNIT
    • B60W2420/00Indexing codes relating to the type of sensors based on the principle of their operation
    • B60W2420/40Photo, light or radio wave sensitive means, e.g. infrared sensors
    • B60W2420/403Image sensing, e.g. optical camera
    • FMECHANICAL ENGINEERING; LIGHTING; HEATING; WEAPONS; BLASTING
    • F21LIGHTING
    • F21YINDEXING SCHEME ASSOCIATED WITH SUBCLASSES F21K, F21L, F21S and F21V, RELATING TO THE FORM OR THE KIND OF THE LIGHT SOURCES OR OF THE COLOUR OF THE LIGHT EMITTED
    • F21Y2115/00Light-generating elements of semiconductor light sources
    • F21Y2115/10Light-emitting diodes [LED]

Definitions

  • the present invention relates to a headlight device, a headlight control method, and a headlight control program.
  • Patent Document 1 discloses a headlight device that automatically turns on or off an automobile light.
  • the headlight device disclosed in Patent Document 1 turns on or off the headlight based on the brightness in front of the vehicle.
  • the headlight device disclosed in Patent Document 1 turns on or off the headlight. Therefore, there is room for improvement in controlling the light irradiation by the headlights that are lit in the traveling vehicle.
  • the present invention has been made in view of the above, and it is an object of the present invention to provide a headlight device, a headlight control method, and a headlight control program for appropriately controlling light irradiation by a headlight in a running vehicle. To do.
  • a headlight device includes a video acquisition unit that acquires a video of a traveling direction of a traveling vehicle, and a video acquired by the video acquisition unit. Based on the vanishing point calculation unit that calculates the position of the vanishing point in the video, the headlight that irradiates light in the traveling direction of the vehicle, and the position of the vanishing point calculated by the vanishing point calculation unit, An irradiation control unit that controls the irradiation of light of the headlight.
  • the headlight control method includes a step of irradiating light in a traveling direction of a traveling vehicle, a step of acquiring an image of the traveling direction of the vehicle, and the acquired image. Calculating the position of the vanishing point in the video, and controlling the irradiation of the light based on the position of the vanishing point.
  • the headlight control program has a function of acquiring, in a computer, a video of a traveling direction of a running vehicle, and a function of calculating a vanishing point position in the video based on the acquired video. Based on the calculated position of the vanishing point, the function of controlling the light irradiation of the headlight is realized.
  • the present invention it is possible to appropriately control the light irradiation by the headlight in the traveling vehicle.
  • FIG. 1 is a block diagram illustrating a functional configuration of the headlight device according to the present embodiment.
  • FIG. 2 is a flowchart illustrating an example of a headlight control method according to the operation of the headlight device according to the embodiment.
  • FIG. 3 is a diagram illustrating a configuration example of the headlight.
  • FIG. 4 is a diagram for explaining the position of the vanishing point of the image and the irradiation range of the light of the headlight when the vehicle is taken forward while the vehicle is moving forward.
  • FIG. 5 is a diagram for explaining the position of the vanishing point of the image and the irradiation range of the light of the headlight when the vehicle is photographed forward by the in-vehicle camera.
  • FIG. 4 is a diagram for explaining the position of the vanishing point of the image and the irradiation range of the light of the headlight when the vehicle is photographed forward by the in-vehicle camera.
  • FIG. 6 is a diagram for explaining the position of the vanishing point of the image and the irradiation range of the light of the headlight when the vehicle is photographed in front with the in-vehicle camera.
  • FIG. 7 is a diagram for explaining the position of the vanishing point of the image and the irradiation range of the light of the headlight when the vehicle is photographed in front while the vehicle is moving forward.
  • FIG. 8 is a diagram for explaining the position of the vanishing point of the image and the irradiation range of the light of the headlight when the vehicle is taken forward while the vehicle is moving forward.
  • FIG. 9 is a diagram for explaining control for reducing the height of the light irradiation range by the headlight on the side opposite to the position of the vanishing point.
  • FIG. 10 is a diagram illustrating control for reducing the height of the light irradiation range by the headlight on the side opposite to the position of the vanishing point.
  • FIG. 11 is a diagram illustrating control for limiting the light irradiation range by the headlight.
  • FIG. 12 is a diagram illustrating control for limiting the light irradiation range by the headlight.
  • FIG. 13 is a diagram illustrating control for limiting the light irradiation range by the headlight.
  • FIG. 14 is a diagram illustrating control for limiting the light irradiation range by the headlight.
  • FIG. 15 is a flowchart illustrating a method for calculating a vanishing point based on a road marking included in a captured video.
  • FIG. 16 is a diagram illustrating processing for calculating the position of the vanishing point based on the road marking.
  • FIG. 17 is a diagram illustrating processing for calculating the position of the vanishing point based on the road marking.
  • FIG. 18 is a diagram illustrating processing for calculating the position of the vanishing point based on the road marking.
  • FIG. 19 is a diagram illustrating processing for calculating the position of the vanishing point based on the road marking.
  • FIG. 20 is a diagram illustrating an example of processing for calculating a vanishing point based on a motion vector of a video acquired by the video acquisition unit.
  • FIG. 21 is a diagram illustrating an example of processing for calculating a vanishing point based on a motion vector of a video acquired by the video acquisition unit.
  • FIG. 22 is a diagram illustrating an example of processing for calculating a vanishing point based on a motion vector of a video acquired by the video acquisition unit.
  • FIG. 23 is a diagram illustrating a configuration example for controlling the lighting control unit to turn on and off a headlight including a plurality of LED lamps.
  • FIG. 24 is a diagram showing LED lamps to be turned on for the right headlight and the left headlight.
  • FIG. 25 is a diagram showing LED lamps to be turned on for the right headlight and the left headlight.
  • FIG. 26 is a diagram showing LED lamps to be turned on for the right headlight and the left headlight.
  • FIG. 27 is a diagram showing LED lamps to be turned on for the right headlight and the left headlight.
  • FIG. 24 is a diagram illustrating an example of processing for calculating a vanishing point based on a motion vector of a video acquired by the video acquisition unit.
  • FIG. 23 is a diagram illustrating a configuration example for controlling the lighting control unit to turn on and
  • FIG. 28 is a diagram showing LED lamps to be turned on for the right headlight and the left headlight.
  • FIG. 29 is a diagram showing LED lamps to be turned on for the right headlight and the left headlight.
  • FIG. 30 is a diagram showing LED lamps to be turned on for the right headlight and the left headlight.
  • FIG. 31 is a diagram illustrating an example of a headlight having a laser light source and an irradiation control unit.
  • FIG. 32 is a diagram illustrating the relationship between the scanning trajectory of laser light and the irradiation range of laser light.
  • FIG. 33 is a diagram illustrating the comparison of the laser irradiation ranges for forming the irradiation ranges described with reference to FIGS. 5 to 8.
  • FIG. 34 is a flowchart illustrating an example of a headlight control method when a specific target is excluded from the irradiation range and light is not irradiated.
  • FIG. 35 is a diagram illustrating an example of an irradiation range of light formed by scanning a laser beam while excluding a specific target from the irradiation range.
  • FIG. 36 is a diagram illustrating an example of a headlight device that sets the control cycle of the irradiation control unit in accordance with the speed of the vehicle.
  • FIG. 37 is a flowchart showing an operation example of the headlight device shown in FIG.
  • FIG. 1 is a block diagram illustrating a functional configuration of the headlight device according to the present embodiment.
  • the headlight device 1 according to the present embodiment includes a video acquisition unit 11, a headlight 12, an irradiation control unit 13, a storage unit 14, and a control unit 15.
  • the image acquisition unit 11 captures a scene in the traveling direction of the vehicle while the vehicle is traveling and acquires an image.
  • the video acquisition unit 11 is, for example, an in-vehicle camera installed near the top of the windshield. An infrared camera may be used for the video acquisition unit 11.
  • the headlight 12 includes a right headlight 12R and a left headlight 12L.
  • the right headlight 12R is provided on the right side of the front portion of the vehicle.
  • the right headlight 12R irradiates light on the right front side of the vehicle.
  • the left headlight 12L is provided on the left side of the front portion of the vehicle.
  • the left headlight 12L irradiates light in front of the left side of the vehicle.
  • the irradiation control unit 13 controls light irradiation by the headlight 12 according to the position of the vanishing point.
  • a vanishing point is a convergence point of a group of parallel lines in a three-dimensional space represented by an image.
  • the irradiation control unit 13 controls the central axis of light by the headlight 12, that is, the direction of the optical axis, according to the position of the vanishing point.
  • the irradiation control unit 13 controls the optical axis of the headlight 12 in at least one of the upper, lower, left and right directions so that the light of the headlight 12 is irradiated to the position of the vanishing point.
  • the irradiation control unit 13 may control the direction of the optical axis in a cycle of about several hundred milliseconds instead of controlling the direction of the optical axis in real time. In this way, even if there is a slight undulation on the road surface on which the vehicle travels, the direction of light by the headlight 12 is not frequently changed, and a stable view can be provided to the driver. it can.
  • the storage unit 14 stores information necessary for the operation of the headlight device 1.
  • the storage unit 14 stores a program 14A and a table 14B.
  • the program 14A is a program for controlling each unit of the headlight device 1.
  • the program 14A is executed by the control unit 15.
  • the table 14B associates the position of the vanishing point with the control content of the headlight 12.
  • the control content of the headlight 12 includes, for example, data for operating the actuator, data indicating the position of a lamp to be turned on when the headlight 12 includes a plurality of lamps, the position of the vanishing point, and turning on the laser light source. For example, data indicating a range.
  • the control unit 15 and the irradiation control unit 13 can refer to the contents of the table 14B.
  • the storage unit 14 functions as a frame memory that stores the video acquired by the video acquisition unit 11.
  • the control unit 15 is constituted by, for example, a CPU (Central Processing Unit).
  • the control unit 15 executes the program 14A and calculates the vanishing point. Further, the control unit 15 controls each unit of the headlight device 1.
  • the video acquisition unit 11 captures a scene in the traveling direction of the vehicle and acquires a video.
  • the control unit 15 calculates the vanishing point based on the video acquired by the video acquisition unit 11.
  • the control unit 15 sends data related to the position of the vanishing point to the irradiation control unit 13. For example, the coordinate value of the vanishing point is sent to the irradiation control unit 13.
  • the irradiation control unit 13 receives data regarding the position of the vanishing point from the control unit 15.
  • the irradiation control unit 13 refers to the data on the position of the vanishing point, obtains data for operating the actuator, for example, with reference to the table 14B, and controls light irradiation of the headlight 12.
  • the irradiation control unit 13 controls the irradiation of the light of the headlight 12 so that the light is irradiated to the position of the vanishing point.
  • the irradiation control unit 13 causes the light of the headlight to be irradiated to the position of the vanishing point.
  • the optical axis of the right headlight 12R and the optical axis of the left headlight 12L are controlled.
  • FIG. 2 is a flowchart illustrating an example of a headlight control method according to the operation of the headlight device according to the present embodiment. The processing in FIG. 2 is based on the premise that the headlight is turned on.
  • the control unit 15 acquires an image while the headlight is turned on (step S101).
  • the control unit 15 calculates a vanishing point based on the acquired video (step S102).
  • the irradiation controller 13 controls light irradiation by the headlight based on the calculated vanishing point position (step 103).
  • the above method may be performed by the operations of the control unit 15 and the irradiation control unit 13. Further, when the control unit 15 includes the function of the irradiation control unit 13, the above method may be performed by the control unit 15 executing the program 14A.
  • FIG. 3 is a diagram illustrating a configuration example of the headlight 12 described above.
  • the right headlight 12R includes a light source unit 120R, a reflecting plate 122R, and an actuator 121R.
  • the left headlight 12L includes a light source unit 120L, a reflecting plate 122L, and an actuator 121L.
  • the light source unit 120R and the light source unit 120L are, for example, a xenon lamp or an LED (Light Emitting Diode) lamp.
  • the reflector 122R reflects the light output from the light source unit 120R toward the traveling direction of the vehicle.
  • the reflecting plate 122L reflects the light output from the light source unit 120L toward the traveling direction of the vehicle.
  • the actuator 121R and the actuator 121L serve as a change drive unit that changes the direction of the optical axis.
  • the actuator 121R and the actuator 121L are, for example, biaxial actuators.
  • the actuator 121R moves the position of the light source unit 120R in two directions: an x-axis direction (a direction horizontal to the road surface) and a y-axis direction (a direction perpendicular to the road surface).
  • the light irradiation position can be controlled by changing the relative position of the light source unit 120R with respect to the reflecting plate 122R by the actuator 121R.
  • the actuator 121L moves the position of the light source unit 120L in two directions, the x-axis direction (direction horizontal to the road surface) and the y-axis direction (direction perpendicular to the road surface).
  • the light irradiation position can be controlled by changing the relative position of the light source unit 120L with respect to the reflection plate 122L by the actuator 121L.
  • the irradiation control unit 13 controls the actuator 121R and the actuator 121L based on data regarding the position of the vanishing point.
  • the irradiation control unit 13 refers to the table 14B and acquires the control content of the headlight 12 with respect to the position of the vanishing point. For example, the irradiation control unit 13 acquires data for operating the actuator 121R and the actuator 121L, respectively.
  • the irradiation control unit 13 operates the actuator 121R and the actuator 121L based on the control content acquired from the table 14B.
  • the actuator 121R operates, the relative position of the light source unit 120R with respect to the reflecting plate 122R changes, and the light irradiation position by the light source unit 120R changes.
  • the actuator 121L operates, the relative position of the light source unit 120L with respect to the reflecting plate 122L changes, and the light irradiation position by the light source unit 120L changes.
  • the light irradiation of the headlight 12 is controlled based on the position of the vanishing point, and the light is irradiated to the position of the vanishing point.
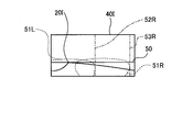
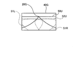
  • 4 to 8 are diagrams for explaining the position of the vanishing point 20 of the image 40 and the light irradiation range of the headlight 12 when the vehicle is moving forward and the front is photographed by the in-vehicle camera.
  • the vanishing point 20 is near the center point of the video 40 and the horizon 50 Located in the vicinity.
  • the irradiation control unit 13 controls the right headlight 12R and the left headlight 12L so that the light irradiation range 51R from the right headlight 12R and the light irradiation range 51L from the left headlight 12L overlap in the vicinity of the vanishing point 20. To do.
  • FIG. 5 is a diagram illustrating a case where a vehicle travels on an uphill road.
  • the traveling vehicle reaches an uphill road that does not turn left and right, the position of the horizon 50U is displaced upward.
  • the vanishing point 20A is located slightly above the center point of the video 40A.
  • the irradiation control unit 13 controls the optical axes of the right headlight 12R and the left headlight 12L in the upward direction as compared with the case of FIG. 4, and the light irradiation range 51R by the right headlight 12R and the light irradiation by the left headlight 12L.
  • the range 51L overlaps with the vanishing point 20A.
  • the optical axes of the right headlight 12R and the left headlight 12L are directed upward, and the traveling direction of the vehicle is correctly irradiated. Therefore, the irradiation range of the headlight 12 can be adjusted dynamically without being dazzled by the oncoming vehicle, and an optimal field of view can be given to the driver.
  • FIG. 6 is a diagram illustrating a case where a vehicle travels on a downhill road.
  • a traveling vehicle reaches a downhill road that does not turn left and right, the position of the horizon 50D is displaced downward.
  • the vanishing point 20B is located slightly below the center point of the video 40B.
  • the irradiation controller 13 controls the optical axes of the right headlight 12R and the left headlight 12L in a downward direction as compared with the case of FIG. 4, and the light irradiation range 51R by the right headlight 12R and the light irradiation by the left headlight 12L.
  • the range 51L overlaps with the vanishing point 20B.
  • the optical axes of the right headlight 12R and the left headlight 12L are directed downward, and unnecessary light is not irradiated to unnecessary portions, and the traveling direction of the vehicle is correctly irradiated. Therefore, the irradiation range of the headlight 12 can be adjusted dynamically without being dazzled by the oncoming vehicle, and an optimal field of view can be given to the driver.
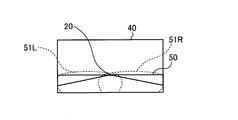
  • FIG. 7 is a diagram illustrating a case where a vehicle is traveling on a left-curved road.
  • the position of the horizon 50 is not displaced when the vehicle is traveling on a left-curved road that is not an uphill or downhill.
  • the vanishing point 20C is located slightly to the left of the center of the video 40C.
  • the irradiation control unit 13 controls the optical axes of the right headlight 12R and the left headlight 12L in the left direction as compared with the case of FIG. 4, and the light irradiation range 51R by the right headlight 12R and the light irradiation by the left headlight 12L.
  • the range 51L overlaps with the vanishing point 20C.
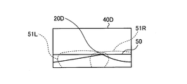
  • FIG. 8 is a diagram illustrating a case where a vehicle is traveling on a road with a right curve.
  • the position of the horizon 50 is not displaced.
  • the vanishing point 20D is located slightly to the right of the center of the video 40D.
  • the irradiation controller 13 controls the optical axes of the right headlight 12R and the left headlight 12L in the right direction as compared with the case of FIG. 4, and the light irradiation range 51R by the right headlight 12R and the light irradiation by the left headlight 12L.
  • the range 51L overlaps with the vanishing point 20D.
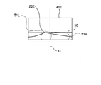
  • FIG. 9 and FIG. 10 are diagrams illustrating the control for reducing the height of the light irradiation range by the headlight on the side opposite to the position of the vanishing point 20.
  • the irradiation control unit 13 controls the right headlight 12R and the left headlight 12L, and the light irradiation range 51R by the right headlight 12R. And the light irradiation range 51L of the left headlight 12L overlap in the vicinity of the vanishing point 20E. Furthermore, since there is a vanishing point 20E at a position to the left of the line 31 indicating the center in the left-right direction of the image 40E, the irradiation control unit 13 sets the height of the light irradiation range 51L by the left headlight 12L in FIG.
  • the height of the light irradiation range 51R by the right headlight 12R is made lower than that in the case of FIG. That is, the irradiation control unit 13 performs control to reduce the height of the light irradiation range by the headlight on the side opposite to the position of the vanishing point 20E with respect to the center in the left-right direction in the image 40E.
  • the irradiation control unit 13 performs control to reduce the height of the light irradiation range by the headlight on the side opposite to the position of the vanishing point 20E with respect to the center in the left-right direction in the image 40E.
  • the irradiation control unit 13 controls the right headlight 12R and the left headlight 12L, and the light irradiation range 51R by the right headlight 12R. And the light irradiation range 51L of the left headlight 12L overlap in the vicinity of the vanishing point 20F. Furthermore, since there is a vanishing point 20F at a position to the right of the line 31 indicating the center in the left-right direction of the video 40F, the irradiation control unit 13 sets the height of the light irradiation range 51R by the right headlight 12R in FIG.
  • the height of the light irradiation range 51L of the left headlight 12L is made lower than that in the case of FIG. That is, the irradiation control unit 13 performs control to reduce the height of the light irradiation range by the headlight on the side opposite to the position of the vanishing point 20F with respect to the center in the left-right direction in the video 40F.
  • the direction in which the vehicle travels in this case, the right direction where the vanishing point 20F is located
  • the other direction here, the left direction
  • Irradiation of light more than necessary to a pedestrian or the like located on the front side of the vehicle can be suppressed.
  • FIG. 11 to FIG. 14 are diagrams for explaining the control for limiting the light irradiation range by the headlight.
  • the irradiation control unit 13 may provide an upper limit 52U in the light irradiation range when the vehicle is traveling on an uphill road so that the light is not irradiated farther than necessary. Also, as shown in FIG. 12, when the vehicle is traveling on a downhill road that is not bent left and right, the position of the horizon 50D is displaced downward. In this case, the vanishing point 20H is located below the center of the video 40H.
  • the irradiation control unit 13 may provide a lower limit 52D in the light irradiation range when the vehicle is traveling on a downhill road so that the light is not irradiated only in the vicinity of the vehicle.
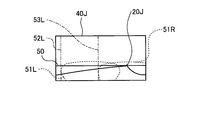
  • the position of the vanishing point 20I may approach the left end of the video 40I.
  • right limits 52R and 53R are provided in the light irradiation range. That is, a right limit 52R is provided in the light irradiation range 51L of the left headlight 12L, and a right limit 53R is provided in the light irradiation range 51R of the right headlight 12R so that light is not irradiated to the right side more than necessary. Also good.
  • the position of the vanishing point 20J may approach the right end of the video 40J.
  • left limits 52L and 53L are provided in the light irradiation range.
  • a left limit 52L is provided in the light irradiation range 51L of the left headlight 12L
  • a left limit 53L is provided in the light irradiation range 51R of the right headlight 12R so that light is not irradiated to the left side more than necessary. Also good.
  • the headlight optical axis direction is prevented from changing extremely. be able to.
  • the position of the vanishing point is calculated based on road markings or road installations included in the video acquired by the video acquisition unit 11.
  • the road marking includes indications of the road center line, the road boundary line, the road outer line, and the roadside zone.
  • the road installation is, for example, a guardrail.
  • FIG. 15 is a flowchart for explaining a method of calculating the vanishing point based on the road marking included in the photographed video.
  • a road marking in the video is extracted (step S301).
  • the road marking extracted in step 301 is traced with a straight line or a curve (step S302).
  • the intersection of the lines traced in step 302 is set as a vanishing point (step S303).
  • FIGS. 16 to 19 are diagrams for describing processing for calculating the position of the vanishing point based on the road marking.
  • FIG. 16 is a diagram illustrating an example of an image acquired by the in-vehicle camera when the vehicle is traveling on a downhill. As shown in FIG. 16, the video 40K includes road markings 21 and 22 provided on the road surface on which the vehicle travels.
  • road markings 21 and 22 are extracted from the video 40K, and the road markings 21 and 22 are traced by straight lines 21T and 22T. And the intersection of the traced straight line 21T and the straight line 22T is made into the vanishing point 20K.
  • FIG. 17 is a diagram showing an example of an image acquired by the in-vehicle camera when the vehicle is traveling uphill.
  • the video 40L includes road markings 21 and 22 provided on the road surface on which the vehicle travels.
  • road markings 21 and 22 are extracted from the video 40L, and the road markings 21 and 22 are traced by straight lines 21T and 22T. And let the intersection of the traced straight line 21T and the straight line 22T be the vanishing point 20L.
  • the position of the vanishing point 20K is often lower than the position of the line 30 indicating the center in the vertical direction of the image.
  • the position of the vanishing point 20L is often above the position of the line 30 indicating the vertical center of the video 40L.
  • the upper and lower positions of the vanishing points 20K and 20L differ depending on whether the road on which the vehicle is traveling is an uphill or a downhill. For this reason, the vanishing points 20K and 20L are calculated in the traveling vehicle, and light irradiation by the headlight 12 is controlled based on the calculated vanishing points 20K and 20L.
  • FIG. 18 is a diagram illustrating an example of an image acquired by the in-vehicle camera when the vehicle is traveling on the left curve.
  • the video 40M includes road markings 23 and 24 provided on the road surface on which the vehicle travels.
  • road markings 23 and 24 are extracted from the video 40M, and the road markings 23 and 24 are traced by curves 23T and 24T. And let the intersection of the traced curves 23T and 24T be the vanishing point 20M.
  • FIG. 19 is a diagram illustrating an example of an image acquired by the in-vehicle camera when the vehicle is traveling on the right curve. As shown in FIG. 19, the image 40N includes road markings 23 and 24 provided on the road surface on which the vehicle travels.
  • road markings 23 and 24 are extracted from the video 40N, and the road markings 23 and 24 are traced by curves 23T and 24T.
  • the intersection of the traced curves 23T and 24T is defined as a vanishing point 20N.
  • the position of the vanishing point 20M is often a position on the left side of the position of the line 31 indicating the center in the left-right direction of the video 40M.
  • the position of the vanishing point 20N is often on the right side of the position of the line 31 indicating the center in the left-right direction of the video 40N.
  • the left and right positions of the vanishing points 20M and 20N are different depending on whether the road on which the vehicle travels is a left curve or a right curve. For this reason, vanishing points 20M and 20N are calculated in the traveling vehicle, and light irradiation by the headlight 12 is controlled based on the calculated vanishing points 20M and 20N.
  • the image of the direction in which the vehicle is traveling is acquired, and the position of the vanishing point is calculated based on the image. Then, when the position of the vanishing point moves due to the shape of the road on which the vehicle travels, the optical axis of the headlight is adjusted in accordance with the movement, and the light irradiation position by the headlight is changed.
  • the irradiation control unit 13 may calculate the vanishing point based on the motion vector of the video acquired by the video acquisition unit 11.
  • 20 to 22 are diagrams illustrating an example of processing for calculating the vanishing point based on the motion vector of the video acquired by the video acquisition unit 11.
  • FIG. 20 is a diagram showing a state in which the captured video is divided into a plurality of areas.
  • the video 40 acquired by the video acquisition unit 11 is divided into a plurality of areas 400. In this example, it is divided into a total of 25 areas 400 of 5 vertical and 5 horizontal.
  • representative points 41 in each of the 25 areas 400 are determined.
  • the representative point 41 is a pixel at the center of each area 400.
  • the representative point 41 is a point serving as a reference when detecting a motion vector.
  • the representative point 41 is not limited to the pixel at the center of the area 400, and may be a point at an arbitrary position in the area.
  • a motion vector 42 is obtained for each determined representative point 41.
  • the center point of the radial motion vector 42 is taken as the vanishing point.
  • the motion vector 42 due to the traveling of the vehicle is obtained.
  • the direction and magnitude of the motion vector 42 can be detected by the x-coordinate and the y-coordinate by searching the area for a pixel having the brightness closest to the brightness of the pixel at the representative point 41.
  • FIG. 21 is a diagram for explaining the motion vector detected in each area 400 of the video 40.
  • the video 40 is divided into 25 areas 400 and the motion vector 42 of each area 400 is detected.
  • the area 401 into the area 401, use the central pixel of each area 401 as a representative point, obtain a motion vector for each area 401, and average the 20 areas 401 as the motion vector of the area 400.
  • each area 400 has one representative point.
  • the optical flow that shows the movement of surrounding objects is radiating around the running direction. Therefore, when the vehicle is traveling on a straight road that is not uphill or downhill and is not bent to the left or right, as shown in FIG. A motion vector 42 is detected in a direction spreading radially from the vicinity of the center. The magnitude of the motion vector varies depending on the traveling speed of the vehicle.
  • optical flow is a vector representing the motion of an object in the video 40.
  • the center of the radial optical flow is the vanishing point 20P.
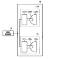
  • the range of light irradiation can be controlled by selecting a lamp to be lit among the plurality of lamps. .
  • FIG. 23 is a diagram illustrating a configuration example for controlling the lighting control unit 13 to turn on and off a headlight including a plurality of LED lamps. As shown in FIG. 23, the right headlight 17R and the left headlight 17L each include a plurality of LED lamps 18.
  • the right headlight 17R and the left headlight 17L include a total of 24 LED lamps 18 that are four in length and six in width.
  • the 24 LED lamps 18 have different optical axis directions.
  • the irradiation control unit 13 selects an LED lamp to be lit based on the position of the vanishing point for the right headlight 17R and the left headlight 17L.
  • the irradiation control unit 13 refers to the table 14B and determines the LED lamp to be lit.
  • the table 14B stored in the storage unit 14 associates the position of the vanishing point in the video 40 with the LED lamp to be lit.
  • the irradiation control unit 13 determines an LED lamp to be lit corresponding to the position of the vanishing point among the plurality of LED lamps 18 by referring to the table 14B.
  • FIGS. 24 to 30 are diagrams showing LED lamps to be turned on for the right headlight 17R and the left headlight 17L.
  • FIGS. 24 to 30 are views showing the right headlight 17R and the left headlight 17L as viewed from the front of the vehicle.
  • the described position and the appearance in each figure are reversed left and right. That is, the right headlight 17R is described on the left side in each figure, and the left headlight 17L is described on the right side in each figure.
  • the LED lamps to be lit are shown in black, and the LED lamps that are not lit (leave off) are shown in white.
  • both end portions and upper end portions of the plurality of LED lamps 18 of the right headlight 17 ⁇ / b> R and the left headlight 17 ⁇ / b> L are formed. Is turned off, and each of the 12 LED lamps located in the central ranges 71R and 71L is turned on. By turning on each of the 12 LED lamps positioned in the ranges 71R and 71L, it is possible to irradiate light in the ranges equivalent to the irradiation ranges 51R and 51L described with reference to FIG.
  • both end portions of the plurality of LED lamps 18 of the right headlight 17R and the left headlight 17L are kept off.
  • Sixteen LED lamps positioned in the central portion ranges 72R and 72L are turned on. Unlike the case of FIG. 24, the LED lamp located at the upper end of the central portion is also lit. Thereby, light can be irradiated farther than in the case of FIG.
  • By lighting each of the 16 LED lamps positioned in the ranges 72R and 72L it is possible to irradiate light in the ranges equivalent to the irradiation ranges 51R and 51L described with reference to FIG.
  • both end portions of the plurality of LED lamps 18 of the right headlight 17R and the left headlight 17L are kept off.
  • Eight LED lamps located in the lower half ranges 73R and 73L of the central part are turned on. Thereby, light can be irradiated closer than in the case of FIG.
  • By lighting each of the eight LED lamps positioned in the ranges 73R and 73L it is possible to irradiate light to the ranges equivalent to the irradiation ranges 51R and 51L described with reference to FIG.
  • ranges 74R and 74L near the lower left portion. Twelve LED lamps located in each are turned on. Thereby, light can be irradiated to the left rather than the case of FIG.
  • the irradiation range of the light on the right side can be set to a lower position than in the case of FIG.
  • the LED lamps positioned in the ranges 76R and 76L it is possible to irradiate light in the ranges equivalent to the irradiation ranges 51R and 51L described with reference to FIG.
  • the irradiation range described with reference to FIG. 10 In order to form the irradiation range described with reference to FIG. 10, as shown in FIG. 30, twelve LEDs located in the range 77R near the lower right portion of the plurality of LED lamps 18 of the right headlight 17R. The lamp is turned on, and among the plurality of LED lamps of the left headlight 17L, eight LED lamps located in the range 77L near the lower right portion are turned on. Thereby, the irradiation range of the left side light can be set to a position lower than that in the case of FIG. By illuminating the LED lamps positioned in the ranges 77R and 77L, light can be irradiated in the ranges equivalent to the irradiation ranges 51R and 51L described with reference to FIG.
  • the range of light irradiation can be controlled by scanning the laser light. Since the diameter of the laser light is smaller than that of the LED lamp, in this example, the light irradiation range is expanded by scanning the laser light. Thereby, the irradiation range equivalent to the headlight by a lamp
  • FIG. 31 is a diagram illustrating an example of the headlight 12 having a laser light source and the irradiation control unit 13.
  • the headlight 12 includes a right headlight 19R and a left headlight 19L.
  • the right headlight 19R of this example includes a laser light source 191R and a deflection element unit 192R.
  • the left headlight 19L of this example includes a laser light source 191L and a deflection element unit 192L.
  • Laser light sources 191R and 191L output laser light.
  • the deflection element unit 192R includes a mirror that reflects the laser light output from the laser light source 191R and changes the irradiation position.
  • the deflecting element unit 192L includes a mirror that reflects the laser light output from the laser light source 191L and changes the irradiation position.
  • the irradiation control unit 13 includes a light source driving unit 131 and a deflection driving unit 132.
  • the light source driving unit 131 drives the laser light sources 191R and 191L.
  • the deflection driving unit 132 controls the deflection element unit 192R of the right headlight 19R and the deflection element unit 192L of the left headlight 19L.
  • the deflection driving unit 132 is driven so that the mirror of the deflection element unit 192R rotates or swings, and scans the irradiation position of the light from the laser light source 191R. Further, the deflection driving unit 132 drives the mirror of the deflection element unit 192L to scan the irradiation position of the light from the laser light source 191L.
  • the table 14B associates the position of the vanishing point with data indicating the range in which the laser light source is turned on.
  • the deflection driving unit 132 operates the deflection element unit 192R and the deflection element unit 192L to scan the irradiation positions of the laser light sources 191R and 191L. In the middle of scanning the irradiation position by the deflection driving unit 132, the light source driving unit 131 turns on or off the laser light sources 191R and 191L.
  • the irradiation control unit 13 obtains data indicating a range in which the laser light source is turned on with reference to the table 14B based on the data regarding the position of the vanishing point, and turns the laser light sources 191R and 191L on or off.
  • FIG. 32 to FIG. 35 are diagrams for explaining an irradiation range of light formed by scanning laser light.
  • the light irradiation range of the right headlight 19R will be described.
  • FIG. 32 is a diagram showing the relationship between the scanning range of the laser beam, the scanning locus 62, and the irradiation range of the laser beam.
  • the scanning trajectory 62 of the laser beam is formed by the deflection element unit 192R.
  • the laser light source 191R is turned ON (thick line portion in the drawing) within the irradiation range 61 in the scanning range 60 shown in FIG. 32, and light is output. Further, the laser light source 191R is turned off outside the irradiation range 61 in the scanning range 60 shown in FIG.
  • FIG. 33 is a diagram illustrating the comparison of the laser irradiation ranges for forming the respective irradiation ranges described with reference to FIGS. 5 to 8.
  • the laser light source 191R is turned on within the irradiation range 61A and the laser light source 191R is turned off outside the irradiation range 61A as shown in FIG. To.
  • the irradiation range 61A including the scanning range 60 and wide in the vertical direction can be formed.
  • the laser light source 191 ⁇ / b> R is set within the irradiation range 61 ⁇ / b> B in the middle of scanning the irradiation position of the laser light in the scanning range 60 as shown in FIG. 33.
  • the laser light source 191R is turned off outside the irradiation range 61B. Thereby, the irradiation range 61B narrow in the vertical direction can be formed below the scanning range 60.
  • the laser light source 191 ⁇ / b> R is set within the irradiation range 61 ⁇ / b> C during the scanning of the laser light irradiation position in the scanning range 60 as shown in FIG. 33.
  • the laser light source 191R is turned off outside the irradiation range 61C. Thereby, it is possible to form an irradiation range 61 ⁇ / b> C that has a size equivalent to that of the scanning range 60 and leans to the left.
  • the laser light source 191 ⁇ / b> R is set within the irradiation range 61 ⁇ / b> D in the middle of scanning the irradiation position of the laser light in the scanning range 60 as shown in FIG. 33.
  • the laser light source 191R is turned off outside the irradiation range 61D. Thereby, it is possible to form an irradiation range 61 ⁇ / b> D that is the same size as the scanning range 60 and is oriented in the right direction.
  • the irradiation range described with reference to FIGS. 9 and 10 can also be formed.
  • the laser light source 191R is turned on within the irradiation range, and the laser light source 191R is turned off outside the irradiation range.
  • a specific target can be excluded from the irradiation range, and light can be prevented from being irradiated.
  • an object such as a pedestrian or an oncoming vehicle is excluded from the irradiation range and is not irradiated with light.
  • the control part 15 detects the object which does not irradiate light by performing an image process about the image
  • pedestrians and oncoming vehicles can be detected by pattern recognition.
  • the light source driving unit 131 turns off the laser light source 191R in a predetermined range including the detected target.
  • FIG. 34 is a flowchart showing an example of a headlight control method when a specific target is excluded from the irradiation range and light is not irradiated.
  • the processing in FIG. 34 is based on the premise that the headlight is turned on.
  • step S201 After calculating the vanishing point in step S102, it is determined whether there is an object that should not be irradiated with light (step S201). If it is determined in step S201 that there is an object that should not be irradiated with light (Yes in step S201), light is emitted from the headlight based on the calculated position of the vanishing point and so that the object is not irradiated with light. Control (step S202).
  • step S201 If it is determined in step S201 that there is no target that should not be irradiated with light (No in step S201), the light irradiation by the headlight is controlled based on the calculated vanishing point position as in FIG. Step S103).
  • FIG. 35 is a diagram illustrating an example of an irradiation range of light formed by scanning a laser beam while excluding a specific target from the irradiation range.
  • the irradiation range 61E has a portion 63 that is missing due to detection of an object that is not irradiated with light.
  • the laser light source 191R is turned ON within the irradiation range 61E (the bold line portion in the figure), and the laser light source 191R is outside the irradiation range 61E.
  • the range in which the laser light source 191R is turned off in the irradiation range 61E may be set inside the irradiation range 61E.
  • FIG. 36 is a diagram illustrating an example of a headlight device that sets the control cycle of the irradiation control unit 13 in accordance with the speed of the vehicle.
  • the headlight device 1 ⁇ / b> A of this example includes a speed acquisition unit 16.
  • the speed acquisition unit 16 acquires the traveling speed of the vehicle.
  • the irradiation control unit 13 determines a cycle for controlling the headlight 12 according to the acquired traveling speed.
  • FIG. 37 is a flowchart showing an operation example of the headlight device 1A shown in FIG.
  • the processing in FIG. 37 is based on the premise that the headlight is turned on.
  • the control unit 15 acquires an image while the headlight is turned on (step S101).
  • the irradiation control unit 13 sets a waiting time according to the traveling speed acquired by the speed acquisition unit 16 (step S401). After the elapse of the waiting time set in step S401, the irradiation control unit 13 calculates the vanishing point as described above (step S102), and performs irradiation control based on the calculated vanishing point position (step S103).
  • the irradiation control unit 13 continuously performs the above processing when the headlight is on. Therefore, when the traveling speed changes, the waiting time set by the irradiation control unit 13 in step S401 changes. For this reason, irradiation of light by the headlight 12 can be controlled with an appropriate frequency according to the traveling speed. For example, when the traveling speed is high (such as traveling on a highway), the waiting time set by the irradiation control unit 13 in step S401 is decreased to increase the control frequency, and when the traveling speed is low (other than the highway) When traveling on a general road at a low speed or stopping), the waiting time set by the irradiation control unit 13 in step S401 is increased to reduce the frequency of control. Thus, by changing the frequency of control by the irradiation control unit 13 according to the traveling speed of the vehicle, it is possible to control the light irradiation without causing the driver to feel uncomfortable.
  • the video acquired by the video acquisition unit 11 has a portion with high luminance and a portion with low luminance.
  • the irradiation control unit 13 may control the direction of light irradiation so that the position of the portion with high luminance matches the position of the vanishing point. In that case, the irradiation control unit 13 follows the change in the position of the vanishing point and changes the light irradiation direction so that the position of the portion with high luminance moves.
  • the vanishing point may not be calculated depending on the condition of the road on which the vehicle is traveling.
  • the irradiation control unit 13 controls light irradiation by the headlight 12 so as to irradiate a predetermined position (default position).
  • the default position is set when the headlight device 1 is shipped, for example.

Landscapes

  • Engineering & Computer Science (AREA)
  • General Engineering & Computer Science (AREA)
  • Physics & Mathematics (AREA)
  • Microelectronics & Electronic Packaging (AREA)
  • Optics & Photonics (AREA)
  • Mechanical Engineering (AREA)
  • General Physics & Mathematics (AREA)
  • Multimedia (AREA)
  • Theoretical Computer Science (AREA)
  • Lighting Device Outwards From Vehicle And Optical Signal (AREA)
PCT/JP2016/074666 2015-11-30 2016-08-24 ヘッドライト装置、ヘッドライト制御方法およびヘッドライト制御プログラム Ceased WO2017094296A1 (ja)

Priority Applications (3)

Application Number Priority Date Filing Date Title
EP16870237.1A EP3385121B1 (en) 2015-11-30 2016-08-24 Headlight device, headlight control method, and headlight control program
CN201680065913.9A CN108290514B (zh) 2015-11-30 2016-08-24 前照灯装置、前照灯控制方法以及前照灯控制程序
US15/982,000 US10364956B2 (en) 2015-11-30 2018-05-17 Headlight device, headlight controlling method, and headlight controlling program

Applications Claiming Priority (2)

Application Number Priority Date Filing Date Title
JP2015233981A JP6558228B2 (ja) 2015-11-30 2015-11-30 ヘッドライト装置、ヘッドライト制御方法およびヘッドライト制御プログラム
JP2015-233981 2015-11-30

Related Child Applications (1)

Application Number Title Priority Date Filing Date
US15/982,000 Continuation US10364956B2 (en) 2015-11-30 2018-05-17 Headlight device, headlight controlling method, and headlight controlling program

Publications (1)

Publication Number Publication Date
WO2017094296A1 true WO2017094296A1 (ja) 2017-06-08

Family

ID=58796757

Family Applications (1)

Application Number Title Priority Date Filing Date
PCT/JP2016/074666 Ceased WO2017094296A1 (ja) 2015-11-30 2016-08-24 ヘッドライト装置、ヘッドライト制御方法およびヘッドライト制御プログラム

Country Status (5)

Country Link
US (1) US10364956B2 (enExample)
EP (1) EP3385121B1 (enExample)
JP (1) JP6558228B2 (enExample)
CN (1) CN108290514B (enExample)
WO (1) WO2017094296A1 (enExample)

Cited By (1)

* Cited by examiner, † Cited by third party
Publication number Priority date Publication date Assignee Title
EP3660392A4 (en) * 2017-07-26 2021-04-07 Koito Manufacturing Co., Ltd. LIGHTING UNIT AND VEHICLE HEADLIGHT

Families Citing this family (9)

* Cited by examiner, † Cited by third party
Publication number Priority date Publication date Assignee Title
JP2019010962A (ja) * 2017-06-30 2019-01-24 マツダ株式会社 車両用前照灯及び車両用前照灯の配光制御装置
JP6575935B2 (ja) * 2017-08-25 2019-09-18 マツダ株式会社 車室内構造
US11465503B2 (en) 2017-08-25 2022-10-11 Mazda Motor Corporation Vehicle interior structure
JP6575936B2 (ja) * 2017-08-25 2019-09-18 マツダ株式会社 車室内構造
KR102182253B1 (ko) * 2018-10-26 2020-11-24 현대모비스 주식회사 헤드램프 제어 장치 및 방법
US20200142413A1 (en) * 2018-11-02 2020-05-07 Pony.ai, Inc. Configurable illumination on region of interest for autonomous driving
CN110979163A (zh) * 2019-12-20 2020-04-10 北京海纳川汽车部件股份有限公司 车辆的前大灯控制方法、系统及车辆
WO2023188288A1 (ja) * 2022-03-31 2023-10-05 三菱電機株式会社 車両用配光制御装置および車両用配光制御方法
CN115482292B (zh) * 2022-08-30 2023-05-05 深圳市欧冶半导体有限公司 一种adb模组中前照灯的控制方法及装置

Citations (7)

* Cited by examiner, † Cited by third party
Publication number Priority date Publication date Assignee Title
JPH06144108A (ja) * 1992-11-13 1994-05-24 Toyota Motor Corp 車両用前照灯装置
JPH06191344A (ja) * 1992-12-25 1994-07-12 Toyota Motor Corp ヘッドランプの配光制御装置
JP2004189223A (ja) * 2002-12-09 2004-07-08 Valeo Vision 車両用ヘッドランプの方向を制御するためのシステムおよびその方法
JP2009067083A (ja) * 2007-09-10 2009-04-02 Nissan Motor Co Ltd 車両用前照灯装置およびその制御方法
JP2010006172A (ja) 2008-06-25 2010-01-14 Hitachi Ltd オートライト装置
JP2010132053A (ja) * 2008-12-03 2010-06-17 Koito Mfg Co Ltd 前照灯制御装置
JP2014024410A (ja) * 2012-07-25 2014-02-06 Denso Corp 車両光源検出装置、ライト制御装置、および車両光源検出プログラム

Family Cites Families (5)

* Cited by examiner, † Cited by third party
Publication number Priority date Publication date Assignee Title
TW201043507A (en) * 2009-06-05 2010-12-16 Automotive Res & Testing Ct Method for detection of tilting of automobile and headlamp automatic horizontal system using such a method
JP5438405B2 (ja) * 2009-07-10 2014-03-12 株式会社小糸製作所 車両用前照灯装置
CN101694280B (zh) * 2009-10-11 2011-08-03 林智勇 会车自控远光灯
US8827514B2 (en) * 2010-08-06 2014-09-09 Toyota Jidosha Kabushiki Kaisha Vehicle light distribution control apparatus and method
JP5952532B2 (ja) * 2011-06-02 2016-07-13 株式会社小糸製作所 画像処理装置および配光制御方法

Patent Citations (7)

* Cited by examiner, † Cited by third party
Publication number Priority date Publication date Assignee Title
JPH06144108A (ja) * 1992-11-13 1994-05-24 Toyota Motor Corp 車両用前照灯装置
JPH06191344A (ja) * 1992-12-25 1994-07-12 Toyota Motor Corp ヘッドランプの配光制御装置
JP2004189223A (ja) * 2002-12-09 2004-07-08 Valeo Vision 車両用ヘッドランプの方向を制御するためのシステムおよびその方法
JP2009067083A (ja) * 2007-09-10 2009-04-02 Nissan Motor Co Ltd 車両用前照灯装置およびその制御方法
JP2010006172A (ja) 2008-06-25 2010-01-14 Hitachi Ltd オートライト装置
JP2010132053A (ja) * 2008-12-03 2010-06-17 Koito Mfg Co Ltd 前照灯制御装置
JP2014024410A (ja) * 2012-07-25 2014-02-06 Denso Corp 車両光源検出装置、ライト制御装置、および車両光源検出プログラム

Cited By (1)

* Cited by examiner, † Cited by third party
Publication number Priority date Publication date Assignee Title
EP3660392A4 (en) * 2017-07-26 2021-04-07 Koito Manufacturing Co., Ltd. LIGHTING UNIT AND VEHICLE HEADLIGHT

Also Published As

Publication number Publication date
EP3385121A4 (en) 2018-12-12
EP3385121A1 (en) 2018-10-10
EP3385121B1 (en) 2019-11-06
CN108290514A (zh) 2018-07-17
JP6558228B2 (ja) 2019-08-14
JP2017100525A (ja) 2017-06-08
CN108290514B (zh) 2020-12-15
US10364956B2 (en) 2019-07-30
US20180266643A1 (en) 2018-09-20

Similar Documents

Publication Publication Date Title
JP6558228B2 (ja) ヘッドライト装置、ヘッドライト制御方法およびヘッドライト制御プログラム
US10107469B2 (en) Vehicular lamp, vehicular lamp control system, and vehicle including the same
CN109424922B (zh) 车辆用灯具、车辆系统及灯具单元、车辆用照明系统
US10343592B2 (en) System and method for vehicle headlight control
JP6132684B2 (ja) 車両用灯具
JP6599613B2 (ja) 配光可変車両用灯具
CN104235720B (zh) 用于机动车辆的包括激光光源的前照灯
EP2266838A1 (en) Vehicle headlamp apparatus
JP2011020559A (ja) 車両用前照灯装置
JP2013508900A (ja) 車両のヘッドライト照明の制御装置
JP2018058542A (ja) 車両用照明装置
JP2015039993A (ja) 車両用前照灯の点灯制御装置、車両用前照灯システム
JP6747556B2 (ja) ヘッドライト装置、ヘッドライト制御方法およびヘッドライト制御プログラム
EP3135536B1 (en) Vehicle headlamp system
JP2016181351A (ja) 車両用前照灯
WO2018123429A1 (ja) 照明装置
JPWO2018225684A1 (ja) 車両用灯具システム、車両用灯具の制御装置及び車両用灯具の制御方法
WO2020010935A1 (zh) 一种自适应远光功能调节方法及其车灯
JP2016038966A (ja) 照明装置と、それを搭載した自動車
JP2020090182A (ja) 車両用前照灯システム
US10920951B2 (en) Headlight for a motor vehicle
JP6663770B2 (ja) 車両の配光制御装置
JP2019108101A (ja) 車両の制御装置
WO2025023113A1 (ja) 車両用光照射装置および車両用光照射方法
JP2018016151A (ja) 車両の走行用前照灯

Legal Events

Date Code Title Description
121 Ep: the epo has been informed by wipo that ep was designated in this application

Ref document number: 16870237

Country of ref document: EP

Kind code of ref document: A1

DPE1 Request for preliminary examination filed after expiration of 19th month from priority date (pct application filed from 20040101)
NENP Non-entry into the national phase

Ref country code: DE

WWE Wipo information: entry into national phase

Ref document number: 2016870237

Country of ref document: EP