WO2017086044A1 - シール部材 - Google Patents

シール部材 Download PDF

Info

Publication number
WO2017086044A1
WO2017086044A1 PCT/JP2016/079587 JP2016079587W WO2017086044A1 WO 2017086044 A1 WO2017086044 A1 WO 2017086044A1 JP 2016079587 W JP2016079587 W JP 2016079587W WO 2017086044 A1 WO2017086044 A1 WO 2017086044A1
Authority
WO
WIPO (PCT)
Prior art keywords
seal member
rod
pressure
seal
lip portion
Prior art date
Legal status (The legal status is an assumption and is not a legal conclusion. Google has not performed a legal analysis and makes no representation as to the accuracy of the status listed.)
Ceased
Application number
PCT/JP2016/079587
Other languages
English (en)
French (fr)
Japanese (ja)
Inventor
純一 山下
謙一 高橋
彰 上田
Current Assignee (The listed assignees may be inaccurate. Google has not performed a legal analysis and makes no representation or warranty as to the accuracy of the list.)
Nippon Valqua Industries Ltd
Nihon Valqua Kogyo KK
Original Assignee
Nippon Valqua Industries Ltd
Nihon Valqua Kogyo KK
Priority date (The priority date is an assumption and is not a legal conclusion. Google has not performed a legal analysis and makes no representation as to the accuracy of the date listed.)
Filing date
Publication date
Application filed by Nippon Valqua Industries Ltd, Nihon Valqua Kogyo KK filed Critical Nippon Valqua Industries Ltd
Priority to KR1020187016112A priority Critical patent/KR102439898B1/ko
Priority to CN201680067739.1A priority patent/CN108291648B/zh
Publication of WO2017086044A1 publication Critical patent/WO2017086044A1/ja
Anticipated expiration legal-status Critical
Ceased legal-status Critical Current

Links

Images

Classifications

    • FMECHANICAL ENGINEERING; LIGHTING; HEATING; WEAPONS; BLASTING
    • F15FLUID-PRESSURE ACTUATORS; HYDRAULICS OR PNEUMATICS IN GENERAL
    • F15BSYSTEMS ACTING BY MEANS OF FLUIDS IN GENERAL; FLUID-PRESSURE ACTUATORS, e.g. SERVOMOTORS; DETAILS OF FLUID-PRESSURE SYSTEMS, NOT OTHERWISE PROVIDED FOR
    • F15B15/00Fluid-actuated devices for displacing a member from one position to another; Gearing associated therewith
    • F15B15/08Characterised by the construction of the motor unit
    • F15B15/14Characterised by the construction of the motor unit of the straight-cylinder type
    • F15B15/1423Component parts; Constructional details
    • F15B15/1457Piston rods
    • F15B15/1461Piston rod sealings
    • FMECHANICAL ENGINEERING; LIGHTING; HEATING; WEAPONS; BLASTING
    • F16ENGINEERING ELEMENTS AND UNITS; GENERAL MEASURES FOR PRODUCING AND MAINTAINING EFFECTIVE FUNCTIONING OF MACHINES OR INSTALLATIONS; THERMAL INSULATION IN GENERAL
    • F16JPISTONS; CYLINDERS; SEALINGS
    • F16J15/00Sealings
    • F16J15/16Sealings between relatively-moving surfaces
    • F16J15/32Sealings between relatively-moving surfaces with elastic sealings, e.g. O-rings
    • F16J15/3204Sealings between relatively-moving surfaces with elastic sealings, e.g. O-rings with at least one lip
    • F16J15/3232Sealings between relatively-moving surfaces with elastic sealings, e.g. O-rings with at least one lip having two or more lips
    • FMECHANICAL ENGINEERING; LIGHTING; HEATING; WEAPONS; BLASTING
    • F15FLUID-PRESSURE ACTUATORS; HYDRAULICS OR PNEUMATICS IN GENERAL
    • F15BSYSTEMS ACTING BY MEANS OF FLUIDS IN GENERAL; FLUID-PRESSURE ACTUATORS, e.g. SERVOMOTORS; DETAILS OF FLUID-PRESSURE SYSTEMS, NOT OTHERWISE PROVIDED FOR
    • F15B15/00Fluid-actuated devices for displacing a member from one position to another; Gearing associated therewith
    • F15B15/08Characterised by the construction of the motor unit
    • F15B15/14Characterised by the construction of the motor unit of the straight-cylinder type

Definitions

  • the present invention relates to a seal structure, and more particularly to a structure of a seal member used in a sliding gap between a rod (piston rod) and a cylinder in a hydraulic / pneumatic device or the like.
  • the sealing member is improved every day.
  • the present invention has been made to solve the above-described problems, and it is an object of the present invention to provide a sealing member that can further enhance the sealing performance of the sealing structure.
  • the high pressure side and the low pressure side are partitioned in the sliding gap between the cylinder and the rod in the hydraulic / pneumatic equipment, and the sealing groove is provided annularly along the circumferential direction of the outer peripheral surface of the rod Is a sealing member that closes the sliding gap between the cylinder and the rod, and has the following configuration.
  • a curved surface and an inclined surface are provided in a region where the first side surface and the third side surface of the heel portion intersect, and the curved surface is provided so as to be in contact with the first side surface and the inclined surface, The slope is provided so as to intersect with the third side surface.
  • the projection length of the curved surface and the slope on the third side surface is 0.3 mm or more and 2 mm or less, the radius of the curved surface is 2 mm or more and 15 mm or less, The inclination angle with respect to the third side surface is 30 ° to 80 °.
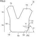
  • FIG. 3 is a cross-sectional view taken along line III in FIG. 2.
  • FIG. It is a figure which shows the relationship between the contact width at the time of the pressure load of Example 2, and a contact surface pressure.
  • FIG. It is a figure which shows the relationship between the contact width at the time of the pressure load of Example 3, and a contact surface pressure.
  • FIG. 1 is a cross-sectional view showing a seal structure employed in the hydraulic cylinder in the embodiment.
  • a cylinder 1 and a rod (piston rod) 2 are shown by broken lines for convenience of explanation.
  • the seal structure shown in FIG. 1 is deformed with the pressure contact with the rod 2 and the reciprocating motion of the rod 2 (vertical direction in FIG. 1).
  • pressure is applied to the seal structure. The state is not shown.
  • An annular first seal groove 10G is provided along the circumferential direction of the outer peripheral surface of the rod 2.
  • the first seal groove 10 ⁇ / b> G accommodates a first seal member 10 that closes the sliding gap between the cylinder 1 and the rod 2.
  • the second seal groove 20G is provided in an annular shape along the circumferential direction of the outer peripheral surface of the rod 2 and on the high pressure side of the first seal groove 10G.
  • a high-pressure hydraulic chamber is provided on the upper side.
  • a second seal member 20 that closes a sliding gap between the cylinder 1 and the rod 2 is accommodated in the second seal groove 20G.
  • FIG. 2 is a perspective view showing the structure of the first seal member 10
  • FIG. 3 is a cross-sectional view taken along line III in FIG.
  • the first seal member 10 has an annular shape as a whole, and is integrally formed of synthetic resin such as urethane resin, natural rubber, synthetic rubber, or fluororubber.
  • the first seal member 10 has a substantially U-shaped cross section having an open side on the high pressure side.
  • the heel portion 10h includes a heel portion 10h located on the low pressure side and a lip portion 10r located on the high pressure side in the sectional view shown in FIG.
  • the heel portion 10h includes a first side face 101 located on the rod 2 side, a second side face 102 located opposite to the first side face 101, and a third side face 103 located on the high pressure side.
  • the lip portion 10r includes a first lip portion 10b that expands toward the rod 2 side and a second lip portion 10c that expands toward the side opposite to the rod 2 side.
  • the first lip portion 10b and the second lip portion 10c form a substantially U shape.
  • a curved surface 110 and an inclined surface 120 are provided in a region where the first side surface 101 and the third side surface 103 of the heel portion 10h intersect, which is the low pressure side on the rod 2 side when viewed from the heel portion 10h. .
  • the curved surface 110 is provided so as to be in contact with the first side surface 101 and the inclined surface 120, and the inclined surface 120 is provided so as to intersect with the third side surface 103.
  • the projected length of the curved surface 110 and the inclined surface 120 onto the third side surface 103 is “a”, the radius of the curved surface 110 is “R”, and the inclination angle of the inclined surface 120 with respect to the third side surface 103 is “ ⁇ ”.
  • the projection length “a” is 0.3 mm or more and 2 mm or less
  • the radius “R” of the curved surface 110 is 2 mm or more and 15 mm or less.
  • the inclination angle “ ⁇ ” of the inclined surface 120 with respect to the third side surface 103 is preferably 30 ° to 80 °. This point will be described in an embodiment described later.
  • FIG. 4 is a partially enlarged schematic diagram showing a sealing state in the “pulling step”
  • FIG. 5A is a diagram showing a sealing pressure state of the first seal member 10 at the time of mounting
  • FIG. 5B is a first sealing member at the time of mounting
  • FIG. 6A is a diagram showing a seal pressure state of the first seal member 10 when pressure is applied
  • FIG. 6B is a diagram showing a relationship between the contact width and the contact surface pressure of FIG. It is a figure which shows the relationship between a contact width and a contact surface pressure.
  • P1 to P10 indicate internal pressure distributions, indicating that the internal pressure decreases from P1 to P10.
  • the first lip portion 10 b has a form that expands toward the rod 2 side, and the region where the first side surface 101 and the third side surface 103 of the heel portion 10 h of the first seal member 10 intersect with each other. Further, by providing the curved surface 110 and the inclined surface 120, the heel portion 10h is in a non-contact state with the rod 2 even at the time of wearing, and the oil OL can be easily introduced into the cylinder 1 during the “pulling process”. It is possible to return to
  • the curved surface 110 and the inclined surface 120 are provided in the region R1 in the region where the first side surface 101 and the third side surface 103 of the heel portion 10h intersect. Even if the contact width moves, the contact surface pressure can be kept smooth without generating the peak surface pressure. As a result, it is possible to reduce the resistance of oil to the inside of the cylinder 1 and to improve the oil suction characteristic by the seal structure using the first seal member 10 and to further improve the sealing performance.
  • FIG. 7 shows a cross-sectional view of the first seal member 10X in the related art.
  • FIG. 3 is a view corresponding to a cross section taken along line III-III in FIG. 2.
  • the shapes of the first lip portion 10b and the second lip portion 10c of the lip portion 10r are the same as those of the first seal member 10 of the present embodiment.
  • the slope 150 is provided in the region where the first side surface 101 and the third side surface 103 intersect, and no curved surface is provided.
  • FIG. 8 is a partially enlarged schematic view showing a seal state in the “pulling step”
  • FIG. 9A is a view showing a seal pressure state of the first seal member 10X at the time of mounting
  • FIG. 9B is a first seal member at the time of mounting.
  • 10A is a diagram showing the relationship between the contact width of 10X and the contact surface pressure
  • FIG. 10A is a diagram showing the seal pressure state of the first seal member 10X at the time of pressure load
  • FIG. 10B is the diagram of the first seal member 10X at the time of pressure load. It is a figure which shows the relationship between a contact width and a contact surface pressure.
  • P1 to P10 indicate the distribution of internal pressure, and the internal pressure decreases from P1 to P10.
  • the heel portion 10h of the first seal member 10X is not provided with a curved surface, and only the inclined surface 150 is provided.
  • the heel portion 10h comes into contact with the rod 2, and a peak surface pressure is formed in the region R3 as shown in FIG. 9B.
  • a peak surface pressure is present in the region R4.
  • the oil suction characteristic was poor, which was one factor in causing oil leakage.
  • FIG. 11 explains the amount of leakage between the first seal member 10 of the embodiment and the first seal member 10X of the related art.
  • FIG. 11 is a diagram illustrating the relationship between the sliding distance and the leakage amount between the first seal member 10 of the embodiment and the first seal member 10X of the related art.
  • Both the first seal member 10 and the first seal member 10X are synthetic resins such as urethane resin (hardness durometer A90, tensile strength Mpa 44.0, elongation 500%, compression set 40%, compression set test conditions. 8) (80 ° C.-70 h): Nippon Valqua Industries, Ltd., product number R5590)).
  • urethane resin hardness durometer A90, tensile strength Mpa 44.0, elongation 500%, compression set 40%, compression set test conditions. 8 (80 ° C.-70 h): Nippon Valqua Industries, Ltd., product number R5590)).
  • Example 12 and 13 show a structure of a modified example of the first seal member 10 in the present embodiment.
  • FIG. 12 shows the shape of the first seal member 10A having a relatively large “a”
  • FIG. 13 shows the case of the first seal member 10B having a relatively large “ ⁇ ”.
  • FIGS. 14A to 16B show the relationship between the contact width and the contact surface pressure at the time of pressure loading, as specific examples 1 to 3.
  • A 2
  • P1 to P10 indicate the distribution of the internal pressure, and the internal pressure decreases from P1 to P10.
  • Example 1 shown in FIG. 14A and FIG. 14B, no peak surface pressure is generated in the entire contact width, and good surface pressure is shown. I was able to confirm.
  • Example 2 shown in FIG. 15A and FIG. 15B compared to Example 1 above, no peak surface pressure is generated in the entire contact width, and a better surface pressure is shown. It was confirmed that it had excellent sealing performance.
  • Example 3 compared to Example 1 above, a minute peak surface pressure is generated in a region where the contact width is about 1 mm. Although it is not good at all, it is better than the related technology shown in FIG. 10A and FIG. 10B, so that it has been confirmed that it has a good sealing performance as a whole.
  • the curved surface 110 and the inclined surface 120 are provided in the region where the first side surface 101 and the third side surface 103 of the heel portion 10h intersect, and the curved surface 110 includes the first side surface and the inclined surface 120.
  • the inclined surface 120 is provided so as to intersect the third side surface 103.
  • the projection length “a” of the curved surface 110 and the inclined surface 120 onto the third side surface 103 is set to 0.3 mm or more and 2 mm or less, and the radius “R” of the curved surface 110 is set to 2 mm or more and 15 mm or less.
  • the inclination angle “ ⁇ ” with respect to the third side surface 103 is set to 30 ° to 80 °, it is possible to obtain more preferable sealing performance.

Landscapes

  • Engineering & Computer Science (AREA)
  • General Engineering & Computer Science (AREA)
  • Mechanical Engineering (AREA)
  • Physics & Mathematics (AREA)
  • Fluid Mechanics (AREA)
  • Sealing With Elastic Sealing Lips (AREA)
  • Sealing Devices (AREA)
  • Actuator (AREA)
  • Electrical Discharge Machining, Electrochemical Machining, And Combined Machining (AREA)
PCT/JP2016/079587 2015-11-19 2016-10-05 シール部材 Ceased WO2017086044A1 (ja)

Priority Applications (2)

Application Number Priority Date Filing Date Title
KR1020187016112A KR102439898B1 (ko) 2015-11-19 2016-10-05 시일 부재
CN201680067739.1A CN108291648B (zh) 2015-11-19 2016-10-05 密封构件

Applications Claiming Priority (2)

Application Number Priority Date Filing Date Title
JP2015226690A JP6655365B2 (ja) 2015-11-19 2015-11-19 シール部材
JP2015-226690 2015-11-19

Publications (1)

Publication Number Publication Date
WO2017086044A1 true WO2017086044A1 (ja) 2017-05-26

Family

ID=58718096

Family Applications (1)

Application Number Title Priority Date Filing Date
PCT/JP2016/079587 Ceased WO2017086044A1 (ja) 2015-11-19 2016-10-05 シール部材

Country Status (5)

Country Link
JP (1) JP6655365B2 (enExample)
KR (1) KR102439898B1 (enExample)
CN (1) CN108291648B (enExample)
TW (1) TWI696775B (enExample)
WO (1) WO2017086044A1 (enExample)

Families Citing this family (2)

* Cited by examiner, † Cited by third party
Publication number Priority date Publication date Assignee Title
JP7089389B2 (ja) * 2017-08-02 2022-06-22 株式会社バルカー メタルガスケット
JP2024044407A (ja) * 2022-09-21 2024-04-02 株式会社東京精密 リトラクト機構及びそれを備える寸法測定装置

Citations (4)

* Cited by examiner, † Cited by third party
Publication number Priority date Publication date Assignee Title
JPH11303863A (ja) * 1998-04-15 1999-11-02 Nippon Seiko Kk シェル型ころ軸受
JP2002122241A (ja) * 2000-10-10 2002-04-26 Kayaba Ind Co Ltd 流体圧用パッキン
JP2008267449A (ja) * 2007-04-18 2008-11-06 Nok Corp バックアップリング
JP2008309278A (ja) * 2007-06-15 2008-12-25 Nsk Ltd 軸受ユニット

Family Cites Families (13)

* Cited by examiner, † Cited by third party
Publication number Priority date Publication date Assignee Title
FR2408777A1 (fr) * 1977-11-15 1979-06-08 Dba Coupelle d'etancheite pour generateurs de pression
US4687212A (en) * 1986-12-16 1987-08-18 Baraw Corporation Seal assembly with stabilizing ribs
JP2005337440A (ja) 2004-05-28 2005-12-08 Kayaba Ind Co Ltd シール構造及び油圧シリンダのシール構造
EP1767838A4 (en) * 2004-06-07 2007-10-10 Freudenberg Carl Kg SEAL SYSTEM
US8840115B2 (en) * 2007-03-09 2014-09-23 Freudenberg-Nok General Partnership Wide range temperature and pressure hydraulic cylinder sealing system
CN201461935U (zh) * 2009-07-30 2010-05-12 南方天合底盘系统有限公司 高强度密封皮圈
CN201606486U (zh) * 2009-12-29 2010-10-13 深圳市富洋密封件有限公司 一种y型热塑性聚氨酯液压密封圈结构
CN201836388U (zh) * 2010-11-04 2011-05-18 上海麦特密封件有限公司 Y型密封圈
CN101994837B (zh) * 2010-11-15 2013-04-03 徐州工程学院 一种减摩密封圈
CN103123001A (zh) * 2011-11-19 2013-05-29 李虎林 一种轴用组合封
CN102563080A (zh) * 2012-01-05 2012-07-11 上海大学 长短唇单边密封的y型橡胶动密封圈及其分段硫化工艺
JP2014214769A (ja) 2013-04-23 2014-11-17 日本バルカー工業株式会社 シール構造
CN103994228A (zh) * 2014-05-13 2014-08-20 嘉兴新中南汽车零部件有限公司 角向唇状橡胶密封圈

Patent Citations (4)

* Cited by examiner, † Cited by third party
Publication number Priority date Publication date Assignee Title
JPH11303863A (ja) * 1998-04-15 1999-11-02 Nippon Seiko Kk シェル型ころ軸受
JP2002122241A (ja) * 2000-10-10 2002-04-26 Kayaba Ind Co Ltd 流体圧用パッキン
JP2008267449A (ja) * 2007-04-18 2008-11-06 Nok Corp バックアップリング
JP2008309278A (ja) * 2007-06-15 2008-12-25 Nsk Ltd 軸受ユニット

Also Published As

Publication number Publication date
KR102439898B1 (ko) 2022-09-02
JP6655365B2 (ja) 2020-02-26
CN108291648A (zh) 2018-07-17
KR20180081766A (ko) 2018-07-17
TWI696775B (zh) 2020-06-21
CN108291648B (zh) 2020-09-22
TW201719060A (zh) 2017-06-01
JP2017096332A (ja) 2017-06-01

Similar Documents

Publication Publication Date Title
JP6502318B2 (ja) ガスケット
JP2009236177A (ja) 密封構造
US9080672B2 (en) Sealing device
JP2010138957A (ja) ガスケット
WO2014203609A1 (ja) 密封装置
CN107869594B (zh) 密封环及其应用
JP6361277B2 (ja) シールリング
WO2017086044A1 (ja) シール部材
JP2007071329A (ja) バックアップリング
JP6076789B2 (ja) シール構造
JP5045358B2 (ja) 密封構造
WO2021014798A1 (ja) 密封装置
JP2012215188A (ja) 密封構造
JP5359638B2 (ja) 密封構造
US9371911B2 (en) Reciprocating sealing device
KR20110013277A (ko) 밀봉장치
JPH0266332A (ja) 油圧緩衝器
JP2011196505A (ja) 摺動用シール
JP2021167648A (ja) 密封構造
JP2011256952A (ja) ロッドシール構造
JP6895357B2 (ja) 密封装置
JP7203971B2 (ja) 密封装置
JP2014190362A (ja) シール構造
JP2014202221A (ja) シールリング及び密封構造
JP2011047516A (ja) 密封装置

Legal Events

Date Code Title Description
121 Ep: the epo has been informed by wipo that ep was designated in this application

Ref document number: 16866046

Country of ref document: EP

Kind code of ref document: A1

NENP Non-entry into the national phase

Ref country code: DE

ENP Entry into the national phase

Ref document number: 20187016112

Country of ref document: KR

Kind code of ref document: A

WWE Wipo information: entry into national phase

Ref document number: 1020187016112

Country of ref document: KR

122 Ep: pct application non-entry in european phase

Ref document number: 16866046

Country of ref document: EP

Kind code of ref document: A1