WO2017047747A1 - 直動案内装置、直動案内装置用エンドキャップ - Google Patents
直動案内装置、直動案内装置用エンドキャップ Download PDFInfo
- Publication number
- WO2017047747A1 WO2017047747A1 PCT/JP2016/077441 JP2016077441W WO2017047747A1 WO 2017047747 A1 WO2017047747 A1 WO 2017047747A1 JP 2016077441 W JP2016077441 W JP 2016077441W WO 2017047747 A1 WO2017047747 A1 WO 2017047747A1
- Authority
- WO
- WIPO (PCT)
- Prior art keywords
- ball
- slider
- guide rail
- track
- arc
- Prior art date
- Legal status (The legal status is an assumption and is not a legal conclusion. Google has not performed a legal analysis and makes no representation as to the accuracy of the status listed.)
- Ceased
Links
Images
Classifications
-
- F—MECHANICAL ENGINEERING; LIGHTING; HEATING; WEAPONS; BLASTING
- F16—ENGINEERING ELEMENTS AND UNITS; GENERAL MEASURES FOR PRODUCING AND MAINTAINING EFFECTIVE FUNCTIONING OF MACHINES OR INSTALLATIONS; THERMAL INSULATION IN GENERAL
- F16C—SHAFTS; FLEXIBLE SHAFTS; ELEMENTS OR CRANKSHAFT MECHANISMS; ROTARY BODIES OTHER THAN GEARING ELEMENTS; BEARINGS
- F16C29/00—Bearings for parts moving only linearly
- F16C29/04—Ball or roller bearings
- F16C29/06—Ball or roller bearings in which the rolling bodies circulate partly without carrying load
- F16C29/0602—Details of the bearing body or carriage or parts thereof, e.g. methods for manufacturing or assembly
- F16C29/0609—Details of the bearing body or carriage or parts thereof, e.g. methods for manufacturing or assembly of the ends of the bearing body or carriage where the rolling elements change direction, e.g. end caps
-
- F—MECHANICAL ENGINEERING; LIGHTING; HEATING; WEAPONS; BLASTING
- F16—ENGINEERING ELEMENTS AND UNITS; GENERAL MEASURES FOR PRODUCING AND MAINTAINING EFFECTIVE FUNCTIONING OF MACHINES OR INSTALLATIONS; THERMAL INSULATION IN GENERAL
- F16C—SHAFTS; FLEXIBLE SHAFTS; ELEMENTS OR CRANKSHAFT MECHANISMS; ROTARY BODIES OTHER THAN GEARING ELEMENTS; BEARINGS
- F16C29/00—Bearings for parts moving only linearly
- F16C29/04—Ball or roller bearings
- F16C29/06—Ball or roller bearings in which the rolling bodies circulate partly without carrying load
-
- F—MECHANICAL ENGINEERING; LIGHTING; HEATING; WEAPONS; BLASTING
- F16—ENGINEERING ELEMENTS AND UNITS; GENERAL MEASURES FOR PRODUCING AND MAINTAINING EFFECTIVE FUNCTIONING OF MACHINES OR INSTALLATIONS; THERMAL INSULATION IN GENERAL
- F16C—SHAFTS; FLEXIBLE SHAFTS; ELEMENTS OR CRANKSHAFT MECHANISMS; ROTARY BODIES OTHER THAN GEARING ELEMENTS; BEARINGS
- F16C29/00—Bearings for parts moving only linearly
- F16C29/04—Ball or roller bearings
- F16C29/06—Ball or roller bearings in which the rolling bodies circulate partly without carrying load
- F16C29/0633—Ball or roller bearings in which the rolling bodies circulate partly without carrying load with a bearing body defining a U-shaped carriage, i.e. surrounding a guide rail or track on three sides
- F16C29/0635—Ball or roller bearings in which the rolling bodies circulate partly without carrying load with a bearing body defining a U-shaped carriage, i.e. surrounding a guide rail or track on three sides whereby the return paths are provided as bores in a main body of the U-shaped carriage, e.g. the main body of the U-shaped carriage is a single part with end caps provided at each end
- F16C29/0638—Ball or roller bearings in which the rolling bodies circulate partly without carrying load with a bearing body defining a U-shaped carriage, i.e. surrounding a guide rail or track on three sides whereby the return paths are provided as bores in a main body of the U-shaped carriage, e.g. the main body of the U-shaped carriage is a single part with end caps provided at each end with balls
- F16C29/0642—Ball or roller bearings in which the rolling bodies circulate partly without carrying load with a bearing body defining a U-shaped carriage, i.e. surrounding a guide rail or track on three sides whereby the return paths are provided as bores in a main body of the U-shaped carriage, e.g. the main body of the U-shaped carriage is a single part with end caps provided at each end with balls with four rows of balls
-
- F—MECHANICAL ENGINEERING; LIGHTING; HEATING; WEAPONS; BLASTING
- F16—ENGINEERING ELEMENTS AND UNITS; GENERAL MEASURES FOR PRODUCING AND MAINTAINING EFFECTIVE FUNCTIONING OF MACHINES OR INSTALLATIONS; THERMAL INSULATION IN GENERAL
- F16C—SHAFTS; FLEXIBLE SHAFTS; ELEMENTS OR CRANKSHAFT MECHANISMS; ROTARY BODIES OTHER THAN GEARING ELEMENTS; BEARINGS
- F16C29/00—Bearings for parts moving only linearly
- F16C29/04—Ball or roller bearings
- F16C29/06—Ball or roller bearings in which the rolling bodies circulate partly without carrying load
- F16C29/0633—Ball or roller bearings in which the rolling bodies circulate partly without carrying load with a bearing body defining a U-shaped carriage, i.e. surrounding a guide rail or track on three sides
- F16C29/0635—Ball or roller bearings in which the rolling bodies circulate partly without carrying load with a bearing body defining a U-shaped carriage, i.e. surrounding a guide rail or track on three sides whereby the return paths are provided as bores in a main body of the U-shaped carriage, e.g. the main body of the U-shaped carriage is a single part with end caps provided at each end
- F16C29/0638—Ball or roller bearings in which the rolling bodies circulate partly without carrying load with a bearing body defining a U-shaped carriage, i.e. surrounding a guide rail or track on three sides whereby the return paths are provided as bores in a main body of the U-shaped carriage, e.g. the main body of the U-shaped carriage is a single part with end caps provided at each end with balls
- F16C29/0642—Ball or roller bearings in which the rolling bodies circulate partly without carrying load with a bearing body defining a U-shaped carriage, i.e. surrounding a guide rail or track on three sides whereby the return paths are provided as bores in a main body of the U-shaped carriage, e.g. the main body of the U-shaped carriage is a single part with end caps provided at each end with balls with four rows of balls
- F16C29/0647—Ball or roller bearings in which the rolling bodies circulate partly without carrying load with a bearing body defining a U-shaped carriage, i.e. surrounding a guide rail or track on three sides whereby the return paths are provided as bores in a main body of the U-shaped carriage, e.g. the main body of the U-shaped carriage is a single part with end caps provided at each end with balls with four rows of balls with load directions in X-arrangement
-
- F—MECHANICAL ENGINEERING; LIGHTING; HEATING; WEAPONS; BLASTING
- F16—ENGINEERING ELEMENTS AND UNITS; GENERAL MEASURES FOR PRODUCING AND MAINTAINING EFFECTIVE FUNCTIONING OF MACHINES OR INSTALLATIONS; THERMAL INSULATION IN GENERAL
- F16C—SHAFTS; FLEXIBLE SHAFTS; ELEMENTS OR CRANKSHAFT MECHANISMS; ROTARY BODIES OTHER THAN GEARING ELEMENTS; BEARINGS
- F16C29/00—Bearings for parts moving only linearly
- F16C29/04—Ball or roller bearings
- F16C29/06—Ball or roller bearings in which the rolling bodies circulate partly without carrying load
- F16C29/0633—Ball or roller bearings in which the rolling bodies circulate partly without carrying load with a bearing body defining a U-shaped carriage, i.e. surrounding a guide rail or track on three sides
- F16C29/0652—Ball or roller bearings in which the rolling bodies circulate partly without carrying load with a bearing body defining a U-shaped carriage, i.e. surrounding a guide rail or track on three sides whereby the return paths are at least partly defined by separate parts, e.g. covers attached to the legs of the main body of the U-shaped carriage
- F16C29/0654—Ball or roller bearings in which the rolling bodies circulate partly without carrying load with a bearing body defining a U-shaped carriage, i.e. surrounding a guide rail or track on three sides whereby the return paths are at least partly defined by separate parts, e.g. covers attached to the legs of the main body of the U-shaped carriage with balls
- F16C29/0659—Ball or roller bearings in which the rolling bodies circulate partly without carrying load with a bearing body defining a U-shaped carriage, i.e. surrounding a guide rail or track on three sides whereby the return paths are at least partly defined by separate parts, e.g. covers attached to the legs of the main body of the U-shaped carriage with balls with four rows of balls
- F16C29/0664—Ball or roller bearings in which the rolling bodies circulate partly without carrying load with a bearing body defining a U-shaped carriage, i.e. surrounding a guide rail or track on three sides whereby the return paths are at least partly defined by separate parts, e.g. covers attached to the legs of the main body of the U-shaped carriage with balls with four rows of balls with load directions in X-arrangement
-
- F—MECHANICAL ENGINEERING; LIGHTING; HEATING; WEAPONS; BLASTING
- F16—ENGINEERING ELEMENTS AND UNITS; GENERAL MEASURES FOR PRODUCING AND MAINTAINING EFFECTIVE FUNCTIONING OF MACHINES OR INSTALLATIONS; THERMAL INSULATION IN GENERAL
- F16C—SHAFTS; FLEXIBLE SHAFTS; ELEMENTS OR CRANKSHAFT MECHANISMS; ROTARY BODIES OTHER THAN GEARING ELEMENTS; BEARINGS
- F16C2226/00—Joining parts; Fastening; Assembling or mounting parts
- F16C2226/50—Positive connections
- F16C2226/60—Positive connections with threaded parts, e.g. bolt and nut connections
Definitions
- This invention relates to a linear motion guide device having a ball as a rolling element.
- a linear motion guide device having a ball as a rolling element includes a guide rail, a slider, and a plurality of balls.
- the slider is disposed outside the guide rail.
- the guide rail and the slider each have a track groove that forms a track of the ball at a position facing each other. Both raceway grooves extend in the longitudinal direction of the guide rail.
- the slider has a slider body and a pair of end caps.
- a ball raceway and a return path are formed in the slider body, and a ball direction changing path is formed in the end cap.
- a ball is arranged in a circulation path constituted by a track, a return path, and a direction change path, and the slider linearly moves along the guide rail via the ball that rolls in a load state in the track.
- a groove having an arcuate cross section (hereinafter referred to as “arc groove”) that forms the outer peripheral surface of the direction change path is formed on the surface of the end cap on the slider body side.
- a tongue portion that scoops up the ball from the track and guides it to the direction change path is formed at the end of the arc groove on the track side.
- the tip part where the ball of the tongue part collides is formed into a planar shape perpendicular to the direction in which the track (rolling element rolling path) extends, or a convex surface, or more than the radius of the ball It has been proposed to have a concave shape with a radius of curvature. As a result, the contact area after elastic deformation due to the collision of the ball is increased compared to the case where the tip has a sharp shape (the surface contact may occur in the case of a concave surface). Is reduced, and plastic deformation (damage) is less likely to occur at the tip.
- Patent Document 2 it is proposed that the impact force applied to the ball is dispersed by making the arc groove at least a portion in front of the tongue portion into a Gothic arc shape and bringing the ball into contact at two points in front of the tongue portion. .
- Patent Document 2 also describes a line connecting the contact point of the ball with the tongue portion (the scooping portion) and the center of the ball in contact with the tongue portion as L10, the center of the ball in contact with the tongue portion and the Gothic arc. It is described that it is preferable that the angle formed by L10 and L20 is 40 degrees or more and 60 degrees or less when the line connecting the bottom of the circular arc groove having the shape is L20.
- Patent Document 3 only the tongue part (the rolling element scooping part that scoops up the rolling element from the load rolling path to the direction changing path) is separated from the end cap, and the end cap is composed of a main body and a tongue part attached to the end cap.
- the tongue portion has been proposed to form the tongue portion with a material having higher impact resistance than that of the main body.
- the tongue portion is fixed to the main body with a fastening member such as a screw.
- JP 2004-68880 A Japanese Patent No. 4606416 JP 2008-275065 A
- An object of the present invention is to provide a linear motion guide device in which a tongue portion of an end cap is hardly damaged even when used under high speed conditions.
- a first aspect of the present invention provides a linear motion guide device having the following configurations (1) to (4).
- (1) It has a guide rail, a slider, and a plurality of balls, and the slider is arranged outside the guide rail.
- Each of the guide rail and the slider has a track groove that forms a track of the ball at a position facing each other. Both the track grooves extend in the longitudinal direction of the guide rail.
- (2) The slider has a slider body and a pair of end caps, the raceway groove and the ball return path are formed in the slider body, and the ball direction change path is formed in the end cap.
- the ball is disposed in a circulation path constituted by the track, the return path, and the direction change path, and the slider follows the guide rail via the ball that rolls in the track in a loaded state.
- a circular arc groove forming the outer peripheral surface of the direction changing path is formed on the surface of the end cap on the slider body side.
- a tongue portion that scoops up the ball from the track and guides it to the direction change path is formed at the end of the circular arc groove on the track side.
- the front end surface of the tongue portion includes a plane perpendicular to the direction along the trajectory and an arc surface recessed in an arc shape from the plane. The radius of curvature of the arc surface is smaller than the radius of the ball.
- the center of the circle indicating the curvature of the arcuate surface exists on a line that is deviated from the groove bottom line of the arcuate groove by at least an offset amount between the raceway groove on the guide rail side and the raceway groove on the slider side. .
- a second aspect of the present invention provides an end cap of a linear motion guide device having the following configurations (11) to (14).
- (11) having a guide rail, a slider, and a ball, and via the ball that rolls in a loaded state in a raceway formed by a raceway groove formed at a position where the guide rail and the slider face each other,
- An end cap constituting the slider of a linear motion guide device in which the slider moves linearly along the guide rail.
- (12) Consists of a first part, a second part, and a third part.
- the first part includes a first leg portion arranged on one side in the width direction of the guide rail, and an arc groove that forms an outer peripheral surface of the direction changing path of the ball is formed.
- the second part includes a second leg portion disposed on the other side in the width direction of the guide rail, and an arc groove that forms an outer peripheral surface of the direction change path of the ball is formed.
- a tongue portion that scoops up the ball from the track and guides it to the direction change path is formed at the end.
- the third part includes a portion disposed above the guide rail and has an engagement surface with the first part and the second part. (13) The first part and the second part are made of a metal material. (14) The first part, the second part, and the third part are joined together by a fastening part.
- FIG. 4 is a partially enlarged view of FIG. 3.
- FIG. 5 is a cross-sectional view taken along the line AA in FIG. 4. It is a B arrow view of FIG. It is a figure explaining the relationship between the front end surface of a tongue part in the end cap of FIG. 3, and a circular arc groove. It is an expansion perspective view of the front end surface of a tongue part.
- the linear motion guide device has the following configuration (5), it is possible to smoothly pick up the ball by the tongue portion as compared with the case where the linear motion guide device is not provided.
- Lm be the groove bottom line of the arc groove, and connect the contact point of the ball with the tip surface and the center Oe of the opening circle E on the track side of the direction change path existing on the groove bottom line Lm.
- the angle between the groove bottom line Lm and the straight lines L1 and L2 when the straight lines are L1 and L2 is 20 ° or more and 40 ° or less. Note that the configuration (5) does not limit the configuration requirements of the linear motion guide device of the first aspect.
- the linear motion guide device 10 includes a guide rail 1, a slider 2, and a plurality of balls 3.
- the slider 2 has a shape in which leg portions 2A disposed on both sides in the width direction of the guide rail 1 and a body portion 2B that couples both leg portions 2A are integrated.
- the guide rail 1 is made of metal and has an upper surface 111 facing the inner surface of the body 2B of the slider 2 and a side surface 112 facing the inner surface of the leg 2A.
- a track groove 11 is formed at an upper corner portion formed by the upper surface 111 and the side surface 112 of the guide rail 1, and a track groove 12 is formed at the side surface 112 of the guide rail 1.
- the slider 2 is divided into a slider main body 21, a pair of end caps 22, and a pair of side seals 23 in the linear motion direction of the guide rail 1.
- the slider body 21 is made of metal, and the track grooves 211 and 212 are formed on the inner side of the leg portion 21 ⁇ / b> A at positions facing the track grooves 11 and 12 of the guide rail 1.
- a return path 216 corresponding to each track groove 211, 212 is formed in each leg 21 ⁇ / b> A of the slider body 21.
- the raceway groove 12 of the guide rail 1 and the raceway grooves 211 and 212 of the slider 2 are Gothic arc grooves in which two arcs having different centers are combined.
- the linear motion guide device of the first embodiment has an offset design in which the distance between the upper and lower track grooves is different between the guide rail 1 and the slider body 21 (A> B).
- the offset amount of the upper track is ⁇ 1
- the offset amount of the lower track is ⁇ 2.
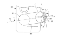
- the end cap 22 is composed of a pair of leg portions 22A and a body portion 22B, and arc-shaped grooves 221 and 222 forming the outer peripheral surface of the direction change path on the surface of each leg portion 22A on the slider body side.
- a recess 223 into which the return guide 24 is fitted is formed.
- the left leg 22A in FIG. 3 shows a state before the return guide 24 is inserted, and the right leg 22A shows a state after the insertion.
- the return guide 24 is formed with inner arcuate surfaces 241 and 242 that form the inner peripheral surface of the direction change path.
- the track grooves 11 and 12 of the guide rail 1 and the track grooves 211 and 212 of the slider 2 that face each other form a two-to-four row of tracks, and each track and each return path 216 have directions. Connected by a diversion path. That is, there are two-to-four rows of circulation paths of the balls 3 constituted by the track, the return path 216, and the direction change path, and a plurality of balls 3 are arranged in each circulation path.
- the slider 2 linearly moves along the guide rail 1 via the balls 3 that roll in a loaded state in a two-to-four row of tracks.
- the end cap 22 is formed with a tongue 25 at the end of the circular groove 222 of the lower track on the track side to scoop up the ball 3 from the track and guide it to each direction change path.
- FIG. 4 is a partially enlarged view showing the arc groove 222 and the tongue portion 25 of the end cap 22 in an enlarged manner.
- FIG. 5 is a cross-sectional view taken along line AA in FIG. 4, and FIG.
- the front end surface 251 of the tongue portion 25 is a circle from a plane including a pair of planes 251a perpendicular to the direction L0 in which the track 41 composed of the track grooves 12 and 212 extends, and both the planes 251a.
- An arcuate surface 251b that is recessed in an arc.
- the ball 3 is picked up from the track 41 by the tongue portion 25 and guided to the direction changing path 42 formed by the arc groove 222 of the end cap 22 and the inner arc surface 242 of the return guide 24.
- FIG. 7 corresponds to the view in the direction of arrow C in FIG. 4 and shows a pair of flat surfaces 251a and arcuate surfaces 251b for one of the lines S1 and S2 indicating both ends of the front end surface 251 in the width direction.
- the center Os of the circle indicating the curvature of the arcuate surface 251b exists on the straight line Ls shifted upward from the groove bottom line Lm of the arcuate groove 222 by at least the offset amount ⁇ 2.
- the radius of curvature R of the circular arc surface 251b is smaller than the radius of the ball 3.
- FIG. 8 is a perspective view of the tongue 25 as viewed from the front end face 251 side. Since the tongue portion 25 has the above-described shape, the ball 3 comes into contact with the boundary portion K between the two flat surfaces 251a and the circular arc surface 251b when scooping up the tongue portion 25.
- the contact points T1, T2 of the ball 3 with the tip surface 251 of the tongue 25 and the center of the opening circle E on the track side of the direction change path existing on the groove bottom line Lm of the arc groove 222.
- the straight lines connecting Oe are L1 and L2
- the angles ⁇ 1 and ⁇ 2 formed by the groove bottom line Lm and the straight lines L1 and L2 are 20 ° or more and 40 ° or less.
- These angles ⁇ 1 and ⁇ 2 can be changed by changing the radius of curvature R (FIG. 7) of the circular arc surface 251b.
- the end cap 22 is in contact with the tip of the tongue 25 at two points when the ball 3 is scooped up by the tongue 25, the impact force of the ball 3 is dispersed at two locations. Thereby, even when the linear motion guide device 10 is used under a high speed condition, it is possible to prevent the tongue portion 25 from being cracked or cracked. Also, since the angles ⁇ 1, ⁇ 2 with respect to the groove bottom line Lm of the contact points T1, T2 of the ball 3 that are in two-point contact with the tip of the tongue 25 are in the range of 20 ° or more and 40 ° or less, it is compared with the case where it is not in this range. Thus, the ball 3 can be picked up smoothly by the tongue portion 25.
- the linear motion guide device of the second embodiment includes the end cap 5 shown in FIG. 9 instead of the end cap 22 constituting the slider 2 in the linear motion guide device of FIG.
- the end cap 5 includes a first part 51, a second part 52, a third part 53, and two bolts (fastening parts) 54.
- the first component 51 includes a first leg portion 501 disposed on one side in the width direction of the guide rail, and arc grooves 511 and 512 forming the outer peripheral surface of the ball direction change path are formed on the surface of the slider body.
- the arc grooves 511 and 512 have tongue portions 511a and 512a at the ends on the track side.
- the tongue 512a of the arc groove 512 is formed with a recess 512b for fitting the end of the holding wire that holds the ball.
- a recess 515 into which the return guide 6 is fitted is formed above the arc groove 511, between both arc grooves 511, 512, and below the arc groove 512.
- the second part 52 includes a second leg portion 502 disposed on the other side in the width direction of the guide rail, and arc grooves 521 and 522 forming the outer peripheral surface of the ball direction changing path are formed on the surface of the slider body.
- the arc grooves 521 and 522 have tongue portions 521a and 522a at the ends on the track side.
- the tongue 522a of the arc groove 522 is formed with a recess 522b for fitting the end of the holding wire that holds the ball.
- a recess 525 for fitting the return guide 6 is formed on the upper side of the arc groove 521, between the arc grooves 521 and 522, and on the lower side of the arc groove 522.
- the third part 53 includes a portion 503 disposed above the guide rail, and has engagement surfaces 531 and 532 with the first part 51 and engagement surfaces 533 and 534 with the second part 52.
- the first component 51 has engagement surfaces 513 and 514 that come into contact with the engagement surfaces 531 and 532 of the third component 53.
- a female screw 513 a into which the tip of the bolt 54 is screwed is formed on the engaging surface 513 of the first component 51.
- the second part 52 has engagement surfaces 523 and 524 that come into contact with the engagement surfaces 533 and 534 of the third part 53.
- a female screw 523 a into which the tip of the bolt 54 is screwed is formed on the engagement surface 523 of the second part 52.
- the third component 53 has bolt insertion holes 535 and 536 penetrating in the vertical direction.
- the bolt insertion hole 535 has a female thread of the first component 51 in a state where the engagement surface 531 is in contact with the engagement surface 513 of the first component 51 and the engagement surface 532 is in contact with the engagement surface 514 of the first component 51. It communicates with 513a.
- the bolt insertion hole 536 communicates with the female screw 523a in a state where the engagement surface 533 is in contact with the engagement surface 523 of the second part 52 and the engagement surface 534 is in contact with the engagement surface 524 of the second part 52.
- the first part 51 and the second part 52 are made of alloy tool steel, and the third part 53 is made of polyoxymethylene (POM).
- the end cap 5 is assembled by the following method.
- the engagement surface 531 of the third component 53 is brought into contact with the engagement surface 513 of the first component 51
- the engagement surface 532 of the third component 53 is brought into contact with the engagement surface 514 of the first component 51
- the bolt insertion hole 535 is communicated with the female screw 513a
- the bolt 54 is inserted from the bolt insertion hole 535
- the male screw of the bolt 54 is screwed into the female screw 513a.
- the engagement surface 533 of the third component 53 is brought into contact with the engagement surface 523 of the second component 52, the engagement surface 534 of the third component 53 is brought into contact with the engagement surface 524 of the second component 52, and the bolt
- the insertion hole 536 is communicated with the female screw 523a, the bolt 54 is inserted from the bolt insertion hole 536, and the male screw of the bolt 54 is screwed into the female screw 523a.
- the first component 51, the second component 52, and the third component 53 are joined by the bolt 54, and the end cap 5 is obtained.
- the return guide 6 By fitting the return guide 6 into the recesses 515 and 525 of the end cap 5, a ball direction change path is formed by the arc groove 521 of the end cap 5 and the inner arc surface 61 of the return guide 6.
- the first part 51 in which the arc grooves 511 and 512 having the tongue portions 511a and 512a are formed, and the arc grooves 521 and 522 having the tongue portions 521a and 522a are formed.
- the tongue parts 11a, 512a, 521a, and 522a are superior in durability against the impact force of the ball 3 as compared with a case where the whole is made of a synthetic resin and integrally formed. ing.
- the third part 53 is used as a common part, and the first part 51 and the second part 52 having different specifications are prepared. Can handle multiple types of end caps. Further, it is also possible to manufacture an end cap in which all of the first component 51, the second component 52, and the third component 53 are made of metal and coupled with bolts 54.
Landscapes
- Engineering & Computer Science (AREA)
- General Engineering & Computer Science (AREA)
- Mechanical Engineering (AREA)
- Bearings For Parts Moving Linearly (AREA)
Priority Applications (3)
| Application Number | Priority Date | Filing Date | Title |
|---|---|---|---|
| US15/761,308 US10364841B2 (en) | 2015-09-18 | 2016-09-16 | Linear motion guide device and end cap for linear motion guide device |
| EP16846618.3A EP3351814B1 (en) | 2015-09-18 | 2016-09-16 | Linear motion guide device and end cap for linear motion guide device |
| CN201680053190.0A CN108026966B (zh) | 2015-09-18 | 2016-09-16 | 直线运动引导装置、直线运动引导装置用端盖 |
Applications Claiming Priority (2)
| Application Number | Priority Date | Filing Date | Title |
|---|---|---|---|
| JP2015185796A JP6668652B2 (ja) | 2015-09-18 | 2015-09-18 | 直動案内装置、直動案内装置用エンドキャップ |
| JP2015-185796 | 2015-09-18 |
Publications (1)
| Publication Number | Publication Date |
|---|---|
| WO2017047747A1 true WO2017047747A1 (ja) | 2017-03-23 |
Family
ID=58289383
Family Applications (1)
| Application Number | Title | Priority Date | Filing Date |
|---|---|---|---|
| PCT/JP2016/077441 Ceased WO2017047747A1 (ja) | 2015-09-18 | 2016-09-16 | 直動案内装置、直動案内装置用エンドキャップ |
Country Status (6)
| Country | Link |
|---|---|
| US (1) | US10364841B2 (enExample) |
| EP (1) | EP3351814B1 (enExample) |
| JP (1) | JP6668652B2 (enExample) |
| CN (1) | CN108026966B (enExample) |
| TW (1) | TWI610032B (enExample) |
| WO (1) | WO2017047747A1 (enExample) |
Cited By (2)
| Publication number | Priority date | Publication date | Assignee | Title |
|---|---|---|---|---|
| WO2019044493A1 (ja) * | 2017-08-29 | 2019-03-07 | Thk株式会社 | 運動案内装置 |
| JP2019044963A (ja) * | 2017-08-29 | 2019-03-22 | Thk株式会社 | 運動案内装置 |
Families Citing this family (2)
| Publication number | Priority date | Publication date | Assignee | Title |
|---|---|---|---|---|
| CN111288080B (zh) * | 2020-03-31 | 2025-02-07 | 无锡市赛博机电有限公司 | 线性轴承装置 |
| EP3910207B1 (en) * | 2020-05-14 | 2023-07-26 | SMC Corporation | Actuator |
Citations (4)
| Publication number | Priority date | Publication date | Assignee | Title |
|---|---|---|---|---|
| JP2005226795A (ja) * | 2004-02-16 | 2005-08-25 | Nsk Ltd | 直動案内軸受装置 |
| JP2012229814A (ja) * | 2005-12-26 | 2012-11-22 | Thk Co Ltd | 運動案内装置及び運動案内装置用アタッチメント |
| JP2013061079A (ja) * | 2012-12-28 | 2013-04-04 | Nsk Ltd | 直動案内装置 |
| JP2015031378A (ja) * | 2013-08-06 | 2015-02-16 | 日本精工株式会社 | リニアガイド装置用給油装置 |
Family Cites Families (28)
| Publication number | Priority date | Publication date | Assignee | Title |
|---|---|---|---|---|
| JPS55109820A (en) * | 1979-02-14 | 1980-08-23 | Hiroshi Teramachi | Linear ball bearing unit for floating load |
| DE3668672D1 (de) * | 1985-08-02 | 1990-03-08 | Star Gmbh | Waelzlager fuer linearbewegungen. |
| US5584581A (en) * | 1993-09-10 | 1996-12-17 | Deutsche Star Gmbh | Linear guiding device |
| DE4330772B4 (de) * | 1993-09-10 | 2013-02-14 | Robert Bosch Gmbh | Linearführungseinrichtung |
| DE19643737A1 (de) * | 1996-04-20 | 1998-04-30 | Schaeffler Waelzlager Ohg | Linearwälzlager |
| JP3481771B2 (ja) | 1996-04-25 | 2003-12-22 | Thk株式会社 | 直線案内装置のスライダの製造方法 |
| JP2001182745A (ja) * | 1999-12-27 | 2001-07-06 | Nsk Ltd | 直動案内軸受 |
| GB0102075D0 (en) | 2001-01-26 | 2001-03-14 | Astrazeneca Ab | Process |
| US6652146B2 (en) * | 2002-03-29 | 2003-11-25 | Mouton Lee | Linear motion guide device having two offset ball rows |
| JP4053826B2 (ja) * | 2002-06-25 | 2008-02-27 | Thk株式会社 | 循環部品、並びにこの循環部品を用いた運動案内装置及びボールねじ |
| JP2004068880A (ja) | 2002-08-05 | 2004-03-04 | Nsk Ltd | 直動装置 |
| JP3872003B2 (ja) | 2002-10-22 | 2007-01-24 | 竹内精工株式会社 | ボールリニアガイド及びボールリニアガイドの製造方法 |
| JP4606416B2 (ja) | 2004-08-26 | 2011-01-05 | Thk株式会社 | 運動案内装置 |
| JP2006316886A (ja) | 2005-05-12 | 2006-11-24 | Nsk Ltd | 直動案内装置 |
| JP4634223B2 (ja) * | 2005-05-30 | 2011-02-16 | 日本トムソン株式会社 | 直動案内ユニット |
| JP4893133B2 (ja) * | 2006-01-13 | 2012-03-07 | 日本精工株式会社 | リターンチューブ、及びボールねじ |
| DE102007013945A1 (de) | 2007-03-23 | 2008-09-25 | Schaeffler Kg | Schmiervorrichtung für ein Linearwälzlager |
| JP2008275065A (ja) | 2007-04-27 | 2008-11-13 | Nsk Ltd | エンドキャップ及びそれを備えた直動転がり案内装置 |
| US8162961B2 (en) * | 2007-07-23 | 2012-04-24 | Zimmer Orthobiologies, Inc. | Medical devices and methods for cutting and suturing biological tissue |
| US8328422B2 (en) | 2009-01-19 | 2012-12-11 | Hiwin Technologies Corp. | Component for linear guideway and method for making the same |
| EP2436940A4 (en) | 2009-05-28 | 2013-05-01 | Famco Co Ltd | ADJUSTABLE PRELOAD TYPE LINEAR GUIDING SYSTEM |
| JP5644407B2 (ja) * | 2010-11-18 | 2014-12-24 | 日本精工株式会社 | 直動装置のボール掬い上げ構造 |
| US9261178B2 (en) | 2011-06-07 | 2016-02-16 | Nsk Ltd. | Linear device |
| JP5724894B2 (ja) * | 2012-01-31 | 2015-05-27 | 日本精工株式会社 | リニアガイド装置 |
| DE12747876T1 (de) | 2012-08-01 | 2015-06-03 | Nsk Ltd. | Vorrichtung für Lineare Bewegung |
| CN104246250A (zh) | 2013-03-27 | 2014-12-24 | 日本精工株式会社 | 直线导轨装置用供油装置以及直线导轨装置 |
| JP6323127B2 (ja) * | 2014-04-01 | 2018-05-16 | 日本精工株式会社 | 直動案内装置 |
| TWM519693U (zh) * | 2015-10-02 | 2016-04-01 | 精浚科技股份有限公司 | 線性滑軌及其自潤模組 |
-
2015
- 2015-09-18 JP JP2015185796A patent/JP6668652B2/ja active Active
-
2016
- 2016-09-16 EP EP16846618.3A patent/EP3351814B1/en active Active
- 2016-09-16 WO PCT/JP2016/077441 patent/WO2017047747A1/ja not_active Ceased
- 2016-09-16 US US15/761,308 patent/US10364841B2/en active Active
- 2016-09-16 CN CN201680053190.0A patent/CN108026966B/zh active Active
- 2016-09-19 TW TW105130209A patent/TWI610032B/zh not_active IP Right Cessation
Patent Citations (4)
| Publication number | Priority date | Publication date | Assignee | Title |
|---|---|---|---|---|
| JP2005226795A (ja) * | 2004-02-16 | 2005-08-25 | Nsk Ltd | 直動案内軸受装置 |
| JP2012229814A (ja) * | 2005-12-26 | 2012-11-22 | Thk Co Ltd | 運動案内装置及び運動案内装置用アタッチメント |
| JP2013061079A (ja) * | 2012-12-28 | 2013-04-04 | Nsk Ltd | 直動案内装置 |
| JP2015031378A (ja) * | 2013-08-06 | 2015-02-16 | 日本精工株式会社 | リニアガイド装置用給油装置 |
Cited By (4)
| Publication number | Priority date | Publication date | Assignee | Title |
|---|---|---|---|---|
| WO2019044493A1 (ja) * | 2017-08-29 | 2019-03-07 | Thk株式会社 | 運動案内装置 |
| JP2019044963A (ja) * | 2017-08-29 | 2019-03-22 | Thk株式会社 | 運動案内装置 |
| US11199222B2 (en) | 2017-08-29 | 2021-12-14 | Thk Co., Ltd. | Motion guide device |
| JP7219877B2 (ja) | 2017-08-29 | 2023-02-09 | Thk株式会社 | 運動案内装置 |
Also Published As
| Publication number | Publication date |
|---|---|
| EP3351814B1 (en) | 2019-11-06 |
| US20180266486A1 (en) | 2018-09-20 |
| TWI610032B (zh) | 2018-01-01 |
| US10364841B2 (en) | 2019-07-30 |
| EP3351814A1 (en) | 2018-07-25 |
| CN108026966B (zh) | 2019-08-30 |
| CN108026966A (zh) | 2018-05-11 |
| EP3351814A4 (en) | 2018-09-05 |
| JP6668652B2 (ja) | 2020-03-18 |
| TW201719037A (zh) | 2017-06-01 |
| JP2017058003A (ja) | 2017-03-23 |
Similar Documents
| Publication | Publication Date | Title |
|---|---|---|
| WO2017047747A1 (ja) | 直動案内装置、直動案内装置用エンドキャップ | |
| TWI613375B (zh) | 直線運動導引裝置 | |
| US7600918B2 (en) | Linear guidance device | |
| JP7194794B2 (ja) | 直動案内ユニット | |
| JP6115652B2 (ja) | 直動案内装置 | |
| US7121723B2 (en) | Linear guide apparatus | |
| EP1906038A2 (en) | Linear guide apparatus and end caps | |
| JP2017058003A5 (enExample) | ||
| JP2004068880A (ja) | 直動装置 | |
| JP6399218B2 (ja) | 直動案内装置 | |
| JP2021181813A (ja) | 運動案内装置 | |
| JP5704096B2 (ja) | 潤滑剤供給部品の取付構造 | |
| JP6131530B2 (ja) | リニアガイド装置 | |
| JP2008223878A (ja) | 直動案内装置 | |
| JP6816385B2 (ja) | 直動案内装置用サイドシール | |
| JP2005003157A (ja) | 直動案内装置 | |
| JP2015117734A (ja) | 直動案内装置 | |
| JP6855792B2 (ja) | 直動案内装置の組立方法 | |
| JP2005201333A (ja) | 直動装置 | |
| WO2005038276A1 (ja) | リニアガイド装置 | |
| KR20190127981A (ko) | 볼 수용 밴드 및 운동 안내 장치 | |
| JP2007333147A (ja) | エンドキャップ及びそれを備えた直動案内軸受装置 | |
| JP2008032165A (ja) | リニアガイド装置 | |
| JP2016138660A (ja) | リニアガイド装置 | |
| JP2007285434A (ja) | 転動体収容ベルトおよび直動案内装置 |
Legal Events
| Date | Code | Title | Description |
|---|---|---|---|
| 121 | Ep: the epo has been informed by wipo that ep was designated in this application |
Ref document number: 16846618 Country of ref document: EP Kind code of ref document: A1 |
|
| WWE | Wipo information: entry into national phase |
Ref document number: 15761308 Country of ref document: US |
|
| NENP | Non-entry into the national phase |
Ref country code: DE |
|
| WWE | Wipo information: entry into national phase |
Ref document number: 2016846618 Country of ref document: EP |