WO2017033711A1 - コイル部品 - Google Patents

コイル部品 Download PDF

Info

Publication number
WO2017033711A1
WO2017033711A1 PCT/JP2016/073162 JP2016073162W WO2017033711A1 WO 2017033711 A1 WO2017033711 A1 WO 2017033711A1 JP 2016073162 W JP2016073162 W JP 2016073162W WO 2017033711 A1 WO2017033711 A1 WO 2017033711A1
Authority
WO
WIPO (PCT)
Prior art keywords
coil
core
core member
coil component
outer peripheral
Prior art date
Legal status (The legal status is an assumption and is not a legal conclusion. Google has not performed a legal analysis and makes no representation as to the accuracy of the status listed.)
Ceased
Application number
PCT/JP2016/073162
Other languages
English (en)
French (fr)
Japanese (ja)
Inventor
有希 阿部
山家 孝志
卓哉 遠藤
英彦 及川
将寛 近藤
啓祐 赤木
Current Assignee (The listed assignees may be inaccurate. Google has not performed a legal analysis and makes no representation or warranty as to the accuracy of the list.)
Tokin Corp
Original Assignee
NEC Tokin Corp
Priority date (The priority date is an assumption and is not a legal conclusion. Google has not performed a legal analysis and makes no representation as to the accuracy of the date listed.)
Filing date
Publication date
Application filed by NEC Tokin Corp filed Critical NEC Tokin Corp
Priority to KR1020187008374A priority Critical patent/KR102507790B1/ko
Priority to US15/750,486 priority patent/US10811179B2/en
Priority to CN201680048063.1A priority patent/CN107924748B/zh
Publication of WO2017033711A1 publication Critical patent/WO2017033711A1/ja
Anticipated expiration legal-status Critical
Ceased legal-status Critical Current

Links

Images

Classifications

    • HELECTRICITY
    • H01ELECTRIC ELEMENTS
    • H01FMAGNETS; INDUCTANCES; TRANSFORMERS; SELECTION OF MATERIALS FOR THEIR MAGNETIC PROPERTIES
    • H01F17/00Fixed inductances of the signal type
    • H01F17/04Fixed inductances of the signal type with magnetic core
    • HELECTRICITY
    • H01ELECTRIC ELEMENTS
    • H01FMAGNETS; INDUCTANCES; TRANSFORMERS; SELECTION OF MATERIALS FOR THEIR MAGNETIC PROPERTIES
    • H01F1/00Magnets or magnetic bodies characterised by the magnetic materials therefor; Selection of materials for their magnetic properties
    • H01F1/01Magnets or magnetic bodies characterised by the magnetic materials therefor; Selection of materials for their magnetic properties of inorganic materials
    • H01F1/03Magnets or magnetic bodies characterised by the magnetic materials therefor; Selection of materials for their magnetic properties of inorganic materials characterised by their coercivity
    • H01F1/12Magnets or magnetic bodies characterised by the magnetic materials therefor; Selection of materials for their magnetic properties of inorganic materials characterised by their coercivity of soft-magnetic materials
    • H01F1/14Magnets or magnetic bodies characterised by the magnetic materials therefor; Selection of materials for their magnetic properties of inorganic materials characterised by their coercivity of soft-magnetic materials metals or alloys
    • HELECTRICITY
    • H01ELECTRIC ELEMENTS
    • H01FMAGNETS; INDUCTANCES; TRANSFORMERS; SELECTION OF MATERIALS FOR THEIR MAGNETIC PROPERTIES
    • H01F27/00Details of transformers or inductances, in general
    • H01F27/24Magnetic cores
    • HELECTRICITY
    • H01ELECTRIC ELEMENTS
    • H01FMAGNETS; INDUCTANCES; TRANSFORMERS; SELECTION OF MATERIALS FOR THEIR MAGNETIC PROPERTIES
    • H01F27/00Details of transformers or inductances, in general
    • H01F27/24Magnetic cores
    • H01F27/255Magnetic cores made from particles
    • HELECTRICITY
    • H01ELECTRIC ELEMENTS
    • H01FMAGNETS; INDUCTANCES; TRANSFORMERS; SELECTION OF MATERIALS FOR THEIR MAGNETIC PROPERTIES
    • H01F27/00Details of transformers or inductances, in general
    • H01F27/28Coils; Windings; Conductive connections
    • H01F27/30Fastening or clamping coils, windings, or parts thereof together; Fastening or mounting coils or windings on core, casing, or other support
    • H01F27/306Fastening or mounting coils or windings on core, casing or other support
    • HELECTRICITY
    • H01ELECTRIC ELEMENTS
    • H01FMAGNETS; INDUCTANCES; TRANSFORMERS; SELECTION OF MATERIALS FOR THEIR MAGNETIC PROPERTIES
    • H01F3/00Cores, Yokes, or armatures
    • H01F3/08Cores, Yokes, or armatures made from powder
    • HELECTRICITY
    • H01ELECTRIC ELEMENTS
    • H01FMAGNETS; INDUCTANCES; TRANSFORMERS; SELECTION OF MATERIALS FOR THEIR MAGNETIC PROPERTIES
    • H01F3/00Cores, Yokes, or armatures
    • H01F3/10Composite arrangements of magnetic circuits
    • HELECTRICITY
    • H01ELECTRIC ELEMENTS
    • H01FMAGNETS; INDUCTANCES; TRANSFORMERS; SELECTION OF MATERIALS FOR THEIR MAGNETIC PROPERTIES
    • H01F37/00Fixed inductances not covered by group H01F17/00
    • HELECTRICITY
    • H01ELECTRIC ELEMENTS
    • H01FMAGNETS; INDUCTANCES; TRANSFORMERS; SELECTION OF MATERIALS FOR THEIR MAGNETIC PROPERTIES
    • H01F3/00Cores, Yokes, or armatures
    • H01F3/10Composite arrangements of magnetic circuits
    • H01F2003/106Magnetic circuits using combinations of different magnetic materials
    • HELECTRICITY
    • H01ELECTRIC ELEMENTS
    • H01FMAGNETS; INDUCTANCES; TRANSFORMERS; SELECTION OF MATERIALS FOR THEIR MAGNETIC PROPERTIES
    • H01F17/00Fixed inductances of the signal type
    • H01F17/04Fixed inductances of the signal type with magnetic core
    • H01F17/045Fixed inductances of the signal type with magnetic core with core of cylindric geometry and coil wound along its longitudinal axis, i.e. rod or drum core
    • H01F2017/046Fixed inductances of the signal type with magnetic core with core of cylindric geometry and coil wound along its longitudinal axis, i.e. rod or drum core helical coil made of flat wire, e.g. with smaller extension of wire cross section in the direction of the longitudinal axis
    • HELECTRICITY
    • H01ELECTRIC ELEMENTS
    • H01FMAGNETS; INDUCTANCES; TRANSFORMERS; SELECTION OF MATERIALS FOR THEIR MAGNETIC PROPERTIES
    • H01F17/00Fixed inductances of the signal type
    • H01F17/04Fixed inductances of the signal type with magnetic core
    • H01F2017/048Fixed inductances of the signal type with magnetic core with encapsulating core, e.g. made of resin and magnetic powder
    • HELECTRICITY
    • H01ELECTRIC ELEMENTS
    • H01FMAGNETS; INDUCTANCES; TRANSFORMERS; SELECTION OF MATERIALS FOR THEIR MAGNETIC PROPERTIES
    • H01F3/00Cores, Yokes, or armatures
    • H01F3/10Composite arrangements of magnetic circuits
    • H01F3/14Constrictions; Gaps, e.g. air-gaps

Definitions

  • the present invention relates to a coil component including a core and a coil embedded in the core.
  • Patent Document 1 discloses a reactor (coil component) of this type.
  • Patent Document 2 discloses a reactor core configured by combining core members having different types but different relative magnetic permeability.
  • the reactor disclosed in Patent Document 1 covers the first core part, the coil arranged outside the first core part, the second core part arranged outside the coil, and both end faces of the coil. And a connecting core portion that connects the first and second core portions to each other. And the 2nd core part has the largest maximum magnetic permeability compared with the 1st core part.
  • the reactor core disclosed in Patent Document 2 includes a pair of coil arrangement portions covered with a coil and a pair of exposed portions not covered with the coil. And the exposed part is comprised so that a relative magnetic permeability may become higher than a coil arrangement
  • Patent Document 1 and Patent Document 2 do not disclose any AC copper loss due to magnetic flux leakage from the magnetoresistive portion.
  • an object of the present invention is to provide a coil component in which AC copper loss due to magnetic flux leakage from the magnetoresistive portion is reduced.
  • a first side surface of the present invention includes, as a first coil component, a coil having an inner peripheral surface, an outer peripheral surface, a pair of end surfaces continuous to the inner peripheral surface and the outer peripheral surface, and a periphery of the coil.
  • a coil component having a core surrounding at least a part thereof, wherein the coil component is cut by a plane including a winding axis of the coil and a magnetic path that circulates in the core;
  • the first core member is disposed in each of the four regions located at the corners as the core
  • a second core member is disposed in a region located inside the inner peripheral surface and a region located outside the outer peripheral surface
  • a third core member is disposed in a region located outside the end surface, respectively.
  • the second core member and the third core member At least one of the A member provides a coil component having a lower magnetic permeability than the first core member at the zero magnetic field.
  • the 2nd side surface of this invention is 1st coil components as 2nd coil components, Comprising:
  • the said 2nd core member has a magnetic permeability lower than the said 1st core member in a zero magnetic field.
  • the third core member provides a coil component that is at least partially made of the same material as the second core member.
  • the 3rd side surface of this invention is 1st coil components as 3rd coil components, Comprising:
  • the said 2nd core member has a magnetic permeability lower than the said 1st core member in a zero magnetic field.
  • the third core member provides a coil component made of the same material as the first core member.
  • the 4th side surface of this invention is a 2nd or 3rd coil component as a 4th coil component, Comprising: A nonmagnetic gap is provided in the said 2nd core member arrange
  • the coil component in which is inserted is provided.
  • any one of the second to fourth coil components, wherein at least a part of the third core member is replaced with a nonmagnetic gap. Provide coil parts.
  • the sixth aspect of the present invention is any one of the second to fifth coil components as the sixth coil component, wherein the coil is an edgewise coil in which a rectangular wire is spirally wound. Provide a coil component.
  • the seventh aspect of the present invention provides a coil component having a thickness larger than the skin depth, wherein the seventh coil component is a sixth coil component, wherein the flat wire is larger than the skin depth.
  • an eighth aspect of the present invention provides a sixth or seventh coil component as the eighth coil component, wherein the coil has a number of windings of 10 or less.
  • a ninth aspect of the present invention provides an eighth coil component as the ninth coil component, wherein the coil has a number of windings of two or less.
  • a tenth aspect of the present invention is any one of second to ninth coil components as a tenth coil component, wherein the first core member is a dust core, and the second coil component is a second core component.
  • the core member provides a coil component obtained by curing a mixture containing a magnetic body and a resin.
  • the eleventh aspect of the present invention is the first coil component as the eleventh coil component, wherein the third core member has a lower magnetic permeability than the first core member in a zero magnetic field.
  • the second core member provides a coil component that is at least partially made of the same material as the third core member.
  • the twelfth aspect of the present invention is the first coil component as the twelfth coil component, wherein the third core member has a lower magnetic permeability than the first core member in a zero magnetic field.
  • the second core member provides a coil component made of the same material as the first core member.
  • a thirteenth aspect of the present invention is an eleventh or twelfth coil component as a thirteenth coil component, wherein the coil is a flatwise coil obtained by winding a rectangular wire in a spiral shape. Provide parts.
  • each of the cross sections of the coil is divided into eight regions, and each of the four regions located at the corners is divided into four regions.
  • One core member is disposed.
  • the second core member is disposed in a region located inside the inner peripheral surface and a region located outside the outer peripheral surface, and the third core member is disposed in a region located outside the end surface.
  • a core member having a lower magnetic permeability in a zero magnetic field than the first core member is used as at least one of the second core member and the third core member.
  • FIG. 9 is a diagram showing a magnetic field (magnetic flux) generated by energization when another pair of cores having a configuration different from that of the core of FIG. 8 is arranged around one conductive wire.
  • A The figure which shows the magnetic field (magnetic flux) which arises by electricity supply in the case of arrange
  • B The partial enlarged view.
  • the core is composed of a lower core having a relatively low permeability surrounding the coil except for one end face, and an upper core having a relatively high permeability provided on the lower core so as to cover one end face.
  • the left figure is a figure which shows the structure of a coil and the direction of the electric current which flows into a coil
  • the right figure is a figure which shows the magnetic field produced by electricity supply to a coil.
  • the diagram on the left shows the direction of eddy current that can theoretically occur inside the coil
  • the diagram on the right shows the direction of current derived from the eddy current actually generated inside the coil.
  • the figure on the left shows the direction of the current derived from the eddy current generated inside the coil
  • the figure on the right shows that the current at the center is small and can be ignored.
  • the left figure is a figure which shows the structure of a coil and the magnetic field produced by the electricity supply to a coil
  • the right figure is a figure which shows the direction of the eddy current which arises in the inside of a coil.
  • It is a graph which shows the relationship between the thickness of each winding of an edgewise coil, and a flatwise coil, and a loss coefficient.
  • It is sectional drawing which shows the structure of the coil component by the 1st Embodiment of this invention. It is a figure for demonstrating further the structure of the coil components of FIG. It is a figure for demonstrating one process of the manufacturing process of the coil components shown in FIG.
  • FIG. 30 is a diagram for explaining a step following the step of FIG. 29.
  • FIG. 32 is a diagram for explaining a process following the process of FIG. 31. It is a perspective view which shows the example of 1 arrangement
  • the skin effect and proximity effect are known as the main causes of causing AC copper loss in the coil.
  • the skin effect increases as the frequency of the current flowing through the coil increases.
  • the proximity effect due to the action of adjacent conductors also becomes a problem. Therefore, the inventor examined reduction of AC copper loss.
  • a coil component such as a reactor has a coil and a core.
  • the core can cause a proximity effect in the coil. If a core having a relatively high magnetic permeability is used, leakage of magnetic flux from the core to the coil can be reduced, and the proximity effect due to the core can be suppressed.
  • a desired inductance characteristic or magnetic saturation characteristic is to be obtained as a coil component, it is necessary to provide a magnetoresistive portion in the magnetic circuit. And a magnetoresistive part becomes a cause of the alternating current resistance loss increase by the magnetic flux leakage from a core to a coil.
  • As the magnetoresistive portion there is a core member having a nonmagnetic gap and a relatively low magnetic permeability. Magnetic flux leakage due to the non-magnetic gap is concentrated around the gap.
  • FIGS. 1 to 6 show one of the two coil cross sections seen when the coil is cut along a plane including its winding axis and the periphery thereof.
  • a magnetic field represented by a concentric magnetic flux 112 is generated by energization in a coil 111 in which square wires are wound in 3 layers ⁇ 3 rows.
  • the region 113 having a large AC copper loss is mainly formed on the side far from the magnetic field center of each square line.
  • the coil 111 is placed in an alternating external magnetic field (vertical magnetic field) along the winding axis direction represented by the magnetic flux 122 in FIG. 2, alternating current is applied to both sides of each row (vertical direction) formed by the square lines.
  • a region 123 having a large copper loss appears.
  • the distribution of the region 123 in FIG. 2 is different from that of the region 113 in FIG.
  • the arrangement of conductive wires in a direction perpendicular to the winding axis of the coil is referred to as “layer”, and the arrangement of conductive wires in the direction parallel to the winding axis of the coil is referred to as “row (or winding)”.
  • layer the arrangement of conductive wires in the direction perpendicular to the winding axis of the coil
  • row or winding
  • the magnetic field in the direction along the winding axis is referred to as a “vertical magnetic field” for convenience, but the winding axis may face in any direction, and “vertical” does not mean the direction of gravity.
  • a magnetic field represented by a concentric magnetic flux 132 is also generated by energization even in the coil 131 in which rectangular wires are wound in nine rows.
  • a region 133 with a large AC copper loss appears along the short side of the cross section of the rectangular wire located at the center of the coil 131.
  • a region 133 having a large AC copper loss appears along the long side as well as the short side of the cross section.
  • the large copper loss region 143 extends along the short side and the long side of the cross section of all the rectangular wires including the rectangular wire located in the center of the coil 131.
  • a magnetic field represented by a concentric magnetic flux 152 is generated by energization even in a coil 151 in which a flat wire is wound in nine layers.
  • a region 153 having a large AC copper loss appears in the central portion of the coil 151. That is, in the central portion of the coil 151, the region 153 having a large AC copper loss appears along the short side of the cross section of the rectangular wire.
  • a region 153 having a large AC copper loss appears along the short side of each rectangular wire and along the long side.
  • the magnetic flux 162 of the external magnetic field bends so as to avoid the coil 151 as shown in FIG. 163 is reduced to a region along the short side of the cross section of each rectangular wire, and becomes invisible in the region along the long side.
  • the magnetic flux hardly penetrates the winding (conductor) and easily passes through the surface of the winding or the boundary between the windings.
  • the ease of passage of magnetic flux differs at the boundary between the windings depending on the direction in which the boundary extends. Specifically, if the direction of the magnetic field is parallel to the direction in which the boundary between the windings extends (FIG. 4), the magnetic flux easily passes through the boundary between the windings, and the direction of the magnetic field is perpendicular to the direction in which the boundary between the windings extends. If it is (FIG. 6), it will be difficult for a magnetic flux to pass the boundary between windings.
  • the inventor examined the change of the magnetic field when the core is arranged around the coil in order to control the direction of the magnetic field around the coil.
  • the change in magnetic flux when the core is arranged in a magnetic field formed when a current is passed through the conductive wire was examined.
  • the magnetic field formed by passing a current through the conductive line is concentric with the conductive line as the center in a plane including a cross section perpendicular to the length direction of the conductive line.
  • the magnetic flux changes as the magnetic flux tries to pass through the core with high permeability.
  • FIGS. 7A and 7B it is assumed that a core 172 having a substantially square cross section is disposed in the magnetic field formed by the conductive wire 171. In that case, the magnetic flux 173 tends to pass through the core 172 where the magnetic permeability is high.
  • the magnetic flux 173 remains substantially concentric and around the conductive wire 171.
  • the magnetic flux distribution cannot be changed greatly.
  • a pair of cores 172 are provided above and below the conductive wire 201 so as to face each other with the conductive wire 171 interposed therebetween, as shown in FIG.
  • FIG. 9 when a pair of cores 174 sandwiching another core member having a low magnetic permeability between two relatively short core members are arranged facing each other with the conductive wire 171 interposed therebetween Is the same.
  • the length of the core 174 in the left-right direction in the drawing is relatively short and that the interval between the cores 174 is relatively wide.
  • FIGS. 10A and 10B when a core 202 having a rectangular cross section is arranged in the magnetic field formed by the conductive wire 201, more magnetic flux 203 passes through the core 202.
  • the magnetic flux distribution changes relatively greatly.
  • a substantially perpendicular magnetic field is formed on the left and right sides of the conductive line 201.
  • the direction of the magnetic field around the conductive wire (coil) can be controlled if the core is appropriately disposed near the conductive wire (coil).
  • the demagnetizing coefficient in the magnetic field direction formed by the conductive wires (coils) of the upper and lower cores is 0.
  • a magnetic field close to perpendicular to the left and right sides of the conductive wire (coil) can be formed by setting it to 3 or less.
  • FIG. 13 shows one of the two coil cross sections seen when the coil 231 is cut along a plane including the winding axis. The configuration shown in FIG.
  • FIG. 13 corresponds to a state (see FIG. 10) in which an upper core 233 having a relatively high magnetic permeability on the one (upper) end surface side of the coil 231 and being long in the left-right direction in the drawing is arranged.
  • a substantially vertical magnetic field is formed inside the inner peripheral surface of the coil 231 and outside the outer peripheral surface.
  • the region 234 where the AC copper loss is large is biased toward the inner peripheral surface side and the outer peripheral surface side (the short side of each turn). That is, the leakage of magnetic flux of the coil 231 is reduced, and the AC resistance loss is suppressed.
  • the coil 231 is substantially perpendicular to the left and right sides (the inner surface and the outer surface) (along the winding axis). Magnetic field (perpendicular magnetic field) can be formed. Thereby, the alternating current resistance loss resulting from the magnetic flux which flows into a coil from a core can be suppressed.
  • the first model includes an edgewise coil 241, a dust core 242 disposed around the edgewise coil 241, and three pieces inserted in the magnetic path on the inner peripheral side of the edgewise coil 241. And a gap 243.
  • the winding axis of the coil 241 is located on the right side of the drawing and extends in the vertical direction. That is, FIG. 14A shows one of the two coil cross sections seen when the coil component is cut along a plane including the winding axis and the periphery thereof. In this coil component, as shown in FIG. 14B, the magnetic flux is concentrated in the region 244 around the boundary between the coil 241 and the gap 243, that is, on the inner peripheral side of the coil 241.
  • the region 245 having a large AC copper loss in the coil 241 is biased toward the inner peripheral side of the coil 241.
  • the region 245 having a large AC copper loss is biased toward the inner peripheral side, and the AC copper loss by simulation was a large value of 172 W.
  • the second model has an edgewise coil 251 and a casting core 252 arranged around the edgewise coil 251.
  • this coil component as shown in FIG. 15B, the magnetic flux is concentrated in the region 253 along the long side of each rectangular wire on both the upper and lower sides of the coil 251.
  • the region 254 having a large AC copper loss is biased toward the inner peripheral side and the outer peripheral side.
  • a region 255 having a large AC copper loss extends along the long side of the cross section of each rectangular wire.
  • the alternating current copper loss by simulation was 230W.
  • the third model covers the edgewise coil 261, casting cores 262 and 263 respectively disposed on the inner and outer peripheral sides thereof, and the end face of the edgewise coil 261, and It has a pair of dust cores 264 connecting the two casting cores 262 and 263.
  • the magnetic flux is concentrated in the region 265 along the short side of the rectangular wire.
  • the region 266 where the AC copper loss is large is biased toward the inner peripheral side and the outer peripheral side of the coil 261, and the AC copper loss by simulation is the smallest of 48.2 W. Value.
  • the fourth model has a configuration similar to that of FIG. 16 (a).
  • This coil component is different from the coil component in FIG. 16A in that the number of windings of the edgewise coil 271 is two. Even if the number of windings is increased to two, as understood from the comparison between FIG. 16B and FIG. 17B, the magnetic flux distribution is not significantly different from the case where the number of windings is one. . That is, the magnetic flux is concentrated in the region 275 on the inner peripheral side and the outer peripheral side of the coil 271. Also, as shown in FIG. 17C, the region 276 where the AC copper loss is large is also biased toward the inner peripheral side and the outer peripheral side of the coil 271, and the AC copper loss by simulation is a small value of 49.5W. there were.
  • the fifth model includes a coil 281 formed by winding a rectangular wire in three layers and three rows, and cast cores 262 and 263 disposed on the inner and outer peripheral sides thereof, respectively. And a pair of dust cores 264 that cover the end face of the coil 281 and connect the two casting cores 262 and 263.
  • the magnetic flux is concentrated in the inner peripheral side and the outer peripheral side region 282 of the coil 281, and the region 283 along the boundary of the winding row inside the coil 281. There is also a concentration of magnetic flux.
  • the region 284 having a large AC copper loss exists not only on the inner and outer peripheral sides of the coil 281 but also on the inside.
  • the alternating current copper loss by simulation was 71.8W.
  • the sixth model has a coil 291 formed by winding a rectangular wire in two layers and five rows, and casting cores 262 and 263 disposed on the inner peripheral side and the outer peripheral side, respectively. And a pair of dust cores 264 that cover the end face of the coil 291 and connect the two casting cores 262 and 263.
  • the magnetic flux is concentrated in the inner and outer peripheral areas 292 of the coil 291, and in addition, the coil 291 is aligned along the boundary of the winding row. Concentration of magnetic flux occurs in the region 293.
  • the number of regions 293 in which the magnetic flux is concentrated increases as the number of windings increases.
  • the number of regions 294 having a large AC copper loss also increases as shown in FIG. The AC copper loss by simulation was 90.9W.
  • the seventh model includes a flatwise coil 301, casting cores 262 and 263 respectively disposed on the inner and outer peripheral sides thereof, and covers the end face of the coil 301, and two It has a pair of dust cores 264 connecting the casting cores 262 and 263.
  • the magnetic flux is concentrated in the inner peripheral side 302 and the outer peripheral side region 302 of the coil 301, and the region 303 along the boundary of the winding row is formed inside the coil 301. Concentration of magnetic flux occurs in The number of regions 303 where magnetic flux concentration occurs is further increased than in the case of FIG.
  • the region 304 having a large AC copper loss also increased compared to the case of FIG.
  • the alternating current copper loss by simulation also increased to 144.1W.
  • a core having a relatively high magnetic permeability may be disposed in the four regions located at the corners.
  • a core having a relatively low magnetic permeability is disposed in the inner peripheral surface and the outer peripheral surface.
  • Relatively high permeability mu H is, for example, in the case of 100, a relatively low magnetic permeability mu L is about one of the well, good results have been obtained for example with 10.
  • the influence of the thickness of the winding (element wire) was examined.
  • FIG. 26 it can be understood that the AC copper loss of the coil increases as the thickness of the winding (element wire) increases.
  • the thickness of the winding (conductor) is equal to or thinner than the skin depth, there is a large difference in loss factor (Rac / L / N) between the edgewise coil ("edge") and the flatwise coil ("flat") There is no.
  • the loss coefficient of the flatwise coil increases rapidly.
  • the loss factor of the edgewise coil increases in a linear function as the wire thickness increases.
  • the edgewise coil even if the thickness of the winding increases, there is no sudden increase in AC copper loss as in the case of the flatwise coil. Therefore, the use of edgewise coils is advantageous when the winding thickness is large.
  • this invention aims at reducing alternating current copper loss by suppressing the magnetic flux which flows in into a coil from a core, it may not be all.
  • the coil component 10 includes a coil 11, an inner peripheral core 12 disposed on the inner peripheral side of the coil 11, and an outer peripheral side of the coil 11.
  • the outer peripheral side core 13 arrange
  • the winding axis of the coil 11 is located at the center in the left-right direction in the figure and extends along the up-down direction in the figure. Note that FIG. 27 does not represent the usage state of the coil component 10, and the winding axis of the coil 11 may be directed in any direction during use. The same applies to other embodiments described later.
  • the coil 11 is an edgewise coil wound so as to overlap windings (conductive wires) along the winding axis direction. That is, the coil 11 has a substantially rectangular cross-sectional shape and is formed by spirally winding a conductive wire (flat wire) (not shown) covered with an insulator (not shown). Specifically, the coil 11 according to the present embodiment is formed by winding a conductive wire in a spiral and square shape so as to have a linear winding axis. Therefore, the coil 11 of the present embodiment has a substantially square shape in a plane orthogonal to the winding axis. The coil 11 may further include an insulator that covers the periphery of a wound body formed by winding a conductive wire. In any case, the coil 11 has an inner peripheral surface, an outer peripheral surface, and a pair of end surfaces continuous with these.
  • the inner peripheral core 12 is disposed inside the inner peripheral surface of the coil 11 so as to contact the inner peripheral surface of the coil 11.
  • the outer peripheral side core 13 is arrange
  • the inner peripheral core 12 and the outer peripheral core 13 are simultaneously formed using the same material. Specifically, the inner peripheral core 12 and the outer peripheral core 13 are formed by thermally curing a slurry 20 (see FIG. 31) made of soft magnetic metal powder, a thermosetting binder component, a solvent, and the like. Further, the inner peripheral core 12 and the outer peripheral core 13 have magnetic permeability (low ⁇ ) in a relatively low zero magnetic field. Specifically, the magnetic permeability of the inner core 12 and the outer core 13 is 3 to 15, preferably 7 to 12, particularly about 10. In the following description, a core formed by curing the slurry 20 may be referred to as a cast core.
  • the pair of end face side cores 14 and 15 cover the pair of end faces of the coil 11 and mechanically and magnetically connect the inner peripheral side core 12 and the outer peripheral side core 13.
  • the inner periphery side core 12, the outer periphery side core 13, and the end surface side cores 14 and 15 form a closed magnetic circuit.
  • Each of the pair of end face side cores 14 and 15 is a dust core formed by compression-molding soft magnetic metal powder having high saturation magnetic flux density such as iron alloy powder with high pressure.
  • Each of these end face side cores 14 and 15 has a plate-like shape having a substantially uniform thickness and a pair of flat main surfaces.
  • the outer peripheral cores 14 and 15 have a higher magnetic permeability (high ⁇ ) in a zero magnetic field than the inner peripheral core 12 and the outer peripheral core 13.
  • the magnetic permeability of the end face side cores 14 and 15 is 50 or more, preferably 50 to 150, and particularly preferably about 90.
  • the end surface side cores 14 and 15 each have a size larger than the outer peripheral surface of the coil 11 and are outside the outer peripheral surface of the coil 11. Overhangs.
  • the end face side cores 14 and 15 of the present embodiment have a quadrangular shape with rounded corners, and the edges protrude beyond the outer peripheral surface of the coil 11 in a bowl shape. Therefore, if the end face side cores 14 and 15 and the coil 11 are viewed along the direction of the winding axis of the coil 11, the coil 11 is hidden behind the end face side three cores 14 and 15 and cannot be seen.
  • the present invention is not limited to this configuration.
  • the end face side cores 14 and 15 do not have to protrude to the outer peripheral side over the entire circumference of the coil 11.
  • the end face side cores 14 and 15 are outer peripheral from one set of sides of the coil 11 facing each other. It protrudes to the side (left-right direction in FIG. 27) and may not protrude from the other set of sides to the outer peripheral side (front-back direction in FIG. 27).
  • it may have a shape called an EE (or EI) core.
  • the end face portion of the coil corresponding to the other set of sides may be partly or entirely covered by the end face side cores 14 and 15, or part or the front part may be covered by the outer peripheral side core 13. Or a part or all of them may be exposed to the outside.
  • the outer peripheral side core (second core member) 13 may not be disposed outside the outer peripheral surface of the coil corresponding to the other set of sides, and the outer peripheral surface of the coil is in direct contact with the case. Also good.
  • the structure of the cores 12, 13, 14, and 15 can be said as follows from another viewpoint. That is, as shown in FIG. 28, in a cross section in which the coil component is cut along a plane including the winding axis of the coil 11 and a magnetic path that circulates in the core (12, 13, 14, 15), When the perimeter of each of the two coil cross sections seen in the cross section of the part is divided into eight regions 41 to 48 by four straight lines 31 to 34 along the inner peripheral surface, the outer peripheral surface and the end surface, they are located at the corners. In each of the four regions 41, 43, 45, and 47, a dust core (first core member, high ⁇ material) is arranged, and the region 42 located inside the inner peripheral surface and the region 46 located outside the outer peripheral surface. Each of the casting cores (second core member, low ⁇ ) is disposed, and the dust cores (third core member, high ⁇ ) are disposed in the regions 44 and 48 located outside the end surfaces, respectively.
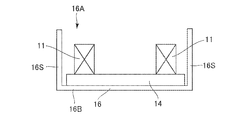
  • the case 16 is made of a metal such as aluminum.
  • the illustrated case 16 has an opening 16A and a bottom 16B in the direction in which the winding axis of the coil 11 extends, and a side surface 16S that connects the opening 16A and the bottom 16B. More specifically, the bottom portion 16B has a quadrangular shape with rounded corners, and the side surface portion 16S has a substantially rectangular tube shape.
  • the inner peripheral side core 12, the outer peripheral side core 13, the end face side cores 14 and 15, and the coil 11 are disposed in the case 16. In the case 16, the inner peripheral core 12 and the outer peripheral core 13 are in close contact with the coil 11 and the end surface cores 14 and 15.
  • the end surface side core 15 closer to the opening portion 16A than the bottom portion 16B is located away from the side surface portion 16S. That is, the end surface side core 15 is smaller than the side surface portion 16S in a plane orthogonal to the winding axis of the coil 11. A part of the outer peripheral side core 13 partially enters between the end surface side core 15 and the side surface portion 16S.
  • the end surface side core 14 closer to the bottom portion 16B than the opening portion 16A is positioned away from the side surface portion 16S. That is, the end surface side core 14 is smaller than the side surface portion 16S in a plane orthogonal to the winding axis of the coil 11. A part of the outer peripheral side core 13 enters between the end surface side core 14 and the side surface portion 16S.
  • the case 16 is prepared, and one end face side core 14 is placed on the bottom 16 ⁇ / b> B of the case 16. Since the end surface side core 14 of the present embodiment has a smaller size than the side surface portion 16S of the case 16, a gap is formed between the side surface portion 16S and the end surface side core 14. Because of such a design, even if the size of the end face side core 14 varies, the positional relationship between the end face side core 14 and the case 16 does not become a problem.
  • the coil 11 is placed on one surface of the one end face side core 14.
  • the slurry 20 as the raw material of the inner peripheral core 12 and the outer peripheral core 13 is poured into the case 16 through the opening 16A until the coil 11 is completely immersed. That is, in the present embodiment, the upper surface (liquid surface) of the poured slurry 20 is located above the upper end 11U of the coil 11. The slurry 20 positioned above the upper end 11U of the coil 11 does not form the main parts of the inner peripheral core 12 and the outer peripheral core 13, but is extra. Similarly, the slurry 20 entering between the one end face side core 14 and the inner peripheral face 16S is also excessive. However, as will be described later, the presence of this excess slurry 20 can increase the degree of adhesion between the inner peripheral side core 12 and the outer peripheral side core 13 and the end face side core 15.
  • the opening 16A is open in the direction of the winding axis of the coil 11, the space inside and outside the coil can be visually recognized, and the slurry 20 is poured into the inside and outside of the coil 11. Can do.
  • both the inner peripheral core 12 and the outer peripheral core 13 can be cast cores.
  • the other end face side core 15 is placed on the coil 11. At this time, the other end surface side core 15 is disposed so that the pair of end surface side cores 14 and 15 face each other. As described above, since the end surface side core 15 of the present embodiment has a smaller size than the side surface portion 16S of the case 16, a gap is formed between the side surface portion 16S and the end surface side core 14. Is done.
  • an edgewise coil is used as the coil 11, and the inner peripheral side core 12 and the outer peripheral side core 13 that are cast cores are disposed on the inner peripheral side and the outer peripheral side, respectively.
  • the side core 12 and the outer peripheral side core 13 are connected by a pair of end face side cores 14 and 15 which are dust cores.
  • produces in the coil 11 can be reduced.
  • inductance in a zero magnetic field in which no DC superimposed current is passed through the coil component 10 is suppressed, and the DC superimposed characteristics are improved. Can do.
  • part of the core (specifically, the inner peripheral core 12 and the outer peripheral core 13) is formed using the slurry 20.
  • the clearance gap between the coil 11 and the surrounding core (the inner peripheral side core 12, the outer peripheral side core 13, and the end surface side cores 14 and 15) can be eliminated.
  • the variation in the characteristics of the coil component 10 depending on the assembly accuracy can be reduced or eliminated, and the backlash of the coil 11 can be suppressed, and noise during use of the coil component 10 can be reduced.
  • the number of the compacting cores which are solid can be reduced, and an assembly
  • the cost can be reduced by reducing the number of dust cores having a relatively high magnetic permeability and using casting cores having a relatively low magnetic permeability.
  • the coil 11 has a quadrangular shape with rounded corners in a plane orthogonal to the winding axis, but the present invention is not limited to this.
  • the coil 11 may have a circular or oval shape or a track shape for competition in a plane perpendicular to the winding axis of the coil.
  • the casting core is used as the inner peripheral side core 12 and the outer peripheral side core 13, and the dust core is used as the end surface side cores 14 and 15.
  • a dust core may be used as the inner peripheral core 12 and the outer peripheral core 13, and cast cores may be used as the end face side cores 14 and 15.
  • these cores may be formed by infiltrating a resin into the molded magnetic powder and then curing the resin.
  • the inner peripheral core 12, the magnetic permeability of the end face side cores 14, 15 in the zero magnetic field is higher than the magnetic permeability of the inner peripheral core 12 and the outer peripheral core 13 in the zero magnetic field.
  • the outer peripheral side core 13 and the end surface side cores 14 and 15 should just be formed.
  • a nonmagnetic gap material 51 is disposed in the inner circumferential space 50 of the coil 11 as shown in FIGS. 33 and 34 or 35 and 36. To do. That is, four rectangular plate-like gap members 51 are arranged in two upper and lower stages. The gap material 51 of each step is disposed so that the long sides are parallel to each other. The gap members 51 are fixed to each other by a support member 52 in order to facilitate assembly. Further, in order to facilitate the assembly and suppress the occurrence of AC copper loss, the gap material 51 may be disposed so as to leave a predetermined interval with the inner peripheral surface of the coil 11.
  • the gap members 51 adjacent to the left and right are arranged with a space therebetween. May be. Furthermore, each gap member 51 is arranged so as to be inclined with respect to a plane perpendicular to the winding axis of the coil 11 so that bubbles that may be generated when the slurry 20 is poured are easily discharged.
  • the shape, number and arrangement of the gap material 51 are not limited to the present embodiment. The shape, number and arrangement of the gap members 51 can be adjusted according to desired characteristics.
  • Part of the end face side cores 14 and 15 of the coil component 10 according to the first embodiment is replaced with a casting core (low ⁇ ). Specifically, at least a part of the portion of the end face side cores 14 and 15 covering the end face of the coil 11 is replaced with a casting core.
  • the periphery of the coil 11 in the cross section obtained by cutting the coil component along a plane including the coil winding axis and the magnetic path that circulates in the core, the periphery of the coil 11 (two coils seen in the cross section of the coil component).
  • a compacted core (first core member, high ⁇ ) is disposed in each of 47.
  • a casting core (second core member, low ⁇ ) is disposed in the region 42 located inside the inner peripheral surface of the coil 11 and the region 46 located outside the outer peripheral surface.
  • a casting core (third core member, low ⁇ ) is disposed in at least a part of each of the regions 44 and 48 located outside the end face. In the remaining portions of the regions 44 and 48, a dust core is disposed.
  • the casting core is usually arranged so as to be sandwiched between a pair of dust cores.
  • the dust core disposed in the regions 44 and 48 may be formed integrally with the dust core disposed in any of the adjacent regions 41, 43, 45, and 47.
  • the inductance in the zero magnetic field is lower than in the first embodiment, the inductance can be adjusted according to the application. Also in this embodiment, the gap material 51 described in the second embodiment may be arranged on the inner peripheral side of the coil 11 according to the characteristics to be obtained.
  • Part of the end face side cores 14 and 15 of the coil component 10 according to the first embodiment is replaced with a nonmagnetic gap material. Specifically, at least a part of the portion covering the end face of the coil 11 is replaced with a nonmagnetic gap material.
  • the periphery of the coil 11 in the cross section obtained by cutting the coil component along a plane including the winding axis of the coil 11 and the magnetic path that circulates in the core, the periphery of the coil 11 (two cross sections of the coil component can be seen).
  • each coil cross section When the perimeter of each coil cross section is divided into eight regions 41 to 48 by four straight lines 31 to 34 along the inner peripheral surface, outer peripheral surface, and end surface, the four regions 41, 43, 45 located at the corners , 47 are each provided with a dust core (first core member, high ⁇ ).
  • a casting core (second core member, low ⁇ ) is disposed in the region 42 located inside the inner peripheral surface of the coil 11 and the region 46 located outside the outer peripheral surface.
  • a non-magnetic gap material is disposed at least partially in each of the regions 44 and 48 located outside the end face of the coil 11.
  • the entire end surface of the coil 11 seems to be covered with a nonmagnetic gap, but in reality, most of the end surface of the coil 11 is covered with a dust core (third core member, high ⁇ ).
  • the area covered by the nonmagnetic gap material is small. In this configuration, leakage flux from the nonmagnetic gap material to the coil 11 can be suppressed by using the edgewise coil. This is because the end face of the coil 11 is on the long side in the cross section of the rectangular wire.
  • the gap material 51 described in the second embodiment may be arranged on the inner peripheral side of the coil 11 as in the third embodiment.
  • a compacted core (first core member, high ⁇ ) is disposed in each of 47.
  • a dust core (second core member, high ⁇ ) is also arranged in each of the region 42 located inside the inner peripheral surface of the coil 11 and the region 46 located outside the outer peripheral surface.
  • cast cores (third core member, low ⁇ ) are arranged in the regions 44 and 48 located outside the end face.
  • the dust core disposed in the region 42 may be formed integrally with the dust cores disposed in the adjacent regions 41 and 43, respectively.
  • the dust core disposed in the region 46 may be formed integrally with the dust cores disposed in the adjacent regions 45 and 47, respectively. Also in this embodiment, there is little magnetic flux leakage to the coil 11, and the effect of reducing AC copper loss is obtained.
  • the inner peripheral side core 12 and the outer peripheral side core 13 of the coil component according to the fifth embodiment are replaced with cast cores. That is, as shown in FIG. 40, in the cross section obtained by cutting the coil component along a plane including the winding axis of the coil and the magnetic path that circulates in the core, the periphery of the coil 11 Are divided into eight regions 41 to 48 by four straight lines 31 to 34 along the inner peripheral surface, the outer peripheral surface, and the end surface, and the four regions 41, 43, 45, and 47 located at the corners.
  • a dust core (first core member, high ⁇ ) is disposed in each.
  • a casting core (second core member, low ⁇ ) is disposed in at least a part of each of the region 42 located inside the inner peripheral surface of the coil 11 and the region 46 located outside the outer peripheral surface. Further, cast cores (third core member, low ⁇ ) are arranged in the regions 44 and 48 located outside the end face.
  • a dust core is disposed in the remaining portions of the regions 42 and 46. In each of the regions 42 and 46, the casting core is usually arranged so as to be sandwiched between a pair of dust cores.
  • the dust cores disposed in the regions 42 and 46 may be formed integrally with the dust cores disposed in any of the adjacent regions 41, 43, 45 and 47. Also in this embodiment, there is little magnetic flux leakage to the coil 11, and the effect of reducing AC copper loss is obtained.
  • this invention is not limited to the said embodiment, A various change and deformation
  • an edgewise coil or a flatwise coil wound with a flat wire is used as the coil 11, but the coil 11 may be a coil wound with a square wire or a round wire.
  • the number of coil windings and the number of layers may be two or more, respectively.
  • the number of coil windings is preferably 10 or less, and particularly preferably 2 or less.
  • the number of coil layers is preferably 10 or less, and particularly preferably 2 or less.
  • region around a coil was divided into 8 by the straight line along an inner peripheral surface, an outer peripheral surface, and an end surface, there may be some shift
  • the four regions positioned at the corners may protrude to the casting core (low ⁇ ) side (up and down direction).
  • the protrusion amount is desirably within 10% of the thickness in the vertical direction of the dust core.
  • the protruding portion can be used for positioning at the time of assembly.
  • the coil component of this invention is suitable for a reactor, especially a vehicle-mounted reactor, it can be applied to other coil components.
  • the present invention is based on Japanese Patent Application No. 2015-164925 filed with the Japan Patent Office on August 24, 2015, the contents of which are incorporated herein by reference.

Landscapes

  • Engineering & Computer Science (AREA)
  • Power Engineering (AREA)
  • Microelectronics & Electronic Packaging (AREA)
  • Chemical & Material Sciences (AREA)
  • Composite Materials (AREA)
  • Dispersion Chemistry (AREA)
  • Coils Of Transformers For General Uses (AREA)
  • Coils Or Transformers For Communication (AREA)
PCT/JP2016/073162 2015-08-24 2016-08-05 コイル部品 Ceased WO2017033711A1 (ja)

Priority Applications (3)

Application Number Priority Date Filing Date Title
KR1020187008374A KR102507790B1 (ko) 2015-08-24 2016-08-05 코일 부품
US15/750,486 US10811179B2 (en) 2015-08-24 2016-08-05 Coil component
CN201680048063.1A CN107924748B (zh) 2015-08-24 2016-08-05 线圈部件

Applications Claiming Priority (2)

Application Number Priority Date Filing Date Title
JP2015164925A JP6552332B2 (ja) 2015-08-24 2015-08-24 コイル部品
JP2015-164925 2015-08-24

Publications (1)

Publication Number Publication Date
WO2017033711A1 true WO2017033711A1 (ja) 2017-03-02

Family

ID=58100073

Family Applications (1)

Application Number Title Priority Date Filing Date
PCT/JP2016/073162 Ceased WO2017033711A1 (ja) 2015-08-24 2016-08-05 コイル部品

Country Status (5)

Country Link
US (1) US10811179B2 (enExample)
JP (1) JP6552332B2 (enExample)
KR (1) KR102507790B1 (enExample)
CN (1) CN107924748B (enExample)
WO (1) WO2017033711A1 (enExample)

Families Citing this family (3)

* Cited by examiner, † Cited by third party
Publication number Priority date Publication date Assignee Title
JP7189657B2 (ja) * 2017-03-24 2022-12-14 株式会社トーキン コイル部品
JP6893182B2 (ja) * 2018-01-17 2021-06-23 株式会社トーキン リアクトル及び昇圧回路
WO2022024535A1 (ja) * 2020-07-31 2022-02-03 株式会社村田製作所 リアクトルおよびリアクトルの製造方法

Citations (2)

* Cited by examiner, † Cited by third party
Publication number Priority date Publication date Assignee Title
JP2001185421A (ja) * 1998-12-28 2001-07-06 Matsushita Electric Ind Co Ltd 磁性素子およびその製造方法
JP2015159144A (ja) * 2014-02-21 2015-09-03 ミツミ電機株式会社 インダクタ

Family Cites Families (13)

* Cited by examiner, † Cited by third party
Publication number Priority date Publication date Assignee Title
US6392525B1 (en) * 1998-12-28 2002-05-21 Matsushita Electric Industrial Co., Ltd. Magnetic element and method of manufacturing the same
JP4684461B2 (ja) * 2000-04-28 2011-05-18 パナソニック株式会社 磁性素子の製造方法
JP4851062B2 (ja) * 2003-12-10 2012-01-11 スミダコーポレーション株式会社 インダクタンス素子の製造方法
US8988177B1 (en) * 2008-12-15 2015-03-24 Marvell International Ltd. Magnetic core having flux paths with substantially equivalent reluctance
JP5140065B2 (ja) 2009-12-28 2013-02-06 株式会社神戸製鋼所 リアクトル
JP4737477B1 (ja) * 2010-02-25 2011-08-03 住友電気工業株式会社 リアクトルの製造方法
JP5561536B2 (ja) 2010-06-17 2014-07-30 住友電気工業株式会社 リアクトル、及びコンバータ
KR101380033B1 (ko) 2010-06-22 2014-04-01 코오롱인더스트리 주식회사 전도성 분산액 및 전도성 적층체
KR20120089899A (ko) 2010-12-20 2012-08-16 콘티넨탈 오토모티브 시스템 주식회사 자동 변속기의 댐퍼 클러치 제어 방법
JP5408272B2 (ja) 2012-02-08 2014-02-05 住友電気工業株式会社 リアクトル用コア、リアクトル、及びコンバータ
JP6032551B2 (ja) * 2012-02-08 2016-11-30 住友電気工業株式会社 リアクトル、コンバータ、及び電力変換装置
CN202839232U (zh) 2012-09-18 2013-03-27 艾默生网络能源有限公司 一种磁芯及磁性元件
JP6562701B2 (ja) * 2015-04-17 2019-08-21 株式会社トーキン コイル部品

Patent Citations (2)

* Cited by examiner, † Cited by third party
Publication number Priority date Publication date Assignee Title
JP2001185421A (ja) * 1998-12-28 2001-07-06 Matsushita Electric Ind Co Ltd 磁性素子およびその製造方法
JP2015159144A (ja) * 2014-02-21 2015-09-03 ミツミ電機株式会社 インダクタ

Also Published As

Publication number Publication date
US10811179B2 (en) 2020-10-20
CN107924748B (zh) 2019-10-01
KR20180048771A (ko) 2018-05-10
JP2017045765A (ja) 2017-03-02
KR102507790B1 (ko) 2023-03-07
US20190019607A1 (en) 2019-01-17
JP6552332B2 (ja) 2019-07-31
CN107924748A (zh) 2018-04-17

Similar Documents

Publication Publication Date Title
JP6464582B2 (ja) 磁気回路部品
CN102782782B (zh) 静止器
US11735351B2 (en) Magnetic coupling reactor apparatus
JP6552332B2 (ja) コイル部品
JP2012099739A (ja) コアセグメント、環状コイルコア及び環状コイル
JP6635316B2 (ja) リアクトル
JP2012023090A (ja) リアクトル
JPWO2016031993A1 (ja) リアクトル
WO2018056049A1 (ja) リアクトル、及びリアクトル用磁性コア
JP6490355B2 (ja) リアクトル部品及びリアクトル
JP2019201084A (ja) コイル部品、回路基板、及び電源装置
JP5189637B2 (ja) コイル部品及びそれを用いた電源回路
EP2750146A1 (en) Superconducting coil and superconducting device
JP6562701B2 (ja) コイル部品
JP6075678B2 (ja) 複合磁心、リアクトルおよび電源装置
JP5140065B2 (ja) リアクトル
JP2017045765A5 (enExample)
JP2018064025A (ja) コイル部品
JP2020009866A (ja) インダクタ、回路基板、及び電源装置
JP7296047B2 (ja) リアクトル
JP2011138940A (ja) リアクトル
JP5531773B2 (ja) 回転電機
WO2019181480A1 (ja) リアクトル
US20230360836A1 (en) Transformer
JP2018064079A (ja) コイル部品

Legal Events

Date Code Title Description
121 Ep: the epo has been informed by wipo that ep was designated in this application

Ref document number: 16839058

Country of ref document: EP

Kind code of ref document: A1

NENP Non-entry into the national phase

Ref country code: DE

ENP Entry into the national phase

Ref document number: 20187008374

Country of ref document: KR

Kind code of ref document: A

122 Ep: pct application non-entry in european phase

Ref document number: 16839058

Country of ref document: EP

Kind code of ref document: A1