WO2015145841A1 - 回転検出センサおよびその樹脂成形型 - Google Patents

回転検出センサおよびその樹脂成形型 Download PDF

Info

Publication number
WO2015145841A1
WO2015145841A1 PCT/JP2014/077577 JP2014077577W WO2015145841A1 WO 2015145841 A1 WO2015145841 A1 WO 2015145841A1 JP 2014077577 W JP2014077577 W JP 2014077577W WO 2015145841 A1 WO2015145841 A1 WO 2015145841A1
Authority
WO
WIPO (PCT)
Prior art keywords
cable
mold
sensor
resin
main body
Prior art date
Legal status (The legal status is an assumption and is not a legal conclusion. Google has not performed a legal analysis and makes no representation as to the accuracy of the status listed.)
Ceased
Application number
PCT/JP2014/077577
Other languages
English (en)
French (fr)
Japanese (ja)
Inventor
足立和寛
川崎浩司
Current Assignee (The listed assignees may be inaccurate. Google has not performed a legal analysis and makes no representation or warranty as to the accuracy of the list.)
Aisin Corp
Original Assignee
Aisin Seiki Co Ltd
Priority date (The priority date is an assumption and is not a legal conclusion. Google has not performed a legal analysis and makes no representation as to the accuracy of the date listed.)
Filing date
Publication date
Application filed by Aisin Seiki Co Ltd filed Critical Aisin Seiki Co Ltd
Priority to US15/117,932 priority Critical patent/US10209094B2/en
Publication of WO2015145841A1 publication Critical patent/WO2015145841A1/ja
Anticipated expiration legal-status Critical
Ceased legal-status Critical Current

Links

Images

Classifications

    • GPHYSICS
    • G01MEASURING; TESTING
    • G01DMEASURING NOT SPECIALLY ADAPTED FOR A SPECIFIC VARIABLE; ARRANGEMENTS FOR MEASURING TWO OR MORE VARIABLES NOT COVERED IN A SINGLE OTHER SUBCLASS; TARIFF METERING APPARATUS; MEASURING OR TESTING NOT OTHERWISE PROVIDED FOR
    • G01D5/00Mechanical means for transferring the output of a sensing member; Means for converting the output of a sensing member to another variable where the form or nature of the sensing member does not constrain the means for converting; Transducers not specially adapted for a specific variable
    • G01D5/12Mechanical means for transferring the output of a sensing member; Means for converting the output of a sensing member to another variable where the form or nature of the sensing member does not constrain the means for converting; Transducers not specially adapted for a specific variable using electric or magnetic means
    • GPHYSICS
    • G01MEASURING; TESTING
    • G01PMEASURING LINEAR OR ANGULAR SPEED, ACCELERATION, DECELERATION, OR SHOCK; INDICATING PRESENCE, ABSENCE, OR DIRECTION, OF MOVEMENT
    • G01P1/00Details of instruments
    • G01P1/02Housings
    • G01P1/026Housings for speed measuring devices, e.g. pulse generator
    • BPERFORMING OPERATIONS; TRANSPORTING
    • B29WORKING OF PLASTICS; WORKING OF SUBSTANCES IN A PLASTIC STATE IN GENERAL
    • B29CSHAPING OR JOINING OF PLASTICS; SHAPING OF MATERIAL IN A PLASTIC STATE, NOT OTHERWISE PROVIDED FOR; AFTER-TREATMENT OF THE SHAPED PRODUCTS, e.g. REPAIRING
    • B29C45/00Injection moulding, i.e. forcing the required volume of moulding material through a nozzle into a closed mould; Apparatus therefor
    • B29C45/14Injection moulding, i.e. forcing the required volume of moulding material through a nozzle into a closed mould; Apparatus therefor incorporating preformed parts or layers, e.g. injection moulding around inserts or for coating articles
    • B29C45/14065Positioning or centering articles in the mould
    • GPHYSICS
    • G01MEASURING; TESTING
    • G01DMEASURING NOT SPECIALLY ADAPTED FOR A SPECIFIC VARIABLE; ARRANGEMENTS FOR MEASURING TWO OR MORE VARIABLES NOT COVERED IN A SINGLE OTHER SUBCLASS; TARIFF METERING APPARATUS; MEASURING OR TESTING NOT OTHERWISE PROVIDED FOR
    • G01D11/00Component parts of measuring arrangements not specially adapted for a specific variable
    • G01D11/24Housings ; Casings for instruments
    • G01D11/245Housings for sensors
    • GPHYSICS
    • G01MEASURING; TESTING
    • G01PMEASURING LINEAR OR ANGULAR SPEED, ACCELERATION, DECELERATION, OR SHOCK; INDICATING PRESENCE, ABSENCE, OR DIRECTION, OF MOVEMENT
    • G01P3/00Measuring linear or angular speed; Measuring differences of linear or angular speeds
    • G01P3/42Devices characterised by the use of electric or magnetic means
    • G01P3/44Devices characterised by the use of electric or magnetic means for measuring angular speed
    • G01P3/48Devices characterised by the use of electric or magnetic means for measuring angular speed by measuring frequency of generated current or voltage
    • G01P3/481Devices characterised by the use of electric or magnetic means for measuring angular speed by measuring frequency of generated current or voltage of pulse signals
    • G01P3/487Devices characterised by the use of electric or magnetic means for measuring angular speed by measuring frequency of generated current or voltage of pulse signals delivered by rotating magnets
    • BPERFORMING OPERATIONS; TRANSPORTING
    • B29WORKING OF PLASTICS; WORKING OF SUBSTANCES IN A PLASTIC STATE IN GENERAL
    • B29CSHAPING OR JOINING OF PLASTICS; SHAPING OF MATERIAL IN A PLASTIC STATE, NOT OTHERWISE PROVIDED FOR; AFTER-TREATMENT OF THE SHAPED PRODUCTS, e.g. REPAIRING
    • B29C45/00Injection moulding, i.e. forcing the required volume of moulding material through a nozzle into a closed mould; Apparatus therefor
    • B29C45/14Injection moulding, i.e. forcing the required volume of moulding material through a nozzle into a closed mould; Apparatus therefor incorporating preformed parts or layers, e.g. injection moulding around inserts or for coating articles
    • B29C45/14065Positioning or centering articles in the mould
    • B29C2045/14122Positioning or centering articles in the mould using fixed mould wall projections for centering the insert

Definitions

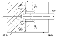
  • the concave portion which is the mark of the cable held by the first to third holding portions, is not formed at the position where the plane including the cable center line of the bent portion intersects, and the cable center line of the bent portion It is possible to prevent the lowering of the bending rigidity of the covering portion at the portion intersecting with the plane including, and to improve the strength.
  • the molding portion 4 fixes the resin-made covering portion 4a (hereinafter referred to as "covering portion 4a") that covers the extension of the cable 2 from the sensor main body 3 together with a part of the sensor main body 3 to the vehicle side. And a fixed support 4b provided with a bolt fixing portion 4c.
  • the third molding die C3 holds the cable 2 while applying a bending force to form the bending portion 7 on the side extending beyond the portion held by the first holding portion 17 in the cable 2 It has nineteen.
  • the second holding portion 19 holds the cable 2 in a state of pressing and bending the cable 2 toward the lower side in the cable bending direction as the third molding die C3 moves closer to the cable 2 from the upper side in the cable bending direction.

Landscapes

  • Physics & Mathematics (AREA)
  • General Physics & Mathematics (AREA)
  • Engineering & Computer Science (AREA)
  • Manufacturing & Machinery (AREA)
  • Mechanical Engineering (AREA)
  • Injection Moulding Of Plastics Or The Like (AREA)
  • Moulds For Moulding Plastics Or The Like (AREA)
PCT/JP2014/077577 2014-03-24 2014-10-16 回転検出センサおよびその樹脂成形型 Ceased WO2015145841A1 (ja)

Priority Applications (1)

Application Number Priority Date Filing Date Title
US15/117,932 US10209094B2 (en) 2014-03-24 2014-10-16 Rotation detection sensor and resin molding die for the sensor

Applications Claiming Priority (2)

Application Number Priority Date Filing Date Title
JP2014-059694 2014-03-24
JP2014059694A JP6287420B2 (ja) 2014-03-24 2014-03-24 回転検出センサおよびその樹脂成形型

Publications (1)

Publication Number Publication Date
WO2015145841A1 true WO2015145841A1 (ja) 2015-10-01

Family

ID=54194413

Family Applications (1)

Application Number Title Priority Date Filing Date
PCT/JP2014/077577 Ceased WO2015145841A1 (ja) 2014-03-24 2014-10-16 回転検出センサおよびその樹脂成形型

Country Status (3)

Country Link
US (1) US10209094B2 (enExample)
JP (1) JP6287420B2 (enExample)
WO (1) WO2015145841A1 (enExample)

Cited By (1)

* Cited by examiner, † Cited by third party
Publication number Priority date Publication date Assignee Title
JP2019184272A (ja) * 2018-04-03 2019-10-24 株式会社デンソー 位置検出装置

Families Citing this family (10)

* Cited by examiner, † Cited by third party
Publication number Priority date Publication date Assignee Title
JP6270043B2 (ja) * 2014-07-11 2018-01-31 株式会社デンソー 回転検出装置
JP6135612B2 (ja) * 2014-07-11 2017-05-31 株式会社デンソー 回転検出装置および回転検出装置の製造方法
JP6679470B2 (ja) * 2016-12-05 2020-04-15 株式会社東海理化電機製作所 金型装置、インサート成形品の製造方法、及びインサート成形品
CN206698545U (zh) * 2017-03-31 2017-12-01 泰科电子(上海)有限公司 电子元件支撑架、电子元件组件及电器组件
DE102017007399A1 (de) * 2017-08-04 2019-02-07 Wabco Gmbh Drehzahlsensor für ein Fahrzeug, insbesondere Nutzfahrzeug, sowie ein Verfahren zu dessen Herstellung
CN109531919B (zh) * 2018-12-29 2020-12-29 上海超日精密模具有限公司 一种带有金属嵌件的马达外壳注塑方法及其注塑模具
EP3730273B1 (en) * 2019-04-24 2025-01-15 TE Connectivity Germany GmbH Injection mold for overmolding inserts in a workpiece and injection-molded workpiece having an insert
US20210172208A1 (en) * 2019-12-04 2021-06-10 Kiekert Ag Sensor lever for technical applications in motor vehicles
JP2021124460A (ja) 2020-02-07 2021-08-30 日立金属株式会社 回転検出装置
CN114088126A (zh) * 2021-11-23 2022-02-25 江苏驭芯传感器科技有限公司 一种用于传感器的密封结构

Citations (2)

* Cited by examiner, † Cited by third party
Publication number Priority date Publication date Assignee Title
JP2000097955A (ja) * 1998-09-22 2000-04-07 Honda Lock Mfg Co Ltd センサ装置
JP2006322875A (ja) * 2005-05-20 2006-11-30 Denso Corp 車両用回転検出装置およびその製造方法

Family Cites Families (6)

* Cited by examiner, † Cited by third party
Publication number Priority date Publication date Assignee Title
JPS5462088U (enExample) * 1977-10-12 1979-05-01
JPS5970527A (ja) * 1982-10-16 1984-04-21 Oiles Ind Co Ltd 湾曲部を備えた索導管の製造方法
DE19857880B4 (de) 1997-12-18 2008-07-31 Honda Lock Mfg. Co., Ltd. Sensor
JPH11325961A (ja) * 1998-05-19 1999-11-26 Toyo Denso Co Ltd 回転検出器のセンサ本体
DE102007060604A1 (de) * 2007-12-13 2009-06-18 Continental Teves Ag & Co. Ohg Magnetfeld-Sensorelement
JP2015100917A (ja) * 2013-11-20 2015-06-04 トヨタ自動車株式会社 インサート成形品、インサート成形品用金型、およびインサート成形品製造方法

Patent Citations (2)

* Cited by examiner, † Cited by third party
Publication number Priority date Publication date Assignee Title
JP2000097955A (ja) * 1998-09-22 2000-04-07 Honda Lock Mfg Co Ltd センサ装置
JP2006322875A (ja) * 2005-05-20 2006-11-30 Denso Corp 車両用回転検出装置およびその製造方法

Cited By (2)

* Cited by examiner, † Cited by third party
Publication number Priority date Publication date Assignee Title
JP2019184272A (ja) * 2018-04-03 2019-10-24 株式会社デンソー 位置検出装置
JP7106947B2 (ja) 2018-04-03 2022-07-27 株式会社デンソー 位置検出装置

Also Published As

Publication number Publication date
JP6287420B2 (ja) 2018-03-07
US20160356627A1 (en) 2016-12-08
US10209094B2 (en) 2019-02-19
JP2015184094A (ja) 2015-10-22

Similar Documents

Publication Publication Date Title
WO2015145841A1 (ja) 回転検出センサおよびその樹脂成形型
JP2015184094A5 (enExample)
JP2011510310A5 (enExample)
US10072692B2 (en) Resin component fastener structure and molding device therefor
US9523592B2 (en) Rotation detector
JP5721774B2 (ja) ボールジョイント
KR101068233B1 (ko) 차동장치용 전자식 액츄에이터
JP4487851B2 (ja) 車両用回転検出装置の製造方法
JP5655826B2 (ja) 回転検出装置およびその製造方法
US20220032512A1 (en) Vehicle component for a motor vehicle and method for producing a vehicle component of this kind
JP2005227095A (ja) 磁気変量センサ
KR102122732B1 (ko) 휠 속도센서 조립체
JP6715110B2 (ja) ストロークセンサ及び鞍乗り型車両
WO2014126123A1 (ja) 雌端子及び端子製造装置
JP5915440B2 (ja) 車輪速センサ
JP6503588B2 (ja) 樹脂一体成形型レゾルバステータ構造
JP6344043B2 (ja) センサ
US20160256909A1 (en) Mandrel
WO2018079231A1 (ja) 雄型コネクタ
JP5949178B2 (ja) トルク検出装置用ヨーク組立体及びその製造方法
JP6270043B2 (ja) 回転検出装置
JP2013043593A5 (enExample)
JP2013194759A (ja) ヒンジ装置
JP2014151465A (ja) 成形用金型
JP5949320B2 (ja) トルク検出装置用ヨーク組立体及びその製造方法

Legal Events

Date Code Title Description
121 Ep: the epo has been informed by wipo that ep was designated in this application

Ref document number: 14886889

Country of ref document: EP

Kind code of ref document: A1

WWE Wipo information: entry into national phase

Ref document number: 15117932

Country of ref document: US

NENP Non-entry into the national phase

Ref country code: DE

122 Ep: pct application non-entry in european phase

Ref document number: 14886889

Country of ref document: EP

Kind code of ref document: A1