WO2015079663A1 - A/d conversion device with a multiphase clock generation unit based on phase interpolators - Google Patents

A/d conversion device with a multiphase clock generation unit based on phase interpolators Download PDF

Info

Publication number
WO2015079663A1
WO2015079663A1 PCT/JP2014/005841 JP2014005841W WO2015079663A1 WO 2015079663 A1 WO2015079663 A1 WO 2015079663A1 JP 2014005841 W JP2014005841 W JP 2014005841W WO 2015079663 A1 WO2015079663 A1 WO 2015079663A1
Authority
WO
WIPO (PCT)
Prior art keywords
phase
signal
clock
unit
conversion
Prior art date
Legal status (The legal status is an assumption and is not a legal conclusion. Google has not performed a legal analysis and makes no representation as to the accuracy of the status listed.)
Ceased
Application number
PCT/JP2014/005841
Other languages
English (en)
French (fr)
Inventor
Takanori Saeki
Tomohiro Takahashi
Yuiti TAKEDA
Atsushi Suzuki
Current Assignee (The listed assignees may be inaccurate. Google has not performed a legal analysis and makes no representation or warranty as to the accuracy of the list.)
Sony Corp
Original Assignee
Sony Corp
Priority date (The priority date is an assumption and is not a legal conclusion. Google has not performed a legal analysis and makes no representation as to the accuracy of the date listed.)
Filing date
Publication date
Application filed by Sony Corp filed Critical Sony Corp
Priority to CN201480063496.5A priority Critical patent/CN105830434B/zh
Priority to US15/025,378 priority patent/US10334195B2/en
Priority to CN201910972975.3A priority patent/CN110677607B/zh
Priority to KR1020167013394A priority patent/KR20160091328A/ko
Publication of WO2015079663A1 publication Critical patent/WO2015079663A1/en
Anticipated expiration legal-status Critical
Priority to US16/430,793 priority patent/US10659710B2/en
Ceased legal-status Critical Current

Links

Images

Classifications

    • HELECTRICITY
    • H04ELECTRIC COMMUNICATION TECHNIQUE
    • H04NPICTORIAL COMMUNICATION, e.g. TELEVISION
    • H04N25/00Circuitry of solid-state image sensors [SSIS]; Control thereof
    • H04N25/70SSIS architectures; Circuits associated therewith
    • H04N25/71Charge-coupled device [CCD] sensors; Charge-transfer registers specially adapted for CCD sensors
    • H04N25/75Circuitry for providing, modifying or processing image signals from the pixel array
    • HELECTRICITY
    • H03ELECTRONIC CIRCUITRY
    • H03KPULSE TECHNIQUE
    • H03K5/00Manipulating of pulses not covered by one of the other main groups of this subclass
    • HELECTRICITY
    • H03ELECTRONIC CIRCUITRY
    • H03KPULSE TECHNIQUE
    • H03K23/00Pulse counters comprising counting chains; Frequency dividers comprising counting chains
    • H03K23/004Counters counting in a non-natural counting order, e.g. random counters
    • H03K23/005Counters counting in a non-natural counting order, e.g. random counters using minimum change code, e.g. Gray Code
    • HELECTRICITY
    • H03ELECTRONIC CIRCUITRY
    • H03KPULSE TECHNIQUE
    • H03K5/00Manipulating of pulses not covered by one of the other main groups of this subclass
    • H03K5/15Arrangements in which pulses are delivered at different times at several outputs, i.e. pulse distributors
    • HELECTRICITY
    • H03ELECTRONIC CIRCUITRY
    • H03LAUTOMATIC CONTROL, STARTING, SYNCHRONISATION OR STABILISATION OF GENERATORS OF ELECTRONIC OSCILLATIONS OR PULSES
    • H03L7/00Automatic control of frequency or phase; Synchronisation
    • H03L7/06Automatic control of frequency or phase; Synchronisation using a reference signal applied to a frequency- or phase-locked loop
    • H03L7/08Details of the phase-locked loop
    • HELECTRICITY
    • H03ELECTRONIC CIRCUITRY
    • H03MCODING; DECODING; CODE CONVERSION IN GENERAL
    • H03M1/00Analogue/digital conversion; Digital/analogue conversion
    • H03M1/12Analogue/digital converters
    • HELECTRICITY
    • H03ELECTRONIC CIRCUITRY
    • H03MCODING; DECODING; CODE CONVERSION IN GENERAL
    • H03M1/00Analogue/digital conversion; Digital/analogue conversion
    • H03M1/12Analogue/digital converters
    • H03M1/1205Multiplexed conversion systems
    • H03M1/123Simultaneous, i.e. using one converter per channel but with common control or reference circuits for multiple converters
    • HELECTRICITY
    • H03ELECTRONIC CIRCUITRY
    • H03MCODING; DECODING; CODE CONVERSION IN GENERAL
    • H03M1/00Analogue/digital conversion; Digital/analogue conversion
    • H03M1/12Analogue/digital converters
    • H03M1/124Sampling or signal conditioning arrangements specially adapted for A/D converters
    • H03M1/1245Details of sampling arrangements or methods
    • H03M1/1255Synchronisation of the sampling frequency or phase to the input frequency or phase
    • HELECTRICITY
    • H04ELECTRIC COMMUNICATION TECHNIQUE
    • H04NPICTORIAL COMMUNICATION, e.g. TELEVISION
    • H04N25/00Circuitry of solid-state image sensors [SSIS]; Control thereof
    • H04N25/70SSIS architectures; Circuits associated therewith
    • H04N25/76Addressed sensors, e.g. MOS or CMOS sensors
    • H04N25/77Pixel circuitry, e.g. memories, A/D converters, pixel amplifiers, shared circuits or shared components
    • H04N25/772Pixel circuitry, e.g. memories, A/D converters, pixel amplifiers, shared circuits or shared components comprising A/D, V/T, V/F, I/T or I/F converters
    • HELECTRICITY
    • H04ELECTRIC COMMUNICATION TECHNIQUE
    • H04NPICTORIAL COMMUNICATION, e.g. TELEVISION
    • H04N25/00Circuitry of solid-state image sensors [SSIS]; Control thereof
    • H04N25/70SSIS architectures; Circuits associated therewith
    • H04N25/76Addressed sensors, e.g. MOS or CMOS sensors
    • H04N25/78Readout circuits for addressed sensors, e.g. output amplifiers or A/D converters
    • HELECTRICITY
    • H03ELECTRONIC CIRCUITRY
    • H03KPULSE TECHNIQUE
    • H03K5/00Manipulating of pulses not covered by one of the other main groups of this subclass
    • H03K2005/00013Delay, i.e. output pulse is delayed after input pulse and pulse length of output pulse is dependent on pulse length of input pulse
    • H03K2005/00019Variable delay
    • H03K2005/00026Variable delay controlled by an analog electrical signal, e.g. obtained after conversion by a D/A converter
    • H03K2005/00052Variable delay controlled by an analog electrical signal, e.g. obtained after conversion by a D/A converter by mixing the outputs of fixed delayed signals with each other or with the input signal
    • HELECTRICITY
    • H03ELECTRONIC CIRCUITRY
    • H03KPULSE TECHNIQUE
    • H03K5/00Manipulating of pulses not covered by one of the other main groups of this subclass
    • H03K5/13Arrangements having a single output and transforming input signals into pulses delivered at desired time intervals
    • H03K5/135Arrangements having a single output and transforming input signals into pulses delivered at desired time intervals by the use of time reference signals, e.g. clock signals
    • HELECTRICITY
    • H03ELECTRONIC CIRCUITRY
    • H03MCODING; DECODING; CODE CONVERSION IN GENERAL
    • H03M1/00Analogue/digital conversion; Digital/analogue conversion
    • H03M1/12Analogue/digital converters
    • H03M1/50Analogue/digital converters with intermediate conversion to time interval
    • H03M1/56Input signal compared with linear ramp

Definitions

  • the present technology relates to an A/D conversion device, a gray code generation device, a signal processing device, an imaging element, and an electronic device, and more particularly, to an A/D conversion device, a gray code generation device, a signal processing device, an imaging element, and an electronic device configured to achieve high speed, high resolution, or both thereof more easily.
  • a solid-state imaging element disclosed in PTL 1 is configured such that a reference clock is distributed from a PLL (Phase Locked Loop) to a gray code counter and a gray code is distributed from the gray code counter to an A/D converter of each column.
  • PLL Phase Locked Loop
  • the frequency of the reference clock distributed to all of the A/D converters is the highest in a chip.
  • the frequency of the reference clock has to be increased.
  • the increase in the frequency is not easy. Therefore, it is difficult to achieve the high speed or the high resolution.
  • the present technology is devised in view of such circumstances and it is desirable to achieve high speed, high resolution, or both thereof more easily.
  • an A/D conversion device including: a phase-difference clock generation unit configured to use a plurality of phase interpolators to generate multi-phase clock signals, of which phases are shifted with respect to an input clock signal, from the clock signal and a signal obtained by delaying the clock signal; and an A/D conversion unit configured to perform A/D conversion on an input analog signal using the multi-phase clock signals generated by the phase-difference clock generation unit.
  • the phase-difference clock generation unit may include one delay circuit and four phase interpolators and generates 4-phase clock signals from the input clock signal.
  • the phase interpolator may output an output signal at a timing delayed by a delay time of the phase interpolator from an intermediate timing of a phase difference of two input signals.
  • the A/D conversion unit may include a counter configured to count the number of periods of the clock signal and output a count value as a high-order bit, a comparison unit configured to compare a reference voltage of a ramp waveform and an input voltage, and a time quantization unit configured to acquire phase information by simultaneously latching the multi-phase clock signals generated by the phase-difference clock generation unit using an inversion of an output of the comparison unit as a trigger, decode values of the phase information, and output obtained digital values as low-order bits with higher resolution than a period of the clock signal.
  • an imaging element including: a pixel array configured such that unit pixels that each include a photoelectric conversion element photoelectrically converting incident light are arranged; a phase-difference clock generation unit configured to use a plurality of phase interpolators to generate multi-phase clock signals, of which phases are shifted with respect to an input clock signal, from the clock signal and a signal obtained by delaying the clock signal; and an A/D conversion unit configured to perform A/D conversion on an analog signal output from the unit pixel of the pixel array using the multi-phase clock signals generated by the phase-difference clock generation unit.
  • the A/D conversion unit may be installed at each column or partial region of the unit pixels of the pixel array and may perform the A/D conversion on an analog signal output from the unit pixel of the column or the partial region corresponding to the A/D conversion unit, using the multi-phase clock signal generated by the phase-difference clock generation unit.
  • the phase-difference clock generation unit may be installed at intervals of a predetermined number of columns or partial regions.
  • the A/D conversion unit may perform the A/D conversion using the multi-phase clock signal generated by the phase-difference clock generation unit corresponding to the column or the partial region corresponding to the A/D conversion unit.
  • an electronic device including: an imaging unit configured to image a subject; and an image processing unit configured to perform image processing on image data obtained through the imaging by the imaging unit.
  • the imaging unit includes a pixel array in which unit pixels that each include a photoelectric conversion element photoelectrically converting incident light are arranged, a phase-difference clock generation unit configured to use a plurality of phase interpolators to generate multi-phase clock signals, of which phases are shifted with respect to an input clock signal, from the clock signal and a signal obtained by delaying the clock signal, and an A/D conversion unit configured to perform A/D conversion on an analog signal output from the unit pixel of the pixel array using the multi-phase clock signals generated by the phase-difference clock generation unit.
  • a gray code generation device including: a phase-difference clock generation unit configured to use a plurality of phase interpolators to generate multi-phase clock signals, of which phases are shifted with respect to an input clock signal, from the clock signal and a signal obtained by delaying the clock signal; and a gray code generation unit configured to use a plurality of phase interpolators and logic gates to generate gray codes from the multi-phase clock signals generated by the phase-difference clock generation unit.
  • the gray code generation unit may include a first gray code generation unit configured to generate a high-order gray code from one of the multi-phase clock signals generated by the phase-difference clock generation unit, and a second gray code generation unit configured to generate a low-order gray code from remainder of the multi-phase clock signals generated by the phase-difference clock generation unit.
  • an A/D conversion device including: a phase-difference clock generation unit configured to use a plurality of phase interpolators to generate multi-phase clock signals, of which phases are shifted with respect to an input clock signal, from the clock signal and a signal obtained by delaying the clock signal; a gray code generation unit configured to use a plurality of phase interpolators and logic gates to generate gray codes from the multi-phase clock signals generated by the phase-difference clock generation unit; and an A/D conversion unit configured to perform A/D conversion on an input analog signal using the gray codes generated by the gray code generation unit.
  • the A/D conversion unit may include a counter configured to count the number of periods of the clock signal and output a count value as a high-order bit, a comparison unit configured to compare a reference voltage of a ramp waveform and an input voltage, and a latch configured to simultaneously latch the gray codes generated by the gray code generation unit using an inversion of an output of the comparison unit as a trigger, convert the gray codes into binary values, and output obtained digital values as low-order bits.
  • an imaging element including: a pixel array configured such that unit pixels that each include a photoelectric conversion element photoelectrically converting incident light are arranged; a phase-difference clock generation unit configured to use a plurality of phase interpolators to generate multi-phase clock signals, of which phases are shifted with respect to an input clock signal, from the clock signal and a signal obtained by delaying the clock signal; a gray code generation unit configured to use a plurality of phase interpolators and logic gates to generate gray codes from the multi-phase clock signals generated by the phase-difference clock generation unit; and an A/D conversion unit configured to perform A/D conversion on an analog signal output from the unit pixel of the pixel array using the gray codes generated by the gray code generation unit.
  • the A/D conversion unit may be installed at each column or each partial region of the unit pixels of the pixel array and may perform the A/D conversion on an analog signal output from the unit pixel of the column or the partial region corresponding to the A/D conversion unit, using the gray code generated by the gray code generation unit.
  • the gray code generation unit may be installed at intervals of a predetermined number of columns or partial regions.
  • the A/D conversion unit may perform the A/D conversion using the gray code generated by the gray code generation unit corresponding to the column or the partial region corresponding to the A/D conversion unit.
  • an electronic device including: an imaging unit configured to image a subject; and an image processing unit configured to perform image processing on image data obtained through the imaging by the imaging unit.
  • the imaging unit includes a pixel array in which unit pixels that each include a photoelectric conversion element photoelectrically converting incident light are arranged, a phase-difference clock generation unit configured to use a plurality of phase interpolators to generate multi-phase clock signals, of which phases are shifted with respect to an input clock signal, from the clock signal and a signal obtained by delaying the clock signal, a gray code generation unit configured to use a plurality of phase interpolators and logic gates to generate gray codes from the multi-phase clock signals generated by the phase-difference clock generation unit, and an A/D conversion unit configured to perform A/D conversion on an analog signal output from the unit pixel of the pixel array using the gray code generated by the gray code generation unit.
  • an A/D conversion device including: a phase-difference clock generation unit configured to generate multi-phase clock signals formed from a plurality of clock signals of which phases are mutually shifted; a phase correction unit configured to use a plurality of phase interpolators to correct phase differences between clock signals of the multi-phase clock signals generated by the phase-difference clock generation unit; and an A/D conversion unit configured to perform A/D conversion on an input analog signal using the multi-phase clock signals corrected by the phase correction unit.
  • an imaging element including: a pixel array configured such that unit pixels that each include a photoelectric conversion element photoelectrically converting incident light are arranged; a phase-difference clock generation unit configured to generate multi-phase clock signals formed from a plurality of clock signals of which phases are mutually shifted; a phase correction unit configured to use a plurality of phase interpolators to correct phase differences between clock signals of the multi-phase clock signals generated by the phase-difference clock generation unit; and an A/D conversion unit configured to perform A/D conversion on an analog signal output from the unit pixel of the pixel array using the multi-phase clock signals corrected by the phase correction unit.
  • an electronic device including: an imaging unit configured to image a subject; and an image processing unit configured to perform image processing on image data obtained through the imaging by the imaging unit.
  • the imaging unit includes a pixel array in which unit pixels that each include a photoelectric conversion element photoelectrically converting incident light are arranged, a phase-difference clock generation unit configured to generate multi-phase clock signals formed from a plurality of clock signals of which phases are mutually shifted, a phase correction unit configured to use a plurality of phase interpolators to correct phase differences between clock signals of the multi-phase clock signals generated by the phase-difference clock generation unit, and an A/D conversion unit configured to perform A/D conversion on an analog signal output from the unit pixel of the pixel array using the multi-phase clock signals corrected by the phase correction unit.
  • a signal processing device including a phase correction unit configured to use a plurality of phase interpolators to correct phase differences between clock signals of multi-phase clock signals formed from a plurality of clock signals of which phases are mutually shifted.
  • a plurality of phase interpolators are used to generate multi-phase clock signals, of which phases are shifted with respect to an input clock signal, from the clock signal and a signal obtained by delaying the clock signal, and A/D conversion is performed on an input analog signal using the generated multi-phase clock signals.
  • a plurality of phase interpolators are used to generate multi-phase clock signals, of which phases are shifted with respect to an input clock signal, from the clock signal and a signal obtained by delaying the clock signal, and A/D conversion is performed on an analog signal output from each unit pixel of a pixel array, in which the unit pixels that each include a photoelectric conversion element photoelectrically converting incident light are arranged, using the generated multi-phase clock signals.
  • a plurality of phase interpolators are used to generate multi-phase clock signals, of which phases are shifted with respect to an input clock signal, from the clock signal and a signal obtained by delaying the clock signal, A/D conversion is performed on an analog signal output from a unit pixel of a pixel array, in which the unit pixels that each include a photoelectric conversion element photoelectrically converting incident light are arranged, using the generated multi-phase clock signals, and obtained image data is subjected to image processing.
  • a plurality of phase interpolators are used to generate multi-phase clock signals, of which phases are shifted with respect to an input clock signal, from the clock signal and a signal obtained by delaying the clock signal, and a plurality of phase interpolators and logic gates are used to generate gray codes from the generated multi-phase clock signals.
  • a plurality of phase interpolators are used to generate multi-phase clock signals, of which phases are shifted with respect to an input clock signal, from the clock signal and a signal obtained by delaying the clock signal, a plurality of phase interpolators and logic gates are used to generate gray codes from the generated multi-phase clock signals, and A/D conversion is performed on an input analog signal using the generated gray codes.
  • a plurality of phase interpolators are used to generate multi-phase clock signals, of which phases are shifted with respect to an input clock signal, from the clock signal and a signal obtained by delaying the clock signal, a plurality of phase interpolators and logic gates are used to generate gray codes from the generated multi-phase clock signals, and A/D conversion is performed on an analog signal output from a unit pixel of the pixel array, in which the unit pixels that each include a photoelectric conversion element photoelectrically converting incident light are arranged, using the generated gray codes.
  • a plurality of phase interpolators are used to generate multi-phase clock signals, of which phases are shifted with respect to an input clock signal, from the clock signal and a signal obtained by delaying the clock signal, a plurality of phase interpolators and logic gates are used to generate gray codes from the generated multi-phase clock signals, A/D conversion is performed on an analog signal output from a unit pixel of the pixel array, in which the unit pixels that each include a photoelectric conversion element photoelectrically converting incident light are arranged, using the generated gray code, and obtained image data is subjected to image processing.
  • multi-phase clock signals formed from a plurality of clock signals of which phases are mutually shifted are generated, a plurality of phase interpolators are used to correct phase differences between clock signals of the generated multi-phase clock signals, and A/D conversion is performed on an input analog signal using the corrected multi-phase clock signals.
  • multi-phase clock signals formed from a plurality of clock signals of which phases are mutually shifted are generated, a plurality of phase interpolators are used to correct phase differences between clock signals of the generated multi-phase clock signals, and A/D conversion is performed on an analog signal output from the unit pixel of the pixel array, in which the unit pixels that each include a photoelectric conversion element photoelectrically converting incident light are arranged, using the corrected multi-phase clock signals.
  • multi-phase clock signals formed from a plurality of clock signals of which phases are mutually shifted are generated, a plurality of phase interpolators are used to correct phase differences between clock signals of the generated multi-phase clock signals, A/D conversion is performed on an analog signal output from the unit pixel of the pixel array, in which the pixel units that each include a photoelectric conversion element photoelectrically converting incident light are arranged, and obtained by imaging a subject using the corrected multi-phase clock signals, and obtained image data is subjected to image processing.
  • a plurality of phase interpolators are used to correct phase differences between clock signals of multi-phase clock signals formed from a plurality of clock signals of which phases are mutually shifted.
  • an analog to digital (A/D) conversion which includes a phase-difference clock generation unit configured to use a plurality of phase interpolators to generate multi-phase clock signals, of which phases are shifted with respect to an input clock signal, from the input clock signal and a signal obtained by delaying the input clock signal; and an A/D conversion unit configured to convert an input analog signal using the multi-phase clock signals generated by the phase-difference clock generation unit.
  • an electronic device comprising: a pixel array including a plurality of unit pixels, wherein each unit pixel of the plurality of unit pixels includes a photoelectric conversion element configured to photoelectrically convert incident light; a phase-difference clock generation unit configured to use a plurality of phase interpolators to generate multi-phase clock signals, of which phases are shifted with respect to an input clock signal, from the input clock signal and a signal obtained by delaying the input clock signal; and an analog to digital (A/D) conversion unit configured to convert an analog signal output from the unit pixel of the pixel array using the multi-phase clock signals generated by the phase-difference clock generation unit.
  • A/D analog to digital
  • an electronic device comprising: an imaging unit configured to image a subject; and an image processing unit configured to perform image processing on image data obtained by the imaging unit, wherein the imaging unit includes: a pixel array including a plurality of unit pixels, wherein each unit pixel of the plurality of unit pixels includes a photoelectric conversion element configured to photoelectrically convert incident light; a phase-difference clock generation unit configured to use a plurality of phase interpolators to generate multi-phase clock signals, of which phases are shifted with respect to an input clock signal, from the input clock signal and a signal obtained by delaying the input clock signal, and an analog to digital (A/D) conversion unit configured to convert an analog signal output from the unit pixel of the pixel array using the multi-phase clock signals generated by the phase-difference clock generation unit.
  • A/D analog to digital
  • a gray code generation device comprising: a phase-difference clock generation unit configured to use a plurality of phase interpolators to generate multi-phase clock signals, of which phases are shifted with respect to an input clock signal, from the input clock signal and a signal obtained by delaying the input clock signal; and a gray code generation unit configured to use a plurality of phase interpolators and logic gates to generate gray codes from the multi-phase clock signals generated by the phase-difference clock generation unit.
  • an analog to digital (A/D) conversion device comprising: a phase-difference clock generation unit configured to use a plurality of phase interpolators to generate multi-phase clock signals, of which phases are shifted with respect to an input clock signal, from the input clock signal and a signal obtained by delaying the input clock signal; a gray code generation unit configured to use a plurality of phase interpolators and logic gates to generate gray codes from the multi-phase clock signals generated by the phase-difference clock generation unit; and an A/D conversion unit configured to convert an input analog signal using the gray codes generated by the gray code generation unit.
  • an imaging element including: a pixel array including a plurality of unit pixels, wherein each unit pixel of the plurality of unit pixels includes a photoelectric conversion element configured to photoelectrically convert incident light; a phase-difference clock generation unit configured to use a plurality of phase interpolators to generate multi-phase clock signals, of which phases are shifted with respect to an input clock signal, from the input clock signal and a signal obtained by delaying the input clock signal; a gray code generation unit configured to use a plurality of phase interpolators and logic gates to generate gray codes from the multi-phase clock signals generated by the phase-difference clock generation unit; and an analog to digital (A/D) conversion unit configured to convert an analog signal output from the unit pixel of the pixel array using the gray codes generated by the gray code generation unit.
  • A/D analog to digital
  • an analog to digital (A/D) conversion device comprising: a phase-difference clock generation unit configured to generate multi-phase clock signals formed from a plurality of clock signals of which phases are mutually shifted; a phase correction unit configured to use a plurality of phase interpolators to correct phase differences between clock signals of the multi-phase clock signals generated by the phase-difference clock generation unit; and an A/D conversion unit configured to convert an input analog signal using the multi-phase clock signals corrected by the phase correction unit.
  • an imaging element comprising: a pixel array including a plurality of unit pixels, wherein each unit pixel of the plurality of unit pixels includes a photoelectric conversion element configured to photoelectrically convert incident light; a phase-difference clock generation unit configured to generate multi-phase clock signals based on a plurality of clock signals of which phases are mutually shifted; a phase correction unit configured to use a plurality of phase interpolators to correct phase differences between clock signals of the multi-phase clock signals generated by the phase-difference clock generation unit; and an A/D conversion unit configured to convert an analog signal output from the unit pixel of the pixel array using the multi-phase clock signals corrected by the phase correction unit.
  • an imaging unit configured to image a subject; and an image processing unit configured to perform image processing on image data obtained through the imaging of the subject by the imaging unit, wherein the imaging unit includes: a pixel array including a plurality of unit pixels, wherein each unit pixel of the plurality of unit pixels includes a photoelectric conversion element configured to photoelectrically converting incident light; a phase-difference clock generation unit configured to generate multi-phase clock signals based on a plurality of clock signals of which phases are mutually shifted; a phase correction unit configured to use a plurality of phase interpolators to correct phase differences between clock signals of the multi-phase clock signals generated by the phase-difference clock generation unit; and an analog to digital (A/D) conversion unit configured to convert an analog signal output from the unit pixel of the pixel array using the multi-phase clock signals corrected by the phase correction unit.
  • A/D analog to digital
  • a phase correction unit configured to use a plurality of phase interpolators to correct phase differences between clock signals of multi-phase clock signals formed from a plurality of clock signals, wherein the plurality of clock signals include clock signals having phases which are mutually shifted.
  • a signal can be processed. According to the embodiments of the present technology, it is possible to achieve high speed, high resolution, or both thereof more easily.
  • Fig. 1 is a diagram illustrating an example of a main configuration of an imaging element.
  • Fig. 2 is a diagram for describing an example of a situation of an operation of a ripple counter.
  • Fig. 3 is a diagram illustrating an example of a main configuration of an imaging element.
  • Fig. 4 is a diagram illustrating an example of a main configuration of an imaging element.
  • Fig. 5 is a diagram illustrating an example of a main configuration of a 4-phase clock generation circuit.
  • Fig. 6 is a timing chart for describing an example of a situation of an operation of the 4-phase clock generation circuit.
  • Fig. 7 is a diagram illustrating a delay time and a phase difference of each output signal of the 4-phase clock generation circuit.
  • Fig. 1 is a diagram illustrating an example of a main configuration of an imaging element.
  • Fig. 2 is a diagram for describing an example of a situation of an operation of a ripple counter.
  • Fig. 3 is a diagram illustrating
  • Fig. 8 is a diagram for describing an example of a situation of an operation of a phase interpolator.
  • Fig. 9 is a timing charge for describing an example of the situation of the operation of the phase interpolator.
  • Fig. 10 is a diagram illustrating an example of a main configuration of the phase interpolator.
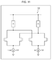
  • Fig. 11 is a diagram illustrating an example of a main configuration of the phase interpolator.
  • Fig. 12 is a diagram illustrating an example of a main configuration of a high-resolution gray code generation circuit.
  • Fig. 13 is a timing chart illustrating an example of a situation of an operation of the high-resolution gray code generation circuit.
  • Fig. 14 is a diagram illustrating another example of the configuration of the high-resolution gray code generation circuit.
  • Fig. 14 is a diagram illustrating another example of the configuration of the high-resolution gray code generation circuit.
  • Fig. 15 is a timing chart illustrating another example of a situation of an operation of the high-resolution gray code generation circuit.
  • Fig. 16 is a diagram illustrating an example of a main configuration of an A/D conversion circuit.
  • Fig. 17 is a diagram illustrating an example of a main configuration of an imaging element.
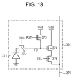
  • Fig. 18 is a diagram illustrating an example of a main configuration of a unit pixel.
  • Fig. 19 is a diagram illustrating an example of a main configuration of an imaging element.
  • Fig. 20 is a diagram illustrating an example of a main configuration of an A/D conversion circuit.
  • Fig. 21 is a diagram illustrating an example of a main configuration of an imaging element.
  • Fig. 22 is a diagram illustrating an example of a main configuration of an imaging element.
  • Fig. 23 is a diagram illustrating an example of a main configuration of a peripheral circuit region.
  • Fig. 24 is a diagram illustrating an example of a main configuration of a peripheral circuit region.
  • Fig. 25A is a diagram illustrating an example of a low-order bit time quantizer.
  • Fig. 25B is a diagram illustrating an example of a low-order bit time quantizer.
  • Fig. 26 is a diagram illustrating an example of a main configuration of a phase correction circuit.
  • Fig. 27 is a diagram illustrating examples of phases of input/output terminals of the phase correction circuit.
  • Fig. 28A is a diagram illustrating an example of a relative dispersion of the phase of each node of the phase correction circuit.
  • Fig. 28A is a diagram illustrating an example of a relative dispersion of the phase of each node of the phase correction circuit.
  • Fig. 28B is a diagram illustrating an example of a relative dispersion of the phase of each node of the phase correction circuit.
  • Fig. 29 is a diagram illustrating an example of a main configuration of an imaging element.
  • Fig. 30 is a diagram illustrating an example of a main configuration of a clock generation unit.
  • Fig. 31 is a diagram illustrating an example of a main configuration of an imaging element.
  • Fig. 32 is a diagram illustrating an example of a main configuration of an imaging device.
  • a charge accumulated in a light reception portion (for example, a photodiode) of a unit pixel is read as a signal voltage (pixel signal) and is subjected to analog/digital conversion (A/D conversion).
  • A/D conversion for example, there has been suggested a method of performing digital conversion by comparing with a signal voltage while varying a reference voltage and acquiring an accordance timing.
  • Japanese Unexamined Patent Application Publication No. 2005-323331 suggests a configuration in which integral type A/D converters are arranged in parallel in columns in an image sensor.
  • An example of an integral parallel-column type column A/D converter is illustrated in Fig. 1.
  • a reference voltage RAMP with a ramp waveform of which a voltage value is linearly changed over time is compared with an input voltage VSL by a comparator and a comparison result is output as VCO.
  • a variation in voltage is converted into a digital value by starting or stopping an operation of a ripple counter at a timing at which the VCO varies and counting a count period.
  • a clock is distributed from a PLL (Phase Locked Loop) and a ramp wave is distributed from a ramp generator to all of the columns.
  • PLL Phase Locked Loop
  • an A/D converter have high resolution if other performances are the same. Further, it is preferable that an A/D converter operate at high speed if other performances are the same.
  • a count number of the ripple counter may be raised.
  • the count number of the counter may be doubled.
  • the frequency of the clock signal has to be raised to 2f [Hz] to be doubled when a conversion period H [s] is maintained. Since it is necessary to distribute the clock signal to all of the columns, loads of the columns connected to the clock signal are large and it is not easy to realize high frequency. For this reason, it is difficult to realize high resolution of the integral type A/D converter disclosed in PTL 2.
  • High speed of an operation of an A/D converter is realized by raising the frequency of a clock signal or increasing the resolution of the A/D converter.
  • both of the raising of the frequency and the increasing of the resolution are not easy. That is, it is difficult to achieve high speed of the integral type A/D converter disclosed in PTL 2.
  • PTL 1 suggests an A/D converter for the purpose of low power consumption.
  • An example of the integral parallel-column type column A/D converter is illustrated in Fig. 3.
  • the integral type A/D converter disclosed in PTL 1 is configured such that a reference clock signal is distributed from a PLL to gray code counters and a gray code is distributed from the gray code counter to each column.
  • the gray code counter is disposed in each of given aggregated column groups, loads on wirings distributing the reference clock signal are considerably reduced and the gray code is used, and thus the same degree of resolution can be obtained with the reference frequency f/2 [Hz].
  • the reference clock signal distributed to the entire A/D converter has the highest frequency in the chip.
  • the integral type A/D converter disclosed in PTL 1 it is also difficult to achieve high speed or high resolution as in the case of the integral type A/D converter disclosed in PTL 2.
  • Japanese Unexamined Patent Application Publication No. 2008-92091 (hereinafter referred to as PTL 3) suggests a method of obtaining phase information by causing a ring oscillator to generate clock signals with different phases and latching the clock signals with a signal of a comparison result so that a resolution is increased.
  • FIG. 4 An example of an integral parallel-column type column A/D converter following this method is illustrated in Fig. 4.
  • the integral type A/D converter disclosed in PTL 3 creates clock signals with different phase by inserting a reference clock signal into a ring oscillator.
  • a PLL is used in the ring oscillator. Then, the clock signals with the different phases are distributed to A/D converters of columns.
  • the integral type A/D converter disclosed in PTL 3 can obtain the same degree of resolution as that of the A/D converter in Fig. 1 when a reference clock input to the PLL has f/8 [Hz].
  • a ring oscillator such as a PLL is configured as an analog circuit including a feedback
  • an area thereof is large and it is difficult to arrange the ring oscillator at each of the given aggregated column groups.
  • a phase-difference clock signal is distributed to all of the columns, and thus it is difficult to maintain a phase difference due to clock skew or the like and it is difficult to achieve high speed or high resolution.
  • high speed or high resolution is designed to be achieved more easily while suppressing high frequency of a clock signal by using a plurality of phase interpolators to generate multi-phase clock signals, of which phases are shifted with respect to a clock signal, from an input clock signal and signals obtained by delaying the clock signal.
  • Fig. 5 is a diagram illustrating an example of a main configuration of a 4-phase clock generation circuit which is an example of a phase-difference clock generation circuit to which the present technology is applied.
  • the phase-difference clock generation circuit is a circuit that generates phase-difference clock signals (also referred to as multi-phase clock signals) configured by a plurality of clock signals of which phases are mutually shifted by shifting the phase of an input clock signal.
  • a 4-phase clock generation circuit 100 illustrated in Fig. 5 generates 4-phase clock signals formed from four clock signals of which phases are each shifted by a 1/4 period, from an input clock signal SLCK in the same way.
  • the 4-phase clock generation circuit 100 includes a delay circuit 101 and a phase interpolator (PI) 102-1 to a phase interpolator (PI) 102-4.
  • the delay circuit 101 delays the input clock signal SLCK by a predetermined delay time tPD and outputs the delayed clock signal. Any delay time tPD can be used. For example, the delay time tPD may be about a 1/4 period of the clock signal SLCK.
  • the delay circuit 101 supplies the delayed clock signals SLCK to the phase interpolator (PI) 102-1 to the phase interpolator (PI) 102-4.
  • phase interpolator (PI) 102-1 to the phase interpolator (PI) 102-4 are the same circuits.
  • the phase interpolator (PI) 102-1 to the phase interpolator (PI) 102-4 are simply referred to as the phase interpolators 102.
  • the phase interpolator 102 is a circuit with two inputs and one output and outputs a signal at a timing delayed by a predetermined delay time from an intermediate timing of a phase difference between both of input signals. Details of the phase interpolators 102 will be described below.
  • the clock signal SLCK and a signal obtained by delaying the clock signal SLCK by about a 1/4 period are input to the phase interpolator (PI) 102-1.
  • the phase interpolator (PI) 102-1 generates a clock signal q0 which is one of the 4-phase clock signals from these signals and outputs the generated clock signal to the outside of the 4-phase clock generation circuit 100.
  • a signal inverted from the clock signal SLCK and a signal obtained by delaying the clock signal SLCK by about a 1/4 period are input to the phase interpolator (PI) 102-2.
  • the phase interpolator (PI) 102-2 generates a clock signal q1 which is one of the 4-phase clock signals from these signals and outputs the generated clock signal to the outside of the 4-phase clock generation circuit 100.
  • a signal inverted from the clock signal SLCK and a signal inverted from a signal obtained by delaying the clock signal SLCK by about a 1/4 period are input to the phase interpolator (PI) 102-3.
  • the phase interpolator (PI) 102-3 generates a clock signal q2 which is one of the 4-phase clock signals from these signals and outputs the generated clock signal to the outside of the 4-phase clock generation circuit 100.
  • the clock signal SLCK and a signal inverted from a signal obtained by delaying the clock signal SLCK by about a 1/4 period are input to the phase interpolator (PI) 102-4.
  • the phase interpolator (PI) 102-4 generates a clock signal q3 which is one of the 4-phase clock signals from these signals and outputs the generated clock signal to the outside of the 4-phase clock generation circuit 100.
  • the phase interpolators 102 generate the 4-phase clock signals, of which phases are each shifted by a 1/4 period, from the clock signals SLCK and the signals obtained by delaying the clock signal SLCK by about a 1/4 period and output the 4-phase clock signals.
  • Fig. 6 is a timing chart illustrating an example of a situation of an operation of the 4-phase clock generation circuit 100.
  • the phase interpolator (PI) 102-1 generates the clock signal q0 which has the same period as the clock signal SLCK and has a rising edge at a timing delayed by only a fixed delay time of the phase interpolator (PI) 102-1 indicated by a bidirectional arrow 111-1 from an intermediate timing (T11) between a timing (T0) of a rising edge of the clock signal SLCK and a timing (T1) of a rising edge of the clock signal SLCK (SLCK + delay) delayed by only the delay time tPD, and then outputs the generated clock signal.
  • T11 intermediate timing between a timing (T0) of a rising edge of the clock signal SLCK and a timing (T1) of a rising edge of the clock signal SLCK (SLCK + delay) delayed by only the delay time tPD
  • the phase interpolator (PI) 102-2 generates the clock signal q1 which has the same period as the clock signal SLCK and has a rising edge at a timing delayed by only a fixed delay time of the phase interpolator (PI) 102-2 indicated by a bidirectional arrow 111-2 from an intermediate timing (T12) between the timing (T1) of the rising edge of the clock signal SLCK (SLCK + delay) delayed by only the delay time tPD and a timing (T2) of a rising edge (that is, a falling edge of the clock signal SLCK) of the signal inverted from the clock signal SLCK, and then outputs the generated clock signal.
  • T12 intermediate timing between the timing (T1) of the rising edge of the clock signal SLCK (SLCK + delay) delayed by only the delay time tPD and a timing (T2) of a rising edge (that is, a falling edge of the clock signal SLCK) of the signal inverted from the clock signal SLCK
  • the phase interpolator (PI) 102-3 generates the clock signal q2 which has the same period as the clock signal SLCK and has a rising edge at a timing delayed by only a fixed delay time of the phase interpolator (PI) 102-3 indicated by a bidirectional arrow 111-3 from an intermediate timing (T13) between the timing (T2) of the rising edge (that is, the falling edge of the clock signal SLCK) of the signal inverted from the clock signal SLCK and a timing (T3) of a rising edge (that is, a falling edge of the clock signal SLCK (SLCK+ delay) delayed by only the delay time tPD) of the signal inverted from the clock signal SLCK (SLCK + delay) delayed by only the delay time tPD, and then outputs the generated clock signal.
  • T13 intermediate timing between the timing (T2) of the rising edge (that is, the falling edge of the clock signal SLCK) of the signal inverted from the clock signal SLCK and a timing (T3) of a rising edge (that is
  • the phase interpolator (PI) 102-4 generates the clock signal q3 which has the same period as the clock signal SLCK and has a rising edge at a timing delayed by only a fixed delay time of the phase interpolator (PI) 102-4 indicated by a bidirectional arrow 111-4 from an intermediate timing (T14) between the timing (T3) of the rising edge (that is, the falling edge of the clock signal SLCK (SLCK+ delay) delayed by only the delay time tPD) of the signal inverted from the clock signal SLCK (SLCK + delay) delayed by only the delay time tPD and a timing (T4) of a rising edge of the clock signal SLCK, and then outputs the generated clock signal.
  • T3 intermediate timing between the timing (T3) of the rising edge (that is, the falling edge of the clock signal SLCK (SLCK+ delay) delayed by only the delay time tPD) of the signal inverted from the clock signal SLCK (SLCK + delay) delayed by only the delay time tPD and a timing (T4) of
  • the delay times of the clock signal q0 to the clock signal q3, which are 4-phase clock signals, with respect to the clock signal SLCK are illustrated in the table of Fig. 7.
  • the mutual phase difference among the clock signals q0 to the clock signal q3 is the 1/4 period (tCK/4) of the clock signal SLCK. That is, the 4-phase clock generation circuit 100 can generate accurate 4-phase clock signals.
  • the phase interpolator 102 has a circuit configuration of two inputs and one output. When there is a phase difference between the two inputs, a signal is output at an intermediate timing of the phase difference.
  • a signal IN1 is assumed to be input to both of the input terminals of the phase interpolator (PI) 102-1, as in the example of Fig. 8.
  • the signal IN1 is assumed to be input to one of the input terminals of the phase interpolator (PI) 102-2 and a signal IN2 is assumed to be input to the other input terminal.
  • the signal IN2 is assumed to be input to both of the input terminals of the phase interpolator (PI) 102-3.
  • a delay time is assumed to occur by a bidirectional arrow T11 between the signal IN1 and the signal IN2, as illustrated in Fig. 9 and a fixed delay time indicated by a bidirectional arrow T12 is assumed to occur in the phase interpolators 102.
  • the phase interpolator (PI) 102-1 Since only the signal IN1 is input to the phase interpolator (PI) 102-1, the phase interpolator (PI) 102-1 outputs a signal OUT11 delayed by the bidirectional arrow T12 from the signal IN1. That is, when a rising edge of the signal IN1 occurs at a time T0, a rising edge of the signal OUT11 occurs at a time T2 at which the signal OUT11 is delayed by the bidirectional arrow T12 from the time T0.
  • the phase interpolator (PI) 102-3 Since only the signal IN2 is input to the phase interpolator (PI) 102-3, the phase interpolator (PI) 102-3 outputs a signal OUT13 delayed by the bidirectional arrow T12 from the signal IN2. That is, when a rising edge of the signal IN2 occurs at a time T1, a rising edge of the signal OUT13 occurs at a time T4 at which the signal OUT13 is delayed by the bidirectional arrow T12 from the time T1.
  • the phase interpolator (PI) 102-2 outputs a signal OUT12 delayed by the bidirectional arrow T12 from the intermediate timing of the phase difference between the signal IN1 and the signal IN2. That is, when a rising edge of the signal IN1 is assumed to occur at the time T0 and a rising edge of the signal IN2 is assumed to occur at the time T1, a rising edge of the signal OUT12 occurs at a time T3 at which the signal is delayed by the bidirectional arrow T12 from the intermediate time of the time T0 and the time T1.
  • Any intermediate timing can be set according to the configuration of the phase interpolators 102.
  • phase interpolator 102 An example of the configuration of the phase interpolator 102 is illustrated in Figs. 10 and 11.
  • the phase interpolator 102 having a configuration illustrated in Fig. 10 is also referred to as a CMOS phase interpolator (PI).
  • the phase interpolator 102 includes three inverters and outputs of two inverters (inverters 121 and 122) are short-circuited to be input to the remaining inverter (an inverter 123).
  • an output timing becomes W:1-W as in the signal OUT12 of Fig. 9.
  • the phase interpolator 102 having a configuration illustrated in Fig. 11 is also referred to as a CML phase interpolator (PI).
  • the phase interpolator 102 includes two differential circuits and shares a load resistor R.
  • a driving capability of an input transistor is 1-W:W on the assumption that W is a weighting coefficient, as in the CMOS phase interpolator (PI) in the example of Fig. 10
  • an output timing becomes W:1-W, as in the signal OUT12 of Fig. 9.
  • the driving capability is determined by a current value of a current source 131 and a current value of a current source 132.
  • phase-difference clock generation circuit 100 When a phase-difference clock signal (multi-phase clock signal) is generated, a PLL or the like is normally used. Since a PLL is a passive element forming a filter or the like with an analog circuit asking for a feedback, the area thereof is large. On the other hand, the above-described phase interpolator 102 can be realized by three inverters. Accordingly, the 4-phase clock generation circuit 100 can be realized with a simple configuration compared to a PLL. Therefore, by using the 4-phase clock generation circuit 100, it is possible to further reduce a circuit size (area). Accordingly, it is possible to improve the degree of freedom of circuit arrangement. Further, since the 4-phase clock generation circuit 100 does not use a PLL, it is possible to reduce power consumption further than when a PLL is used.
  • the example (4-phase clock generation circuit 100) in which the 4-phase clock signals are generated has been described, but any number of phases of the generated phase-difference clock signal can be used.
  • any number of phases of the generated phase-difference clock signal can be used.
  • the number of the phase interpolators 102 of the phase-difference clock generation circuit, a combination thereof, and the weighting coefficient W thereof from the example (4-phase clock generation circuit 100) in Fig. 5 it is also possible to generate 3-phase clock signals of which phases are each shifted by a 1/3 period or 5-phase clock signals of which phases are each shifted by a 1/5 period.
  • Fig. 12 is a diagram illustrating an example of a main configuration of a high-resolution gray code generation circuit which is an example of a gray code generation device to which the present technology is applied.
  • the gray code generation device is a device that generates a gray code (also referred to as an alternating binary code) from an input clock signal.
  • the gray code is a code in which a Hamming distance between previous and subsequent adjacent codes is normally 1.
  • a high-resolution gray code generation circuit 200 illustrated in Fig. 12 likewise generates 5-bit gray codes from an input clock signal SLCK.
  • the high-resolution gray code generation circuit 200 includes a 4-phase clock generation circuit 201 and a gray code generation circuit 202.
  • the 4-phase clock generation circuit 201 is a circuit that has the same configuration as the 4-phase clock generation circuit 100 (see Fig. 5) described in the first embodiment and performs the same process.
  • the 4-phase clock generation circuit 201 generates 4-phase clock signals (a clock signal q0, a clock signal q1, a clock signal q2, and a clock signal q3) from the input clock signal SLCK and supplies the 4-phase clock signals to the gray code generation circuit 202.
  • the gray code generation circuit 202 includes a plurality of phase interpolators and logic gates and uses the phase interpolators and the logic gates to generate 5-bit gray codes from the 4-phase clock signals (the clock signal q0, the clock signal q1, the clock signal q2, and the clock signal q3) generated in the 4-phase clock generation circuit 201 and output the 5-bit gray codes.
  • the gray code generation circuit 202 includes a phase interpolator (PI) 211-1 to a phase interpolator (PI) 211-8, a phase interpolator (PI) 212-1 to a phase interpolator (PI) 212-16, an XOR 213-1 to an XOR 213-9, and an AND 214-1 to an AND 214-5.
  • phase interpolator (PI) 211-1 to the phase interpolator (PI) 211-8 are circuits that each have the same configuration as the phase interpolator 102 (see Fig. 5) described in the first embodiment and perform the same process.
  • the clock signal q0 output from the 4-phase clock generation circuit 201 is input to both of the input terminals of the phase interpolator (PI) 211-1.
  • the phase interpolator (PI) 211-1 outputs a signal delayed by a fixed delay time of the phase interpolator (PI) 211-1 from the signals.
  • the clock signals q0 and q1 output from the 4-phase clock generation circuit 201 are input to the phase interpolator (PI) 211-2.
  • the phase interpolator (PI) 211-2 outputs a signal delayed by a fixed delay time of the phase interpolator (PI) 211-2 from an intermediate timing of the signals from the signals.
  • the clock signal q1 output from the 4-phase clock generation circuit 201 is input to both of the input terminals of the phase interpolator (PI) 211-3.
  • the phase interpolator (PI) 211-3 outputs a signal delayed by a fixed delay time of the phase interpolator (PI) 211-3 from the signals.
  • the clock signals q1 and q2 output from the 4-phase clock generation circuit 201 are input to the phase interpolator (PI) 211-4.
  • the phase interpolator (PI) 211-4 outputs a signal delayed by a fixed delay time of the phase interpolator (PI) 211-4 from an intermediate timing of the signals from the signals.
  • the clock signal q2 output from the 4-phase clock generation circuit 201 is input to both of the input terminals of the phase interpolator (PI) 211-5.
  • the phase interpolator (PI) 211-5 outputs a signal delayed by a fixed delay time of the phase interpolator (PI) 211-5 from the signals.
  • the clock signals q2 and q3 output from the 4-phase clock generation circuit 201 are input to the phase interpolator (PI) 211-6.
  • the phase interpolator (PI) 211-6 outputs a signal delayed by a fixed delay time of the phase interpolator (PI) 211-6 from an intermediate timing of the signals from the signals.
  • the clock signal q3 output from the 4-phase clock generation circuit 201 is input to both of the input terminals of the phase interpolator (PI) 211-7.
  • the phase interpolator (PI) 211-7 outputs a signal delayed by a fixed delay time of the phase interpolator (PI) 211-7 from the signals.
  • the clock signals q3 and q0 output from the 4-phase clock generation circuit 201 are input to the phase interpolator (PI) 211-8.
  • the phase interpolator (PI) 211-8 outputs a signal delayed by a fixed delay time of the phase interpolator (PI) 211-8 from an intermediate timing of the signals from the signals.
  • phase interpolator (PI) 211-1 to the phase interpolator (PI) 211-8 are simply referred to as the phase interpolators 211.
  • phase interpolator (PI) 212-1 to the phase interpolator (PI) 212-16 are circuits that each have the same configuration as the phase interpolator 102 (see Fig. 5) described in the first embodiment and perform the same process.
  • the output of the phase interpolator (PI) 211-1 is input to both of the input terminals of the phase interpolator (PI) 212-1.
  • the phase interpolator (PI) 212-1 outputs a signal P0 delayed by a fixed delay time of the phase interpolator (PI) 212-1 from the signals.
  • the output of the phase interpolator (PI) 211-1 and the output of the phase interpolator (PI) 211-2 are input to the phase interpolator (PI) 212-2.
  • the phase interpolator (PI) 212-2 outputs a signal P1 delayed by a fixed delay time of the phase interpolator (PI) 212-2 from an intermediate timing of the signals from the signals.
  • the output of the phase interpolator (PI) 211-2 is input to both of the input terminals of the phase interpolator (PI) 212-3.
  • the phase interpolator (PI) 212-3 outputs a signal P2 delayed by a fixed delay time of the phase interpolator (PI) 212-3 from the signals.
  • the output of the phase interpolator (PI) 211-2 and the output of the phase interpolator (PI) 211-3 are input to the phase interpolator (PI) 212-4.
  • the phase interpolator (PI) 212-4 outputs a signal P3 delayed by a fixed delay time of the phase interpolator (PI) 212-4 from an intermediate timing of the signals from the signals.
  • the output of the phase interpolator (PI) 211-3 is input to both of the input terminals of the phase interpolator (PI) 212-5.
  • the phase interpolator (PI) 212-5 outputs a signal P4 delayed by a fixed delay time of the phase interpolator (PI) 212-5 from the signals.
  • the output of the phase interpolator (PI) 211-3 and the output of the phase interpolator (PI) 211-4 are input to the phase interpolator (PI) 212-6.
  • the phase interpolator (PI) 212-6 outputs a signal P5 delayed by a fixed delay time of the phase interpolator (PI) 212-6 from an intermediate timing of the signals from the signals.
  • the output of the phase interpolator (PI) 211-4 is input to both of the input terminals of the phase interpolator (PI) 212-7.
  • the phase interpolator (PI) 212-7 outputs a signal P6 delayed by a fixed delay time of the phase interpolator (PI) 212-7 from the signals.
  • the output of the phase interpolator (PI) 211-4 and the output of the phase interpolator (PI) 211-5 are input to the phase interpolator (PI) 212-8.
  • the phase interpolator (PI) 212-8 outputs a signal P7 delayed by a fixed delay time of the phase interpolator (PI) 212-8 from an intermediate timing of the signals from the signals.
  • the output of the phase interpolator (PI) 211-5 is input to both of the input terminals of the phase interpolator (PI) 212-9.
  • the phase interpolator (PI) 212-9 outputs a signal P8 delayed by a fixed delay time of the phase interpolator (PI) 212-9 from the signals.
  • the output of the phase interpolator (PI) 211-5 and the output of the phase interpolator (PI) 211-6 are input to the phase interpolator (PI) 212-10.
  • the phase interpolator (PI) 212-10 outputs a signal P9 delayed by a fixed delay time of the phase interpolator (PI) 212-10 from an intermediate timing of the signals from the signals.
  • the output of the phase interpolator (PI) 211-6 is input to both of the input terminals of the phase interpolator (PI) 212-11.
  • the phase interpolator (PI) 212-11 outputs a signal P10 delayed by a fixed delay time of the phase interpolator (PI) 212-11 from the signals.
  • the output of the phase interpolator (PI) 211-6 and the output of the phase interpolator (PI) 211-7 are input to the phase interpolator (PI) 212-12.
  • the phase interpolator (PI) 212-12 outputs a signal P11 delayed by a fixed delay time of the phase interpolator (PI) 212-12 from an intermediate timing of the signals from the signals.
  • the output of the phase interpolator (PI) 211-7 is input to both of the input terminals of the phase interpolator (PI) 212-13.
  • the phase interpolator (PI) 212-13 outputs a signal P12 delayed by a fixed delay time of the phase interpolator (PI) 212-13 from the signals.
  • the output of the phase interpolator (PI) 211-7 and the output of the phase interpolator (PI) 211-8 are input to the phase interpolator (PI) 212-14.
  • the phase interpolator (PI) 212-14 outputs a signal P13 delayed by a fixed delay time of the phase interpolator (PI) 212-14 from an intermediate timing of the signals from the signals.
  • the output of the phase interpolator (PI) 211-8 is input to both of the input terminals of the phase interpolator (PI) 212-15.
  • the phase interpolator (PI) 212-15 outputs a signal P14 delayed by a fixed delay time of the phase interpolator (PI) 212-15 from the signals.
  • the output of the phase interpolator (PI) 211-8 and the output of the phase interpolator (PI) 211-1 are input to the phase interpolator (PI) 212-16.
  • the phase interpolator (PI) 212-16 outputs a signal P15 delayed by a fixed delay time of the phase interpolator (PI) 212-16 from an intermediate timing of the signals from the signals.
  • the phase interpolator (PI) 212-1 to the phase interpolator (PI) 212-16 can generate the signal P0 to the signal P15 (that is, 16-phase clock signals) of which phases are each shifted by a 1/16 period.
  • the phase interpolator (PI) 212-1 to the phase interpolator (PI) 212-16 are simply referred to as the phase interpolators 212.
  • the XOR 213-1 to the XOR 213-9 are circuits that each have two inputs and one output and perform an exclusive OR operation.
  • the XOR 213-1 obtains an exclusive OR of the signals P0 and P2 and outputs the operation result.
  • the XOR 213-2 obtains an exclusive OR of the signals P1 and P5 and outputs the operation result.
  • the XOR 213-3 obtains an exclusive OR of the signals P3 and P11 and outputs the operation result.
  • the XOR 213-4 obtains an exclusive OR of the signals P4 and P6 and outputs the operation result.
  • the XOR 213-5 obtains an exclusive OR of the signal P7 and a constant potential (L) and outputs the operation result.
  • the XOR 213-6 obtains an exclusive OR of the signals P8 and P10 and outputs the operation result.
  • the XOR 213-7 obtains an exclusive OR of the signals P9 and P13 and outputs the operation result.
  • the XOR 213-8 obtains an exclusive OR of the signals P12 and P14 and outputs the operation result.
  • the XOR 213-9 obtains an exclusive OR of the signal P15 and the constant potential (L) and outputs the operation result.
  • the AND 214-1 to the AND 214-5 are circuits that each have four inputs and one output and perform a logical AND operation.
  • the AND 214-1 obtains a logical AND of the output of the XOR 213-1, the output of the XOR 213-4, the output of the XOR 213-6, and the output of the XOR 213-8 and outputs the operation result as a least significant bit GC0 of the gray code.
  • the AND 214-2 obtains a logical AND of a constant potential (H), a constant potential (H), the output of the XOR 213-2, and the output of the XOR 213-7 and outputs the operation result as a second bit GC1 from the low order of the gray code.
  • the AND 214-3 obtains a logical AND of a constant potential (H), a constant potential (H), a constant potential (H), and the output of the XOR 213-3 and outputs the operation result as a third bit GC2 from the low order of the gray code.
  • the AND 214-4 obtains a logical AND of a constant potential (H), a constant potential (H), a constant potential (H), and the output of the XOR 213-5 and outputs the operation result as a fourth bit GC3 from the low order of the gray code.
  • the AND 214-5 obtains a logical AND of a constant potential (H), a constant potential (H), a constant potential (H), and the output of the XOR 213-9 and outputs the operation result as a most significant bit GC4 of the gray code.
  • the AND 214-1 to the AND 214-5 generate the 5-bit gray codes (GC0 to GC4), as illustrated in Fig. 13.
  • the AND 214-1 to the AND 214-5 are simply referred to as the ANDs 214.
  • the high-resolution gray code generation circuit 200 uses the phase-difference clock generation circuit to which the present disclosure is applied to generate the 4-phase clock signals from the clock signals SLCK and uses the gray code generation circuit 202 to convert the 4-phase clock signals into the gray codes. Accordingly, as illustrated in Fig. 13, the high-resolution gray code generation circuit 200 can generate the gray codes (that is, high-resolution gray codes) (GC0 to GC3) with a higher frequency component than the signals P0 to P15 with the same frequency as the clock signal SLCK.
  • the gray codes that is, high-resolution gray codes
  • the frequency of the clock signal SLCK has to be raised to generate a higher-resolution gray code.
  • the clock signal SLCK since the clock signal SLCK is used in other circuits, there is a concern that design may be difficult. Further, even when the frequency of the clock signal SLCK is raised, there is a concern that power consumption may be considerably increased.
  • a method of generating a high-frequency clock signal dedicated for the high-resolution gray code generation circuit 200 from the clock signal SLCK can be considered. However, in this case, a PLL is generally used. For this reason, there is a concern that a circuit size or power consumption may be increased.
  • the high-resolution gray code generation circuit 200 can generate the high-resolution gray codes using the phase interpolators and the logic circuits without the raising of the frequency of the clock signal SLCK and use of a PLL or the like. That is, the high-resolution gray code generation circuit 200 can achieve the high resolution of the generated gray codes more easily.
  • the high-resolution gray code generation circuit 200 can reduce the power consumption than when a PLL is used, since no PLL is used.
  • the high-resolution gray code generation circuit 200 can be realized with a simpler configuration than when a PLL is used, and thus the circuit size (area) can be further reduced. Accordingly, the high-resolution gray code generation circuit 200 can improve the degree of freedom of circuit arrangement further than when a PLL is used.
  • the high-resolution gray code generation circuit 200 can use a multi-phase clock generation circuit that generates clock signals with any number of phases to generate the gray codes.
  • an 8-phase clock generation circuit 221 including the 4-phase clock generation circuit 201 and the phase interpolators 211 generate 8-phase clock signals.
  • the high-resolution gray code generation circuit 200 may include the 8-phase clock generation circuit 221 and a gray code generation circuit 223 including the phase interpolators 212, the XORs 213, and the ANDs 214.
  • Fig. 12 an 8-phase clock generation circuit 221 including the 4-phase clock generation circuit 201 and the phase interpolators 211 generate 8-phase clock signals.
  • the high-resolution gray code generation circuit 200 may include the 8-phase clock generation circuit 221 and a gray code generation circuit 223 including the phase interpolators 212, the XORs 213, and the ANDs 214.
  • a 16-phase clock generation circuit 222 including the 4-phase clock generation circuit 201, the phase interpolators 211, and the phase interpolators 212 generates 16-phase clock signals. That is, the high-resolution gray code generation circuit 200 may include the 16-phase clock generation circuit 222 and a gray code generation circuit 224 including the XORs 213 and the ANDs 214.
  • phase interpolators and the logic circuits of the gray code generation circuit 202 can be realized and the present technology is not limited to the example of Fig. 12.
  • NAND gates performing a NOT-AND operation may be used instead of the XORs 213.
  • the high-resolution gray code generation circuit 200 may generate gray codes of 6 bits or more or may generate gray codes of 4 bits or less.
  • the configurations of the phase interpolators and the logic circuits in the gray code generation circuit 202 may be properly set so that gray codes of a desired number of bits can be generated from the 4-phase clock signals generated by the 4-phase clock generation circuit 201 from the clock signals SLCK.
  • Fig. 14 is a diagram illustrating an example of a main configuration of a high-resolution gray code generation circuit which is an example of the gray code generation device to which the present technology is applied.
  • a high-resolution gray code generation circuit 230 illustrated in Fig. 14 generates gray codes (that is, high-resolution gray codes) with a higher frequency component than the frequency of an input clock signal SLCK from the clock signal SLCK.
  • the high-resolution gray code generation circuit 230 includes a phase-difference clock generation circuit 231 and a gray code generation circuit 234.
  • the phase-difference clock generation circuit 231 is an example of the phase-difference clock generation circuit to which the present technology is applied and generates some of the 8-phase clock signals of which phases are each shifted by a 1/8 period from the input clock signal SLCK. More specifically, the phase-difference clock generation circuit 231 generates a signal P0, a signal P1, a signal P2, a signal P4, a signal P6, and a signal P7 among signals P0 to signals P7 of which the phases are each shifted by the 1/8 period, as illustrated in Fig. 15.
  • the phase-difference clock generation circuit 231 includes a 4-phase clock generation circuit 241 and a phase interpolator (PI) 242-1 to a phase interpolator (PI) 242-6.
  • the 4-phase clock generation circuit 241 is a circuit that has the same configuration as the 4-phase clock generation circuit 100 (see Fig. 5) described in the first embodiment and performs the same process.
  • the 4-phase clock generation circuit 241 generates 4-phase clock signals (a clock signal q0, a clock signal q1, a clock signal q2, and a clock signal q3) from the input clock signal SLCK and supplies the 4-phase clock signals to the phase interpolator (PI) 242-1 to the phase interpolator (PI) 242-6.
  • phase interpolator (PI) 242-1 to the phase interpolator (PI) 242-6 are circuits that have the same configuration as the phase interpolators 102 (see Fig. 5) described in the first embodiment and perform the same process.
  • the clock signals q0 and q1 output from the 4-phase clock generation circuit 241 are input to the phase interpolator (PI) 242-1.
  • the phase interpolator (PI) 242-1 outputs a signal P1 delayed by a fixed delay time of the phase interpolator (PI) 242-1 from an intermediate timing of the signals from the signals.
  • the clock signals q3 and q0 output from the 4-phase clock generation circuit 241 are input to the phase interpolator (PI) 242-2.
  • the phase interpolator (PI) 242-2 outputs a signal P7 delayed by a fixed delay time of the phase interpolator (PI) 242-2 from an intermediate timing of the signals from the signals.
  • the clock signal q0 output from the 4-phase clock generation circuit 241 is input to both of the input terminals of the phase interpolator (PI) 242-3.
  • the phase interpolator (PI) 242-3 outputs a signal p0 delayed by a fixed delay time of the phase interpolator (PI) 242-3 from the signals.
  • the clock signal q1 output from the 4-phase clock generation circuit 241 is input to both of the input terminals of the phase interpolator (PI) 242-4.
  • the phase interpolator (PI) 242-4 outputs a signal P2 delayed by a fixed delay time of the phase interpolator (PI) 242-4 from the signals.
  • the clock signal q2 output from the 4-phase clock generation circuit 241 is input to both of the input terminals of the phase interpolator (PI) 242-5.
  • the phase interpolator (PI) 242-5 outputs a signal P4 delayed by a fixed delay time of the phase interpolator (PI) 242-5 from the signals.
  • the clock signal q3 output from the 4-phase clock generation circuit 241 is input to both of the input terminals of the phase interpolator (PI) 242-6.
  • the phase interpolator (PI) 242-6 outputs a signal P6 delayed by a fixed delay time of the phase interpolator (PI) 242-6 from the signals.
  • phase interpolator (PI) 242-1 to the phase interpolator (PI) 242-6 are simply referred to as the phase interpolators 242.
  • the signals P0 to P7 have the same period while the phases thereof are different from each other (are the same as the clock signals SLCK).
  • the gray code generation circuit 234 generates high-resolution gray codes from the multi-phase clock signals (the signal P0, the signal P1, the signal P2, the signal P4, the signal P6, and the signal P7) generated in the phase-difference clock generation circuit 231 and outputs the high-resolution gray codes. As illustrated in Fig. 14, the gray code generation circuit 234 includes a gray code generation circuit 232 and an additional gray code generation circuit 233.
  • the gray code generation circuit 232 generates 5-bit gray codes (GC [0 to 4]) from the signal P1 and outputs the 5-bit gray codes.
  • Low-order 3 bits (GC0 to GC2) of the gray codes are illustrated in Fig. 15.
  • the signal P1 has a different phase from that of the clock signal SLCK while the period thereof is not changed. That is, the gray code generation circuit 232 can be realized by a general gray code generation circuit that generates gray codes from the clock signal SLCK. Accordingly, the gray code generation circuit 232 has any configuration.
  • the gray code counter described in PTL 1 illustrated in Fig. 3 may be used.
  • the additional gray code generation circuit 233 generates 2-bit gray codes (GC-LSB[0] and GC-LSB[1]) lower than the gray codes (GC[0 to 4]) generated by the gray code generation circuit 232 from the signals P7, P0, P2, P4, and P6 and outputs the gray codes. Examples of the gray codes (GC-LSB[0] and GC-LSB[1]) are illustrated in Fig. 15. That is, the additional gray code generation circuit 233 generates gray codes (that is, high-resolution gray codes) with a higher frequency component than the frequency of the clock signal SLCK input to the high-resolution gray code generation circuit 230.
  • the additional gray code generation circuit 233 includes five NAND gates (a NAND 251 to a NAND 255).
  • Each of the NAND 251 to the NAND 255 is a circuit that has two inputs and one output and performs a NOT-AND operation.
  • the NAND 251 obtains a NOT-AND of a constant potential (H) and the signal P7 and outputs the operation result.
  • the NAND 252 obtains a NOT-AND of a constant potential (H) and the output of the NAND 251 and outputs the operation result as the second bit GC-LSB[1] from the low order of the gray code.
  • the NAND 253 obtains a NOT-AND of the signal P0 and the signal P2 and outputs the operation result.
  • the NAND 254 obtains a NOT-AND of the signal P4 and the signal P6 and outputs the operation result.
  • the NAND 255 obtains a NOT-AND of the output of the NAND 253 and the output of the NAND 254 and outputs the operation result as the least significant bit GC-LSB[0] of the gray code.
  • the high-resolution gray code generation circuit 230 uses the phase-difference clock generation circuit to which the present technology is applied to generate some of the 8-phase clock signals from the clock signals SLCK, and uses the gray code generation circuit 234 to convert some of the 8-phase clock signals into the gray codes. Accordingly, the high-resolution gray code generation circuit 230 can generate the gray codes (that is, the high-resolution gray codes) (GC-LSB[0] and GC-LSB[1]) with the higher frequency component than that of the signals P0 to P7 with the same frequency as that of the clock signal SLCK, as illustrated in Fig. 15.
  • the gray codes that is, the high-resolution gray codes
  • the high-resolution gray code generation circuit 230 can generate the high-resolution gray codes using the phase interpolators and the logic circuits without the raising of the frequency of the clock signal SLCK and use of a PLL or the like. That is, the high-resolution gray code generation circuit 230 can achieve the high resolution of the generated gray codes more easily.
  • the high-resolution gray code generation circuit 230 can reduce the power consumption than when a PLL is used, since no PLL is used. Thus, the circuit size (area) can be further reduced.
  • the high-resolution gray code generation circuit 230 uses the phase-difference clock generation circuit to which the present technology is applied to generate some of the 8-phase clock signals.
  • the additional gray code generation circuit 233 including the NAND gates is merely added to the general gray code generation circuit 232, it is possible to realize the high resolution of the gray codes. That is, the high-resolution gray code generation circuit 230 can be designed easily, and thus an increase in development cost can be suppressed.
  • any number of bits of the gray codes generated by the high-resolution gray code generation circuit 230 can be used.
  • the configuration of the phase interpolators or the like in the phase-difference clock generation circuit 231 or the configuration of the logic circuits in the additional gray code generation circuit 233 may be properly set according to the number of bits of the low-order bits (the gray codes with the higher frequency component than the frequency of the clock signal SLCK) of the generated gray codes.
  • Third Embodiment> ⁇ A/D Conversion Circuit-1>
  • the present technology can also be applied to a circuit or a device in addition to the gray code generation circuit described in the second embodiment.
  • the high-resolution gray code generation circuit described in the second embodiment may be applied to an A/D conversion device.
  • Fig. 16 is a diagram illustrating an example of a main configuration of an A/D conversion circuit which is an example of an A/D conversion device to which the present technology is applied.
  • the A/D conversion circuit is a circuit that converts an input analog signal into a digital signal indicating its signal level.
  • An A/D conversion circuit 300 illustrated in Fig. 16 compares the signal level of an input analog signal IN and the signal level of a reference voltage RAMP of a ramp wave of which a signal level is linearly changed over time.
  • the A/D conversion circuit 300 measures the duration of a time until the comparison result is changed and outputs a measured value (digital value) as the signal level of the input analog signal IN. That is, the A/D conversion circuit 300 is an integral type A/D conversion circuit.
  • the A/D conversion circuit 300 includes a high-resolution gray code generation circuit 301, a comparison circuit 302, a latch 303, and a ripple counter 304.
  • the high-resolution gray code generation circuit 301 generates gray code (that is, high-resolution gray codes) with a higher frequency component than the frequency of an input clock signal SLCK from the clock signal SLCK. For example, the high-resolution gray code generation circuit 301 generates 7-bit gray codes including two bits of the higher frequency component higher than the frequency of the clock signal SLCK from the clock signal SLCK. The high-resolution gray code generation circuit 301 supplies the generated gray codes to the latch 303.
  • gray code that is, high-resolution gray codes
  • the high-resolution gray code generation circuit 301 is a circuit that has the same configuration as the high-resolution gray code generation circuit 200 (see Fig. 12) or the high-resolution gray code generation circuit 230 (see Fig. 14) described in the second embodiment and performs the same process. That is, the gray code generation device to which the present technology is applied is applied to the high-resolution gray code generation circuit 301.
  • the comparison circuit 302 compares the signal level of the input analog signal IN with the signal level of the reference voltage RAMP of the ramp wave and supplies the comparison result to the latch 303.
  • the latch 303 obtains and latches the gray codes supplied from the high-resolution gray code generation circuit 301 at a timing at which the comparison result of the comparison circuit 302 is changed.
  • the latch 303 supplies the latched gray code as a low-order bit of a digital value indicating the signal level of the input analog signal IN to the ripple counter 304.
  • the ripple counter 304 is formed as, for example, an up-down counter, counts timings of falling of the most significant bit of the gray code, and sets the count value as a high-order bit of a digital value indicating the signal level of the input analog signal IN.
  • the ripple counter 304 sets the high-order bit and the low-order bit supplied from the latch 303 as digital values indicating the signal level of the input analog signal IN and outputs the digital values.
  • the A/D conversion circuit 300 uses the gray code generation device to which the present technology is applied to generate the high-resolution gray codes and performs the A/D conversion using the gray codes. Accordingly, the A/D conversion circuit 300 can raise the resolution of the A/D conversion without the raising of the frequency of the clock signal SLCK and use of a PLL or the like further than when the A/D conversion is performed using the count value of the clock signal SLCK. That is, the A/D conversion circuit 300 can realize the high resolution of the A/D conversion more easily.
  • the A/D conversion circuit 300 can operate at a higher speed with respect to the clock signal SLCK. That is, the A/D conversion circuit 300 can achieve the high speed of the A/D conversion without the raising of the frequency of the clock signal SLCK and use of a PLL or the like further than when the A/D conversion is performed using the count value of the clock signal SLCK. That is, the A/D conversion circuit 300 can realize the high speed of the A/D conversion more easily.
  • the A/D conversion circuit 300 can realize both of high resolution and high speed of the A/D conversion of the clock signal SLCK more easily without the raising of the frequency of the clock signal SLCK and use of a PLL or the like. That is, the A/D conversion circuit 300 can achieve the high speed of the A/D conversion, or the high resolution, or both of the high speed and the high resolution more easily.
  • the A/D conversion circuit 300 can operate at a higher speed with respect to the clock signal SLCK. Therefore, by setting the resolution and the processing speed of the A/D conversion to be the same as those of the case in which the clock signal SLCK is counted, it is possible to reduce the frequency of the clock signal SLCK further than when the A/D conversion is performed using the count value of the clock signal SLCK. That is, the A/D conversion circuit 300 can reduce power consumption further than when the clock signal SLCK is counted.
  • the A/D conversion circuit 300 can perform the A/D conversion using the high-resolution gray codes using the phase interpolators and the logic circuit without using a PLL or the like. Accordingly, the A/D conversion circuit 300 can perform the A/D conversion with a simpler configuration than when a PLL is used to generate the high-resolution gray code, and thus the circuit size (area) can be further reduced. Accordingly, the A/D conversion circuit 300 can improve the degree of freedom of circuit arrangement. Since the A/D conversion circuit 300 does not use a PLL, it is possible to reduce power consumption further than when a PLL is used.
  • the gray code generation circuit described in the second embodiment may be applied to an imaging element.
  • Fig. 17 is a diagram illustrating an example of a main configuration of an imaging element to which the present technology is applied.
  • An imaging element 320 illustrated in Fig. 17 is an element that images a subject and obtains digital data of a captured image.
  • the imaging element 320 includes a pixel array 321, an A/D conversion circuit 322, a horizontal scanning unit 323, a PLL 324, and a ramp generation circuit 325.
  • the pixel array 321 is an array in which a plurality of unit pixels that each include a photoelectric conversion element photoelectrically converting incident light are arranged. A pixel signal read from each unit pixel is transmitted to the A/D conversion circuit 322 via a vertical signal line connecting pixel columns. Each unit pixel is connected to a column selection line (not illustrated) connecting pixel rows and an operation of each unit pixel is controlled by a row scanning circuit (not illustrated) via the row selection line.
  • the A/D conversion circuit 322 performs A/D conversion on the pixel signal supplied for each column of the unit pixels of the pixel array 321.
  • the A/D conversion circuit 322 includes a high-resolution gray code generation circuit 331-1 to a high-resolution gray code generation circuit 331-M and a column A/D conversion circuit 332-1 to a column A/D conversion circuit 332-N.
  • the high-resolution gray code generation circuit 331-1 to the high-resolution gray code generation circuit 331-M have the same configuration and perform the same process.
  • the high-resolution gray code generation circuit 331-1 to the high-resolution gray code generation circuit 331-M are simply referred to as the high-resolution gray code generation circuits 331.
  • the column A/D conversion circuit 332-1 to the column A/D conversion circuit 332-N have the same configuration and perform the same process.
  • the column A/D conversion circuit 332-1 to the column A/D conversion circuit 332-N are simply referred to as the column A/D conversion circuits 332.
  • the high-resolution gray code generation circuits 331 each generate a gray code (that is, a high-resolution gray code) with a higher frequency component than the frequency of an input reference clock (f/2) from the reference clock (f/2).
  • the high-resolution gray code generation circuit 331 is installed for each predetermined number of rows (N/M rows) of the unit pixels of the pixel array 321. That is, the A/D conversion circuit 322 includes M high-resolution gray code generation circuits 331.
  • the high-resolution gray code generation circuit 331 supplies the generated gray code to the column A/D conversion circuit 332 (the latch 343 of the column A/D conversion circuit 332) corresponding to the column corresponding to the high-resolution gray code generation circuit 331.
  • the high-resolution gray code generation circuit 331 is a circuit that has the same configuration as the high-resolution gray code generation circuit 200 (see Fig. 12) or the high-resolution gray code generation circuit 230 (see Fig. 14) described in the second embodiment and performs the same process.
  • the column A/D conversion circuit 332 is installed at each column of the unit pixels of the pixel array 321. That is, the A/D conversion circuit 322 includes N column A/D conversion circuits 332.
  • the column A/D conversion circuit 332 performs the A/D conversion on the pixel signal (analog signal) supplied from the unit pixel of the column corresponding to the column A/D conversion circuit 332, outputs digital data indicating a signal level of each pixel signal, and supplies the digital data to the horizontal scanning unit 323 (a buffer 351 of the horizontal scanning unit 323).
  • the column A/D conversion circuit 332 is a circuit that has the same configuration as the A/D conversion circuit 300 (see Fig. 16) described in the third embodiment, excluding the high-resolution gray code generation circuit 301 thereof and performs the same process. That is, as illustrated in Fig. 17, the column A/D conversion circuit 332 includes comparison circuits 342, latches 343, and ripple counters 344.
  • the comparison circuit 342 is a circuit that has the same configuration as the comparison circuit 302 (see Fig. 16) described in the third embodiment and performs the same process. That is, the comparison circuit 342 compares a signal level of the pixel signal of the column corresponding to the comparison circuit 342 with a signal level of a reference voltage RAMP of a ramp wave supplied from the ramp generation circuit 325 and supplies the comparison result to the latch 343.
  • the latch 343 is a circuit that has the same configuration as the latch 303 (see Fig. 16) described in the third embodiment and performs the same process. That is, the latch 343 obtains and latches the gray code supplied from the high-resolution gray code generation circuit 331 corresponding to the latch 343 at a timing at which the comparison result of the comparison circuit 342 is changed. The latch 343 supplies the latched gray code as a low-order bit of the digital value indicating the signal level of the pixel signal of the column corresponding to the latch 343 to the ripple counter 344.
  • the ripple counter 344 is a circuit that has the same configuration as the ripple counter 304 (see Fig. 16) described in the third embodiment and performs the same process. That is, the ripple counter 344 is formed as, for example, an up-down counter, counts timings of falling of the most significant bit of the gray code, and sets the count value as a high-order bit of the digital value indicating the signal level of the pixel signal. The ripple counter 344 sets the high-order bit and the low-order bit supplied from the latch 343 as digital values indicating the signal level of the column corresponding to the ripple counter 344 and outputs the digital values.
  • each column A/D conversion circuit 332 has the same configuration as the A/D conversion circuit 300 (see Fig. 16) described in the third embodiment and performs the same process by adding the high-resolution gray code generation circuit 331 corresponding to the column A/D conversion circuit 332. That is, in the imaging element 320, the A/D conversion device to which the present technology is applied is applied as the column A/D conversion circuits 332 and the high-resolution gray code generation circuits 331.
  • the horizontal scanning unit 323 sequentially outputs the digital data of the pixel signals of the respective columns of the unit pixels of the pixel array 321 supplied from the A/D conversion circuits 322 to the outside of the imaging element 320.
  • the horizontal scanning unit 323 includes a buffer 351-1 to a buffer 351-N, a horizontal transmission scanning circuit 352, a transmission bus 353, and a sense amplifier 354.
  • the buffer 351-1 to the buffer 351-N have the same configuration and perform the same process.
  • the buffer 351-1 to the buffer 351-N are simply referred to as the buffers 351.
  • the buffer 351 is installed at each column of the unit pixels of the pixel array and temporarily retains the digital data output from the column A/D conversion circuit 332 corresponding to the buffer 351.
  • the buffer 351-1 retains the digital data output from the column A/D conversion circuit 332-1.
  • the buffer 351-N retains the digital data output from the column A/D conversion circuit 332-N.
  • the buffers 351 output the retained data to the transmission bus 353 under the control of the horizontal transmission scanning circuit 352.
  • the horizontal transmission scanning circuit 352 controls an output timing of the digital data retained in each buffer 351, i.e., a transmission timing of the digital data of each column. That is, each buffer 351 outputs the retained data to the transmission bus 353 at a timing designated by the horizontal transmission scanning circuit 352.
  • the digital data of the respective columns are sequentially transmitted under the control of the horizontal transmission scanning circuit 352.
  • the transmission bus 353 sequentially transmits the digital data output from the respective buffers 351 to the sense amplifiers 354.
  • the sense amplifier 354 amplifies the digital data of each column supplied via the transmission bus 353 and outputs the amplified digital data to the outside of the imaging element 320 (for example, a rear-stage processing unit performing signal processing or the like).
  • the PLL 324 generates a reference clock with a frequency of f/2 [Hz].
  • the PLL 324 supplies the generated reference clock (f/2) to the A/D conversion circuit 322 (each high-resolution gray code generation circuit 331) and the ramp generation circuit 325.
  • the ramp generation circuit 325 generates a reference voltage RAMP of a ramp waveform of which a voltage value is linearly changed over time, using the reference clock (f/2) supplied from the PLL 324.
  • the ramp generation circuit 325 supplies the generated reference voltage RAMP to the A/D conversion circuit 322 (the comparison circuit 342 of each column A/D conversion circuit 332 of the A/D conversion circuit 322).
  • Fig. 18 is a diagram illustrating an example of the configuration of the unit pixel of the pixel array 321 in Fig. 17.
  • a unit pixel 361 includes four transistors, e.g., a read transistor 372, a reset transistor 373, an amplification transistor 374, and a select transistor 375, in addition to, for example, a photodiode 371 which is a photoelectric conversion portion (light reception portion).
  • N-channel MOS (Metal Oxide Semiconductor) transistors are used as the four transistors (the read transistor 372 to the select transistor 375).
  • the conductive combination of the read transistor 372, the reset transistor 373, the amplification transistor 374, and the select transistor 375 exemplified here is merely an example and the present technology is not limited to this combination.
  • three driving wirings (not illustrated), i.e., a transmission line, a reset line, and a select line, are installed as column select lines commonly for each pixel of the same pixel row.
  • One end of each of the transmission line, the reset line, and the select line is connected to an output end corresponding to each pixel row of a row scanning circuit (not illustrated) in units of pixel rows, and thus the transmission line, the reset line, and the select line transmit a transmission pulse TRG, a reset pulse RST, and a select pulse SEL which are driving signals for driving the unit pixel.
  • An anode electrode of the photodiode 371 is connected to a negative-side power source (for example, ground), and thus the photodiode 371 photoelectrically converts received light into light charge (here, photoelectrons) of a charge amount according to an amount of the light and stores the light charge.
  • a cathode electrode of the photodiode 371 is electrically connected to a gate electrode of the amplification transistor 374 via the read transistor 372.
  • a node electrically connected to the gate electrode of the amplification transistor 374 is referred to as an FD (Floating Diffusion).
  • the read transistor 372 is connected between the cathode electrode of the photodiode 371 and the gate electrode (that is, the FD) of the amplification transistor 374.
  • the transmission pulse TRF which is active (hereinafter also referred to as "High active") at a high-level (for example, a Vdd level) is provided to the gate electrode of the read transistor 372 via the transmission line.
  • the read transistor 372 enters an ON state and transmits the light charge photoelectrically converted by the photodiode 371 to the floating diffusion (FD).
  • a drain electrode and a source electrode of the reset transistor 373 are connected to a pixel power source Vrst and the floating diffusion (FD), respectively.
  • the High active reset pulse RST is provided to the gate electrode of the reset transistor 373 via the reset line.
  • the reset transistor 373 enters an ON state and resets the floating diffusion (FD) by discarding the charge of the floating diffusion (FD) to the pixel power source Vrst.
  • a gate electrode and a drain electrode of the amplification transistor 374 are connected to the floating diffusion (FD) and a pixel power source Vdd, respectively.
  • the amplification transistor 374 outputs the potential of the floating diffusion (FD) after the reset by the reset transistor 373 as a reset signal (reset level).
  • the amplification transistor 374 outputs the potential of the floating diffusion (FD) after transmission of the signal charge by the read transistor 372 as an optical accumulation signal (signal level).
  • a drain electrode and a source electrode of the select transistor 375 are connected to the source electrode of the amplification transistor 374 and a vertical signal line 376, respectively.
  • a High active select pulse SEL is provided to the gate electrode of the select transistor 375 via the select line.
  • the select transistor 375 enters an ON state and relays a signal output from the amplification transistor 374 to the vertical signal line 376 by setting the state of the unit pixel as a select state.
  • the select transistor 375 can also have a circuit configuration connected between the pixel power source Vdd and the drain of the amplification transistor 374.
  • the unit pixel is not limited to the unit pixel having the pixel configuration formed by the four transistors with the above-described configuration.
  • a pixel configuration formed by three transistors combining the amplification transistor 374 and the select transistor 375 may be used and any configuration of the pixel circuit can be adopted.
  • the imaging element 320 having the above-described configuration uses the A/D conversion device to which the present technology is applied to perform the A/D conversion on the pixel signal of each column of the unit pixels of the pixel array 321. Accordingly, the imaging element 320 can raise the resolution of the A/D conversion further than when the A/D conversion is performed using the count value of the reference clock, without the raising of the frequency (f/2 [Hz]) of the reference clock and use of a PLL or the like for generating the clock signal with a higher frequency than the reference clock. That is, the imaging element 320 can realize the high resolution of the A/D conversion more easily. Accordingly, for example, the imaging element 320 can increase a bit depth of a captured image (image data) more easily. That is, the imaging element 320 can achieve the high resolution of a captured image more easily.
  • the imaging element 320 can operate at a higher speed with respect to the reference clock. That is, the imaging element 320 can achieve the high speed of the A/D conversion further than when the A/D conversion is performed using the count value of the reference clock, without the raising of the frequency (f/2 [Hz]) of the reference clock and use of a PLL or the like for generating the clock signal with a higher frequency than the reference clock. That is, the imaging element 320 can realize the high speed of the A/D conversion more easily. Accordingly, for example, the imaging element 320 can increase a frame rate of a captured image more easily. That is, the imaging element 320 can achieve high quality of a captured image more easily.
  • the imaging element 320 can also realize both of the high resolution and the high speed of the A/D conversion more easily without the raising of the frequency (f/2 [Hz]) of the reference clock and use of a PLL or the like for generating the clock signal with a higher frequency than the reference clock. That is, the imaging element 320 can also achieve both of the increase in the bit depth of a captured image and an increase in the frame rate more easily without the raising of the frequency (f/2 [Hz]) of the reference clock and use of a PLL or the like for generating the clock signal with a higher frequency than the reference clock. That is, the imaging element 320 can realize the high speed or the high resolution of the A/D conversion or both of the high speed and the high resolution more easily. Accordingly, for example, the imaging element 320 can achieve the increase in the bit depth of a captured image, an increase in the frame rate, or both of the increase in the bit depth and the increase in the frame rate more easily.
  • the imaging element 320 uses the A/D conversion device to which the present technology is applied, the imaging element 320 can perform the A/D conversion using the high-resolution gray codes without use of a PLL or the like by the phase interpolators and the logic circuits. Accordingly, the imaging element 320 can perform the A/D conversion with a simpler configuration than when the high-resolution gray codes are generated using the PLL, and thus the circuit size (area) can be further reduced. Accordingly, the imaging element 320 can improve the degree of freedom of circuit arrangement. Since the imaging element 320 does not use a PLL, it is possible to reduce power consumption further than when a PLL is used.
  • the imaging element 320 includes the high-resolution gray code generation circuit 331 for each predetermined number of columns, and thus the high-resolution gray codes can be generated at positions close to the column A/D conversion circuits 332 using the gray codes. Therefore, skew adjustment of the reference clock can be performed easily, and the degree of freedom of design is improved. That is, the imaging element 320 can achieve the high speed or the high resolution of the A/D conversion or both of the high speed and the high resolution more easily.
  • the imaging element 320 can reduce the frequency of the reference clock signal (for example, to f/8 [Hz]) as in an example illustrated in Fig. 19, by setting the resolution and the processing speed of the A/D conversion to be the same as the resolution and the processing speed of the case in which the A/D conversion is performed using the count value of the reference clock. By doing so, the imaging element 320 can reduce power consumption further than in the case of the example of Fig. 17.
  • phase-difference clock generation circuit to which the present technology is applied can also be applied to the gray code generation device.
  • the phase-difference clock generation circuit to which the present technology is applied may be applied to an A/D conversion device.
  • Fig. 20 is a diagram illustrating an example of a main configuration of an A/D conversion circuit which is an example of the A/D conversion device to which the present technology is applied.
  • An A/D conversion circuit 400 illustrated in Fig. 20 is an integral type A/D conversion circuit that performs basically the same A/D conversion as the A/D conversion circuit 300 (see Fig. 16). That is, the A/D conversion circuit 400 compares a signal level of an input analog signal IN with a signal level of a reference voltage RAMP of a ramp wave of which a signal level is linearly changed over time. The A/D conversion circuit 400 measures the duration of a time until the comparison result is changed and outputs a measured value (digital value) as the signal level of the input analog signal IN.
  • the A/D conversion circuit 400 includes a 4-phase clock generation circuit 401, a comparison circuit 402, a TDC 403, and a ripple counter 404.
  • the 4-phase clock generation circuit 401 is a circuit that has the same configuration as the 4-phase clock generation circuit 100 (see Fig. 5) described in the first embodiment and performs the same process. That is, the 4-phase clock generation circuit 401 generates 4-phase clock signals from an input clock signal SLCK and supplies the 4-phase clock signals to the TDC 403.
  • the comparison circuit 402 is a circuit that has the same configuration as the comparison circuit 302 (see Fig. 16) and performs the same process. That is, the comparison circuit 402 compares the signal level of the input analog signal IN with the signal level of the reference voltage RAMP of the ramp wave and supplies the comparison result to the TDC 403.
  • the TDC (Time-to-Digital Converter) 403 is a time quantizer, obtains and latches the 4-phase clock signals supplied from the 4-phase clock generation circuit 401 at a timing at which the comparison result of the comparison circuit 402 is changed, obtains low-order bits of digital values indicating the signal level of the input analog signal IN by decoding the 4-phase clock signals, and supplies the low-order bits to the ripple counter 404.
  • the ripple counter 404 is a circuit that has the same configuration as the ripple counter 304 (see Fig. 16) and performs the same process. That is, the ripple counter 404 is formed as, for example, an up-down counter, counts timings of falling of one of the 4-phase clock signals, and sets the count value as a high-order bit of a digital value indicating the signal level of the input analog signal IN. The ripple counter 404 sets the high-order bit and the low-order bits supplied from the TDC 403 as digital values indicating the signal level of the input analog signal IN and outputs the digital values.
  • the A/D conversion circuit 400 uses the phase-difference clock generation circuit to which the present technology is applied to generate the phase-difference clock signals (multi-phase clock signals) and performs the A/D conversion using the phase-difference clock signals (multi-phase clock signals). Accordingly, the A/D conversion circuit 400 can raise the resolution of the A/D conversion further than when the A/D conversion is performed using the count value of the clock signal SLCK, without the raising of the frequency of the clock signal SLCK and use of a PLL or the like, as in the case of the A/D conversion circuit 300 using the gray code generation device to which the present technology is applied. That is, the A/D conversion circuit 400 can realize the high resolution of the A/D conversion more easily.
  • the A/D conversion circuit 400 can operate at a higher speed with respect to the clock signal SLCK, as in the case of the A/D conversion circuit 300 using the gray code generation device to which the present technology is applied. That is, the A/D conversion circuit 400 can achieve the higher speed of the A/D conversion than when the A/D conversion is performed using the count value of the clock signal SLCK without the raising of the frequency of the clock signal SLCK and use of a PLL or the like. That is, the A/D conversion circuit 400 can realize the high speed of the A/D conversion more easily.
  • the A/D conversion circuit 400 can also realize both of the high resolution and the high speed of the A/D conversion more easily, without the raising of the frequency of the clock signal SLCK and use of a PLL or the like, as in the case of the A/D conversion circuit 300 using the gray code generation device to which the present technology is applied. That is, the A/D conversion circuit 400 can achieve the high speed or the high resolution of the A/D conversion or both of the high speed and the high resolution more easily.
  • the A/D conversion circuit 400 can operate at a higher speed with respect to the clock signal SLCK, the A/D conversion circuit 400 can reduce the frequency of the clock signal SLCK further than when the A/D conversion is performed using the count value of the clock signal SLCK, by setting the resolution and the processing speed of the A/D conversion to be the same as the resolution and the processing speed of the case in which the clock signal SLCK is counted. That is, the A/D conversion circuit 400 can reduce power consumption further than in the case in which the clock signal SLCK is counted.
  • the A/D conversion circuit 400 uses the phase-difference clock generation circuit to which the present technology is applied, the A/D conversion circuit 400 can perform the A/D conversion using the phase-difference clock signals (multi-phase clock signals) without use of a PLL or the like by the phase interpolators and the logic circuits. Accordingly, the A/D conversion circuit 400 can perform the A/D conversion with a simpler configuration than when the clock signals with the high frequency are generated from the clock signal SLCK using the PLL, and thus the circuit size (area) can be further reduced. Accordingly, the A/D conversion circuit 400 can improve the degree of freedom of circuit arrangement. Since the A/D conversion circuit 400 does not use a PLL, it is possible to reduce power consumption further than when a PLL is used.
  • the A/D conversion circuit 400 can perform the A/D conversion using phase-difference clock signals (multi-phase clock signals) of any number of phases. That is, the phase-difference clock generation circuit which generates phase-difference clock signals (multi-phase clock signals) of any number of phases and to which the present technology is applied may be applied instead of the 4-phase clock generation circuit 401 in Fig. 20.
  • Fig. 21 is a diagram illustrating an example of a main configuration of an imaging element to which the present technology is applied.
  • An imaging element 420 illustrated in Fig. 21 is an element that images a subject and obtains digital data of a captured image, has basically the same configuration as the imaging element (see Fig. 17), and performs the same process.
  • the imaging element 420 includes a pixel array 421, an A/D conversion circuit 422, a horizontal scanning unit 423, a PLL 424, and a ramp generation circuit 425.
  • the pixel array 421 has basically the same configuration as the pixel array 321 (see Fig. 17) and performs the same process. That is, in the pixel array 421, a plurality of unit pixels that each include a photoelectric conversion element photoelectrically converting incident light are arranged. A pixel signal read from each unit pixel is transmitted to the A/D conversion circuit 422 via a vertical signal line connecting pixel columns. Each unit pixel is connected to a column selection line (not illustrated) connecting pixel rows and an operation of each unit pixel is controlled by a row scanning circuit (not illustrated) via the row selection line.
  • the A/D conversion circuit 422 performs A/D conversion on the pixel signal supplied for each column of the unit pixels of the pixel array 421.
  • the A/D conversion circuit 422 includes a 4-phase clock generation circuit 431-1 to a 4-phase clock generation circuit 431-M and a column A/D conversion circuit 432-1 to a column A/D conversion circuit 432-N.
  • the 4-phase clock generation circuit 431-1 to the 4-phase clock generation circuit 431-M have the same configuration and perform the same process.
  • the 4-phase clock generation circuit 431-1 to the 4-phase clock generation circuit 431-M are simply referred to as the 4-phase clock generation circuit 431.
  • the column A/D conversion circuit 432-1 to the column A/D conversion circuit 432-N have the same configuration and perform the same process.
  • the column A/D conversion circuit 432-1 to the column A/D conversion circuit 432-N are simply referred to as the column A/D conversion circuits 432.
  • the 4-phase clock generation circuits 431 each generate a 4-phase clock signal from an input reference clock (f/8).
  • the 4-phase clock generation circuit 431 is installed for each predetermined number of rows (N/M row) of the unit pixels of the pixel array 321. That is, the A/D conversion circuit 422 includes M 4-phase clock generation circuits 431.
  • the 4-phase clock generation circuit 431 supplies the generated 4-phase clock signal to the column A/D conversion circuit 432 (a TDC 443 of the column A/D conversion circuit 432) corresponding to the column corresponding to the 4-phase clock generation circuit 431.
  • the 4-phase clock generation circuit 431 is a circuit that has the same configuration as the 4-phase clock generation circuit 100 (see Fig. 5) described in the first embodiment and performs the same process.
  • the column A/D conversion circuit 432 is installed at each column of the unit pixels of the pixel array 421. That is, the A/D conversion circuit 422 includes N column A/D conversion circuits 432.
  • the column A/D conversion circuit 432 performs the A/D conversion on the pixel signal (analog signal) supplied from the unit pixel of the column corresponding to the column A/D conversion circuit 432, outputs digital data indicating a signal level of each pixel signal, and supplies the digital data to the horizontal scanning unit 423 (a buffer 451 of the horizontal scanning unit 423).
  • the column A/D conversion circuit 432 is a circuit that has the same configuration as the A/D conversion circuit 400 (see Fig. 20) described in the fifth embodiment, excluding the 4-phase clock generation circuit 401 thereof and performs the same process. That is, as illustrated in Fig. 21, the column A/D conversion circuit 432 includes comparison circuits 442, TDCs 443, and ripple counters 444.
  • the comparison circuit 442 is a circuit that has the same configuration as the comparison circuit 402 (see Fig. 20) described in the fifth embodiment and performs the same process. That is, the comparison circuit 442 compares a signal level of the pixel signal of the column corresponding to the comparison circuit 442 with a signal level of a reference voltage RAMP of a ramp wave supplied from the ramp generation circuit 425 and supplies the comparison result to the TDC 443.
  • the TDC 443 is a circuit that has the same configuration as the TDC 403 (see Fig. 20) described in the fifth embodiment and performs the same process. That is, the TDC 443 obtains and latches the 4-phase clock signal supplied from the 4-phase clock generation circuit 431 corresponding to the TDC 443 at a timing at which the comparison result of the comparison circuit 442 is changed, and performs decoding. The TDC 443 supplies the decoding result as a low-order bit of the digital value indicating the signal level of the pixel signal of the column corresponding to the TDC 443 to the ripple counter 444.
  • the ripple counter 444 is a circuit that has the same configuration as the ripple counter 404 (see Fig. 20) described in the fifth embodiment and performs the same process. That is, the ripple counter 444 is formed as, for example, an up-down counter, counts timings of falling of one of the 4-phase clock signals, and sets the count value as a high-order bit of the digital value indicating the signal level of the pixel signal. The ripple counter 444 sets the high-order bit and the low-order bit supplied from the TDC 443 as digital values indicating the signal level of the column corresponding to the ripple counter 444 and outputs the digital values.
  • each column A/D conversion circuit 432 has the same configuration as the A/D conversion circuit 400 (see Fig. 20) described in the fifth embodiment and performs the same process by adding the 4-phase clock generation circuit 431 corresponding to the column A/D conversion circuit 432. That is, in the imaging element 420, the A/D conversion device to which the present technology is applied is applied as the column A/D conversion circuits 432 and the 4-phase clock generation circuits 431.
  • the horizontal scanning unit 423 sequentially outputs the digital data of the pixel signals of the respective columns of the unit pixels of the pixel array 421 supplied from the A/D conversion circuits 422 to the outside of the imaging element 420.
  • the horizontal scanning unit 423 includes a buffer 451-1 to a buffer 451-N, a horizontal transmission scanning circuit 452, a transmission bus 453, and a sense amplifier 454.
  • the buffer 451-1 to the buffer 451-N have the same configuration and perform the same process.
  • the buffer 451-1 to the buffer 451-N are simply referred to as the buffers 451.
  • the buffer 451 is basically the same element as the buffer 351 (see Fig. 17), is installed at each column of the unit pixels of the pixel array, and temporarily retains the digital data output from the column A/D conversion circuit 432 corresponding to the buffer 451.
  • the buffer 451-1 retains the digital data output from the column A/D conversion circuit 432-1.
  • the buffer 451-N retains the digital data output from the column A/D conversion circuit 432-N.
  • the buffers 451 output the retained data to the transmission bus 453 under the control of the horizontal transmission scanning circuit 452.
  • the horizontal transmission scanning circuit 452 is basically the same element as the horizontal transmission scanning circuit 352 (see Fig. 17) and controls an output timing of the digital data retained in each buffer 451, i.e., a transmission timing of the digital data of each column. That is, each buffer 451 outputs the retained data to the transmission bus 453 at a timing designated by the horizontal transmission scanning circuit 452. The digital data of the respective columns are sequentially transmitted under the control of the horizontal transmission scanning circuit 452.
  • the transmission bus 453 is basically the same element as the transmission bus 353 (see Fig. 17) and sequentially transmits the digital data output from the respective buffers 451 to the sense amplifiers 454.
  • the sense amplifier 454 is basically the same element as the sense amplifier 354 (see Fig. 17), amplifies the digital data of each column supplied via the transmission bus 453, and outputs the amplified digital data to the outside of the imaging element 420 (for example, a rear-stage processing unit performing signal processing or the like).
  • the PLL 424 is basically the same element as the PLL 324 (see Fig. 19) and generates a reference clock with a frequency of f/8 [Hz].
  • the PLL 424 supplies the generated reference clock (f/8) to the A/D conversion circuit 422 (each 4-phase clock generation circuit 431) and the ramp generation circuit 425.
  • the ramp generation circuit 425 is basically the same element as the ramp generation circuit 325 (see Fig. 17) and generates a reference voltage RAMP of a ramp waveform of which a voltage value is linearly changed over time, using the reference clock (f/8) supplied from the PLL 424.
  • the ramp generation circuit 425 supplies the generated reference voltage RAMP to the A/D conversion circuit 422 (the comparison circuit 442 of each column A/D conversion circuit 432 of the A/D conversion circuit 422).
  • the imaging element 420 having the above-described configuration uses the A/D conversion device to which the present technology is applied to perform the A/D conversion on the pixel signal of each column of the unit pixels of the pixel array 421. Accordingly, the imaging element 420 can raise the resolution of the A/D conversion further than when the A/D conversion is performed using the count value of the reference clock, without the raising of the frequency (f/8 [Hz]) of the reference clock and use of a PLL or the like for generating the clock signal with a higher frequency than the reference clock. That is, the imaging element 420 can realize the high resolution of the A/D conversion more easily. Accordingly, for example, the imaging element 420 can increase a bit depth of a captured image (image data) more easily. That is, the imaging element 420 can achieve the high resolution of a captured image more easily.
  • the imaging element 420 can operate at a higher speed with respect to the reference clock. That is, the imaging element 420 can achieve the high speed of the A/D conversion further than when the A/D conversion is performed using the count value of the reference clock, without the raising of the frequency (f/8 [Hz]) of the reference clock and use of a PLL or the like for generating the clock signal with a higher frequency than the reference clock. That is, the imaging element 420 can realize the high speed of the A/D conversion more easily. Accordingly, for example, the imaging element 420 can increase a frame rate of a captured image more easily. That is, the imaging element 420 can achieve high quality of a captured image more easily.
  • the imaging element 420 can also realize both of the high resolution and the high speed of the A/D conversion more easily without the raising of the frequency (f/8 [Hz]) of the reference clock and use of a PLL or the like for generating the clock signal with a higher frequency than the reference clock. That is, the imaging element 420 can also achieve both of the increase in the bit depth of a captured image and an increase in the frame rate more easily without the raising of the frequency (f/8 [Hz]) of the reference clock and use of a PLL or the like for generating the clock signal with a higher frequency than the reference clock. That is, the imaging element 420 can realize the high speed or the high resolution of the A/D conversion or both of the high speed and the high resolution more easily. Accordingly, for example, the imaging element 420 can achieve the increase in the bit depth of a captured image, an increase in the frame rate, or both of the increase in the bit depth and the increase in the frame rate more easily.
  • the imaging element 420 uses the A/D conversion device to which the present technology is applied, the imaging element 420 can perform the A/D conversion using the phase-difference clock signals (multi-phase clock signals) without use of a PLL or the like by the phase interpolators and the logic circuits. Accordingly, the imaging element 420 can perform the A/D conversion with a simpler configuration than when the phase-difference clock signals are generated using the PLL, and thus the circuit size (area) can be further reduced. Accordingly, the imaging element 420 can improve the degree of freedom of circuit arrangement. Since the imaging element 420 does not use a PLL, it is possible to reduce power consumption further than when a PLL is used.
  • the imaging element 420 includes the 4-phase clock generation circuit 431 for each predetermined number of columns. That is, in the imaging element 420, the phase-difference clock signals can be generated at positions close to the column A/D conversion circuits 432 which are supply sources of the phase-difference clock signals. Therefore, the transmission distance of the phase-difference clock signal can be set to be shorter and skew adjustment of the reference clock can be performed easily, and thus the degree of freedom of design is improved. That is, the imaging element 420 can achieve the high speed or the high resolution of the A/D conversion or both of the high speed and the high resolution more easily.
  • the imaging element 420 can reduce the frequency of the reference clock signal by setting the resolution and the processing speed of the A/D conversion to be the same as the resolution and the processing speed of the case in which the A/D conversion is performed using the count value of the reference clock. By doing so, the imaging element 420 can reduce power consumption.
  • any configuration of the imaging element to which the present technology is applicable can be used and the configuration of the imaging element is not limited to the examples described in the fourth and sixth embodiments.
  • the present technology can also be applied to other A/D conversion circuits as well as the column A/D conversion circuit installed at each column of the unit pixels of the pixel array.
  • Fig. 22 is a diagram illustrating an example of a main configuration of an example of an imaging element to which the present technology is applied.
  • An imaging element 500 illustrated in Fig. 22 is an element that images a subject and obtains digital data of a captured image.
  • the imaging element 500 includes a plurality of semiconductor substrates (semiconductor substrates 501 and 502) mutually superimposed.
  • the imaging element 500 is formed by the two semiconductor substrates (semiconductor substrates 501 and 502) mutually superimposed, but any number of semiconductor substrates may be superimposed.
  • a pixel region 511 is formed in which a plurality of unit pixels that each include a photoelectric conversion element photoelectrically converting incident light are arranged.
  • a peripheral circuit region 512 is formed in which peripheral circuits processing a pixel signal read from the pixel region 511 are formed.
  • the semiconductor substrates 501 and 502 form a multi-layered structure (lamination structure). Each pixel of the pixel region 511 formed in the semiconductor substrate 501 and a circuit of the peripheral circuit region 512 formed in the semiconductor substrate 502 are electrically connected to each other via a through via or the like.
  • an A/D conversion circuit 522 and a PLL 524 illustrated in Fig. 23 are formed.
  • the A/D conversion circuit 522 performs A/D conversion on a pixel signal supplied for each partial region (also referred to as an area) of the pixel region 511.
  • the A/D conversion circuit 522 includes high-resolution gray code generation circuits 531 and area A/D conversion circuits 532.
  • the area A/D conversion circuit 532 is installed in each area of the pixel region 511. Any number of areas and any size of the area can be used. That is, any number of area A/D conversion circuits 532 and any method of allocating the area A/D conversion circuits 532 (a way of allocating the area A/D conversion circuits 532 to the areas) can be used. In the case of the example of Fig. 23, the area A/D conversion circuits 532 are arranged in an array form (matrix form).
  • Each area A/D conversion circuit 532 performs the A/D conversion on a pixel signal (analog signal) supplied from the unit pixel in the area corresponding to the area A/D conversion circuit 532 and outputs digital data indicating a signal level of each pixel signal. That is, the area A/D conversion circuit 532 is basically the same circuit as the column A/D conversion circuit 332 (see Fig. 17) except that the method of allocating the unit pixels is different. That is, the area A/D conversion circuit 532 is a circuit that has the same configuration as the A/D conversion circuit 300 (see Fig. 16) described in the third embodiment excluding the high-resolution gray code generation circuit 301 thereof and performs the same process.
  • the high-resolution gray code generation circuit 531 is installed for each predetermined number of areas of the pixel region 511.
  • the high-resolution gray code generation circuit 531 is installed at each row of the area A/D conversion circuits 532 arranged in an array form (matrix form).
  • the number of high-resolution gray code generation circuits 531 or the method of allocating the high-resolution gray code generation circuits 531 is not limited to the example of Fig. 23, and any number or any method can be used.
  • the high-resolution gray code generation circuits 531 each generate a gray code (that is, a high-resolution gray code) with a higher frequency component than the frequency of a reference clock (f/8) supplied from the PLL 524.
  • the high-resolution gray code generation circuit 531 supplies the generated gray code to the area A/D conversion circuit 532 corresponding to the row corresponding to the high-resolution gray code generation circuit 531. That is, the high-resolution gray code generation circuit 531 is basically the same circuit as the high-resolution gray code generation circuit 331 (see Fig. 17) except that the method of allocating the unit pixels is different.
  • the high-resolution gray code generation circuit 531 is a circuit that has the same configuration as the high-resolution gray code generation circuit 200 (see Fig. 12) or the high-resolution gray code generation circuit 230 (see Fig. 14) described in the second embodiment and performs the same process.
  • the A/D conversion device to which the present technology is applied is applied as the area A/D conversion circuit 532 and the high-resolution gray code generation circuit 531 in the imaging element 500.
  • the imaging element 500 can achieve the high speed or the high resolution of the A/D conversion or both of the high speed and the high resolution more easily. Accordingly, for example, the imaging element 500 can achieve the increase in the bit depth of a captured image, an increase in the frame rate, or both of the increase in the bit depth and the increase in the frame rate more easily. Since the imaging element 500 does not use a PLL to generate the gray codes with a higher frequency component than the reference clock, as in the case of the imaging element 320, it is possible to reduce power consumption further than when a PLL is used.
  • the imaging element 500 can generate the high-resolution gray codes at positions close to the area A/D conversion circuits 532 using the gray codes. Therefore, skew adjustment of the reference clock can be performed easily, and the degree of freedom of design is improved. As in the case of the imaging element 320, the imaging element 500 can realize the A/D conversion at the same resolution and the same processing speed as the case in which the A/D conversion is performed using the count value of the reference clock, while reducing the frequency of the reference clock and reducing power consumption.
  • Fig. 23 the case has been described in which the A/D conversion circuits performing the A/D conversion using the high-resolution gray code generation circuits to which the present technology is applied are installed in the peripheral circuit region 512, as in the A/D conversion circuit 322 described in the fourth embodiment.
  • the A/D conversion circuits performing the A/D conversion using the 4-phase clock generation circuits to which the present technology is applied may be installed in the peripheral circuit region 512, as in the A/D conversion circuits 422 described in the sixth embodiment.
  • Fig. 24 is a diagram illustrating another example of an A/D conversion circuit formed in the peripheral circuit region 512.
  • an A/D conversion circuit 522 formed in the peripheral circuit region 512 includes 4-phase clock generation circuits 561 and area A/D conversion circuits 562.
  • the area A/D conversion circuit 562 is installed in each area of the pixel region 511. Any number of areas and any size of the area can be used. That is, any number of area A/D conversion circuits 562 and any method of allocating the area A/D conversion circuits 562 (a way of allocating the area A/D conversion circuits 562 to the areas) can be used. In the case of the example of Fig. 24, the area A/D conversion circuits 562 are arranged in an array form (matrix form).
  • Each area A/D conversion circuit 562 performs the A/D conversion on a pixel signal (analog signal) supplied from the unit pixel in the area corresponding to the area A/D conversion circuit 562 and outputs digital data indicating a signal level of each pixel signal. That is, the area A/D conversion circuit 562 is basically the same circuit as the column A/D conversion circuit 432 (see Fig. 21) except that the method of allocating the unit pixels is different. That is, the area A/D conversion circuit 562 is a circuit that has the same configuration as the A/D conversion circuit 400 (see Fig. 20) described in the fifth embodiment excluding the 4-phase clock generation circuit 401 thereof and performs the same process.
  • the 4-phase clock generation circuit 561 is installed for each predetermined number of areas of the pixel region 511. In the case of the example of Fig. 24, the 4-phase clock generation circuit 561 is installed at each row of the area A/D conversion circuits 562 arranged in an array form (matrix form).
  • the number of 4-phase clock generation circuits 561 or the method of allocating the 4-phase clock generation circuits 561 is not limited to the example of Fig. 24, and any number or any method can be used.
  • the 4-phase clock generation circuits 561 each generate a phase-difference clock signal (multi-phase clock signal) from the reference clock (f/8) supplied from the PLL 524.
  • the 4-phase clock generation circuit 561 supplies the generated phase-difference cock signal (multi-phase clock signal) to the area A/D conversion circuit 562 corresponding to the column corresponding to the 4-phase clock generation circuit 561. That is, the 4-phase clock generation circuit 561 is basically the same circuit as the 4-phase clock generation circuit 431 (see Fig. 21) except that the method of allocating the unit pixels is different. That is, the 4-phase clock generation circuit 561 is a circuit that has the same configuration as the 4-phase clock generation circuit 100 (see Fig. 5) described in the first embodiment and performs the same process.
  • the A/D conversion device to which the present technology is applied is applied as the area A/D conversion circuit 562 and the 4-phase clock generation circuit 561 in the imaging element 500.
  • the imaging element 500 can achieve the high speed or the high resolution of the A/D conversion or both of the high speed and the high resolution more easily.
  • Fig. 24 the example has been described in which the 4-phase clock generation circuit 561 is used as an example of the phase-difference clock generation circuit to which the present technology is applied.
  • the 4-phase clock generation circuit 561 is used as an example of the phase-difference clock generation circuit to which the present technology is applied.
  • any number of phases of the generated phase-difference clock signals can, of course, be used.
  • Japanese Unexamined Patent Application Publication No. 2008-92091 suggests an integral type A/D converter in which low-order bit information is acquired by a time quantizer (TDC (Time-to-Digital Converter)) latching and decoding clock signals with different phases by a normal high-order bit counter and a normal ring oscillator. By doing so, it is possible to improve the resolution of the A/D converter without raising of a clock frequency.
  • TDC Time-to-Digital Converter
  • an A/D converter 600 includes a comparator 601, a latch & decoder 602, and a counter 603.
  • the comparator 601 compares a signal (VSL) read from a pixel and a ramp signal (RAMP) and supplies a comparison result (VCO) to the latch & decoder 602 and the counter 603.
  • the counter 603 performs counting until the comparison result (VCO) is changed and obtains the count value as high-order bit information.
  • the latch & decoder 602 is configured by a time quantizer, and latches and decodes clock signals (CLKA, CLKB, CLKC, and CLKD) with mutually different phases to obtain low-order bit information.
  • a driving circuit called a repeater or a buffer (clock buffer when a signal is limited to a clock signal) is generally used for each signal in order to prevent a signal level from attenuating due to a time constant of a wiring.
  • a transmission distance of the clock signal extends and more signal driving circuits are connected at multi-stages.
  • the signal driving circuits have a variation in a delay time.
  • the variation in the delay time may be a cause of changing the phase difference between clock signals passing through the signal driving circuits. Accordingly, when the number of signal driving circuits connected at multi-stages increases, there is a concern that a variation in the delay time of each clock signal (in other words, a variation in the phase difference between the clock signals) may increase.
  • ⁇ Signal Processing Device> by realizing a signal processing device that includes a phase correction unit using a plurality of phase interpolators to correct a phase difference between clock signals of multi-phase clock signals configured by a plurality of clock signals of which phases are mutually shifted, the variation in the phase difference between the clock signals of the multi-phase clock signals is configured to be reduced.
  • phase interpolator may be used which outputs an output signal at a timing delayed by a delay time of the phase interpolator from an intermediate timing of a phase difference of two input signals.
  • Fig. 26 is a diagram illustrating an example of a main configuration of a phase correction circuit according to an embodiment of the signal processing device.
  • a phase correction circuit 700 illustrated in Fig. 26 is a circuit that corrects a phase difference between clock signals of 4-phase clock signals configured by four clock signals of which a mutual phase difference is 90 degrees.
  • the phase correction circuit 700 includes 24 phase interpolators configured at 3 stages. Each stage is configured by 8 phase interpolators in parallel. That is, when viewed from an input terminal side, a first stage is configured by a phase interpolator 711-1 to a phase interpolator 711-8, a second stage is configured by a phase interpolator 712-1 to a phase interpolator 712-8, and a third stage is configured by a phase interpolator 713-1 to a phase interpolator 713-8.
  • the phase interpolator 711-1 to the phase interpolator 711-8 are simply referred to as the phase interpolators 711.
  • phase interpolator 712-1 to the phase interpolator 712-8 are simply referred to as the phase interpolators 712.
  • the phase interpolator 713-1 to the phase interpolator 713-8 are simply referred to as the phase interpolators 713.
  • Eight signals configured by four clock signals CLKA, CLKB, CLKC, and CLKD of which a mutual phase difference is 90 degrees and inverted signals of these clock signals are input to the phase correction circuit 700.
  • the phase interpolators 711 at the first stage When viewed from the input terminal side, the phase interpolators 711 at the first stage generate intermediate phase signals of two input signals of which the phase difference is 0 degrees. More specifically, the phase interpolator 711-1 generates an intermediate-phase signal of the clock signal CLKA and NOT of the inverted signal of the clock signal CLKA. The phase interpolator 711-2 generates an intermediate-phase signal of the clock signal CLKB and NOT of the inverted signal of the clock signal CLKB. The phase interpolator 711-3 generates an intermediate-phase signal of the clock signal CLKC and NOT of the inverted signal of the clock signal CLKC. The phase interpolator 711-4 generates an intermediate-phase signal of the clock signal CLKD and NOT of the inverted signal of the clock signal CLKD.
  • the phase interpolator 711-5 generates an intermediate-phase signal of NOT of the clock signal CLKA and the inverted signal of the clock signal CLKA.
  • the phase interpolator 711-6 generates an intermediate-phase signal of NOT of the clock signal CLKB and the inverted signal of the clock signal CLKB.
  • the phase interpolator 711-7 generates an intermediate-phase signal of NOT of the clock signal CLKC and the inverted signal of the clock signal CLKC.
  • the phase interpolator 711-8 generates an intermediate-phase signal of NOT of the clock signal CLKD and the inverted signal of the clock signal CLKD.
  • the phase interpolators 712 at the second stage When viewed from the input terminal side, the phase interpolators 712 at the second stage generate intermediate phase signals of two input signals of which the phase difference is 90 degrees. More specifically, the phase interpolator 712-1 generates an intermediate-phase signal of an output of the phase interpolator 711-1 and an output of the phase interpolator 711-3. The phase interpolator 712-2 generates an intermediate-phase signal of an output of the phase interpolator 711-2 and an output of the phase interpolator 711-4. The phase interpolator 712-3 generates an intermediate-phase signal of an output of the phase interpolator 711-3 and an output of the phase interpolator 711-5.
  • the phase interpolator 712-4 generates an intermediate-phase signal of an output of the phase interpolator 711-4 and an output of the phase interpolator 711-6.
  • the phase interpolator 712-5 generates an intermediate-phase signal of an output of the phase interpolator 711-5 and an output of the phase interpolator 711-7.
  • the phase interpolator 712-6 generates an intermediate-phase signal of an output of the phase interpolator 711-6 and an output of the phase interpolator 711-8.
  • the phase interpolator 712-7 generates an intermediate-phase signal of an output of the phase interpolator 711-7 and the output of the phase interpolator 711-1.
  • the phase interpolator 712-8 generates an intermediate-phase signal of an output of the phase interpolator 711-8 and the output of the phase interpolator 711-2.
  • the phase interpolators 713 at the third stage When viewed from the input terminal side, the phase interpolators 713 at the third stage generate intermediate-phase signals of two input signals of which the phase difference is 45 degrees. More specifically, the phase interpolator 713-1 generates an intermediate-phase signal of an output of the phase interpolator 712-1 and an output of the phase interpolator 712-2. The phase interpolator 713-2 generates an intermediate-phase signal of the output of the phase interpolator 712-2 and an output of the phase interpolator 712-3. The phase interpolator 713-3 generates an intermediate-phase signal of the output of the phase interpolator 712-3 and an output of the phase interpolator 712-4.
  • the phase interpolator 713-4 generates an intermediate-phase signal of the output of the phase interpolator 712-4 and an output of the phase interpolator 712-5.
  • the phase interpolator 713-5 generates an intermediate-phase signal of the output of the phase interpolator 712-5 and an output of the phase interpolator 712-6.
  • the phase interpolator 713-6 generates an intermediate-phase signal of the output of the phase interpolator 712-6 and an output of the phase interpolator 712-7.
  • the phase interpolator 713-7 generates an intermediate-phase signal of the output of the phase interpolator 712-7 and an output of the phase interpolator 712-8.
  • the phase interpolator 713-8 generates an intermediate-phase signal of the output of the phase interpolator 712-8 and the output of the phase interpolator 712-1.
  • An output of the phase interpolator 713-1 is output as a clock signal OUT_A.
  • An output of the phase interpolator 713-2 is output as a clock signal OUT_B.
  • An output of the phase interpolator 713-3 is output as a clock signal OUT_C.
  • An output of the phase interpolator 713-4 is output as a clock signal OUT_D.
  • An output of the phase interpolator 713-5 is output as a clock signal OUT_E.
  • An output of the phase interpolator 713-6 is output as a clock signal OUT_F.
  • An output of the phase interpolator 713-7 is output as a clock signal OUT_G.
  • An output of the phase interpolator 713-8 is output as a clock signal OUT_H.
  • the phases of the input signals and the output signals of the phase correction circuit 700 are illustrated in Fig. 27. That is, the phases of the output signals are delayed by 67.5 degrees with respect to the input signals and the phase difference between the output signals is 45 degrees as in the input signals.
  • the delay of the output signals of the phase interpolators is an average of the delays of the input signals, excluding delays caused by the phase interpolators. Accordingly, when t1 to t8 are assumed to be delays of the input signals (the clock signals CLKA to CLKD and the inverted signals of these clock signals), delays of the outputs (signals of a node A to a node H) of the phase interpolators 711 at the first stage, the outputs (signals of a node I to a node P) of the phase interpolators 712 at the second stage, and the output signals (the clock signals OUT_A to OUT_H) are shown in tables illustrated in Figs. 28A and 28B. That is, the delays of the output signals are averages of the delays of all of the input signals. Accordingly, even when there is a variation in the delay (phase difference) between the input signals, the variation in the delay (phase difference) is smoothed in the output signals.
  • the phase correction circuit 700 can correct the phases between the clock signals of the multi-phase clock signals and can also delay the phases. That is, the phase correction circuit 700 can delay the multi-phase clock signals while constantly maintaining the phase difference between the clock signals (suppressing the variation in the phase difference).
  • Fig. 29 is a block diagram illustrating an example of a main configuration of an image sensor according to an embodiment of the imaging element to which the present technology is applied.
  • an image sensor 800 illustrated in Fig. 29 incident light is photoelectrically converted and a charge is accumulated in a light reception portion (for example, a photodiode) of a unit pixel, a signal voltage corresponding to the charge is read as a pixel signal and subjected to A/D conversion, and pixel data is obtained. Then, the image sensor 800 outputs the pixel data of each unit pixel as image data.
  • a light reception portion for example, a photodiode
  • the image sensor 800 includes a pixel array 811, a clock generation unit 812, a phase correction unit 813, and an A/D conversion unit 814.
  • the pixel array 811 a plurality of unit pixels that each include a photoelectric conversion element photoelectrically converting incident light are arranged.
  • the unit pixel includes one photoelectric conversion element or a plurality of photoelectric conversion elements and a circuit reading the charge accumulated in the photoelectric conversion element.
  • the unit pixel has a configuration illustrated in Fig. 18.
  • the plurality of unit pixels are arranged on a flat surface or a curved surface.
  • the unit pixels are arranged in an array form (matrix form).
  • control lines transmitting control signals to control transistors of the unit pixels and signal lines transmitting signals (reset levels, pixel signals, or the like) read from the unit pixels are formed.
  • the photoelectric conversion element photoelectrically converts incident light and accumulates an obtained charge.
  • the charge is read from the unit pixel and is supplied to the A/D conversion unit 814 via a signal line by driving each transistor included in the unit pixel according to various control signals transmitted from a scanning unit (not illustrated) via various control lines.
  • the signal line is formed at each column of the unit pixels in the pixel array 811. That is, when the number of columns of the unit pixels is N (where N is any natural number), N signal lines are formed.
  • a signal read from each unit pixel is read for each row of the unit pixels.
  • the read signal is transmitted via the signal line of each column and is supplied to each of the A/D conversion units (an A/D conversion unit 821-1 to an A/D conversion unit 821-N) corresponding to each column of the A/D conversion unit 814.
  • the clock generation unit 812 generates the 4-phase clock signals (CLKA, CLKB, CLKC, and CLKD) configured by four clock signals of which the mutual phase difference is 45 degrees and the inverted signals of these signals, and supplies the signals to the phase correction unit 813.
  • phase correction unit 813 When the phase correction unit 813 acquires the 4-phase clock signals (CLKA, CLKB, CLKC, and CLKD) supplied from the clock generation unit 812 and the inverted signals with the inverted phases, the phase correction unit 813 corrects the phases of the signals using these signals so that a variation in the delay (phase difference) between the signals is suppressed.
  • the phase correction unit 813 supplies the 4-phase clock signals of which phases are corrected to the A/D conversion unit 814.
  • the A/D conversion unit 814 performs A/D conversion on the signal supplied from the pixel array 811.
  • the A/D conversion unit 814 may include an A/D conversion unit for each signal line connected to the pixel array 811.
  • the A/D conversion unit 814 includes an A/D conversion unit for each column of the unit pixels of the pixel array 811. More specifically, the A/D conversion unit 814 includes an A/D conversion unit 821-1 to an A/D conversion unit 821-N.
  • the A/D conversion unit 821-1 to the A/D conversion unit 821-N are simply referred to as the A/D conversion units 821.
  • the A/D conversion unit 821 performs the A/D conversion on the signal supplied from the pixel array 811 via the signal line to which the A/D conversion unit 821 is assigned.
  • the A/D conversion unit 821-1 performs the A/D conversion on the signal read from the unit pixel of the leftmost column of the pixel array 811.
  • the A/D conversion unit 821-2 performs the A/D conversion on the signal read from the unit pixels of the second column from the left of the pixel array 811.
  • the A/D conversion unit 821-N performs the A/D conversion on the signals read from the unit pixels of the rightmost column of the pixel array 811.
  • the A/D conversion unit 821 has any configuration.
  • the A/D conversion unit 821 may have the same configuration as the A/D converter 600 (see Fig. 25A) and may perform the same process. That is, the A/D conversion unit 821 may compare the signal supplied from the pixel array 811 to a ramp signal, perform counting until the comparison result is changed, and obtain the count value as the high-order bit information, and the time quantizer may be configured to obtain 3-bit low-order bit information with higher resolution than the clock signal based on the 4-phase clock signals which are generated by the clock generation unit 812 and of which the delay (phase difference) between the signals is corrected by the phase correction unit 813.
  • the A/D conversion unit 814 outputs the data output from each A/D conversion unit 814 as image data.
  • the 4-phase clock signals which are generated by the clock generation unit 812 and of which the delay (phase difference) between the signals is corrected by the phase correction unit 813 are supplied to the A/D conversion units 821.
  • the A/D conversion unit 814 may include a predetermined number of clock buffers (for example, a clock buffer 822-1 to a clock buffer 822-M (where M is any natural number)) in wirings transmitting the multi-phase clock signals between the phase correction unit 813 and the A/D conversion units 821 in order to prevent attenuation of the signal levels of the multi-phase clock signals.
  • the clock buffer 822-1 to the clock buffer 822-M are simply referred to as the clock buffers 822.
  • the clock buffers 822 can be installed at any positions as long as the positions are located between the phase correction unit 813 and the A/D conversion units 821.
  • the clock buffers 822 may be installed at intervals of a predetermined distance.
  • the clock buffer 822 is configured by an amplification circuit or the like and amplifies and outputs an input signal.
  • the phase correction circuit 700 described with reference to, for example, Figs. 26 to 28 may be applied as the phase correction unit 813. That is, the phase correction unit 813 may correct the phase difference between the clock signals of the input multi-phase clock signals using the plurality of phase interpolators.
  • the image sensor 800 may include the pixel array 811 in which the unit pixels that each include the photoelectric conversion element photoelectrically converting incident light are arranged, the clock generation unit 812 (phase-difference clock generation unit) that generates the multi-phase clock signals configured by the plurality of clock signals of which the mutual phases are shifted, the phase correction unit 813 that uses the plurality of phase interpolators to correct the phase difference between the clock signals of the multi-phase clock signals generated by the clock generation unit 812, and the A/D conversion unit 814 (A/D conversion unit 821) that performs the A/D conversion on an analog signal output from the unit pixel of the pixel array based on the multi-phase clock signals corrected by the phase correction unit 813.
  • the clock generation unit 812 phase-difference clock generation unit
  • the phase correction unit 813 that uses the plurality of phase interpolators to correct the phase difference between the clock signals of the multi-phase clock signals generated by the clock generation unit 812
  • the A/D conversion unit 814 A/D conversion unit 821
  • the A/D conversion unit 821 may be installed at each column of the unit pixels of the pixel array 811 and may perform the A/D conversion on the analog signal output from the unit pixels of the column corresponding to the A/D conversion unit 821 based on the multi-phase clock signal corrected by the phase correction unit 813.
  • the image sensor 800 can realize the high bit depth of the captured image data more easily.
  • the phase correction circuit 700 may be applied as the phase correction unit 813, it is not necessary to considerably change an existing layout. Accordingly, development can be easily achieved and it is possible to reduce a time necessary for the development. Further, it is possible to prevent the circuit size (area) from increasing. Accordingly, it is possible to suppress development or manufacturing cost from increasing.
  • Fig. 30 is a block diagram illustrating an example of a main configuration of the clock generation unit 812. As illustrated in Fig. 30, the clock generation unit 812 includes a delay element 831 to a delay element 838. The delay element 831 to the delay element 838 are connected in series and outputs of the delay elements are output as clock signals or inverted signals of the clock signals.
  • the delay element 831 to the delay element 838 each delay the phase of an input signal by 45 degrees.
  • the delay element 831 to the delay element 838 are each formed by, for example, a NAND circuit, a NOR circuit, a differential amplifier, or an inverter used in a ring oscillator.
  • a clock signal input by the clock generation unit 812 is supplied to the delay element 831, the phase of the clock signal is delayed by 45 degrees, and this clock signal is output as the clock signal CLKA to the outside of the clock generation unit 812.
  • the clock signal CLKA is also supplied to the delay element 832, the phase of the clock signal is delayed by 45 degrees, and this clock signal is output as the clock signal CLKB to the outside of the clock generation unit 812.
  • the clock signal CLKB is also supplied to the delay element 833, the phase of the clock signal is delayed by 45 degrees, and this clock signal is output as the clock signal CLKC to the outside of the clock generation unit 812.
  • the clock signal CLKC is also supplied to the delay element 834, the phase of the clock signal is delayed by 45 degrees, and this clock signal is output as the clock signal CLKD to the outside of the clock generation unit 812.
  • the clock signal CLKD is also supplied to the delay element 835, the phase of the clock signal is delayed by 45 degrees, and this clock signal is output as the inverted signal of the clock signal CLKA to the outside of the clock generation unit 812.
  • the inverted signal of the clock signal CLKA is also supplied to the delay element 836, the phase of the clock signal is delayed by 45 degrees, and this clock signal is output as the inverted signal of the clock signal CLKB to the outside of the clock generation unit 812.
  • the inverted signal of the clock signal CLKB is also supplied to the delay element 837, the phase of the clock signal is delayed by 45 degrees, and this clock signal is output as the inverted signal of the clock signal CLKC to the outside of the clock generation unit 812.
  • the inverted signal of the clock signal CLKC is also supplied to the delay element 838, the phase of the clock signal is delayed by 45 degrees, and this clock signal is output as the inverted signal of the clock signal CLKD to the outside of the clock generation unit 812.
  • Japanese Unexamined Patent Application Publication No. 2008-92091 suggests a phase-locked loop circuit including a ring oscillator as a clock signal generation source.
  • the configuration of the phase-locked loop circuits is complex and the circuit size thereof is large.
  • the circuit configuration of the clock generation unit 812 configured as in Fig. 30 is simpler than the phase-locked loop circuit and the circuit size thereof is smaller.
  • the clock generation unit 812 configured as in Fig. 30 there is a concern that a variation in the delay amount may occur due to an individual difference between the delay elements. Accordingly, there is a concern that a large variation unallowable in the phase difference (delay) between the clock signals of the multi-phase clock signals generated by the clock generation unit 812 occurs.
  • the multi-phase clock signals generated by the clock generation unit 812 are supplied to the A/D conversion units 821 without passing through the phase correction unit 813, there is a concern that erroneous determination of the count value in the A/D conversion units 821 occurs due to the variation in the phase difference (delay) between the clock signals of the multi-phase clock signals.
  • phase correction circuit 700 as the phase correction unit 813, the variation in the phase difference (delay) between the clock signals of the multi-phase clock signals is suppressed. Therefore, even when the clock generation unit 812 with the simple configuration illustrated in Fig. 30 is applied, it is possible to obtain the multi-phase clock signals with sufficient high precision (the variation in the phase difference (delay) between the clock signals is sufficiently small).
  • phase correction circuit 700 as the phase correction unit 813, the configuration of the clock generation unit 812 can be simplified, thereby preventing the circuit size or the cost from increasing.
  • phase correction unit 813 and the A/D conversion unit 814 illustrated in Fig. 29 may be integrated. That is, in Fig. 29, the A/D conversion unit 814 may include the phase correction unit 813.
  • the phase correction unit 813 and the A/D conversion unit 814 may be formed as a single independent device (for example, an A/D conversion device) (or as a single device in any unit such as a unit, a module, a chip, or a block).
  • the clock generation unit 812, the phase correction unit 813, and the A/D conversion unit 814 illustrated in Fig. 29 may be integrated. That is, in Fig. 29, the A/D conversion unit 814 may include the clock generation unit 812 and the phase correction unit 813.
  • the clock generation unit 812, the phase correction unit 813, and the A/D conversion unit 814 may be formed as a single independent device (for example, an A/D conversion device) (or as a single device in any unit such as a unit, a module, a chip, or a block).
  • phase correction circuit 700 as the phase correction unit 813 in the A/D conversion device with such a configuration, the high resolution of the A/D conversion can be realized easily.
  • the A/D conversion device may include the clock generation unit 812 (phase-difference clock generation unit) that generates the multi-phase clock signals configured by the plurality of clock signals of which mutual phases are shifted, the phase correction unit 813 that uses the plurality of phase interpolators to correct the phase difference between the clock signals of the multi-phase clock signals generated by the clock generation unit 812, and the A/D conversion unit 814 (A/D conversion units 821) that performs the A/D conversion on an input analog signal based on the multi-phase clock signals corrected by the phase correction unit 813.
  • the clock generation unit 812 phase-difference clock generation unit
  • the phase correction unit 813 that uses the plurality of phase interpolators to correct the phase difference between the clock signals of the multi-phase clock signals generated by the clock generation unit 812
  • the A/D conversion unit 814 A/D conversion units 821 that performs the A/D conversion on an input analog signal based on the multi-phase clock signals corrected by the phase correction unit 813.
  • the phase interpolator may output an output signal at a timing delayed by a delay time of the phase interpolator from an intermediate timing of a phase difference of two input signals.
  • the clock generation unit 812 may generate 4-phase lock signals of which the phase difference is 45 degrees.
  • the phase correction unit 813 may generate an intermediate-phase signal of two input signals of which the phase difference is 0 degrees by the phase interpolator at the first stage, generate an intermediate-phase signal of two input signals of which the phase difference is 90 degrees by the phase interpolator at the second stage, and generate an intermediate-phase signal of two input signals of which the phase difference is 45 degrees by the phase interpolator at the third stage.
  • the A/D conversion unit 821 may include the counter 603 that counts the number of periods of the clock signal and outputs the count value as a high-order bit, the comparator 601 that compares a reference voltage of a ramp waveform and an input voltage, and the latch & decoder 602 (time quantizer) that acquires phase information by simultaneously latching the multi-phase clock signals corrected by the phase correction unit using an inversion of the output of the comparison unit as a trigger, decodes the value of the phase information, and outputs the obtained digital value as a low-order bit with high resolution than the period of the clock signal.
  • the counter 603 that counts the number of periods of the clock signal and outputs the count value as a high-order bit
  • the comparator 601 that compares a reference voltage of a ramp waveform and an input voltage
  • the latch & decoder 602 time quantizer
  • the phase correction circuit 700 may be applied as a clock buffer.
  • Fig. 31 illustrates an example of a main configuration of an image sensor in this case.
  • An image sensor 850 illustrated in Fig. 31 has basically the same configuration as the image sensor 800 (see Fig. 29).
  • an A/D conversion unit 814 includes phase correction units 813 (a phase correction unit 813-2 to a phase correction unit 813-K (where K is an integer equal to or greater than 2)) instead of the clock buffers 822 (the clock buffer 822-1 to the clock buffer 822-M).
  • the phase correction unit 813 may be installed at intervals of a predetermined number of columns, and the A/D conversion unit 821 may perform A/D conversion using the multi-phase clock signal corrected by the phase correction unit 813 corresponding to the column corresponding to the A/D conversion unit 821.
  • the phase correction units 813 and the clock buffers 822 may be used together. That is, all of the clock buffers 822 (the clock buffer 822-1 to the clock buffer 822-M) of the A/D conversion unit 814 may not be substituted with the phase correction units 813 (the phase correction unit 813-2 to the phase correction unit 813-K), but some of the clock buffers 822 may be substituted with the phase correction units 813.
  • the multi-phase clock signals may be basically transmitted to the clock buffers 822 and the variation in the phase difference between the clock signals of the multi-phase clock signals may be configured to be reset by the phase correction unit 813 immediately before the variation in the phase difference increases and reaches an unallowable level.
  • phase correction units 813 to which an embodiment of the present technology is applied can be applied to an imaging element including, for example, a plurality of semiconductor substrates (the semiconductor substrate 501 to the semiconductor substrate 502) superimposing each other, as illustrated in Fig. 22.
  • the phase correction units 813 to which an embodiment of the present technology is applied can be applied not only to an imaging element using the column A/D conversion units each installed at each column of the pixel array described above, similarly but also to an imaging element using an area A/D conversion unit that performs A/D conversion a pixel signal (analog signal) supplied from a unit pixel in an area (a partial region of a pixel region in which the pixel array 811 is formed) corresponding to the A/D conversion unit and outputs digital data indicating a signal level of each pixel signal, for example, as illustrated in Fig. 24.
  • the phase correction unit 813 may be installed at intervals of a predetermined number of partial regions and the A/D conversion unit 821 may perform A/D conversion using the multi-phase clock signal corrected by the phase correction unit 813 corresponding to the partial region corresponding to the A/D conversion unit 821.
  • FIG. 32 is a block diagram illustrating an example of a main configuration of an imaging device which is an example of an electronic device to which the present technology is applied.
  • An imaging device 900 illustrated in Fig. 32 is a device that images a subject and outputs an image of the subject as an electric signal.
  • the imaging device 900 includes an optical unit 911, a CMOS sensor 912, an A/D converter 913, an operation unit 914, a control unit 915, an image processing unit 916, a display unit 917, a codec processing unit 918 and a recording unit 919.
  • the optical unit 911 includes a lens that adjusts focusing of a subject and condenses light from a focused position, a diaphragm that adjusts exposure, and a shutter that controls a timing of imaging.
  • the optical unit 911 allows light (incident light) from the subject to pass through and supplies the light to the CMOS sensor 912.
  • the CMOS sensor 912 photoelectrically converts the incident light and supplies a signal (pixel signal) of each pixel to the A/D converter 913.
  • the A/D converter 913 converts the pixel signal supplied from the CMOS sensor 912 at a predetermined timing into digital data (image data) and sequentially supplies the digital data to the image processing unit 916.
  • the CMOS sensor 912 and the A/D converter 913 may be integrated (formed as one module) and may be configured as an imaging element 921 (imaging unit).
  • the operation unit 914 includes, for example, a jog dial (trademark), a key, a button, or a touch panel, receives an operation input by a user, and supplies a signal corresponding to the operation input to the control unit 915.
  • the control unit 915 performs a process relevant to imaging of each unit by controlling driving of the optical unit 911, the CMOS sensor 912, the A/D converter 913, the image processing unit 916, the display unit 917, the codec processing unit 918, and the recording unit 919 based on the signal corresponding to the operation input of the user input by the operation unit 914.
  • the image processing unit 916 performs image processing on the image data obtained by the imaging. More specifically, the image processing unit 916 performs various kinds of image processing, such as mixed color correction, black level correction, white balance adjustment, demosaic processing, matrix processing, gamma correction, and YC conversion, on the image data supplied from the A/D converter 913 (imaging element 921). The image processing unit 916 supplies the image data subjected to the image processing to the display unit 917 and the codec processing unit 918.
  • the display unit 917 is configured as, for example, a liquid crystal display and displays an image of a subject based on the image data supplied from the image processing unit 916.
  • the codec processing unit 918 performs an encoding process of a predetermined scheme on the image data supplied from the image processing unit 916 and supplies obtained encoded data to the recording unit 919.
  • the recording unit 919 records the encoded data from the codec processing unit 918.
  • the encoded data recorded on the recording unit 919 is read and decoded by the image processing unit 916, as necessary.
  • the image data obtained by the decoding process is supplied to the display unit 917 so that the corresponding image is displayed.
  • the imaging element 921 including the CMOS sensor 912 and the A/D converter 913 of the foregoing imaging device 900 is used as the imaging element 921.
  • the imaging element 921 can achieve the high speed, the high resolution, or both thereof more easily. Accordingly, the imaging device 900 can obtain an image with higher quality by imaging a subject.
  • the imaging device to which the present technology is applied is not limited to the above-described configuration, but may have another configuration.
  • the imaging device may be an information processing device having an imaging function, such as a portable telephone, a smartphone, a tablet type device, or a personal computer, as well as a digital still camera or a video camera.
  • the imaging device may also be a camera module mounted on another information processing device to be used (or mounted as an embedded device).
  • the configuration described as one device (or processing unit) may be divided to be configured as a plurality of devices (or processing units).
  • the configurations described as the plurality of devices (or processing units) may be integrated to be configured as one device (or processing unit).
  • Another configuration of the above-described configuration may, of course, be added to the configuration of each device (or each processing unit).
  • a part of the configuration of a given device (or processing unit) may also be included in the configuration of another device (or another processing unit).
  • An A/D conversion device includes: a phase-difference clock generation unit configured to use a plurality of phase interpolators to generate multi-phase clock signals, of which phases are shifted with respect to an input clock signal, from the clock signal and a signal obtained by delaying the clock signal; and an A/D conversion unit configured to perform A/D conversion on an input analog signal using the multi-phase clock signals generated by the phase-difference clock generation unit.
  • the phase-difference clock generation unit may include one delay circuit and four phase interpolators and generates 4-phase clock signals from the input clock signal.
  • the phase interpolator may output an output signal at a timing delayed by a delay time of the phase interpolator from an intermediate timing of a phase difference of two input signals.
  • the A/D conversion unit may include a counter configured to count the number of periods of the clock signal and output a count value as a high-order bit, a comparison unit configured to compare a reference voltage of a ramp waveform and an input voltage, and a time quantization unit configured to acquire phase information by simultaneously latching the multi-phase clock signals generated by the phase-difference clock generation unit using an inversion of an output of the comparison unit as a trigger, decode values of the phase information, and output obtained digital values as low-order bits with higher resolution than a period of the clock signal.
  • An imaging element includes: a pixel array configured such that unit pixels that each include a photoelectric conversion element photoelectrically converting incident light are arranged; a phase-difference clock generation unit configured to use a plurality of phase interpolators to generate multi-phase clock signals, of which phases are shifted with respect to an input clock signal, from the clock signal and a signal obtained by delaying the clock signal; and an A/D conversion unit configured to perform A/D conversion on an analog signal output from the unit pixel of the pixel array using the multi-phase clock signals generated by the phase-difference clock generation unit.
  • the A/D conversion unit may be installed at each column of the unit pixels of the pixel array and perform the A/D conversion on an analog signal output from the unit pixel of the column corresponding to the A/D conversion unit, using the multi-phase clock signal generated by the phase-difference clock generation unit.
  • the phase-difference clock generation unit may be installed at intervals of a predetermined number of columns. The A/D conversion unit may perform the A/D conversion using the multi-phase clock signal generated by the phase-difference clock generation unit corresponding to the column corresponding to the A/D conversion unit.
  • the A/D conversion unit may be installed at each partial region of the unit pixels of the pixel array and perform the A/D conversion on an analog signal output from the unit pixel of the partial region corresponding to the A/D conversion unit, using the multi-phase clock signal generated by the phase-difference clock generation unit.
  • the phase-difference clock generation unit may be installed at intervals of a predetermined number of partial regions. The A/D conversion unit may perform the A/D conversion using the multi-phase clock signal generated by the phase-difference clock generation unit corresponding to the partial region corresponding to the A/D conversion unit.
  • An electronic device includes: an imaging unit configured to image a subject; and an image processing unit configured to perform image processing on image data obtained through the imaging by the imaging unit.
  • the imaging unit includes a pixel array in which unit pixels that each include a photoelectric conversion element photoelectrically converting incident light are arranged, a phase-difference clock generation unit configured to use a plurality of phase interpolators to generate multi-phase clock signals, of which phases are shifted with respect to an input clock signal, from the clock signal and a signal obtained by delaying the clock signal, and an A/D conversion unit configured to perform A/D conversion on an analog signal output from the unit pixel of the pixel array using the multi-phase clock signals generated by the phase-difference clock generation unit.
  • a gray code generation device includes: a phase-difference clock generation unit configured to use a plurality of phase interpolators to generate multi-phase clock signals, of which phases are shifted with respect to an input clock signal, from the clock signal and a signal obtained by delaying the clock signal; and a gray code generation unit configured to use a plurality of phase interpolators and logic gates to generate gray codes from the multi-phase clock signals generated by the phase-difference clock generation unit.
  • the gray code generation unit may include a first gray code generation unit configured to generate a high-order gray code from one of the multi-phase clock signals generated by the phase-difference clock generation unit, and a second gray code generation unit configured to generate a low-order gray code from remainder of the multi-phase clock signals generated by the phase-difference clock generation unit.
  • An A/D conversion device includes: a phase-difference clock generation unit configured to use a plurality of phase interpolators to generate multi-phase clock signals, of which phases are shifted with respect to an input clock signal, from the clock signal and a signal obtained by delaying the clock signal; a gray code generation unit configured to use a plurality of phase interpolators and logic gates to generate gray codes from the multi-phase clock signals generated by the phase-difference clock generation unit: and an A/D conversion unit configured to perform A/D conversion on an input analog signal using the gray codes generated by the gray code generation unit.
  • the A/D conversion unit may include a counter configured to count the number of periods of the clock signal and output a count value as a high-order bit, a comparison unit configured to compare a reference voltage of a ramp waveform and an input voltage, and a latch configured to simultaneously latch the gray codes generated by the gray code generation unit using an inversion of an output of the comparison unit as a trigger, convert the gray codes into binary values, and output obtained digital values as low-order bits.
  • An imaging element includes: a pixel array configured such that unit pixels that each include a photoelectric conversion element photoelectrically converting incident light are arranged; a phase-difference clock generation unit configured to use a plurality of phase interpolators to generate multi-phase clock signals, of which phases are shifted with respect to an input clock signal, from the clock signal and a signal obtained by delaying the clock signal; a gray code generation unit configured to use a plurality of phase interpolators and logic gates to generate gray codes from the multi-phase clock signals generated by the phase-difference clock generation unit; and an A/D conversion unit configured to perform A/D conversion on an analog signal output from the unit pixel of the pixel array using the gray codes generated by the gray code generation unit.
  • the A/D conversion unit may be installed at each column of the unit pixels of the pixel array and perform the A/D conversion on an analog signal output from the unit pixel of the column corresponding to the A/D conversion unit, using the gray code generated by the gray code generation unit.
  • the gray code generation unit may be installed at intervals of a predetermined number of columns. The A/D conversion unit may perform the A/D conversion using the gray code generated by the gray code generation unit corresponding to the column corresponding to the A/D conversion unit.
  • the A/D conversion unit may be installed at each partial region of the unit pixels of the pixel array and perform the A/D conversion on an analog signal output from the unit pixel of the partial region corresponding to the A/D conversion unit, using the gray code generated by the gray code generation unit.
  • the gray code generation unit may be installed at intervals of a predetermined number of partial regions. The A/D conversion unit may perform the A/D conversion using the gray code generated by the gray code generation unit corresponding to the partial region corresponding to the A/D conversion unit.
  • An electronic device includes: an imaging unit configured to image a subject; and an image processing unit configured to perform image processing on image data obtained through the imaging by the imaging unit.
  • the imaging unit includes a pixel array in which unit pixels that each include a photoelectric conversion element photoelectrically converting incident light are arranged, a phase-difference clock generation unit configured to use a plurality of phase interpolators to generate multi-phase clock signals, of which phases are shifted with respect to an input clock signal, from the clock signal and a signal obtained by delaying the clock signal, a gray code generation unit configured to use a plurality of phase interpolators and logic gates to generate gray codes from the multi-phase clock signals generated by the phase-difference clock generation unit, and an A/D conversion unit configured to perform A/D conversion on an analog signal output from the unit pixel of the pixel array using the gray code generated by the gray code generation unit.
  • An A/D conversion device includes: a phase-difference clock generation unit configured to generate multi-phase clock signals formed from a plurality of clock signals of which phases are mutually shifted; a phase correction unit configured to use a plurality of phase interpolators to correct phase differences between clock signals of the multi-phase clock signals generated by the phase-difference clock generation unit; and an A/D conversion unit configured to perform A/D conversion on an input analog signal using the multi-phase clock signals corrected by the phase correction unit.
  • the phase interpolator may output an output signal at a timing delayed by a delay time of the phase interpolator from an intermediate timing of a phase difference of two input signals.
  • the phase-difference clock generation unit may generate 4-phase clock signals of which a phase difference is 45 degrees.
  • the phase correction unit may generate an intermediate-phase signal of two input signals of which the phase difference is 0 degrees by a first-stage phase interpolator, generate an intermediate-phase signal of two input signals of which the phase difference is 90 degrees by a second-stage phase interpolator, and generate an intermediate-phase signal of two input signals of which the phase difference is 45 degrees by a third-stage phase interpolator.
  • the A/D conversion unit may include a counter configured to count the number of periods of the clock signal and output a count value as a high-order bit, a comparison unit configured to compare a reference voltage of a ramp waveform and an input voltage, and a time quantization unit configured to acquire phase information by simultaneously latching the multi-phase clock signals corrected by the phase correction unit using an inversion of an output of the comparison unit as a trigger, decode values of the phase information, and output obtained digital values as low-order bits with higher resolution than a period of the clock signal.
  • An imaging element includes: a pixel array configured such that unit pixels that each include a photoelectric conversion element photoelectrically converting incident light are arranged; a phase-difference clock generation unit configured to generate multi-phase clock signals formed from a plurality of clock signals of which phases are mutually shifted; a phase correction unit configured to use a plurality of phase interpolators to correct phase differences between clock signals of the multi-phase clock signals generated by the phase-difference clock generation unit; and an A/D conversion unit configured to perform A/D conversion on an analog signal output from the unit pixel of the pixel array using the multi-phase clock signals corrected by the phase correction unit.
  • the A/D conversion unit may be installed at each column of the unit pixels of the pixel array and perform the A/D conversion on an analog signal output from the unit pixel of the column corresponding to the A/D conversion unit, using the multi-phase clock signal corrected by the phase correction unit.
  • the phase correction unit may be installed at intervals of a predetermined number of columns. The A/D conversion unit may perform the A/D conversion using the multi-phase clock signal corrected by the phase correction unit corresponding to the column corresponding to the A/D conversion unit.
  • the A/D conversion unit may be installed at each partial region of the unit pixels of the pixel array and perform the A/D conversion on an analog signal output from the unit pixel of the partial region corresponding to the A/D conversion unit, using the multi-phase clock signal corrected by the phase correction unit.
  • the phase correction unit may be installed at intervals of a predetermined number of partial regions. The A/D conversion unit may perform the A/D conversion using the multi-phase clock signal corrected by the phase correction unit corresponding to the partial region corresponding to the A/D conversion unit.
  • An electronic device includes: an imaging unit configured to image a subject; and an image processing unit configured to perform image processing on image data obtained through the imaging by the imaging unit.
  • the imaging unit includes a pixel array in which unit pixels that each include a photoelectric conversion element photoelectrically converting incident light are arranged, a phase-difference clock generation unit configured to generate multi-phase clock signals formed from a plurality of clock signals of which phases are mutually shifted, a phase correction unit configured to use a plurality of phase interpolators to correct phase differences between clock signals of the multi-phase clock signals generated by the phase-difference clock generation unit, and an A/D conversion unit configured to perform A/D conversion on an analog signal output from the unit pixel of the pixel array using the multi-phase clock signals corrected by the phase correction unit.
  • a signal processing device includes a phase correction unit configured to use a plurality of phase interpolators to correct phase differences between clock signals of multi-phase clock signals formed from a plurality of clock signals of which phases are mutually shifted.
  • the phase interpolator may output an output signal at a timing delayed by a delay time of the phase interpolator from an intermediate timing of a phase difference of two input signals.
  • the multi-phase clock signals are 4-phase clock signals including a first clock signal to a fourth clock signal of which the mutual phase difference is 45 degrees.
  • the phase correction unit may generate an intermediate-phase signal of two input signals of which the phase difference is 0 degrees by a first-stage phase interpolator, generate an intermediate-phase signal of two input signals of which the phase difference is 90 degrees by a second-stage phase interpolator, and generate an intermediate-phase signal of two input signals of which the phase difference is 45 degrees by a third-stage phase interpolator.
  • the phase correction unit may include, as the first-stage phase interpolators, a 1st phase interpolator configured to generate an intermediate-phase signal of the first clock signal and NOT of an inverted signal of the first clock signal, a 2nd phase interpolator configured to generate an intermediate-phase signal of the second clock signal and NOT of an inverted signal of the second clock signal, a 3rd phase interpolator configured to generate an intermediate-phase signal of the third clock signal and NOT of an inverted signal of the third clock signal, a 4th phase interpolator configured to generate an intermediate-phase signal of the fourth clock signal and NOT of an inverted signal of the fourth clock signal, a 5th phase interpolator configured to generate an intermediate-phase signal of NOT of the first clock signal and the inverted signal of the first clock signal, a 6th phase interpolator configured to generate an intermediate-phase signal of NOT of the second clock signal and the inverted signal of the second clock signal, a 7th phase interpolator configured to generate an intermediate-stage phase interpolators, a 1st phase interpolator configured to
  • the phase correction unit may include, as the second-stage phase interpolators, a 9th phase interpolator configured to generate an intermediate-phase signal of an output of the 1st phase interpolator and an output of the 3rd phase interpolator, a 10th phase interpolator configured to generate an intermediate-phase signal of an output of the 2nd phase interpolator and an output of the 4th phase interpolator, an 11th phase interpolator configured to generate an intermediate-phase signal of the output of the 3rd phase interpolator and an output of the 5th phase interpolator, a 12th phase interpolator configured to generate an intermediate-phase signal of the output of the 4th phase interpolator and an output of the 6th phase interpolator, a 13th phase interpolator configured to generate an intermediate-phase signal of the output of the 5th phase interpolator and an output of the 7th phase interpolator, a 14th phase interpolator configured to generate an intermediate-phase signal of the output of the 6th phase interpolator and an output of the 8th phase interpolator,
  • the phase correction unit may include, as the third-stage phase interpolators, a 17th phase interpolator configured to generate an intermediate-phase signal of an output of the 9th phase interpolator and an output of the 10th phase interpolator, an 18th phase interpolator configured to generate an intermediate-phase signal of the output of the 10th phase interpolator and an output of the 11th phase interpolator, a 19th phase interpolator configured to generate an intermediate-phase signal of the output of the 11th phase interpolator and an output of the 12th phase interpolator, a 20th phase interpolator configured to generate an intermediate-phase signal of the output of the 12th phase interpolator and an output of the 13th phase interpolator, a 21st phase interpolator configured to generate an intermediate-phase signal of the output of the 13th phase interpolator and an output of the 14th phase interpolator, a 22nd phase interpolator configured to generate an intermediate-phase signal of the output of the 14th phase interpolator and an output of the 15th phase interpolator, a 23
  • A/D conversion device which includes a phase-difference clock generation unit configured to use a plurality of phase interpolators to generate multi-phase clock signals, of which phases are shifted with respect to an input clock signal, from the input clock signal and a signal obtained by delaying the input clock signal; and an A/D conversion unit configured to convert an input analog signal using the multi-phase clock signals generated by the phase-difference clock generation unit.
  • the phase-difference clock generation unit includes a delay circuit and a number of phase interpolators, and the phase-difference clock generation unit is configured to generate, based on the input clock signal, a number of phase clock signals corresponding to the number of phase interpolators.
  • the A/D conversion device includes:a comparison unit configured to compare a reference voltage of a ramp waveform and an input voltage; and a time quantization unit configured to acquire phase information by latching the multi-phase clock signals generated by the phase-difference clock generation unit based on an inversion of an output of the comparison unit, decode values of the phase information, and output obtained digital values at a resolution greater than a period of the input clock signal.
  • the A/D conversion unit further includes a counter configured to count a number of periods of the input clock signal and output a count value as a high order bit, wherein the obtained digital values are output as lower order bits.
  • An imaging element which includes a pixel array including a plurality of unit pixels, wherein each unit pixel of the plurality of unit pixels includes a photoelectric conversion element configured to photoelectrically convert incident light; a phase-difference clock generation unit configured to use a plurality of phase interpolators to generate multi-phase clock signals, of which phases are shifted with respect to an input clock signal, from the input clock signal and a signal obtained by delaying the input clock signal; and an analog to digital (A/D) conversion unit configured to convert an analog signal output from the unit pixel of the pixel array using the multi-phase clock signals generated by the phase-difference clock generation unit.
  • A/D analog to digital
  • each column or partial region of the unit pixels of the pixel array includes an A/D conversion unit configured to convert an analog signal output from the unit pixel of the column or the partial region corresponding to the A/D conversion unit to a digital output signal using the multi-phase clock signals generated by the phase-difference clock generation unit.
  • a predetermined number of columns or partial regions includes a phase-difference clock generation unit, and wherein the A/D conversion unit performs the A/D conversion using the multi-phase clock signals generated by the phase-difference clock generation unit corresponding to the column or the partial region corresponding to the A/D conversion unit.
  • An electronic device which includes: an imaging unit configured to image a subject; and an image processing unit configured to perform image processing on image data obtained by the imaging unit, wherein the imaging unit includes: a pixel array including a plurality of unit pixels, wherein each unit pixel of the plurality of unit pixels includes a photoelectric conversion element configured to photoelectrically convert incident light; a phase-difference clock generation unit configured to use a plurality of phase interpolators to generate multi-phase clock signals, of which phases are shifted with respect to an input clock signal, from the input clock signal and a signal obtained by delaying the input clock signal, and an analog to digital (A/D) conversion unit configured to convert an analog signal output from the unit pixel of the pixel array using the multi-phase clock signals generated by the phase-difference clock generation unit.
  • A/D analog to digital
  • a gray code generation device which includes: a phase-difference clock generation unit configured to use a plurality of phase interpolators to generate multi-phase clock signals, of which phases are shifted with respect to an input clock signal, from the input clock signal and a signal obtained by delaying the input clock signal; and a gray code generation unit configured to use a plurality of phase interpolators and logic gates to generate gray codes from the multi-phase clock signals generated by the phase-difference clock generation unit.
  • the gray code generation unit includes: a first gray code generation unit configured to generate a high-order gray code from one of the multi-phase clock signals generated by the phase-difference clock generation unit, and a second gray code generation unit configured to generate a low-order gray code from a remainder of the multi-phase clock signals generated by the phase-difference clock generation unit.
  • An analog to digital (A/D) conversion device including: a phase-difference clock generation unit configured to use a plurality of phase interpolators to generate multi-phase clock signals, of which phases are shifted with respect to an input clock signal, from the input clock signal and a signal obtained by delaying the input clock signal; a gray code generation unit configured to use a plurality of phase interpolators and logic gates to generate gray codes from the multi-phase clock signals generated by the phase-difference clock generation unit; and an A/D conversion unit configured to convert an input analog signal using the gray codes generated by the gray code generation unit.
  • the A/D conversion device includes: a comparison unit configured to compare a reference voltage of a ramp waveform and an input voltage; and a latch configured to latch the gray codes generated by the gray code generation unit using an inversion of an output of the comparison unit, convert the gray codes into binary values, and output obtained digital values.
  • the A/D conversion unit further includes a counter configured to count a number of periods of the input clock signal and output a count value as a high order bit, wherein the obtained digital values are output as lower order bits.
  • An imaging element which includes: a pixel array including a pixel array including a plurality of unit pixels, wherein each unit pixel of the plurality of unit pixels includes a photoelectric conversion element configured to photoelectrically convert incident light; a phase-difference clock generation unit configured to use a plurality of phase interpolators to generate multi-phase clock signals, of which phases are shifted with respect to an input clock signal, from the input clock signal and a signal obtained by delaying the input clock signal; a gray code generation unit configured to use a plurality of phase interpolators and logic gates to generate gray codes from the multi-phase clock signals generated by the phase-difference clock generation unit; and an analog to digital (A/D) conversion unit configured to convert an analog signal output from the unit pixel of the pixel array using the gray codes generated by the gray code generation unit.
  • A/D analog to digital
  • each column or each partial region of the unit pixels of the pixel array includes an A/D conversion unit configured to convert an analog signal output from the unit pixel of the column or the partial region corresponding to the A/D conversion unit using a gray code generated by the gray code generation unit.
  • An electronic device including: an imaging unit configured to image a subject; and an image processing unit configured to perform image processing on image data obtained through the imaging by the imaging unit, wherein the imaging unit includes: a pixel array including a plurality of unit pixels, wherein each unit pixel of the plurality of unit pixels includes a photoelectric conversion element configured to photoelectrically converting incident light; a phase-difference clock generation unit configured to use a plurality of phase interpolators to generate multi-phase clock signals, of which phases are shifted with respect to an input clock signal, from the input clock signal and a signal obtained by delaying the input clock signal, a gray code generation unit configured to use a plurality of phase interpolators and logic gates to generate gray codes from the multi-phase clock signals generated by the phase-difference clock generation unit; and an A/D conversion unit configured to convert an analog signal output from the unit pixel of the pixel array using the gray codes generated by the gray code generation unit.
  • An analog to digital (A/D) conversion device which includes: a phase-difference clock generation unit configured to generate multi-phase clock signals formed from a plurality of clock signals of which phases are mutually shifted; a phase correction unit configured to use a plurality of phase interpolators to correct phase differences between clock signals of the multi-phase clock signals generated by the phase-difference clock generation unit; and an A/D conversion unit configured to convert an input analog signal using the multi-phase clock signals corrected by the phase correction unit.
  • An imaging element including: a pixel array including a plurality of unit pixels, wherein each unit pixel of the plurality of unit pixels includes a photoelectric conversion element configured to photoelectrically convert incident light; a phase-difference clock generation unit configured to generate multi-phase clock signals based on a plurality of clock signals of which phases are mutually shifted; a phase correction unit configured to use a plurality of phase interpolators to correct phase differences between clock signals of the multi-phase clock signals generated by the phase-difference clock generation unit; and an A/D conversion unit configured to convert an analog signal output from the unit pixel of the pixel array using the multi-phase clock signals corrected by the phase correction unit.
  • An electronic device which includes: an imaging unit configured to image a subject; and an image processing unit configured to perform image processing on image data obtained through the imaging of the subject by the imaging unit, wherein the imaging unit includes: a pixel array including a plurality of unit pixels, wherein each unit pixel of the plurality of unit pixels includes a photoelectric conversion element configured to photoelectrically converting incident light; a phase-difference clock generation unit configured to generate multi-phase clock signals based on a plurality of clock signals of which phases are mutually shifted; a phase correction unit configured to use a plurality of phase interpolators to correct phase differences between clock signals of the multi-phase clock signals generated by the phase-difference clock generation unit; and an analog to digital (A/D) conversion unit configured to convert an analog signal output from the unit pixel of the pixel array using the multi-phase clock signals corrected by the phase correction unit.
  • A/D analog to digital
  • a signal processing device which includes a phase correction unit configured to use a plurality of phase interpolators to correct phase differences between clock signals of multi-phase clock signals formed from a plurality of clock signals, wherein the plurality of clock signals include clock signals having phases which are mutually shifted.

Landscapes

  • Engineering & Computer Science (AREA)
  • Theoretical Computer Science (AREA)
  • Multimedia (AREA)
  • Signal Processing (AREA)
  • Physics & Mathematics (AREA)
  • Nonlinear Science (AREA)
  • Analogue/Digital Conversion (AREA)
  • Transforming Light Signals Into Electric Signals (AREA)
  • Manipulation Of Pulses (AREA)
  • Optical Modulation, Optical Deflection, Nonlinear Optics, Optical Demodulation, Optical Logic Elements (AREA)
PCT/JP2014/005841 2013-11-27 2014-11-20 A/d conversion device with a multiphase clock generation unit based on phase interpolators Ceased WO2015079663A1 (en)

Priority Applications (5)

Application Number Priority Date Filing Date Title
CN201480063496.5A CN105830434B (zh) 2013-11-27 2014-11-20 具有基于相位插值器的多相位时钟生成单元的a/d转换装置
US15/025,378 US10334195B2 (en) 2013-11-27 2014-11-20 A/D conversion device, gray code generation device, signal processing device, imaging element, and electronic device
CN201910972975.3A CN110677607B (zh) 2013-11-27 2014-11-20 具有基于相位插值器的多相位时钟生成单元的a/d转换装置
KR1020167013394A KR20160091328A (ko) 2013-11-27 2014-11-20 위상 보간기를 기초로 한 다상 클록 생성부를 갖는 a/d 변환 장치
US16/430,793 US10659710B2 (en) 2013-11-27 2019-06-04 A/D conversion device, gray code generation device, signal processing device, imaging element, and electronic device

Applications Claiming Priority (4)

Application Number Priority Date Filing Date Title
JP2013244949 2013-11-27
JP2013-244949 2013-11-27
JP2014-100185 2014-05-14
JP2014100185A JP6394056B2 (ja) 2013-11-27 2014-05-14 A/d変換装置、グレイコード生成装置、撮像素子、並びに、電子機器

Related Child Applications (2)

Application Number Title Priority Date Filing Date
US15/025,378 A-371-Of-International US10334195B2 (en) 2013-11-27 2014-11-20 A/D conversion device, gray code generation device, signal processing device, imaging element, and electronic device
US16/430,793 Division US10659710B2 (en) 2013-11-27 2019-06-04 A/D conversion device, gray code generation device, signal processing device, imaging element, and electronic device

Publications (1)

Publication Number Publication Date
WO2015079663A1 true WO2015079663A1 (en) 2015-06-04

Family

ID=52016123

Family Applications (1)

Application Number Title Priority Date Filing Date
PCT/JP2014/005841 Ceased WO2015079663A1 (en) 2013-11-27 2014-11-20 A/d conversion device with a multiphase clock generation unit based on phase interpolators

Country Status (6)

Country Link
US (2) US10334195B2 (enExample)
JP (1) JP6394056B2 (enExample)
KR (1) KR20160091328A (enExample)
CN (2) CN105830434B (enExample)
TW (1) TWI657667B (enExample)
WO (1) WO2015079663A1 (enExample)

Cited By (1)

* Cited by examiner, † Cited by third party
Publication number Priority date Publication date Assignee Title
US20160309109A1 (en) * 2015-04-17 2016-10-20 SK Hynix Inc. Image sensing device

Families Citing this family (48)

* Cited by examiner, † Cited by third party
Publication number Priority date Publication date Assignee Title
JP6801963B2 (ja) * 2016-01-08 2020-12-16 国立大学法人北海道大学 A/D(Analog/Digital)変換回路並びにA/D変換方法
CN108781084B (zh) * 2016-03-28 2023-04-28 索尼公司 信号处理装置和方法、摄像元件和电子装置
KR102546186B1 (ko) * 2016-05-18 2023-06-22 에스케이하이닉스 주식회사 이미지 센싱 장치 및 그의 구동 방법
JP2018014630A (ja) * 2016-07-21 2018-01-25 ソニーセミコンダクタソリューションズ株式会社 固体撮像装置および電子機器
CN106374926B (zh) * 2016-08-29 2019-04-23 长春长光辰芯光电技术有限公司 高速多相位斜坡式模数转换器
CN107959487B (zh) * 2016-10-14 2021-04-09 瑞昱半导体股份有限公司 相位内插器以及相位内插信号产生方法
JP7073276B2 (ja) * 2016-12-27 2022-05-23 ソニーセミコンダクタソリューションズ株式会社 撮像素子、および撮像素子の制御方法、撮像装置、並びに、電子機器
JP6769349B2 (ja) * 2017-03-03 2020-10-14 株式会社リコー 固体撮像素子及び撮像装置
US10419701B2 (en) 2017-06-26 2019-09-17 Facebook Technologies, Llc Digital pixel image sensor
US10686996B2 (en) 2017-06-26 2020-06-16 Facebook Technologies, Llc Digital pixel with extended dynamic range
US10598546B2 (en) 2017-08-17 2020-03-24 Facebook Technologies, Llc Detecting high intensity light in photo sensor
KR102359298B1 (ko) * 2017-09-25 2022-02-07 삼성전자주식회사 디지털 상관 이중 샘플링 회로 및 이를 포함하는 이미지 센서
CN111201715B (zh) * 2017-10-11 2023-05-23 科技创意有限公司 时域a/d转换器组以及使用该时域a/d转换器的传感器装置
US11393867B2 (en) 2017-12-06 2022-07-19 Facebook Technologies, Llc Multi-photodiode pixel cell
KR102443224B1 (ko) * 2017-12-14 2022-09-15 삼성전자주식회사 커패시터들을 포함하는 양자화기 및 양자화기의 동작 방법
CN108055040B (zh) * 2017-12-19 2021-08-31 上海集成电路研发中心有限公司 一种基于多相位时钟的adc结构及其模数转换方法
JP7013973B2 (ja) * 2018-03-19 2022-02-01 株式会社リコー 固体撮像素子及び撮像装置
US10969273B2 (en) 2018-03-19 2021-04-06 Facebook Technologies, Llc Analog-to-digital converter having programmable quantization resolution
JP7087517B2 (ja) * 2018-03-22 2022-06-21 セイコーエプソン株式会社 遷移状態取得装置、時間デジタル変換器及びa/d変換回路
US11004881B2 (en) 2018-04-03 2021-05-11 Facebook Technologies, Llc Global shutter image sensor
US10804926B2 (en) 2018-06-08 2020-10-13 Facebook Technologies, Llc Charge leakage compensation in analog-to-digital converter
US11089210B2 (en) 2018-06-11 2021-08-10 Facebook Technologies, Llc Configurable image sensor
US11906353B2 (en) 2018-06-11 2024-02-20 Meta Platforms Technologies, Llc Digital pixel with extended dynamic range
US11089241B2 (en) 2018-06-11 2021-08-10 Facebook Technologies, Llc Pixel cell with multiple photodiodes
US11463636B2 (en) 2018-06-27 2022-10-04 Facebook Technologies, Llc Pixel sensor having multiple photodiodes
US10897586B2 (en) 2018-06-28 2021-01-19 Facebook Technologies, Llc Global shutter image sensor
US10931884B2 (en) 2018-08-20 2021-02-23 Facebook Technologies, Llc Pixel sensor having adaptive exposure time
US11956413B2 (en) 2018-08-27 2024-04-09 Meta Platforms Technologies, Llc Pixel sensor having multiple photodiodes and shared comparator
US11595602B2 (en) 2018-11-05 2023-02-28 Meta Platforms Technologies, Llc Image sensor post processing
US11102430B2 (en) 2018-12-10 2021-08-24 Facebook Technologies, Llc Pixel sensor having multiple photodiodes
US11218660B1 (en) 2019-03-26 2022-01-04 Facebook Technologies, Llc Pixel sensor having shared readout structure
KR102627861B1 (ko) * 2019-04-16 2024-01-23 에스케이하이닉스 주식회사 위상 감지 회로, 이를 이용하는 클럭 생성 회로 및 반도체 장치
US11943561B2 (en) 2019-06-13 2024-03-26 Meta Platforms Technologies, Llc Non-linear quantization at pixel sensor
US11936998B1 (en) 2019-10-17 2024-03-19 Meta Platforms Technologies, Llc Digital pixel sensor having extended dynamic range
US10715038B1 (en) * 2019-11-29 2020-07-14 Realtek Semiconductor Corp. Apparatus and method for frequency quintupling
US11902685B1 (en) 2020-04-28 2024-02-13 Meta Platforms Technologies, Llc Pixel sensor having hierarchical memory
US11910114B2 (en) 2020-07-17 2024-02-20 Meta Platforms Technologies, Llc Multi-mode image sensor
JP2022061162A (ja) 2020-10-06 2022-04-18 ソニーセミコンダクタソリューションズ株式会社 アナログデジタル変換回路、固体撮像素子、および、アナログデジタル変換回路の制御方法
US11956560B2 (en) 2020-10-09 2024-04-09 Meta Platforms Technologies, Llc Digital pixel sensor having reduced quantization operation
JP2022085540A (ja) * 2020-11-27 2022-06-08 セイコーエプソン株式会社 遷移状態出力装置、時間デジタル変換器及びa/d変換回路
US12022218B2 (en) 2020-12-29 2024-06-25 Meta Platforms Technologies, Llc Digital image sensor using a single-input comparator based quantizer
US11329652B1 (en) * 2021-03-04 2022-05-10 Shenzhen GOODIX Technology Co., Ltd. Loadable true-single-phase-clocking flop-based counter
US11570033B1 (en) * 2021-08-17 2023-01-31 Apple Inc. Multiphase signal generator
JP7419309B2 (ja) 2021-09-08 2024-01-22 キヤノン株式会社 固体撮像装置
JP2023070458A (ja) * 2021-11-09 2023-05-19 富士電機株式会社 集積回路
US20240120929A1 (en) * 2022-09-30 2024-04-11 Intel Corporation Multi-phase signal generation scheme and method thereof
KR20240120998A (ko) * 2023-02-01 2024-08-08 삼성전자주식회사 이미지 센서
US12489451B2 (en) * 2023-11-15 2025-12-02 Ciena Corporation Multiphase clock generator

Citations (2)

* Cited by examiner, † Cited by third party
Publication number Priority date Publication date Assignee Title
US20110187907A1 (en) * 2010-02-03 2011-08-04 Sony Corporation Duty correction circuit, delay locked loop circuit, column a/d converter, solid-state imaging device and camera system
US20120229319A1 (en) * 2011-03-09 2012-09-13 Sony Corporation A/d converter, a/d conversion method, and program

Family Cites Families (16)

* Cited by examiner, † Cited by third party
Publication number Priority date Publication date Assignee Title
JP3052767B2 (ja) * 1995-02-22 2000-06-19 三菱電機株式会社 イメージセンサの画像信号処理装置
JP4056213B2 (ja) * 2000-11-06 2008-03-05 日本電気株式会社 位相差信号発生回路並びにこれを用いた多相クロック発生回路及び集積回路
JP2003152512A (ja) * 2001-11-08 2003-05-23 Mitsubishi Electric Corp 多相信号発生器
US7212048B2 (en) * 2005-05-26 2007-05-01 Agere Systems Inc. Multiple phase detection for delay loops
CN2935633Y (zh) * 2006-08-18 2007-08-15 王悦 一种模数转换装置
JP2008092091A (ja) * 2006-09-29 2008-04-17 Tokyo Institute Of Technology 積分型a/d変換器、a/d変換器を有する撮像装置及び電子機器
JP2008135824A (ja) * 2006-11-27 2008-06-12 Matsushita Electric Ind Co Ltd 位相調整装置、デジタルカメラおよび位相調整方法
JP5103913B2 (ja) * 2007-01-30 2012-12-19 ソニー株式会社 撮像装置及び映像信号発生装置
JP2009152682A (ja) * 2007-12-18 2009-07-09 Ricoh Co Ltd 位相差平滑化装置
KR101083674B1 (ko) * 2008-11-11 2011-11-16 주식회사 하이닉스반도체 다중 위상 클럭 생성 회로
KR101365408B1 (ko) * 2009-03-03 2014-02-19 삼성전자주식회사 카운터 회로, 이를 포함하는 물리량 측정 장치 및 카운팅 방법
JP5407523B2 (ja) * 2009-04-24 2014-02-05 ソニー株式会社 積分型ad変換装置、固体撮像素子、およびカメラシステム
KR101647366B1 (ko) * 2009-09-25 2016-08-11 삼성전자주식회사 카운터 회로, 이를 포함하는 장치 및 카운팅 방법
JP5398554B2 (ja) * 2010-01-06 2014-01-29 キヤノン株式会社 表示装置
JP5728826B2 (ja) * 2010-04-30 2015-06-03 ソニー株式会社 カラムa/d変換器、カラムa/d変換方法、固体撮像素子およびカメラシステム
JP5540901B2 (ja) * 2010-06-01 2014-07-02 ソニー株式会社 積分型a/d変換器、積分型a/d変換方法、固体撮像素子、およびカメラシステム

Patent Citations (2)

* Cited by examiner, † Cited by third party
Publication number Priority date Publication date Assignee Title
US20110187907A1 (en) * 2010-02-03 2011-08-04 Sony Corporation Duty correction circuit, delay locked loop circuit, column a/d converter, solid-state imaging device and camera system
US20120229319A1 (en) * 2011-03-09 2012-09-13 Sony Corporation A/d converter, a/d conversion method, and program

Non-Patent Citations (1)

* Cited by examiner, † Cited by third party
Title
SAEKI T ET AL: "A 1.3-cycle lock time, non-PLL/DLL clock multiplier based on direct clock cycle interpolation for clock on demand", IEEE JOURNAL OF SOLID-STATE CIRCUITS, IEEE SERVICE CENTER, PISCATAWAY, NJ, USA, vol. 35, no. 11, 1 November 2000 (2000-11-01), pages 1581 - 1590, XP011450354, ISSN: 0018-9200, DOI: 10.1109/4.881203 *

Cited By (2)

* Cited by examiner, † Cited by third party
Publication number Priority date Publication date Assignee Title
US20160309109A1 (en) * 2015-04-17 2016-10-20 SK Hynix Inc. Image sensing device
US9774809B2 (en) * 2015-04-17 2017-09-26 SK Hynix Inc. Image sensing device with analog-dithering scheme

Also Published As

Publication number Publication date
CN110677607A (zh) 2020-01-10
TW201526551A (zh) 2015-07-01
US10659710B2 (en) 2020-05-19
JP6394056B2 (ja) 2018-09-26
US20160249004A1 (en) 2016-08-25
CN110677607B (zh) 2022-03-18
CN105830434B (zh) 2019-10-29
JP2015128278A (ja) 2015-07-09
TWI657667B (zh) 2019-04-21
US10334195B2 (en) 2019-06-25
CN105830434A (zh) 2016-08-03
KR20160091328A (ko) 2016-08-02
US20190289241A1 (en) 2019-09-19

Similar Documents

Publication Publication Date Title
US10659710B2 (en) A/D conversion device, gray code generation device, signal processing device, imaging element, and electronic device
US8284285B2 (en) Duty correction circuit, delay locked loop circuit, column A/D converter, solid-state imaging device and camera system
US8456554B2 (en) Integrated AD converter, solid state imaging device, and camera system
US9282269B2 (en) A/D conversion device, solid-state image-capturing device, and electronic device
US9681082B2 (en) Analog-to-digital converter configured to operate at high speed and image sensor including the same
US9053999B2 (en) A/D converter, A/D conversion method, solid-state imaging element and camera system
US9258507B2 (en) Solid-state imaging apparatus
US9467636B2 (en) Photoelectric conversion device and imaging system
US8713345B2 (en) Apparatus with a local timing circuit that generates a multi-phase timing signal for a digital signal processing circuit
JP2015128278A5 (enExample)
JP6863368B2 (ja) 信号処理装置および方法、撮像素子、並びに電子機器
JP5525914B2 (ja) ランプ波生成回路および固体撮像装置
US9609258B2 (en) A/D conversion circuit and image-capturing device
JP5677919B2 (ja) ランプ波生成回路および固体撮像装置
US8102294B2 (en) Solid-state image sensor
JP6699553B2 (ja) 信号処理装置、撮像素子、並びに、電子機器

Legal Events

Date Code Title Description
121 Ep: the epo has been informed by wipo that ep was designated in this application

Ref document number: 14809537

Country of ref document: EP

Kind code of ref document: A1

WWE Wipo information: entry into national phase

Ref document number: 15025378

Country of ref document: US

ENP Entry into the national phase

Ref document number: 20167013394

Country of ref document: KR

Kind code of ref document: A

NENP Non-entry into the national phase

Ref country code: DE

122 Ep: pct application non-entry in european phase

Ref document number: 14809537

Country of ref document: EP

Kind code of ref document: A1