WO2014199956A1 - 検出装置、及び検出装置の製造方法 - Google Patents

検出装置、及び検出装置の製造方法 Download PDF

Info

Publication number
WO2014199956A1
WO2014199956A1 PCT/JP2014/065257 JP2014065257W WO2014199956A1 WO 2014199956 A1 WO2014199956 A1 WO 2014199956A1 JP 2014065257 W JP2014065257 W JP 2014065257W WO 2014199956 A1 WO2014199956 A1 WO 2014199956A1
Authority
WO
WIPO (PCT)
Prior art keywords
sensor
main body
housing
magnetic field
sensor main
Prior art date
Legal status (The legal status is an assumption and is not a legal conclusion. Google has not performed a legal analysis and makes no representation as to the accuracy of the status listed.)
Ceased
Application number
PCT/JP2014/065257
Other languages
English (en)
French (fr)
Japanese (ja)
Inventor
池田 幸雄
Current Assignee (The listed assignees may be inaccurate. Google has not performed a legal analysis and makes no representation or warranty as to the accuracy of the list.)
Proterial Ltd
Original Assignee
Hitachi Metals Ltd
Priority date (The priority date is an assumption and is not a legal conclusion. Google has not performed a legal analysis and makes no representation as to the accuracy of the date listed.)
Filing date
Publication date
Application filed by Hitachi Metals Ltd filed Critical Hitachi Metals Ltd
Priority to EP14811221.2A priority Critical patent/EP3009802B1/en
Priority to US14/896,631 priority patent/US10101412B2/en
Priority to CN201480032723.8A priority patent/CN105358939B/zh
Publication of WO2014199956A1 publication Critical patent/WO2014199956A1/ja
Anticipated expiration legal-status Critical
Ceased legal-status Critical Current

Links

Images

Classifications

    • GPHYSICS
    • G01MEASURING; TESTING
    • G01RMEASURING ELECTRIC VARIABLES; MEASURING MAGNETIC VARIABLES
    • G01R33/00Arrangements or instruments for measuring magnetic variables
    • G01R33/02Measuring direction or magnitude of magnetic fields or magnetic flux
    • G01R33/06Measuring direction or magnitude of magnetic fields or magnetic flux using galvano-magnetic devices
    • G01R33/07Hall effect devices
    • G01R33/072Constructional adaptation of the sensor to specific applications
    • GPHYSICS
    • G01MEASURING; TESTING
    • G01PMEASURING LINEAR OR ANGULAR SPEED, ACCELERATION, DECELERATION, OR SHOCK; INDICATING PRESENCE, ABSENCE, OR DIRECTION, OF MOVEMENT
    • G01P3/00Measuring linear or angular speed; Measuring differences of linear or angular speeds
    • G01P3/42Devices characterised by the use of electric or magnetic means
    • G01P3/44Devices characterised by the use of electric or magnetic means for measuring angular speed
    • G01P3/48Devices characterised by the use of electric or magnetic means for measuring angular speed by measuring frequency of generated current or voltage
    • G01P3/481Devices characterised by the use of electric or magnetic means for measuring angular speed by measuring frequency of generated current or voltage of pulse signals
    • G01P3/487Devices characterised by the use of electric or magnetic means for measuring angular speed by measuring frequency of generated current or voltage of pulse signals delivered by rotating magnets
    • GPHYSICS
    • G01MEASURING; TESTING
    • G01DMEASURING NOT SPECIALLY ADAPTED FOR A SPECIFIC VARIABLE; ARRANGEMENTS FOR MEASURING TWO OR MORE VARIABLES NOT COVERED IN A SINGLE OTHER SUBCLASS; TARIFF METERING APPARATUS; MEASURING OR TESTING NOT OTHERWISE PROVIDED FOR
    • G01D11/00Component parts of measuring arrangements not specially adapted for a specific variable
    • G01D11/24Housings ; Casings for instruments
    • G01D11/245Housings for sensors
    • GPHYSICS
    • G01MEASURING; TESTING
    • G01DMEASURING NOT SPECIALLY ADAPTED FOR A SPECIFIC VARIABLE; ARRANGEMENTS FOR MEASURING TWO OR MORE VARIABLES NOT COVERED IN A SINGLE OTHER SUBCLASS; TARIFF METERING APPARATUS; MEASURING OR TESTING NOT OTHERWISE PROVIDED FOR
    • G01D5/00Mechanical means for transferring the output of a sensing member; Means for converting the output of a sensing member to another variable where the form or nature of the sensing member does not constrain the means for converting; Transducers not specially adapted for a specific variable
    • G01D5/12Mechanical means for transferring the output of a sensing member; Means for converting the output of a sensing member to another variable where the form or nature of the sensing member does not constrain the means for converting; Transducers not specially adapted for a specific variable using electric or magnetic means
    • G01D5/14Mechanical means for transferring the output of a sensing member; Means for converting the output of a sensing member to another variable where the form or nature of the sensing member does not constrain the means for converting; Transducers not specially adapted for a specific variable using electric or magnetic means influencing the magnitude of a current or voltage
    • G01D5/142Mechanical means for transferring the output of a sensing member; Means for converting the output of a sensing member to another variable where the form or nature of the sensing member does not constrain the means for converting; Transducers not specially adapted for a specific variable using electric or magnetic means influencing the magnitude of a current or voltage using Hall-effect devices
    • G01D5/145Mechanical means for transferring the output of a sensing member; Means for converting the output of a sensing member to another variable where the form or nature of the sensing member does not constrain the means for converting; Transducers not specially adapted for a specific variable using electric or magnetic means influencing the magnitude of a current or voltage using Hall-effect devices influenced by the relative movement between the Hall device and magnetic fields
    • GPHYSICS
    • G01MEASURING; TESTING
    • G01DMEASURING NOT SPECIALLY ADAPTED FOR A SPECIFIC VARIABLE; ARRANGEMENTS FOR MEASURING TWO OR MORE VARIABLES NOT COVERED IN A SINGLE OTHER SUBCLASS; TARIFF METERING APPARATUS; MEASURING OR TESTING NOT OTHERWISE PROVIDED FOR
    • G01D5/00Mechanical means for transferring the output of a sensing member; Means for converting the output of a sensing member to another variable where the form or nature of the sensing member does not constrain the means for converting; Transducers not specially adapted for a specific variable
    • G01D5/12Mechanical means for transferring the output of a sensing member; Means for converting the output of a sensing member to another variable where the form or nature of the sensing member does not constrain the means for converting; Transducers not specially adapted for a specific variable using electric or magnetic means
    • G01D5/244Mechanical means for transferring the output of a sensing member; Means for converting the output of a sensing member to another variable where the form or nature of the sensing member does not constrain the means for converting; Transducers not specially adapted for a specific variable using electric or magnetic means influencing characteristics of pulses or pulse trains; generating pulses or pulse trains
    • G01D5/245Mechanical means for transferring the output of a sensing member; Means for converting the output of a sensing member to another variable where the form or nature of the sensing member does not constrain the means for converting; Transducers not specially adapted for a specific variable using electric or magnetic means influencing characteristics of pulses or pulse trains; generating pulses or pulse trains using a variable number of pulses in a train
    • G01D5/2451Incremental encoders
    • GPHYSICS
    • G01MEASURING; TESTING
    • G01LMEASURING FORCE, STRESS, TORQUE, WORK, MECHANICAL POWER, MECHANICAL EFFICIENCY, OR FLUID PRESSURE
    • G01L5/00Apparatus for, or methods of, measuring force, work, mechanical power, or torque, specially adapted for specific purposes
    • G01L5/22Apparatus for, or methods of, measuring force, work, mechanical power, or torque, specially adapted for specific purposes for measuring the force applied to control members, e.g. control members of vehicles, triggers
    • G01L5/221Apparatus for, or methods of, measuring force, work, mechanical power, or torque, specially adapted for specific purposes for measuring the force applied to control members, e.g. control members of vehicles, triggers to steering wheels, e.g. for power assisted steering
    • GPHYSICS
    • G01MEASURING; TESTING
    • G01PMEASURING LINEAR OR ANGULAR SPEED, ACCELERATION, DECELERATION, OR SHOCK; INDICATING PRESENCE, ABSENCE, OR DIRECTION, OF MOVEMENT
    • G01P3/00Measuring linear or angular speed; Measuring differences of linear or angular speeds
    • G01P3/42Devices characterised by the use of electric or magnetic means
    • G01P3/44Devices characterised by the use of electric or magnetic means for measuring angular speed
    • GPHYSICS
    • G01MEASURING; TESTING
    • G01PMEASURING LINEAR OR ANGULAR SPEED, ACCELERATION, DECELERATION, OR SHOCK; INDICATING PRESENCE, ABSENCE, OR DIRECTION, OF MOVEMENT
    • G01P3/00Measuring linear or angular speed; Measuring differences of linear or angular speeds
    • G01P3/42Devices characterised by the use of electric or magnetic means
    • G01P3/44Devices characterised by the use of electric or magnetic means for measuring angular speed
    • G01P3/443Devices characterised by the use of electric or magnetic means for measuring angular speed mounted in bearings
    • GPHYSICS
    • G01MEASURING; TESTING
    • G01RMEASURING ELECTRIC VARIABLES; MEASURING MAGNETIC VARIABLES
    • G01R33/00Arrangements or instruments for measuring magnetic variables
    • G01R33/0052Manufacturing aspects; Manufacturing of single devices, i.e. of semiconductor magnetic sensor chips
    • GPHYSICS
    • G01MEASURING; TESTING
    • G01RMEASURING ELECTRIC VARIABLES; MEASURING MAGNETIC VARIABLES
    • G01R33/00Arrangements or instruments for measuring magnetic variables
    • G01R33/02Measuring direction or magnitude of magnetic fields or magnetic flux
    • G01R33/06Measuring direction or magnitude of magnetic fields or magnetic flux using galvano-magnetic devices
    • G01R33/07Hall effect devices

Definitions

  • the present invention relates to a detection device having a sensor for detecting a state quantity such as a magnetic field and temperature, and a method for manufacturing the detection device.
  • a torque detection device that molds a Hall IC as a sensor for detecting a magnetic field with resin and detects a torque applied to a vehicle handle by a change in the strength of the magnetic field detected by the Hall IC is known (for example, see Patent Document 1).
  • the torque detection device described in Patent Document 1 includes an input shaft connected to a steering wheel, an output shaft connected to a steering wheel, a torsion bar connecting the input shaft and the output shaft, a multipolar magnet, a pair of multipolar yokes, Two Hall ICs are provided, and the multi-pole magnet and the pair of multi-pole yokes are relatively rotated by twisting of the torsion bar caused by torque applied to the handle.
  • a pair of annular magnetism collecting rings is arranged on the outer peripheral side of the pair of multipolar yokes, and each magnetism collecting ring is provided with a magnetism collecting portion projecting radially at one place in the circumferential direction.
  • Two Hall ICs are arranged between the magnetism collecting part of one magnetism collecting ring and the magnetism collecting part of the other magnetism collecting ring.
  • the two Hall ICs are molded on a resin member together with a pair of magnetism collecting rings.
  • this invention aims at providing the detection apparatus which can suppress that the detection accuracy of a sensor falls by the heat
  • a sensor main body including a detection element, a sensor having a plurality of lead wires drawn from the sensor main body, and a housing member having a housing for housing the sensor main body, And a molded device made of a molded resin formed to include at least a part of the housing member without being in contact with the sensor main body.
  • At least the sensor main body portion of the sensor main body portion including the detection element and the sensor having a plurality of lead wires drawn from the sensor main body portion is accommodated in the housing member.
  • a method for manufacturing a detection device comprising: a first step of housing the sensor body; and a second step of molding the mold resin including at least a part of the housing member without bringing molten resin into contact with the sensor body.
  • the detection device and the manufacturing method of the detection device according to the present invention it is possible to suppress a decrease in detection accuracy of the sensor due to heat when the sensor is molded with resin.
  • FIG. 1 is a cross-sectional view showing a configuration example of a rotation detection device according to a first embodiment of the present invention and a vehicle wheel bearing device having the rotation detection device.
  • FIG. 2 is a partially enlarged view of FIG.
  • FIG. 3 is a partially enlarged view showing the magnetic body.
  • FIG. 4 is a front view showing the sensor module according to the first embodiment of the present invention.
  • 5A and 5B show a housing case constituting the sensor module of FIG. 4, wherein FIG. 5A is a cross-sectional view taken along the line AA of the housing case (not including the molded body), and FIG. 5B is a second view of the housing case.
  • (C) is a top view of a storage case.
  • FIGS. 6A and 6B show a sensor module according to a second embodiment of the present invention, in which FIG. 6A is a sectional view of the sensor module, and FIG. 6B is a bottom view of the sensor module.
  • FIGS. 7A and 7B show a housing case constituting the sensor module according to the second embodiment.
  • FIGS. 7A and 7B are perspective views of the housing case, and
  • FIG. 7C is a side view of the housing case.
  • FIG. 1 is a cross-sectional view showing a configuration example of a rotation detection device 1 according to a first embodiment of the present invention and a vehicle wheel bearing device 10 having the rotation detection device 1.
  • FIG. 2 is a partially enlarged view of FIG.
  • FIG. 3 is a partially enlarged view showing the magnetic body 22.
  • the wheel bearing device 10 includes a cylindrical main body 110 and an inner ring 11 having a flange portion 111 to which a wheel is attached, an outer ring 12 disposed on the outer peripheral side of the main body 110 of the inner ring 11, an inner ring 11 and an outer ring 12. And a rotation detecting device 1 for detecting the rotation speed of the inner ring 11 relative to the outer ring 12.
  • a spline fitting portion 110 a for connecting the drive shaft along the rotation axis O is formed at the center portion of the main body portion 110 of the inner ring 11.
  • the flange portion 111 of the inner ring 11 protrudes radially outward from the main body 110 and is formed integrally with the main body 110.
  • the flange portion 111 is formed with a plurality of through holes 111a into which bolts for attaching a wheel (not shown) are press-fitted.
  • the outer ring 12 is formed in a cylindrical shape, and is fixed to a knuckle 6 connected to the vehicle body via a suspension device by a plurality of bolts 61 (only one is shown in FIG. 1).
  • the knuckle 6 is formed with a through hole 5a for attaching a sensor module 3 to be described later.
  • the first seal member 14 is disposed on the flange portion 111 side of the inner ring 11, and the second seal member 15 is disposed on the opposite side (vehicle body side).
  • the second seal member 15 includes a cored bar 151 having an L-shaped cross section and an elastic member 152 bonded to the cored bar 151 by vulcanization adhesion, and a cylindrical portion 151a formed on the outer periphery of the cored bar 151 has an outer ring. 12 is press-fitted into the outer peripheral surface.
  • the elastic member 152 is bonded to a flange portion 151b extending inward from one end of the cylindrical portion 151a by, for example, vulcanization bonding.
  • the core metal 151 is made of a nonmagnetic metal such as austenitic stainless steel or aluminum.
  • the rotation detection device 1 includes a magnetic encoder 2 fixed to the outer periphery of the main body 110 in the inner ring 11, and a sensor module 3 for detecting a change in the magnetic field accompanying the rotation of the magnetic encoder 2.
  • the magnetic encoder 2 includes an annular support portion 21 made of a nonmagnetic material fixed to the outer peripheral surface of the main body 110 in the inner ring 11, and an annular magnetic body 22 supported by the support portion 21.
  • the magnetic body 22 is provided with a plurality of N poles 221 and a plurality of S poles 222 alternately along the circumferential direction, and rotates together with the wheels and the inner ring 11.
  • the sensor module 3 includes a resin case 30, a magnetic field sensor 4, and a yoke 300 as a magnetic body disposed on the side opposite to the magnetic encoder 2 of the magnetic field sensor 4.
  • the resin case 30 includes a housing case 31 made of a resin for housing the magnetic field sensor 4, and a molded body 32 made of a molded resin formed by including at least a part of the housing case 31.
  • the sensor module 3 is fixed to the knuckle 6 with bolts 61.
  • the rotation detection device 1 detects the intensity of the magnetic field that changes due to the rotation of the magnetic encoder 2 by the magnetic field sensor 4 of the sensor module 3 and outputs a signal corresponding to the intensity of the magnetic field.
  • the inner ring 11 and the magnetic encoder 2 rotate around the rotation axis O along with the rotation, and the strength of the magnetic field of the magnetic encoder 2 detected by the magnetic field sensor 4 changes. It is possible to obtain the rotational speed of the wheel based on the period of change in the output signal.
  • FIG. 4 is a front view showing the sensor module 3 according to the first embodiment of the present invention.
  • the storage case 31 and the magnetic field sensor 4 inside the resin case 30 are indicated by solid lines and broken lines for the sake of explanation.
  • the magnetic field sensor 4 includes a sensor main body 40 including a magnetic field detection element (Hall element) 40a that detects a magnetic flux density that changes due to the rotation of the magnetic encoder 2, and a plurality of (2 in this embodiment) drawn from the sensor main body 40.
  • Main lead wire 41.
  • the plurality of lead wires 41 are connected to the plurality of electric wires 42 included in the cable 43 drawn from the resin case 30 by soldering, welding, or the like.
  • the sensor body 40 of the magnetic field sensor 4 is housed in the housing case 31.
  • the housing case 31, the plurality of lead wires 41 led out from the housing case 31, and the plurality of electric wires 42 are collectively molded in the molded body 32.
  • the molded body 32 is made of a molded resin that is molded by including the housing case 31 and the yoke 300 without contacting the sensor body 40 of the magnetic field sensor 4. More specifically, the molded body 32 integrally includes a main body portion 321 in which the housing case 31 and the yoke 300 are molded, and a fixing portion 322 that is fixed to the knuckle 6 by bolts 61.
  • the plurality of electric wires 42 are bundled in the main body 321 and accommodated in the sheath of the cable 43.
  • FIG. 4C is a front view showing the second resin member 312 to be performed, and FIG. 5A and 5B, the magnetic field sensor 4 is indicated by a two-dot chain line for explanation.
  • the housing case 31 is made of hard resin such as ABS resin, for example, and is configured by combining the first resin member 311 and the second resin member 312.
  • the first resin member 311 and the second resin member 312 can be formed by, for example, injection molding.
  • the first resin member 311 includes a housing portion 311A that houses the sensor main body 40 of the magnetic field sensor 4 and a holding portion 311B that holds a plurality of lead wires 41.
  • the second resin member 312 includes a housing portion 312A that houses the sensor main body 40 of the magnetic field sensor 4 and a holding portion 312B that holds the plurality of lead wires 41.
  • a recess 311 a for accommodating the sensor main body 40 of the magnetic field sensor 4 is formed in the accommodating portion 311 ⁇ / b> A of the first resin member 311.
  • a recess 312 a for accommodating the sensor main body 40 of the magnetic field sensor 4 is formed in the accommodating portion 312 ⁇ / b> A of the second resin member 312.
  • the housing portion 31A of the housing case 31 is configured by combining the housing portion 311A of the first resin member 311 and the housing portion 312A of the second resin member 312. Further, the recess 311a of the first resin member 311 and the recess 312a of the second resin member 312 are combined to form a rectangular parallelepiped accommodation space 310.
  • the housing case 31 is formed so that the housing portion 31 ⁇ / b> A surrounds the entire sensor main body 40, and the molded body 32 seals the housing portion 31 ⁇ / b> A of the housing case 31.
  • the holding portion 311B of the first resin member 311 has a plurality (two in this embodiment) of holding grooves (first holding groove 311b and second holding groove 311c) for holding the plurality of lead wires 41. ) Is formed.
  • the holding portion 312B of the second resin member 312 has a plurality of (two in this embodiment) holding grooves (first holding groove 312b and second holding hole) for holding the plurality of lead wires 41.
  • a holding groove 312c) is formed.
  • the holding portion 31 ⁇ / b> B of the housing case 31 is configured by combining the holding portion 311 ⁇ / b> B of the first resin member 311 and the holding portion 312 ⁇ / b> B of the second resin member 312.
  • the first holding groove 311b of the first resin member 311 and the first holding groove 312b of the second resin member 312 are combined to form a cylindrical first holding hole 310b.
  • the second holding groove 311c of one resin member 311 and the second holding groove 312c of the second resin member 312 are combined to form a cylindrical second holding hole 310c.
  • the magnetic field sensor 4 includes a plurality of lead wires 41 supported by the first and second holding holes 310b and 310c of the holding portion 31B, whereby the sensor main body portion 40 is placed in the receiving space 310 of the receiving portion 31A. The position is fixed in a state where all the outer peripheral portions of 40 do not contact the accommodation space 310.
  • the manufacturing method of the sensor module 3 includes a first step of housing at least the sensor body 40 in the housing portion 31A of the housing case 31 among the sensor body 40 and the plurality of lead wires 41, and a molten resin in the sensor body 40.
  • the magnetic field sensor 4 is disposed in the first recess 312a of the second resin member 312 and the plurality of lead wires 41 are disposed in the first and second holding grooves 312b and 312c, respectively.
  • the housing case 31 is formed by combining the second resin member 312 on which the magnetic field sensor 4 is disposed and the first resin member 311.
  • the plurality of lead wires 41 are held in the first and second holding holes 310b and 310c, and the sensor main body 40 is in a state where all the outer peripheral portions of the sensor main body 40 are not in contact with the housing space 310. 1 in the accommodation space 310.
  • the tip portions of the plurality of lead wires 41 are connected to the electric wires 42, respectively.
  • the housing case 31 that houses the magnetic field sensor 4 connected to the electric wire 42 and the lead wire 41 is disposed in the molding space of the mold for forming the molded body 32, and the molten resin is placed in the molding space.
  • the sensor body 40 is disposed in the first housing space 310 in a state where all the outer peripheral portions of the sensor body 40 do not contact the housing space 310, that is, the sensor body 40 is accommodated in the housing case 31. Since it is covered with the portion 31 ⁇ / b> A, the molten resin does not flow into the accommodation space 310 and does not contact the sensor body 40.
  • the housing case 31 and the molded body 32 are integrated, and the resin case 30 is formed.
  • the sensor main body 40 of the magnetic field sensor 4 is accommodated in the accommodation case 31 and does not contact the molten resin, it is possible to suppress the influence of the heat of the molten resin when the molded body 32 is formed. Thereby, it is possible to suppress the deterioration of the detection accuracy of the magnetic field detection element 40a and to ensure the reliability.
  • the sensor main body 40 of the magnetic field sensor 4 is configured such that the plurality of lead wires 41 are held in the first and second holding holes 310b and 310c formed in the holding portion 31B of the holding case 31. It is supported in the 31 accommodation spaces 310. That is, since the sensor body 40 is supported without being in contact with the housing case 31, the heat of the molten resin at the time of molding the molded body 32 is directly transmitted from the housing case 31 to the sensor body 40. Can be prevented. Thereby, it can suppress more reliably that the detection accuracy of the magnetic field sensor 4 falls by the heat
  • FIG. 6A and 6B show a sensor module according to the second embodiment of the present invention.
  • FIG. 6A is a sectional view of the sensor module 3A
  • FIG. 6B is a bottom view of the sensor module 3A.
  • components having the same functions as those described in the first embodiment are denoted by the same or corresponding reference numerals, and redundant description thereof is omitted.
  • the sensor module 3A includes a resin case 30A, the magnetic field sensor 4, and a yoke 300.
  • the resin case 30 ⁇ / b> A includes a storage case 5 made of a resin that stores the magnetic field sensor 4, and a molded body 32 ⁇ / b> A made of a mold resin that is molded including the storage case 5.
  • the molded body 32A integrally includes a main body portion 321A in which the housing case 5 and the yoke 300 are molded, and a fixing portion 322A in which a bolt insertion hole 322a through which a fixing bolt is inserted is formed.
  • the sensor main body 40 of the magnetic field sensor 4 is housed inside the housing case 5, the sensor main body 40 of the magnetic field sensor 4 is housed.
  • an opening 5a is formed on the bottom surface facing the outer peripheral surface of the inner ring 11 (shown in FIGS. 1 and 2) so that the sensor main body 40 accommodated in the housing case 5 faces the outside. .
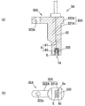
  • FIG. 7 shows a storage case 5 constituting the sensor module according to the second embodiment, where (a) is a perspective view of the storage case 5 and (b) is a storage case viewed from the side opposite to (a).
  • FIG. 5 is a perspective view of FIG. 5, and FIG. In FIG.5 (c), the internal structure of the storage case 5 is shown with the broken line.
  • the housing case 5 has a rectangular parallelepiped shape in which a housing space 50 for housing the sensor main body 40 of the magnetic field sensor 4 is formed, and an opening 5a is formed on one surface thereof.
  • the housing case 5 integrally includes the housing portion 5A having the housing space 50 and the holding portion 5B in which the first and second holding holes 51a and 51b for holding the plurality of lead wires 41 are formed. is doing.
  • the plurality of lead wires 41 are held by the holding portion 5B, whereby the sensor main body 40 is supported in the accommodation space 50 of the accommodation portion 5A.
  • the plurality of lead wires 41 are inserted from the openings 5a, and the sensor main body 40 is accommodated in the accommodation space 50 while the plurality of lead wires 41 are inserted into the first and second holding holes 51a and 51b. Insert inside. And the front-end
  • the housing case 5 housing the sensor main body 40 and the electric wire 42 are disposed in the molding space of the mold for forming the molded body 32A, and the opening 5a is pressed against the inner surface of the mold and closed. Then pour the molten resin. Thereby, the resin case 30 in which the housing case 5 and the molded body 32A are integrated is formed.
  • the same operations and effects as those of the first embodiment can be obtained. Further, even if the sensor main body 40 generates heat when the sensor module 3A is used, the heat can be radiated from the opening 5a, and overheating of the magnetic field sensor 4 is suppressed. Thereby, the detection accuracy of the magnetic field sensor 4 can be maintained more reliably.
  • the housing member (housing case 31) is formed so that the housing portion (31A) surrounds the entire sensor body (40), and the molded body (32) is formed by the housing member (housing).
  • an opening (5a) is formed in the housing portion (5A) so that the sensor body (40) is exposed to the outside, and the molded body (32A) is The detection device (1) according to [1], which is molded without covering the opening (5a).
  • the housing member (housing case 31, 5) has a holding portion (31B, 5B) for holding the lead wire (41), and the sensor (4) has the lead wire (41) [1] to [3] in which the sensor main body (40) is supported in the accommodation space (310, 50) of the accommodation part (31A, 5A) by being held by the holding part (31B, 5B).
  • the detection apparatus (1) of any one of.
  • (40) is accommodated in the accommodating part (31A, 5A) of the accommodating member (accommodating case 31, 5), and the accommodating member (accommodating case) without bringing molten resin into contact with the sensor main body (40).
  • one magnetic field sensor 4 is disposed in the housing cases 31 and 5, but not limited to this, a plurality of magnetic field sensors 4 are housed in the housing cases 31 and 5. Also good.
  • the detection element is not limited to this, and the detection element includes temperature, humidity, acceleration, pressure, and the like. You may detect a state quantity.
  • the detection device of the present invention can suppress a decrease in detection accuracy of the sensor due to heat when the sensor is molded with resin.

Landscapes

  • Physics & Mathematics (AREA)
  • General Physics & Mathematics (AREA)
  • Condensed Matter Physics & Semiconductors (AREA)
  • Engineering & Computer Science (AREA)
  • Manufacturing & Machinery (AREA)
  • Transmission And Conversion Of Sensor Element Output (AREA)
  • Measuring Magnetic Variables (AREA)
PCT/JP2014/065257 2013-06-10 2014-06-09 検出装置、及び検出装置の製造方法 Ceased WO2014199956A1 (ja)

Priority Applications (3)

Application Number Priority Date Filing Date Title
EP14811221.2A EP3009802B1 (en) 2013-06-10 2014-06-09 Sensing device and method for manufacturing sensing device
US14/896,631 US10101412B2 (en) 2013-06-10 2014-06-09 Sensing device and method for manufacturing sensing device
CN201480032723.8A CN105358939B (zh) 2013-06-10 2014-06-09 检测装置以及检测装置的制造方法

Applications Claiming Priority (2)

Application Number Priority Date Filing Date Title
JP2013-121473 2013-06-10
JP2013121473A JP5949672B2 (ja) 2013-06-10 2013-06-10 検出装置、及び検出装置の製造方法

Publications (1)

Publication Number Publication Date
WO2014199956A1 true WO2014199956A1 (ja) 2014-12-18

Family

ID=52022249

Family Applications (1)

Application Number Title Priority Date Filing Date
PCT/JP2014/065257 Ceased WO2014199956A1 (ja) 2013-06-10 2014-06-09 検出装置、及び検出装置の製造方法

Country Status (5)

Country Link
US (1) US10101412B2 (enExample)
EP (1) EP3009802B1 (enExample)
JP (1) JP5949672B2 (enExample)
CN (2) CN108534804B (enExample)
WO (1) WO2014199956A1 (enExample)

Cited By (2)

* Cited by examiner, † Cited by third party
Publication number Priority date Publication date Assignee Title
EP3176554A1 (en) * 2015-12-03 2017-06-07 Jtekt Corporation Sensor assembly and sensor assembly manufacturing method
CN107101757A (zh) * 2015-12-03 2017-08-29 株式会社捷太格特 传感器组件以及传感器组件的制造方法

Families Citing this family (6)

* Cited by examiner, † Cited by third party
Publication number Priority date Publication date Assignee Title
DE102014208510A1 (de) * 2014-05-07 2015-11-12 Bayerische Motoren Werke Aktiengesellschaft Sensorring
JP6455207B2 (ja) * 2015-02-16 2019-01-23 日立金属株式会社 樹脂成形体付きケーブル及びその製造方法
JP6838306B2 (ja) 2016-07-08 2021-03-03 日立金属株式会社 車載用検出装置
JP6748931B1 (ja) * 2019-04-02 2020-09-02 日立金属株式会社 回転検出装置
JP7272300B2 (ja) * 2020-03-02 2023-05-12 株式会社プロテリアル センサ付きケーブル及び回転検出装置
JP7439677B2 (ja) * 2020-07-23 2024-02-28 株式会社プロテリアル 回転検出装置

Citations (5)

* Cited by examiner, † Cited by third party
Publication number Priority date Publication date Assignee Title
JP2005098761A (ja) * 2003-09-22 2005-04-14 Koyo Seiko Co Ltd 回転検出器
JP2005265581A (ja) 2004-03-18 2005-09-29 Favess Co Ltd トルク検出装置
JP2008128647A (ja) * 2006-11-16 2008-06-05 Aisan Ind Co Ltd 回転角センサ及びスロットル装置
JP2010197137A (ja) * 2009-02-24 2010-09-09 Denso Corp 回転検出装置および回転検出装置の製造方法
JP2013088335A (ja) * 2011-10-20 2013-05-13 Mitsubishi Electric Corp センサ装置

Family Cites Families (18)

* Cited by examiner, † Cited by third party
Publication number Priority date Publication date Assignee Title
US4649447A (en) * 1985-08-15 1987-03-10 International Business Machines Combed MR sensor
JPH0512763Y2 (enExample) 1987-02-26 1993-04-02
JPH064260Y2 (ja) 1987-05-22 1994-02-02 住友電気工業株式会社 センサ構造
JP2572139B2 (ja) * 1990-01-25 1997-01-16 旭化成工業株式会社 磁気抵抗センサー
JPH0968403A (ja) * 1995-08-31 1997-03-11 Denso Corp スロットルバルブ開度センサ
JP2001289610A (ja) * 1999-11-01 2001-10-19 Denso Corp 回転角度検出装置
JP2004198240A (ja) * 2002-12-18 2004-07-15 Denso Corp センサ装置
JP2005106796A (ja) 2003-08-05 2005-04-21 Fuji Koki Corp 圧力センサ
JP2005227156A (ja) * 2004-02-13 2005-08-25 Honda Lock Mfg Co Ltd センサ装置
JP2006308330A (ja) * 2005-04-26 2006-11-09 Denso Corp センサ装置およびその製造方法
JP3799362B1 (ja) * 2005-08-25 2006-07-19 山洋電気株式会社 磁気センサ付き回転電機
JP4716103B2 (ja) * 2005-10-27 2011-07-06 アイシン精機株式会社 回転センサの製造方法
US7946555B2 (en) * 2006-11-16 2011-05-24 Aisan Kogyo Kabushiki Kaisha Rotational angle sensors and throttle devices
DE102008054743A1 (de) 2008-12-16 2010-06-17 Robert Bosch Gmbh Vorrichtung und Verfahren zur Herstellung einer Vorrichtung
JP5437147B2 (ja) * 2010-04-22 2014-03-12 愛三工業株式会社 回転角度検出装置
JP5014468B2 (ja) * 2010-06-16 2012-08-29 三菱電機株式会社 回転センサ
JP5523389B2 (ja) * 2011-05-18 2014-06-18 三菱電機株式会社 磁気検出装置
US9116021B2 (en) 2011-05-18 2015-08-25 Mitsubishi Electric Corporation Sensor device

Patent Citations (5)

* Cited by examiner, † Cited by third party
Publication number Priority date Publication date Assignee Title
JP2005098761A (ja) * 2003-09-22 2005-04-14 Koyo Seiko Co Ltd 回転検出器
JP2005265581A (ja) 2004-03-18 2005-09-29 Favess Co Ltd トルク検出装置
JP2008128647A (ja) * 2006-11-16 2008-06-05 Aisan Ind Co Ltd 回転角センサ及びスロットル装置
JP2010197137A (ja) * 2009-02-24 2010-09-09 Denso Corp 回転検出装置および回転検出装置の製造方法
JP2013088335A (ja) * 2011-10-20 2013-05-13 Mitsubishi Electric Corp センサ装置

Non-Patent Citations (1)

* Cited by examiner, † Cited by third party
Title
See also references of EP3009802A4

Cited By (4)

* Cited by examiner, † Cited by third party
Publication number Priority date Publication date Assignee Title
EP3176554A1 (en) * 2015-12-03 2017-06-07 Jtekt Corporation Sensor assembly and sensor assembly manufacturing method
CN107101757A (zh) * 2015-12-03 2017-08-29 株式会社捷太格特 传感器组件以及传感器组件的制造方法
US9857253B2 (en) 2015-12-03 2018-01-02 Jtekt Corporation Sensor assembly and method of manufacturing the sensor assembly having a magnetic sensor circuit, a holder holding the magnetic sensor circuit and including first and second holder members, and a resin case containing the holder
CN107101757B (zh) * 2015-12-03 2020-09-08 株式会社捷太格特 传感器组件以及传感器组件的制造方法

Also Published As

Publication number Publication date
EP3009802A4 (en) 2017-02-01
CN108534804B (zh) 2021-09-21
US10101412B2 (en) 2018-10-16
US20160124056A1 (en) 2016-05-05
JP2014238354A (ja) 2014-12-18
JP5949672B2 (ja) 2016-07-13
CN108534804A (zh) 2018-09-14
EP3009802B1 (en) 2018-03-28
CN105358939B (zh) 2018-05-01
CN105358939A (zh) 2016-02-24
EP3009802A1 (en) 2016-04-20

Similar Documents

Publication Publication Date Title
JP5949672B2 (ja) 検出装置、及び検出装置の製造方法
WO2014103499A1 (ja) 車輪速センサ及びワイヤハーネス
US20120297916A1 (en) Apparatus for detecting torque and steering system having the same
US20150276519A1 (en) Sensor unit, torque detector, and electric power steering device
JP6287784B2 (ja) モータ
JP6477722B2 (ja) 車載用検出装置
JP6838306B2 (ja) 車載用検出装置
US8833166B2 (en) Rotation detecting apparatus
WO2014103469A1 (ja) 車輪速センサ及び車輪速センサ製造方法
US9857201B2 (en) Onboard detector
JP6160940B2 (ja) 検出装置、及び検出装置の製造方法
JP5150840B2 (ja) レゾルバステータ構造
JP6476986B2 (ja) センサ付きケーブル
JP6036220B2 (ja) トルク検出装置
JP4626318B2 (ja) 回転検出センサ
JP6955683B2 (ja) センサモジュール付きケーブル
JP2014238355A (ja) 車載用検出装置
JP2009092463A (ja) トルク検出装置、電動パワーステアリング装置、およびトルク検出装置の製造方法
JP2018017597A (ja) トルク検出装置および電動パワーステアリング装置
JP2009300258A (ja) 回転センサ
JP2006343308A (ja) 回転検出センサ
JP2005233624A (ja) 回転センサ付軸受
JP2008275490A (ja) 回転検出センサ
JP2009294130A (ja) 回転センサ
JP2009270907A (ja) センサユニット

Legal Events

Date Code Title Description
WWE Wipo information: entry into national phase

Ref document number: 201480032723.8

Country of ref document: CN

121 Ep: the epo has been informed by wipo that ep was designated in this application

Ref document number: 14811221

Country of ref document: EP

Kind code of ref document: A1

WWE Wipo information: entry into national phase

Ref document number: 14896631

Country of ref document: US

WWE Wipo information: entry into national phase

Ref document number: 2014811221

Country of ref document: EP

NENP Non-entry into the national phase

Ref country code: DE