WO2012081368A1 - 非水系二次電池 - Google Patents
非水系二次電池 Download PDFInfo
- Publication number
- WO2012081368A1 WO2012081368A1 PCT/JP2011/077005 JP2011077005W WO2012081368A1 WO 2012081368 A1 WO2012081368 A1 WO 2012081368A1 JP 2011077005 W JP2011077005 W JP 2011077005W WO 2012081368 A1 WO2012081368 A1 WO 2012081368A1
- Authority
- WO
- WIPO (PCT)
- Prior art keywords
- electrode
- current collector
- secondary battery
- positive electrode
- penetrating member
- Prior art date
- Legal status (The legal status is an assumption and is not a legal conclusion. Google has not performed a legal analysis and makes no representation as to the accuracy of the status listed.)
- Ceased
Links
Images
Classifications
-
- H—ELECTRICITY
- H01—ELECTRIC ELEMENTS
- H01M—PROCESSES OR MEANS, e.g. BATTERIES, FOR THE DIRECT CONVERSION OF CHEMICAL ENERGY INTO ELECTRICAL ENERGY
- H01M10/00—Secondary cells; Manufacture thereof
- H01M10/05—Accumulators with non-aqueous electrolyte
- H01M10/052—Li-accumulators
- H01M10/0525—Rocking-chair batteries, i.e. batteries with lithium insertion or intercalation in both electrodes; Lithium-ion batteries
-
- H—ELECTRICITY
- H01—ELECTRIC ELEMENTS
- H01M—PROCESSES OR MEANS, e.g. BATTERIES, FOR THE DIRECT CONVERSION OF CHEMICAL ENERGY INTO ELECTRICAL ENERGY
- H01M50/00—Constructional details or processes of manufacture of the non-active parts of electrochemical cells other than fuel cells, e.g. hybrid cells
- H01M50/50—Current conducting connections for cells or batteries
- H01M50/531—Electrode connections inside a battery casing
- H01M50/54—Connection of several leads or tabs of plate-like electrode stacks, e.g. electrode pole straps or bridges
-
- H—ELECTRICITY
- H01—ELECTRIC ELEMENTS
- H01M—PROCESSES OR MEANS, e.g. BATTERIES, FOR THE DIRECT CONVERSION OF CHEMICAL ENERGY INTO ELECTRICAL ENERGY
- H01M10/00—Secondary cells; Manufacture thereof
- H01M10/05—Accumulators with non-aqueous electrolyte
- H01M10/058—Construction or manufacture
- H01M10/0585—Construction or manufacture of accumulators having only flat construction elements, i.e. flat positive electrodes, flat negative electrodes and flat separators
-
- H—ELECTRICITY
- H01—ELECTRIC ELEMENTS
- H01M—PROCESSES OR MEANS, e.g. BATTERIES, FOR THE DIRECT CONVERSION OF CHEMICAL ENERGY INTO ELECTRICAL ENERGY
- H01M4/00—Electrodes
- H01M4/02—Electrodes composed of, or comprising, active material
- H01M4/64—Carriers or collectors
- H01M4/66—Selection of materials
- H01M4/665—Composites
- H01M4/667—Composites in the form of layers, e.g. coatings
-
- H—ELECTRICITY
- H01—ELECTRIC ELEMENTS
- H01M—PROCESSES OR MEANS, e.g. BATTERIES, FOR THE DIRECT CONVERSION OF CHEMICAL ENERGY INTO ELECTRICAL ENERGY
- H01M4/00—Electrodes
- H01M4/02—Electrodes composed of, or comprising, active material
- H01M4/64—Carriers or collectors
- H01M4/66—Selection of materials
- H01M4/668—Composites of electroconductive material and synthetic resins
-
- H—ELECTRICITY
- H01—ELECTRIC ELEMENTS
- H01M—PROCESSES OR MEANS, e.g. BATTERIES, FOR THE DIRECT CONVERSION OF CHEMICAL ENERGY INTO ELECTRICAL ENERGY
- H01M50/00—Constructional details or processes of manufacture of the non-active parts of electrochemical cells other than fuel cells, e.g. hybrid cells
- H01M50/50—Current conducting connections for cells or batteries
- H01M50/528—Fixed electrical connections, i.e. not intended for disconnection
-
- H—ELECTRICITY
- H01—ELECTRIC ELEMENTS
- H01M—PROCESSES OR MEANS, e.g. BATTERIES, FOR THE DIRECT CONVERSION OF CHEMICAL ENERGY INTO ELECTRICAL ENERGY
- H01M50/00—Constructional details or processes of manufacture of the non-active parts of electrochemical cells other than fuel cells, e.g. hybrid cells
- H01M50/50—Current conducting connections for cells or batteries
- H01M50/531—Electrode connections inside a battery casing
- H01M50/534—Electrode connections inside a battery casing characterised by the material of the leads or tabs
-
- Y—GENERAL TAGGING OF NEW TECHNOLOGICAL DEVELOPMENTS; GENERAL TAGGING OF CROSS-SECTIONAL TECHNOLOGIES SPANNING OVER SEVERAL SECTIONS OF THE IPC; TECHNICAL SUBJECTS COVERED BY FORMER USPC CROSS-REFERENCE ART COLLECTIONS [XRACs] AND DIGESTS
- Y02—TECHNOLOGIES OR APPLICATIONS FOR MITIGATION OR ADAPTATION AGAINST CLIMATE CHANGE
- Y02E—REDUCTION OF GREENHOUSE GAS [GHG] EMISSIONS, RELATED TO ENERGY GENERATION, TRANSMISSION OR DISTRIBUTION
- Y02E60/00—Enabling technologies; Technologies with a potential or indirect contribution to GHG emissions mitigation
- Y02E60/10—Energy storage using batteries
-
- Y—GENERAL TAGGING OF NEW TECHNOLOGICAL DEVELOPMENTS; GENERAL TAGGING OF CROSS-SECTIONAL TECHNOLOGIES SPANNING OVER SEVERAL SECTIONS OF THE IPC; TECHNICAL SUBJECTS COVERED BY FORMER USPC CROSS-REFERENCE ART COLLECTIONS [XRACs] AND DIGESTS
- Y02—TECHNOLOGIES OR APPLICATIONS FOR MITIGATION OR ADAPTATION AGAINST CLIMATE CHANGE
- Y02P—CLIMATE CHANGE MITIGATION TECHNOLOGIES IN THE PRODUCTION OR PROCESSING OF GOODS
- Y02P70/00—Climate change mitigation technologies in the production process for final industrial or consumer products
- Y02P70/50—Manufacturing or production processes characterised by the final manufactured product
Definitions
- the present invention relates to a non-aqueous secondary battery.
- Non-aqueous secondary batteries represented by lithium ion secondary batteries have high capacity and high energy density, and are excellent in storage performance and charge / discharge repetition characteristics. It's being used. In recent years, lithium ion secondary batteries have come to be used for electric power storage applications and in-vehicle applications such as electric vehicles due to increasing awareness of environmental issues and energy savings.
- the non-aqueous secondary battery has a high risk of abnormal overheating or ignition when exposed to an overcharged state or a high temperature environment because of its high energy density. Therefore, various countermeasures for safety are taken in the non-aqueous secondary battery.
- Patent Document 1 proposes a lithium ion secondary battery using a current collector in which a metal layer is formed on both surfaces of a resin film having a low melting point of 130 ° C. to 170 ° C.
- a current collector in which a metal layer is formed on both surfaces of a resin film having a low melting point of 130 ° C. to 170 ° C.
- the low melting point resin film melts. And the electrode is damaged by melting of the resin film. Thereby, since an electric current is cut, the temperature rise inside a battery is suppressed and ignition is prevented.
- Patent Document 1 the current collector proposed in Patent Document 1 is very effective as a safety measure for non-aqueous secondary batteries.
- the current collector has a configuration in which metal layers are formed on both surfaces of an insulating resin film, for example, in the case of a stacked non-aqueous secondary battery in which a plurality of electrodes are stacked, wiring When connecting the lead tab electrode to the current collector, there is an inconvenience that the electrodes cannot conduct each other. For this reason, since it becomes difficult to electrically connect the tab electrode to all the electrodes, there is a problem that the battery performance is remarkably deteriorated.
- the present invention has been made to solve the above-described problems, and one object of the present invention is a non-aqueous secondary that can improve the safety and suppress the deterioration of the battery performance. It is to provide a battery.
- a non-aqueous secondary battery includes a current collector having a multilayer structure in which conductive layers are formed on both sides of an insulating layer, and a current collector formed on the current collector.
- An electrode including the active material layer formed, a penetrating member made of a conductive material and penetrating the current collector in the thickness direction, and a tab electrode electrically connected to the electrode are provided.
- a plurality of the electrodes are stacked, and the penetrating member continuously penetrates two or more electrodes.
- the non-aqueous secondary battery by including the penetrating member that penetrates the current collector in the thickness direction, one side of the insulating layer in the current collector is provided via the penetrating member.
- This conductive layer and the other conductive layer can be electrically connected. Therefore, by continuously penetrating two or more electrodes with this penetrating member, even when a current collector having a multilayer structure is used, a plurality of stacked electrodes can be electrically connected.
- the tab electrode can be electrically connected to the plurality of stacked electrodes.
- the tab electrode can be electrically connected to all the stacked electrodes of the same polarity. Therefore, since the deterioration of battery performance can be suppressed, the performance of the nonaqueous secondary battery can be fully utilized.
- the current collector having a multilayer structure as described above for example, when abnormal heat generation occurs in an overcharged state or a high temperature state, the insulating layer of the current collector Since the electrode melts due to melting, the current can be cut. Thereby, since the temperature rise inside a battery can be suppressed, it can prevent that abnormal states, such as ignition, arise.
- the penetrating member for example, when the tab electrode is connected to the electrode by welding or the like, the contact resistance between the tab electrode and the electrode and the contact resistance between the electrodes are reduced. be able to. Thereby, the tab electrode can be firmly connected to the electrode. Note that, by firmly connecting the tab electrode to the electrode, a decrease in battery capacity due to an increase in contact resistance can be suppressed.
- the electrode includes a positive electrode and a negative electrode, and at least one of the positive electrode and the negative electrode is formed using the current collector having a multilayer structure. If comprised in this way, the safety
- all of the same-polarity electrodes formed using the current collector having a multilayer structure are continuously penetrated by the penetrating member. If comprised in this way, the conductive layer of a collector can be electrically connected mutually in all the electrodes of the same polarity. For example, when the tab electrode is connected to the electrode by welding or the like, all the electrodes having the same polarity can be easily connected (joined) to the tab electrode while being electrically connected to each other. Thereby, the fall of battery performance can be suppressed effectively.
- the electrode has an exposed region where the conductive layer is exposed without forming the active material layer, and the exposed region in the plurality of stacked same-polarity electrodes Between them, a foil-like member made of a conductive material is disposed, and the penetrating member is provided in the exposed region of the electrode so as to also penetrate the foil-like member. If comprised in this way, the conductive layer of each electrode can be effectively electrically connected to each other by the penetrating member, and the tab electrode can be effectively electrically connected to all the electrodes. Can do. Thereby, the fall of battery performance can be suppressed more effectively. Therefore, if comprised as mentioned above, the fall of battery performance can be suppressed, improving safety
- the foil-like member is extended to the outside of the current collector, and the extended portion of the foil-like member is welded to the tab electrode. If comprised in this way, since not only a penetration member but a foil-like member can connect a tab electrode and each electrode electrically, a tab electrode can be more conductively connected to an electrode. it can. Thereby, the tab electrode can be electrically connected (joined) to all the electrodes more effectively. In addition, the contact resistance between the tab electrode and the electrode can be further reduced.
- a plurality of stacked electrodes having the same polarity are in close contact with each other by a penetrating member. If comprised in this way, in the electrode of the same polarity laminated
- the penetrating member is composed of a fastening member. If comprised in this way, it can be made into the state which one part of the electrical power collector mutually contact
- the tab electrode is welded and fixed to a region where the penetrating member is provided. If comprised in this way, it can make it easy to take conduction with a tab electrode and an electrode.
- the penetrating member may have a needle-like tip.
- the penetrating member can be easily penetrated in the thickness direction of the current collector. Therefore, the conductive layer on one side of the insulating layer and the conductive layer on the other side of the current collector can be easily Can be electrically connected.
- a through hole through which the penetrating member is inserted may be formed in advance in the current collector of the electrode.
- a non-aqueous secondary battery includes a current collector having a multilayer structure in which conductive layers are formed on both surfaces of an insulating layer, and an active material layer formed on the current collector.
- An electrode and a tab electrode electrically connected to the conductive layer of the current collector are provided.
- a plurality of the electrodes are stacked, and the current collector has an exposed region in which the conductive layer is exposed without forming an active material layer, and a plurality of stacked electrodes of the same polarity are used.
- a foil-shaped member made of a conductive material is disposed between the exposed regions, and the tab electrode is welded to a portion of the exposed region where the foil-shaped member is disposed, and one of the foil-shaped members is disposed. The part is welded directly to the tab electrode.
- a foil-like member made of a conductive material is disposed between exposed regions of a plurality of stacked electrodes having the same polarity, and the foil-like member is provided.
- the conductive layer of each current collector can be electrically connected to the tab electrode via the foil-like member.
- the safety can be further improved as in the first aspect.
- the contact resistance between the tab electrode and the electrode and the contact resistance between the electrodes are reduced. be able to.
- the tab electrode can be firmly connected to the electrode. Note that, by firmly connecting the tab electrode to the electrode, a decrease in battery capacity due to an increase in contact resistance can be suppressed.
- the insulating layer of the current collector is preferably composed of a film-like or fibrous resin.
- the insulating layer of the current collector has a thermal shrinkage rate at 120 ° C. of 1.5% or more in any of the planar directions. It consists of a certain thermoplastic resin.
- the insulating layer of the current collector is preferably composed of a polyolefin resin, polyvinyl chloride, or a composite material thereof. If comprised in this way, the safety
- the electrode includes a positive electrode and a negative electrode, and further includes a separator disposed between the positive electrode and the negative electrode.
- the thermal contraction rate at 0 ° C. is smaller than the thermal contraction rate of the insulating layer of the current collector. If comprised in this way, before the shutdown function of a separator operates, the insulating layer which comprises the electrical power collector of an electrode can be blown out. Thereby, the current interruption effect by the insulating layer and the separator makes it possible to interrupt the current in two steps, so that the safety of the non-aqueous secondary battery can be further improved.
- the thermal contraction rate of the separator at 180 ° C. is 1.0% or less. If comprised in this way, when abnormal heat_generation
- the separator preferably includes an aramid resin, polyester, or cellulose resin.
- FIG. 1 is an exploded perspective view of a lithium ion secondary battery according to a first embodiment of the present invention.
- 1 is an exploded perspective view of an electrode group of a lithium ion secondary battery according to a first embodiment of the present invention. It is the perspective view which showed typically the electrode group of the lithium ion secondary battery by 1st Embodiment of this invention.
- 1 is an overall perspective view of a lithium ion secondary battery according to a first embodiment of the present invention. It is sectional drawing which expanded and showed a part of FIG. FIG.
- FIG. 10 is a cross-sectional view of the positive electrode of the lithium ion secondary battery according to the first embodiment of the present invention (a view corresponding to a cross section taken along line AA in FIG. 9). It is a top view of the positive electrode of the lithium ion secondary battery by 1st Embodiment of this invention.
- 1 is a perspective view of a positive electrode of a lithium ion secondary battery according to a first embodiment of the present invention. It is the top view which showed typically a part of positive electrode used for the lithium ion secondary battery by 1st Embodiment of this invention. It is the perspective view which showed typically a part of electrode group of the lithium ion secondary battery by 1st Embodiment of this invention.
- FIG. 17 is a cross-sectional view of the negative electrode of the lithium ion secondary battery according to the first embodiment of the present invention (a diagram corresponding to a cross section taken along line BB in FIG. 16). It is a top view of the negative electrode of the lithium ion secondary battery by 1st Embodiment of this invention.
- 1 is a perspective view of a negative electrode of a lithium ion secondary battery according to a first embodiment of the present invention.
- 1 is a perspective view of a separator of a lithium ion secondary battery according to a first embodiment of the present invention. It is the perspective view which showed typically a part of electrode group of the lithium ion secondary battery by the 1st modification of 1st Embodiment. It is the perspective view which showed typically a part of electrode group of the lithium ion secondary battery by the 1st modification of 1st Embodiment. It is sectional drawing (figure corresponding to the section containing a penetration member) which showed a part of electrode group of the lithium ion secondary battery by the 1st modification of a 1st embodiment typically.
- FIG. 7 is a plan view (a diagram schematically showing a part of a positive electrode current collector) showing another example (Modification 1) of the first, second and fourth embodiments. It is typical sectional drawing which showed the other example (modification 2) of 1st, 2nd and 4th embodiment. It is typical sectional drawing which showed the other example (modification 3) of 1st, 2nd and 4th embodiment.
- FIG. 1 is a cross-sectional view schematically showing an electrode group of a lithium ion secondary battery according to a first embodiment of the present invention.
- FIG. 2 is an exploded perspective view of the lithium ion secondary battery according to the first embodiment of the present invention.
- FIG. 3 is an exploded perspective view of an electrode group of the lithium ion secondary battery according to the first embodiment of the present invention.
- 4 to 17 are diagrams for explaining a lithium ion secondary battery according to the first embodiment of the present invention. First, a lithium ion secondary battery according to a first embodiment of the present invention will be described with reference to FIGS.
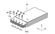
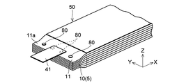
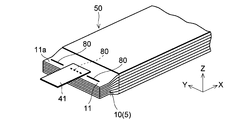
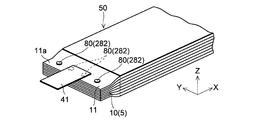
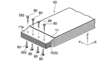
- the lithium ion secondary battery according to the first embodiment is a large-sized secondary battery having a square flat shape as shown in FIGS. 2 and 5, and an electrode group 50 (see FIG. 1) including a plurality of electrodes 5. And a metal outer container 100 that encloses the electrode group 50 together with a non-aqueous electrolyte.
- the electrode 5 includes a positive electrode 10 and a negative electrode 20, and suppresses a short circuit between the positive electrode 10 and the negative electrode 20 between the positive electrode 10 and the negative electrode 20.
- a separator 30 is provided. Specifically, the positive electrode 10 and the negative electrode 20 are arranged so as to face each other with the separator 30 interposed therebetween, and the positive electrode 10, the separator 30, and the negative electrode 20 are sequentially laminated, thereby forming a laminated structure (laminated body). It is configured. Note that the positive electrodes 10 and the negative electrodes 20 are alternately stacked one by one.
- the electrode group 50 is configured such that one positive electrode 10 is positioned between two adjacent negative electrodes 20.
- the electrode group 50 includes, for example, 13 positive electrodes 10, 14 negative electrodes 20, and 28 separators 30.
- the positive electrodes 10 and the negative electrodes 20 are alternately stacked with the separators 30 interposed therebetween. Yes. Further, a separator 30 is disposed on the outermost side of the electrode group 50 (outside of the outermost negative electrode 20), and insulation from the outer container 100 is achieved.
- the positive electrode 10 constituting the electrode group 50 has a configuration in which the positive electrode active material layer 12 is supported on both surfaces of the positive electrode current collector 11.
- the positive electrode current collector 11 has a function of collecting the positive electrode active material layer 12.
- the positive electrode current collector 11 has a multilayer structure (three-layer structure) in which the conductive layers 14 are formed on both surfaces of the insulating resin layer 13.
- the resin layer 13 is an example of the “insulating layer” in the present invention.
- the conductive layer 14 constituting the positive electrode current collector 11 is made of, for example, aluminum or an aluminum alloy, and has a thickness of about 6 ⁇ m to about 15 ⁇ m. Since aluminum has high oxidation resistance, it can be suitably used as the conductive layer 14 of the positive electrode current collector 11.
- the said conductive layer 14 may be other than aluminum or aluminum alloy, for example, may be comprised from metal materials, such as titanium, stainless steel, nickel, or these alloys.
- the method for forming the conductive layer 14 is not particularly limited, and examples thereof include a method by vapor deposition, sputtering, electrolytic plating, electroless plating, bonding of metal foil, and the like, and a method composed of a combination of these methods.
- the resin layer 13 of the positive electrode current collector 11 is made of a plastic material made of a thermoplastic resin.
- the resin layer 13 is made of, for example, a sheet-like (film-like) resin member (resin film).
- a plastic material made of a thermoplastic resin for example, polyolefin resins such as polyethylene (PE) and polypropylene (PP) having a heat distortion temperature of 150 ° C. or less, polystyrene (PS), polyvinyl chloride, polyamide, etc. are preferably used. It is done. Among them, polyethylene (PE), polypropylene (PP), etc. whose thermal shrinkage rate at 120 ° C.
- polystyrene resin is 1.5% or more in any direction in the plane direction (for example, any direction in the longitudinal direction and the transverse direction)
- Polyolefin resin, polyvinyl chloride and the like are preferable.
- these composite films and the resin film which gave these surface treatment processes can also be used suitably.
- a resin film made of the same material as that of the separator 30 can be used.
- any resin having different heat deformation temperature, heat shrinkage rate, etc. can be used for both the resin layer 13 and the separator 30 due to differences in manufacturing process and processing.
- the thickness of the resin layer 13 is not particularly limited, but is preferably 5 ⁇ m or more and 50 ⁇ m or less, and more preferably 10 ⁇ m or more and 20 ⁇ m or less in order to balance the energy density improvement and strength maintenance as a secondary battery.
- the resin layer 13 (resin film) may be a resin film produced by any method such as uniaxial stretching, biaxial stretching, or non-stretching.
- the resin layer 13 of the positive electrode current collector 11 may be, for example, in the form of a fiber other than a film.
- the above heat deformation temperature and heat shrinkage mean values obtained by the following method.
- the heat deformation temperature means a temperature at which the resin layer (resin film) starts to shrink (the same applies to the separator described later).
- the heat distortion temperature is kept at a constant temperature for a certain time in a thermostatic chamber, the heat shrinkage rate is measured, the temperature is increased if not contracted, the temperature is decreased if contracted, and this is repeated.
- a resin film is hold
- the heat shrinkage rate at this time is 20% or less, the temperature is raised to 105 ° C. using a new sample, and the heat shrinkage rate is measured after maintaining at this temperature for 15 minutes. This process is repeated until the temperature reaches 150 ° C., and the temperature at which the heat shrinkage rate becomes 10% or more is defined as the heat distortion temperature.
- the heat shrinkage rate is measured, for example, by attaching two points on the resin film with an interval of 50 mm or more, and measuring the distance between the two points using a caliper. Then, after heat-processing for 15 minutes at 120 degreeC (180 degreeC also about the separator mentioned later), the distance between the same points is measured again, and a thermal contraction rate is calculated
- the positive electrode active material layer 12 includes a positive electrode active material that can occlude and release lithium ions.
- the positive electrode active material include an oxide containing lithium. Specific examples include LiCoO 2 , LiFeO 2 , LiMnO 2 , LiMn 2 O 4 , and compounds in which transition metals in these oxides are partially substituted with other metal elements. Among these, in a normal use, it is preferable to use a material that can utilize 80% or more of the amount of lithium held by the positive electrode for the battery reaction. As a result, the safety of the secondary battery against accidents such as overcharging can be enhanced.
- Examples of such a positive electrode active material include a compound having a spinel structure such as LiMn 2 O 4 and LiMPO 4 (M is at least one element selected from Co, Ni, Mn, and Fe). The compound etc. which have the olivine structure represented by these are mentioned. Among these, a positive electrode active material containing at least one of Mn and Fe is preferable from the viewpoint of cost. Furthermore, it is preferable to use LiFePO 4 from the viewpoint of safety and charging voltage. In LiFePO 4 , since all oxygen (O) is bonded to phosphorus (P) by a strong covalent bond, release of oxygen due to a temperature rise hardly occurs. Therefore, it is excellent in safety.
- the thickness of the positive electrode active material layer 12 is preferably about 20 ⁇ m to 2 mm, and more preferably about 50 ⁇ m to 1 mm.
- the configuration of the positive electrode active material layer 12 is not particularly limited as long as it includes at least the positive electrode active material.
- the positive electrode active material layer 12 may include other materials such as a conductive material, a thickener, and a binder in addition to the positive electrode active material.
- the conductive material is not particularly limited as long as it is an electron conductive material that does not adversely affect the battery performance of the positive electrode 10.
- carbon black acetylene black, ketjen black, graphite (natural graphite, artificial graphite), carbon fiber, etc.
- These carbonaceous materials or conductive metal oxides can be used.
- carbon black and acetylene black are preferable from the viewpoints of electron conductivity and coatability.
- the thickener for example, polyethylene glycols, celluloses, polyacrylamides, poly N-vinyl amides, poly N-vinyl pyrrolidones and the like can be used.
- celluloses such as polyethylene glycols and carboxymethyl cellulose (CMC) are preferable, and CMC is particularly preferable.
- the binder serves to bind the active material particles and the conductive material particles, for example, a fluorine-based polymer such as polyvinylidene fluoride (PVDF), polyvinylpyridine, polytetrafluoroethylene, or a polyolefin such as polyethylene or polypropylene.
- PVDF polyvinylidene fluoride
- a polymer, styrene butadiene rubber, or the like can be used.
- Examples of the solvent for dispersing the positive electrode active material, the conductive material, the binder, and the like include N-methyl-2-pyrrolidone, dimethylformamide, dimethylacetamide, methyl ethyl ketone, cyclohexanone, methyl acetate, methyl acrylate, diethyltriamine, N, Organic solvents such as N-dimethylaminopropylamine, ethylene oxide, and tetrahydrofuran can be used.
- the positive electrode 10 described above is obtained by mixing a positive electrode active material, a conductive material, a thickener and a binder, and adding a suitable solvent to form a paste-like positive electrode mixture. It is formed by compressing to dry the electrode and increasing the electrode density as necessary.
- the positive electrode 10 has a substantially rectangular shape in plan view.
- the width W1 in the Y direction of the positive electrode 10 is, for example, about 100 mm, and the length L1 in the X direction is, for example, about 150 mm.
- the width W11 in the Y direction is the same as the width W1 of the positive electrode 10, for example, about 100 mm, and the length L11 in the X direction is, for example, It is about 135 mm.
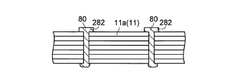
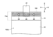
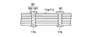
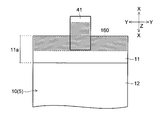
- the surface (conductive layer 14) of the positive electrode current collector 11 was exposed on one end side in the X direction without forming the positive electrode active material layer 12. It has a current collector exposed portion (exposed region) 11a.
- a tab electrode 41 for taking out current to the outside is electrically connected to the current collector exposed portion 11a.
- the tab electrode 41 is formed in, for example, a shape having a width of about 30 mm and a length of about 70 mm.
- the current collector exposed portion 11a of the positive electrode 10 is formed with a through hole 11b penetrating in the thickness direction.
- the through holes 11b are formed so that the through holes 11b of the respective positive electrodes 10 are aligned (overlapped) when a plurality of the positive electrodes 10 are stacked.
- a through member 80 (see FIG. 1) described later is inserted through the through hole 11b of the positive electrode 10.
- the negative electrode 20 constituting the electrode group 50 has a structure in which a negative electrode active material layer 22 is supported on both surfaces of a negative electrode current collector 21, as shown in FIG.
- the negative electrode current collector 21 has a function of collecting the negative electrode active material layer 22.
- the negative electrode current collector 21 does not include a resin layer. That is, only the positive electrode current collector 11 (see FIG. 7) has a multilayer structure including a resin layer.
- the negative electrode current collector 21 is made of, for example, a metal foil such as copper, nickel, stainless steel, iron, or a nickel plating layer, or an alloy foil made of these alloys, and has a thickness of about 1 ⁇ m to about 1 ⁇ m. The thickness is 100 ⁇ m (for example, about 16 ⁇ m).
- the negative electrode current collector 21 is preferably a metal foil made of copper or a copper alloy from the viewpoint that it is difficult to alloy with lithium, and the thickness is preferably 4 ⁇ m or more and 20 ⁇ m or less.
- the negative electrode current collector 21 has a film shape, a sheet shape, a net shape, a punched or expanded shape, a lath body, a porous body, a foamed body, a formed body of fiber groups, etc. in addition to the foil shape. There may be.
- the negative electrode active material layer 22 includes a negative electrode active material that can occlude and release lithium ions.
- a negative electrode active material for example, a material containing lithium or a material capable of occluding and releasing lithium is used.
- the potential for insertion / extraction of lithium is close to the deposition / dissolution potential of metallic lithium.
- Typical examples thereof include particulate natural graphite or artificial graphite (scale-like, lump-like, fibrous, whisker-like, spherical, pulverized particle-like, etc.).
- the negative electrode active material artificial graphite obtained by graphitizing mesocarbon microbeads, mesophase pitch powder, isotropic pitch powder, or the like may be used. Further, graphite particles having amorphous carbon attached to the surface can also be used. Furthermore, lithium transition metal oxides, lithium transition metal nitrides, transition metal oxides, silicon oxides, and the like can also be used. As the lithium transition metal oxide, for example, when lithium titanate represented by Li 4 Ti 5 O 12 is used, the deterioration of the negative electrode 20 is reduced, so that the battery life can be extended.
- the thickness of the negative electrode active material layer 22 is preferably about 20 ⁇ m to 2 mm, and more preferably about 50 ⁇ m to 1 mm.
- the configuration of the negative electrode active material layer 22 is not particularly limited as long as it includes at least the negative electrode active material.
- the negative electrode active material layer 22 may include other materials such as a conductive material, a thickener, and a binder in addition to the negative electrode active material.
- a conductive material, a thickening material, and a binder can be the same as the positive electrode active material layer 12 (that can be used for the positive electrode active material layer 12).
- the negative electrode 20 described above is obtained by mixing a negative electrode active material, a conductive material, a thickener and a binder, and adding a suitable solvent to form a paste-like negative electrode mixture. It is formed by compressing to dry the electrode and increasing the electrode density as necessary.
- the negative electrode 20 has a substantially rectangular shape in plan view, and is substantially the same size (plane area) as the positive electrode 10 (see FIGS. 8 and 9). Is formed. Specifically, in the first embodiment, the negative electrode 20 has the same width W2 in the Y direction as the width W1 of the positive electrode 10 (see FIG. 8), for example, about 100 mm, and the length in the X direction. L2 is the same as the length L1 of the positive electrode 10 (see FIG. 8), for example, about 150 mm.
- the width W21 in the Y direction is the same as the width W2 of the negative electrode 20, for example, about 100 mm, and the length L21 in the X direction is, for example, It is about 135 mm.
- the negative electrode 20 is a collector in which the surface of the negative electrode current collector 21 is exposed without forming the negative electrode active material layer 22 at one end in the Y direction, like the positive electrode 10. It has an electric body exposed portion 21a.
- a tab electrode 42 for taking out current to the outside is electrically connected to the current collector exposed portion 21a.
- the tab electrode 42 is formed in a shape having a width of about 30 mm and a length of about 70 mm, for example, like the tab electrode 41.
- the separator 30 constituting the electrode group 50 is appropriately selected from, for example, electrically insulating synthetic resin fibers, non-woven fabrics such as glass fibers and natural fibers, woven fabrics, or microporous membranes. Is possible. Among these, non-woven fabrics such as polyethylene, polypropylene, polyester, aramid resins, and cellulose resins, and microporous membranes are preferable from the viewpoint of quality stability, and particularly non-woven fabrics composed of aramid resins, polyesters, or cellulose resins, fine A porous membrane is preferred.
- the separator 30 preferably has a melting point of 200 ° C. or lower so that when heat is generated in the lithium ion secondary battery due to an internal short circuit, the pores of the separator 30 are blocked and ion conduction is blocked. It is preferable to have a melting point higher than that of the resin layer 13 of the current collector 11.
- the separator 30 is preferably configured so that the thermal contraction rate at 120 ° C. is smaller than that of the resin layer 13 of the positive electrode current collector 11.
- the separator 30 is preferably made of a material having a heat shrinkage rate of 1.0% or less at a temperature not higher than the heat deformation temperature of the resin layer 13 of the positive electrode current collector 11.
- the separator 30 is preferably made of a porous film such as an aramid resin, polyester, or cellulose resin having a heat shrinkage rate of 180% or less at 180 ° C.
- the thickness of the separator 30 is not particularly limited, but is a thickness that can hold a necessary amount of electrolyte and can prevent a short circuit between the positive electrode 10 and the negative electrode 20. Is preferred. Specifically, the separator 30 can have a thickness of 0.02 mm (20 ⁇ m) to 0.1 mm (100 ⁇ m), for example. The thickness of the separator 30 is preferably about 0.01 mm to 1 mm, more preferably about 0.02 mm to 0.05 mm. The material constituting the separator 30 is such that the air permeability per unit area (1 cm 2 ) is about 0.1 sec / cm 3 to 500 sec / cm 3 while maintaining a low battery internal resistance. This is preferable because strength sufficient to prevent an internal short circuit can be secured.
- the heat distortion temperature and the heat shrinkage mean values obtained by the same method as that for the resin layer (resin film) described above.
- heat treatment is performed at 120 ° C.
- heat treatment is performed at 180 ° C.
- the separator 30 has a shape larger than the application region (formation region) of the positive electrode active material layer 12 and the application region (formation region) of the negative electrode active material layer 22. Specifically, as shown in FIG. 17, the separator 30 is formed in a rectangular shape, and the width W3 in the Y direction is, for example, about 115 mm, and the length L3 in the X direction is, for example, about 160 mm. Yes.
- the positive electrode 10 and the negative electrode 20 described above are arranged such that the current collector exposed portion 11a of the positive electrode 10 and the current collector exposed portion 21a of the negative electrode 20 are located on opposite sides.
- the separator 30 is laminated between the positive electrode and the negative electrode.
- the current collector exposed portion 11 a of the stacked positive electrode 10 is provided with the positive electrode current collector 11 having a multilayer structure in the thickness direction.
- a penetrating member 80 that penetrates is provided.
- This penetrating member 80 is made of a conductive material, and is inserted through the through hole 11b of the positive electrode current collector 11 so that all of the stacked positive electrodes 10 (electrodes 5 of the same polarity) are continuously formed. It penetrates.
- the penetrating member 80 has, for example, the same shape as an eyelet (eyelet fitting), and has a cylindrical body part 81 and a head part 82 having a slightly large diameter provided at one end of the body part 81. It is comprised including. Then, as shown in FIGS. 6 and 11, after the penetrating member 80 is inserted into the through hole 11b of the positive electrode current collector 11, the other end of the body 81 (the end opposite to the head 82) is connected. The laminated positive electrode 10 is fixed by crimping.
- the diameter of the through hole 11 b of the positive electrode current collector 11 is approximately the same as the diameter of the body portion 81 of the through member 80. And it is comprised so that the surface (outer surface) of the trunk
- the conductive layer 14 on one side and the conductive layer 14 on the other side of the resin layer 13 in the positive electrode current collector 11 are electrically connected to each other via the penetrating member 80, and the penetrating member 80 is By continuously penetrating all the positive electrodes 10, all the stacked positive electrodes 10 are electrically connected to each other.
- the penetrating member 80 also has a function as a fastening member for bundling and fixing the stacked electrodes (positive electrode 10) as described above.
- the stacked electrodes (positive electrode 10) are fixed by the penetrating member 80, so that a part of each positive electrode 10 (current collector exposed portion 11a) is in close contact with each other.
- the penetrating member 80 is preferably made of aluminum or an aluminum alloy from the viewpoints of electrical conductivity and oxidation resistance.
- the penetrating member 80 may be other than aluminum or an aluminum alloy, and may be made of a metal material such as titanium, stainless steel, nickel, or an alloy thereof.
- the penetrating member 80 is provided at a plurality of locations of the current collector exposed portion 11a of the positive electrode current collector 11. As described above, by providing (penetrating) the penetrating member 80 at a plurality of locations of the current collector exposed portion 11a, the contact resistance between the positive electrodes is reduced, so that conduction between the electrodes (between the positive electrodes) is improved.
- the tab electrode 41 described above is welded and fixed to the outermost positive electrode 10 (the conductive layer 14 of the positive electrode current collector 11) while being fixed by the penetrating member 80 as described above. ing.
- the tab electrode 41 may be fixed by welding to the positive electrode 10 in the intermediate layer instead of the outermost layer.
- the tab electrode 41 is fixed by welding in a region where the penetrating member 80 is provided. Specifically, as shown in FIGS. 4, 10, and 12, the tab electrode 41 has a substantially central portion (welding region M (see FIG. 5) in the width direction (Y direction) of the positive electrode current collector 11 (positive electrode 10).
- the plurality of negative electrodes 20 are stacked such that the current collector exposed portions 21a are aligned as in the case of the positive electrode 10.
- the tab electrode 42 is fixed by welding to the outermost negative electrode 20 (negative electrode current collector 21).
- the tab electrode 42 may be welded and fixed to the negative electrode 20 of the intermediate layer instead of the outermost layer. Thereby, all the laminated negative electrodes 20 are welded and fixed to the tab electrode 42 and are electrically connected to the tab electrode 42.
- the tab electrode 42 is welded and fixed to a substantially central portion in the width direction (Y direction) of the negative electrode current collector 21 (negative electrode 20).
- the welding of the tab electrodes 41 and 42 is preferably ultrasonic welding, but may be other than ultrasonic welding.
- ultrasonic welding For example, laser welding, resistance welding, spot welding, or the like may be used.
- the resin layer 13 may be dissolved by a method of joining by applying heat such as laser welding, resistance welding, or spot welding. There is. Therefore, it is preferable to use ultrasonic welding without applying heat for the welding of the tab electrode 41.
- the tab electrode 41 connected to the positive electrode 10 is preferably made of aluminum, and the tab electrode 42 connected to the negative electrode 20 is preferably made of copper.
- the tab electrodes 41 and 42 are preferably made of the same material as the current collector, but may be made of different materials. Further, the tab electrode 41 connected to the positive electrode 10 and the tab electrode 42 connected to the negative electrode 20 may be made of the same material or different materials.
- the tab electrodes 41 and 42 are preferably welded to substantially the center portion in the width direction of the positive electrode current collector 11 and the negative electrode current collector 21 as described above, but are fixed to the regions other than the center portion by welding. May be.
- the nonaqueous electrolytic solution enclosed with the electrode group 50 in the outer container 100 is not particularly limited, but examples of the solvent include ethylene carbonate (EC), propylene carbonate, butylene carbonate, and diethyl.
- Esters such as carbonate (DEC), dimethyl carbonate, methyl ethyl carbonate, ⁇ -butyrolactone, ethers such as tetrahydrofuran, 2-methyltetrahydrofuran, dioxane, dioxolane, diethyl ether, dimethoxyethane, diethoxyethane, methoxyethoxyethane, Polar solvents such as dimethyl sulfoxide, sulfolane, methyl sulfolane, acetonitrile, methyl formate, and methyl acetate can be used. These solvents may be used alone, or two or more kinds may be mixed and used as a mixed solvent.
- the nonaqueous electrolytic solution may contain an electrolyte supporting salt.
- the electrolyte supporting salt for example, LiClO 4, LiBF 4 (lithium borofluoride), LiPF 6 (lithium hexafluorophosphate), LiCF 3 SO 3 (lithium trifluoromethanesulfonate), LiF (lithium fluoride), LiCl Examples thereof include lithium salts such as (lithium chloride), LiBr (lithium bromide), LiI (lithium iodide), LiAlCl 4 (lithium tetrachloride aluminate). These may be used singly or in combination of two or more.
- the concentration of the electrolyte supporting salt is not particularly limited, but is preferably 0.5 mol / L to 2.5 mol / L, and more preferably 1.0 mol / L to 2.2 mol / L.
- concentration of the electrolyte support salt is less than 0.5 mol / L, the carrier concentration for carrying charges in the non-aqueous electrolyte is lowered, and the resistance of the non-aqueous electrolyte may be increased.
- the concentration of the electrolyte supporting salt is higher than 2.5 mol / L, the dissociation degree of the salt itself is lowered, and there is a possibility that the carrier concentration in the non-aqueous electrolyte does not increase.
- the exterior container 100 that encloses the electrode group 50 is a large flat rectangular container, and an exterior can 60 that houses the electrode group 50 and the like, and a sealing plate that seals the exterior can 60 70. Further, a sealing plate 70 is attached to the outer can 60 containing the electrode group 50 by, for example, laser welding.
- the outer can 60 is formed, for example, by deep drawing or the like on a metal plate, and is formed in a substantially box shape having a bottom surface portion 61 and a side wall portion 62. As shown in FIG. 2, an opening 63 for inserting the electrode group 50 is provided at one end of the outer can 60 (the side opposite to the bottom surface portion 61).
- the outer can 60 is formed in such a size that the electrode group 50 can be accommodated so that the electrode surface thereof faces the bottom surface portion 61.
- the outer can 60 has an electrode terminal 64 (for example, a positive electrode terminal) formed on a side wall 62 on one side (short side) in the X direction.
- An electrode terminal 64 (for example, a negative electrode terminal) is formed on the side wall portion 62 on the other side (short side) in the direction.
- a liquid injection hole 65 for injecting a nonaqueous electrolytic solution is formed in the side wall 62 of the outer can 60.
- the liquid injection hole 65 is formed in a size of ⁇ 2 mm, for example.
- a safety valve 66 for releasing the battery internal pressure is formed in the vicinity of the liquid injection hole 65.
- a folded portion 67 is provided at the periphery of the opening 63 of the outer can 60, and a sealing plate 70 is welded and fixed to the folded portion 67.
- the outer can 60 and the sealing plate 70 can be formed using, for example, a metal plate such as iron, stainless steel, or aluminum, or a steel plate obtained by applying nickel plating to iron. Since iron is an inexpensive material, it is preferable from the viewpoint of price, but in order to ensure long-term reliability, it is preferable to use a metal plate made of stainless steel, aluminum or the like, or a steel plate with nickel plated on iron. More preferred.
- the thickness of the metal plate can be, for example, about 0.4 mm to about 1.2 mm (eg, about 1.0 mm).
- the electrode group 50 is housed in the outer can 60 such that the positive electrode 10 and the negative electrode 20 face the bottom surface portion 61 of the outer can 60.
- the current collector exposed portion 11a of the positive electrode 10 and the current collector exposed portion 21a of the negative electrode 20 are electrically connected to the electrode terminal 64 of the outer can 60 via the tab electrodes 41 and 42, respectively. It is connected to the.
- the nonaqueous electrolytic solution is injected, for example, under reduced pressure from the liquid injection hole 65 after the opening 63 of the outer can 60 is sealed by the sealing plate 70. Then, after a metal ball (not shown) having the same diameter as the liquid injection hole 65 or a metal plate (not shown) slightly larger than the liquid injection hole 65 is installed in the liquid injection hole 65, resistance welding, laser welding, etc. Thus, the liquid injection hole 65 is sealed.
- the positive electrode current collector 11 passes through the penetrating member 80.
- the conductive layer 14 on one side of the resin layer 13 and the conductive layer 14 on the other side can be electrically connected.
- the current collector (positive electrode current collector 11) having a multilayer structure is used by continuously penetrating all of the stacked positive electrodes 10 (positive electrode current collector 11) with this penetrating member 80.
- the tab electrode 41 can be electrically connected to all of the plurality of stacked electrodes (positive electrode 10). Therefore, since the deterioration of battery performance can be suppressed, the performance of the lithium ion secondary battery can be fully utilized.
- the tab electrode 41 and the electrode (positive electrode 10) are in contact with each other. Resistance and contact resistance between electrodes can be reduced. Thereby, the tab electrode 41 can be firmly connected to the electrode (positive electrode 10). The tab electrode 41 can be firmly conductively connected to the electrode (positive electrode 10) to suppress a decrease in battery capacity due to an increase in contact resistance.
- the positive electrode current collector 11 by using a current collector having a multilayer structure as the positive electrode current collector 11, for example, when abnormal heat generation occurs in an overcharged state or a high temperature state, the positive electrode current collector 11 Since the resin layer 13 of the current collector 11 is melted and the electrode (positive electrode 10) is damaged, the current can be cut. Thereby, since the temperature rise inside a battery can be suppressed, it can prevent that abnormal states, such as ignition, arise.
- the penetration member 80 which functions as a fastening member penetrates the several laminated
- the tab electrode 41 and the positive electrode 10 can be easily connected by welding and fixing the tab electrode 41 to a region where the penetrating member 80 is provided.
- the through hole 11b through which the penetrating member 80 is inserted is formed in the positive electrode current collector 11 in advance, whereby the penetrating member 80 is easily penetrated in the thickness direction of the current collector. be able to.
- the conductive layer 14 on one side of the resin layer 13 in the positive electrode current collector 11 and the conductive layer 14 on the other side can be easily electrically connected.
- the resin layer 13 of the positive electrode current collector 11 has a heat shrinkage rate at 120 ° C. in any direction in the plane direction (for example, any direction in the vertical direction or the horizontal direction).
- the thermoplastic resin of 1.5% or more, for example, when abnormal heat generation occurs in an overcharged state or a high temperature state, the electrode can be easily damaged. Thereby, since it is possible to effectively prevent an abnormal state such as ignition, the safety of the lithium ion secondary battery can be effectively improved.
- the resin layer 13 of the positive electrode current collector 11 is made of a polyolefin resin, polyvinyl chloride, or a composite material thereof, the safety of the lithium ion secondary battery can be easily improved.
- the separator 30 is configured such that the thermal contraction rate at 120 ° C. is smaller than the resin layer 13 of the positive electrode current collector 11, so that the shutdown function of the separator 30 is activated.
- the resin layer 13 constituting the current collector of the positive electrode 10 can be fused. Thereby, the current interruption effect by the resin layer 13 and the separator 30 makes it possible to interrupt the current in two stages, so that the safety of the lithium ion secondary battery can be further improved.
- the thermal contraction rate at 180 ° C. of the separator 30 is 1.0% or less, an internal short circuit caused by thermal contraction of the separator 30 when abnormal heat generation occurs in an overcharged state or a high temperature state. Since generation
- the separator 30 can be prevented from melting / fluidizing even at a temperature of 180 ° C., so that there is a disadvantage that the pores of the separator 30 increase due to melting / fluidization. Can be suppressed. For this reason, when the inside of the battery reaches 180 ° C., even if the electrode (positive electrode 10) is not damaged for some reason, the short-circuited portion of the positive and negative electrodes is caused by the large hole in the separator 30. The inconvenience of spreading can be suppressed.
- Example 1 100 parts by weight of LiCoO 2 as a positive electrode active material, 10 parts by weight of acetylene black as a conductive material, 10 parts by weight of polyvinylidene fluoride (PVDF) as a binder, and N-methyl-2-pyrrolidone (NMP) as a solvent )
- PVDF polyvinylidene fluoride
- NMP N-methyl-2-pyrrolidone
- the positive electrode current collector was produced by forming an aluminum vapor deposition layer (conductive layer) with a thickness of 1 ⁇ m on both sides of a propylene film (resin layer) having a thickness of 15 ⁇ m.
- the negative electrode current collector was also configured in a multilayer structure in which conductive layers were formed on both surfaces of the resin layer, similarly to the positive electrode current collector.
- a negative electrode current collector was prepared by forming a copper vapor deposition layer (conductive layer) with a thickness of 1 ⁇ m on both sides of a propylene film (resin layer) having a thickness of 15 ⁇ m. And after apply
- Example 1 a polyethylene microporous film having a thickness of 25 ⁇ m was used as the separator. A through hole through which the penetrating member is inserted is formed in a region (exposed region) where the active material layer is not formed in the positive electrode current collector and the negative electrode current collector.
- 13 positive electrodes 10, 14 negative electrodes 20, and 28 separators 30 are alternately stacked with the positive electrode 10 and the negative electrode 20 sandwiching the separators 30, thereby forming an electrode group (laminated body).
- the electrode group is in a state in which a separator is disposed on the outermost side (outside of the outermost negative electrode).
- a tab electrode was fixed to each of the positive electrode and the negative electrode of the electrode group fixed by the penetrating member by ultrasonic welding.
- the tab electrode fixed to the positive electrode was made of aluminum, and the tab electrode fixed to the negative electrode was made of copper.
- Each tab electrode was also fixed (electrically connected) to the penetrating member by ultrasonic welding.
- FIG. 20 is a cross-sectional view (a view corresponding to a cross section including a penetrating member) schematically showing a part of an electrode group of a lithium ion secondary battery according to a first modification of the first embodiment.
- the penetrating member 80 is configured by a substantially “U” shaped needle. Specifically, in the first modification, the penetrating member 80 is configured in the same shape as, for example, a stapler needle (staple), and the stacked positive electrode current collector 11 (current collector exposed portion 11a) is stacked. ) In succession, a plurality of positive electrodes 10 are bound.
- the penetrating member 80 having a stapler needle shape is made of, for example, a conductive material such as aluminum or an aluminum alloy, and penetrates the positive electrode current collector 11 so that the resin layer 13 in the positive electrode current collector 11 (FIG. 1). , FIG. 6 and FIG. 7) are electrically connected to each other on one side of the conductive layer 14 (see FIG. 1, FIG. 6 and FIG. 7) and the other side of the conductive layer 14 (see FIG. 1, FIG. 6 and FIG. 7). Connected.
- a tab electrode 41 is fixed to the positive electrode current collector 11 by welding. As a result, all the stacked positive electrodes 10 (all the conductive layers 14 (see FIGS. 1, 6, and 7)) are electrically connected to the tab electrode 41.
- the penetrating member 80 having a stapler needle shape can penetrate the positive electrode current collector 11 using a device such as a stapler, and therefore it is not necessary to provide a through hole in the positive electrode current collector 11 in advance. .
- FIG. 21 and 22 are perspective views schematically showing a part of an electrode group of a lithium ion secondary battery according to a second modification of the first embodiment.
- FIG. 23 is a cross-sectional view (a diagram corresponding to a cross section including a penetrating member) schematically showing a part of an electrode group of a lithium ion secondary battery according to a second modification of the first embodiment.
- the penetrating member 80 has a two-piece structure. Specifically, the penetrating member 80 includes, for example, a main body portion 83 and a ring-shaped washer portion 84 into which the main body portion 83 is inserted.
- the main body 83 of the penetrating member 80 has a cylindrical body 81 and a head 82 having a slightly larger diameter provided at one end of the body 81, as in the first embodiment. That is, the penetrating member 80 according to the second modification has, for example, the same shape as a double-sided eyelet fitting.
- the penetrating member 80 of the second modification configured as described above has the main body portion 83 inserted through the through hole 11b and the washer portion 84 of the positive electrode current collector 11, and then the body portion 81 of the main body portion 83.
- the stacked positive electrode 10 is fixed by caulking the other end (the end opposite to the head 82).
- FIG. 24 and 25 are perspective views schematically showing a part of an electrode group of a lithium ion secondary battery according to a third modification of the first embodiment.
- FIG. 26 is a cross-sectional view (a view corresponding to a cross section including a penetrating member) schematically showing a part of an electrode group of a lithium ion secondary battery according to a third modification of the first embodiment.
- the penetrating member 80 is composed of a rivet-like conductive member.
- the penetrating member 80 includes, for example, a solid columnar body 181 and a head 182 having a slightly large diameter provided at one end of the body 181. Then, as shown in FIG. 26, after the penetrating member 80 (the body portion 181) is inserted into the through hole 11 b of the positive electrode current collector 11, the other end of the body portion 181 (the end opposite to the head portion 182). The stacked positive electrodes 10 are fixed by caulking.
- FIG. 29 is a cross-sectional view (a view corresponding to a cross section including a penetrating member) schematically showing a part of an electrode group of a lithium ion secondary battery according to a fourth modification of the first embodiment.
- the penetrating member 80 is composed of a rivet-like conductive member, as in the third modification.
- the penetration member 80 is comprised by the 2 piece structure.
- the penetrating member 80 includes a main body 183 and a ring member 184 into which the main body 183 is inserted and fitted.
- the main body 183 has a solid cylindrical body 181 and a head 182 having a slightly larger diameter provided at one end of the body 181.
- the inner diameter of the ring member 184 is slightly smaller than the diameter of the body portion 181 of the main body portion 183.
- FIG. 30 and 31 are perspective views schematically showing a part of an electrode group of a lithium ion secondary battery according to a fifth modification of the first embodiment.
- FIG. 32 is a cross-sectional view (corresponding to a cross section including a penetrating member) schematically showing a part of an electrode group of a lithium ion secondary battery according to a fifth modification of the first embodiment.
- the penetrating member 80 is constituted by a needle-like (pin-like) member.
- the penetrating member 80 of the fifth modification has a needle-like tip.
- the penetrating member 80 of the fifth modified example has a head 282 having a slightly larger diameter at the end opposite to the needle-shaped tip.
- the penetrating member 80 of the fifth modification is configured such that the entire length thereof is greater than the thickness of the stacked positive electrode current collector 11.
- the laminated positive electrode 10 is fixed.
- the penetrating member 80 made of a needle-like (pin-shaped) member can easily penetrate the positive electrode current collector 11, the positive electrode current collector 11 is preliminarily provided in the same manner as in the first modification. There is no need to provide a through hole.
- FIG. 35 is a cross-sectional view (corresponding to a cross section including a penetrating member) schematically showing a part of an electrode group of a lithium ion secondary battery according to a sixth modification of the first embodiment.
- the penetrating member 80 is formed of a needle-like (pin-like) member, as in the fifth modification.
- the total length is configured to be smaller than the thickness of the stacked positive electrode current collector 11. That is, the sixth modification is configured not to penetrate all of the plurality of stacked positive electrode current collectors 11 but to penetrate a part of the plurality of stacked positive electrode current collectors 11.
- penetrating members 80 made of needle-like (pin-like) members are respectively provided from both sides of the stacked positive electrode current collector 11 to the current collector exposed portion 11a of the positive electrode current collector 11. Has been stabbed. Further, as shown in FIG. 35, some of the current collectors of the stacked positive electrode current collectors 11 are penetrated by the penetrating member 80 from both the front side and the back side. Accordingly, the stacked positive electrodes 10 are fixed by the penetrating member 80 made of a needle-like (pin-like) member.
- the penetrating member 80 made of a needle-like (pin-shaped) member can easily penetrate the positive electrode current collector 11, It is not necessary to provide a through hole in the positive electrode current collector 11 in advance.
- FIG. 36 is a cross-sectional view schematically showing an electrode group of the lithium ion secondary battery according to the second embodiment of the present invention.
- FIG. 37 is an enlarged sectional view of a part of FIG.
- FIG. 38 is a plan view schematically showing a part of the electrode group of the lithium ion secondary battery according to the second embodiment of the present invention.
- a lithium ion secondary battery according to a second embodiment of the present invention will be described with reference to FIGS.
- symbol is attached
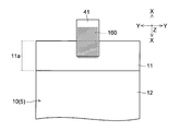
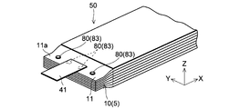
- a metal foil made of a conductive material between the stacked positive electrode current collectors 11 is used.
- 150 is arranged.
- the metal foil 150 is made of, for example, aluminum or an aluminum alloy.
- the metal foil 150 is formed in a substantially strip shape so as to correspond to the current collector exposed portion 11 a of the positive electrode current collector 11, for example. And the said metal foil 150 is distribute
- the penetrating member 80 is provided in a region where the metal foil 150 is disposed. For this reason, the metal foil 150 is penetrated by the penetrating member 80 together with the positive electrode current collector 11.
- the metal foil 150 may be arranged not only between the positive electrode current collectors 11 but also outside the positive electrode current collectors 11.
- the thickness of the metal foil 150 is not particularly limited, but is preferably about 0.05 mm to about 0.5 mm, for example.
- the metal foil 150 made of a conductive material is disposed between the positive electrode current collectors 11 (current collector exposed portions 11a) in the plurality of positive electrodes 10, and the metal foils are arranged.
- the penetrating member 80 By providing the penetrating member 80 in the current collector exposed portion 11a so as to penetrate through 150, the penetrating member 80 can effectively electrically connect the conductive layers 14 of the positive electrode 10 (positive electrode current collector 11) to each other. Can be connected.
- the tab electrode 41 can be electrically connected to all the positive electrodes 10 effectively. Thereby, the fall of battery performance can be suppressed more effectively. Therefore, if comprised as mentioned above, the fall of battery performance can be suppressed, improving safety
- the penetrating member 80 of the second embodiment can have the same configuration as that of the modified examples (first to sixth modified examples) shown in the first embodiment.
- FIG. 39 is a cross-sectional view schematically showing an electrode group of the lithium ion secondary battery according to the third embodiment of the present invention.
- FIG. 40 is an enlarged cross-sectional view of a part of FIG. 41 to 43 are plan views schematically showing a part of the electrode group of the lithium ion secondary battery according to the third embodiment of the present invention.
- a lithium ion secondary battery according to a third embodiment of the invention will be described with reference to FIGS.
- symbol is attached
- a penetrating member that penetrates the positive electrode current collector 11 is not provided.
- a metal foil (foil-like member) 160 made of a conductive material is disposed between the stacked positive electrode current collectors 11.
- the metal foil 160 is made of, for example, aluminum or an aluminum alloy.
- the metal foil 160 (a part of the metal foil 160) extends to the outside of the positive electrode current collector 11 (on the side opposite to the active material layer 12) ( Extended). Specifically, for example, as shown in FIG. 41, the metal foil 160 is formed in a substantially strip shape, and the metal foil 160 is arranged shifted in the X direction. Thereby, the metal foil 160 extends (extends) to the outside of the positive electrode current collector 11.
- the tab electrode 41 is fixed to the current collector exposed portion 11a of the positive electrode current collector 11 by welding.
- the tab electrode 41 is welded and fixed to a region where the metal foil 160 is disposed (welding region M1).
- the metal foil 160 is also fixed to the tab electrode 41 together with the positive electrode current collector 11.
- the extending portion of the metal foil 160 is directly welded and fixed to the tab electrode 41 in the welding region M2. That is, in this 3rd Embodiment, the tab electrode 41 is weld-fixed by two places, the welding area
- the metal foil 160 may be arranged not only between the positive electrode current collectors 11 but also outside the positive electrode current collectors 11.
- the thickness of the metal foil 160 is not particularly limited, but is preferably about 0.05 mm to about 0.5 mm, for example.
- the portion corresponding to the tab electrode 41 protrudes to the outside of the positive electrode current collector 11. You may comprise in a shape. Further, for example, as shown in FIG. 43, the metal foil 160 may be formed in a substantially rectangular shape so as to correspond to the tab electrode 41.
- the metal foil 160 made of a conductive material is disposed between the positive electrode current collectors 11 (current collector exposed portions 11a) in the plurality of positive electrodes 10, and the metal foils are arranged.
- the conductive layer 14 of each positive electrode current collector 11 can be electrically connected to the tab electrode 41 via the metal foil 160.
- the current collector (positive electrode current collector 11) having a multilayer structure is used, all the positive electrodes 10 can be electrically connected to the tab electrode 41, so that deterioration in battery performance is suppressed. be able to. As a result, the performance of the lithium ion secondary battery can be maximized.
- FIG. 44 is a cross-sectional view schematically showing an electrode group of the lithium ion secondary battery according to the fourth embodiment of the present invention.
- FIG. 45 is an enlarged cross-sectional view of a part of FIG.
- a lithium ion secondary battery according to a fourth embodiment of the invention will be described.
- symbol is attached
- the lithium ion secondary battery according to the fourth embodiment has a configuration in which a penetrating member 80 is further provided in the configuration of the third embodiment. That is, the lithium ion secondary battery according to the fourth embodiment has a configuration in which the first embodiment and the third embodiment are combined.
- a metal foil (foil-like member) 160 made of a conductive material is disposed between the stacked positive electrode current collectors 11, and the region where the metal foil 160 is disposed (welding region M ⁇ b> 1).
- the penetrating member 80 is provided so as to penetrate the metal foil 160.
- Each metal foil 160 is arranged so that a part thereof extends (extends) to the outside of the positive electrode current collector 11 (on the side opposite to the active material layer 12).
- the tab electrode 41 is welded and fixed to the current collector exposed portion 11 a of the positive electrode current collector 11.
- the extending portion of the metal foil 160 is directly welded and fixed to the tab electrode 41 in the welding region M2.
- the tab electrode 41 and each positive electrode 10 can be electrically connected not only by the penetrating member 80 but also by the metal foil 160. For this reason, since the tab electrode 41 can be more securely connected to the positive electrode 10, the tab electrode 41 can be electrically connected (joined) to all the positive electrodes 10 more effectively. In addition, the contact resistance between the tab electrode 41 and the positive electrode 10 can be further reduced.
- the penetrating member 80 of the fourth embodiment can have the same configuration as that of the modified examples (first to sixth modified examples) shown in the first embodiment.
- the present invention is not limited to this.
- the present invention may be applied to non-aqueous secondary batteries other than lithium ion secondary batteries.
- the present invention can also be applied to non-aqueous secondary batteries that will be developed in the future.
- the present invention is not limited to this, and examples other than the stacked type include, for example, The present invention may be applied to a wound type secondary battery.
- a film-like resin layer is used as the resin layer (insulating layer) of the current collector.
- the present invention is not limited to this.
- a fibrous resin layer may be used.
- a fibrous resin layer the layer which consists of a woven fabric or a nonwoven fabric etc. is mentioned, for example.
- the current collector on the negative electrode side may have a multilayer structure including a resin layer and a conductive layer.
- both the positive electrode and the negative electrode may be formed using a current collector having a multilayer structure (three-layer structure), or one of the positive electrode and the negative electrode has a multilayer structure (three-layer structure). You may form using.
- the positive electrode side is formed using a current collector having a multilayer structure (three-layer structure). Is preferred.
- the conductive layer is preferably formed of copper or a copper alloy.
- a copper foil or a copper alloy foil having a thickness of about 6 ⁇ m to about 15 ⁇ m can be used as the conductive layer.
- the conductive layer of the negative electrode current collector may be other than copper or a copper alloy, and may be composed of, for example, nickel, stainless steel, iron, or an alloy thereof.
- the resin layer of the negative electrode current collector can be, for example, the same as the resin layer of the positive electrode current collector (that can be used for the resin layer of the positive electrode current collector 11).
- a penetrating member or metal foil is used as in the positive electrode (positive electrode current collector) shown in the first to fourth embodiments (including modifications).
- the plurality of stacked electrodes (negative electrode) and the tab electrode are electrically connected using the shape member.
- the penetrating member and the metal foil are made of copper or a copper alloy.
- the present invention is not limited to this, and the stacked electrodes (collector) You may make it the structure which penetrates a part of electric body with a penetration member.
- a plurality of stacked electrodes (current collectors) may be divided into a plurality of groups (groups), and the electrodes (current collectors) may be penetrated by penetrating members for each group (for each group).
- the penetrating member only needs to be configured to continuously penetrate two or more electrodes (current collectors).
- the tab electrode 41 may be fixed by welding in a region where the penetrating member 80 is not provided.
- the penetrating member provided in the current collector may have a configuration other than the configurations shown in the first, second, and fourth embodiments.
- a fastening member 300 including a bolt 310 and a nut 320 may be used as the penetrating member 80.
- the fastening member 300 may be tightened via a washer 330 or the like as necessary.
- a screw screw 400 (for example, a single screw type screw) having a head portion 410 and a foot portion 420 may be used as the penetrating member 80.
- the number of penetrating members (penetrating locations) that penetrate the current collector can be changed as appropriate.
- the penetrating member may be provided at one place or may be provided at a plurality of places.
- the penetrating member is preferably made of a metal material, but may be made of a conductive material other than the metal material.
- the penetrating member may be made of a conductive resin such as a conductive plastic.
- drum of the said penetration member is shapes other than columnar (cylindrical), Also good.
- a prismatic shape rectangular cylindrical shape
- an elliptical cylindrical shape elliptical cylindrical shape
- the tip part of this penetration member has an acute angle.
- the shape may be rounded to some extent (rounded shape). That is, the “needle-shaped tip” may be a shape that can penetrate the electrode (current collector).
- a penetrating member other than those described above may be used.
- the penetrating member may be penetrated including the tab electrode.
- the present invention is not limited to this, and the shape of the outer container is used. May be other than a flat square.
- the outer container may be a thin flat tube type, a cylindrical type, a rectangular tube type, or the like.
- the outer container may be an outer container using a laminated sheet, for example, in addition to a metal can.
- the positive electrode (positive electrode active material layer) and the negative electrode (negative electrode active material layer) are configured to have the same size.
- the present invention is not limited to this, and the positive electrode and the negative electrode may have different sizes.
- the negative electrode (negative electrode active material layer) may be configured to be larger than the positive electrode (positive electrode active material layer), or the positive electrode (positive electrode active material layer) may be configured to be larger than the negative electrode (negative electrode active material layer). It may be configured to be larger.
- the negative electrode (negative electrode active material layer) is preferably configured to be larger than the positive electrode (positive electrode active material layer). With this configuration, the positive electrode active material layer formation region (positive electrode active material region) is covered with a large area negative electrode active material layer formation region (negative electrode active material region), thereby allowing for stacking deviation. The range can be expanded.
- the size and shape of the outer container can be variously changed. Further, the shape, size, number of sheets used, etc. of the electrodes (positive electrode, negative electrode) can be changed as appropriate. Furthermore, the shape and dimensions of the separator can be changed as appropriate. Examples of the shape of the separator include various shapes such as a rectangle such as a square or a rectangle, a polygon, and a circle.
- the active material layer is formed on both surfaces of the current collector.
- the present invention is not limited to this, and the current collector is formed on one surface of the current collector. Only the active material layer may be formed. Moreover, you may comprise so that the electrode (positive electrode, negative electrode) which formed the active material layer only in the single side
- surface of a collector may be included in a part of electrode group.
- a non-aqueous electrolyte is used as the electrolyte of the lithium ion secondary battery.
- the present invention is not limited to this, and non-aqueous electrolysis is used.
- a gel electrolyte, a polymer solid electrolyte, an inorganic solid electrolyte, a molten salt, or the like other than the liquid may be used as the electrolyte.
- Electrode 10 Positive electrode 11 Positive electrode collector 11a Current collector exposed part 11b Through-hole 12 Positive electrode active material layer 13 Resin layer (insulating layer) DESCRIPTION OF SYMBOLS 14 Conductive layer 20 Negative electrode 21 Negative electrode collector 21a Current collector exposed part 22 Negative electrode active material layer 30 Separator 41, 42 Tab electrode 50 Electrode group 60 Outer can 70 Sealing plate 80 Penetration member 81,181 Body part 82,182,282 Head 100 Exterior container 150, 160 Metal foil (foil-like member) 83, 183 Body 84 Washer 184 Ring member
Landscapes
- Chemical & Material Sciences (AREA)
- Chemical Kinetics & Catalysis (AREA)
- Electrochemistry (AREA)
- General Chemical & Material Sciences (AREA)
- Engineering & Computer Science (AREA)
- Materials Engineering (AREA)
- Manufacturing & Machinery (AREA)
- Composite Materials (AREA)
- Secondary Cells (AREA)
- Connection Of Batteries Or Terminals (AREA)
- Cell Electrode Carriers And Collectors (AREA)
- Cell Separators (AREA)
Applications Claiming Priority (2)
| Application Number | Priority Date | Filing Date | Title |
|---|---|---|---|
| JP2010280843A JP5690575B2 (ja) | 2010-12-16 | 2010-12-16 | 非水系二次電池 |
| JP2010-280843 | 2010-12-16 |
Publications (1)
| Publication Number | Publication Date |
|---|---|
| WO2012081368A1 true WO2012081368A1 (ja) | 2012-06-21 |
Family
ID=46244481
Family Applications (1)
| Application Number | Title | Priority Date | Filing Date |
|---|---|---|---|
| PCT/JP2011/077005 Ceased WO2012081368A1 (ja) | 2010-12-16 | 2011-11-24 | 非水系二次電池 |
Country Status (2)
| Country | Link |
|---|---|
| JP (1) | JP5690575B2 (enExample) |
| WO (1) | WO2012081368A1 (enExample) |
Cited By (26)
| Publication number | Priority date | Publication date | Assignee | Title |
|---|---|---|---|---|
| JP2017111853A (ja) * | 2015-12-14 | 2017-06-22 | アロイ工業株式会社 | ラミネート型電池の電極板積層固定構造 |
| CN108428848A (zh) * | 2017-11-22 | 2018-08-21 | 宁德时代新能源科技股份有限公司 | 电极构件、电极组件和充电电池 |
| CN108428849A (zh) * | 2017-11-22 | 2018-08-21 | 宁德时代新能源科技股份有限公司 | 电极构件、电极组件和充电电池 |
| EP3496191A1 (en) * | 2017-12-05 | 2019-06-12 | Contemporary Amperex Technology Co., Limited | Battery |
| EP3512007A1 (en) * | 2018-01-16 | 2019-07-17 | Contemporary Amperex Technology Co., Limited | Electrode component, electrode assembly and rechargeable battery |
| CN111180664A (zh) * | 2019-06-28 | 2020-05-19 | 宁德时代新能源科技股份有限公司 | 一种电极极片和电化学装置 |
| US10749184B2 (en) | 2017-12-05 | 2020-08-18 | Contemporary Amperex Technology Co., Limited | Battery |
| CN111755700A (zh) * | 2019-03-29 | 2020-10-09 | 宁德新能源科技有限公司 | 复合集流体、应用该复合集流体的电极极片及电芯 |
| CN112909443A (zh) * | 2021-03-26 | 2021-06-04 | 厦门海辰新能源科技有限公司 | 一种极耳组件及其制备方法、电芯 |
| CN113193159A (zh) * | 2021-05-25 | 2021-07-30 | 厦门海辰新能源科技有限公司 | 一种电极构件、极片及其制作方法、电池 |
| CN113422169A (zh) * | 2021-07-14 | 2021-09-21 | 厦门海辰新能源科技有限公司 | 集流体组件、电池单体和电池包 |
| CN113422168A (zh) * | 2021-07-14 | 2021-09-21 | 厦门海辰新能源科技有限公司 | 集流体组件、电池单体和电池包 |
| CN113422166A (zh) * | 2021-07-14 | 2021-09-21 | 厦门海辰新能源科技有限公司 | 连接件、电池单体和电池包 |
| WO2021193407A1 (ja) * | 2020-03-24 | 2021-09-30 | 日本碍子株式会社 | 亜鉛二次電池 |
| CN113571844A (zh) * | 2021-07-14 | 2021-10-29 | 厦门海辰新能源科技有限公司 | 集流体组件的制备方法、集流体组件、电池单体和电池包 |
| CN115191047A (zh) * | 2020-03-27 | 2022-10-14 | Tdk株式会社 | 集电体、蓄电元件和蓄电模块 |
| CN115191050A (zh) * | 2020-03-27 | 2022-10-14 | Tdk株式会社 | 电极体、蓄电元件及蓄电模块 |
| WO2023065241A1 (zh) * | 2021-10-21 | 2023-04-27 | 宁德时代新能源科技股份有限公司 | 电池单体及其制造方法和制造设备、电池及用电装置 |
| EP4131514A4 (en) * | 2020-05-29 | 2023-11-15 | Zhuhai CosMX Battery Co., Ltd. | CURRENT COLLECTORS AND THEIR USE |
| WO2023216076A1 (zh) * | 2022-05-09 | 2023-11-16 | 宁德时代新能源科技股份有限公司 | 极片、电池单体、电池以及用电装置 |
| WO2024040503A1 (zh) * | 2022-08-25 | 2024-02-29 | 宁德时代新能源科技股份有限公司 | 电极组件、制备方法、电池单体、电池及用电装置 |
| EP4266395A4 (en) * | 2021-03-11 | 2024-07-03 | Zhuhai CosMX Battery Co., Ltd. | ELECTRODE SHEET AND ITS APPLICATION |
| EP4621887A3 (en) * | 2024-03-19 | 2025-10-29 | Samsung Sdi Co., Ltd. | Electrode plate, electrode assembly and rechargeable battery including the same |
| US12463222B2 (en) | 2018-07-13 | 2025-11-04 | Contemporary Amperex Technology (Hong Kong) Limited | Secondary battery and electrode plate |
| EP4679538A1 (en) * | 2024-07-08 | 2026-01-14 | Samsung Sdi Co., Ltd. | Secondary battery and method for manufacturing the same |
| EP4687196A1 (en) * | 2024-07-30 | 2026-02-04 | Samsung Sdi Co., Ltd. | Rechargeable lithium battery module |
Families Citing this family (32)
| Publication number | Priority date | Publication date | Assignee | Title |
|---|---|---|---|---|
| JP5693982B2 (ja) * | 2011-01-25 | 2015-04-01 | シャープ株式会社 | 非水系二次電池 |
| JP5574542B2 (ja) * | 2011-10-11 | 2014-08-20 | アオイ電子株式会社 | 複数の極板構成部材の接合方法 |
| JP6250921B2 (ja) | 2012-09-14 | 2017-12-20 | 株式会社東芝 | 電池 |
| JP6639112B2 (ja) * | 2015-06-05 | 2020-02-05 | アロイ工業株式会社 | ラミネート型電池のリードタブ接続構造及び接続具 |
| CN108281662B (zh) * | 2017-01-12 | 2020-05-05 | 宁德时代新能源科技股份有限公司 | 一种集流体,其极片和电池及应用 |
| US11539050B2 (en) | 2017-01-12 | 2022-12-27 | Contemporary Amperex Technology Co., Limited | Current collector, electrode plate and battery containing the same, and application thereof |
| WO2019045552A1 (ko) | 2017-09-04 | 2019-03-07 | 주식회사 엘지화학 | 플렉시블 전지의 제조방법 및 이로부터 제조된 플렉시블 전지 |
| EP3467919A1 (en) * | 2017-10-09 | 2019-04-10 | Robert Bosch GmbH | Current collector with an improved security behavior and battery cell comprising the same |
| CN109873163B (zh) * | 2017-12-05 | 2021-07-06 | 宁德时代新能源科技股份有限公司 | 一种集流体,其极片和电池及应用 |
| CN110247055B (zh) | 2018-03-30 | 2020-12-04 | 宁德时代新能源科技股份有限公司 | 一种集流体,其极片和电化学装置 |
| DE102019105119A1 (de) * | 2019-02-28 | 2020-09-03 | Bayerische Motoren Werke Aktiengesellschaft | Metall-Polymer Stromableiter für eine Batteriezelle eines Kraftfahrzeugs |
| KR102772416B1 (ko) * | 2019-11-19 | 2025-02-25 | 주식회사 엘지에너지솔루션 | 전극 조립체 및 그의 제조 방법 |
| JP7049308B2 (ja) * | 2019-12-19 | 2022-04-06 | ソフトバンク株式会社 | 製造方法、プログラム、及び製造システム |
| JP2021097020A (ja) * | 2019-12-19 | 2021-06-24 | ソフトバンク株式会社 | 製造方法、プログラム、製造システム、積層集電体、及び電池 |
| WO2021125110A1 (ja) * | 2019-12-19 | 2021-06-24 | ソフトバンク株式会社 | 製造方法、プログラム、製造システム、積層集電体、及び電池 |
| JP7049309B2 (ja) * | 2019-12-19 | 2022-04-06 | ソフトバンク株式会社 | 製造方法、プログラム、及び製造システム |
| KR20220104781A (ko) | 2020-01-17 | 2022-07-26 | 후지필름 가부시키가이샤 | 비수 전해질 이차 전지, 집전체, 및 비수 전해질 이차 전지의 제조 방법 |
| JP2022131562A (ja) * | 2021-02-26 | 2022-09-07 | ソフトバンク株式会社 | 電池構成物、電池、製造方法、プログラム、及び製造装置 |
| WO2022190460A1 (ja) * | 2021-03-12 | 2022-09-15 | 日本碍子株式会社 | 亜鉛二次電池 |
| JP7343540B2 (ja) * | 2021-04-21 | 2023-09-12 | プライムプラネットエナジー&ソリューションズ株式会社 | 二次電池の集電体および二次電池 |
| CN113241423B (zh) * | 2021-04-30 | 2023-04-18 | 珠海冠宇电池股份有限公司 | 极片及其制备方法、锂离子电池 |
| JP7123221B1 (ja) | 2021-06-18 | 2022-08-22 | ソフトバンク株式会社 | 製造方法、プログラム、製造システム、積層集電体、電池、移動体、及び飛行体 |
| KR20230020177A (ko) * | 2021-08-03 | 2023-02-10 | 주식회사 엘지에너지솔루션 | 전극리드 일체형 전극조립체 및 이의 제조방법 |
| JP7611864B2 (ja) * | 2022-02-25 | 2025-01-10 | プライムプラネットエナジー&ソリューションズ株式会社 | 電池セルおよびその製造方法 |
| JP7546629B2 (ja) * | 2022-08-24 | 2024-09-06 | プライムプラネットエナジー&ソリューションズ株式会社 | 電池セルおよびその製造方法 |
| CN119013117A (zh) * | 2022-10-21 | 2024-11-22 | 株式会社Lg新能源 | 制造电极组件的方法 |
| KR102795258B1 (ko) * | 2023-06-27 | 2025-04-16 | 삼성에스디아이 주식회사 | 이차 전지 |
| CN120660215A (zh) * | 2023-04-26 | 2025-09-16 | 特拉沃特科技株式会社 | 锂二次电池 |
| EP4704193A1 (en) * | 2023-04-26 | 2026-03-04 | Terawatt Technology K.K. | Lithium secondary battery |
| WO2025127496A1 (ko) * | 2023-12-15 | 2025-06-19 | 주식회사 엘지에너지솔루션 | 전극 조립체, 이를 포함하는 배터리 셀 및 전극 리드 용접 방법 |
| CN117878537A (zh) * | 2023-12-19 | 2024-04-12 | 惠州锂威新能源科技有限公司 | 一种电芯、锂离子电池制造方法及锂离子电池 |
| JP7551200B1 (ja) * | 2024-01-10 | 2024-09-17 | TeraWatt Technology株式会社 | 2次電池 |
Citations (5)
| Publication number | Priority date | Publication date | Assignee | Title |
|---|---|---|---|---|
| JP2009038004A (ja) * | 2007-07-11 | 2009-02-19 | Nissan Motor Co Ltd | 積層型電池 |
| JP2010020974A (ja) * | 2008-07-09 | 2010-01-28 | Sharp Corp | 扁平型二次電池およびその製造方法 |
| JP2010040489A (ja) * | 2008-08-08 | 2010-02-18 | Sharp Corp | リチウムイオン二次電池 |
| JP2010186697A (ja) * | 2009-02-13 | 2010-08-26 | Sharp Corp | 電極シート、二次電池および二次電池の製造方法 |
| JP2010262807A (ja) * | 2009-05-01 | 2010-11-18 | Konica Minolta Holdings Inc | 二次電池 |
-
2010
- 2010-12-16 JP JP2010280843A patent/JP5690575B2/ja not_active Expired - Fee Related
-
2011
- 2011-11-24 WO PCT/JP2011/077005 patent/WO2012081368A1/ja not_active Ceased
Patent Citations (5)
| Publication number | Priority date | Publication date | Assignee | Title |
|---|---|---|---|---|
| JP2009038004A (ja) * | 2007-07-11 | 2009-02-19 | Nissan Motor Co Ltd | 積層型電池 |
| JP2010020974A (ja) * | 2008-07-09 | 2010-01-28 | Sharp Corp | 扁平型二次電池およびその製造方法 |
| JP2010040489A (ja) * | 2008-08-08 | 2010-02-18 | Sharp Corp | リチウムイオン二次電池 |
| JP2010186697A (ja) * | 2009-02-13 | 2010-08-26 | Sharp Corp | 電極シート、二次電池および二次電池の製造方法 |
| JP2010262807A (ja) * | 2009-05-01 | 2010-11-18 | Konica Minolta Holdings Inc | 二次電池 |
Cited By (37)
| Publication number | Priority date | Publication date | Assignee | Title |
|---|---|---|---|---|
| JP2017111853A (ja) * | 2015-12-14 | 2017-06-22 | アロイ工業株式会社 | ラミネート型電池の電極板積層固定構造 |
| CN108428848A (zh) * | 2017-11-22 | 2018-08-21 | 宁德时代新能源科技股份有限公司 | 电极构件、电极组件和充电电池 |
| CN108428849A (zh) * | 2017-11-22 | 2018-08-21 | 宁德时代新能源科技股份有限公司 | 电极构件、电极组件和充电电池 |
| CN108428849B (zh) * | 2017-11-22 | 2024-01-16 | 宁德时代新能源科技股份有限公司 | 电极构件、电极组件和充电电池 |
| EP3496191A1 (en) * | 2017-12-05 | 2019-06-12 | Contemporary Amperex Technology Co., Limited | Battery |
| US10658673B2 (en) | 2017-12-05 | 2020-05-19 | Contemporary Amperex Technology Co., Limited | Battery |
| US10749184B2 (en) | 2017-12-05 | 2020-08-18 | Contemporary Amperex Technology Co., Limited | Battery |
| US12308439B2 (en) | 2017-12-05 | 2025-05-20 | Contemporary Amperex Technology (Hong Kong) Limited | Battery |
| EP4216320A3 (en) * | 2017-12-05 | 2024-05-22 | Contemporary Amperex Technology Co., Limited | Battery |
| CN110048077A (zh) * | 2018-01-16 | 2019-07-23 | 宁德时代新能源科技股份有限公司 | 电极构件、电极组件和充电电池 |
| EP3512007A1 (en) * | 2018-01-16 | 2019-07-17 | Contemporary Amperex Technology Co., Limited | Electrode component, electrode assembly and rechargeable battery |
| CN110048077B (zh) * | 2018-01-16 | 2020-11-06 | 宁德时代新能源科技股份有限公司 | 电极构件、电极组件和充电电池 |
| US10991949B2 (en) | 2018-01-16 | 2021-04-27 | Contemporary Amperex Technology Co., Limited | Electrode component, electrode assembly and rechargeable battery |
| US12463222B2 (en) | 2018-07-13 | 2025-11-04 | Contemporary Amperex Technology (Hong Kong) Limited | Secondary battery and electrode plate |
| CN111755700A (zh) * | 2019-03-29 | 2020-10-09 | 宁德新能源科技有限公司 | 复合集流体、应用该复合集流体的电极极片及电芯 |
| US11450857B2 (en) | 2019-03-29 | 2022-09-20 | Ningde Amperex Technology Limited | Current collector with insulating substrate and conductive layer, electrode plate using the same, and electrode assembly using the same |
| CN111180664A (zh) * | 2019-06-28 | 2020-05-19 | 宁德时代新能源科技股份有限公司 | 一种电极极片和电化学装置 |
| US12308440B2 (en) | 2019-06-28 | 2025-05-20 | Contemporary Amperex Technology (Hong Kong) Limited | Electrode plate, electrochemical apparatus, and apparatus thereof |
| WO2021193407A1 (ja) * | 2020-03-24 | 2021-09-30 | 日本碍子株式会社 | 亜鉛二次電池 |
| CN115191047A (zh) * | 2020-03-27 | 2022-10-14 | Tdk株式会社 | 集电体、蓄电元件和蓄电模块 |
| CN115191050A (zh) * | 2020-03-27 | 2022-10-14 | Tdk株式会社 | 电极体、蓄电元件及蓄电模块 |
| CN115191047B (zh) * | 2020-03-27 | 2025-09-09 | Tdk株式会社 | 集电体、蓄电元件和蓄电模块 |
| EP4131514A4 (en) * | 2020-05-29 | 2023-11-15 | Zhuhai CosMX Battery Co., Ltd. | CURRENT COLLECTORS AND THEIR USE |
| EP4266395A4 (en) * | 2021-03-11 | 2024-07-03 | Zhuhai CosMX Battery Co., Ltd. | ELECTRODE SHEET AND ITS APPLICATION |
| CN112909443A (zh) * | 2021-03-26 | 2021-06-04 | 厦门海辰新能源科技有限公司 | 一种极耳组件及其制备方法、电芯 |
| CN113193159A (zh) * | 2021-05-25 | 2021-07-30 | 厦门海辰新能源科技有限公司 | 一种电极构件、极片及其制作方法、电池 |
| CN113571844A (zh) * | 2021-07-14 | 2021-10-29 | 厦门海辰新能源科技有限公司 | 集流体组件的制备方法、集流体组件、电池单体和电池包 |
| CN113422168A (zh) * | 2021-07-14 | 2021-09-21 | 厦门海辰新能源科技有限公司 | 集流体组件、电池单体和电池包 |
| CN113422169A (zh) * | 2021-07-14 | 2021-09-21 | 厦门海辰新能源科技有限公司 | 集流体组件、电池单体和电池包 |
| US12362440B2 (en) | 2021-07-14 | 2025-07-15 | Hithium Tech Hk Limited | Preparation method of current collector assembly, current collector assembly, battery cell, and battery pack |
| CN113422166A (zh) * | 2021-07-14 | 2021-09-21 | 厦门海辰新能源科技有限公司 | 连接件、电池单体和电池包 |
| WO2023065241A1 (zh) * | 2021-10-21 | 2023-04-27 | 宁德时代新能源科技股份有限公司 | 电池单体及其制造方法和制造设备、电池及用电装置 |
| WO2023216076A1 (zh) * | 2022-05-09 | 2023-11-16 | 宁德时代新能源科技股份有限公司 | 极片、电池单体、电池以及用电装置 |
| WO2024040503A1 (zh) * | 2022-08-25 | 2024-02-29 | 宁德时代新能源科技股份有限公司 | 电极组件、制备方法、电池单体、电池及用电装置 |
| EP4621887A3 (en) * | 2024-03-19 | 2025-10-29 | Samsung Sdi Co., Ltd. | Electrode plate, electrode assembly and rechargeable battery including the same |
| EP4679538A1 (en) * | 2024-07-08 | 2026-01-14 | Samsung Sdi Co., Ltd. | Secondary battery and method for manufacturing the same |
| EP4687196A1 (en) * | 2024-07-30 | 2026-02-04 | Samsung Sdi Co., Ltd. | Rechargeable lithium battery module |
Also Published As
| Publication number | Publication date |
|---|---|
| JP5690575B2 (ja) | 2015-03-25 |
| JP2012129114A (ja) | 2012-07-05 |
Similar Documents
| Publication | Publication Date | Title |
|---|---|---|
| JP5690575B2 (ja) | 非水系二次電池 | |
| JP5784928B2 (ja) | 非水系二次電池 | |
| JP5693982B2 (ja) | 非水系二次電池 | |
| JP5937969B2 (ja) | 非水系二次電池 | |
| US20130177787A1 (en) | Current collector and nonaqueous secondary battery | |
| JP2013012405A (ja) | 非水系二次電池 | |
| JP2013008564A (ja) | 非水系二次電池およびその製造方法 | |
| JP4927064B2 (ja) | 二次電池 | |
| JP5629789B2 (ja) | 電池および電池の製造方法 | |
| US9147870B2 (en) | Rechargeable battery | |
| US20130022865A1 (en) | Current collector and nonaqueous secondary cell | |
| US9972860B2 (en) | Bipolar electrode and bipolar lithium-ion secondary battery using same | |
| JP5371979B2 (ja) | リチウムイオン二次電池 | |
| CN102017271B (zh) | 非水二次电池 | |
| JP4649502B2 (ja) | リチウムイオン二次電池 | |
| JP2011159506A (ja) | 非水系二次電池 | |
| WO2013002055A1 (ja) | 非水系二次電池用の集電体及び電極、並びに非水系二次電池 | |
| JP6178183B2 (ja) | 非水電解質電池、組電池及び蓄電池装置 | |
| JP2010282789A (ja) | 非水電解液二次電池 | |
| JP2016181457A (ja) | 平板状ラミネート電池およびその組電池 | |
| JP2012074230A (ja) | 電池用の集電体と電極、及び電池 | |
| JP2002260603A (ja) | ラミネート外装密閉電池 | |
| JP4710276B2 (ja) | 二次電池用外装部材及び二次電池 | |
| JP2012074232A (ja) | 電池用電極及び電池 |
Legal Events
| Date | Code | Title | Description |
|---|---|---|---|
| 121 | Ep: the epo has been informed by wipo that ep was designated in this application |
Ref document number: 11848790 Country of ref document: EP Kind code of ref document: A1 |
|
| NENP | Non-entry into the national phase |
Ref country code: DE |
|
| 122 | Ep: pct application non-entry in european phase |
Ref document number: 11848790 Country of ref document: EP Kind code of ref document: A1 |