WO2009148111A1 - 触媒及びその製造方法、膜電極接合体及びその製造方法、燃料電池部材及びその製造方法、燃料電池及び蓄電装置 - Google Patents

触媒及びその製造方法、膜電極接合体及びその製造方法、燃料電池部材及びその製造方法、燃料電池及び蓄電装置 Download PDF

Info

Publication number
WO2009148111A1
WO2009148111A1 PCT/JP2009/060233 JP2009060233W WO2009148111A1 WO 2009148111 A1 WO2009148111 A1 WO 2009148111A1 JP 2009060233 W JP2009060233 W JP 2009060233W WO 2009148111 A1 WO2009148111 A1 WO 2009148111A1
Authority
WO
WIPO (PCT)
Prior art keywords
catalyst
carbon
gas diffusion
precursor polymer
substrate
Prior art date
Legal status (The legal status is an assumption and is not a legal conclusion. Google has not performed a legal analysis and makes no representation as to the accuracy of the status listed.)
Ceased
Application number
PCT/JP2009/060233
Other languages
English (en)
French (fr)
Japanese (ja)
Inventor
清藏 宮田
純一 尾崎
斉藤 一夫
守屋 彰悟
恭介 飯田
武亮 岸本
Current Assignee (The listed assignees may be inaccurate. Google has not performed a legal analysis and makes no representation or warranty as to the accuracy of the list.)
Nisshinbo Holdings Inc
Gunma University NUC
Original Assignee
Nisshinbo Holdings Inc
Gunma University NUC
Priority date (The priority date is an assumption and is not a legal conclusion. Google has not performed a legal analysis and makes no representation as to the accuracy of the date listed.)
Filing date
Publication date
Application filed by Nisshinbo Holdings Inc, Gunma University NUC filed Critical Nisshinbo Holdings Inc
Priority to US12/996,395 priority Critical patent/US20110143253A1/en
Priority to CA2724513A priority patent/CA2724513C/en
Priority to EP09758378.5A priority patent/EP2298442A4/en
Publication of WO2009148111A1 publication Critical patent/WO2009148111A1/ja
Anticipated expiration legal-status Critical
Ceased legal-status Critical Current

Links

Images

Classifications

    • HELECTRICITY
    • H01ELECTRIC ELEMENTS
    • H01MPROCESSES OR MEANS, e.g. BATTERIES, FOR THE DIRECT CONVERSION OF CHEMICAL ENERGY INTO ELECTRICAL ENERGY
    • H01M4/00Electrodes
    • H01M4/86Inert electrodes with catalytic activity, e.g. for fuel cells
    • H01M4/90Selection of catalytic material
    • H01M4/92Metals of platinum group
    • H01M4/923Compounds thereof with non-metallic elements
    • HELECTRICITY
    • H01ELECTRIC ELEMENTS
    • H01MPROCESSES OR MEANS, e.g. BATTERIES, FOR THE DIRECT CONVERSION OF CHEMICAL ENERGY INTO ELECTRICAL ENERGY
    • H01M4/00Electrodes
    • H01M4/86Inert electrodes with catalytic activity, e.g. for fuel cells
    • H01M4/88Processes of manufacture
    • H01M4/8803Supports for the deposition of the catalytic active composition
    • H01M4/8807Gas diffusion layers
    • HELECTRICITY
    • H01ELECTRIC ELEMENTS
    • H01MPROCESSES OR MEANS, e.g. BATTERIES, FOR THE DIRECT CONVERSION OF CHEMICAL ENERGY INTO ELECTRICAL ENERGY
    • H01M4/00Electrodes
    • H01M4/86Inert electrodes with catalytic activity, e.g. for fuel cells
    • H01M4/88Processes of manufacture
    • H01M4/8878Treatment steps after deposition of the catalytic active composition or after shaping of the electrode being free-standing body
    • H01M4/8882Heat treatment, e.g. drying, baking
    • HELECTRICITY
    • H01ELECTRIC ELEMENTS
    • H01MPROCESSES OR MEANS, e.g. BATTERIES, FOR THE DIRECT CONVERSION OF CHEMICAL ENERGY INTO ELECTRICAL ENERGY
    • H01M4/00Electrodes
    • H01M4/86Inert electrodes with catalytic activity, e.g. for fuel cells
    • H01M4/90Selection of catalytic material
    • H01M4/9008Organic or organo-metallic compounds
    • HELECTRICITY
    • H01ELECTRIC ELEMENTS
    • H01MPROCESSES OR MEANS, e.g. BATTERIES, FOR THE DIRECT CONVERSION OF CHEMICAL ENERGY INTO ELECTRICAL ENERGY
    • H01M4/00Electrodes
    • H01M4/86Inert electrodes with catalytic activity, e.g. for fuel cells
    • H01M4/96Carbon-based electrodes
    • HELECTRICITY
    • H01ELECTRIC ELEMENTS
    • H01MPROCESSES OR MEANS, e.g. BATTERIES, FOR THE DIRECT CONVERSION OF CHEMICAL ENERGY INTO ELECTRICAL ENERGY
    • H01M8/00Fuel cells; Manufacture thereof
    • H01M8/10Fuel cells with solid electrolytes
    • H01M2008/1095Fuel cells with polymeric electrolytes
    • YGENERAL TAGGING OF NEW TECHNOLOGICAL DEVELOPMENTS; GENERAL TAGGING OF CROSS-SECTIONAL TECHNOLOGIES SPANNING OVER SEVERAL SECTIONS OF THE IPC; TECHNICAL SUBJECTS COVERED BY FORMER USPC CROSS-REFERENCE ART COLLECTIONS [XRACs] AND DIGESTS
    • Y02TECHNOLOGIES OR APPLICATIONS FOR MITIGATION OR ADAPTATION AGAINST CLIMATE CHANGE
    • Y02EREDUCTION OF GREENHOUSE GAS [GHG] EMISSIONS, RELATED TO ENERGY GENERATION, TRANSMISSION OR DISTRIBUTION
    • Y02E60/00Enabling technologies; Technologies with a potential or indirect contribution to GHG emissions mitigation
    • Y02E60/30Hydrogen technology
    • Y02E60/50Fuel cells

Definitions

  • the present invention relates to a catalyst using a carbon catalyst not supporting a noble metal such as platinum or platinum alloy, a method for producing the same, a membrane electrode assembly and a method for producing the same, a fuel cell member and a method for producing the same, a fuel cell and a storage device.
  • a noble metal such as platinum or platinum alloy
  • a fuel cell is a type of chemical cell that supplies a fuel such as hydrogen and an oxidant such as oxygen to extract electric power.
  • a fuel such as hydrogen
  • an oxidant such as oxygen
  • Fuel cells are divided into several types according to the type of electrochemical reaction, electrolyte, and the like. Examples of the type of fuel cell include a polymer electrolyte fuel cell, an alkaline electrolyte fuel cell, a phosphoric acid fuel cell, a solid oxide fuel cell, and a biofuel cell.
  • the polymer electrolyte fuel cell can be operated at room temperature, and can be easily reduced in size and weight. Therefore, its application to portable devices, fuel cell vehicles and the like is expected.
  • the basic structure of a solid polymer fuel cell is called a membrane electrode assembly (MEA) in which a fuel electrode (negative electrode), a solid polymer membrane (electrolyte), and an air electrode (positive electrode) are laminated and integrated.
  • MEA membrane electrode assembly
  • the basic parts are sandwiched between the conductive plates on which the reaction gas supply flow paths are formed to constitute one basic unit, which is made a single cell.
  • the single cells are stacked and connected in series to obtain a high voltage.
  • the conductive plate has a function of a separator.
  • the configuration of the polymer electrolyte fuel cell has a structure in which the catalyst layer, the gas diffusion electrode, and the separator are joined with the solid electrolyte interposed therebetween (see, for example, Patent Documents 1 to 3).
  • the conventional general fuel cells described in Patent Documents 1 to 3 are, as shown in FIG. 15, a solid electrolyte 111, a catalyst layer 102 such as carbon particles carrying a catalyst metal such as platinum, and a gas diffusion electrode 103 and a separator 106 are further arranged. Although not shown, a catalyst supporting a catalyst metal, a gas diffusion electrode, and a separator are similarly arranged on the other surface of the solid electrolyte 111 in this order.
  • a slurry is prepared by mixing a catalyst comprising carbon particles carrying an electrode catalyst such as platinum on a solid electrolyte membrane, and a solid electrolyte solution (also acting as a binder for bonding the catalyst). Thereafter, the slurry is applied to the solid electrolyte 111 and dried.
  • the gas diffusion electrode 103 to be combined and the solid electrolyte 111 coated with the catalyst layer 102 described above are bonded, and as shown by white arrows P1 and P2 in FIG. Join.
  • the gas diffusion electrode 103 carbon cloth, carbon paper, metal foam, metal fiber paper or the like is used.
  • the gas diffusion electrode 103 one that is water repellent-treated with a fluorine resin or the like is used in order to efficiently discharge the water generated at the time of power generation.
  • the interface between the catalyst layer and the gas diffusion electrode or the interface between the gas diffusion electrode and the separator is formed by contact, pressure bonding or the like, and the contact resistance is high.
  • a catalyst layer 102 made of carbon particles supporting a catalyst such as platinum is attached to one surface of a gas diffusion electrode 103 made of carbon fiber, carbon paper or the like.
  • a binder 104 such as a solid polymer electrolyte may be formed on the surface of each carbon particle of the catalyst layer 102 or in the space between the carbon particles.
  • the reaction is promoted by a catalyst such as platinum supported on the surface of the carbon particles, and hydrogen is ionized to separate electrons.
  • the electrons are transmitted to the gas diffusion electrode 103 through each carbon particle of the catalyst layer 102. Flow.
  • the catalyst and the gas diffusion electrode are pressure-bonded, the catalyst layer 102 is merely in point contact with the gas diffusion electrode 103 including the binder 104 component. Therefore, the contact resistance of this portion can not be ignored, that is, electrons generated by the fuel cell are lost due to the resistance due to the point contact. Such losses affect the power generation characteristics of the fuel cell.
  • the number of parts is large, resulting in high cost and low productivity.
  • the solid electrolyte, the catalyst, and the gas diffusion electrode are integrated by a binder, but electrically, only a conductive path is formed by the contact of substances with each other. It has not reached a fundamental problem solution. That is, in the conventional fuel cell, the conduction of electrons necessary for power generation is not sufficiently conductive between the substances of the catalyst layer / gas diffusion electrode / separator, and is largely lost due to the contact resistance.
  • Another object of the present invention is to reduce the number of parts while integrating the catalyst and the base which holds the catalyst and is combined with other members to reduce the contact resistance. Do. Another object of the present invention is to improve the electrical conductivity between a catalyst and an electrode by constructing a fuel cell component or a fuel cell using this catalyst.
  • the catalyst of the present invention is configured such that a conductive region is provided on at least a part of a substrate, and a carbon catalyst is formed on the conductive region.
  • Carbon catalysts can be used widely as catalysts for chemical reactions, in particular as substitutes for conventional platinum catalysts.
  • the contact resistance between the carbon catalyst and the substrate is reduced.
  • it comprises a base
  • a material having at least a part a gas-passing structure when used as a substrate for forming a carbon catalyst, it can be suitably used as a catalytic function gas diffusion electrode for a fuel cell, in which case The electrical conductivity of the fuel cell can be improved.
  • the method for producing a catalyst of the present invention comprises the steps of: preparing a carbon precursor polymer; attaching a carbon precursor polymer to a conductive region of a substrate; and carbonizing the carbon precursor polymer Including.
  • a carbon catalyst can be easily formed on a substrate by preparing a carbon precursor polymer and attaching it to at least a conductive region of the substrate, and carbonizing the carbon precursor polymer.
  • the carbon catalyst may be formed not only on the surface of the substrate but also in the pores and the like inside the substrate.
  • the carbon catalyst thus formed is not only in contact with the substrate, but is compared with the substrate by physical bonding or chemical bonding depending on the material of the substrate and the conditions of carbonization. Firmly connected. Therefore, the contact resistance can be reduced as compared to the prior art.
  • the membrane electrode assembly (MEA) of the present invention includes a solid electrolyte and gas diffusion electrodes disposed opposite to each other with the solid electrolyte interposed therebetween. And a carbon catalyst is formed in the at least one part of the gas diffusion electrode.
  • the method for producing a membrane electrode assembly comprises the steps of preparing a carbon precursor polymer, attaching the carbon precursor polymer to at least a part of the gas diffusion electrode, and carbonizing the carbon precursor polymer And integrating the solid electrolyte and the gas diffusion electrode on which the carbon catalyst is formed.
  • a gas diffusion electrode formed by forming a carbon catalyst on at least a part of a substrate and a separator are integrally formed.
  • the method for producing a fuel cell member according to the present invention comprises the steps of: preparing a carbon precursor polymer; attaching the carbon precursor polymer to at least a part of a substrate constituting the gas diffusion electrode; C. to form a carbon catalyst, and leaving at least a part of the portion where the carbon catalyst is formed to integrate the substrate with the separator.
  • the fuel cell of the present invention comprises a solid electrolyte and a gas diffusion electrode oppositely disposed with the solid electrolyte interposed therebetween, and the gas diffusion electrode has a carbon catalyst formed on the side sandwiching the solid electrolyte.
  • a storage device of the present invention is a storage device including an electrode material and an electrolyte, wherein the electrode material includes a carbon catalyst.
  • the carbon catalyst is formed on at least a part of the base or the carbon catalyst is formed on the electrode material. Can be reduced.
  • the contact resistance between the substrate constituting the gas diffusion electrode and the catalyst is improved. Therefore, the electrical conductivity at the contact portion between the gas diffusion electrode and the catalyst can be improved, and a fuel cell with improved power generation characteristics can be provided. In addition, the number of component parts can be reduced, leading to good productivity and cost reduction.
  • the gas diffusion electrode itself has a catalytic function, and electrons generated by the catalyst can be conducted without loss of contact resistance. This makes it possible to improve the power generation efficiency of the fuel cell. Furthermore, by integrating a gas diffusion electrode having a catalytic function with the separator, it is possible to transmit electrons generated by the catalyst to the separator without generating a loss of contact resistance. Thus, a fuel cell with very high efficiency can be manufactured.
  • the carbon catalyst can be easily formed on the gas diffusion electrode, and the contact resistance between the catalyst and the gas diffusion electrode is reduced. In addition to the improvement of the electrical conductivity and the improvement of the power generation characteristics, it is possible to improve the productivity.
  • the present invention it is possible to reduce the contact resistance between the catalyst and other members combined with the catalyst. Moreover, the electric conductivity of a catalyst and an electrode can be improved by comprising the components of a fuel cell, a fuel cell, or an electrical storage apparatus using the catalyst of this invention.
  • FIG. 1 is a schematic configuration view of a first example of a catalyst according to a first embodiment of the present invention.
  • FIG. 2 is a schematic block diagram of a second example of the catalyst according to the first embodiment of the present invention.
  • FIG. 3 is a schematic configuration view of a third example of the catalyst according to the first embodiment of the present invention.
  • FIG. 4 is a schematic configuration view of a fourth example of the catalyst according to the first embodiment of the present invention.
  • FIG. 5 is a schematic configuration view of a fifth example of the catalyst according to the first embodiment of the present invention.
  • FIG. 6 is a schematic configuration view of a sixth example of the catalyst according to the first embodiment of the present invention.
  • FIG. 1 is a schematic configuration view of a first example of a catalyst according to a first embodiment of the present invention.
  • FIG. 2 is a schematic block diagram of a second example of the catalyst according to the first embodiment of the present invention.
  • FIG. 3 is a schematic configuration view of a third example of the catalyst according
  • FIG. 7 is a schematic configuration diagram of an example of a membrane electrode assembly according to a second embodiment of the present invention.
  • FIG. 8 is a schematic configuration view of an example of a fuel cell member according to a third embodiment of the present invention.
  • FIG. 9 is a schematic block diagram of another example of the fuel cell member according to the third embodiment of the present invention.
  • FIG. 10 is a schematic configuration diagram of an example of a fuel cell according to a fourth embodiment of the present invention.
  • FIG. 11 is a schematic configuration view for explaining a power generation mode of another example of the fuel cell according to the fourth embodiment of the present invention.
  • FIG. 12 is a schematic configuration diagram of an example of a power storage device according to a fifth embodiment of the present invention.
  • FIG. 13 is a diagram showing the power generation characteristics of the membrane electrode assembly in Example 1 and Comparative Example 1 of the present invention.
  • FIG. 14 is a micrograph of the gas diffusion electrode (catalyst) in Example 4 of the present invention.
  • FIG. 15 is a schematic block diagram of a main part of a conventional fuel cell.
  • FIG. 16 is a schematic block diagram of a main part of a conventional fuel cell.
  • the catalyst of the present embodiment is configured by providing a conductive region on at least a part of a substrate, and forming a carbon catalyst in the conductive region.
  • This catalyst forms a carbon catalyst on the substrate to impart a catalytic function, and can significantly reduce the resistance with the substrate as compared with the case where the substrate is simply attached to and contacted with the substrate. It is possible.
  • Such a carbon catalyst is easily formed by carbonization after depositing a carbon precursor polymer on a substrate.
  • the shape of the carbon catalyst formed on the substrate can be variously modified depending on the material and structure of the substrate, the adhesion of the carbon precursor polymer to the substrate, and the like. For example, it has a point-like tip, a shape that exhibits a catalytic function at a point, and also coats the surface of the substrate to a certain extent, a shape that exhibits a catalytic function at that surface, and further bonds two or more positions on the substrate Various shapes, such as a shape, can be made. It may be any shape that transmits electrons to the substrate more efficiently than in the past.
  • the substrate since the carbon precursor polymer is attached and then the carbonization treatment is performed, it is preferable that the substrate have heat resistance that can withstand the heat treatment in the carbonization step.
  • the shape of the substrate is not particularly limited, and in the case of a structure which passes gas, that is, a shape having a gas diffusion function, it may be, for example, non-woven fabric, woven fabric, porous body, etc. Can also be used.
  • conductive materials In addition to conductive materials, it is also possible to use materials of various shapes regardless of inorganic materials and organic materials as the substrate. Examples of the conductive material include carbon, metals and the like. In addition to ceramics, minerals (stones), etc., it is also possible to use inorganic or organic solid materials such as semiconductors such as silicon, and formed bodies of inorganic compounds such as carbides, nitrides and borides, powders, films, etc. The conductive region may be provided in part thereof.
  • a gas diffusion function When a gas diffusion function is imparted as a catalyst and used as a gas diffusion electrode of a fuel cell, carbon cloth, carbon paper, carbon porous body, metal porous body generally used as a substrate serving as a gas diffusion electrode , Various cloths such as metal fibers, paper, etc. can be used. In addition, it may be a so-called nanofiber configuration fiberized by an electrospinning method or the like, or carbonized carbon nanofibers or a nonwoven fabric thereof.
  • the carbon catalyst formed on the substrate desirably contains a nitrogen atom (N) and / or a boron atom (B). And it is preferable that the sum total of content of the nitrogen atom (N) and / or a boron atom (B) contained in a carbon catalyst is 0.5 mass% or more and 20 mass% or less with respect to the total weight of a carbon catalyst. Further, it is desirable that a carbon catalyst suitable for use in the catalyst of the present invention contains a nitrogen atom (N) and / or a boron atom (B), and further that a transition metal or transition metal compound is added.
  • Such a carbon catalyst contains a nitrogen atom (N) and / or a boron atom (B), and further a transition metal or carbon precursor polymer to which a transition metal compound is added is applied to a substrate by a spray, a spinning method, etc. It can be made to adhere and then carbonize by heating etc.
  • a carbon precursor polymer containing nitrogen atoms (N) and / or boron atoms (B) and further containing a transition metal or transition metal compound is subjected to a spinning method such as dry spinning, wet spinning, or electro spinning.
  • a nanoshell structured carbon catalyst can be formed on the substrate by fiberizing and carbonizing the fiberized carbon precursor polymer.
  • carbon particles (nanoshell carbon) having a nanoshell structure containing a high concentration of nitrogen atoms (N) are formed by the catalytic action of the transition metal or transition metal compound added to the carbon precursor polymer.
  • the basic structure of nanoshell carbon is a structure in which carbon is chemically bonded by sp 2 hybrid orbital, and graphene which is an assembly of carbon atoms having a hexagonal network surface structure expanded in two dimensions is stacked.
  • nitrogen atoms (N) are introduced into the hexagonal network surface structure in the carbonization process, pyridine type, pyrrole type, oxidized type, or graphene substitution type nitrogen atoms (N) are coordinated, and chemical bonds of different elements are caused. Defects in the induced graphene structure are said to exhibit catalytic activity.
  • the excellent catalytic activity of this catalyst makes the particle size of nanoshell carbon 50 nm or less, more preferably 20 nm or less, more preferably 10 nm or less, and by making the shape into a fiber, the surface area is expanded and nitrogen on the surface of nanoshell carbon It is considered to be obtained by the presence of a high concentration of atoms (N).
  • such miniaturization of the nanoshell structure is caused by the thickness of the graphene layer in nanoshell carbon being 10 nm or less, more preferably 5 nm or less.
  • the thickness of the graphene layer is considered to improve the bending of the graphene and promote the formation of nanoshell carbon having a smaller particle size.
  • nanoshell carbon used as a carbon catalyst of the catalyst of the present embodiment may exhibit a largely distorted structure such as many non-spherical oval, flat, and square shapes.
  • the carbon catalyst used for the catalyst of the present invention may be other than carbon particles of nanoshell structure.
  • a carbon precursor polymer is prepared.
  • the carbon precursor polymer is not limited as long as it is a polymer material that can be carbonized by heat curing, but is not limited to polyacrylonitrile (PAN), chelate resin, cellulose, carboxymethylcellulose, polyvinyl alcohol, polyacrylic acid, polyfurfuryl Alcohol, furan resin, phenol resin, phenol formaldehyde resin, melamine resin, pitch, brown coal, polyvinylidene chloride, lignin, coal, biomass, protein, humic acid, polyimide, polyaniline, polyaniline, polypyrrole, polybenzimidazole, polyamide, polyamideimide, etc. It can be used.
  • PAN polyacrylonitrile
  • a carbon precursor polymer suitable for the present embodiment can be prepared by mixing or copolymerizing a polymer material that promotes crosslinking.
  • a polymer material that promotes crosslinking For example, polyacrylonitrile-polymethacrylic acid copolymer (PAN-co-PMA) may be prepared and used by using a known soap-free polymerization method of acrylonitrile (AN) and methacrylate (MA).
  • the carbon precursor polymer preferably has a nitrogen atom (N) as a constituent element.
  • N nitrogen atom
  • the content of nitrogen atoms (N) contained in the carbon precursor polymer is preferably 0.01% by mass or more and 30% by mass or less based on the total weight of the carbon catalyst. More preferably, it is 0.5% by mass or more and 20% by mass or less based on the total weight of the carbon catalyst.
  • the PMA content is preferably 5 mol% or more and 15 mol% or less.
  • the carbon precursor polymer prepared above and the transition metal or transition metal compound are dissolved in a solvent to prepare a solution.
  • a solvent which can dissolve the carbon precursor polymer and which can be applied to a forming step of the carbon precursor polymer, for example, a fiberizing step is appropriately selected and used.
  • the transition metal or transition metal compound is insoluble in the solvent, it is preferable to use a solvent with good dispersibility.
  • a transition metal or transition metal compound is dissolved or dispersed in this solvent, and then the above-mentioned carbon precursor polymer is dissolved. Then, the carbon precursor polymer dissolved in the solvent and the transition metal or transition metal compound are kneaded to prepare a spinning solution.
  • a spinning solution For example, when the above-mentioned PAN-co-PMA is used as the carbon precursor polymer and cobalt oxide is used as the transition metal compound, N, N-dimethylformamide (DMF), 2-pyrrolidone (NMP), or A homogeneous spinning solution can be produced by using at least one selected from dimethyl sulfoxide (DMSO).
  • transition metal an element belonging to Group 4 to 12 of Period 4 of the periodic table can be used.
  • cobalt (Co), iron (Fe), manganese (Mn), nickel (Ni), copper ( Cu), titanium (Ti), chromium (Cr) and zinc (Zn) are preferred.
  • the transition metal compound salts, hydroxides, oxides, nitrides, sulfides, carbonized substances, complexes of the above-mentioned transition metals can be used, among which cobalt chloride, cobalt oxide, phthalocyanine cobalt, Iron chloride, iron oxide and phthalocyanine iron are preferred.
  • Co, Fe, Mn, Ni, Cu, Ti, Cr, Zn and their compounds are excellent in forming a structure that improves the catalytic activity of the carbon catalyst, and among them, Co and Fe are particularly suitable for the catalytic activity. Excellent in forming a structure.
  • the above-mentioned transition metal or transition metal compound can be produced by a known method, and for example, it can be produced by the method described in WO2007 / 049549 pamphlet and JP-A-2007-332436.
  • the substrate is coated and applied using the above solution.
  • a part of the gas diffusion electrode is coated.
  • the coating method may be a general one, and may be dipping, spray coating, coater such as gravure, brush coating, coating method by resin extrusion, coating method by electrospinning, etc. on one side of the gas diffusion electrode, but is limited thereto It is not a thing.
  • the coating thickness is preferably 0.01 ⁇ m or more and 2000 ⁇ m or less. This is because the catalyst thickness can be improved by setting the coating thickness in this range.
  • the resin coating film can be made infusible.
  • infusibilization the form of the applied resin can be maintained even at a temperature above the melting point or softening point of the carbon precursor polymer.
  • the infusibilization is carried out by heating the carbon precursor polymer in air to a temperature below the melting point or softening point of the carbon precursor polymer to oxidize and crosslink the carbon precursor polymer.
  • it can process by the well-known infusibilization method besides the above-mentioned method.
  • the above-mentioned infusibilization treatment of PAN-co-PMA heats coated PAN-co-PMA from room temperature to 150 ° C. in air over 30 minutes, and then takes 2 hours from 150 ° C. to 220 ° C. The temperature is raised and maintained at 220.degree. C. for 3 hours.
  • the infusible gas diffusion electrode is heated under a flow of an inert gas such as nitrogen and held for a fixed time to carbonize.
  • the heating temperature is 300 ° C. to 1500 ° C., preferably 400 ° C. to 1000 ° C. This is because if the carbonization temperature is less than 300 ° C., carbonization of the carbon precursor polymer is insufficient, and if it exceeds 1500 ° C., the catalytic effect is reduced.
  • the holding time of the heating temperature is 5 minutes or more and 180 minutes or less, preferably 20 minutes or more and 120 minutes or less. This is because if the holding time is less than 5 minutes, the gas diffusion electrode can not be heat-treated uniformly, and if the holding time exceeds 180 minutes, the catalyst performance is degraded.
  • the carbon catalyst it is possible to improve catalyst activity by activating carbon dioxide (CO 2 ). Furthermore, the oxygen reduction activity of the carbon catalyst can be improved by introducing nitrogen atoms (N), boron atoms (B), and boron nitride (BN) into the carbon catalyst.
  • N nitrogen atoms
  • B boron atoms
  • BN boron nitride
  • the introduction of nitrogen atoms (N) into the carbon catalyst can be carried out using a liquid phase doping method, a gas phase doping method, or a gas phase-liquid phase doping method.
  • a carbon catalyst is mixed with ammonia, which is a nitrogen source, melamine, acetonitrile or the like, and is 550 ° C. or more and 1200 ° C. or less under an inert gas atmosphere such as nitrogen (N 2 ), argon (Ar), helium (He) or the like
  • Heat treatment can be carried out by holding for 5 minutes or more and 180 minutes or less to introduce nitrogen atoms (N) onto the surface of the carbon catalyst.
  • the introduction of the boron atom (B) into the carbon catalyst can be carried out by mixing BF 3 methanol complex as a boron source with the nitrogen source when introducing the above-mentioned nitrogen atom (N).
  • a method of contacting BCl 3 gas as a boron source with the carbon catalyst, or after mixing the carbon catalyst with BF 3 -methanol as a boron source Boron atoms to the carbon catalyst by a method of heat treatment under the conditions of 550 ° C to 1200 ° C and 5 minutes to 180 minutes in an inert gas atmosphere such as nitrogen (N 2 ), argon (Ar) and helium (He). (B) can be introduced.
  • the transition metal or transition metal compound contained in the carbon catalyst is optionally removed by acid or electrolytic treatment.
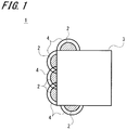
  • the catalyst 1 in which the carbon catalyst 2 is formed on the substrate 3 can be manufactured.
  • the carbon catalyst 2 is coated with a binder 4 composed of a solid polymer electrolyte, an ionomer or the like.
  • a binder 4 is provided on the carbon catalyst 2 formed on the substrate 3 and used as a gas diffusion electrode of a fuel cell, adhesion to a solid electrolyte can be enhanced.
  • the carbon catalyst 2 is adhered in a block shape in close proximity to one side surface of the substrate 3, but the shapes of the substrate 3 and the carbon catalyst 2 are It is not limited to this.
  • the carbon catalyst 2 may be integrally formed so as to cover one side of the base 3.
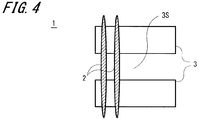
  • the carbon catalyst 2 may be formed so as to extend across the gap 3S. May be.
  • the carbon catalyst 2 may be formed so as to straddle the base 3 at a plurality of positions with respect to the base 3 configured to have the gap 3S.
  • the position at which the carbon catalyst 2 is formed is not limited to the surface of the substrate 3 but may be the inside or both.
  • the base 3 may be porous or fibrous, and the carbon catalyst 2 may be fibrously formed by a spinning method.
  • a conductive filler 5 may be mixed with the carbon catalyst 2 formed on the substrate 3 in order to enhance the catalytic function.
  • conductive substances such as carbon nanotubes, carbon nanofibers, carbon black, ketjen black, acetylene black, graphite, activated carbon, glassy carbon, carbon fiber, metal powder, metal fiber and the like can be used. . Alternatively, two or more of these conductive substances may be combined.
  • a conductive material such as fiber, metal powder, metal fiber or the like may be mixed and coated on the substrate 3.
  • the mixing ratio is desirably 85% by weight or less based on the carbon precursor solution.
  • the above-described conductive substance may be dusted in a region including the position where the carbon catalyst 2 of the substrate 3 is to be formed in advance, and the above-mentioned carbon precursor solution may be coated thereon.
  • a membrane electrode assembly can be obtained by providing a gas diffusion function to the base on which the carbon catalyst described in the first embodiment is formed to form a gas diffusion electrode and bonding it to at least one surface of a solid electrolyte. can get.
  • a schematic diagram of this example is shown in FIG. The base 3 on which the carbon catalyst 2 is formed is bonded to both surfaces of the solid electrolyte 11 to constitute a membrane electrode assembly 20.
  • a known material can be used as the material of the solid electrolyte, and any material having an ion exchange function such as a fluorine-based cation exchange resin membrane represented by a perfluorosulfonic acid resin membrane may be used.
  • a bonding method a thermocompression bonding method can be used, and it may be in the range of temperature and holding time at which the substrate is not melted.
  • the carbon catalyst 2 is bonded to the solid electrolyte relatively easily relatively easily by covering the binder 4 made of a solid polymer electrolyte, an ionomer or the like. It becomes possible. Bonding is easily performed by pressure bonding using a hot press machine or the like.
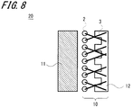
  • FIG. 8 as a schematic block diagram of an example of the fuel cell member 10, a carbon catalyst 2 is formed, and a base 3 having a catalytic function at one end is prepared. Then, by solidifying a portion opposite to the side on which the carbon catalyst 2 is formed, for example, using a composite material composed of carbon and a resin, a separator function is added to the base in addition to the catalyst function, That is, it can be integrated with the separator 12. As described above, by integrating the base 3 on which the carbon catalyst 2 is formed with the separator 12, when the fuel cell is used, electrons generated by the catalyst are directly carried to the separator, so that a fuel cell with low resistance is configured. Has the advantage of being able to FIG.
  • FIG. 8 shows an example in which asperities serving as gas flow paths are provided in the separator 12 and the surface of the base 3 opposite to the side on which the carbon catalyst 2 is formed is joined to the asperities. Further, by bonding the solid electrolyte 11 to the side on which the carbon catalyst 2 is formed, a part of the fuel cell is configured.
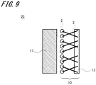
  • FIG. 9 the other example which makes the separator 12 flat form is shown. In FIG. 9, parts corresponding to those in FIG. 8 are assigned the same reference numerals and redundant explanation will be omitted.
  • the separator 12 is molded in advance.
  • a material of the separator 12 for example, a material obtained by mixing a resin and a conductive filler can be used, and it can be produced by molding or the like.
  • thermoplastic resin When a resin is used, a thermoplastic resin is preferable, and polypropylene, polystyrene, syndiotactic polystyrene, ABS resin (acrylonitrile, butadiene, styrene copolymer synthetic resin), polybutadiene, PPS (polyphenylene sulfide) resin, PEEK (polyether ether ketone)
  • a thermoplastic resin that can withstand the power generation state of a fuel cell such as resin, fluorocarbon resin, fluorocarbon rubber, silicone rubber, EPDM (ethylene propylene) rubber, polycarbodiimide, and polyamide, can be preferably used.
  • the resin, the conductive filler, or two or more of these materials are mixed.
  • the conductive filler carbon black, ketjen black, acetylene black, carbon fiber, carbon nanofiber, carbon nanotube, graphite, glassy carbon, metal powder, metal fiber and the like can be used. These materials are mixed so that the weight ratio of resin to conductive filler (resin / conductive filler) is in the range of 5/95 to 75/25. Thereafter, the mixture is molded as a separator 12.
  • the shape of the separator 12 may be any shape, and is not limited to the shape as shown in FIG. 8 in which the gas flow path is secured, the flat plate shape as shown in FIG.
  • the separator made of this molded product is brought into close contact with the base 3 on which the carbon catalyst 2 described in the first embodiment is formed, that is, the gas diffusion electrode having a catalytic function, and heated to about the melting temperature of the resin. By doing this, both can be molded and integrated. Thereby, in addition to the target catalyst function and the gas diffusion function, the fuel cell member 10 having the separator function can be obtained.
  • a solution constituting the separator 12 is produced in advance.
  • a resin solution in which a conductive filler is dispersed can be used.
  • a thermosetting resin or a thermoplastic resin can be used for the composition of the resin.
  • any resin that can withstand the power generation state of the fuel cell may be used.
  • the conductive filler carbon black, ketjen black, acetylene black, carbon fiber, carbon nanofiber, carbon nanotube, graphite, glassy carbon, metal powder, metal fiber, etc., or a mixture of two or more of these can be used.
  • the resin and the conductive filler are mixed such that the weight ratio of resin / conductive filler is in the range of 5/95 to 75/25.
  • the resin solution is applied to one side of the substrate 3 having a catalytic function on which the carbon catalyst 2 is formed, for example, a gas diffusion electrode, and dried and heat treated as necessary to impart a separator function.
  • the member 10 is formed.
  • the application method may be any existing method, and various methods such as dipping, brush coating, gravure using a coater, and a spray method are possible. According to this second manufacturing method, continuous production is possible, and extremely low cost can be achieved.
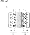
  • the fuel cell 50 shown in FIG. 10 can be obtained by sandwiching the membrane electrode assembly shown in FIG. 7 described in the second embodiment with a separator.
  • the gas diffusion electrodes 1A and 1B are joined with the side on which the carbon catalyst (not shown) is formed on both sides of the solid electrolyte 11 as the side in contact with the solid electrolyte 11, and further having gas flow paths from the outside.
  • An example in which the fuel cell 50 is configured by sandwiching and integrating the shape separators 12A and 12B is shown.
  • the gas diffusion electrode 1A or 1B and the separator 12A or 12B may be integrated to include the fuel cell members 10A and 10B, respectively.
  • the catalyst comprising the above-described substrate having a gas diffusion function can be produced even in the form of a continuous sheet, the membrane electrode assembly and the fuel cell can also be produced continuously.
  • a combination of a catalyst comprising a substrate having the gas diffusion layer function described above and an electrode using a catalyst such as platinum generally used on the counter electrode side may be used.
  • FIG. 11 schematically shows a power generation mode of the fuel cell 50 according to an example of the present embodiment.
  • a gas diffusion electrode 1A functioning as an anode electrode catalyst (fuel electrode) and a gas diffusion electrode 1B functioning as a cathode electrode catalyst (oxidant electrode) are joined so as to sandwich the solid electrolyte 11, and outside thereof
  • the separators 12A and 12B are integrally configured.
  • a fluorine-based cation exchange resin film represented by a perfluorosulfonic acid resin film is used as the solid electrolyte 11, as described above.
  • This fuel cell can be integrated by sandwiching the both surfaces of the above-mentioned membrane electrode assembly with the separators 12A and 12B and bringing them into close contact by hot pressing or the like.
  • a gas diffusion electrode made of a porous sheet (for example, carbon paper) also having a function as a current collector is interposed between a separator and an anode and a cathode catalyst.
  • a carbon catalyst having a reduced contact resistance with the substrate is used as an anode electrode catalyst and a cathode electrode catalyst.
  • the specific surface area is large, and high catalytic activity can be obtained.
  • the separator 12A and 12B to support the gas diffusion electrode 1A and 1B an anode and a cathode electrode catalyst, to supply and discharge of the fuel gas H 2 and oxygen-containing gas reaction gas such as O 2. Then, when the reaction gas is supplied to the gas diffusion electrodes 1A and 1B, respectively, the gas phase (reaction gas) and the liquid phase (solid polymer electrolyte membrane) are generated at the boundary between the carbon catalyst provided on both electrodes and the solid electrolyte 11. And a solid phase (a catalyst possessed by both electrodes) are formed. Then, direct current power is generated by causing an electrochemical reaction.
  • reaction gas reaction gas
  • the liquid phase solid polymer electrolyte membrane
  • FIG. 12 shows a schematic configuration diagram of an electric double layer capacitor 60 excellent in storage capacity as an example of the storage device of the present embodiment.
  • the first electrode 61 and the second electrode 62 which are polarizable electrodes, face each other through the separator 63, and are accommodated in the exterior lid 64a and the exterior case 64b.
  • the first electrode 61 and the second electrode 62 are connected to the exterior cover 64 a and the exterior case 64 b via the current collectors 65 respectively.
  • the separator 63 is impregnated with an electrolytic solution. Then, in a state of being electrically insulated via the gasket 66, the outer cover 64a and the outer case 64b are crimped and sealed to constitute the electric double layer capacitor 60.
  • the base on which the carbon catalyst described above is formed can be applied to the first electrode 61 and the second electrode 62.
  • an electric double layer capacitor in which a carbon catalyst is applied to an electrode material can be constituted.
  • the above-described carbon catalyst has a reduced contact resistance with the substrate, so that the electrode interface where charge is accumulated in the capacitor can be reliably held.
  • the above-mentioned carbon catalyst is electrochemically inactive with respect to the electrolytic solution and has appropriate electrical conductivity. For this reason, the electrostatic capacitance per unit volume of an electrode can be improved by applying as an electrode of a capacitor.
  • a substrate on which the above-described carbon catalyst is formed as an electrode material composed of a carbon material can be applied.
  • the secondary battery with large electrical storage capacity can be comprised by the large specific surface area.
  • the catalyst of the present invention is not limited to the above-mentioned example, but can be used as a substitute for environmental catalysts containing noble metals such as, for example, platinum.
  • This example will be described below.
  • a catalyst for exhaust gas purification to remove pollutants (mainly gaseous substances) contained in polluted air by decomposition treatment it is a catalyst material composed of a noble metal based material such as platinum singly or in combination.
  • Environmental catalysts are used.
  • a substitute for an exhaust gas purification catalyst containing a noble metal such as platinum a substrate on which the above-described carbon catalyst is formed can be used.
  • the above-mentioned carbon catalyst is made into a nanoshell structure, since the catalytic action is further improved, it has a function of decomposing a substance to be treated such as a contaminant. For this reason, since it is not necessary to use expensive noble metals, such as platinum, by comprising an environmental catalyst using the above-mentioned catalyst, a low cost environmental catalyst can be provided.
  • the carbon catalyst has a nanoshell structure, the large specific surface area makes it possible to enlarge the treated area per unit volume for decomposition of the substance to be treated, and an environmental catalyst excellent in the decomposition function per unit volume. It can be configured.
  • the above-mentioned carbon catalyst as a carrier and supporting noble metal materials such as platinum used in conventional environmental catalysts alone or in the form of a complex, an environment having an excellent catalytic function such as decomposition function.
  • a catalyst can be constructed.
  • the environmental catalyst provided with the above-mentioned carbon catalyst can also be used not only as the above-mentioned exhaust gas purification catalyst but also as a purification catalyst for water treatment.
  • the catalyst of the present invention can be used as a substitute for various other platinum catalysts. That is, it can be used as various catalysts other than the above-mentioned environmental catalyst as a substitute of the general process catalyst for the chemical industry containing noble metals, such as platinum.
  • This catalyst can provide a low cost chemical reaction process catalyst without using expensive noble metals such as platinum.
  • the chemical reaction process catalyst excellent in the chemical reaction efficiency per unit volume can be comprised by a large specific surface area.
  • Such a carbon catalyst for chemical reaction is applied to, for example, a catalyst for hydrogenation reaction, a catalyst for dehydrogenation reaction, a catalyst for oxidation reaction, a catalyst for polymerization reaction, a catalyst for reforming reaction, a catalyst for steam reforming, etc. be able to. More specifically, it is possible to apply the above-mentioned catalyst to each chemical reaction with reference to the literature on catalysts such as "Catalyst preparation (Kodansha) Takasaki Shirasaki, Todo Naoyuki co-author, 1975".
  • Example 1 Preparation of gas diffusion electrode having catalytic function
  • 30.93 g of acrylonitrile manufactured by Wako Pure Chemical Industries, Ltd.
  • 4.07 g of methacrylic acid manufactured by Wako Pure Chemical Industries, Ltd.
  • 300 ml of pure water are charged, and bubbling is performed for 15 minutes with nitrogen gas.
  • the flask was set in an oil bath and adjusted to 70 ° C.
  • the coated gas diffusion electrode was then set in a forced circulation dryer. Then, in an air atmosphere, the temperature was raised from room temperature to 150 ° C. for 30 minutes, and then from 150 ° C. to 220 ° C. in two hours. Thereafter, it was kept at 220 ° C. for 3 hours to make it infusible.
  • the infusibilized gas diffusion electrode was placed in a baking furnace, purged with nitrogen for 20 minutes, and heated from room temperature to 900 ° C. over 1.5 hours. After this, the temperature was maintained at 900 ° C. for 1 hour, the carbonization treatment was performed, and a gas diffusion electrode having a carbon catalyst formed was produced.
  • MEA membrane electrode assembly
  • This spinning solution is electrospun under the conditions of an applied voltage of 25 to 28 kV, a discharge pressure of 3 to 7 kPa, a bore diameter of 0.31 mm in the discharge tip, and a distance between the nozzle and the collector of 0.15 to 0.20 m, Obtained.
  • the nanofiber nonwoven fabric infusibilized by the above method was placed in a quartz tube, purged with nitrogen gas for 20 minutes in an ellipsoidal reflection infrared gold image furnace, and heated from room temperature to 900 ° C. over 1.5 hours . Thereafter, the nanofiber non-woven fabric was subjected to carbonization treatment while maintaining at 900 ° C. for 1 hour.
  • Electrode layer Preparation of catalyst dispersion
  • a catalyst dispersion was obtained.
  • the solid polymer membrane was sandwiched between the respective gas diffusion electrodes, and was pressure-bonded for 10 minutes at 150 ° C. using a hot press, to produce an MEA (membrane electrode assembly).
  • MEA membrane electrode assembly
  • a power generation test was conducted by passing 200 ml / min of hydrogen on the anode side and 200 ml / min of oxygen on the cathode side at a heating temperature of 80 ° C. As a result, a result of an open circuit voltage of 0.74 V and a voltage of 0.17 V at a current density of 0.5 A / cm 2 was obtained.
  • Example 1 The results of the power generation performance characteristics in Example 1 and Comparative Example 1 are shown in FIG. As is clear from FIG. 13, in Example 1, a relatively high voltage is obtained at a lower current density than in Comparative Example 1, and it is clear that the power generation performance is improved.
  • Example 2 As a second embodiment, an example of a fuel cell member in which a carbon catalyst is formed on a substrate having a gas diffusion function and a separator function is further provided will be described.
  • Separator Solution 100 ml of methanol (manufactured by Wako Pure Chemical Industries, Ltd.) was mixed with 10 g of a phenol resin (manufactured by Gunei Chemical Industry Co., Ltd.) to prepare a mixed solution. 5 g of ketjen black EC600JD (trade name, manufactured by Lion Corporation) was added to this solution to obtain a carbon / resin mixed solution.
  • the solid polymer film was sandwiched between the gas diffusion electrodes, and was pressure bonded for 10 minutes at 150 ° C. using a hot press.
  • a power generation test was conducted by passing 200 ml / min of hydrogen on the anode side and 200 ml / min of oxygen on the cathode side at a heating temperature of 80 ° C. As a result, a result of an open circuit voltage of 0.78 V and a voltage of 0.36 V at a current density of 0.5 A / cm 2 was obtained.
  • Example 3 Preparation of polyacrylonitrile-polymethacrylic acid copolymer (PAN-co-PMA)]
  • PAN-co-PMA polyacrylonitrile-polymethacrylic acid copolymer
  • This spinning solution was used as a carbon paper (Toray Industries, Ltd.) as a gas diffusion electrode under the conditions of an applied voltage of 25 to 28 kV, a discharge pressure of 3 to 7 kPa, a bore diameter of 0.31 mm in the discharge tip, and a distance between the nozzle and the collector of 0.15 to 0.20 m. Electrospinning was performed on one side of 2.3 ⁇ 2.3 cm 2 by a trade name of TGP-H-060 (trade name, manufactured by Co., Ltd.) and coated.
  • the gas diffusion electrode infusibilized by the above method was placed in a baking furnace, purged with nitrogen for 20 minutes, and heated from room temperature to 900 ° C. over 1.5 hours. After this, the temperature was maintained at 900 ° C. for 1 hour, and carbonization treatment was performed to produce a gas diffusion electrode having a catalytic function.
  • a photomicrograph of the obtained gas diffusion electrode having a catalytic function is shown in FIG.
  • the substrate has a slightly thick fiber shape and has a gas diffusion function
  • the carbon catalyst has a thinner fiber shape and has a structure entwined on the substrate, and is strongly bonded. You can see how it is being done.
  • the solid polymer membrane was sandwiched between the respective gas diffusion electrodes, and was pressure-bonded for 10 minutes at 150 ° C. using a hot press, to produce an MEA (membrane electrode assembly).
  • MEA membrane electrode assembly
  • a power generation test was conducted by passing 200 ml / min of hydrogen on the anode side and 200 ml / min of oxygen on the cathode side at a heating temperature of 80 ° C. As a result, a result of an open circuit voltage of 0.80 V and a voltage of 0.36 V at a current density of 0.5 A / cm 2 was obtained.
  • Example 4 [Preparation of gas diffusion electrode having catalytic function]
  • 30.93 g of acrylonitrile manufactured by Wako Pure Chemical Industries, Ltd.
  • 4.07 g of methacrylic acid manufactured by Wako Pure Chemical Industries, Ltd.
  • 300 ml of pure water are charged, and bubbling is performed for 15 minutes with nitrogen gas.
  • the flask was set in an oil bath and adjusted to 70 ° C.
  • a solution of 100 mg of potassium peroxodisulfate (manufactured by Wako Pure Chemical Industries, Ltd.) dissolved in 50 ml of pure water was charged into a flask adjusted to 70 ° C.
  • the coated gas diffusion electrode was then set in a forced circulation dryer. Then, in an air atmosphere, the temperature was raised from room temperature to 150 ° C. for 30 minutes, and then from 150 ° C. to 220 ° C. in two hours. Thereafter, it was kept at 220 ° C. for 3 hours to make it infusible.
  • the infusibilized gas diffusion electrode was placed in a baking furnace, purged with nitrogen for 20 minutes, and heated from room temperature to 900 ° C. over 1.5 hours. After this, the temperature was maintained at 900 ° C. for 1 hour, and carbonization treatment was performed to fabricate a gas diffusion electrode on which a carbon catalyst was formed.
  • the solid polymer membrane was sandwiched between the respective gas diffusion electrodes, and was pressure-bonded for 10 minutes at 150 ° C. using a hot press, to produce an MEA (membrane electrode assembly).
  • MEA membrane electrode assembly
  • a power generation test was conducted by passing 200 ml / min of hydrogen on the anode side and 200 ml / min of oxygen on the cathode side at a heating temperature of 80 ° C. As a result, a result of an open circuit voltage of 0.78 V and a voltage of 0.35 V at a current density of 0.5 A / cm 2 was obtained.
  • Example 5 [Preparation of gas diffusion electrode] [Preparation of polyacrylonitrile-polymethacrylic acid copolymer (PAN-co-PMA)]
  • PAN-co-PMA polyacrylonitrile-polymethacrylic acid copolymer
  • This resin was sufficiently dispersed in 94 g of dimethylformamide (manufactured by Wako Pure Chemical Industries, Ltd.), and then 5.82 g of the above-mentioned PAN-co-PMA was dissolved to obtain a spinning solution.
  • This spinning solution is electrospun under the conditions of an applied voltage of 25 to 28 kV, a discharge pressure of 3 to 7 kPa, a bore diameter of 0.31 mm in the discharge tip, and a distance between the nozzle and the collector of 0.15 to 0.20 m, Obtained.
  • the four sides of the nanofiber nonwoven fabric obtained by the above-described method were clipped and set in a forced circulation dryer. Then, the temperature was raised from room temperature to 150 ° C. in the air for 30 minutes, and then from 150 ° C. to 220 ° C. in two hours. Thereafter, the nanofiber non-woven fabric was made infusible by maintaining it at 220 ° C. for 3 hours as it was.
  • the nanofiber nonwoven fabric infusibilized by the method described above was placed in a calcining furnace, purged with argon gas for 20 minutes, and heated from room temperature to 2950 ° C. over 12 hours. After this, the temperature was maintained at 2950 ° C. for 1 hour to prepare a nanofiber non-woven gas diffusion electrode.
  • the solid polymer membrane was sandwiched between the respective gas diffusion electrodes, and was pressure-bonded for 10 minutes at 150 ° C. using a hot press, to produce an MEA (membrane electrode assembly).
  • MEA membrane electrode assembly
  • a power generation test was conducted by passing 200 ml / min of hydrogen on the anode side and 200 ml / min of oxygen on the cathode side at a heating temperature of 80 ° C. As a result, a result of an open circuit voltage of 0.80 V and a voltage of 0.36 V at a current density of 0.5 A / cm 2 was obtained.

Landscapes

  • Chemical & Material Sciences (AREA)
  • Chemical Kinetics & Catalysis (AREA)
  • Electrochemistry (AREA)
  • General Chemical & Material Sciences (AREA)
  • Engineering & Computer Science (AREA)
  • Materials Engineering (AREA)
  • Manufacturing & Machinery (AREA)
  • Physics & Mathematics (AREA)
  • Thermal Sciences (AREA)
  • Inert Electrodes (AREA)
  • Fuel Cell (AREA)
  • Catalysts (AREA)
PCT/JP2009/060233 2008-06-05 2009-06-04 触媒及びその製造方法、膜電極接合体及びその製造方法、燃料電池部材及びその製造方法、燃料電池及び蓄電装置 Ceased WO2009148111A1 (ja)

Priority Applications (3)

Application Number Priority Date Filing Date Title
US12/996,395 US20110143253A1 (en) 2008-06-05 2009-06-04 Catalyst and method for producing the same, membrane electrode assembly and method for producing the same, fuel cell member and method for producing the same, fuel cell, and electricity storage device
CA2724513A CA2724513C (en) 2008-06-05 2009-06-04 Method and apparatus of forming carbon catalyst
EP09758378.5A EP2298442A4 (en) 2008-06-05 2009-06-04 CATALYST AND PRODUCTION METHOD THEREFOR, MEMBRANE ELECTRODE ARRANGEMENT AND MANUFACTURING METHOD, FUEL CELL ELEMENT AND MANUFACTURING METHOD, FUEL CELL AND ELECTRICITY STORAGE DEVICE

Applications Claiming Priority (2)

Application Number Priority Date Filing Date Title
JP2008148387A JP5320579B2 (ja) 2008-06-05 2008-06-05 ガス拡散電極及びその製造方法、膜電極接合体及びその製造方法、燃料電池部材及びその製造方法、燃料電池、蓄電装置及び電極材
JP2008-148387 2008-06-05

Publications (1)

Publication Number Publication Date
WO2009148111A1 true WO2009148111A1 (ja) 2009-12-10

Family

ID=41398184

Family Applications (1)

Application Number Title Priority Date Filing Date
PCT/JP2009/060233 Ceased WO2009148111A1 (ja) 2008-06-05 2009-06-04 触媒及びその製造方法、膜電極接合体及びその製造方法、燃料電池部材及びその製造方法、燃料電池及び蓄電装置

Country Status (5)

Country Link
US (1) US20110143253A1 (enExample)
EP (1) EP2298442A4 (enExample)
JP (1) JP5320579B2 (enExample)
CA (1) CA2724513C (enExample)
WO (1) WO2009148111A1 (enExample)

Cited By (4)

* Cited by examiner, † Cited by third party
Publication number Priority date Publication date Assignee Title
WO2012014768A1 (ja) 2010-07-29 2012-02-02 日清紡ホールディングス株式会社 燃料電池用電極
WO2012105921A3 (en) * 2011-02-01 2012-11-15 Hidra Enerji Ve Kimya Sanayi Ticaret Limited Sirketi Cation exchange polymer electrolyte membrane with flexible structure and low loss of moisture
JP2013048099A (ja) * 2011-01-14 2013-03-07 Showa Denko Kk 燃料電池用電極触媒の製造方法、燃料電池用電極触媒およびその用途
JP2017226595A (ja) * 2016-06-15 2017-12-28 国立大学法人東北大学 炭素材料及びその製造方法

Families Citing this family (21)

* Cited by examiner, † Cited by third party
Publication number Priority date Publication date Assignee Title
JP5407055B2 (ja) * 2008-10-07 2014-02-05 国立大学法人東京農工大学 燃料電池用電極触媒の製造方法
JP5767441B2 (ja) * 2010-02-25 2015-08-19 日清紡ホールディングス株式会社 有害物質分解材
EP2562860B1 (en) 2010-04-20 2018-04-18 Nisshinbo Holdings Inc. Carbon catalyst for direct fuel cell cathode, and direct fuel cell cathode and direct fuel cell using same
US9118083B2 (en) 2011-01-14 2015-08-25 Showa Denko K.K Method for producing fuel cell electrode catalyst, fuel cell electrode catalyst, and uses thereof
US9692060B2 (en) 2011-05-23 2017-06-27 Teijin Limited Particulate carbon catalyst including nitrogen and metal and method for producing the same
US20150236353A1 (en) * 2012-06-28 2015-08-20 The Royal Institution For The Advancement Of Learning / Mcgill University Fabrication and functionalization of a pure non-noble metal catalyst structure showing time stability for large scale applications
JP6098003B2 (ja) * 2012-07-06 2017-03-22 パナソニックIpマネジメント株式会社 炭素系材料の製造方法
JP6225545B2 (ja) * 2012-08-01 2017-11-08 東洋インキScホールディングス株式会社 炭素触媒造粒体、炭素触媒造粒体の製造方法、及び該炭素触媒造粒体を用いた触媒インキ並びに燃料電池
JP6254431B2 (ja) * 2013-11-29 2017-12-27 日清紡ホールディングス株式会社 アルカリ型燃料電池用炭素触媒及びその製造方法、並びにアルカリ型燃料電池用電極及びアルカリ型燃料電池
US10294129B2 (en) 2013-12-09 2019-05-21 General Electric Company Polymeric-metal composite electrode-based electrochemical device for generating oxidants
KR101558735B1 (ko) * 2014-02-13 2015-10-08 포항공과대학교 산학협력단 무기나노입자를 담지한 수소화 촉매, 이의 제조방법 및 이를 이용한 바이오매스 유래 탄화수소 화합물의 수소화 방법
WO2016057666A1 (en) 2014-10-08 2016-04-14 Energizer Brands, Llc Fluorosurfactant as a zinc corrosion inhibitor
US10205206B2 (en) 2014-10-08 2019-02-12 Energizer Brands, Llc Zinc-air electrochemical cell
WO2016065230A1 (en) 2014-10-23 2016-04-28 Energizer Brands, Llc Zinc anode composition
JP5951055B2 (ja) * 2015-02-11 2016-07-13 株式会社半導体エネルギー研究所 蓄電装置
JP6031207B1 (ja) * 2016-04-27 2016-11-24 大豊精機株式会社 燃料電池及び燃料電池用導電部材
JP6921485B2 (ja) * 2016-05-27 2021-08-18 日清紡ホールディングス株式会社 電池カソード、電池カソード触媒層用組成物及び電池
KR101845786B1 (ko) * 2016-07-21 2018-04-05 현대자동차주식회사 연료전지용 전극의 제조방법 및 그 전극
JP6951623B2 (ja) * 2017-05-25 2021-10-20 日本電信電話株式会社 マグネシウム水電池およびその正極の製造方法
CN115350571B (zh) * 2022-07-18 2023-03-31 哈尔滨工业大学(深圳) 一种一体化气体扩散电极的制备方法
CN115216805A (zh) * 2022-08-03 2022-10-21 碳能科技(北京)有限公司 一种co2电解制合成气电极及其制备方法

Citations (9)

* Cited by examiner, † Cited by third party
Publication number Priority date Publication date Assignee Title
JPH087897A (ja) 1994-06-21 1996-01-12 Toyota Motor Corp 燃料電池の接合体およびその製造方法
JP2002305034A (ja) * 2001-02-01 2002-10-18 Nisshinbo Ind Inc 蓄電デバイス
JP2004185900A (ja) 2002-12-02 2004-07-02 Sanyo Electric Co Ltd 燃料電池用電極、膜・触媒層接合体、燃料電池、およびこれらの製造方法
JP2006253450A (ja) * 2005-03-11 2006-09-21 Nisshinbo Ind Inc 電極用組成物、蓄電デバイス用電極および蓄電デバイス
JP2007049549A (ja) 2005-08-11 2007-02-22 Hitachi Kokusai Electric Inc 相関方法
JP2007134254A (ja) 2005-11-11 2007-05-31 Nissan Motor Co Ltd 燃料電池およびその製造方法
JP2007207662A (ja) * 2006-02-03 2007-08-16 Gunma Univ 燃料電池用電極触媒及びその製造方法並びに該触媒を用いた燃料電池
JP2007311026A (ja) * 2004-07-05 2007-11-29 Gunma Univ 燃料電池用電極触媒及びその製造方法並びに該触媒を用いた燃料電池
JP2007332436A (ja) 2006-06-16 2007-12-27 Nisshinbo Ind Inc 微粒子状の水不溶性又は水難溶性の塩又は塩基の製造方法。

Family Cites Families (8)

* Cited by examiner, † Cited by third party
Publication number Priority date Publication date Assignee Title
US5306579A (en) * 1992-10-30 1994-04-26 Aer Energy Resources, Inc. Bifunctional metal-air electrode
US6780388B2 (en) * 2000-05-31 2004-08-24 Showa Denko K.K. Electrically conducting fine carbon composite powder, catalyst for polymer electrolyte fuel battery and fuel battery
SE0100927D0 (sv) * 2001-03-16 2001-03-16 Kth Holding Ab Oxygen reduction electrode
US6689711B2 (en) * 2001-10-09 2004-02-10 Metallic Power, Inc. Methods of producing oxygen reduction catalyst
JP4908846B2 (ja) * 2002-10-31 2012-04-04 三星電子株式会社 炭素ナノチューブ含有燃料電池電極
JP4041429B2 (ja) * 2003-06-02 2008-01-30 独立行政法人科学技術振興機構 燃料電池用電極およびその製造方法
KR101319377B1 (ko) * 2006-06-14 2013-10-17 삼성에스디아이 주식회사 연료 전지용 촉매, 이를 포함하는 막-전극 어셈블리 및이를 포함하는 연료 전지 시스템
JP2009208061A (ja) * 2008-02-06 2009-09-17 Gunma Univ 炭素触媒及びこの炭素触媒を含むスラリー、炭素触媒の製造方法、ならびに、炭素触媒を用いた燃料電池、蓄電装置及び環境触媒

Patent Citations (9)

* Cited by examiner, † Cited by third party
Publication number Priority date Publication date Assignee Title
JPH087897A (ja) 1994-06-21 1996-01-12 Toyota Motor Corp 燃料電池の接合体およびその製造方法
JP2002305034A (ja) * 2001-02-01 2002-10-18 Nisshinbo Ind Inc 蓄電デバイス
JP2004185900A (ja) 2002-12-02 2004-07-02 Sanyo Electric Co Ltd 燃料電池用電極、膜・触媒層接合体、燃料電池、およびこれらの製造方法
JP2007311026A (ja) * 2004-07-05 2007-11-29 Gunma Univ 燃料電池用電極触媒及びその製造方法並びに該触媒を用いた燃料電池
JP2006253450A (ja) * 2005-03-11 2006-09-21 Nisshinbo Ind Inc 電極用組成物、蓄電デバイス用電極および蓄電デバイス
JP2007049549A (ja) 2005-08-11 2007-02-22 Hitachi Kokusai Electric Inc 相関方法
JP2007134254A (ja) 2005-11-11 2007-05-31 Nissan Motor Co Ltd 燃料電池およびその製造方法
JP2007207662A (ja) * 2006-02-03 2007-08-16 Gunma Univ 燃料電池用電極触媒及びその製造方法並びに該触媒を用いた燃料電池
JP2007332436A (ja) 2006-06-16 2007-12-27 Nisshinbo Ind Inc 微粒子状の水不溶性又は水難溶性の塩又は塩基の製造方法。

Non-Patent Citations (4)

* Cited by examiner, † Cited by third party
Title
RIEKO KOBAYASHI ET AL.: "Kobunshi Kinzoku Sakutai o Mochiita Nenryo Denchi Cathode Shokubai no Chosei", THE ELECTROCHEMICAL SOCIETY OF JAPAN DAI 75 KAI TAIKAI KOEN YOSHISHU, 29 March 2008 (2008-03-29), pages 455, XP008139091 *
See also references of EP2298442A4
T. SHIRASAKI; N. TODO, CATALYST PREPARATION (KODANSHA), 1975
WU GANG ET AL.: "Well-Dispersed High-Loading Pt Nanoparticles Supported by Shell-Core Nanostructured Carbon for Methanol Electrooxidation", LANGMUIR, vol. 24, no. 7, 1 April 2008 (2008-04-01), pages 3566 - 3575, XP008139009 *

Cited By (7)

* Cited by examiner, † Cited by third party
Publication number Priority date Publication date Assignee Title
WO2012014768A1 (ja) 2010-07-29 2012-02-02 日清紡ホールディングス株式会社 燃料電池用電極
US9397347B2 (en) 2010-07-29 2016-07-19 Nisshinbo Holdings Inc. Electrode for use in a fuel cell functioning as a gas diffusion layer and an electrocatalyst layer
JP2013048099A (ja) * 2011-01-14 2013-03-07 Showa Denko Kk 燃料電池用電極触媒の製造方法、燃料電池用電極触媒およびその用途
US9350025B2 (en) 2011-01-14 2016-05-24 Showa Denko K.K. Method for producing fuel cell electrode catalyst, fuel cell electrode catalyst, and uses thereof
WO2012105921A3 (en) * 2011-02-01 2012-11-15 Hidra Enerji Ve Kimya Sanayi Ticaret Limited Sirketi Cation exchange polymer electrolyte membrane with flexible structure and low loss of moisture
JP2017226595A (ja) * 2016-06-15 2017-12-28 国立大学法人東北大学 炭素材料及びその製造方法
JP7092296B2 (ja) 2016-06-15 2022-06-28 国立大学法人東北大学 炭素材料及びその製造方法

Also Published As

Publication number Publication date
JP5320579B2 (ja) 2013-10-23
CA2724513A1 (en) 2009-12-10
US20110143253A1 (en) 2011-06-16
JP2009291714A (ja) 2009-12-17
EP2298442A1 (en) 2011-03-23
EP2298442A4 (en) 2014-05-07
CA2724513C (en) 2016-07-05

Similar Documents

Publication Publication Date Title
JP5320579B2 (ja) ガス拡散電極及びその製造方法、膜電極接合体及びその製造方法、燃料電池部材及びその製造方法、燃料電池、蓄電装置及び電極材
Hosseini et al. High-power positive electrode based on synergistic effect of N-and WO3-decorated carbon felt for vanadium redox flow batteries
Shinde et al. Hierarchically designed 3D holey C2N aerogels as bifunctional oxygen electrodes for flexible and rechargeable Zn-air batteries
JP3608053B2 (ja) 電池用触媒組成物、ガス拡散層及びこれらを備えた燃料電池
JP5269919B2 (ja) 燃料電池用触媒組成物及びその用途
JP5648785B2 (ja) 燃料電池用電極
Liu et al. Porous carbon derived from disposable shaddock peel as an excellent catalyst toward VO2+/VO2+ couple for vanadium redox battery
US20100323272A1 (en) Carbon catalyst, slurry containing the carbon catalyst, process for producing carbon catalyst, and fuel cell, storage device, and environmental catalyst each employing carbon catalyst
CN100557874C (zh) 聚合物超短纤维作为疏水剂的燃料电池膜电极及其制备方法
KR102613534B1 (ko) 바나듐 산화환원 흐름전지용 전극의 제조방법 및 이에 의하여 얻어진 전극을포함하는 바나듐 산화환원 흐름전지
JP6736929B2 (ja) 燃料電池用ペースト組成物、及び燃料電池
JP2010015908A (ja) ガス拡散電極用基材、その製造方法、および膜−電極接合体
KR101118186B1 (ko) 초고용량 커패시터용 전극물질, 이 전극물질을 이용한 초고용량 커패시터 전극 및 그 제조방법
CN108140846B (zh) 燃料电池用膜电极组件及其制造方法以及包括该组件的燃料电池系统
JP3960973B2 (ja) 電池用触媒組成物、ガス拡散層及びこれらを備えた燃料電池
CN107978768A (zh) 一种燃料电池组件及其制备方法
JP2006339018A (ja) 燃料電池用ガス拡散層、およびこの製造方法
WO2002056404A1 (en) Catalyst composition for cell, gas diffusion layer, and fuel cell comprising the same
EP2769429B1 (en) Gas diffusion substrate
CN104659376B (zh) 一种具有气体匀流结构的膜电极及其制备方法
JP2006092920A (ja) 燃料電池及び燃料電池の製造方法
KR100761525B1 (ko) 일체형 기체확산층, 이를 포함하는 전극, 이를 포함하는막전극조립체, 및 이를 포함하는 연료전지
JP2006344449A (ja) 燃料電池用電極及び燃料電池
Rajalakshmi et al. Porous Carbon Materials for Fuel Cell Applications
Liu et al. Xiaodong Tian", Xiao Li", Tao Yang", Kai Wang", Hongbao Wang", Yan Song"

Legal Events

Date Code Title Description
121 Ep: the epo has been informed by wipo that ep was designated in this application

Ref document number: 09758378

Country of ref document: EP

Kind code of ref document: A1

DPE1 Request for preliminary examination filed after expiration of 19th month from priority date (pct application filed from 20040101)
WWE Wipo information: entry into national phase

Ref document number: 2724513

Country of ref document: CA

WWE Wipo information: entry into national phase

Ref document number: 12996395

Country of ref document: US

NENP Non-entry into the national phase

Ref country code: DE

WWE Wipo information: entry into national phase

Ref document number: 2009758378

Country of ref document: EP