WO2009099182A1 - 半導体装置 - Google Patents
半導体装置 Download PDFInfo
- Publication number
- WO2009099182A1 WO2009099182A1 PCT/JP2009/052050 JP2009052050W WO2009099182A1 WO 2009099182 A1 WO2009099182 A1 WO 2009099182A1 JP 2009052050 W JP2009052050 W JP 2009052050W WO 2009099182 A1 WO2009099182 A1 WO 2009099182A1
- Authority
- WO
- WIPO (PCT)
- Prior art keywords
- region
- conductivity type
- type well
- main electrode
- type
- Prior art date
- Legal status (The legal status is an assumption and is not a legal conclusion. Google has not performed a legal analysis and makes no representation as to the accuracy of the status listed.)
- Ceased
Links
Images
Classifications
-
- H—ELECTRICITY
- H10—SEMICONDUCTOR DEVICES; ELECTRIC SOLID-STATE DEVICES NOT OTHERWISE PROVIDED FOR
- H10D—INORGANIC ELECTRIC SEMICONDUCTOR DEVICES
- H10D30/00—Field-effect transistors [FET]
- H10D30/60—Insulated-gate field-effect transistors [IGFET]
- H10D30/64—Double-diffused metal-oxide semiconductor [DMOS] FETs
- H10D30/66—Vertical DMOS [VDMOS] FETs
-
- H—ELECTRICITY
- H10—SEMICONDUCTOR DEVICES; ELECTRIC SOLID-STATE DEVICES NOT OTHERWISE PROVIDED FOR
- H10D—INORGANIC ELECTRIC SEMICONDUCTOR DEVICES
- H10D12/00—Bipolar devices controlled by the field effect, e.g. insulated-gate bipolar transistors [IGBT]
- H10D12/01—Manufacture or treatment
- H10D12/031—Manufacture or treatment of IGBTs
-
- H—ELECTRICITY
- H10—SEMICONDUCTOR DEVICES; ELECTRIC SOLID-STATE DEVICES NOT OTHERWISE PROVIDED FOR
- H10D—INORGANIC ELECTRIC SEMICONDUCTOR DEVICES
- H10D12/00—Bipolar devices controlled by the field effect, e.g. insulated-gate bipolar transistors [IGBT]
- H10D12/01—Manufacture or treatment
- H10D12/031—Manufacture or treatment of IGBTs
- H10D12/032—Manufacture or treatment of IGBTs of vertical IGBTs
-
- H—ELECTRICITY
- H10—SEMICONDUCTOR DEVICES; ELECTRIC SOLID-STATE DEVICES NOT OTHERWISE PROVIDED FOR
- H10D—INORGANIC ELECTRIC SEMICONDUCTOR DEVICES
- H10D12/00—Bipolar devices controlled by the field effect, e.g. insulated-gate bipolar transistors [IGBT]
- H10D12/411—Insulated-gate bipolar transistors [IGBT]
- H10D12/441—Vertical IGBTs
-
- H—ELECTRICITY
- H10—SEMICONDUCTOR DEVICES; ELECTRIC SOLID-STATE DEVICES NOT OTHERWISE PROVIDED FOR
- H10D—INORGANIC ELECTRIC SEMICONDUCTOR DEVICES
- H10D30/00—Field-effect transistors [FET]
- H10D30/01—Manufacture or treatment
- H10D30/021—Manufacture or treatment of FETs having insulated gates [IGFET]
- H10D30/028—Manufacture or treatment of FETs having insulated gates [IGFET] of double-diffused metal oxide semiconductor [DMOS] FETs
- H10D30/0291—Manufacture or treatment of FETs having insulated gates [IGFET] of double-diffused metal oxide semiconductor [DMOS] FETs of vertical DMOS [VDMOS] FETs
-
- H—ELECTRICITY
- H10—SEMICONDUCTOR DEVICES; ELECTRIC SOLID-STATE DEVICES NOT OTHERWISE PROVIDED FOR
- H10D—INORGANIC ELECTRIC SEMICONDUCTOR DEVICES
- H10D62/00—Semiconductor bodies, or regions thereof, of devices having potential barriers
- H10D62/10—Shapes, relative sizes or dispositions of the regions of the semiconductor bodies; Shapes of the semiconductor bodies
- H10D62/17—Semiconductor regions connected to electrodes not carrying current to be rectified, amplified or switched, e.g. channel regions
- H10D62/393—Body regions of DMOS transistors or IGBTs
-
- H—ELECTRICITY
- H10—SEMICONDUCTOR DEVICES; ELECTRIC SOLID-STATE DEVICES NOT OTHERWISE PROVIDED FOR
- H10D—INORGANIC ELECTRIC SEMICONDUCTOR DEVICES
- H10D62/00—Semiconductor bodies, or regions thereof, of devices having potential barriers
- H10D62/80—Semiconductor bodies, or regions thereof, of devices having potential barriers characterised by the materials
- H10D62/83—Semiconductor bodies, or regions thereof, of devices having potential barriers characterised by the materials being Group IV materials, e.g. B-doped Si or undoped Ge
- H10D62/832—Semiconductor bodies, or regions thereof, of devices having potential barriers characterised by the materials being Group IV materials, e.g. B-doped Si or undoped Ge being Group IV materials comprising two or more elements, e.g. SiGe
- H10D62/8325—Silicon carbide
-
- H—ELECTRICITY
- H10—SEMICONDUCTOR DEVICES; ELECTRIC SOLID-STATE DEVICES NOT OTHERWISE PROVIDED FOR
- H10D—INORGANIC ELECTRIC SEMICONDUCTOR DEVICES
- H10D62/00—Semiconductor bodies, or regions thereof, of devices having potential barriers
- H10D62/10—Shapes, relative sizes or dispositions of the regions of the semiconductor bodies; Shapes of the semiconductor bodies
- H10D62/124—Shapes, relative sizes or dispositions of the regions of semiconductor bodies or of junctions between the regions
- H10D62/126—Top-view geometrical layouts of the regions or the junctions
- H10D62/127—Top-view geometrical layouts of the regions or the junctions of cellular field-effect devices, e.g. multicellular DMOS transistors or IGBTs
Definitions
- the present invention relates to a semiconductor device, and more particularly to a semiconductor device using silicon carbide.
- MOSFETs Metal Oxide Semiconductor Field Effect Transistor
- IGBTs Insulated Gate Bipolar Transistors
- SiC silicon carbide
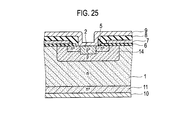
- FIG. 25 shows an example of a structure of a conventional power MOSFET using SiC.
- a conventional power MOSFET an n ⁇ type SiC semiconductor epitaxial layer 1 is provided on the surface of an n + type SiC semiconductor substrate 11.
- a p-type impurity region 14 and an n + -type impurity region 5 are provided in the p-type impurity region 14 with the p + -type impurity region 2 sandwiched in the surface layer portion of the n ⁇ -type SiC semiconductor epitaxial layer 1. .
- the mobility in the channel region decreases as the impurity concentration in the vicinity of the interface between the p-type impurity region 14 and the gate insulating film 6 (channel region) increases. Therefore, in order to reduce the impurity concentration in the vicinity of the surface of the p-type impurity region 14, it is necessary to reduce the impurity ion implantation dose to keep the impurity concentration in the p-type impurity region 14 as a whole low. As a result, punch-through occurs in the p-type impurity region 14 when a reverse voltage is applied. Therefore, there is a problem that a high breakdown voltage cannot be obtained without taking advantage of the original dielectric breakdown electric field of SiC.
- the guard ring, the p-type impurity region, and the n-type impurity region are all formed with different masks, there is a problem that the manufacturing process increases and the yield decreases.
- An object of the present invention is to provide a semiconductor device with improved pressure resistance and capable of simplifying the manufacturing process.
- a substrate comprising silicon carbide and comprising a first main electrode region, and a first conductivity type epitaxial layer comprising silicon carbide and laminated on the surface of the substrate.
- a first conductive type second main electrode region disposed on the surface layer of the epitaxial layer so as to be separated from each other, a second conductive type well contact region sandwiched between the second main electrode regions, and the second A second conductive type well region disposed in contact with the substrate-side surface of the main electrode region and the second conductive type well contact region, and disposed so as to sandwich the second main electrode region and the second conductive type well region
- the second conductivity type well extension region formed on the surface of the second conductivity type well extension region sandwiched between the second main electrode region and the exposed surface portion of the epitaxial layer.
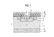
- FIG. 1 is a schematic sectional view of a semiconductor device according to a first embodiment of the present invention.
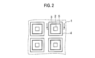
- FIG. 2 is a schematic plan view of FIG. 1.
- BRIEF DESCRIPTION OF THE DRAWINGS It is explanatory drawing of the manufacturing method of the semiconductor device which concerns on the 1st Embodiment of this invention, Comprising: (a) Process drawing which forms the epitaxial layer 1 in the surface of the board
- FIG. 4E is a process diagram in which a gate electrode 7 is formed after the gate insulating film 6 is formed.
- FIG. 5F is a process diagram in which a source electrode 9 is formed after the interlayer insulating layer 8 is formed. The figure which shows the impurity concentration of the depth direction at the time of doping by ion implantation energy 380 keV and dose amount 3.6 * 10 ⁇ 13 > cm ⁇ -2 >.
- the irradiation conditions of an impurity are 300 keV / 1.5 * 10 ⁇ 13 > cm ⁇ -2 > about the 1st step, and about the 2nd step.
- Impurity irradiation conditions are 300 keV / 1.8 * 10 ⁇ 13 > cm ⁇ -2 > about the 1st stage, and about the 2nd stage.
- the irradiation conditions of an impurity are 250 keV / 6.0 * 10 ⁇ 12 > cm ⁇ -2 > about the 1st step, and about the 2nd step.
- the irradiation conditions of an impurity are 300 keV / 6.0 * 10 ⁇ 12 > cm ⁇ -2 > about the 1st stage, and about the 2nd stage.
- the irradiation conditions of an impurity are 250 keV / 1.2 * 10 ⁇ 13 > cm ⁇ -2 > about the 1st step, and about the 2nd step.
- the irradiation conditions of an impurity are 250 keV / 1.5 * 10 ⁇ 13 > cm ⁇ -2 > about the 1st step, and about the 2nd step.
- the irradiation conditions of an impurity are 250 keV / 1.8 * 10 ⁇ 13 > cm ⁇ -2 > about the 1st step, and about the 2nd step.
- the irradiation conditions of an impurity are 200 keV / 8.0 * 10 ⁇ 12 > cm ⁇ -2 > about the 1st step, and about the 2nd step.
- the figure in the case of 300 keV / 4.0 ⁇ 10 12 cm ⁇ 2 It is a figure which shows the simulation result about the semiconductor device which concerns on the 1st Embodiment of this invention, Comprising:
- the irradiation conditions of an impurity are 200 keV / 1.2 * 10 ⁇ 13 > cm ⁇ -2 > about the 1st step, and about the 2nd step.
- FIG. 6 is a schematic plan view of a semiconductor device according to a second embodiment of the present invention. The typical cross-section figure of the semiconductor device which concerns on the 3rd Embodiment of this invention.
- FIG. 6 is a schematic sectional view of a conventional semiconductor device.
- the power MOSFET of the first embodiment includes a substrate 11 made of a first main electrode region containing silicon carbide, and a first conductive made of silicon carbide laminated on the surface of the substrate 11.
- Type epitaxial layer 1 first conductive type second main electrode region 5 disposed separately from the surface layer of epitaxial layer 1, and second conductive type well contact region sandwiched between second main electrode regions 5 2, a second conductive type well region 3 disposed in contact with the substrate 11 side surface of the second main electrode region 5 and the second conductive type well contact region 2, a second main electrode region 5 and a second conductive type well
- the second conductivity type well extension region 4 arranged so as to sandwich the region 3 and the surface of the second conductivity type well extension region 4 sandwiched between the second main electrode region 5 and the surface exposed portion of the epitaxial layer 1 are formed on the surface.
- the second conductive type well region 3 has a second conductive type impurity concentration in the depth direction from the surface of the epitaxial layer 1 toward the substrate 11. , The concentration peak position is deeper than the concentration peak position in the concentration of the second conductivity type impurity included in the second conductivity type well extension region 4.
- the main electrode region means a semiconductor region located at both ends of the main current passage, and the main electrode means a main electrode such as a drain electrode or a source electrode.
- the substrate 11 made of the first main electrode region has the first conductivity type, the first main electrode region is a drain region, the second main electrode region 5 is a source region, and the first main electrode 10 is a drain region.
- the second main electrode 9 is a source electrode.
- the first conductivity type and the second conductivity type are opposite to each other. That is, if the first conductivity type is n-type, the second conductivity type is p-type, and if the first conductivity type is p-type, the second conductivity type is n-type. In the following, the first conductivity type is n-type, and the second conductivity type is p-type.
- Substrate 11 containing silicon carbide (SiC) is made of an n + type SiC semiconductor having a relatively high n-type impurity concentration, and an n-type SiC semiconductor epitaxial layer having an n-type impurity concentration lower than that of substrate 11 on the surface of substrate 11. 1 is arranged.
- FIG. 2 is a plan view showing an example of the structure of each impurity region arranged in the surface layer of the epitaxial layer 1.
- the gate insulating film 6, the gate electrode 7, the interlayer insulating layer 8, and the source electrode 9 are omitted.
- FIG. 1 is a cross-sectional view of a portion along line II in FIG.
- the n + -type source region 5 has a square frame shape in plan view, and the p-type well contact region 2 is disposed so as to be surrounded by the square frame of the n + -type source region 5.
- the p-type well region 3 is disposed in contact with the surface of the n + -type source region 5 and the p-type well contact region 2 on the substrate 11 side, and the p-type well extension region 4 is disposed on the n + -type source region 5 and the p-type well region. It arrange
- the substrate 11 side surface of the p-type well region 3 is deeper from the surface of the epitaxial layer 1 than the surface of the p-type well extension region 4 on the substrate 11 side.
- the depth from the surface of the epitaxial layer 1 is 0.2 to 0.5 ⁇ m for the p-type well contact region 2, 0.05 to 0.1 ⁇ m for the n + -type source region 5, and the p-type well region 3. Is 0.2 to 0.7 ⁇ m, and the p-type well extension region 4 is 0.15 to 0.5 ⁇ m.
- the gate insulating film 6 and the gate electrode 7 are sequentially stacked on the epitaxial layer 1.
- the gate insulating film 6 is made of, for example, silicon oxide (SiO 2 ), and is disposed between the outer peripheral edge of the n + -type source region 5 and the outside of the p-type well extension region 4, and the n + -type source region 5.
- the surface of the epitaxial layer 1 is covered between the outer peripheral edge portion and the outside of the p-type well extension region 4.
- the gate electrode 7 is made of, for example, polycrystalline silicon and connected to an external electrode terminal.
- the interlayer insulating layer 8 is made of, for example, SiO 2 and is disposed so as to cover the gate insulating film 6 and the gate electrode 7, and insulates the source electrode 9 and the gate electrode 7.
- the source electrode 9 is made of a metal such as aluminum (Al), for example, and has a rectangular shape in plan view, for example, and is disposed on the interlayer insulating layer 8. Source electrode 9 is connected to the source contact region including the surface of the inner peripheral edge of n + -type source region 5 and the surface of p-type well contact region 2. The source contact region may be connected via a metal thin film such as Ni.
- the drain electrode 10 is made of, for example, a metal such as Al, and is disposed on the back side of the substrate 11 (on the side opposite to the epitaxial layer 1) so as to entirely cover the back side of the substrate 11.
- a guard ring (not shown) containing a p-type impurity is disposed near the surface of the outer peripheral edge portion of the epitaxial layer 1.
- the concentration of the p-type impurity in the p-type well region 3 is such that the concentration peak position in the depth direction from the surface of the epitaxial layer 1 toward the substrate 11 is the concentration peak in the concentration of the p-type impurity in the p-type well extension region 4. Deeper than position.
- the p-type impurity concentration of the p-type well region 3 has a peak near the deepest portion (boundary portion with the epitaxial layer 1), and continuously and gradually decreases as the surface is approached.
- the peak concentration of the p-type impurity in the p-type well region 3 is 2 ⁇ 10 17 to 3 ⁇ 10 18 cm ⁇ 3 , preferably 4 ⁇ 10 17 to 2 ⁇ 10 18 cm ⁇ 3 .
- the peak position of the p-type impurity concentration is 0.3 to 0.6 ⁇ m, preferably 0.4 to 0.5 ⁇ m.
- the p-type impurity concentration of the p-type well extension region 4 has a peak near the deepest portion (boundary portion with the epitaxial layer 1), and continuously and gradually decreases as the surface is approached.
- the peak concentration of the p-type impurity in the p-type well extension region 4 is 1 ⁇ 10 17 to 2 ⁇ 10 18 cm ⁇ 3 , preferably 5 ⁇ 10 17 to 1 ⁇ 10 18 cm ⁇ 3 .
- the p-type impurity concentration is 1 ⁇ 10 16 cm ⁇ 3 or less, preferably 5 ⁇ 10 15 cm ⁇ 3 or less.
- the peak position of the p-type impurity concentration is 0.2 to 0.5 ⁇ m, preferably 0.3 to 0.4 ⁇ m.
- the p-type well contact region 2 preferably has a higher average concentration of p-type impurities than the p-type well region 3 and the p-type well extension region 4. Since the average concentration of p-type impurities is high, the on-resistance is reduced.
- the operation principle of the power MOSFET according to the first embodiment of the present invention is as follows.
- a positive voltage is applied to the gate electrode 7.
- an inversion layer is formed in the surface layer portion of the p-type well extension region 4 under the gate electrode 7, and the n + -type source region 5 and the epitaxial layer 1 are conducted through the inversion layer.
- current can flow from the drain electrode 10 provided on the back surface of the substrate 11 under the epitaxial layer 1 to the source electrode 9 provided on the surface of the n + -type source region 5. That is, the current can be controlled by the voltage applied to the gate electrode.
- (Production method) 3 and 4 are diagrams illustrating a method for manufacturing a semiconductor device according to the first embodiment of the present invention.
- the method for manufacturing a semiconductor device includes the step of forming a first conductivity type epitaxial layer 1 made of silicon carbide on the surface of a substrate 11 made of a first main electrode region containing silicon carbide. Forming a second conductivity type well extension region 4 by ion-implanting a second conductivity type impurity into the surface layer of the epitaxial layer 1 using the second conductivity type mask; and A step of forming a second conductivity type well region 3 by ion-implanting a second conductivity type impurity into the surface layer of the epitaxial layer 1 and ion implantation of the first conductivity type impurity using a first conductivity type mask. A step of forming a second main electrode region 5 of the first conductivity type.
- an epitaxial layer 1 is formed by epitaxially growing the same n-type SiC semiconductor as the substrate 11 on the surface of the substrate 11 on which the n + -type SiC semiconductor is formed.
- a p-type region forming mask that can also form a guard ring portion at the same time is used to p-type the surface layer portion of the epitaxial layer 1 by ion implantation.
- the p-type well extension region 4 is formed by doping impurities with an irradiation energy of 250 keV and a dose of 1.8 ⁇ 10 13 cm ⁇ 2 .
- Examples of p-type impurities include B, Al, In, and Ga. B or Al is preferably used.
- the depth at which the p-type impurity is formed can be controlled by adjusting the implantation energy. Further, the concentration of the p-type impurity can be controlled by adjusting the dose.
- FIGS. 5 to 9 show examples of the concentration of the obtained impurity concentration in the depth direction from the surface of the epitaxial layer 1 when the implantation energy and the dose amount are changed.
- FIG. 8 is a diagram showing an example of the concentration in the depth direction of the p-type impurity of the p-type well extension region 4 obtained under the above irradiation conditions.
- the concentration peak position is about 0.31 ⁇ m in depth from the surface of the epitaxial layer 1.
- the p-type impurity concentration at the peak position is about 1 ⁇ 10 18 cm ⁇ 3 and about 5 ⁇ 10 15 cm ⁇ 3 near the surface.
- the p-type well region 3 is formed on the surface layer of the epitaxial layer 1 using an n-type source region formation mask, for example, p-type impurities such as Al.
- the film is formed by doping by ion implantation under an irradiation condition of an implantation energy of 380 keV and a dose of 3.6 ⁇ 10 13 cm ⁇ 2 .
- the impurity concentration of the p-type well region 3 is matched, so that punch-through occurring in the vertical direction can be effectively prevented.
- the impurity concentration on the surface is increased, but the mobility is not affected.
- FIG. 5 is a diagram showing an example of the concentration in the depth direction of the p-type impurity of the p-type well region 3 obtained under the above irradiation conditions.
- the concentration peak position is formed at a position where the depth from the surface of the epitaxial layer 1 is deeper than that of the p-type well extension region 4 by increasing the implantation energy. 0.48 ⁇ m.
- the p-type impurity concentration at the peak position is about 2 ⁇ 10 18 cm ⁇ 3 .
- n + -type source regions 5 are formed by ion-implanting n-type impurities by ion implantation using the same n-type source region forming mask.
- the p-type well contact region 2 is formed using a p-type well contact region forming mask.
- n-type impurities examples include N, P, As, and Sb. N or P is preferable.
- the surface of the epitaxial layer 1 is thermally oxidized by a pyrogenic method to form a gate insulating film 6, and then subjected to a low pressure CVD (Chemical Vapor Deposition) method. Crystal silicon is formed, and the gate electrode 7 is formed using photolithography.
- CVD Chemical Vapor Deposition
- a semiconductor device having a p-well structure having a two-stage structure in which the p-type well concentration region and the p-type well extension region 4 have different p-type impurity concentration peak depths can be manufactured.
- FIGS. 11 to 20 show simulation results for the semiconductor device according to the first embodiment of the present invention
- FIGS. 21 and 22 show simulation results for the conventional semiconductor device.
- (A) to (c) in FIGS. 11 to 22 are (a) the acceptor density distribution in two dimensions in the horizontal direction (unit: 10 ⁇ 6 m) and the depth direction (unit: 10 ⁇ 6 m), (b ) Shows the hole density distribution and (c) the current density distribution, and (d) shows that the interface between the n + -type source region 5 and the p-type well extension region 4 is zero on the horizontal axis, and the p-type well extension region starts from the interface.
- the horizontal direction to the 4th side (unit: 10 ⁇ 10 m) and the current density on the vertical axis are shown.
- FIG. 10 is a diagram showing a shape model in the simulation, and FIG. 10A corresponds to the positions in the horizontal direction and the depth direction in FIGS. 11 to 20 (a) to (c).
- FIG. 10B corresponds to the positions in the horizontal direction and the depth direction in FIGS. 21A and 21B.
- the doping of the p-type impurity (acceptor) is performed with different implantation energy and dose amount in the first-stage p-well 4 (p-type well extension region 4) and the second-stage p-well 3 (p-type well region 3). Was performed by irradiation.
- punch-through occurs in the horizontal direction 45 of the first-stage p-well 4 and the vertical direction 35 of the second-stage p-well 3 even at a withstand voltage of 1200 V.
- the current did not flow through the epitaxial layer 1 and showed a high breakdown voltage.
- punch-through occurs under these impurity irradiation conditions.
- the breakdown voltage immediately before the occurrence of punch-through is 120V in FIG. 11, 500V in FIG. 12, 700V in FIG. 13, 200V in FIG. 15, 800V in FIG. 16, 1100V in FIG. Shows pressure resistance.
- a p-well 14 of only one stage is formed with a p-type impurity (acceptor) doping irradiation condition: implantation energy 380 keV, dose amount 1.8 ⁇ 10 13 cm ⁇ 2 .
- punch-through occurred in the lateral direction 41 and the longitudinal direction 51 of the p-well 14 of only one stage at a withstand voltage of 500 V, and current flowed through the epitaxial layer 1.
- the p-well structure has a two-stage structure, and the p-type impurity concentration in the deep part of the first-stage p-well 4 is high, so even when a reverse potential is applied, Punch-through occurring in the lateral direction 45 of the p-well 4 can be suppressed. Further, since the p-type impurity concentration in the deep part of the second-stage p-well 3 is high, punch-through occurring in the vertical direction 35 of the second-stage p-well 3 can be suppressed.
- the p-type impurity concentration in the vicinity of the surface of the first-stage p-well 4 is low, good mobility can be ensured and the on-resistance can be reduced. Can do.
- the breakdown voltage is increased without increasing the manufacturing process.
- a structure can be formed.
- the impurity concentration of the guard ring is set to a desired value even in the manufacturing process in which the first-stage p-well 4 is formed together with the guard ring.
- the density can be set.
- the pressure resistance is improved and the manufacturing process can be simplified.
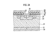
- FIG. 23 is a plan view showing an example of the structure of each impurity region arranged in the surface layer of the epitaxial layer 1.
- the gate insulating film 6, the gate electrode 7, the interlayer insulating layer 8, and the source electrode 9 are omitted.
- FIG. 1 is a cross-sectional view taken along the line II in FIG.
- n + -type source regions 5 are arranged separately from each other in plan view, and n + -type source regions 5 A p-type well contact region 2 is disposed between the two. Since other configurations are the same as those of the first embodiment, description thereof is omitted.
- the semiconductor device manufacturing method according to the second embodiment is different from the manufacturing method according to the first embodiment in the method of forming the n + -type source region 5, and the others are the same as those in the first embodiment. Since it is the same, the overlapping description is omitted.
- the pressure resistance is improved and the manufacturing process can be simplified.
- the IGBT according to the third embodiment includes a substrate 31 made of a first main electrode region containing silicon carbide, and a first conductivity type made of silicon carbide laminated on the surface of the substrate 31.
- a second conductivity type well region 23 disposed in contact with the substrate 31 side surface of the second main electrode region 25 and the second conductivity type well contact region 22, and the second main electrode region 25 and the second conductivity type well region.
- a second conductivity type well extension region 24 disposed so as to sandwich the second conductivity type well extension region 24, and a second conductivity type well extension region sandwiched between the second main electrode region 25 and the exposed surface portion of the epitaxial layer 21.
- a gate electrode 27 disposed on the surface of the region 24 via a gate insulating film 26 and a second main electrode disposed in common contact with the surfaces of the second main electrode region 25 and the second conductivity type well contact region 22 29 and a first main electrode 30 disposed on the back surface opposite to the surface of the substrate 31, and the concentration of the second conductivity type impurity of the second conductivity type well region 23 is from the surface of the epitaxial layer 21 to the substrate 31.
- the concentration peak position is deeper than the concentration peak position in the concentration of the second conductivity type impurity included in the second conductivity type well extension region 24.
- the substrate 31 formed of the first main electrode region has the second conductivity type, the first main electrode region is a collector region, the second main electrode region 25 is an emitter region, and the first main electrode 30 is a collector.
- the second main electrode 29 is an emitter electrode.
- the first conductivity type is n-type
- the second conductivity type is p-type
- the substrate 31 containing silicon carbide (SiC) is made of a p + type SiC semiconductor having a relatively high p type impurity concentration, and an n type SiC semiconductor epitaxial layer 21 is disposed on the surface of the substrate 31.
- n + -type emitter region 25 is arranged so as to be separated from each other in plan view, and a p-type well contact region 22 is arranged between the n + -type emitter region 25.
- the p-type well region 23 is disposed in contact with the surface of the n + -type emitter region 25 and the p-type well contact region 22 on the substrate 31 side, and the p-type well extension region 24 is disposed on the n + -type emitter region 25 and the p-type well region. It arrange
- the substrate 31 side surface of the p-type well region 23 is deeper from the surface of the epitaxial layer 21 than the surface of the p-type well extension region 24 on the substrate 31 side.
- the depth from the surface of the epitaxial layer 21 is 0.2 to 0.5 ⁇ m for the p-type well contact region 22, 0.05 to 0.1 ⁇ m for the n + -type emitter region 25, and the p-type well region 23. 0.2 to 0.7 ⁇ m, and the p-type well extension region 24 is 0.15 to 0.5 ⁇ m.
- the gate insulating film 26 and the gate electrode 27 are sequentially stacked on the epitaxial layer 21.
- the gate insulating film 26 is made of, for example, silicon oxide (SiO 2 ), and is disposed between the outer peripheral edge of the n + -type emitter region 25 and the outside of the p-type well extension region 24, and the n + -type emitter region 25.
- the surface of the epitaxial layer 21 is covered between the outer peripheral edge portion and the outside of the p-type well extension region 24.
- the gate electrode 27 is made of, for example, polycrystalline silicon and connected to an external electrode terminal.
- the interlayer insulating layer 28 is made of, for example, SiO 2 and is disposed so as to cover the gate insulating film 26 and the gate electrode 27, and insulates the emitter electrode 29 and the gate electrode 27.
- the emitter electrode 29 is made of, for example, a metal such as aluminum (Al).
- the emitter electrode 29 has, for example, a square shape in plan view, and is disposed on the interlayer insulating layer 28.
- the emitter electrode 29 is connected to a contact region including the surface of the inner peripheral edge of the n + -type emitter region 25 and the surface of the p-type well contact region 22.
- the contact region may be connected via a metal thin film such as Ni.
- the collector electrode 30 is made of, for example, a metal such as Al, and is disposed on the back side of the substrate 31 (on the side opposite to the epitaxial layer 21) so as to entirely cover the back side of the substrate 31.
- a guard ring (not shown) containing a p-type impurity is disposed near the surface of the outer peripheral edge portion of the epitaxial layer 21.
- the concentration of the p-type impurity in the p-type well region 23 is the same as the concentration of the p-type well region 3 in the first embodiment, and the concentration of the p-type impurity in the p-type well extension region 24 is Since the concentration is the same as that of the p-type well extension region 4 in the first embodiment, the description thereof is omitted.
- a voltage higher than the emitter voltage is applied to the gate electrode 27 with a negative voltage applied to the emitter electrode 29 and a positive voltage applied to the collector electrode 30.
- an inversion layer is formed in the surface layer portion of the p-type well extension region 24 under the gate electrode 27, and electrons are injected from the emitter region 25 through the inversion layer into the substrate 31 and from the substrate 31. Holes are injected into the epitaxial layer 21.
- a current flows from the collector electrode 30 provided on the back surface of the substrate 31 under the epitaxial layer 21 to the emitter electrode 29 provided on the surface of the emitter region 25. This current can be controlled by the voltage applied to the gate electrode 27.
- the semiconductor device manufacturing method according to the third embodiment is different from the manufacturing method according to the first embodiment in the method of forming the substrate 31, and is otherwise the same as in the first embodiment. A duplicate description is omitted.
- the pressure resistance is improved and the manufacturing process can be simplified.
- the first conductivity type has been described as n-type and the second conductivity type as p-type.
- the first conductivity type is p-type and the second conductivity type. May be n-type. Also in this configuration, the same effects as those of the first to third embodiments described above can be obtained.
Landscapes
- Electrodes Of Semiconductors (AREA)
- Insulated Gate Type Field-Effect Transistor (AREA)
Priority Applications (4)
| Application Number | Priority Date | Filing Date | Title |
|---|---|---|---|
| CN2009801044409A CN101939843B (zh) | 2008-02-06 | 2009-02-06 | 半导体装置 |
| US12/866,528 US20110012132A1 (en) | 2008-02-06 | 2009-02-06 | Semiconductor Device |
| EP09707543A EP2242107A4 (en) | 2008-02-06 | 2009-02-06 | SEMICONDUCTOR COMPONENT |
| JP2009552537A JP5693851B2 (ja) | 2008-02-06 | 2009-02-06 | 半導体装置 |
Applications Claiming Priority (2)
| Application Number | Priority Date | Filing Date | Title |
|---|---|---|---|
| JP2008-026973 | 2008-02-06 | ||
| JP2008026973 | 2008-02-06 |
Publications (1)
| Publication Number | Publication Date |
|---|---|
| WO2009099182A1 true WO2009099182A1 (ja) | 2009-08-13 |
Family
ID=40952254
Family Applications (1)
| Application Number | Title | Priority Date | Filing Date |
|---|---|---|---|
| PCT/JP2009/052050 Ceased WO2009099182A1 (ja) | 2008-02-06 | 2009-02-06 | 半導体装置 |
Country Status (5)
| Country | Link |
|---|---|
| US (1) | US20110012132A1 (enExample) |
| EP (1) | EP2242107A4 (enExample) |
| JP (2) | JP5693851B2 (enExample) |
| CN (2) | CN101939843B (enExample) |
| WO (1) | WO2009099182A1 (enExample) |
Cited By (8)
| Publication number | Priority date | Publication date | Assignee | Title |
|---|---|---|---|---|
| JP2012059744A (ja) * | 2010-09-06 | 2012-03-22 | Toshiba Corp | 半導体装置 |
| CN102544091A (zh) * | 2010-12-17 | 2012-07-04 | 浙江大学 | 新型碳化硅mosfet |
| JP2012129492A (ja) * | 2010-11-26 | 2012-07-05 | Mitsubishi Electric Corp | 炭化珪素半導体装置およびその製造方法 |
| JP2013179361A (ja) * | 2013-06-13 | 2013-09-09 | Mitsubishi Electric Corp | 半導体装置 |
| JP2014225713A (ja) * | 2010-04-26 | 2014-12-04 | 三菱電機株式会社 | 半導体装置 |
| JP2016009866A (ja) * | 2014-06-24 | 2016-01-18 | ゼネラル・エレクトリック・カンパニイ | 半導体デバイスのセル型レイアウト |
| CN106098539A (zh) * | 2009-09-07 | 2016-11-09 | 罗姆股份有限公司 | 半导体装置 |
| EP3920237B1 (en) * | 2010-09-17 | 2025-04-09 | Rohm Co., Ltd. | Semiconductor device |
Families Citing this family (12)
| Publication number | Priority date | Publication date | Assignee | Title |
|---|---|---|---|---|
| US8674439B2 (en) | 2010-08-02 | 2014-03-18 | Microsemi Corporation | Low loss SiC MOSFET |
| JP5621621B2 (ja) | 2011-01-24 | 2014-11-12 | 三菱電機株式会社 | 半導体装置と半導体装置の製造方法 |
| US9142662B2 (en) * | 2011-05-06 | 2015-09-22 | Cree, Inc. | Field effect transistor devices with low source resistance |
| US9673283B2 (en) | 2011-05-06 | 2017-06-06 | Cree, Inc. | Power module for supporting high current densities |
| US9029945B2 (en) | 2011-05-06 | 2015-05-12 | Cree, Inc. | Field effect transistor devices with low source resistance |
| JP5995435B2 (ja) | 2011-08-02 | 2016-09-21 | ローム株式会社 | 半導体装置およびその製造方法 |
| US9640617B2 (en) | 2011-09-11 | 2017-05-02 | Cree, Inc. | High performance power module |
| US9373617B2 (en) | 2011-09-11 | 2016-06-21 | Cree, Inc. | High current, low switching loss SiC power module |
| WO2014204491A1 (en) * | 2013-06-21 | 2014-12-24 | Microsemi Corporation | Low loss sic mosfet |
| JP6523887B2 (ja) * | 2015-09-11 | 2019-06-05 | 株式会社東芝 | 半導体装置 |
| US11309416B2 (en) * | 2017-12-21 | 2022-04-19 | Mitsubishi Electric Corporation | Semiconductor device |
| US20210399128A1 (en) * | 2020-06-19 | 2021-12-23 | Cree, Inc. | Power devices with a hybrid gate structure |
Citations (5)
| Publication number | Priority date | Publication date | Assignee | Title |
|---|---|---|---|---|
| JPS61283169A (ja) * | 1985-06-10 | 1986-12-13 | Tdk Corp | 縦形電界効果トランジスタおよびその製造方法 |
| JPH03192772A (ja) * | 1989-12-21 | 1991-08-22 | Nec Corp | 電界効果トランジスタ |
| JPH05259443A (ja) * | 1992-01-16 | 1993-10-08 | Fuji Electric Co Ltd | 絶縁ゲート型半導体装置 |
| JP2000077662A (ja) * | 1998-09-02 | 2000-03-14 | Hitachi Ltd | 半導体スイッチング素子 |
| JP2006303272A (ja) * | 2005-04-22 | 2006-11-02 | Mitsubishi Electric Corp | 半導体装置、及びその製造方法 |
Family Cites Families (11)
| Publication number | Priority date | Publication date | Assignee | Title |
|---|---|---|---|---|
| EP0696054B1 (en) * | 1994-07-04 | 2002-02-20 | STMicroelectronics S.r.l. | Process for the manufacturing of high-density MOS-technology power devices |
| JP3279151B2 (ja) * | 1995-10-23 | 2002-04-30 | トヨタ自動車株式会社 | 半導体装置及びその製造方法 |
| DE69533134T2 (de) * | 1995-10-30 | 2005-07-07 | Stmicroelectronics S.R.L., Agrate Brianza | Leistungsbauteil hoher Dichte in MOS-Technologie |
| JP3240896B2 (ja) * | 1995-11-21 | 2001-12-25 | 富士電機株式会社 | Mos型半導体素子 |
| US6049104A (en) * | 1997-11-28 | 2000-04-11 | Magepower Semiconductor Corp. | MOSFET device to reduce gate-width without increasing JFET resistance |
| JP4123636B2 (ja) * | 1998-06-22 | 2008-07-23 | 株式会社デンソー | 炭化珪素半導体装置及びその製造方法 |
| JP3428459B2 (ja) * | 1998-09-01 | 2003-07-22 | 富士電機株式会社 | 炭化けい素nチャネルMOS半導体素子およびその製造方法 |
| JP4696335B2 (ja) * | 2000-05-30 | 2011-06-08 | 株式会社デンソー | 半導体装置およびその製造方法 |
| JP3997886B2 (ja) * | 2002-10-22 | 2007-10-24 | 日産自動車株式会社 | 炭化珪素半導体装置の製造方法 |
| US7074643B2 (en) * | 2003-04-24 | 2006-07-11 | Cree, Inc. | Silicon carbide power devices with self-aligned source and well regions and methods of fabricating same |
| JP5155536B2 (ja) * | 2006-07-28 | 2013-03-06 | 一般財団法人電力中央研究所 | SiC結晶の質を向上させる方法およびSiC半導体素子の製造方法 |
-
2009
- 2009-02-06 CN CN2009801044409A patent/CN101939843B/zh active Active
- 2009-02-06 JP JP2009552537A patent/JP5693851B2/ja active Active
- 2009-02-06 EP EP09707543A patent/EP2242107A4/en not_active Withdrawn
- 2009-02-06 WO PCT/JP2009/052050 patent/WO2009099182A1/ja not_active Ceased
- 2009-02-06 CN CN201210278267.8A patent/CN102820338B/zh active Active
- 2009-02-06 US US12/866,528 patent/US20110012132A1/en not_active Abandoned
-
2015
- 2015-02-04 JP JP2015019972A patent/JP6055498B2/ja active Active
Patent Citations (5)
| Publication number | Priority date | Publication date | Assignee | Title |
|---|---|---|---|---|
| JPS61283169A (ja) * | 1985-06-10 | 1986-12-13 | Tdk Corp | 縦形電界効果トランジスタおよびその製造方法 |
| JPH03192772A (ja) * | 1989-12-21 | 1991-08-22 | Nec Corp | 電界効果トランジスタ |
| JPH05259443A (ja) * | 1992-01-16 | 1993-10-08 | Fuji Electric Co Ltd | 絶縁ゲート型半導体装置 |
| JP2000077662A (ja) * | 1998-09-02 | 2000-03-14 | Hitachi Ltd | 半導体スイッチング素子 |
| JP2006303272A (ja) * | 2005-04-22 | 2006-11-02 | Mitsubishi Electric Corp | 半導体装置、及びその製造方法 |
Cited By (18)
| Publication number | Priority date | Publication date | Assignee | Title |
|---|---|---|---|---|
| US10319853B2 (en) | 2009-09-07 | 2019-06-11 | Rohm Co., Ltd. | Semiconductor device |
| US12439634B2 (en) | 2009-09-07 | 2025-10-07 | Rohm Co., Ltd. | Semiconductor device |
| US11777030B2 (en) | 2009-09-07 | 2023-10-03 | Rohm Co., Ltd. | Semiconductor device |
| US11610992B2 (en) | 2009-09-07 | 2023-03-21 | Rohm Co., Ltd. | Semiconductor device |
| US11296223B2 (en) | 2009-09-07 | 2022-04-05 | Rohm Co., Ltd. | Semiconductor device |
| US11043589B2 (en) | 2009-09-07 | 2021-06-22 | Rohm Co., Ltd. | Semiconductor device |
| US10804392B2 (en) | 2009-09-07 | 2020-10-13 | Rohm Co., Ltd. | Semiconductor device |
| CN106098539A (zh) * | 2009-09-07 | 2016-11-09 | 罗姆股份有限公司 | 半导体装置 |
| US10546954B2 (en) | 2009-09-07 | 2020-01-28 | Rohm Co., Ltd. | Semiconductor device |
| JP2014225713A (ja) * | 2010-04-26 | 2014-12-04 | 三菱電機株式会社 | 半導体装置 |
| US10062758B2 (en) | 2010-04-26 | 2018-08-28 | Mitsubishi Electric Corporation | Semiconductor device |
| JP2012059744A (ja) * | 2010-09-06 | 2012-03-22 | Toshiba Corp | 半導体装置 |
| EP3920237B1 (en) * | 2010-09-17 | 2025-04-09 | Rohm Co., Ltd. | Semiconductor device |
| US8932944B2 (en) | 2010-11-26 | 2015-01-13 | Mitsubishi Electric Corporation | Silicon carbide semiconductor device manufacturing method |
| JP2012129492A (ja) * | 2010-11-26 | 2012-07-05 | Mitsubishi Electric Corp | 炭化珪素半導体装置およびその製造方法 |
| CN102544091A (zh) * | 2010-12-17 | 2012-07-04 | 浙江大学 | 新型碳化硅mosfet |
| JP2013179361A (ja) * | 2013-06-13 | 2013-09-09 | Mitsubishi Electric Corp | 半導体装置 |
| JP2016009866A (ja) * | 2014-06-24 | 2016-01-18 | ゼネラル・エレクトリック・カンパニイ | 半導体デバイスのセル型レイアウト |
Also Published As
| Publication number | Publication date |
|---|---|
| CN102820338A (zh) | 2012-12-12 |
| EP2242107A4 (en) | 2012-04-25 |
| JPWO2009099182A1 (ja) | 2011-05-26 |
| US20110012132A1 (en) | 2011-01-20 |
| CN102820338B (zh) | 2016-05-11 |
| CN101939843B (zh) | 2012-09-26 |
| JP6055498B2 (ja) | 2016-12-27 |
| JP5693851B2 (ja) | 2015-04-01 |
| EP2242107A1 (en) | 2010-10-20 |
| CN101939843A (zh) | 2011-01-05 |
| JP2015109472A (ja) | 2015-06-11 |
Similar Documents
| Publication | Publication Date | Title |
|---|---|---|
| JP5693851B2 (ja) | 半導体装置 | |
| US8658503B2 (en) | Semiconductor device and method of fabricating the same | |
| JP4938157B2 (ja) | 半導体装置およびその製造方法 | |
| CN104285301B (zh) | 半导体装置及其制造方法 | |
| CN101546781A (zh) | 半导体装置 | |
| WO2010125661A1 (ja) | 半導体装置及びその製造方法 | |
| CN103250254A (zh) | 沟槽栅极功率半导体装置及其制造方法 | |
| WO2013001677A1 (ja) | 半導体装置とその製造方法 | |
| JP2006066439A (ja) | 半導体装置およびその製造方法 | |
| WO2014207793A1 (ja) | 半導体装置およびその製造方法 | |
| WO2017138221A1 (ja) | 炭化珪素半導体装置およびその製造方法 | |
| WO2014083771A1 (ja) | 半導体素子及びその製造方法 | |
| JP2012064741A (ja) | 半導体装置およびその製造方法 | |
| JP4842527B2 (ja) | 半導体装置の製造方法 | |
| TWI605586B (zh) | 橫向雙擴散金屬氧化物半導體元件及其製造方法 | |
| JP5221976B2 (ja) | 半導体装置及びその製造方法 | |
| JP2009290140A (ja) | パワー半導体装置およびパワー半導体装置の製造方法 | |
| CN100561751C (zh) | 无负阻ldmos器件结构及其生产方法 | |
| JP2012104581A (ja) | 半導体装置及びその製造方法 | |
| JP5520024B2 (ja) | 半導体装置、及びその製造方法 | |
| JP5059989B1 (ja) | 半導体装置とその製造方法 | |
| JP6822088B2 (ja) | 炭化珪素半導体装置および炭化珪素半導体装置の製造方法 | |
| JP2009194292A (ja) | 半導体装置及びその製造方法 | |
| JP5046886B2 (ja) | 半導体装置 | |
| JP5784860B1 (ja) | 炭化ケイ素半導体装置 |
Legal Events
| Date | Code | Title | Description |
|---|---|---|---|
| WWE | Wipo information: entry into national phase |
Ref document number: 200980104440.9 Country of ref document: CN |
|
| 121 | Ep: the epo has been informed by wipo that ep was designated in this application |
Ref document number: 09707543 Country of ref document: EP Kind code of ref document: A1 |
|
| WWE | Wipo information: entry into national phase |
Ref document number: 2009552537 Country of ref document: JP |
|
| WWE | Wipo information: entry into national phase |
Ref document number: 12866528 Country of ref document: US |
|
| NENP | Non-entry into the national phase |
Ref country code: DE |
|
| WWE | Wipo information: entry into national phase |
Ref document number: 2009707543 Country of ref document: EP |