RU2412103C2 - Устройство подачи для режущего устройства - Google Patents
Устройство подачи для режущего устройства Download PDFInfo
- Publication number
- RU2412103C2 RU2412103C2 RU2008112686A RU2008112686A RU2412103C2 RU 2412103 C2 RU2412103 C2 RU 2412103C2 RU 2008112686 A RU2008112686 A RU 2008112686A RU 2008112686 A RU2008112686 A RU 2008112686A RU 2412103 C2 RU2412103 C2 RU 2412103C2
- Authority
- RU
- Russia
- Prior art keywords
- web
- feed device
- magnets
- conveyor
- conveyors
- Prior art date
Links
- 238000005520 cutting process Methods 0.000 claims abstract description 66
- 239000000463 material Substances 0.000 claims abstract description 41
- 230000033001 locomotion Effects 0.000 claims description 11
- 238000011144 upstream manufacturing Methods 0.000 claims description 6
- 238000006073 displacement reaction Methods 0.000 claims description 3
- 238000003825 pressing Methods 0.000 claims description 3
- 238000005452 bending Methods 0.000 claims description 2
- 230000005540 biological transmission Effects 0.000 claims 2
- 238000004519 manufacturing process Methods 0.000 abstract description 3
- 230000000694 effects Effects 0.000 abstract description 2
- 239000000126 substance Substances 0.000 abstract 1
- 229910000831 Steel Inorganic materials 0.000 description 5
- 239000010959 steel Substances 0.000 description 5
- 230000000712 assembly Effects 0.000 description 4
- 238000000429 assembly Methods 0.000 description 4
- 238000000034 method Methods 0.000 description 3
- 238000013459 approach Methods 0.000 description 2
- 239000002131 composite material Substances 0.000 description 2
- 230000002787 reinforcement Effects 0.000 description 2
- XAGFODPZIPBFFR-UHFFFAOYSA-N aluminium Chemical compound [Al] XAGFODPZIPBFFR-UHFFFAOYSA-N 0.000 description 1
- 229910052782 aluminium Inorganic materials 0.000 description 1
- 230000001419 dependent effect Effects 0.000 description 1
- 230000026058 directional locomotion Effects 0.000 description 1
- 239000004744 fabric Substances 0.000 description 1
- 238000005259 measurement Methods 0.000 description 1
- 238000004321 preservation Methods 0.000 description 1
- 230000003014 reinforcing effect Effects 0.000 description 1
- 239000003351 stiffener Substances 0.000 description 1
- 238000003860 storage Methods 0.000 description 1
- 239000000725 suspension Substances 0.000 description 1
- 238000004804 winding Methods 0.000 description 1
Images
Classifications
-
- B—PERFORMING OPERATIONS; TRANSPORTING
- B29—WORKING OF PLASTICS; WORKING OF SUBSTANCES IN A PLASTIC STATE IN GENERAL
- B29D—PRODUCING PARTICULAR ARTICLES FROM PLASTICS OR FROM SUBSTANCES IN A PLASTIC STATE
- B29D30/00—Producing pneumatic or solid tyres or parts thereof
- B29D30/06—Pneumatic tyres or parts thereof (e.g. produced by casting, moulding, compression moulding, injection moulding, centrifugal casting)
- B29D30/38—Textile inserts, e.g. cord or canvas layers, for tyres; Treatment of inserts prior to building the tyre
- B29D30/46—Cutting textile inserts to required shape
-
- B—PERFORMING OPERATIONS; TRANSPORTING
- B65—CONVEYING; PACKING; STORING; HANDLING THIN OR FILAMENTARY MATERIAL
- B65H—HANDLING THIN OR FILAMENTARY MATERIAL, e.g. SHEETS, WEBS, CABLES
- B65H20/00—Advancing webs
- B65H20/16—Advancing webs by web-gripping means, e.g. grippers, clips
- B65H20/18—Advancing webs by web-gripping means, e.g. grippers, clips to effect step-by-step advancement of web
-
- B—PERFORMING OPERATIONS; TRANSPORTING
- B65—CONVEYING; PACKING; STORING; HANDLING THIN OR FILAMENTARY MATERIAL
- B65H—HANDLING THIN OR FILAMENTARY MATERIAL, e.g. SHEETS, WEBS, CABLES
- B65H2801/00—Application field
- B65H2801/93—Tyres
-
- Y—GENERAL TAGGING OF NEW TECHNOLOGICAL DEVELOPMENTS; GENERAL TAGGING OF CROSS-SECTIONAL TECHNOLOGIES SPANNING OVER SEVERAL SECTIONS OF THE IPC; TECHNICAL SUBJECTS COVERED BY FORMER USPC CROSS-REFERENCE ART COLLECTIONS [XRACs] AND DIGESTS
- Y10—TECHNICAL SUBJECTS COVERED BY FORMER USPC
- Y10T—TECHNICAL SUBJECTS COVERED BY FORMER US CLASSIFICATION
- Y10T83/00—Cutting
- Y10T83/647—With means to convey work relative to tool station
-
- Y—GENERAL TAGGING OF NEW TECHNOLOGICAL DEVELOPMENTS; GENERAL TAGGING OF CROSS-SECTIONAL TECHNOLOGIES SPANNING OVER SEVERAL SECTIONS OF THE IPC; TECHNICAL SUBJECTS COVERED BY FORMER USPC CROSS-REFERENCE ART COLLECTIONS [XRACs] AND DIGESTS
- Y10—TECHNICAL SUBJECTS COVERED BY FORMER USPC
- Y10T—TECHNICAL SUBJECTS COVERED BY FORMER US CLASSIFICATION
- Y10T83/00—Cutting
- Y10T83/647—With means to convey work relative to tool station
- Y10T83/654—With work-constraining means on work conveyor [i.e., "work-carrier"]
Landscapes
- Engineering & Computer Science (AREA)
- Textile Engineering (AREA)
- Mechanical Engineering (AREA)
- Tyre Moulding (AREA)
- Advancing Webs (AREA)
- Treating Waste Gases (AREA)
- Acyclic And Carbocyclic Compounds In Medicinal Compositions (AREA)
- Confectionery (AREA)
- Treatment Of Fiber Materials (AREA)
- Processing And Handling Of Plastics And Other Materials For Molding In General (AREA)
Abstract
Изобретение относится к средствам подачи материала к режущему устройству и может быть использовано при изготовлении шин. Устройство подачи для режущего устройства содержит первый и второй транспортеры полотна, первую и вторую каретки и направляющие для кареток. Транспортеры разнесены в продольном направлении полотна и прикреплены к кареткам. Первый транспортер расположен впереди по ходу относительно второго транспортера. Транспортеры имеют элементы для зацепления полотна. Транспортер содержит балку. В нижней поверхности балки установлен ряд магнитов. Магниты установлены с возможностью перемещения вверх и вниз относительно полотна. Каретки соединены между собой с возможностью возвратно-поступательного перемещения как одно целое. Направляющие для кареток непрерывны на всем протяжении хода возвратно-поступательного движения. Обеспечивается возможность пошаговой подачи исходного полотна в режущее устройство. Достигается высокая степень точности подачи. 5 н. и 34 з.п. ф-лы, 18 ил.
Description
Изобретение относится к устройству подачи для режущего устройства, предназначенного для резания материала в форме полотна, используемого в изготовлении шин.
Подобное устройство подачи вместе с режущим приспособлением является частью так называемой системы прерывистого резания, в состав которой также могут входить: разматывающая эстакада для полотна материала, разгрузочное устройство для отрезанных кусков полотна, устройство для соединения кусков полотна и наматывающая эстакада для нового, составного полотна.
Материалом полотна обычно является невулканизированная резина со стальными кордами, проходящими в продольном направлении полотна с целью укрепления. Полотно подают в режущее устройство под углом 15-90 градусов и последовательно разрезают на куски в форме параллелограмма. Данные куски разгружают в направлении, параллельном линии разреза, и соединяют по неразрезанным сторонам с помощью устройства для соединения. Таким образом, получается новое полотно, в котором стальные корды расположены под углом к главному направлению полотна.
Устройство подачи пошаговым, прерывистым образом подает исходное полотно в режущее устройство, в котором можно задать длину подачи и угол подачи. Очень большую важность здесь имеют скорость подачи, точность и сохранение формы материала. Любое отклонение формы и положения полотна может сильно повлиять на прочность изготавливаемой шины, и, как следствие - на безопасность.
Широко известно устройство подачи с рольгангом, поддерживающим полотно, и двумя магнитными балками, расположенными над рольгангом: одна из них расположена впереди по ходу, поперек исходного полотна, а другая, наклонная - между последней из упомянутых магнитных балок и режущим устройством. Обе магнитные балки совершают возвратно-поступательное перемещение по парам собственных направляющих. С переднего по ходу конца направляющие для наклонной магнитной балки прикреплены к планке, расположенной перед или над лезвием режущего устройства. Наклонная магнитная балка подвешена на двух втулках, которые могут перемещаться по направляющим. Обе магнитные балки сцеплены друг с другом посредством одной соединительной тяги. В середине режущего устройства имеется кольцо, к которому прикреплена поперечная балка. Данная поперечная балка вместе с двумя направляющими и наклонной магнитной балкой образует конструкцию в виде параллелограмма. При повороте всего устройства подачи данный параллелограмм деформируется сам по себе. При этом передняя по ходу магнитная балка всегда принимает более или менее правильное наклонное положение. Силы инерции препятствуют достижению более высоких скоростей. При наличии множественных сочленений, особенно когда сочленение происходит по четырем точкам поворота, возникает увеличенный люфт. (Составной) параллелограмм склонен к внутренней деформации. В результате данная машина уже не удовлетворяет современным высоким требованиям по точности.
Еще один вариант осуществления описан в европейской патентной заявке 1286903. В нем использовано несколько расположенных рядом конвейерных лент. Конвейерные ленты поддерживают полотно и снабжены магнитами для транспортирования полотна. При повороте устройства подачи их можно укоротить. Однако эта конструкция сложна.
Задачей изобретения является создание устройства подачи, принадлежащего к упомянутому в преамбуле типу, обеспечивающего бульшую степень точности.
Согласно одному из объектов изобретения обеспечено устройство подачи для режущего устройства, предназначенного для резания армированного резинового материала, содержащее первый и второй транспортеры полотна, снабженные элементами для зацепления полотна, причем первый и второй транспортеры разнесены в продольном направлении полотна и прикреплены к первой и второй кареткам, которые соединены друг с другом и могут совершать возвратно-поступательное перемещение, как единое целое, или к обычной подвижной каретке, совершающей возвратно-поступательное перемещение, соответственно, при этом первый транспортер полотна расположен впереди по ходу относительно второго транспортера, а устройство подачи дополнительно содержит направляющие для направления возвратно-поступательного движения каретки (кареток) с обоими транспортерами, причем направляющие для каретки или кареток с обоими транспортерами непрерывны на всем протяжении хода возвратно-поступательного перемещения.
Таким способом можно предотвратить взаимное смещение обоих транспортеров полотна, в результате чего они образуют единое целое, и становится возможным перемещение полотна с помощью транспортеров с малым риском деформации в основной плоскости. Таким образом, обеспечивается надежность обеспечения правильной формы и ориентации полотна, подаваемого в режущее устройство.
Элементы для зацепления полотна в случае наличия стальных армирующих кордов могут действовать с помощью магнитной силы. В случае синтетического армирования можно использовать другие виды элементов для зацепления, например присоски.
В одном из вариантов осуществления направляющие расположены над полотном. Транспортеры полотна могут продолжаться от направляющих вниз.
В одном из вариантов осуществления, где для каждого транспортера предусмотрена своя отдельная каретка, присутствует общий привод для двух кареток, в результате чего дополнительно повышается надежность взаимного расположения кареток.
Если привод для каретки (кареток) содержит серводвигатель, точность смещения транспортеров полотна увеличивается. Привод может дополнительно содержать передачу, состоящую из шпинделя и гайки.
Первый транспортер полотна может быть прикреплен к (первой) каретке с установкой по вертикальной центральной линии, чтобы можно было непосредственно устанавливать угловое положение первого транспортера полотна относительно режущего устройства в горизонтальной плоскости. Путем применения подходящего средства, такого как выдвигающийся и убирающийся зажимной узел, можно закрепить первый транспортер в установленном положении.
Согласно следующему объекту изобретения первый транспортер полотна содержит балку и раму жесткости, расположенную в горизонтальной плоскости и выступающую со стороны балки транспортера, обращенной от режущего устройства. Тем самым обеспечивается удерживание транспортером формы полотна даже при большой длине хода. Жесткость усиливается при изготовлении рамы жесткости как цельного элемента, предпочтительно из пластины. Рама жесткости может содержать полосу, к которой неподвижно прикрепляют балку транспортера.
Дополнительного повышения жесткости можно достичь, если рама жесткости содержит арочный изгиб.
Раму жесткости можно также использовать для зацепления средством закрепления, если таковое имеется.
Исходя из следующего объекта, который может быть независимым, изобретение обеспечивает, чтобы транспортеры полотна содержали балку, в нижней поверхности которой размещен ряд магнитов, причем магниты могут перемещаться вверх и вниз относительно полотна, кроме того, вблизи магнитов присутствуют фиксаторы, прижимающие полотно при перемещении магнитов к полотну и/или от него. Тем самым можно в большой степени препятствовать приподниманию материала полотна, ведущего к его деформированию, во время приближения магнитов к полотну, и/или перемещению материала полотна вместе с магнитами при отодвигании магнитов от полотна, которое может привести к возникновению остаточных деформаций (выпуклостей) в полотне, приводящих к неточностям в готовом изделии.
В простом варианте осуществления фиксаторы установлены на балке транспортера, могут перемещаться вверх и вниз и перемещаются к полотну во время зацепления магнитами полотна или перед этим, и/или от полотна - после того, как магниты отодвигают от полотна.
Процесс отделения магнитов от материала полотна улучшается, когда фиксаторы расположены с нескольких сторон рассматриваемых магнитов, предпочтительно, по меньшей мере, с двух противоположных сторон, предпочтительно продолжаясь вокруг периметра магнитов, предпочтительно - с небольшим зазором.
Еще один объект изобретения обеспечивает наличие в одном или обоих транспортерах полотна балки транспортера, в нижней поверхности которой установлен ряд (постоянных) магнитов, причем магниты имеют продолговатые магнитные поверхности и расположены в балке параллельно, под наклоном к главному направлению балки. Таким образом, по сравнению с круглыми магнитами, можно получить большую силу магнитного поля и при этом обеспечить, чтобы все стальные корды были натянуты по всей ширине полотна. Этот эффект усиливается, если магниты перекрывают друг друга в проекции, расположенной поперек главного направления балки.
Согласно еще одному объекту изобретения обеспечено устройство подачи согласно изобретению, включающее в себя режущее устройство, причем на верхней раме установлены направляющие, которые прикреплены в режущему устройству в области центрального шарнира - таким образом, чтобы осуществлять шарнирный поворот вокруг вертикальной центральной линии, над траекторией движения первого транспортера полотна. Центральный шарнир образует шарнирное соединение, с помощью которого можно поворачивать устройство подачи относительно режущего устройства с целью установления углового положения (в горизонтальной плоскости) устройства подачи относительно лезвия. Таким образом, по сравнению с известной конструкцией в виде параллелограмма, можно получить простое шарнирное соединение между устройством подачи и режущим устройством, причем первый транспортер полотна можно придвинуть ближе к лезвию, в результате чего повышается надежность обеспечения нужного положения и формы разрезаемого материала.
Эти параметры оптимизируются, когда первый транспортер полотна подвижен, и его можно переместить в такое положение, чтобы он упирался в режущее устройство, а особенно - когда транспортер может упираться в держатель лезвия или в подвижное лезвие режущего устройства. Дополнительное преимущество состоит в том, что держатель лезвия может быть использован как вспомогательный элемент для установки углового положения первого транспортера полотна: первый транспортер полотна в этом случае легко можно установить параллельно лезвию.
Согласно следующему объекту изобретения обеспечен сборочный узел, состоящий из режущего устройства и относящегося к нему устройства подачи для полотна армированного резинового материала, содержащего первый и второй транспортеры полотна, причем первый и второй транспортеры разнесены в продольном направлении полотна и подвижны вдоль верхней рамы, в направлении к режущему устройству и от него, при этом верхняя рама прикреплена к режущему устройству таким образом, чтобы шарнирно поворачиваться вокруг вертикальной центральной линии, в определенном месте над траекторией движения первого транспортера, при этом присутствует дополнительное средство для установки углового положения устройства подачи относительно режущего устройства, причем первый транспортер полотна можно установить под нужным углом к верхней раме, поворачивая вокруг вертикальной центральной линии.
Согласно следующему объекту изобретения обеспечено устройство подачи для режущего устройства, предназначенного для резания полотна армированного резинового материала, содержащее первый и второй транспортеры полотна, причем первый и второй транспортеры разнесены в продольном направлении полотна, при этом первый транспортер полотна содержит балку и раму жесткости, расположенную в горизонтальной плоскости и выступающую со стороны балки транспортера, обращенной от режущего устройства.
Если рама жесткости содержит арочный изгиб, то центр этого изгиба может находиться на упомянутой вертикальной центральной линии центрального шарнира, согласно предшествующему варианту осуществления.
Исходя из следующего объекта изобретения обеспечено устройство подачи для режущего устройства, предназначенного для резания полотна армированного резинового материала, содержащее, по меньшей мере, один транспортер полотна, содержащий балку, в нижней поверхности которой размещен ряд магнитов, причем магниты можно перемещать вверх и вниз относительно полотна, и, кроме того, вблизи магнитов присутствуют фиксаторы, прижимающие полотно при перемещении магнитов к полотну и от него.
Согласно следующему объекту изобретения обеспечено устройство подачи для режущего устройства, предназначенного для резания полотна армированного резинового материала, содержащее первый и второй транспортеры полотна, работающие на силе магнитного поля, причем первый и второй транспортеры полотна разнесены в продольном направлении полотна, при этом, по меньшей мере, один транспортер содержит балку, в нижней поверхности которой установлен ряд магнитов с продолговатыми магнитными поверхностями, параллельно расположенных под наклоном к главному направлению балки.
Объекты и признаки, описанные и/или проиллюстрированные в данной заявке, также можно использовать по отдельности. Данные отдельные объекты, такие как возможность установки положения первого транспортера полотна, придание жесткости первому транспортеру полотна, расположение магнитов, наличие фиксатора полотна и др., упомянутые, в частности, в (зависимых) пунктах формулы изобретения, могут являться предметом выделенных патентных заявок, относящихся к данному изобретению.
Далее последует разъяснение сущности изобретения на примере варианта осуществления, представленного на прилагаемых чертежах, на которых:
Фиг.1 - схематичный вид сбоку примера варианта осуществления устройства согласно изобретению.
Фиг.2 - схематичный вид в плане компоновки, представленной на Фиг.1.
Фиг.3 - схематичный вид сбоку возможного варианта узла каретки устройства, представленного на Фиг.1 и 2.
Фиг.4А и 4В - более подробный схематичный вид поворотно-зажимного механизма для передней по ходу магнитной балки в компоновке, представленной на Фиг.1 и 2.
Фиг.5 - схематичный вид в разрезе по линии V на Фиг.3.
На Фиг.6 и 7 показаны два угловых положения устройства, представленного на Фиг.1 и 2.
На Фиг.8А-D последовательно показаны этапы работы магнитной балки согласно предшествующему уровню техники.
На Фиг.9А-Е последовательно показаны этапы работы магнитной балки согласно изобретению.
Фиг.10 - вид в плане магнитной балки.
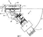
Устройство 1, представленное на Фиг.1 и 2, расположено таким образом, чтобы подавать полосу R резинового материала, снабженного кордами, предпочтительно стальными, в направлении Х подачи. Устройство 1 подачи подает полосу резинового материала в режущее устройство 2, неподвижно установленное впереди по ходу. Режущее устройство 2 содержит неподвижно установленную раму 9, держатель 5 лезвия, который перемещается вверх и вниз (по направлению Е) и содержит лезвие 5а со скошенной режущей кромкой, и неподвижно установленное противолежащее лезвие, не показанное на чертеже, а также не показанный на чертеже конвейер, расположенный впереди по ходу относительно держателя 5 лезвия и разгружаемый на разгрузочный конвейер 10 в направлении J для разгрузки отрезанных кусков резинового материала, корды в котором расположены под углом к режущим кромкам, известным per se образом.
Впереди по ходу относительно лезвия 5 режущее устройство 2 снабжено несъемным столом 28, имеющим край 28а с центром S1, причем большая часть края стола имеет круговую форму. В поверхности стола 28 выполнены отверстия (не показанные на чертежах), соединяемые с источником сжатого воздуха для создания воздушной подушки, несущей полотно резинового материала.
Со стороны подачи устройства 1 размещено приспособление 3 для хранения подаваемого обрабатываемого материала, снабженное не показанным подробно на чертеже рулоном резинового материала, подаваемого в устройство 1 и схематично показанного в виде полотна R.
Приспособление 3 для хранения подаваемого материала связано с устройством 1 подачи таким образом, что их можно перемещать в направлении В как одно целое (см. Фиг.2), посредством шарнирного соединения с режущим устройством 2; данное шарнирное соединение будет обсуждаться далее.
Устройство 1 подачи содержит нижнюю раму 8 и верхнюю раму 4, которые неподвижно соединены друг с другом соединением, не показанным на чертежах. Нижняя рама 8 жесткая во всех направлениях и является опорой для рольганга 6 (см. также вид в плане на Фиг.2). Рольганг 6 присоединен к круглому, по существу, краю 28а стола 28.
Верхняя рама 4 жесткая во всех направлениях и снабжена прямыми непрерывными направляющими 7 (прямыми направляющими), на которых подвешен кареточный узел, состоящий из передней каретки 23а и задней каретки 23b, жестко соединенных между собой соединительной тягой 23с. Каретки 23а, 23b также могут быть выполнены как единое целое - данный вариант осуществления представлен на Фиг.3; в этом случае соединительная тяга 23с отсутствует. Каретки 23а, 23b снабжены подвесками 27, с помощью которых каретки 23а, 23b подвешены на прямых направляющих 7 для прямолинейного направленного перемещения по ним в направлении А. Как видно на Фиг.3 и 5, к каретке 23 (или, в случае наличия двух кареток 23(а, b) - к каретке 23b) прикреплена вертикальная планка 24, которая служит для установки серводвигателя 60. Серводвигатель 60 снабжен зубчатым шкивом 60а, приводимым им в движение, по которому движется зубчатый приводной ремень 62, приводящий в действие зубчатый приводной шкив 63, непосредственно вращающий гайку 26, при этом гайка 26 зацепляется со шпинделем 12, который неподвижно прикреплен к верхней раме 4 посредством кронштейнов 25а, 25b.
Магнитные балки 15 и 16 прикреплены к каретке 23 или к кареткам 23а, 23b. Магнитная балка 16 неподвижно прикреплена к каретке 23, 23b с заднего конца, или сзади по ходу. Магнитная балка 16 продолжается поперек направления А перемещения и снабжена магнитами 32, подвижными относительно магнитной балки 16 в направлении D.
Передняя, или расположенная впереди по ходу, магнитная балка 15 расположена под углом (в горизонтальной плоскости) и прикреплена к каретке 23а или 23. Магнитная балка 15, как дополнительно проиллюстрировано на Фиг.3 и 4(А, В), а также на виде в плане на Фиг.2, прикреплена к раме 30, которая, по существу, изготовлена из одной пластины, например из алюминиевой, и содержит продольную полосу 36, к нижней стороне которой прикреплена магнитная балка 15 - способом крепления, не показанным на чертеже (например, посредством некоторого количества болтов). К нижней стороне полосы 36 прикреплена верхняя полоса 37, также прикрепленная к магнитной балке 15 и придающая планке 30 жесткость. Кроме того, планка 30 содержит полосу 32 с арочным изгибом, к краю которой с целью придания жесткости прикреплена подвешенная полоса 35.
Благодаря планке 30, снабженной полосой 32 с арочным изгибом, обеспечивается жесткость магнитной балки 15, особенно в горизонтальной плоскости, с целью поддержания оптимальной прочности балки.
Планка 30 прикреплена к каретке 23а или 23 посредством оси 38 шарнира и шарнирной опоры 39 с возможностью шарнирного перемещения в горизонтальной плоскости вокруг центральной линии S2 в направлении G. Кронштейн 18 с горизонтальной частью 19 свисает с каретки 23а или 23, причем данная горизонтальная часть поддерживает пневмоцилиндр 17, приводимый в действие магистралью 21 сжатого воздуха. Приведенный в действие пневмоцилиндр 17 раздвигает зажимной узел 33. Затем упомянутый зажимной узел 33 с усилием прижимают к нижней стороне полосы 32 с арочным изгибом. С верхней стороны полосы 33 с арочным изгибом к каретке 23 или 23а прикреплена изогнутая соответствующим образом полоса 34 тормозного узла, при этом полоса 34 тормозного узла расположена напротив мест размещения зажимных узлов 33 и соответствующих работающих на сжатом воздухе цилиндров 17, так что зажимные узлы 33 могут прижимать арочную полосу 32 вверх, к полосе 34 тормозного узла. Таким образом, приводя в действие работающие на сжатом воздухе цилиндры 17, можно закреплять положение планки 30 относительно каретки 23, 23а, что касается направления вращения G. Тем самым закрепляется и угловое положение магнитной балки 15. Следует заметить, что, как видно на Фиг.2, 6 и 7, каретка 23а проходит вбок, за направляющую 7, при этом показаны места расположения тормозных узлов 34 и зажимных узлов 33.
Верхняя рама 4 и нижняя рама 8 прикреплены к режущему устройству 2 с возможностью шарнирного поворота вокруг центральной линии S1 (Фиг.1) в позициях 8а и 61. Прямые направляющие 7 могут продолжаться до самого режущего устройства 2 таким образом, чтобы можно было так разместить магнитную балку 15, чтобы она упиралась в режущее устройство 2. В этом положении центральные линии S1 и S2 предпочтительно совпадают.
Таким способом мы добиваемся того, чтобы магнитная балка 15 могла придвигать полотно резинового материала как можно ближе к лезвию 5, в результате чего ограничивается риск нежелательных деформаций.
Благодаря тому, что магнитная балка 15 упирается в режущее устройство 2, режущее устройство 2 оказывается связанным с магнитной балкой 15, и эту связь можно использовать в начале эксплуатации устройства 1 подачи. Перед началом эксплуатации устройства 1 подачи можно сначала привести каретку 23 или каретки 23а, 23b в отведенное «нулевое» положение, известное в данной области техники, а затем с помощью измерений выявить положение, в котором магнитная балка 15 упирается в режущее устройство 2 благодаря перемещению каретки (кареток). Зная эти два положения, можно точно рассчитать величину хода (используя программу для расчетов, установленную в устройстве управления устройства 1 подачи) каретки при подаче, и устройство управления будет управлять серводвигателем 60, используя результаты данных расчетов.
В случае необходимости изменения угла α (Фиг.6) между направлением А подачи и направлением J разгрузки каретку 23 перемещают в сторону режущего устройства 2, пока магнитная балка 15 не упрется в режущее устройство 2, например в держатель лезвия 5. Затем пневмоцилиндры 17 разгружают, чтобы прекратить прижим к планке 30. Затем, используя не показанные на чертеже средства, сборочный узел, состоящий из устройства 1 подачи и приспособления 3 для хранения подаваемого материала, поворачивают в направлении В вокруг центральной линии S1, пока не будет получено желаемое угловое положение (например, угол β, показанный на Фиг.7). Затем вновь приводят в действие пневмоцилиндры 17, чтобы зафиксировать новое угловое положение магнитной балки. Данные об этом положении вводят в устройство управления устройства подачи, используя их вышеупомянутым способом для управления серводвигателем 60.
Наличие непрерывной прямолинейной направляющей 7 для обеих кареток 23а, 23b или каретки 23, а также фиксация углового положения магнитной балки 15, обеспечивают удержание полотна резинового материала (с использованием магнитов) в местах, надежно удерживающих свои взаимные положения во время движения подачи.
На примере Фиг.8(А-D) и 9(A-E) можно объяснить еще одну особенность магнитной балки согласно изобретению. В устройстве известного уровня техники, проиллюстрированном на Фиг.8(А-D), магнитная балка 15' снабжена корпусом 40', в котором размещены цилиндры 41', поршневые штоки 42' которых снабжены установленными с нижнего конца магнитами 31'. Резиновый материал, расположенный на столе 28, изображен схематично. На Фиг.8А показано нерабочее положение. Магнитная балка 15' всегда находится на расстоянии Х1 над опорной поверхностью стола 28. После того, как магнитная балка 15 сдвигает резиновый материал 50 (Фиг.8 В), магнит 31' вновь отводят (D). Однако из-за воздействия силы магнитного поля резиновый материал стремится сдвинуться, и образуется выпуклость 51. (Поэтому высота Х1 не должна быть слишком большой. Однако недостаток данного способа состоит в том, что во время возвратного хода может происходить контакт магнитных балок с резиновым материалом). И, наконец, напряжение в резиновом материале преодолевает силу магнитного поля, и материал «отлипает» (см. Фиг.8С), однако на нем остается деформированный участок 52. На Фиг.8D показана отведенная магнитная балка 15', готовая к выполнению следующего хода.
Магнитная балка 15 согласно изобретению, представленная на Фиг.9(А-Е), снабжена дополнительным средством в виде фиксатора 43, который перемещается вверх и вниз относительно корпуса 40. Как показано на Фиг.9А и 9В, сначала фиксатор 43 перемещается вниз (G), пока не войдет в контакт с поверхностью резинового материала 50. Затем магнит 30 перемещается вниз (Н). Благодаря тому, что фиксатор 43 доходит до резинового материала, предотвращается возникновение выпуклости в резиновом материале 50 при приближении магнита 31.
По окончании хода транспортирования (Фиг.9С) сначала отводят вверх магнит 31 (D), но фиксатор 43 остается на месте. Затем (Фиг.9D) поднимают вверх, в направлении I, фиксатор 43. В результате резиновый материал остается плоским.
Еще одним следствием препятствования приподниманию резинового материала вместе с магнитом является тот факт, что расстояние Х2 от магнита до опорной поверхности стола 28 может быть больше, чем Х1. В результате предотвращается возможное столкновение возвращающейся магнитной балки 15 с резиновым материалом.
На Фиг.10 проиллюстрирован еще один, особый, аспект, связанный с магнитной балкой 15. Продольное направление магнитной балки 15 обозначено как «S3». Видно, что магниты 31 имеют продолговатую форму и расположены под углом γ к линии S3. В результате можно сильнее приблизить друг к другу последовательно расположенные магниты в направлении S3. Можно даже создать перекрытие S4. Так достигается оптимальное зацепление резинового материала.
Claims (39)
1. Устройство подачи для режущего устройства, предназначенного для резания полотна армированного резинового материала, содержащее первый и второй транспортеры полотна с элементами для зацепления полотна, при этом первый и второй транспортеры полотна разнесены в продольном направлении полотна и прикреплены к первой и второй кареткам, соединенным между собой с возможностью возвратно-поступательного перемещения как одно целое, или прикреплены к обычной каретке, совершающей возвратно-поступательное перемещение соответственно, причем первый транспортер полотна расположен впереди по ходу относительно второго транспортера полотна, при этом устройство подачи дополнительно содержит направляющие для направления каретки или кареток с обоими транспортерами во время возвратно-поступательного перемещения, причем направляющие для каретки или кареток с транспортерами непрерывны на всем протяжении хода возвратно-поступательного перемещения.
2. Устройство подачи по п.1, в котором направляющие расположены над полотном.
3. Устройство подачи по п.1 или 2, в котором транспортеры полотна продолжаются вниз от направляющих.
4. Устройство подачи по п.1, в котором для каждого транспортера полотна - первого и второго - предусмотрены первая и вторая каретки соответственно, дополнительно содержащее общий привод для обеих кареток.
5. Устройство подачи по п.1, в котором привод для каретки или кареток транспортеров полотна содержит серводвигатель.
6. Устройство подачи по п.4, в котором привод содержит передачу «шпиндель-гайка».
7. Устройство подачи по п.5, в котором привод содержит передачу «шпиндель-гайка».
8. Устройство подачи по п.1, в котором первый транспортер полотна прикреплен к первой каретке таким образом, что они установлены по вертикальной центральной линии.
9. Устройство подачи по п.8, содержащее средство закрепления первого транспортера полотна в установленном положении.
10. Устройство подачи по п.9, в котором средство закрепления содержит выдвигающиеся и убирающиеся зажимные узлы.
11. Устройство подачи по п.1, в котором транспортер первого полотна содержит балку и раму жесткости, расположенную в горизонтальной плоскости и выступающую со стороны балки транспортера, обращенной от режущего устройства.
12. Устройство подачи по п.11, в котором рама жесткости выполнена как единое целое, предпочтительно из пластины.
13. Устройство подачи по п.11, в котором рама жесткости содержит полосу, к которой неподвижно прикреплена балка транспортера.
14. Устройство подачи по п.11, в котором рама жесткости содержит арочный изгиб.
15. Устройство подачи по п.11, в котором средство закрепления действует на раму жесткости.
16. Устройство подачи по п.1, в котором, по меньшей мере, один из транспортеров полотна содержит балку, на поверхности нижней стороны которой установлен ряд магнитов, при этом магниты перемещаются вверх и вниз относительно полотна, кроме того, рядом с магнитами присутствуют фиксаторы, прижимающие полотно при приближении магнитов к полотну и удалении их от полотна.
17. Устройство подачи по п.16, в котором фиксаторы опираются на балку транспортера и могут перемещаться вверх и вниз к полотну, когда магниты «зацепляют» полотно или перед этим, и/или от полотна после отвода магнитов от полотна.
18. Устройство подачи по п.16, в котором фиксаторы расположены с нескольких сторон рассматриваемых магнитов, предпочтительно, по меньшей мере, с двух противоположных сторон магнитов, и предпочтительно продолжаются по периметру магнитов, предпочтительно с небольшим зазором.
19. Устройство подачи по п.1, в котором транспортеры полотна содержат балку, снизу которой установлен ряд постоянных магнитов, причем магниты имеют продолговатые магнитные поверхности и размещены в балке параллельно, под наклоном к главному направлению балки.
20. Устройство подачи по п.19, в котором магниты перекрывают друг друга в проекции, поперечной главному направлению балки.
21. Устройство подачи по п.1, включающее в себя режущее устройство, причем на верхней раме установлены направляющие, которые прикреплены к режущему устройству в области центрального шарнира таким образом, чтобы осуществлять шарнирный поворот вокруг вертикальной центральной линии над траекторией движения первого транспортера полотна.
22. Устройство подачи по п.21, в котором первый транспортер полотна подвижен и может упираться в режущее устройство.
23. Устройство подачи по п.22, в котором первый транспортер подвижен и может упираться в держатель подвижного лезвия режущего устройства.
24. Сборочный узел, состоящий из режущего устройства и устройства подачи для полотна армированного резинового материала, содержащий первый и второй транспортеры полотна, причем первый и второй транспортеры разнесены в продольном направлении полотна и подвижны вдоль верхней рамы в направлении к режущему устройству и от него, при этом верхняя рама прикреплена к режущему устройству таким образом, чтобы шарнирно поворачиваться вокруг вертикальной центральной линии, в определенном месте над траекторией движения первого транспортера, при этом присутствует дополнительное средство для установки углового положения устройства подачи относительно режущего устройства, причем первый транспортер полотна в области центрального шарнира можно установить под нужным углом к верхней раме, поворачивая вокруг вертикальной центральной линии.
25. Сборочный узел по п.24, содержащий средство закрепления первого транспортера полотна в установленном положении.
26. Сборочный узел по п.24 или 25, в котором первый транспортер полотна подвижен и может упираться в режущее устройство.
27. Устройство подачи для режущего устройства, предназначенного для резания полотна армированного резинового материала, содержащее первый и второй транспортеры полотна, причем первый и второй транспортеры разнесены в продольном направлении полотна, при этом первый транспортер полотна содержит балку и раму жесткости, расположенную в горизонтальной плоскости, которая выступает со стороны балки транспортера, обращенной от режущего устройства.
28. Устройство подачи по п.27, в котором рама жесткости выполнена как единое целое, предпочтительно из пластины.
29. Устройство подачи по п.27 или 28, в котором рама жесткости содержит полосу, к которой неподвижно прикреплена балка транспортера.
30. Устройство подачи по п.27, в котором рама жесткости содержит арочный изгиб.
31. Устройство подачи по п.27, в котором первый транспортер полотна может быть установлен под нужным углом к направлению полотна с помощью поворота вокруг вертикальной центральной линии.
32. Устройство подачи по п.31, содержащее средство закрепления первого транспортера полотна в установленном положении.
33. Устройство подачи по п.32, в котором средство закрепления содержит убирающиеся и выдвигающиеся зажимные узлы.
34. Устройство подачи по п.30, в котором центр арочного изгиба рамы жесткости находится на вертикальной центральной линии.
35. Устройство подачи для режущего устройства, предназначенного для резания полотна из армированного резинового материала, содержащее, по меньшей мере, один транспортер полотна, содержащий балку, в нижней поверхности которой установлен ряд магнитов, причем магниты можно перемещать вверх и вниз относительно полотна, при этом дополнительно присутствуют фиксаторы, расположенные вблизи магнитов, прижимающие полотно при перемещении магнитов к полотну и/или от него.
36. Устройство подачи по п.35, в котором фиксаторы опираются на балку транспортера, могут перемещаться вперед и вниз и перемещаются к полотну во время «зацепления» полотна магнитами или перед этим, и/или от полотна после отвода магнитов от полотна.
37. Устройство подачи по п.35 или 36, в котором фиксаторы расположены с нескольких сторон рассматриваемых магнитов, предпочтительно, по меньшей мере, с двух противоположных сторон, предпочтительно продолжаясь вокруг периметра магнитов, предпочтительно с небольшим зазором.
38. Устройство подачи для режущего устройства, предназначенного для резания армированного резинового материала, содержащее первый и второй транспортеры полотна, работающие на силе магнитного поля, причем первый и второй транспортеры полотна разнесены в продольном направлении полотна, при этом, по меньшей мере, один из транспортеров содержит балку, в нижней поверхности которой установлен ряд магнитов, имеющих продолговатые магнитные поверхности и расположенных параллельно, причем магниты расположены под наклоном к главному направлению балки.
39. Устройство подачи по п.38, в котором магниты перекрывают друг друга в проекции, поперечной главному направлению балки.
Applications Claiming Priority (2)
| Application Number | Priority Date | Filing Date | Title |
|---|---|---|---|
| NL1029863A NL1029863C2 (nl) | 2005-09-02 | 2005-09-02 | Toevoerder voor snij-inrichting. |
| NL1029863 | 2005-09-02 |
Publications (2)
| Publication Number | Publication Date |
|---|---|
| RU2008112686A RU2008112686A (ru) | 2009-10-10 |
| RU2412103C2 true RU2412103C2 (ru) | 2011-02-20 |
Family
ID=36228758
Family Applications (1)
| Application Number | Title | Priority Date | Filing Date |
|---|---|---|---|
| RU2008112686A RU2412103C2 (ru) | 2005-09-02 | 2006-08-31 | Устройство подачи для режущего устройства |
Country Status (11)
| Country | Link |
|---|---|
| US (1) | US8549969B2 (ru) |
| EP (1) | EP1919811B1 (ru) |
| JP (1) | JP5192379B2 (ru) |
| KR (1) | KR101305883B1 (ru) |
| CN (1) | CN101253115B (ru) |
| AT (1) | ATE544710T1 (ru) |
| BR (1) | BRPI0615417A2 (ru) |
| NL (1) | NL1029863C2 (ru) |
| RU (1) | RU2412103C2 (ru) |
| TW (1) | TWI367814B (ru) |
| WO (1) | WO2007027088A2 (ru) |
Families Citing this family (3)
| Publication number | Priority date | Publication date | Assignee | Title |
|---|---|---|---|---|
| DE102012107215B4 (de) * | 2012-08-07 | 2016-12-01 | Karl Eugen Fischer Gmbh | Vorrichtung zum Überlappspleißen von Cordband |
| DE102013112742A1 (de) * | 2013-11-19 | 2015-05-21 | Karl Eugen Fischer Gmbh | Schneidvorrichtung zum Schneiden eines dünnen und klebrigen Bandes, insbesondere eines Cordbandes |
| NL2034579B1 (en) * | 2023-04-14 | 2024-10-21 | Vmi Holland Bv | Pick-and-place system, tire manufacturing line and method for picking-up a tire component |
Citations (6)
| Publication number | Priority date | Publication date | Assignee | Title |
|---|---|---|---|---|
| SU1377233A1 (ru) * | 1986-03-28 | 1988-02-28 | Украинский Научно-Исследовательский Институт Швейной Промышленности | Устройство дл подачи многослойного настила к вырубочному прессу |
| RU1413838C (ru) * | 1985-12-09 | 1995-08-27 | Омское научно-производственное предприятие "Прогресс" | Устройство для изготовления обрезиненного кордного полотна |
| EP1065043A2 (en) * | 1999-06-28 | 2001-01-03 | The Yokohama Rubber Co., Ltd. | Method and apparatus for producing belt member |
| EP1243404A1 (de) * | 2001-03-20 | 2002-09-25 | Karl Eugen Fischer GmbH Maschinenfabrik | Vorschubeinrichtung, insbesondere für Cordbänder |
| EP1329405A2 (de) * | 2002-01-16 | 2003-07-23 | Karl Eugen Fischer GmbH Maschinenfabrik | Schere zum Schneiden von Bandmaterial mit Schneidwinkelverstelllung |
| EP1286903B1 (en) * | 2000-05-17 | 2004-11-17 | Vmi Epe Holland B.V. | Supply device for supplying rubber material to a cutting device |
Family Cites Families (18)
| Publication number | Priority date | Publication date | Assignee | Title |
|---|---|---|---|---|
| US2767823A (en) * | 1953-01-29 | 1956-10-23 | Beamish Bernard Delacour | Conveyor system |
| DE1255919B (de) * | 1961-11-22 | 1967-12-07 | Continental Gummi Werke Ag | Zufuehrungsvorrichtung mit einer Transportbahn fuer eine mit Drahtseilen verstaerkteKautschukbahn an einer Schraeg- und Querschneideinrichtung |
| DE1260131B (de) * | 1964-06-08 | 1968-02-01 | Continental Gummi Werke Ag | Einrichtung zum Zufuehren einer Bahn oder Platte aus Gummi zu einer Schneidmaschine |
| US3616978A (en) * | 1967-07-26 | 1971-11-02 | Stewarts & Lloyds Ltd | Conveyors |
| JPS5146945B1 (ru) * | 1969-03-25 | 1976-12-11 | ||
| DE1921749A1 (de) * | 1969-04-29 | 1970-11-12 | Continental Gummi Werke Ag | Schraeg- oder Quertrennvorrichtung fuer Bahnen aus parallel nebeneinanderliegenden Drahtseilen |
| JPS529715B2 (ru) * | 1971-11-05 | 1977-03-17 | ||
| US4010664A (en) * | 1976-03-19 | 1977-03-08 | The Goodyear Tire & Rubber Company | Bias ply cutter feed apparatus |
| DE2707917A1 (de) * | 1977-02-24 | 1978-08-31 | Fischer Maschf Karl E | Vorrichtung zum schneiden von beidseitig in gummi eingebetteten stahldrahtlitzen |
| JPS5889294A (ja) | 1981-11-20 | 1983-05-27 | アイシン精機株式会社 | 水平全回転釜の内釜回り止め装置 |
| JPS5889294U (ja) * | 1981-12-07 | 1983-06-16 | 日東電工株式会社 | 角度可変形自動切断装置 |
| JPS6144598A (ja) * | 1984-08-02 | 1986-03-04 | 三菱重工業株式会社 | タイヤコ−ド搬入装置 |
| JPS63230462A (ja) * | 1987-03-19 | 1988-09-26 | Mitsubishi Heavy Ind Ltd | タイヤコ−ド用搬送装置 |
| JP3192838B2 (ja) * | 1993-09-30 | 2001-07-30 | 三菱重工業株式会社 | コード入りタイヤ材料切断装置における切断角度変更方法 |
| JP3207655B2 (ja) * | 1994-02-02 | 2001-09-10 | 三菱重工業株式会社 | バイアスカッタ |
| JP3174683B2 (ja) * | 1994-02-02 | 2001-06-11 | 三菱重工業株式会社 | バイアスカッターのタイヤ構成材料搬入装置 |
| ATE355963T1 (de) * | 2003-02-13 | 2007-03-15 | Michelin Soc Tech | Formgebung und anlegen einer reifengürtellage auf eine haltevorrichtung |
| ES2302136T3 (es) * | 2005-11-04 | 2008-07-01 | Thierry Verroeye | Metodo y dispositivo para la manipulacion de piezas de perfiles, en particular para apilar piezas de perfiles. |
-
2005
- 2005-09-02 NL NL1029863A patent/NL1029863C2/nl not_active IP Right Cessation
-
2006
- 2006-08-31 BR BRPI0615417-4A patent/BRPI0615417A2/pt not_active Application Discontinuation
- 2006-08-31 CN CN2006800319843A patent/CN101253115B/zh not_active Expired - Fee Related
- 2006-08-31 RU RU2008112686A patent/RU2412103C2/ru not_active IP Right Cessation
- 2006-08-31 AT AT06783908T patent/ATE544710T1/de active
- 2006-08-31 EP EP20060783908 patent/EP1919811B1/en not_active Not-in-force
- 2006-08-31 KR KR1020087007982A patent/KR101305883B1/ko not_active Expired - Fee Related
- 2006-08-31 WO PCT/NL2006/000441 patent/WO2007027088A2/en not_active Ceased
- 2006-08-31 US US11/990,590 patent/US8549969B2/en not_active Expired - Fee Related
- 2006-08-31 JP JP2008528972A patent/JP5192379B2/ja not_active Expired - Fee Related
- 2006-09-01 TW TW095132307A patent/TWI367814B/zh not_active IP Right Cessation
Patent Citations (6)
| Publication number | Priority date | Publication date | Assignee | Title |
|---|---|---|---|---|
| RU1413838C (ru) * | 1985-12-09 | 1995-08-27 | Омское научно-производственное предприятие "Прогресс" | Устройство для изготовления обрезиненного кордного полотна |
| SU1377233A1 (ru) * | 1986-03-28 | 1988-02-28 | Украинский Научно-Исследовательский Институт Швейной Промышленности | Устройство дл подачи многослойного настила к вырубочному прессу |
| EP1065043A2 (en) * | 1999-06-28 | 2001-01-03 | The Yokohama Rubber Co., Ltd. | Method and apparatus for producing belt member |
| EP1286903B1 (en) * | 2000-05-17 | 2004-11-17 | Vmi Epe Holland B.V. | Supply device for supplying rubber material to a cutting device |
| EP1243404A1 (de) * | 2001-03-20 | 2002-09-25 | Karl Eugen Fischer GmbH Maschinenfabrik | Vorschubeinrichtung, insbesondere für Cordbänder |
| EP1329405A2 (de) * | 2002-01-16 | 2003-07-23 | Karl Eugen Fischer GmbH Maschinenfabrik | Schere zum Schneiden von Bandmaterial mit Schneidwinkelverstelllung |
Also Published As
| Publication number | Publication date |
|---|---|
| CN101253115A (zh) | 2008-08-27 |
| JP5192379B2 (ja) | 2013-05-08 |
| KR101305883B1 (ko) | 2013-09-06 |
| RU2008112686A (ru) | 2009-10-10 |
| EP1919811A2 (en) | 2008-05-14 |
| WO2007027088A2 (en) | 2007-03-08 |
| CN101253115B (zh) | 2010-08-25 |
| BRPI0615417A2 (pt) | 2011-05-17 |
| WO2007027088A8 (en) | 2008-05-08 |
| NL1029863C2 (nl) | 2007-03-05 |
| JP2009506899A (ja) | 2009-02-19 |
| TWI367814B (en) | 2012-07-11 |
| US20100264189A1 (en) | 2010-10-21 |
| TW200716338A (en) | 2007-05-01 |
| WO2007027088A3 (en) | 2007-05-24 |
| EP1919811B1 (en) | 2012-02-08 |
| ATE544710T1 (de) | 2012-02-15 |
| US8549969B2 (en) | 2013-10-08 |
| KR20080046222A (ko) | 2008-05-26 |
Similar Documents
| Publication | Publication Date | Title |
|---|---|---|
| CN100398249C (zh) | 激光切割装置、激光切割方法和激光切割系统 | |
| EP1727667B1 (en) | Cutting tool | |
| JP4511823B2 (ja) | タイヤの準備プライの製造装置および製造方法 | |
| CN208529260U (zh) | 一种裁断机及裁切成型物料的转移装置 | |
| CN105711123B (zh) | 小角度钢丝帘布裁断机拼接辅助递料装置 | |
| RU2412103C2 (ru) | Устройство подачи для режущего устройства | |
| CN108994166B (zh) | 一种长边压型折弯机 | |
| US20220073309A1 (en) | Folding device for a flat blank | |
| US3935056A (en) | Apparatus for splicing parallelogrammatic pieces of rubber cloth without overlap | |
| US4838538A (en) | Sheet material positioning apparatus | |
| CN110370324B (zh) | 一种包装材料切割装置 | |
| KR101165333B1 (ko) | 차량용 몰딩 컷팅장치 | |
| CN214219020U (zh) | 一种单针机 | |
| JPH07148710A (ja) | 両端ほぞ加工装置 | |
| CN117983890B (zh) | 一种自动化高速立锯 | |
| KR101202056B1 (ko) | 타이어용 고무 스트립 부착장치 | |
| CN113210744A (zh) | 一种钢板切割装置及其钢板切割方法 | |
| CN117206874A (zh) | 一种自动供料的铆压机 | |
| US6153047A (en) | Page binding method and machine | |
| JP2008531437A (ja) | 分断装置を利用して加工用素材を担持し且つ移動させる装置及び方法 | |
| CN221021123U (zh) | 一种纸护角切割装置 | |
| CN117428855B (zh) | 橡胶板等距切割装置及使用方法 | |
| CN218258917U (zh) | 一种产品运输定位机构 | |
| CN210551422U (zh) | 一种包装材料切割装置的切刀往复驱动机构 | |
| KR100487351B1 (ko) | 래디얼타이어 성형시스템 |
Legal Events
| Date | Code | Title | Description |
|---|---|---|---|
| MM4A | The patent is invalid due to non-payment of fees |
Effective date: 20170901 |