RU2367103C2 - Канальная оценка многолучевого сигнала мдкр в приемнике - Google Patents
Канальная оценка многолучевого сигнала мдкр в приемнике Download PDFInfo
- Publication number
- RU2367103C2 RU2367103C2 RU2005129118/09A RU2005129118A RU2367103C2 RU 2367103 C2 RU2367103 C2 RU 2367103C2 RU 2005129118/09 A RU2005129118/09 A RU 2005129118/09A RU 2005129118 A RU2005129118 A RU 2005129118A RU 2367103 C2 RU2367103 C2 RU 2367103C2
- Authority
- RU
- Russia
- Prior art keywords
- multipath
- components
- channel estimates
- multipath components
- signal
- Prior art date
Links
- 238000011156 evaluation Methods 0.000 title abstract 9
- 239000011159 matrix material Substances 0.000 claims abstract description 47
- 238000004891 communication Methods 0.000 claims abstract description 45
- 238000000034 method Methods 0.000 claims abstract description 40
- 230000001934 delay Effects 0.000 claims abstract description 24
- 230000000694 effects Effects 0.000 claims abstract description 17
- 230000002596 correlated effect Effects 0.000 claims abstract description 16
- 238000001914 filtration Methods 0.000 claims abstract 5
- 230000000875 corresponding effect Effects 0.000 claims description 9
- 230000004044 response Effects 0.000 claims description 6
- 238000013461 design Methods 0.000 abstract description 2
- 239000000126 substance Substances 0.000 abstract 1
- 238000010586 diagram Methods 0.000 description 21
- 230000005540 biological transmission Effects 0.000 description 14
- 238000012545 processing Methods 0.000 description 8
- 238000001228 spectrum Methods 0.000 description 6
- 230000001413 cellular effect Effects 0.000 description 4
- 230000006870 function Effects 0.000 description 4
- 230000003321 amplification Effects 0.000 description 3
- 238000005562 fading Methods 0.000 description 3
- 238000003199 nucleic acid amplification method Methods 0.000 description 3
- 230000009467 reduction Effects 0.000 description 3
- 230000001427 coherent effect Effects 0.000 description 2
- 239000002245 particle Substances 0.000 description 2
- 230000011664 signaling Effects 0.000 description 2
- 238000005311 autocorrelation function Methods 0.000 description 1
- 230000015572 biosynthetic process Effects 0.000 description 1
- 238000004364 calculation method Methods 0.000 description 1
- 238000013480 data collection Methods 0.000 description 1
- 238000005516 engineering process Methods 0.000 description 1
- 238000005755 formation reaction Methods 0.000 description 1
- 238000005259 measurement Methods 0.000 description 1
- 230000003287 optical effect Effects 0.000 description 1
- 238000011084 recovery Methods 0.000 description 1
- 230000003595 spectral effect Effects 0.000 description 1
- 238000012546 transfer Methods 0.000 description 1
Images
Classifications
-
- H—ELECTRICITY
- H04—ELECTRIC COMMUNICATION TECHNIQUE
- H04L—TRANSMISSION OF DIGITAL INFORMATION, e.g. TELEGRAPHIC COMMUNICATION
- H04L25/00—Baseband systems
- H04L25/02—Details ; arrangements for supplying electrical power along data transmission lines
- H04L25/0202—Channel estimation
- H04L25/024—Channel estimation channel estimation algorithms
- H04L25/0242—Channel estimation channel estimation algorithms using matrix methods
-
- H—ELECTRICITY
- H04—ELECTRIC COMMUNICATION TECHNIQUE
- H04B—TRANSMISSION
- H04B1/00—Details of transmission systems, not covered by a single one of groups H04B3/00 - H04B13/00; Details of transmission systems not characterised by the medium used for transmission
- H04B1/69—Spread spectrum techniques
- H04B1/707—Spread spectrum techniques using direct sequence modulation
- H04B1/7097—Interference-related aspects
- H04B1/711—Interference-related aspects the interference being multi-path interference
Landscapes
- Engineering & Computer Science (AREA)
- Computer Networks & Wireless Communication (AREA)
- Signal Processing (AREA)
- Physics & Mathematics (AREA)
- Mathematical Physics (AREA)
- Power Engineering (AREA)
- Mobile Radio Communication Systems (AREA)
- Noise Elimination (AREA)
- Monitoring And Testing Of Transmission In General (AREA)
- Radio Transmission System (AREA)
Abstract
Изобретение относится к способам и системам улучшения канальной оценки в системе беспроводной связи. Достигаемый технический результат - создание метода канальной оценки, минимизирующего эффекты многолучевого взаимовлияния. Способ заключается в том, что принимают беспроводный сигнал, который содержит множество многолучевых компонентов, и получают N канальных оценок, где N является любым положительным целым числом больше единицы. Каждая канальная оценка связана со своим многолучевым компонентом. Получение N канальных оценок состоит в том, что фильтруют принимаемый беспроводный сигнал с помощью согласованного фильтра, который согласован с импульсной характеристикой фильтра основной полосы частот передатчика; оценивают N задержек; выполняют дескремблирование псевдослучайным шумом выходного сигнала согласованного фильтра, посредством чего получают N дескремблированных сигналов; и коррелируют каждый из N дескремблированных сигналов с опорным сигналом для получения N канальных оценок; вычисляют многолучевую корреляционную матрицу; вычисляют шумовую ковариационную матрицу; используют указанные матрицы для уменьшения эффектов интерференции между множеством многолучевых компонентов в N канальных оценках; на основе N канальных оценок уменьшают эффекты интерференции между множеством многолучевых компонентов. 4 н. и 15 з.п. ф-лы, 10 ил.
Description
Область техники, к которой относится изобретение
Настоящее изобретение относится в общем к канальной оценке в системах связи, а конкретнее, к системам и способам для улучшения канальной оценки в системе беспроводной связи.
Уровень техники
Системы связи используются для передачи информации от одного устройства к другому. Перед передачей информация кодируется в формат, пригодный для передачи по каналу связи. Беспроводный сигнал, содержащий кодированную информацию, затем передается по каналу связи. Связной приемник используется для приема беспроводного сигнала.
Обычно принимаемый беспроводный сигнал включает в себя множество многолучевых компонентов. Эти многолучевые компоненты являются различными вариантами беспроводного сигнала, которые создаются отражениями от строений и естественных образований. Различные многолучевые компоненты испытывают ухудшение от шумов, когда они проходят по каналу связи. Таким образом, каждый многолучевой компонент включает в себя сигнальный компонент, который соответствует передаваемому сигналу, и шумовой компонент, который не соответствует передаваемому сигналу.
Время от времени канальная оценка используется в связном приемнике. Взаимовлияние между многолучевыми компонентами беспроводного сигнала может усложнить получение точной канальной оценки. Поэтому существует необходимость в улучшенном методе канальной оценки, в котором минимизируются эффекты многолучевого взаимовлияния.
Краткое описание чертежей
Фиг.1 является диаграммой системы связи с расширенным спектром, которая поддерживает нескольких пользователей;
Фиг.2 является блок-схемой базовой станции и мобильной станции в системе связи;
Фиг.3 является блок-схемой, показывающей нисходящую линию связи и восходящую линию связи между базовой станцией и мобильной станцией;
Фиг.4 является блок-схемой каналов в варианте осуществления нисходящей линии;
Фиг.5 является блок-схемой каналов в варианте осуществления восходящей линии;
Фиг.6 является блок-схемой варианта осуществления абонентского блока;
Фиг.7 является функциональной блок-схемой, показывающей передачу беспроводного сигнала;
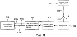
Фиг.8 является функциональной блок-схемой, показывающей прием беспроводного сигнала;
Фиг.9 является функциональной блок-схемой варианта осуществления улучшенного блока канальной оценки; и
Фиг.10 является блок-схемой алгоритма, показывающей вариант осуществления способа улучшения канальной оценки в системе беспроводной связи.
Подробное описание
Слово «примерное» используется здесь исключительно для обозначения «служащее в качестве примера, варианта или иллюстрации». Любой вариант осуществления, описанный здесь как «примерный», не следует обязательно толковать как предпочтительный или преимущественный по отношению к другим вариантам осуществления. Хотя различные аспекты вариантов осуществления представлены на чертежах, эти чертежи не являются необходимыми изображениями для сопоставления, за исключением специально отображенных.
Последующее обсуждение развивает примерные варианты осуществления систем и способов для улучшения канальной оценки путем обсуждения сначала системы беспроводной связи с расширенным спектром. Затем обсуждаются базовая станция и мобильная станция, а также связь между ними. Затем показаны компоненты варианта осуществления абонентского блока. Функциональные блок-схемы показаны и обсуждаются в отношении передачи и приема беспроводных сигналов. Также объяснены подробности, касающиеся улучшенного блока канальной оценки. Затем обсуждается примерный способ для улучшения канальной оценки в системе беспроводной связи.
Заметим, что примерный вариант осуществления обеспечивается в качестве примерного во всем этом обсуждении; однако альтернативные варианты осуществления могут включать в себя различные аспекты без выхода за объем настоящего изобретения. В частности, настоящее изобретение применимо к системе обработки данных, системе беспроводной связи, мобильной сети ИП (IP) (Интернет протокола) и любой другой системе, требующей приема и обработки беспроводного сигнала.
Примерный вариант осуществления использует систему беспроводной связи с расширенным спектром. Системы беспроводной связи широко применяются для обеспечения различных видов связи, таких как речевая передача, передача данных и так далее. Эти системы могут быть основаны на множественном доступе с кодовым разделением каналов (МДКР) (CDMA), множественном доступе с временным разделением каналов (МДВР) (TDMA) или некоторых других методах модуляции. Система МДКР обеспечивает определенные преимущества перед другими типами систем, в том числе с увеличенной пропускной способностью.
Система может быть создана для поддержки одного или нескольких стандартов, таких как «Стандарт совместимости мобильной станции - базовой станции TIA/EIA/IS-95-B для двухрежимной широкополосной сотовой системы с расширенным спектром», именуемый здесь как стандарт IS-95, - стандарт, предложенный консорциумом, называемым «3rd Generation Partnership Project» («Проект сотрудничества третьего поколения»), именуемый здесь как 3GPP и воплощенный в наборе документов, включающем в себя документы №№ 3GPP TS 25.211, 3GPP TS 25.212, 3GPP TS 25.213, 3GPP TS 25.214 и 3GPP TS 25.302, называемый здесь как стандарт Ш-МДКР (Широкополосный МДКР) (W-CDMA), - стандарт, предложенный консорциумом, называемым «3rd Generation Partnership Project 2» («Проект-2 сотрудничества третьего поколения»), именуемый здесь как 3GPP2, и стандарт TR-45.5, именуемый здесь как стандарт cdma2000, ранее называвшийся IS-2000 MC. Стандарты, процитированные выше, являются таким образом намеренно введенными сюда посредством ссылки.
Каждый стандарт конкретно определяет обработку данных для передачи от базовой станции к мобильной станции и наоборот. В качестве примерного варианта осуществления дальнейшее обсуждение рассматривает систему связи с расширенным спектром, совместимую с протоколами стандарта cdma2000. Альтернативные варианты осуществления могут включать в себя другой стандарт.
Системы и способы, описанные здесь, могут быть использованы в системах связи с высокой скоростью передачи данных. Далее по всему обсуждению описывается для ясности конкретная система с высокой скоростью передачи данных. Могут быть осуществлены и альтернативные системы, которые обеспечивают передачу информации на высоких скоростях передачи данных. Для систем связи МДКР, созданных для передачи на высоких скоростях передачи данных, таких как система связи высокой скорости передачи данных (ВСП) (HDR), для передачи на максимальной скорости передачи данных может быть использована схема запроса переменной скорости передачи данных, которая может поддерживать отношение несущая/помеха (Н/П) (C/I). Система связи ВСП обычно создается для согласования с одним или несколькими стандартами, такими как «cdma2000 High Rate Packet Data Air Interface Specification», 3GPP2 C.S0024, версии 2, 27 октября 2000, распространяемой консорциумом «3rd Generation Partnership Project 2». Содержание вышеупомянутого стандарта включено сюда посредством ссылки.
Приемник в примерной системе связи ВСП может использовать схему запроса переменной скорости передачи данных. Приемник может быть реализован на абонентской станции, связанной с наземной сетью передачи данных путем передачи данных по восходящей линии связи к базовой станции (показано ниже). Базовая станция принимает эти данные и передает данные через контроллер базовой станции (КБС) (BSC) (не показан) к наземной сети. Наоборот, передачи к абонентской станции могут проходить из наземной сети к базовой станции через КБС и передаваться из базовой станции абонентскому блоку по нисходящей линии связи.
Фиг.1 служит примером системы 100 связи, которая поддерживает некоторое количество пользователей и способна осуществлять по меньшей мере некоторые аспекты вариантов осуществления, описанных здесь. Любые виды алгоритмов и способов могут быть использованы для планирования передач в системе 100. Система 100 обеспечивает связь для нескольких ячеек 102А-102G, каждая из которых обслуживается соответствующей базовой станцией 104А-104G соответственно. В примерном варианте осуществления некоторые базовые станции 104 имеют множество приемных антенн, а другие имеют только одну приемную антенную. Подобным образом некоторые базовые станции 104 имеют множество передающих антенн, а другие имеют единственную передающую антенну. Не существует ограничений на комбинации передающих антенн и приемных антенн. Поэтому базовая станция 104 может иметь множество передающих антенн и единственную приемную антенну, или иметь множество приемных антенн и единственную передающую антенну, или иметь единственную передающую и приемную антенны или множество передающих и приемных антенн.
Терминалы 106 в области покрытия могут быть неподвижные (то есть стационарные) или подвижные. Как показано на Фиг.1, различные терминалы 106 распределяются по всей системе. Каждый терминал 106 связывается с по меньшей мере одной («Проект сотрудничества третьего поколения»), а возможно - с множеством базовых станций 104 по нисходящей линии связи и восходящей линии связи в данный момент в зависимости от того, например, используется ли мягкая передача обслуживания либо терминал предназначен и работает для (одновременного или последовательного) приема множества передач от множества базовых станций. Мягкая передача обслуживания в системах связи МДКР хорошо известна в уровне техники и подробно описывается в патенте США № 5101501, озаглавленном «Способ и система для обеспечения мягкой передачи обслуживания в сотовой телефонной системе МДКР», права на который принадлежат заявителю по настоящему изобретению.
Нисходящая линия связи относится к передаче от базовой станции 104 к терминалу 106, а восходящая линия связи относится к передаче от терминала 106 к базовой станции 104. В примерном варианте осуществления некоторые терминалы 106 имеют множество приемных антенн, а другие имеют только одну приемную антенну. На Фиг.1 базовая станция 104А передает данные терминалам 106А и 106J по нисходящей линии, базовая станция 104В передает данные терминалам 106В и 106J, базовая станция 104С передает данные терминалу 106С и так далее.
Фиг.2 является блок-схемой базовой станции 202 и мобильной станции 204 в системе 100 связи. Базовая станция 202 имеет беспроводную связь с мобильной станцией 204. Как описывается выше, базовая станция 202 передает сигналы к мобильным станциям 204, которые принимают эти сигналы. В дополнение к этому мобильные станции 204 могут также передавать сигналы к базовой станции 202.
Фиг.3 является блок-схемой базовой станции 202 и мобильной станции 204, показывающей нисходящую линию 302 связи и восходящую линию 304 связи. Нисходящая линия 302 связи относится к передаче от базовой станции 202 к мобильной станции, а восходящая линия 304 связи относится к передаче от мобильной станции 204 к базовой станции 202.
Фиг.4 является блок-схемой каналов в варианте осуществления нисходящей линии 302 связи. Нисходящая линия 302 связи включает в себя пилот-канал 402, канал 404 синхронизации, пейджинговый канал 406 (поискового вызова) и канал 408 трафика. Показанная нисходящая линия 302 связи является только одним возможным вариантом осуществления нисходящей линии 302 связи, и нужно понимать, что другие каналы могут добавляться или удаляться из нисходящей линии 302 связи.
По одному стандарту МДКР, описанному в стандарте совместимости мобильная станция - базовая станция для двухрежимной широкополосной сотовой системы с расширенным спектром TIA/EIA/IS-95-A Ассоциации индустрии телесвязи, каждая базовая станция 202 передает своим пользователям пилот-канал 402, канал 404 синхронизации, пейджинговый канал 406 и прямой канал 408 трафика. Пилот-канал 402 является немодулированным сигналом прямой последовательности с расширенным спектром, передаваемым непрерывно каждой базовой станцией 202. Пилот-канал 402 позволяет каждому пользователю получать тактирование в каналах, передаваемых базовой станцией 202, и обеспечивает эталон для когерентной демодуляции. Пилот-канал 402 также обеспечивает средство для сравнения уровня сигнала между базовыми станциями 202 для определения того, когда нужно произвести мягкую передачу обслуживания (например, при передвижении между ячейками 102) между базовыми станциями 202.
Канал 404 синхронизации передает информацию тактирования и конфигурации системы мобильной станции 204. Пейджинговый канал 406 используется для связи с мобильными станциями 204, когда они не назначаются каналу 408 трафика. Пейджинговый канал 406 используется для передачи поисковых вызовов, то есть уведомлений поступающих вызовов, к мобильным станциям 204. Канал 408 трафика используется для передачи пользовательских данных и речи. Сообщения сигнализации также посылаются по каналу 408 трафика.
Фиг.5 является блок-схемой каналов в варианте осуществления восходящей линии 304 связи. Восходящая линия 304 связи может включать в себя пилот-канал 502, канал 504 доступа и канал 506 трафика. Показанная восходящая линия 304 связи является только одним возможным вариантом осуществления восходящей линии связи, и следует понимать, что другие каналы могут быть добавлены или удалены из восходящей линии 304 связи.
Восходящая линия 304 связи по Фиг.5 включает в себя пилот-канал 502. Предложен повторный вызов этих систем беспроводной радиотелефонной связи третьего поколения (3G), в котором используется восходящая линия 304 связи пилот-канала 502. Например, в ныне предложенном стандарте cdma2000 мобильная станция 204 передает пилот-канал обратной линии связи (ПКОЛ) (R-PIСH), который базовая станция 202 использует для исходного сбора данных, временного слежения, когерентного восстановления эталона в многоотводном приемнике (рейк-приемнике) и измерений управления мощностью. Таким образом, системы и способы, описанные здесь, применимы для пилот-сигналов и на нисходящей линии 302 связи, и на восходящей линии 304 связи.
Канал 504 доступа используется мобильной станцией 204 для связи с базовой станцией 202, когда мобильная станция не имеет назначенного канала 506 трафика. Канал 506 трафика восходящей линии связи используется для передачи пользовательских данных и речи. Сообщения сигнализации также посылаются по каналу 506 трафика восходящей линии связи.
Вариант осуществления мобильной станции 204 показывается в системе 600 абонентского блока, показанной в виде функциональной блок-схемы на Фиг.6. Система 600 включает в себя процессор 602, который управляет работой системы 600. Процессор 602 может также именоваться как ЦП (центральный процессор) (CPU). Память 604, которая может включать в себя как постоянное запоминающее устройство (ПЗУ) (ROM), так и оперативное запоминающее устройство (ОЗУ) (RAM), обеспечивает процессор 602 командами и данными. Часть памяти 604 может также включать в себя энергонезависимое оперативное запоминающее устройство (ЭНОЗУ) (NVRAM).
Система 600, которая обычно реализуется в беспроводном устройстве связи, таком как сотовый телефон, включает в себя также корпус 606, который содержит передатчик 608 и приемник 610, чтобы обеспечить передачу и прием данных, таких как аудиоданные, между системой 600 и удаленным местоположением, таким как сотовый контроллер совокупности базовых станций или базовая станция 202. Передатчик 608 и приемник 610 могут быть объединены в приемопередатчик 612. Антенна 614 прикрепляется к корпусу 606 и электрически связывается с приемопередатчиком 612. Могут быть также использованы дополнительные антенны (не показано). Работа передатчика 608, приемника 610 и антенны 614 общеизвестны в уровне техники, и нет необходимости описывать это здесь.
Система 600 также включает в себя детектор 616 сигнала, используемый для обнаружения и определения уровней сигналов, принимаемых приемопередатчиком 612. Детектор 616 сигнала обнаруживает такие сигналы, как полная мощность, отношения энергии пилот-сигнала на псевдошумовой (ПШ) (PN) элементарный сигнал, спектральную плотность мощности и другие сигналы, которые известны в уровне техники.
Переключатель 626 состояния системы 600 управляет состоянием устройства беспроводной связи на основании текущего состояния и дополнительных сигналов, принимаемых приемопередатчиком 612 и обнаруженных детектором 616 сигнала. Устройство беспроводной связи способно работать в любом из нескольких состояний.
Система 600 также включает в себя системный определитель 628, используемый для управления устройством беспроводной связи и определения того, к какой системе сервисного провайдера должно передать устройство беспроводной связи, когда оно обнаружит, что текущая система сервисного провайдера не годится.
Различные компоненты системы 600 соединяются вместе системной шиной 630, которая может включать в себя шину питания, сигнальную шину управления и сигнальную шину состояния в дополнение к шине данных. Однако, для ясности, различные шины показываются на Фиг.6 как шинная система 630. Система 600 может также включать в себя цифровой процессор 607 сигналов (ЦПС) (DSP) для использования в обработке сигналов. Специалисту будет понятно, что система 600, показанная на Фиг.6, является функциональной блок-схемой, а не перечнем конкретных компонентов.
Способы, описанные здесь, могут быть реализованы в варианте осуществления абонентского блока 600. Раскрытые системы и способы могут также быть реализованы в других системах связи с приемником, таким как базовая станция 202. Если базовая станция 202 используется для реализации раскрытых систем и способов, то функциональная блок-схема на Фиг.6 может быть также использована для описания компонентов в функциональной блок-схеме базовой станции 202.
Фиг.7 является функциональной блок-схемой, показывающей передачу беспроводного сигнала. Функциональная блок-схема на Фиг.7 может быть осуществлена различными компонентами, такими как базовая станция 202 и мобильная станция 204.
Как показано, беспроводный сигнал включает в себя пилот-канал 702 и другие ортогональные каналы 704. Дополнительные неортогональные каналы 706 могут также быть включены в беспроводный сигнал. Примерные неортогональные каналы включают в себя канал синхронизации (КС) (SCH), каналы, скремблированные вторичным кодом скремблирования (ВКС) (SSC) в ШМДКР, и каналы, расширенные квазиортогональными последовательностями (КОП) (QOS) в cdma2000.
Ортогональные каналы подаются в компонент 708 ортогонального расширения. И ортогональные, и неортогональные каналы затем подаются в компонент 710 канального усиления, который добавляет усиление для канала. Выходные сигналы из компонентов 710 канального усиления суммируются, как показано сумматором 712. Как показано на Фиг.7, неортогональные каналы могут быть с разделением по времени. В других вариантах осуществления один или более ортогональных каналов могут быть обеспечены временным мультиплексированием 711 (ВМ) (TDM).
Неортогональные каналы 706 не имеют ортогональных расширяемых компонентов. Некоторые неортогональные каналы 706 (например, канал синхронизации) могут быть обеспечены непосредственно в компоненте 710 канального усиления. Другие неортогональные каналы 706 (например, каналы, расширенные квазиортогональными последовательностями в cdma2000) расширяются неортогональным образом, а затем подаются в компонент 710 канального усиления. Выходные сигналы компонентов 710 канального усиления суммируются в сумматоре 712.
Просуммированный сигнал подается в компонент 714 скремблирования псевдослучайным шумом (ПСШ) (PN). Фильтр 716 основной полосы частот берет выходной сигнал из компонента 714 скремблирования ПСШ и подает фильтрованный выходной сигнал 723 в передатчик 718. Передатчик 718 включает в себя антенну 720. Передаваемый сигнал 721 затем поступает в радиоканал 722.
Фиг.8 является функциональной блок-схемой, показывающей прием беспроводного сигнала 801. Приемник 802 принимает беспроводный сигнал 801 за счет использования антенны 804. Принимаемый беспроводный сигнал включает в себя множество многолучевых компонентов. Каждый из многолучевых компонентов включает в себя сигнальный компонент, который соответствует передаваемому сигналу 721, и шумовой компонент, который не соответствует передаваемому сигналу 721.
Принимаемый беспроводный сигнал 801 подается в согласованный фильтр 805, который согласован с импульсной характеристикой фильтра 716 основной полосы частот. Выходной сигнал 806 согласованного фильтра 805 предназначен для блока 808 расширенной канальной оценки. Блок 808 расширенной канальной оценки вычисляет множество расширенных канальных оценок 810. Каждая из расширенных канальных оценок 810 соответствует различным многолучевым компонентам принимаемого беспроводного сигнала 801. Расширенные канальные оценки 810 расширяются в отношении канальных оценок, вычисленных с помощью известных методов. В частности, расширенные канальные оценки вычисляются так, чтобы минимизировать эффекты взаимовлияния между множеством многолучевых компонентов (многолучевая интерференция). Вариант осуществления блока 808 расширенной канальной оценки будет описываться ниже.
Расширенные канальные оценки 810 затем подаются в компонент 812 дальнейшей обработки для дальнейшей обработки. В одном варианте осуществления расширенные канальные оценки 810 используются в эквалайзере. В другом варианте осуществления расширенные канальные оценки 810 используются в многоотводном приемнике.
Фиг.9 является блок-схемой, показывающей логические компоненты в варианте осуществления блока 908 расширенной канальной оценки. Блок 908 расширенной канальной оценки включает в себя блок 902 оценки задержки. Блок 902 оценки задержки оценивает N задержек 904, где N является любым положительным целым числом больше единицы. Каждая из N задержек 904 соответствует различным многолучевым компонентам в принимаемом беспроводном сигнале 801.
Как описано выше, системы и способы, раскрытые здесь, могут быть реализованы в системе беспроводной связи, которая использует методы МДКР. В такой системе беспроводной связи каждый многолучевой компонент в принимаемом сигнале 801 включает в себя множество элементарных сигналов. Каждый элементарный сигнал занимает некоторую длительность времени, определенную скоростью элементарных сигналов. В некоторых вариантах осуществления по меньшей мере некоторые из многолучевых компонентов в принимаемом беспроводном сигнале 801 отделяются один от другого меньше, чем на длительность элементарного сигнала. В таких вариантах осуществления по меньшей мере некоторые из N задержек 904 также отделяются одна от другой меньше, чем на длительность элементарного сигнала.
Блок 908 расширенной канальной оценки также включает в себя N ПСШ дескремблеров 906, которые выполняют ПСШ дескремблирование над выходным сигналом 806 согласованного фильтра 805. Таким образом, ПСШ дескремблирование выполняется N раз на выходном сигнале 806 согласованного фильтра 805, и получается N дескремблированных сигналов 912. Каждый ПСШ дескремблер 905 выравнивает сигналы и дескремблированную последовательность на основании задержки 904 перед проведением дескремблирования.
Блок 908 расширенной канальной оценки также включает в себя множество корреляторов 914, которые коррелируют один из N дескремблированных сигналов 912 с опорным сигналом 916 для получения канальной оценки 918. Как показано, получаются N канальных оценок 918. Каждая канальная оценка 918 соответствует отличному многолучевому компоненту в принимаемом беспроводном сигнале 801. В одном варианте осуществления опорный сигнал 916 включает в себя только пилот-канал 402. В другом варианте осуществления опорный сигнал 916 включает в себя пилот-канал 402 и канал 408 трафика. В другом варианте осуществления опорный сигнал 916 включает в себя пилот-канал 402, канал 408 трафика и оценку отношения между каналом 408 трафика и пилот-каналом 402.
Блок 908 расширенной канальной оценки также включает в себя компонент 920 матричного вычисления. Этот компонент 920 матричного вычисления вычисляет многолучевую корреляционную матрицу 922 и шумовую ковариационную матрицу 924. Как упомянуто ранее, принимаемый беспроводный сигнал 801 включает в себя множество многолучевых компонентов. Многолучевая корреляционная матрица 922 включает в себя информацию о том, как сигнальные компоненты во множестве компонентов коррелируются друг с другом. Шумовая ковариационная матрица 924 включает в себя информацию о том, как шумовые компоненты во множестве многолучевых компонентов коррелируются друг с другом. N задержек 904, N канальных оценок 918 и опорный сигнал 916 используются для вычисления как многолучевой корреляционной матрицы 922, так и шумовой ковариационной матрицы 924.
Блок 908 расширенной канальной оценки также включает в себя компонент 926 снижения многолучевой интерференции. Как описывалось ранее, многолучевые компоненты в принимаемом беспроводном сигнале 801 могут интерферировать друг с другом. Компонент 926 снижения многолучевой интерференции использует многолучевую корреляционную матрицу 922 и шумовую ковариационную матрицу для уменьшения эффектов этой многолучевой интерференции на N канальных оценках 918. Таким образом, получается N расширенных канальных оценок 810.
Со ссылкой на Фиг.7-9 далее обеспечивается математическое описание и известные аналоги различных математических формул, которые могут быть использованы.
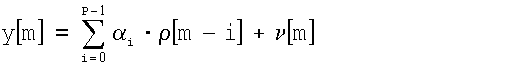
Канальные оценки 918 могут быть записаны, как показано в уравнении (1). Параметр ρ в уравнении (1) является фильтром 716 основной полосы частот автокорреляционной функции.
В матричном обозначении канальные оценки 918 могут быть записаны, как показывает формула (2). Параметр А в формуле (2) является многолучевой корреляционной матрицей 922. Параметр α в формуле (2) является вектором коэффициента замираний. Параметр v в формуле (2) является шумовым вектором.
В одном варианте осуществления снижение эффекта многолучевой интерференции в N канальных оценках 918 включает в себя вычисление оценки вектора коэффициента замираний. Это вычисление может быть выполнено компонентом 926 снижения многолучевой интерференции. Оценка вектора коэффициента замираний может быть записана, как показано в формуле (3). Параметр А в формуле (3) является многолучевой корреляционной матрицей 922. Параметр Λ в формуле (3) является шумовой ковариационной матрицей 924.
Фиг.10 является блок-схемой алгоритма способа 1000 для улучшения канальной оценки в системе беспроводной связи. Способ 1000 начинается в 1002, когда принимается 1004 беспроводный сигнал 801. Как описывалось ранее, беспроводный сигнал 801 включает в себя множество многолучевых компонентов. Каждый многолучевой компонент включает в себя сигнальный компонент, который соответствует передаваемому сигналу 721, и шумовой компонент, который не соответствует передаваемому сигналу 721.
Принимаемый беспроводный сигнал 801 затем фильтруется 1006 с помощью согласованного фильтра 805, который согласован с импульсной характеристикой фильтра 716 основной полосы частот. Способ 1000 затем включает в себя оценку 1008 N задержек 904, где N является любым положительным целым числом. Каждая из N задержек 904 соответствует различным многолучевым компонентам в принимаемом беспроводном сигнале 801. Затем выполняется 1010 ПСШ дескремблирование на выходном сигнале 806 согласованного фильтра 805, один раз после каждой из различных задержек 904, оцененных на этапе 1008. Таким образом, получается N дескремблированных сигналов 912.
Каждый из N дескремблированных сигналов 912 затем коррелируется 1012 с опорным сигналом 916 для получения N канальных оценок 918. Каждая из N канальных оценок 918 соответствует отличному многолучевому компоненту в принимаемом сигнале 801.
Способ 1000 затем включает в себя вычисление 1014 многолучевой корреляционной матрицы 922 и шумовой ковариационной матрицы 924. Как описывалось ранее, многолучевая корреляционная матрица 922 включает в себя информацию о том, как сигнальные компоненты во множестве многолучевых компонентов коррелируются друг с другом. Шумовая ковариационная матрица 924 включает в себя информацию о том, как шумовые компоненты во множестве многолучевых компонентов коррелируют друг с другом. N задержек 904, N оценок 918 канала и опорный сигнал 916 используются для вычисления многолучевой корреляционной матрицы 922 и шумовой ковариационной матрицы 924.
Как упоминалось ранее, многолучевые компоненты в принимаемом беспроводном сигнале 801 могут интерферировать друг с другом. Многолучевая корреляционная матрица 922 и шумовая ковариационная матрица 924 затем используются для снижения 1016 эффектов этой многолучевой интерференции в N оценках 918 канала. Таким образом, получается N расширенных канальных оценок 810. Эти N расширенных канальных оценок 810 могут быть использованы для дальнейшей обработки 1018, а способ 1000 может быть затем закончен 1020.
Специалисту будет понятно, что информация и сигналы могут быть представлены с помощью большого разнообразия технологий и методов. Например, данные, команды, информация, сигналы, биты, символы и элементарные сигналы, на которые могут быть ссылки по всему вышеприведенному описанию, могут быть представлены напряжениями, токами, электромагнитными волнами, магнитными полями или частицами, оптическими полями или частицами или любыми их комбинациями.
Специалисту будет далее понятно, что различные показанные логические блоки, модули, схемы и этапы алгоритма, описанные вместе с раскрытыми здесь вариантами осуществления, могут быть осуществлены электронным аппаратным обеспечением, компьютерным программным обеспечением или их комбинациями. Чтобы ясно проиллюстрировать эту взаимозаменяемость аппаратного и программного обеспечения, различные иллюстративные компоненты, блоки, модули, схемы и этапы описаны выше в основном с точки зрения их функций. Воплощены ли такие функции как аппаратное обеспечение либо как программное обеспечение, зависит от частного применения и конструктивных ограничений, наложенных на всю систему. Специалисты могут осуществить описанные функции различными путями для каждого конкретного применения, но такие решения по осуществлению не должны интерпретироваться как влекущие отход от объема настоящего изобретения.
Различные показанные логические блоки, модули и схемы, описанные в связи с раскрытыми здесь вариантами осуществления, могут быть реализованы или выполнены процессором общего назначения, цифровым процессором сигналов (ЦПС) (DSP), проблемно-ориентированной интегральной микросхемой (ПОИМ) (ASIC), программируемой пользователем матрицей вентилей (ППМВ) (FPGA) или другим программируемым логическим устройством, дискретным вентилем или транзисторной логикой, дискретными аппаратными компонентами или их комбинациями, спроектированными для выполнения описанных здесь функций. Процессор общего назначения может быть микропроцессором, но в качестве альтернативы этот процессор может быть любым стандартным процессором, контроллером, микроконтроллером или конечным автоматом. Процессор может также быть реализован как комбинация вычислительных устройств, например, комбинация ЦПС и микропроцессора, множество микропроцессоров, один или несколько микропроцессоров вместе с ядром ЦПС или любая иная такая конфигурация.
Этапы способа или алгоритма, описанные в связи с раскрытыми здесь вариантами осуществления, могут быть реализованы непосредственно в аппаратном обеспечении, в исполняемом процессором программном модуле или в их сочетании. Программный модуль может находиться в памяти ОЗУ, флэш-памяти, памяти ПЗУ, памяти СППЗУ (стираемое программируемое постоянное запоминающее устройство) (EPROM), памяти ЭСППЗУ (электрически стираемое программируемое постоянное запоминающее устройство) (EEPROM), регистрах, жестком диске, сменном диске, компакт-диске или в любой другой форме носителя памяти, известной в уровне техники. Примерный носитель информации связан с процессором, так что процессор может считывать информацию с этого носителя информации и записывать информацию на носитель информации. В качестве альтернативы носитель информации может быть неделим с процессором. Процессор и носитель информации могут находиться в ПОИМ. ПОИМ может находиться в пользовательском терминале. В качестве альтернативы процессор и носитель информации могут находиться в качестве дискретных компонентов в пользовательском терминале.
Способы, раскрытые здесь, содержат один или более этапов или действий для достижения описанного способа. Этапы и/или действия способа могут обменяться местами один с другим без отхода от объема настоящего изобретения. Другими словами, если только конкретный порядок этапов или действий не требуется для должной работы варианта осуществления, порядок и/или использование конкретных этапов и/или действий могут быть изменены без отхода от объема настоящего изобретения.
Предыдущее описание раскрытых вариантов осуществления предназначено для любого специалиста, чтобы сделать или использовать настоящее изобретение. Различные изменения этих вариантов осуществления будут быстро понятны специалисту, а основные принципы, описанные здесь, могут быть применены для других вариантов осуществления без отхода от сущности и объема изобретения. Таким образом, настоящее изобретение не предназначено для ограничения показанными здесь вариантами осуществления, но должно согласовываться с самым широким объемом, совместимым с раскрытыми здесь принципами и новыми признаками.
Claims (19)
1. Способ осуществления канальной оценки в системе беспроводной связи, заключающийся в том, что
принимают беспроводный сигнал, который содержит множество многолучевых компонентов;
получают N канальных оценок, где N является любым положительным целым числом больше единицы, причем каждая канальная оценка из N канальных оценок соответствует различному многолучевому компоненту из множества многолучевых компонентов, при этом получение N канальных оценок содержит этапы, на которых
фильтруют принимаемый беспроводный сигнал с помощью согласованного фильтра, который согласован с импульсной характеристикой фильтра основной полосы частот передатчика;
оценивают N задержек, причем каждая из N задержек соответствует различному многолучевому компоненту из множества многолучевых компонентов;
выполняют дескремблирование псевдослучайным шумом (ПСШ) на выходном сигнале согласованного фильтра N раз по одному разу после каждой из N задержек, посредством чего получают N дескремблированных сигналов; и
коррелируют каждый из N дескремблированных сигналов с опорным сигналом для получения N канальных оценок, причем каждая из N канальных оценок соответствует различному многолучевому компоненту из множества многолучевых компонентов;
вычисляют многолучевую корреляционную матрицу, которая содержит информацию о том, как сигнальные компоненты в N из множества многолучевых компонентов коррелируются друг с другом;
вычисляют шумовую ковариационную матрицу, которая содержит информацию о том, как шумовые компоненты в N из множества многолучевых компонентов коррелируются друг с другом, причем многолучевую корреляционную матрицу и шумовую ковариационную матрицу используют для уменьшения эффектов интерференции между множеством многолучевых компонентов в N канальных оценках; и
уменьшают эффекты интерференции между множеством многолучевых компонентов на основе N канальных оценок.
принимают беспроводный сигнал, который содержит множество многолучевых компонентов;
получают N канальных оценок, где N является любым положительным целым числом больше единицы, причем каждая канальная оценка из N канальных оценок соответствует различному многолучевому компоненту из множества многолучевых компонентов, при этом получение N канальных оценок содержит этапы, на которых
фильтруют принимаемый беспроводный сигнал с помощью согласованного фильтра, который согласован с импульсной характеристикой фильтра основной полосы частот передатчика;
оценивают N задержек, причем каждая из N задержек соответствует различному многолучевому компоненту из множества многолучевых компонентов;
выполняют дескремблирование псевдослучайным шумом (ПСШ) на выходном сигнале согласованного фильтра N раз по одному разу после каждой из N задержек, посредством чего получают N дескремблированных сигналов; и
коррелируют каждый из N дескремблированных сигналов с опорным сигналом для получения N канальных оценок, причем каждая из N канальных оценок соответствует различному многолучевому компоненту из множества многолучевых компонентов;
вычисляют многолучевую корреляционную матрицу, которая содержит информацию о том, как сигнальные компоненты в N из множества многолучевых компонентов коррелируются друг с другом;
вычисляют шумовую ковариационную матрицу, которая содержит информацию о том, как шумовые компоненты в N из множества многолучевых компонентов коррелируются друг с другом, причем многолучевую корреляционную матрицу и шумовую ковариационную матрицу используют для уменьшения эффектов интерференции между множеством многолучевых компонентов в N канальных оценках; и
уменьшают эффекты интерференции между множеством многолучевых компонентов на основе N канальных оценок.
2. Способ по п.1, в котором N задержек, N канальных оценок и опорный сигнал используют для вычисления многолучевой корреляционной матрицы и шумовой ковариационной матрицы.
3. Способ по п.1, в котором система беспроводной связи использует методы множественного доступа с кодовым разделением каналов.
4. Способ по п.3, в котором каждый многолучевой компонент во множестве многолучевых компонентов содержит множество элементарных сигналов, причем каждый элементарный сигнал имеет длительность элементарного сигнала, и, по меньшей мере, некоторые из множества многолучевых компонентов отделены друг от друга менее, чем на длительность элементарного сигнала.
5. Способ по п.1, который реализуют посредством мобильной станции.
6. Способ по п.1, который реализуют посредством базовой станции.
7. Мобильная станция для использования в системе беспроводной связи, содержащая
по меньшей мере, одну антенну для приема беспроводного сигнала, который содержит множество многолучевых компонентов;
приемник в электронной связи с, по меньшей мере, одной антенной; и
блок расширенной канальной оценки, который осуществляет способ, заключающийся в том, что
получают N канальных оценок, где N является любым положительным целым числом больше единицы, причем каждая канальная оценка из N канальных оценок соответствует различному многолучевому компоненту из множества многолучевых компонентов, при этом получение N канальных оценок содержит этапы, на которых
фильтруют принимаемый беспроводный сигнал с помощью согласованного фильтра, который согласован с импульсной характеристикой фильтра основной полосы частот передатчика;
оценивают N задержек, причем каждая из N задержек соответствует различному многолучевому компоненту из множества многолучевых компонентов;
выполняют дескремблирование псевдослучайным шумом (ПСШ) на выходном сигнале согласованного фильтра N раз по одному разу после каждой из N задержек, посредством чего получается N дескремблированных сигналов; и
коррелируют каждый из N дескремблированных сигналов с опорным сигналом для получения N канальных оценок, причем каждая из N канальных оценок соответствует различному многолучевому компоненту из множества многолучевых компонентов;
вычисляют многолучевую корреляционную матрицу, которая содержит информацию о том, как сигнальные компоненты в N из множества многолучевых компонентов коррелируются друг с другом;
вычисляют шумовую ковариационную матрицу, которая содержит информацию о том, как шумовые компоненты в N из множества многолучевых компонентов коррелируются друг с другом, причем многолучевая корреляционная матрица и шумовая ковариационная матрица используются для уменьшения эффектов интерференции между множеством многолучевых компонентов в N канальных оценках; и
уменьшают эффекты интерференции между множеством многолучевых компонентов на основе N канальных оценок.
по меньшей мере, одну антенну для приема беспроводного сигнала, который содержит множество многолучевых компонентов;
приемник в электронной связи с, по меньшей мере, одной антенной; и
блок расширенной канальной оценки, который осуществляет способ, заключающийся в том, что
получают N канальных оценок, где N является любым положительным целым числом больше единицы, причем каждая канальная оценка из N канальных оценок соответствует различному многолучевому компоненту из множества многолучевых компонентов, при этом получение N канальных оценок содержит этапы, на которых
фильтруют принимаемый беспроводный сигнал с помощью согласованного фильтра, который согласован с импульсной характеристикой фильтра основной полосы частот передатчика;
оценивают N задержек, причем каждая из N задержек соответствует различному многолучевому компоненту из множества многолучевых компонентов;
выполняют дескремблирование псевдослучайным шумом (ПСШ) на выходном сигнале согласованного фильтра N раз по одному разу после каждой из N задержек, посредством чего получается N дескремблированных сигналов; и
коррелируют каждый из N дескремблированных сигналов с опорным сигналом для получения N канальных оценок, причем каждая из N канальных оценок соответствует различному многолучевому компоненту из множества многолучевых компонентов;
вычисляют многолучевую корреляционную матрицу, которая содержит информацию о том, как сигнальные компоненты в N из множества многолучевых компонентов коррелируются друг с другом;
вычисляют шумовую ковариационную матрицу, которая содержит информацию о том, как шумовые компоненты в N из множества многолучевых компонентов коррелируются друг с другом, причем многолучевая корреляционная матрица и шумовая ковариационная матрица используются для уменьшения эффектов интерференции между множеством многолучевых компонентов в N канальных оценках; и
уменьшают эффекты интерференции между множеством многолучевых компонентов на основе N канальных оценок.
8. Мобильная станция по п.7, в которой N задержек, N канальных оценок и опорный сигнал используются для вычисления многолучевой корреляционной матрицы и шумовой ковариационной матрицы.
9. Мобильная станция по п.7, в которой система беспроводной связи использует методы множественного доступа с кодовым разделением каналов.
10. Мобильная станция по п.9, в которой каждый многолучевой компонент во множестве многолучевых компонентов содержит множество элементарных сигналов, причем каждый элементарный сигнал имеет длительность элементарного сигнала, и, по меньшей мере, некоторые из множества многолучевых компонентов отделены друг от друга менее, чем на длительность элементарного сигнала.
11. Устройство для канальной оценки в системе беспроводной связи, содержащее
по меньшей мере, одну антенну для приема беспроводного сигнала, который содержит множество многолучевых компонентов;
приемник в электронной связи с, по меньшей мере, одной антенной; и
блок расширенной канальной оценки, который осуществляет способ, заключающийся в том, что
получают N канальных оценок, где N является любым положительным целым числом больше единицы, причем каждая канальная оценка из N канальных оценок соответствует различному многолучевому компоненту из множества многолучевых компонентов, при этом получение N канальных оценок содержит этапы, на которых
фильтруют принимаемый беспроводный сигнал с помощью согласованного фильтра, который согласован с импульсной характеристикой фильтра основной полосы частот передатчика;
оценивают N задержек, причем каждая из N задержек соответствует различному многолучевому компоненту из множества многолучевых компонентов;
выполняют дескремблирование псевдослучайным шумом (ПСШ) на выходном сигнале согласованного фильтра N раз по одному разу после каждой из N задержек, посредством чего получается N дескремблированных сигналов; и
коррелируют каждый из N дескремблированных сигналов с опорным сигналом для получения N канальных оценок, причем каждая из N канальных оценок соответствует различному многолучевому компоненту из множества многолучевых компонентов;
вычисляют многолучевую корреляционную матрицу, которая содержит информацию о том, как сигнальные компоненты в N из множества многолучевых компонентов коррелируются друг с другом;
вычисляют шумовую ковариационную матрицу, которая содержит информацию о том, как шумовые компоненты в N из множества многолучевых компонентов коррелируются друг с другом, причем многолучевая корреляционная матрица и шумовая ковариационная матрица используются для уменьшения эффектов интерференции между множеством многолучевых компонентов в N канальных оценках; и
уменьшают эффекты интерференции между множеством многолучевых компонентов на основе N канальных оценок.
по меньшей мере, одну антенну для приема беспроводного сигнала, который содержит множество многолучевых компонентов;
приемник в электронной связи с, по меньшей мере, одной антенной; и
блок расширенной канальной оценки, который осуществляет способ, заключающийся в том, что
получают N канальных оценок, где N является любым положительным целым числом больше единицы, причем каждая канальная оценка из N канальных оценок соответствует различному многолучевому компоненту из множества многолучевых компонентов, при этом получение N канальных оценок содержит этапы, на которых
фильтруют принимаемый беспроводный сигнал с помощью согласованного фильтра, который согласован с импульсной характеристикой фильтра основной полосы частот передатчика;
оценивают N задержек, причем каждая из N задержек соответствует различному многолучевому компоненту из множества многолучевых компонентов;
выполняют дескремблирование псевдослучайным шумом (ПСШ) на выходном сигнале согласованного фильтра N раз по одному разу после каждой из N задержек, посредством чего получается N дескремблированных сигналов; и
коррелируют каждый из N дескремблированных сигналов с опорным сигналом для получения N канальных оценок, причем каждая из N канальных оценок соответствует различному многолучевому компоненту из множества многолучевых компонентов;
вычисляют многолучевую корреляционную матрицу, которая содержит информацию о том, как сигнальные компоненты в N из множества многолучевых компонентов коррелируются друг с другом;
вычисляют шумовую ковариационную матрицу, которая содержит информацию о том, как шумовые компоненты в N из множества многолучевых компонентов коррелируются друг с другом, причем многолучевая корреляционная матрица и шумовая ковариационная матрица используются для уменьшения эффектов интерференции между множеством многолучевых компонентов в N канальных оценках; и
уменьшают эффекты интерференции между множеством многолучевых компонентов на основе N канальных оценок.
12. Устройство по п.11, в котором N задержек, N канальных оценок и опорный сигнал используются для вычисления многолучевой корреляционной матрицы и шумовой ковариационной матрицы.
13. Устройство по п.11, в котором система беспроводной связи использует методы множественного доступа с кодовым разделением каналов.
14. Устройство по п.13, в котором каждый многолучевой компонент во множестве многолучевых компонентов содержит множество элементарных сигналов, причем каждый элементарный сигнал имеет длительность элементарного сигнала, и, по меньшей мере, некоторые из множества многолучевых компонентов отделены друг от друга менее, чем на длительность элементарного сигнала.
15. Устройство по п.11, содержащее мобильную станцию.
16. Устройство по п.11, содержащее базовую станцию.
17. Мобильная станция для использования в системе беспроводной связи, содержащая
средство для приема беспроводного сигнала, который содержит множество многолучевых компонентов;
средство для получения N канальных оценок, где N является любым положительным целым числом больше единицы, причем каждая канальная оценка из N канальных оценок соответствует различному многолучевому компоненту из множества многолучевых компонентов, при этом средство для получения N канальных оценок содержит
средство для фильтрации принимаемого беспроводного сигнала с помощью согласованного фильтра, который согласован с импульсной характеристикой фильтра основной полосы частот передатчика;
средство для оценки N задержек, причем каждая из N задержек соответствует различному многолучевому компоненту из множества многолучевых компонентов;
средство для выполнения дескремблирования псевдослучайным шумом (ПСШ) на выходном сигнале согласованного фильтра N раз, по одному разу после каждой из N задержек, посредством чего получается N дескремблированных сигналов; и
средство для коррелирования каждого из N дескремблированных сигналов с опорным сигналом для получения N канальных оценок, причем каждая из N канальных оценок соответствует различному многолучевому компоненту из множества многолучевых компонентов;
средство для вычисления многолучевой корреляционной матрицы, которая содержит информацию о том, как сигнальные компоненты в N из множества многолучевых компонентов коррелируются друг с другом;
средство для вычисления шумовой ковариационной матрицы, которая содержит информацию о том, как шумовые компоненты в N из множества многолучевых компонентов коррелируются друг с другом, причем многолучевая корреляционная матрица и шумовая ковариационная матрица используются для уменьшения эффектов интерференции между множеством многолучевых компонентов в N канальных оценках; и
средство для снижения эффектов интерференции между множеством многолучевых компонентов на основе N канальных оценок.
средство для приема беспроводного сигнала, который содержит множество многолучевых компонентов;
средство для получения N канальных оценок, где N является любым положительным целым числом больше единицы, причем каждая канальная оценка из N канальных оценок соответствует различному многолучевому компоненту из множества многолучевых компонентов, при этом средство для получения N канальных оценок содержит
средство для фильтрации принимаемого беспроводного сигнала с помощью согласованного фильтра, который согласован с импульсной характеристикой фильтра основной полосы частот передатчика;
средство для оценки N задержек, причем каждая из N задержек соответствует различному многолучевому компоненту из множества многолучевых компонентов;
средство для выполнения дескремблирования псевдослучайным шумом (ПСШ) на выходном сигнале согласованного фильтра N раз, по одному разу после каждой из N задержек, посредством чего получается N дескремблированных сигналов; и
средство для коррелирования каждого из N дескремблированных сигналов с опорным сигналом для получения N канальных оценок, причем каждая из N канальных оценок соответствует различному многолучевому компоненту из множества многолучевых компонентов;
средство для вычисления многолучевой корреляционной матрицы, которая содержит информацию о том, как сигнальные компоненты в N из множества многолучевых компонентов коррелируются друг с другом;
средство для вычисления шумовой ковариационной матрицы, которая содержит информацию о том, как шумовые компоненты в N из множества многолучевых компонентов коррелируются друг с другом, причем многолучевая корреляционная матрица и шумовая ковариационная матрица используются для уменьшения эффектов интерференции между множеством многолучевых компонентов в N канальных оценках; и
средство для снижения эффектов интерференции между множеством многолучевых компонентов на основе N канальных оценок.
18. Мобильная станция по п.17, причем система беспроводной связи использует методы множественного доступа с кодовым разделением каналов.
19. Мобильная станция по п.18, в которой каждый многолучевой компонент во множестве многолучевых компонентов содержит множество элементарных сигналов, причем каждый элементарный сигнал имеет длительность элементарного сигнала, и, по меньшей мере, некоторые из множества многолучевых компонентов отделены друг от друга менее, чем на длительность элементарного сигнала.
Applications Claiming Priority (2)
| Application Number | Priority Date | Filing Date | Title |
|---|---|---|---|
| US10/368,765 US7257377B2 (en) | 2003-02-18 | 2003-02-18 | Systems and methods for improving channel estimation |
| US10/368,765 | 2003-02-18 |
Publications (2)
| Publication Number | Publication Date |
|---|---|
| RU2005129118A RU2005129118A (ru) | 2006-01-27 |
| RU2367103C2 true RU2367103C2 (ru) | 2009-09-10 |
Family
ID=32850196
Family Applications (1)
| Application Number | Title | Priority Date | Filing Date |
|---|---|---|---|
| RU2005129118/09A RU2367103C2 (ru) | 2003-02-18 | 2004-02-18 | Канальная оценка многолучевого сигнала мдкр в приемнике |
Country Status (17)
| Country | Link |
|---|---|
| US (3) | US7257377B2 (ru) |
| EP (2) | EP1595374B1 (ru) |
| JP (2) | JP4927528B2 (ru) |
| KR (2) | KR101028677B1 (ru) |
| CN (2) | CN1774896B (ru) |
| AT (2) | ATE497668T1 (ru) |
| AU (2) | AU2004214506B2 (ru) |
| BR (1) | BRPI0407566A (ru) |
| CA (2) | CA2812965A1 (ru) |
| DE (1) | DE602004031285D1 (ru) |
| ES (2) | ES2373636T3 (ru) |
| IL (1) | IL170333A (ru) |
| MX (1) | MXPA05008761A (ru) |
| RU (1) | RU2367103C2 (ru) |
| TW (1) | TWI356597B (ru) |
| UA (1) | UA89023C2 (ru) |
| WO (1) | WO2004075019A2 (ru) |
Cited By (1)
| Publication number | Priority date | Publication date | Assignee | Title |
|---|---|---|---|---|
| RU2544178C1 (ru) * | 2013-10-11 | 2015-03-10 | Открытое акционерное общество "Камчатский гидрофизический институт" (ОАО "КГФИ") | Устройство для приема дискретных сигналов, прошедших многолучевой канал связи |
Families Citing this family (24)
| Publication number | Priority date | Publication date | Assignee | Title |
|---|---|---|---|---|
| US7769078B2 (en) * | 2000-12-22 | 2010-08-03 | Telefonaktiebolaget Lm Ericsson (Publ) | Apparatus, methods and computer program products for delay selection in a spread-spectrum receiver |
| US7272176B2 (en) | 2003-02-18 | 2007-09-18 | Qualcomm Incorporated | Communication receiver with an adaptive equalizer |
| US20040161057A1 (en) * | 2003-02-18 | 2004-08-19 | Malladi Durga Prasad | Communication receiver with a rake-based adaptive equalizer |
| US7257377B2 (en) * | 2003-02-18 | 2007-08-14 | Qualcomm, Incorporated | Systems and methods for improving channel estimation |
| US9025638B2 (en) * | 2004-06-16 | 2015-05-05 | Telefonaktiebolaget L M Ericsson (Publ) | Method and apparatus to compensate for receiver frequency error in noise estimation processing |
| US7508863B2 (en) * | 2004-12-13 | 2009-03-24 | Alcatel-Lucent Usa Inc. | Method of processing multi-path signals |
| KR101302201B1 (ko) | 2005-12-10 | 2013-08-30 | 한국전자통신연구원 | 다중 간섭 잡음 제거 기능을 이용한 채널 추정 방법 및수신 장치 |
| US7893873B2 (en) * | 2005-12-20 | 2011-02-22 | Qualcomm Incorporated | Methods and systems for providing enhanced position location in wireless communications |
| US8300651B1 (en) * | 2008-01-30 | 2012-10-30 | Marvell International Ltd. | Channel estimation with co-channel pilots suppression |
| KR101396239B1 (ko) * | 2008-03-04 | 2014-05-19 | 삼성전자주식회사 | 무선통신시스템에서 채널 및 잡음 추정 장치 및 방법 |
| EP2454901A4 (en) * | 2009-07-15 | 2016-08-17 | Blackberry Ltd | CHOOSE FROM SEVERAL CHANNEL ESTIMATION TECHNIQUES |
| KR20110018143A (ko) * | 2009-08-17 | 2011-02-23 | 삼성전자주식회사 | 이동통신 시스템에서 등화기 수신기 및 방법 |
| EP3422585B1 (en) | 2011-06-01 | 2021-11-10 | CommScope Technologies LLC | Broadband distributed antenna system with non-duplexer isolator sub-system |
| CN103929380B (zh) * | 2013-01-10 | 2017-04-26 | 晨星软件研发(深圳)有限公司 | 无线接收系统及其频道效应估计方法 |
| US9654171B2 (en) * | 2013-04-05 | 2017-05-16 | Telefonaktiebolaget Lm Ericsson (Publ) | Apparatus and method for jointly selecting the tap values and delays of the fingers for a rake receiver of two carriers |
| CN103236993B (zh) * | 2013-04-17 | 2015-09-09 | 哈尔滨工业大学 | 一种基于多径延时分布的信道估计方法 |
| WO2015160777A1 (en) | 2014-04-15 | 2015-10-22 | Commscope Technologies Llc | Wideband remote unit for distributed antenna system |
| US9479360B2 (en) | 2014-06-27 | 2016-10-25 | Samsung Electronics Co., Ltd | Receiver apparatus and reception method in wireless communication system |
| US9712345B2 (en) | 2015-04-06 | 2017-07-18 | Samsung Electronics Co., Ltd | Communication device and method of controlling same |
| CN106788807B (zh) * | 2017-02-21 | 2020-07-28 | 北京邮电大学 | 一种无线信道测试方法及装置 |
| US10320517B2 (en) | 2017-06-05 | 2019-06-11 | J3 Technology LLC | Switched transmit antennas with no feedback for multipath reduction |
| WO2019138156A1 (en) * | 2018-01-12 | 2019-07-18 | Nokia Technologies Oy | Profiled channel impulse response for accurate multipath parameter estimation |
| US10756863B2 (en) | 2018-05-11 | 2020-08-25 | At&T Intellectual Property I, L.P. | Transmitting reference signals in 5G or other next generation communication systems |
| WO2025041958A1 (ko) * | 2023-08-20 | 2025-02-27 | 삼성전자 주식회사 | 무선 통신 시스템에서 수신 장치에 수신된 신호를 처리하는 장치 및 방법 |
Citations (3)
| Publication number | Priority date | Publication date | Assignee | Title |
|---|---|---|---|---|
| RU2153776C2 (ru) * | 1998-10-23 | 2000-07-27 | Корпорация "Самсунг Электроникс" | Способ приема-передачи многолучевых сигналов (варианты) и устройство приема-передачи сигналов с кодовым разделением каналов (варианты) |
| EP1130792A1 (en) * | 2000-03-03 | 2001-09-05 | Lucent Technologies Inc. | A method and rake receiver for phasor estimation in communication systems |
| RU2192709C2 (ru) * | 2000-11-30 | 2002-11-10 | Гармонов Александр Васильевич | Способ приема многолучевых сигналов в системе радиосвязи с кодовым разделением каналов и устройство для его реализации |
Family Cites Families (110)
| Publication number | Priority date | Publication date | Assignee | Title |
|---|---|---|---|---|
| DE3805457A1 (de) | 1988-02-22 | 1989-08-31 | Thomson Brandt Gmbh | Rundfunkempfaenger fuer ein fahrzeug |
| US5101501A (en) * | 1989-11-07 | 1992-03-31 | Qualcomm Incorporated | Method and system for providing a soft handoff in communications in a cdma cellular telephone system |
| JP3135902B2 (ja) | 1990-05-11 | 2001-02-19 | 株式会社日立製作所 | 自動等化器及び半導体集積回路 |
| US5297165A (en) | 1990-07-06 | 1994-03-22 | Nippon Telegraph And Telephone Corporation | Equalizer for radio receive signal |
| JP3093243B2 (ja) | 1990-07-12 | 2000-10-03 | 株式会社東芝 | 移動無線通信システム |
| JP2541378B2 (ja) | 1990-12-27 | 1996-10-09 | 日本電気株式会社 | アダプティブ・フィルタによる未知システム近似の方法及び装置 |
| DE4108806C1 (ru) | 1991-03-18 | 1992-01-30 | Litef Gmbh, 7800 Freiburg, De | |
| JPH04330818A (ja) | 1991-05-02 | 1992-11-18 | Nec Corp | タップ間隔混合型自動等化器 |
| JPH05207076A (ja) | 1991-11-25 | 1993-08-13 | Nec Corp | 受信機 |
| US5402496A (en) | 1992-07-13 | 1995-03-28 | Minnesota Mining And Manufacturing Company | Auditory prosthesis, noise suppression apparatus and feedback suppression apparatus having focused adaptive filtering |
| DE69331945D1 (de) | 1992-09-18 | 2002-06-27 | Oki Electric Ind Co Ltd | Adaptiver entzerrungsempfänger und maximalwahrscheinlichkeits-sequenz-bewertungsempfänger |
| JP2663820B2 (ja) | 1992-12-28 | 1997-10-15 | 日本電気株式会社 | 判定帰還形等化器 |
| US5572552A (en) | 1994-01-27 | 1996-11-05 | Ericsson Ge Mobile Communications Inc. | Method and system for demodulation of downlink CDMA signals |
| KR960704399A (ko) | 1994-06-03 | 1996-08-31 | 안쏘니 제이, 살리, 주니어 | 통신 시스템에서의 가입자 전력 레벨을 조정하기 위한 방법 및 장치(Method and Apparatus for Subscriber Power Level Adjustment in a Communication System) |
| EP0716520B1 (en) | 1994-06-23 | 2004-05-12 | NTT DoCoMo, Inc. | Cdma demodulation circuit and demodulating method |
| JPH0865205A (ja) | 1994-08-24 | 1996-03-08 | Matsushita Electric Ind Co Ltd | Cdma方式移動通信装置 |
| FI102797B (fi) * | 1994-10-07 | 1999-02-15 | Nokia Mobile Phones Ltd | Signaalin ilmaisumenetelmä TDMA-matkaviestinjärjestelmän vastaanottime ssa sekä menetelmän toteuttava vastaanotin |
| ES2101639B1 (es) | 1994-10-21 | 1998-03-01 | Alcatel Standard Electrica | Ecualizador adaptativo. |
| US5734966A (en) | 1995-01-20 | 1998-03-31 | Diablo Research Corporation | Wireless communication system for adapting to frequency drift |
| IT1273963B (it) | 1995-02-24 | 1997-07-11 | Alcatel Italia | Metodo e circuiti di equalizzazione a spaziatura frazionata |
| JP2705623B2 (ja) * | 1995-03-22 | 1998-01-28 | 日本電気株式会社 | ダイバーシチ送受信方法及び送受信機 |
| US5648983A (en) * | 1995-04-24 | 1997-07-15 | Lucent Technologies Inc. | CDMA rake receiver with sub-chip resolution |
| US5636244A (en) | 1995-07-26 | 1997-06-03 | Motorola, Inc. | Method and apparatus for initializing equalizer coefficents using peridioc training sequences |
| JP3636397B2 (ja) * | 1996-04-04 | 2005-04-06 | 富士通株式会社 | ジッタ抑圧回路 |
| JPH1028080A (ja) | 1996-07-12 | 1998-01-27 | Nec Corp | 低消費電力型通信用適応等化フィルタ |
| SE507154C2 (sv) | 1996-08-16 | 1998-04-06 | Ericsson Telefon Ab L M | Anordning och förfarande för estimering av symboler i ett bredbandigt radiosystem |
| US5872775A (en) * | 1996-10-30 | 1999-02-16 | Qualcomm Incorporated | Method and apparatus for performing rate determination |
| US5889827A (en) * | 1996-12-12 | 1999-03-30 | Ericsson Inc. | Method and apparatus for digital symbol detection using medium response estimates |
| CA2201834A1 (en) | 1997-04-04 | 1998-10-04 | Gennum Corporation | Serial digital data communications receiver with improved automatic cable equalizer, agc system, and dc restorer |
| US6240129B1 (en) | 1997-07-10 | 2001-05-29 | Alcatel | Method and windowing unit to reduce leakage, fourier transformer and DMT modem wherein the unit is used |
| JP3180725B2 (ja) * | 1997-08-05 | 2001-06-25 | 日本電気株式会社 | 分布帰還型半導体レーザ |
| JP2991170B2 (ja) | 1997-10-01 | 1999-12-20 | 日本電気株式会社 | Cdma受信装置および方法 |
| US6097763A (en) | 1997-10-31 | 2000-08-01 | Pairgain Technologies, Inc. | MMSE equalizers for DMT systems with cross talk |
| RU2216549C2 (ru) * | 1997-11-07 | 2003-11-20 | Дайити Фармасьютикал Ко., Лтд. | Пиперазин-циклодекстриновый комплекс и лекарственное средство, содержащее указанный комплекс |
| US6175588B1 (en) | 1997-12-30 | 2001-01-16 | Motorola, Inc. | Communication device and method for interference suppression using adaptive equalization in a spread spectrum communication system |
| JPH11205209A (ja) | 1998-01-16 | 1999-07-30 | Kokusai Electric Co Ltd | 受信装置 |
| JP3952335B2 (ja) | 1998-03-10 | 2007-08-01 | ソニー株式会社 | 受信方法及び受信装置 |
| US6731622B1 (en) * | 1998-05-01 | 2004-05-04 | Telefonaktiebolaget Lm Ericsson (Publ) | Multipath propagation delay determining means using periodically inserted pilot symbols |
| US6744754B1 (en) * | 1998-06-09 | 2004-06-01 | Lg Information & Communications, Ltd. | Control of forward link power CDMA mobile communication system |
| US6577690B1 (en) | 1998-06-25 | 2003-06-10 | Silicon Automation Systems Limited | Clock recovery in multi-carrier transmission systems |
| JP2000092009A (ja) | 1998-07-13 | 2000-03-31 | Sony Corp | 通信方法、送信機及び受信機 |
| DE69920388T2 (de) | 1998-07-13 | 2006-02-23 | Sony Corp. | Mehrträgerkommunikationsverfahren, Sender und Empfänger |
| JP2000049666A (ja) | 1998-07-31 | 2000-02-18 | Matsushita Electric Ind Co Ltd | 等化器及び等化方法 |
| US6301293B1 (en) * | 1998-08-04 | 2001-10-09 | Agere Systems Guardian Corp. | Detectors for CDMA systems |
| US6625197B1 (en) * | 1998-10-27 | 2003-09-23 | Qualcomm Incorporated | Method and apparatus for multipath demodulation in a code division multiple access communication system |
| US6122015A (en) | 1998-12-07 | 2000-09-19 | General Electric Company | Method and apparatus for filtering digital television signals |
| US6879577B2 (en) * | 1998-12-31 | 2005-04-12 | Lg Electronics Inc. | Method and apparatus for determining frame quality in mobile communication system |
| US6507602B1 (en) | 1999-01-07 | 2003-01-14 | Ericsson, Inc. | Smoothing receiver channel estimates using spectral estimation |
| US6470044B1 (en) * | 1999-01-15 | 2002-10-22 | Sharp Laboratories Of America, Inc. | Computationally parsimonious forward link receiver for DS-CDMA systems and method for same |
| US6526093B1 (en) | 1999-03-04 | 2003-02-25 | Mitsubishi Electric Research Laboratories, Inc | Method and apparatus for equalizing a digital signal received via multiple transmission paths |
| WO2000054418A1 (en) | 1999-03-10 | 2000-09-14 | Nokia Mobile Phones Ltd. | Unsupervised adaptive chip separation filter for cdma terminal |
| FI112831B (fi) | 1999-04-28 | 2004-01-15 | Nokia Corp | Menetelmä kanavaestimaatin muodostamiseksi ja vastaanotin |
| US6816541B1 (en) * | 1999-05-24 | 2004-11-09 | Texas Instruments Incorporated | Spread spectrum interference cancellation |
| US6466616B1 (en) | 1999-07-02 | 2002-10-15 | Telefonaktiebolaget Lm Ericsson (Publ) | Power efficient equalization |
| US6496706B1 (en) | 1999-07-23 | 2002-12-17 | Qualcomm Incorporated | Method and system for transmit gating in a wireless communication system |
| FR2805943B1 (fr) | 1999-09-14 | 2002-08-09 | Inst Nat Sciences Appliq | Procede d'egalisation dans des recepteurs utilisant une combinaison des techniques de modulations a porteuses multiples et a acces multiple par repartition de codes |
| KR100500810B1 (ko) | 1999-10-29 | 2005-07-12 | 마츠시타 덴끼 산교 가부시키가이샤 | 파형 등화 제어 장치 |
| JP2001177451A (ja) | 1999-12-15 | 2001-06-29 | Matsushita Electric Ind Co Ltd | データ受信装置 |
| US6810070B1 (en) | 2000-01-12 | 2004-10-26 | Ericsson Inc. | Selective multi-carrier direct sequence spread spectrum communication systems and methods |
| AU2001236855A1 (en) * | 2000-02-11 | 2001-08-20 | The Regents Of The University Of California | Method and apparatus for resolving multipath components for wireless location finding |
| US6856610B2 (en) * | 2000-02-28 | 2005-02-15 | Texas Instruments Incorporated | Wireless code division multiple access communications system with channel estimation using fingers with sub-chip spacing |
| JP2001257627A (ja) | 2000-03-13 | 2001-09-21 | Kawasaki Steel Corp | 無線受信機 |
| US6314131B1 (en) | 2000-03-24 | 2001-11-06 | Cadence Design Systems, Inc. | Method and system for channel estimation using multi-slot averaged interpolation |
| JP2001339326A (ja) * | 2000-05-30 | 2001-12-07 | Texas Instr Inc <Ti> | スペクトル拡散干渉打消し |
| KR100452860B1 (ko) | 2000-06-20 | 2004-10-14 | 삼성전자주식회사 | 훈련 신호를 이용한 적응 등화기용 필터 탭 길이 조정장치 및 방법 |
| JP3723417B2 (ja) * | 2000-06-29 | 2005-12-07 | 株式会社エヌ・ティ・ティ・ドコモ | 送信電力制御方法および移動通信システム |
| US7082174B1 (en) | 2000-07-24 | 2006-07-25 | Qualcomm, Incorporated | Method and apparatus for processing a modulated signal using an equalizer and a rake receiver |
| US6728324B1 (en) * | 2000-07-31 | 2004-04-27 | Rf Micro Devices, Inc. | Method and apparatus for multipath signal compensation in spread-spectrum communications systems |
| US6763061B1 (en) * | 2000-07-31 | 2004-07-13 | 3Com Corporation | Frequency domain technique for narrowband noise cancellation in DMT receivers |
| US7099384B1 (en) | 2000-09-01 | 2006-08-29 | Qualcomm, Inc. | Method and apparatus for time-division power assignments in a wireless communication system |
| JP3435392B2 (ja) | 2000-09-06 | 2003-08-11 | 三菱電機株式会社 | 無線通信方法および無線通信装置 |
| US20020027952A1 (en) * | 2000-09-07 | 2002-03-07 | Yoshiro Kokuryo | Method for automatic equalization for use in demodulating a digital multilevel modulation signal and automatic equalization circuit and receiver circuit using the method |
| JP2002158722A (ja) | 2000-09-07 | 2002-05-31 | Hitachi Kokusai Electric Inc | 多値ディジタル変調信号の復調における自動等化方法および同方法を用いた自動等化回路並びに受信回路 |
| US6574269B1 (en) | 2000-11-21 | 2003-06-03 | Bbnt Solutions Llc | Asymmetric orthogonal codes for wireless system receivers with multiplication-free correlators |
| US7181426B2 (en) * | 2000-12-14 | 2007-02-20 | International Business Machines Corporation | Method and systems for space reservation on parking lots with mechanisms for space auctioning, over-booking, reservation period extensions, and incentives |
| JP2002232397A (ja) * | 2001-01-31 | 2002-08-16 | Ntt Docomo Inc | 移動通信システムにおける受信処理方法及び受信装置 |
| US7050419B2 (en) | 2001-02-23 | 2006-05-23 | Terayon Communicaion Systems, Inc. | Head end receiver for digital data delivery systems using mixed mode SCDMA and TDMA multiplexing |
| US20020191568A1 (en) * | 2001-03-29 | 2002-12-19 | Koninklijke Philips Electronics N.V. | Adaptive chip equalizers for synchronous DS-CDMA systems with pilot sequences |
| US7158558B2 (en) * | 2001-04-26 | 2007-01-02 | Interuniversitair Microelektronica Centrum (Imec) | Wideband multiple access telecommunication method and apparatus |
| US6628707B2 (en) | 2001-05-04 | 2003-09-30 | Radiant Networks Plc | Adaptive equalizer system for short burst modems and link hopping radio networks |
| JP3681656B2 (ja) | 2001-06-07 | 2005-08-10 | 日本無線株式会社 | トランスバーサル自動等化器 |
| US6937584B2 (en) * | 2001-06-29 | 2005-08-30 | Qualcomm, Incorporated | Method and apparatus for controlling gain level of a supplemental channel in a CDMA communication system |
| JP4658403B2 (ja) | 2001-07-31 | 2011-03-23 | 株式会社日立国際電気 | 自動等化方法および自動等化装置 |
| US6956893B2 (en) | 2001-08-20 | 2005-10-18 | Motorola, Inc. | Linear minimum mean square error equalization with interference cancellation for mobile communication forward links utilizing orthogonal codes covered by long pseudorandom spreading codes |
| US6944244B2 (en) * | 2001-09-18 | 2005-09-13 | Thomson Licensing S.A. | Mechanism for OFDM equalizer tap initialization using an adaptive algorithm |
| US7010316B2 (en) * | 2001-09-28 | 2006-03-07 | Qualcomm Incorporated | Method and apparatus for multi-channel reverse link outer-loop power control |
| US7116957B2 (en) * | 2001-10-22 | 2006-10-03 | Qualcomm Incorporated | Velocity responsive filtering for pilot signal reception |
| CA2415170C (en) | 2001-12-28 | 2008-07-15 | Ntt Docomo, Inc. | Receiver, transmitter, communication system, and method of communication |
| US7193983B2 (en) | 2002-01-17 | 2007-03-20 | Agency For Science, Technology And Research | Path diversity equalization CDMA downlink receiver |
| JP3733336B2 (ja) * | 2002-02-26 | 2006-01-11 | 株式会社日立製作所 | 無線端末装置 |
| US7061967B2 (en) * | 2002-06-24 | 2006-06-13 | Comsys Communication & Signal Processing Ltd. | Multipath channel tap delay estimation in a CDMA spread spectrum receiver |
| US20040001539A1 (en) | 2002-06-26 | 2004-01-01 | Sankaran Sundar G. | Training using overhead data in a wireless communications network |
| US6987797B2 (en) | 2002-07-26 | 2006-01-17 | Qualcomm Incorporated | Non-parametric matched filter receiver for wireless communication systems |
| US7177348B2 (en) * | 2002-09-04 | 2007-02-13 | Yang George L | Multipath receiver of a spread spectrum communication system with dynamic matched filter and efficient signal combiner |
| US7630321B2 (en) * | 2002-09-10 | 2009-12-08 | Qualcomm Incorporated | System and method for rate assignment |
| US7161973B2 (en) * | 2002-12-17 | 2007-01-09 | Sbc Properties, L.P. | Pilot aided adaptive minimum mean square interference cancellation and detection |
| US20040151269A1 (en) * | 2003-01-21 | 2004-08-05 | Jaiganesh Balakrishnan | Receiver sampling in an ultra-wideband communications system |
| US7257377B2 (en) * | 2003-02-18 | 2007-08-14 | Qualcomm, Incorporated | Systems and methods for improving channel estimation |
| US20040161057A1 (en) | 2003-02-18 | 2004-08-19 | Malladi Durga Prasad | Communication receiver with a rake-based adaptive equalizer |
| US7085317B2 (en) | 2003-02-18 | 2006-08-01 | Qualcomm, Inc. | Communication receiver with an adaptive equalizer length |
| US7272176B2 (en) | 2003-02-18 | 2007-09-18 | Qualcomm Incorporated | Communication receiver with an adaptive equalizer |
| US20040203812A1 (en) | 2003-02-18 | 2004-10-14 | Malladi Durga Prasad | Communication receiver with an adaptive equalizer that uses channel estimation |
| US7356100B2 (en) * | 2003-03-03 | 2008-04-08 | Mitsubishi Electric Research Laboratories, Inc. | Estimating channel impulse response and equalizer coefficients in UWB communication systems |
| US7356074B2 (en) * | 2003-05-08 | 2008-04-08 | Rf Micro Devices, Inc. | Estimation of multipath channel with sub-chip resolution |
| US7061067B2 (en) * | 2003-07-04 | 2006-06-13 | Matsushita Electric Industrial Co., Ltd. | Schottky barrier diode |
| CA2558543A1 (en) * | 2004-03-05 | 2005-09-22 | Qualcomm Incorporated | Multi-antenna receive diversity control in wireless communications |
| US7403557B2 (en) * | 2004-07-27 | 2008-07-22 | Nokia Corporation | Apparatus and method for hybrid traffic and pilot signal quality determination of finger lock status of rake receiver correlators |
| US7676240B2 (en) * | 2005-02-28 | 2010-03-09 | Alcatel-Lucent Usa Inc. | Power control based on estimates of cumulative received energy |
| US7609754B2 (en) * | 2005-08-30 | 2009-10-27 | Telefonaktiebolaget Lm Ericsson (Publ) | Method and apparatus for received communication signal processing |
| US8102795B2 (en) * | 2007-03-09 | 2012-01-24 | Qualcomm Incorporated | Channel equalization with non-common midamble allocation in 3GPP TD-CDMA systems |
-
2003
- 2003-02-18 US US10/368,765 patent/US7257377B2/en not_active Expired - Fee Related
-
2004
- 2004-02-18 CA CA2812965A patent/CA2812965A1/en not_active Abandoned
- 2004-02-18 RU RU2005129118/09A patent/RU2367103C2/ru not_active IP Right Cessation
- 2004-02-18 CN CN2004800100269A patent/CN1774896B/zh not_active Expired - Fee Related
- 2004-02-18 JP JP2006503655A patent/JP4927528B2/ja not_active Expired - Fee Related
- 2004-02-18 KR KR1020107026656A patent/KR101028677B1/ko not_active Expired - Fee Related
- 2004-02-18 CN CN201010157018A patent/CN101867532A/zh active Pending
- 2004-02-18 ES ES10173292T patent/ES2373636T3/es not_active Expired - Lifetime
- 2004-02-18 TW TW093104012A patent/TWI356597B/zh not_active IP Right Cessation
- 2004-02-18 EP EP04712340A patent/EP1595374B1/en not_active Expired - Lifetime
- 2004-02-18 AT AT04712340T patent/ATE497668T1/de not_active IP Right Cessation
- 2004-02-18 AU AU2004214506A patent/AU2004214506B2/en not_active Ceased
- 2004-02-18 ES ES04712340T patent/ES2357951T3/es not_active Expired - Lifetime
- 2004-02-18 BR BRPI0407566-8A patent/BRPI0407566A/pt not_active IP Right Cessation
- 2004-02-18 MX MXPA05008761A patent/MXPA05008761A/es active IP Right Grant
- 2004-02-18 CA CA002516489A patent/CA2516489A1/en not_active Abandoned
- 2004-02-18 AT AT10173292T patent/ATE532302T1/de active
- 2004-02-18 DE DE602004031285T patent/DE602004031285D1/de not_active Expired - Lifetime
- 2004-02-18 UA UAA200508821A patent/UA89023C2/ru unknown
- 2004-02-18 WO PCT/US2004/004708 patent/WO2004075019A2/en not_active Ceased
- 2004-02-18 EP EP10173292A patent/EP2247048B1/en not_active Expired - Lifetime
- 2004-02-18 KR KR1020057015220A patent/KR101065236B1/ko not_active Expired - Fee Related
-
2005
- 2005-08-17 IL IL170333A patent/IL170333A/en not_active IP Right Cessation
-
2007
- 2007-05-02 US US11/743,630 patent/US8135351B2/en not_active Expired - Fee Related
-
2009
- 2009-10-14 AU AU2009225360A patent/AU2009225360B2/en not_active Expired - Fee Related
-
2010
- 2010-07-30 JP JP2010172244A patent/JP4933646B2/ja not_active Expired - Fee Related
- 2010-09-23 US US12/888,999 patent/US8615200B2/en not_active Expired - Fee Related
Patent Citations (3)
| Publication number | Priority date | Publication date | Assignee | Title |
|---|---|---|---|---|
| RU2153776C2 (ru) * | 1998-10-23 | 2000-07-27 | Корпорация "Самсунг Электроникс" | Способ приема-передачи многолучевых сигналов (варианты) и устройство приема-передачи сигналов с кодовым разделением каналов (варианты) |
| EP1130792A1 (en) * | 2000-03-03 | 2001-09-05 | Lucent Technologies Inc. | A method and rake receiver for phasor estimation in communication systems |
| RU2192709C2 (ru) * | 2000-11-30 | 2002-11-10 | Гармонов Александр Васильевич | Способ приема многолучевых сигналов в системе радиосвязи с кодовым разделением каналов и устройство для его реализации |
Cited By (1)
| Publication number | Priority date | Publication date | Assignee | Title |
|---|---|---|---|---|
| RU2544178C1 (ru) * | 2013-10-11 | 2015-03-10 | Открытое акционерное общество "Камчатский гидрофизический институт" (ОАО "КГФИ") | Устройство для приема дискретных сигналов, прошедших многолучевой канал связи |
Also Published As
Similar Documents
| Publication | Publication Date | Title |
|---|---|---|
| RU2367103C2 (ru) | Канальная оценка многолучевого сигнала мдкр в приемнике | |
| US8098715B2 (en) | Method and apparatus for estimating impairment covariance matrices using unoccupied spreading codes | |
| JP2002535913A (ja) | 拡散スペクトル通信内の干渉相殺装置および方法 | |
| JP2006109430A (ja) | アップリンク干渉除去 | |
| JP2004517546A (ja) | スペクトラム拡散通信システムにおいて無線チャネル・パラメータを推定するシステム、方法および装置 | |
| JP4169933B2 (ja) | 移動通信システムにおける信号対干渉比の推定 | |
| JP2005244982A (ja) | Cdma受信機中でのチャネル推定 | |
| EP1176730A1 (en) | Interference estimation in a communications system | |
| JP5379791B2 (ja) | 時分割二重システムに基づくcdmaシステムにおける適応結合チャネル推定方法およびシステム | |
| EP2158686B1 (en) | Method and apparatus for estimating impairment covariance matrices using unoccupied spreading codes | |
| JP3463015B2 (ja) | 移動通信システムにおいて同期確認が可能なパイロット信号 | |
| Xiaoa et al. | Pre-RAKE diversity combining for TD-SCDMA base stations | |
| HK1087266A (en) | Channel estimation of a receiver multipath cdma signal | |
| KR20010003026A (ko) | 슬롯별 상관 결과를 이용한 프레임 동기 확인 방법 |
Legal Events
| Date | Code | Title | Description |
|---|---|---|---|
| MM4A | The patent is invalid due to non-payment of fees |
Effective date: 20150219 |