JP6552829B2 - 方向切換弁 - Google Patents

方向切換弁 Download PDF

Info

Publication number
JP6552829B2
JP6552829B2 JP2015014773A JP2015014773A JP6552829B2 JP 6552829 B2 JP6552829 B2 JP 6552829B2 JP 2015014773 A JP2015014773 A JP 2015014773A JP 2015014773 A JP2015014773 A JP 2015014773A JP 6552829 B2 JP6552829 B2 JP 6552829B2
Authority
JP
Japan
Prior art keywords
passage
pump
bridge
unload
tandem
Prior art date
Legal status (The legal status is an assumption and is not a legal conclusion. Google has not performed a legal analysis and makes no representation as to the accuracy of the status listed.)
Active
Application number
JP2015014773A
Other languages
English (en)
Other versions
JP2016138619A (ja
Inventor
崎 仁 岩
崎 仁 岩
部 明 紀 阿
部 明 紀 阿
Current Assignee (The listed assignees may be inaccurate. Google has not performed a legal analysis and makes no representation or warranty as to the accuracy of the list.)
Nabtesco Corp
Original Assignee
Nabtesco Corp
Priority date (The priority date is an assumption and is not a legal conclusion. Google has not performed a legal analysis and makes no representation as to the accuracy of the date listed.)
Filing date
Publication date
Application filed by Nabtesco Corp filed Critical Nabtesco Corp
Priority to JP2015014773A priority Critical patent/JP6552829B2/ja
Priority to KR1020160009352A priority patent/KR101790427B1/ko
Priority to CN201610060582.1A priority patent/CN105822793B/zh
Publication of JP2016138619A publication Critical patent/JP2016138619A/ja
Application granted granted Critical
Publication of JP6552829B2 publication Critical patent/JP6552829B2/ja
Active legal-status Critical Current
Anticipated expiration legal-status Critical

Links

Images

Classifications

    • FMECHANICAL ENGINEERING; LIGHTING; HEATING; WEAPONS; BLASTING
    • F16ENGINEERING ELEMENTS AND UNITS; GENERAL MEASURES FOR PRODUCING AND MAINTAINING EFFECTIVE FUNCTIONING OF MACHINES OR INSTALLATIONS; THERMAL INSULATION IN GENERAL
    • F16KVALVES; TAPS; COCKS; ACTUATING-FLOATS; DEVICES FOR VENTING OR AERATING
    • F16K11/00Multiple-way valves, e.g. mixing valves; Pipe fittings incorporating such valves
    • F16K11/02Multiple-way valves, e.g. mixing valves; Pipe fittings incorporating such valves with all movable sealing faces moving as one unit
    • F16K11/06Multiple-way valves, e.g. mixing valves; Pipe fittings incorporating such valves with all movable sealing faces moving as one unit comprising only sliding valves, i.e. sliding closure elements
    • F16K11/065Multiple-way valves, e.g. mixing valves; Pipe fittings incorporating such valves with all movable sealing faces moving as one unit comprising only sliding valves, i.e. sliding closure elements with linearly sliding closure members
    • F16K11/07Multiple-way valves, e.g. mixing valves; Pipe fittings incorporating such valves with all movable sealing faces moving as one unit comprising only sliding valves, i.e. sliding closure elements with linearly sliding closure members with cylindrical slides

Landscapes

  • Engineering & Computer Science (AREA)
  • General Engineering & Computer Science (AREA)
  • Mechanical Engineering (AREA)
  • Physics & Mathematics (AREA)
  • Fluid Mechanics (AREA)
  • Fluid-Pressure Circuits (AREA)
  • Multiple-Way Valves (AREA)
  • Mining & Mineral Resources (AREA)
  • Civil Engineering (AREA)
  • Structural Engineering (AREA)
  • Valve Housings (AREA)

Description

本発明は、方向切換弁に関する。
従来より、2つのポンプから1つのアクチュエータに油が供給される油圧回路がある(特許文献1および特許文献2など)。例えば、特許文献1に記載の油圧回路は、第1のポンプ(10)の吐出油をアクチュエータに供排する第1系統の方向切換弁(32、34A,34B、34C、34D)と、第2のポンプ(12)の吐出油をアクチュエータに供排する第2系統の方向切換弁(42、44A、44B、44C)と、を備える。この油圧回路では、ブーム用シリンダ(24B)に、第1のポンプ(10)および第2のポンプ(12)の吐出油が供給される。ブーム用シリンダ(24B)には、第1系統の方向切換弁(34C)と、第2系統の方向切換弁(44B)と、が接続される。また、アーム用シリンダ(24C)には、第1のポンプ(10)および第2のポンプ(12)の吐出油が供給される。アーム用シリンダ(24C)には、第1系統の方向切換弁(34D)と、第2系統の方向切換弁(44C)と、が接続される。
特開平10−18360号公報 特開2013−238291号公報
上記のように、従来技術では、2つのポンプから1つのアクチュエータに油を供給するために、1つのアクチュエータに対して2つの方向切換弁が接続される。すなわち、1つのポンプから1つのアクチュエータへ油を供給するために、1つの方向切換弁が使用される。このような構成は、例えば油圧回路の仕様によっては、望ましい場合もある。
しかしながら、上記の構成では、方向切換弁の製造コストがかかる。よって、2つのポンプから1つのアクチュエータへの油の供給を、一つの方向切換弁で行うことが望まれる場合もある。このような構成を実現した場合には、油圧回路内で使用される方向切換弁の数を減らすことができるため、製造コストを抑制できるという利点がある。
このように、油圧回路においては、例えばその仕様などによって、ポンプからアクチュエータへの油の供給態様に対する要望が異なることがある。
そこで、1つの方向切換弁において、1つのポンプから1つのアクチュエータに油を供給するための通路パターンや、2つのポンプから1つのアクチュエータに油を供給するための通路パターンなどを、選択的に形成することが可能であれば、油圧回路の製造を、非常に有利に実施することが可能となる。
本発明は上記実情を考慮してなされたものであり、ポンプからアクチュエータに油を供給するための複数種類の通路パターンを、選択的に形成できる方向切換弁を提供することを目的とする。
本発明の方向切換弁は、スプール孔が形成された弁本体と、前記スプール孔に挿入されたスプールと、を備える。前記弁本体は、前記スプール孔に開口し、第1ポンプに接続される第1アンロード通路と、前記スプール孔に開口し、第2ポンプに接続される第2アンロード通路と、前記スプール孔に直接的に開口せず、前記第1ポンプに接続可能な第1供給通路と、前記スプール孔に直接的に開口せず、前記第2ポンプに接続可能な第2供給通路と、前記スプール孔に開口し、アクチュエータに接続されるアクチュエータ通路と、前記スプール孔に開口するブリッジ通路と、前記第1供給通路と前記ブリッジ通路とを接続する第1パラレル通路を形成可能な第1パラレル用領域と、前記第2供給通路と前記ブリッジ通路とを接続する第2パラレル通路を形成可能な第2パラレル用領域と、前記第1アンロード通路と前記ブリッジ通路とを接続する第1タンデム通路を形成可能な第1タンデム用領域と、前記第2アンロード通路と前記ブリッジ通路とを接続する第2タンデム通路を形成可能な第2タンデム用領域と、を有する。前記スプールは、その位置によって、前記ブリッジ通路と前記アクチュエータ通路との接続および遮断を切り換える。
本発明によれば、ポンプからアクチュエータに油を供給するための複数種類の通路パターンを、選択的に形成できる。
本発明の一実施の形態にかかる方向切換弁の側面図である。 図1の方向切換弁の縦断面図である。 (A)は、図1および図2に示すIIIA−IIIA線に沿う断面図である。(B)は、図1および図2に示すIIIB−IIIB線に沿う断面図である。 図1および図2に示すIV−IV線に沿う断面図である。 図1の方向切換弁の回路図である。 通路パターンが形成された図1の方向切換弁が複数適用された建設機械用油圧回路を示す図である。 図6の油圧回路に含まれる、図1の方向切換弁の一例の側面図である。 図7の方向切換弁の縦断面図である。 (A)は、図7および図8に示すIXA−IXA線に沿う断面図である。(B)は、図7および図8に示すIXB−IXB線に沿う断面図である。
以下、本発明の一実施の形態について図面を参照して説明する。
図1乃至図5に示す本実施の形態にかかる方向切換弁30は、スプール孔33が形成された弁本体31と、スプール孔33に挿入されたスプール80と、複数の通路(41,42,45,51,52,53,61,62(以下、(41〜62)と記す。))と、通路(101,102,301,302)を形成可能な複数の領域(201,202,401,402)と、チェック弁又は盲栓を設けるための規制部材設置部(701〜704)を形成可能な複数の領域(711〜714)と、を備える。
説明の便宜上、通路(101,102,301,302)を形成可能な複数の領域(201,202,401,402)のうちの通路(201,202)は、図2において、二点鎖線で囲まれている。通路(401,402)は、図1乃至図3において、二点鎖線で囲まれている。図5において領域(201,202,401,402)に対応する部分は、二点鎖線で示されている。また、規制部材設置部(701〜704)を形成可能な複数の領域(711〜714)のうちの領域(711,712)は、図2において、一点鎖線で囲まれている。領域(713,714)は、図3において、一点鎖線で囲まれている。
この方向切換弁30は、建設機械用油圧回路(図示なし)に適用される方向切換弁である。方向切換弁30は、建設機械用油圧回路において、ポンプ(図示せず)とアクチュエータ(図示)とに接続され、アクチュエータに対して油を供排(供給および排出)するための弁である。
上記の領域(201,202,401,402)において形成可能な通路(101,102,301,302)は、ポンプの吐出油を、アクチュエータに供給するための通路である。この方向切換弁30は、複数の領域(201,202,401,402)の少なくともいずれかにおいて通路(101,102,301,302)が形成された場合に、アクチュエータに対して油を供排(供給および排出)することが可能となる。
すなわち、図1乃至図5に示す方向切換弁30は、油圧回路に適用されて適切に油を切り換える方向切換弁を製造するための中間体(ベース体あるいはベース部材)とも言える。この方向切換弁30は、上記のような複数の領域(201,202,401,402)を備えることにより、ポンプからアクチュエータに供給するための複数種類の通路パターンを、選択的に形成することが可能となっている。
方向切換弁30が接続されるアクチュエータは、建設機械を作動させる油圧アクチュエータである。この方向切換弁30が接続可能なアクチュエータの種類には、油圧モータと、油圧シリンダと、がある。方向切換弁30が接続されるアクチュエータは、第1ポートと、第2ポートと、を備えるアクチュエータである。第1ポートおよび第2ポートのそれぞれは、アクチュエータに対する油の供排口(供給口および排出口)である。このようなアクチュエータは、第1ポートに油が供給され、かつ、第2ポートから油が排出されることにより、一方側に作動する。具体的には例えば、油圧シリンダが伸びる、また例えば、油圧モータが一方側に回転する。第2ポートに油が供給され、かつ、第1ポートから油が排出されることにより、アクチュエータは他方側(上記「一方側」とは逆側)に作動する。具体的には例えば、油圧シリンダが縮む、また例えば、油圧モータが他方側に回転する。方向切換弁30は、このようなアクチュエータに後述するアクチュエータ通路(61・62)を介して接続されることが想定されている。
この方向切換弁30は、スプール孔33に対するスプール80の位置(ストローク位置)に応じて、油の方向などを変えるスプール弁である。方向切換弁30は、スプール80のストローク位置に応じて、切換位置を切り換える。方向切換弁30の切換位置には、中立位置30a(図2、図4および図5に示す位置)と、中立位置30aから図中の右側に移動した第1作動位置30b(図5参照)と、中立位置30aから図中の左側に移動した第2作動位置30c(図5参照)と、がある。
弁本体31は、スプール孔33、通路(41〜62)、領域(201,202,401,402)および領域(711〜714)が形成される部分である。弁本体31は、ブロック状(塊状)である。
スプール孔33は、弁本体31(の内部)に形成される。スプール孔33は、スプール80を差し込み可能な孔である。スプール80は、着脱可能に、スプール孔33に挿入される。
複数の通路(41〜62)の各々は、油が流れる流路(油路、配管)である。複数の通路(41〜62)の各々は、弁本体31(の内部)に形成される。複数の通路(41〜62)のうちの通路(41,42,45,53,61,62)は、スプール孔33に開口する。スプール孔33に開口する通路(41,42,45,53,61,62)のスプール孔33への開口は、例えばスプール孔33の周方向に延びる。複数の通路(41〜62)のうちの通路(41,42,45,61,62)は、弁本体31の外部と連通するように、弁本体31の表面に開口する。また、複数の通路(41〜62)のうちの通路(51,52)も、弁本体31の外部と連通するように、弁本体31の表面に開口する。複数の通路(41〜62)には、アンロード通路(41・42)と、タンク通路45と、供給通路(51・52)と、ブリッジ通路53と、アクチュエータ通路(61・62)と、がある。
アンロード通路(41・42)は、ポンプの吐出油を、アクチュエータに供給せずに、タンクに戻すための通路(バイパス通路)である。但し、例えばアンロード通路(41・42)から他の通路が分岐する場合(図示なし)は、アンロード通路(41・42)からアクチュエータに油が供給されてもよい。アンロード通路(41・42)は、2本設けられる(いわばデュアルバイパスである)。アンロード通路(41・42)は、第1アンロード通路41と、第2アンロード通路42と、を備える。
第1アンロード通路41と第2アンロード通路42とは、方向切換弁30が油圧回路に適用された場合に、互いに異なるポンプに接続される通路である。以下、第1アンロード通路41が接続されるポンプを第1ポンプ(図示せず)と呼ぶ。第2アンロード通路42が接続されるポンプを第2ポンプ(図示せず)と呼ぶ。
第1アンロード通路41は、第1ポンプに接続される通路である。第1アンロード通路41は、タンクに接続される通路である。第1アンロード通路41は、上流側第1アンロード通路41aと、下流側第2アンロード通路42bと、を備える。上流側第1アンロード通路41aは、第1アンロード通路41のうち、スプール孔33よりも上流側(第1ポンプ側)の通路である。下流側第1アンロード通路41bは、第1アンロード通路41のうち、スプール孔33よりも下流側(タンク側)の通路である。
第2アンロード通路42は、第1アンロード通路41が接続する第1ポンプとは異なる第2ポンプに接続される通路である。第2アンロード通路42は、タンクに接続される通路である。第2アンロード通路42は、上流側第2アンロード通路42aと、下流側第2アンロード通路42bと、を備える。上流側第2アンロード通路42aは、第2アンロード通路42のうち、スプール孔33よりも上流側(第2ポンプ側)の通路である。下流側第2アンロード通路42bは、第2アンロード通路42のうち、スプール孔33よりも下流側(タンク側)の通路である。
タンク通路45は、タンク(図示せず)に接続される通路である。タンク通路45は、アクチュエータから排出された油をタンクに戻すための通路である。
供給通路(51・52)は、ポンプの吐出油を、アクチュエータに供給するための通路である。供給通路(51・52)は、第1供給通路51と、第2供給通路52と、を備える。
第1供給通路51は、ポンプに接続可能な通路である。なお、第1供給通路51は、ポンプに接続されなくてもよい。第1供給通路51は、スプール孔33に直接的に開口していない。第1供給通路51は、ポンプに接続される場合、第1アンロード通路41が接続する第1ポンプに接続される。第1供給通路51は、第1ポンプに接続される場合、第1ポンプの吐出油を、アクチュエータに供給するために、受け入れる。第1供給通路51は、第1ポンプに接続される場合、第1アンロード通路41(上流側第1アンロード通路41a)に接続されてもよい。言い換えると、第1供給通路51は、第1アンロード通路41を介して第1ポンプに接続されてもよい。この場合、第1供給通路51の第1アンロード通路41への接続は、方向切換弁30の外部で行われる。
第2供給通路52は、ポンプに接続可能な通路である。なお、第2供給通路52は、ポンプに接続されなくてもよい。第2供給通路52は、スプール孔33に直接的に開口していない。第2供給通路52は、ポンプに接続される場合、第2アンロード通路42が接続する第2ポンプに接続される。第2供給通路52は、第2ポンプに接続される場合、第2ポンプの吐出油を、アクチュエータに供給するために、受け入れる。第2供給通路52は、第2ポンプに接続される場合、第2アンロード通路42(上流側第2アンロード通路42a)に接続されてもよい。言い換えると、第2供給通路52は、第2アンロード通路42を介して第2ポンプに接続されてもよい。この場合、第2供給通路52の第2アンロード通路42への接続は、方向切換弁30の外部で行われる。
ブリッジ通路53は、複数の領域(201,202,401,402)の少なくともいずれかにおいて通路(101,102,301,302)が形成された場合に、第1ポンプおよび第2ポンプのうちの少なくともいずれかからの吐出油を、アクチュエータに供給するための通路である。図2に示すように、ブリッジ通路53は、第1ブリッジ通路53aと、第2ブリッジ通路53bと、を備える。第1ブリッジ通路53aは、第1ポンプおよび第2ポンプのうちの少なくともいずれかからの吐出油を、第1アクチュエータ通路61(下記)に供給するための通路である。第2ブリッジ通路53bは、第1ポンプおよび第2ポンプのうちの少なくともいずれかからの吐出油を、第2アクチュエータ通路62(下記)に供給するための通路である。
アクチュエータ通路(61・62)は、複数の領域(201,202,401,402)の少なくともいずれかにおいて通路(101,102,301,302)が形成された場合に、第1ポンプおよび第2ポンプのうちの少なくともいずれかからの吐出油を、ブリッジ通路53を介して、アクチュエータに供給するための通路である。アクチュエータ通路(61・62)は、アクチュエータに接続される。アクチュエータ通路(61・62)は、上述した第1アクチュエータ通路61と、第2アクチュエータ通路62と、を備える。
第1アクチュエータ通路61は、アクチュエータの第1ポートに接続される通路である。第2アクチュエータ通路62は、アクチュエータの第2ポートに接続される通路である。
領域(201,202,401,402)は、第1ポンプおよび第2ポンプのうちの少なくともいずれかの吐出油を、アクチュエータに供給するための通路(101,102,301,302)を形成するための領域である。領域(201,202,401,402)には、第1パラレル用領域201、第2パラレル用領域202、第1タンデム用領域401および第2タンデム用領域402がある。
第1パラレル用領域201は、第1供給通路51とブリッジ通路53とを接続する第1パラレル通路101を形成可能な領域である。第2パラレル用領域202は、第2供給通路52とブリッジ通路53とを接続する第2パラレル通路102を形成可能な領域である。
第1タンデム用領域401は、第1アンロード通路41とブリッジ通路53とを接続する第1タンデム通路301を形成可能な領域である。第1タンデム通路301は、第1アンロード通路41とブリッジ通路53とを方向切換弁30の内部で接続するものでもよい。第1タンデム通路301は、第1アンロード通路41とブリッジ通路53とを方向切換弁30の外部で接続するものでもよい。図5に示すように、本実施の形態では、第1タンデム通路301は、形成された場合に、第1アンロード通路41とブリッジ通路53とを方向切換弁30の内部で接続するものである。第2タンデム用領域402は、第2アンロード通路42とブリッジ通路53とを接続する第2タンデム通路302を形成可能な領域である。第2タンデム通路302は、第2アンロード通路42とブリッジ通路53とを方向切換弁30の内部で接続するものでもよい。第2タンデム通路302は、第2アンロード通路42とブリッジ通路53とを方向切換弁30の外部で接続するものでもよい。図5に示すように、本実施の形態では、第2タンデム通路302は、形成された場合に、第2アンロード通路42とブリッジ通路53とを方向切換弁30の外部で接続するものである。
第1パラレル用領域201に第1パラレル通路101が形成された場合に、ブリッジ通路53は、第1供給通路51に接続される。第2パラレル用領域202に第2パラレル通路102が形成された場合に、ブリッジ通路53は、第2供給通路52に接続される。第1パラレル用領域201に第1パラレル通路101が形成され、第2パラレル用領域202に第2パラレル通路102が形成された場合に、ブリッジ通路53は、第1供給通路51および第2供給通路52に接続される。
第1パラレル用領域201に第1パラレル通路101が形成され、第1供給通路51が第1ポンプに接続される場合には、ブリッジ通路53には、第1供給通路51を流れる油が流れることが可能となる。第2パラレル用領域202に第2パラレル通路102が形成され、第2供給通路52が第2ポンプに接続される場合には、ブリッジ通路53には、第2供給通路52を流れる油が流れることが可能となる。第1パラレル用領域201に第1パラレル通路101が形成され、第1供給通路51が第1ポンプに接続され、第2パラレル用領域202に第2パラレル通路102が形成され、第2供給通路52が第2ポンプに接続される場合には、ブリッジ通路53には、第1供給通路51を流れる油と第2供給通路52を流れる油とが合流した油が流れることが可能となる。
第1タンデム用領域401に第1タンデム通路301が形成された場合に、ブリッジ通路53は、第1アンロード通路41に接続される。第2タンデム用領域402に第2タンデム通路302が形成された場合に、ブリッジ通路53は、第2アンロード通路42に接続される。第1タンデム用領域401に第1タンデム通路301が形成され、第2タンデム用領域402に第2タンデム通路302が形成された場合に、ブリッジ通路53は、第1アンロード通路41および第2アンロード通路42に接続される。
第1タンデム用領域401に第1タンデム通路301が形成される場合には、ブリッジ通路53には、第1アンロード通路41を流れる油が流れることが可能となる。第2タンデム用領域402に第2タンデム通路302が形成される場合には、ブリッジ通路53には、第2アンロード通路42を流れる油が流れることが可能となる。第1タンデム用領域401に第1タンデム通路301が形成され、第2タンデム用領域402に第2タンデム通路302が形成される場合には、ブリッジ通路53には、第1アンロード通路41を流れる油と第2第2アンロード通路42を流れる油とが合流した油が流れることが可能となる。
また、第1パラレル用領域201に第1パラレル通路101が形成され、第1供給通路51が第1ポンプに接続され、第1タンデム用領域401に第1タンデム通路301が形成される場合には、ブリッジ通路53には、第1供給通路51を流れる油と第1アンロード通路41を流れる油とが合流した油が流れることが可能となる。
第2パラレル用領域202に第2パラレル通路102が形成され、第2供給通路52が第2ポンプに接続され、第2タンデム用領域402に第2タンデム通路302が形成される場合には、ブリッジ通路53には、第2供給通路52を流れる油と第2アンロード通路42を流れる油とが合流した油が流れることが可能となる。
第1パラレル用領域201に第1パラレル通路101が形成され、第1供給通路51が第1ポンプに接続され、第1タンデム用領域401に第1タンデム通路301が形成され、第2パラレル用領域202に第2パラレル通路102が形成され、第2供給通路52が第2ポンプに接続され、第2タンデム用領域402に第2タンデム通路302が形成される場合には、ブリッジ通路53には、第1供給通路51を流れる油と第1アンロード通路41を流れる油とが合流した油、および、第2供給通路52を流れる油と第2アンロード通路42を流れる油とが合流した油が流れることが可能となる。なお、第1パラレル通路101、第2パラレル通路102、第1タンデム通路301および第2タンデム通路302の一以上が形成された場合のブリッジ通路53に対する油の流入パターンは、上記以外のパターンも存在する。
図2および図3に示すように、領域(711〜714)は、チェック弁又は盲栓を設けるための規制部材設置部(701〜704)を形成するための領域である。領域(711〜714)には、第1規制部材設置部701を形成可能な第1規制部材用領域711、第2規制部材設置部702を形成可能な第2規制部材用領域712、第3規制部材設置部703を形成可能な第3規制部材用領域713および第4規制部材設置部704を形成可能な第4規制部材用領域714がある。
図2に示すように、第1規制部材用領域711は、第1パラレル用領域201に第1パラレル通路101が形成された場合に、第1パラレル通路101とブリッジ通路53との間にチェック弁または盲栓を設けることが可能な第1規制部材設置部701を形成するための領域である。第1規制部材用領域711に形成される第1規制部材設置部701は、第1パラレル用領域201に第1パラレル通路101が形成された場合に、ブリッジ通路53から第1パラレル通路101への油の逆流を防ぐチェック弁を設ける部分として機能する。第1規制部材設置部701は、例えば第1パラレル用領域201に形成された第1パラレル通路101が不要となった場合に、ブリッジ通路53と第1パラレル通路101との連通を遮断する盲栓を設ける部分として機能する。
第2規制部材用領域712は、第2パラレル用領域202に第2パラレル通路102が形成された場合に、第2パラレル通路102とブリッジ通路53との間にチェック弁または盲栓を設けることが可能な第2規制部材設置部702を形成するための領域である。第2規制部材用領域712に形成される第2規制部材設置部702は、第2パラレル用領域202に第1パラレル通路102が形成された場合に、ブリッジ通路53から第2パラレル通路102への油の逆流を防ぐチェック弁を設ける部分として機能する。第2規制部材設置部702は、例えば第2パラレル用領域202に形成された第2パラレル通路102が不要となった場合に、ブリッジ通路53と第2パラレル通路102との連通を遮断する盲栓を設ける部分として機能する。
図3に示すように、第3規制部材用領域713は、第1タンデム用領域401に第1タンデム通路301が形成された場合に、第1タンデム通路301とブリッジ通路53との間にチェック弁または盲栓を設けることが可能な第3規制部材設置部703を形成するための領域である。第3規制部材用領域713に形成される第3規制部材設置部703は、第1タンデム用領域401に第1タンデム通路301が形成された場合に、ブリッジ通路53から第1タンデム通路301への油の逆流を防ぐチェック弁を設ける部分として機能する。第3規制部材設置部703は、例えば第1タンデム用領域401に形成された第1タンデム通路301が不要となった場合に、ブリッジ通路53と第1タンデム通路301との連通を遮断する盲栓を設ける部分として機能する。
第4規制部材用領域714は、第2タンデム用領域402に第2タンデム通路302が形成された場合に、第2タンデム通路302とブリッジ通路53との間にチェック弁または盲栓を設けることが可能な第4規制部材設置部704を形成するための領域である。第4規制部材用領域714に形成される第4規制部材設置部704は、第2タンデム用領域402に第2タンデム通路302が形成された場合に、ブリッジ通路53から第2タンデム通路302への油の逆流を防ぐチェック弁を設ける部分として機能する。第4規制部材設置部704は、例えば第2タンデム用領域402に形成された第2タンデム通路401が不要となった場合に、ブリッジ通路53と第2タンデム通路302との連通を遮断する盲栓を設ける部分として機能する。
スプール80は、図2および図4に示すように、スプール孔33に挿入される。スプール80は、略円柱状である。スプール80の軸方向(略円柱の中心軸の方向)を、スプール軸方向Aとする。スプール軸方向Aにおける一方側を一方側A1、他方側を他方側A2とする。スプール80は、スプール孔33に対してスプール軸方向Aにスライド(ストローク)自在である。
スプール80は、通路どうし(例えば、ブリッジ通路53とアクチュエータ通路(61・62))の接続および遮断を切り換える。このスプール80は、通路どうしの接続の有無、および、接続の開度(弁開度)を切り換える。さらに詳しくは、スプール80は、通路どうしを「遮断状態」ならびに「接続状態」(「全開状態」および「絞り状態」)のいずれかの状態にする。
「遮断状態」は、通路どうしが接続されていない状態(遮断された状態)である。
「接続状態」は、通路どうしが接続された状態(連通された状態)である。この「接続状態」には、「全開状態」と「絞り状態」とがある。
「全開状態」は、通路どうしの流路の開度が最大の状態(スプール80を一方側A1の端から他方側A2の端までストロークさせたときに開度が様々に変化するところ、この開度が最大の状態)である。例えば、「全開状態」は、通路どうしの流路が絞られていない状態である。
「絞り状態」は、通路どうしの流路が、上記「全開状態」よりも絞られた状態(遮断状態を除く)である。
このスプール80は、複数の領域(201,202,401,402)に形成される通路(101,102,301,302)のパターンによって、異なる構成が採用される。具体的には、ブリッジ通路53に第1ポンプおよび第2ポンプの両方からの吐出油が流れるように通路(101,102,301,302)が形成された場合と、ブリッジ通路53に第1ポンプのみからの吐出油が流れるように通路(101,102,301,302)が形成された場合と、ブリッジ通路53に第2ポンプのみからの吐出油が流れるように通路(101,102,301,302)が形成された場合とで、異なる構成のスプールが用いられる。
図1乃至図5に示すスプール80は、ブリッジ通路53に第1ポンプおよび第2ポンプの両方からの吐出油が流れるように通路(101,102,301,302)が形成された場合に用いられるスプールを示している。
<ブリッジ通路に第1ポンプおよび第2ポンプの両方からの吐出油が流れる構成の場合>
この場合、スプール80では、以下の構成が採用される。
スプール80は、ブリッジ通路53と、アクチュエータ通路(61・62)と、の接続および遮断を切り換える。
スプール80は、アクチュエータ通路(61・62)と、タンク通路45と、の接続および遮断を切り換える。
スプール80は、上流側第1アンロード通路41aと、下流側第1アンロード通路41bと、の接続および遮断を切り換える。
スプール80は、上流側第2アンロード通路42aと、下流側第2アンロード通路42bと、の接続および遮断を切り換える。
スプール80は、図4に示すように、切欠き部81と、ランド部83と、を備える。切欠き部81とランド部83とは、スプール軸方向Aに交互に配置される(形成される)。
切欠き部81は、通路どうし(通路間)を接続させる。切欠き部81は、通路のスプール孔33への開口どうしを接続させる。以下、スプール孔33への開口を、「開口」という。なお、図示の例では、複数の通路(41〜62)のうちの通路(41,42,45,53,61,62)がスプール孔33へ開口する。切欠き部81は、通路どうしを、スプール孔33を介して接続させる。図4に示すように、切欠き部81は、ランド部83に対して、スプール80の径方向内側に凹む部分である。切欠き部81は、複数設けられ、例えば4か所設けられる(2か所、3か所、または5か所以上設けられてもよい)。切欠き部81は、第1アンロード通路用切欠き部81aと、第2アンロード通路用切欠き部81bと、を備える。第1アンロード通路用切欠き部81aは、上流側第1アンロード通路41aと下流側第1アンロード通路41bとを接続させる。第2アンロード通路用切欠き部81bは、上流側第2アンロード通路42aと下流側第2アンロード通路42bとを接続させる。
ランド部83は、通路どうしが接続されない状態(遮断状態)にする。ランド部83は、切欠き部81による通路どうしの接続が行われないようにする。ランド部83は、スプール孔33(の内面)に接触する。ランド部83は、通路(41,42,45,53,61,62)の開口を塞ぐ。または、ランド部83は、通路どうしの間のスプール孔33を塞ぐ。ランド部83は、通路どうしを絞り状態にする。ランド部83は、通路(41,42,45,53,61,62)の開口を、全開状態よりも狭くする。ランド部83は、複数設けられ、例えば5か所設けられる(4か所以下、または6か所以上設けられてもよい)。ランド部83は、アンロード通路用ランド部(83a〜83c)を備える。
アンロード通路用ランド部(83a〜83c)は、アンロード通路(41・42)を遮断可能である(遮断状態にすることが可能である)。アンロード通路用ランド部(83a〜83c)は、第1アンロード通路用ランド部83aと、第2アンロード通路用ランド部83bと、第3アンロード通路用ランド部83cと、を備える。
第1アンロード通路用ランド部83aは、図4に示す中立位置30aから図中の右側に移動した第1作動位置30b(図5参照)のときに、第1アンロード通路41を遮断状態または絞り状態(図示なし)にする。第2アンロード通路用ランド部83bは、図4に示す中立位置30aから図中の左側に移動した第2作動位置30c(図5参照)のときに、第2アンロード通路42を遮断状態または絞り状態(図示なし)にする。
第3アンロード通路用ランド部83cは、第1アンロード通路41を遮断可能、かつ、第2アンロード通路42を遮断可能である。この構成では、第3アンロード通路用ランド部83cが2つの用途に使われるため、ランド部を共通化できる。第3アンロード通路用ランド部83cは、第1作動位置30bのときに、第2アンロード通路42を遮断状態または絞り状態(図示なし)にする。第3アンロード通路用ランド部83cは、第2作動位置30cのときに、第1アンロード通路41を遮断状態または絞り状態(図示なし)にする。以上が、ブリッジ通路53に第1ポンプおよび第2ポンプの両方からの吐出油が流れる構成の場合のスプール80の構成である。ブリッジ通路53に第1ポンプおよび第2ポンプのうちのいずれかからの吐出油が流れる構成の場合は、スプール80は、以下の構成が採用される
<ブリッジ通路に第1ポンプのみからの吐出油が流れる構成の場合>
この場合、スプール80では、以下の構成が採用される。
スプール80は、ブリッジ通路53と、アクチュエータ通路(61・62)と、の接続および遮断を切り換える。
スプール80は、アクチュエータ通路(61・62)と、タンク通路45と、の接続および遮断を切り換える。
スプール80は、上流側第1アンロード通路41aと、下流側第1アンロード通路41bと、の接続および遮断を切り換える。
スプール80は、上流側第2アンロード通路42aと、下流側第2アンロード通路42bと、を常時、接続状態とする。
この場合、アンロード通路用ランド部(83a〜83c)が、以下のように機能する。
第1アンロード通路用ランド部83aは、図4に示す中立位置30aから図中の右側に移動した第1作動位置30b(図5参照)のときに、第1アンロード通路41を遮断状態または絞り状態(図示なし)にする。第2アンロード通路用ランド部83bは、図4に示す中立位置30aから図中の左側に移動した第2作動位置30c(図5参照)のときに、第2アンロード通路42を遮断状態または絞り状態にする機能を有さない(全開状態に維持する)。
第3アンロード通路用ランド部83cは、第1作動位置30bのときに、第2アンロード通路42を遮断状態または絞り状態にする機能を有さない(全開状態に維持する)。第3アンロード通路用ランド部83cは、第2作動位置30cのときに、第1アンロード通路41を遮断状態または絞り状態(図示なし)にする。
その他の構成は、ブリッジ通路53に第1ポンプおよび第2ポンプの両方からの吐出油が流れる構成の場合と同様である。
<ブリッジ通路に第2ポンプのみからの吐出油が流れる構成の場合>
この場合、スプール80では、以下の構成が採用される。
スプール80は、ブリッジ通路53と、アクチュエータ通路(61・62)と、の接続および遮断を切り換える。
スプール80は、アクチュエータ通路(61・62)と、タンク通路45と、の接続および遮断を切り換える。
スプール80は、上流側第1アンロード通路41aと、下流側第1アンロード通路41bと、を常時、接続状態とする。
スプール80は、上流側第2アンロード通路42aと、下流側第2アンロード通路42bと、の接続および遮断を切り換える。
この場合、アンロード通路用ランド部(83a〜83c)が、以下のように機能する。
第1アンロード通路用ランド部83aは、図4に示す中立位置30aから図中の右側に移動した第1作動位置30b(図5参照)のときに、第1アンロード通路41を遮断状態または絞り状態にする機能を有さない(全開状態に維持する)。第2アンロード通路用ランド部83bは、図4に示す中立位置30aから図中の左側に移動した第2作動位置30c(図5参照)のときに、第2アンロード通路42を遮断状態または絞り状態(図示なし)にする。
第3アンロード通路用ランド部83cは、第1作動位置30bのときに、第2アンロード通路42を遮断状態または絞り状態(図示なし)にする。第3アンロード通路用ランド部83cは、第2作動位置30cのときに、第1アンロード通路41を遮断状態または絞り状態にする機能を有さない(全開状態に維持する)。
その他の構成は、ブリッジ通路53に第1ポンプおよび第2ポンプの両方からの吐出油が流れる構成の場合と同様である。
(通路(41〜62)の配置)
図2に示す複数の通路(41〜62)のうちのスプール孔33に開口する通路(41,42,45,53,61,62)の開口(スプール孔33への開口)は、スプール軸方向Aの一方側A1から他方側A2の順に、例えば次の順に並ぶ。一方側A1のタンク通路45、第1アクチュエータ通路61、第1ブリッジ通路53a(一方側A1のブリッジ通路53)、アンロード通路(41・42)、第2ブリッジ通路53b(他方側A2のブリッジ通路53)、第2アクチュエータ通路62、他方側A2のタンク通路45。一方側A1のタンク通路45の開口と、他方側A2のタンク通路45の開口とは、弁本体31の内部で連通する(弁本体31の内部で連通しなくてもよい)。
(アンロード通路(41・42)の配置)
図2に示すアンロード通路(41・42)は、次のように配置される。アンロード通路(41・42)は、スプール軸方向Aにおけるスプール孔33(図2参照)の寸法(スプール80の寸法)が大きくなりすぎることを抑制できるように配置される。具体的には次の通りである。
(アンロード通路(41・42)の配置順)
アンロード通路(41・42)は、第1アンロード通路41および第2アンロード通路42の両方の接続および遮断を切り換える必要がある場合に、第1アンロード通路41および第2アンロード通路42で第3アンロード通路用ランド部83cの共通化(上記)ができるように配置される。具体的には、第1アンロード通路41と第2アンロード通路42とは、隣り合う(スプール軸方向Aに隣り合う、以下同様)ように配置される(「隣り合う」については下記)。例えば、下流側第1アンロード通路41bと上流側第2アンロード通路42aとは、隣り合うように配置される。例えば、上流側第1アンロード通路41aと下流側第1アンロード通路41bとは、隣り合うように配置される。例えば、上流側第2アンロード通路42aと下流側第2アンロード通路42bとは、隣り合うように配置される。
ここで、通路αと通路βとが「隣り合う」とは、次の[配置例1]または[配置例2]のように配置されることである。[配置例1]通路αと通路βとの間に、他の通路(通路αおよび通路β以外の通路)が配置されない。スプール孔33(図2参照)では、通路αの開口(スプール孔33への開口)と、通路βの開口と、の間に他の通路の開口が配置されない。[配置例2]通路αと通路βとがスプール軸方向Aに順番に配置される。さらに詳しくは、スプール軸方向Aの一方側A1から他方側A2の順に、通路αの次に通路βが配置される(または、通路βの次に通路αが配置される)。スプール孔33(図2参照)では、通路αの開口と通路βの開口とがスプール軸方向Aに順番に配置される。
図1および図4に示すように、第1アンロード通路41および第2アンロード通路42は、弁本体31の一側面とこの側面に対向する他側面とにわたって、スプール軸方向Aに直交する方向に延びている。詳しくは、第1アンロード通路41では、上流側第1アンロード通路41aが、スプール孔33への開口側からスプール軸方向Aに直交する方向に延びて、弁本体31の前記一側面において弁本体31の外部に開口する。下流側第1アンロード通路41bは、スプール孔33への開口側から、スプール軸方向Aに直交する方向における上流側第1アンロード通路41aが延びる側とは反対側に延びて、弁本体31の前記他側面において弁本体31の外部に開口する。第2アンロード通路42では、上流側第2アンロード通路42aが、スプール孔33への開口側からスプール軸方向Aに直交する方向に延びて、弁本体31の前記一側面において弁本体31の外部に開口する。下流側第2アンロード通路42bは、スプール孔33への開口側から、スプール軸方向Aに直交する方向における上流側第2アンロード通路42aが延びる側とは反対側に延びて、弁本体31の前記他側面において弁本体31の外部に開口する。
(供給通路(51・52)の配置)
図1および図2に示すように、供給通路(51・52)は、アンロード通路(41・42)に沿って延びている。供給通路(51・52)は、アンロード通路(41・42)よりも径方向外側に配置される。第1供給通路51は、第1アンロード通路41(上流側第1アンロード通路41a)が開口する弁本体31の前記一側面から前記他側面に向けて延びる。第1供給通路51は、弁本体31の前記一側面と前記他側面との間の中間位置に至る。第2供給通路52は、第2アンロード通路42(上流側第2アンロード通路42a)が開口する弁本体31の前記一側面から前記他側面に向けて延びる。第2供給通路51は、弁本体31の前記一側面と前記他側面との間の中間位置に至る。第1アンロード通路41と第1供給通路51とは、互いの少なくとも一部が径方向で重なる位置に配置される。第2アンロード通路42と第2供給通路52とは、互いの少なくとも一部が径方向で重なる位置に配置される。
(ブリッジ通路(53)の配置)
図2に示すように、アンロード通路(41・42)および供給通路(51・52)が延びる方向に直交する断面視において、第1ブリッジ通路53aは、スプール孔33への開口側からスプール軸方向Aに対する径方向の外側に延び、その後、スプール軸方向Aに沿って第2ブリッジ通路53b側に延びる。そして、第1ブリッジ通路53aは、第1供給通路51の径方向外側に至る。第2ブリッジ通路53bは、スプール孔33への開口側からスプール軸方向Aに対する径方向の外側に延び、その後、スプール軸方向Aに沿って第1ブリッジ通路53a側に延びる。そして、第2ブリッジ通路53bは、第2供給通路52の径方向外側に至る。そして、第1ブリッジ通路53aと第2ブリッジ通路53bとは、第1供給通路51および第2供給通路52の径方向外側の位置で互いに接続する。
図2に示す断面視で、ブリッジ通路53は、逆U字状に形成される。ブリッジ通路53は、アンロード通路(41・42)および供給通路(51・52)を、スプール軸方向Aの両側および径方向の外側から覆っている。図2に示すように、第1ブリッジ通路53aのうちの第2ブリッジ通路53bとの接続部側の部分と第1供給通路51とは、径方向で重なっている。第2ブリッジ通路53bのうちの第1ブリッジ通路53aとの接続部側の部分と第2供給通路52とは、径方向で重なっている。一方、図1に示す側面視で、第1ブリッジ通路53aの中間部分(スプール孔33への開口側と第2ブリッジ通路53bとの接続部側との中間位置)と第1アンロード通路41(上流側第1アンロード通路41a)とは、スプール軸方および径方向で近接している。第2ブリッジ通路53bの中間部分(スプール孔33への開口側と第1ブリッジ通路53aとの接続部側との中間位置)と第2アンロード通路42(上流側第2アンロード通路42a)とは、スプール軸方向および径方向で近接している。
(領域(201,202,401,402)の位置)
図2に示すように、第1パラレル用領域201は、その一部が第1供給通路51に面し、他の一部が、ブリッジ通路53に面する位置に設定される。具体的には、第1パラレル用領域201は、第1ブリッジ通路53aのうちの第2ブリッジ通路53bとの接続部側の部分と第1供給通路51との間に設定される。すなわち、第1ブリッジ通路53aのうちの第2ブリッジ通路53bとの接続部側の部分と、第1パラレル用領域201と、第1供給通路51とは、径方向で重なっている。これにより、第1ブリッジ通路53aから第1供給通路51に向けて径方向に沿って第1パラレル用領域201に孔を形成することにより、第1パラレル通路101を形成できる。第2パラレル用領域202は、その一部が第2供給通路52に面し、他の一部が、ブリッジ通路53に面する位置に設定される。具体的には、第2パラレル用領域202は、第2ブリッジ通路53bのうちの第1ブリッジ通路53aとの接続部側の部分と第2供給通路52との間に設定される。すなわち、第2ブリッジ通路53bのうちの第1ブリッジ通路53aとの接続部側の部分と、第2パラレル用領域202と、第2供給通路52とは、径方向で重なっている。これにより、第2ブリッジ通路53bから第2供給通路52に向けて径方向に沿って第2パラレル用領域202に孔を形成することにより、第2パラレル通路102を形成できる。
図1乃至図3に示すように、第1タンデム用領域401は、その一部が第1アンロード通路41および弁本体31の外部に面し、他の一部が、ブリッジ通路53に面する位置に設定される。具体的には、図1に示すように、第1タンデム用領域401は、第1ブリッジ通路53aの中間部分と第1アンロード通路41(上流側第1アンロード通路41a)との間に設定される。これにより、第1タンデム用領域401においては、弁本体31の一側面から第1ブリッジ通路53aの中間部分と第1アンロード通路41(上流側第1アンロード通路41a)との間に孔を形成することにより、第1タンデム通路301をコンパクトに形成できる。なお、第1タンデム通路301が弁本体31の外部で第1アンロード通路41に接続される構成のときは、第1タンデム用領域401の一部は、第1アンロード通路41に面していなくてもよい。
第2タンデム用領域402は、その一部が第2アンロード通路42に面し、他の一部が、弁本体31の外部に面する位置に設定される。具体的には、図1に示すように、第2タンデム用領域402は、第2ブリッジ通路53bの中間部分と第2アンロード通路42(上流側第2アンロード通路42a)との間に設定される。これにより、第2タンデム用領域402においては、弁本体31の一側面から第2ブリッジ通路53bの中間部分と第2アンロード通路42(上流側第2アンロード通路42a)との間に孔を形成することにより、第2タンデム通路302をコンパクトに形成できる。なお、第2タンデム通路302が弁本体31の内部で第2アンロード通路42に接続される構成のときは、第2タンデム用領域402の一部は、第2アンロード通路42に面するように設定される。
(領域(711〜714)の位置)
図2に示すように、第1規制部材用領域711は、第1パラレル用領域201に第1パラレル通路101が形成される場合に、第1規制部材用領域711のうちの一部が、第1パラレル通路101とブリッジ通路53との接続位置に面し、その他の一部が、方向切換弁30の外部に面する位置に設定される。これにより、第1規制部材設置部701を、ブリッジ通路53の内部、第1パラレル通路101の内部および方向切換弁30の外部に連通する孔として形成できる。これにより、方向切換弁30の外部から第1規制部材設置部701を通して、第1パラレル通路101とブリッジ通路53との間に、チェック弁又は盲栓を設けることができる。具体的には、第1規制部材用領域711は、第1ブリッジ通路53aのうちの第2ブリッジ通路53bとの接続部側の部分と、第1パラレル用領域201と、第1供給通路51とに、径方向で重なる位置に設定される。
第2規制部材用領域712は、第2パラレル用領域202に第2パラレル通路102が形成される場合に、第2規制部材用領域712のうちの一部が、第2パラレル通路102とブリッジ通路53との接続位置に面し、その他の一部が、方向切換弁30の外部に面する位置に設定される。これにより、第2規制部材設置部702を、ブリッジ通路53の内部、第2パラレル通路102の内部および方向切換弁30の外部に連通する孔として形成できる。これにより、方向切換弁30の外部から第2規制部材設置部702を通して、第2パラレル通路102とブリッジ通路53との間に、チェック弁又は盲栓を設けることができる。具体的には、第2規制部材用領域712は、第2ブリッジ通路53bのうちの第1ブリッジ通路53aとの接続部側の部分と、第2パラレル用領域202と、第2供給通路52とに、径方向で重なる位置に設定される。
図3(A)に示すように、第3規制部材用領域713は、第1タンデム用領域401に第1タンデム通路301が形成される場合に、第3規制部材用領域713のうちの一部が、第1タンデム通路301とブリッジ通路53との接続位置に面し、その他の一部が、方向切換弁30の外部に面する位置に設定される。これにより、第3規制部材設置部703を、ブリッジ通路53の内部、第1タンデム通路301の内部および方向切換弁30の外部に連通する孔として形成できる。これにより、方向切換弁30の外部から第3規制部材設置部703を通して、第1タンデム通路301とブリッジ通路53との間に、チェック弁又は盲栓を設けることができる。具体的に、第3規制部材用領域713は、アンロード通路(41・42)および供給通路(51・52)が延びる方向で、第1タンデム用領域401に重なる位置に設定される。
図3(B)に示すように、第4規制部材用領域714は、第2タンデム用領域402に第2タンデム通路302が形成される場合に、第4規制部材用領域714のうちの一部が、第2タンデム通路302とブリッジ通路53との接続位置に面し、その他の一部が、方向切換弁30の外部に面する位置に設定される。これにより、第4規制部材設置部704を、ブリッジ通路53の内部、第2タンデム通路302の内部および方向切換弁30の外部に連通する孔として形成できる。これにより、方向切換弁30の外部から第4規制部材設置部704を通して、第2タンデム通路302とブリッジ通路53との間に、チェック弁又は盲栓を設けることができる。具体的に、第4規制部材用領域714は、アンロード通路(41・42)および供給通路(51・52)が延びる方向で、第2タンデム用領域402に重なる位置に設定される。
(作動)
方向切換弁30は、方向切換弁30の操作(建設機械の操縦者による操作、例えばレバー操作)に応じて作動することが可能である。この操作に応じて、方向切換弁30は、中立位置30aと、第1作動位置30bと、第2作動位置30cと、を切り換える。この操作に応じて、図2に示すスプール80は、ストローク位置を変える。その結果、スプール80は、通路どうしの接続の有無、および、接続の開度(弁開度)を切り換える。そして、複数の領域(201,202,401,402)の少なくともいずれかにおいて通路(101,102,301,302)が形成された場合に、第1ポンプおよび第2ポンプのうちの少なくともいずれかからの吐出油のアクチュエータへの油の供排(供給および排出)の有無、および、アクチュエータに対して供排する油の流量を調整することが可能となる。
スプール80は、複数の領域(201,202,401,402)に形成される通路(101,102,301,302)のパターンによって、異なる作動を実施する。具体的には、ブリッジ通路53に第1ポンプおよび第2ポンプの両方からの吐出油が流れるように通路(101,102,301,302)が形成された場合と、ブリッジ通路53に第1ポンプのみからの吐出油が流れるように通路(101,102,301,302)が形成された場合と、ブリッジ通路53に第2ポンプのみからの吐出油が流れるように通路(101,102,301,302)が形成された場合とで、異なる作動を実施する。パターンごとに、異なる作動を実施する場合には、それぞれのパターンに対応したスプール80が用いられる。
<ブリッジ通路に第1ポンプおよび第2ポンプの両方からの吐出油が流れる構成の場合>
第1ポンプおよび第2ポンプの両方からの吐出油が、ブリッジ通路53に流れるように、領域(201,202,401,402)において通路(101,102,301,302)が形成された場合には、方向切換弁30は、以下のように作動する。
(中立位置30a)
方向切換弁30の切換位置が中立位置30aのとき、方向切換弁30は、次のように作動する。
[作動1a]図2に示すように、方向切換弁30は、第1アンロード通路41を全開状態にする。具体的には、上流側第1アンロード通路41aと下流側第1アンロード通路41bとを、第1アンロード通路用切欠き部81a(図4参照)を介して、全開状態にする。
[作動1b]方向切換弁30は、第2アンロード通路42を全開状態にする。具体的には、方向切換弁30は、上流側第2アンロード通路42aと下流側第2アンロード通路42bとを、第2アンロード通路用切欠き部81b(図4参照)を介して、全開状態にする。
[作動1c]方向切換弁30は、ブリッジ通路53(第1ブリッジ通路53aおよび第2ブリッジ通路53b)を遮断状態にする。
[作動1d]方向切換弁30は、アクチュエータ通路(61・62)を遮断状態にする。
[作動1e]方向切換弁30は、タンク通路45を遮断状態にする。
[作動1f]その結果、アンロード通路(41・42)がタンクに接続された場合に、第1ポンプおよび第2ポンプの吐出油は、アンロード通路(41・42)を通り、タンクに戻される状態となる。アクチュエータ通路(61・62)がアクチュエータに接続された場合に、第1ポンプおよび第2ポンプの吐出油は、方向切換弁30からアクチュエータに供給されない状態となる。
(第1作動位置30b)
切換位置が第1作動位置30bのときの方向切換弁30は、アクチュエータ通路(61・62)に対する油の供排をする状態となる。方向切換弁30の切換位置が第1作動位置30bのとき、方向切換弁30は、次のように作動する。
[作動2a]方向切換弁30は、第1アンロード通路41を、遮断状態または絞り状態(図示なし)にする。具体的には、方向切換弁30は、上流側第1アンロード通路41aと下流側第1アンロード通路41bとを、第1アンロード通路用ランド部83a(図4参照)により、遮断状態または絞り状態にする。
[作動2b]方向切換弁30は、第2アンロード通路42を、遮断状態または絞り状態(図示なし)にする。具体的には、方向切換弁30は、上流側第2アンロード通路42aと下流側第2アンロード通路42bとを、第3アンロード通路用ランド部83c(図4参照)により、遮断状態または絞り状態にする。
[作動2c]方向切換弁30は、第1ブリッジ通路53a(ブリッジ通路53)と、第1アクチュエータ通路61と、を接続状態にする。
[作動2d]方向切換弁30は、第2ブリッジ通路53bを遮断状態にする。
[作動2e]方向切換弁30は、第2アクチュエータ通路62とタンク通路45とを接続状態にする。
[作動2f]その結果、第1ポンプおよび第2ポンプの吐出油は、ブリッジ通路53に流れる状態となる。
[作動2g]ブリッジ通路53を流れる油は、第1アクチュエータ通路61を流れる状態となる。第1アクチュエータ通路61がアクチュエータに接続された場合に、第1アクチュエータ通路61を流れる油が、アクチュエータに供給される状態となる。アクチュエータから排出される油は、第2アクチュエータ通路62を介して、タンク通路45を流れる状態になる。タンク通路45を流れる油は、タンクに戻る状態となる。
(第2作動位置30c)
切換位置が第2作動位置30cのときの方向切換弁30は、アクチュエータ通路(61・62)に対する油の供排をする状態となる。方向切換弁30の切換位置が第2作動位置30cのとき、方向切換弁30は、次のように作動する。
[作動3a]方向切換弁30は、第1アンロード通路41を、遮断状態または絞り状態にする。具体的には、方向切換弁30は、上流側第1アンロード通路41aと下流側第1アンロード通路41bとを、第3アンロード通路用ランド部83c(図2参照)により、遮断状態または絞り状態にする。
[作動3b]方向切換弁30は、第2アンロード通路42を、遮断状態または絞り状態(図示なし)にする。具体的には、方向切換弁30は、上流側第2アンロード通路42aと下流側第2アンロード通路42bとを、第2アンロード通路用ランド部83b(図2参照)により、遮断状態または絞り状態にする。
[作動3c]方向切換弁30は、第2ブリッジ通路53b(ブリッジ通路53)と、第2アクチュエータ通路62と、を接続状態にする。
[作動3d]方向切換弁30は、第1ブリッジ通路53aを遮断状態にする。
[作動3e]方向切換弁30は、第1アクチュエータ通路61とタンク通路45とを接続状態にする。
[作動3f]その結果、第1ポンプおよび第2ポンプの吐出油は、ブリッジ通路53に流れる状態となる。
[作動3g]ブリッジ通路53を流れる油は、第2アクチュエータ通路62を流れる状態となる。第2アクチュエータ通路62がアクチュエータに接続された場合に、第2アクチュエータ通路62を流れる油が、アクチュエータに供給される状態となる。アクチュエータから排出される油は、第1アクチュエータ通路61を介して、タンク通路45を流れる状態になる。タンク通路45を流れる油は、タンクに戻る状態となる。
<ブリッジ通路に第1ポンプのみからの吐出油が流れる構成の場合>
第1ポンプからの吐出油のみが、ブリッジ通路53に流れるように、領域(201,202,401,402)において通路(101,102,301,302)が形成された場合には、方向切換弁30は、第1作動位置30bにおいて、以下のように作動する。
[作動2a−1]方向切換弁30は、第1アンロード通路41を、遮断状態または絞り状態(図示なし)にする。
[作動2b−1]方向切換弁30は、第2アンロード通路42を、全開状態とする。
[作動2f−1]第1ポンプの吐出油は、ブリッジ通路53に流れる状態となる。
方向切換弁30は、第2作動位置30cにおいて、以下のように作動する。
[作動3a−1]方向切換弁30は、第1アンロード通路41を、遮断状態または絞り状態(図示なし)にする。
[作動3b−1]方向切換弁30は、第2アンロード通路42を、全開状態とする。
[作動3f−1]第1ポンプの吐出油は、ブリッジ通路53に流れる状態となる。
その他の構成は、ブリッジ通路53に第1ポンプおよび第2ポンプの両方からの吐出油が流れる構成の場合と、同様である。
<ブリッジ通路に第2ポンプのみからの吐出油が流れる構成の場合>
第2ポンプからの吐出油のみが、ブリッジ通路53に流れるように、領域(201,202,401,402)において通路(101,102,301,302)が形成された場合には、方向切換弁30は、第1作動位置30bにおいて、以下のように作動する。
[作動2a−2]方向切換弁30は、第1アンロード通路41を、全開状態とする。
[作動2b−2]方向切換弁30は、第2アンロード通路42を、遮断状態または絞り状態(図示なし)にする。
[作動2f−2]第2ポンプの吐出油は、ブリッジ通路53に流れる状態となる。
方向切換弁30は、第2作動位置30cにおいて、以下のように作動する。
[作動3a−2]方向切換弁30は、第1アンロード通路41を、全開状態とする。
[作動3b−2]方向切換弁30は、第2アンロード通路42を、遮断状態または絞り状態(図示なし)にする。
[作動3f−2]第2ポンプの吐出油は、ブリッジ通路53に流れる状態となる。
その他の構成は、ブリッジ通路53に第1ポンプおよび第2ポンプの両方からの吐出油が流れる構成の場合と、同様である。
(効果1)
図1乃至図5に示した方向切換弁30による効果を説明する。方向切換弁30は、スプール孔33が形成された弁本体31と、スプール孔33に挿入されたスプール80と、を備える。弁本体31は、スプール孔33に開口し、第1ポンプに接続される第1アンロード通路41と、スプール孔33に開口し、第2ポンプに接続される第2アンロード通路42と、スプール孔33に直接的に開口せず、第1ポンプに接続可能な第1供給通路51と、スプール孔33に直接的に開口せず、第2ポンプに接続可能な第2供給通路52と、スプール孔33に開口し、アクチュエータに接続されるアクチュエータ通路(61・62)と、スプール孔33に開口するブリッジ通路53と、を有する。弁本体31はさらに、第1供給通路51とブリッジ通路53とを接続する第1パラレル通路101を形成可能な第1パラレル用領域201と、第2供給通路52とブリッジ通路53とを接続する第2パラレル通路102を形成可能な第2パラレル用領域202と、第1アンロード通路41とブリッジ通路53とを接続する第1タンデム通路301を形成可能な第1タンデム用領域401と、第2アンロード通路302とブリッジ通路53とを接続する第2タンデム通路302を形成可能な第2タンデム用領域402と、を有する。スプール80は、その位置によって、ブリッジ通路53とアクチュエータ通路(61・62)との接続および遮断を切り換える。
この構成によれば、第1パラレル用領域201、第2パラレル用領域202、第1タンデム用領域401および第2タンデム用領域402の中から、通路(101,102,301,302)を選択的に一つまたは複数形成することができる。これにより、ポンプ(第1ポンプ、第2ポンプ)とブリッジ通路53とを接続する複数種類のパターンを形成することができる。そして、スプール80は、その位置によって、ブリッジ通路53とアクチュエータ通路(61・62)との接続および遮断を切り換える。これにより、選択的に形成された通路(101,102,301,302)に応じた複数種類の通路パターンで、ポンプからブリッジ通路53に油を供給することが可能となる。よって、この方向切換弁30によれば、第1パラレル用領域201、第2パラレル用領域202、第1タンデム用領域401および第2タンデム用領402の中から、通路(101,102,301,302)を選択的に一つまたは複数形成することにより、ポンプからアクチュエータに油を供給するための複数種類の通路パターンを、選択的に形成できる。
(その他の効果)
弁本体31は、第1規制部材用領域711と、第2規制部材用領域712と、第3規制部材用領域713と、第4規制部材用領域714と、を有する。第1規制部材用領域711は、第1パラレル用領域201に第1パラレル通路101が形成された場合に、第1パラレル通路101とブリッジ通路53との間にチェック弁または盲栓を設けることが可能な第1規制部材設置部701を形成するための領域である。第2規制部材用領域712は、第2パラレル用領域202に第2パラレル通路102が形成された場合に、第2パラレル通路102とブリッジ通路53との間にチェック弁または盲栓を設けることが可能な第2規制部材設置部702を形成するための領域である。第3規制部材用領域713は、第1タンデム用領域401に第1タンデム通路301が形成された場合に、第1タンデム通路301とブリッジ通路53との間にチェック弁または盲栓を設けることが可能な第3規制部材設置部703を形成するための領域である。第4規制部材用領域714は、第2タンデム用領域402に第2タンデム通路302が形成された場合に、第2タンデム通路302とブリッジ通路53との間にチェック弁または盲栓を設けることが可能な第4規制部材設置部704を形成するための領域である。
この構成によれば、第1パラレル用領域201に第1パラレル通路101が形成された場合に、ブリッジ通路53から第1パラレル通路101への油の逆流を防ぐチェック弁を設けることができる。この場合、油圧回路において適切に油を通流させることができる。また、例えば第1パラレル用領域201に形成された第1パラレル通路101が不要となった場合に、ブリッジ通路53と第1パラレル通路101との連通を遮断する盲栓を設けることができる。この場合、方向切換弁30における、ポンプからアクチュエータに油を供給するための通路パターンを、異なる通路パターンに切り換えることができる。第2規制部材用領域712、第3規制部材用領域713および第4規制部材用領域714も、第1規制部材用領域711と同様の効果を奏する。
方向切換弁30においてポンプからアクチュエータに油を供給するための複数種類の通路パターンを、選択的に形成した例を以下に説明する。
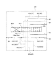
図6は、通路パターンが形成された図1の方向切換弁30(30A,30B)が複数適用された建設機械用油圧回路1(以下、油圧回路1と記す。)を示している。油圧回路1は、建設機械(図示なし)に用いられる油圧回路である。建設機械は、建設作業を行うための機械である。建設機械は、例えば油圧ショベルである。図6に示すように、油圧回路1は、ポンプ(11・12)と、タンク15と、アクチュエータ20(20A,20B)と、通路パターンが形成された図1乃至図5の方向切換弁30(30A,30B)と、を備える。
ポンプ(11・12)は、油(圧油、作動油)を吐出する油圧ポンプである。ポンプ(11・12)は、容量可変型である。ポンプ(11・12)では、斜板の傾転角が変わることで容量が変わり、容量が変わると吐出量(入力軸1回転あたりの油の吐出量)が変わる。ポンプ(11・12)は、2つのポンプで構成される。ポンプ(11・12)は、第1ポンプ11と、第2ポンプ12と、を備える。ポンプ(11・12)は、例えばスプリットポンプである。スプリットポンプは、1つの入力軸により、複数のポンプ(第1ポンプ11および第2ポンプ12)が駆動されるポンプである。スプリットポンプでは、第1ポンプ11と第2ポンプ12とが一体的に構成される。スプリットポンプでは、第1ポンプ11の吐出量と第2ポンプ12の吐出量とが等しい。なお、ポンプ(11・12)は、スプリットポンプでなくてもよい。第1ポンプ11と第2ポンプ12とは、別体でもよい。第1ポンプ11の入力軸と第2ポンプ12の入力軸とは、共通でもよく、共通でなくてもよい。第1ポンプ11の吐出量と第2ポンプ12の吐出量とは、同一でもよく、相違してもよい。
タンク15は、油を貯留する。タンク15は、ポンプ(11・12)に油を供給する。タンク15には、ポンプ(11・12)から吐出され、アクチュエータ20を通った油が戻される。タンク15には、ポンプ(11・12)から吐出され、アクチュエータ20を通らない油が戻される。
アクチュエータ20は、建設機械を作動させる。アクチュエータ20は、ポンプ(11・12)から油が供給されることにより駆動する、油圧アクチュエータである。アクチュエータ20は、第1ポンプ11および第2ポンプ12の少なくとも一方から油が供給されることで駆動する。建設機械が油圧ショベルの場合、アクチュエータ20の用途には、走行用、旋回用、バケット回動用、アーム起伏用、およびブーム起伏用などがある。
図中のアクチュエータ20Aは、一例として、ブームに対してアームを起伏(上げ下げ、回動)させるための油圧シリンダ(アーム用シリンダ)である。アクチュエータ20Bは、一例として、下部走行体に対して上部旋回体を旋回させるための油圧モータ(旋回用モータ)である。アクチュエータ20Aおよびアクチュエータ20Bのそれぞれは、第1ポート21および第2ポート22を有する。第1ポート21および第2ポート22それぞれは、アクチュエータ20に対する油の供排口(供給口および排出口)である。第1ポート21に油が供給され、かつ、第2ポート22から油が排出されることにより、アクチュエータ20は一方側に作動する。具体的には例えば、油圧シリンダが伸びる、また例えば、油圧モータ(図示なし)が一方側に回転する。第2ポート22に油が供給され、かつ、第1ポート21から油が排出されることにより、アクチュエータ20は他方側(上記「一方側」とは逆側)に作動する。具体的には例えば、油圧シリンダが縮む、また例えば、油圧モータが他方側に回転する。
油圧回路1では、それぞれ異なる通路パターンが形成された図1の方向切換弁30(30A,30B)が適用されている。方向切換弁30Aは、第1ポンプ11および第2ポンプ12とアクチュエータ20Aとの間に配置され、これら第1ポンプ11および第2ポンプ12とアクチュエータ20Aとに接続されている。方向切換弁30Aは、タンク15に接続されている。方向切換弁30Bは、第1ポンプ11および第2ポンプ12とアクチュエータ20Bとの間に配置され、これら第1ポンプ11および第2ポンプ12とアクチュエータ20Bとに接続されている。方向切換弁30Bは、タンク15に接続されている。
方向切換弁30Aは、第1ポンプ11および第2ポンプ12と、タンク15との間において、方向切換弁30Bの下流側に配置されている。方向切換弁30Aは、方向切換弁30Bのアンロード通路(41・42)を介して第1ポンプ11および第2ポンプ12に接続されている。方向切換弁30Bは、方向切換弁30Aのアンロード通路(41・42)を介してタンク15に接続されている。
方向切換弁30Aでは、第1パラレル用領域201に第1パラレル通路101が形成されている。第2パラレル用領域202に第2パラレル通路102が形成されている。第1タンデム用領域401に第1タンデム通路301が形成されている。第2タンデム用領域402に第2タンデム通路302が形成されている。したがって、第1ポンプ11および第2ポンプ12の吐出油を、4つの通路(101,102,301,302)からブリッジ通路53を介してアクチュエータ20Aに供給することが可能となっている。
方向切換弁30Aでは、第1規制部材用領域711に第1規制部材設置部701が形成されている。第2規制部材用領域712に第2規制部材設置部702が形成されている。第3規制部材用領域713に第3規制部材設置部703が形成されている。第4規制部材用領域714に第4規制部材設置部704が形成されている。第1規制部材設置部701には、ブリッジ通路53から第1パラレル通路101への油の逆流を防ぐチェック弁71が設けられている。第2規制部材設置部702には、ブリッジ通路53から第2パラレル通路102への油の逆流を防ぐチェック弁72が設けられている。第3規制部材設置部703には、ブリッジ通路53から第1タンデム通路301への油の逆流を防ぐチェック弁73が設けられている。第4規制部材設置部704には、ブリッジ通路53から第2タンデム通路302への油の逆流を防ぐチェック弁74が設けられている。
ここで、チェック弁71、チェック弁72、チェック弁73、およびチェック弁74では、それぞれで絞り量を異なるように設定することで、いずれの通路(101,102,301,302)からブリッジ通路53に油が優先的に供給されるかを調整することができる。
図7乃至図9には、第1パラレル通路101、第2パラレル通路102、第1タンデム通路301および第2タンデム通路302の形成状態、第1規制部材設置部701、第2規制部材設置部702、第3規制部材設置部703および第4規制部材設置部704の形成状態、チェック弁71、チェック弁72、チェック弁73およびチェック弁74の配置状態が示されている。通路(101,102,301,302)の形成は、例えば切削加工で行われる。同様に、設置部(701〜704)の形成は、例えば切削加工で行われる。本実施の形態の構成では、第1パラレル通路101および第2パラレル通路102は、第1規制部材設置部701および第2規制部材設置部702が弁本体31の外部から工具で形成された後に、これら第1規制部材設置部701および第2規制部材設置部702を通して、工具によって形成される。
また、図6に示すように、方向切換弁30Bでは、第1パラレル用領域201に第1パラレル通路101が形成されている。第2パラレル用領域202に第2パラレル通路102が形成されていない。第1タンデム用領域401に第1タンデム通路301が形成されている。第2タンデム用領域402に第2タンデム通路302が形成されていない。したがって、第1ポンプ11のみの吐出油を、2つの通路(101,301)からブリッジ通路53を介してアクチュエータ20Bに供給することが可能となっている。
方向切換弁30Bでは、第1規制部材用領域711に第1規制部材設置部701が形成されている。第2規制部材用領域712に第2規制部材設置部702が形成されていない。第3規制部材用領域713に第3規制部材設置部703が形成されている。第4規制部材用領域714に第4規制部材設置部704が形成されていない。第1規制部材設置部701には、ブリッジ通路53から第1パラレル通路101への油の逆流を防ぐチェック弁71が設けられている。第3規制部材設置部703には、ブリッジ通路53から第1タンデム通路301への油の逆流を防ぐチェック弁73が設けられている。通路(101,301)の形成は、例えば切削加工で行われる。同様に、設置部(701,703)の形成は、例えば切削加工で行われる。
このように、図1の方向切換弁30によれば、第1パラレル用領域201、第2パラレル用領域202、第1タンデム用領域401および第2タンデム用領402の中から、通路(101,102,301,302)を選択的に一つまたは複数形成することにより、ポンプからアクチュエータに油を供給するための複数種類の通路パターンを、選択的に形成できる。方向切換弁30では、図6乃至図9に示した例の他にも複数の通路パターンを形成できる。例えば、第2パラレル通路102のみを形成した場合には、第2ポンプ12のみからの吐出油を、1つの通路からブリッジ通路52を介してアクチュエータに供給する通路パターンを形成可能である。
1 建設機械用油圧回路
11 第1ポンプ
12 第2ポンプ
15 タンク
20,20A,20B アクチュエータ
21 第1ポート
22 第2ポート
30,30A,30B 方向切換弁
30a 中立位置
30b 第1作動位置
30c 第2作動位置
31 弁本体
33 スプール孔
41 第1アンロード通路
41a 上流側第1アンロード通路
41b 下流側第1アンロード通路
42 第2アンロード通路
42a 上流側第2アンロード通路
42b 下流側第2アンロード通路
45 タンク通路
51 第1供給通路
52 第2供給通路
53 ブリッジ通路
53a 第1ブリッジ通路
53b 第2ブリッジ通路
61 第1アクチュエータ通路
62 第2アクチュエータ通路
71,72,73,74 チェック弁
80 スプール
81 切欠き部
81a 第1アンロード通路用切欠き部
81b 第2アンロード通路用切欠き部
83 ランド部
83a 第1アンロード通路用ランド部
83b 第2アンロード通路用ランド部
83c 第3第1アンロード通路用ランド部
101 第1パラレル通路
102 第2パラレル通路
201 第1パラレル用領域
202 第2パラレル用領域
301 第1タンデム通路
302 第2タンデム通路
401 第1タンデム用領域
402 第2タンデム用領域
701 第1規制部材設置部
702 第2規制部材設置部
703 第3規制部材設置部
704 第4規制部材設置部
711 第1規制部材用領域
712 第2規制部材用領域
713 第3規制部材用領域
714 第4規制部材用領域

Claims (1)

  1. スプール孔が形成された弁本体と、
    前記スプール孔に挿入されたスプールと、を備え、
    前記弁本体は、
    前記スプール孔に開口し、第1ポンプに接続される第1アンロード通路と、
    前記スプール孔に開口し、第2ポンプに接続される第2アンロード通路と、
    前記スプール孔に直接的に開口せず、前記第1ポンプに接続可能な第1供給通路と、
    前記スプール孔に直接的に開口せず、前記第2ポンプに接続可能な第2供給通路と、
    前記スプール孔に開口し、アクチュエータに接続されるアクチュエータ通路と、
    前記スプール孔に開口するブリッジ通路と、
    前記第1供給通路と前記ブリッジ通路とを接続する第1パラレル通路を形成可能な第1パラレル用領域と、
    前記第2供給通路と前記ブリッジ通路とを接続する第2パラレル通路を形成可能な第2パラレル用領域と、
    前記第1アンロード通路と前記ブリッジ通路とを接続する第1タンデム通路を形成可能な第1タンデム用領域と、
    前記第2アンロード通路と前記ブリッジ通路とを接続する第2タンデム通路を形成可能な第2タンデム用領域と、を有し、
    前記ブリッジ通路は、両端部を前記スプール孔に開口するU字状であり、
    一つの前記ブリッジ通路と前記スプール孔との間に、前記第1パラレル用領域と前記第1タンデム用領域とが隣り合って位置し、前記第2パラレル用領域と前記第2タンデム用領域とが隣り合って位置し、
    前記スプールは、その位置によって、前記ブリッジ通路と前記アクチュエータ通路との接続および遮断を切り換える、方向切換弁。
JP2015014773A 2015-01-28 2015-01-28 方向切換弁 Active JP6552829B2 (ja)

Priority Applications (3)

Application Number Priority Date Filing Date Title
JP2015014773A JP6552829B2 (ja) 2015-01-28 2015-01-28 方向切換弁
KR1020160009352A KR101790427B1 (ko) 2015-01-28 2016-01-26 방향 전환 밸브
CN201610060582.1A CN105822793B (zh) 2015-01-28 2016-01-28 换向阀

Applications Claiming Priority (1)

Application Number Priority Date Filing Date Title
JP2015014773A JP6552829B2 (ja) 2015-01-28 2015-01-28 方向切換弁

Publications (2)

Publication Number Publication Date
JP2016138619A JP2016138619A (ja) 2016-08-04
JP6552829B2 true JP6552829B2 (ja) 2019-07-31

Family

ID=56559034

Family Applications (1)

Application Number Title Priority Date Filing Date
JP2015014773A Active JP6552829B2 (ja) 2015-01-28 2015-01-28 方向切換弁

Country Status (3)

Country Link
JP (1) JP6552829B2 (ja)
KR (1) KR101790427B1 (ja)
CN (1) CN105822793B (ja)

Families Citing this family (3)

* Cited by examiner, † Cited by third party
Publication number Priority date Publication date Assignee Title
JP6773421B2 (ja) * 2016-02-08 2020-10-21 ナブテスコ株式会社 方向切換弁及び油圧システム
JP6755814B2 (ja) 2017-02-09 2020-09-16 ナブテスコ株式会社 方向切換弁
CN108797696A (zh) * 2018-07-06 2018-11-13 佛山信卓派思机械科技有限公司 一种挖掘机操作模式切换控制阀

Family Cites Families (18)

* Cited by examiner, † Cited by third party
Publication number Priority date Publication date Assignee Title
DE2364282C3 (de) * 1973-12-22 1983-01-13 O & K Orenstein & Koppel Ag, 1000 Berlin Schaltungsanordnung für Hydraulikmotoren
JPS5842803A (ja) * 1981-09-08 1983-03-12 Handoothe- Kogyo Kk コントロ−ルバルブとこれを使用した作業機の回路
JPS58127205U (ja) * 1982-02-22 1983-08-29 株式会社ナブコ アクチユエ−タの駆動回路
JPH08184301A (ja) * 1994-10-31 1996-07-16 Kayaba Ind Co Ltd 油圧制御装置
JP3763045B2 (ja) 1995-10-03 2006-04-05 ナブテスコ株式会社 多連式方向切換弁のシャトル弁機構
JP3662676B2 (ja) 1996-07-08 2005-06-22 東芝機械株式会社 油圧ショベルの油圧回路
JPH10267142A (ja) * 1997-03-26 1998-10-09 Kayaba Ind Co Ltd 4位置切換弁
JPH11257303A (ja) * 1998-03-12 1999-09-21 Kayaba Ind Co Ltd 切換弁
JP2004138170A (ja) 2002-10-18 2004-05-13 Nabco Ltd 方向切換弁
JP4276491B2 (ja) * 2003-08-04 2009-06-10 日立建機株式会社 方向切換弁ブロック
DE10336334B3 (de) * 2003-08-08 2005-08-04 Cnh Baumaschinen Gmbh Hydraulisches Steuersystem für Baumaschinenen, insbesondere für Bagger
JP4994051B2 (ja) * 2007-01-26 2012-08-08 カヤバ工業株式会社 油圧制御装置
EP2644905A4 (en) * 2010-11-25 2018-01-10 Volvo Construction Equipment AB Flow control valve for construction machine
JP5916450B2 (ja) * 2012-03-15 2016-05-11 Kyb株式会社 切換バルブ
JP5975463B2 (ja) 2012-05-16 2016-08-23 Kyb株式会社 バルブ装置
JP5984575B2 (ja) 2012-08-15 2016-09-06 Kyb株式会社 切換弁
CN203641577U (zh) * 2014-01-26 2014-06-11 温岭市金盾工程机械制造有限公司 多路阀中升降阀片结构
JP6522320B2 (ja) * 2014-11-11 2019-05-29 ナブテスコ株式会社 方向切換弁

Also Published As

Publication number Publication date
CN105822793B (zh) 2018-02-06
JP2016138619A (ja) 2016-08-04
KR101790427B1 (ko) 2017-10-25
KR20160092935A (ko) 2016-08-05
CN105822793A (zh) 2016-08-03

Similar Documents

Publication Publication Date Title
JP6773421B2 (ja) 方向切換弁及び油圧システム
JP6773418B2 (ja) 方向切換弁及び油圧システム
JP6647826B2 (ja) 方向切換弁及び油圧システム
US9551361B2 (en) Travel control valve
US10969026B2 (en) Valve device
KR101831494B1 (ko) 방향 전환 밸브
JP6552829B2 (ja) 方向切換弁
JP6423754B2 (ja) 流量制御弁
KR20180121958A (ko) 유체압 제어 장치
KR102500484B1 (ko) 방향 전환 밸브
JP6918538B2 (ja) 多連方向切換弁
US11339884B2 (en) Valve device
JP7798647B2 (ja) 方向制御弁
JP7397561B2 (ja) 弁装置
JP6220680B2 (ja) 建設機械用油圧回路
JP7121641B2 (ja) 流体圧制御装置
WO2023189986A1 (ja) 流量制御弁

Legal Events

Date Code Title Description
A621 Written request for application examination

Free format text: JAPANESE INTERMEDIATE CODE: A621

Effective date: 20171213

A977 Report on retrieval

Free format text: JAPANESE INTERMEDIATE CODE: A971007

Effective date: 20181015

A131 Notification of reasons for refusal

Free format text: JAPANESE INTERMEDIATE CODE: A131

Effective date: 20181102

A601 Written request for extension of time

Free format text: JAPANESE INTERMEDIATE CODE: A601

Effective date: 20181227

A521 Request for written amendment filed

Free format text: JAPANESE INTERMEDIATE CODE: A523

Effective date: 20190131

TRDD Decision of grant or rejection written
A01 Written decision to grant a patent or to grant a registration (utility model)

Free format text: JAPANESE INTERMEDIATE CODE: A01

Effective date: 20190607

A61 First payment of annual fees (during grant procedure)

Free format text: JAPANESE INTERMEDIATE CODE: A61

Effective date: 20190703

R150 Certificate of patent or registration of utility model

Ref document number: 6552829

Country of ref document: JP

Free format text: JAPANESE INTERMEDIATE CODE: R150

R250 Receipt of annual fees

Free format text: JAPANESE INTERMEDIATE CODE: R250

R250 Receipt of annual fees

Free format text: JAPANESE INTERMEDIATE CODE: R250

R250 Receipt of annual fees

Free format text: JAPANESE INTERMEDIATE CODE: R250

R250 Receipt of annual fees

Free format text: JAPANESE INTERMEDIATE CODE: R250

S111 Request for change of ownership or part of ownership

Free format text: JAPANESE INTERMEDIATE CODE: R313111