JP6082037B2 - トランジスタの作製方法 - Google Patents

トランジスタの作製方法 Download PDF

Info

Publication number
JP6082037B2
JP6082037B2 JP2015004136A JP2015004136A JP6082037B2 JP 6082037 B2 JP6082037 B2 JP 6082037B2 JP 2015004136 A JP2015004136 A JP 2015004136A JP 2015004136 A JP2015004136 A JP 2015004136A JP 6082037 B2 JP6082037 B2 JP 6082037B2
Authority
JP
Japan
Prior art keywords
oxide semiconductor
transistor
insulating layer
semiconductor layer
layer
Prior art date
Legal status (The legal status is an assumption and is not a legal conclusion. Google has not performed a legal analysis and makes no representation as to the accuracy of the status listed.)
Expired - Fee Related
Application number
JP2015004136A
Other languages
English (en)
Other versions
JP2015111705A (ja
Inventor
山崎 舜平
舜平 山崎
Current Assignee (The listed assignees may be inaccurate. Google has not performed a legal analysis and makes no representation or warranty as to the accuracy of the list.)
Semiconductor Energy Laboratory Co Ltd
Original Assignee
Semiconductor Energy Laboratory Co Ltd
Priority date (The priority date is an assumption and is not a legal conclusion. Google has not performed a legal analysis and makes no representation as to the accuracy of the date listed.)
Filing date
Publication date
Application filed by Semiconductor Energy Laboratory Co Ltd filed Critical Semiconductor Energy Laboratory Co Ltd
Priority to JP2015004136A priority Critical patent/JP6082037B2/ja
Publication of JP2015111705A publication Critical patent/JP2015111705A/ja
Application granted granted Critical
Publication of JP6082037B2 publication Critical patent/JP6082037B2/ja
Expired - Fee Related legal-status Critical Current
Anticipated expiration legal-status Critical

Links

Images

Classifications

    • H10P14/22
    • HELECTRICITY
    • H01ELECTRIC ELEMENTS
    • H01LSEMICONDUCTOR DEVICES NOT COVERED BY CLASS H10
    • H01L21/00Processes or apparatus adapted for the manufacture or treatment of semiconductor or solid state devices or of parts thereof
    • H01L21/02Manufacture or treatment of semiconductor devices or of parts thereof
    • H01L21/02104Forming layers
    • H01L21/02365Forming inorganic semiconducting materials on a substrate
    • H01L21/02612Formation types
    • H01L21/02617Deposition types
    • H01L21/02631Physical deposition at reduced pressure, e.g. MBE, sputtering, evaporation
    • HELECTRICITY
    • H01ELECTRIC ELEMENTS
    • H01LSEMICONDUCTOR DEVICES NOT COVERED BY CLASS H10
    • H01L21/00Processes or apparatus adapted for the manufacture or treatment of semiconductor or solid state devices or of parts thereof
    • H01L21/02Manufacture or treatment of semiconductor devices or of parts thereof
    • H01L21/02104Forming layers
    • H01L21/02365Forming inorganic semiconducting materials on a substrate
    • H01L21/02518Deposited layers
    • H01L21/02521Materials
    • H01L21/02551Group 12/16 materials
    • H01L21/02554Oxides
    • HELECTRICITY
    • H01ELECTRIC ELEMENTS
    • H01LSEMICONDUCTOR DEVICES NOT COVERED BY CLASS H10
    • H01L21/00Processes or apparatus adapted for the manufacture or treatment of semiconductor or solid state devices or of parts thereof
    • H01L21/02Manufacture or treatment of semiconductor devices or of parts thereof
    • H01L21/02104Forming layers
    • H01L21/02365Forming inorganic semiconducting materials on a substrate
    • H01L21/02518Deposited layers
    • H01L21/02521Materials
    • H01L21/02565Oxide semiconducting materials not being Group 12/16 materials, e.g. ternary compounds
    • HELECTRICITY
    • H10SEMICONDUCTOR DEVICES; ELECTRIC SOLID-STATE DEVICES NOT OTHERWISE PROVIDED FOR
    • H10DINORGANIC ELECTRIC SEMICONDUCTOR DEVICES
    • H10D30/00Field-effect transistors [FET]
    • H10D30/60Insulated-gate field-effect transistors [IGFET]
    • H10D30/67Thin-film transistors [TFT]
    • H10D30/674Thin-film transistors [TFT] characterised by the active materials
    • H10D30/6755Oxide semiconductors, e.g. zinc oxide, copper aluminium oxide or cadmium stannate
    • HELECTRICITY
    • H10SEMICONDUCTOR DEVICES; ELECTRIC SOLID-STATE DEVICES NOT OTHERWISE PROVIDED FOR
    • H10DINORGANIC ELECTRIC SEMICONDUCTOR DEVICES
    • H10D99/00Subject matter not provided for in other groups of this subclass
    • H10P14/3426
    • H10P14/3434

Landscapes

  • Engineering & Computer Science (AREA)
  • Microelectronics & Electronic Packaging (AREA)
  • Condensed Matter Physics & Semiconductors (AREA)
  • General Physics & Mathematics (AREA)
  • Manufacturing & Machinery (AREA)
  • Computer Hardware Design (AREA)
  • Physics & Mathematics (AREA)
  • Power Engineering (AREA)
  • Thin Film Transistor (AREA)
  • Semiconductor Memories (AREA)
  • Physical Deposition Of Substances That Are Components Of Semiconductor Devices (AREA)
  • Physical Vapour Deposition (AREA)
  • Metal-Oxide And Bipolar Metal-Oxide Semiconductor Integrated Circuits (AREA)
  • Dram (AREA)

Description

発明の技術分野は、半導体装置およびその作製方法に関する。ここで、半導体装置とは、
半導体特性を利用することで機能する素子および装置全般を指すものである。
半導体材料として酸化物半導体を用いてトランジスタ等の半導体装置を作製し、該半導体
装置を半導体集積回路や電子デバイスに応用する技術が注目されている。例えば、半導体
材料として酸化亜鉛、In−Ga−Zn−O系酸化物半導体を用いてトランジスタを作製
し、画像表示装置のスイッチング素子などに用いる技術が特許文献1及び特許文献2で開
示されている。
酸化物半導体にチャネル形成領域(チャネル領域ともいう)を設けたトランジスタは、ア
モルファスシリコンを用いたトランジスタよりも高い移動度が得られている。さらに、酸
化物半導体膜はスパッタリング法(スパッタ法ともいう)などによって比較的低温で膜形
成が可能であり、多結晶シリコンを用いたトランジスタよりも製造工程が容易である。例
えば、特許文献3では、対向して配置された一組のターゲットを用いたスパッタリング法
により形成した酸化亜鉛薄膜をチャネル形成領域に用いた薄膜トランジスタが開示されて
いる。
特開2007−123861号公報 特開2007−96055号公報 特開2006−005115号公報
しかしながら、酸化物半導体を用いて作製した半導体素子の特性は未だ充分なものとは言
えない。例えば、酸化物半導体層を用いたトランジスタには、制御された閾値電圧、高い
動作速度等の電気的特性、または十分な信頼性が求められている。
そこで、本発明の一態様は、高い電気的特性を有する半導体装置、若しくはその作製方法
を提供することを目的の一とする。または、高い信頼性を有する半導体装置、若しくはそ
の作製方法を提供することを目的の一とする。
トランジスタの作製工程において、ゲート絶縁層と酸化物半導体層との界面にプラズマダ
メージが混入すると、ゲート絶縁層と酸化物半導体層との界面に欠陥(界面トラップ)を
生じる。更には、ゲート絶縁層中及び酸化物半導体層中の一方または双方にプラズマダメ
ージが混入すると、欠陥(膜中トラップ)を生じる。これらの欠陥は、トランジスタの閾
値電圧がシフトする原因となる。
さらに、酸化物半導体を用いたトランジスタの閾値電圧は酸化物半導体膜に含まれるキャ
リア密度(キャリア濃度ともいう)にも影響される。また、酸化物半導体膜に含まれるキ
ャリアは、酸化物半導体膜に含まれる不純物により発生する。例えば、成膜された酸化物
半導体膜に含まれるHOに代表される水素原子を含む化合物や炭素原子を含む化合物、
もしくは水素原子や炭素原子等の不純物は、酸化物半導体膜のキャリア密度を高める。
Oに代表される水素原子を含む化合物、もしくは水素原子等の不純物を含む酸化物半
導体膜を用いて作製したトランジスタは、閾値電圧のシフトなどの経時劣化を制御するこ
とが困難である。
そこで、上記目的を達成するためには、作製工程におけるゲート絶縁層中、酸化物半導体
層中、またはその界面の少なくとも一へのプラズマダメージを抑制し、且つ、酸化物半導
体膜に含まれるキャリア密度に影響する不純物、例えば、HOに代表される水素原子を
含む化合物、もしくは水素原子等の不純物を排除すればよい。
具体的には、本発明の一態様の半導体装置は、ゲート電極と、ゲート電極と重なる酸化物
半導体層と、酸化物半導体層と接するソース電極及びドレイン電極と、ゲート電極と酸化
物半導体層との間に設けられたゲート絶縁層と、を有し、酸化物半導体層は、対向ターゲ
ット方式を用いたスパッタリング法により成膜され、且つ酸化物半導体層に含まれるキャ
リア濃度が、1×1012/cm未満である半導体装置である。
また、本発明の別の一態様の半導体装置は、ゲート電極と、ゲート電極と重なる酸化物半
導体層と、酸化物半導体層と接するソース電極及びドレイン電極と、ゲート電極と酸化物
半導体層との間に設けられたゲート絶縁層と、を有し、酸化物半導体層に含まれるキャリ
ア濃度は、1×1012/cm未満であり、ゲート絶縁層は、対向ターゲット方式を用
いたスパッタリング法により成膜される半導体装置である。
また、上記の半導体装置において、酸化物半導体層は、対向ターゲット方式を用いたスパ
ッタリング法により成膜されるのが好ましい。
または、上記の半導体装置において、酸化物半導体層の少なくとも一部に接する絶縁層を
さらに有し、絶縁層は、対向ターゲット方式を用いたスパッタリング法により成膜される
のが好ましい。
また、本発明の別の一態様は、基板上に、ゲート電極を形成し、ゲート電極上にゲート絶
縁層を形成し、ゲート絶縁層上に酸化物半導体層を形成し、酸化物半導体層と電気的に接
続するソース電極及びドレイン電極を形成する半導体装置の作製方法であって、酸化物半
導体層は、対向させて配置した一組のターゲットを用いたスパッタリング法により成膜さ
れ、酸化物半導体層形成後に、第1の加熱処理により、酸化物半導体層に含まれる水素濃
度を低減し、第2の加熱処理により、酸化物半導体層に酸素を供給する半導体装置の作製
方法である。
また、本発明の別の一態様は、基板上に酸化物半導体層を形成し、酸化物半導体層と電気
的に接続するソース電極及びドレイン電極を形成し、酸化物半導体層の少なくともチャネ
ル形成領域と接するゲート絶縁層を形成し、ゲート絶縁層上に、ゲート電極を形成する半
導体装置の作製方法であって、酸化物半導体層は、対向させて配置した一組のターゲット
を用いたスパッタリング法により成膜され、酸化物半導体層形成後に、第1の加熱処理に
より、酸化物半導体層に含まれる水素濃度を低減し、第2の加熱処理により、酸化物半導
体層に酸素を供給する半導体装置の作製方法である。
なお、上記の半導体装置の作製方法において、ゲート絶縁膜を、対向させて配置した一組
のターゲットを用いたスパッタリング法により形成するのが好ましい。
または、上記の半導体装置の作製方法において、酸化物半導体層に接して、対向させて配
置した一組のターゲットを用いたスパッタリング法により絶縁層を形成するのが好ましい
本明細書等において「上」や「下」の用語は、構成要素の位置関係が「直上」または「直
下」であることを限定するものではない。例えば、「ゲート絶縁層上のゲート電極」の表
現であれば、ゲート絶縁層とゲート電極との間に他の構成要素を含むものを除外しない。
本明細書等において「電極」や「配線」の用語は、これらの構成要素を機能的に限定する
ものではない。例えば、「電極」は「配線」の一部として用いられることがあり、その逆
もまた同様である。さらに、「電極」や「配線」の用語は、複数の「電極」や「配線」が
一体となって形成されている場合をなどをも含む。
「ソース」や「ドレイン」の機能は、異なる極性のトランジスタを採用する場合や、回路
動作において電流の方向が変化する場合などには入れ替わることがある。このため、本明
細書においては、「ソース」や「ドレイン」の用語は、入れ替えて用いることができるも
のとする。
本明細書等において、「電気的に接続」には、「何らかの電気的作用を有するもの」を介
して接続されている場合が含まれる。ここで、「何らかの電気的作用を有するもの」は、
接続対象間での電気信号の授受を可能とするものであれば、特に制限を受けない。例えば
、「何らかの電気的作用を有するもの」には、電極や配線をはじめ、トランジスタなどの
スイッチング素子、抵抗素子、インダクタ、キャパシタ、その他の各種機能を有する素子
などが含まれる。
開示する発明の一態様によって、以下のいずれか、または双方の効果を得ることが可能で
ある。
本発明の一態様によって、高い電気的特性を有する半導体装置またはその作製方法を提供
することができる。
本発明の一態様によって、高い信頼性を有する半導体装置またはその作製方法を提供する
ことができる。
半導体装置の断面図。 成膜装置の断面図。 成膜装置の断面図及び上面図。 半導体装置の作製工程に係る断面図。 半導体装置の作製工程に係る断面図。 半導体装置の平面図及び断面図。 半導体装置の断面図。 半導体装置の断面図、上面図及び回路図。 電子機器を示す図。
本発明の実施の形態の一例について、図面を用いて以下に説明する。但し、本発明は以下
の説明に限定されず、本発明の趣旨およびその範囲から逸脱することなくその形態および
詳細を様々に変更し得ることは当業者であれば容易に理解される。従って、本発明は以下
に示す実施の形態の記載内容に限定して解釈されるものではない。
なお、図面等において示す各構成の、位置、大きさ、範囲などは、理解の簡単のため、実
際の位置、大きさ、範囲などを表していない場合がある。このため、開示する発明は、必
ずしも、図面等に開示された位置、大きさ、範囲などに限定されない。
なお、本明細書等における「第1」、「第2」、「第3」などの序数詞は、構成要素の混
同を避けるために付すものであり、数的に限定するものではないことを付記する。
(実施の形態1)
本実施の形態では、開示する発明の一態様に係る半導体装置の構成およびその作製工程の
例について、図1乃至図4を参照して説明する。
〈半導体装置の構成例〉
図1(A)乃至図1(D)に、半導体装置の例として、トランジスタの断面構造を示す。
図1(A)に示すトランジスタ160は、トップゲート型のトランジスタの一例であり、
基板100上に、酸化物半導体層144と、酸化物半導体層144に接して設けられたソ
ース電極142a及びドレイン電極142bと、酸化物半導体層144の少なくともチャ
ネル形成領域、ソース電極142a及びドレイン電極142bを覆うゲート絶縁層146
と、ゲート絶縁層146上に設けられ、酸化物半導体層144のチャネル形成領域と重な
るゲート電極148と、を有している。
図1(B)に示すトランジスタ170もまた、トップゲート型のトランジスタの一例であ
り、図1(A)に示すトランジスタ160との相違の一は、ソース電極142a及びドレ
イン電極142bと、酸化物半導体層144との積層順である。すなわち、図1(B)に
示すトランジスタ170は、基板100上に、ソース電極142a及びドレイン電極14
2bと、ソース電極142a及びドレイン電極142bの一端面に少なくとも接する酸化
物半導体層144と、酸化物半導体層144上に設けられたゲート絶縁層146と、ゲー
ト絶縁層146上に設けられ、酸化物半導体層144のチャネル形成領域と重なるゲート
電極148と、を有している。
図1(C)に示すトランジスタ180は、ボトムゲート型のトランジスタの一例であり、
基板100上に、ゲート電極148と、ゲート電極148を覆うゲート絶縁層146と、
ゲート絶縁層146上に設けられたソース電極142a及びドレイン電極142bと、ソ
ース電極142a及びドレイン電極142bの一端面に少なくとも接する酸化物半導体層
144と、酸化物半導体層144上に設けられた絶縁層150と、を有している。なお、
絶縁層150は、必ずしも設けなくとも良い。
図1(D)に示すトランジスタ190もまた、ボトムゲート型のトランジスタの一例であ
り、図1(C)に示すトランジスタ180との相違の一は、ソース電極142a及びドレ
イン電極142bと、酸化物半導体層144との積層順である。すなわち、図1(D)に
示すトランジスタ190は、基板100上に、ゲート電極148と、ゲート電極148を
覆うゲート絶縁層146と、ゲート絶縁層146上に設けられた酸化物半導体層144と
、酸化物半導体層144に接して設けられたソース電極142a及びドレイン電極142
bと、酸化物半導体層144の少なくともチャネル形成領域、ソース電極142a及びド
レイン電極142bを覆う絶縁層150と、を有している。なお、絶縁層150は、必ず
しも設けなくとも良い。
図1(A)乃至図1(D)に示す各トランジスタに含まれる酸化物半導体層144は、水
素などの不純物が十分に除去されることにより、または、十分な酸素が供給されることに
より、高純度化された酸化物半導体層である。具体的には、例えば、酸化物半導体層14
4の水素濃度は5×1019atoms/cm以下、望ましくは5×1018atom
s/cm以下、より望ましくは5×1017atoms/cm以下とする。なお、上
述の酸化物半導体層144中の水素濃度は、二次イオン質量分析法(SIMS:Seco
ndary Ion Mass Spectroscopy)で測定されるものである。
このように、水素濃度が十分に低減されて高純度化され、十分な酸素の供給により酸素欠
乏に起因するエネルギーギャップ中の欠陥準位が低減された酸化物半導体層144では、
水素や酸素欠陥等に由来するキャリア濃度が1×1012/cm未満、望ましくは、1
×1011/cm未満、より望ましくは1.45×1010/cm未満となる。酸化
物半導体層144を有するトランジスタでは、オフ電流を十分に小さくすることが可能で
ある。例えば、酸化物半導体層144の膜厚が30nmで、チャネル長が2μmのトラン
ジスタの、室温(25℃)でのチャネル幅1μmあたりのオフ電流(ゲートバイアスは−
3V)は100zA(1zA(ゼプトアンペア)は1×10−21A)以下、望ましくは
10zA以下となる。このように、高純度化された酸化物半導体(以下、本明細書では、
I型化(真性化)または実質的にI型化された酸化物半導体ともいう)を用いることで、
極めて優れたオフ電流特性のトランジスタを得ることができる。
さらに、図1(A)乃至図1(D)に示す各トランジスタに含まれる酸化物半導体層14
4、またはゲート絶縁層146の少なくとも一、好ましくは双方が、図2に示す対向ター
ゲット方式のスパッタリング装置を用いて成膜されており、成膜時に生じるプラズマ等の
電界の影響が低減されている。
〈成膜装置の構成例〉
図2に示すスパッタリング装置は、真空容器202内に、対向して配置された一組のター
ゲット204a及びターゲット204bと、ターゲット204a及びターゲット204b
のスパッタ面に対して垂直な方向に磁界を発生させる永久磁石等の磁界発生手段206a
〜206dと、基板100を載置するための基板ホルダー208と、を有している。図2
において、ターゲットは、電源210と接続された電極(図示せず)にそれぞれ固定され
ている。基板ホルダー208は、基板100面内における膜厚分布を抑制するために、基
板100を図2の左から右(あるいはその逆)へ移動可能であるのが好ましい。
成膜を行う際には、排気管212と連結された排気手段(図示せず)を用いて真空容器2
02内を減圧または真空状態とし、ガス供給手段(図示せず)と連結された供給管214
よりスパッタガスとして酸素(O)ガスとアルゴン(Ar)ガスの混合ガス、またはA
rガスを導入する。その後、ターゲット204a及びターゲット204bに電圧を印加す
ることによりスパッタガスを励起し、励起されたイオンによりターゲット204a及びタ
ーゲット204bをスパッタリングする。スパッタリングに用いる電源は、DC(直流)
電源またはRF(交流)電源のいずれを用いても良いが、酸化物半導体層を成膜する場合
には、DC電源を用いるのが好ましく、ゲート絶縁層(絶縁層)を成膜する場合には、R
F電源を用いるのが好ましい。
図2に図示するスパッタリング方法では、スパッタ面(基板100の被成膜面)に対して
垂直な方向に発生した磁界によって、プラズマがターゲット204a及びターゲット20
4b間に閉じこめられ、基板100に直接作用しないため、成膜される膜及びその下地と
なる膜にプラズマによるダメージを与えずに成膜することが可能である。なお、成膜速度
が安定するまでシャッター216によって基板100への被膜形成を停止しておき、成膜
時にシャッター216を開けて成膜を開始するのが好ましい。シャッター216の形状は
図2に限定されない。
また、基板ホルダー208にはヒータを設けて、基板100を加熱しながら成膜を行って
もよい。基板ホルダー208のヒータを用いて、減圧状態に保持された真空容器202内
に基板100を保持し、基板100の温度が100℃以上550℃未満、好ましくは20
0℃以上400℃以下となるように基板100上の膜を熱することもできる。そして、真
空容器202内の水分を除去しつつ、水素や水などが除去されたスパッタガス(酸素また
はアルゴン)を導入し、上記ターゲット204a、204bを用いて成膜を行う。基板ホ
ルダー208のヒータを用いて、基板100を熱しながら成膜することにより、スパッタ
による損傷をより軽減することもできる。
真空容器202内の水分を除去するためには、吸着型の真空ポンプを用いることが好まし
い。例えば、クライオポンプ、イオンポンプ、チタンサブリメーションポンプなどを用い
ることができる。また、ターボポンプにコールドトラップを加えたものを用いてもよい。
クライオポンプなどを用いて排気することで、真空容器202から水素や水などを除去す
ることができる。
なお、図2では真空容器202底面に対して基板100の被成膜面を平行に示しているが
、特に限定されず、基板ホルダー208で基板100の被成膜面が真空容器202底面に
対して斜め、または垂直になるように配置してもよい。
また、真空容器202内に基板100を2枚以上配置することも可能である。例えば、図
3に示すように、真空容器202内に基板を複数枚(図3では6枚)配置することができ
る。なお、図3(A)は真空容器202の断面模式図であり、図3(B)は、図3(A)
における鎖線A−Bの断面を上方からみた上面模式図である。
図3に示すスパッタリング装置においては、空間を形成するように、ターゲット204a
とターゲット204bとが対向して配置され、該空間に表面が面するように、6枚の基板
100が円状に配置されている。また、円筒状のシャッター216を装置上方または下方
から伸縮させることで、成膜速度が安定するまでシャッター216によって基板100へ
の被膜形成を停止しておき、成膜時にシャッター216を開けて成膜を開始するのが好ま
しい。シャッター216の形状は図3に限定されない。
図3に示す成膜装置を用いると、一度のスパッタリング工程で複数枚の基板を処理するこ
とが可能となるため、半導体装置の製造工程におけるスループットを向上させることがで
きる。
なお、図1(C)または図1(D)に示すトランジスタ180またはトランジスタ190
において、絶縁層150を図2または図3に示すスパッタリング装置を用いて成膜すると
より好ましい。
〈トランジスタの作製工程の例〉
以下、図4及び図5を用いて、図1に示すトランジスタの作製工程の例について説明する
〈トランジスタ160の作製工程〉
まず、図4(A)乃至図4(C)を用いて、図1(A)に示すトランジスタ160の作製
工程の一例について説明する。
基板100上にスパッタリング法により酸化物半導体層を成膜し、選択的にエッチングし
て島状の酸化物半導体層144を形成する(図4(A)参照)。酸化物半導体層の成膜に
は、図2または図3に示した対向ターゲット方式のスパッタリング法を用いるのが好まし
い。酸化物半導体層の成膜に対向ターゲット方式のスパッタリング法を用いることで、被
成膜面、及び、形成される酸化物半導体層へのプラズマによる損傷(プラズマダメージ)
を抑制することができ、膜質の良い酸化物半導体層とすることができる。
基板100に使用することができる基板に大きな制限はないが、少なくとも、後の熱処理
に耐えうる程度の耐熱性を有していることが必要となる。例えば、ガラス基板、セラミッ
ク基板、石英基板、サファイア基板など基板を用いることができる。また、少なくとも酸
化物半導体層144の形成面に絶縁表面を有していれば、シリコンや炭化シリコンなどの
単結晶半導体基板、多結晶半導体基板、シリコンゲルマニウムなどの化合物半導体基板、
SOI基板などを適用することも可能であり、これらの基板上に半導体素子が設けられて
いてもよい。また、基板100上に下地膜が設けられていても良い。
酸化物半導体層は、四元系金属酸化物であるIn−Sn−Ga−Zn−O系や、三元系金
属酸化物であるIn−Ga−Zn−O系、In−Sn−Zn−O系、In−Al−Zn−
O系、Sn−Ga−Zn−O系、Al−Ga−Zn−O系、Sn−Al−Zn−O系や、
二元系金属酸化物であるIn−Zn−O系、Sn−Zn−O系、Al−Zn−O系、Zn
−Mg−O系、Sn−Mg−O系、In−Mg−O系や、In−O系、Sn−O系、Zn
−O系などを用いて形成することができる。
中でも、In−Ga−Zn−O系の酸化物半導体材料は、無電界時の抵抗が十分に高くオ
フ電流を十分に小さくすることが可能であり、また、電界効果移動度も高いため、半導体
装置に用いる半導体材料としては好適である。
In−Ga−Zn−O系の酸化物半導体材料の代表例としては、InGaO(ZnO)
(m>0)で表記されるものがある。また、Gaに代えてMを用い、InMO(Zn
O)(m>0)のように表記される酸化物半導体材料がある。ここで、Mは、ガリウム
(Ga)、アルミニウム(Al)、鉄(Fe)、ニッケル(Ni)、マンガン(Mn)、
コバルト(Co)などから選ばれた一の金属元素または複数の金属元素を示す。例えば、
Mとしては、Ga、GaおよびAl、GaおよびFe、GaおよびNi、GaおよびMn
、GaおよびCoなどを適用することができる。なお、上述の組成は結晶構造から導き出
されるものであり、あくまでも一例に過ぎないことを付記する。
酸化物半導体層をスパッタ法で作製するためのターゲットとしては、In:Ga:Zn=
1:x:y(xは0以上、yは0.5以上5以下)の組成式で表されるものを用いるのが
好適である。例えば、In:Ga:Zn=1:1:1[atom比](x=1、y=1)
、(すなわち、In:Ga:ZnO=1:1:2[mol数比])の組成比
を有するターゲットなどを用いることができる。また、In:Ga:Zn=1:1:0.
5[atom比](x=1、y=0.5)の組成比を有するターゲットや、In:Ga:
Zn=1:1:2[atom比](x=1、y=2)の組成比を有するターゲットや、I
n:Ga:Zn=1:0:1[atom比](x=0、y=1)の組成比を有するターゲ
ットを用いることもできる。
また、酸化物半導体としてIn−Zn−O系の材料を用いる場合、用いるターゲットの組
成比は、原子数比で、In:Zn=50:1〜1:2(モル数比に換算するとIn
:ZnO=25:1〜1:4)、好ましくはIn:Zn=20:1〜1:1(モル数比に
換算するとIn:ZnO=10:1〜1:2)、さらに好ましくはIn:Zn=1
5:1〜1.5:1(モル数比に換算するとIn:ZnO=15:2〜3:4)と
する。例えば、In−Zn−O系酸化物半導体の形成に用いるターゲットは、原子数比が
In:Zn:O=X:Y:Zのとき、Z>1.5X+Yとする。
本実施の形態では、非晶質構造の酸化物半導体層を、In−Ga−Zn−O系の金属酸化
物ターゲットを用いる対向ターゲット方式のスパッタリング法により形成することとする
金属酸化物ターゲット中の金属酸化物の相対密度は80%以上、好ましくは95%以上、
さらに好ましくは99.9%以上である。相対密度の高い金属酸化物ターゲットを用いる
ことにより、緻密な構造の酸化物半導体層を形成することが可能である。
酸化物半導体層の形成雰囲気は、希ガス(代表的にはアルゴン)雰囲気、酸素雰囲気、ま
たは、希ガス(代表的にはアルゴン)と酸素との混合雰囲気とするのが好適である。具体
的には、例えば、水素、水、水酸基、水素化物などの不純物が、濃度1ppm以下(望ま
しくは濃度10ppb以下)にまで除去された高純度ガス雰囲気を用いるのが好適である
酸化物半導体層の形成の際には、例えば、減圧状態に保持された処理室内に被処理物を保
持し、被処理物の温度が100℃以上550℃未満、好ましくは200℃以上400℃以
下となるように被処理物を熱する。または、酸化物半導体層の形成の際の被処理物の温度
は、室温(25℃±10℃)としてもよい。そして、処理室内の水分を除去しつつ、水素
や水などが除去されたスパッタガスを導入し、上記ターゲットを用いて酸化物半導体層を
形成する。被処理物を熱しながら酸化物半導体層を形成することにより、酸化物半導体層
に含まれる不純物を低減することができる。また、スパッタによる損傷を軽減することが
できる。処理室内の水分を除去するためには、吸着型の真空ポンプを用いることが好まし
い。例えば、クライオポンプ、イオンポンプ、チタンサブリメーションポンプなどを用い
ることができる。また、ターボポンプにコールドトラップを加えたものを用いてもよい。
クライオポンプなどを用いて排気することで、処理室から水素や水などを除去することが
できるため、酸化物半導体層中の不純物濃度を低減できる。
なお、酸化物半導体層の形成にパルス直流(DC)電源を用いると、ごみ(成膜時に形成
される粉状の物質など)を低減でき、膜厚分布も均一となるため好ましい。酸化物半導体
層の厚さは、1nm以上50nm以下、好ましくは1nm以上30nm以下、より好まし
くは1nm以上10nm以下とする。このような厚さの酸化物半導体層を用いることで、
微細化に伴う短チャネル効果を抑制することが可能である。ただし、適用する酸化物半導
体材料や、半導体装置の用途などにより適切な厚さは異なるから、その厚さは、用いる材
料や用途などに応じて選択することもできる。
その後、酸化物半導体層に対して、熱処理(第1の熱処理)を行うことが望ましい。この
第1の熱処理によって酸化物半導体層中の、過剰な水素(水や水酸基を含む)を除去し、
酸化物半導体層の構造を整え、エネルギーギャップ中の欠陥準位を低減することができる
。第1の熱処理の温度は、例えば、300℃以上550℃未満、または400℃以上50
0℃以下とする。
なお、対向ターゲット方式のスパッタリング装置を用いて酸化物半導体層144を形成す
る場合、平行平板のスパッタリング装置と比較して成膜時の気相状態が長いため、形成さ
れた酸化物半導体層中には、平行平板のスパッタリング装置で成膜した酸化物半導体層よ
りも高い濃度で水素(水や水酸基を含む)が含有されていることがある。したがって、該
対向ターゲット方式のスパッタリング法を用いて形成された酸化物半導体層144に対し
て脱水・脱水素の効果を奏する第1の熱処理を施すことは、特に効果的である。
熱処理は、例えば、抵抗発熱体などを用いた電気炉に被処理物を導入し、窒素雰囲気下、
450℃、1時間の条件で行うことができる。この間、酸化物半導体層は大気に触れさせ
ず、水や水素の混入が生じないようにする。
熱処理装置は電気炉に限られず、加熱されたガスなどの媒体からの熱伝導、または熱輻射
によって、被処理物を加熱する装置を用いても良い。例えば、GRTA(Gas Rap
id Thermal Anneal)装置、LRTA(Lamp Rapid The
rmal Anneal)装置等のRTA(Rapid Thermal Anneal
)装置を用いることができる。LRTA装置は、ハロゲンランプ、メタルハライドランプ
、キセノンアークランプ、カーボンアークランプ、高圧ナトリウムランプ、高圧水銀ラン
プなどのランプから発する光(電磁波)の輻射により、被処理物を加熱する装置である。
GRTA装置は、高温のガスを用いて熱処理を行う装置である。ガスとしては、アルゴン
などの希ガス、または窒素のような、熱処理によって被処理物と反応しない不活性気体が
用いられる。
例えば、第1の熱処理として、熱せられた不活性ガス雰囲気中に被処理物を投入し、数分
間熱した後、当該不活性ガス雰囲気から被処理物を取り出すGRTA処理を行ってもよい
。GRTA処理を用いると短時間での高温熱処理が可能となる。また、被処理物の耐熱温
度を超える温度条件であっても適用が可能となる。なお、処理中に、不活性ガスを、酸素
を含むガスに切り替えても良い。酸素を含む雰囲気において第1の熱処理を行うことで、
酸素欠損に起因するエネルギーギャップ中の欠陥準位を低減することができるためである
なお、不活性ガス雰囲気としては、窒素、または希ガス(ヘリウム、ネオン、アルゴン等
)を主成分とする雰囲気であって、水、水素などが含まれない雰囲気を適用するのが望ま
しい。例えば、熱処理装置に導入する窒素や、ヘリウム、ネオン、アルゴン等の希ガスの
純度を、6N(99.9999%)以上、好ましくは7N(99.99999%)以上(
すなわち、不純物濃度が1ppm以下、好ましくは0.1ppm以下)とする。
いずれにしても、第1の熱処理によって不純物を低減し、I型(真性半導体)またはI型
に限りなく近い酸化物半導体層を形成することで、極めて優れた特性のトランジスタを実
現することができる。
ところで、上述の熱処理(第1の熱処理)には水素や水などを除去する効果があるから、
当該熱処理を、脱水化処理や、脱水素化処理などと呼ぶこともできる。当該脱水化処理や
、脱水素化処理は、酸化物半導体層の形成後やゲート絶縁層の形成後、ゲート電極の形成
後、などのタイミングにおいて行うことも可能である。また、このような脱水化処理、脱
水素化処理は、一回に限らず複数回行っても良い。
酸化物半導体層のエッチングは、上記熱処理の前、または上記熱処理の後のいずれにおい
て行っても良い。また、素子の微細化という観点からはドライエッチングを用いるのが好
適であるが、ウェットエッチングを用いても良い。エッチングガスやエッチング液につい
ては被エッチング材料に応じて適宜選択することができる。なお、素子におけるリーク電
流などが問題とならない場合には、酸化物半導体層を島状に加工しないで用いても良い。
次に、酸化物半導体層144上に導電層を形成し、該導電層を選択的にエッチングして、
ソース電極142a、ドレイン電極142bを形成する(図4(B)参照)。
導電層は、スパッタ法をはじめとするPVD法や、プラズマCVD法などのCVD法を用
いて形成することができる。また、導電層の材料としては、アルミニウム、クロム、銅、
タンタル、チタン、モリブデン、タングステンから選ばれた元素や、上述した元素を成分
とする合金等を用いることができる。マンガン、マグネシウム、ジルコニウム、ベリリウ
ム、ネオジム、スカンジウムのいずれか、またはこれらを複数組み合わせた材料を用いて
もよい。
導電層は、単層構造であっても良いし、2層以上の積層構造としてもよい。例えば、チタ
ン膜や窒化チタン膜の単層構造、シリコンを含むアルミニウム膜の単層構造、アルミニウ
ム膜上にチタン膜が積層された2層構造、窒化チタン膜上にチタン膜が積層された2層構
造、チタン膜とアルミニウム膜とチタン膜とが積層された3層構造などが挙げられる。な
お、導電層を、チタン膜や窒化チタン膜の単層構造とする場合には、テーパー形状を有す
るソース電極142a、およびドレイン電極142bへの加工が容易であるというメリッ
トがある。
また、導電層は、導電性の金属酸化物を用いて形成しても良い。導電性の金属酸化物とし
ては酸化インジウム、酸化錫、酸化亜鉛、インジウム錫酸化物(ITOと略記する場合が
ある)、酸化インジウム酸化亜鉛、または、これらの金属酸化物材料にシリコン若しくは
酸化シリコンを含有させたものを用いることができる。
導電層のエッチングは、形成されるソース電極142aおよびドレイン電極142bの端
部が、テーパー形状となるように行うことが好ましい。ここで、テーパー角は、例えば、
30°以上60°以下であることが好ましい。ソース電極142a、ドレイン電極142
bの端部をテーパー形状となるようにエッチングすることにより、後に形成されるゲート
絶縁層146の被覆性を向上し、段切れを防止することができる。
なお、トランジスタ160のチャネル長(L)は、ソース電極142aおよびドレイン電
極142bの下端部の間隔によって決定される。なお、チャネル長(L)が25nm未満
のトランジスタを形成する場合に用いるマスク形成の露光を行う際には、数nm〜数10
nmと波長の短い超紫外線(Extreme Ultraviolet)を用いるのが望
ましい。超紫外線による露光は、解像度が高く焦点深度も大きい。従って、後に形成され
るトランジスタのチャネル長(L)を、10nm以上1000nm(1μm)以下とする
ことも可能であり、回路の動作速度を高めることが可能である。また、微細化によって、
半導体装置の消費電力を低減することも可能である。
次に、ソース電極142aおよびドレイン電極142b上に、酸化物半導体層144の少
なくともチャネル形成領域に接するゲート絶縁層146を形成し、その後、ゲート絶縁層
146上において酸化物半導体層144と重畳する領域にゲート電極148を形成する(
図4(C)参照)。
ゲート絶縁層146は、CVD法やスパッタ法等を用いて形成することができる。また、
ゲート絶縁層146は、酸化シリコン、窒化シリコン、酸窒化シリコン、酸化アルミニウ
ム、酸化タンタル、酸化ハフニウム、酸化イットリウム、ハフニウムシリケート(HfS
ixOy(x>0、y>0))、窒素が添加されたハフニウムシリケート(HfSixO
y(x>0、y>0))、窒素が添加されたハフニウムアルミネート(HfAlxOy(
x>0、y>0))、などを含むように形成するのが好適である。ゲート絶縁層146は
、単層構造としても良いし、積層構造としても良い。また、その厚さは特に限定されない
が、半導体装置を微細化する場合には、トランジスタの動作を確保するために薄くするの
が望ましい。例えば、酸化シリコンを用いる場合には、1nm以上100nm以下、好ま
しくは10nm以上50nm以下とすることができる。
なお、ゲート絶縁層146の成膜には、図2または図3に示した対向ターゲット方式のス
パッタリング法を用いるのが好ましい。ゲート絶縁層146の成膜に対向ターゲット方式
のスパッタリング法を用いることで、被成膜面(具体的には、ソース電極142a、ドレ
イン電極142bまたは酸化物半導体層144と、ゲート絶縁層146との界面)、及び
形成されるゲート絶縁層146に対するプラズマによる損傷(プラズマダメージ)を抑制
することができ、膜質の良いゲート絶縁層146とすることができる。また、ゲート絶縁
層146の被覆性を向上し、ゲートリーク電流などの発生を抑制することができる。
上述のように、ゲート絶縁層を薄くすると、トンネル効果などに起因するゲートリークが
問題となる。ゲートリークの問題を解消するには、ゲート絶縁層146に、酸化ハフニウ
ム、酸化タンタル、酸化イットリウム、ハフニウムシリケート(HfSixOy(x>0
、y>0))、窒素が添加されたハフニウムシリケート(HfSixOy(x>0、y>
0))、窒素が添加されたハフニウムアルミネート(HfAlxOy(x>0、y>0)
)、などの高誘電率(high−k)材料を用いると良い。high−k材料をゲート絶
縁層146に用いることで、電気的特性を確保しつつ、ゲートリークを抑制するために膜
厚を大きくすることが可能になる。なお、high−k材料を含む膜と、酸化シリコン、
窒化シリコン、酸化窒化シリコン、窒化酸化シリコン、酸化アルミニウムなどのいずれか
を含む膜との積層構造としてもよい。
ゲート絶縁層146の形成後には、不活性ガス雰囲気下、または酸素雰囲気下で第2の熱
処理を行うのが望ましい。熱処理の温度は、200℃以上450℃以下、望ましくは25
0℃以上350℃以下である。例えば、窒素雰囲気下で250℃、1時間の熱処理を行え
ばよい。第2の熱処理を行うことによって、トランジスタの電気的特性のばらつきを軽減
することができる。また、ゲート絶縁層146が酸素を含む場合、酸化物半導体層144
に酸素を供給し、該酸化物半導体層144の酸素欠損を補填して、I型(真性半導体)ま
たはI型に限りなく近い酸化物半導体層を形成することもできる。
なお、本実施の形態では、ゲート絶縁層146の形成後に第2の熱処理を行っているが、
第2の熱処理のタイミングはこれに限定されない。例えば、ゲート電極の形成後に第2の
熱処理を行っても良い。また、第1の熱処理に続けて第2の熱処理を行っても良いし、第
1の熱処理に第2の熱処理を兼ねさせても良いし、第2の熱処理に第1の熱処理を兼ねさ
せても良い。
上述のように、第1の熱処理と第2の熱処理の少なくとも一方を適用することで、酸化物
半導体層144を、その主成分以外の不純物が極力含まれないように高純度化することが
できる。
ゲート電極148は、ゲート絶縁層146上に導電層を形成した後に、当該導電層を選択
的にエッチングすることによって形成することができる。ゲート電極148となる導電層
は、スパッタ法をはじめとするPVD法や、プラズマCVD法などのCVD法を用いて形
成することができる。詳細は、ソース電極142a及びドレイン電極142b上などの場
合と同様であり、これらの記載を参酌できる。
以上の工程によって、トランジスタ160を形成することができる。
また、トランジスタ160上に保護絶縁層や、平坦化のための平坦化絶縁層を設けてもよ
い。例えば、保護絶縁層として酸化シリコン層、窒化シリコン層、酸化窒化シリコン層、
窒化酸化シリコン層、又は酸化アルミニウム層を単層で又は積層して形成することができ
る。また、保護絶縁層の成膜に対向ターゲット方式のスパッタリング法を用いることもで
きる。
また、平坦化絶縁層としては、ポリイミド、アクリル、ベンゾシクロブテン、ポリアミド
、エポキシ等の、耐熱性を有する有機材料を用いることができる。また上記有機材料の他
に、低誘電率材料(low−k材料)、シロキサン系樹脂、PSG(リンガラス)、BP
SG(リンボロンガラス)等を用いることができる。なお、これらの材料で形成される絶
縁膜を複数積層させることで、平坦化絶縁層を形成してもよい。
なお、図1(B)に示すトランジスタ170は、ソース電極142a及びドレイン電極1
42bと、酸化物半導体層144の成膜順以外は、図4に示すトランジスタ160の作製
工程と同様の工程によって作製することが可能である。すなわち、基板100上に、導電
層を形成し、該導電層を選択的にエッチングすることによってソース電極142a及びド
レイン電極142bを形成し、ソース電極142a及びドレイン電極142b上に酸化物
半導体層144を形成した後、酸化物半導体層144に接するゲート絶縁層146を形成
し、その後、ゲート絶縁層146上において酸化物半導体層144と重畳する領域にゲー
ト電極148を形成することで、トランジスタ170を形成することができる。酸化物半
導体層144成膜後には、第1の熱処理及び第2の熱処理を施すのが好ましい。これらの
詳細は図4を参酌することができるため、記載を省略する。
〈トランジスタ180の作製工程〉
次いで、図5(A)乃至図5(C)を用いて、図1(C)に示すトランジスタ180の作
製工程の一例について説明する。なお、特に記載がない限り、図4に示したトランジスタ
160と同じ符号を付した構成には、同様の材料及び同様の成膜方法を採用することがで
きる。
基板100上に、導電層を形成し、当該導電層を選択的にエッチングすることによって、
ゲート電極148を形成する。次いで、ゲート電極148を覆うようにゲート絶縁層14
6を成膜する。その後、ゲート絶縁層146上に導電層を形成し、該導電層を選択的にエ
ッチングしてソース電極142a及びドレイン電極142bを形成する(図5(A)参照
)。
なお、図5においては、ゲート絶縁層146を選択的にエッチングし、島状のゲート絶縁
層146としているが、島状に加工されていない構成を採用しても良い。ゲート絶縁層1
46を島状に加工しない場合には、加工の際のエッチングによるゲート絶縁層146の汚
染を防止することができる。
ゲート絶縁層146の成膜には、図2または図3に示した対向ターゲット方式のスパッタ
リング法を用いるのが好ましい。ゲート絶縁層146の成膜に対向ターゲット方式のスパ
ッタリング法を用いることで、被成膜面(具体的には、ゲート電極148とゲート絶縁層
146との界面)、及び形成されるゲート絶縁層146に対するプラズマによる損傷(プ
ラズマダメージ)を抑制することができ、膜質の良いゲート絶縁層146とすることがで
きる。また、ゲート絶縁層146の被覆性を向上し、ゲートリーク電流などの発生を抑制
することができる。
次いで、ソース電極142a及びドレイン電極142b上にスパッタリング法により酸化
物半導体層を成膜し、選択的にエッチングして島状の酸化物半導体層144を形成する(
図5(B)参照)。酸化物半導体層の成膜には、図2または図3に示した対向ターゲット
方式のスパッタリング法を用いるのが好ましい。酸化物半導体層の成膜に対向ターゲット
方式のスパッタリング法を用いることで、被成膜面(具体的には、ソース電極142a、
ドレイン電極142bまたはゲート絶縁層146と、酸化物半導体層との界面)、及び形
成される酸化物半導体層へのプラズマによる損傷(プラズマダメージ)を抑制することが
でき、膜質の良い酸化物半導体層とすることができる。また、酸化物半導体層の被覆性を
向上し、接続不良などの発生を抑制することができる。また、酸化物半導体層144に対
しては、熱処理(第1の熱処理)を行うことが望ましい。
次いで、ソース電極142a、ドレイン電極142b及び酸化物半導体層144を覆うよ
うに絶縁層150を形成する(図5(C)参照)。
絶縁層150は、少なくとも1nm以上の膜厚とし、スパッタ法など、絶縁層150に水
、水素等の不純物を混入させない方法を適宜用いて形成することができる。絶縁層150
に水素が含まれると、その水素の酸化物半導体層への侵入、又は水素による酸化物半導体
層中の酸素の引き抜き、が生じ酸化物半導体層のバックチャネルが低抵抗化(N型化)し
てしまい、寄生チャネルが形成されるおそれがある。よって、絶縁層150はできるだけ
水素を含まない膜になるように、成膜方法に水素を用いないことが重要である。
なお、絶縁層150の成膜には、図2または図3に示した対向ターゲット方式のスパッタ
リング法を用いるのが好ましい。絶縁層150の成膜に対向ターゲット方式のスパッタリ
ング法を用いることで、被成膜面(具体的には、ソース電極142a、ドレイン電極14
2bまたは酸化物半導体層144と、絶縁層150との界面)、及び形成される絶縁層1
50へのプラズマによる損傷(プラズマダメージ)を抑制することができ、膜質の良い絶
縁層とすることができる。また、絶縁層の被覆性を向上し、段切れなどの発生を抑制する
ことができる。
次いで、不活性ガス雰囲気下、または酸素ガス雰囲気下で第2の熱処理(好ましくは20
0℃以上400℃以下、例えば250℃以上350℃以下)を行う。例えば、窒素雰囲気
下で250℃、1時間の第2の熱処理を行う。第2の熱処理を行うと、酸化物半導体層1
44が絶縁層150と接した状態で加熱される。
以上の工程を経ることによって、成膜後の酸化物半導体層に対して脱水化または脱水素化
のための熱処理を行って低抵抗化した後、酸化物半導体層の酸素欠損を補填することがで
きる。その結果、高抵抗化(I型化)した酸化物半導体層144が形成される。以上の工
程でトランジスタ180が形成される。
絶縁層150上にさらに保護絶縁層を形成してもよい。例えば、RFスパッタ法を用いて
窒化珪素膜を形成することができる。また、保護絶縁層の成膜に対向ターゲット方式のス
パッタリング法を用いることもできる。また、保護絶縁層上に平坦化のための平坦化絶縁
層を設けてもよい。
なお、図1(D)に示すトランジスタ190は、ソース電極142a及びドレイン電極1
42bと、酸化物半導体層144の成膜順以外は、図5に示すトランジスタ180の作製
工程と同様の工程によって作製することが可能である。すなわち、基板100上に、ゲー
ト電極148を形成し、ゲート電極148上にゲート絶縁層146を形成し、ゲート絶縁
層146上に酸化物半導体層144を形成した後、酸化物半導体層144に接するソース
電極142a及びドレイン電極142bを形成し、その後、酸化物半導体層144の少な
くともチャネル形成領域、ソース電極142a及びドレイン電極142bを覆う絶縁層1
50を形成することで、トランジスタ190を形成することができる。酸化物半導体層1
44成膜後には、第1の熱処理及び第2の熱処理を施すのが好ましい。これらの詳細は図
5を参酌することができるため、記載を省略する。
本実施の形態で示すトランジスタは、ゲート絶縁層及び酸化物半導体層の少なくとも一方
を、対向ターゲット方式を用いたスパッタリング法により形成しているため、ゲート絶縁
層と酸化物半導体層との界面、ゲート絶縁層中、または、酸化物半導体層中の少なくとも
いずれかへのプラズマダメージの混入を防ぎ、界面トラップ、膜中トラップ等の欠陥の発
生を抑制することができる。よって、閾値電圧のシフトが制御された信頼性の高いトラン
ジスタを形成することができる。
また、本実施の形態で示すトランジスタは、第1の熱処理により、N型不純物である水素
を酸化物半導体から除去し、第2の熱処理により、欠損部に酸素を導入することで、酸化
物半導体の主成分以外の不純物が極力含まれないように高純度化することにより真性化(
I型化)、又は実質的に真性化している。酸化物半導体膜を高純度化することにより、ト
ランジスタのしきい値電圧値をプラスとすることができ、所謂ノーマリーオフのトランジ
スタを実現できる。
このように、I型化または実質的にI型化された酸化物半導体(例えば、キャリア密度が
1×1012/cm未満、さらに望ましくは、1.45×1010/cm未満)を用
いることで、極めて優れたオフ電流特性のトランジスタを得ることが可能である。また、
閾値電圧のばらつきの少ない、信頼性の高いトランジスタとすることが可能である。
特に、対向ターゲット方式のスパッタリング装置を用いて酸化物半導体層を形成する場合
、形成された酸化物半導体層中には、平行平板のスパッタリング装置で成膜した酸化物半
導体層よりも高い濃度で水素(水や水酸基を含む)が含有されていることがあるため、脱
水・脱水素の効果を奏する第1の熱処理を施すことは、効果的である。
さらに、ゲート絶縁層及び酸化物半導体層の少なくとも一方を、対向ターゲット方式を用
いたスパッタリング法により形成することで、ゲート絶縁層または酸化物半導体層を薄膜
化した場合でも被覆性の良い膜を、安定した膜質で成膜することが可能であるため、半導
体装置の微細化を実現することができる。半導体装置を十分に微細化することで、一基板
あたりの半導体装置の取り数が増大し、半導体装置を低コストで製造可能となる。また、
チャネル長の縮小による、動作の高速化、低消費電力化などの効果を得ることもできる。
以上、本実施の形態に示す構成、方法などは、他の実施の形態に示す構成、方法などと適
宜組み合わせて用いることができる。
(実施の形態2)
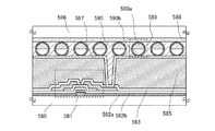
本実施の形態では、半導体装置の一形態に相当する液晶表示パネルの外観及び断面につい
て、図6を用いて説明する。図6に示す液晶表示パネルは、実施の形態1で示したトラン
ジスタを含む。図6(A)及び図6(C)は、トランジスタ4010、4011、及び液
晶素子4013を、第2の基板4006との間にシール材4005によって封止した、パ
ネルの平面図であり、図6(B)は、図6(A)または図6(C)のM−Nにおける断面
図に相当する。
第1の基板4001上に設けられた画素部4002と、走査線駆動回路4004とを囲む
ようにして、シール材4005が設けられている。また画素部4002と、走査線駆動回
路4004の上に第2の基板4006が設けられている。よって画素部4002と、走査
線駆動回路4004とは、第1の基板4001とシール材4005と第2の基板4006
とによって、液晶層4008と共に封止されている。また第1の基板4001上のシール
材4005によって囲まれている領域とは異なる領域に、別途用意された基板上に単結晶
半導体膜又は多結晶半導体膜で形成された信号線駆動回路4003が実装されている。
なお、別途形成した駆動回路の接続方法は、特に限定されるものではなく、COG方法、
ワイヤボンディング方法、或いはTAB方法などを用いることができる。図6(A)は、
COG方法により信号線駆動回路4003を実装する例であり、図6(C)は、TAB方
法により信号線駆動回路4003を実装する例である。
また第1の基板4001上に設けられた画素部4002と、走査線駆動回路4004は、
トランジスタを複数有しており、図6(B)では、画素部4002に含まれるトランジス
タ4010と、走査線駆動回路4004に含まれるトランジスタ4011とを例示してい
る。図6(B)において、トランジスタ4010、4011は、第1のゲート絶縁層40
20a、第2のゲート絶縁層4020bを有する。なお、ゲート絶縁層を単層としても良
い。トランジスタ4010、4011上には絶縁層4041、4042、4021が設け
られている。
トランジスタ4010、4011には、実施の形態1で示したトランジスタ190を用い
ることができる。もちろん、実施の形態1で示したトランジスタ160、170、180
のいずれかを用いてもよい。また、これらを組み合わせて用いることもできる。本実施の
形態において、トランジスタ4010、4011はnチャネル型トランジスタである。
絶縁層4021上において、駆動回路用のトランジスタ4011の酸化物半導体層のチャ
ネル形成領域と重なる位置に導電層4040が設けられている。導電層4040を酸化物
半導体層のチャネル形成領域と重なる位置に設けることによって、トランジスタの信頼性
が向上し、例えばバイアス−熱ストレス試験(BT試験)において、BT試験前後におけ
るトランジスタ4011のしきい値電圧の変化量を低減することができる。また、導電層
4040の電位はトランジスタ4011のゲート電極の電位と同じでもよいし、異なって
いても良く、第2のゲート電極として機能させることもできる。また、導電層4040の
電位がGND、0V、或いはフローティング状態であってもよい。
また、液晶素子4013が有する画素電極層4030は、トランジスタ4010と電気的
に接続されている。そして液晶素子4013の対向電極層4031は第2の基板4006
上に形成されている。画素電極層4030と対向電極層4031と液晶層4008とが重
なっている部分が、液晶素子4013に相当する。なお、画素電極層4030、対向電極
層4031はそれぞれ配向膜として機能する絶縁層4032、4033が設けられ、絶縁
層4032、4033を介して液晶層4008を挟持している。
なお、第1の基板4001、第2の基板4006としては、透光性基板を用いることがで
き、ポリエステルフィルム、またはアクリル樹脂フィルムなどのプラスチックや、ガラス
や、セラミックスなどを用いることができる。
また4035は絶縁膜を選択的にエッチングすることで得られる柱状のスペーサであり、
画素電極層4030と対向電極層4031との間の距離(セルギャップ)を制御するため
に設けられている。なお球状のスペーサを用いていても良い。また、対向電極層4031
は、トランジスタ4010と同一基板上に設けられる共通電位線と電気的に接続される。
共通接続部を用いて、一対の基板間に配置される導電性粒子を介して対向電極層4031
と共通電位線とを電気的に接続することができる。なお、導電性粒子はシール材4005
に含有させる。
また、配向膜を用いないブルー相を示す液晶を用いてもよく、その場合には横電界方式と
するため、図6に示す電極配置と異なる配置とする。例えば、同一絶縁層上に画素電極層
と共通電極層とを並べて配置し、液晶層に横電界を印加する。ブルー相は液晶相の一つで
あり、コレステリック液晶を昇温していくと、コレステリック相から等方相へ転移する直
前に発現する相である。ブルー相は狭い温度範囲でしか発現しないため、温度範囲を改善
するために5重量%以上のカイラル剤を混合させた液晶組成物を用いて液晶層4008に
用いる。ブルー相を示す液晶とカイラル剤とを含む液晶組成物は、応答速度が1msec
以下と短く、光学的等方性であるため配向処理が不要であり、視野角依存性が小さい。
なお透過型液晶表示装置の他に、半透過型液晶表示装置でも適用できる。
また、液晶表示装置では、基板の外側(視認側)に偏光板を設け、内側に着色層、表示素
子に用いる電極層という順に設ける例を示すが、偏光板は基板の内側に設けてもよい。ま
た、偏光板と着色層の積層構造も本実施の形態に限定されず、偏光板及び着色層の材料や
作製工程条件によって適宜設定すればよい。また、表示部以外にブラックマトリクスとし
て機能する遮光膜を設けてもよい。
トランジスタ4011、4010上には、酸化物半導体層に接して絶縁層4041が形成
されている。絶縁層4041は実施の形態1で示した絶縁層150と同様な材料及び方法
で形成すればよい。ここでは、絶縁層4041として、図2または図3の成膜装置を用い
たスパッタ法により酸化珪素膜を形成する。また、絶縁層4041上に接して保護絶縁層
4042を形成する。また、保護絶縁層4042は実施の形態1で示した保護絶縁層と同
様な材料及び方法で形成すればよい。また、トランジスタの表面凹凸を低減するために、
保護絶縁層4042を平坦化絶縁膜として機能する絶縁層4021で覆う構成となってい
る。
また、平坦化絶縁膜として絶縁層4021を形成する。絶縁層4021としては、ポリイ
ミド、アクリル、ベンゾシクロブテン、ポリアミド、エポキシ等の、耐熱性を有する有機
材料を用いることができる。また上記有機材料の他に、低誘電率材料(low−k材料)
、シロキサン系樹脂、PSG(リンガラス)、BPSG(リンボロンガラス)等を用いる
ことができる。なお、これらの材料で形成される絶縁膜を複数積層させることで、絶縁層
4021を形成してもよい。
絶縁層4021の形成法は、特に限定されず、その材料に応じて、スパッタ法、SOG法
、スピンコート、ディップ、スプレー塗布、液滴吐出法(インクジェット法、スクリーン
印刷、オフセット印刷等)、ドクターナイフ、ロールコーター、カーテンコーター、ナイ
フコーター等を用いることができる。絶縁層4021の焼成工程と半導体層の加熱処理を
兼ねることで効率よく半導体装置を作製することが可能となる。
画素電極層4030、対向電極層4031は、酸化タングステンを含むインジウム酸化物
、酸化タングステンを含むインジウム亜鉛酸化物、酸化チタンを含むインジウム酸化物、
酸化チタンを含むインジウム錫酸化物、インジウム錫酸化物、酸化インジウム酸化亜鉛、
酸化シリコンを含むインジウム錫酸化物などの透光性を有する透光性の導電性材料を用い
ることができる。
また別途形成された信号線駆動回路4003と、走査線駆動回路4004または画素部4
002に与えられる各種信号及び電位は、FPC4018から供給されている。
接続端子電極4015が、液晶素子4013が有する画素電極層4030と同じ導電膜か
ら形成され、端子電極4016は、トランジスタ4010、4011のソース電極及びド
レイン電極と同じ導電膜で形成されている。
接続端子電極4015は、FPC4018が有する端子と、異方性導電膜4019を介し
て電気的に接続されている。
また図6においては、信号線駆動回路4003を別途形成し、第1の基板4001に実装
している例を示しているがこの構成に限定されない。走査線駆動回路を別途形成して実装
しても良いし、信号線駆動回路の一部または走査線駆動回路の一部のみを別途形成して実
装しても良い。
本実施の形態で示す液晶表示パネルは、実施の形態1で示した電気的特性が良好で、信頼
性の高いトランジスタを用いて構成されているため、良好な品質を有する液晶表示パネル
とすることが可能である。
以上、本実施の形態に示す構成、方法などは、他の実施の形態に示す構成、方法などと適
宜組み合わせて用いることができる。
(実施の形態3)
本実施の形態では、半導体装置の一形態として電子ペーパーの例を示す。
実施の形態1に示すトランジスタは、スイッチング素子と電気的に接続する素子を利用し
て電子インクを駆動させる電子ペーパーに用いてもよい。電子ペーパーは、電気泳動表示
装置(電気泳動ディスプレイ)とも呼ばれており、紙と同じ読みやすさ、他の表示装置に
比べ低消費電力、薄くて軽い形状とすることが可能という利点を有している。
電気泳動ディスプレイは、様々な形態が考えられ得るが、プラスの電荷を有する第1の粒
子と、マイナスの電荷を有する第2の粒子とを含むマイクロカプセルが溶媒または溶質に
複数分散されたものであり、マイクロカプセルに電界を印加することによって、マイクロ
カプセル中の粒子を互いに反対方向に移動させて一方側に集合した粒子の色のみを表示す
るものである。なお、第1の粒子または第2の粒子は染料を含み、電界がない場合におい
て移動しないものである。また、第1の粒子の色と第2の粒子の色は異なるもの(無色を
含む)とする。
このように、電気泳動ディスプレイは、誘電定数の高い物質が高い電界領域に移動する、
いわゆる誘電泳動的効果を利用したディスプレイである。
上記マイクロカプセルを溶媒中に分散させたものが電子インクと呼ばれるものであり、こ
の電子インクはガラス、プラスチック、布、紙などの表面に印刷することができる。また
、カラーフィルタや色素を有する粒子を用いることによってカラー表示も可能である。
また、アクティブマトリクス基板上に適宜、二つの電極の間に挟まれるように上記マイク
ロカプセルを複数配置すればアクティブマトリクス型の表示装置が完成し、マイクロカプ
セルに電界を印加すれば表示を行うことができる。例えば、実施の形態1のトランジスタ
によって得られるアクティブマトリクス基板を用いることができる。
なお、マイクロカプセル中の第1の粒子および第2の粒子は、導電体材料、絶縁体材料、
半導体材料、磁性材料、液晶材料、強誘電性材料、エレクトロルミネセント材料、エレク
トロクロミック材料、磁気泳動材料から選ばれた一種の材料、またはこれらの複合材料を
用いればよい。
図7は、半導体装置の例としてアクティブマトリクス型の電子ペーパーを示す。半導体装
置に用いられるトランジスタ581としては、実施の形態1で示すトランジスタと同様に
作製でき、電気的特性が良好で、信頼性の高いトランジスタである。
図7の電子ペーパーは、ツイストボール表示方式を用いた表示装置の例である。ツイスト
ボール表示方式とは、白と黒に塗り分けられた球形粒子を表示素子に用いる電極層である
第1の電極層及び第2の電極層の間に配置し、第1の電極層及び第2の電極層に電位差を
生じさせての球形粒子の向きを制御することにより、表示を行う方法である。
図7において、トランジスタ581はボトムゲート構造のトランジスタであり、実施の形
態1で示したトランジスタ190を用いることができる。もちろん、実施の形態1で示し
たトランジスタ160、170、180のいずれかを用いてもよい。また、これらを組み
合わせて用いることもできる。トランジスタ581は、第1のゲート絶縁層582a、第
2のゲート絶縁層582bの積層上に接して酸化物半導体層を有し、該酸化物半導体層と
接する絶縁層583に覆われている。なお、第1のゲート絶縁層582aはハフニウムを
含む絶縁膜とするのが好ましく、第2のゲート絶縁層582bよりも比誘電率の高い膜を
用いているのが好ましい。ただし、ゲート絶縁層を単層で形成しても良い。
トランジスタ581のソース電極又はドレイン電極は、絶縁層583、585に形成され
る開口で、第1の電極層587と接して電気的に接続している。第1の電極層587と第
2の電極層588との間には黒色領域590a及び白色領域590bを有し、周りに液体
で満たされている球形粒子589が一対の基板580、596の間に設けられており、球
形粒子589の周囲は樹脂等の充填材595で充填されている。
また、第1の電極層587が画素電極に相当し、第2の電極層588が共通電極に相当す
る。第2の電極層588は、トランジスタ581と同一基板上に設けられる共通電位線と
電気的に接続される。共通接続部を用いて、一対の基板580、596間に配置される導
電性粒子を介して第2の電極層588と共通電位線とを電気的に接続することができる。
また、ツイストボールの代わりに、電気泳動素子を用いることも可能である。透明な液体
と、正に帯電した白い微粒子と負に帯電した黒い微粒子とを封入した直径10μm〜20
0μm程度のマイクロカプセルを用いる。第1の電極層と第2の電極層との間に設けられ
るマイクロカプセルは、第1の電極層と第2の電極層によって、電場が与えられると、白
い微粒子と、黒い微粒子が逆の方向に移動し、白または黒を表示することができる。この
原理を応用した表示素子が電気泳動表示素子であり、一般的に電子ペーパーとよばれてい
る。電気泳動表示素子は、液晶素子に比べて反射率が高いため、補助ライトは不要であり
、また消費電力が小さく、薄暗い場所でも表示部を認識することが可能である。また、表
示部に電源が供給されない場合であっても、一度表示した像を保持することが可能である
ため、電波発信源から表示機能付き半導体装置(単に表示装置、又は表示装置を具備する
半導体装置ともいう)を遠ざけた場合であっても、表示された像を保存しておくことが可
能となる。
以上の工程により、実施の形態1で示すトランジスタを有する電子ペーパーを作製するこ
とができる。本実施の形態で示す電子ペーパーは、実施の形態1で示した電気的特性が良
好で、信頼性の高いトランジスタを用いて構成されているため、良好な品質を有する電子
ペーパーとすることが可能である。
本実施の形態は、他の実施の形態に記載した構成と適宜組み合わせて実施することが可能
である。
(実施の形態4)
本実施の形態では、半導体装置の一例として、記憶媒体(メモリ素子)を示す。本実施の
形態では、実施の形態1で示す酸化物半導体を用いたトランジスタと、酸化物半導体以外
の材料を用いたトランジスタとを同一基板上に形成する。
図8は、半導体装置の構成の一例である。図8(A)には、半導体装置の断面を、図8(
B)には、半導体装置の平面を、それぞれ示す。ここで、図8(A)は、図8(B)のC
1−C2およびD1−D2における断面に相当する。また、図8(C)には、上記半導体
装置をメモリ素子として用いる場合の回路図の一例を示す。図8(A)および図8(B)
に示される半導体装置は、下部に第1の半導体材料を用いたトランジスタ140を有し、
上部に第2の半導体材料を用いたトランジスタ162を有する。本実施の形態では、第1
の半導体材料を酸化物半導体以外の半導体材料とし、第2の半導体材料を酸化物半導体と
する。酸化物半導体以外の半導体材料としては、例えば、シリコン、ゲルマニウム、シリ
コンゲルマニウム、炭化シリコン、またはガリウムヒ素等を用いることができ、単結晶半
導体を用いるのが好ましい。他に、有機半導体材料などを用いてもよい。このような半導
体材料を用いたトランジスタは、高速動作が容易である。一方で、酸化物半導体を用いた
トランジスタは、その特性により長時間の電荷保持を可能とする。
図8におけるトランジスタ140は、半導体材料(例えば、シリコンなど)を含む基板2
00に設けられたチャネル形成領域116と、チャネル形成領域116を挟むように設け
られた不純物領域120と、不純物領域120に接する金属化合物領域124と、チャネ
ル形成領域116上に設けられたゲート絶縁層108と、ゲート絶縁層108上に設けら
れたゲート電極110と、を有する。
半導体材料を含む基板200は、シリコンや炭化シリコンなどの単結晶半導体基板、多結
晶半導体基板、シリコンゲルマニウムなどの化合物半導体基板、SOI基板などを適用す
ることができる。なお、一般に「SOI基板」は、絶縁表面上にシリコン半導体層が設け
られた構成の基板をいうが、本明細書等においては、絶縁表面上にシリコン以外の材料か
らなる半導体層が設けられた構成の基板も含む。つまり、「SOI基板」が有する半導体
層は、シリコン半導体層に限定されない。また、SOI基板には、ガラス基板などの絶縁
基板上に絶縁層を介して半導体層が設けられた構成のものが含まれるものとする。
基板200上にはトランジスタ140を囲むように素子分離絶縁層106が設けられてお
り、トランジスタ140を覆うように絶縁層128および絶縁層130が設けられている
。なお、高集積化を実現するためには、図8に示すようにトランジスタ140がサイドウ
ォール絶縁層を有しない構成とすることが望ましい。一方で、トランジスタ140の特性
を重視する場合には、ゲート電極110の側面にサイドウォール絶縁層を設け、不純物濃
度が異なる領域を含む不純物領域120を設けても良い。
トランジスタ140は公知の技術を用いて作製することができる。このようなトランジス
タ140は、高速動作が可能であるという特徴を有する。このため、当該トランジスタを
読み出し用のトランジスタとして用いることで、情報の読み出しを高速に行うことができ
る。
トランジスタ140を形成した後、トランジスタ162および容量素子164の形成前の
処理として、絶縁層128や絶縁層130にCMP処理を施して、ゲート電極110の上
面を露出させる。ゲート電極110の上面を露出させる処理としては、CMP処理の他に
エッチング処理などを適用することも可能であるが、トランジスタ162の特性を向上さ
せるために、絶縁層128や絶縁層130の表面は可能な限り平坦にしておくことが望ま
しい。
次に、ゲート電極110、絶縁層128、絶縁層130などの上に導電層を形成し、該導
電層を選択的にエッチングして、ソース電極またはドレイン電極142c、ソース電極ま
たはドレイン電極142dを形成する。
導電層は、スパッタ法をはじめとするPVD法や、プラズマCVD法などのCVD法を用
いて形成することができる。また、導電層の材料としては、Al、Cr、Cu、Ta、T
i、Mo、Wからから選ばれた元素や、上述した元素を成分とする合金等を用いることが
できる。Mn、Mg、Zr、Be、Nd、Scのいずれか、またはこれらを複数組み合わ
せた材料を用いてもよい。
導電層は、単層構造であっても良いし、2層以上の積層構造としてもよい。例えば、チタ
ン膜や窒化チタン膜の単層構造、シリコンを含むアルミニウム膜の単層構造、アルミニウ
ム膜上にチタン膜が積層された2層構造、窒化チタン膜上にチタン膜が積層された2層構
造、チタン膜とアルミニウム膜とチタン膜とが積層された3層構造などが挙げられる。な
お、導電層を、チタン膜や窒化チタン膜の単層構造とする場合には、テーパー形状を有す
るソース電極またはドレイン電極142c、およびソース電極またはドレイン電極142
dへの加工が容易であるというメリットがある。
上部のトランジスタ162のチャネル長(L)は、ソース電極またはドレイン電極142
c、およびソース電極またはドレイン電極142dの下端部の間隔によって決定される。
なお、チャネル長(L)が25nm未満のトランジスタを形成する場合に用いるマスク形
成の露光を行う際には、数nm〜数10nmと波長の短い超紫外線を用いるのが望ましい
次に、ソース電極またはドレイン電極142cの上に絶縁層143aを、ソース電極また
はドレイン電極142dの上に絶縁層143bを、それぞれ形成する。絶縁層143aお
よび絶縁層143bは、ソース電極またはドレイン電極142cや、ソース電極またはド
レイン電極142dを覆う絶縁層を形成した後、当該絶縁層を選択的にエッチングするこ
とにより形成できる。また、絶縁層143aおよび絶縁層143bは、後に形成されるゲ
ート電極の一部と重畳するように形成する。このような絶縁層を設けることにより、ゲー
ト電極と、ソース電極またはドレイン電極との間の容量を低減することが可能である。
絶縁層143aや絶縁層143bは、酸化シリコン、酸窒化シリコン、窒化シリコン、酸
化アルミニウム等の無機絶縁材料を含む材料を用いて形成することができる。
なお、ゲート電極と、ソース電極またはドレイン電極との間の容量を低減させるという点
では、絶縁層143aおよび絶縁層143bを形成するのが好適であるが、当該絶縁層を
設けない構成とすることも可能である。
次に、ソース電極またはドレイン電極142c、およびソース電極またはドレイン電極1
42dを覆うように酸化物半導体層を形成した後、当該酸化物半導体層を選択的にエッチ
ングして酸化物半導体層144を形成する。
酸化物半導体層は、実施の形態1に示す材料及び形成プロセスを用いる。なお、酸化物半
導体層の成膜には、図2または図3に示す対向ターゲット方式のスパッタリング装置を用
いるのが好ましい。
その後、酸化物半導体層に対して、熱処理(第1の熱処理)を行うことが望ましい。この
第1の熱処理によって酸化物半導体層中の、過剰な水素(水や水酸基を含む)を除去し、
酸化物半導体層の構造を整え、エネルギーギャップ中の欠陥準位を低減することができる
。第1の熱処理の温度は、例えば、300℃以上550℃未満、または400℃以上50
0℃以下とする。特に、対向ターゲット方式のスパッタリング装置を用いて酸化物半導体
層を形成する場合、形成された酸化物半導体層中には、平行平板のスパッタリング装置で
成膜した酸化物半導体層よりも高い濃度で水素(水や水酸基を含む)が含有されているこ
とがあるため、脱水・脱水素の効果を奏する第1の熱処理を施すことは、効果的である。
熱処理は、例えば、抵抗発熱体などを用いた電気炉に被処理物を導入し、窒素雰囲気下、
450℃、1時間の条件で行うことができる。この間、酸化物半導体層は大気に触れさせ
ず、水や水素の混入が生じないようにする。第1の熱処理によって不純物を低減し、I型
(真性)またはI型に限りなく近い酸化物半導体層を形成することで、極めて優れた特性
のトランジスタを実現することができる。
次に、酸化物半導体層144に接するゲート絶縁層146を形成する。ゲート絶縁層14
6は、実施の形態1に示す材料及び形成プロセスを用いる。なお、ゲート絶縁層146の
成膜には、図2または図3に示す対向ターゲット方式のスパッタリング装置を用いるのが
好ましい。
次に、ゲート絶縁層146上において酸化物半導体層144と重畳する領域にゲート電極
148aを形成し、ソース電極またはドレイン電極142cと重畳する領域に電極148
bを形成する。
ゲート絶縁層146の形成後には、不活性ガス雰囲気下、または酸素雰囲気下で第2の熱
処理を行うのが望ましい。熱処理の温度は、200℃以上450℃以下、望ましくは25
0℃以上350℃以下である。例えば、窒素雰囲気下で250℃、1時間の熱処理を行え
ばよい。第2の熱処理を行うことによって、トランジスタの電気的特性のばらつきを軽減
することができる。また、ゲート絶縁層146が酸素を含む場合、酸化物半導体層144
に酸素を供給し、該酸化物半導体層144の酸素欠損を補填して、I型(真性)またはI
型に限りなく近い酸化物半導体層を形成することもできる。
なお、第2の熱処理のタイミングはこれに限定されない。例えば、ゲート電極の形成後に
第2の熱処理を行っても良い。また、第1の熱処理に続けて第2の熱処理を行っても良い
し、第1の熱処理に第2の熱処理を兼ねさせても良いし、第2の熱処理に第1の熱処理を
兼ねさせても良い。
上述のように、第1の熱処理と第2の熱処理の少なくとも一方を適用することで、酸化物
半導体層144を、その主成分以外の不純物が極力含まれないように高純度化することが
できる。
ゲート電極148aおよび電極148bは、ゲート絶縁層146上に導電層を形成した後
に、当該導電層を選択的にエッチングすることによって形成することができる。
次に、ゲート絶縁層146、ゲート電極148a、および電極148b上に、絶縁層15
0および絶縁層152を形成する。絶縁層150および絶縁層152は、スパッタ法やC
VD法などを用いて形成することができる。また、酸化シリコン、酸窒化シリコン、窒化
シリコン、酸化ハフニウム、酸化アルミニウム等の無機絶縁材料を含む材料を用いて形成
することができる。なお、絶縁層150および絶縁層152の成膜には、図2または図3
に示す対向ターゲット方式のスパッタリング装置を用いるのが好ましい。
次に、ゲート絶縁層146、絶縁層150、及び絶縁層152に、ソース電極またはドレ
イン電極142dにまで達する開口を形成する。当該開口の形成は、マスクなどを用いた
選択的なエッチングにより行われる。
その後、上記開口に電極154を形成し、絶縁層152上に電極154に接する配線15
6を形成する。
電極154は、例えば、開口を含む領域にPVD法やCVD法などを用いて導電層を形成
した後、エッチング処理やCMPといった方法を用いて、上記導電層の一部を除去するこ
とにより形成することができる。
配線156は、スパッタ法をはじめとするPVD法や、プラズマCVD法などのCVD法
を用いて導電層を形成した後、当該導電層をパターニングすることによって形成される。
また、導電層の材料としては、Al、Cr、Cu、Ta、Ti、Mo、Wから選ばれた元
素や、上述した元素を成分とする合金等を用いることができる。Mn、Mg、Zr、Be
、Nd、Scのいずれか、またはこれらを複数組み合わせた材料を用いてもよい。詳細は
、ソース電極またはドレイン電極142cなどと同様である。
以上により、高純度化された酸化物半導体層144を用いたトランジスタ162、および
容量素子164が完成する。容量素子164は、ソース電極またはドレイン電極142c
、酸化物半導体層144、ゲート絶縁層146、および電極148b、で構成される。
なお、図8の容量素子164では、酸化物半導体層144とゲート絶縁層146を積層さ
せることにより、ソース電極またはドレイン電極142cと、電極148bとの間の絶縁
性を十分に確保することができる。もちろん、十分な容量を確保するために、酸化物半導
体層144を有しない構成の容量素子164を採用しても良い。また、絶縁層143aと
同様に形成される絶縁層を有する構成の容量素子164を採用しても良い。さらに、容量
が不要の場合は、容量素子164を設けない構成とすることも可能である。
図8(C)には、上記半導体装置をメモリ素子として用いる場合の回路図の一例を示す。
図8(C)において、トランジスタ162のソース電極またはドレイン電極の一方と、容
量素子164の電極の一方と、トランジスタ140のゲート電極と、は電気的に接続され
ている。また、第1の配線(1st Line:ソース線とも呼ぶ)とトランジスタ14
0のソース電極とは、電気的に接続され、第2の配線(2nd Line:ビット線とも
呼ぶ)とトランジスタ140のドレイン電極とは、電気的に接続されている。また、第3
の配線(3rd Line:第1の信号線とも呼ぶ)とトランジスタ162のソース電極
またはドレイン電極の他方とは、電気的に接続され、第4の配線(4th Line:第
2の信号線とも呼ぶ)と、トランジスタ162のゲート電極とは、電気的に接続されてい
る。そして、第5の配線(5th Line:ワード線とも呼ぶ)と、容量素子164の
電極の他方は電気的に接続されている。
酸化物半導体を用いたトランジスタ162は、オフ電流が極めて小さいという特徴を有し
ているため、トランジスタ162をオフ状態とすることで、トランジスタ162のソース
電極またはドレイン電極の一方と、容量素子164の電極の一方と、トランジスタ140
のゲート電極とが電気的に接続されたノード(以下、ノードFG)の電位を極めて長時間
にわたって保持することが可能である。そして、容量素子164を有することにより、ノ
ードFGに与えられた電荷の保持が容易になり、また、保持された情報の読み出しが容易
になる。
半導体装置に情報を記憶させる場合(書き込み)は、まず、第4の配線の電位を、トラン
ジスタ162がオン状態となる電位にして、トランジスタ162をオン状態とする。これ
により、第3の配線の電位が、ノードFGに供給され、ノードFGに所定量の電荷が蓄積
される。ここでは、異なる二つの電位レベルを与える電荷(以下、ロー(Low)レベル
電荷、ハイ(High)レベル電荷という)のいずれかが与えられるものとする。その後
、第4の配線の電位を、トランジスタ162がオフ状態となる電位にして、トランジスタ
162をオフ状態とすることにより、ノードFGが浮遊状態となるため、ノードFGには
所定の電荷が保持されたままの状態となる。以上のように、ノードFGに所定量の電荷を
蓄積及び保持させることで、メモリセルに情報を記憶させることができる。
トランジスタ162のオフ電流は極めて小さいため、ノードFGに供給された電荷は長時
間にわたって保持される。したがって、リフレッシュ動作が不要となるか、または、リフ
レッシュ動作の頻度を極めて低くすることが可能となり、消費電力を十分に低減すること
ができる。また、電力の供給がない場合であっても、長期にわたって記憶内容を保持する
ことが可能である。
記憶された情報を読み出す場合(読み出し)は、第1の配線に所定の電位(定電位)を与
えた状態で、第5の配線に適切な電位(読み出し電位)を与えると、ノードFGに保持さ
れた電荷量に応じて、トランジスタ140は異なる状態をとる。一般に、トランジスタ1
40をnチャネル型とすると、ノードFGにHighレベル電荷が保持されている場合の
トランジスタ140の見かけのしきい値Vth_Hは、ノードFGにLowレベル電荷が
保持されている場合のトランジスタ140の見かけのしきい値Vth_Lより低くなるた
めである。ここで、見かけのしきい値とは、トランジスタ140を「オン状態」とするた
めに必要な第5の配線の電位をいうものとする。したがって、第5の配線の電位をVth
_HとVth_Lの中間の電位Vとすることにより、ノードFGに保持された電荷を判
別できる。例えば、書き込みにおいて、Highレベル電荷が与えられていた場合には、
第5の配線の電位がV(>Vth_H)となれば、トランジスタ140は「オン状態」
となる。Lowレベル電荷が与えられていた場合には、第5の配線の電位がV(<V
h_L)となっても、トランジスタ140は「オフ状態」のままである。このため、第5
の配線の電位を制御して、トランジスタ140のオン状態またはオフ状態を読み出す(第
2の配線の電位を読み出す)ことで、記憶された情報を読み出すことができる。
また、記憶させた情報を書き換える場合においては、上記の書き込みによって所定量の電
荷を保持したノードFGに、新たな電位を供給することで、ノードFGに新たな情報に係
る電荷を保持させる。具体的には、第4の配線の電位を、トランジスタ162がオン状態
となる電位にして、トランジスタ162をオン状態とする。これにより、第3の配線の電
位(新たな情報に係る電位)が、ノードFGに供給され、ノードFGに所定量の電荷が蓄
積される。その後、第4の配線の電位をトランジスタ162がオフ状態となる電位にして
、トランジスタ162をオフ状態とすることにより、ノードFGには、新たな情報に係る
電荷が保持された状態となる。すなわち、ノードFGに第1の書き込みによって所定量の
電荷が保持された状態で、第1の書き込みと同様の動作(第2の書き込み)を行うことで
、記憶させた情報を上書きすることが可能である。
本実施の形態で示すトランジスタ162は、ゲート絶縁層及び酸化物半導体層の少なくと
も一方を、対向ターゲット方式を用いたスパッタリング法により形成しているため、ゲー
ト絶縁層と酸化物半導体層との界面、ゲート絶縁層中、または、酸化物半導体層中の少な
くともいずれかへのプラズマダメージの混入を防ぎ、界面トラップ、膜中トラップ等の欠
陥の発生を抑制することができる。さらに、高純度化され、真性化された酸化物半導体層
144を用いることで、トランジスタ162のオフ電流を十分に低減することができる。
そして、このようなトランジスタを用いることで、極めて長期にわたり記憶内容を保持す
ることが可能な半導体装置が得られる。
また、本実施の形態において示す半導体装置では、トランジスタ140とトランジスタ1
62を重畳させることで、集積度が十分に高められた半導体装置が実現される。
以上、本実施の形態に示す構成、方法などは、他の実施の形態に示す構成、方法などと適
宜組み合わせて用いることができる。
(実施の形態5)
本明細書に開示する半導体装置は、さまざまな電子機器(遊技機も含む)に適用すること
ができる。電子機器としては、例えば、テレビジョン装置(テレビ、またはテレビジョン
受信機ともいう)、コンピュータ用などのモニタ、デジタルカメラ、デジタルビデオカメ
ラ、デジタルフォトフレーム、携帯電話機(携帯電話、携帯電話装置ともいう)、携帯型
ゲーム機、携帯情報端末、音響再生装置、パチンコ機などの大型ゲーム機などが挙げられ
る。
本実施の形態では、上記実施の形態のいずれか一で得られる電気的特性が良好で、信頼性
の高いトランジスタを搭載した電子機器の例について図9を用いて説明する。
図9(A)は、ノート型のパーソナルコンピュータであり、本体3001、筐体3002
、表示部3003、キーボード3004などによって構成されている。なお、ノート型の
パーソナルコンピュータは、上記実施の形態で示すトランジスタを含んでいる。そのため
、良好な品質を有し、信頼性の高いノート型のパーソナルコンピュータが実現される。
図9(B)は、携帯情報端末(PDA)であり、本体3021には表示部3023と、外
部インターフェイス3025と、操作ボタン3024等が設けられている。また操作用の
付属品としてスタイラス3022がある。なお、携帯情報端末(PDA)は、上記実施の
形態で示すトランジスタを含んでいる。そのため、良好な品質を有し、信頼性の高い携帯
情報端末(PDA)が実現される。
図9(C)は、上記実施の形態で示す電子ペーパーを一部品として実装して作製した電子
書籍である。図9(C)は、電子書籍の一例を示している。例えば、電子書籍2700は
、筐体2701および筐体2703の2つの筐体で構成されている。筐体2701および
筐体2703は、軸部2711により一体とされており、該軸部2711を軸として開閉
動作を行うことができる。このような構成により、紙の書籍のような動作を行うことが可
能となる。
筐体2701には表示部2705が組み込まれ、筐体2703には表示部2707が組み
込まれている。表示部2705および表示部2707は、続き画面を表示する構成として
もよいし、異なる画面を表示する構成としてもよい。異なる画面を表示する構成とするこ
とで、例えば右側の表示部(図9(C)では表示部2705)に文章を表示し、左側の表
示部(図9(C)では表示部2707)に画像を表示することができる。
また、図9(C)では、筐体2701に操作部などを備えた例を示している。例えば、筐
体2701において、電源2721、操作キー2723、スピーカー2725などを備え
ている。操作キー2723により、頁を送ることができる。なお、筐体の表示部と同一面
にキーボードやポインティングデバイスなどを備える構成としてもよい。また、筐体の裏
面や側面に、外部接続用端子(イヤホン端子、USB端子、またはACアダプタおよびU
SBケーブルなどの各種ケーブルと接続可能な端子など)、記録媒体挿入部などを備える
構成としてもよい。さらに、電子書籍2700は、電子辞書としての機能を持たせた構成
としてもよい。
また、電子書籍2700は、無線で情報を送受信できる構成としてもよい。無線により、
電子書籍サーバから、所望の書籍データなどを購入し、ダウンロードする構成とすること
も可能である。
図9(D)は、携帯電話であり、筐体2800及び筐体2801の二つの筐体で構成され
ている。筐体2801には、表示パネル2802、スピーカー2803、マイクロフォン
2804、ポインティングデバイス2806、カメラ用レンズ2807、外部接続端子2
808などを備えている。また、筐体2801には、携帯型情報端末の充電を行う太陽電
池セル2810、外部メモリスロット2811などを備えている。また、アンテナは筐体
2801内部に内蔵されている。なお、携帯電話は、上記実施の形態で示すトランジスタ
を少なくとも一部品として含んでいる。
また、表示パネル2802はタッチパネルを備えており、図9(D)には映像表示されて
いる複数の操作キー2805を点線で示している。なお、太陽電池セル2810で出力さ
れる電圧を各回路に必要な電圧に昇圧するための昇圧回路も実装している。
表示パネル2802は、使用形態に応じて表示の方向が適宜変化する。また、表示パネル
2802と同一面上にカメラ用レンズ2807を備えているため、テレビ電話が可能であ
る。スピーカー2803及びマイクロフォン2804は音声通話に限らず、テレビ電話、
録音、再生などが可能である。さらに、筐体2800と筐体2801は、スライドし、図
9(D)のように展開している状態から重なり合った状態とすることができ、携帯に適し
た小型化が可能である。
外部接続端子2808はACアダプタ及びUSBケーブルなどの各種ケーブルと接続可能
であり、充電及びパーソナルコンピュータなどとのデータ通信が可能である。また、外部
メモリスロット2811に記録媒体を挿入し、より大量のデータ保存及び移動に対応でき
る。記録媒体として、実施の形態4に示す半導体装置を用いることができる。実施の形態
4によれば、オフ電流を十分に低減することができるトランジスタを用いることで、極め
て長期にわたり記憶内容を保持することが可能な半導体装置が得られる。
また、上記機能に加えて、赤外線通信機能、テレビ受信機能などを備えたものであっても
よい。
図9(E)は、デジタルカメラであり、本体3051、表示部(A)3057、接眼部3
053、操作スイッチ3054、表示部(B)3055、バッテリー3056などによっ
て構成されている。なお、デジタルカメラは、上記実施の形態で示すトランジスタを含ん
でいる。そのため、良好な品質を有し、信頼性の高いデジタルカメラが実現される。
以上のように、本実施の形態に示す電子機器には、先の実施の形態に係る半導体装置が搭
載されている。このため、良好な品質を有する電子機器が実現される。
100 基板
106 素子分離絶縁層
108 ゲート絶縁層
110 ゲート電極
116 チャネル形成領域
120 不純物領域
124 金属化合物領域
128 絶縁層
130 絶縁層
140 トランジスタ
142a ソース電極
142b ドレイン電極
142c ドレイン電極
142d ドレイン電極
143a 絶縁層
143b 絶縁層
144 酸化物半導体層
146 ゲート絶縁層
148 ゲート電極
148a ゲート電極
148b 電極
150 絶縁層
152 絶縁層
154 電極
156 配線
160 トランジスタ
162 トランジスタ
164 容量素子
170 トランジスタ
180 トランジスタ
190 トランジスタ
200 基板
202 真空容器
204a ターゲット
204b ターゲット
206a 磁界発生手段
206b 磁界発生手段
206c 磁界発生手段
206d 磁界発生手段
208 基板ホルダー
210 電源
212 排気管
214 供給管
216 シャッター

Claims (6)

  1. 基板上に、対向して配置された一組のターゲットを用いたスパッタリング法により酸化物半導体層を形成し、
    前記酸化物半導体層に、前記酸化物半導体層中の水素を低減するための第1の熱処理を行い、
    前記酸化物半導体層上にソース電極及びドレイン電極を形成し、
    前記酸化物半導体層上、前記ソース電極上、及び前記ドレイン電極上に、ゲート絶縁層を形成し、
    前記ゲート絶縁層形成後に、不活性ガス雰囲気下で第2の熱処理を行い、
    前記第2の熱処理後に、前記ゲート絶縁層上にゲート電極を形成
    前記第1の熱処理は、不活性ガス雰囲気での熱処理を行った後、前記不活性ガスを酸素を含むガスに切り替えて熱処理を行い、
    前記トランジスタのチャネル長は、10nm以上1000nm以下であるトランジスタの作製方法。
  2. 基板上に、前記基板を室温とした状態で、対向して配置された一組のターゲットを用いたスパッタリング法により酸化物半導体層を形成し、
    前記酸化物半導体層に、前記酸化物半導体層中の水素を低減するための第1の熱処理を行い、
    前記酸化物半導体層上にソース電極及びドレイン電極を形成し、
    前記酸化物半導体層上、前記ソース電極上、及び前記ドレイン電極−上に、ゲート絶縁層を形成し、
    前記ゲート絶縁層形成後に、不活性ガス雰囲気下で第2の熱処理を行い、
    前記第2の熱処理後に、前記ゲート絶縁層上にゲート電極を形成
    前記第1の熱処理は、不活性ガス雰囲気での熱処理を行った後、前記不活性ガスを酸素を含むガスに切り替えて熱処理を行い、
    前記トランジスタのチャネル長は、10nm以上1000nm以下であるトランジスタの作製方法。
  3. 請求項2において、
    前記室温は、25℃±10℃であるトランジスタの作製方法。
  4. 請求項1乃至請求項3のいずれか一において、
    前記酸化物半導体層は、インジウムと亜鉛と元素Mとを有し、
    前記元素Mは、ガリウム、スズ、又はアルミニウムであるトランジスタの作製方法。
  5. 請求項1乃至請求項4のいずれか一において、
    前記酸化物半導体層は非晶質であるトランジスタの作製方法。
  6. 請求項1乃至請求項5のいずれか一において、
    前記酸化物半導体層のキャリア濃度は、1×1012/cmであるトランジスタの作製方法。
JP2015004136A 2010-02-12 2015-01-13 トランジスタの作製方法 Expired - Fee Related JP6082037B2 (ja)

Priority Applications (1)

Application Number Priority Date Filing Date Title
JP2015004136A JP6082037B2 (ja) 2010-02-12 2015-01-13 トランジスタの作製方法

Applications Claiming Priority (3)

Application Number Priority Date Filing Date Title
JP2010028598 2010-02-12
JP2010028598 2010-02-12
JP2015004136A JP6082037B2 (ja) 2010-02-12 2015-01-13 トランジスタの作製方法

Related Parent Applications (1)

Application Number Title Priority Date Filing Date
JP2011027296A Division JP5723172B2 (ja) 2010-02-12 2011-02-10 半導体装置の作製方法

Publications (2)

Publication Number Publication Date
JP2015111705A JP2015111705A (ja) 2015-06-18
JP6082037B2 true JP6082037B2 (ja) 2017-02-15

Family

ID=44369011

Family Applications (9)

Application Number Title Priority Date Filing Date
JP2011027296A Expired - Fee Related JP5723172B2 (ja) 2010-02-12 2011-02-10 半導体装置の作製方法
JP2015004131A Expired - Fee Related JP6149049B2 (ja) 2010-02-12 2015-01-13 半導体装置の作製方法
JP2015004149A Withdrawn JP2015128162A (ja) 2010-02-12 2015-01-13 成膜方法
JP2015004136A Expired - Fee Related JP6082037B2 (ja) 2010-02-12 2015-01-13 トランジスタの作製方法
JP2015004130A Withdrawn JP2015122512A (ja) 2010-02-12 2015-01-13 半導体装置
JP2015004138A Withdrawn JP2015119190A (ja) 2010-02-12 2015-01-13 半導体装置の作製方法
JP2017100504A Expired - Fee Related JP6420868B2 (ja) 2010-02-12 2017-05-22 半導体装置の作製方法
JP2018193068A Withdrawn JP2019033276A (ja) 2010-02-12 2018-10-12 半導体装置の作製方法
JP2020104371A Withdrawn JP2020167431A (ja) 2010-02-12 2020-06-17 半導体装置の作製方法

Family Applications Before (3)

Application Number Title Priority Date Filing Date
JP2011027296A Expired - Fee Related JP5723172B2 (ja) 2010-02-12 2011-02-10 半導体装置の作製方法
JP2015004131A Expired - Fee Related JP6149049B2 (ja) 2010-02-12 2015-01-13 半導体装置の作製方法
JP2015004149A Withdrawn JP2015128162A (ja) 2010-02-12 2015-01-13 成膜方法

Family Applications After (5)

Application Number Title Priority Date Filing Date
JP2015004130A Withdrawn JP2015122512A (ja) 2010-02-12 2015-01-13 半導体装置
JP2015004138A Withdrawn JP2015119190A (ja) 2010-02-12 2015-01-13 半導体装置の作製方法
JP2017100504A Expired - Fee Related JP6420868B2 (ja) 2010-02-12 2017-05-22 半導体装置の作製方法
JP2018193068A Withdrawn JP2019033276A (ja) 2010-02-12 2018-10-12 半導体装置の作製方法
JP2020104371A Withdrawn JP2020167431A (ja) 2010-02-12 2020-06-17 半導体装置の作製方法

Country Status (2)

Country Link
US (1) US8617920B2 (ja)
JP (9) JP5723172B2 (ja)

Families Citing this family (15)

* Cited by examiner, † Cited by third party
Publication number Priority date Publication date Assignee Title
US9722212B2 (en) 2011-02-14 2017-08-01 Semiconductor Energy Laboratory Co., Ltd. Lighting device, light-emitting device, and manufacturing method and manufacturing apparatus thereof
KR102865920B1 (ko) 2011-06-08 2025-09-26 가부시키가이샤 한도오따이 에네루기 켄큐쇼 스퍼터링 타겟, 스퍼터링 타겟의 제조 방법 및 박막의 형성 방법
US20130087784A1 (en) * 2011-10-05 2013-04-11 Semiconductor Energy Laboratory Co., Ltd. Semiconductor device and manufacturing method thereof
US9117916B2 (en) 2011-10-13 2015-08-25 Semiconductor Energy Laboratory Co., Ltd. Semiconductor device comprising oxide semiconductor film
KR20130040706A (ko) * 2011-10-14 2013-04-24 가부시키가이샤 한도오따이 에네루기 켄큐쇼 반도체 장치 및 반도체 장치의 제작 방법
KR20130046357A (ko) * 2011-10-27 2013-05-07 가부시키가이샤 한도오따이 에네루기 켄큐쇼 반도체 장치
JP2013149953A (ja) * 2011-12-20 2013-08-01 Semiconductor Energy Lab Co Ltd 半導体装置及び半導体装置の作製方法
JP6175740B2 (ja) * 2012-03-30 2017-08-09 株式会社Joled 薄膜トランジスタおよびその製造方法並びに表示装置および電子機器
US9885108B2 (en) 2012-08-07 2018-02-06 Semiconductor Energy Laboratory Co., Ltd. Method for forming sputtering target
JP6141777B2 (ja) 2013-02-28 2017-06-07 株式会社半導体エネルギー研究所 半導体装置の作製方法
KR20220046701A (ko) 2013-12-27 2022-04-14 가부시키가이샤 한도오따이 에네루기 켄큐쇼 발광 장치
KR102426711B1 (ko) * 2015-11-18 2022-07-29 삼성디스플레이 주식회사 플렉서블 디스플레이 장치
US10475869B2 (en) * 2016-08-23 2019-11-12 Semiconductor Energy Laboratory Co., Ltd. Display device including display element and transistor
US10002762B2 (en) * 2016-09-09 2018-06-19 International Business Machines Corporation Multi-angled deposition and masking for custom spacer trim and selected spacer removal
JP7233964B2 (ja) 2019-02-26 2023-03-07 三菱重工業株式会社 運転指標提示装置、運転指標提示方法、およびプログラム

Family Cites Families (130)

* Cited by examiner, † Cited by third party
Publication number Priority date Publication date Assignee Title
JPH02255504A (ja) * 1989-03-30 1990-10-16 Nippon Steel Corp 酸化物超電導薄膜の製造方法
JPH04317408A (ja) * 1991-04-01 1992-11-09 Semiconductor Energy Lab Co Ltd 酸化物超伝導材料
KR100394896B1 (ko) * 1995-08-03 2003-11-28 코닌클리케 필립스 일렉트로닉스 엔.브이. 투명스위칭소자를포함하는반도체장치
JP3625598B2 (ja) * 1995-12-30 2005-03-02 三星電子株式会社 液晶表示装置の製造方法
JP4170454B2 (ja) 1998-07-24 2008-10-22 Hoya株式会社 透明導電性酸化物薄膜を有する物品及びその製造方法
JP2000150861A (ja) * 1998-11-16 2000-05-30 Tdk Corp 酸化物薄膜
JP3276930B2 (ja) * 1998-11-17 2002-04-22 科学技術振興事業団 トランジスタ及び半導体装置
TW460731B (en) * 1999-09-03 2001-10-21 Ind Tech Res Inst Electrode structure and production method of wide viewing angle LCD
JP4089858B2 (ja) 2000-09-01 2008-05-28 国立大学法人東北大学 半導体デバイス
KR20020038482A (ko) * 2000-11-15 2002-05-23 모리시타 요이찌 박막 트랜지스터 어레이, 그 제조방법 및 그것을 이용한표시패널
JP3997731B2 (ja) * 2001-03-19 2007-10-24 富士ゼロックス株式会社 基材上に結晶性半導体薄膜を形成する方法
JP2002289859A (ja) 2001-03-23 2002-10-04 Minolta Co Ltd 薄膜トランジスタ
JP4090716B2 (ja) * 2001-09-10 2008-05-28 雅司 川崎 薄膜トランジスタおよびマトリクス表示装置
JP3925839B2 (ja) 2001-09-10 2007-06-06 シャープ株式会社 半導体記憶装置およびその試験方法
WO2003040441A1 (fr) * 2001-11-05 2003-05-15 Japan Science And Technology Agency Film mince monocristallin homologue a super-reseau naturel, procede de preparation et dispositif dans lequel est utilise ledit film mince monocristallin
JP4164562B2 (ja) 2002-09-11 2008-10-15 独立行政法人科学技術振興機構 ホモロガス薄膜を活性層として用いる透明薄膜電界効果型トランジスタ
JP4083486B2 (ja) 2002-02-21 2008-04-30 独立行政法人科学技術振興機構 LnCuO(S,Se,Te)単結晶薄膜の製造方法
JP2003273133A (ja) * 2002-03-15 2003-09-26 Sanyo Electric Co Ltd 酸化物半導体層およびその形成方法ならびに半導体装置
US7049190B2 (en) * 2002-03-15 2006-05-23 Sanyo Electric Co., Ltd. Method for forming ZnO film, method for forming ZnO semiconductor layer, method for fabricating semiconductor device, and semiconductor device
JP3933591B2 (ja) 2002-03-26 2007-06-20 淳二 城戸 有機エレクトロルミネッセント素子
US7339187B2 (en) * 2002-05-21 2008-03-04 State Of Oregon Acting By And Through The Oregon State Board Of Higher Education On Behalf Of Oregon State University Transistor structures
JP2004022625A (ja) * 2002-06-13 2004-01-22 Murata Mfg Co Ltd 半導体デバイス及び該半導体デバイスの製造方法
US7105868B2 (en) * 2002-06-24 2006-09-12 Cermet, Inc. High-electron mobility transistor with zinc oxide
US7067843B2 (en) * 2002-10-11 2006-06-27 E. I. Du Pont De Nemours And Company Transparent oxide semiconductor thin film transistors
JP4166105B2 (ja) 2003-03-06 2008-10-15 シャープ株式会社 半導体装置およびその製造方法
JP2004273732A (ja) 2003-03-07 2004-09-30 Sharp Corp アクティブマトリクス基板およびその製造方法
JP4135540B2 (ja) * 2003-03-25 2008-08-20 株式会社ジェイテクト 電動パワーステアリング装置
JP2004335572A (ja) * 2003-05-01 2004-11-25 Seiko Epson Corp 塗布装置、薄膜形成装置、半導体装置の製造方法、電気光学装置、並びに電子機器
JP4108633B2 (ja) 2003-06-20 2008-06-25 シャープ株式会社 薄膜トランジスタおよびその製造方法ならびに電子デバイス
US7262463B2 (en) 2003-07-25 2007-08-28 Hewlett-Packard Development Company, L.P. Transistor including a deposited channel region having a doped portion
JP2005179716A (ja) * 2003-12-17 2005-07-07 Sony Corp スパッタリング装置
US7297977B2 (en) * 2004-03-12 2007-11-20 Hewlett-Packard Development Company, L.P. Semiconductor device
US7145174B2 (en) 2004-03-12 2006-12-05 Hewlett-Packard Development Company, Lp. Semiconductor device
US7282782B2 (en) * 2004-03-12 2007-10-16 Hewlett-Packard Development Company, L.P. Combined binary oxide semiconductor device
CN1998087B (zh) 2004-03-12 2014-12-31 独立行政法人科学技术振兴机构 非晶形氧化物和薄膜晶体管
US7211825B2 (en) * 2004-06-14 2007-05-01 Yi-Chi Shih Indium oxide-based thin film transistors and circuits
JP2006005515A (ja) * 2004-06-16 2006-01-05 Altia Hashimoto Co Ltd 電波等の透過装置
JP4660124B2 (ja) * 2004-06-17 2011-03-30 カシオ計算機株式会社 薄膜トランジスタの製造方法
JP2006100760A (ja) * 2004-09-02 2006-04-13 Casio Comput Co Ltd 薄膜トランジスタおよびその製造方法
US7285501B2 (en) * 2004-09-17 2007-10-23 Hewlett-Packard Development Company, L.P. Method of forming a solution processed device
US7298084B2 (en) 2004-11-02 2007-11-20 3M Innovative Properties Company Methods and displays utilizing integrated zinc oxide row and column drivers in conjunction with organic light emitting diodes
US7829444B2 (en) 2004-11-10 2010-11-09 Canon Kabushiki Kaisha Field effect transistor manufacturing method
JP5118812B2 (ja) 2004-11-10 2013-01-16 キヤノン株式会社 電界効果型トランジスタ
US7863611B2 (en) * 2004-11-10 2011-01-04 Canon Kabushiki Kaisha Integrated circuits utilizing amorphous oxides
RU2402106C2 (ru) 2004-11-10 2010-10-20 Кэнон Кабусики Кайся Аморфный оксид и полевой транзистор с его использованием
US7453065B2 (en) * 2004-11-10 2008-11-18 Canon Kabushiki Kaisha Sensor and image pickup device
US7791072B2 (en) 2004-11-10 2010-09-07 Canon Kabushiki Kaisha Display
KR100953596B1 (ko) 2004-11-10 2010-04-21 캐논 가부시끼가이샤 발광장치
JP2006144053A (ja) * 2004-11-17 2006-06-08 Bridgestone Corp NドープZnO膜の成膜方法。
JP2006188733A (ja) * 2005-01-06 2006-07-20 Osaka Vacuum Ltd 対向ターゲット式スパッタ装置及び対向ターゲット式スパッタ方法
US7579224B2 (en) * 2005-01-21 2009-08-25 Semiconductor Energy Laboratory Co., Ltd. Method for manufacturing a thin film semiconductor device
TWI472037B (zh) * 2005-01-28 2015-02-01 半導體能源研究所股份有限公司 半導體裝置,電子裝置,和半導體裝置的製造方法
US7608531B2 (en) * 2005-01-28 2009-10-27 Semiconductor Energy Laboratory Co., Ltd. Semiconductor device, electronic device, and method of manufacturing semiconductor device
US7858451B2 (en) * 2005-02-03 2010-12-28 Semiconductor Energy Laboratory Co., Ltd. Electronic device, semiconductor device and manufacturing method thereof
US7948171B2 (en) * 2005-02-18 2011-05-24 Semiconductor Energy Laboratory Co., Ltd. Light emitting device
US20060197092A1 (en) * 2005-03-03 2006-09-07 Randy Hoffman System and method for forming conductive material on a substrate
US8681077B2 (en) * 2005-03-18 2014-03-25 Semiconductor Energy Laboratory Co., Ltd. Semiconductor device, and display device, driving method and electronic apparatus thereof
US7544967B2 (en) * 2005-03-28 2009-06-09 Massachusetts Institute Of Technology Low voltage flexible organic/transparent transistor for selective gas sensing, photodetecting and CMOS device applications
US7645478B2 (en) * 2005-03-31 2010-01-12 3M Innovative Properties Company Methods of making displays
US8300031B2 (en) * 2005-04-20 2012-10-30 Semiconductor Energy Laboratory Co., Ltd. Semiconductor device comprising transistor having gate and drain connected through a current-voltage conversion element
JP2006344849A (ja) * 2005-06-10 2006-12-21 Casio Comput Co Ltd 薄膜トランジスタ
US7691666B2 (en) * 2005-06-16 2010-04-06 Eastman Kodak Company Methods of making thin film transistors comprising zinc-oxide-based semiconductor materials and transistors made thereby
US7402506B2 (en) * 2005-06-16 2008-07-22 Eastman Kodak Company Methods of making thin film transistors comprising zinc-oxide-based semiconductor materials and transistors made thereby
US7507618B2 (en) * 2005-06-27 2009-03-24 3M Innovative Properties Company Method for making electronic devices using metal oxide nanoparticles
KR100711890B1 (ko) * 2005-07-28 2007-04-25 삼성에스디아이 주식회사 유기 발광표시장치 및 그의 제조방법
JP2007059128A (ja) * 2005-08-23 2007-03-08 Canon Inc 有機el表示装置およびその製造方法
JP5116225B2 (ja) * 2005-09-06 2013-01-09 キヤノン株式会社 酸化物半導体デバイスの製造方法
JP4560502B2 (ja) * 2005-09-06 2010-10-13 キヤノン株式会社 電界効果型トランジスタ
JP4850457B2 (ja) * 2005-09-06 2012-01-11 キヤノン株式会社 薄膜トランジスタ及び薄膜ダイオード
JP2007073705A (ja) * 2005-09-06 2007-03-22 Canon Inc 酸化物半導体チャネル薄膜トランジスタおよびその製造方法
JP4280736B2 (ja) * 2005-09-06 2009-06-17 キヤノン株式会社 半導体素子
EP1770788A3 (en) * 2005-09-29 2011-09-21 Semiconductor Energy Laboratory Co., Ltd. Semiconductor device having oxide semiconductor layer and manufacturing method thereof
JP5064747B2 (ja) 2005-09-29 2012-10-31 株式会社半導体エネルギー研究所 半導体装置、電気泳動表示装置、表示モジュール、電子機器、及び半導体装置の作製方法
JP5078246B2 (ja) 2005-09-29 2012-11-21 株式会社半導体エネルギー研究所 半導体装置、及び半導体装置の作製方法
JP5037808B2 (ja) * 2005-10-20 2012-10-03 キヤノン株式会社 アモルファス酸化物を用いた電界効果型トランジスタ、及び該トランジスタを用いた表示装置
KR101112652B1 (ko) * 2005-11-15 2012-02-16 가부시키가이샤 한도오따이 에네루기 켄큐쇼 액티브 매트릭스 디스플레이 장치 및 텔레비전 수신기
JP5395994B2 (ja) * 2005-11-18 2014-01-22 出光興産株式会社 半導体薄膜、及びその製造方法、並びに薄膜トランジスタ
WO2007058248A1 (ja) * 2005-11-18 2007-05-24 Idemitsu Kosan Co., Ltd. 半導体薄膜、及びその製造方法、並びに薄膜トランジスタ
US7998372B2 (en) * 2005-11-18 2011-08-16 Idemitsu Kosan Co., Ltd. Semiconductor thin film, method for manufacturing the same, thin film transistor, and active-matrix-driven display panel
TWI292281B (en) * 2005-12-29 2008-01-01 Ind Tech Res Inst Pixel structure of active organic light emitting diode and method of fabricating the same
US7867636B2 (en) * 2006-01-11 2011-01-11 Murata Manufacturing Co., Ltd. Transparent conductive film and method for manufacturing the same
JP4977478B2 (ja) * 2006-01-21 2012-07-18 三星電子株式会社 ZnOフィルム及びこれを用いたTFTの製造方法
US7576394B2 (en) * 2006-02-02 2009-08-18 Kochi Industrial Promotion Center Thin film transistor including low resistance conductive thin films and manufacturing method thereof
US7977169B2 (en) * 2006-02-15 2011-07-12 Kochi Industrial Promotion Center Semiconductor device including active layer made of zinc oxide with controlled orientations and manufacturing method thereof
JP5110803B2 (ja) * 2006-03-17 2012-12-26 キヤノン株式会社 酸化物膜をチャネルに用いた電界効果型トランジスタ及びその製造方法
KR20070101595A (ko) * 2006-04-11 2007-10-17 삼성전자주식회사 ZnO TFT
US20070252928A1 (en) * 2006-04-28 2007-11-01 Toppan Printing Co., Ltd. Structure, transmission type liquid crystal display, reflection type display and manufacturing method thereof
JP2007311404A (ja) * 2006-05-16 2007-11-29 Fuji Electric Holdings Co Ltd 薄膜トランジスタの製造方法
JP5028033B2 (ja) 2006-06-13 2012-09-19 キヤノン株式会社 酸化物半導体膜のドライエッチング方法
JP4609797B2 (ja) * 2006-08-09 2011-01-12 Nec液晶テクノロジー株式会社 薄膜デバイス及びその製造方法
JP4999400B2 (ja) * 2006-08-09 2012-08-15 キヤノン株式会社 酸化物半導体膜のドライエッチング方法
JP5007792B2 (ja) * 2006-08-24 2012-08-22 株式会社ブリヂストン p型In−Ga−Zn−O膜の成膜方法
JP4332545B2 (ja) * 2006-09-15 2009-09-16 キヤノン株式会社 電界効果型トランジスタ及びその製造方法
JP5164357B2 (ja) * 2006-09-27 2013-03-21 キヤノン株式会社 半導体装置及び半導体装置の製造方法
JP4274219B2 (ja) * 2006-09-27 2009-06-03 セイコーエプソン株式会社 電子デバイス、有機エレクトロルミネッセンス装置、有機薄膜半導体装置
US7622371B2 (en) * 2006-10-10 2009-11-24 Hewlett-Packard Development Company, L.P. Fused nanocrystal thin film semiconductor and method
US7772021B2 (en) * 2006-11-29 2010-08-10 Samsung Electronics Co., Ltd. Flat panel displays comprising a thin-film transistor having a semiconductive oxide in its channel and methods of fabricating the same for use in flat panel displays
JP2008140684A (ja) * 2006-12-04 2008-06-19 Toppan Printing Co Ltd カラーelディスプレイおよびその製造方法
JP5105842B2 (ja) * 2006-12-05 2012-12-26 キヤノン株式会社 酸化物半導体を用いた表示装置及びその製造方法
KR101303578B1 (ko) * 2007-01-05 2013-09-09 삼성전자주식회사 박막 식각 방법
US8207063B2 (en) * 2007-01-26 2012-06-26 Eastman Kodak Company Process for atomic layer deposition
TWI478347B (zh) * 2007-02-09 2015-03-21 出光興產股份有限公司 A thin film transistor, a thin film transistor substrate, and an image display device, and an image display device, and a semiconductor device
KR100851215B1 (ko) * 2007-03-14 2008-08-07 삼성에스디아이 주식회사 박막 트랜지스터 및 이를 이용한 유기 전계 발광표시장치
US8158974B2 (en) * 2007-03-23 2012-04-17 Idemitsu Kosan Co., Ltd. Semiconductor device, polycrystalline semiconductor thin film, process for producing polycrystalline semiconductor thin film, field effect transistor, and process for producing field effect transistor
JP5244331B2 (ja) * 2007-03-26 2013-07-24 出光興産株式会社 非晶質酸化物半導体薄膜、その製造方法、薄膜トランジスタの製造方法、電界効果型トランジスタ、発光装置、表示装置及びスパッタリングターゲット
JP5465825B2 (ja) * 2007-03-26 2014-04-09 出光興産株式会社 半導体装置、半導体装置の製造方法及び表示装置
JP5372337B2 (ja) * 2007-03-27 2013-12-18 住友化学株式会社 有機薄膜トランジスタ基板及びその製造方法、並びに、画像表示パネル及びその製造方法
JP5197058B2 (ja) * 2007-04-09 2013-05-15 キヤノン株式会社 発光装置とその作製方法
US7795613B2 (en) * 2007-04-17 2010-09-14 Toppan Printing Co., Ltd. Structure with transistor
KR101325053B1 (ko) * 2007-04-18 2013-11-05 삼성디스플레이 주식회사 박막 트랜지스터 기판 및 이의 제조 방법
KR20080094300A (ko) * 2007-04-19 2008-10-23 삼성전자주식회사 박막 트랜지스터 및 그 제조 방법과 박막 트랜지스터를포함하는 평판 디스플레이
KR101334181B1 (ko) * 2007-04-20 2013-11-28 삼성전자주식회사 선택적으로 결정화된 채널층을 갖는 박막 트랜지스터 및 그제조 방법
US8274078B2 (en) * 2007-04-25 2012-09-25 Canon Kabushiki Kaisha Metal oxynitride semiconductor containing zinc
KR101345376B1 (ko) * 2007-05-29 2013-12-24 삼성전자주식회사 ZnO 계 박막 트랜지스터 및 그 제조방법
JP2009030133A (ja) * 2007-07-30 2009-02-12 Panasonic Corp 薄膜形成装置並びに薄膜形成方法
WO2009034953A1 (ja) * 2007-09-10 2009-03-19 Idemitsu Kosan Co., Ltd. 薄膜トランジスタ
JP2009099847A (ja) * 2007-10-18 2009-05-07 Canon Inc 薄膜トランジスタとその製造方法及び表示装置
JP5213422B2 (ja) * 2007-12-04 2013-06-19 キヤノン株式会社 絶縁層を有する酸化物半導体素子およびそれを用いた表示装置
JP5215158B2 (ja) * 2007-12-17 2013-06-19 富士フイルム株式会社 無機結晶性配向膜及びその製造方法、半導体デバイス
US20100295042A1 (en) * 2008-01-23 2010-11-25 Idemitsu Kosan Co., Ltd. Field-effect transistor, method for manufacturing field-effect transistor, display device using field-effect transistor, and semiconductor device
JP5088792B2 (ja) * 2008-04-02 2012-12-05 富士フイルム株式会社 Zn含有複合酸化物膜の成膜方法
JP5202094B2 (ja) * 2008-05-12 2013-06-05 キヤノン株式会社 半導体装置
JP5555848B2 (ja) * 2008-05-15 2014-07-23 国立大学法人山口大学 薄膜作製用スパッタ装置及び薄膜作製方法
JP5510767B2 (ja) * 2008-06-19 2014-06-04 出光興産株式会社 薄膜トランジスタおよびその製造方法
JP5584960B2 (ja) * 2008-07-03 2014-09-10 ソニー株式会社 薄膜トランジスタおよび表示装置
TWI500160B (zh) * 2008-08-08 2015-09-11 Semiconductor Energy Lab 半導體裝置及其製造方法
JP4623179B2 (ja) * 2008-09-18 2011-02-02 ソニー株式会社 薄膜トランジスタおよびその製造方法
JP5451280B2 (ja) * 2008-10-09 2014-03-26 キヤノン株式会社 ウルツ鉱型結晶成長用基板およびその製造方法ならびに半導体装置
JP5564331B2 (ja) * 2009-05-29 2014-07-30 株式会社半導体エネルギー研究所 半導体装置の作製方法
KR20130008037A (ko) * 2010-03-05 2013-01-21 가부시키가이샤 한도오따이 에네루기 켄큐쇼 반도체 장치를 제작하는 방법

Also Published As

Publication number Publication date
JP2011187952A (ja) 2011-09-22
JP5723172B2 (ja) 2015-05-27
JP6420868B2 (ja) 2018-11-07
JP2019033276A (ja) 2019-02-28
JP2015128162A (ja) 2015-07-09
JP2020167431A (ja) 2020-10-08
JP2015119190A (ja) 2015-06-25
JP2015122512A (ja) 2015-07-02
JP6149049B2 (ja) 2017-06-14
US20110198594A1 (en) 2011-08-18
US8617920B2 (en) 2013-12-31
JP2017152740A (ja) 2017-08-31
JP2015111705A (ja) 2015-06-18
JP2015119189A (ja) 2015-06-25

Similar Documents

Publication Publication Date Title
JP6420868B2 (ja) 半導体装置の作製方法
JP7592128B2 (ja) 半導体装置
JP6957668B2 (ja) 半導体装置の作製方法
JP5844583B2 (ja) 半導体装置の作製方法、及び、半導体装置
TW201207955A (en) Deposition method and method for manufacturing semiconductor device

Legal Events

Date Code Title Description
A977 Report on retrieval

Free format text: JAPANESE INTERMEDIATE CODE: A971007

Effective date: 20160208

A131 Notification of reasons for refusal

Free format text: JAPANESE INTERMEDIATE CODE: A131

Effective date: 20160223

A521 Request for written amendment filed

Free format text: JAPANESE INTERMEDIATE CODE: A523

Effective date: 20160309

A131 Notification of reasons for refusal

Free format text: JAPANESE INTERMEDIATE CODE: A131

Effective date: 20160705

TRDD Decision of grant or rejection written
A01 Written decision to grant a patent or to grant a registration (utility model)

Free format text: JAPANESE INTERMEDIATE CODE: A01

Effective date: 20170117

A61 First payment of annual fees (during grant procedure)

Free format text: JAPANESE INTERMEDIATE CODE: A61

Effective date: 20170119

R150 Certificate of patent or registration of utility model

Ref document number: 6082037

Country of ref document: JP

Free format text: JAPANESE INTERMEDIATE CODE: R150

R250 Receipt of annual fees

Free format text: JAPANESE INTERMEDIATE CODE: R250

R250 Receipt of annual fees

Free format text: JAPANESE INTERMEDIATE CODE: R250

LAPS Cancellation because of no payment of annual fees