JP5902592B2 - 光電変換装置の製造方法 - Google Patents

光電変換装置の製造方法 Download PDF

Info

Publication number
JP5902592B2
JP5902592B2 JP2012209845A JP2012209845A JP5902592B2 JP 5902592 B2 JP5902592 B2 JP 5902592B2 JP 2012209845 A JP2012209845 A JP 2012209845A JP 2012209845 A JP2012209845 A JP 2012209845A JP 5902592 B2 JP5902592 B2 JP 5902592B2
Authority
JP
Japan
Prior art keywords
layer
photoelectric conversion
semiconductor layer
lower electrode
electrode layer
Prior art date
Legal status (The legal status is an assumption and is not a legal conclusion. Google has not performed a legal analysis and makes no representation as to the accuracy of the status listed.)
Expired - Fee Related
Application number
JP2012209845A
Other languages
English (en)
Other versions
JP2014067746A (ja
Inventor
宏治 宮内
宏治 宮内
Current Assignee (The listed assignees may be inaccurate. Google has not performed a legal analysis and makes no representation or warranty as to the accuracy of the list.)
Kyocera Corp
Original Assignee
Kyocera Corp
Priority date (The priority date is an assumption and is not a legal conclusion. Google has not performed a legal analysis and makes no representation as to the accuracy of the date listed.)
Filing date
Publication date
Application filed by Kyocera Corp filed Critical Kyocera Corp
Priority to JP2012209845A priority Critical patent/JP5902592B2/ja
Publication of JP2014067746A publication Critical patent/JP2014067746A/ja
Application granted granted Critical
Publication of JP5902592B2 publication Critical patent/JP5902592B2/ja
Expired - Fee Related legal-status Critical Current
Anticipated expiration legal-status Critical

Links

Images

Classifications

    • YGENERAL TAGGING OF NEW TECHNOLOGICAL DEVELOPMENTS; GENERAL TAGGING OF CROSS-SECTIONAL TECHNOLOGIES SPANNING OVER SEVERAL SECTIONS OF THE IPC; TECHNICAL SUBJECTS COVERED BY FORMER USPC CROSS-REFERENCE ART COLLECTIONS [XRACs] AND DIGESTS
    • Y02TECHNOLOGIES OR APPLICATIONS FOR MITIGATION OR ADAPTATION AGAINST CLIMATE CHANGE
    • Y02EREDUCTION OF GREENHOUSE GAS [GHG] EMISSIONS, RELATED TO ENERGY GENERATION, TRANSMISSION OR DISTRIBUTION
    • Y02E10/00Energy generation through renewable energy sources
    • Y02E10/50Photovoltaic [PV] energy
    • Y02E10/541CuInSe2 material PV cells
    • YGENERAL TAGGING OF NEW TECHNOLOGICAL DEVELOPMENTS; GENERAL TAGGING OF CROSS-SECTIONAL TECHNOLOGIES SPANNING OVER SEVERAL SECTIONS OF THE IPC; TECHNICAL SUBJECTS COVERED BY FORMER USPC CROSS-REFERENCE ART COLLECTIONS [XRACs] AND DIGESTS
    • Y02TECHNOLOGIES OR APPLICATIONS FOR MITIGATION OR ADAPTATION AGAINST CLIMATE CHANGE
    • Y02PCLIMATE CHANGE MITIGATION TECHNOLOGIES IN THE PRODUCTION OR PROCESSING OF GOODS
    • Y02P70/00Climate change mitigation technologies in the production process for final industrial or consumer products
    • Y02P70/50Manufacturing or production processes characterised by the final manufactured product

Landscapes

  • Photovoltaic Devices (AREA)

Description

本発明は、複数の光電変換セルが電気的に接続された光電変換装置に関する。
太陽光発電などに使用される光電変換装置として、基板の上に複数の光電変換セルが設けられたものがある(例えば、特許文献1など)。
このような光電変換装置は、ガラスなどの基板の上に、金属電極などの下部電極層と、CIGS等の金属カルコゲナイドを含む光電変換層と、透明導電膜とを、この順に積層した光電変換セルが、平面的に複数併設されて構成されている。複数の光電変換セルは、隣り合う一方の光電変換セルの透明導電膜と他方の下部電極層とが接続導体で接続されることで、電気的に直列接続されている。
光電変換装置には光電変換効率の向上が常に要求されている。金属カルコゲナイドを含む光電変換層を用いた光電変換装置の光電変換効率を高めるため、ナトリウム等のアルカリ金属元素を含む基板を用い、この基板から光電変換層中にアルカリ金属元素を拡散させることが提案されている(例えば、特許文献2など)。
特開2000−299486号公報 特開2004−047917号公報
基板からアルカリ金属元素を拡散させる場合、Mo等から成る下部電極層を介して光電変換層中に拡散するアルカリ金属元素の量と、下部電極層間の間隙を通り、下部電極層を介さずに光電変換層中に拡散するアルカリ金属元素の量とで違いが生じやすくなる。そのため、下部電極層上の光電変換層へのアルカリ金属元素の拡散量を高めようとすると、下部電極層間の間隙付近に位置する光電変換層におけるアルカリ金属元素の拡散量が過剰となり、光電変換層の剥離が生じやすくなる。そのため、光電変換効率を高めるのが困難である。
本発明の一つの目的は、光電変換装置の光電変換効率を向上させることにある。
本発明の一実施形態に係る光電変換装置の製造方法は、第1濃度でアルカリ金属元素を含む基板上に第1の下部電極層および第2の下部電極層を間隙をあけて併設する工程と、前記間隙内に前記第1濃度よりも低い第2濃度でアルカリ金属元素を含む高抵抗層を形成する工程と、前記基板を加熱しながら前記第1の下部電極層上から前記高抵抗層上を経て前記第2の下部電極層上にかけて金属カルコゲナイドを含む半導体層を形成する工程とを具備する。そして、前記高抵抗層を形成する工程は、前記半導体層を形成する工程の際に
前記第1の下部電極層を介して前記半導体層へ拡散するアルカリ金属元素の量および前記高抵抗層を介して前記半導体層へ拡散するアルカリ金属の量が近似するように前記高抵抗層を形成する工程である。
本発明によれば、光電変換装置の光電変換効率を向上させることができる。
本発明の一実施形態に係る光電変換装置の製造方法を用いて作製した光電変換装置の一例を示す斜視図である。 図1の光電変換装置の断面図である。 図1の光電変換装置の平面透視図である。 光電変換装置の製造途中の様子を模式的に示す断面図である。 光電変換装置の製造途中の様子を模式的に示す断面図である。 光電変換装置の製造途中の様子を模式的に示す断面図である。 光電変換装置の製造途中の様子を模式的に示す断面図である。 光電変換装置の製造途中の様子を模式的に示す断面図である。 光電変換装置の製造途中の様子を模式的に示す断面図である。
以下、本発明の一実施形態に係る光電変換装置の製造方法について、図面を参照しながら説明する。なお、図面においては同様な構成および機能を有する部分については同一符号が付されており、下記説明では重複説明が省略される。また、図面は模式的に示されたものであり、各図における各種構造のサイズおよび位置関係等は正確に図示されたものではない。
<(1)光電変換装置の構成>
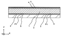
図1は、本発明の一実施形態に係る光電変換装置の製造方法を用いて作製した光電変換装置11の一例を示す斜視図である。図2は、図1の光電変換装置11のXZ断面図である。また、図3は図1の光電変換装置を上面側(+Z側)から見た透視図である。なお、図1から図9には、光電変換セル10の配列方向(図1の図面視左右方向)をX軸方向とする右手系のXYZ座標系が付されている。
光電変換装置11は、基板1上に複数の光電変換セル10が併設されている。なお、図1〜図3においては図示の都合上、2つの光電変換セル10のみを示しているが、実際の光電変換装置11においては、図面のX軸方向、或いは更に図面のY軸方向に、多数の光電変換セル10が平面的に(二次元的に)配列されていてもよい。
図1〜3において、基板1上に複数の下部電極層2が平面配置されている。隣接する下部電極層2のうち、一方の下部電極層2a(以下、第1の下部電極層2aともいう)上から他方の下部電極層2b(以下、第2の下部電極層2bともいう)上にかけて、第1の半導体層3および第1の半導体層3とは異なる導電型の第2の半導体層4が設けられている。そして、第2の下部電極層2b上において、接続導体7が第2の下部電極層2bと第2の半導体層4とを電気的に接続するように設けられている。これら、下部電極層2(第1の下部電極層2aおよび第2の下部電極層2b)、第1の半導体層3、第2の半導体層4および接続導体7を少なくとも含むことによって、1つの光電変換セル10が構成される。そして、隣接する光電変換セル10同士が第2の下部電極層2bによって電気的に接続されており、このような構成によって、隣接する光電変換セル10同士が直列接続された光電変換装置11となる。
なお、本実施形態における光電変換装置11は、第1の半導体層3に対して第2の半導体層4側から光が入射されるものを想定しているが、これに限定されず、基板1側から光が入射されるものであってもよい。
基板1は、複数の光電変換セル10を支持するものであり、例えば、ガラス、セラミックス、樹脂、または金属等の材料で構成されている。例えば、基板1として、1〜3mm程度の厚さを有する青板ガラス(ソーダライムガラス)が用いられてもよい。
下部電極層2(第1の下部電極層2aおよび第2の下部電極層2b)は、基板1上に設けられた、Mo、Al、TiまたはAu等の導電体である。下部電極層2は、スパッタリング法または蒸着法などの公知の薄膜形成手法を用いて、0.2μm〜1μm程度の厚みに形成される。第1の下部電極層2aおよび第2の下部電極層2bの間隙P1は、例えば、20〜200μmとされ得る。
第1の下部電極層2aと第2の下部電極層2bとの間の間隙P1には高抵抗層6が介在している。高抵抗層6は、後述する第1の半導体層3よりも電気抵抗率が100倍以上高い材料である。これにより、第1の下部電極層2aと第2の下部電極層2bとの間におけるリーク電流の発生が低減され、光電変換装置11の光電変換効率が高められる。高抵抗層6としては、ケイ酸ガラスや石英ガラス等のガラス、シリカやアルミナ、チタニア等の無機化合物、ポリイミド等の有機樹脂等が挙げられる。
第1の半導体層3は第1導電型の半導体層であり、光吸収層として機能する。本実施形態では、第1の半導体層3は、例えば1μm〜3μm程度の厚みを有するp型半導体層を想定しているが、これに限定されない。また、第1の半導体層3は、金属カルコゲナイドを主として含んでいる。なお、金属カルコゲナイドを主として含むとは、金属カルコゲナイドを70mol%以上含むことをいう。金属カルコゲナイドとは、金属元素とカルコゲン元素の化合物である。カルコゲン元素とは、VI−B族元素(16族元素ともいう)のうち、S、Se、Teをいう。金属カルコゲナイドとしては、例えば、I−III−VI族化合
物、I−II−IV−VI族化合物およびII−VI族化合物等が用いられてもよい。1μm〜3μm程度の薄膜でも高い光電変換効率が得られるという観点からは、金属カルコゲナイドとしてI−III−VI族化合物またはI−II−IV−VI族化合物が用いられてもよい。
I−III−VI族化合物とは、I−B族元素(11族元素ともいう)とIII−B族元素(13族元素ともいう)とVI-B族元素との化合物である。I−III−VI族化合物としては、例えば、CuInSe(二セレン化銅インジウム、CISともいう)、Cu(In,Ga)Se(二セレン化銅インジウム・ガリウム、CIGSともいう)、Cu(In,Ga)(Se,S)(二セレン・イオウ化銅インジウム・ガリウム、CIGSSともいう)等が挙げられる。あるいは、第1の半導体層3は、薄膜の二セレン・イオウ化銅インジウム・ガリウム層を表面層として有する二セレン化銅インジウム・ガリウム等の多元化合物半導体薄膜にて構成されていてもよい。
I−II−IV−VI族化合物とは、I−B族元素とII−B族元素(12族元素ともいう)とIV−B族元素(14族元素ともいう)とVI−B族元素との化合物半導体である。I−II−IV−VI族化合物としては、例えば、CuZnSnS(CZTSともいう)、CuZnSnS4−xSe(CZTSSeともいう。なお、xは0より大きく4より小さい数である。)、およびCuZnSnSe(CZTSeともいう)等が挙げられる。
II−VI族化合物とは、II−B族元素とVI−B族元素との化合物半導体である。II−VI族化合物としてはCdTe等が挙げられる。
第2の半導体層4は、第1の半導体層3とは異なる第2導電型を有する半導体層である。第1の半導体層3および第2の半導体層4が電気的に接続されることにより、電荷を良好に取り出すことが可能な光電変換層が形成される。例えば、第1の半導体層3がp型であれば、第2の半導体層4はn型である。第1の半導体層3がn型で、第2の半導体層4がp型であってもよい。なお、第2の半導体層4は高抵抗層を含む複数層の積層体であってもよい。
第2の半導体層4としては、CdS、ZnS、ZnO、In、InSe、I
n(OH,S)、(Zn,In)(Se,OH)、および(Zn,Mg)O等が挙げられる。この場合、第2の半導体層4は、例えばケミカルバスデポジション(CBD)法等で10〜200nmの厚みで形成される。なお、In(OH,S)とは、InとOHとSとを主に含む化合物をいう。(Zn,In)(Se,OH)は、ZnとInとSeとOHとを主に含む化合物をいう。(Zn,Mg)Oは、ZnとMgとOとを主に含む化合物をいう。
図1、図2のように、第2の半導体層4上にさらに上部電極層5が設けられていてもよい。上部電極層5は、第2の半導体層4よりも抵抗率の低い層であり、第1の半導体層3および第2の半導体層4で生じた電荷を良好に取り出すことが可能となる。光電変換効率をより高めるという観点からは、上部電極層5の抵抗率が1Ω・cm未満でシート抵抗が50Ω/□以下であってもよい。
上部電極層5は、例えばITO、ZnO等の0.05〜3μmの透明導電膜である。透光性および導電性を高めるため、上部電極層5は第2の半導体層4と同じ導電型の半導体で構成されてもよい。上部電極層5は、スパッタリング法、蒸着法または化学的気相成長(CVD)法等で形成され得る。
また、図1〜3に示すように、上部電極層5上にさらに集電電極8が形成されていてもよい。集電電極8は、第1の半導体層3および第2の半導体層4で生じた電荷をさらに良好に取り出すためのものである。集電電極8は、例えば、図1〜3に示すように、光電変換セル10の一端から接続導体7にかけて線状に形成されている。これにより、第1の半導体層3および第4の半導体層4で生じた電流が上部電極層5を介して集電電極8に集電され、接続導体7を介して隣接する光電変換セル10に良好に導電される。
集電電極8は、第1の半導体層3への光透過率を高めるとともに良好な導電性を有するという観点から、50〜400μmの幅を有していてもよい。また、集電電極8は、枝分かれした複数の分岐部を有していてもよい。
集電電極8は、例えば、Ag等の金属粉を樹脂バインダー等に分散させた金属ペーストがパターン状に印刷され、これが硬化されることによって形成される。
図1、図2において、接続導体7は、第1の半導体層3、第2の半導体層4および上部電極層5を貫通(分断)する溝P2内に設けられた導体である。接続導体7は、金属や導電ペースト等が用いられ得る。図1、図2においては、集電電極8を延伸して接続導体7が形成されているが、これに限定されない。例えば、上部電極層5が延伸したものであってもよい。
<(2)光電変換装置の製造方法>
図4から図9は、光電変換装置11の製造途中の様子をそれぞれ模式的に示す断面図である。なお、図4から図9で示される各断面図は、図2で示された断面に対応する部分の製造途中の様子を示す。
まず、NaやK等のアルカリ金属元素(アルカリ金属元素とは、水素を除く1族元素のことをいう)を第1濃度(基板1に含まれるアルカリ金属元素の合計濃度)で含有する基板1を用意する。第1濃度は、例えば0.8〜16.5atom%であればよい。このような濃度であれば、第1の半導体層3を形成する際、基板1中のアルカリ金属元素を良好に拡散させて第1の半導体層3の結晶成長を促進することができる。基板1としては、例えば、青板ガラス(ソーダライムガラス)を用いることができる。
そして、この基板1の略全面に、スパッタリング法等を用いて、Mo等からなる下部電極層2を成膜する。そして、下部電極層2の上面のうちのY方向に沿った直線状の形成対象位置からその直下の基板1の上面にかけて、溝状の間隙P1を形成する。間隙P1は、例えば、YAGレーザー等によるレーザー光を走査しつつ形成対象位置に照射することで溝加工を行なう、レーザースクライブ加工によって形成することができる。図4は、間隙P1を形成した後の状態を示す図である。
間隙P1を形成した後、この間隙P1内に、アルカリ金属元素の濃度が上記第1濃度よりも低い第2濃度でアルカリ金属元素を含む高抵抗層6を形成する。なお、この第2濃度はアルカリ金属元素を含んでいない場合をも含んでおり、第1濃度の0〜0.9倍程度、より好ましくは0〜0.5倍程度であればよい。このような高抵抗層6としては、例えば、無アルカリガラスペースト等を用いることができる。そして、この無アルカリガラスペーストをスクリーン印刷等の方法で間隙P1内に塗布することによって高抵抗層を作製できる。図5は、高抵抗層6を形成した後の状態を示す図である。
高抵抗層6を形成した後、下部電極層2および高抵抗層6の上に、基板1を加熱しながら金属カルコゲナイドを含む第1の半導体層3を形成する。なお、基板1を加熱しながら第1の半導体層3を形成する方法としては、例えば、以下に示されるような第1〜第3の方法を採用することができる。第1の方法は、基板1を例えば400〜600℃で加熱しながらスパッタリング法や蒸着法等で第1の半導体層3を形成する方法である。また、第2の方法は、スパッタリング法や蒸着法等で第1の半導体層3を形成した後、この第1の半導体層3および基板1を例えば400〜600℃で加熱する方法である。また、第3の方法は、第1の半導体層3と成る前駆体層を形成した後、この前駆体層および基板1を加熱して前駆体層を第1の半導体層3にする方法である。
このように基板1を加熱しながら第1の半導体層3を形成する際、基板1に含まれるアルカリ金属元素が下部電極層2あるいは高抵抗層6を介して第1の半導体層3中に熱拡散し、このアルカリ金属元素によって第1の半導体層3の結晶粒子の成長を促進させることができる。その際、アルカリ金属元素の濃度が基板1よりも低い高抵抗層6によって、下部電極層2を介して第1の半導体層3中へ拡散するアルカリ金属元素の量と、高抵抗層6を介して第1の半導体層3中へ拡散するアルカリ金属元素の量との差が小さくなるように調整することができる。その結果、第1の半導体層3が局所的(特に下部電極層2間の間隙付近)にアルカリ金属元素の拡散量が多くなって第1の半導体層3の剥離が生じやすくなるのを低減でき、高い光電変換効率を有する光電変換装置11とすることができる。図6は、第1の半導体層3を形成した後の状態を示す図である。
なお、基板1から高抵抗層6を介して第1の半導体層3へ拡散するアルカリ金属元素の量は、高抵抗層6の厚みや高抵抗層6におけるアルカリ金属元素の濃度等を調整することによって変えることができる。そのため、基板1から下部電極層2を介して第1の半導体層3へ拡散するアルカリ金属元素の量、および、基板1から高抵抗層6を介して第1の半導体層3へ拡散するアルカリ金属元素の量が近似するように、これらの物理量を調整すればよい。
ここで上記第3の方法について以下に説明する。第3の方法における前駆体層は、例えば、スパッタリング法等を用いることによって、あるいは原料溶液を塗布することによって作製できる。前駆体層は第1の半導体層3を構成する金属カルコゲナイドの原料を含む層であってもよく、第1の半導体層3を構成する金属カルコゲナイドの微粒子を含む層であってもよい。前駆体層は、例えば、第1の半導体層3がCIGSであれば、前駆体層はCu元素、In元素およびGa元素を単体あるいは化合物として含んでいてもよく、これらの金属元素に加えてさらにSe元素も含んでいてもよい。あるいは、前駆体層がCIG
S粒子を含んでいてもよい。
前駆体層を形成した後、基板1および前記体層を例えば400〜600℃で加熱することによって、前駆体層3を結晶化して第1の半導体層3にする。この加熱の際の雰囲気としては、非酸化性ガス雰囲気(非酸化性ガスとしては、窒素やアルゴン等の不活性ガスや、水素等の還元性ガス等がある)、カルコゲンガス雰囲気(カルコゲンガスとしては、硫化水素や硫黄蒸気、セレン化水素、セレン蒸気、テルル化水素、テルル蒸気等がある)、あるいは非酸化性ガスとカルコゲンガスとの混合雰囲気等を用いることができる。
第1の半導体層3を形成した後、第1の半導体層3の上に、第2の半導体層4および上部電極層5を順に形成する。
第2の半導体層4は、溶液成長法(CBD法ともいう)によって形成することができる。例えば、酢酸カドミウムとチオ尿素とをアンモニア水に溶解し、これに第1の半導体層3の形成まで行なった基板1を浸漬することで、第1の半導体層3の上にCdSを含む第2の半導体層4を形成することができる。
上部電極層5は、例えば、Snが含まれた酸化インジウム(ITO)等を主成分とする透明導電膜であり、スパッタリング法、蒸着法、またはCVD法等で形成することができる。図7は、第2の半導体層4および上部電極層5を形成した後の状態を示す図である。
上部電極層5を形成した後、上部電極層5の上面のうちのY方向に沿った直線状の形成対象位置からその直下の下部電極層2の上面にかけて、接続導体6を形成するための溝部P2を形成する。第2溝部P2は、例えば、スクライブ針を用いたメカニカルスクライビング加工によって形成することができる。図8は、第2溝部P2を形成した後の状態を示す図である。第2溝部P2は、間隙P1よりも若干X方向(図中では+X方向)にずれた位置に形成する。
溝部P2を形成した後、集電電極7および接続導体6を形成する。集電電極7および接続導体6については、例えば、Ag等の金属粉を樹脂バインダー等に分散した導電性を有するペースト(導電ペーストともいう)を、所望のパターンを描くように印刷し、これを加熱することで形成できる。図9は、集電電極7および接続導体6を形成した後の状態を示す図である。
集電電極7および接続導体6を形成した後、上部電極層5の上面のうちの直線状の形成対象位置からその直下の下部電極層2の上面にかけて、光電変換セル10ごとに分割するための溝部P3を形成する。第3溝部P3の幅は、例えば、40〜1000μm程度とすることができる。また、第3溝部P3は、第2溝部P2と同様に、メカニカルスクライビング加工によって形成することができる。このようにして、第3溝部P3の形成によって、図1〜図3で示された光電変換装置11を製作したことになる。
<光電変換装置の他の例>
本発明は上述の実施の形態に限定されるものではなく、本発明の要旨を逸脱しない範囲において種々の変更、改良などが可能である。例えば、高抵抗層6は複数の空孔を有していてもよい。このように空孔を有する場合、空孔によってアルカリ金属元素の拡散経路を狭めることでき、それによって基板1から第1の半導体層3へのアルカリ金属元素の制御をより容易にすることができる。また、このように高抵抗層6が空孔を有する場合、高抵抗層6の固体部と空孔との屈折率差によって光を良好に反射させることができる。よって、第1の半導体層3に吸収されずに透過してきた光を第1の半導体層3へ反射させることができ、さらに光電変換効率が高くなる。このような空孔を有する高抵抗層6は、例えばゾルゲル法を用いることによって、あるいはガラス粒子を含むペーストを用いて空孔が残存するようにペーストを固化することによって形成することができる。
1:基板
2:下部電極層
2a:第1の下部電極層
2b:第2の下部電極層
3:第1の半導体層
4:第2の半導体層
5:上部電極層
6:高抵抗層
7:接続導体
8:集電電極
10:光電変換セル
11:光電変換装置

Claims (4)

  1. 第1濃度でアルカリ金属元素を含む基板上に第1の下部電極層および第2の下部電極層を間隙をあけて併設する工程と、
    前記間隙内に前記第1濃度よりも低い第2濃度でアルカリ金属元素を含む高抵抗層を形成する工程と、
    前記基板を加熱しながら前記第1の下部電極層上から前記高抵抗層上を経て前記第2の下部電極層上にかけて金属カルコゲナイドを含む半導体層を形成する工程とを具備しており、
    前記高抵抗層を形成する工程は、前記半導体層を形成する工程の際に前記第1の下部電極層を介して前記半導体層へ拡散するアルカリ金属元素の量および前記高抵抗層を介して前記半導体層へ拡散するアルカリ金属の量が近似するように前記高抵抗層を形成する工程である光電変換装置の製造方法。
  2. 前記高抵抗層として複数の気孔を有するものを用いる、請求項1に記載の光電変換装置の製造方法
  3. 前記金属カルコゲナイドとしてI−III−VI族化合物またはI−II−IV−VI族化合物を
    用いる、請求項1または2に記載の光電変換装置の製造方法。
  4. 前記第1の下部電極層および前記第2の下部電極層としてモリブデン元素を含むものを用いる、請求項1乃至3のいずれかに記載の光電変換装置の製造方法。
JP2012209845A 2012-09-24 2012-09-24 光電変換装置の製造方法 Expired - Fee Related JP5902592B2 (ja)

Priority Applications (1)

Application Number Priority Date Filing Date Title
JP2012209845A JP5902592B2 (ja) 2012-09-24 2012-09-24 光電変換装置の製造方法

Applications Claiming Priority (1)

Application Number Priority Date Filing Date Title
JP2012209845A JP5902592B2 (ja) 2012-09-24 2012-09-24 光電変換装置の製造方法

Publications (2)

Publication Number Publication Date
JP2014067746A JP2014067746A (ja) 2014-04-17
JP5902592B2 true JP5902592B2 (ja) 2016-04-13

Family

ID=50743888

Family Applications (1)

Application Number Title Priority Date Filing Date
JP2012209845A Expired - Fee Related JP5902592B2 (ja) 2012-09-24 2012-09-24 光電変換装置の製造方法

Country Status (1)

Country Link
JP (1) JP5902592B2 (ja)

Families Citing this family (2)

* Cited by examiner, † Cited by third party
Publication number Priority date Publication date Assignee Title
JP6258884B2 (ja) * 2015-02-24 2018-01-10 京セラ株式会社 光電変換装置
KR102797159B1 (ko) * 2023-11-24 2025-04-18 씨엔비엠 리서치 인스티튜트 포 어드밴스드 글래스 머터리얼즈 그룹 컴퍼니 리미티드 표면 개질을 기반으로 한 금속 그리드의 종횡비 최적화 방법

Family Cites Families (4)

* Cited by examiner, † Cited by third party
Publication number Priority date Publication date Assignee Title
JPH0525253Y2 (ja) * 1987-04-20 1993-06-25
JPH06132552A (ja) * 1992-10-19 1994-05-13 Canon Inc 光起電力素子とその製造方法
JP2007123532A (ja) * 2005-10-27 2007-05-17 Honda Motor Co Ltd 太陽電池
JP5623311B2 (ja) * 2011-02-28 2014-11-12 京セラ株式会社 光電変換装置

Also Published As

Publication number Publication date
JP2014067746A (ja) 2014-04-17

Similar Documents

Publication Publication Date Title
JP5902592B2 (ja) 光電変換装置の製造方法
JP2012182177A (ja) 光電変換装置
JP5837196B2 (ja) 光電変換装置の製造方法
JP5918041B2 (ja) 光電変換装置の製造方法
JP5451899B2 (ja) 光電変換装置
JP2014067745A (ja) 光電変換装置の製造方法
JP5220206B2 (ja) 光電変換装置
JP2015191931A (ja) 光電変換装置の製造方法
JP6162592B2 (ja) 光電変換装置の製造方法
JP2014090009A (ja) 光電変換装置
JP5791802B2 (ja) 光電変換装置の製造方法
JP2013239618A (ja) 光電変換装置の製造方法
JP2014116585A (ja) 光電変換装置の製造方法
JP2013051257A (ja) 光電変換装置
WO2013031453A1 (ja) 光電変換装置
JP2012114250A (ja) 光電変換装置の製造方法
JP2013225641A (ja) 光電変換装置の製造方法
JP2015122389A (ja) 光電変換装置
JP2013229488A (ja) 光電変換装置
JP2014027120A (ja) 光電変換装置の製造方法
JP2014049493A (ja) 光電変換装置の製造方法
JP2016122742A (ja) 光電変換装置の製造方法
JP2014045155A (ja) 光電変換装置の製造方法
JP2015204305A (ja) 光電変換装置の製造方法
JP2014127580A (ja) 光電変換装置の製造方法

Legal Events

Date Code Title Description
A621 Written request for application examination

Free format text: JAPANESE INTERMEDIATE CODE: A621

Effective date: 20150115

A977 Report on retrieval

Free format text: JAPANESE INTERMEDIATE CODE: A971007

Effective date: 20151021

A131 Notification of reasons for refusal

Free format text: JAPANESE INTERMEDIATE CODE: A131

Effective date: 20151110

A521 Request for written amendment filed

Free format text: JAPANESE INTERMEDIATE CODE: A523

Effective date: 20160107

TRDD Decision of grant or rejection written
A01 Written decision to grant a patent or to grant a registration (utility model)

Free format text: JAPANESE INTERMEDIATE CODE: A01

Effective date: 20160209

A61 First payment of annual fees (during grant procedure)

Free format text: JAPANESE INTERMEDIATE CODE: A61

Effective date: 20160310

R150 Certificate of patent or registration of utility model

Ref document number: 5902592

Country of ref document: JP

Free format text: JAPANESE INTERMEDIATE CODE: R150

LAPS Cancellation because of no payment of annual fees