JP5398317B2 - 動力伝達装置 - Google Patents

動力伝達装置 Download PDF

Info

Publication number
JP5398317B2
JP5398317B2 JP2009066747A JP2009066747A JP5398317B2 JP 5398317 B2 JP5398317 B2 JP 5398317B2 JP 2009066747 A JP2009066747 A JP 2009066747A JP 2009066747 A JP2009066747 A JP 2009066747A JP 5398317 B2 JP5398317 B2 JP 5398317B2
Authority
JP
Japan
Prior art keywords
engine
power transmission
clutch means
vehicle
clutch
Prior art date
Legal status (The legal status is an assumption and is not a legal conclusion. Google has not performed a legal analysis and makes no representation as to the accuracy of the status listed.)
Expired - Fee Related
Application number
JP2009066747A
Other languages
English (en)
Other versions
JP2010216625A (ja
Inventor
達之 大橋
正司 朝付
晃央 大石
良平 千葉
潤 石村
惠一 石川
Current Assignee (The listed assignees may be inaccurate. Google has not performed a legal analysis and makes no representation or warranty as to the accuracy of the list.)
FCC Co Ltd
Original Assignee
FCC Co Ltd
Priority date (The priority date is an assumption and is not a legal conclusion. Google has not performed a legal analysis and makes no representation as to the accuracy of the date listed.)
Filing date
Publication date
Priority to JP2009066747A priority Critical patent/JP5398317B2/ja
Application filed by FCC Co Ltd filed Critical FCC Co Ltd
Priority to CN201080012060.5A priority patent/CN102356254B/zh
Priority to PCT/JP2010/054513 priority patent/WO2010107049A1/ja
Priority to DE112010001210.5T priority patent/DE112010001210B4/de
Priority to CN201410662926.7A priority patent/CN104482194B/zh
Publication of JP2010216625A publication Critical patent/JP2010216625A/ja
Priority to US13/235,157 priority patent/US8246511B2/en
Priority to US13/541,573 priority patent/US8801573B2/en
Application granted granted Critical
Publication of JP5398317B2 publication Critical patent/JP5398317B2/ja
Expired - Fee Related legal-status Critical Current
Anticipated expiration legal-status Critical

Links

Images

Classifications

    • FMECHANICAL ENGINEERING; LIGHTING; HEATING; WEAPONS; BLASTING
    • F16ENGINEERING ELEMENTS AND UNITS; GENERAL MEASURES FOR PRODUCING AND MAINTAINING EFFECTIVE FUNCTIONING OF MACHINES OR INSTALLATIONS; THERMAL INSULATION IN GENERAL
    • F16HGEARING
    • F16H61/00Control functions within control units of change-speed- or reversing-gearings for conveying rotary motion ; Control of exclusively fluid gearing, friction gearing, gearings with endless flexible members or other particular types of gearing
    • F16H61/0021Generation or control of line pressure
    • BPERFORMING OPERATIONS; TRANSPORTING
    • B60VEHICLES IN GENERAL
    • B60WCONJOINT CONTROL OF VEHICLE SUB-UNITS OF DIFFERENT TYPE OR DIFFERENT FUNCTION; CONTROL SYSTEMS SPECIALLY ADAPTED FOR HYBRID VEHICLES; ROAD VEHICLE DRIVE CONTROL SYSTEMS FOR PURPOSES NOT RELATED TO THE CONTROL OF A PARTICULAR SUB-UNIT
    • B60W10/00Conjoint control of vehicle sub-units of different type or different function
    • B60W10/02Conjoint control of vehicle sub-units of different type or different function including control of driveline clutches
    • B60W10/023Fluid clutches
    • BPERFORMING OPERATIONS; TRANSPORTING
    • B60VEHICLES IN GENERAL
    • B60WCONJOINT CONTROL OF VEHICLE SUB-UNITS OF DIFFERENT TYPE OR DIFFERENT FUNCTION; CONTROL SYSTEMS SPECIALLY ADAPTED FOR HYBRID VEHICLES; ROAD VEHICLE DRIVE CONTROL SYSTEMS FOR PURPOSES NOT RELATED TO THE CONTROL OF A PARTICULAR SUB-UNIT
    • B60W10/00Conjoint control of vehicle sub-units of different type or different function
    • B60W10/02Conjoint control of vehicle sub-units of different type or different function including control of driveline clutches
    • B60W10/024Conjoint control of vehicle sub-units of different type or different function including control of driveline clutches including control of torque converters
    • B60W10/026Conjoint control of vehicle sub-units of different type or different function including control of driveline clutches including control of torque converters of lock-up clutches
    • BPERFORMING OPERATIONS; TRANSPORTING
    • B60VEHICLES IN GENERAL
    • B60WCONJOINT CONTROL OF VEHICLE SUB-UNITS OF DIFFERENT TYPE OR DIFFERENT FUNCTION; CONTROL SYSTEMS SPECIALLY ADAPTED FOR HYBRID VEHICLES; ROAD VEHICLE DRIVE CONTROL SYSTEMS FOR PURPOSES NOT RELATED TO THE CONTROL OF A PARTICULAR SUB-UNIT
    • B60W10/00Conjoint control of vehicle sub-units of different type or different function
    • B60W10/04Conjoint control of vehicle sub-units of different type or different function including control of propulsion units
    • B60W10/06Conjoint control of vehicle sub-units of different type or different function including control of propulsion units including control of combustion engines
    • BPERFORMING OPERATIONS; TRANSPORTING
    • B60VEHICLES IN GENERAL
    • B60WCONJOINT CONTROL OF VEHICLE SUB-UNITS OF DIFFERENT TYPE OR DIFFERENT FUNCTION; CONTROL SYSTEMS SPECIALLY ADAPTED FOR HYBRID VEHICLES; ROAD VEHICLE DRIVE CONTROL SYSTEMS FOR PURPOSES NOT RELATED TO THE CONTROL OF A PARTICULAR SUB-UNIT
    • B60W30/00Purposes of road vehicle drive control systems not related to the control of a particular sub-unit, e.g. of systems using conjoint control of vehicle sub-units
    • B60W30/18Propelling the vehicle
    • B60W30/18009Propelling the vehicle related to particular drive situations
    • B60W30/18018Start-stop drive, e.g. in a traffic jam
    • BPERFORMING OPERATIONS; TRANSPORTING
    • B60VEHICLES IN GENERAL
    • B60WCONJOINT CONTROL OF VEHICLE SUB-UNITS OF DIFFERENT TYPE OR DIFFERENT FUNCTION; CONTROL SYSTEMS SPECIALLY ADAPTED FOR HYBRID VEHICLES; ROAD VEHICLE DRIVE CONTROL SYSTEMS FOR PURPOSES NOT RELATED TO THE CONTROL OF A PARTICULAR SUB-UNIT
    • B60W30/00Purposes of road vehicle drive control systems not related to the control of a particular sub-unit, e.g. of systems using conjoint control of vehicle sub-units
    • B60W30/18Propelling the vehicle
    • B60W30/18009Propelling the vehicle related to particular drive situations
    • B60W30/18072Coasting
    • FMECHANICAL ENGINEERING; LIGHTING; HEATING; WEAPONS; BLASTING
    • F02COMBUSTION ENGINES; HOT-GAS OR COMBUSTION-PRODUCT ENGINE PLANTS
    • F02DCONTROLLING COMBUSTION ENGINES
    • F02D29/00Controlling engines, such controlling being peculiar to the devices driven thereby, the devices being other than parts or accessories essential to engine operation, e.g. controlling of engines by signals external thereto
    • F02D29/02Controlling engines, such controlling being peculiar to the devices driven thereby, the devices being other than parts or accessories essential to engine operation, e.g. controlling of engines by signals external thereto peculiar to engines driving vehicles; peculiar to engines driving variable pitch propellers
    • FMECHANICAL ENGINEERING; LIGHTING; HEATING; WEAPONS; BLASTING
    • F16ENGINEERING ELEMENTS AND UNITS; GENERAL MEASURES FOR PRODUCING AND MAINTAINING EFFECTIVE FUNCTIONING OF MACHINES OR INSTALLATIONS; THERMAL INSULATION IN GENERAL
    • F16HGEARING
    • F16H61/00Control functions within control units of change-speed- or reversing-gearings for conveying rotary motion ; Control of exclusively fluid gearing, friction gearing, gearings with endless flexible members or other particular types of gearing
    • F16H61/66Control functions within control units of change-speed- or reversing-gearings for conveying rotary motion ; Control of exclusively fluid gearing, friction gearing, gearings with endless flexible members or other particular types of gearing specially adapted for continuously variable gearings
    • F16H61/662Control functions within control units of change-speed- or reversing-gearings for conveying rotary motion ; Control of exclusively fluid gearing, friction gearing, gearings with endless flexible members or other particular types of gearing specially adapted for continuously variable gearings with endless flexible members
    • F16H61/66272Control functions within control units of change-speed- or reversing-gearings for conveying rotary motion ; Control of exclusively fluid gearing, friction gearing, gearings with endless flexible members or other particular types of gearing specially adapted for continuously variable gearings with endless flexible members characterised by means for controlling the torque transmitting capability of the gearing
    • BPERFORMING OPERATIONS; TRANSPORTING
    • B60VEHICLES IN GENERAL
    • B60WCONJOINT CONTROL OF VEHICLE SUB-UNITS OF DIFFERENT TYPE OR DIFFERENT FUNCTION; CONTROL SYSTEMS SPECIALLY ADAPTED FOR HYBRID VEHICLES; ROAD VEHICLE DRIVE CONTROL SYSTEMS FOR PURPOSES NOT RELATED TO THE CONTROL OF A PARTICULAR SUB-UNIT
    • B60W2510/00Input parameters relating to a particular sub-units
    • B60W2510/06Combustion engines, Gas turbines
    • B60W2510/0614Position of fuel or air injector
    • B60W2510/0623Fuel flow rate
    • BPERFORMING OPERATIONS; TRANSPORTING
    • B60VEHICLES IN GENERAL
    • B60WCONJOINT CONTROL OF VEHICLE SUB-UNITS OF DIFFERENT TYPE OR DIFFERENT FUNCTION; CONTROL SYSTEMS SPECIALLY ADAPTED FOR HYBRID VEHICLES; ROAD VEHICLE DRIVE CONTROL SYSTEMS FOR PURPOSES NOT RELATED TO THE CONTROL OF A PARTICULAR SUB-UNIT
    • B60W2520/00Input parameters relating to overall vehicle dynamics
    • B60W2520/10Longitudinal speed
    • FMECHANICAL ENGINEERING; LIGHTING; HEATING; WEAPONS; BLASTING
    • F02COMBUSTION ENGINES; HOT-GAS OR COMBUSTION-PRODUCT ENGINE PLANTS
    • F02DCONTROLLING COMBUSTION ENGINES
    • F02D41/00Electrical control of supply of combustible mixture or its constituents
    • F02D41/02Circuit arrangements for generating control signals
    • F02D41/04Introducing corrections for particular operating conditions
    • F02D41/12Introducing corrections for particular operating conditions for deceleration
    • F02D41/123Introducing corrections for particular operating conditions for deceleration the fuel injection being cut-off
    • FMECHANICAL ENGINEERING; LIGHTING; HEATING; WEAPONS; BLASTING
    • F02COMBUSTION ENGINES; HOT-GAS OR COMBUSTION-PRODUCT ENGINE PLANTS
    • F02NSTARTING OF COMBUSTION ENGINES; STARTING AIDS FOR SUCH ENGINES, NOT OTHERWISE PROVIDED FOR
    • F02N11/00Starting of engines by means of electric motors
    • F02N11/08Circuits specially adapted for starting of engines
    • F02N11/0814Circuits specially adapted for starting of engines comprising means for controlling automatic idle-start-stop
    • FMECHANICAL ENGINEERING; LIGHTING; HEATING; WEAPONS; BLASTING
    • F16ENGINEERING ELEMENTS AND UNITS; GENERAL MEASURES FOR PRODUCING AND MAINTAINING EFFECTIVE FUNCTIONING OF MACHINES OR INSTALLATIONS; THERMAL INSULATION IN GENERAL
    • F16HGEARING
    • F16H37/00Combinations of mechanical gearings, not provided for in groups F16H1/00 - F16H35/00
    • F16H37/02Combinations of mechanical gearings, not provided for in groups F16H1/00 - F16H35/00 comprising essentially only toothed or friction gearings
    • F16H37/021Combinations of mechanical gearings, not provided for in groups F16H1/00 - F16H35/00 comprising essentially only toothed or friction gearings toothed gearing combined with continuously variable friction gearing
    • F16H2037/023Combinations of mechanical gearings, not provided for in groups F16H1/00 - F16H35/00 comprising essentially only toothed or friction gearings toothed gearing combined with continuously variable friction gearing the combined gearing being provided with at least two forward and one reverse ratio in a serially arranged sub-transmission
    • FMECHANICAL ENGINEERING; LIGHTING; HEATING; WEAPONS; BLASTING
    • F16ENGINEERING ELEMENTS AND UNITS; GENERAL MEASURES FOR PRODUCING AND MAINTAINING EFFECTIVE FUNCTIONING OF MACHINES OR INSTALLATIONS; THERMAL INSULATION IN GENERAL
    • F16HGEARING
    • F16H45/00Combinations of fluid gearings for conveying rotary motion with couplings or clutches 
    • F16H2045/005Combinations of fluid gearings for conveying rotary motion with couplings or clutches  comprising a clutch between fluid gearing and the mechanical gearing unit
    • FMECHANICAL ENGINEERING; LIGHTING; HEATING; WEAPONS; BLASTING
    • F16ENGINEERING ELEMENTS AND UNITS; GENERAL MEASURES FOR PRODUCING AND MAINTAINING EFFECTIVE FUNCTIONING OF MACHINES OR INSTALLATIONS; THERMAL INSULATION IN GENERAL
    • F16HGEARING
    • F16H61/00Control functions within control units of change-speed- or reversing-gearings for conveying rotary motion ; Control of exclusively fluid gearing, friction gearing, gearings with endless flexible members or other particular types of gearing
    • F16H61/66Control functions within control units of change-speed- or reversing-gearings for conveying rotary motion ; Control of exclusively fluid gearing, friction gearing, gearings with endless flexible members or other particular types of gearing specially adapted for continuously variable gearings
    • F16H2061/6604Special control features generally applicable to continuously variable gearings
    • F16H2061/6608Control of clutches, or brakes for forward-reverse shift
    • FMECHANICAL ENGINEERING; LIGHTING; HEATING; WEAPONS; BLASTING
    • F16ENGINEERING ELEMENTS AND UNITS; GENERAL MEASURES FOR PRODUCING AND MAINTAINING EFFECTIVE FUNCTIONING OF MACHINES OR INSTALLATIONS; THERMAL INSULATION IN GENERAL
    • F16HGEARING
    • F16H2312/00Driving activities
    • F16H2312/14Going to, or coming from standby operation, e.g. for engine start-stop operation at traffic lights
    • FMECHANICAL ENGINEERING; LIGHTING; HEATING; WEAPONS; BLASTING
    • F16ENGINEERING ELEMENTS AND UNITS; GENERAL MEASURES FOR PRODUCING AND MAINTAINING EFFECTIVE FUNCTIONING OF MACHINES OR INSTALLATIONS; THERMAL INSULATION IN GENERAL
    • F16HGEARING
    • F16H45/00Combinations of fluid gearings for conveying rotary motion with couplings or clutches 
    • F16H45/02Combinations of fluid gearings for conveying rotary motion with couplings or clutches  with mechanical clutches for bridging a fluid gearing of the hydrokinetic type
    • FMECHANICAL ENGINEERING; LIGHTING; HEATING; WEAPONS; BLASTING
    • F16ENGINEERING ELEMENTS AND UNITS; GENERAL MEASURES FOR PRODUCING AND MAINTAINING EFFECTIVE FUNCTIONING OF MACHINES OR INSTALLATIONS; THERMAL INSULATION IN GENERAL
    • F16HGEARING
    • F16H61/00Control functions within control units of change-speed- or reversing-gearings for conveying rotary motion ; Control of exclusively fluid gearing, friction gearing, gearings with endless flexible members or other particular types of gearing
    • F16H61/38Control of exclusively fluid gearing
    • F16H61/48Control of exclusively fluid gearing hydrodynamic
    • F16H61/64Control of exclusively fluid gearing hydrodynamic controlled by changing the amount of liquid in the working circuit
    • YGENERAL TAGGING OF NEW TECHNOLOGICAL DEVELOPMENTS; GENERAL TAGGING OF CROSS-SECTIONAL TECHNOLOGIES SPANNING OVER SEVERAL SECTIONS OF THE IPC; TECHNICAL SUBJECTS COVERED BY FORMER USPC CROSS-REFERENCE ART COLLECTIONS [XRACs] AND DIGESTS
    • Y02TECHNOLOGIES OR APPLICATIONS FOR MITIGATION OR ADAPTATION AGAINST CLIMATE CHANGE
    • Y02TCLIMATE CHANGE MITIGATION TECHNOLOGIES RELATED TO TRANSPORTATION
    • Y02T10/00Road transport of goods or passengers
    • Y02T10/10Internal combustion engine [ICE] based vehicles
    • Y02T10/40Engine management systems
    • YGENERAL TAGGING OF NEW TECHNOLOGICAL DEVELOPMENTS; GENERAL TAGGING OF CROSS-SECTIONAL TECHNOLOGIES SPANNING OVER SEVERAL SECTIONS OF THE IPC; TECHNICAL SUBJECTS COVERED BY FORMER USPC CROSS-REFERENCE ART COLLECTIONS [XRACs] AND DIGESTS
    • Y02TECHNOLOGIES OR APPLICATIONS FOR MITIGATION OR ADAPTATION AGAINST CLIMATE CHANGE
    • Y02TCLIMATE CHANGE MITIGATION TECHNOLOGIES RELATED TO TRANSPORTATION
    • Y02T10/00Road transport of goods or passengers
    • Y02T10/60Other road transportation technologies with climate change mitigation effect

Landscapes

  • Engineering & Computer Science (AREA)
  • Mechanical Engineering (AREA)
  • Chemical & Material Sciences (AREA)
  • Combustion & Propulsion (AREA)
  • General Engineering & Computer Science (AREA)
  • Transportation (AREA)
  • Automation & Control Theory (AREA)
  • Control Of Transmission Device (AREA)
  • Control Of Vehicle Engines Or Engines For Specific Uses (AREA)
  • Control Of Fluid Gearings (AREA)
  • Hybrid Electric Vehicles (AREA)

Description

本発明は、車両のエンジンから車輪に至る動力伝達系の途中に配設され、当該エンジンの駆動力を車輪に対して任意選択的に伝達又は遮断可能な動力伝達装置に関するものである。
従来の車両の動力伝達装置(自動変速機)においては、トルクコンバータを具備したもの(所謂トルコンタイプと称される発進方式のもの)と、発進クラッチを具備したもの(所謂発進クラッチタイプと称される発進方式のもの)とが提案されている。このうち、トルコンタイプの発進方式の自動変速機では、発進時においてトルクコンバータが有するトルク増幅機能により発進性能の向上を図ることができる。一方、発進クラッチタイプの発進方式の自動変速機では、例えば定常走行中においてはトルクコンバータの如きスリップがないため動力伝達効率を向上させることができる。
然るに、例えば特許文献1にて開示されているように、トルコンタイプの発進方式の自動変速機において、ロックアップクラッチを付加させたものも提案されるに至っている。かかるロックアップクラッチは、通常、トルクコンバータにおけるタービンと連結されたクラッチピストンを有しており、かかるクラッチピストンがトルコンカバー内周壁に当接した連結位置と、離間した非連結位置との間で移動可能とされ、連結位置のとき、トルコンカバーとタービンとがクラッチピストンを介して直結されるよう構成されたものである。
ところで、燃費向上及び環境問題に対する観点から、特許文献2で開示されているように、トルクコンバータを具備した車両において、当該車両が停止した際に、エンジンを自動的に停止させるアイドルストップ機能を有したものが提案されるに至っている。この車両は、無段変速機(所謂CVTと称される変速装置)を具備するとともに、エンジンの駆動力により作動して当該無段変速機やクラッチ手段、及びトルクコンバータに対してオイルを供給し、当該無段変速機、クラッチ手段及びトルクコンバータを作動させ得るオイルポンプを具備していた。
特開2005−3193号公報 特開2000−328980号公報
しかしながら、上記従来の動力伝達装置においては、車両の減速過程でエンジンに対してフューエルカットした状態とされて車速が所定値以下となった際、無段変速機の変速レシオを変更(次回の発進時に備えて変速レシオを高く変更)する必要があることから、フューエルカット復帰(燃料噴射の再開)をしてエンジン回転数を一時的に上げざるを得ず、その分、燃費が悪化してしまうという問題があった。
即ち、車速が所定値以下となった際、エンジン回転数が著しく低下してオイルポンプの作動が低下し、無段変速機による変速レシオの変更動作が不可能となってしまうため、フューエルカット復帰してエンジンの回転数を一時的に上げ、オイルポンプを十分に作動させる必要があったのである。特に、アイドルストップさせる車両においては、停車時にエンジンが停止するため、無段変速機の作動が不可能となってしまうことから、次回の発進時に備えて、減速時に変速レシオを高く変更しておく必要がある。
尚、オイルポンプとは別個の電動オイルポンプを具備すれば、フューエルカット復帰を行わせなくても、エンジンの回転数(車速)に関わらず走行中は無段変速機の変速レシオを良好に変更できると思われるものの、当該電動オイルポンプの追加によりコストが嵩んでしまうという問題がある。
本発明は、このような事情に鑑みてなされたもので、トルクコンバータを具備し、且つ、アイドルストップする車両に適用され、車両の減速過程でフューエルカット復帰を行わせず燃費を向上させることができるとともに電動オイルポンプを不要としてコストを低減させることができる動力伝達装置を提供することにある。
請求項1記載の発明は、トルク増幅機能を有するトルクコンバータと、前記トルクコンバータの駆動伝達系を介して前記エンジンの駆動力を前記車輪に伝達させる第1動力伝達状態、及び前記トルクコンバータの駆動伝達系を介さず前記エンジンの駆動力を前記車輪に伝達させる第2動力伝達状態とし得るクラッチ手段と、前記エンジンの駆動力により作動して前記クラッチ手段及びトルクコンバータに対してオイルを供給し、当該クラッチ手段及びトルクコンバータを作動させ得るオイルポンプと、前記オイルポンプからオイルが供給されて当該オイルの油圧によりプーリを作動させ、変速レシオを連続的に変更可能とされた無段変速機と、車両の状態に応じて前記クラッチ手段を任意選択的に作動させて、前記第1動力伝達状態又は第2動力伝達状態とさせ得るクラッチ制御手段と、車両が所定車速以下になったことを条件としてエンジンを自動的に停止させてアイドルストップさせるとともに、当該アイドルストップ状態でアクセルを踏み込むことを条件としてエンジンを始動させ得るエンジン制御手段とを具備した動力伝達装置であって、車両の減速過程で前記エンジンに対してフューエルカットした状態とされて車速が所定値以下となった際、前記オイルポンプによる前記トルクコンバータに対するオイルの供給量を制限又は禁止し、前記クラッチ手段及び無段変速機に対するオイルの供給を優先させ得る調整手段を備えたことを特徴とする。
請求項2記載の発明は、請求項1記載の動力伝達装置において、前記調整手段は、トルクコンバータに対して通常時オイルを供給する第1供給路と、当該オイルの供給量を制限又は禁止する第2供給路と、油圧により当該第1供給路を開閉させるバルブとを有した油圧バルブ機構から成ることを特徴とする。
請求項3記載の発明は、請求項2記載の動力伝達装置において、前記バルブは、前記第1供給路を閉状態とする方向に常時付勢されたことを特徴とする。
請求項4記載の発明は、請求項1〜3の何れか1つに記載の動力伝達装置において、オイルを蓄圧可能な蓄圧手段を具備するとともに、車両の減速過程で前記エンジンに対してフューエルカットした状態とされて車速が所定値以下となった際、当該蓄圧手段で蓄圧されたオイルを放出して前記クラッチ手段及び無段変速機に供給し得るよう構成されたことを特徴とする
請求項5記載の発明は、請求項1〜4の何れか1つに記載の動力伝達装置において、前記クラッチ手段は、車両の前進時に作動してトルクコンバータの駆動伝達系を介して前記エンジンの駆動力を前記車輪に伝達させる第1クラッチ手段、及び車両の前進時に作動して前記トルクコンバータの駆動伝達系を介さず前記エンジンの駆動力を前記車輪に伝達させる第2クラッチ手段を有するとともに、前記クラッチ制御手段は、車両の状態に応じて前記第1クラッチ手段及び第2クラッチ手段を任意選択的に作動させて、前記第1動力伝達状態又は第2動力伝達状態とさせ得るものとされ、且つ、車両の減速過程で前記エンジンに対してフューエルカットした状態とされて車速が所定値以下となった際、前記クラッチ制御手段が前記第2クラッチ手段のみを作動させることを特徴とする。
請求項6記載の発明は、請求項5記載の動力伝達装置において、前記トルクコンバータの駆動伝達系を介して前記エンジンの駆動力で回転可能とされ、前記第1クラッチ手段と連結された第1駆動シャフトと、前記トルクコンバータの駆動伝達系を介さず前記エンジンの駆動力で回転可能とされ、前記第2クラッチ手段と連結された第2駆動シャフトとを具備し、前記第1駆動シャフトと第2駆動シャフトとは同心円状に形成されたことを特徴とする。
請求項7記載の発明は、請求項1〜6の何れか1つに記載の動力伝達装置において、前記クラッチ手段は、車両の前進時に作動して前記トルクコンバータの駆動伝達系を介して前記エンジンの駆動力を前記車輪に伝達させる前進クラッチ手段、及び前記トルクコンバータの駆動伝達系を介さず前記エンジンの駆動力を前記車輪に伝達させるロックアップクラッチ手段を有するとともに、前記クラッチ制御手段は、車両の状態に応じて前記前進クラッチ手段及びロックアップクラッチ手段を任意選択的に作動させて、前記第1動力伝達状態又は第2動力伝達状態とさせ得ることを特徴とする。
請求項8記載の発明は、請求項1〜7の何れか1つに記載の動力伝達装置において、前記エンジン制御手段は、前記無段変速機の変速レシオが所定値以上となったことを条件としてアイドルストップさせることを特徴とする。
請求項1の発明によれば、車両の減速過程でエンジンに対してフューエルカットした状態とされて車速が所定値以下となった際、オイルポンプによるトルクコンバータに対するオイルの供給量を制限又は禁止し、クラッチ手段及び無段変速機に対するオイルの供給を優先させ得るので、トルクコンバータを具備し、且つ、アイドルストップする車両に適用され、車両の減速過程でフューエルカット復帰を行わせず燃費を向上させることができるとともに電動オイルポンプを不要としてコストを低減させることができる。
請求項2の発明によれば、調整手段は、トルクコンバータに対して通常時オイルを供給する第1供給路と、当該オイルの供給量を制限又は禁止する第2供給路と、油圧により当該第1供給路を開閉させるバルブとを有した油圧バルブ機構から成るので、当該制限又は禁止しない場合とで瞬時に且つスムーズに切り替えることができる。
請求項3の発明によれば、バルブは、第1供給路を閉状態とする方向に常時付勢されたので、車両の減速過程でエンジンに対してフューエルカットした状態とされて車速が所定値以下となった際、バルブの作動応答性に関わらず確実にトルクコンバータへのオイルの供給を制限又は禁止することができる。
請求項4の発明によれば、オイルを蓄圧可能な蓄圧手段を具備するとともに、車両の減速過程でエンジンに対してフューエルカットした状態とされて車速が所定値以下となった際、当該蓄圧手段で蓄圧されたオイルを放出してクラッチ手段及び無段変速機に供給し得るよう構成されたので、クラッチ手段及び無段変速機に対するオイル供給をより確実且つスムーズに行わせることができる。
請求項5の発明によれば、クラッチ手段は、車両の前進時に作動してトルクコンバータの駆動伝達系を介してエンジンの駆動力を前記車輪に伝達させる第1クラッチ手段、及び車両の前進時に作動してトルクコンバータの駆動伝達系を介さずエンジンの駆動力を車輪に伝達させる第2クラッチ手段を有するとともに、クラッチ制御手段は、車両の状態に応じて第1クラッチ手段及び第2クラッチ手段を任意選択的に作動させて、第1動力伝達状態又は第2動力伝達状態とさせ得るので、動力伝達装置の複雑化及び大型化を抑制し、且つ、トルクコンバータのトルク増幅機能により発進性能の向上を図ることができるとともに、定常走行中における動力伝達効率を向上させることができる。加えて、車両の減速過程でエンジンに対してフューエルカットした状態とされて車速が所定値以下となった際、クラッチ制御手段が第2クラッチ手段のみを作動させるので、オイルの供給をより確実に且つスムーズに行わせることができる。
請求項6の発明によれば、トルクコンバータの駆動伝達系を介してエンジンの駆動力で回転可能とされ、第1クラッチ手段と連結された第1駆動シャフトと、トルクコンバータの駆動伝達系を介さずエンジンの駆動力で回転可能とされ、第2クラッチ手段と連結された第2駆動シャフトとを具備し、第1駆動シャフトと第2駆動シャフトとは同心円状に形成されたので、当該第1駆動シャフトと第2駆動シャフトとがそれぞれ延設されたものに比べ、動力伝達装置全体をより小型化することができる。
請求項7の発明によれば、クラッチ手段は、車両の前進時に作動してトルクコンバータの駆動伝達系を介してエンジンの駆動力を前記車輪に伝達させる前進クラッチ手段、及びトルクコンバータの駆動伝達系を介さずエンジンの駆動力を車輪に伝達させるロックアップクラッチ手段を有するとともに、クラッチ制御手段は、車両の状態に応じて前進クラッチ手段及びロックアップクラッチ手段を任意選択的に作動させて、第1動力伝達状態又は第2動力伝達状態とさせ得るので、従来から比較的普及しつつあるロックアップクラッチ手段を具備した車両に容易に適用することができる。
請求項8の発明によれば、エンジン制御手段は、無段変速機の変速レシオが所定値以上となったことを条件としてアイドルストップさせるので、アイドルストップ後におけるエンジン始動時の発進駆動力を適切に確保することができる。
本発明の第1の実施形態に係る動力伝達装置を示す縦断面図 同動力伝達装置の概念を示す模式図 同動力伝達装置におけるクラッチ手段を示す拡大図 図1におけるIV−IV線断面図 同動力伝達装置におけるクラッチ手段であって、第1クラッチ手段のみ作動した状態を示す拡大図 同動力伝達装置におけるクラッチ手段であって、第2クラッチ手段のみ作動した状態を示す拡大図 同動力伝達装置におけるクラッチ手段であって、第1クラッチ手段及び第2クラッチ手段の両方が作動した状態を示す拡大図 同動力伝達装置における変速機Aを含む全体の構成を示す模式図 同動力伝達装置における油圧制御回路の詳細を示すブロック図 同動力伝達装置におけるクラッチ制御手段の制御モード表 同動力伝達装置におけるタイムチャート 同動力伝達装置における他のタイムチャート 同動力伝達装置におけるエンジン制御手段の制御内容を示すフローチャート 同動力伝達装置におけるクラッチ制御手段の制御内容を示すフローチャート 本発明の第2の実施形態に係る動力伝達装置における油圧制御回路の詳細を示すブロック図 同動力伝達装置におけるタイムチャート 本発明の第3の実施形態に係る動力伝達装置の概念を示す模式図
以下、本発明の実施形態について図面を参照しながら具体的に説明する。
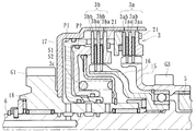
第1の実施形態に係る動力伝達装置は、自動車(車両)のエンジン(駆動源)による駆動力を車輪(駆動輪)に伝達又は遮断するためのものであり、図1及び図2に示すように、トルクコンバータ1と、クラッチ手段3と、オイルポンプ31と、クラッチ制御手段4と、エンジン制御手段22と、調整手段23と、第1駆動シャフト5と、第2駆動シャフト6と、ダンパ機構7と、第3クラッチ手段8と、変速機A(無段変速機25)とを主に有している。尚、図1は、本実施形態に係る動力伝達装置の主要部を表す縦断面図であり、図2は、同実施形態に係る動力伝達装置を模式化した模式図(概念図)を示すものである。
然るに、図2に示すように、車両の駆動源としてのエンジンEから車輪(駆動輪D)に至るまでの動力伝達系の途中に、トルクコンバータ1及びトランスミッション2が配設されており、このうちトランスミッション2には、クラッチ手段3及び第3クラッチ手段8の他、変速機Aが配設されている。尚、同図中、符号11は、エンジンEから延設された入力軸を示しており、符号9は変速機Aまで延設された出力軸9を示している。
トルクコンバータ1は、エンジンEからのトルクを増幅してトランスミッション2に伝達するトルク増幅機能を有して成るもので、当該エンジンEの駆動力が伝達されて軸回りに回転可能とされるとともにオイル(作動油)を液密状態で収容したトルコンカバー1a、13と、該トルコンカバー1a側に形成されて当該トルコンカバー1aと共に回転するポンプPと、該ポンプPと対峙しつつトルコンカバー13側で回転可能に配設されたタービンTとを主に具備している。
また、入力軸11は、カバー部材12を介してトルコンカバー13と連結されている。そして、エンジンEの駆動力にて入力軸11が回転し、カバー部材12、トルコンカバー13、1a及びポンプPが回転すると、その回転トルクが液体(作動油)を介してタービンT側にトルク増幅されつつ伝達される。しかして、トルク増幅されてタービンTが回転すると、該タービンTとスプライン嵌合した第1駆動シャフト5が回転し、トランスミッション2に当該トルクが伝達される(第1動力伝達状態)。ここで、本発明における「トルクコンバータの駆動伝達系」は、上記したトルコンカバー1a、ポンプP及びタービンTが成す駆動伝達系を指すものである。尚、同図中符号10は、ミッションケースを示している。
一方、トルコンカバー13は、コイルスプリングから成るダンパ機構7を介して連結部材14と連結されており、当該連結部材14は、第2駆動シャフト6の外周面とスプライン嵌合している。これにより、エンジンEの駆動力にて入力軸11が回転すると、カバー部材12、トルコンカバー13、連結部材14及び第2駆動シャフト6が回転し、トランスミッション2にエンジンEの駆動トルクが伝達される。而して、第2駆動シャフト6によれば、トルクコンバータ1の駆動伝達系を介さずにトランスミッション2に駆動力を伝達する(第2動力伝達状態)ことが可能とされている。
上記の如く、第1駆動シャフト5は、トルクコンバータ1の駆動伝達系を介してエンジンEの駆動力で回転可能とされ、第1クラッチ手段3aと連結されるとともに、第2駆動シャフト6は、トルクコンバータ1の駆動伝達系を介さずエンジンEの駆動力で直接回転可能とされ、第2クラッチ手段3bと連結されている。また、本実施形態においては、第1駆動シャフト5が円筒状部材とされるとともに、その内部に第2駆動シャフト6が回転自在に配設されており、これらの回転軸が同一となるよう構成されている。即ち、当該第1駆動シャフト5と第2駆動シャフト6とは同心円状に形成されているのである。これにより、第1駆動シャフト5は、第2駆動シャフト6の外側にて回転自在とされるとともに、第2駆動シャフト6は、第1駆動シャフト5の内側で回転自在とされており、当該第1駆動シャフト5と第2駆動シャフト6とは、クラッチ手段3による選択的作動により、別個独立に回転可能とされる。
クラッチ手段3は、自動車(車両)の前進時に作動可能とされるとともに、トルクコンバータ1の駆動伝達系を介してエンジンE(駆動源)の駆動力を車輪(駆動輪D)に伝達させて第1動力伝達状態とし得る第1クラッチ手段3a、及びトルクコンバータ1の駆動伝達系を介さずエンジンE(駆動源)の駆動力を車輪(駆動輪D)に伝達させて第2動力伝達状態とし得る第2クラッチ手段3bを有するものである。第1クラッチ手段3a及び第2クラッチ手段3bには、図3で示すように、同図中左右方向に対して摺動自在な複数の駆動側クラッチ板3aa、3ba及び被動側クラッチ板3ab、3bbが形成され、多板クラッチを成している。
然るに、第1クラッチ手段3aにおいては、第1駆動シャフト5と連結されて連動する連動部材15に駆動側クラッチ板3aaが形成されるとともに、筐体17に被動側クラッチ板3abが形成され、これら駆動側クラッチ板3aaと被動側クラッチ板3abとが交互に積層形成されている。これにより、隣り合う駆動側クラッチ板3aaと被動側クラッチ板3abとが圧接又は離間可能となっている。尚、第1クラッチ手段3aが作動して、駆動側クラッチ板3aaと被動側クラッチ板3abとが圧接した状態を図5に示す。
また、第2クラッチ手段3bにおいては、第2駆動シャフト6と連結されて連動する連動部材16に駆動側クラッチ板3baが形成されるとともに、筐体17に被動側クラッチ板3bbが形成され、これら駆動側クラッチ板3baと被動側クラッチ板3bbとが交互に積層形成されている。これにより、隣り合う駆動側クラッチ板3baと被動側クラッチ板3bbとが圧接又は離間可能となっている。尚、第2クラッチ手段3bが作動して、駆動側クラッチ板3baと被動側クラッチ板3bbとが圧接した状態を図6に示す。然るに、ここでいう離間とは、物理的離間に限らず、圧接が解かれた状態のことをいい、圧接状態にて駆動力が伝達されるとともに、離間状態にて当該駆動力の伝達が遮断される。
また、かかるクラッチ手段3は、図3に示すように、同一筐体17内に第1クラッチ手段3a、第2クラッチ手段3b、及び当該第1クラッチ手段3a及び第2クラッチ手段3bに対応する2つの油圧ピストンP1、P2を有するとともに、当該油圧ピストンP1、P2を作動させる油圧を制御することにより、当該第1クラッチ手段3a又は第2クラッチ手段3bを任意選択的に作動可能とされている。
即ち、筐体17と油圧ピストンP1との間の油圧室S1に作動油を注入させることにより、油圧ピストンP1がリターンスプリング3cの付勢力に抗して同図中右側へ移動し、その先端で第1クラッチ手段3aを押圧して、駆動側クラッチ板3aaと被動側クラッチ板3abとを圧接させるよう構成されている。尚、第2クラッチ手段2bにおける駆動側クラッチ板3ba及び被動側クラッチ板3bbは、図4に示すように、それぞれの周縁に凹凸形状が形成されており、その凹部において油圧ピストンP1の先端が挿通されるよう構成されている。
また、油圧ピストンP1と油圧ピストンP2との間の油圧室S2に作動油を注入させることにより、油圧ピストンP2がリターンスプリング3cの付勢力に抗して図3中右側へ移動し、その先端で第2クラッチ手段3bを押圧して、駆動側クラッチ板3baと被動側クラッチ板3bbとを圧接させるよう構成されている。これにより、油圧ピストンP1、P2を作動させる油圧を制御することにより、第1クラッチ手段3a又は第2クラッチ手段3bを任意選択的に作動可能とされている。尚、図中符号21は、第1クラッチ手段3a側及び第2クラッチ手段3b側に設けられたストッパを示しており、第2クラッチ3b側に当該ストッパ21を設けることにより、当該第2クラッチ手段3b及び第1クラッチ手段3aが互いに独立して作動し得るよう構成されている。
クラッチ手段3を構成する筐体17は、ギアG1が形成された連動部材18と連結されており、該ギアG1は、出力軸9に形成されたギアG2と噛み合って構成されている。これにより、第1クラッチ手段3a又は第2クラッチ手段3bにて伝達されたエンジンEの駆動力は、筐体17を介して連動部材18に至り、出力軸9に伝達されるようになっている。
オイルポンプ31は、エンジンEの駆動力により作動してクラッチ手段3(第1クラッチ手段3a及び第2クラッチ手段3b)及びトルクコンバータ1に対してオイル(作動油)を供給し(後述の無段変速機25に対しても同様)、当該クラッチ手段3及びトルクコンバータ1を作動させ得るものである。即ち、かかるオイルポンプ31は、エンジンEの駆動力を利用してオイルを吐出可能とされたものであり、エンジンEが駆動中は常時作動するとともに、当該エンジンEが停止中は停止するようになっている。
クラッチ制御手段4は、自動車(車両)の状態(車速や車体の傾斜角度など)に応じて、油圧室S1又はS2に作動油を所定の圧力で注入して油圧ピストンP1、P2を任意選択的に作動させることにより第1クラッチ手段3a又は第2クラッチ手段3bを任意選択的に作動させ、トルクコンバータ1の駆動伝達系を介してエンジンE(駆動源)の駆動力を車輪(駆動輪D)に伝達させ(第1動力伝達状態)、又はトルクコンバータ1の駆動伝達系を介さずエンジンE(駆動源)の駆動力を車輪(駆動輪D)に伝達(第2動力伝達状態)させ得るものである。
一方、第3クラッチ手段8は、多板クラッチから成り、車両の後進時に、トルクコンバータ1の駆動伝達系を介してエンジンE(駆動源)の駆動力を車輪(駆動輪D)に伝達させるためのものである。即ち、車両が具備するシフトレバーを操作してRレンジ(後進)とすると、連動部材15に形成されたギアG3と出力軸9側の連動部材19に形成されたギアG4との間にアイドルギア(不図示)が介在して噛み合い、エンジンEの駆動力が第3クラッチ手段8に至るようになっている。
この第3クラッチ手段8には、第1クラッチ手段3a及び第2クラッチ手段3bと同様、出力軸9と連結されて連動可能な筐体20を有し、当該筐体20内に油圧ピストンP3が形成されるとともに、駆動側クラッチ板8aと被動側クラッチ板8bとが交互に積層形成されている。これにより、油圧ピストンP3の作動により、隣り合う駆動側クラッチ板8aと被動側クラッチ板8bとが圧接又は離間可能となっている。
エンジン制御手段22は、自動車(車両)が所定車速以下になったこと(停止直前から停止までの間の車速になったこと)を条件としてエンジンEを自動的に停止させてアイドルストップさせるとともに、当該アイドルストップ状態でブレーキ操作を解除する又はアクセルを踏み込むことを条件としてエンジンEを始動させ得るものであり、例えばエンジンEを制御するためのECU(不図示)内に形成されている。即ち、ECUがエンジンEの制御全般を制御するのに対し、エンジン制御手段22は、アイドルストップ動作に関して制御するものとされるのである。尚、アイドルストップ後にエンジンEを始動させる条件として、車速が増加した場合等、他の条件としたり或いはこれら種々条件を組み合わせものとしてもよい。
上記実施形態によれば、車両の状態に応じて第1クラッチ手段3a又は第2クラッチ手段3bを任意選択的に作動させて、トルクコンバータ1の駆動伝達系を介してエンジンEの駆動力を車輪(駆動輪D)に伝達させ、又はトルクコンバータの駆動伝達系を介さずエンジンEの駆動力を車輪(駆動輪D)に伝達させ得るクラッチ制御手段4を備えたので、動力伝達装置の複雑化及び大型化を抑制し、且つ、トルクコンバータ1のトルク増幅機能により発進性能の向上を図るとともに、定常走行中における動力伝達効率を向上させることができる。尚、本実施形態によれば、ロックアップクラッチを不要とすることができる。
また、第1駆動シャフト5と第2駆動シャフト6とは同心円状に形成されたので、当該第1駆動シャフト5と第2駆動シャフト6とがそれぞれ延設されたもの(2本が併設されたもの)に比べ、動力伝達装置全体をより小型化することができる。更に、第2駆動シャフト6は、トルク変動を減衰し得るダンパ機構7を介してエンジンEと連結されたので、第2クラッチ手段3bに伝達されるエンジンEの振動を減衰させることができる。
更に、クラッチ手段3は、同一筐体17内に第1クラッチ手段3a、第2クラッチ手段3b、及び当該第1クラッチ手段3a及び第2クラッチ手段3bに対応する2つの油圧ピストンP1、P2を有するとともに、当該油圧ピストンP1、P2を作動させる油圧を制御することにより、当該第1クラッチ手段3a又は第2クラッチ手段3bを任意選択的に作動可能とされたので、動力伝達装置全体を更に簡素化及び小型化することができる。
ところで、本実施形態における変速機Aは、無段変速機(Continuously Variable Transmission :所謂CVT)から成るものとされている。具体的には、図8に示すように、車両の駆動源(エンジンE)から車輪(駆動輪D)に至る動力伝達系の途中であってクラッチ手段3の第2クラッチ手段3bと車輪(駆動輪D)との間において、無段変速機25を介装させたものとされる。
かかる無段変速機25は、2つのプーリQ1、Q2と、その間に懸架されたベルトVとを有しており、油圧制御回路24によりプーリQ1、Q2の可動シーブを動作させて互いに独立してベルトV懸架部の径を変化させ、所望の変速を行わせるものである。かかる無段変速機25は、オイルポンプ31からオイル(作動油)が供給されて当該オイルの油圧によりプーリ(Q1、Q2)の可動シーブを作動させ得るよう構成されている。一方、無段変速機25は、車両におけるブレーキペダルのブレーキスイッチS1やシフトレバーのポジションセンサS2、及びエンジン制御手段22等と電気的に接続されて成るクラッチ制御手段4を有しており、かかるクラッチ制御手段4により油圧制御回路24による制御が成されるよう構成されている。尚、同図中符号S3は、車両におけるアクセルペダルのスロットル開度センサを示している。
而して、車両のエンジンE(駆動源)から駆動輪D(車輪)に至る動力伝達系の途中であってクラッチ手段3の第2クラッチ手段3bと駆動輪Dとの間には、無段変速機25が介装されたので、車両を前進させるクラッチとトルクコンバータ1の駆動伝達系を介さずエンジンEの駆動力を駆動輪Dに伝達させるクラッチとを第2クラッチ手段3bにて兼用させることができる。尚、同図中符号Fは、車両が具備するディファレンシャルギアを示している。また、符号S4はエンジンEの回転速度を検出するエンジン回転センサ、S5は第1駆動シャフト5の回転速度を検出するスピードセンサ、S6はクラッチ手段3(本実施形態においては第2クラッチ手段3b)の油圧を検出する油圧スイッチ、S7はセカンダリシャフトスピードセンサ、S8はカウンタシャフトスピードセンサを示している。
油圧制御回路24は、図9に示すように、オイルポンプ31とオイルの供給対象(トルクコンバータ1、クラッチ手段3等)とを連結する油路やバルブ、当該バルブを開閉するソレノイドから主に構成されている。同図中、符号26は、ライン圧を調圧するレギュレータバルブ、符号27は、レギュレータ26の制御圧を制御するリニアソレノイド(LSB)27を示している。符号32は、変速機のレンジ(P、R、N、D)に応じて供給路を切り替えるマニュアルバルブ、符号28は、クラッチ圧を制御するリニアソレノイド(LSA)を示している。このリニアソレノイド(LSA)28により、Dレンジではクラッチ手段3用クラッチ圧を制御し、RレンジではRVS CLUTCH用クラッチ圧を制御するとともに、リニアソレノイド(LSB)27により、レギュレータバルブが調圧するライン圧を制御し得るようになっている。
ここで、本実施形態においては、オイルポンプ31からトルクコンバータ1のオイルの流通経路途中に調整手段23が接続されている。この調整手段23は、車両の減速過程でエンジンEに対してフューエルカット(燃料の供給停止)した状態とされて車速が所定値以下となった際、オイルポンプ31によるトルクコンバータ1に対するオイルの供給量を制限し、クラッチ手段3及び無段変速機25に対するオイルの供給を優先させ得るものである。
具体的には、調整手段23は、トルクコンバータ1に対して通常時オイルを供給する第1供給路23aと、当該オイルの供給量を制限すべくオリフィス23baが形成された第2供給路23bと、油圧により当該第1供給路23aを開閉させるバルブ23cとを有した油圧バルブ機構から成るものとされている。バルブ23cの開閉動作は、ソレノイド(SHA)29及びソレノイド(SHB)30により行われる。また、本実施形態に係る調整手段23は、そのバルブ23cがスプリングにより、第1供給路23aを閉状態とする方向に常時付勢されている。尚、本実施形態においては、調整手段23は、車両の減速過程でエンジンEに対してフューエルカットした状態とされて車速が所定値以下となった際、オイルポンプ31によるトルクコンバータ1に対するオイルの供給量を制限しているが、当該オイルの供給量を禁止して一切トルクコンバータ1に対してオイルの供給を行わず、クラッチ手段3(本実施形態においては第2クラッチ手段3b)及び無段変速機25に対するオイルの供給を優先させ得るものとしてもよい。
然るに、クラッチ制御手段4は、図10に示すように、設定されたモードに従いソレノイド(SHA)29及びソレノイド(SHB)30を制御して調整手段23を構成する油圧バルブ機構を任意に動作させ得るよう構成されている。図中符号マル印はソレノイドを電気的にオンすることを示し、バツ印はソレノイドを電気的にオフすることを示しているとともに、「ライン圧」はライン圧が直接クラッチ手段3に入力される旨及び「LSA」はリニアソレノイドバルブ(LSA)28がクラッチ圧を制御する旨を示している。
車両の減速、停止、加速過程において、図11にクラッチ制御手段4による制御のタイムチャートを示す。かかるタイムチャートによれば、車両の減速過程でエンジンEに対してフューエルカットした状態とされて車速が所定値(図中の第2車速Vb)以下となった際、オイルポンプ31によるトルクコンバータ1に対するオイルの供給量を制限し、クラッチ手段3及び無段変速機25に対するオイルの供給を優先させているのが分かる。
また、本実施形態においては、車両の減速過程でエンジンに対してフューエルカットした状態とされて車速が所定値(図中の第2車速Vb)以下となった際、クラッチ制御手段4が第2クラッチ手段3bのみを作動させるよう構成されている。そして、車速が更に低下して所定値(図中の第1車速Va)となった時点で、第2クラッチ手段3bの作動も停止させるとともにアイドルストップ状態としている。このように、車両の減速過程でエンジンEに対してフューエルカットした状態とされて車速が所定値(図中の第2車速Vb)以下となった際、クラッチ制御手段4が第2クラッチ手段3bのみを作動させるので、第1クラッチ手段3a及び第2クラッチ手段3bの両方にオイル供給を行わせるものに比べ、第2クラッチ手段3bに対するオイル供給をより確実且つスムーズに行わせることができる。
また更に、本実施形態においては、エンジン制御手段22は、無段変速機25の変速レシオが所定値以上(車両の走り始めに必要とされる変速レシオ)となったことを条件としてアイドルストップさせている。これにより、アイドルストップ後におけるエンジン始動時の発進駆動力を適切に確保することができる。
調整手段23の代わりに、例えば図12に示すように、第2車速Vbから第1車速Vaの間において、リニアソレノイドバルブ(LSB)27を制御してレギュレータバルブ27が調圧するライン圧を高くするようにしてもよい。この場合においても、第1車速Vaに達してアイドルストップ状態となった際、当該ライン圧を通常値まで戻すようレギュレータバルブ27を制御する(同図ライン圧設定項目参照)のが好ましい。
次に、上記実施形態におけるエンジン制御手段22の制御内容を図13のフローチャートに基づいて説明する。
まず、イグニッションがオンしたか否かを判断し(S1)、イグニッションがオンの場合は、S2へ進んで、アイドルストップ中であるか否かを判定する。そして、アイドルストップ中であると判定されると、アクセルペダルの踏み込みがあるか否かが判定され(S3)、当該アクセルペダルの踏み込みがあると判定された場合、S4へ進んでエンジン始動がなされる。
一方、当該S3にてアクセルペダルの踏み込みがないと判定された場合、S5へ進んで車速が増加しているか否かが判定される。車速の増加がある場合は、S4へ進んでエンジン始動がなされるとともに、車速の増加がない場合は、S6へ進んでアイドルストップ時間が所定時間経過したか否か判定される。当該S6でアイドルストップ時間が所定時間経過した場合は、S4へ進んでエンジン始動がなされるとともに、所定時間経過していない場合は、S7へ進んで車速が0(即ち停車)か否か判定される。当該S7で車速が0であると判定された場合、S8へ進んでブレーキがオフしているか否かが判定され、ブレーキがオフしている場合はS4へ進んでエンジン始動がなされる。
然るに、S2にてアイドルストップ中でないと判定された場合、S9へ進みエンジン始動中であるか否かが判定され、エンジン始動中であると判定されるとS10へ進んでエンジン始動が完了したか否かが判定される。当該S10にて、エンジン始動が完了したと判定されると、S11へ進んでエンジン運転(エンジンの駆動)を行わせるとともに、エンジン始動が完了していないと判断されると、S4へ進んでエンジン始動がなされる。
また、S9にてエンジン始動中でない(即ちエンジン運転中)と判定されると、S12へ進んで無段変速機(自動変速機25)のレシオが所定値以上か否かが判定される。当該S12にてレシオが所定値以上である場合は、S13へ進んでアイドルストップ条件(車速が所定値以下、水温及び油温が所定値以上、故障無し等の種々条件)が成立しているか否かが判定されるとともに、当該レシオが所定以上でない場合は、S11へ進んでエンジン運転(エンジンの駆動)を行わせる。S13にてアイドルストップ条件が成立していると判定されると、S14へ進んでアイドルストップ状態とされる。
次に、上記実施形態におけるクラッチ制御手段4の制御内容を図14のフローチャートに基づいて説明する。
まず、アイドルストップ中であるか否かが判定され(S1)、アイドルストップ中の場合、第2クラッチ手段3bをオフ(S2)、第1クラッチ手段3aをオフ(S3)、トルクコンバータ1への流量をオフ(S4)とする。然るに、S1にてアイドルストップ中でないと判定されると、S5へ進んでエンジン始動中であるか否かが判定され、エンジン始動中である場合は、S6へ進んでエンジン始動から所定時間経過しているか否かが判定される。
そして、S6にてエンジン始動から所定時間経過していない場合、S7へ進んでエンジン回転数が所定値以上か否かが判定され、当該エンジン回転数が所定値以上でない場合、S8へ進んで油圧スイッチS6(検知手段)がオンしているか否かが判定される。更に、油圧スイッチS6(検知手段)がオンしていない場合、S9へ進んでクラッチスリップ率が所定以上か否かが判定され、当該クラッチスリップ率が所定以上でない場合、S10へ進んで第2クラッチ手段3bを作動させる。当該S10にて第2クラッチ手段3bを作動させた後、S3、S4へ進む。
一方、S6にてエンジン始動から所定時間経過していると判定された場合、S7にてエンジン回転数が所定値以上と判定された場合、S8にて油圧スイッチS6(検知手段)がオンしていると判定された場合、S9にてクラッチスリップ率が所定以上と判定された場合は、S11へ進み第2クラッチ手段3bを作動させる。その後、S12にて第1クラッチ手段3aを作動させた後、S13にてトルクコンバータ1への流量をオンとする。
更に、S5にてエンジン始動中でない(即ちエンジン運転中)と判定された場合、S14へ進んでアクセルがオフか否かが判定され、当該アクセルがオフの場合、S15へ進んで減速中か否かが判定される。そして、当該S15にて減速中であると判定されると、S16へ進んで車速が所定(第2速度Vb)より低いか否かが判定され、車速が第2速度Vbより低い場合、S17にて第2クラッチ手段3bをオンして作動させ、S18にて第1クラッチ手段3aをオフし、S19にてトルクコンバータ1への流量をオフとする。尚、S14にてアクセルがオフでない(オン)と判定され、S15にて減速中でないと判定され、S16にて車速が所定(第2速度Vb)より低くない(高い)と判定された場合、S11へ進んで第2クラッチ手段3bを作動させた後、S12、S13へと進む。
上記実施形態によれば、車両の減速過程でエンジンEに対してフューエルカットした状態とされて車速が所定値(第2車速Vb)以下となった際、オイルポンプ31によるトルクコンバータ1に対するオイルの供給量を制限(又は禁止)し、クラッチ手段3(本実施形態においては第2クラッチ手段3b)及び無段変速機25に対するオイルの供給を優先させ得るので、トルクコンバータ1を具備し、且つ、アイドルストップする車両に適用され、車両の減速過程でフューエルカット復帰を行わせず燃費を向上させることができるとともに電動オイルポンプを不要としてコストを低減させることができる。
更に、調整手段23は、トルクコンバータ1に対して通常時オイルを供給する第1供給路23aと、当該オイルの供給量を制限又は禁止する第2供給路23bと、油圧により当該第1供給路23aを開閉させるバルブ23cとを有した油圧バルブ機構から成るので、トルクコンバータ1へのオイルの供給を制限又は禁止する場合と、当該制限又は禁止しない場合とで瞬時に且つスムーズに切り替えることができる。また更に、バルブ23cは、第1供給路23aを閉状態とする方向にスプリングにて常時付勢されたので、車両の減速過程でエンジンに対してフューエルカットした状態とされて車速が所定値(第2車速Vb)以下となった際、ポンプの回転数が低いため、制御圧が低下した場合でもバルブ23cの作動設定圧に関わらず確実にトルクコンバータ1へのオイルの供給を制限又は禁止することができる。
次に、本発明の第2の実施形態について説明する。
本実施形態に係る動力伝達装置は、第1の実施形態と同様、自動車(車両)のエンジン(駆動源)による駆動力を車輪(駆動輪)に伝達又は遮断するためのものであり、図1及び図2に示すように、トルクコンバータ1と、クラッチ手段3と、オイルポンプ31と、クラッチ制御手段4と、エンジン制御手段22と、調整手段23と、第1駆動シャフト5と、第2駆動シャフト6と、ダンパ機構7と、第3クラッチ手段8と、変速機A(無段変速機25)とを主に有している。尚、第1の実施形態と同様の構成要素には同一の符号を付し、それらの詳細な説明を省略する。
本実施形態においては、図15に示すように、オイルポンプ31からクラッチ手段3のオイルの流通経路途中に蓄圧手段33が接続されている。この蓄圧手段33は、オイルを蓄圧可能なアキュムレータから成るとともに、車両の減速過程でエンジンEに対してフューエルカットした状態とされて車速が所定値(第2車速Vb)以下となった際、当該蓄圧手段33で蓄圧されたオイルを放出してクラッチ手段3(特に本実施形態においては第2クラッチ手段3b)及び無段変速機25に供給し得るよう構成されている。かかる蓄圧手段33を具備したことにより、クラッチ手段3及び無段変速機25に対するオイル供給をより確実且つスムーズに行わせることができる。尚、同図中符号34は、逆止弁を示している。
尚、蓄圧手段33で蓄圧されたオイルの放出時期は、上記の如く車速が所定値(第2車速Vb)以下となった時点に限定されず、例えば図16のタイムチャートに示すように、第1車速Va以下となった時点(アイドルストップ開始後)としてもよい。この場合、無段変速機25は、その変速レシオが一定に保たれるよう制御されるのが好ましく、それにより、蓄圧の必要圧を小さくでき、蓄圧手段33の容量を小さくすることができる。更に、本実施形態においては、アイドルストップ後のエンジンEを始動させる際、ソレノイド(SHA)29及びソレノイド(SHB)30のオン・オフを制御することにより調整手段23を動作させ、オイルポンプ31によるトルクコンバータ1に対するオイルの供給量を制限し、クラッチ手段3に対するオイルの供給を優先させている。
蓄圧手段33は、オイルポンプ31からクラッチ手段3のオイルの流通経路途中に接続され、車両の減速過程でエンジンEに対してフューエルカットした状態とされて車速が所定値(第2車速Vb)以下となった際、蓄圧されたオイルを放出してクラッチ手段3及び無段変速機25に供給し得るものであれば、他の形態のものであってもよい。
次に、本発明の第3の実施形態について説明する。
本実施形態に係る動力伝達装置は、第1、2の実施形態と同様、自動車(車両)のエンジン(駆動源)による駆動力を車輪(駆動輪)に伝達又は遮断するためのものであり、図17に示すように、トルクコンバータ1と、クラッチ手段3’と、オイルポンプ31と、クラッチ制御手段4と、エンジン制御手段22と、調整手段23と、ダンパ機構7と、車両の後進時に作動する後進クラッチ手段3’cと、変速機A(無段変速機25)とを主に有している。尚、第1、2の実施形態と同様の構成要素には同一の符号を付し、それらの詳細な説明を省略する。
本実施形態に係るクラッチ手段3’は、車両の前進時に作動してトルクコンバータ1の駆動伝達系を介してエンジンEの駆動力を車輪に伝達させる(第1動力伝達状態とし得る)前進クラッチ手段3’a、及びトルクコンバータ1の駆動伝達系を介さずエンジンEの駆動力を車輪に伝達させる(第2動力伝達状態とし得る)ロックアップクラッチ手段3’bを有するとともに、クラッチ制御手段4は、車両の状態に応じて前進クラッチ手段3’a及びロックアップクラッチ手段3’bを任意選択的に作動させて、第1動力伝達状態又は第2動力伝達状態とさせ得るものである。
尚、ロックアップクラッチ手段3’bは、トルクコンバータ1内に形成されて当該トルクコンバータ1のタービンTと連結可能とされたロックアップクラッチから成るものであり、連結状態で、トルコンカバーとタービンとがクラッチピストンを介して直結されるよう構成されたものである。本実施形態によれば、従来から比較的普及しつつあるロックアップクラッチ手段(ロックアップクラッチ)を具備した車両に容易に適用することができる。
以上、本実施形態に係る動力伝達装置について説明したが、本発明はこれらに限定されず、クラッチ手段は、トルクコンバータ1の駆動伝達系を介してエンジンEの駆動力を車輪に伝達させる第1動力伝達状態、又はトルクコンバータ1の駆動伝達系を介さずエンジンEの駆動力を車輪に伝達させる第2動力伝達状態とし得るものであれば、何れの形態であってもよい。
車両の減速過程でエンジンに対してフューエルカットした状態とされて車速が所定値以下となった際、オイルポンプによるトルクコンバータに対するオイルの供給量を制限又は禁止し、クラッチ手段及び無段変速機に対するオイルの供給を優先させ得る調整手段を備えた動力伝達装置であれば、外観形状が異なるもの或いは他の機能が付加されたもの等にも適用することができる。
1 トルクコンバータ
2 変速機
3、3’ クラッチ手段
3a 第1クラッチ手段
3b 第2クラッチ手段
3’a 前進クラッチ手段
3’b ロックアップクラッチ手段
4 クラッチ制御手段
5 第1駆動シャフト
6 第2駆動シャフト
7 ダンパ機構
8 第3クラッチ手段
9 出力軸
10 ミッションケース
11 入力軸
12 カバー部材
13 トルコンカバー
14 連結部材
15、16 連動部材
17 筐体
18、19 連動部材
20 筐体
21 ストッパ
22 エンジン制御手段
23 調整手段
24 油圧制御回路
25 無段変速機
26 レギュレータバルブ
27、28 リニアソレノイドバルブ
29、30 ソレノイド
31 オイルポンプ
32 マニュアルバルブ
33 蓄圧手段
34 逆止弁

Claims (8)

  1. トルク増幅機能を有するトルクコンバータと、
    前記トルクコンバータの駆動伝達系を介して前記エンジンの駆動力を前記車輪に伝達させる第1動力伝達状態、及び前記トルクコンバータの駆動伝達系を介さず前記エンジンの駆動力を前記車輪に伝達させる第2動力伝達状態とし得るクラッチ手段と、
    前記エンジンの駆動力により作動して前記クラッチ手段及びトルクコンバータに対してオイルを供給し、当該クラッチ手段及びトルクコンバータを作動させ得るオイルポンプと、
    前記オイルポンプからオイルが供給されて当該オイルの油圧によりプーリを作動させ、変速レシオを連続的に変更可能とされた無段変速機と、
    車両の状態に応じて前記クラッチ手段を任意選択的に作動させて、前記第1動力伝達状態又は第2動力伝達状態とさせ得るクラッチ制御手段と、
    車両が所定車速以下になったことを条件としてエンジンを自動的に停止させてアイドルストップさせるとともに、当該アイドルストップ状態でブレーキ操作を解除する又はアクセルを踏み込むことを条件としてエンジンを始動させ得るエンジン制御手段と、
    を具備した動力伝達装置であって、
    車両の減速過程で前記エンジンに対してフューエルカットした状態とされて車速が所定値以下となった際、前記オイルポンプによる前記トルクコンバータに対するオイルの供給量を制限又は禁止し、前記クラッチ手段及び無段変速機に対するオイルの供給を優先させ得る調整手段を備えたことを特徴とする動力伝達装置。
  2. 前記調整手段は、トルクコンバータに対して通常時オイルを供給する第1供給路と、当該オイルの供給量を制限又は禁止する第2供給路と、油圧により当該第1供給路を開閉させるバルブとを有した油圧バルブ機構から成ることを特徴とする請求項1記載の動力伝達装置。
  3. 前記バルブは、前記第1供給路を閉状態とする方向に常時付勢されたことを特徴とする請求項2記載の動力伝達装置。
  4. オイルを蓄圧可能な蓄圧手段を具備するとともに、車両の減速過程で前記エンジンに対してフューエルカットした状態とされて車速が所定値以下となった際、当該蓄圧手段で蓄圧されたオイルを放出して前記クラッチ手段及び無段変速機に供給し得るよう構成されたことを特徴とする請求項1〜3の何れか1つに記載の動力伝達装置。
  5. 前記クラッチ手段は、車両の前進時に作動してトルクコンバータの駆動伝達系を介して前記エンジンの駆動力を前記車輪に伝達させる第1クラッチ手段、及び車両の前進時に作動して前記トルクコンバータの駆動伝達系を介さず前記エンジンの駆動力を前記車輪に伝達させる第2クラッチ手段を有するとともに、前記クラッチ制御手段は、車両の状態に応じて前記第1クラッチ手段及び第2クラッチ手段を任意選択的に作動させて、前記第1動力伝達状態又は第2動力伝達状態とさせ得るものとされ、且つ、車両の減速過程で前記エンジンに対してフューエルカットした状態とされて車速が所定値以下となった際、前記クラッチ制御手段が前記第2クラッチ手段のみを作動させることを特徴とする請求項1〜4の何れか1つに記載の動力伝達装置。
  6. 前記トルクコンバータの駆動伝達系を介して前記エンジンの駆動力で回転可能とされ、前記第1クラッチ手段と連結された第1駆動シャフトと、
    前記トルクコンバータの駆動伝達系を介さず前記エンジンの駆動力で回転可能とされ、前記第2クラッチ手段と連結された第2駆動シャフトと、
    を具備し、前記第1駆動シャフトと第2駆動シャフトとは同心円状に形成されたことを特徴とする請求項5記載の動力伝達装置。
  7. 前記クラッチ手段は、車両の前進時に作動して前記トルクコンバータの駆動伝達系を介して前記エンジンの駆動力を前記車輪に伝達させる前進クラッチ手段、及び前記トルクコンバータの駆動伝達系を介さず前記エンジンの駆動力を前記車輪に伝達させるロックアップクラッチ手段を有するとともに、前記クラッチ制御手段は、車両の状態に応じて前記前進クラッチ手段及びロックアップクラッチ手段を任意選択的に作動させて、前記第1動力伝達状態又は第2動力伝達状態とさせ得ることを特徴とする請求項1〜6の何れか1つに記載の動力伝達装置。
  8. 前記エンジン制御手段は、前記無段変速機の変速レシオが所定値以上となったことを条件としてアイドルストップさせることを特徴とする請求項1〜7の何れか1つに記載の動力伝達装置。
JP2009066747A 2009-03-18 2009-03-18 動力伝達装置 Expired - Fee Related JP5398317B2 (ja)

Priority Applications (7)

Application Number Priority Date Filing Date Title
JP2009066747A JP5398317B2 (ja) 2009-03-18 2009-03-18 動力伝達装置
PCT/JP2010/054513 WO2010107049A1 (ja) 2009-03-18 2010-03-17 動力伝達装置
DE112010001210.5T DE112010001210B4 (de) 2009-03-18 2010-03-17 Kraftübertragungsvorrichtung
CN201410662926.7A CN104482194B (zh) 2009-03-18 2010-03-17 动力传递装置
CN201080012060.5A CN102356254B (zh) 2009-03-18 2010-03-17 动力传递装置
US13/235,157 US8246511B2 (en) 2009-03-18 2011-09-16 Power transmitting apparatuses
US13/541,573 US8801573B2 (en) 2009-03-18 2012-07-03 Power transmitting apparatuses

Applications Claiming Priority (1)

Application Number Priority Date Filing Date Title
JP2009066747A JP5398317B2 (ja) 2009-03-18 2009-03-18 動力伝達装置

Related Child Applications (1)

Application Number Title Priority Date Filing Date
JP2012039731A Division JP5660733B2 (ja) 2012-02-27 2012-02-27 動力伝達装置

Publications (2)

Publication Number Publication Date
JP2010216625A JP2010216625A (ja) 2010-09-30
JP5398317B2 true JP5398317B2 (ja) 2014-01-29

Family

ID=42739709

Family Applications (1)

Application Number Title Priority Date Filing Date
JP2009066747A Expired - Fee Related JP5398317B2 (ja) 2009-03-18 2009-03-18 動力伝達装置

Country Status (5)

Country Link
US (2) US8246511B2 (ja)
JP (1) JP5398317B2 (ja)
CN (2) CN104482194B (ja)
DE (1) DE112010001210B4 (ja)
WO (1) WO2010107049A1 (ja)

Families Citing this family (26)

* Cited by examiner, † Cited by third party
Publication number Priority date Publication date Assignee Title
JP5398317B2 (ja) 2009-03-18 2014-01-29 株式会社エフ・シー・シー 動力伝達装置
JP5527873B2 (ja) 2009-03-18 2014-06-25 株式会社エフ・シー・シー 動力伝達装置
CN102574521B (zh) * 2009-09-28 2014-11-05 丰田自动车株式会社 车辆的控制装置
US8668623B2 (en) * 2009-10-15 2014-03-11 Team Industries, Inc. Engine braking primary clutch for CVT systems
WO2012098687A1 (ja) 2011-01-21 2012-07-26 トヨタ自動車株式会社 車両制御装置
JP5712296B2 (ja) * 2011-08-31 2015-05-07 ジヤトコ株式会社 コーストストップ車両、及びその制御方法
CN103826949B (zh) * 2011-09-29 2016-08-17 丰田自动车株式会社 变速器的液压控制装置
DE102011087891B4 (de) * 2011-12-07 2022-08-04 Bayerische Motoren Werke Aktiengesellschaft Automatisches Abschalten und Starten einer Brennkraftmaschine in einem Kraftfahrzeug
JP5742708B2 (ja) * 2011-12-26 2015-07-01 トヨタ自動車株式会社 油圧制御装置及び車両制御装置
US9057351B2 (en) * 2012-02-22 2015-06-16 Ford Global Technologies, Llc Method and system for engine control
US8989978B2 (en) * 2012-03-06 2015-03-24 Ford Global Technologies, Llc Method for operating a vehicle powertrain
US8795119B2 (en) * 2012-05-31 2014-08-05 Gm Global Technology Operations, Llc Latching clutch valve control system
US8855878B2 (en) * 2012-08-09 2014-10-07 Gm Global Technology Operations, Llc. System and method for controlling an accumulator based on vehicle conditions
JP6147128B2 (ja) * 2013-07-25 2017-06-14 株式会社エフ・シー・シー 鞍乗り型車両
JP6119690B2 (ja) * 2014-07-14 2017-04-26 マツダ株式会社 自動変速機の制御装置
JP6344373B2 (ja) * 2015-12-07 2018-06-20 マツダ株式会社 遠心振子ダンパ付きパワートレインの制御装置
US10316962B2 (en) 2016-01-18 2019-06-11 Ford Global Technologies, Llc Vehicle transmission with accumulator
US10011283B2 (en) * 2016-06-28 2018-07-03 Ford Global Technologies, Llc System and method for driving vehicle accessories
US9810315B1 (en) 2016-07-14 2017-11-07 Ford Global Technologies, Llc Vehicle and system of controlling a vehicle transmission
JP6556779B2 (ja) * 2017-03-29 2019-08-07 本田技研工業株式会社 油圧回路装置及び油圧回路のライン圧昇圧方法
CN109296723B (zh) * 2017-07-24 2021-11-09 上海汽车集团股份有限公司 一种锁止离合器半接合点的自学习方法及装置
JP6958410B2 (ja) 2018-02-13 2021-11-02 トヨタ自動車株式会社 車両の制御装置
JP7000903B2 (ja) * 2018-02-15 2022-01-19 いすゞ自動車株式会社 動力伝達装置
JP6823617B2 (ja) * 2018-03-15 2021-02-03 本田技研工業株式会社 変速機の油圧制御装置及び油圧制御方法
CN108357483A (zh) * 2018-04-04 2018-08-03 徐工集团工程机械股份有限公司科技分公司 一种装载机智能动力切断系统及控制方法
CN112026776B (zh) * 2020-11-04 2021-03-30 盛瑞传动股份有限公司 车辆的断油换挡控制方法及装置、电子设备及存储介质

Family Cites Families (25)

* Cited by examiner, † Cited by third party
Publication number Priority date Publication date Assignee Title
JPS6424760U (ja) * 1987-07-31 1989-02-10
EP0304085B1 (en) * 1987-08-21 1993-11-10 Toyota Jidosha Kabushiki Kaisha Hydraulic control device for belt-and-pulley type continuously variable transmission for a vehicle
JP2743379B2 (ja) * 1988-05-06 1998-04-22 日産自動車株式会社 変速機の油圧制御装置
US5417621A (en) * 1993-12-22 1995-05-23 Ford Motor Company Driveaway lockup strategy for an infinitely variable tranmission with a hydrokinetic torque converter
JP3588673B2 (ja) * 1999-05-20 2004-11-17 日産自動車株式会社 アイドルストップ車両
JP4659172B2 (ja) 2000-04-03 2011-03-30 トヨタ自動車株式会社 自動車用内燃機関制御装置
JP3898879B2 (ja) 2000-08-25 2007-03-28 ジヤトコ株式会社 自動変速機の制御装置
JP4278912B2 (ja) 2001-11-28 2009-06-17 ジヤトコ株式会社 自動変速機の変速油圧装置
JP3743421B2 (ja) * 2002-04-23 2006-02-08 日産自動車株式会社 車両の制御装置
JP4126948B2 (ja) 2002-04-25 2008-07-30 トヨタ自動車株式会社 車両用内燃機関の停止制御装置
JP3588091B2 (ja) * 2002-08-22 2004-11-10 本田技研工業株式会社 ハイブリッド車両の油圧制御装置
JP3731746B2 (ja) * 2002-09-26 2006-01-05 日産自動車株式会社 エンジン及びベルト式無段変速機の制御装置
JP2005003193A (ja) * 2003-05-16 2005-01-06 Toyota Motor Corp 車両用ロックアップクラッチの制御装置
JP2005036820A (ja) * 2003-07-15 2005-02-10 Nissan Motor Co Ltd アイドルストップ車両の変速機油圧制御装置
JP2005098392A (ja) * 2003-09-25 2005-04-14 Mitsubishi Motors Corp トルクコンバータの油圧制御装置
JP4129264B2 (ja) * 2005-02-14 2008-08-06 ジヤトコ株式会社 自動変速機の制御装置
JP4358130B2 (ja) * 2005-02-22 2009-11-04 ジヤトコ株式会社 自動変速機の油圧制御装置
JP2006348862A (ja) 2005-06-16 2006-12-28 Toyota Motor Corp 内燃機関の始動装置
US7524266B2 (en) * 2005-09-30 2009-04-28 Mazda Motor Corporation Engine starting system for power train
KR20070119764A (ko) * 2006-06-13 2007-12-21 현대자동차주식회사 하이브리드 차량의 무단변속기 라인압 생성 시스템 및 생성방법
US7558666B2 (en) 2007-02-19 2009-07-07 Digonis Michael Idle stop system
JP5051007B2 (ja) * 2008-06-03 2012-10-17 日産自動車株式会社 車両駆動系のアイドルストップ解除時制御装置
JP5398317B2 (ja) 2009-03-18 2014-01-29 株式会社エフ・シー・シー 動力伝達装置
JP5039819B2 (ja) * 2010-09-01 2012-10-03 ジヤトコ株式会社 コーストストップ車両及びコーストストップ方法
JP2012117424A (ja) * 2010-11-30 2012-06-21 Jatco Ltd 車両の制御装置

Also Published As

Publication number Publication date
CN102356254B (zh) 2014-12-17
US8801573B2 (en) 2014-08-12
CN102356254A (zh) 2012-02-15
US20120065022A1 (en) 2012-03-15
DE112010001210B4 (de) 2020-03-26
CN104482194B (zh) 2017-05-17
CN104482194A (zh) 2015-04-01
US8246511B2 (en) 2012-08-21
US20120270702A1 (en) 2012-10-25
WO2010107049A1 (ja) 2010-09-23
JP2010216625A (ja) 2010-09-30
DE112010001210T5 (de) 2012-07-05

Similar Documents

Publication Publication Date Title
JP5398317B2 (ja) 動力伝達装置
JP5527873B2 (ja) 動力伝達装置
JP5145185B2 (ja) 動力伝達装置
JP6111077B2 (ja) 動力伝達装置
JP4888371B2 (ja) 自動変速機の制御装置および制御方法
JP5660733B2 (ja) 動力伝達装置
JP4125524B2 (ja) 自動変速機の変速油圧装置
WO2014148138A1 (ja) 動力伝達装置
JP5232316B2 (ja) 動力伝達装置
JPS628658B2 (ja)
JP6362749B2 (ja) 動力伝達装置
JP6290343B2 (ja) 動力伝達装置
JP7377278B2 (ja) 自動変速機のロックアップ制御装置及びロックアップ制御方法
JP7755426B2 (ja) 車両用制御装置
JP6913258B2 (ja) 無段変速機の制御装置および制御方法
JPS6154980B2 (ja)
JP2008045659A (ja) 油圧制御装置
JP6720886B2 (ja) ロックアップクラッチの制御装置
JP2023077582A (ja) 油圧制御装置
JP2004239297A (ja) 変速機の制御装置
JP2008101697A (ja) パワートレーンの制御装置、制御方法、その方法を実現させるプログラムおよびそのプログラムを記録した記録媒体

Legal Events

Date Code Title Description
A621 Written request for application examination

Free format text: JAPANESE INTERMEDIATE CODE: A621

Effective date: 20120227

A131 Notification of reasons for refusal

Free format text: JAPANESE INTERMEDIATE CODE: A132

Effective date: 20130311

A521 Request for written amendment filed

Free format text: JAPANESE INTERMEDIATE CODE: A523

Effective date: 20130401

TRDD Decision of grant or rejection written
A01 Written decision to grant a patent or to grant a registration (utility model)

Free format text: JAPANESE INTERMEDIATE CODE: A01

Effective date: 20131009

A61 First payment of annual fees (during grant procedure)

Free format text: JAPANESE INTERMEDIATE CODE: A61

Effective date: 20131022

R150 Certificate of patent or registration of utility model

Ref document number: 5398317

Country of ref document: JP

Free format text: JAPANESE INTERMEDIATE CODE: R150

Free format text: JAPANESE INTERMEDIATE CODE: R150

R250 Receipt of annual fees

Free format text: JAPANESE INTERMEDIATE CODE: R250

R250 Receipt of annual fees

Free format text: JAPANESE INTERMEDIATE CODE: R250

R250 Receipt of annual fees

Free format text: JAPANESE INTERMEDIATE CODE: R250

R250 Receipt of annual fees

Free format text: JAPANESE INTERMEDIATE CODE: R250

R250 Receipt of annual fees

Free format text: JAPANESE INTERMEDIATE CODE: R250

R250 Receipt of annual fees

Free format text: JAPANESE INTERMEDIATE CODE: R250

LAPS Cancellation because of no payment of annual fees