JP5055152B2 - 液体試料分離抽出装置 - Google Patents

液体試料分離抽出装置 Download PDF

Info

Publication number
JP5055152B2
JP5055152B2 JP2008019815A JP2008019815A JP5055152B2 JP 5055152 B2 JP5055152 B2 JP 5055152B2 JP 2008019815 A JP2008019815 A JP 2008019815A JP 2008019815 A JP2008019815 A JP 2008019815A JP 5055152 B2 JP5055152 B2 JP 5055152B2
Authority
JP
Japan
Prior art keywords
liquid
roller
container
electrode roller
developer
Prior art date
Legal status (The legal status is an assumption and is not a legal conclusion. Google has not performed a legal analysis and makes no representation as to the accuracy of the status listed.)
Expired - Fee Related
Application number
JP2008019815A
Other languages
English (en)
Other versions
JP2008242436A (ja
Inventor
智之 小田
Current Assignee (The listed assignees may be inaccurate. Google has not performed a legal analysis and makes no representation or warranty as to the accuracy of the list.)
Kyocera Document Solutions Inc
Original Assignee
Kyocera Document Solutions Inc
Priority date (The priority date is an assumption and is not a legal conclusion. Google has not performed a legal analysis and makes no representation as to the accuracy of the date listed.)
Filing date
Publication date
Application filed by Kyocera Document Solutions Inc filed Critical Kyocera Document Solutions Inc
Priority to JP2008019815A priority Critical patent/JP5055152B2/ja
Publication of JP2008242436A publication Critical patent/JP2008242436A/ja
Application granted granted Critical
Publication of JP5055152B2 publication Critical patent/JP5055152B2/ja
Expired - Fee Related legal-status Critical Current
Anticipated expiration legal-status Critical

Links

Images

Landscapes

  • Wet Developing In Electrophotography (AREA)
  • Liquid Developers In Electrophotography (AREA)
  • Cleaning In Electrography (AREA)
  • Electrostatic Separation (AREA)

Description

本発明は、液体試料分離抽出装置、特に、分散質及び分散媒を含む液体試料から分散質と分散媒とを分離し、分散質及び分散媒を抽出する液体試料分離抽出装置に関する。
液体試料分離装置は、分散質と分散媒とを分離、抽出するための装置であって、例えばトナー(分散質)とキャリア液(分散媒)とを含む液体現像剤を用いて画像形成を行う画像形成装置に用いられている。この画像形成装置では、画像形成動作時に現像に使用されなかった残留現像剤を回収し、液体試料分離装置を用いてトナーとキャリア液とを分離し、キャリア液を再利用するようにしたものがある。
このような方式の画像形成装置では、残留現像剤を回収する。そして、回収された液体現像剤は、異なった電圧が印加された2枚の電極に挟まれた連泡発泡体を通過させられる。このとき、トナーが連泡発泡体に付着し、キャリア液は連泡発泡体を通過する。このようにして、トナーとキャリア液とを分離した後、キャリア液を抽出する(特許文献1参照)。
特開2000−89573号公報
特許文献1に記載の液体試料分離抽出装置では、連泡発泡体にトナーが詰まってしまうと液体現像剤を分離、抽出することができない。このために、連泡発泡体を交換する等のメンテナンスを行う必要がありコストが高くなる。
そこで、電極ローラと、液体試料供給開口と第1液体試料排出開口を有する液体試料を収容可能な容器と、電極ローラと接触し電極ローラとの間で分散媒を堰き止める堰止ローラと、電極ローラと堰止ローラとが接触している位置を通過した分散質を掻き取るクリーニング部材とを備えた液体試料分離抽出装置が考えられる。
このような液体試料分離抽出装置では、電極ローラの回転に伴って液体試料が電極ローラと堰止ローラとが接触している部分まで搬送され、堰止ローラによって分散媒が堰き止められる。電極ローラの回転に伴って分散質は電極ローラと堰止ローラとが接触している位置を通過し、クリーニング部材によって電極ローラの表面から分散質が掻き取られる。ここで、液体試料から分離された分散媒は、液体収容容器の底部に設けられた液体排出口から排出される。
このような液体試料分離抽出装置では、電極ローラと液体収容容器が所定距離を保って近接しているため、抽出した分散媒を電極ローラと液体収容容器を離間させずに回収することが困難であった。また液体試料を電極ローラの軸方向に短時間で効率よく拡散させることも困難であった。
本発明の課題は、液体試料分離抽出装置で抽出された分散媒を電極ローラと液体収容容器を離間させずに回収しやすくすることである。さらに、液体試料を効率よく電極ローラの軸方向にわたって供給することである。
第1発明に係る液体試料分離抽出装置は、分散質及び分散媒を含む液体試料から分散質と分散媒とを分離し、分散質及び分散媒を抽出する液体試料分離抽出装置であって、電極ローラと、堰止ローラと、クリーニング部材と、液体収容容器と、を備えている。電極ローラには、分散質を引き寄せるように電圧が印可されている。堰止ローラは、電極ローラに当接し、分散媒を堰き止める。クリーニング部材は、電極ローラと堰止ローラとが接触している位置を通過した分散質を掻き取る。液体収容容器は、電極ローラと所定間隔をおいて対面するように配置され、その最下部近傍に配置された第1液体試料排出開口を有し、液体試料を収容可能な容器である。
この液体試料分離抽出装置では、分散質と分散媒とを含む液体試料が液体収容容器内に供給されている。このとき、電極ローラには電圧が印加されるとともに回転させられている。この電極ローラの回転に伴って、電極ローラと堰止ローラとが接触している部分まで液体試料が搬送される。そして、この部分で堰止ローラによって分散媒が堰き止めされる。堰止ローラによって堰き止めされずに電極ローラの回転に伴って搬送される分散質は、クリーニング部材によって電極ローラの表面から掻き取られる。このとき、第1液体収容容器の最下部近傍に設けられた第1液体試料排出開口から分散媒が排出される。
ここでは、抽出された分散媒を電極ローラと液体収容容器を離間させずに回収することができ、分散媒が回収しやすくなる。
第2発明に係る液体試料分離抽出装置は、第1発明の液体試料分離抽出装置であって、液体試料収容容器は、内部に液体を供給可能な第1液体試料供給開口を有している。
ここでは、液体試料を液体収容容器内に飛散させることなく供給しやすくなる。
第3発明に係る液体試料分離抽出装置は、第2発明の液体試料分離抽出装置であって、液体試料収容容器は、複数の第1液体試料供給開口をさらに有している。
ここでは、効率よく液体試料を液体試料収容容器内に供給することができる。
第4発明に係る液体試料分離抽出装置は、第3発明の液体試料分離抽出装置であって、液体収容容器は、それぞれの第1液体試料供給開口に接続されており電極ローラの軸方向に延びるように配置された第1液体搬送通路をさらに有する。
ここでは、効率よく液体試料を液体試料収容容器内に供給することができる。
第5発明に係る液体試料分離抽出装置は、第4発明の液体試料分離抽出装置であって、液体収容容器は、第1液体搬送通路に液体試料を供給可能な液体試料供給口を有する。
第6発明に係る液体試料分離抽出装置は、第2発明から第5発明のいずれかの液体試料分離抽出装置であって、液体収容容器は、第1液体試料供給開口を有する第1容器と、第1容器に着脱可能であって、第2液体試料排出開口を有する第2容器と、を有している。
ここでは、第1容器と第2容器とが着脱可能であるために、液体試料分離抽出装置のメンテナンス時等において液体収容容器から電極ローラを取り外しやすい。
第7発明に係る液体試料分離抽出装置は、第6発明の液体試料分離抽出装置であって、第2液体試料排出開口は電極ローラと堰止ローラとが接触している部分の近傍に配置されている。
ここでは、電極ローラと堰止ローラとが接触している部分の近傍に第2液体試料排出開口を設けることで、抽出された分散媒の排出を効率よく行うことができる。
第8発明に係る画像形成装置は、画像形成部と、液体現像剤分離抽出装置とを備える。画像形成部は、トナーとキャリア液とを含む液体現像剤を用いて媒体上に画像を形成する。液体現像剤分離抽出装置は、液体現像剤からトナーとキャリア液とを分離し、トナーとキャリア液とを抽出する。また、液体現像剤分離抽出装置は、電極ローラと、堰止ローラと、クリーニング部材と、液体収容容器と、を有する。電極ローラには、トナーを引き寄せるように電圧が印可されている。堰止ローラは、電極ローラに当接し、キャリア液を堰き止める。クリーニング部材は、電極ローラと堰止ローラとが接触している位置を通過したトナーを掻き取る。液体収容容器は、電極ローラと所定間隔をおいて対面するように配置され、その最下部近傍に配置された第1液体現像剤排出開口を有し、液体現像剤を収容可能である。
この画像形成装置では、液体現像剤分離抽出装置において、トナーとキャリア液とを含む液体現像剤が液体収容容器内に供給されている。このとき、電極ローラには電圧が印加されるとともに回転させられている。この電極ローラの回転に伴って、電極ローラと堰止ローラとが接触している部分まで液体現像剤が搬送される。そして、この部分で堰止ローラによってキャリア液が堰き止めされる。堰止ローラによって堰き止めされずに電極ローラの回転に伴って搬送されるトナーは、クリーニング部材によって電極ローラの表面から掻き取られる。このとき、第1液体収容容器の最下部近傍に設けられた第1液体現像剤排出開口からキャリア液が排出される。
ここでは、抽出されたキャリア液を電極ローラと液体収容容器を離間させずに回収することができ、キャリア液が回収しやすくなる。
本発明では、液体試料分離抽出装置で抽出された分散媒を電極ローラと液体収容容器を離間させずに回収することが容易になる。さらに、液体試料を効率よく電極ローラの軸方向にわたって供給することである。
<第1実施形態>
以下、図面に基づいて、本発明の画像形成装置の第1実施形態について説明する。なお、説明の便宜上、図面では部材の位置及び大きさ等は適宜強調して描かれている。また、以下の実施形態は、本発明の画像形成装置の一例として、プリンタを挙げて説明するが、本発明はこれに限定されるものではない。すなわち、本発明の画像形成装置は画像形成部を備えていればよく、コピー機、ファクシミリ機としての機能を有する所謂複合機(MFP、Multi Function Peripheral)やコピー機能のみを備えたものでもよい。以下に説明するこれらの部材の具体的な構成や、その他の部材等については、適宜変更可能である。
1.全体構成
図1を用いて本発明の一実施形態に係る画像形成装置としてのカラープリンタ1の概略構成を説明する。図1は、カラープリンタ1の要部構成を示す正面図である。
カラープリンタ1は、画像データに基づいてトナー画像を形成するタンデム式の画像形成部2と、用紙を収容する用紙収納部3と、画像形成部2で形成されたトナー画像を媒体としての用紙上に転写する二次転写部4と、転写されたトナー画像を用紙上に定着させる定着部5と、定着の完了した用紙を排紙する排出部6と、用紙収納部3から排出部6まで用紙を搬送する用紙搬送部7と、液体現像剤循環装置27(図2参照)とを主に備えている。なお、液体現像剤循環装置27については後に詳述する。
画像形成部2は、中間転写ベルト21と、中間転写ベルト21のクリーニング部22と、イエロー(Y)、マゼンタ(M)、シアン(C)、ブラック(Bk)の各色にそれぞれ対応した画像形成ユニットFY、FM、FC、及びFBとを備える。
中間転写ベルト21は、無端状、すなわちループ状のベルト状部材であり、図1において矢印で示すように時計回りに循環駆動される。循環駆動において外側を向く面を以下、表面と称し、他方の面を裏面と称する。
画像形成ユニットFY、FM、FC、及びFBは、中間転写ベルト21のクリーニング部22と二次転写部4との間に中間転写ベルト21の近傍に4つ並べて配置される。なお、各画形成ユニットFY、FM、FC、FBの配置の順番はこの限りではないが、各色の混色による完成画像への影響を配慮すると、この配置が好ましい。画像形成ユニットFY、FM、FC、及びFBは、感光体ドラム10と、帯電器11と、LED露光装置12と、現像装置14と、一次転写ローラ20と、クリーニング装置26と、除電装置13と、キャリア液除去ローラ30とを備える。また、画像形成ユニットのうち、最も二次転写部4に近い位置に位置する画像形成ユニットFBには、キャリア液除去ローラ30が設けられていないが、その他の構成は同一である。
感光体ドラム10は、円柱状の部材であって、その表面に帯電(本実施形態ではプラス極性に帯電)したトナーを含むトナー像を担持可能である。感光体ドラム10は、図1において反時計回りに回転可能な部材である。
帯電器11は、感光体ドラム10の表面を一様に帯電させることができる機器である。
LED露光装置12は、LEDの光源を有し、帯電した感光体ドラム10表面を画像データに応じた光で照射し、感光体ドラム10表面に静電潜像を形成可能である。
現像装置14は、トナー(分散質)及び液体のキャリア(分散媒:以下キャリア液と呼ぶ)を含む液体現像剤を上記静電潜像に対向するように保持することで、静電潜像にトナーを付与し、静電潜像をトナー像として現像することができる。また、現像装置14は、現像容器40と、現像ローラ40aと、供給ローラ40bと、支持ローラ40cと、現像クリーニングブレード40fと、供給ローラドクターブレード40gとを備える。
現像容器40は、液体現像剤供給装置278から供給され供給ローラ40bや支持ローラ40cなどから滴下した液体現像剤を受けるための部材である。
支持ローラ40cは、現像ローラ40aに液体現像剤を供給するためのものである。支持ローラ40cは、図1において反時計回りに回転可能であり、この支持ローラ40cに接するようにして図1において時計回りに回転可能な供給ローラ40bが配置されている。また、供給ローラ40bに接触し、供給ローラ40bの表面の現像剤の層厚を規制する供給ローラドクターブレード40gが設けられている。供給ローラドクターブレード40gは、供給ローラ40bの表面の現像剤の層厚を規制して所定量にする。供給ローラ40bと接するように図1において時計回りに回転可能な現像ローラ40aが配置され、その表面に供給ローラ40bから現像剤が供給される。供給ローラ40bの現像剤の層厚が所定値に規制されているので、現像ローラ40aの表面に形成される現像剤の層厚も所定値に保たれる。この現像ローラ40aから感光体ドラム10の表面にトナーが供給される。感光体ドラム10の表面の静電潜像の電位と現像ローラ40aに印加される現像バイアスの電位差によって、形成指示された画像データに応じたトナー像が感光体ドラム10表面に形成される(現像動作)。
感光体ドラム10への現像動作を終えた現像ローラ40aの表面の現像剤は、現像クリーニングブレード40fによって除去され、現像クリーニングブレード40fの表面に沿って流下し、液体現像剤循環装置27(図2参照)の残留現像剤タンク271(図2参照)に送られる。
なお、現像装置14には、液体現像剤供給装置278が付設されており、液体現像剤供給装置278から液体現像剤が供給ローラ40bと支持ローラ40cとの接触部分近傍の支持ローラ40c上に供給される。また、現像容器40に受けられた液体現像液は、液体現像剤循環装置27の残留現像剤タンク271(図2参照)へ排出される。
一次転写ローラ20は、中間転写ベルト21の裏面側において、感光体ドラム10と対向して配置されている。一次転写ローラ20には、図示しない電源から感光体ドラム10の表面に形成されたトナー像中のトナーの帯電極性とは逆極性(本実施形態ではマイナス)の電圧が印加されるようになっている。つまり、一次転写ローラ20は、中間転写ベルト21と接触している位置で、中間転写ベルト21にトナーの帯電極性と逆極性の電圧を印加する。中間転写ベルト21は導電性を有するので、この印加電圧によって、中間転写ベルト21の表面側及びその周辺にトナーが引き付けられる。
クリーニング装置26は、感光体ドラム10から中間転写ベルト21に転写されずに残留したトナーをクリーニングするための装置であって、残留トナー搬送スクリュー261と、クリーニングブレード262とを備えている。残留トナー搬送スクリュー261は、クリーニングブレード262によって掻き取られ、クリーニング装置26内に収納された残留トナーをクリーニング装置26の外部に搬送するための部材であって、クリーニング装置26内に配置されている。クリーニングブレード262は、感光体ドラム10の表面に残留したトナーを、掻き取るための部材であって、感光体ドラム10が延びる方向に延びた板状の部材である。
なお、クリーニングブレード262は、端部が感光体ドラム10の表面に摺接しており、感光体ドラム10の回転に伴って感光体ドラム10上に残留したトナーを掻き取る。
除電装置13は、光源を備え、クリーニングブレード262による現像剤除去後、感光体ドラム10の表面を光源からの光によって除電し、次の画像形成に備える。
キャリア液除去ローラ30は、感光体ドラム10の回転軸と平行な回転軸を中心として感光体ドラム10と同方向に回転可能な略円柱状の部材である。また、キャリア液除去ローラ30は、感光体ドラム10と中間転写ベルト21とが接触する位置よりも二次転写部4が配置されている側に配置されており、中間転写ベルト21の表面からキャリア液を除去する部材である。
用紙収納部3は、トナー像を定着させる用紙を収納する部分であって、カラープリンタ1の下部に配置されている。また、用紙収納部3は、用紙を収納している給紙カセットを有している。
二次転写部4は、中間転写ベルト21上に形成されたトナー像を用紙に転写する部分であって、中間転写ベルト21を支持する支持ローラ41と、支持ローラ41に対向して配置された二次転写ローラ42とを有している。
定着部5は、用紙にトナー像を定着させる部分であって、二次転写部4の上側に配置されている。また、定着部5は、用紙に転写されたトナー像に接する加熱ローラ51と、加熱ローラ51に対向して配置された加圧ローラ52とを有している。
排出部6は、定着部5でトナー像が定着された用紙が排出される部分であって、カラープリンタ1の上部に配置されている。
用紙搬送部7は用紙収納部3から二次転写部4や定着部5、排出部6に用紙を搬送する部分である。
2.液体現像剤循環装置
2−1.液体現像剤循環装置の全体構成
図2に液体現像剤循環装置27の全体の概略を示す。この液体現像剤循環装置27は、感光体ドラム10へトナーを供給した後に現像クリーニングブレード40fによって現像ローラ40aの表面から掻き取られた現像剤(トナーとキャリア液との混合物)と、供給ローラ40bから現像ローラ40aに供給されなかった現像剤と、中間転写ベルト21に転写した後に感光体ドラム10からクリーニング装置26によって掻き取られた現像剤とを循環させ再利用するための装置である。また液体現像剤循環装置27は、残留現像剤タンク271と、現像剤収容容器272と、固形分濃度検出装置273と、キャリアタンク274と、トナータンク275と、現像剤リザーブタンク277と、液体現像剤供給装置278と、残留現像剤回収容器279と、液体現像剤分離抽出装置28と、複数のポンプP1〜P11と、を備えている。
残留現像剤タンク271は、現像装置14にパイプ31を介して接続され、感光体ドラム10へトナーを供給した後に現像クリーニングブレード40fによって現像ローラ40aの表面から掻き取られた現像剤を収納可能なタンクである。また、現像装置14と残留現像剤タンク271との間には1つのポンプP1が取り付けられており、現像ローラ40aの表面から掻き取られた残留現像剤を残留現像剤タンク271に移動させるようになっている。また、残留現像剤タンク271は、現像装置14の底部にパイプ32を介して接続されており、このパイプ32にはポンプP5が接続されている。ポンプP5は、現像容器40から残留現像剤タンク271へ現像剤を送る。
現像剤収容容器272は、残留現像剤タンク271に接続されており、現像装置14に補給する現像剤を調合(トナー濃度調整)する部分である。現像剤収容容器272は残留現像剤タンク271にパイプ33を介して接続されており、このパイプ33にはポンプP2が接続されている。
固形分濃度検出装置273は、現像剤収容容器272内の液体現像剤のトナーの濃度を検出するための装置であって、現像剤収容容器272に接続されている環状のパイプ34に接続されている。この環状のパイプ34の固形分濃度検出装置273の上流側にはポンプP4が取り付けられている。
キャリアタンク274は、現像剤収容容器272内のトナー濃度を下げるためのキャリア液を収納している。また、キャリアタンク274は現像剤収容容器272とポンプP3が取り付けられたパイプ35によって接続されている。
トナータンク275は、現像剤収容容器272内のトナー濃度を上げるためのトナー濃度が高い液体現像剤を収納しており、トナータンク275内の液体現像剤のトナー濃度は、現像装置14で用いられる液体現像剤のトナー濃度よりも高い。トナータンク275は、現像剤収容容器272とポンプP8が取り付けられたパイプ36によって接続されている。
現像剤リザーブタンク277は、現像装置14に補給する液体現像剤が収納されるようになっており、現像剤収容容器272とポンプP6の取り付けられたパイプ37を介して接続されている。また、液体現像剤供給装置278にポンプP7の取り付けられたパイプ38を介して接続されている。
液体現像剤供給装置278は、現像装置14に現像剤を供給するための装置である。
残留現像剤回収容器279は、感光体ドラム10からクリーニング装置26によって除去された現像剤を一時的に貯留するための容器である。
2−2.液体現像剤分離抽出装置の構成
液体現像剤分離抽出装置28は、図3及び4に示すように、液体現像剤をトナーとキャリア液とに分離し、キャリア液とトナーとを別々に抽出するための装置であって、残留現像剤回収容器279とキャリアタンク274とを結ぶパイプ39,43の途中に配置されている。液体現像剤分離抽出装置28は、液体収容容器281と、電極ローラ282(電極部材)と、堰止ローラ283(堰止部材)と、ブレード部材284(クリーニング部材)と、電圧印加装置285(図2参照)と、液体移動防止部286(図9参照)と、付勢機構287(図9参照)とを備えている。
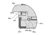
液体収容容器281は、液体現像剤を収容可能な容器であって、少なくとも液体を収容する部分の表面は、導電性素材によって形成されている。また、液体収容容器281の導電性素材で形成された部分は、電圧印加装置285に接続されており、第1容器281aと、第2容器281bとを有している。第1容器281aは、図5に示すように、電極ローラ282の後述するローラ部282bの概ね下半分を収容するように下方に凹んだ形状となっており、この電極ローラ282を収容する部分の内面は、ローラ部282bの表面と所定距離を保つように湾曲した形状となっている。また、図3および図4に示すように、第1容器281aは、電極ローラ282の下部に対面する位置で液体収容容器281に液体現像剤を供給するための供給口281rと、長手方向の略中央に第1排出口281cを有している。供給口281rは、電極ローラ282の停止時に第1容器281aの最下部近傍に液体現像剤を噴出する。また、第1容器281aは、図5に示すように、長手方向に等間隔に並んで液体現像剤が噴出可能な複数の噴出口281pが設けられている。なお、図5では、1つの噴出口281pにのみ符号を付し他は省略している。これら複数の噴出口281pは、第1容器281aの内部において供給口281rに繋がっている。また、第1容器281aの長手方向両端には、円弧状凹部281fを有するトレイカバー281dが配置されている。円弧状凹部281fは、電極ローラ282の回転軸282aを回転自在に支持する不図示の軸受けと微小間隔をおいて対面する。このトレイカバー281dは、メンテナンス等で第1容器281aを電極ローラ282から取り外した際に、第1容器281aの両端から第1容器281aに残留した液体現像剤がこぼれるのを防ぐ。ここで、第1排出口281cの上端部は、第1容器281aのうち電極ローラ282を収容する部分の内面との間に段差が形成されないように精度良く位置決めされている。第2容器281bは、第1容器281aに着脱可能であって、電極ローラ282と相対するように配置した際に電極ローラ282に沿うように内面が湾曲した形状となっており、第1容器281aに接続した状態では、第1容器281aとともに電極ローラ282の約75%を覆うようになっている。また、第2容器281bには、電極ローラ282と堰止ローラ283との接触部分の近傍に位置する第2排出口281eが形成されている。なお、第2排出口281eは必ずしも必要ではなく、時間をかけずに効率よくキャリア液を液体現像剤分離抽出装置28から取り出すために、電極ローラ282と堰止ローラ283との接触部付近に溜まったキャリア液を吸い出すために設けられている。第2排出口281eが設けられていなくても、第2排出口281eが設けられている場合と比較して時間を要するが、電極ローラ282と堰止ローラ283との接触部付近に溜まったキャリア液も時間と共に液体収容容器281を流下し、第1排出口281cから排出される。
電極ローラ282は、金属製(具体的にはSUS製)のパイプ状部材であって、その表面粗さは例えばRy6.3(JIS B0601-1994)である。電極ローラ282は、電圧印加装置285に接続されており、この電圧印加装置285によって電圧が印加される。また、電極ローラ282は、図6に示すように、回転軸282a及びローラ部282bと、軸支持部材282cと、シールパッキン282dと、液漏防止部材282eと、を備えている。ここで、図7及び図8は軸支持部材282cの近傍を詳細に示す断面図である。軸支持部材282cは、環状の部材であって、ローラ部282bの軸方向両端に配置されている。軸支持部材282cの直径と電極ローラ282のローラ部282bの直径は同一である。また、軸支持部材282cは、外周上に等間隔に6つの突起282fが形成されている。そして、この突起282fは、液体収容容器281に接触し液体収容容器281を位置決めする役割を果たしている。なお、第1容器281aはその下側から不図示の付勢部材としてのバネで押圧されており、その押圧力は例えば2kgである。このため、第1容器281aと軸支持部材282cとの位置関係がずれることはない。なお、この突起282fの高さは0.5ミリであって、この突起282fによって電極ローラ282の外周面と液体収容容器281の壁面との間の距離が0.5ミリに保たれている。この距離は一定である必要はなく、液体現像剤の分離効率と印加電圧によるリークが発生しない等の条件を持たす範囲で変化させてもよい。例えば、電極ローラ282の最下部に対応する間隔が0.5mm、電極ローラ282と第2容器281bが対面する最上部の間隔が0.3mmとしても良い。さらに軸支持部材282cには軸方向外方に向かって突出する一対の壁状部282iが形成されており、電極ローラ282の回転軸282aを回転自在に支持する図示しない不動の電極ローラ282の軸受けに挿入されるようになっている。このため、軸支持部材282cは固定されることになる。そのため、図3中に示した電極ローラ282の突起282fの位置が固定されているので、電極ローラ282のローラ部282bの表面と液体収容容器281の内周面との間隔を所定値(本実施例では0.5mm)に保つことができる。また、上述のようにこの所定値が場所によって異なる場合でも、各位置における間隔を一定に保つことができる。電極ローラ282の回転軸282aは不図示の駆動源によって駆動される。軸支持部材282cの外周面には、環状に形成された溝282gが設けられており、液体収容容器281の壁面と対面する端面にはシールパッキン282dを配置可能な凹部282hが形成されている。シールパッキン282dは、軸支持部材282cの凹部282h、すなわち軸支持部材282cの内周側であって回転軸282aの外周側に配置されており、液体が軸方向外方に移動するのを防止している。液漏防止部材282eは、環状の弾性部材であって、軸支持部材282cの溝282gに配置されている。また、液漏防止部材282eは、ローラ部282bの両端に近接して配置されている。なお、液体収容容器281、堰止ローラ283は、電極ローラ282を基準に位置決めされており、電極ローラ282はこれらの部材の位置基準となっている。
堰止ローラ283は、ローラ部282bに当接するように配置されており、少なくともその表面が導電処理された弾性部材製の(具体的にはSUS製のパイプに表面を導電処理したウレタンゴムを被せた)ローラである。堰止ローラ283は、電極ローラ282に対して従動回転する。堰止ローラ283は、電極ローラ282側に付勢機構287(図9参照)によって付勢されることで弾性変形させられている。さらに、図9に示すように、堰止ローラ283の軸方向両端には堰止ローラ283に対して相対回転可能なプーリ283aが配置されている。なお、電極ローラ282と堰止ローラ283の間にはプラス帯電しているトナーが堰止ローラ283から電極ローラ282へ移動するような電界が生じるように、電極ローラ282はマイナス500V、堰止ローラ283にはプラス500Vが印加されている。同様に、電極ローラ282と液体収容容器281の間にはトナーが液体収容容器281から電極ローラ282へ移動するような電界が生じるように、液体収容容器281にもプラス500Vが印加されている。
なお、電極ローラ282のローラ部282bの外径は堰止ローラ283の外径よりも大きく、例えば、ローラ部282bの外径φ40mmに対して、堰止ローラ283の外径φ20mmである。また、ローラ部282bは、堰止ローラ283よりも軸方向に長い。例えば、ローラ部282bの軸方向長さが326mmであるのに対して、堰止ローラ283の軸方向長さが310mmである。また、付勢機構287による堰止ローラ283の電極ローラ282への押圧力は、例えば、2kgであり、堰止ローラ283のニップ深さは、例えば0.5mmである。
クリーニング部材としてのブレード部材284は、電極ローラ282と堰止ローラ283とが接触している位置に対して電極ローラ282の回転方向下流側であり第1容器281aに設けられた供給口281rの上流側、すなわち図3の左側で電極ローラ282に接触するように配置されており、電極ローラ282の回転軸282aが延びる方向に延びる板状の部材である。
電圧印加装置285は、液体収容容器281と、電極ローラ282と、堰止ローラ283とに電圧を印加可能なように接続されている。
液体移動防止部286は、図9に示すように、堰止ローラ283及びローラ部282bの軸方向両端部に配置された部材であって、堰止ローラ283の軸が配置可能な円形の孔と、ローラ部282bの曲率と同じ曲率を有する部分と、を有している。
付勢機構287は、堰止ローラ283を電極ローラ282側に付勢するための機構であって、一端が図示しない外枠に固定されたコイルスプリング287aと、コイルスプリング287aの他端に配置され、堰止ローラ283の軸を支持可能なローラ軸支持部材287bとを有している。このために、堰止ローラ283の軸がローラ軸支持部材287bを介してコイルスプリング287aによって付勢されている。
この液体現像剤分離抽出装置28は、図2に示すように、第1流路86、第2流路87、第3流路88に接続されている。第1流路86は、第1排出口281cから排出されたキャリア液をキャリアタンク274へ送るための流路である。第2流路87は、第2排出口281eから排出されたキャリア液を、第1排出口281cから排出されたキャリア液と合流させるための流路である。第3流路88は、第1排出口281cおよび第2排出口281eから排出されたキャリア液をキャリア液濃度測定装置81へ送るための流路である。また、第1排出口281cの出口には第1開閉弁V1が設けられており、第1流路86には、ポンプP10が設けられている。第2排出口281eの出口には第2開閉弁V2が設けられている。また、第3流路88には、ポンプP11と第3開閉弁V3とが設けられている。第3流路88は、残留現像剤回収容器279と液体現像剤分離抽出装置28とを繋ぐパイプ39と合流しており、その合流部分より上流側には第4開閉弁V4が設けられている。また、第1流路86と第2流路87との合流部分より下流側には第5開閉弁V5が設けられている。液体現像剤分離抽出装置28において分離処理が行われる際には、これらの開閉弁およびポンプが制御されることにより、液体現像剤や抽出されたキャリア液の流れが切り替えられる。
3.動作
3−1.画像形成動作
次に、湿式のカラープリンタ1の画像形成動作を説明する。
湿式のカラープリンタ1に接続されたパーソナルコンピュータ(PC)からの画像形成指示を受けたカラープリンタ1は、作成指示を受けた画像データに対応した各色のトナー像を画像形成ユニットFY,FM、FC、FBを用いて形成する。具体的には、感光体ドラム10上に画像データに基づいた静電潜像が形成され、この静電潜像に現像装置14からトナーが供給されてトナー像が形成される。このようにして各画像形成ユニットFY,FM、FC、FBで形成されたトナー像は中間転写ベルト21に転写されて、中間転写ベルト21上で重ね合わされてカラートナー像となる。
このカラートナー像の形成と同期して用紙収納部3に収容されている用紙が図示しない給紙装置で用紙収納部3から一枚ずつ取り出されて、用紙搬送部7に沿って搬送される。そして、用紙は中間転写ベルト21への一次転写とタイミングを合わせて二次転写部4に送り込まれ、二次転写部4で中間転写ベルト21上のカラートナー像が用紙に二次転写される。カラートナー像が転写された用紙はさらに定着部5に搬送されて熱と圧力によりカラートナー像が用紙に定着される。さらに用紙は排出部6によって湿式のカラープリンタ1の外部に排紙される。二次転写後、中間転写ベルト21に残留したトナーは、中間転写ベルト21のクリーニング部22によって中間転写ベルト21から除去される。
3−2.液体現像剤の循環動作
次に、現像装置14に液体現像剤を供給する動作、すなわち液体現像剤の循環動作について説明する。
画像形成動作時に感光体ドラム10に供給されずに現像ローラ40a上に残留した液体現像剤は現像クリーニングブレード40fによって掻き取られ、パイプ31を介して残留現像剤タンク271に回収される。また、現像容器40に受けられた液体現像剤も、ポンプP5によってパイプ32を介して残留現像剤タンク271に送られる。そして、現像剤収容容器272内の現像剤量が無くなると残留現像剤タンク271から現像剤収容容器272にポンプP2によってパイプ33を介して残留現像剤が供給される。このとき、感光体ドラム10上に現像されずに残留した現像剤は、クリーニングブレード262によって掻き取られ、残留現像剤回収容器279に収容される。
残留現像剤回収容器279に回収された残留現像剤は所定量毎にポンプP9によってパイプ39を介して液体現像剤分離抽出装置28に搬送され(図2の矢印A9参照)、液体現像剤分離抽出装置28において、トナーとキャリア液との分離、抽出処理が行われる。液体現像剤分離抽出装置28において抽出されたキャリア液は、キャリアタンク274へポンプP10によりパイプ43を介して送られる。液体現像剤分離抽出装置28におけるトナーとキャリア液との分離処理については後に詳細に説明する。
一方、現像剤収容容器272内の液体現像剤のトナー濃度が固形分濃度検出装置273によって検出され、現像剤収容容器272内の液体現像剤の濃度調整が行われる。ここでは、トナー濃度が高い場合には、キャリアタンク274からキャリア液がポンプP3によってパイプ35を介して現像剤収容容器272に供給される。また、トナー濃度が低い場合には、トナータンク275から現像装置14で用いる液体現像剤よりもトナー濃度が高い液体現像剤がポンプP8によってパイプ36を介して現像剤収容容器272に供給される。
そして、必要に応じて現像剤収容容器272から現像剤リザーブタンク277に濃度調整がなされた液体現像剤がポンプP6によってパイプ37を介して供給され、現像剤リザーブタンク277に収納された液体現像剤がポンプP7によってパイプ38を介して液体現像剤供給装置278に送られ、液体現像剤供給装置278から現像装置14に供給される。
3−3.液体現像剤分離抽出装置におけるトナーとキャリア液との分離動作
次に、液体現像剤分離抽出装置28におけるトナーとキャリア液との分離動作について説明する。
まず、ポンプP9により所定量の残留現像剤が液体現像剤分離抽出装置28に送られ、その後、ポンプP9が停止される。
次に、液体現像剤分離抽出装置28においてトナーとキャリア液との分離処理が行われる。この分離処理の際には、第1開閉弁V1、第2開閉弁V2、第4開閉弁V4が閉じられる(図2参照)。このとき、電圧印加装置285によって、液体収容容器281、堰止ローラ283と電極ローラ282にはそれぞれ、液体収容容器281と電極ローラ282の間、及び、堰止ローラ283と電極ローラ282の間にはトナーが電極ローラの方向に移動するような電界を生じさせるような電圧が印加されている。すなわち、液体収容容器281と堰止ローラ283とはトナーと同極性の電圧が印加されており、電極ローラ282はトナーの帯電極性とは逆の極性の電圧が印加されている。このために、液体収容容器281内に収容された液体現像剤のうちトナーは電極ローラ282側に移動し、電荷を有さないキャリア液は液体収容容器281側に残留する。また、電極ローラ282は図3における左回り(矢印A13参照)に回転し、堰止ローラ283は図3における右回り(矢印A14参照)に回転する。なお、電極ローラ282の回転速度は、例えば、5rpmであり、この場合、堰止ローラ283の回転速度は10rpmである。このような電極ローラ282と堰止ローラ283との回転に伴って、液体現像剤が電極ローラ282と堰止ローラ283との接触部分に搬送される。そして、トナーが電極ローラ282に電気的に引き寄せられるとともに堰止ローラ283にトナーと同じ極性の電圧が印加されていることによって堰止ローラ283から電気的な反発力を受ける。これにより、トナーは、堰止ローラ283に対して離れる方向、すなわち電極ローラ282側に電気的に付勢される。また、液体収容容器281にもトナーと同じ極性の電圧が印加されていることによってトナーは液体収容容器281から電気的な反発力を受け電極ローラ282側に電気的に付勢される。このような電圧の印加によって堰止ローラ283と液体収容容器281にトナーが付着するのが妨げられる。このようにしてトナーは電極ローラ282に電気的に付着し、このために電極ローラ282と堰止ローラ283との間を電極ローラ282に付着しているトナーが通過する。そして、電極ローラ282に付着しているトナーは、ブレード部材284によって掻き取られる。なお、ブレード部材284によって掻き取られたトナーは、図示しないスイープローラおよびスクリュー部によってブレード部材284から図示しない廃棄トナー容器に回収される。ここで、トナーは廃棄されるが、再利用されても良い。
そして、液体現像剤分離抽出装置28におけるトナーとキャリア液との分離処理が開始されて所定時間が経過すると、分離後のキャリア液が液体収容容器281から抽出されてキャリア液濃度測定装置81へ送られる(図2の矢印A10参照)。この場合、第5開閉弁V5および第4開閉弁V4は閉じられており、第1開閉弁V1,第2開閉弁V2および第3開閉弁V3は開かれている。そして、ポンプP11が駆動され、液体現像剤分離抽出装置28からキャリア液濃度測定装置81へキャリア液が送られる。このキャリア液は、キャリア液濃度測定装置81において濃度を測定された後に、液体現像剤分離抽出装置28の上流側に戻される。
キャリア液濃度測定装置81によって測定されたキャリア液中のトナー濃度が所定値以下(例えば、0.001%以下)になったことが確認されると、液体収容容器281内のキャリア液は、ポンプP10により第1排出口281c及び第2排出口281eから排出され、キャリアタンク274に搬送される(図2の矢印A11参照)。ここでは、第1開閉弁V1、第2開閉弁V2、第5開閉弁V5が開かれており、第3開閉弁V3、第4開閉弁V4は閉じられている。また、ポンプP11は停止されている。
そして、液体現像剤分離抽出装置28内からのキャリア液の搬送が完了すると、ポンプP10が停止させると共に第4開閉弁V4が開かれ、ポンプP9により所定量の残留現像剤が再び液体現像剤分離抽出装置28に搬送されて次の分離処理が行われる。そして、このような動作が繰り返し行われる。
なお、この液体現像剤分離抽出装置28では、液体現像剤5g(キャリア液4.3g、トナー0.7g含有)から3.7gのキャリア液を抽出することができる。また、1回の分離処理における所要時間は例えば75秒であり、この場合、線速227mm/sの給紙速度まで対応することが可能である。
また、メンテナンスなどの際には、付勢機構287や図示しない付勢手段からの付勢力が液体収容容器281に掛からないようにして液体収容容器281の第1容器281aと第2容器281bとの接続を解除した後に、電極ローラ282から液体収容容器281を取り外す。
ここでは、電極ローラ282及び堰止ローラ283によって液体現像剤を分離、抽出することができるためにメンテナンスの手間を省くこと及びメンテナンスに必要なコストを削減することができる。
また、軸支持部材282cの外周側に形成された突起部282fが液体収容容器281に接触しているために、電極ローラ282と液体収容容器281の壁面との間の間隔を一定に保ちやすくすることができる。また、軸支持部材282cの外周面全体が液体収容容器281に接触していないために、軸支持部材282cが液体収容容器281の壁面に張り付きにくく、電極ローラ282から液体収容容器281を取り外しやすくすることができる。また、液漏防止部材282e及びシールパッキン282dによって電極ローラ282の回転軸282aの軸方向外方に液体が漏れるのを防止できる。
<第2実施形態>
本発明の第2実施形態に係る液体現像剤分離抽出装置300の構成を図10及び図11に示す。なお、この液体現像剤分離抽出装置300が備えられる画像形成装置の他の構成は、上記の第1実施形態に係るカラープリンタ1と同様である。液体現像剤分離抽出装置300は、電極ローラ382(図18参照)と、液体収容容器380と、堰止ローラ383と、クリーニング部材としてのブレード部材384と、電圧印加装置285(図2参照)と、液体移動防止部386(図19参照)と、付勢機構387(図19参照)とを備えている。
電極ローラ382は、金属性の部材であって、電圧印加装置285に接続されている。また、電極ローラ382は、図18に示すように、回転軸382a及びローラ部382bと、軸支持部材382cと、シールパッキン382dとを備えている。軸支持部材382cは、環状の部材であって、ローラ部382bの軸方向両端に配置されている。軸支持部材282cの直径と電極ローラ282のローラ部282bの直径は同一である。また、軸支持部材382cは、外周上に6つの突起382eが形成されている。そして、この突起382eが液体収容容器380に接触し液体収容容器380を位置決めする役割を果たしている。さらに軸支持部材382cは、内周側に軸方向外方に向かって突出する一対の壁状部382fが形成されており、電極ローラ382の回転軸382aを回転自在に支持する図示しない不動の電極ローラ382の軸受けに挿入されるようになっている。このため、軸支持部材382cは固定されることになる。軸支持部材382cは、電極ローラ382のローラ部382bと対面しない方の端面にシールパッキン382dを配置可能である。シールパッキン382dは、液体が軸方向外方に移動するのを防止している。
液体収容容器380は、トナー(分散媒)とキャリア液(分散質)からなる液体現像剤を収容可能な容器であって、導電性素材によって形成されている。また、液体収容容器380は、電圧印加装置285に接続されており、第1容器380aと、第2容器380bとを有している。
第1容器380aは、図12乃至図14に示すように、電極ローラ382の一部の表面と所定間隔を保つことが可能なように半円柱状の凹部380kが形成された略直方体状の部材であって、第1排出開口380cと、噴出開口380dと、第1液体搬送通路380iと、供給口380fとを備えている。また、第1容器380aの長手方向両端には、円弧状凹部を有するトレイカバー380adが配置されている。トレイカバー380adの円弧状凹部は、電極ローラ382の回転軸382aを回転自在に保持する不図示の軸受けと微小間隔をおいて対面する。図13に示したように、このトレイカバー380adは第1容器380aにネジ380Sによってネジ止めされ、第1容器380aを電極ローラ382から取り外した場合に第1容器380aに残留している液体現像剤が外部に漏れ出すのを防止する部材である。
第1排出開口380cは、液体現像剤やキャリア液を排出可能な部分であって、第1容器380aの長手方向の略中央であり、凹部380kのもっとも低い位置に設けられている。そのため、抽出したキャリア液を回収する場合に重力によってキャリア液が第1排出開口380cに流れ込むので、キャリア液の回収がスムーズにできる。また第1排出開口380cは、第1容器380aの表面に設けられた第1排出口380rを通して外部に接続され、液体が通過可能な通路である。ここで、第1排出開口380cと第1排出口380rは第1容器380aとは別体の第1液体排出部材380uに設けられており、図13に示したように第1液体排出部材380uはネジ380sによって第1容器380aに取り付けられている。第1排出開口380cの第1容器380aの凹部380k側の端部は凹部380kとの間に段差が形成されないように精度良く位置決めされている。また、第1液体排出部材380uの第1容器380aに挿入される部分の外径は、第1容器380aの対応する部分の内径より若干細く形成されている。そのため両者の間には若干隙間があることになる。抽出されたキャリア液が第1液体排出部材380uと第1容器380aとの間の隙間に入り込み第1容器380aから漏れ出すのを防ぐため、第1容器380aの底面と第1液体排出部材380uとが接する部分に液洩れ防止部材380zが設けられている。
噴出開口380dは、第1容器380aの長手方向、電極ローラ382の軸方向に沿うようにして等間隔に並んで配置されており、液体現像剤を電極ローラ382に向かって噴出可能な部分である。多数個の噴出開口380dが電極ローラ382の軸方向に配置されているので、電極ローラ382の軸方向にすみやかに液体現像剤をいきわたらせることができる。また、各噴出開口380dは第1液体搬送通路380iに接続されている。
第1液体搬送通路380iは、各噴出開口380dに液体現像剤を搬送するための通路であって、第1容器380aの長手方向に沿って設けられている。
供給口380fは、第1容器380aの電極ローラ382と対面する凹部380kに液体現像剤を供給するための部分であって、第1液体搬送通路380iに接続されている。ここで、図13に示すように供給口380fと第1液体搬送通路380iは第1容器380aとは別体の液体供給部材380tに設けられている。さらに液体供給部材380tには凹状の液洩れ防止部材取り付け部が設けられており、第1容器380aと液体供給部材380tの接触部全域にわたって液洩れ防止部材380xが設けられている(図14参照)。なお、液体供給部材380tはネジ380sによって第1容器380aに取り付けられている(図13参照)。図14において第1容器380aの凹部380kの断面が凸凹になっているが、第1液体搬送通路380iがネジ380sの取り付け孔を避けてジグザグに設けられており、図14が第1液体搬送通路380iに沿う第1容器380aの断面図であるためである。
第2容器380bは、第1容器380aに着脱可能であって、電極ローラ382に対して配置した際に電極ローラ382に沿うように湾曲した凹部381kが形成されており、第1容器380aに接続した状態では、第1容器380aとともに電極ローラ382の約75%を覆うようになっている。また、第2容器380bは、図15、図16及び図17に示すように、第2排出開口380eと、第2液体搬送通路380gと、第2排出口380hと、を備えている。第2排出開口380eは、液体現像剤やキャリア液を排出可能な部分であって、第2容器380bの長手方向に電極ローラ382の軸方向に沿うようにして等間隔に並べて配置されている。また、第2排出開口380eは、電極ローラ382と堰止ローラ383とが接触する部分の近傍に設けられている。以上より電極ローラ382の回転を停止させ抽出された分散媒であるキャリア液を回収する際に、キャリア液が液体収容容器380内を下方に流下する前に効率よくキャリア液を回収することができる。第2液体搬送通路380gは、第2排出開口380eから回収された液体現像剤やキャリア液を第2排出口380hに搬送するための部分であって、第2容器380bの長手方向に沿って設けられている。第2排出口380hは、第2液体搬送通路380gの液体現像剤やキャリア液を外部に排出するための部分であって、第2液体搬送通路380gの長手方向略中央部分に設けられている。ここで、第2排出口380hと第2液体搬送通路380gは第2容器380bとは別体の第2液体排出部材380vに設けられている。なお、第2液体排出部材380vはネジ380sによって第2容器380bに取り付けられている(図16参照)。さらに第2液体排出部材380vには凹状の液洩れ防止部材取り付け部が設けられており、第2容器380bと第2液体排出部材380vの接触部全域にわたって液洩れ防止部材380yが設けられている(図17参照)。
堰止ローラ383は、電極ローラ382に当接するように配置された表面が導電処理された弾性部材製のローラであって、電極ローラ382側に付勢機構387(図19参照)によって付勢されることによって弾性変形させられている。なお、電極ローラ382と堰止ローラ383の間にはトナーが堰止ローラ383から電極ローラ382へ移動するような電界が生じるように、電極ローラ382はマイナス500V、堰止ローラ383にはプラス500Vが印加されている。同様に、電極ローラ382と液体収容容器380の間にはトナーが液体収容容器380から電極ローラ382へ移動するような電界が生じるように、液体収容容器380にもプラス500Vが印加されている。さらに、堰止ローラ383の軸方向両端には堰止ローラ383に対して相対回転可能なプーリ383aが配置されている。
クリーニング部材としてのブレード部材384は、電極ローラ382と堰止ローラ383とが接触している位置に対して電極ローラ382の回転方向下流側かつ噴出開口380dが第1容器380aに開口する位置の上流側において、電極ローラ382に接触するように配置されており、電極ローラ382の回転軸382aが延びる方向に延びる板状の部材である。
電圧印加装置285は、第1実施形態と同様のものであり、液体収容容器380と、電極ローラ382と、堰止ローラ383とに電圧を印加可能なように接続されている。
液体移動防止部386は、図19に示すように、堰止ローラ383及び電極ローラ382の軸方向両端部に配置された部材であって、堰止ローラ383の軸が配置可能な円形の孔と、電極ローラ382の曲率と同じ曲率を有する部分と、を有している。
付勢機構387は、堰止ローラ383を電極ローラ382側に付勢するための機構であって、一端が図示しない外枠に固定されたコイルスプリング387aと、コイルスプリング387aの他端に配置され、堰止ローラ383の軸を支持可能なローラ軸支持部材387bとを有している。このために、堰止ローラ383の軸がローラ軸支持部材387bを介してコイルスプリング387aによって付勢されている。
次に、液体現像剤分離抽出装置300におけるトナーとキャリア液との分離動作について説明する。
まず、残留現像剤回収容器279(図2参照)に回収された残留現像剤が、所定量毎にポンプP9(図2参照)によって液体現像剤分離抽出装置300に搬送される。具体的には、供給口380fから残留現像剤が第1液体搬送通路380iに供給され、残留現像剤が第1液体搬送通路380iによって各噴出開口380dに搬送される。この後、噴出開口380dから第1容器380a内に残留現像剤が噴出される。同時に電極ローラ382と堰止ローラ383が回転を開始し、さらにこのとき、電圧印加装置285によって、液体収容容器380、堰止ローラ383と電極ローラ382にはそれぞれ、電圧が印加されている。このため、液体収容容器380及び堰止ローラ383と電極ローラ382の間にはトナーが電極ローラの方向に移動するような電界を生じる。これにより、液体収容容器380内に収容された液体現像剤のうち帯電電荷を有するトナーは電極ローラ382側に移動し、帯電電荷を有さないキャリア液は液体収容容器380側に残留する。また、このような電圧の印加によって堰止ローラ383と液体収容容器380にトナーが付着するのが妨げられる。電極ローラ382の回転に伴って、液体現像剤が電極ローラ382と堰止ローラ383との接触部分に搬送される。そして、トナーが電極ローラ382に電気的に引き寄せられるとともに堰止ローラ383によって堰止ローラ383に対して離れる方向、すなわち電極ローラ382側に電気的に付勢される。このために電極ローラ382と堰止ローラ383との間を電極ローラ382に付着しているトナーが通過する。そして、電極ローラ382に付着しているトナーは、ブレード部材384によって掻き取られる。このトナーは本実施例では廃棄されるが、再利用しても良い。そして、不図示のキャリア液濃度測定装置81(図2参照)によって液体収容容器380内のキャリア液中に残留したトナーの濃度が所定値以下になったことが確認されると、電極ローラ382と堰止ローラ383との回転が停止し、ポンプP10(図2参照)が作動することによって液体収容容器380内の抽出されたキャリア液が、第1排出開口380c及び第2排出開口380eから排出され、キャリアタンク274(図2参照)に搬送される。なお、電極ローラ382と堰止ローラ383の回転は数rpm程度の低速のため回転させた状態でキャリア液を回収しても大きな支障はない。
ここでは、第1排出開口380cが第1容器380a凹部380kのもっとも低い位置に設けられているので、抽出された分散媒(キャリア液)の回収がスムーズにできる。さらに噴出開口380dが第1容器380aの長手方向であり、電極ローラ382の軸方向に沿うように多数設けられているので、液体現像剤分離抽出装置300に供給した液体現像剤が速やかに電極ローラ382の軸方向に拡散することができる。さらに、複数の第2排出開口380eが第2容器380bの長手方向に等間隔に並べて配置されているために、キャリア液の排出効率を良くすることができる。第1容器380aと第2容器380bとが着脱自在であるためにメンテナンスなどを容易に行うことができる。
<第3実施形態>
本発明の第3実施形態に係る液体現像剤分離抽出装置400の構成を図20及び図21に示す。なお、この液体現像剤分離抽出装置400が備えられる画像形成装置の他の構成は、上記の第1実施形態に係るカラープリンタ1と同様である。液体現像剤分離抽出装置400は、電極ローラ482と、液体収容容器480と、堰止ローラ483と、ブレード部材484と、電圧印加装置285(図2参照)と、液体移動防止部486(図28参照)と、堰止ローラ付勢機構487(図28参照)と、第1容器付勢機構488(図29参照)と、第2容器付勢機構489とを備えている。
電極ローラ482は、金属製(具体的にはSUS製)のパイプ状部材であって、電圧が印加される部材であって、電圧印加装置285に接続されている。また、電極ローラ482は、図27に示すように、回転軸482a及びローラ部482bと、軸支持部材482cと、シールパッキン482dとを備えている。軸支持部材482cは、環状の部材であって、ローラ部482bの軸方向両端に配置されている。軸支持部材282cの直径と電極ローラ282のローラ部282bの直径は同一である。また、軸支持部材482cは、外周上に6つの突起482eが形成されている。そして、この突起482eは液体収容容器480に接触していて液体収容容器480を位置決めしている。なお、この突起482eの高さは0.5mmであり、0.5mmという微小な間隔を隔てて電極ローラ482と液体収容容器480が対面している。さらに軸支持部材482cは、内周側に軸方向外方に向かって突出する一対の壁状部482fが形成されており、電極ローラ482の回転軸482aを回転自在に支持する図示しない不動の電極ローラ482の軸受けに挿入されるようになっている。このため、軸支持部材482cは固定されることになる。電極ローラ482の回転軸482aは不図示の外壁に固定された軸受けによって支持され、回転軸482aは外壁の外側に配置された不図示の駆動源によって駆動される。軸支持部材482cは、液体収容容器480の壁面と対面する端面にシールパッキン482dを配置可能である。シールパッキン482dは、液体が軸方向外方に移動するのを防止している。
液体収容容器480は、トナー(分散媒)とキャリア液(分散質)からなる液体現像剤を収容可能な容器であって、導電性素材によって形成されている。また、液体収容容器480は、電圧印加装置285に接続されており、第1容器480aと、第2容器480bと、シール部材480jとを有している。
第1容器480aは、図22及び図23に示すように、電極ローラ482の表面と所定距離を保って位置決め可能なように半円柱状の凹部480kが形成された略直方体状の部材であって、第1排出開口480cと、噴出開口480dと、第1液体搬送通路480iと、供給口480fとを備えている。また、長手方向両端には、トレイカバー480adが配置されている。トレイカバー480adは、電極ローラ482の回転軸482aを回転自在に保持する不図示の軸受けと微小間隔をおいて対面する。このトレイカバー480adは、第1容器480aを電極ローラ482から取り外した場合に、第1容器480aに残留している液体現像剤が外部に漏れ出すのを防止する部材である。さらに、第1容器480aには、略水平に形成され、第2容器が着脱される第1着脱部480mが電極ローラ482の近傍、具体的には図20における右側に設けられている。第1排出開口480cは、液体現像剤や抽出されたキャリア液を排出可能な部分であって、第1容器480aの長手方向の略中央でかつ凹部480kのもっとも低い位置に設けられている。また第1排出開口480cは、第1容器480aの表面から外部に接続され、液体が通過可能な通路である。ここで、第1排出開口480cの凹部480k側の端部は凹部480kとの間に段差が形成されないように精度良く位置決めされている。噴出開口480dは、第1容器480aの長手方向に等間隔に並んで配置されており、液体現像剤を電極ローラ482に向かって噴出可能な部分である。また、各噴出開口480dは第1液体搬送通路480iに接続されている。第1液体搬送通路480iは、各噴出開口480dに液体現像剤を搬送するための通路であって、第1容器480aの長手方向に沿って設けられている。供給口480fは、第1容器480aの凹部480kに液体現像剤を供給するための部分であって、第1液体搬送通路480iに接続されている。
第2容器480bは、第1容器480aに着脱可能であって、電極ローラ482に対して配置した際に電極ローラ482に沿うように湾曲した凹部481kが形成されており、第1容器480aに接続した状態では、第1容器480aとともに電極ローラ482の約75%を覆うようになっている。このように液体収容容器480は電極ローラ482の大半を覆う形状であり上述のように電極ローラ482と液体収容容器480の間隔が0.5mmと微小であるため、液体収容容器480が一体構成であると電極ローラ482からそのまま取り外すのは困難である。また、第2容器480bは、図21、図24、図25及び図26に示すように、第2排出開口480eと、第2液体搬送通路480gと、第2排出口480hと、を備えている。また、第2容器480bには、第1容器480aの第1着脱部480mに着脱可能な第2着脱部480nが設けられている。第2排出開口480eは、液体現像剤や抽出されたキャリア液を排出可能な部分であって、第2容器480bの長手方向に等間隔に並べて配置されている。また、第2液体搬送通路480gは、第2排出開口480eから回収された液体現像剤やキャリア液を第2排出口480hに搬送するための部分であって、第2容器480bの長手方向に沿って設けられている。第2排出口480hは、第2液体搬送通路480gの液体現像剤やキャリア液を外部に排出するための部分であって、第2液体搬送通路480gの長手方向略中央部分に設けられている。第2液体搬送通路は第1液体搬送通路480iと同様の構成を有している。
シール部材480jは、第1容器480aと第2容器480bとの着脱部480m、480nから外部に液体現像剤やキャリア液が漏れるのを防止するための部材であって、セルポリマーによって形成された部材である。また、シール部材480jは、第1着脱部480mと第2着脱部480nとの間に配置されており、第1容器480a側に接着され、弾性変形させられた状態で配置されている。
堰止ローラ483は、電極ローラ482に当接するように配置された弾性部材製(具体的にはSUS製のパイプに表面を導電処理したウレタンゴムを被せた構成)のローラであって、電極ローラ482側に堰止ローラ付勢機構487(図28参照)によって付勢されることによって弾性変形させられている。さらに、堰止ローラ483の軸方向両端には堰止ローラ483に対して相対回転可能なプーリ483aが配置されている。なお、電極ローラ482と堰止ローラ483の間にはトナーが堰止ローラ483から電極ローラ482へ移動するような電界が生じるように、電極ローラ482はマイナス500V、堰止ローラ483にはプラス500Vが印加されている。同様に、電極ローラ482と液体収容容器480の間にはトナーが液体収容容器480から電極ローラ482へ移動するような電界が生じるように、液体収容容器480にもプラス500Vが印加されている。
クリーニング部材としてのブレード部材484は、電極ローラ482と堰止ローラ483とが接触している位置に対して電極ローラ482の回転方向下流側でかつ噴出開口480dが第1容器480aに開口する位置の上流側において電極ローラ482に接触するように配置されており、電極ローラ482の回転軸482aが延びる方向に延びる板状の部材である。
電圧印加装置285は、第1実施形態と同様のものであり、液体収容容器480と、電極ローラ482と、堰止ローラ483とに電圧を印加可能なように接続されている。
液体移動防止部486は、図28に示すように、堰止ローラ483及び電極ローラ482の軸方向両端部に配置された部材であって、堰止ローラ483の軸が配置可能な円形の孔と、電極ローラ482の曲率と同じ曲率を有する部分と、を有している。
堰止ローラ付勢機構487は、堰止ローラ483を電極ローラ482側に付勢するための機構であって、図29に示すように、一端が図示しない外枠に固定された第1コイルスプリング487aと、第1コイルスプリング487aの他端に配置され、堰止ローラ483の軸を支持可能なローラ軸支持部材487bとを有している。このために、堰止ローラ483の軸がローラ軸支持部材487bを介して第1コイルスプリング487aによって付勢されている。
第1容器付勢機構488は、第1容器480aを電極ローラ482が配置されている側、すなわち図20の上側に付勢する為の機構であって、第1容器480aの下側に配置されている。第1容器付勢機構488は、図20及び図29に示すように、第1接触部材488aと、第2コイルスプリング488bと、スプリング支持部材488cとを備えている。第1接触部材488aは、第1容器480aに接触する部分であって、第1容器480aの長手方向両端の近傍にそれぞれ設けられている。また、第1接触部材488aは、円板状の部材であって、第2コイルスプリング488bの一端に接続されている。第2コイルスプリング488bは、第1接触部材488aを電極ローラ482側に付勢するための部材であって、他端がスプリング支持部材488cに接続されている。
第2容器付勢機構489は、第2容器480bを第1容器480a側、すなわち図20の下側に付勢するための機構であって、第2容器480bの上側に配置されている。また第2容器付勢機構489は、第2容器480bに接触する第2接触部分489aと、第2接触部分489aを付勢する付勢部材(図示せず)とを有している。
次に、液体現像剤分離抽出装置400におけるトナーとキャリア液との分離動作について説明する。
まず、残留現像剤回収容器279(図2参照)に回収された残留現像剤は所定量毎にポンプP9(図2参照)によって液体現像剤分離抽出装置400に搬送される。このとき、電極ローラ482と堰止ローラ483は回転を開始し、さらに電圧印加装置285によって、液体収容容器480、堰止ローラ483と電極ローラ482にはそれぞれ、電圧が印加されている。これにより、液体収容容器480及び堰止ローラ483と電極ローラ482の間にはトナーが電極ローラの方向に移動するような電界が生じる。このために、液体収容容器480内に収容された液体現像剤のうち帯電電荷を有するトナーは電極ローラ482側に移動し、帯電電荷を有さないキャリア液は液体収容容器480側に残留する。電極ローラ482の回転に伴って、液体現像剤が電極ローラ482と堰止ローラ483との接触部分に搬送される。そして、トナーが電極ローラ482に電気的に引き寄せられるとともに堰止ローラ483にトナーと同じ帯電極性の電圧が印加されていることによって堰止ローラ483から電気的な反発力を受け堰止ローラ483に対して離れる方向、すなわち電極ローラ482側に電気的に付勢される。液体収容容器480にもトナーと同じ帯電極性の電圧が印加されていることによってトナーは液体収容容器480から電気的な反発力を受け電極ローラ482側に電気的に付勢される。このような電圧の印加によって堰止ローラ483と液体収容容器480にトナーが付着するのが妨げられる。このようにしてトナーは電極ローラ482に電気的に付着し、このために電極ローラ482と堰止ローラ483との間を電極ローラ482に付着しているトナーが通過する。そして、電極ローラ482に付着しているトナーは、ブレード部材484によって掻き取られる。ここで、トナーは廃棄されるが、再利用しても良い。そして、キャリア液濃度測定装置81(図2参照)によって液体収容容器480内のキャリア液中に残留したトナーの濃度が所定値以下になったことが確認されると、電極ローラ482と堰止ローラ483の回転が停止し、ポンプ10(図2参照)によって抽出されたキャリア液は第1排出開口480c及び第2排出開口480eから排出され、キャリアタンク274(図2参照)に搬送される。なお、電極ローラ482と堰止ローラ483の回転は数rpm程度の低速のため回転させた状態でキャリア液を回収しても大きな支障はない。
なお、メンテナンスなどの際には、第1容器付勢機構488又は第2容器付勢機構489による付勢を解除し、液体収容容器480の第1容器480aと第2容器480bとの接続を解除する。この後、液体収容容器480を電極ローラ482から取り外す。
ここでは、液体収容容器480が第1容器480aと第2容器480bとに分割可能な構成であるため、電極ローラ482と液体収容容器480の間隔が0.5mmと非常に狭く、さらに液体収容容器480が電極ローラ482の大半を覆うような構造であるにもかかわらず、電極ローラ482のメンテナンスの際に液体収容容器480を電極ローラ482から取り外しやすくなり、液体収容容器480を電極ローラ482に配置する際に取り付けやすくなる。また、第1容器480aの第1着脱部480mと第2容器480bの第2着脱部480nとの間にシール部材480jが配置されているために、液体収容容器480の内部から外部に液体現像剤が漏れるのを防止できる。さらに、第1着脱部480m及び第2着脱部480nが略水平に設けられているために、液体現像剤が漏れにくい。
<他の実施形態>
(a)クリーニング部材として上記実施形態ではブレード部材を用いたが、クリーニングロール、クリーニングブラシ等電極ローラに付着したトナーを除去しえる部材であれば他の部材であってもよい。
(b)また、上記実施形態では、分散質としてトナーを用い分散媒としてキャリア液を用いたが、本発明はこれに限らずに、分散質及び分散媒に他の物質、例えば分散質として顔料を用い、分散媒として水分を用いても良い。
(c)上記実施形態では、軸支持部材282cの外周面に突起部282fを設けたが、本発明はこれに限らず、液体収容容器281の軸支持部材282cに対応した面に突出部を設けるようにしても良い。
(d)上記実施形態では、第1排出開口380cは単一であるが、第2排出開口380eのように電極ローラ382の軸方向に多数設けてもよい。
(e)噴出開口380dはクリーニングブレードの位置から見て第1容器380aの電極ローラ382の回転方向最上流位置に設けたが、配置は適宜でよく、第1排出開口380cと第2排出開口380eの間に設けるなどしてもよい。
(f)液体現像剤分離抽出装置28への液体現像剤の供給は電極ローラ282の外部への露出部の表面へ液体現像剤を直接供給しても良い。
(g)上記実施形態では、シール部材480jとしてセルポリマーを用いたが、本発明はこれに限らずに、他の物質、例えばゴムなどを用いても良い。
(h)さらに上記実施形態では、第1容器付勢機構488と第2容器付勢機構489とを設け、第1容器480aを電極ローラ282側に付勢すると共に第2容器480bを第1容器480a側に付勢したが、これに限られずに、第1容器480a又は第2容器480bのいずれか一方の移動を規制し、第1容器480a又は第2容器480bのいずれか他方を一方側に付勢するようにしても良い。
カラープリンタの全体概略図。 残留現像剤の循環装置の全体概略図。 第1実施形態に係る液体現像剤分離抽出装置の全体断面図。 第1実施形態に係る液体現像剤分離抽出装置の全体断面図。 第1容器の全体斜視図。 電極ローラを示す図。 第1実施形態に係る液体現像剤分離抽出装置の断面図。 図7の部分拡大図。 電極ローラ及び堰止ローラの一端側を示す図。 第2実施形態に係る液体現像剤分離抽出装置の全体断面図。 第2実施形態に係る液体現像剤分離抽出装置の全体断面図。 第1容器の全体斜視図。 第1容器の底面側を示す図。 第1容器の部分断面図。 第2容器を示す図。 第2容器の第2排出口を示す図。 第2容器の断面図。 電極ローラを示す図。 電極ローラ及び堰止ローラの一端側を示す図。 第3実施形態に係る液体現像剤分離抽出装置の全体断面図。 液体収容容器を第1容器と第2容器とに分離した状態の全体断面図。 第1容器の全体斜視図。 第1容器の部分断面図。 第2容器を示す図。 第2容器の第2排出口を示す図。 第2容器の断面図。 電極ローラを示す図。 電極ローラ及び堰止ローラの一端側を示す図。 第3実施形態に係る液体現像剤分離抽出装置の全体斜視図。
符号の説明
1 カラープリンタ(画像形成装置)
28,300,400 液体現像剤分離抽出装置(液体試料分離抽出装置)
281,380,480 液体収容容器
281a,380a,480a 第1容器
281b,380b,480b 第2容器
380c,480c 第1排出開口(第1液体試料排出開口)
281p,380d,480d 噴出口、噴出開口(第1液体試料供給開口)
380e、480e 第2排出開口(第2液体試料排出開口)
281r,380f,380f 供給口(液体試料供給口)
380i,480i 第1液体搬送通路
282,382,482 電極ローラ
283,383,483 堰止ローラ
284,384,484 ブレード部材(クリーニング部材)

Claims (6)

  1. 分散質及び分散媒を含む液体試料から前記分散質と前記分散媒とを分離し、前記分散質及び前記分散媒を抽出する液体試料分離抽出装置であって、
    前記分散質を引き寄せるように電圧が印可された電極ローラと、
    前記電極ローラに当接し、前記分散媒を堰き止める堰止ローラと、
    前記電極ローラと前記堰止ローラとが接触している位置を通過した分散質を掻き取るクリーニング部材と、
    前記電極ローラと所定間隔をおいて対面するように配置され、その最下部近傍に配置された第1液体試料排出開口と、液体試料を内部に供給可能な第1液体試料供給開口と、を有し、前記液体試料を収容可能な液体収容容器と、を備え
    前記液体収容容器は、
    前記第1液体試料供給開口を有する第1容器と、
    前記第1容器に着脱可能であって、第2液体試料排出開口を有する第2容器と、を有している
    液体試料分離抽出装置。
  2. 前記液体収容容器は、複数の前記第1液体試料供給開口をさらに有している、
    請求項に記載の液体試料分離抽出装置。
  3. 前記液体収容容器は、それぞれの前記第1液体試料供給開口に接続されており前記電極ローラの軸方向に延びるように配置された第1液体搬送通路をさらに有する、
    請求項に記載の液体試料分離抽出装置。
  4. 前記液体収容容器は、前記第1液体搬送通路に液体試料を供給可能な液体試料供給口を有する、
    請求項に記載の液体試料分離抽出装置。
  5. 前記第2液体試料排出開口は前記電極ローラと前記堰止ローラとが接触している部分の近傍に配置されている、請求項1から4のいずれかに記載の液体試料分離抽出装置。
  6. 請求項1から5のいずれかに記載の液体試料分離抽出装置を備える
    画像形成装置。
JP2008019815A 2007-01-30 2008-01-30 液体試料分離抽出装置 Expired - Fee Related JP5055152B2 (ja)

Priority Applications (1)

Application Number Priority Date Filing Date Title
JP2008019815A JP5055152B2 (ja) 2007-01-30 2008-01-30 液体試料分離抽出装置

Applications Claiming Priority (9)

Application Number Priority Date Filing Date Title
JP2007019608 2007-01-30
JP2007019607 2007-01-30
JP2007019608 2007-01-30
JP2007019607 2007-01-30
JP2007046898 2007-02-27
JP2007046898 2007-02-27
JP2007048450 2007-02-28
JP2007048450 2007-02-28
JP2008019815A JP5055152B2 (ja) 2007-01-30 2008-01-30 液体試料分離抽出装置

Publications (2)

Publication Number Publication Date
JP2008242436A JP2008242436A (ja) 2008-10-09
JP5055152B2 true JP5055152B2 (ja) 2012-10-24

Family

ID=39913799

Family Applications (4)

Application Number Title Priority Date Filing Date
JP2008015433A Expired - Fee Related JP5055148B2 (ja) 2007-01-30 2008-01-25 液体試料分離抽出装置および画像形成装置
JP2008015432A Expired - Fee Related JP5055147B2 (ja) 2007-01-30 2008-01-25 液体試料分離抽出装置および画像形成装置
JP2008019814A Expired - Fee Related JP5130067B2 (ja) 2007-01-30 2008-01-30 液体試料分離抽出装置及び画像形成装置
JP2008019815A Expired - Fee Related JP5055152B2 (ja) 2007-01-30 2008-01-30 液体試料分離抽出装置

Family Applications Before (3)

Application Number Title Priority Date Filing Date
JP2008015433A Expired - Fee Related JP5055148B2 (ja) 2007-01-30 2008-01-25 液体試料分離抽出装置および画像形成装置
JP2008015432A Expired - Fee Related JP5055147B2 (ja) 2007-01-30 2008-01-25 液体試料分離抽出装置および画像形成装置
JP2008019814A Expired - Fee Related JP5130067B2 (ja) 2007-01-30 2008-01-30 液体試料分離抽出装置及び画像形成装置

Country Status (1)

Country Link
JP (4) JP5055148B2 (ja)

Families Citing this family (13)

* Cited by examiner, † Cited by third party
Publication number Priority date Publication date Assignee Title
JP5495714B2 (ja) * 2009-10-28 2014-05-21 京セラドキュメントソリューションズ株式会社 抽出装置及びこれが適用された画像形成装置
JP5417122B2 (ja) * 2009-10-28 2014-02-12 京セラドキュメントソリューションズ株式会社 抽出装置及びこれが適用された画像形成装置
JP5277139B2 (ja) * 2009-10-29 2013-08-28 京セラドキュメントソリューションズ株式会社 抽出装置及び該抽出装置が組み込まれた画像形成装置
JP5439220B2 (ja) * 2010-02-19 2014-03-12 京セラドキュメントソリューションズ株式会社 画像形成装置
WO2012105938A1 (en) * 2011-01-31 2012-08-09 Hewlett-Packard Development Company, L.P. Printing systems utilizing inks with high solids content
DE102016103225A1 (de) 2015-03-11 2016-09-15 Panasonic Intellectual Property Management Co., Ltd. Beleuchtungsvorrichtung und mobiles Objekt beinhaltend dieselbe
JP6765850B2 (ja) * 2015-05-27 2020-10-07 キヤノン株式会社 分離装置
JP6566723B2 (ja) 2015-05-27 2019-08-28 キヤノン株式会社 画像形成装置
JP6537355B2 (ja) 2015-05-27 2019-07-03 キヤノン株式会社 画像形成装置
WO2016190449A1 (en) * 2015-05-27 2016-12-01 Canon Kabushiki Kaisha Separating device
JP7062541B2 (ja) * 2018-07-13 2022-05-06 キヤノン株式会社 分離装置
JP7130477B2 (ja) * 2018-07-13 2022-09-05 キヤノン株式会社 分離装置
JP7130478B2 (ja) * 2018-07-13 2022-09-05 キヤノン株式会社 分離装置

Family Cites Families (20)

* Cited by examiner, † Cited by third party
Publication number Priority date Publication date Assignee Title
JPS5297747A (en) * 1976-02-12 1977-08-16 Konishiroku Photo Ind Co Ltd Purifying means for washing liquid
JPS52120857U (ja) * 1976-03-10 1977-09-13
JPS6150974U (ja) * 1984-09-10 1986-04-05
JPS62209480A (ja) * 1986-03-10 1987-09-14 Fuji Photo Film Co Ltd 液体現像装置
US4907532A (en) * 1988-08-23 1990-03-13 Minnesota Mining And Manufacturing Company Endless belt development electrode for electrographic image
US4883018A (en) * 1988-10-28 1989-11-28 Xerox Corporation Liquid ink development system
US4985732A (en) * 1989-03-08 1991-01-15 Spectrum Sciences B.V. Electrostatic separator
JPH02262174A (ja) * 1989-03-31 1990-10-24 Brother Ind Ltd 液体現像装置の余剰現像液除去装置
JPH02276506A (ja) * 1989-04-17 1990-11-13 Iseki & Co Ltd 播種機の種子繰出装置
JPH0572907A (ja) * 1991-09-17 1993-03-26 Toppan Printing Co Ltd 電子写真方式による洗浄工程の洗浄液回収装置
JPH06118815A (ja) * 1992-10-02 1994-04-28 Fuji Photo Film Co Ltd 湿式電子写真製版機用定着装置
JPH08179613A (ja) * 1994-12-22 1996-07-12 Ricoh Co Ltd 画像形成装置用トナー容器および画像形成装置
JP3350384B2 (ja) * 1997-01-16 2002-11-25 松下電送システム株式会社 プロセスカートリッジ
JP3810517B2 (ja) * 1997-05-29 2006-08-16 株式会社クボタ 田植機の粉粒体繰出し装置
JP4152489B2 (ja) * 1998-06-29 2008-09-17 岡崎機械工業株式会社 密閉型の塗液槽を備えたロールコータ
JP2000238864A (ja) * 1999-02-24 2000-09-05 Ricoh Co Ltd 粉体充填容器
JP3861656B2 (ja) * 2001-10-29 2006-12-20 セイコーエプソン株式会社 トナー容器
JP3875577B2 (ja) * 2002-03-13 2007-01-31 株式会社Pfu キャリア液リサイクル装置
JP4085896B2 (ja) * 2003-06-25 2008-05-14 株式会社デンソー 車両用空調装置
JP4384884B2 (ja) * 2003-09-02 2009-12-16 株式会社Pfu キャリア液リサイクル装置

Also Published As

Publication number Publication date
JP5055148B2 (ja) 2012-10-24
JP5055147B2 (ja) 2012-10-24
JP2008242436A (ja) 2008-10-09
JP2008242434A (ja) 2008-10-09
JP2008242433A (ja) 2008-10-09
JP5130067B2 (ja) 2013-01-30
JP2008242435A (ja) 2008-10-09

Similar Documents

Publication Publication Date Title
JP5055152B2 (ja) 液体試料分離抽出装置
CN101308352B (zh) 液体分离装置和使用该装置的混合液体供给装置、图像形成装置
CN101256384B (zh) 液体分离装置、混合液体供给系统和图像形成装置
JP5222480B2 (ja) 液体試料分離抽出装置
JP2008268917A (ja) 液体現像剤循環装置および画像形成装置
JP2009183855A (ja) ろ過装置および画像形成装置
JP4991488B2 (ja) 画像形成装置
JP5495714B2 (ja) 抽出装置及びこれが適用された画像形成装置
US11086263B1 (en) Rotatable cleaning device for photoconductor drum that prevents spillage
US8521068B2 (en) Image forming apparatus using liquid developer
JP5156369B2 (ja) 画像形成装置
JP7086733B2 (ja) 現像装置及び分離抽出装置
JP5068101B2 (ja) 液体試料分離抽出装置及び画像形成装置
JP2008216282A (ja) 液体試料分離抽出装置
JP5277139B2 (ja) 抽出装置及び該抽出装置が組み込まれた画像形成装置
JP5058054B2 (ja) 画像形成装置及びそれを備えた画像形成装置
JP2009003236A (ja) 画像形成装置
JP3582178B2 (ja) 画像形成装置
KR100400019B1 (ko) 습식 전자사진방식 화상형성기기의 현상장치
JP2009180807A (ja) 回収タンク及びそれを備えた画像形成装置
JP5186283B2 (ja) 濃度検出装置および画像形成装置
JP5156360B2 (ja) 濃度検出装置および画像形成装置
JP5358480B2 (ja) 現像装置およびそれを備えた画像形成装置
JP5186282B2 (ja) 濃度検出装置および画像形成装置
JPH04116868U (ja) 電子写真装置

Legal Events

Date Code Title Description
RD03 Notification of appointment of power of attorney

Free format text: JAPANESE INTERMEDIATE CODE: A7423

Effective date: 20090911

RD04 Notification of resignation of power of attorney

Free format text: JAPANESE INTERMEDIATE CODE: A7424

Effective date: 20091009

A621 Written request for application examination

Free format text: JAPANESE INTERMEDIATE CODE: A621

Effective date: 20101021

A977 Report on retrieval

Free format text: JAPANESE INTERMEDIATE CODE: A971007

Effective date: 20120113

A131 Notification of reasons for refusal

Free format text: JAPANESE INTERMEDIATE CODE: A131

Effective date: 20120124

A521 Written amendment

Free format text: JAPANESE INTERMEDIATE CODE: A523

Effective date: 20120206

TRDD Decision of grant or rejection written
A01 Written decision to grant a patent or to grant a registration (utility model)

Free format text: JAPANESE INTERMEDIATE CODE: A01

Effective date: 20120703

A01 Written decision to grant a patent or to grant a registration (utility model)

Free format text: JAPANESE INTERMEDIATE CODE: A01

A61 First payment of annual fees (during grant procedure)

Free format text: JAPANESE INTERMEDIATE CODE: A61

Effective date: 20120730

R150 Certificate of patent or registration of utility model

Free format text: JAPANESE INTERMEDIATE CODE: R150

FPAY Renewal fee payment (event date is renewal date of database)

Free format text: PAYMENT UNTIL: 20150803

Year of fee payment: 3

LAPS Cancellation because of no payment of annual fees