JP5041925B2 - 撮像ユニット - Google Patents

撮像ユニット Download PDF

Info

Publication number
JP5041925B2
JP5041925B2 JP2007226622A JP2007226622A JP5041925B2 JP 5041925 B2 JP5041925 B2 JP 5041925B2 JP 2007226622 A JP2007226622 A JP 2007226622A JP 2007226622 A JP2007226622 A JP 2007226622A JP 5041925 B2 JP5041925 B2 JP 5041925B2
Authority
JP
Japan
Prior art keywords
prism
imaging unit
optical
solid
reflecting
Prior art date
Legal status (The legal status is an assumption and is not a legal conclusion. Google has not performed a legal analysis and makes no representation as to the accuracy of the status listed.)
Active
Application number
JP2007226622A
Other languages
English (en)
Other versions
JP2009058807A (ja
Inventor
裕之 永水
寛 雲財
Current Assignee (The listed assignees may be inaccurate. Google has not performed a legal analysis and makes no representation or warranty as to the accuracy of the list.)
Olympus Medical Systems Corp
Original Assignee
Olympus Medical Systems Corp
Priority date (The priority date is an assumption and is not a legal conclusion. Google has not performed a legal analysis and makes no representation as to the accuracy of the date listed.)
Filing date
Publication date
Application filed by Olympus Medical Systems Corp filed Critical Olympus Medical Systems Corp
Priority to JP2007226622A priority Critical patent/JP5041925B2/ja
Priority to EP08013339A priority patent/EP2031430B1/en
Priority to US12/182,598 priority patent/US8419616B2/en
Publication of JP2009058807A publication Critical patent/JP2009058807A/ja
Application granted granted Critical
Publication of JP5041925B2 publication Critical patent/JP5041925B2/ja
Active legal-status Critical Current
Anticipated expiration legal-status Critical

Links

Images

Classifications

    • GPHYSICS
    • G02OPTICS
    • G02BOPTICAL ELEMENTS, SYSTEMS OR APPARATUS
    • G02B23/00Telescopes, e.g. binoculars; Periscopes; Instruments for viewing the inside of hollow bodies; Viewfinders; Optical aiming or sighting devices
    • G02B23/24Instruments or systems for viewing the inside of hollow bodies, e.g. fibrescopes
    • G02B23/2407Optical details
    • G02B23/2423Optical details of the distal end
    • AHUMAN NECESSITIES
    • A61MEDICAL OR VETERINARY SCIENCE; HYGIENE
    • A61BDIAGNOSIS; SURGERY; IDENTIFICATION
    • A61B1/00Instruments for performing medical examinations of the interior of cavities or tubes of the body by visual or photographical inspection, e.g. endoscopes; Illuminating arrangements therefor
    • A61B1/00064Constructional details of the endoscope body
    • A61B1/00071Insertion part of the endoscope body
    • A61B1/0008Insertion part of the endoscope body characterised by distal tip features
    • A61B1/00096Optical elements
    • AHUMAN NECESSITIES
    • A61MEDICAL OR VETERINARY SCIENCE; HYGIENE
    • A61BDIAGNOSIS; SURGERY; IDENTIFICATION
    • A61B1/00Instruments for performing medical examinations of the interior of cavities or tubes of the body by visual or photographical inspection, e.g. endoscopes; Illuminating arrangements therefor
    • A61B1/00064Constructional details of the endoscope body
    • A61B1/0011Manufacturing of endoscope parts
    • AHUMAN NECESSITIES
    • A61MEDICAL OR VETERINARY SCIENCE; HYGIENE
    • A61BDIAGNOSIS; SURGERY; IDENTIFICATION
    • A61B1/00Instruments for performing medical examinations of the interior of cavities or tubes of the body by visual or photographical inspection, e.g. endoscopes; Illuminating arrangements therefor
    • A61B1/04Instruments for performing medical examinations of the interior of cavities or tubes of the body by visual or photographical inspection, e.g. endoscopes; Illuminating arrangements therefor combined with photographic or television appliances
    • A61B1/05Instruments for performing medical examinations of the interior of cavities or tubes of the body by visual or photographical inspection, e.g. endoscopes; Illuminating arrangements therefor combined with photographic or television appliances characterised by the image sensor, e.g. camera, being in the distal end portion
    • A61B1/051Details of CCD assembly
    • GPHYSICS
    • G02OPTICS
    • G02BOPTICAL ELEMENTS, SYSTEMS OR APPARATUS
    • G02B23/00Telescopes, e.g. binoculars; Periscopes; Instruments for viewing the inside of hollow bodies; Viewfinders; Optical aiming or sighting devices
    • G02B23/24Instruments or systems for viewing the inside of hollow bodies, e.g. fibrescopes
    • G02B23/2476Non-optical details, e.g. housings, mountings, supports
    • G02B23/2484Arrangements in relation to a camera or imaging device

Landscapes

  • Health & Medical Sciences (AREA)
  • Life Sciences & Earth Sciences (AREA)
  • Surgery (AREA)
  • Physics & Mathematics (AREA)
  • Optics & Photonics (AREA)
  • Engineering & Computer Science (AREA)
  • Heart & Thoracic Surgery (AREA)
  • Veterinary Medicine (AREA)
  • Pathology (AREA)
  • Radiology & Medical Imaging (AREA)
  • Biophysics (AREA)
  • Nuclear Medicine, Radiotherapy & Molecular Imaging (AREA)
  • Biomedical Technology (AREA)
  • Public Health (AREA)
  • Medical Informatics (AREA)
  • Molecular Biology (AREA)
  • Animal Behavior & Ethology (AREA)
  • General Health & Medical Sciences (AREA)
  • General Physics & Mathematics (AREA)
  • Astronomy & Astrophysics (AREA)
  • Manufacturing & Machinery (AREA)
  • Endoscopes (AREA)
  • Instruments For Viewing The Inside Of Hollow Bodies (AREA)

Description

本発明は、撮像ユニットに関し、特に、内視鏡の先端部に配置される撮影光を屈折反射する光学反射部材を備えた撮像ユニットに関する。
近年、内視鏡は、医療用分野及び工業用分野で広く用いられるようになった。また、このような内視鏡の中には、イメージファイバを用いて観察像を接眼レンズにて観察する従来からのファイバースコープ型の内視鏡、或いは内視鏡先端部、内視鏡操作部などに固体撮像素子を配して、モニタに観察画像を表示させる電子内視鏡がある。
従来の電子内視鏡には、例えば、特許文献1、及び特許文献2に開示されるように、細形化のため、先端部内のスペースを有効利用するため、撮影光をプリズムにて略直交する方向へ屈折反射させて、先端部の長手軸に沿った平行な位置にて撮影光を結像する固体撮像素子の受光面を配置する構造が用いられているものがある。
これら従来の撮像ユニットは、2つのプリズムの反射面が形成された斜面に当接、或いは固着された補強部材、或いはプリズム保持台が配設されている。これら従来の撮像ユニットは、補強部材、或いはプリズム保持台が内視鏡の先端部にビス固定されることで、内視鏡の先端部に固定配置されている。
特開昭61−254917号公報 特開平4−317622号公報
しかしながら、従来の内視鏡の先端部構造では、製造時に撮像ユニットのプリズムが撮影光を屈折反射する反射面が露出した状態で組みつけられる。
このように、プリズムの反射面が露出した状態で、先端部に撮像ユニットを製造時、或いはメンテナンス時における組み付け作業の際、この反射面に傷が付かないように、慎重に組み付ける必要があり、組み付け時間を要する等の問題が生じていた。また、プリズム自体は、ガラス材により形成されている構成が殆どであり、製造時、或いはメンテナンス時の組み付け過程の際、他の部品に接触等して欠損してしまうという虞もある。
さらに、内視鏡等の医療装置は、医療機器特有の滅菌処理(オートクレーブ処理)の際、急遽な高低差のある温度差環境に晒される。このとき、プリズムと、その反射面に面接合させている従来の上記補強部材、或いは上記プリズム保持台との膨張度合いが異なるため、プリズムの反射面に不要な負荷がかかり、時には、接合面が剥離等して損傷して、プリズムの光学性能に支障をきたす虞がある。
また、従来の上記補強部材、或いは上記プリズム保持台は、固定ネジにより、内視鏡の先端部に固定されており、この固定ネジの締付け度合いにより、プリズムとの接合面に不要な負荷がかかり、プリズムの反射面に傷を付けたり、破損したりする虞がある。
そこで、本発明は、上述の事情に鑑みてなされたものであり、その目的とするところは、撮影光を屈折反射させる光学部品を備えた電子内視鏡において、この光学部品を含む撮像ユニットの組み付け性を向上させると共に、多様な環境下においても、光学部品が損傷を防止する撮像ユニットを実現することである。
上記目的を達成するために本発明による一態様の撮像ユニットは、光学反射部材の反射面に屈折反射された撮影光を受光する受光部が配された撮像素子を備え、上記撮影光が上記反射面により上記受光部に屈折入射する該反射面内の少なくとも有効反射面の領域を面接合して保護し、上記光学反射部材と接合された状態において、上記反射面の輪郭に沿った上記光学反射部材の周囲の面と同一面内の連続した面を有して上記光学反射部材と周囲の外形状が同一形状とし、上記光学反射部材の下面と平行な上面および上記光学反射部材の前面と平行な後面を備えた保護部材を具備する
本発明によれば、撮影光を屈折反射させる光学部品を備えた電子内視鏡において、この光学部品を含む撮像ユニットの組み付け性を向上させると共に、多様な環境下においても、光学部品が損傷を防止する撮像ユニットを実現することができる。
以下、図面を参照して本発明の実施の形態を説明する。尚、本発明の実施の形態においては、体腔内に挿入して、生体組織を観察する医療装置である内視鏡装置を用いて、以下に説明する。
(第1の実施の形態)
先ず、図1から図8を用いて、第1の実施の形態の撮像ユニットについて説明する。
図1から図8は、第1の実施の形態に係り、図1は電子内視鏡システムの構成を示す図、図2は電子内視鏡の先端部の断面図、図3は図2のIII−III線に沿った電子内視鏡の先端部の断面図、図4は撮像ユニットの分解斜視図、図5は図4から組み付け後の撮像ユニットの一部を後方右側から見た斜視図、図6は撮像ユニットの正面図、図7は断面により図示されたユニット保持枠、及び補強枠内に固着された撮像ユニットの一部を示す上面図、図8は断面により図示されたユニット保持枠、及び補強枠内に固着された撮像ユニットの一部を示す右側面図である。
図1に示すように、電子内視鏡システム1は、電子内視鏡(以下、単に内視鏡という)2と、光源装置3と、ビデオプロセッサ4と、モニタ5と、によって構成されている。
本実施の形態の内視鏡2は、細長な挿入部6と、この挿入部6の基端に連設された操作部7と、を有している。この内視鏡2の挿入部6は、先端に設けられた先端部8と、この先端部8の基端側に設けられ、複数の湾曲駒にて構成した湾曲自在の湾曲部9と、この湾曲部9の基端側に設けられた長尺で可撓性を有する可撓管部10と、を有している。
先端部8には、後述する撮像装置が内蔵されている。この撮像装置は、上記先端部8に配設される対物光学系により結像された光学像を光電変換するCCD、CMOS等の撮像素子を有している。
そして、内視鏡2は、操作部7の側部より、後述するライトガイドバンドル等の照明光伝達手段等が内挿されたユニバーサルコード15が延出している。このユニバーサルコード15は、端部に設けられたライトガイドコネクタ16を介して光源装置3と着脱自在に接続される。
また、内視鏡2は、ライトガイドコネクタ16の側部より延出する信号ケーブルであるスコープケーブル17の端部に設けられた電気コネクタ18を介してビデオプロセッサ4と着脱自在に接続される。尚、ビデオプロセッサ4は、図示しないVTRデッキ、ビデオプリンタ、ビデオディスク等の周辺機器が接続自在である。
操作部7には、ここでは2つの略円盤状の湾曲操作ノブ11が設けられている。これら湾曲操作ノブ11は、回動操作されることにより、湾曲部9が4方向、或いは2方向へ湾曲する構成となっている。また、操作部7には、複数のスイッチ12,13が配設されている。これらのスイッチ12,13は、所定の内視鏡機能を実行する際に操作されるものである。
また、操作部7は、先端近傍の側部に、生検鉗子、レーザープローブ等の処置具を挿入する処置具挿入口14が設けられている。処置具挿入口14に処置具が挿入された内視鏡2は、内部に配設された処置具挿通用チャンネルを経て処置具の先端処置部を突出させ、例えば、処置具の1つである生検鉗子により患部組織を採取する生検等を行うことができる。
本実施の形態の光源装置3は、ハロゲンランプなどが内蔵され、このハロゲンランプからの光を接続された内視鏡2へ照明光として供給するための装置である。
また、ビデオプロセッサ4は、上述の先端部8内に設けられる撮像装置に電源を供給し、撮像装置の撮像素子から光電変換された映像信号が入力される装置である。すなわち、ビデオプロセッサ4は、撮像素子で撮像された映像信号の信号処理、撮像素子のゲインの調整などの制御、及び駆動を行う駆動信号の出力を行う。
モニタ5は、接続されるビデオプロセッサ4から出力された映像信号を受けて内視鏡画像を表示するためのものである。本実施の形態のモニタ5には、電子的なマスクがかけられる四隅が切り取られた8角形状の内視鏡画像がモニタ画面5aに表示される構成となっている。
次に、本実施の形態の内視鏡2の先端部8の構造について図2から図8を用いて詳しく説明する。
先ず、図2に示すように、内視鏡2の先端部8は、合成樹脂などから形成された先端カバー22が被覆され、内部に複数の孔部が形成された略円柱状の金属性の先端部本体を構成する先端枠21が配設されている。
この先端枠21内には、処置具挿通用チャンネル24の先端部分を構成しているチャンネル管路23と、光源装置3(図1参照)からの照明光を伝送するライトガイドバンドル27と、撮像ユニット30と、が嵌挿配置されている。
チャンネル管路23は、図示しないが先端部8の先端面にて開口しており、処置具挿通用チャンネル24が操作部7の処置具挿入口14(図1参照)まで連通した構成となっている。
ライトガイドバンドル27は、先端部8内において、金属性のライトガイド保持管26内に配設されると共に、このライトガイド保持管26の周囲からライトガイドコネクタ16(図1参照)まで軟性チューブ25内に配設されている。
尚、チャンネル管路23、及びライトガイド保持管26は、先端枠21に図示しないビス等により固定されている。
次に、先端部8内に配設される撮像ユニット30について説明する。
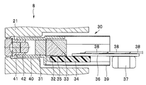
図3に示すように、撮像ユニット30は、対物レンズ群41と、これら対物レンズ群41を保持するレンズ保持枠42と、このレンズ保持枠42に外嵌固定されたユニット保持枠40と、カバーガラス31と、このカバーガラス31の後面と前面が接合された光学反射部材であるプリズム32と、このプリズム32の反射面に接合された保護部材33と、プリズム32の、図3では下面に接合された固体撮像素子34と、電子部品37等が実装され、固体撮像素子34に電気的に接続された基板36と、によって主に構成されている。
レンズ保持枠42は、先端枠21に嵌合固定されており、基端外周部分にユニット保持枠40が外挿固定されている。ユニット保持枠40は、基端側内部にカバーガラス31が挿設され、プリズム32、保護部材33、及び固体撮像素子34を略内包している。
ユニット保持枠40の基端部分外周には、内包されるプリズム32、保護部材33、及び固体撮像素子34の周囲を覆う補強枠部材39の先端部分が外嵌固定されている。この補強枠部材39は、断面8角形の金属性の筒部材である(図2参照)。
尚、本実施の形態の固体撮像素子34は、撮影光を光電変換するCMOS、CCD等のイメージセンサが用いられ、プリズム32により反射された撮影光を受光する受光部35を有している。この受光部35は、図3では、プリズム32の下面に対向する固体撮像素子34の上面に位置している。
また、固体撮像素子34には、図1に示した、ユニバーサルコード15のライトガイドコネクタ16まで、挿通配置された撮像信号通信ケーブル38の一端が電気的に接続されている。すなわち、固体撮像素子34の受光部35に入射された撮影光から光電変換された撮像信号は、撮像信号通信ケーブル38を介して、ライトガイドコネクタ16に伝送され、スコープケーブル17の電気コネクタ18を介してビデオプロセッサ4に出力される。そして、この撮像信号は、ビデオプロセッサ4によって、映像処理が施されて、モニタ5のモニタ画面5aに内視鏡画像として表示される。
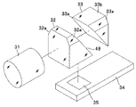
ここで、図4、及び図5を用いて、カバーガラス31、プリズム32、及び保護部材33の構成と、これら互いを接合した後、固体撮像素子34へ所定の位置へ接合する構成について詳しく説明する。
図4に示すように、カバーガラス31は、略円柱形状をしており、その後面がプリズム32の前面に接着される。
プリズム32は、後面が斜面となって内部に導光された撮影光を下方へ屈折させる反射面48を有し、上部側の両側角部が切り欠いた面取り部であるテーパ面32aが形成されている。
保護部材33は、本実施の形態において、プリズム32と同一材質、或は同様な線膨張係数(熱膨張係数)の光透過性のある透明なガラス部材から形成されている。この保護部材33は、前面がプリズム32の反射面48と面接合できるように同一な角度に斜面形成され、プリズム32のテーパ面32aと同一面内にある上部側の両側角部が切り欠いた面取り部であるテーパ面33aが形成されている。
これらテーパ面32a,33aは、周囲を所定の距離だけ離間して覆うユニット保持枠40、及び補強枠部材39の形状に合わせられたものであり、先端部8の先端枠21内への撮像ユニット30の設置スペースを小さくして、限られたスペース内に効率良く他の部品を配列させるため、プリズム32と保護部材33の撮影光に対して光学的に不要とされる上部側の2つの角部分を削り取って構成したものである。
尚、この保護部材33は、プリズム32の上面、下面、側面、及びテーパ面32aにて構成される側部側の全ての面に対応する夫々の面、及び端部分(上面、下端部、側面、及びテーパ面33a)が同一面内、つまり、段差の無い連続した面となる形状が設定されている。すなわち、プリズム32と保護部材33は、反射面48にて接合された上下側部全ての周囲形状が同一となる1つのブロック体を構成している。
尚、保護部材33は、プリズム32の反射面48に接合される斜面である接合面が後面部33cまで形成されているため、下面を有しておらず、プリズム32の下面と同一面内に一致して配置された部分が接合面と後面部33cにより形成された下端部となる。
また、本実施の形態の保護部材33は、図4、及び図5に示すように、接合されたプリズム32の上面と同一面内の上面部33bが設定されると共に、プリズム32の前面と平行な後面部33cが設定されている。
換言すると、保護部材33は、プリズム32の下面と略平行となり、このプリズム32の下面と接合される受光部35が配された固体撮像素子34の受光面と平行な面となる上面部33bを有している。さらに、保護部材33は、プリズム32の前面に接合されるカバーガラス31を介して、プリズム32へ入射される撮影物点からの撮影光軸Oに直交した面となる基端側の後面部33cを有している。
そして、これらカバーガラス31の後面とプリズム32の前面、及びプリズム32の反射面48と保護部材33の前面は、硬化時間が短い、例えば、紫外線硬化型接着剤、或いは紫外線硬化熱硬化併用型接着剤(以下、端にUV接着剤と略記する)により接合される。
すなわち、本実施の形態では、保護部材33が透明なガラス部材により形成されているため、プリズム32の不透明な反射面48と保護部材33との接着を接合面に塗布したUV接着剤に対し、透明な保護部材33を透過させて紫外線を照射することにより行える。尚、プリズム32と保護部材33とは、UV接着剤にて互いが接合された後、全体形状を所定の形状に切削加工するようにしても良い。
また、プリズム32と一体となって接合している、本実施の形態の保護部材33がプリズム32の前面に平行な後面部33cを有しているため、光学的な芯出しの際に、プリズム32側が把持し易くなり、カバーガラス31の後面とプリズム32の前面の接合における組み付け性が非常に良くなる利点がある。
尚、保護部材33は、好ましくは、プリズム32と同一材質となる同一の線膨張係数(熱膨張係数)で形成したほうが良いが、これに限定されること無く、不透明な材質、例えば、プリズム32の線膨張係数(熱膨張係数)に近似する合成樹脂、或いは金属でも良い。この場合、プリズム32と保護部材33の接合において、紫外線の照射が必要なUV接着剤を用いることができないため、熱硬化型接着剤が用いられる。
また、プリズム32は、反射面48によって屈折した撮影光が固体撮像素子34の受光部35の所定の位置で受光するように光学的な芯出しが行われ、位置決め接着固定される。つまり、このプリズム32の下面が、図5に示すように、固体撮像素子34上に、例えばUV接着剤により接合される。
このとき、本実施の形態では、プリズム32と一体的に接合された保護部材33がプリズム32の下面と平行な上面部33bを備えているため、プリズム32の下面と固体撮像素子の受光部35が配された面との接合において、光学的な芯出しの際に、プリズム32側が把持し易くなるため、押さえつけ易く、組み付け性が非常に良くなるという利点がある。
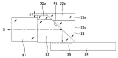
また、プリズム32の反射面48は、蒸着等により表面に付着させる薄膜であるミラー膜が形成されている。この反射面48により屈折反射された撮影光は、固体撮像素子34の受光部35で受光される。また、反射面48には、固体撮像素子34にて受光した撮影光が光電変換されて電子的マスクが施され、図1に示した、モニタ5のモニタ画面5aに表示する8角形の撮影範囲を有効的に反射する8角形の領域である、図6に示すような有効反射面45が設定されている。
さらに、本実施の形態では、プリズム32と固体撮像素子34との接合において、図5に示すように、プリズム32の前面の位置に対して、固体撮像素子34の前方側の端面の位置が所定の長さL1だけ後方に位置している。
以上説明したように夫々が接合されて組み付けられた、カバーガラス31、プリズム32、保護部材33、及び固体撮像素子34は、図7、及び図8に示すように、ユニット保持枠40に内包されるように後方から、先ず、カバーガラス31が挿嵌される。また、固体撮像素子34には、図7、及び図8には図示していないが、図3にて示した、電子部品37が実装され、撮像信号通信ケーブル38の素線が半田等により接合された基板36が電気的に接続される。
組みつけられたカバーガラス31、プリズム32、保護部材33、及び固体撮像素子34は、ユニット保持枠40への固定時において、プリズム32のカバーガラス31が接合されていない前面のプリズム側接合面51が、図7、及び図8に示す、ユニット保持枠40のカバーガラス31が挿嵌される基端部分に形成された段部の保持枠側接合面52に当接することにより位置決めされる。
本実施の形態においては、プリズム側接合面51と保持枠側接合面52とが例えば、UV接着剤により固着され、こうして、組みつけられたカバーガラス31、プリズム32、保護部材33、及び固体撮像素子34がユニット保持枠40へ固着される。
また、本実施の形態では、プリズム32の前面の位置に対して、固体撮像素子34の前方側の端面の位置が所定の長さL1だけ後方に位置しているため、固体撮像素子34がユニット保持枠40への接触が防止された構成となっている。これにより、固体撮像素子34は、金属性のユニット保持枠40との絶縁が保たれた構成となり、電気的な短絡が防止された状態で組み付けられる。
尚、ユニット保持枠40、及び補強枠部材39の内部に、プリズム32、保護部材33、及び固体撮像素子34の周囲に熱硬化型の充填材を設けても良い。
以上に説明したように、本実施の形態の電子内視鏡2の先端部8構造は、プリズム32の反射面48を露出させないように、保護部材33を反射面48全面と面接合させることで、撮像ユニット30の組み立て時、メンテナンス時などの際に反射面48が保護部材に覆われた状態となり直接に他の部品などに触れることが無いため、プリズム32の反射面48に傷が付いたり、欠けてしまったりという損傷を防止することができる。
さらに、本実施の形態の保護部材33は、プリズム32と同一のガラス材質等により形成することで、特に、使用前後に行われる高温高圧滅菌装置によるオートクレーブ処理される内視鏡2などの医療装置において、プリズム32との接着接合部分の剥離を抑制することができる。つまり、保護部材33は、プリズム32と同一、或いは近似した線膨張係数(熱膨張係数)の材質にて形成することで、常温から高温、高温から常温への膨張収縮度合いがプリズム32と略同じとなる。そのため、接着により接合されたプリズム32と保護部材33との接合面が剥離し難く、プリズム32の反射面48が損傷することが防止される。さらに、プリズム32と保護部材33は、固体撮像素子34と同一、或いは近似した熱膨張係数(線膨張係数)の材質にて形成することで、常温から高温、高温から常温への膨張収縮度合いが固体撮像素子34と略同じとなる。そのため、接着により接合されたプリズム32と固体撮像素子34との接合面が剥離し難く、撮像ユニット30が損傷することが防止される。
また、本実施の形態の保護部材33は、透明な材質にて形成することにより、プリズム32の反射面48との面接合において、UV接着剤を用いて固着することができる。これにより、互いの芯合わせ位置を特定した後、熱硬化型接着剤などよりも接合時の硬化時間が短縮され、夫々を保持している時間を短縮することができるため、プリズム32と保護部材33を短時間で固着させることができ、組み付け時の所定の光学性能を維持し易い構成となる。
さらに、互いが接合されたプリズム32と保護部材33は、反射面48にて接合された上下側部全ての周囲形状とプリズム32の周囲形状とが同一となった1つのブロック体となっており、特に、プリズム32の下面と平行な上面部33b、及びプリズム32の前面と平行な後面部33cを備えているため、把持し易い形状となると共に、接合する他の部品へ押さえ付け易い構成となっている。
また、プリズム32と保護部材33は、上面と両側面との角部にテーパ面32a,33aが形成されている。これにより、細形化が望まれている先端部8内の限られたスペース内に撮像ユニット30、及び他の内蔵部品を効率よく配置することができる。
尚、本実施の形態では、プリズム32の前面に対して、接合された固体撮像素子34の先端側の端面が長さL1で離間する位置で、プリズム32と固体撮像素子34が接合された構成により、固体撮像素子34がユニット保持枠40に干渉しないようにしている。そのため、固体撮像素子34は、他の金属部品(ユニット保持枠40)との絶縁性が保たれた状態で組みつけられている。
(第2の実施の形態)
次に、本発明の撮像ユニットにおける、第2の実施の形態について、図9〜図16を用いて、以下に詳しく説明する。尚、以下の説明において、上述した第1の実施の形態と同一の各種構成について、同じ符号を用いて、それらの詳しい説明を省略する。
また、図9〜図16は、本発明の第2の実施の形態に係り、図9は撮像ユニットの一部を示す上面図、図10は撮像ユニットの一部を示す右側面図、図11は組み付け後の撮像ユニットの一部を後方右側から見た斜視図、図12は断面により図示されたレンズ枠、及び補強枠内に固着された撮像ユニットの一部を示す正面図、図13は第1の変形例の撮像ユニットの一部を示す右側面図、図14は図13の矢視XIVに対応した撮像ユニットの後方を示す背面図、図15は第2の変形例の撮像ユニットの一部を示す右側面図、図16は断面により図示されたレンズ枠、及び補強枠内に固着された、図15の撮像ユニットの一部を示す正面図である。
本実施の形態では、プリズム32に接合される保護部材33の形状のみが第1の実施の形態と異なる構成となっている。
図9〜図11に示すように、本実施の形態の保護部材33は、プリズム32の上面、側面、及びテーパ面32aにて構成される固体撮像素子34に接合される下面を除いた側部側の面に対応する夫々の面(上面、側面、及びテーパ面33a)が長さd1だけ外形側に大きく設定されている。換言すると、保護部材33は、その下面がプリズム32の下面と同じ面内となるように、面位置が合った状態において、上面、側面、及びテーパ面33aがプリズム32の上面、側面、及びテーパ面32aから長さd1だけ厚くなるように外形が設定されている。
そして、図11に示す、一体的に組み付けられたカバーガラス31、プリズム32、保護部材33、及び固体撮像素子34は、図12に示すように、第1の実施の形態と同様に、ユニット保持枠40内に接合され、補強枠部材39に覆われる。
このとき、保護部材33は、プリズム32に対向するユニット保持枠40の内面に干渉(接触)、つまり当接することのないように、下面を除く外側周囲がプリズム32よりも長さd1だけ厚く設定されている。例えば、図12に示すように、対向しているプリズム32の外形面とユニット保持枠40の内形面との隙間の距離(長さ)をd2とすると、保護部材33の上記長さd1は、該距離(長さ)d2よりも短く(d1<d2)設定されている。
尚、説明するまでもないが、保護部材33の上記長さd1は、ユニット保持枠40に外嵌する補強枠部材39とも干渉(接触)することはない。すなわち、例えば、図12に示すように、対向しているプリズム32の外形面と補強枠部材39の内形面との隙間の距離(長さ)をd3とすると、保護部材33の上記長さd1は、該距離(長さ)d3よりも短く(d1<d3)設定されていることは勿論である。
すなわち、保護部材33は、プリズム32の露出している外形表面とユニット保持枠40の内形表面との隙間の範囲内で、プリズム32の上面、側面、及びテーパ面32aよりも大きな外形面(上面、側面、及びテーパ面33a)を有している。また、プリズム32の反射面48は、全体が保護部材33に面接合されていることは第1の実施の形態と同じである。
以上説明した本実施の形態では、第1の実施の形態の効果に加え、撮像ユニット30の組み立て時、メンテナンス時などの際に、仮に、他の部品等にプリズム32、及び保護部材33が一体となった部品が接触した場合、プリズム32よりも先に、保護部材33の外形部が他の部品等に接触することが多くなるため、プリズム32自体の損傷をさらに防止できるという利点がある。
特に、プリズム32の屈折反射のための反射面48を保護することが重要であり、反射面48の周囲に面接合されている保護部材33が外形側に突起させた構成となっている。つまり、本実施の形態の電子内視鏡2の先端部8構造は、保護部材33によって、組み立て時、メンテナンス時などの際に、プリズム32の反射面48近傍部分が他の部品と接触することがないため、反射面48を十分に保護できる。
尚、図13、及び図14に示すように、保護部材33のプリズム32の反射面48に接合する接合面と後面部33cにより形成された下端部分が固体撮像素子34のプリズム32と接合される上面から所定の長さh1の隙間ができるように切り欠かれている。
保護部材33の下端部が切り欠いて、固体撮像素子34との所定の長さh1の隙間を設けることにより、保護部材33が一体的に接合されたプリズム32と固体撮像素子34との接合時に、保護部材33が固体撮像素子34に接触することが無い。つまり、保護部材33により、固体撮像素子34への応力が加えられることがないため、プリズム32と固体撮像素子34との接合を確実に行えると共に、プリズム32と保護部材33、及びプリズム32と固体撮像素子34の夫々の接合面の剥離が防止される。
また、プリズム32を固体撮像素子34の受光部35が設けられた面に接合する光学的な芯合わせの位置Pを特定し易くなる。つまり、固体撮像素子34の受光部35からの距離を計測し、プリズム32の下面の後端部を所定の光学性能を特定する固体撮像素子34上の位置Pに合わせることが容易となる。
さらに、図15、及び図16に示すように、プリズム32よりも外形方向に突起した部分の保護部材33の下方の両角部を切り欠いた面取り部であるテーパ面33dを形成しても良い。
このように、保護部材33の四隅を面取りして、テーパ面33b,33dを形成することによって、図16に示すように、本実施の形態では、補強枠部材39が保護部材33の外形に合わせて小さくすることができ、撮像ユニット30の外側形状をさらに小型化とすることができる。
(第3の実施の形態)
次に、本発明の撮像ユニットにおける、第3の実施の形態について、図17〜図20を用いて、以下に詳しく説明する。尚、以下の説明においても、上述した第1の実施の形態と同一の各種構成について、同じ符号を用いて、それらの詳しい説明を省略する。
また、図17〜図20は、本発明の第3の実施の形態に係り、図17は撮像ユニットの一部を示す上面図、図18は撮像ユニットの一部を示す右側面図、図19は組み付け後の撮像ユニットの一部を後方右側から見た斜視図、図20は図18の矢視XXに対応した平面図である。
本実施の形態では、プリズム32に接合される保護部材33の形状が第1の実施の形態と異なる構成となっており、プリズム32との接合面が反射面48よりも小さく、反射面48内の有効反射面45よりも大きい面積となっている。
具体的には、図17から図19に示すように、保護部材33は、プリズム32の反射面48内の有効反射面45の面積よりも大きく、反射面48よりも小さな面積を有した接合面がプリズム32の有効反射面45を覆うように接合されている。
また、本実施の形態では、保護部材33は、プリズム32の上面、及び下面と面位置が合わされており、側面間の幅がプリズム32の幅、つまり、反射面48の幅よりも小さいものとなっている。つまり、保護部材33は、図20に示すように、少なくともプリズム32の有効反射面45の範囲を覆うように反射面48と接合される。
つまり、保護部材33は、撮影に際して、モニタ5のモニタ画面5aに表示する8角形の撮影範囲を有効的に反射する有効反射面45を少なくとも保護する構成となっている。
その結果、本実施の形態の電子内視鏡2の先端部8構造は、少なくとも、モニタ5のモニタ画面5aに表示する撮影範囲を屈折するプリズム32の有効反射面45を露出させないように、保護部材33を反射面48と面接合させることで、撮像ユニット30の組み立て時、メンテナンス時などの際に保護部材に覆われた有効反射面45が直接に他の部品などに触れることが無いため、傷が付いたり、欠けてしまったりという損傷を防止することができる。
以上の各実施の形態に記載した発明は、その実施の形態、及び変形例に限ることなく、その他、実施段階ではその要旨を逸脱しない範囲で種々の変形を実施し得ることが可能である。さらに、上記実施の形態には、種々の段階の発明が含まれており、開示される複数の構成要件における適宜な組合せにより種々の発明が抽出され得る。
例えば、実施の形態に示される全構成要件から幾つかの構成要件が削除されても、発明が解決しようとする課題が解決でき、述べられている効果が得られる場合には、この構成要件が削除された構成が発明として抽出され得る。
本発明の第1の実施の形態に係る電子内視鏡システムの構成を示す図 同、電子内視鏡の先端部の断面図 同、図2のIII−III線に沿った電子内視鏡の先端部の断面図 同、撮像ユニットの分解斜視図 同、図4から組み付け後の撮像ユニットの一部を後方右側から見た斜視図 同、撮像ユニットの正面図 同、断面により図示されたレンズ枠、及び補強枠内に固着された撮像ユニットの一部を示す上面図 同、断面により図示されたレンズ枠、及び補強枠内に固着された撮像ユニットの一部を示す右側面図 本発明の第2の実施の形態に係る撮像ユニットの一部を示す上面図 同、撮像ユニットの一部を示す右側面図 同、組み付け後の撮像ユニットの一部を後方右側から見た斜視図 同、断面により図示されたレンズ枠、及び補強枠内に固着された撮像ユニットの一部を示す正面図 同、第1の変形例の撮像ユニットの一部を示す右側面図 同、図13の矢視XIVに対応した撮像ユニットの後方を示す背面図 同、第2の変形例の撮像ユニットの一部を示す右側面図 同、断面により図示されたレンズ枠、及び補強枠内に固着された、図15の撮像ユニットの一部を示す正面図 本発明の第2の実施の形態に係る撮像ユニットの一部を示す上面図 同、撮像ユニットの一部を示す右側面図 同、組み付け後の撮像ユニットの一部を後方右側から見た斜視図 同、図18の矢視XXに対応したプリズム、及び保護部材を示す平面図
符号の説明
1…電子内視鏡システム
2…電子内視鏡
5…モニタ
5a…モニタ画面
6…挿入部
8…先端部
21…先端枠
30…撮像ユニット
31…カバーガラス
32a,33a,33d…テーパ面
33c…後面部
33b…上面部
33…保護部材
34…固体撮像素子
35…受光部
39…補強枠部材
40…ユニット保持枠
41…対物レンズ群
45…有効反射面
48…反射面
51…プリズム側接合面
52…保持枠側接合面
O…撮影光軸
P…位置

Claims (10)

  1. 光学反射部材の反射面に屈折反射された撮影光を受光する受光部が配された撮像素子を備えた撮像ユニットにおいて、
    上記撮影光が上記反射面により上記受光部に屈折入射する該反射面内の少なくとも有効反射面の領域を面接合して保護し、上記光学反射部材と接合された状態において、上記反射面の輪郭に沿った上記光学反射部材の周囲の面と同一面内の連続した面を有して上記光学反射部材と周囲の外形状が同一形状とし、上記光学反射部材の下面と平行な上面および上記光学反射部材の前面と平行な後面を備えた保護部材を具備することを特徴とする撮像ユニット。
  2. 上記保護部材は、上記光学反射部材と略同一な熱膨張係数の材質から形成されていることを特徴とする請求項1に記載の撮像ユニット。
  3. 上記光学反射部材と上記保護部材は、上記固体撮像素子と略同一な熱膨張係数の材質から形成されていることを特徴とする請求項1、又は請求項に記載の撮像ユニット。
  4. 上記保護部材は、光透過性のある材質により形成され、上記プリズムと紫外線硬化型接着剤、或いは紫外線硬化熱硬化併用型接着剤により固着されていることを特徴とする請求項1から請求項の何れか1項に記載の撮像ユニット。
  5. 上記保護部材は、上記光学反射部材と上記固体撮像素子との接合面から所定の距離だけ隙間を有するように、上記光学反射部材に接合されていることを特徴とする請求項1から請求項の何れか1項に記載の撮像ユニット。
  6. 上記保護部材、及び上記光学反射部材は、上記固体撮像素子に離反する両側角部が切り欠かれた面取り部を有していることを特徴とする請求項1から請求項の何れか1項に記載の撮像ユニット。
  7. 上記保護部材は、上記光学反射部材が上記固体撮像素子と接合される方向の両側角部が切り欠かれた面取り部を有していることを特徴とする請求項に記載の撮像ユニット。
  8. 上記保護部材は、上記光学反射部材と同一材質のガラス材から形成されていることを特徴とする請求項、又は請求項に記載の撮像ユニット。
  9. 上記保護部材は、上記固体撮像素子に接合される上記光学反射部材の接合面と平行な面を備えたことを特徴とする請求項1から請求項の何れか1項に記載の撮像ユニット。
  10. 上記保護部材は、上記撮影光が入射される物点側の前面と平行な面を備えたことを特徴とする請求項1から請求項の何れか1項に記載の撮像ユニット。
JP2007226622A 2007-08-20 2007-08-31 撮像ユニット Active JP5041925B2 (ja)

Priority Applications (3)

Application Number Priority Date Filing Date Title
JP2007226622A JP5041925B2 (ja) 2007-08-31 2007-08-31 撮像ユニット
EP08013339A EP2031430B1 (en) 2007-08-31 2008-07-24 Image pickup unit
US12/182,598 US8419616B2 (en) 2007-08-20 2008-07-30 Image pickup device with a protection member and an optical reflection member

Applications Claiming Priority (1)

Application Number Priority Date Filing Date Title
JP2007226622A JP5041925B2 (ja) 2007-08-31 2007-08-31 撮像ユニット

Publications (2)

Publication Number Publication Date
JP2009058807A JP2009058807A (ja) 2009-03-19
JP5041925B2 true JP5041925B2 (ja) 2012-10-03

Family

ID=40043960

Family Applications (1)

Application Number Title Priority Date Filing Date
JP2007226622A Active JP5041925B2 (ja) 2007-08-20 2007-08-31 撮像ユニット

Country Status (3)

Country Link
US (1) US8419616B2 (ja)
EP (1) EP2031430B1 (ja)
JP (1) JP5041925B2 (ja)

Families Citing this family (17)

* Cited by examiner, † Cited by third party
Publication number Priority date Publication date Assignee Title
US9901244B2 (en) 2009-06-18 2018-02-27 Endochoice, Inc. Circuit board assembly of a multiple viewing elements endoscope
US9101287B2 (en) * 2011-03-07 2015-08-11 Endochoice Innovation Center Ltd. Multi camera endoscope assembly having multiple working channels
WO2011092901A1 (ja) * 2010-02-01 2011-08-04 オリンパスメディカルシステムズ株式会社 内視鏡用撮像ユニット
WO2011092903A1 (ja) * 2010-02-01 2011-08-04 オリンパスメディカルシステムズ株式会社 内視鏡用撮像ユニット
JP5631618B2 (ja) * 2010-04-08 2014-11-26 オリンパス株式会社 ケーブル接続構造
JP5839811B2 (ja) 2011-03-08 2016-01-06 オリンパス株式会社 撮像ユニット及び内視鏡
USD743089S1 (en) * 2012-05-31 2015-11-10 Olympus Corporation Illuminating prism
JP6057595B2 (ja) * 2012-08-07 2017-01-11 オリンパス株式会社 内視鏡
USD713438S1 (en) * 2012-12-27 2014-09-16 Seiko Epson Corporation Prism lens for a head-mounted display
JP6210797B2 (ja) * 2013-08-26 2017-10-11 オリンパス株式会社 内視鏡
DE112015001097T5 (de) * 2014-03-03 2016-12-01 Olympus Corporation Abbildungsvorrichtung und Endoskopvorrichtung
JP5866565B1 (ja) * 2014-12-22 2016-02-17 パナソニックIpマネジメント株式会社 内視鏡
CN104635315A (zh) * 2015-01-28 2015-05-20 江苏北方湖光光电有限公司 非透可见光棱镜部件的胶合制作方法
ES2818174T3 (es) 2015-05-17 2021-04-09 Endochoice Inc Mejora de imagen endoscópica usando ecualización de histograma adaptativo limitado por contraste (CLAHE) implementada en un procesador
JP2021166566A (ja) * 2018-05-24 2021-10-21 オリンパス株式会社 内視鏡用外付機構
JP7720230B2 (ja) * 2021-11-18 2025-08-07 株式会社エビデント 光学アダプタと、この光学アダプタを装着して使用する内視鏡及び挿入部の先端部に光学系を有する内視鏡
CN116158884A (zh) * 2023-03-07 2023-05-26 资阳联耀医疗器械有限责任公司 胶接结构增强的扫描头及其口内扫描仪

Family Cites Families (44)

* Cited by examiner, † Cited by third party
Publication number Priority date Publication date Assignee Title
GB319195A (en) 1928-03-17 1929-09-17 Walter Chapman Improvements in or relating to the taking of colour photographs for use in cinematography
JPH0629911B2 (ja) 1985-05-07 1994-04-20 旭光学工業株式会社 内視鏡の先端部構造
JPS6215514A (ja) * 1985-07-15 1987-01-23 Shoichi Tanaka 固体撮像内視鏡
JPH03138603A (ja) * 1989-10-24 1991-06-13 Asahi Optical Co Ltd 貼り合わせプリズム及びその製作方法
US5221998A (en) * 1989-10-24 1993-06-22 Asahi Kogaku Kogyo Kabushiki Kaisha Joined prism assembly and method and apparatus for manufacturing same
JP3120869B2 (ja) 1991-04-15 2000-12-25 旭光学工業株式会社 内視鏡の先端部
EP1310805B1 (en) * 1994-12-27 2006-05-17 Seiko Epson Corporation Prism unit and projection type display device using it
US5910816A (en) * 1995-06-07 1999-06-08 Stryker Corporation Imaging system with independent processing of visible an infrared light energy
JP3371784B2 (ja) * 1996-12-06 2003-01-27 セイコーエプソン株式会社 クロスダイクロイックプリズム、プリズムユニット、および、投写型表示装置
US6181414B1 (en) * 1998-02-06 2001-01-30 Morphometrix Technologies Inc Infrared spectroscopy for medical imaging
TW368650B (en) * 1998-02-19 1999-09-01 Ind Tech Res Inst Prism object lens of optical pickup head
JP3959878B2 (ja) * 1998-04-08 2007-08-15 セイコーエプソン株式会社 光選択プリズムの製造方法
JP2000107120A (ja) * 1998-08-07 2000-04-18 Olympus Optical Co Ltd 内視鏡
US6530882B1 (en) * 2000-06-30 2003-03-11 Inner Vision Imaging, L.L.C. Endoscope having microscopic and macroscopic magnification
JP3074642U (ja) * 2000-07-06 2001-01-19 鎌倉光機株式会社 デジタルビデオカメラ付きフィールドスコープ
JP4394811B2 (ja) 2000-07-13 2010-01-06 富士フイルム株式会社 電子内視鏡先端部の光学系装置
KR100381262B1 (ko) * 2000-08-10 2003-04-26 엘지전자 주식회사 디지털 미세 미러소자를 이용한 전반사 프리즘계
US6717752B2 (en) * 2000-11-14 2004-04-06 Pentax Corporation Image search device
US6930705B2 (en) * 2000-11-14 2005-08-16 Pentax Corporation Image search device
JP3875505B2 (ja) * 2001-03-29 2007-01-31 オリンパス株式会社 撮像装置
US7527186B2 (en) * 2001-07-24 2009-05-05 Kulicke And Soffa Industries, Inc. Method and apparatus for mapping a position of a capillary tool tip using a prism
JP3810297B2 (ja) * 2001-10-18 2006-08-16 オリンパス株式会社 内視鏡洗浄装置
US7321533B2 (en) * 2002-03-20 2008-01-22 Sharp Kabushiki Kaisha Optical pickup device having a wavelength selecting film and an optical reflector
WO2003104877A1 (en) * 2002-06-05 2003-12-18 Litton Systems, Inc. Enhanced night vision goggle assembly
JP2004317393A (ja) * 2003-04-18 2004-11-11 Shimadzu Corp 二色放射温度計
JP2005004181A (ja) * 2003-05-21 2005-01-06 Fujinon Corp 可視光・赤外光撮影用レンズシステム
JP4550377B2 (ja) * 2003-06-25 2010-09-22 オリンパス株式会社 撮像装置
JP4338538B2 (ja) * 2004-02-04 2009-10-07 Hoya株式会社 プリズム固定方法及び立体視硬性鏡
JP2005309090A (ja) 2004-04-21 2005-11-04 Fujinon Corp 偏光ビームスプリッタ及びその製造方法
JP4289213B2 (ja) * 2004-05-18 2009-07-01 日本電気株式会社 光ヘッド装置及び光学式情報記録再生装置
JP4655513B2 (ja) * 2004-06-07 2011-03-23 コニカミノルタオプト株式会社 プリズムユニット、撮像光学ユニットおよび撮像装置
JP2006003384A (ja) * 2004-06-15 2006-01-05 Sony Corp 偏光ビームスプリッタ、及び液晶プロジェクタ装置
WO2006001080A1 (ja) * 2004-06-29 2006-01-05 Takami Hasegawa 固体撮像素子を使用した撮像装置
JP2006106166A (ja) * 2004-10-01 2006-04-20 Olympus Corp 内視鏡装置
JP2007014384A (ja) * 2005-07-05 2007-01-25 Olympus Corp 内視鏡用アダプタ及び内視鏡
JP4758719B2 (ja) * 2005-09-28 2011-08-31 富士フイルム株式会社 電子内視鏡
JP5086535B2 (ja) * 2005-11-21 2012-11-28 オリンパスメディカルシステムズ株式会社 2板撮像装置
JP4524311B2 (ja) * 2005-11-24 2010-08-18 パナソニック株式会社 プリズム、それを備えた撮像装置及び照明装置、並びにプリズムの製造方法
JP2007157223A (ja) * 2005-12-02 2007-06-21 Sharp Corp 光ピックアップ装置
JP5219801B2 (ja) * 2006-03-24 2013-06-26 パナソニック株式会社 プリズムおよび光学装置
JP2007334311A (ja) * 2006-05-18 2007-12-27 Nippon Hoso Kyokai <Nhk> 可視光・赤外光撮影光学系
JP5055961B2 (ja) * 2006-11-07 2012-10-24 コニカミノルタアドバンストレイヤー株式会社 光学素子の製造方法
CN101373274B (zh) * 2007-08-22 2010-06-02 鸿富锦精密工业(深圳)有限公司 一种合光棱镜及其安装对位方法
US7762466B2 (en) * 2008-12-18 2010-07-27 Symbol Technologies, Inc. Two position zoom lens assembly for an imaging-based bar code reader

Also Published As

Publication number Publication date
JP2009058807A (ja) 2009-03-19
EP2031430A2 (en) 2009-03-04
US20090062616A1 (en) 2009-03-05
EP2031430B1 (en) 2011-05-25
EP2031430A3 (en) 2009-06-24
US8419616B2 (en) 2013-04-16

Similar Documents

Publication Publication Date Title
JP5041925B2 (ja) 撮像ユニット
CN102483503B (zh) 摄像单元
US8913112B2 (en) Image pickup unit for endoscope
WO2013031276A1 (ja) 内視鏡用撮像ユニット
WO2007026815A1 (ja) 電子内視鏡
CN105828689B (zh) 摄像装置和内窥镜装置
JP5074133B2 (ja) 撮像装置用プリズムユニット
US12044838B2 (en) Laminated lens array, endoscope and image pickup unit
WO2014188787A1 (ja) 内視鏡先端構造および内視鏡
WO2011092904A1 (ja) 内視鏡先端部構造
JP3762550B2 (ja) 内視鏡
JP6744118B2 (ja) 内視鏡
US11969151B2 (en) Endoscope
JP2005237982A (ja) 内視鏡装置および撮像装置
EP3613328B1 (en) A tip part for a vision device
JPH08184765A (ja) 内視鏡
JP2024040867A (ja) 内視鏡
JP2003230533A (ja) 撮像装置
JP2019030421A (ja) 内視鏡用撮像ユニット及び内視鏡
JP5148428B2 (ja) 内視鏡、およびその内蔵物
JP2002238843A (ja) 電子内視鏡
JPH09187419A (ja) 内視鏡
JPH10151106A (ja) レンズ装置
JP2001046316A (ja) カバーシース式側視型内視鏡
WO2017199838A1 (ja) 撮像ユニット

Legal Events

Date Code Title Description
A621 Written request for application examination

Free format text: JAPANESE INTERMEDIATE CODE: A621

Effective date: 20100604

A131 Notification of reasons for refusal

Free format text: JAPANESE INTERMEDIATE CODE: A131

Effective date: 20120131

A521 Request for written amendment filed

Free format text: JAPANESE INTERMEDIATE CODE: A523

Effective date: 20120323

TRDD Decision of grant or rejection written
A01 Written decision to grant a patent or to grant a registration (utility model)

Free format text: JAPANESE INTERMEDIATE CODE: A01

Effective date: 20120626

A01 Written decision to grant a patent or to grant a registration (utility model)

Free format text: JAPANESE INTERMEDIATE CODE: A01

A61 First payment of annual fees (during grant procedure)

Free format text: JAPANESE INTERMEDIATE CODE: A61

Effective date: 20120710

R151 Written notification of patent or utility model registration

Ref document number: 5041925

Country of ref document: JP

Free format text: JAPANESE INTERMEDIATE CODE: R151

FPAY Renewal fee payment (event date is renewal date of database)

Free format text: PAYMENT UNTIL: 20150720

Year of fee payment: 3

S111 Request for change of ownership or part of ownership

Free format text: JAPANESE INTERMEDIATE CODE: R313111

R350 Written notification of registration of transfer

Free format text: JAPANESE INTERMEDIATE CODE: R350

S531 Written request for registration of change of domicile

Free format text: JAPANESE INTERMEDIATE CODE: R313531

R350 Written notification of registration of transfer

Free format text: JAPANESE INTERMEDIATE CODE: R350

R250 Receipt of annual fees

Free format text: JAPANESE INTERMEDIATE CODE: R250

R250 Receipt of annual fees

Free format text: JAPANESE INTERMEDIATE CODE: R250

R250 Receipt of annual fees

Free format text: JAPANESE INTERMEDIATE CODE: R250

R250 Receipt of annual fees

Free format text: JAPANESE INTERMEDIATE CODE: R250

R250 Receipt of annual fees

Free format text: JAPANESE INTERMEDIATE CODE: R250

R250 Receipt of annual fees

Free format text: JAPANESE INTERMEDIATE CODE: R250

R250 Receipt of annual fees

Free format text: JAPANESE INTERMEDIATE CODE: R250