JP4940044B2 - 車両の樹脂製外装部品 - Google Patents

車両の樹脂製外装部品 Download PDF

Info

Publication number
JP4940044B2
JP4940044B2 JP2007194897A JP2007194897A JP4940044B2 JP 4940044 B2 JP4940044 B2 JP 4940044B2 JP 2007194897 A JP2007194897 A JP 2007194897A JP 2007194897 A JP2007194897 A JP 2007194897A JP 4940044 B2 JP4940044 B2 JP 4940044B2
Authority
JP
Japan
Prior art keywords
main body
vehicle
rib
parallel
resin
Prior art date
Legal status (The legal status is an assumption and is not a legal conclusion. Google has not performed a legal analysis and makes no representation as to the accuracy of the status listed.)
Expired - Fee Related
Application number
JP2007194897A
Other languages
English (en)
Other versions
JP2009029252A (ja
Inventor
圭一郎 辻
啓文 田中
勇介 木村
基之 籾井
Current Assignee (The listed assignees may be inaccurate. Google has not performed a legal analysis and makes no representation or warranty as to the accuracy of the list.)
Honda Motor Co Ltd
Original Assignee
Honda Motor Co Ltd
Priority date (The priority date is an assumption and is not a legal conclusion. Google has not performed a legal analysis and makes no representation as to the accuracy of the date listed.)
Filing date
Publication date
Application filed by Honda Motor Co Ltd filed Critical Honda Motor Co Ltd
Priority to JP2007194897A priority Critical patent/JP4940044B2/ja
Publication of JP2009029252A publication Critical patent/JP2009029252A/ja
Application granted granted Critical
Publication of JP4940044B2 publication Critical patent/JP4940044B2/ja
Expired - Fee Related legal-status Critical Current
Anticipated expiration legal-status Critical

Links

Images

Classifications

    • BPERFORMING OPERATIONS; TRANSPORTING
    • B29WORKING OF PLASTICS; WORKING OF SUBSTANCES IN A PLASTIC STATE IN GENERAL
    • B29CSHAPING OR JOINING OF PLASTICS; SHAPING OF MATERIAL IN A PLASTIC STATE, NOT OTHERWISE PROVIDED FOR; AFTER-TREATMENT OF THE SHAPED PRODUCTS, e.g. REPAIRING
    • B29C45/00Injection moulding, i.e. forcing the required volume of moulding material through a nozzle into a closed mould; Apparatus therefor
    • B29C45/0025Preventing defects on the moulded article, e.g. weld lines, shrinkage marks
    • BPERFORMING OPERATIONS; TRANSPORTING
    • B29WORKING OF PLASTICS; WORKING OF SUBSTANCES IN A PLASTIC STATE IN GENERAL
    • B29CSHAPING OR JOINING OF PLASTICS; SHAPING OF MATERIAL IN A PLASTIC STATE, NOT OTHERWISE PROVIDED FOR; AFTER-TREATMENT OF THE SHAPED PRODUCTS, e.g. REPAIRING
    • B29C45/00Injection moulding, i.e. forcing the required volume of moulding material through a nozzle into a closed mould; Apparatus therefor
    • B29C45/0025Preventing defects on the moulded article, e.g. weld lines, shrinkage marks
    • B29C2045/0043Preventing defects on the moulded article, e.g. weld lines, shrinkage marks preventing shrinkage by reducing the wall thickness of the moulded article

Landscapes

  • Engineering & Computer Science (AREA)
  • Manufacturing & Machinery (AREA)
  • Mechanical Engineering (AREA)
  • Vehicle Interior And Exterior Ornaments, Soundproofing, And Insulation (AREA)
  • Body Structure For Vehicles (AREA)

Description

本発明は、車両の外表面に用いられるフロントフェンダ、バンパ若しくはガーニッシュなどの車両の樹脂製外装部品に関するものである。
近年、車両に樹脂製の外装部品が積極的に用いられる。
車両の樹脂製外装部品として、フロントフェンダ、バンパや若しくはガーニッシュなど
が実用に供されている。
この種の車両の樹脂製外装部品は、樹脂成形品の成形時に発生する「ひけ」や「ウエルド」発生を最小にするように設計される。ここで、「ひけ」とは、射出成形の行程で、成形品の表面にできる「くぼみ」であり、「ウエルド」とは、射出成形の行程で、溶融樹脂の合流部分に発生する線状の「しま」を言う。
このような車両の樹脂製外装部品として、自動車用バンパが知られている(例えば、特許文献1参照。)。
実公平3−39320号公報(第3頁、第1−2図)
特許文献1の技術を説明する。
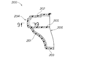
図8は従来の車両の樹脂製外装部品の基本構成を説明する図であり、図9は図8の9−9線断面図である。
車両の樹脂製外装部品200は、車両の前方を覆うバンパフェースであり、縦面201及びその上下にそれぞれ接続する横面202,203とからなる断面視ほぼコ字形の本体部204と、この本体部204の内側に横面202,203と平行に形成され、本体部204を補強する横リブ205と、本体部204の内側に横面202,203に垂直に形成され、本体部204を補強する縦リブ206とから構成され、縦リブ206の根本にあたる基端部207の肉厚を縦リブ206の他の部分よりも薄く形成した肉抜き部208を設けた樹脂製の自動車用バンパであり、本体部204の内側に設けた補強用リブ(縦リブ)206の基端部207を薄く成形することによって、本体部204の表面へのひけを防止したものである。
しかし、車両の樹脂製外装部品200では、補強用リブ(縦リブ)206の基端部207が薄く形成された分、強度に影響を及ぼすことがあった。
すなわち、車両の樹脂製外装部品200において、補強用リブの基端部207を薄く形成してひけを防止して強度が低下した分、何らかの方法で強度を補完できる技術が望まれる。
本発明は、補強用リブの基端部(根本)を薄く形成してひけを防止した場合に、強度の低下を最小限に抑え、強度の補完をすることができる車両の樹脂製外装部品を提供することを課題とする。
請求項1に係る発明は、車両の表面を形成する本体部と、この本体部の裏面に面方向に延在して突出され本体部を補強するリブとを備えた車両の樹脂製外装部品において、リブは、本体部の外形形状に沿って延在する平行部と、本体部の外形形状に対し交差する方向に延在する傾斜部と、を有し、傾斜部はリブの根本である基端部に貫通孔にて形成された肉抜き部が設けられるとともに、平行部が形成される本体部の表面に、稜線が形成されていることを特徴とする。
請求項2に係る発明は、平行部の基端部に薄肉部にて形成された肉抜き部が設けられることを特徴とする。
請求項に係る発明は、リブの深さが、延在方向にわたって同じ深さ寸法で形成されていることを特徴とする。
請求項1に係る発明では、車両の樹脂製外装部品が、車両の表面を形成する本体部と、この本体部の裏面に面方向に延在して突出され本体部を補強するリブとから構成される。 リブは、本体部の外形形状に沿って延在する平行部と、本体部の外形形状に対し交差する方向に延在する傾斜部と、を有し、傾斜部はリブの根本である基端部に貫通孔にて形成された肉抜き部が設けられるとともに、平行部が形成される本体部の表面に、稜線が形成されている。すなわち、本体部の外表面にひけが発生することを防止するために補強用のリブに肉抜き部を設けた場合でも、車両の樹脂製外装部品の強度を確保することができる。
リブに、本体部の外形形状に沿って延在する平行部と、本体部の外形形状に対し交差する方向に延在する傾斜部とを有している。外観への影響が現れやすい傾斜部の肉抜き部を貫通孔とすることで、ひけ等による外観への影響を防止することができる。
また、平行部が形成される本体部の表面に、稜線が形成されることで、さらに、ひけ等による外観への影響を改善することができる。
請求項2に係る発明では、平行部の基端部に薄肉部にて形成された肉抜き部が設けられるので、ひけ等による外観への影響を防止することができる。
請求項に係る発明では、リブの深さが、延在方向にわたって同じ深さ寸法で形成されているので、車両の樹脂製外装部品にそり(曲がる現象)等が発生することを防止するとともに、例えば、リブの深さの低い部分に集中応力が発生することを防止でき、車両の樹脂製外装部品の強度を高く保つことができる。
本発明を実施するための最良の形態を添付図に基づいて以下に説明する。なお、図面は符号の向きに見るものとする。
図1は本発明に係る車両の樹脂製外装部品を採用した車両の前部の斜視図であり、図2は図1の2部拡大図であり、図3は図1の3矢視図である。
図1に示された車両10の前部は、下部前方を覆うバンパフェース11と、このバンパフェース11の上部左右に配置されるヘッドライト13,13(一方不図示)と、これらのヘッドライト13,13の中央に配置され、車体前方上部を覆うフロントグリル14と、これらのヘッドライト13,13及びフロントグリル14から後方に延ばされ、車体上部を覆うボンネット15と、このボンネット15の左右に配置され、車体前部側方を覆うとともに前輪16,16(一方不図示)を車体外方に臨ますフロントフェンダ17,17(一方不図示)とが配置される。
図1〜図3に示されたように、バンパフェース11は、樹脂製の部品であり、車両10の表面を形成する本体部21と、この本体部21の裏面に面方向に延在して突出され本体部21を補強するリブ22とを備えた車両の樹脂製外装部品若しくは樹脂製のガーニッシュである。
リブ22は、本体部21の外形23形状に沿って延在する第1〜第4の平行部25〜28と、本体部21の外形23形状に対し交差する方向に延在する複数の第1の傾斜部31及び第2の傾斜部32とから構成される。
第1の平行部25は、車体側に取付けるための取付孔33が形成される。第2〜第4の平行部26〜28は、取付孔33を除き第1の平行部25に同一形状の部分である。
第1の傾斜部31は、図3に示されたように、本体部21の外形23形状を概ね直線とするときに、図面上方に向けて外形23形状に接近するように指向させた(傾斜させた)リブであり、第2の傾斜部32は、図面上方に向けて外形23形状に離間するように指向させた(傾斜させた)リブである。
すなわち、第1・第2の傾斜部31,32は、互いに指向する(傾斜する)方向が異なるリブであり、第1〜第4の平行部25〜28に対して交互に形成される。
すなわち、図3に示されたように、リブ22の中心線をCLとするときに、第1〜第3の平行部25〜27では中心線CLは外形23に略平行であり、第1の傾斜部31では中心線CLは図面上方に向けて外形23に接近するように指向し、第2の傾斜部32では中心線CLは図面上方に向けて外形に離れるように指向する。
図4は図2の4−4線断面図であり、図5は図2の5−5線断面図である。
第1の平行部25は、リブ22の根本である基端部35に、薄肉(薄肉部)にて形成された肉抜き部36が設けられ、先にも説明したように、第1の平行部25は、車体側に取付ける取付孔33が形成される。第2〜第3の平行部26〜27にも、第1の平行部25と同様に、薄肉(薄肉部)にて形成された肉抜き部が設けられる。
第1の傾斜部31は、リブ22の根本である基端部35に、貫通孔にて形成された肉抜き部37が設けられる。なお、図2に示された第2の傾斜部32は、第1の傾斜部31と同様に、リブ22の根本である基端部35に、貫通孔にて形成された肉抜き部が設けられる(不図示)。
第1の平行部の高さ(深さ)をh1、第1の傾斜部の高さ(深さ)をh2とするときに、h1=h2に形成される。第1〜第4の平行部25〜28及び複数の第1・第2の傾斜部31,32の高さは同一高さに形成される。
すなわち、リブ22の深さが、延在方向にわたって同じ深さ寸法で形成されているので、車両の樹脂製外装部品(バンパフェース)11にそり(曲がる現象)等が発生することを防止するとともに、例えば、リブの深さの低い部分に集中応力が発生することを防止でき、車両の樹脂製外装部品11の強度を高く保つことができる。
図1及び図2に示されたように、車両の樹脂製外装部品11は、車両10の表面を形成する本体部21と、この本体部21の裏面に面方向に延在して突出され本体部21を補強するリブ22とから構成される。
図4及び図5に示されたように、リブ22は、リブ22の根本である基端部35に肉抜き部36,37が設けられ、リブ22の延在方向に対して傾斜させた傾斜形状(傾斜部31,32)を有している。すなわち、本体部21の表面(外表面)にひけが発生することを防止するために補強用のリブ22に肉抜き部36,37を設けた場合でも、リブ22の延在方向に対して傾斜させた傾斜形状を有しているので、例えば、リブ22の倒れ等を防止することができ、車両の樹脂製外装部品11の強度を確保することができる。
図2に示されたように、リブ22は、本体部21の外形23形状に沿って延在する平行部25〜28と、本体部21の外形23形状に対し交差する方向に延在する傾斜部31,32とを有している。図4及び図5に示されたように、ひけ等による本体部21の表面(外観)への影響が現れにくい平行部25〜28の肉抜き部36を薄肉部とし、外観への影響が現れやすい傾斜部31,32の肉抜き部37を貫通孔とすることで、ひけ等による外観への影響を防止することができる。
図6は本発明に係る第2実施例の車両の樹脂製外装部品の断面図である。
バンパフェース51は、樹脂製の部品であり、車両の表面を形成する本体部61と、この本体部61の裏面に面方向に延在して突出され本体部61を補強するリブ62とを備えた車両の樹脂製外装部品若しくは樹脂製のガーニッシュである。
リブ62は、本体部61の外形63形状に沿って延在する平行部65と、本体部61の外形63形状に対し交差する方向に延在する傾斜部(不図示)とから構成される。なお、傾斜部は、図5に示された第1の傾斜リブ31と同一断面形状を有する。
本体部61は、表面に平行部65に沿って稜線69が形成される。平行部65は、薄肉部とした肉抜き部66が形成される。平行部65が形成される本体部61の表面に、稜線69が形成されることで、さらに、ひけ等による外観への影響を改善することができる。
図7は本発明に係る第3実施例の車両の樹脂製外装部品の断面図である。
バンパフェース71は、樹脂製の部品であり、車両の表面を形成する本体部81と、この本体部81の裏面に面方向に延在して突出され本体部81を補強するリブ82とを備えた車両の樹脂製外装部品若しくは樹脂製のガーニッシュである。
リブ82は、本体部81の外形83形状に沿って延在する平行部85と、本体部81の外形83形状に対し交差する方向に延在する傾斜部(不図示)とから構成される。なお、傾斜部は、図5に示された第1の傾斜リブ31と同一断面形状を有する。
本体部81は、表面に平行部85に沿って突起状の稜線89が形成される。平行部85は、薄肉部とした肉抜き部86が形成される。平行部85が形成される本体部81の表面に、突起状の稜線89が形成されることで、さらに、ひけ等による外観への影響を改善することができる。
尚、本発明に係る車両の樹脂製外装部品は、図1に示すように、バンパフェースであったが、これは単なる例示であり、車両に用いられる樹脂製の外装部品であればよい。
また、図2に示すように、バンパフェースの左右側端部にリブが設けられているが、ヘッドライト、フロントグリル又はボンネットに隣接する上側端部や下側端部にリブが設けられてもよい。
本発明に係る車両の樹脂製外装部品は、図2に示すように、平行部が外形形状に沿わせた1本のリブを示したが、リブの本数を限定するものではなく、本体部に複数のリブを形成することを妨げるものではない。
本発明に係る車両の樹脂製外装部品は、図2に示すように、リブに第1〜第4平行部を形成したが、平行部の数は増減するものであってもよい。また、第1・第2の傾斜部の角度も任意な角度でよい。
また、リブの深さは延在方向に渡って同じ深さで形成されているが、延在方向のおいて異なる深さ寸法で形成されてもよい。
本発明に係る車両の樹脂製外装部品は、セダンやワゴンなどの自動車に採用するのに好適である。
本発明に係る車両の樹脂製外装部品を採用した車両の前部の斜視図である。 図1の2部拡大図である。 図1の3矢視図である。 図2の4−4線断面図である。 図2の5−5線断面図である。 本発明に係る第2実施例の車両の樹脂製外装部品の断面図である。 本発明に係る第3実施例の車両の樹脂製外装部品の断面図である。 従来の車両の樹脂製外装部品の基本構成を説明する図である。 図8の9−9線断面図である。
符号の説明
10…車両、11…車両の樹脂製外装部品(バンパフェース)、21…本体部、22…リブ、23…外形、25〜28…第1〜第4の平行部、31,32…第1・第2の傾斜部、35…基端部、36,37…肉抜き孔、51,81…車両の樹脂製外装部品(バンパフェース)、61,81…本体部、63,83…外形、65,85…平行部、69,89…稜線。

Claims (3)

  1. 車両の表面を形成する本体部と、この本体部の裏面に面方向に延在して突出され本体部を補強するリブとを備えた車両の樹脂製外装部品において、
    前記リブは、前記本体部の外形形状に沿って延在する平行部と、前記本体部の外形形状に対し交差する方向に延在する傾斜部と、を有し、該傾斜部は前記リブの根本である基端部に貫通孔にて形成された肉抜き部が設けられるとともに、前記平行部が形成される前記本体部の表面に、稜線が形成されていることを特徴とする車両の樹脂製外装部品。
  2. 前記平行部は、前記基端部に薄肉部にて形成された肉抜き部が設けられることを特徴とする請求項1記載の車両の樹脂製外装部品。
  3. 前記リブの深さは、延在方向にわたって同じ深さ寸法で形成されていることを特徴とする請求項1又は請求項2記載の車両の樹脂製外装部品。
JP2007194897A 2007-07-26 2007-07-26 車両の樹脂製外装部品 Expired - Fee Related JP4940044B2 (ja)

Priority Applications (1)

Application Number Priority Date Filing Date Title
JP2007194897A JP4940044B2 (ja) 2007-07-26 2007-07-26 車両の樹脂製外装部品

Applications Claiming Priority (1)

Application Number Priority Date Filing Date Title
JP2007194897A JP4940044B2 (ja) 2007-07-26 2007-07-26 車両の樹脂製外装部品

Publications (2)

Publication Number Publication Date
JP2009029252A JP2009029252A (ja) 2009-02-12
JP4940044B2 true JP4940044B2 (ja) 2012-05-30

Family

ID=40400254

Family Applications (1)

Application Number Title Priority Date Filing Date
JP2007194897A Expired - Fee Related JP4940044B2 (ja) 2007-07-26 2007-07-26 車両の樹脂製外装部品

Country Status (1)

Country Link
JP (1) JP4940044B2 (ja)

Families Citing this family (10)

* Cited by examiner, † Cited by third party
Publication number Priority date Publication date Assignee Title
JP5578858B2 (ja) 2010-01-13 2014-08-27 キヤノン株式会社 樹脂成形部品およびその製造方法
JP2012030629A (ja) * 2010-07-29 2012-02-16 Suzuki Motor Corp バンパー装置およびその設計方法
US20140050906A1 (en) * 2011-03-01 2014-02-20 Keter Plastic Ltd. Injection molded panel, a mold and a method for its manufacture
JP6080852B2 (ja) 2011-09-23 2017-02-15 サン−ゴバン グラス フランスSaint−Gobain Glass France 自動車用のピラーカバー
ES2586772T3 (es) * 2011-09-23 2016-10-18 Saint-Gobain Glass France Cubierta de larguero para vehículos
EP2758277B3 (de) 2011-09-23 2022-07-20 Saint-Gobain Glass France Säulenabdeckung für kraftfahrzeuge
SE1250876A1 (sv) * 2012-07-18 2014-01-19 Scania Cv Ab Panelparti
JP6011434B2 (ja) 2013-04-22 2016-10-19 トヨタ車体株式会社 車両用樹脂部品及びその製造方法
JP6247839B2 (ja) * 2013-05-29 2017-12-13 サンデンホールディングス株式会社 圧縮機
JP7120986B2 (ja) * 2019-12-20 2022-08-17 本田技研工業株式会社 外装部材の接続構造

Family Cites Families (6)

* Cited by examiner, † Cited by third party
Publication number Priority date Publication date Assignee Title
GB1482154A (en) * 1973-07-27 1977-08-10 Du Pont Energy absorbing devices
JPH0769145A (ja) * 1993-09-06 1995-03-14 Toyota Motor Corp 自動車のバンパ
JPH09104298A (ja) * 1995-10-12 1997-04-22 Honda Motor Co Ltd 分割されたバンパー構造体
JP2892627B2 (ja) * 1996-12-12 1999-05-17 西川化成株式会社 バンパー構造
JP3812923B2 (ja) * 1998-05-26 2006-08-23 富士重工業株式会社 自動車用バンパ表皮の補強構造
JP2003127809A (ja) * 2001-10-19 2003-05-08 Suzuki Motor Corp バンパーの取付構造

Also Published As

Publication number Publication date
JP2009029252A (ja) 2009-02-12

Similar Documents

Publication Publication Date Title
JP4940044B2 (ja) 車両の樹脂製外装部品
JP2012214153A (ja) 車両用バンパ取付構造
JP5672614B2 (ja) バックドア補強構造
JP6412528B2 (ja) 車両用バンパーリインフォースメント
JP4253674B2 (ja) プラスチック製ヘッドレストフレーム
CN107010123B (zh) 车轮罩结构
JP5201403B2 (ja) インストルメントパネル構造
JP2006056288A (ja) 自動二輪車および車両カバー取付方法
JP6540529B2 (ja) 車両用内装部品
US7520562B2 (en) Supporting member for a fender
JP5141194B2 (ja) 車両の前部構造
JP4796449B2 (ja) 自動車用フード
US20220410820A1 (en) Rocker molding
JP3624551B2 (ja) 自動車のフロントバンパー構造
JP6489897B2 (ja) フロントピラー補強構造
JP2021147003A (ja) 空力特性を改善する車両
JP5606204B2 (ja) 自動車のフロア前部構造
JP2010115985A (ja) 自動車のシール部材
JP6370690B2 (ja) 車両用バンパ装置
JP2017007511A (ja) 衝撃吸収部材
JP6769681B2 (ja) 装飾部品取付構造
JP7616044B2 (ja) 外装部品および外装部品ユニット
JP2008201367A (ja) バンパリインフォース構造及びその製造方法
JP6368702B2 (ja) 車両用樹脂成形品
JP2009035019A (ja) 車両用バンパ構造

Legal Events

Date Code Title Description
A621 Written request for application examination

Free format text: JAPANESE INTERMEDIATE CODE: A621

Effective date: 20091127

A977 Report on retrieval

Free format text: JAPANESE INTERMEDIATE CODE: A971007

Effective date: 20110825

A131 Notification of reasons for refusal

Free format text: JAPANESE INTERMEDIATE CODE: A131

Effective date: 20120117

A521 Written amendment

Free format text: JAPANESE INTERMEDIATE CODE: A523

Effective date: 20120130

TRDD Decision of grant or rejection written
A01 Written decision to grant a patent or to grant a registration (utility model)

Free format text: JAPANESE INTERMEDIATE CODE: A01

Effective date: 20120221

A01 Written decision to grant a patent or to grant a registration (utility model)

Free format text: JAPANESE INTERMEDIATE CODE: A01

A61 First payment of annual fees (during grant procedure)

Free format text: JAPANESE INTERMEDIATE CODE: A61

Effective date: 20120227

FPAY Renewal fee payment (event date is renewal date of database)

Free format text: PAYMENT UNTIL: 20150302

Year of fee payment: 3

R150 Certificate of patent or registration of utility model

Ref document number: 4940044

Country of ref document: JP

Free format text: JAPANESE INTERMEDIATE CODE: R150

Free format text: JAPANESE INTERMEDIATE CODE: R150

LAPS Cancellation because of no payment of annual fees