JP4852216B2 - 振動型ジャイロスコープ - Google Patents
振動型ジャイロスコープ Download PDFInfo
- Publication number
- JP4852216B2 JP4852216B2 JP2002355782A JP2002355782A JP4852216B2 JP 4852216 B2 JP4852216 B2 JP 4852216B2 JP 2002355782 A JP2002355782 A JP 2002355782A JP 2002355782 A JP2002355782 A JP 2002355782A JP 4852216 B2 JP4852216 B2 JP 4852216B2
- Authority
- JP
- Japan
- Prior art keywords
- vibrator
- bonding wire
- substrate
- detection
- ground electrode
- Prior art date
- Legal status (The legal status is an assumption and is not a legal conclusion. Google has not performed a legal analysis and makes no representation as to the accuracy of the status listed.)
- Expired - Fee Related
Links
Images
Classifications
-
- G—PHYSICS
- G01—MEASURING; TESTING
- G01C—MEASURING DISTANCES, LEVELS OR BEARINGS; SURVEYING; NAVIGATION; GYROSCOPIC INSTRUMENTS; PHOTOGRAMMETRY OR VIDEOGRAMMETRY
- G01C19/00—Gyroscopes; Turn-sensitive devices using vibrating masses; Turn-sensitive devices without moving masses; Measuring angular rate using gyroscopic effects
- G01C19/56—Turn-sensitive devices using vibrating masses, e.g. vibratory angular rate sensors based on Coriolis forces
- G01C19/5783—Mountings or housings not specific to any of the devices covered by groups G01C19/5607 - G01C19/5719
Landscapes
- Physics & Mathematics (AREA)
- Engineering & Computer Science (AREA)
- General Physics & Mathematics (AREA)
- Radar, Positioning & Navigation (AREA)
- Remote Sensing (AREA)
- Gyroscopes (AREA)
Description
【発明の属する技術分野】
本発明は、振動型ジャイロスコープに関するものである。
【0002】
【従来の技術】
自動車の車体回転速度フィードバック式の車両制御方法に用いる回転速度センサーに、振動型ジャイロスコープを使用することが検討されている。こうしたシステムにおいては、操舵輪の方向自身は、ハンドルの回転角度によって検出する。これと同時に、実際に車体が回転している回転速度を振動ジャイロスコープによって検出する。そして、操舵輪の方向と実際の車体の回転速度を比較して差を求め、この差に基づいて車輪トルク、操舵角に補正を加えることによって、安定した車体制御を実現する。
【0003】
車体制御システムにおいては、振動型ジャイロスコープおよびその振動子は、幅広い環境温度、即ち高温と低温とにさらされる。このような使用温度範囲は、通常は−40℃−+85℃の範囲にわたっており、一層厳しい仕様では更に広い温度範囲にわたる場合もある。特に、振動子を圧電性単結晶によって形成した場合には、圧電性単結晶の有する温度特性の影響がある。本出願人は、特許文献1において、振動型ジャイロスコープの環境温度が変化した場合に、検出振動のQ値の変動を抑制するために、振動子を支持部材へと接着する接着剤のtanδを、使用温度範囲内において0.1以下とすることを開示した。
【特許文献1】
特開2001−12955号公報
【0004】
【発明が解決しようとする課題】
本発明者は、圧電単結晶製の振動子を支持部材上に接着し、固定する構造を量産する研究を進めていたが、この過程で、次の問題点を見いだした。即ち、振動子の支持構造を製造するためには、典型的には、振動子をピン状、平板状の支持部材へと接着している。このためには、振動子と支持部材との間に、液状の接着剤組成物を流し込み、硬化させる必要がある。次いで支持部材とパッケージの台座の表面との間に、接着剤、例えば銀ペーストを流し込み、熱処理によって硬化させる。これによって、振動子と支持部材とをパッケージの台座に接着できる。振動子の支持部材への接着剤としては、例えばシリコーン樹脂系接着剤が好ましい。
【0005】
しかし、最近の技術進歩に伴い、新たな問題点が生じてきた。即ち、本発明者は、パッケージを薄くするために、振動子およびその実装構造を小型化することを研究している。例えば携帯電話の画像撮影装置に振動型ジャイロスコープを内蔵するためには、超小型のパッケージが必要となる。
【0006】
しかし、振動子の支持部材を薄い平板とし、その厚さを0.5mm以下、更には0.3mm以下とすると、種々の問題点が生じてきた。例えば、振動子と平板状の支持部材との間に液状の接着剤組成物を流し込み、硬化させる場合、接着面が小さくなり、使用する接着剤組成物の容積が非常に小さくなると、接着剤の総量や面積を均一に調整することが難しくなる。また、接着剤の液だれや不要な回り込みが発生しやすくなり、全体として接着層の形状および容量の制御が困難になってくる。振動子の接着層の形状や容量に不均一が生じたり、液だれや不要な回り込みが発生すると、接着層の全体的な物性が変動し、この結果、振動子の振動特性が変化する。特に、振動型ジャイロスコープの場合には、振動子上の検出電極からの出力信号が、回転角速度を表す信号である。このため、振動子の振動特性が変化すると、ノイズが大きくなり、回転角速度の正しい値を得ることが難しくなる。
【0007】
本発明の課題は、電気的接続のための端子部を備える振動子を支持するための支持装置であって、振動子を小型化することが可能であり、かつ各支持装置ごとの振動子の振動特性の変動を抑制できるような、新規な支持装置を提供することである。
【0008】
【課題を解決するための手段】
本発明に係る振動型ジャイロスコープは、
実装面上に複数の接点を備える基板、
駆動振動片、検出振動片、および前記駆動振動片と検出振動片とを前記駆動振動片の支持部を介して連結する固定部を備えている平板状の振動子であって、前記固定部の前記基板側の下側面に電気的接続のための複数の端子部を備える平板状の振動子、
前記基板上に設けられている枠体、および
ボンディングワイヤの一方の端部が前記基板の前記接点に固定および電気的に接続されかつ前記枠体に接合され、他方の端部が前記振動子の前記端子部に対して接合および電気的に接続されている、複数のボンディングワイヤを備えており、前記ボンディングワイヤを折り曲げて前記他方の端部を前記基板から離すことで、前記振動子を前記固定部の前記下側面のみで前記ボンディングワイヤによって前記基板に接触しない状態で支持して前記ボンディングワイヤに固定することを特徴とする。
【0009】
本発明者は、振動子の端子部に対して電気信号を供給したり、あるいは振動子の端子部から所定の電気信号をパッケージ基板に伝送するためのボンディングワイヤに着目した。そして、基板上に固定されたボンディングワイヤを振動子の固定部の下側面に対して接合し、ボンディングワイヤを折り曲げることで固定部を基板から浮上した状態で支持することを想到した。振動子を小型化することによって、振動子を浮上状態で支持するのに必要な構造強度が、ボンディングワイヤによって得られる。このような支持構造によれば、各振動子ごとの振動状態の偏差や変動を抑制することができる。
【0010】
【発明の実施の形態】
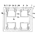
以下、図面を参照しつつ、本発明を更に詳細に説明する。図1は、本発明の支持構造の分解斜視図であり、図2は、本実施例において使用する基板11を示す平面図であり、図3は、基板11上に固定された枠体7およびボンディングワイヤ9、10を示す平面図であり、図4は、本実施例の支持構造を示す平面図である。
【0011】
図2に示すように、本例の基板11の実装面11aには、接点パッド12A、12Bが設けられている。図3に示すように、実装面11a上に枠体7を設置する。本例の枠体7は絶縁性材料からなる。枠体7は、外枠7aと、外枠7aから内側へと突出する補助支持部7bとを備えている。枠体7の内側に空隙8が形成されており、空隙8から基板11の実装面11aが露出している。外枠7a上に各ボンディングワイヤ9、10の端部9a、10aを接合し、固定する。この端部9a、10aは、それぞれ対応する接点パッド12A、12Bに対して電気的に接続されている。ボンディングワイヤ9、10の端部9a、10aから細長い本体9b、10bが伸びている。本体9aは補助支持部7b上に支持されている。
【0012】
次いで、図4に示すように振動子1を実装する。本例の振動子1は、図1、図4に示すように、固定部2と、固定部2から突出する一対の検出振動片3と、固定部2から突出する一対の支持部5と、支持部5の先端に設けられている駆動振動片4とを備えている。駆動時には、各駆動振動片4が、支持部5への付け根を中心として屈曲振動する。この状態で振動子1に対して、振動子1に略垂直に延びる回転軸Zの周りに回転させる。すると、支持部5が固定部2への付け根を中心として屈曲振動し、各検出振動片3がその反作用によって固定部2への付け根を中心として屈曲振動する。各検出振動片3において発生した電気信号に基づいて、Z軸を中心とする回転角速度を算出する。
【0013】
ここで、固定部2上には端子部6が設けられている。各端子部6と、駆動振動片、検出振動片上の電極とは、図示しない配線を通して電気的に接続されている。
【0014】
各ボンディングワイヤ9、10の端部9c、10cを振動子上の端子部6に対して接合する。本例では、振動子の下側面1bの端子部6に対して各ボンディングワイヤを接合し、振動子をボンディングワイヤ上に固定している。振動子1は、基板11の実装面11aに対して直接接触しないようにする必要がある。各ボンディングワイヤの端部9c、10cは、図9に示すように、振動子1の上側面の端子部6に対して接合することもできる。
【0015】
この結果、振動子1はボンディングワイヤ9、10によって、枠体7を介して基板11上に支持され、実装される。この状態で、振動子1の端子部はボンディングワイヤ9、10を通して、基板11上の対応する各接点パッドに対して電気的に接続される。また、振動子1は、基板11の実装面11aに直接接触しないように支持されており、この結果、振動子1の振動が阻害されない。
【0016】
なお、振動子1と実装面11aとの間の間隔を調整し、振動子1が実装面11aに接触しないようにするためには、各ボンディングワイヤ9、10の端部を折り曲げることによって、振動子1側の端部9c、10cを実装面11aから浮上させることができる。
【0017】
振動子の材質は限定されないが、圧電単結晶が好ましく、水晶、ニオブ酸リチウム単結晶、タンタル酸リチウム単結晶、ニオブ酸リチウム−タンタル酸リチウム固溶体単結晶、ホウ酸リチウム単結晶、ランガサイト単結晶等からなる圧電単結晶が特に好ましい。
【0018】
振動子の寸法は限定されない。しかし、振動子の重量や寸法が大きいと、ボンディングワイヤに加わる重力が大きくなり、長期間経過時にボンディングワイヤが変形する可能性がある。このため、ボンディングワイヤの変形による振動への影響を抑制するという観点からは、振動子の幅を10mm以下とすることが好ましく、5mm以下とすることがさらに好ましい。また、同様の観点からは、振動子の重量を5mg以下とすることが好ましく、1mg以下とすることが一層好ましい。また、振動子の厚さを0.3mm以下とすることが好ましく、0.2mm以下とすることが更に好ましい。
【0019】
基板11の材質は特に限定されず、いわゆるパッケージ用途に用いられている絶縁性材料、例えばセラミックス、ガラス、樹脂を使用できる。
【0020】
ボンディングワイヤは、基板の実装面に直接に支持されていてもよいが、基板上の枠体上に支持されていることが好ましい。なぜなら、振動子に対して複数のボンディングワイヤを位置決めする必要がある。この際に、枠体上に複数のボンディングワイヤを位置決めし、アライメントすることは、基板の実装面上にボンディングワイヤを位置決めすることよりも容易だからである。
【0021】
ボンディングワイヤの振動子への接合方法は限定されないが、超音波ボンディング、スポット溶接、導電性接着剤、半田付けが好ましい。
【0022】
ボンディングワイヤは、振動子の端子部に対して電気的に接続されている。ここで、ボンディングワイヤが振動子の端子部に対して接合されている。
【0023】
振動子は、基板に直接接触しない状態で支持する必要があり、これによって振動子の振動の阻害を防止する。好適な実施形態においては、振動子と基板との間隔は、0.1mm以上であり、更に好ましくは0.2mm以上である。
【0024】
図1〜図4の例においては、各ボンディングワイヤの先端を折り曲げることによって、ボンディングワイヤの接合端部9c、10cを実装面11aから離す。
【0025】
図5は、参考形態に係る支持構造を示す分解斜視図である。図5において、図1に示した部分には同じ符号をつけ、その説明を省略する。図5においては、各ボンディングワイヤ19、20は折り曲げられておらず、略平面的である。このため、接点12A、12B(図1参照)上にボンディングワイヤ19、20を載せ、ボンディングワイヤの各端部19c、20c上に振動子1を載せると、振動子1と実装面11aとの間隔は非常に小さくなり、振動子が振動する際に接触するおそれがある。このため、基板実装面11a上の接点パッド17A、17Bの厚さを大きくし、接点パッド17A、17B上に各ボンディングワイヤの各端部19a、20aを載せ、接合する。この結果、振動子1を実装面11aから十分に離すことができる。なお、19b、20bは本体である。
【0026】
振動子1の振動に対する実装面11aの悪影響を防止するという観点からは、実装面上の接点パッドの厚さを0.1mm以上とすることが好ましく、0.2mm以上とすることが更に好ましい。
【0027】
ボンディングワイヤの材質は特に限定されないが、導電性材料である必要があり,また柔軟性ないし可撓性を有する材料であることが好ましい。この観点からは、金めっき付銅、金めっき付ニッケル、ニッケル、アルミニウムが好ましい。
【0028】
ボンディングワイヤの幅と厚さは特に限定されないが、振動子を長期間にわたって安定して支持するという観点からは、幅25μm、厚さ10μm以上であることが好ましく、幅50μm、厚さ20μm以上であることが更に好ましい。また、支持構造全体の小型化という観点からは、幅200μm、厚さ80μm以下であることが好ましく、幅100μm、厚さ40μm以下であることが更に好ましい。
【0029】
参考形態では、ボンディングワイヤによって振動子の上面を支持する。この場合は、例えば後述の図9に示すように、振動子がボンディングワイヤの端部から下へと向かってつり下げられる。
【0030】
本発明では、例えば図4に示すように、ボンディングワイヤによって振動子の下面を支持する。この形態は、振動子を長期間にわたって安定に支持するという観点からは好適である。
【0031】
基板の種類は特に限定されないが、パッケージ用基板であることが好ましい。
【0032】
本発明においては、振動子が、駆動振動片、検出振動片と、これらを固定する固定部とを備えており、この固定部がボンディングワイヤに対して接合されている。これによって、振動片の屈曲振動に対する支持構造の影響を最小限に抑えることができ、支持構造の影響による振動子ごとの振動状態のバラツキを抑制できる。
【0033】
本発明においては、振動子が、回転角速度を検出するための振動型ジャイロスコープ用の振動子である。この場合には、振動子からの出力信号を信号処理することで角速度を検出しているので、各振動子ごとの振動状態のバラツキに伴う角速度の誤差が大きくなる。従って、本発明の作用効果が特に顕著である。
【0034】
好適な実施形態においては、枠体が絶縁性材料からなる。この場合には、図1〜図5の例のように、各ボンディングワイヤを枠体に対して直接固定することができる。こうした枠体の材質は特に限定されないが、樹脂、絶縁性セラミックス、ガラスが好ましく、具体的にはポリイミド、石英ガラス、アルミナセラミックスが好ましい。また、ボンディングワイヤの枠体への接合方法は、例えば接着、嵌合、圧着、かしめがある。
【0035】
また、枠体を導電性材料によって形成することができる。この材料としては、金属、導電性プラスチック、金属メッキ樹脂を例示できる。特に枠体を金属によって構成した場合には、枠体の形状安定性が一層高くなり、これによって各ボンディングワイヤのアライメント時の精度が一層高くなる。この金属としては、ステンレス、銅、ニッケル、アルミニウム、真鍮を例示できる。
【0036】
ただし、枠体を導電性材料によって形成した場合には、枠体と各ボンディングワイヤとの間には絶縁体を設け、ボンディングワイヤと枠体とを絶縁する必要がある。こうした絶縁体としては、ポリイミド樹脂、エポキシ樹脂、シリコン樹脂が好ましい。絶縁体の形態は特に限定されないが、膜状、シート状であることが好ましい。
【0037】
図6〜図10は、枠体を導電性材料によって形成した実施形態に係るものである。図6は、本発明の支持構造の分解斜視図であり、図7は、本実施例において使用する基板11、枠体21および絶縁体22A、22B、22Cを示す平面図であり、図8は、図7のワイヤ21上に固定されたボンディングワイヤ9、10を示す平面図であり、図9は、本実施例の支持構造を示す平面図である。
【0038】
図7に示すように、本例の基板11の実装面11aには、接点パッド12A、12Bが設けられている。実装面11a上には枠体21が設置されている。本例の枠体21は導電性材料からなる。枠体21は、外枠21aと、外枠21aから内側へと突出する補助支持部21bとを備えている。枠体21の内側に空隙8が形成されており、空隙8から基板11の実装面11aが露出している。外枠21の所定箇所に、絶縁体22A、22B、22Cが固定されている。
【0039】
図8に示すように、外枠21a上に、絶縁体22A、22Bを介して各ボンディングワイヤ9、10の端部9a、10aを接合し、固定する。この端部9a、10aは、それぞれ対応する接点パッド12A、12Bに対して電気的に接続されている。ボンディングワイヤ9、10の端部9a、10aから細長い本体9b、10bが伸びている。本体9aは絶縁体22Cを介して補助支持部21b上に支持されている。
【0040】
次いで、図9に示すように各ボンディングワイヤ9、10の端部9c、10cを振動子上の端子部6に対して接合し、振動子1を実装する。本例では、振動子の上側面1aの端子部6に対して各ボンディングワイヤを接合し、振動子をボンディングワイヤ下につり下げている。この状態で、振動子1の端子部はボンディングワイヤ9、10を通して、基板11上の対応する各接点パッドに対して電気的に接続される。
【0041】
なお、振動子1と実装面11aとの間の間隔を調整し、振動子1が実装面11aに接触しないようにするために、各ボンディングワイヤ9、10の端部を折り曲げることによって、振動子1側の端部9c、10cを実装面11aから浮上させている。
【0042】
図10は、参考形態に係る支持構造を示す分解斜視図である。図10において、図6に示した部分には同じ符号をつけ、その説明を省略する。図10においては、各ボンディングワイヤ19、20は折り曲げられておらず、略平面的である。このため、基板実装面11a上の接点パッド17A、17Bの厚さを大きくし、接点パッド17A、17B上に各ボンディングワイヤの各端部19a、20aを載せ、接合する。この結果、振動子1を実装面11aから十分に離すことができる。
【0043】
好適な実施形態においては、枠体を構成する導電性材料を接地する。これによって、各ボンディングワイヤ間での容量結合の寄与によるノイズを一層低減できることがわかった。
【0044】
図11は、この実施形態に係る支持装置を示す平面図である。本例の支持装置は、図9に示した支持装置と類似のもであるので、図9に示した構成部分には同じ符号をつけ、その説明を省略する。図11の支持装置においては、基板の実装面11aに対して導電性接合部25によって枠体21が固定され、かつ電気的に接続されている。基板の実装面11aを接地することによって、枠体21も接地することができる。枠体21を接地すると、隣接するボンディングワイヤ9と10との間での静電結合の寄与によるノイズを低減できる。
【0045】
導電性材料を接地するための方法は限定されず、例えば導電性ペーストの焼き付け、ハンダ付け、導電性接着剤、スポット溶接法を例示できる。また、導電性材料と基板実装面とを接合する導電性接合部25の材質は、例えば金、銀などの貴金属であってよい。
【0046】
導電性接合材24の接地部位は複数存在することが好ましい。この場合には、振動子1の重心GOを通るX軸に対して、複数の導電性接合材25の位置が略線対称であることが好ましい。
本例では、各ボンディングワイヤ9、10の端部9a、10aおよび絶縁体22A、22Bを包囲するように、それぞれクリアランス24が形成されている。クリアランス24内には、基板実装面11a上の接地電極が存在しない。
【0047】
好適な実施形態においては、基板と振動子との間にクッション層が設けられている。図12は、この実施形態に係る支持装置を示す分解斜視図である。図12に示す各構成部分は図1に示したので、同じ構成部分の説明は省略する。
【0048】
本例では、クッション材26が基板11の実装面11aに設けられている。クッション材26の位置は振動子1の直下とする。クッション材26は、設置時には振動子1に接触しないようにクリアランスを設ける。
【0049】
この利点について述べる。支持構造に外部から衝撃が加わったときには、ボンディングワイヤ9、10が変形し、振動子が実装面11a側へと落下する。このとき、振動子1が実装面11aに直接衝突すると、振動子が破損するおそれがある。また、振動子が破損しない場合であっても、ボンディングワイヤの変形が弾性限界を超え、塑性変形することがある。ボンディングワイヤが塑性変形すると、振動子の支持状態が変化するので、不要な回転軸の周りの回転角速度を計測してノイズとなったり、温度ドリフトが増大するおそれがある。
【0050】
これに対して、振動子が実装面11aへと向かって落下するときに、クッション材26によって保持することで、衝撃を緩和でき、かつボンディングワイヤの過大な変形を防止できる。
【0051】
クッション材26は、導電性を有する材質からなることがさらに好ましく、これによってクッション材26を実装面11aへと設置することが、振動子上の電極への電気的影響を抑制する点から好ましい。
クッション材26の材質は、例えばシリコーン樹脂、ウレタン樹脂等の樹脂、ゴム、金属バネであってよい。
【0052】
また、好適な実施形態においては、絶縁性材料上あるいは絶縁体上に、接地されたガード電極を設ける。また、好適な実施形態においては、ボンディングワイヤが、駆動側信号電極に接続されるべき駆動側信号電極用ボンディングワイヤ、駆動側接地電極に接続されるべき駆動側接地電極用ボンディングワイヤ、検出側信号電極に接続されるべき検出側信号電極用ボンディングワイヤ、および検出側接地電極に接続されるべき検出側接地電極用ボンディングワイヤを含む。
【0053】
図13、図14は、この実施形態に係るものである。図13、図14の支持装置は、図3に示す支持装置と類似のものである。しかし、図13においては、絶縁性材料からなる枠体7の表面に、設置されたガード電極50A、50Bが形成されている。本例では、ボンディングワイヤは、駆動側信号電極用ボンディングワイヤ9A、検出側信号電極用ボンディングワイヤ9B、駆動側設置電極用ボンディングワイヤ10Aおよび検出側接地電極用ボンディングワイヤ10Bを含む。そして、駆動側接地電極用ボンディングワイヤ10Aおよび検出側接地電極用ボンディングワイヤ10Bは、ガード電極50A、50Bに接続され、接地されている。
【0054】
図14においては、ボンディングワイヤは、駆動側信号電極用ボンディングワイヤ9A、検出側信号電極用ボンディングワイヤ9B、駆動側設置電極用ボンディングワイヤ10Aおよび検出側接地電極用ボンディングワイヤ10Bを含む。そして、信号電極用ボンディングワイヤ9A、9Bの各端部9aを包囲するように、枠体7Aに各包囲部7cが形成されている。絶縁性材料からなる枠体7の表面に、設置されたガード電極50A、50Bが形成されており、包囲部7c上にガード電極50Cが形成されている。駆動側接地電極用ボンディングワイヤ10Aおよび検出側接地電極用ボンディングワイヤ10Bは、ガード電極50A、50Bに接続され、接地されている。また、信号電極用ボンディングワイヤ9A、9Bの各端部9aが、ガード電極50A、50Bと50Cとによって包囲されている。
【0055】
好適な実施形態においては、複数の検出側信号電極用ボンディングワイヤを含み、駆動側信号電極用ボンディングワイヤの接続部と駆動側接地電極用ボンディングワイヤの接続部とを結ぶ直線に対して、複数の検出側信号電極用ボンディングワイヤが略線対称の位置に配置されている。さらに好適な実施形態においては、駆動側信号電極用ボンディングワイヤの接続部と駆動側接地電極用ボンディングワイヤの接続部とを結ぶ直線に対して、複数の検出側接地電極用ボンディングワイヤが略線対称の位置に配置されている。
【0056】
図15〜図19は、この実施形態に係るものである。図15には、絶縁性材料からなる枠体40を示す。枠体40には、振動子を配置することを意図した中央穴42と、これを包囲する4つの貫通孔41とが設けられている。43はブリッジ部である。本例の枠体40は導電性材料からなる。
【0057】
図16においては、枠体40上に絶縁体44を載置した状態を示した。図17においては、さらに絶縁体44上に、駆動側信号電極用ボンディングワイヤ45および駆動側接地電極用ボンディングワイヤ46を載置した状態を示す。図18においては、さらに検出側信号電極用ボンディングワイヤ47A、47Bを載置した状態を示す。図19には、さらに検出側接地電極用ボンディングワイヤ48A、48Bを載置した状態を示す。
【0058】
例えば図17に示すように、駆動側信号電極用ボンディングワイヤ45は、配線部45a、中央穴42への突出部45bおよび振動子の電極パッドへの接続部45cを備えている。このボンディングワイヤ45は、振動子の駆動側の信号電極に対して接続されている。駆動側接地電極用ボンディングワイヤ46は、配線部46a、中央穴42への突出部46bおよび振動子の電極パッドへの接続部46cを備えている。このボンディングワイヤ46は、振動子の駆動側の接地電極に対して接続されている。本例では、ボンディングワイヤ45の接続部45cとボンディングワイヤ46の接続部46cとは対向している。Mは、接続部45cと46cとを結ぶ直線である。
【0059】
図18に示すように、検出側信号電極用ボンディングワイヤ47A、47Bは、それぞれ配線部47a、中央穴42への突出部47bおよび振動子の電極パッドへの接続部47cを備えている。図19に示すように、検出側接地電極用ボンディングワイヤ48A、48Bは、それぞれ配線部48a、中央穴42への突出部48b、振動子の電極パッドへの接続部48cおよびガード電極部48dを備えている。このボンディングワイヤ48A、48Bは、基板実装面に接地されている。
【0060】
本例では、駆動側信号電極用ボンディングワイヤの接続部45cと駆動側接地電極用ボンディングワイヤの接続部46cとを結ぶ直線Mに対して、検出側信号電極用ボンディングワイヤ47Aと47Bが略線対称の位置に配置されている。さらに、直線Mに対して、複数の検出側接地電極用ボンディングワイヤ48Aと48Bが略線対称の位置に配置されている。
【0061】
この利点について述べる。本発明者は、振動型ジャイロスコープを小型の電子機器、例えば携帯電話に内蔵することを検討している。しかし、このためには振動子の寸法を著しく小さくする必要があり、振動子の寸法は例えば数mm程度となる。この大きさになると、従来の振動子では問題にならなかった静電結合が生じ、ノイズの原因になる。振動子上の各パッド間の間隔は、例えば50μm程度しかとることができない。この水準の寸法になると、駆動側信号パッドと検出側パッドとの間での静電結合の寄与が大きくなる。この結果、振動子が静止しているときに2つの検出振動系からの検出値の差をとると、静電結合の寄与によって差が0にならず、ノイズを生ずる。また、環境温度が変化すると、零点温度ドリフトの原因となる。
【0062】
これに対して、駆動側信号電極用ボンディングワイヤの接続部45cと駆動側接地電極用ボンディングワイヤの接続部46cとを結ぶ直線Mに対して、検出側信号電極用ボンディングワイヤ47Aと47Bとを略線対称の位置に配置することによって、同位相、同振幅のノイズを相殺でき、容量結合の影響を抑制してノイズを低減するのに有効である。さらに、直線Mに対して、複数の検出側接地電極用ボンディングワイヤ48Aと48Bを略線対称の位置に配置することも有効である。
【0063】
好適な実施形態においては、複数の検出側信号電極用ボンディングワイヤ47Aと47Bとが直線Mに対して略線対称の形状を有する。即ち、47Aと47Bとが略合同形状を有する。ただし、47Aと47Bとは合同である必要はない。
【0064】
【実施例】
(実験1)
図1に示す振動型ジャイロスコープ用の支持構造を作製した。具体的には、厚さ0.1mmの水晶のZ板のウエハーに、スパッタ法によって、所定位置に、厚さ100オングストロームのクロム膜と、厚さ1500オングストロームの金膜とを形成した。ウエハーの両面にレジストをコーティングした。
【0065】
このウエハーを、ヨウ素とヨウ化カリウムとの水溶液に浸漬し、余分な金膜をエッチングによって除去し、更に硝酸セリウムアンモニウムと過塩素酸との水溶液にウエハーを浸漬し、余分なクロム膜をエッチングして除去した。温度80℃の重フッ化アンモニウムに20時間ウエハーを浸漬し、ウエハーをエッチングし、振動子1の外形を形成した。メタルマスクを使用して、厚さ100オングストロームのクロム膜上に厚さ2000オングストロームの金膜を電極膜として形成した。振動子1の寸法は、縦3.8mm、横4.5mm、厚さ0.1mmであり、重量は約0.8mgであった。
【0066】
図2〜図4を参照しつつ説明したプロセスに従って、振動子1をパッケージに実装した。ただし、基板11はアルミナセラミックスによって形成し、接点パッド12A、12Bは金によって形成し、枠体7はポリイミド樹脂によって形成した。枠体7によって、パッケージ中でボンディングワイヤと接点パッド12A、12Bの位置を合わせることができる。ボンディングワイヤは、銅膜線を金によってメッキすることで製造した。銅膜線の厚さは約20μmであり、幅は約100μmであり、金メッキの厚さは約1μmであった。ボンディングワイヤを枠体に対して接着によって接合し、振動子1に対して超音波ボンディングによって接合した。
【0067】
(実験2)
実験1と同様にして、図15〜図19に示す支持構造を製造した。ただし、基板11はアルミナセラミックスによって形成し、接点パッドは金によって形成し、枠体40はSUSによって形成し、絶縁体44はポリイミド樹脂によって形成した。各ボンディングワイヤは、銅膜線を金によってメッキすることで製造した。銅膜線の厚さは約20μmであり、幅は約100μmであり、金メッキの厚さは約1μmであった。各ボンディングワイヤを絶縁体44に対して接着し、振動子1に対して超音波ボンディングによって接合した。
【0068】
【発明の効果】
以上述べたように、本発明によれば、電気的接続のための端子部を備える振動子を支持するための支持装置であって、振動子を小型化することが可能であり、かつ各支持装置ごとの振動子の振動特性の変動を抑制できるような、新規な支持装置を提供できる。
【図面の簡単な説明】
【図1】 本発明の支持構造の分解斜視図である。
【図2】 図1の実施例において使用する基板11を示す平面図である。
【図3】 基板11上に固定された枠体7およびボンディングワイヤ9、10を示す平面図である。
【図4】 図1の実施例の支持構造を示す平面図である。
【図5】 参考形態に係る支持構造を示す分解斜視図である。
【図6】 本発明の実施形態に係る支持構造の分解斜視図である。
【図7】 図6の実施例において使用する基板11、枠体21および絶縁体22A、22B、22Cを示す平面図である。
【図8】 図7の枠体21上に固定されたボンディングワイヤ12A、12Bを示す平面図である。
【図9】 図6の実施例の支持構造を示す平面図である。
【図10】 参考形態に係る支持構造を示す分解斜視図である。
【図11】 枠体21を基板11に対して接地した支持装置を示す平面図である。
【図12】 クッション材26を基板11上に設けた支持装置を示す分解斜視図である。
【図13】 枠体11上にガード電極50A、50Bを設けた支持装置を示す平面図である。
【図14】 枠体11上にガード電極50A〜50Cを設けた支持装置を示す平面図である。
【図15】 導電性材料からなる枠体40を示す平面図である。
【図16】 枠体40および絶縁体44を示す平面図である。
【図17】 枠体40、絶縁体44、駆動側信号電極用ボンディングワイヤ45および駆動側接地電極用ボンディングワイヤ46を示す平面図である。
【図18】 枠体40、絶縁体44、駆動側信号電極用ボンディングワイヤ45、駆動側接地電極用ボンディングワイヤ46および検出側信号電極用ボンディングワイヤ47A、47Bを示す平面図である。
【図19】 支持装置の平面図を示す。
【符号の説明】
1 振動子 2 固定部 3 検出振動片(屈曲振動片) 4 駆動振動片(屈曲振動片) 5 支持部(屈曲振動片) 6 端子部 7 絶縁性材料からなる枠体 7a、21a 外枠 7b、21b 補助支持部 9、10 ボンディングワイヤ(端部の折り曲げあり) 9a、10a ボンディングワイヤの枠体側の端部 9c、10c ボンディングワイヤの振動子側の端部 11 基板 11a 基板の実装面 12A、12B 接点パッド 17A、17B 厚みのある接点パッド 19、20 平面状のボンディングワイヤ(端部の折り曲げなし) 21 導電性材料からなる枠体
Claims (8)
- 実装面上に複数の接点を備える基板、
駆動振動片、検出振動片、および前記駆動振動片と検出振動片とを前記駆動振動片の支持部を介して連結する固定部を備えている平板状の振動子であって、前記固定部の前記基板側の下側面に電気的接続のための複数の端子部を備える平板状の振動子、
前記基板上に設けられている枠体、および
ボンディングワイヤの一方の端部が前記基板の前記接点に固定および電気的に接続されかつ前記枠体に接合され、他方の端部が前記振動子の前記端子部に対して接合および電気的に接続されている、複数のボンディングワイヤを備えており、
前記ボンディングワイヤを折り曲げて前記他方の端部を前記基板から離すことで、前記振動子を前記固定部の前記下側面のみで前記ボンディングワイヤによって前記基板に接触しない状態で支持して前記ボンディングワイヤに固定することを特徴とする、振動型ジャイロスコープ。 - 前記枠体が絶縁性材料からなることを特徴とする、請求項1記載の振動型ジャイロスコープ。
- 前記枠体上に、接地された二つのガード電極が前記枠体の内側のほぼ全周にわたって設けられていることを特徴とする、請求項2記載の振動型ジャイロスコープ。
- 前記基板がパッケージ用基板であることを特徴とする、請求項1〜3のいずれか一つの請求項に記載の振動型ジャイロスコープ。
- 前記基板上に前記振動子との間のクリアランスを有するように導電性クッション層が設けられていることを特徴とする、請求項1〜4のいずれか一つの請求項に記載の振動型ジャイロスコープ。
- 前記ボンディングワイヤが、駆動側信号電極に接続されるべき駆動側信号電極用ボンディングワイヤ、駆動側接地電極に接続されるべき駆動側接地電極用ボンディングワイヤ、検出側信号電極に接続されるべき検出側信号電極用ボンディングワイヤ、および検出側接地電極に接続されるべき検出側接地電極用ボンディングワイヤを含むことを特徴とする、請求項1〜5のいずれか一つの請求項に記載の振動型ジャイロスコープ。
- 複数の前記検出側信号電極用ボンディングワイヤを含み、前記駆動側信号電極用ボンディングワイヤの接続部と前記駆動側接地電極用ボンディングワイヤの接続部とを結ぶ直線に対して、前記検出側信号電極用ボンディングワイヤが略線対称の位置に配置されていることを特徴とする、請求項6記載の振動型ジャイロスコープ。
- 複数の前記検出側接地電極用ボンディングワイヤを含み、前記駆動側信号電極用ボンディングワイヤの接続部と前記駆動側接地電極用ボンディングワイヤの接続部とを結ぶ直線に対して、前記検出側接地電極用ボンディングワイヤが略線対称の位置に配置されていることを特徴とする、請求項6または7記載の振動型ジャイロスコープ。
Priority Applications (3)
| Application Number | Priority Date | Filing Date | Title |
|---|---|---|---|
| JP2002355782A JP4852216B2 (ja) | 2002-01-30 | 2002-12-06 | 振動型ジャイロスコープ |
| US10/346,661 US7150386B2 (en) | 2002-01-30 | 2003-01-17 | Systems and structures for supporting vibrators |
| EP03001862.6A EP1333289B1 (en) | 2002-01-30 | 2003-01-29 | System and structure for supporting vibrators |
Applications Claiming Priority (4)
| Application Number | Priority Date | Filing Date | Title |
|---|---|---|---|
| JP2002-22070 | 2002-01-30 | ||
| JP2002022070 | 2002-01-30 | ||
| JP2002022070 | 2002-01-30 | ||
| JP2002355782A JP4852216B2 (ja) | 2002-01-30 | 2002-12-06 | 振動型ジャイロスコープ |
Related Child Applications (1)
| Application Number | Title | Priority Date | Filing Date |
|---|---|---|---|
| JP2009027070A Division JP4868299B2 (ja) | 2002-01-30 | 2009-02-09 | 振動子の支持装置および支持構造 |
Publications (2)
| Publication Number | Publication Date |
|---|---|
| JP2003294450A JP2003294450A (ja) | 2003-10-15 |
| JP4852216B2 true JP4852216B2 (ja) | 2012-01-11 |
Family
ID=26625658
Family Applications (1)
| Application Number | Title | Priority Date | Filing Date |
|---|---|---|---|
| JP2002355782A Expired - Fee Related JP4852216B2 (ja) | 2002-01-30 | 2002-12-06 | 振動型ジャイロスコープ |
Country Status (3)
| Country | Link |
|---|---|
| US (1) | US7150386B2 (ja) |
| EP (1) | EP1333289B1 (ja) |
| JP (1) | JP4852216B2 (ja) |
Families Citing this family (23)
| Publication number | Priority date | Publication date | Assignee | Title |
|---|---|---|---|---|
| SG104291A1 (en) * | 2001-12-08 | 2004-06-21 | Micron Technology Inc | Die package |
| US7148609B2 (en) | 2003-05-12 | 2006-12-12 | Ngk Insulators, Ltd. | Structures for supporting vibrators |
| JP4389480B2 (ja) | 2003-05-28 | 2009-12-24 | セイコーエプソン株式会社 | 振動子の支持機構及び振動子ユニット |
| JP3966237B2 (ja) | 2003-06-19 | 2007-08-29 | セイコーエプソン株式会社 | 圧電デバイス、圧電デバイスを搭載した電子機器 |
| JP4386170B2 (ja) * | 2003-11-12 | 2009-12-16 | セイコーエプソン株式会社 | 振動型ジャイロスコープ |
| CN1879007B (zh) | 2003-11-12 | 2010-09-08 | 精工爱普生株式会社 | 振动式陀螺仪 |
| JP2005156457A (ja) * | 2003-11-27 | 2005-06-16 | Ngk Insulators Ltd | 振動子、電子機器および物理量測定装置 |
| JP2004282089A (ja) * | 2004-03-31 | 2004-10-07 | Univ Kyoto | 機能素子、機能素子を用いた装置、および機能素子の製造方法 |
| JP4543816B2 (ja) * | 2004-05-19 | 2010-09-15 | セイコーエプソン株式会社 | 圧電振動片、振動型ジャイロスコープ |
| KR100618342B1 (ko) * | 2004-07-29 | 2006-09-04 | 삼성전자주식회사 | 소형 구조물 및 그 제작방법 |
| JP4428309B2 (ja) | 2004-09-10 | 2010-03-10 | セイコーエプソン株式会社 | 振動型ジャイロスコープ |
| JP4381354B2 (ja) | 2004-09-10 | 2009-12-09 | セイコーエプソン株式会社 | 振動子の支持構造および物理量測定装置 |
| JP4415382B2 (ja) | 2005-01-20 | 2010-02-17 | セイコーエプソン株式会社 | 振動ジャイロ素子、振動ジャイロ素子の支持構造およびジャイロセンサ |
| JP2006284551A (ja) * | 2005-02-23 | 2006-10-19 | Sony Corp | 振動型ジャイロセンサ |
| JP5037819B2 (ja) * | 2005-03-04 | 2012-10-03 | ソニー株式会社 | 電子機器 |
| JP4924873B2 (ja) * | 2006-08-02 | 2012-04-25 | セイコーエプソン株式会社 | 圧電振動ジャイロモジュール及び圧電振動ジャイロセンサ |
| JP5272778B2 (ja) * | 2009-02-13 | 2013-08-28 | パナソニック株式会社 | センサ部品 |
| JP2010190706A (ja) * | 2009-02-18 | 2010-09-02 | Panasonic Corp | 慣性力センサ |
| JP2011220997A (ja) * | 2010-03-26 | 2011-11-04 | Seiko Epson Corp | 物理量検出素子、物理量検出装置、および電子機器 |
| JP5257440B2 (ja) * | 2010-12-08 | 2013-08-07 | セイコーエプソン株式会社 | 圧電デバイス |
| JP6668626B2 (ja) | 2015-07-16 | 2020-03-18 | セイコーエプソン株式会社 | 電子デバイス、電子機器、および移動体 |
| KR102675031B1 (ko) * | 2018-08-30 | 2024-06-17 | 삼성디스플레이 주식회사 | 표시장치 |
| PL238058B1 (pl) * | 2018-09-25 | 2021-07-05 | Inst Spawalnictwa | Hybrydowe urządzenie wibracyjne, zwłaszcza do stabilizacji wymiarów wyrobów metalowych |
Family Cites Families (23)
| Publication number | Priority date | Publication date | Assignee | Title |
|---|---|---|---|---|
| US3054915A (en) * | 1959-03-16 | 1962-09-18 | Hill Electronics Inc | Mount for piezo-electric crystal |
| US3742181A (en) * | 1971-02-25 | 1973-06-26 | Argus Eng Co | Method and apparatus for heatbonding in a local area using combined heating techniques |
| JPH0622163Y2 (ja) * | 1989-02-13 | 1994-06-08 | 日本電気ホームエレクトロニクス株式会社 | 振動ジャイロ |
| JPH03282372A (ja) * | 1990-03-30 | 1991-12-12 | Canon Inc | 物体の運動検出装置 |
| JP2532779B2 (ja) * | 1991-10-08 | 1996-09-11 | 赤井電機株式会社 | 振動子の支持構造 |
| JPH07151780A (ja) * | 1993-11-30 | 1995-06-16 | Kyocera Corp | 角速度検出器 |
| JP2885274B2 (ja) * | 1995-02-28 | 1999-04-19 | 日本電気株式会社 | 圧電トランス装置 |
| JPH09166445A (ja) * | 1995-12-15 | 1997-06-24 | Miyota Kk | 角速度センサ |
| JP2923467B2 (ja) * | 1996-02-29 | 1999-07-26 | リコー計器株式会社 | 圧電トランスの支持装置 |
| JP3752737B2 (ja) * | 1996-08-12 | 2006-03-08 | トヨタ自動車株式会社 | 角速度検出装置 |
| JPH10303678A (ja) * | 1997-04-30 | 1998-11-13 | Murata Mfg Co Ltd | 圧電部品及びその製造方法 |
| DE69832843T2 (de) * | 1997-05-28 | 2006-07-27 | Murata Mfg. Co., Ltd., Nagaokakyo | Vibrationskreisel |
| JP3999377B2 (ja) * | 1997-11-04 | 2007-10-31 | 日本碍子株式会社 | 振動子、振動型ジャイロスコープ、直線加速度計および回転角速度の測定方法 |
| JP2000180178A (ja) * | 1998-12-15 | 2000-06-30 | Ngk Insulators Ltd | 振動体および振動型ジャイロスコープ |
| JP2001004380A (ja) * | 1999-06-22 | 2001-01-12 | Sony Corp | 角速度センサー |
| JP4364349B2 (ja) | 1999-07-02 | 2009-11-18 | 日本碍子株式会社 | 振動型ジャイロスコープ |
| JP4338834B2 (ja) * | 1999-08-06 | 2009-10-07 | 日本テキサス・インスツルメンツ株式会社 | 超音波振動を用いた半導体チップの実装方法 |
| JP2001091259A (ja) | 1999-09-20 | 2001-04-06 | Tokin Ceramics Corp | 圧電振動ジャイロ |
| JP2001208546A (ja) * | 1999-11-16 | 2001-08-03 | Matsushita Electric Ind Co Ltd | 角速度センサ |
| JP4626002B2 (ja) * | 2000-01-12 | 2011-02-02 | セイコーエプソン株式会社 | 振動型ジャイロスコープ |
| JP3613117B2 (ja) * | 2000-02-23 | 2005-01-26 | 株式会社村田製作所 | 振動子及びそれを用いた振動ジャイロ及びそれを用いた電子装置 |
| JP2001296128A (ja) | 2000-04-12 | 2001-10-26 | Tokin Ceramics Corp | 圧電振動ジャイロ |
| JP2001304870A (ja) | 2000-04-21 | 2001-10-31 | Tokin Corp | 圧電振動ジャイロ |
-
2002
- 2002-12-06 JP JP2002355782A patent/JP4852216B2/ja not_active Expired - Fee Related
-
2003
- 2003-01-17 US US10/346,661 patent/US7150386B2/en not_active Expired - Lifetime
- 2003-01-29 EP EP03001862.6A patent/EP1333289B1/en not_active Expired - Lifetime
Also Published As
| Publication number | Publication date |
|---|---|
| JP2003294450A (ja) | 2003-10-15 |
| EP1333289B1 (en) | 2019-06-19 |
| US7150386B2 (en) | 2006-12-19 |
| US20030141340A1 (en) | 2003-07-31 |
| EP1333289A1 (en) | 2003-08-06 |
Similar Documents
| Publication | Publication Date | Title |
|---|---|---|
| JP4852216B2 (ja) | 振動型ジャイロスコープ | |
| KR100906178B1 (ko) | 진동자의 지지 구조 및 물리량 측정 장치 | |
| US8434363B2 (en) | Support member of vibrator | |
| JP4868299B2 (ja) | 振動子の支持装置および支持構造 | |
| JP4428309B2 (ja) | 振動型ジャイロスコープ | |
| US7148609B2 (en) | Structures for supporting vibrators | |
| JP4859347B2 (ja) | 振動型ジャイロスコープ | |
| JP4324956B2 (ja) | 振動型ジャイロスコープ | |
| JP4297415B2 (ja) | 振動型ジャイロスコープ | |
| JP4324955B2 (ja) | 振動型ジャイロスコープ | |
| JP4297251B2 (ja) | 回転角速度測定装置 | |
| JP2004144578A (ja) | 振動子の実装構造 | |
| JP2007192662A (ja) | 角速度センサ | |
| JP2008058049A (ja) | 振動子およびこの振動子を用いた振動型ジャイロスコープ |
Legal Events
| Date | Code | Title | Description |
|---|---|---|---|
| A621 | Written request for application examination |
Free format text: JAPANESE INTERMEDIATE CODE: A621 Effective date: 20051020 |
|
| A711 | Notification of change in applicant |
Free format text: JAPANESE INTERMEDIATE CODE: A711 Effective date: 20081024 |
|
| RD02 | Notification of acceptance of power of attorney |
Free format text: JAPANESE INTERMEDIATE CODE: A7422 Effective date: 20081024 |
|
| A521 | Request for written amendment filed |
Free format text: JAPANESE INTERMEDIATE CODE: A523 Effective date: 20081031 |
|
| A131 | Notification of reasons for refusal |
Free format text: JAPANESE INTERMEDIATE CODE: A131 Effective date: 20081211 |
|
| A521 | Request for written amendment filed |
Free format text: JAPANESE INTERMEDIATE CODE: A523 Effective date: 20090209 |
|
| A131 | Notification of reasons for refusal |
Free format text: JAPANESE INTERMEDIATE CODE: A131 Effective date: 20090702 |
|
| A521 | Request for written amendment filed |
Free format text: JAPANESE INTERMEDIATE CODE: A523 Effective date: 20090828 |
|
| A02 | Decision of refusal |
Free format text: JAPANESE INTERMEDIATE CODE: A02 Effective date: 20100104 |
|
| A521 | Request for written amendment filed |
Free format text: JAPANESE INTERMEDIATE CODE: A523 Effective date: 20100331 |
|
| A911 | Transfer to examiner for re-examination before appeal (zenchi) |
Free format text: JAPANESE INTERMEDIATE CODE: A911 Effective date: 20100409 |
|
| A912 | Re-examination (zenchi) completed and case transferred to appeal board |
Free format text: JAPANESE INTERMEDIATE CODE: A912 Effective date: 20100514 |
|
| A521 | Request for written amendment filed |
Free format text: JAPANESE INTERMEDIATE CODE: A523 Effective date: 20110915 |
|
| A01 | Written decision to grant a patent or to grant a registration (utility model) |
Free format text: JAPANESE INTERMEDIATE CODE: A01 |
|
| A61 | First payment of annual fees (during grant procedure) |
Free format text: JAPANESE INTERMEDIATE CODE: A61 Effective date: 20111024 |
|
| R150 | Certificate of patent or registration of utility model |
Free format text: JAPANESE INTERMEDIATE CODE: R150 |
|
| FPAY | Renewal fee payment (event date is renewal date of database) |
Free format text: PAYMENT UNTIL: 20141028 Year of fee payment: 3 |
|
| S531 | Written request for registration of change of domicile |
Free format text: JAPANESE INTERMEDIATE CODE: R313531 |
|
| R350 | Written notification of registration of transfer |
Free format text: JAPANESE INTERMEDIATE CODE: R350 |
|
| LAPS | Cancellation because of no payment of annual fees |