JP4498397B2 - 超低インダクタンス多層セラミックコンデンサ - Google Patents
超低インダクタンス多層セラミックコンデンサ Download PDFInfo
- Publication number
- JP4498397B2 JP4498397B2 JP2007206337A JP2007206337A JP4498397B2 JP 4498397 B2 JP4498397 B2 JP 4498397B2 JP 2007206337 A JP2007206337 A JP 2007206337A JP 2007206337 A JP2007206337 A JP 2007206337A JP 4498397 B2 JP4498397 B2 JP 4498397B2
- Authority
- JP
- Japan
- Prior art keywords
- capacitor
- external terminals
- contact
- electrodes
- electrode plates
- Prior art date
- Legal status (The legal status is an assumption and is not a legal conclusion. Google has not performed a legal analysis and makes no representation as to the accuracy of the status listed.)
- Expired - Lifetime
Links
Images
Classifications
-
- H—ELECTRICITY
- H01—ELECTRIC ELEMENTS
- H01G—CAPACITORS; CAPACITORS, RECTIFIERS, DETECTORS, SWITCHING DEVICES, LIGHT-SENSITIVE OR TEMPERATURE-SENSITIVE DEVICES OF THE ELECTROLYTIC TYPE
- H01G4/00—Fixed capacitors; Processes of their manufacture
- H01G4/002—Details
- H01G4/228—Terminals
- H01G4/232—Terminals electrically connecting two or more layers of a stacked or rolled capacitor
-
- H—ELECTRICITY
- H01—ELECTRIC ELEMENTS
- H01G—CAPACITORS; CAPACITORS, RECTIFIERS, DETECTORS, SWITCHING DEVICES, LIGHT-SENSITIVE OR TEMPERATURE-SENSITIVE DEVICES OF THE ELECTROLYTIC TYPE
- H01G4/00—Fixed capacitors; Processes of their manufacture
- H01G4/30—Stacked capacitors
-
- H—ELECTRICITY
- H01—ELECTRIC ELEMENTS
- H01G—CAPACITORS; CAPACITORS, RECTIFIERS, DETECTORS, SWITCHING DEVICES, LIGHT-SENSITIVE OR TEMPERATURE-SENSITIVE DEVICES OF THE ELECTROLYTIC TYPE
- H01G4/00—Fixed capacitors; Processes of their manufacture
- H01G4/35—Feed-through capacitors or anti-noise capacitors
-
- H—ELECTRICITY
- H01—ELECTRIC ELEMENTS
- H01G—CAPACITORS; CAPACITORS, RECTIFIERS, DETECTORS, SWITCHING DEVICES, LIGHT-SENSITIVE OR TEMPERATURE-SENSITIVE DEVICES OF THE ELECTROLYTIC TYPE
- H01G4/00—Fixed capacitors; Processes of their manufacture
- H01G4/40—Structural combinations of fixed capacitors with other electric elements, the structure mainly consisting of a capacitor, e.g. RC combinations
-
- H—ELECTRICITY
- H05—ELECTRIC TECHNIQUES NOT OTHERWISE PROVIDED FOR
- H05K—PRINTED CIRCUITS; CASINGS OR CONSTRUCTIONAL DETAILS OF ELECTRIC APPARATUS; MANUFACTURE OF ASSEMBLAGES OF ELECTRICAL COMPONENTS
- H05K1/00—Printed circuits
- H05K1/02—Details
- H05K1/0213—Electrical arrangements not otherwise provided for
- H05K1/0216—Reduction of cross-talk, noise or electromagnetic interference
- H05K1/023—Reduction of cross-talk, noise or electromagnetic interference using auxiliary mounted passive components or auxiliary substances
- H05K1/0231—Capacitors or dielectric substances
-
- H—ELECTRICITY
- H05—ELECTRIC TECHNIQUES NOT OTHERWISE PROVIDED FOR
- H05K—PRINTED CIRCUITS; CASINGS OR CONSTRUCTIONAL DETAILS OF ELECTRIC APPARATUS; MANUFACTURE OF ASSEMBLAGES OF ELECTRICAL COMPONENTS
- H05K1/00—Printed circuits
- H05K1/02—Details
- H05K1/0213—Electrical arrangements not otherwise provided for
- H05K1/0216—Reduction of cross-talk, noise or electromagnetic interference
- H05K1/023—Reduction of cross-talk, noise or electromagnetic interference using auxiliary mounted passive components or auxiliary substances
- H05K1/0233—Filters, inductors or a magnetic substance
-
- H—ELECTRICITY
- H05—ELECTRIC TECHNIQUES NOT OTHERWISE PROVIDED FOR
- H05K—PRINTED CIRCUITS; CASINGS OR CONSTRUCTIONAL DETAILS OF ELECTRIC APPARATUS; MANUFACTURE OF ASSEMBLAGES OF ELECTRICAL COMPONENTS
- H05K2201/00—Indexing scheme relating to printed circuits covered by H05K1/00
- H05K2201/10—Details of components or other objects attached to or integrated in a printed circuit board
- H05K2201/10431—Details of mounted components
- H05K2201/10507—Involving several components
- H05K2201/10515—Stacked components
-
- H—ELECTRICITY
- H05—ELECTRIC TECHNIQUES NOT OTHERWISE PROVIDED FOR
- H05K—PRINTED CIRCUITS; CASINGS OR CONSTRUCTIONAL DETAILS OF ELECTRIC APPARATUS; MANUFACTURE OF ASSEMBLAGES OF ELECTRICAL COMPONENTS
- H05K2201/00—Indexing scheme relating to printed circuits covered by H05K1/00
- H05K2201/10—Details of components or other objects attached to or integrated in a printed circuit board
- H05K2201/10431—Details of mounted components
- H05K2201/10507—Involving several components
- H05K2201/1053—Mounted components directly electrically connected to each other, i.e. not via the PCB
Landscapes
- Engineering & Computer Science (AREA)
- Power Engineering (AREA)
- Microelectronics & Electronic Packaging (AREA)
- Manufacturing & Machinery (AREA)
- Physics & Mathematics (AREA)
- Electromagnetism (AREA)
- Fixed Capacitors And Capacitor Manufacturing Machines (AREA)
- Ceramic Capacitors (AREA)
- Dc-Dc Converters (AREA)
- Filters And Equalizers (AREA)
Description
本出願は、米国特許法第119条(e)および施行規則1.78にしたがって、2003年5月6日に出願された「超低インダクタンス多層セラミックコンデンサ構造」と題する仮出願第60/468,380号、2003年5月8日に出願された仮出願第60/469,475号および2003年5月6日に出願された仮出願第60/468,876号に基づく優先権を主張する。また、これらの仮出願の全てをここに援用する。
デカップリングコンデンサは、一般的には、ICに近接したプリント回路基板(PCB)上に搭載される。ICのスイッチング速度が速くなると、デカップリングコンデンサに関してより多大な要求がなされるようになる。図1Aは従来のデカップリングコンデンサ100を示している。コンデンサ100は、本体106と2つの端部102および104とを有する。典型的な物理的なサイズを有するコンデンサ100は、W(幅)×L(長さ)×H(高さ)を有する長方形の構造であり、この構造においてLが最も長く、Hが最も短い。2つの端部102および104は、+極/−極として知られている電位をコンデンサ100に与える。コンデンサ100の構造は典型的には軸構造(axial structure)と呼ばれる。図1Bは、図1Aに示されているコンデンサ100の側面図140である。これにおいて、コンデンサ150がPCB152上に搭載されている。典型的には、配線あるいは端子162および164はコンデンサ150をPCB152に接続するために用いられる。
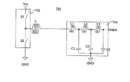
電圧調整器はこのフィルタを備えている。
コンデンサ構造は上記コンデンサを備えており、さらに、並列に接続されたx個の電極板を有する第二のコンデンサとs個の第三の外部端子とを備えている。ここでxは1よりも大きい整数である。
フィルタは個のコンデンサ構造を備えており、さらに、n個の第一の外部端子の偶数番目のものに接続されたインダクタを備えている。出力端子はn個の第一の外部端子の偶数番目のものに接続されている。基準電圧がn個の第一の外部端子の奇数番目のものに接続されている。
以下の実施形態の説明において、実質的に同じ構成要素は同じ参照符号で表すものとする。
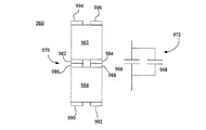
距離424は、最小空間あるいは最小距離あるいは所定最小距離とも呼ばれ、第一の外部接触部420と第二の外部接触部422との間の物理的な距離である。
コンデンサ用の交互に配置された接触端子を作成するために、より高次のバー構造を採用することもできる。端子自体について使用可能である接触面積が少なくなるほど、本発明による多層コンデンサの放射状構造は直列寄生インダクタンスを増加的に減らすのに対して、実効直列抵抗は増加するということにさらに留意されたい。したがって、より多くの数の外部接触部を大きなコンデンサのために用いてもよいということが本発明の効果である。
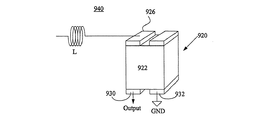
図8A〜8Cは、本発明の実施形態によるDC−DCコンバータの接続を示す構成である。図8Aは、DC/DCコンバータのようなLC構成を有する構成800を示している。構成800はコンデンサ801、インダクタLおよび出力を有している。コンデンサ801はさらに、2つの外部接触バー802および804を有しており、インダクタLの端子は接触バー802の一端に接続されている。出力は接触バー802の他端に接続されている。接触バー802の接続は、図7Aに示されているノードAの接続に対応している。代わりとなる実施形態においては、コンデンサ801は、一方の極性の2つの接触パッドを有しており、上のバー802の左側の部分がDC/DC電圧調整器のインダクタLの出力に接続され、上のバー802の右側の部分が電圧調整器の出力に接続される。下側のフィンガ804は基準電位に接続される。
204、206 接触端子(接触バー)
208 プリント回路基板
302、304、306、306 電極板
312、314、316、318 接触フィンガ(エクステンション)
382 ギャップ
400 多層コンデンサ
412、414、416、418 電極板412〜418
402、404、406、408、410 誘電性材料
420 第一の外部接触部
422 第二の外部接触部
450 多層コンデンサ
452、454 外部接触部
456 本体
502 コンデンサ
504、506、508、510 接触部
512 プリント回路基板
514、516 トレース
600 コンデンサ
604、606、610 接触バー
614、615,616、617 電極板
618、619、620 接触フィンガ
632 コンデンサ
634、636、640 接触バー
642 コンデンサ
646、647、648 外部接触部
650、652、654、656 接触フィンガ
662 コンデンサ
664、666、668、670 接触バー
674、675、676、677 電極板
682 コンデンサ
684、686、688、690 接触バー
691 コンデンサ
693、694、695 外部接触バー
Claims (15)
- m個の電極と、バー構造を有するn個の第一の外部端子とを備え、サブストレート上に取り付けるのに適したコンデンサであって、
前記m個の電極のそれぞれは間隔をあけて並列に配置されており、
mは3よりも大きい整数であり、
前記m個の電極のそれぞれは第一のエクステンションを備えており、
nは3よりも大きい整数であり、
前記n個の第一の外部端子は、前記コンデンサの第一の共通外表面上に配置されており、
前記m個の電極板の偶数番目のものの第一のエクステンションは、前記n個の第一の外部端子の偶数番目のものに連結されており、
前記m個の電極板の奇数番目のものの第一のエクステンションは、前記n個の第一の外部端子の奇数番目のものに連結されており、
前記n個の第一の外部端子は、寄生インダクタンスを最小にするように、お互いから予め定められた最小距離で配置されており、
前記n個の第一の外部端子が前記サブストレートに接続された場合において、当該コンデンサの前記m個の電極は前記サブストレートに対して垂直に配置され、
当該コンデンサの前記サブストレートより上の高さは、当該コンデンサの幅よりも大きく、
前記n個の第一の外部端子における第一のものと第二のものとが第一の極性を有し、かつ前記m個の電極のうちの隣り合うものにそれぞれ接続され、
前記n個の第一の外部端子における前記第一のものが前記第一のエクステンションの奇数番目のものの1つに接続され、
前記n個の第一の外部端子における第三のものが、前記第一の極性とは反対の第二の極性を有し、かつ前記第一のエクステンションの偶数番目のものの1つに接続され、
前記n個の第一の外部端子における前記第一のものが前記第一の共通外表面上における第一の列にあり、前記n個の第一の外部端子における前記第二のものが当該コンデンサの外側の縁であって、かつ前記第一の共通外表面上における第二の列にあり、
前記n個の第一の外部端子における前記第二のものが、前記第一のエクステンションのうちの偶数番目のものの別の1つに接続され、前記n個の第一の外部端子における前記第三のものが前記第一の列にあり、かつ前記外側の縁にあるコンデンサ。 - 前記予め定められた最小距離は、前記n個の第一の外部端子間のクロストークを防ぐ最小距離であることを特徴とする請求項1に記載のコンデンサ。
- 誘電性材料が前記m個の電極板のそれぞれの間に備えられていることを特徴とする請求項1または2のコンデンサ。
- nは4であり、
前記n個の第一の外部端子のうちの第四のものが前記第二の列にあり、
前記n個の第一の外部端子の前記第一のものは、前記n個の第一の外部端子の前記第三および前記第四のものに隣接し、かつ前記第二のものの対角に配置されており、
前記n個の第一の外部端子の前記第三のものは、前記第四のものの対角に配置されている請求項1から3のいずれかに記載のコンデンサ。 - 前記m個の電極板のそれぞれは第二のエクステンションを有しており、
前記コンデンサはs個の第二の外部端子を備えており、sは1よりも大きい整数であり、
前記s個の第二の外部端子は前記コンデンサの第二の共通外表面上に配置されており、
前記m個の電極板の偶数番目のものの第二のエクステンションは、前記s個の第二の外部端子のうちの偶数番目のものに連結されており、
前記m個の電極板の奇数番目のものの第二のエクステンションは、前記s個の外部端子のうちの奇数番目のものに連結されていることを特徴とする請求項1から4のいずれかに記載のコンデンサ。 - 前記第二の共通外表面は、前記第一の共通外表面に対向して設けられていることを特徴とする請求項5に記載のコンデンサ。
- 前記m個の電極板のそれぞれは、第二のエクステンションを有しており、
前記コンデンサはs個の第二の外部端子を備えており、sは1よりも大きい整数であり、
前記s個の第二の外部端子のうちの偶数番目のものは、前記コンデンサの第三の外表面上に設けられており、
前記s個の第二の外部端子のうちの奇数番目のものは、前記コンデンサの第四の外表面上に設けられており、
前記m個の電極板のうちの偶数番目のものの前記第二のエクステンションは、前記s個の第二の外部端子の偶数番目のものと連結されており、
前記m個の電極板のうちの奇数番目のものの前記第二のエクステンションは、前記s個の第二の外部端子の奇数番目のものと連結されていることを特徴とする請求項1から4のいずれかに記載のコンデンサ。 - 前記n個の第一の外部端子のそれぞれが当該コンデンサの角を包む、請求項1から7のいずれかに記載のコンデンサ。
- 前記n個の第一の外部端子のそれぞれが当該コンデンサの本体の角を包み、
前記本体が、前記m個の電極板を有する、請求項1から7のいずれかに記載のコンデンサ。 - 前記コンデンサの前記第三の外表面上に設けられた第三の外部端子と、
前記コンデンサの前記第四の外表面上に設けられた第四の外部端子と、
を更に備え、
前記m個の電極板のそれぞれが、更に第三のエクステンションを有し、
前記m個の電極板における前記第三のエクステンションのうちの偶数番目のものが前記第三の外部端子に接続され、
前記m個の電極板における前記第三のエクステンションのうちの奇数番目のものが前記第四の外部端子に接続される、請求項7に記載のコンデンサ。 - 前記n個の第一の外部端子における第四のものが前記第二の極性を有し、かつ前記第二の列にある、請求項1から3及び5から10のいずれかに記載のコンデンサ。
- 前記n個の第一の外部端子における前記第四のものが前記第二の極性を有する請求項4のコンデンサ。
- 前記n個の第一の外部端子における前記第一のものが、前記m個の電極における第一のものに、前記n個の第一の外部端子における前記第二のものが前記m個の電極における第二のものに、前記n個の第一の外部端子における前記第三のものが前記m個の電極における第三のものに、前記n個の第一の外部端子における第四のものが前記m個の電極における第四のものに、それぞれ接続され、
前記m個の電極における前記第四のものが前記第二の極性を有し、
前記m個の電極における前記第二のものと前記第三のものとが、前記m個の電極における前記第一のもの及び前記第四のものの間にある、請求項1から3及び5から10のいずれかに記載のコンデンサ。 - 前記n個の第一の外部端子における前記第一のものが、前記m個の電極における第一のものに、前記n個の第一の外部端子における前記第二のものが前記m個の電極における第二のものに、前記n個の第一の外部端子における前記第三のものが前記m個の電極における第三のものに、前記n個の第一の外部端子における前記第四のものが前記m個の電極における前記第四のものに、それぞれ接続され、
前記m個の電極における前記第四のものが前記第二の極性を有し、
前記m個の電極における前記第二のものと前記第三のものとが、前記m個の電極における前記第一のもの及び前記第四のものの間にある、請求項4のコンデンサ。 - 請求項1から14のいずれかに記載の複数のコンデンサと、複数のPCB接触部とを備えているプリント回路基板(PCB)であって、前記複数のコンデンサは、少なくとも2つのコンデンサの並列接続を容易にするように前記複数のPCB接触部に連結されていることをプリント回路基板。
Applications Claiming Priority (4)
| Application Number | Priority Date | Filing Date | Title |
|---|---|---|---|
| US46838003P | 2003-05-06 | 2003-05-06 | |
| US46887603P | 2003-05-06 | 2003-05-06 | |
| US46947503P | 2003-05-08 | 2003-05-08 | |
| US10/694,306 US6950300B2 (en) | 2003-05-06 | 2003-10-27 | Ultra low inductance multi layer ceramic capacitor |
Related Parent Applications (1)
| Application Number | Title | Priority Date | Filing Date |
|---|---|---|---|
| JP2004134183A Division JP4045258B2 (ja) | 2003-05-06 | 2004-04-28 | 超低インダクタンス多層セラミックコンデンサ |
Publications (2)
| Publication Number | Publication Date |
|---|---|
| JP2008022017A JP2008022017A (ja) | 2008-01-31 |
| JP4498397B2 true JP4498397B2 (ja) | 2010-07-07 |
Family
ID=33102453
Family Applications (2)
| Application Number | Title | Priority Date | Filing Date |
|---|---|---|---|
| JP2004134183A Expired - Lifetime JP4045258B2 (ja) | 2003-05-06 | 2004-04-28 | 超低インダクタンス多層セラミックコンデンサ |
| JP2007206337A Expired - Lifetime JP4498397B2 (ja) | 2003-05-06 | 2007-08-08 | 超低インダクタンス多層セラミックコンデンサ |
Family Applications Before (1)
| Application Number | Title | Priority Date | Filing Date |
|---|---|---|---|
| JP2004134183A Expired - Lifetime JP4045258B2 (ja) | 2003-05-06 | 2004-04-28 | 超低インダクタンス多層セラミックコンデンサ |
Country Status (5)
| Country | Link |
|---|---|
| US (3) | US6950300B2 (ja) |
| EP (1) | EP1480236B1 (ja) |
| JP (2) | JP4045258B2 (ja) |
| CN (1) | CN1551260B (ja) |
| TW (1) | TWI338903B (ja) |
Families Citing this family (69)
| Publication number | Priority date | Publication date | Assignee | Title |
|---|---|---|---|---|
| US6950300B2 (en) * | 2003-05-06 | 2005-09-27 | Marvell World Trade Ltd. | Ultra low inductance multi layer ceramic capacitor |
| US6885544B2 (en) * | 2003-09-24 | 2005-04-26 | Intel Corporation | Vertical capacitor apparatus, systems, and methods |
| US7068490B2 (en) * | 2004-04-16 | 2006-06-27 | Kemet Electronics Corporation | Thermal dissipating capacitor and electrical component comprising same |
| US6917510B1 (en) * | 2004-10-27 | 2005-07-12 | Kemet Corporation | Extended terminal ceramic SMD |
| US7136274B2 (en) * | 2004-10-28 | 2006-11-14 | Motorola, Inc. | Embedded multilayer printed circuit |
| US7235875B2 (en) * | 2004-12-09 | 2007-06-26 | International Business Machines Corporation | Modular heat sink decoupling capacitor array forming heat sink fins and power distribution interposer module |
| US7554172B2 (en) * | 2005-04-07 | 2009-06-30 | Tai-Her Yang | Multi-directional multiplexing radius convergence electrode |
| JP2007096272A (ja) * | 2005-09-02 | 2007-04-12 | Sanyo Electric Co Ltd | 電気素子および電気回路 |
| US7697262B2 (en) * | 2005-10-31 | 2010-04-13 | Avx Corporation | Multilayer ceramic capacitor with internal current cancellation and bottom terminals |
| US7414857B2 (en) | 2005-10-31 | 2008-08-19 | Avx Corporation | Multilayer ceramic capacitor with internal current cancellation and bottom terminals |
| US8027146B2 (en) | 2005-12-26 | 2011-09-27 | Sanyo Electric Co., Ltd. | Electric circuit device enabling impedance reduction |
| US7292429B2 (en) | 2006-01-18 | 2007-11-06 | Kemet Electronics Corporation | Low inductance capacitor |
| WO2007115255A2 (en) * | 2006-03-31 | 2007-10-11 | University Of Florida Research Foundation, Inc. | Integrated power passives |
| US7724498B2 (en) | 2006-06-30 | 2010-05-25 | Intel Corporation | Low inductance capacitors, methods of assembling same, and systems containing same |
| JP5023069B2 (ja) * | 2006-10-06 | 2012-09-12 | 三洋電機株式会社 | 電気素子 |
| DE102006054086A1 (de) * | 2006-11-16 | 2008-05-29 | Epcos Ag | Vielschicht-Kondensator |
| US7961453B2 (en) * | 2007-01-09 | 2011-06-14 | Samsung Electro-Mechanics Co., Ltd. | Multilayer chip capacitor |
| US20080174931A1 (en) * | 2007-01-18 | 2008-07-24 | Skamser Daniel J | Vertical electrode layer design to minimize flex cracks in capacitors |
| US7920370B2 (en) * | 2007-02-05 | 2011-04-05 | Samsung Electro-Mechanics Co., Ltd. | Multilayer chip capacitor |
| US8493744B2 (en) * | 2007-04-03 | 2013-07-23 | Tdk Corporation | Surface mount devices with minimum lead inductance and methods of manufacturing the same |
| US8238116B2 (en) | 2007-04-13 | 2012-08-07 | Avx Corporation | Land grid feedthrough low ESL technology |
| US7633739B2 (en) | 2007-05-24 | 2009-12-15 | Daniel Devoe | Stacked multilayer capacitor |
| US8289675B2 (en) | 2007-05-24 | 2012-10-16 | Daniel Devoe | Stacked multilayer capacitor |
| KR100905879B1 (ko) * | 2007-09-28 | 2009-07-03 | 삼성전기주식회사 | 적층형 캐패시터 |
| US20090147440A1 (en) * | 2007-12-11 | 2009-06-11 | Avx Corporation | Low inductance, high rating capacitor devices |
| US8446705B2 (en) * | 2008-08-18 | 2013-05-21 | Avx Corporation | Ultra broadband capacitor |
| US8094429B2 (en) * | 2009-06-22 | 2012-01-10 | Industrial Technology Research Institute | Multilayer capacitors and methods for making the same |
| CN102056404B (zh) * | 2010-11-15 | 2013-01-23 | 浪潮电子信息产业股份有限公司 | 一种中和过孔容性的方法 |
| WO2012137569A1 (ja) * | 2011-04-07 | 2012-10-11 | 株式会社村田製作所 | 電子部品 |
| KR101548774B1 (ko) | 2011-08-26 | 2015-08-31 | 삼성전기주식회사 | 적층 세라믹 커패시터 |
| KR101558023B1 (ko) * | 2011-08-26 | 2015-10-07 | 삼성전기주식회사 | 적층 세라믹 커패시터 |
| US9564275B2 (en) | 2012-03-09 | 2017-02-07 | The Paper Battery Co. | Supercapacitor structures |
| DE102012104033B9 (de) * | 2012-05-08 | 2025-02-06 | Tdk Electronics Ag | Keramischer Vielschichtkondensator |
| JP5853976B2 (ja) * | 2012-06-12 | 2016-02-09 | 株式会社村田製作所 | 積層コンデンサ |
| CN103796426A (zh) * | 2012-10-30 | 2014-05-14 | 联想(北京)有限公司 | 应用片式多层电容器的电路模块和电子设备 |
| KR101452058B1 (ko) * | 2012-12-06 | 2014-10-22 | 삼성전기주식회사 | 적층 세라믹 전자부품 |
| EP2973836A4 (en) | 2013-03-15 | 2017-03-22 | The Paper Battery Company, Inc. | Energy storage structures and fabrication methods thereof |
| JP6136916B2 (ja) * | 2013-03-15 | 2017-05-31 | 株式会社村田製作所 | 積層コンデンサ |
| KR101565643B1 (ko) * | 2013-04-30 | 2015-11-03 | 삼성전기주식회사 | 적층 세라믹 전자부품 및 그 실장 기판 |
| US20150021082A1 (en) | 2013-07-17 | 2015-01-22 | Samsung Electro-Mechanics Co., Ltd. | Multilayer ceramic capacitor and board having the same |
| KR20140038872A (ko) * | 2013-07-17 | 2014-03-31 | 삼성전기주식회사 | 적층 세라믹 커패시터 및 그 실장 기판 |
| US9653212B2 (en) | 2013-08-13 | 2017-05-16 | Samsung Electro-Mechanics Co., Ltd. | Multilayer ceramic capacitor and board for mounting thereof |
| KR20140038876A (ko) | 2013-08-13 | 2014-03-31 | 삼성전기주식회사 | 적층 세라믹 커패시터 및 그 실장 기판 |
| US9583277B2 (en) | 2013-09-30 | 2017-02-28 | The Paper Battery Company, Inc. | Ultra-capacitor structures and electronic systems with ultra-capacitor structures |
| US20150114704A1 (en) | 2013-10-31 | 2015-04-30 | Samsung Electro-Mechanics Co., Ltd. | Multilayer ceramic capacitor and board having the same |
| KR20140038915A (ko) | 2013-10-31 | 2014-03-31 | 삼성전기주식회사 | 적층 세라믹 커패시터 및 그 실장 기판 |
| KR101525689B1 (ko) * | 2013-11-05 | 2015-06-03 | 삼성전기주식회사 | 적층 세라믹 전자 부품 및 적층 세라믹 전자 부품의 실장 기판 |
| JP6167872B2 (ja) * | 2013-11-21 | 2017-07-26 | Tdk株式会社 | 電子部品 |
| JP6264858B2 (ja) * | 2013-11-21 | 2018-01-24 | Tdk株式会社 | 電子部品 |
| US9672986B2 (en) * | 2014-01-13 | 2017-06-06 | Apple Inc. | Acoustic noise cancellation in multi-layer capacitors |
| KR102016485B1 (ko) * | 2014-07-28 | 2019-09-02 | 삼성전기주식회사 | 적층 세라믹 커패시터 및 그 실장 기판 |
| KR102097323B1 (ko) | 2014-08-14 | 2020-04-06 | 삼성전기주식회사 | 적층 세라믹 커패시터 및 그 실장 기판 |
| DE102015200717A1 (de) * | 2015-01-19 | 2016-07-21 | Efficient Energy Gmbh | Kondensator |
| JP6451655B2 (ja) * | 2016-01-15 | 2019-01-16 | 株式会社村田製作所 | 複合電子部品 |
| KR102584978B1 (ko) | 2016-06-01 | 2023-10-05 | 삼성전기주식회사 | 적층형 커패시터 및 그 실장 기판 |
| WO2018213288A1 (en) * | 2017-05-15 | 2018-11-22 | Avx Corporation | Multilayer capacitor and circuit board containing the same |
| WO2018235527A1 (ja) | 2017-06-19 | 2018-12-27 | 株式会社村田製作所 | 積層型素子およびlcフィルタ |
| MY203316A (en) | 2017-06-29 | 2024-06-24 | Kyocera Avx Components Corp | Surface mount multilayer coupling capacitor and circuit board containing the same |
| WO2019183045A1 (en) * | 2018-03-20 | 2019-09-26 | Avx Corporation | Vertical electrode decoupling/bypass capacitor |
| KR102514239B1 (ko) | 2018-04-24 | 2023-03-27 | 삼성전기주식회사 | 적층형 커패시터 및 그 실장 기판 |
| DE202018104586U1 (de) * | 2018-08-09 | 2019-11-19 | Sma Solar Technology Ag | Zwischenkreisanordnung und Wechselrichter |
| WO2020159810A1 (en) | 2019-01-28 | 2020-08-06 | Avx Corporation | Multilayer ceramic capacitor having ultra-broadband performance |
| WO2020167955A1 (en) | 2019-02-13 | 2020-08-20 | Avx Corporation | Multilayer ceramic capacitor including conductive vias |
| JP2023085583A (ja) * | 2020-05-12 | 2023-06-21 | パナソニックIpマネジメント株式会社 | 集積回路の電源供給用の電気回路、コンデンサ及び集積回路付電気回路 |
| JP2024525093A (ja) * | 2021-07-08 | 2024-07-09 | キョーセラ・エーブイエックス・コンポーネンツ・コーポレーション | 多層セラミックコンデンサ |
| WO2024097031A1 (en) * | 2022-10-31 | 2024-05-10 | KYOCERA AVX Components Corporation | Multilayer capacitor |
| WO2024111210A1 (ja) * | 2022-11-24 | 2024-05-30 | 株式会社村田製作所 | D級増幅回路 |
| US20250022661A1 (en) * | 2023-07-12 | 2025-01-16 | Kemet Electronics Corporation | Monolithic multilayered ceramic capacitor |
| TWI894908B (zh) * | 2024-04-10 | 2025-08-21 | 國巨股份有限公司 | 嵌入式積層陶瓷電容 |
Family Cites Families (90)
| Publication number | Priority date | Publication date | Assignee | Title |
|---|---|---|---|---|
| US26059A (en) * | 1859-11-08 | Improvement in sewing-machines | ||
| US3456215A (en) | 1964-09-02 | 1969-07-15 | Peter A Denes | High frequency low pass filter |
| US4085435A (en) * | 1976-06-14 | 1978-04-18 | Avx Corporation | Tantalum chip capacitor |
| US4059887A (en) * | 1976-06-14 | 1977-11-29 | Avx Corporation | Tantalum chip capacitor and method of manufacture |
| US4151579A (en) * | 1977-09-09 | 1979-04-24 | Avx Corporation | Chip capacitor device |
| US4297773A (en) * | 1978-11-16 | 1981-11-03 | Avx Corporation | Method of manufacturing a monolithic ceramic capacitor |
| US4347650A (en) * | 1980-09-22 | 1982-09-07 | Avx Corporation | Method of making marginless multi-layer ceramic capacitors |
| US4414844A (en) * | 1981-07-24 | 1983-11-15 | Avx Corporation | Rapid insulation resistance test for bismuth-containing ceramic capacitors |
| US4451845A (en) * | 1981-12-22 | 1984-05-29 | Avx Corporation | Lead frame device including ceramic encapsulated capacitor and IC chip |
| US4424551B1 (en) * | 1982-01-25 | 1991-06-11 | Highly-reliable feed through/filter capacitor and method for making same | |
| US4453199A (en) * | 1983-06-17 | 1984-06-05 | Avx Corporation | Low cost thin film capacitor |
| US4509103A (en) * | 1984-02-01 | 1985-04-02 | Avx Corporation | Low dissipation factor monolithic capacitor for high frequency applications |
| US4584629A (en) * | 1984-07-23 | 1986-04-22 | Avx Corporation | Method of making ceramic capacitor and resulting article |
| US4720767A (en) * | 1986-09-22 | 1988-01-19 | Avx Corporation | Internally fused variable value ceramic capacitor and circuit |
| US4680670A (en) * | 1986-09-29 | 1987-07-14 | Avx Corporation | Fail safe ceramic capacitor |
| US4731697A (en) * | 1987-05-05 | 1988-03-15 | Avx Corporation | Arc resistant trimable ceramic capacitor |
| US5134540A (en) * | 1988-05-06 | 1992-07-28 | Avx Corporation | Varistor or capacitor and method of making same |
| US5234641A (en) * | 1988-05-06 | 1993-08-10 | Avx Corporation | Method of making varistor or capacitor |
| US4831494A (en) * | 1988-06-27 | 1989-05-16 | International Business Machines Corporation | Multilayer capacitor |
| US4935843A (en) * | 1988-07-01 | 1990-06-19 | Avx Corporation | Lead filled ceramic capacitor |
| US4881308A (en) * | 1988-07-01 | 1989-11-21 | Avx Corporation | Method of terminating lead filled capacitor |
| US4853826A (en) * | 1988-08-01 | 1989-08-01 | Rogers Corporation | Low inductance decoupling capacitor |
| US4862318A (en) * | 1989-04-04 | 1989-08-29 | Avx Corporation | Method of forming thin film terminations of low inductance ceramic capacitors and resultant article |
| US4945452A (en) * | 1989-11-30 | 1990-07-31 | Avx Corporation | Tantalum capacitor and method of making same |
| US4984134A (en) * | 1990-01-16 | 1991-01-08 | Avx Corporation | Surface mount non-polar tantalum capacitor |
| US5072329A (en) * | 1991-04-01 | 1991-12-10 | Avx Corporation | Delamination resistant ceramic capacitor and method of making same |
| JPH0555084A (ja) * | 1991-08-22 | 1993-03-05 | Murata Mfg Co Ltd | 積層チツプコンデンサ |
| JPH0562011A (ja) * | 1991-09-03 | 1993-03-12 | Konica Corp | 画像処理装置 |
| US5198968A (en) * | 1992-07-23 | 1993-03-30 | Avx Corporation | Compact surface mount solid state capacitor and method of making same |
| US5216573A (en) * | 1992-08-21 | 1993-06-01 | Avx Corporation | Lead filled ceramic capacitor and method of making same |
| US5357399A (en) * | 1992-09-25 | 1994-10-18 | Avx Corporation | Mass production method for the manufacture of surface mount solid state capacitor and resulting capacitor |
| JP2976262B2 (ja) * | 1992-09-25 | 1999-11-10 | 株式会社村田製作所 | 電子部品の製造方法 |
| US5517385A (en) * | 1992-11-19 | 1996-05-14 | International Business Machines Corporation | Decoupling capacitor structure |
| US5394295A (en) * | 1993-05-28 | 1995-02-28 | Avx Corporation | Manufacturing method for solid state capacitor and resulting capacitor |
| US5388024A (en) * | 1993-08-02 | 1995-02-07 | Avx Corporation | Trapezoid chip capacitor |
| US5495386A (en) * | 1993-08-03 | 1996-02-27 | Avx Corporation | Electrical components, such as capacitors, and methods for their manufacture |
| US5548474A (en) * | 1994-03-01 | 1996-08-20 | Avx Corporation | Electrical components such as capacitors having electrodes with an insulating edge |
| JP3287725B2 (ja) * | 1994-06-07 | 2002-06-04 | キヤノン株式会社 | 露光方法とこれを用いたデバイス製造方法 |
| JPH0855758A (ja) * | 1994-08-10 | 1996-02-27 | Sumitomo Metal Ind Ltd | 積層コンデンサ |
| US5639507A (en) | 1995-05-03 | 1997-06-17 | Avx Corporation | Method of making a planar multi-layer capacitor |
| US5643432A (en) * | 1995-07-13 | 1997-07-01 | Avx Corporation | Selective anodization of capacitor anode body |
| US5880925A (en) * | 1997-06-27 | 1999-03-09 | Avx Corporation | Surface mount multilayer capacitor |
| US6058004A (en) | 1997-09-08 | 2000-05-02 | Delaware Capital Formation, Inc. | Unitized discrete electronic component arrays |
| JP2991175B2 (ja) * | 1997-11-10 | 1999-12-20 | 株式会社村田製作所 | 積層コンデンサ |
| US6549395B1 (en) | 1997-11-14 | 2003-04-15 | Murata Manufacturing Co., Ltd | Multilayer capacitor |
| CZ20001915A3 (cs) * | 1997-11-24 | 2001-08-15 | Avx Corporation | Tenkovrstvý kondenzátor a způsob jeho výroby |
| US6678927B1 (en) * | 1997-11-24 | 2004-01-20 | Avx Corporation | Miniature surface mount capacitor and method of making same |
| US6324048B1 (en) * | 1998-03-04 | 2001-11-27 | Avx Corporation | Ultra-small capacitor array |
| US5999398A (en) * | 1998-06-24 | 1999-12-07 | Avx Corporation | Feed-through filter assembly having varistor and capacitor structure |
| GB9824442D0 (en) * | 1998-11-06 | 1999-01-06 | Avx Ltd | Manufacture of solid state capacitors |
| US6282079B1 (en) * | 1998-11-30 | 2001-08-28 | Kyocera Corporation | Capacitor |
| JP3214472B2 (ja) * | 1998-12-04 | 2001-10-02 | 日本電気株式会社 | 多層プリント回路基板 |
| JP2003051423A (ja) * | 2001-08-03 | 2003-02-21 | Tdk Corp | 電子部品 |
| JP4000701B2 (ja) * | 1999-01-14 | 2007-10-31 | 株式会社村田製作所 | 積層コンデンサ |
| US6075700A (en) * | 1999-02-02 | 2000-06-13 | Compaq Computer Corporation | Method and system for controlling radio frequency radiation in microelectronic packages using heat dissipation structures |
| US6285542B1 (en) * | 1999-04-16 | 2001-09-04 | Avx Corporation | Ultra-small resistor-capacitor thin film network for inverted mounting to a surface |
| US6208501B1 (en) | 1999-06-14 | 2001-03-27 | Dielectric Laboratories, Inc. | Standing axial-leaded surface mount capacitor |
| IL147463A0 (en) * | 1999-07-08 | 2002-08-14 | Avx Ltd | Solid state capacitors and methods of manufacturing them |
| GB9916048D0 (en) * | 1999-07-08 | 1999-09-08 | Avx Ltd | Solid state capacitors and methods of manufacturing them |
| GB9918852D0 (en) * | 1999-08-10 | 1999-10-13 | Avx Ltd | Manufacture of solid state capacitors |
| GB9922091D0 (en) * | 1999-09-17 | 1999-11-17 | Avx Ltd | Manufacture of solid state capacitors |
| US6262886B1 (en) * | 1999-09-30 | 2001-07-17 | Apple Computer, Inc. | Translucent protective covering for a computer housing |
| US6327134B1 (en) | 1999-10-18 | 2001-12-04 | Murata Manufacturing Co., Ltd. | Multi-layer capacitor, wiring board, and high-frequency circuit |
| JP3489728B2 (ja) * | 1999-10-18 | 2004-01-26 | 株式会社村田製作所 | 積層コンデンサ、配線基板および高周波回路 |
| GB9926975D0 (en) * | 1999-11-15 | 2000-01-12 | Avx Ltd | Solid state capacitors and methods of manufacturing them |
| US6292351B1 (en) | 1999-11-17 | 2001-09-18 | Tdk Corporation | Multilayer ceramic capacitor for three-dimensional mounting |
| JP3489729B2 (ja) | 1999-11-19 | 2004-01-26 | 株式会社村田製作所 | 積層コンデンサ、配線基板、デカップリング回路および高周波回路 |
| US6262877B1 (en) | 1999-11-23 | 2001-07-17 | Intel Corporation | Low inductance high capacitance capacitor and method of making same |
| US6441459B1 (en) | 2000-01-28 | 2002-08-27 | Tdk Corporation | Multilayer electronic device and method for producing same |
| JP3765225B2 (ja) * | 2000-06-14 | 2006-04-12 | 株式会社村田製作所 | チップ型多連電子部品 |
| JP2002057066A (ja) * | 2000-08-10 | 2002-02-22 | Taiyo Yuden Co Ltd | チップアレイ及びその製造方法 |
| US6611421B2 (en) * | 2000-09-08 | 2003-08-26 | Avx Corporation | Non-polarized tantalum capacitor and capacitor array |
| JP4332634B2 (ja) * | 2000-10-06 | 2009-09-16 | Tdk株式会社 | 積層型電子部品 |
| US6483692B2 (en) | 2000-12-19 | 2002-11-19 | Intel Corporation | Capacitor with extended surface lands and method of fabrication therefor |
| US6674635B1 (en) * | 2001-06-11 | 2004-01-06 | Avx Corporation | Protective coating for electrolytic capacitors |
| US6459561B1 (en) * | 2001-06-12 | 2002-10-01 | Avx Corporation | Low inductance grid array capacitor |
| US6636416B2 (en) * | 2001-06-14 | 2003-10-21 | Intel Corporation | Electronic assembly with laterally connected capacitors and manufacturing method |
| US6816354B2 (en) * | 2001-07-02 | 2004-11-09 | Avx Corporation | Single layer capacitor milled part |
| JP2003060463A (ja) * | 2001-08-09 | 2003-02-28 | Murata Mfg Co Ltd | 積層型lc複合部品およびその製造方法 |
| US6757152B2 (en) * | 2001-09-05 | 2004-06-29 | Avx Corporation | Cascade capacitor |
| US6496355B1 (en) * | 2001-10-04 | 2002-12-17 | Avx Corporation | Interdigitated capacitor with ball grid array (BGA) terminations |
| US6545855B1 (en) | 2001-12-03 | 2003-04-08 | Motorola, Inc. | Low inductance termination for electronic components |
| US7054136B2 (en) * | 2002-06-06 | 2006-05-30 | Avx Corporation | Controlled ESR low inductance multilayer ceramic capacitor |
| US6864147B1 (en) * | 2002-06-11 | 2005-03-08 | Avx Corporation | Protective coating for electrolytic capacitors |
| JP4305808B2 (ja) * | 2002-07-03 | 2009-07-29 | 太陽誘電株式会社 | 積層コンデンサ |
| US7016175B2 (en) * | 2002-10-03 | 2006-03-21 | Avx Corporation | Window via capacitor |
| US6870727B2 (en) * | 2002-10-07 | 2005-03-22 | Avx Corporation | Electrolytic capacitor with improved volumetric efficiency |
| US6784760B2 (en) * | 2002-11-06 | 2004-08-31 | John Mezzalingua Associates, Inc. | Step attenuator using frequency dependent components and method of effecting signal attenuation |
| US6898070B2 (en) * | 2002-12-19 | 2005-05-24 | Avx Corporation | Transmission line capacitor |
| US6950300B2 (en) * | 2003-05-06 | 2005-09-27 | Marvell World Trade Ltd. | Ultra low inductance multi layer ceramic capacitor |
-
2003
- 2003-10-27 US US10/694,306 patent/US6950300B2/en not_active Expired - Lifetime
-
2004
- 2004-04-07 CN CN2004100310216A patent/CN1551260B/zh not_active Expired - Lifetime
- 2004-04-20 TW TW093110964A patent/TWI338903B/zh not_active IP Right Cessation
- 2004-04-28 EP EP04010108.1A patent/EP1480236B1/en not_active Expired - Lifetime
- 2004-04-28 JP JP2004134183A patent/JP4045258B2/ja not_active Expired - Lifetime
-
2005
- 2005-07-19 US US11/184,208 patent/US7230816B2/en not_active Expired - Lifetime
-
2007
- 2007-06-12 US US11/811,881 patent/US7701695B2/en not_active Expired - Lifetime
- 2007-08-08 JP JP2007206337A patent/JP4498397B2/ja not_active Expired - Lifetime
Also Published As
| Publication number | Publication date |
|---|---|
| US20050258511A1 (en) | 2005-11-24 |
| US7701695B2 (en) | 2010-04-20 |
| EP1480236A2 (en) | 2004-11-24 |
| TWI338903B (en) | 2011-03-11 |
| CN1551260A (zh) | 2004-12-01 |
| JP4045258B2 (ja) | 2008-02-13 |
| CN1551260B (zh) | 2010-05-12 |
| JP2008022017A (ja) | 2008-01-31 |
| EP1480236B1 (en) | 2016-06-08 |
| US20040223290A1 (en) | 2004-11-11 |
| JP2004336041A (ja) | 2004-11-25 |
| TW200504773A (en) | 2005-02-01 |
| US6950300B2 (en) | 2005-09-27 |
| US7230816B2 (en) | 2007-06-12 |
| US20080049377A1 (en) | 2008-02-28 |
| EP1480236A3 (en) | 2004-12-01 |
Similar Documents
| Publication | Publication Date | Title |
|---|---|---|
| JP4498397B2 (ja) | 超低インダクタンス多層セラミックコンデンサ | |
| JP3897745B2 (ja) | 積層コンデンサ及び積層コンデンサの実装構造 | |
| KR102069627B1 (ko) | 복합 전자부품 및 그 실장 기판 | |
| KR102064013B1 (ko) | 복합 전자부품 및 그 실장 기판 | |
| US7292429B2 (en) | Low inductance capacitor | |
| US8045319B2 (en) | Controlled ESR decoupling capacitor | |
| CN104600974B (zh) | 复合电子组件和上面安装有该复合电子组件的板 | |
| US7035079B1 (en) | Multilayered chip capacitor and multilayer chip capacitor array | |
| US20080158773A1 (en) | Multilayer capacitor array | |
| CN1716476A (zh) | 叠层电容器 | |
| KR20070092150A (ko) | 적층 콘덴서 및 그 실장 구조 | |
| KR101124109B1 (ko) | 적층형 세라믹 캐패시터 | |
| JP2013239753A (ja) | 積層型セラミックスキャパシタ | |
| KR101051620B1 (ko) | 적층 콘덴서 | |
| JP2001284171A (ja) | 積層型電子部品 | |
| JP4739318B2 (ja) | 積層型チップキャパシタ | |
| KR102016486B1 (ko) | 복합 전자부품 및 그 실장 기판 | |
| JP3511569B2 (ja) | 積層コンデンサ | |
| KR101444511B1 (ko) | 적층형 세라믹 캐패시터 | |
| CN104811029B (zh) | 复合电子组件及安装有该复合电子组件的板 | |
| CN112992541B (zh) | 多层电容器和其上安装有该多层电容器的板 | |
| KR100674823B1 (ko) | 적층형 캐패시터 어레이의 배선접속구조 |
Legal Events
| Date | Code | Title | Description |
|---|---|---|---|
| A977 | Report on retrieval |
Free format text: JAPANESE INTERMEDIATE CODE: A971007 Effective date: 20090501 |
|
| A131 | Notification of reasons for refusal |
Free format text: JAPANESE INTERMEDIATE CODE: A131 Effective date: 20090519 |
|
| A601 | Written request for extension of time |
Free format text: JAPANESE INTERMEDIATE CODE: A601 Effective date: 20090819 |
|
| A602 | Written permission of extension of time |
Free format text: JAPANESE INTERMEDIATE CODE: A602 Effective date: 20090824 |
|
| A601 | Written request for extension of time |
Free format text: JAPANESE INTERMEDIATE CODE: A601 Effective date: 20090918 |
|
| A602 | Written permission of extension of time |
Free format text: JAPANESE INTERMEDIATE CODE: A602 Effective date: 20090928 |
|
| A521 | Request for written amendment filed |
Free format text: JAPANESE INTERMEDIATE CODE: A523 Effective date: 20091015 |
|
| TRDD | Decision of grant or rejection written | ||
| A01 | Written decision to grant a patent or to grant a registration (utility model) |
Free format text: JAPANESE INTERMEDIATE CODE: A01 Effective date: 20100330 |
|
| A01 | Written decision to grant a patent or to grant a registration (utility model) |
Free format text: JAPANESE INTERMEDIATE CODE: A01 |
|
| A61 | First payment of annual fees (during grant procedure) |
Free format text: JAPANESE INTERMEDIATE CODE: A61 Effective date: 20100413 |
|
| FPAY | Renewal fee payment (event date is renewal date of database) |
Free format text: PAYMENT UNTIL: 20130423 Year of fee payment: 3 |
|
| R150 | Certificate of patent or registration of utility model |
Ref document number: 4498397 Country of ref document: JP Free format text: JAPANESE INTERMEDIATE CODE: R150 Free format text: JAPANESE INTERMEDIATE CODE: R150 |
|
| FPAY | Renewal fee payment (event date is renewal date of database) |
Free format text: PAYMENT UNTIL: 20130423 Year of fee payment: 3 |
|
| FPAY | Renewal fee payment (event date is renewal date of database) |
Free format text: PAYMENT UNTIL: 20140423 Year of fee payment: 4 |
|
| R250 | Receipt of annual fees |
Free format text: JAPANESE INTERMEDIATE CODE: R250 |
|
| R250 | Receipt of annual fees |
Free format text: JAPANESE INTERMEDIATE CODE: R250 |
|
| R250 | Receipt of annual fees |
Free format text: JAPANESE INTERMEDIATE CODE: R250 |
|
| R250 | Receipt of annual fees |
Free format text: JAPANESE INTERMEDIATE CODE: R250 |
|
| R250 | Receipt of annual fees |
Free format text: JAPANESE INTERMEDIATE CODE: R250 |
|
| R250 | Receipt of annual fees |
Free format text: JAPANESE INTERMEDIATE CODE: R250 |
|
| R250 | Receipt of annual fees |
Free format text: JAPANESE INTERMEDIATE CODE: R250 |
|
| R250 | Receipt of annual fees |
Free format text: JAPANESE INTERMEDIATE CODE: R250 |
|
| S111 | Request for change of ownership or part of ownership |
Free format text: JAPANESE INTERMEDIATE CODE: R313113 |
|
| R371 | Transfer withdrawn |
Free format text: JAPANESE INTERMEDIATE CODE: R371 |
|
| S111 | Request for change of ownership or part of ownership |
Free format text: JAPANESE INTERMEDIATE CODE: R313113 |
|
| R350 | Written notification of registration of transfer |
Free format text: JAPANESE INTERMEDIATE CODE: R350 |
|
| R250 | Receipt of annual fees |
Free format text: JAPANESE INTERMEDIATE CODE: R250 |
|
| S111 | Request for change of ownership or part of ownership |
Free format text: JAPANESE INTERMEDIATE CODE: R313113 |
|
| S531 | Written request for registration of change of domicile |
Free format text: JAPANESE INTERMEDIATE CODE: R313531 |
|
| R350 | Written notification of registration of transfer |
Free format text: JAPANESE INTERMEDIATE CODE: R350 |
|
| R360 | Written notification for declining of transfer of rights |
Free format text: JAPANESE INTERMEDIATE CODE: R360 |
|
| R360 | Written notification for declining of transfer of rights |
Free format text: JAPANESE INTERMEDIATE CODE: R360 |
|
| R371 | Transfer withdrawn |
Free format text: JAPANESE INTERMEDIATE CODE: R371 |
|
| S111 | Request for change of ownership or part of ownership |
Free format text: JAPANESE INTERMEDIATE CODE: R313113 |
|
| R350 | Written notification of registration of transfer |
Free format text: JAPANESE INTERMEDIATE CODE: R350 |
|
| R250 | Receipt of annual fees |
Free format text: JAPANESE INTERMEDIATE CODE: R250 |
|
| R250 | Receipt of annual fees |
Free format text: JAPANESE INTERMEDIATE CODE: R250 |
|
| R250 | Receipt of annual fees |
Free format text: JAPANESE INTERMEDIATE CODE: R250 |
|
| EXPY | Cancellation because of completion of term |
