JP4246147B2 - 内燃機関駆動作業機 - Google Patents

内燃機関駆動作業機 Download PDF

Info

Publication number
JP4246147B2
JP4246147B2 JP2004517325A JP2004517325A JP4246147B2 JP 4246147 B2 JP4246147 B2 JP 4246147B2 JP 2004517325 A JP2004517325 A JP 2004517325A JP 2004517325 A JP2004517325 A JP 2004517325A JP 4246147 B2 JP4246147 B2 JP 4246147B2
Authority
JP
Japan
Prior art keywords
fuel tank
support
internal combustion
combustion engine
flange
Prior art date
Legal status (The legal status is an assumption and is not a legal conclusion. Google has not performed a legal analysis and makes no representation as to the accuracy of the status listed.)
Expired - Fee Related
Application number
JP2004517325A
Other languages
English (en)
Other versions
JPWO2004003361A1 (ja
Inventor
秀樹 根本
裕司 島田
Current Assignee (The listed assignees may be inaccurate. Google has not performed a legal analysis and makes no representation or warranty as to the accuracy of the list.)
Honda Motor Co Ltd
Original Assignee
Honda Motor Co Ltd
Priority date (The priority date is an assumption and is not a legal conclusion. Google has not performed a legal analysis and makes no representation as to the accuracy of the date listed.)
Filing date
Publication date
Application filed by Honda Motor Co Ltd filed Critical Honda Motor Co Ltd
Publication of JPWO2004003361A1 publication Critical patent/JPWO2004003361A1/ja
Application granted granted Critical
Publication of JP4246147B2 publication Critical patent/JP4246147B2/ja
Anticipated expiration legal-status Critical
Expired - Fee Related legal-status Critical Current

Links

Images

Classifications

    • FMECHANICAL ENGINEERING; LIGHTING; HEATING; WEAPONS; BLASTING
    • F02COMBUSTION ENGINES; HOT-GAS OR COMBUSTION-PRODUCT ENGINE PLANTS
    • F02BINTERNAL-COMBUSTION PISTON ENGINES; COMBUSTION ENGINES IN GENERAL
    • F02B63/00Adaptations of engines for driving pumps, hand-held tools or electric generators; Portable combinations of engines with engine-driven devices
    • F02B63/04Adaptations of engines for driving pumps, hand-held tools or electric generators; Portable combinations of engines with engine-driven devices for electric generators
    • FMECHANICAL ENGINEERING; LIGHTING; HEATING; WEAPONS; BLASTING
    • F02COMBUSTION ENGINES; HOT-GAS OR COMBUSTION-PRODUCT ENGINE PLANTS
    • F02BINTERNAL-COMBUSTION PISTON ENGINES; COMBUSTION ENGINES IN GENERAL
    • F02B77/00Component parts, details or accessories, not otherwise provided for
    • FMECHANICAL ENGINEERING; LIGHTING; HEATING; WEAPONS; BLASTING
    • F02COMBUSTION ENGINES; HOT-GAS OR COMBUSTION-PRODUCT ENGINE PLANTS
    • F02MSUPPLYING COMBUSTION ENGINES IN GENERAL WITH COMBUSTIBLE MIXTURES OR CONSTITUENTS THEREOF
    • F02M37/00Apparatus or systems for feeding liquid fuel from storage containers to carburettors or fuel-injection apparatus; Arrangements for purifying liquid fuel specially adapted for, or arranged on, internal-combustion engines
    • FMECHANICAL ENGINEERING; LIGHTING; HEATING; WEAPONS; BLASTING
    • F02COMBUSTION ENGINES; HOT-GAS OR COMBUSTION-PRODUCT ENGINE PLANTS
    • F02BINTERNAL-COMBUSTION PISTON ENGINES; COMBUSTION ENGINES IN GENERAL
    • F02B63/00Adaptations of engines for driving pumps, hand-held tools or electric generators; Portable combinations of engines with engine-driven devices
    • F02B63/04Adaptations of engines for driving pumps, hand-held tools or electric generators; Portable combinations of engines with engine-driven devices for electric generators
    • F02B63/044Adaptations of engines for driving pumps, hand-held tools or electric generators; Portable combinations of engines with engine-driven devices for electric generators the engine-generator unit being placed on a frame or in an housing
    • F02B2063/045Frames for generator-engine sets
    • FMECHANICAL ENGINEERING; LIGHTING; HEATING; WEAPONS; BLASTING
    • F02COMBUSTION ENGINES; HOT-GAS OR COMBUSTION-PRODUCT ENGINE PLANTS
    • F02BINTERNAL-COMBUSTION PISTON ENGINES; COMBUSTION ENGINES IN GENERAL
    • F02B63/00Adaptations of engines for driving pumps, hand-held tools or electric generators; Portable combinations of engines with engine-driven devices
    • F02B63/04Adaptations of engines for driving pumps, hand-held tools or electric generators; Portable combinations of engines with engine-driven devices for electric generators
    • F02B63/044Adaptations of engines for driving pumps, hand-held tools or electric generators; Portable combinations of engines with engine-driven devices for electric generators the engine-generator unit being placed on a frame or in an housing
    • F02B63/048Portable engine-generator combinations

Landscapes

  • Engineering & Computer Science (AREA)
  • Chemical & Material Sciences (AREA)
  • Combustion & Propulsion (AREA)
  • Mechanical Engineering (AREA)
  • General Engineering & Computer Science (AREA)
  • Cooling, Air Intake And Gas Exhaust, And Fuel Tank Arrangements In Propulsion Units (AREA)
  • Component Parts Of Construction Machinery (AREA)

Description

本発明は、内燃機関とこの内燃機関で駆動される発電機および燃料タンクを枠体に防護されて備えた内燃機関駆動作業機に関する。
機体全体が枠体で囲われて防護された内燃機関駆動作業機は、枠体を形成するフレーム構造が簡単で取り扱い易く、屋外作業に広く用いられている。
そして、連続運転時間を長くして屋外の作業に適するようにするために、内燃機関および発電機の上部空間を利用して大きな燃料タンクを設けるのが一般的である。
このような大きな燃料タンクは、燃料充満時の重量が大きいことから特許文献1に開示されているように燃料タンクのフランジ部分を燃料タンク支持枠上に載置固定している。
同公報の例では、燃料タンクの上面を保護する保護フレームを有しないので、燃料タンクを上方から燃料タンク支持枠上に下ろすようにして取り付けすることができるが、燃料タンクの上面を保護する保護フレームが枠体に形成されているものであると、燃料タンクを枠体に上方から載置して取り付けることはできない。
そこで特許文献2記載の例では、燃料タンクの上面を保護する保護フレームの下方の枠体の上部空間に側方から燃料タンクを水平に挿入して取り付けるようにしており、いま挿入方向を左右方向とし同左右方向に指向した前後支持枠に燃料タンクの前後フランジ部を支持させるようにしている。
特許文献2記載の実施例では後側支持枠を左右幅全体に亘って内側に延出させ、前側支持枠からは支持ブラケットが内側に突設されていて、側支持枠の延出部と前側の支持ブラケットにより燃料タンクの前後フランジ部を支持するようにしている。
したがって、内側に突出した後側支持枠の延出部と前側の支持ブラケットを挿入過程の重量支持に利用できるものの、燃料タンクの挿入空間は、左右幅全体に亘って前後幅が狭められることになり、取付け作業時にはこの狭い空間内に干渉を避けるよう注意しながら挿入を行わなければならず、このような空間の制約から作業に手間がかかる場合がある。
特開平4−111530号公報 特開平10−169891号公報
本発明はかかる点に鑑みなされたもので、その目的とする処は、燃料タンクの上面を保護する燃料タンク保護部材が架設されている枠体への燃料タンクの挿入空間への挿入時の制約が少なく取付け作業が容易である内燃機関駆動作業機を供する点にある。
上記目的を達成するために、本発明は、防護枠体で囲われた略直方体状の空間内に、内燃機関とこの内燃機関で駆動される作業機とが左右に並んで配置され、この上方に、上面視で略矩形であり外周側面に沿って水平方向に延出するフランジが形成された燃料タンクが配置され、前記燃料タンクのフランジが、前記枠体の縦枠間に亘って架設され矩形支持枠を構成するクロスメンバーに支持されるように構成された内燃機関駆動作業機において、前記燃料タンクの上部には燃料タンク保護部材が架設され、前記燃料タンクのフランジの4隅をそれぞれ支持する支持部材が前記クロスメンバーから延出形成され、前記燃料タンクは前記燃料タンク保護部材の下方空間に側方から挿入されて、前記フランジの4隅が前記支持部材に支持されて取り付けられるように構成され、前記各支持部材は、前記燃料タンクを載置支持する載置支持部と固定支持する固定支持部とを同一の支持部材上に備え、前記支持部材は、前記載置支持部と前記固定支持部のうち少なくとも載置支持部が前記燃料タンクのフランジ上にあって同燃料タンクの本体の隅部に接する仮想接線のうち略最短となる線分上で前記フランジの4隅を支持することを特徴とする内燃機関駆動作業機を提供する。
請求項2に記載の発明は、請求項1記載の内燃機関駆動作業機において、前記支持部材は、前記クロスメンバーのうち前記燃料タンクの挿入方向を左右方向としたときの前後方向に指向した左右クロスメンバーから内側へ延出形成されたことを特徴とする。
請求項3に記載の発明は、請求項1または2記載の内燃機関駆動作業機において、前記載置支持部は弾性支持体により構成され、前記固定支持部は支持グロメットを介するボルト締め部により構成されることを特徴とする。
請求項1に係る発明では、クロスメンバーから延出形成される支持部材は、燃料タンクのフランジの4隅をそれぞれ支持するので、クロスメンバーによる矩形支持枠の4隅に突設され、よって枠体への燃料タンクの挿入に際して支持部材が制約することが少なく取付作業を容易とする。
また、燃料タンクを載置支持する載置支持部と固定支持する固定支持部とを同一の支持部材上に備えることで、部品点数を少なくできる。
燃料タンクの挿入方向を左右方向としたときの前後方向に指向した左右クロスメンバーから内側へ前記支持部材が延出形成されることで、燃料タンクの枠体への挿入に際して前後に制約になる突出部材がなく作業を容易とする。
前記支持部材の載置支持部と固定支持部のうち少なくとも載置支持部が燃料タンクのフランジ上にあって同燃料タンクの本体の隅部に接する仮想接線のうち略最短となる線分上で支持することで、燃料タンクをそのフランジの隅部で支持するにもかかわらず、大きな支持強度を得ることができる。
請求項2に係る発明によれば、支持部材が、クロスメンバーのうち燃料タンクの挿入方向を左右方向としたときの前後方向に指向した左右クロスメンバーから内側へ延出形成されるため、枠体への燃料タンクの挿入に際して支持部材が制約することが一層少なく、取付作業が容易となる。
請求項3係る発明によれば、載置支持部が弾性支持体により構成され、固定支持部が支持グロメットを介するボルト締め部により構成されることにより、弾性的な支持と大きな支持強度を得ることができる。
以下、本発明に係る一実施の形態について図1ないし図に基づいて説明する。
本実施の形態は、作業機が発電機である内燃機関駆動発電機1に適用したものである。
該内燃機関駆動発電機1の全体の正面図を図1、左側面図を図2、右側面図を図3、平面図を図4、斜視図を図5に示す。
図1の正面図において、紙面手前側を前、奥側を後、左側を左、右側を右とする。
機体の全体を枠体20が囲い防護しており、この枠体20内に内燃機関2が左側に、内燃機関2の出力軸に回転軸が直結された発電機3が右側に配設され、内燃機関2と発電機3の上方空間に上面視矩形の燃料タンク4が懸架されている。
内燃機関2の左端にはリコイルスタータ10が設けられ、リコイルスタータ10の後方位置にエアクリーナ11が配設され、エアクリーナ11と内燃機関のシリンダとの間に気化器や吸気管などの吸気系装置が配設されている。
発電機3の後方には、排気管やマフラー40などの排気系装置が配設される。
図6に示すように、燃料タンク4は、偏平矩形のタンクであり、外周側面に沿って水平方向に延出するフランジ5が周方向に亘って形成されており、フランジ5の高さ位置の内面積が一番大きく、フランジ5より上にいく程、また下にいく程内面積が徐々に小さくなっている。また、燃料タンク4のフランジ5には、その4隅に取付孔5aが穿設されている。
燃料タンク4の上面の略中央位置に燃料供給口があり、燃料キャップ6が螺着され、下面の左側縁に沿った位置から燃料コック7(図2)が下方へ突設されており、内燃機関2の左外側に位置する燃料コック7から燃料ホース8が延出して前記気化器に連結される。
以上の機器を囲繞して支持する枠体20は、図6に示すようにパイプフレームを矩形環状に連続させ、対向する長尺のフレーム部分をコ字状に屈曲させて直方体の枠形状を形成している。
すなわち枠体20は、左右水平方向に指向した前後一対の前後水平フレーム21F,21R、同前後水平フレーム21F,21Rの左右端部が屈曲して上方に延びた4本の垂直フレーム22F,22F,22R,22R、前後に対向する垂直フレーム22F,22Rの上端を連結する前後水平方向に指向した左右一対の左右水平フレーム23L,23Rとからなる。
そして、左右水平フレーム23L,23R間に左右水平方向に指向した保護フレーム24F,24Rが前後に2本端部を溶接して架設されている。
同前後一対の保護フレーム24F,24Rは、下方の前後一対の前後水平フレーム21F,21Rより互いの間隔が狭く、図4および図5に示すように燃料タンク4の上方に位置して、枠体20を補強するとともに、燃料タンク4の上面を保護する機能を有する。
下部の前後一対の前後水平フレーム21F,21R間に機体支持プレート25L,25Rが左右に一対架設され、同機体支持プレート25L,25Rにマウント部材26を介して内燃機関2および発電機3が支持される。
枠体20の左右一対の前側垂直フレーム22F,22F間および後側垂直フレーム22R,22R間には、所定高さで前後一対の前後クロスメンバー27F,27Rが左右水平方向に指向して架設されている。前後クロスメンバー27F,27Rは矩形筒状をなしている。
前クロスメンバー27Fの前面には、出力コンセント,各種操作スイッチ等を配置したコントロールパネル41(図5)が取り付けられている。
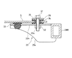
また、枠体20の右側の前後垂直フレーム22F,22R間には、同じ所定高さで矩形筒状の右側クロスメンバー28Rが前後水平方向に指向して架設されている。
この右側クロスメンバー28Rの内面の両端部からそれぞれ燃料タンク4を支持する支持部材としての支持ブラケット29,29が内側に向かって突設されている。
一方、右側クロスメンバー28Rに対向して対をなす左側クロスメンバー28Lは、右側クロスメンバー28Rと対称に構成されており、内面両端部に同じように支持ブラケット29,29が内側に向かって突設されているが、同左側クロスメンバー28Lは枠体20に着脱自在とされている。
同左側クロスメンバー28Lが架設される左側の前後垂直フレーム22F,22Rには、所定高さに、燃料タンク4の支持部材としての取付ブラケット30,30が突設されており、同取付ブラケット30,30に左側クロスメンバー28Lの両端部を当接してボルト31,31により螺着することにより、左側クロスメンバー28Lは前記右側クロスメンバー28Rと左右対称位置に取り付けられる。
このように左右クロスメンバー28L,28Rは燃料タンク支持枠を形成しており、この左右クロスメンバー28L,28Rのそれぞれ両端部から突設された4隅の支持ブラケット29に燃料タンク4のフランジ5が載置される。
支持ブラケット29は、図6ないし図8を参照して水平板部29hと垂直板部29vとが直角に屈曲した形状をしており、左右クロスメンバー28L,28Rに溶接固定されている基端側に比べて、先端側は多少幅狭になっている。
図8に示すように、水平板部29hの基端側にはボルト孔29aが穿設され、水平板部29hの裏面に同ボルト孔29aの処にナット32が固着されており、先端側には嵌合孔に弾性支持体33が嵌着されている。一方、燃料タンク4におけるフランジ5の4隅に穿設された取付孔5aには、中央に円筒状のカラー35が挿入された弾性を有する支持グロメット34が、それぞれ嵌着される。
したがって、枠体20の4隅に突設された支持ブラケット29に燃料タンク4のフランジ5の4つの隅部が載置されると、燃料タンク4は、弾性支持体33および支持グロメット34を介して支持ブラケット29に支持され、この状態で図8に示すようにフランジ5の支持グロメット34に挿入されたカラー35と支持ブラケット29のボルト孔29aにボルト37を貫通させて水平板部29hの裏面に固着されたナット32に螺合して取り付ける。弾性支持体33は載置支持部を構成し、支持グロメット34、カラー35、ボルト37、ナット32は固定支持部を構成する。
燃料タンク4を枠体20に取り付ける作業手順は、まず着脱自在の左側クロスメンバー28Lが外された枠体20の左側開口から燃料タンク4を、燃料コック7が設けられている側とは反対側を先頭にして略水平姿勢で挿入し、挿入方向の先端フランジ部の前後両端を右側クロスメンバー28Rから突設された前後支持ブラケット29,29に載置する。
次いで、左側クロスメンバー28Lを左側垂直フレーム22F,22Rに架設して同左側クロスメンバー28Lから突設された前後支持ブラケット29,29に後端フランジ部の前後両端を載置して燃料タンク4を支持させる。そして、燃料タンク4のフランジ5の4隅をボルト37によって支持グロメット34を介して固定する。
本枠体20は、燃料タンク4の上方に保護フレーム24F,24Rを備えているため、燃料タンク4を上方から枠体20内に載置することができないが、そのため上記のように枠体20内に側方から燃料タンク4を挿入することにより、枠体20内に内燃機関2および発電機3が装着支持された状態であっても燃料タンク4の挿入および取り付けは可能となる。
なお、燃料タンク4の下面に突設された燃料コック7は、左寄りにあって上述のように挿入作業時には内燃機関2とは干渉しないようになっている。
したがって、燃料タンク4の挿入に際しては、燃料タンク4が挿入される通路に相当する前後クロスメンバー27F,27R間の途中の空間内には挿入の邪魔になるような内側に突出するものはないので、燃料タンク4の挿入は容易に行われ、取付作業が円滑に行われる。
なお、前後の左側クロスメンバー28Lが外された枠体20の左側開口には、取付ブラケット30,30が突出しているが、突出量は僅かであり、燃料タンク4のフランジ5が取付ブラケット30,30の上を通過するように挿入することで、ほとんど邪魔になることはない。なお、取付ブラケット30,30を垂直フレーム22F,22Rに直接形成することにより、この突出を無くすことこもできる。
以上のようにして燃料タンク4が枠体20内に挿入され4隅に突設された支持ブラケット29に支持されたとき、図7に示すように弾性支持体33による載置支持部の載置支持点Pは、燃料タンク4のフランジ5上にあって燃料タンク本体4aの隅部に接する仮想接線のうち略最短となる線分t(図7に示された破線)上に位置している。したがって、フランジ5に作用する折り曲げ方向の力に対しても高い強度を得ることができる。
すなわち、本燃料タンク4の取付構造は、重量物である燃料タンク4をフランジ5の4隅で支持するものであるが、フランジ5の上記載置支持点Pで支持することにより十分な支持強度を確保することができる。
本発明の一実施の形態に係る内燃機関駆動発電機の全体正面図である。 同左側面図である。 同右側面図である。 同平面図である。 同斜視図である。 枠体および燃料タンクの分解斜視図である。 枠体の上部を水平に切断した内燃機関駆動発電機の平面図である。 図7のVIII−VIII線に沿って切断した断面図である。
符号の説明
2…内燃機関、3…発電機、4…燃料タンク、5…フランジ、5a…取付孔、7…燃料コック、8…燃料ホース、
10…リコイルスタータ、11…エアクリーナ、
20…枠体、21F,21R…前後水平フレーム、22F,22F,22R,22R…垂直フレーム、23L,23R…左右水平フレーム、24F,24R…保護フレーム、25L,25R…機体支持プレート、26…マウント部材、27F,27R…前後クロスメンバー、28L…左側クロスメンバー、28R…右側クロスメンバー、29…支持ブラケット、29a…ボルト孔、29h…水平板部、
30…取付ブラケット、32…ナット、33…弾性支持体、34…支持グロメット、35…カラー、37…ボルト、
40…マフラー、41…コントロールパネル、
t…略最短となる線分、P…載置支持点。

Claims (3)

  1. 防護枠体で囲われた略直方体状の空間内に、内燃機関とこの内燃機関で駆動される作業機とが左右に並んで配置され、この上方に、上面視で略矩形であり外周側面に沿って水平方向に延出するフランジが形成された燃料タンクが配置され、前記燃料タンクのフランジが、前記枠体の縦枠間に亘って架設され矩形支持枠を構成するクロスメンバーに支持されるように構成された内燃機関駆動作業機において、
    前記燃料タンクの上部には燃料タンク保護部材が架設され、
    前記燃料タンクのフランジの4隅をそれぞれ支持する支持部材が前記クロスメンバーから延出形成され、
    前記燃料タンクは前記燃料タンク保護部材の下方空間に側方から挿入されて、前記フランジの4隅が前記支持部材に支持されて取り付けられるように構成され、
    前記各支持部材は、前記燃料タンクを載置支持する載置支持部と固定支持する固定支持部とを同一の支持部材上に備え、
    前記支持部材は、前記載置支持部と前記固定支持部のうち少なくとも載置支持部が前記燃料タンクのフランジ上にあって同燃料タンクの本体の隅部に接する仮想接線のうち略最短となる線分上で前記フランジの4隅を支持する
    ことを特徴とする内燃機関駆動作業機。
  2. 前記支持部材は、前記クロスメンバーのうち前記燃料タンクの挿入方向を左右方向としたときの前後方向に指向した左右クロスメンバーから内側へ延出形成されたことを特徴とする請求項1記載の内燃機関駆動作業機。
  3. 前記載置支持部は弾性支持体により構成され、前記固定支持部は支持グロメットを介するボルト締め部により構成されることを特徴とする請求項1または2記載の内燃機関駆動作業機。
JP2004517325A 2002-07-01 2003-06-30 内燃機関駆動作業機 Expired - Fee Related JP4246147B2 (ja)

Applications Claiming Priority (3)

Application Number Priority Date Filing Date Title
JP2002192478 2002-07-01
JP2002192478 2002-07-01
PCT/JP2003/008270 WO2004003361A1 (ja) 2002-07-01 2003-06-30 内燃機関駆動作業機

Publications (2)

Publication Number Publication Date
JPWO2004003361A1 JPWO2004003361A1 (ja) 2005-10-27
JP4246147B2 true JP4246147B2 (ja) 2009-04-02

Family

ID=29996975

Family Applications (1)

Application Number Title Priority Date Filing Date
JP2004517325A Expired - Fee Related JP4246147B2 (ja) 2002-07-01 2003-06-30 内燃機関駆動作業機

Country Status (6)

Country Link
JP (1) JP4246147B2 (ja)
KR (1) KR100952565B1 (ja)
CN (1) CN100368662C (ja)
AU (1) AU2003246142A1 (ja)
BR (1) BR0305250B8 (ja)
WO (1) WO2004003361A1 (ja)

Families Citing this family (5)

* Cited by examiner, † Cited by third party
Publication number Priority date Publication date Assignee Title
US20090241905A1 (en) 2006-03-29 2009-10-01 Denso Corporation Mount structure of fuel injection valve and fuel injection system
JP2008025421A (ja) * 2006-07-19 2008-02-07 Honda Motor Co Ltd エンジン発電機
JP6193713B2 (ja) * 2013-10-03 2017-09-06 川崎重工業株式会社 空冷エンジン
CN110040193B (zh) * 2019-05-30 2024-11-05 阿特拉斯·科普柯(无锡)压缩机有限公司 承载平台及包括其的灯塔、压缩机、发电机及水泵
CN110700937A (zh) * 2019-09-24 2020-01-17 中国人民解放军陆军装甲兵学院蚌埠校区 低噪音的油机发电机箱

Family Cites Families (4)

* Cited by examiner, † Cited by third party
Publication number Priority date Publication date Assignee Title
JP3731687B2 (ja) * 1996-12-10 2006-01-05 本田技研工業株式会社 防護枠型内燃機関作業機
JPH10196391A (ja) * 1997-01-10 1998-07-28 Yamaha Motor Co Ltd エンジン発電機の燃料タンク取付け構造
JP3954700B2 (ja) * 1997-09-09 2007-08-08 澤藤電機株式会社 発動発電機
JP4167356B2 (ja) * 1999-09-03 2008-10-15 本田技研工業株式会社 ガスエンジン作業機

Also Published As

Publication number Publication date
JPWO2004003361A1 (ja) 2005-10-27
AU2003246142A1 (en) 2004-01-19
BR0305250A (pt) 2004-10-05
WO2004003361A1 (ja) 2004-01-08
BR0305250B1 (pt) 2013-01-08
KR100952565B1 (ko) 2010-04-12
BR0305250B8 (pt) 2013-02-19
CN1666016A (zh) 2005-09-07
KR20050024434A (ko) 2005-03-10
CN100368662C (zh) 2008-02-13

Similar Documents

Publication Publication Date Title
JP3954700B2 (ja) 発動発電機
BRPI1003967A2 (pt) sistema de suprimento de combustÍvel para motocicleta
JP4167356B2 (ja) ガスエンジン作業機
BRPI1003979B1 (pt) Sistema de fornecimento de combustível para motocicleta
JP2004098861A (ja) 自動二輪車の燃料タンクのマウント構造
JP3871124B2 (ja) 防護枠型内燃機関作業機
JP4246147B2 (ja) 内燃機関駆動作業機
JP3731687B2 (ja) 防護枠型内燃機関作業機
JP2903231B2 (ja) 自動二輪車
JPH0811558A (ja) 走行作業機の防振装置
KR100652520B1 (ko) 브이형 엔진에서의 에어 클리너 지지 구조
JPH11278356A (ja) 自動二輪車のエンジン懸架装置
JPH05179926A (ja) 防音型発電機の排気装置
JP2571699B2 (ja) エンジン発電機
JP3134708B2 (ja) パワープラントの支持構造
JPH051460Y2 (ja)
JPS594853Y2 (ja) 農用トラクタ
JP3985452B2 (ja) エアクリーナの取付構造及び取付方法
JPH0724922Y2 (ja) 防護枠型エンジン作業機
JPH0443379Y2 (ja)
JPH0635748Y2 (ja) 走行車輌の燃料タンク取付け構造
JPH0541239Y2 (ja)
JP4202982B2 (ja) 作業機
JPH0612204Y2 (ja) エンジン作業機におけるバッテリの取付構造
JPH0754018Y2 (ja) ラジエータの支持構造

Legal Events

Date Code Title Description
A621 Written request for application examination

Free format text: JAPANESE INTERMEDIATE CODE: A621

Effective date: 20050915

A131 Notification of reasons for refusal

Free format text: JAPANESE INTERMEDIATE CODE: A131

Effective date: 20080909

A521 Request for written amendment filed

Free format text: JAPANESE INTERMEDIATE CODE: A523

Effective date: 20081107

TRDD Decision of grant or rejection written
A01 Written decision to grant a patent or to grant a registration (utility model)

Free format text: JAPANESE INTERMEDIATE CODE: A01

Effective date: 20090106

A01 Written decision to grant a patent or to grant a registration (utility model)

Free format text: JAPANESE INTERMEDIATE CODE: A01

A61 First payment of annual fees (during grant procedure)

Free format text: JAPANESE INTERMEDIATE CODE: A61

Effective date: 20090107

R150 Certificate of patent or registration of utility model

Ref document number: 4246147

Country of ref document: JP

Free format text: JAPANESE INTERMEDIATE CODE: R150

Free format text: JAPANESE INTERMEDIATE CODE: R150

FPAY Renewal fee payment (event date is renewal date of database)

Free format text: PAYMENT UNTIL: 20120116

Year of fee payment: 3

FPAY Renewal fee payment (event date is renewal date of database)

Free format text: PAYMENT UNTIL: 20130116

Year of fee payment: 4

FPAY Renewal fee payment (event date is renewal date of database)

Free format text: PAYMENT UNTIL: 20130116

Year of fee payment: 4

FPAY Renewal fee payment (event date is renewal date of database)

Free format text: PAYMENT UNTIL: 20140116

Year of fee payment: 5

LAPS Cancellation because of no payment of annual fees