JP4214552B2 - 組立て式電動車いす及び電動車いすの組立て方法 - Google Patents

組立て式電動車いす及び電動車いすの組立て方法 Download PDF

Info

Publication number
JP4214552B2
JP4214552B2 JP2002372724A JP2002372724A JP4214552B2 JP 4214552 B2 JP4214552 B2 JP 4214552B2 JP 2002372724 A JP2002372724 A JP 2002372724A JP 2002372724 A JP2002372724 A JP 2002372724A JP 4214552 B2 JP4214552 B2 JP 4214552B2
Authority
JP
Japan
Prior art keywords
wheelchair
wheel
fitting
driving
driving wheel
Prior art date
Legal status (The legal status is an assumption and is not a legal conclusion. Google has not performed a legal analysis and makes no representation as to the accuracy of the status listed.)
Expired - Fee Related
Application number
JP2002372724A
Other languages
English (en)
Other versions
JP2004201807A (ja
Inventor
克良 落合
Original Assignee
アイ・アール・ケア株式会社
Priority date (The priority date is an assumption and is not a legal conclusion. Google has not performed a legal analysis and makes no representation as to the accuracy of the date listed.)
Filing date
Publication date
Application filed by アイ・アール・ケア株式会社 filed Critical アイ・アール・ケア株式会社
Priority to JP2002372724A priority Critical patent/JP4214552B2/ja
Publication of JP2004201807A publication Critical patent/JP2004201807A/ja
Application granted granted Critical
Publication of JP4214552B2 publication Critical patent/JP4214552B2/ja
Anticipated expiration legal-status Critical
Expired - Fee Related legal-status Critical Current

Links

Images

Landscapes

  • Handcart (AREA)

Description

【0001】
【発明の属する技術分野】
本発明は、組立て式電動車いす及びその組立て方法に関し、更に詳細には、室内等では、非電動式、つまり手動式車いすとして使用し、必要が生じた際に、他人の力を借りることなく、使用者が車いすに座ったまま独力で、駆動部を取り付けて電動式車いすとして使用することができる組立て式電動車いす及びその組立て方法に関するものである。
【0002】
【従来の技術】
障害者用又は高齢者用の車いすは、障害者の社会進出に伴って、或いは高齢者の自助努力を促進するために、使い勝手が著しく改善されて来ている。
通常電動式であることが不要である室内から、電動式であることが好ましい屋外へ移動する際に、手動式車いすに駆動源を有する駆動輪部を連結して電動車いすを組立て、この組立て式電動車いすを屋外で使用することは広く行われている。
【0003】
その際に第三者を頼ることなく、自身の力のみで電動車いすを組立てかつ使用できれば、使用者の負担、特に車いす使用時に第三者が周囲に居てその第三者に組立てを依頼しなければならないという精神的な負担が無くなり、自由に行動することが可能になる。
特許文献1には本出願人が提案した組立て式電動車いすが開示されている。この組立て式電動車いすは以前の組立て式電動車いすに比べて組立て時の使用者に対する負担が小さく、体力や障害の程度によっては使用者が単独で組立ててそのまま電動車いすとして使用可能で、使い勝手が大きく改善されている。
【0004】
【特許文献1】
特開2002−165843号公報([0022]〜[0024]、図9、10、11)
【0005】
【発明が解決しようとする課題】
前述した通り、通常時は非電動式車いすとして使用でき、必要が生じた場合に電動式車いすとして使用できるものがあれば、車いすの使用者である障害者及び高齢者にとって好ましいことである。更には、非電動式車いすに乗っている障害者及び高齢者が、他人の力を一切借りることなく独力で、自身の乗ってる非電動式車いすに駆動部を取り付けて電動式車いすとして使うことができる車いすがあれば、それが最も好ましい。
前記特許文献1に記載された車いすは、このような他人の力を一切借りることなく独力で組立てられる電動車いすを目指しているが、組立て時に体を屈めたり小さくない力で部材を連結したりする操作が必要で、全ての使用者が他人の力を一切借りずに組立てることができる車いすであるとは言い切れない。
【0006】
そこで、本発明の目的は、通常時は、非電動式、つまり手動式車いすとして使用し、必要が生じた際に、他人の力を借りることなく、使用者が車いすに乗ったまま独力で、駆動部を取り付けて電動式車いすとして使うことができるような車いす及びその組立て方法を提供することである。
【0007】
【課題を解決するための手段】
本発明は、第1に、前輪、及びハンドリムを備えた後輪を有する手動式車いすと、車輪、該車輪を駆動する駆動装置、及び走行方向を制御するハンドルとを有する前進後退可能な駆動輪部を含んで成り、前記手動式車いす及び駆動輪部のいずれか一方に連結用嵌合部を他方に連結用被嵌合部をそれぞれ設置し、前記駆動輪部の駆動力により前記連結用嵌合部及び前記連結用被嵌合部を互いに嵌合することにより、前記前輪が浮き上がった状態で前記手動式車いすと前記駆動輪部が連結されるものにおいて、前記手動式車いすの連結用嵌合部又は連結用被嵌合部と前記駆動輪部の連結用被嵌合部又は連結用嵌合部の先端側を接触させ、前記駆動輪部の後走による駆動輪部の回転し、更に手動式車いす部が前記駆動輪部の回転と逆方向に回転して連結するような位置に連結用嵌合部と連結用被嵌合部を夫々前記車いすと駆動輪部に設けたことを特徴とする組立て式電動車いすであり、第2に前輪、ハンドリムを備えた後輪、及び棒状の連結用嵌合部を有する手動式車いすと、車輪、該車輪を駆動する駆動装置、走行方向を制御するハンドル、及び前記連結用嵌合部に嵌合する複数の溝から成る連結用被嵌合部とを有する前進後退可能な駆動輪部とを含んで成る電動車いすの組立て方法において、組立て前における前記棒状の連結用嵌合部の垂直面に対する傾斜角が、前記複数の溝が形成する垂直面に対する傾斜角より大きくなるように配置し、前記棒状の連結用嵌合部を前記複数の溝から成る連結用被嵌合部に接触させ、次いで前記駆動輪部を手動式車いす方向に駆動させて、前記連結用嵌合部を前記連結用被嵌合部に嵌合させ、固定させるとともに、前記前輪が浮き上がった状態で前記手動式車いすと前記駆動輪部を連結することを特徴とする電動車いすの組立て方法である。
【0008】
以下本発明を詳細に説明する。
本発明は、手動式車いすと駆動輪部を連結し組立てる際に、手動ではなく、駆動輪部の駆動力を利用することにより、車いすの使用者が他人の力を借りることなく、前記手動式車いすと前記駆動輪部を容易かつ確実に連結して電動車いすを組立てられるようにすることを意図している。
前記手動式車いすと駆動輪部との連結は、両者のうちのいずれか一方に形成された連結用嵌合部を他方に形成された連結用被嵌合部に嵌合することにより行われる。通常連結用被嵌合部は凹溝であり、連結用嵌合部はこの凹溝に嵌合する突起、棒状体等である。なお本発明における「棒状体」は「筒状体」も含むものとする。
【0009】
本発明では、前記凹溝への突起や棒状体等の嵌合を、駆動輪部の後走により行うため、前記凹溝は嵌合を行う状態で、走行面に対して平行又は平行に近い傾斜を有することが望ましく、これにより比較的容易に連結用嵌合部を連結用被嵌合部に嵌合して電動車いすを組立てることが可能になる。
組立てられた電動車いすの連結用嵌合部が連結用被嵌合部から離脱することを防止するために、例えば前記連結用被嵌合部が凹溝である場合には、該凹溝の基端側(手動式車いすに形成される場合は駆動輪部と反対側、駆動輪部に形成される場合は手動式車いすと反対側)を屈曲させて係合部を形成し、電動車いす使用時に前記した突起や棒状体等の連結用嵌合部を前記係合部に確実に係合させるようにすることが好ましい。
【0010】
本発明の組立て式電動車いすの組立ては、例えば次のようにして行える。
まず、手動式車いす側には突起状の連結用嵌合部を、駆動輪部側に形成された、前記突起に対応する形状と係合部を有する係合部付き凹部である連結用被嵌合部を形成しておく。
次いで手動式車いす側の突起状の連結用嵌合部を駆動輪部側の凹部の先端側に接触させる。次に手動式車いすに乗った使用者が、ブレーキをロックして手動式車いすが移動しないようにする。この状態で駆動輪部を後走させると、手動式車いす側の前記突起が駆動輪部側の凹部に嵌合されかつ係合部に係合されて離脱が防止される。通常手動式車いすは大径の後輪と小径の前輪を有するが、駆動輪部と連結された電動車いすはこの駆動輪部に前輪に相当する車輪を有し、連結用嵌合部の嵌合時に前記前輪が走行面から浮き上がるように、連結用嵌合部と連結用被嵌合部の位置関係を調節することが望ましい。これにより荷重が駆動輪部の前輪に掛かり、スリップせずに走行できるようになる。
【0011】
このように本発明の組立て操作は、使用者が手動式車いすに座ったままで、実質的に、連結用嵌合部と連結用被嵌合部を接触させ、次いで駆動輪部を後走させることのみであり、障害者や高齢者であっても他人の力を借りることなく、容易に行うことができる。なお説明の便宜上、突起状の連結用嵌合部を駆動輪部側の凹部の先端側に接触させる工程が必須であるように記載したが、嵌合が確実に行われれば前記工程は必ずしも必要ではない。つまり連結用嵌合部が駆動輪部側の凹部の先端側に接触することなく嵌合が行われても良い。
この組立てられた電動車いすを使用して所望のルートを走行して帰宅しあるいは手動式車いすのみで走行することが望ましい箇所に達した際には、駆動輪部を取り外して手動式車いす単独で走行できるようにする。
この取り外しも使用者単独で行えることが好ましいが、走行時における操作では離脱しないようにすることが必要である。
【0012】
本発明の駆動輪部の駆動方法は、特に制約はなく、例えば電源としてバッテリー、或いは燃料電池を使用する電気モータを好適に使用できる。バッテリーを使用する場合には、バッテリー残量計やスペヤ・バッテリーを駆動輪部に搭載することが望ましい。
本発明によると、既存の手動式車いす及び駆動輪部に比較的簡単な構造の部材を付加するのみで、実質的に車いす使用者の人力を使用せずに組立て及び復元が可能な組立て式電動車いすが提供できる。
【0013】
【発明の実施の形態】
以下に、添付図面を参照し、実施形態例を挙げて本発明の実施の形態を具体的かつ詳細に説明する。
【0014】
[実施形態例]
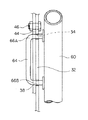
図1は組立て前の駆動輪部と手動式車いすを示す側面図、図2は手動式車いすの棒状の連結用嵌合部を駆動輪部の嵌合溝(凹溝)に接触させた状態を示す側面図、図3は駆動輪部を後走させて連結用被嵌合部を連結用嵌合部に嵌合させて組立てが終わった状態を示す側面図、図4はスタンドを引き上げて電動車いすとして使用できる状態を示す側面図、図5は駆動輪部側の連結部のみを示す図、図6は連結部とジョイント金具の連結状態を示す斜視図である。
本実施形態例の組立て式電動車いす10は、図1に示すように、非電動式、つまり手動式車いす部12と、非電動式車いす部12の前部に連結部を介して脱着自在に連結され、非電動式車いす部12を牽引する駆動前輪部14とから構成されている。
【0015】
駆動前輪部14は、本体16と、この本体16の上部及び下部に設けられたハンドル18及び駆動輪20を有している。前記本体16の裏側には、バッテリー22が備えられ、このバッテリー22の電力がバッテリーコネクター24を通して、前記駆動輪20を駆動する電気モータに供給される。
前記ハンドル18には、前記電気モータの回転を制動するブレーキレバー(図示略)及び電気モータの回転数を制御して増速し、減速するアクセルレバー26が設けられている。更に、電気モータの回転方向を切り換えて、前進駆動又は後退駆動にする切り換え装置を操作する切り換えボタン、ライトの点灯ボタン等の操作ボタン(図示略)が設けてある。
【0016】
更に、本体16の裏面側のバッテリー22の上方には、図5に示すように、上下2本のパイプの両端部が後ろ向きに湾曲して湾曲部28が構成されている連結部30が固定されている。この連結部30の中央にはスライド機構32が設けられ、前記左右の後ろ向き湾曲部28間の幅を調節して使用する手動式車いす部12の幅に適合させられる構造を有している。
この連結部30の上下左右計2対の前記湾曲部28のうちの左側上下1対及び右側上下1対の湾曲部28のそれぞれの後端部には薄板状のジョイント金具32が連結されている。このジョイント金具32の後端の上縁やや下方には前方に向かって凹溝34が形成され、該凹溝34の連結部30側の基端部は下方に向けて屈曲して係合部36が形成されている。
【0017】
このジョイント金具32の後端の前記凹溝34より下方には、該凹溝34より深さの浅いロック溝38が形成されている。このロック溝38の内面側には、図6に示すように、回転可能なスナッチロック40が設置されている。本実施形態例では、前記凹溝34及びロック溝38により連結用被嵌合部が構成されている。
前記ジョイント金具32の外面側には、複数の円孔42が穿設された薄板状の角度調整板44が、前記ジョイント金具32に外向きに固設された固定ピン46(図8参照)に前記複数の円孔42のうちのいずれかをネジ止めすることにより一体化されている。ネジ止めする円孔42を選択することにより、前記凹溝34及びロック溝38により形成される傾斜の走行面(又は垂直面)に対する傾斜角を最適値に設定できる。
このジョイント金具42の下部には、下端部が湾曲するスタンド47が回転自在に連結され、このスタンド47の下端を走行面に接触させることにより、駆動輪部14が自立できるようにしている。
【0018】
前述した非電動式車いす部12は、金属製パイプで構成され、車いすの使用者が座って乗るように、布製又はプラスチック製の背もたれ及び座席を有する台車48と、台車48の両側に別個の軸受け50を介して連結され独自に回転可能な輪径の大きな左右1対の主車輪52と、これらの主車輪52の前方に設けられ該主車輪52より輪径の小さい前車輪(キャスタ)54とを備えている。
前車輪54は、手動式車いすとして走行する際に、台車48の前部を支持して安定させるために設けてある。
【0019】
主車輪52には、使用者が手で回して主車輪52を回転させ、それにより台車48を駆動するハンドリム56が取り付けられている。前車輪54のやや上方には、該前車輪54の回転を制動するブレーキレバー58が設置されている。
台車48の上側のパイプの前端部は下斜め前向きに折曲され、連結用嵌合部設置用パイプ60が形成されている。本実施形態例における連結用嵌合部は、前記パイプ60の2箇所にボルトで止着された1対の止め金具62間に架け渡された側面視「コ」字状の棒状体(又は筒状体)64(図8参照)により構成されている。
【0020】
このような構成を有する本実施形態例の車いすの組立て方の一例を、前述した図1〜図6、及び図1の要部の拡大図である図7、図7のA−A線矢示図である図8、図2の要部の拡大図である図9、及び図3の要部の拡大図である図10に基づいて説明する。なお図7〜図10では、スナッチロックを省略してある。
まず、自宅の玄関内等に、スタンド47を利用して自立させてある駆動輪部14の後ろ側(ジョイント金具32側)に向けて、手動式車いす部12の座席に座った車いすの使用者(図示略)が走行する(図1、図7及び図8参照)。この状態では、駆動輪部14側の凹溝34の係合部36とロック溝38により形成される傾斜の垂直面に対する傾斜角は、手動式車いす部12側の棒状体64の傾斜の垂直面に対する傾斜角より小さくなっている。
【0021】
次いで使用者は、ブレーキレバー58を操作して手動式車いす部12が走行面上を移動しないようにする。その後、駆動輪部14の電源を入れ、駆動輪部14のハンドル18を操作して、駆動輪部14の凹溝34が、手動式車いす部12側の連結用嵌合部である棒状体64の上下端に折り曲げ形成された1対の嵌合杆66A、66B(図8参照)のうちの上側の嵌合杆66Aに接触するようにする(図2及び図9参照)。この状態では、スタンド47の下端が走行面に接触し、かつ手動式車いす部12側の前車輪54も走行面に対して浮き上がっていない。
【0022】
次いで更に駆動輪部14を後走させると、棒状体64の上部嵌合杆66Aが凹溝34内に進入し、ジョイント金具32が、駆動輪部14を含めて図9の矢印方向に回転し更に手動式車いす部12も駆動輪部14とは逆方向に回転する。これにより、前記上部嵌合杆66Aが係合部36に嵌合し、更に下部嵌合杆66Bは、スナッチロック40に補助されてロック溝38に嵌合される(図3及び図10参照)。駆動輪部14の半時計方向の回転(駆動輪20を中心とする前方向移動)によりスタンド47が、又手動式車いす部12の時計方向の回転(主車輪52を中心とする後方向移動)により前車輪54がそれぞれ走行面から浮き上がる。
【0023】
これにより電動車いすの組立てが完了し、前記スタンド47を走行の邪魔にならないように後ろ方向に回転させ(図4参照)、ハンドル18等を操作して電動式走行を開始する。
この組立てられた電動車いすを元の状態に戻す場合は、予め上部嵌合杆66Aと係合部36の嵌合、及び下部嵌合杆66Bとロック溝38の嵌合をワンタッチで解除できるロック解除機構を設置しておき、この機構を操作することにより元の手動式車いすと駆動輪部とに分離することが望ましい。
【0024】
【発明の効果】
本発明により、手動式車いす部と、駆動輪部とを、連結用嵌合部及び連結用被嵌合部とにより連結する構造にし、かつ駆動輪部の駆動力を利用して連結すると、実質的に、他人の力を借りることなく、使用者が、車いすに座ったまま独力で、手動式車いすに駆動輪部を連結して電動式車いすとして使用でき、また駆動輪部を取り外して手動式車いすとして使用することができる。
つまり本発明の組立て式電動車いすは、実質的に駆動輪部を後走させる操作のみで組立てることができ、当然車いすの使用者は駆動輪部を後走させる操作を行うことができる。従って電動車いすの操作ができる使用者であればその組立てもできることになる。
【図面の簡単な説明】
【図1】組立て前の駆動輪部と手動式車いすを示す側面図。
【図2】手動式車いすの棒状の連結用嵌合部を駆動輪部の嵌合溝に接触させた状態を示す側面図。
【図3】駆動輪部を後走させて連結用被嵌合部を連結用嵌合部に嵌合させて組立てが終わった状態を示す側面図。
【図4】スタンドを引き上げて電動車いすとして使用できる状態を示す側面図。
【図5】は駆動輪部側の連結部のみを示す図。
【図6】連結部とジョイント金具の連結状態を示す斜視図。
【図7】図1の要部の拡大図。
【図8】図7のA−A線矢示図。
【図9】図2の要部の拡大図。
【図10】図3の要部の拡大図。
【符号の説明】
10 組立て式電動車いす
12 非電動(手動)式車いす部
14 駆動輪部
16 本体
18 ハンドル
20 駆動輪
28 湾曲部
30 連結部
32 ジョイント金具
34 凹溝
36 係合部
38 ロック溝
40 スナッチロック
42 円孔
44 角度調整板
47 スタンド
48 台車
52 主車輪
54 前車輪
62 止め金具
64 棒状体
66A 上部嵌合杆
66B 下部嵌合杆

Claims (4)

  1. 前輪、及びハンドリムを備えた後輪を有する手動式車いすと、車輪、該車輪を駆動する駆動装置、及び走行方向を制御するハンドルとを有する前進後退可能な駆動輪部を含んで成り、前記手動式車いす及び駆動輪部のいずれか一方に連結用嵌合部を他方に連結用被嵌合部をそれぞれ設置し、前記駆動部の駆動力により前記連結用嵌合部及び前記連結用被嵌合部を互いに嵌合することにより、前記前輪が浮き上がった状態で前記手動式車いすと前記駆動輪部が連結されるものにおいて、前記手動式車いすの連結用嵌合部又は連結用被嵌合部と前記駆動輪部の連結用被嵌合部又は連結用嵌合部の先端側を接触させ、前記駆動輪部の後走による駆動輪部の回転に伴い、手動式車いす部が前記駆動輪部の回転と逆方向に回転して連結するような位置に連結用嵌合部と連結用被嵌合部を夫々前記車いすと駆動輪部に設けたことを特徴とする組立て式電動車いす。
  2. 駆動輪部は自立可能なスタンドを備え、該スタンドにより駆動輪部側の連結用被嵌合部又は連結用嵌合部が組立前の手動式車いすの連結用嵌合部又は連結用被嵌合部の先端側とほぼ接触可能となる請求項1に記載の組立式電動車いす。
  3. 連結用被嵌合部が1対の溝であり、連結用嵌合部が、該一対の溝間に掛け渡された側面視コの字状の棒状体である請求項1に記載の組立て式電動車いす。
  4. 前輪、ハンドリムを備えた後輪、及び棒状の連結用嵌合部を有する手動式車いすと、車輪、該車輪を駆動する駆動装置、走行方向を制御するハンドル、及び前記連結用嵌合部に嵌合する複数の溝から成る連結用被嵌合部とを有する前進後退可能な駆動輪部とを含んで成る電動車いすの組立て方法において、組立て前における前記棒状の連結用嵌合部の垂直面に対する傾斜角が、前記複数の溝が形成する垂直面に対する傾斜角より大きくなるように配置し、前記棒状の連結用嵌合部を前記複数の溝から成る連結用被嵌合部に接触させ、次いで前記駆動輪部を手動式車いす方向に駆動させて、前記連結用嵌合部を前記連結用被嵌合部に嵌合させ、固定させるとともに、前記前輪が浮き上がった状態で前記手動式車いすと前記駆動輪部を連結することを特徴とする電動車いすの組立て方法。
JP2002372724A 2002-12-24 2002-12-24 組立て式電動車いす及び電動車いすの組立て方法 Expired - Fee Related JP4214552B2 (ja)

Priority Applications (1)

Application Number Priority Date Filing Date Title
JP2002372724A JP4214552B2 (ja) 2002-12-24 2002-12-24 組立て式電動車いす及び電動車いすの組立て方法

Applications Claiming Priority (1)

Application Number Priority Date Filing Date Title
JP2002372724A JP4214552B2 (ja) 2002-12-24 2002-12-24 組立て式電動車いす及び電動車いすの組立て方法

Publications (2)

Publication Number Publication Date
JP2004201807A JP2004201807A (ja) 2004-07-22
JP4214552B2 true JP4214552B2 (ja) 2009-01-28

Family

ID=32811253

Family Applications (1)

Application Number Title Priority Date Filing Date
JP2002372724A Expired - Fee Related JP4214552B2 (ja) 2002-12-24 2002-12-24 組立て式電動車いす及び電動車いすの組立て方法

Country Status (1)

Country Link
JP (1) JP4214552B2 (ja)

Families Citing this family (6)

* Cited by examiner, † Cited by third party
Publication number Priority date Publication date Assignee Title
DE102006032842B4 (de) * 2006-07-14 2008-09-04 Ulrich Alber Gmbh Zusatzantreibsvorrichtung für manuelle Rollstühle
JP6450782B2 (ja) * 2014-06-23 2019-01-09 コリア インスティテュート オブ インダストリアル テクノロジーKorea Institute Of Industrial Technology 別途の装着フレームを持つ走行補助装置
JP2021171442A (ja) * 2020-04-28 2021-11-01 日本気圧バルク工業株式会社 車椅子自走装置
KR102493298B1 (ko) * 2020-12-21 2023-01-31 주식회사 스위브 동력보조장치 연결프레임
CN112773620A (zh) * 2021-01-25 2021-05-11 上海健康医学院 一种外挂电动驱动装置轮椅
CN119732801B (zh) * 2024-12-26 2025-10-10 上海威之群机电制品有限公司 一种电动车头快速棒连接装置

Also Published As

Publication number Publication date
JP2004201807A (ja) 2004-07-22

Similar Documents

Publication Publication Date Title
KR101047342B1 (ko) 전동 휠체어
WO2017138174A1 (ja) 小型電動車両
US7971893B1 (en) Wheelchair
JP4214552B2 (ja) 組立て式電動車いす及び電動車いすの組立て方法
KR101280363B1 (ko) 휠체어용 전동/수동 겸용 모듈 및 이를 채용한 휠체어
CN107468438B (zh) 折叠式电动轮椅车
JP2003339782A (ja) 車椅子の電動駆動装置及び電動式車椅子
JP2003019165A (ja) 人力駆動式車いすの後付け用駆動装置
JP2000152961A (ja) 自力走行機能付き車椅子
JP3180810B2 (ja) 電動車輛における回転シートのロック構造
JP3692456B2 (ja) 車いす
JP2014014473A (ja) 電動アシスト駆動車椅子及びそのための駆動機構
JP3424015B2 (ja) 手動式電動車椅子
KR200319927Y1 (ko) 전동 휠체어에 있어서의 시트높이 조절구조
KR200319930Y1 (ko) 전동 휠체어에 있어서의 전방 보조륜 장착구조
JP2560174Y2 (ja) 電動三輪車
TWM658993U (zh) 行動輔具
KR20200137756A (ko) 기성(旣成) 휠체어에 수동 및 전동변환 가능한 바퀴 장착장치
JPH10295738A (ja) 走行式座椅子
JPH08322885A (ja) 介助型兼用電動車いす
KR200319928Y1 (ko) 전동 휠체어에 있어서의 시트 회전구조
JPH0525609Y2 (ja)
JPH0539696Y2 (ja)
JPH0670721U (ja) 補助動力付き手動車椅子
JP2524070Y2 (ja) 電動車両の足載せ装置

Legal Events

Date Code Title Description
RD04 Notification of resignation of power of attorney

Free format text: JAPANESE INTERMEDIATE CODE: A7424

Effective date: 20030822

A621 Written request for application examination

Free format text: JAPANESE INTERMEDIATE CODE: A621

Effective date: 20051008

A977 Report on retrieval

Free format text: JAPANESE INTERMEDIATE CODE: A971007

Effective date: 20080201

A131 Notification of reasons for refusal

Free format text: JAPANESE INTERMEDIATE CODE: A131

Effective date: 20080415

A521 Written amendment

Free format text: JAPANESE INTERMEDIATE CODE: A523

Effective date: 20080615

A521 Written amendment

Free format text: JAPANESE INTERMEDIATE CODE: A523

Effective date: 20080615

TRDD Decision of grant or rejection written
A01 Written decision to grant a patent or to grant a registration (utility model)

Free format text: JAPANESE INTERMEDIATE CODE: A01

Effective date: 20081014

A01 Written decision to grant a patent or to grant a registration (utility model)

Free format text: JAPANESE INTERMEDIATE CODE: A01

A61 First payment of annual fees (during grant procedure)

Free format text: JAPANESE INTERMEDIATE CODE: A61

Effective date: 20081026

R150 Certificate of patent or registration of utility model

Free format text: JAPANESE INTERMEDIATE CODE: R150

FPAY Renewal fee payment (event date is renewal date of database)

Free format text: PAYMENT UNTIL: 20111114

Year of fee payment: 3

FPAY Renewal fee payment (event date is renewal date of database)

Free format text: PAYMENT UNTIL: 20111114

Year of fee payment: 3

FPAY Renewal fee payment (event date is renewal date of database)

Free format text: PAYMENT UNTIL: 20141114

Year of fee payment: 6

R250 Receipt of annual fees

Free format text: JAPANESE INTERMEDIATE CODE: R250

R250 Receipt of annual fees

Free format text: JAPANESE INTERMEDIATE CODE: R250

LAPS Cancellation because of no payment of annual fees