JP3772638B2 - ホイールインモータ車のモータ搭載構造 - Google Patents

ホイールインモータ車のモータ搭載構造 Download PDF

Info

Publication number
JP3772638B2
JP3772638B2 JP2000136156A JP2000136156A JP3772638B2 JP 3772638 B2 JP3772638 B2 JP 3772638B2 JP 2000136156 A JP2000136156 A JP 2000136156A JP 2000136156 A JP2000136156 A JP 2000136156A JP 3772638 B2 JP3772638 B2 JP 3772638B2
Authority
JP
Japan
Prior art keywords
motor
wheel
axle
center
virtual kingpin
Prior art date
Legal status (The legal status is an assumption and is not a legal conclusion. Google has not performed a legal analysis and makes no representation as to the accuracy of the status listed.)
Expired - Fee Related
Application number
JP2000136156A
Other languages
English (en)
Other versions
JP2001315534A (ja
Inventor
正継 横手
Current Assignee (The listed assignees may be inaccurate. Google has not performed a legal analysis and makes no representation or warranty as to the accuracy of the list.)
Nissan Motor Co Ltd
Original Assignee
Nissan Motor Co Ltd
Priority date (The priority date is an assumption and is not a legal conclusion. Google has not performed a legal analysis and makes no representation as to the accuracy of the date listed.)
Filing date
Publication date
Application filed by Nissan Motor Co Ltd filed Critical Nissan Motor Co Ltd
Priority to JP2000136156A priority Critical patent/JP3772638B2/ja
Publication of JP2001315534A publication Critical patent/JP2001315534A/ja
Application granted granted Critical
Publication of JP3772638B2 publication Critical patent/JP3772638B2/ja
Anticipated expiration legal-status Critical
Expired - Fee Related legal-status Critical Current

Links

Images

Classifications

    • BPERFORMING OPERATIONS; TRANSPORTING
    • B60VEHICLES IN GENERAL
    • B60GVEHICLE SUSPENSION ARRANGEMENTS
    • B60G2200/00Indexing codes relating to suspension types
    • B60G2200/10Independent suspensions
    • B60G2200/14Independent suspensions with lateral arms
    • B60G2200/142Independent suspensions with lateral arms with a single lateral arm, e.g. MacPherson type
    • BPERFORMING OPERATIONS; TRANSPORTING
    • B60VEHICLES IN GENERAL
    • B60GVEHICLE SUSPENSION ARRANGEMENTS
    • B60G2200/00Indexing codes relating to suspension types
    • B60G2200/40Indexing codes relating to the wheels in the suspensions
    • B60G2200/422Driving wheels or live axles
    • BPERFORMING OPERATIONS; TRANSPORTING
    • B60VEHICLES IN GENERAL
    • B60GVEHICLE SUSPENSION ARRANGEMENTS
    • B60G2204/00Indexing codes related to suspensions per se or to auxiliary parts
    • B60G2204/10Mounting of suspension elements
    • B60G2204/12Mounting of springs or dampers
    • B60G2204/129Damper mount on wheel suspension or knuckle
    • BPERFORMING OPERATIONS; TRANSPORTING
    • B60VEHICLES IN GENERAL
    • B60GVEHICLE SUSPENSION ARRANGEMENTS
    • B60G2300/00Indexing codes relating to the type of vehicle
    • B60G2300/50Electric vehicles; Hybrid vehicles

Landscapes

  • Vehicle Body Suspensions (AREA)
  • Axle Suspensions And Sidecars For Cycles (AREA)
  • Arrangement Or Mounting Of Propulsion Units For Vehicles (AREA)

Description

【0001】
【発明の属する技術分野】
この発明は、車輪を回転可能に支持するアクスルに取り付けられて車輪を駆動するモータを備えたホイールインモータ車のモータ搭載構造に関する。
【0002】
【従来の技術】
従来、ホイールインモータ車のモータ搭載構造としては、例えば特開平5−116545号公報に記載されたものがある。これは、仮想キングピン軸と路面との交点と、タイヤ幅方向の中心線と路面との交点との距離、すなわちスクラブ半径が大きいことにより生じる操舵力の増大を、前記スクラブ半径を小さくして低減しようとするものである。
【0003】
【発明が解決しようとする課題】
しかしながら、上記した従来のホイールインモータ車のモータ搭載構造にあっては、仮想キングピン軸に対し、タイヤやロードホイール、さらにはアクスル・ブレーキ部品が車両外側に大きくオフセットしており、その結果操舵時における仮想キングピン軸廻りの慣性重量が大きく、操舵に違和感(操舵力が重い)を感じることがある。これを解決をする手段としては、例えば油圧式パワーステアリングのポンプ能力アップによる方法があるが、エンジン負荷が大きくなり燃費が悪化するという問題がある。
【0004】
そこで、この発明は、燃費の悪化を招くことなく、仮想キングピン軸廻りの慣性重量を小さくして操舵力の増大を防止することを目的としている。
【0005】
【課題を解決するための手段】
前記目的を達成するために、請求項1の発明は、車輪を回転可能に支持するアクスルに取り付けられて前記車輪を駆動するモータを備え、前記アクスルと車体との間に取り付けられて軸線方向に伸縮可能なショックアブソーバの車体側取付部と、前記モータの下方にて、アクスルと車体との間を連結するサスペンションリンクのアクスル側取付部とを結ぶ仮想キングピン軸を中心として操舵時に回転する回転部分の重心を、前記仮想キングピン軸上に配置した構成としてある。
【0006】
このような構成のホイールインモータ車のモータ搭載構造によれば、操舵時には、仮想キングピン軸を中心として回転する回転部分は、その重心が仮想キングピン軸上に位置した状態で回転する。
【0007】
請求項2の発明は、請求項1の発明の構成において、車輪、アクスルおよびモータの3部品合わせた重心を、仮想キングピン軸上に配置した構成としてある。
【0008】
上記構成によれば、操舵時には、仮想キングピン軸を中心として回転する車輪、アクスルおよびモータを合わせた3部品は、その3部品合わせた重心が仮想キングピン軸上に位置した状態で回転する。
【0009】
請求項3の発明は、請求項1の発明の構成において、モータの重心を、仮想キングピン軸上に配置した構成としてある。
【0010】
上記構成によれば、操舵時には、仮想キングピン軸を中心として回転するモータは、その重心が仮想キングピン軸上に位置した状態で回転する。
【0011】
請求項4の発明は、請求項1の発明の構成において、モータとアクスルとの間に、モータの回転を減速して伝達する減速機を配置し、車輪、アクスル、モータおよび減速機の4部品合わせた重心を、仮想キングピン軸上に配置した構成としてある。
【0012】
上記構成によれば、操舵時には、仮想キングピン軸を中心として回転する車輪、アクスル、モータおよび減速機は、その4部品合わせた重心が仮想キングピン軸上に位置した状態で回転する。
【0013】
請求項5の発明は、請求項1の発明の構成において、モータとアクスルとの間に、モータの回転を減速して伝達する減速機を配置し、モータおよび減速機の2部品合わせた重心を、仮想キングピン軸上に配置した構成としてある。
【0014】
上記構成によれば、操舵時には、仮想キングピン軸を中心として回転するモータおよび減速機は、その2部品合わせた重心が仮想キングピン軸上に位置した状態で回転する。
【0015】
請求項6の発明は、請求項4または5の発明の構成において、減速機は、サンギアおよびプラネタリギアを備えた遊星歯車機構で構成され、この遊星歯車機構の出力軸と同軸回転する出力ギアに噛み合う駆動ギアを、前記出力ギアの下方位置にて車輪の回転中心軸に同軸回転可能に設けた構成としてある。
【0016】
上記構成によれば、車輪の回転中心軸と同軸の駆動ギアの上方に、遊星歯車機構およびモータが配置され、モータ下方の空間が大きくなる。
【0017】
【発明の効果】
請求項1の発明によれば、操舵時に仮想キングピン軸を中心として回転する回転部分は、その重心が仮想キングピン軸上に配置されているので、エンジン負荷の増大による燃費悪化を招くことなく、仮想キングピン軸廻りの慣性重量が軽減し、操舵力を小さくすることができる。
【0018】
請求項2の発明によれば、車輪、アクスルおよびモータの3部品合わせた重心を、仮想キングピン軸上に配置したので、操舵時に仮想キングピン軸を中心として回転する車輪、アクスルおよびモータは、その3部品合わせた重心が仮想キングピン軸上に位置した状態で回転し、仮想キングピン軸廻りの慣性重量を軽減させることができる。
【0019】
請求項3の発明によれば、モータの重心を、仮想キングピン軸上に配置したので、操舵時に仮想キングピン軸を中心として回転するモータは、その重心が仮想キングピン軸上に位置した状態で回転し、仮想キングピン軸廻りの慣性重量を軽減させることができる。
【0020】
請求項4の発明によれば、モータとアクスルとの間に、モータの回転を減速して伝達する減速機を配置し、車輪、アクスル、モータおよび減速機の4部品合わせた重心を、仮想キングピン軸上に配置したので、操舵時に仮想キングピン軸を中心として回転する車輪、アクスル、モータおよび減速機は、その4部品合わせた重心が仮想キングピン軸上に位置した状態で回転し、仮想キングピン軸廻りの慣性重量を軽減させることができる。
【0021】
請求項5の発明によれば、モータとアクスルとの間に、モータの回転を減速して伝達する減速機を配置し、モータおよび減速機の2部品合わせた重心を、仮想キングピン軸上に配置したので、操舵時に仮想キングピン軸を中心として回転するモータおよび減速機は、その2部品合わせた重心が仮想キングピン軸上に位置した状態で回転し、仮想キングピン軸廻りの慣性重量を軽減することができる。
【0022】
請求項6の発明によれば、減速機は、サンギアおよびプラネタリギアを備えた遊星歯車機構であり、この遊星歯車機構の出力軸と同軸回転する出力ギアに噛み合う駆動ギアを、前記出力ギアの下方位置にて車輪の回転中心軸に対して同軸回転可能に設けたので、車輪の回転中心軸と同軸の駆動ギアの上方に、遊星歯車機構およびモータが配置されてモータの下方空間が大きくなり、モータの設計自由度が大きくなる。
【0023】
【発明の実施の形態】
以下、この発明の実施の形態を図面に基づき説明する。
【0024】
図1は、この発明の実施の一形態を示すホイールインモータ車のモータ搭載構造の基本構造図である。車両前部の車輪1を回転可能に支持するアクスル3にはブレーキ4が設けられるとともに、車輪1を回転駆動するモータ5が、駆動力を減速して車輪1に伝える減速機7を介して装着されている。
【0025】
モータ5と車体9との間には、ショックアブソーバ11が配置されている。ショックアブソーバ11の車体9に対する車体側取付部となるアッパマウント13と、アクスル3に取り付けられているアクスル側取付部となるロワボールジョイント15とを結ぶ符号17で示すものは、サスペンション仮想キングピン軸(以下、単に仮想キングピン軸と呼ぶ)である。
【0026】
上記したサスペンション仮想キングピン軸17上に、操舵時の回転部分の重心がある場合には、慣性モーメントは零であるが、前記重心が仮想キングピン軸17からオフセットされていると、操舵時に慣性モーメントが発生し、ステアリング操舵力が大きくなって、ドライバに違和感を与える。
【0027】
上記した回転部分としては、車輪1、アクスル3、モータ5、減速機7およびショックアブソーバ11であり、ここでは、これらの5つの部品を合わせた部品の重心Gを、仮想キングピン軸17上に設定してある。これにより、ステアリングを操舵するときの仮想キングピン軸17廻りのトータルの慣性モーメント増加が防止され、操舵力が低減し、操舵フィーリングが良好となる。これはパワーステアリングのポンプ能力をアップさせる必要がなく、したがってエンジン負荷の増大による燃費悪化も発生しない。
【0028】
なお、上記実施の形態では、回転部分として車輪1、アクスル3、モータ5、減速機7およびショックアブソーバ11の5つの部品すべてを、考慮したが、いずれか1つあるいは複数の部品を組み合わせた部品全体の重心を、仮想キングピン軸17上に設定しても、パワーステアリングのポンプ能力をアップさせることなく、仮想キングピン軸17廻りのトータルの慣性モーメント増加が防止される。このように、回転部分として重心位置を考慮する部品数を少なくすることで、設計が容易となる。
【0029】
例えば、モータ5のみの重心を、仮想キングピン軸17上に設定してもよく、また車輪1、アクスル3およびモータ5の3部品合わせた全体の重心を、仮想キングピン軸17上に設定してもよく、さらにモータ5および減速機7の2部品合わせた全体の重心を、仮想キングピン軸17上に設定してもよい。
【0030】
図2は、図1の詳細構造を示している。車輪1としてタイヤ19がロードホイール21に装着され、アクスル3は、ブレーキディスク23、ハブ25、スピンドル27、アクスルベアリング29とから構成されている。ブレーキディスク23とハブ25はボルト・ナット31によりロードホイール21に固定され、スピンドル27はナット32よりハブ25に固定されている。
【0031】
モータ5は、ロータ33が固定されたモータシャフト35が、一対のモータベアリング37を介してモータハウジング39に回転可能に設けられるとともに、モータハウジング39の内面にステータ41が装着されている。また、モータシャフト35の図中で左端部のモータハウジング39の外部には、モータ5の回転数を検出する回転数センサ43が設けられている。
【0032】
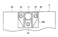
上端が車体9に連結されているショックアブソーバ11の下端は、図2のA−A断面図である図3および図3の平面図である図4に示すように、ショックアブソーバ11の下部に設けられている取付ブラケット45が、ボルト47によりモータハウジング39の厚肉部39aに締結されて、モータハウジング39に固定されている。
【0033】
なお、上記図3においては、内部のステータ41などは省略してあり、また、図2においては、図3における取付ブラケット45や厚肉部39aを省略してある。
【0034】
減速機7は、モータハウジング39の図中で右側に突出した部分のモータシャフト35に固定されたサンギヤ49と、サンギヤ49に噛み合う複数のプラネタリギア51とを備えた遊星歯車機構で構成され、これらが減速機ハウジング53内に収容されている。減速機ハウジング53は、内周面に、複数のプラネタリギア51が噛み合うリングギア55が装着され、図示しないボルトによりモータハウジング39に固定されている。複数のプラネタリギア51相互を連結するキャリア57は、前記したスピンドル27に連結され、減速機7からの回転動力がアクスル3および車輪1に伝達される。
【0035】
上記したモータハウジング39と減速機ハウジング53とは互いに別体で構成してあり、このため例えば放熱性が要求されるモータハウジング39をアルミ材で構成する一方、強度が要求される減速機ハウジング53を鉄で構成するなどで、最適設計が可能となる。
【0036】
ここでのロワボールジョイント15は、モータハウジング39の減速機7側の下部に突出している取付部59に回転可能に取り付けられ、ロワボールジョイント15に一端が連結されているサスペンションリンクとしてのロワリンク61の他端は、車体13側に回転可能に連結されている。
【0037】
アッパマウント13とロワボールジョイント15とを結ぶ直線は、仮想キングピン軸17であり、この仮想キングピン軸17を回転軸としてタイヤ19が操舵される。
【0038】
次に、仮想キングピン軸17に回転部分の重心Gを設定する方法を説明する。
【0039】
回転部分を構成する各部品、例えばショックアブソーバ11は、その車両の重量や要求性能に応じて設計されるものであるため、最適設計を行えばその大きさは必然的に決まる。モータ5、減速機7、アクスル3および車輪1なども同様である。
【0040】
ところで、モータ5の設計において、出力:Pとモータ直径:φDおよびモータ長さ(幅):Lとの間には、次式のような関係がある。
【0041】
P∝DXL
つまり、モータ出力(P)は、モータ直径:φDとモータ長さ:Lとの積に比例する。
【0042】
この関係を用いれば、同一出力のモータであっても、小径で長いモータあるいは、大径で短いモータが設計可能である。このことは、モータの設計方法によって同一出力のモータであっても、モータ5の重心位置が可変であることを意味している。
【0043】
図5に、モータ形状による重心位置の変更例を示す。これによれば、仮想キングピン軸17廻りの回転部分の重心Gが、仮想キングピン軸17に対して車両の内側(図5中で左側)にある場合には、大径で短い形状のモータ5a(モータの重心位置Ga)とすれば、重心Gaが車両外側に変更されて仮想キングピン軸17により近い位置に設定される。一方、仮想キングピン軸17廻りの回転部分の重心Gが、仮想キングピン軸17に対して車両の外側(図5中で右側)にある場合には、小径で長い形状のモータ5b(モータの重心位置Gb)とすれば、重心Gaが車両内側に変更されて仮想キングピン軸17により近い位置に設定される。
【0044】
なお、ショックアブソーバ11の構成部品であるストラットは、モータ5の形状に応じて長さを変更して対応する。
【0045】
図6は、操舵力の周波数応答実験結果のデータを、ホイールインモータを搭載した車両(実線)とホイールインモータを搭載していない車両とで比較して示している。ホイールインモータ搭載車は、回転部分の重心が仮想キングピン軸に対してオフセットした(仮想キングピン軸に対して回転部分の重心位置が一致していない)場合である。
【0046】
これによれば、ホイールインモータ搭載車は、特に1Hz近辺でホイールインモータを搭載していない車両に対し、操舵力が大きくなっており、これが操舵感を悪化させている。すなわち、仮想キングピン軸17に対し回転部分の重心位置を一致させれば、操舵力の増加が回避されることを意味している。
【0047】
図7は、この発明の他の実施の形態を示している。この実施の形態は、減速機7における遊星歯車機構の出力軸63に、出力ギア65を取り付けるとともに、出力ギア65に噛み合う駆動ギア67を、車輪1の回転中心軸となるスピンドル27に出力ギア65の下方位置にて取り付けて、減速機7を構成している。また、出力軸63のキャリア57との連結側と反対側を、ベアリング69により減速機ハウジング53に回転可能に支持させるとともに、キャリア57をプラネタリギア51の両側に配置し、左側のキャリア57をベアリング71を介してモータハウジング39に回転可能に支持させている。
【0048】
ロワリンク61のロワボールジョイント15は、減速機ハウジング53の下部に設けた取付ブラケット73に取り付けられている。
【0049】
上記した図7の実施の形態においては、図2の実施の形態に対し、モータ5および遊星歯車機構を車体のより上方に配置できるので、モータ5とロワリンク61との空間Sを大きくとれ、このため、モータ5の設計自由度(重心Gの設定自由度)が大きくなる。
【0050】
図7において、ロワリンク61は、ショックアブソーバ11がノーマルな状態を実線で、バウンドした状態を二点鎖線で示しており、バウンド状態であっても、モータ5はロワリンク61との間に比較的大きなクリアランスが得られていることがわかる。
【0051】
なお、上記各実施の形態では、モータ5の構造を電動モータで説明したが、油圧モータで構成しても同様の効果が得られる。また、上記各実施の形態では、ショックアブソーバ11をストラット形式で説明したが、キングピン軸(仮想キングピン軸を含む)を有するものであれば、他の形式であっても構わない。
【図面の簡単な説明】
【図1】この発明の実施の一形態を示すホイールインモータ車のモータ搭載構造の基本構造図である。
【図2】図1の詳細構造図である。
【図3】図2のA−A断面図である。
【図4】図3の平面図である。
【図5】モータ形状による重心位置の変更例を示す説明図である。
【図6】操舵力の周波数応答実験結果のデータを、ホイールインモータを搭載した車両とホイールインモータを搭載していない車両とで比較して示した説明図ある。
【図7】この発明の他の実施の形態を示す詳細構造図である。
【符号の説明】
1 車輪(回転部分)
3 アクスル(回転部分)
5 ホイールインモータ(回転部分)
7 減速機(回転部分)
9 車体
11 ショックアブソーバ
13 アッパマウント(車体側取付部)
15 ロワボールジョイント(アクスル側取付部)
17 サスペンション仮想キングピン軸(仮想キングピン軸)
27 スピンドル(車輪の回転中心軸)
49 サンギア
51 プラネタリギア
61 ロワリンク(サスペンションリンク)
63 出力軸
65 出力ギア
67 駆動ギア

Claims (6)

  1. 車輪を回転可能に支持するアクスルに取り付けられて前記車輪を駆動するモータを備え、前記アクスルと車体との間に取り付けられて軸線方向に伸縮可能なショックアブソーバの車体側取付部と、前記モータの下方にて、アクスルと車体との間を連結するサスペンションリンクのアクスル側取付部とを結ぶ仮想キングピン軸を中心として操舵時に回転する回転部分の重心を、前記仮想キングピン軸上に配置したことを特徴とするホイールインモータ車のモータ搭載構造。
  2. 車輪、アクスルおよびモータの3部品合わせた重心を、仮想キングピン軸上に配置したことを特徴とする請求項1記載のホイールインモータ車のモータ搭載構造。
  3. モータの重心を、仮想キングピン軸上に配置したことを特徴とする請求項1記載のホイールインモータ車のモータ搭載構造。
  4. モータとアクスルとの間に、モータの回転を減速して伝達する減速機を配置し、車輪、アクスル、モータおよび減速機の4部品合わせた重心を、仮想キングピン軸上に配置したことを特徴とする請求項1記載のホイールインモータ車のモータ搭載構造。
  5. モータとアクスルとの間に、モータの回転を減速して伝達する減速機を配置し、モータおよび減速機の2部品合わせた重心を、仮想キングピン軸上に配置したことを特徴とする請求項1記載のホイールインモータ車のモータ搭載構造。
  6. 減速機は、サンギアおよびプラネタリギアを備えた遊星歯車機構で構成され、この遊星歯車機構の出力軸と同軸回転する出力ギアに噛み合う駆動ギアを、前記出力ギアの下方位置にて車輪の回転中心軸に同軸回転可能に設けたことを特徴とする請求項4または5記載のホイールインモータ車のモータ搭載構造。
JP2000136156A 2000-05-09 2000-05-09 ホイールインモータ車のモータ搭載構造 Expired - Fee Related JP3772638B2 (ja)

Priority Applications (1)

Application Number Priority Date Filing Date Title
JP2000136156A JP3772638B2 (ja) 2000-05-09 2000-05-09 ホイールインモータ車のモータ搭載構造

Applications Claiming Priority (1)

Application Number Priority Date Filing Date Title
JP2000136156A JP3772638B2 (ja) 2000-05-09 2000-05-09 ホイールインモータ車のモータ搭載構造

Publications (2)

Publication Number Publication Date
JP2001315534A JP2001315534A (ja) 2001-11-13
JP3772638B2 true JP3772638B2 (ja) 2006-05-10

Family

ID=18644143

Family Applications (1)

Application Number Title Priority Date Filing Date
JP2000136156A Expired - Fee Related JP3772638B2 (ja) 2000-05-09 2000-05-09 ホイールインモータ車のモータ搭載構造

Country Status (1)

Country Link
JP (1) JP3772638B2 (ja)

Families Citing this family (45)

* Cited by examiner, † Cited by third party
Publication number Priority date Publication date Assignee Title
JP3440082B2 (ja) * 2001-02-19 2003-08-25 科学技術振興事業団 電気自動車用インホイールモーター
DE10202053A1 (de) * 2002-01-18 2003-07-24 Voith Turbo Kg Antriebsanordnung, insbesondere für Nutzfahrzeuge
WO2004078508A1 (en) * 2003-03-07 2004-09-16 E-Traction Europe B.V. Wheel driving assembly
EP1622787B1 (en) 2003-05-14 2009-09-30 Toyota Jidosha Kabushiki Kaisha Suspension system for electric vehicle
JP2005104216A (ja) * 2003-09-29 2005-04-21 Ntn Corp 電動式車輪駆動装置
US7703780B2 (en) 2003-09-30 2010-04-27 Toyota Jidosha Kabushiki Kaisha Wheel supporting apparatus improving ride comfort of vehicle
JP4113506B2 (ja) 2003-09-30 2008-07-09 トヨタ自動車株式会社 車輪支持装置
JP4349092B2 (ja) * 2003-11-12 2009-10-21 トヨタ自動車株式会社 車両のパワーステアリング制御装置
JP2005231564A (ja) 2004-02-23 2005-09-02 Ntn Corp 電動式車輪駆動装置
JP4139353B2 (ja) 2004-05-25 2008-08-27 トヨタ自動車株式会社 車輪支持装置
JP4360305B2 (ja) 2004-08-25 2009-11-11 トヨタ自動車株式会社 インホイールモータのハウジング構造
JP4550631B2 (ja) * 2005-03-11 2010-09-22 本田技研工業株式会社 車両用ホイール駆動装置
WO2007043514A1 (ja) * 2005-10-11 2007-04-19 Ntn Corporation 動力出力装置
WO2007069567A1 (ja) * 2005-12-12 2007-06-21 Kabushiki Kaisha Bridgestone インホイールモータシステム
US8002060B2 (en) 2006-02-17 2011-08-23 Honda Motor Co., Ltd. Vehicle wheel driving apparatus and electric motor
JP4567616B2 (ja) * 2006-02-17 2010-10-20 本田技研工業株式会社 電動モータ
JP5063904B2 (ja) * 2006-02-20 2012-10-31 Ntn株式会社 ハイブリッド自動車
JP5165849B2 (ja) * 2006-02-22 2013-03-21 Ntn株式会社 インホイールモータ駆動装置
JP2007239886A (ja) * 2006-03-08 2007-09-20 Ntn Corp インホイールモータ駆動装置
JP5160756B2 (ja) * 2006-08-17 2013-03-13 Ntn株式会社 インホイールモータ駆動装置
WO2007102545A1 (ja) * 2006-03-08 2007-09-13 Ntn Corporation インホイールモータ駆動装置
JP4501909B2 (ja) 2006-08-11 2010-07-14 トヨタ自動車株式会社 インホイールモータ構造
US7445067B2 (en) * 2006-08-31 2008-11-04 American Axle & Manufacturing, Inc. Electric wheel motor assembly
JP2008168803A (ja) * 2007-01-12 2008-07-24 Mazda Motor Corp 車両用駆動装置の配設構造
JP5130780B2 (ja) * 2007-04-27 2013-01-30 トヨタ自動車株式会社 車輪駆動装置
JP5374333B2 (ja) * 2009-11-27 2013-12-25 Ntn株式会社 インホイールモータ駆動装置
DE102009054821A1 (de) * 2009-12-17 2011-06-22 ZF Friedrichshafen AG, 88046 Getriebeanordnung mit transversalem Freiheitsgrad
US20130088068A1 (en) * 2010-03-17 2013-04-11 Michelin Recherche Et Technique S.A. Motor-Driven Hub Including an Electric Traction Machine
JP2011240765A (ja) * 2010-05-17 2011-12-01 Ntn Corp インホイールモータ駆動装置
EP2641822B1 (en) * 2010-11-19 2021-01-06 Honda Motor Co., Ltd. Electric saddled vehicle, and drive device for electric vehicle
DE102011005624A1 (de) * 2011-03-16 2012-09-20 Zf Friedrichshafen Ag Antriebsvorrichtung zum Antreiben eines Rades einer Achse für ein elektrisch antreibbares Fahrzeug
DE102011005616A1 (de) * 2011-03-16 2012-09-20 Zf Friedrichshafen Ag Antriebsvorrichtung zum Antreiben eines Rades für ein elektrisch antreibbares Fahrzeug
DE102011005623A1 (de) * 2011-03-16 2012-09-20 Zf Friedrichshafen Ag Antriebsvorrichtung zum Antreiben eines Rades einer Federbeinachse für ein elektrisch antreibbares Fahrzeug
DE102011005621A1 (de) * 2011-03-16 2012-09-20 Zf Friedrichshafen Ag Antriebsvorrichtung zum Antreiben eines Rades einer Federbeinachse für ein elektrisch antreibbares Fahrzeug
DE102011005625A1 (de) * 2011-03-16 2012-09-20 Zf Friedrichshafen Ag Antriebsvorrichtung zum Antreiben eines Rades einer Verbundlenkerachse für ein elektrisch antreibbares Fahrzeug
JP2014031049A (ja) * 2012-08-01 2014-02-20 Jtekt Corp 車両用転舵輪の駆動装置
JP5738354B2 (ja) * 2013-06-21 2015-06-24 Ntn株式会社 電気自動車用インホイールモータ駆動装置
JP5744974B2 (ja) * 2013-06-21 2015-07-08 Ntn株式会社 インホイールモータ駆動装置
JP5744973B2 (ja) * 2013-06-21 2015-07-08 Ntn株式会社 電気自動車用インホイールモータ駆動装置
JP6670571B2 (ja) * 2015-09-28 2020-03-25 Ntn株式会社 インホイールモータ駆動装置とストラット式サスペンション装置の連結構造
JP7163857B2 (ja) * 2019-04-16 2022-11-01 トヨタ自動車株式会社 インホイールモータユニット結合構造
KR102674559B1 (ko) * 2022-03-29 2024-06-13 현대자동차주식회사 유니버설 휠 구동 시스템
KR102674555B1 (ko) * 2022-03-29 2024-06-13 현대자동차주식회사 유니버설 구동 장치
KR102674558B1 (ko) * 2022-03-29 2024-06-13 현대자동차주식회사 유니버설 휠 구동 시스템
KR102676722B1 (ko) * 2022-03-29 2024-06-18 현대자동차주식회사 유니버설 휠 구동 시스템

Also Published As

Publication number Publication date
JP2001315534A (ja) 2001-11-13

Similar Documents

Publication Publication Date Title
JP3772638B2 (ja) ホイールインモータ車のモータ搭載構造
CN108136890B (zh) 轮内电动机驱动装置以及轮内电动机驱动装置和悬架装置的连结结构
US8186467B2 (en) Wheel rotating device for in-wheel motor vehicle
JP6271196B2 (ja) インホイールモータ駆動装置
JP5066924B2 (ja) 車輪駆動装置
JP4501909B2 (ja) インホイールモータ構造
JP6670571B2 (ja) インホイールモータ駆動装置とストラット式サスペンション装置の連結構造
WO2018056283A1 (ja) インホイールモータ駆動装置用サスペンション構造
JP2676025B2 (ja) 電動車輌
JP2005306090A (ja) 自動車のモータ駆動システム
JP6786354B2 (ja) インホイールモータ駆動装置
JP6781608B2 (ja) インホイールモータ駆動装置
JP4967789B2 (ja) 車輪駆動装置
JP4730078B2 (ja) インホイールモータ
JP2011218931A (ja) 操舵輪用モータ駆動ユニット
US20220048317A1 (en) Braking structure for in-wheel motor drive device
JP2008189062A (ja) インホイールモータ
JP2005238989A (ja) 自動車のモータ駆動システム
WO2020090661A1 (ja) インホイールモータ駆動装置の搭載構造
JP6821385B2 (ja) インホイールモータ駆動装置
JP7182890B2 (ja) インホイールモータ駆動装置とサスペンション装置の連結構造
JP2005343354A (ja) 自動車のモータ駆動システム
JP2016124441A (ja) インホイールモータ駆動装置
JP2005153557A (ja) 自動車のモータ駆動システム
JP2020069972A (ja) インホイールモータ駆動装置の搭載構造

Legal Events

Date Code Title Description
TRDD Decision of grant or rejection written
A01 Written decision to grant a patent or to grant a registration (utility model)

Free format text: JAPANESE INTERMEDIATE CODE: A01

Effective date: 20060124

A61 First payment of annual fees (during grant procedure)

Free format text: JAPANESE INTERMEDIATE CODE: A61

Effective date: 20060206

R150 Certificate of patent or registration of utility model

Ref document number: 3772638

Country of ref document: JP

Free format text: JAPANESE INTERMEDIATE CODE: R150

Free format text: JAPANESE INTERMEDIATE CODE: R150

FPAY Renewal fee payment (event date is renewal date of database)

Free format text: PAYMENT UNTIL: 20090224

Year of fee payment: 3

FPAY Renewal fee payment (event date is renewal date of database)

Free format text: PAYMENT UNTIL: 20100224

Year of fee payment: 4

FPAY Renewal fee payment (event date is renewal date of database)

Free format text: PAYMENT UNTIL: 20100224

Year of fee payment: 4

FPAY Renewal fee payment (event date is renewal date of database)

Free format text: PAYMENT UNTIL: 20110224

Year of fee payment: 5

FPAY Renewal fee payment (event date is renewal date of database)

Free format text: PAYMENT UNTIL: 20120224

Year of fee payment: 6

FPAY Renewal fee payment (event date is renewal date of database)

Free format text: PAYMENT UNTIL: 20120224

Year of fee payment: 6

FPAY Renewal fee payment (event date is renewal date of database)

Free format text: PAYMENT UNTIL: 20130224

Year of fee payment: 7

FPAY Renewal fee payment (event date is renewal date of database)

Free format text: PAYMENT UNTIL: 20130224

Year of fee payment: 7

FPAY Renewal fee payment (event date is renewal date of database)

Free format text: PAYMENT UNTIL: 20140224

Year of fee payment: 8

LAPS Cancellation because of no payment of annual fees