JP3614101B2 - 車両用シート - Google Patents

車両用シート Download PDF

Info

Publication number
JP3614101B2
JP3614101B2 JP2000355589A JP2000355589A JP3614101B2 JP 3614101 B2 JP3614101 B2 JP 3614101B2 JP 2000355589 A JP2000355589 A JP 2000355589A JP 2000355589 A JP2000355589 A JP 2000355589A JP 3614101 B2 JP3614101 B2 JP 3614101B2
Authority
JP
Japan
Prior art keywords
seat
seat cushion
vehicle
frame
seat back
Prior art date
Legal status (The legal status is an assumption and is not a legal conclusion. Google has not performed a legal analysis and makes no representation as to the accuracy of the status listed.)
Expired - Fee Related
Application number
JP2000355589A
Other languages
English (en)
Other versions
JP2002154360A (ja
Inventor
信英 和合
政明 山根
Current Assignee (The listed assignees may be inaccurate. Google has not performed a legal analysis and makes no representation or warranty as to the accuracy of the list.)
Toyota Auto Body Co Ltd
Original Assignee
Toyota Auto Body Co Ltd
Priority date (The priority date is an assumption and is not a legal conclusion. Google has not performed a legal analysis and makes no representation as to the accuracy of the date listed.)
Filing date
Publication date
Application filed by Toyota Auto Body Co Ltd filed Critical Toyota Auto Body Co Ltd
Priority to JP2000355589A priority Critical patent/JP3614101B2/ja
Publication of JP2002154360A publication Critical patent/JP2002154360A/ja
Application granted granted Critical
Publication of JP3614101B2 publication Critical patent/JP3614101B2/ja
Anticipated expiration legal-status Critical
Expired - Fee Related legal-status Critical Current

Links

Images

Landscapes

  • Seats For Vehicles (AREA)

Description

【0001】
【発明の属する技術分野】
本発明は車両用シートに関し、特にシートバックの前倒に連動してシートクッションを車両フロア上へ下降させて、前倒されたシートバックの背面を荷物積載面として使用できるようにした車両用シートの構造改良に関する。
【0002】
【従来の技術】
この種の車両用シートの一例を図3に示す。車両フロアF上に前後方向(図 の左右方向)へ平行に延びるステー1(一方のみ示す)が設けられて、ステー1の前端部に起立姿勢のリンクアーム2の下端が回動可能に結合されるとともに、ステーの後端部には公知のリクライニング機構3を介して起立姿勢のシートバック4が結合されている。リンクアーム2の上端はシートクッション5の前端部側面に回動可能に結合されている。シートクッション5の後端部側面にはやや開いたL字形に湾曲するヒンジアーム6の一端部が固定してあり、ヒンジアーム6の他端はシートバック4の側面に回動可能に結合されている。
【0003】
このような構造により、シートバック4をリクライニング機構3の回転軸31を中心にして前方(図の左方)へ傾倒させると、これに伴いシートクッション5が前方へ移動し、起立したリンクアーム2がその下端を中心に図の鎖線のように水平姿勢へ前倒してシートクッション5全体が車両フロアF上へ下降する。そして、下降したシートクッション5上に水平姿勢へ前倒させられたシートバック4が重なる。
【0004】
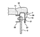
図4、図5には上記車両用シートのシートクッション部の詳細構造を示す。シートクッション5はフレーム体51とこれに載置されたクッション材52とより構成され、フレーム体51は前枠53と後枠54、およびこれらを連結する左右の横枠55(一方のみ図示)とで矩形に形成されている。横枠55は内方へ向くコ字形断面(図5)に成形されており、リンクアーム2の上端は横枠55の外側に位置してその背面に段付きボルト21で回動可能に結合されている。横枠55の前半部側面にはこれに沿ってブラケット板7(図4)が設けられており、下方へ向く略U字断面のブラケット板7は内側壁71が水平に屈曲させられて横枠55の上側壁に接合されている。そして、ブラケット板7の外側壁72下端に、クッション材52を覆う表皮56がその下縁に設けたJフック57によって係止されている。また、ヒンジアーム6の一端は横枠55の後半部側面にボルト61で固定されている。
【0005】
【発明が解決しようとする課題】
ところで、上記従来のシート構造では、別体のブラケット板7やヒンジアーム6を準備してこれらを横枠55に接合あるいはボルト固定する手間を要することから、組付け工数や部品点数が増すという問題があった。
【0006】
そこで本発明はこのような課題を解決するもので、部品点数および組付け工数の削減による大幅なコスト低減を実現した車両用シートを提供することを目的とする。
【0007】
【課題を解決するための手段】
上記目的を達成するために、本第1発明では、リクライニング機構(3)を介して下端が車両フロア(F)に連結されて前倒可能なシートバック(4)と、起立するリンクアーム(2)によって前端が車両フロア(F)に連結されるとともに、後端がシートバック(4)の下端部に回動可能に連結されたシートクッション(5)とを具備し、シートバック(4)の前倒に連動してリンクアーム(2)が前倒してシートクッション(5)が車両フロア(F)上に下降させられるとともに、下降したシートクッション(5)上に、前倒されたシートバック(4)が重なるようにした車両用シートにおいて、シートクッション(5)のフレーム体(8)を構成しその両側に位置して前後方向へ延びる枠体(81A,81B)を外側へ開放する略コ字断面に成形してその背面にリンクアーム(2)の上端部を回動可能に結合するとともに、枠体(81A,81B)の下側開放縁を下方へ延出させた後、さらに内方へ屈曲させて、シートクッション(5)の表皮(56)を係止する係止部(85)とする。
【0008】
本第1発明においては、枠体の開放縁に係止部を形成して、ここにシートクッションの表皮を係止しているから、従来のように別体のブラケット板を設ける必要がなく、その製作と組み付けの手間が削減される。
【0009】
本第2発明では、上記枠体(81A,81B)の後端に、上記シートバック(4)下端部に回動可能に連結されるヒンジアーム部(84)を一体に形成する。
【0010】
本第2発明においては、ヒンジアーム部を枠体の後端に一体に形成したから、従来のように別体のヒンジアームを設ける必要がなく、その製作と組み付けの手間が削減される。
【0011】
【発明の実施の形態】
図1には車両用シートのシートクッションのフレーム体8を示す。図において、フレーム体8は左右位置を前後方向へ平行に延びる横枠81A,81Bと、横枠81A,81Bの前端部間および後端部間を連結する前枠82および後枠83より構成されて平面視で略矩形に成形されている。前枠82は直線状の丸棒よりなり、一方、後枠83は両端部を屈曲させた丸棒よりなる。横枠81A,81Bは長板材をプレス成形したもので、その後端部は斜め上方へ屈曲してヒンジアーム部84となっている。
【0012】
各横枠81A,81Bは全体が外方へ開放する略コ字断面としてあり、その前端部では図2に示すように、横枠81Aの下側壁811の開放縁を略直角に下方へ延出させた後、さらに内方(図2の左方)へ略直角に屈曲させて係止部85としてある。この係止部85には前後の二ヶ所に矩形の係止穴851が形成されている。左右のリンクアーム2は互いの上端内側面がパイプ体22により結合されており、各リンクアーム2の上端は横枠81A,81Bの内側に位置してこれら横枠81A,81Bの背面に回動自在に結合されている。
【0013】
すなわちパイプ体22(図2)が接合されたリンクアーム2の内側板面にはナット23が溶接固定されており、横枠81Aの立壁に設けられた取付穴812内に外方より摺動ブッシュ813を介して段付きボルト814を挿入し、これを上記ナット23に捩じ込み結合してある。一方、フレーム体8上に載置されたクッション材52を覆う表皮56はその下縁が図2に示すように横枠81Aの係止部85の下方に回り込んでおり、表皮56の折り返された先端縁561を貫通するワイヤ57が、係止穴851に通されたホグリング用の針金58によってかしめ抱持されている。
【0014】
リンクアーム2の下端は、既に従来技術で説明したのと同様に、車両フロアF(図3参照)上に設けたステー1の前端に回動可能に結合されており、また、横枠81A,81B後端部に一体に形成されたヒンジアーム部84の先端は摺動ブッシュ841(図1)と段付きボルト842によってシートバック4(図3参照)の側面に回動可能に結合されている。他のシート構造は従来と同様である。
【0015】
このような構造により、リクライニング機構3(図3)を介してステー1に結合されたシートバック4が前倒させられると、これに応じてリンクアーム2が前倒してシートクッション5が車両フロアF上へ下降し、その上にシートバック4が重ねられて従来と同様の作用効果が得られる。
【0016】
本実施形態では、横枠81A,81Bの開放縁を下方へ延出させて係止部85とし、ここにシートクッション5のクッション材52を覆う表皮56の下縁を係止しているから、従来のように別体のブラケット板7(図4参照)を設ける必要がなく、その製作と取り付けの手間が削減される。また、ヒンジアーム部84を横枠81A,81Bに一体に成形したから、従来のように別体のヒンジアーム6(図4参照)を設ける必要がなく、その製作と取り付けの手間も削減される。
【0017】
【発明の効果】
以上のように、本発明の車両用シートによれば、部品点数および組付け工数の削減による大幅なコスト低減を実現することができる。
【図面の簡単な説明】
【図1】本発明の一実施形態を示す、シートクッションのフレーム体の斜視図である。
【図2】フレーム体上にクッション材を載置した部分拡大断面図で、断面部は図1のII−II線に沿うものである。
【図3】従来の車両用シートの全体側面図である。
【図4】シートクッションの部分断面分解斜視図である。
【図5】図4のIV−IV線に沿った断面図である。
【符号の説明】
2…リンクアーム、3…リクライニング機構、4…シートバック、5…シートクッション、56…表皮、8…フレーム体、81A,81B…横枠、84…ヒンジアーム部、85…係止部、F…車両フロア。

Claims (2)

  1. リクライニング機構を介して下端が車両フロアに連結されて前倒可能なシートバックと、起立するリンクアームによって前端が車両フロアに連結されるとともに、後端が前記シートバックの下端部に回動可能に連結されたシートクッションとを具備し、前記シートバックの前倒に連動して前記リンクアームが前倒して前記シートクッションが車両フロア上に下降させられるとともに、下降した前記シートクッション上に、前倒された前記シートバックが重なるようにした車両用シートにおいて、前記シートクッションのフレーム体を構成しその両側に位置して前後方向へ延びる枠体を、外側へ開放する略コ字断面に成形してその背面に前記リンクアームの上端部を回動可能に結合するとともに、前記枠体の下側開放縁を下方へ延出させた後、さらに内方へ屈曲させて、前記シートクッションの表皮を係止する係止部としたことを特徴とする車両用シート。
  2. 前記枠体の後端に、前記シートバック下端部に回動可能に連結されるヒンジアーム部を一体に形成した請求項1に記載の車両用シート。
JP2000355589A 2000-11-22 2000-11-22 車両用シート Expired - Fee Related JP3614101B2 (ja)

Priority Applications (1)

Application Number Priority Date Filing Date Title
JP2000355589A JP3614101B2 (ja) 2000-11-22 2000-11-22 車両用シート

Applications Claiming Priority (1)

Application Number Priority Date Filing Date Title
JP2000355589A JP3614101B2 (ja) 2000-11-22 2000-11-22 車両用シート

Publications (2)

Publication Number Publication Date
JP2002154360A JP2002154360A (ja) 2002-05-28
JP3614101B2 true JP3614101B2 (ja) 2005-01-26

Family

ID=18827979

Family Applications (1)

Application Number Title Priority Date Filing Date
JP2000355589A Expired - Fee Related JP3614101B2 (ja) 2000-11-22 2000-11-22 車両用シート

Country Status (1)

Country Link
JP (1) JP3614101B2 (ja)

Families Citing this family (3)

* Cited by examiner, † Cited by third party
Publication number Priority date Publication date Assignee Title
JP4978282B2 (ja) * 2007-04-10 2012-07-18 トヨタ紡織株式会社 車両用シートのフレーム連結構造
JP5464041B2 (ja) * 2010-05-18 2014-04-09 トヨタ紡織株式会社 車両用シート
JP6658276B2 (ja) * 2016-04-28 2020-03-04 トヨタ紡織株式会社 乗物用シート

Also Published As

Publication number Publication date
JP2002154360A (ja) 2002-05-28

Similar Documents

Publication Publication Date Title
JP3660166B2 (ja) 自動車の車体後部補強構造
JPH0351621B2 (ja)
JP3614101B2 (ja) 車両用シート
JP3477409B2 (ja) 車体のリヤフロア構造
JP3578441B2 (ja) カブリオレ車における車体補強構造
JP4142457B2 (ja) 車体構造
CN100567046C (zh) 座椅框架构造、座椅以及座椅框架的连结方法
JP3555552B2 (ja) 車両用シート
JP3466037B2 (ja) バックドアヒンジの取付構造
JP3000867B2 (ja) 自動車の後部車体構造
JP2003154971A (ja) 自動車の車体構造
JP3614108B2 (ja) 車両用シート
JP2001211964A (ja) 車両用アームレストの取付構造
JPS6237495Y2 (ja)
JP2003040009A (ja) チップアップ機構付の車両用シート
JP2001206251A (ja) トラクタの運転キャビン
JP3890895B2 (ja) 車両用シートのリクライニングデバイス取付構造
JPH0342818Y2 (ja)
JPH0231001Y2 (ja)
JP3583847B2 (ja) 車両用リクライニングリヤシートのヒンジ取付構造
JPH0541947Y2 (ja)
JPH10147165A (ja) 跳上げシート
JPH0244581Y2 (ja)
JP3738900B2 (ja) 車両用シートおよびその製造方法
JPH0619407Y2 (ja) リヤシート装置

Legal Events

Date Code Title Description
A977 Report on retrieval

Free format text: JAPANESE INTERMEDIATE CODE: A971007

Effective date: 20040422

A131 Notification of reasons for refusal

Free format text: JAPANESE INTERMEDIATE CODE: A131

Effective date: 20040518

A521 Written amendment

Free format text: JAPANESE INTERMEDIATE CODE: A523

Effective date: 20040713

TRDD Decision of grant or rejection written
A01 Written decision to grant a patent or to grant a registration (utility model)

Free format text: JAPANESE INTERMEDIATE CODE: A01

Effective date: 20041012

A61 First payment of annual fees (during grant procedure)

Free format text: JAPANESE INTERMEDIATE CODE: A61

Effective date: 20041025

R150 Certificate of patent or registration of utility model

Free format text: JAPANESE INTERMEDIATE CODE: R150

FPAY Renewal fee payment (event date is renewal date of database)

Free format text: PAYMENT UNTIL: 20101112

Year of fee payment: 6

LAPS Cancellation because of no payment of annual fees