JP3556519B2 - 基板収納容器の識別構造及び基板収納容器の識別方法 - Google Patents
基板収納容器の識別構造及び基板収納容器の識別方法 Download PDFInfo
- Publication number
- JP3556519B2 JP3556519B2 JP12489599A JP12489599A JP3556519B2 JP 3556519 B2 JP3556519 B2 JP 3556519B2 JP 12489599 A JP12489599 A JP 12489599A JP 12489599 A JP12489599 A JP 12489599A JP 3556519 B2 JP3556519 B2 JP 3556519B2
- Authority
- JP
- Japan
- Prior art keywords
- storage container
- substrate storage
- identification
- container
- bottom plate
- Prior art date
- Legal status (The legal status is an assumption and is not a legal conclusion. Google has not performed a legal analysis and makes no representation as to the accuracy of the status listed.)
- Expired - Fee Related
Links
- 239000000758 substrate Substances 0.000 title claims description 115
- 238000003860 storage Methods 0.000 title claims description 93
- 238000000034 method Methods 0.000 title claims description 39
- 238000012545 processing Methods 0.000 claims description 42
- 230000002093 peripheral effect Effects 0.000 claims description 21
- 238000003780 insertion Methods 0.000 claims description 7
- 230000037431 insertion Effects 0.000 claims description 7
- 235000012431 wafers Nutrition 0.000 description 34
- 230000008569 process Effects 0.000 description 19
- 239000004065 semiconductor Substances 0.000 description 10
- 230000007246 mechanism Effects 0.000 description 6
- 238000004519 manufacturing process Methods 0.000 description 5
- 238000000465 moulding Methods 0.000 description 5
- 229920003002 synthetic resin Polymers 0.000 description 5
- 239000000057 synthetic resin Substances 0.000 description 5
- 238000011109 contamination Methods 0.000 description 4
- -1 polyethylene Polymers 0.000 description 4
- 210000000078 claw Anatomy 0.000 description 3
- 238000001514 detection method Methods 0.000 description 3
- 230000000694 effects Effects 0.000 description 3
- 239000011521 glass Substances 0.000 description 3
- 238000007726 management method Methods 0.000 description 3
- 239000002184 metal Substances 0.000 description 3
- 229920005668 polycarbonate resin Polymers 0.000 description 3
- 239000004431 polycarbonate resin Substances 0.000 description 3
- 229920002725 thermoplastic elastomer Polymers 0.000 description 3
- 229920000178 Acrylic resin Polymers 0.000 description 2
- 239000004925 Acrylic resin Substances 0.000 description 2
- YCKRFDGAMUMZLT-UHFFFAOYSA-N Fluorine atom Chemical compound [F] YCKRFDGAMUMZLT-UHFFFAOYSA-N 0.000 description 2
- 239000004743 Polypropylene Substances 0.000 description 2
- 210000002858 crystal cell Anatomy 0.000 description 2
- 229920001971 elastomer Polymers 0.000 description 2
- 229910052731 fluorine Inorganic materials 0.000 description 2
- 239000011737 fluorine Substances 0.000 description 2
- 238000007689 inspection Methods 0.000 description 2
- 239000004973 liquid crystal related substance Substances 0.000 description 2
- 229920000728 polyester Polymers 0.000 description 2
- 229920000098 polyolefin Polymers 0.000 description 2
- 229920001155 polypropylene Polymers 0.000 description 2
- 239000011347 resin Substances 0.000 description 2
- 229920005989 resin Polymers 0.000 description 2
- 238000007789 sealing Methods 0.000 description 2
- 238000007740 vapor deposition Methods 0.000 description 2
- 238000003466 welding Methods 0.000 description 2
- 101100190227 Drosophila melanogaster PGRP-SA gene Proteins 0.000 description 1
- 239000004696 Poly ether ether ketone Substances 0.000 description 1
- 239000004698 Polyethylene Substances 0.000 description 1
- 230000002411 adverse Effects 0.000 description 1
- 230000015572 biosynthetic process Effects 0.000 description 1
- 230000008859 change Effects 0.000 description 1
- 238000004040 coloring Methods 0.000 description 1
- 238000007796 conventional method Methods 0.000 description 1
- 230000003247 decreasing effect Effects 0.000 description 1
- 238000011161 development Methods 0.000 description 1
- 238000010586 diagram Methods 0.000 description 1
- 238000005553 drilling Methods 0.000 description 1
- 230000005489 elastic deformation Effects 0.000 description 1
- 239000000463 material Substances 0.000 description 1
- 238000001465 metallisation Methods 0.000 description 1
- 239000012778 molding material Substances 0.000 description 1
- 230000003287 optical effect Effects 0.000 description 1
- 239000002245 particle Substances 0.000 description 1
- 229920001707 polybutylene terephthalate Polymers 0.000 description 1
- 229920002530 polyetherether ketone Polymers 0.000 description 1
- 229920000573 polyethylene Polymers 0.000 description 1
- 229920013716 polyethylene resin Polymers 0.000 description 1
- 230000009467 reduction Effects 0.000 description 1
- 229920002379 silicone rubber Polymers 0.000 description 1
- 239000004945 silicone rubber Substances 0.000 description 1
- 239000010409 thin film Substances 0.000 description 1
Images
Classifications
-
- H—ELECTRICITY
- H01—ELECTRIC ELEMENTS
- H01L—SEMICONDUCTOR DEVICES NOT COVERED BY CLASS H10
- H01L21/00—Processes or apparatus adapted for the manufacture or treatment of semiconductor or solid state devices or of parts thereof
- H01L21/67—Apparatus specially adapted for handling semiconductor or electric solid state devices during manufacture or treatment thereof; Apparatus specially adapted for handling wafers during manufacture or treatment of semiconductor or electric solid state devices or components ; Apparatus not specifically provided for elsewhere
- H01L21/68—Apparatus specially adapted for handling semiconductor or electric solid state devices during manufacture or treatment thereof; Apparatus specially adapted for handling wafers during manufacture or treatment of semiconductor or electric solid state devices or components ; Apparatus not specifically provided for elsewhere for positioning, orientation or alignment
-
- H—ELECTRICITY
- H01—ELECTRIC ELEMENTS
- H01L—SEMICONDUCTOR DEVICES NOT COVERED BY CLASS H10
- H01L21/00—Processes or apparatus adapted for the manufacture or treatment of semiconductor or solid state devices or of parts thereof
- H01L21/67—Apparatus specially adapted for handling semiconductor or electric solid state devices during manufacture or treatment thereof; Apparatus specially adapted for handling wafers during manufacture or treatment of semiconductor or electric solid state devices or components ; Apparatus not specifically provided for elsewhere
- H01L21/67005—Apparatus not specifically provided for elsewhere
- H01L21/67242—Apparatus for monitoring, sorting or marking
- H01L21/67294—Apparatus for monitoring, sorting or marking using identification means, e.g. labels on substrates or labels on containers
-
- H—ELECTRICITY
- H01—ELECTRIC ELEMENTS
- H01L—SEMICONDUCTOR DEVICES NOT COVERED BY CLASS H10
- H01L21/00—Processes or apparatus adapted for the manufacture or treatment of semiconductor or solid state devices or of parts thereof
- H01L21/67—Apparatus specially adapted for handling semiconductor or electric solid state devices during manufacture or treatment thereof; Apparatus specially adapted for handling wafers during manufacture or treatment of semiconductor or electric solid state devices or components ; Apparatus not specifically provided for elsewhere
- H01L21/673—Apparatus specially adapted for handling semiconductor or electric solid state devices during manufacture or treatment thereof; Apparatus specially adapted for handling wafers during manufacture or treatment of semiconductor or electric solid state devices or components ; Apparatus not specifically provided for elsewhere using specially adapted carriers or holders; Fixing the workpieces on such carriers or holders
- H01L21/6735—Closed carriers
- H01L21/67369—Closed carriers characterised by shock absorbing elements, e.g. retainers or cushions
-
- H—ELECTRICITY
- H01—ELECTRIC ELEMENTS
- H01L—SEMICONDUCTOR DEVICES NOT COVERED BY CLASS H10
- H01L21/00—Processes or apparatus adapted for the manufacture or treatment of semiconductor or solid state devices or of parts thereof
- H01L21/67—Apparatus specially adapted for handling semiconductor or electric solid state devices during manufacture or treatment thereof; Apparatus specially adapted for handling wafers during manufacture or treatment of semiconductor or electric solid state devices or components ; Apparatus not specifically provided for elsewhere
- H01L21/673—Apparatus specially adapted for handling semiconductor or electric solid state devices during manufacture or treatment thereof; Apparatus specially adapted for handling wafers during manufacture or treatment of semiconductor or electric solid state devices or components ; Apparatus not specifically provided for elsewhere using specially adapted carriers or holders; Fixing the workpieces on such carriers or holders
- H01L21/6735—Closed carriers
- H01L21/67379—Closed carriers characterised by coupling elements, kinematic members, handles or elements to be externally gripped
-
- H—ELECTRICITY
- H01—ELECTRIC ELEMENTS
- H01L—SEMICONDUCTOR DEVICES NOT COVERED BY CLASS H10
- H01L21/00—Processes or apparatus adapted for the manufacture or treatment of semiconductor or solid state devices or of parts thereof
- H01L21/67—Apparatus specially adapted for handling semiconductor or electric solid state devices during manufacture or treatment thereof; Apparatus specially adapted for handling wafers during manufacture or treatment of semiconductor or electric solid state devices or components ; Apparatus not specifically provided for elsewhere
- H01L21/673—Apparatus specially adapted for handling semiconductor or electric solid state devices during manufacture or treatment thereof; Apparatus specially adapted for handling wafers during manufacture or treatment of semiconductor or electric solid state devices or components ; Apparatus not specifically provided for elsewhere using specially adapted carriers or holders; Fixing the workpieces on such carriers or holders
- H01L21/6735—Closed carriers
- H01L21/67383—Closed carriers characterised by substrate supports
Landscapes
- Engineering & Computer Science (AREA)
- Physics & Mathematics (AREA)
- Condensed Matter Physics & Semiconductors (AREA)
- General Physics & Mathematics (AREA)
- Manufacturing & Machinery (AREA)
- Computer Hardware Design (AREA)
- Microelectronics & Electronic Packaging (AREA)
- Power Engineering (AREA)
- Container, Conveyance, Adherence, Positioning, Of Wafer (AREA)
- Packaging Frangible Articles (AREA)
Description
【発明の属する技術分野】
本発明は、半導体ウェーハ、マスクガラス、液晶セル、又は記録媒体等に代表される基板を収納、輸送、あるいは基板を加工・処理する加工装置に対する位置決め、加工装置間の搬送、及び又は貯蔵に使用される基板収納容器に関するものである。より詳しくは、基板収納容器が使用される工程、基板収納容器のタイプ、又は基板の枚数等を判別するための基板収納容器の識別構造及び基板収納容器の識別方法に関するものである。
【0002】
【従来の技術】
半導体の製造に関わる半導体ウェーハ(以下、ウェーハと略称する)やマスクガラス等の基板は、半導体デバイスの厳しい価格競争に伴い、歩留向上によるコストダウンを目的として口径の大型化(例えば、300mmないし400mm以上)が急ピッチで進められている。同時に、半導体回路が益々微細化しているので、基板を加工する工場はもとより、基板の搬送時に使用される基板収納容器に関しても、高度にクリーンな状態が要求されてきている。
このような要求を実現する方法として、基板の加工に必要な局所領域だけを高度にクリーンな環境とし、この幾つかのクリーンな環境間において、密閉可能な基板収納容器に基板を収納して搬送する方法が提案されている。こうした中、収納された基板を汚染させることなく自動搬送が可能で、しかも、加工装置に直接アクセスすることのできる基板収納容器の開発が進められている。
【0003】
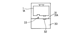
ウェーハの搬送、保管、又は加工装置に対する位置決め等に使用される基板収納容器1は、図8や図9に示すように、複数枚のウェーハを整列収納する容器本体と、この容器本体の開口正面をガスケットを介しシール可能に閉鎖する蓋体とを備え、加工装置30にセットされる。
【0004】
容器本体は、その底面にボトムプレート、又はボトムプレート部(以下、ボトムプレートと総称する)が装着され、このボトムプレートには複数のVグループが配設されており、この複数のVグループが加工装置30に基板収納容器1が搭載される場合に容器本体を位置決めするよう機能する。ガスケットは、容器本体と蓋体との間に挟持され、基板収納容器1の密封状態を維持する。また、蓋体には外部から操作可能なロック機構が内蔵され、このロック機構の係止爪が容器本体の開口正面に係止してシール状態に閉鎖する。
【0005】
さらに、ウェーハの加工装置30は、図8や図9に示すように、基板収納容器1を搭載するロードポート31を備え、このロードポート31の表面には識別突起用の検出手段32と単数複数のインターロックピン33とが間隔をおいて配設されている。このインターロックピン33は、基板収納容器1の過誤に基づく搭載接続を防止する。
【0006】
上記構成において、ウェーハを処理・加工する場合には、先ず、加工装置30のロードポート31に基板収納容器1がボトムプレートを介して搭載接続され、蓋体のロック機構が解除操作されて容器本体の正面の係止穴から係止爪が外れ、容器本体の正面を閉鎖する蓋体が取り外される。こうして蓋体が取り外されると、ウェーハは、基板収納容器1の内部から加工装置30にローディングされて取り込まれ、その後、加工処理される。
【0007】
ところで、半導体デバイスメーカにおいては、ウェーハの薄膜形成の前後で使用する基板収納容器1のコンタミネーション(ウェーハの表面にパーティクル、有機分子、又は無機分子等が付着してウェーハ特性に悪影響を与えること)を防止するため、金属蒸着前のウェーハを取り込む場合に使用する基板収納容器1と、処理が終了したウェーハを収納する場合の基板収納容器1とを特に区別している。この点に鑑み、金属蒸着処理へのウェーハ供給側(以下、前工程という)で使用される基板収納容器1Aと、金属蒸着後(以下、後工程という)に使用される基板収納容器1Bとでは、図8や図9に示すように、識別突起と凹部とが異なる位置に設けられ、識別の容易化が確保されている。
【0008】
図8と図9は、加工装置30のロードポート31・31A・31Bとそれに用いる基板収納容器1A・1Bを様式的に表したものである。図8は前工程における加工装置30のロードポート31Aとこれに適した基板収納容器1Aを示しており、図9は後工程における加工装置30のロードポート31Bとこれに適した基板収納容器1Bを示している。
【0009】
【発明が解決しようとする課題】
以上のように、半導体デバイスメーカにおいては、ウェーハの処理及び加工工程が複雑多岐にわたっているので、収納するウェーハによっては基板収納容器1の汚染を招くこととなる。そこで、例えば前工程のウェーハを収納する場合、汚染されていない基板収納容器1と汚染した基板収納容器1とを区別して使用している。また、加工装置30や基板加工設備は、ウェーハの各種加工工程や半導体デバイスメーカ毎に様々なタイプの基板収納容器1の使用が想定されるので、全タイプの基板収納容器1に対応可能なよう設計されている。しかし、ロボット等による基板収納容器1の取り扱いは、基板収納容器1のタイプ毎に異なるため、基板収納容器1をタイプ毎に区別して取り扱う必要がある。
【0010】
なお、基板収納容器1のタイプとしては、例えばFOUP(Front Opning Unified Pod)と呼ばれる密封容器、FOUPと略同形態をしたFOSB(Front Opning Shipping Pod)と呼ばれる基板輸送容器、又はOCと呼ばれるオープンカセットがあげられる。各基板収納容器1も、ウェーハの収納枚数が13枚と25枚の2タイプに分けられる。
【0011】
このため、基板収納容器1の主要部が同一でも、ウェーハ加工の前工程と後工程とを区別するための識別部の仕様が異なるため、基板収納容器1の製造に際しては、基板収納容器1の成形用の金型を2種類製造して別々に成形する手法を採用するか、あるいは識別部分を入れ子にして交換可能とする手法を用いる必要がある。しかしながら、これらの場合、複数個の金型や金型部品を起型しなくてはならないので、起型の投資金額が大きくなるという問題がある。また、成形で得られる容器本体は他のタイプと外観的に区別が困難なので、製品の生産管理や在庫管理が複雑になったり、基板収納容器1の組立工程や検査工程で他種とコンタミネーションを起こすおそれがある。
【0012】
また、これまでの手法では、工程が複雑多岐にわたるため、基板収納容器1を使用する半導体デバイスメーカにおいて、前工程で使用する基板収納容器1Aと後工程で使用するウェーハの何れが不足しているかを正確に把握するのは非常に困難である。したがって、基板収納容器1の不足がある場合、短い納期で発注するか、あるいは2タイプの基板収納容器1A・1Bの在庫を保有する等の対応をしなければならない。さらに、基板収納容器1A・1Bのタイプや収納するウェーハの枚数を区別するための方法として、従来、基板収納容器1に突起部や凹部からなる識別手段を一体形成するか、別部品として取り付ける方法があったが、螺子や熱溶着等による取り付けが必要不可欠であり、しかも、基板収納容器1の組み立てに余分な工程が必要であった。
【0013】
本発明は上記問題に鑑みなされたもので、金型等の投資金額の抑制や製品管理の簡素化を図ることができ、シール状態の基板収納容器に関する異なる情報を容易に把握することができるとともに、識別体を比較的簡単に取り付けることのできる基板収納容器の識別構造及び基板収納容器の識別方法を提供することを目的としている。
【0014】
【課題を解決するための手段】
本発明においては上記課題を達成するため、加工装置に搭載される容器本体と、この容器本体の開口面をシールして閉鎖する蓋体と、容器本体の底面に着脱自在に設けられるボトムプレートとを含んでなる基板収納容器であって、
容器本体を、基板を収納するフロントオープンボックスに形成し、蓋体の内面に、容器本体に収納された基板の前部周縁を保持する弾力性のフロントリテーナを固定し、ボトムプレートの識別領域に複数の貫通孔を設け、この複数の貫通孔に、着脱自在の識別体を選択的に取り付けるとともに、この識別体をボトムプレートの上下いずれからも取り付け可能とし、識別体の取り付け態様に基づき、基板収納容器に関する異なる情報を加工装置に識別させるようにしたことを特徴としている。
なお、識別体を、ボトムプレートの貫通孔に嵌まる柱体としてその周壁から貫通孔の周縁部に止まる一対のつば部を間隔をおいてそれぞれ外方向に張り出し、一のつば部に、柱体の一端部方向から他端部方向に向かうにしたがい徐々に狭まる傾斜挿入面を形成し、ボトムプレートの上下いずれからも柱体を嵌め入れ可能とすることができる。
【0015】
また、本発明においては上記課題を達成するため、基板を収納し、加工装置に搭載されるフロントオープンボックスタイプの容器本体と、この容器本体の開口面をシールして閉鎖する蓋体と、この蓋体の内面に固定されて容器本体に収納された基板の前部周縁を保持する弾力性のフロントリテーナと、容器本体の底面に着脱自在に設けられるボトムプレートと、このボトムプレートの識別領域における複数の貫通孔に着脱自在に取り付けられ、ボトムプレートの上下いずれからも取り付け可能な識別体とを用いる識別方法であって、
ボトムプレートの識別領域における複数の貫通孔に、異なる情報を識別できるように同一形状の識別体を選択的に取り付け、この識別体の取り付け態様に基づき、基板収納容器に関する異なる情報を加工装置に識別させることを特徴としている。
【0016】
ここで、特許請求の範囲における基板には、少なくとも単数複数の半導体ウェーハ(Si、GaP等)、マスクガラス、液晶セル、又は記録媒体等が含まれる。蓋体には、ロック機構等を内蔵することもできるし、省略することもできる。ボトムプレートの識別領域には、各種形状の貫通孔を複数設けることができる。この貫通孔と識別体とは、密嵌する関係でも、遊嵌する関係でも良い。識別体は、金属や合成樹脂等の各種材料を用い、貫通孔の数に応じて複数構成することができるし、各種センサの検出の容易化を図るために着色することも可能である。
【0017】
柱体には、少なくとも円柱、角柱、多角形の柱、底のある有底円筒形、有底角筒形、有底楕円形、又は有底小判形等が含まれる。この柱体は、その殆どが貫通孔に埋まるものでも良いし、貫通孔から突き出るものでも良い。また、つば部は、柱体の周壁の全周囲から外方向に張り出すものでも良いし、柱体の周壁の一部分から外方向に複数張り出すものでも良い。さらに、柱体の端部周壁から外方向に張り出すものでも良いし、端部以外の周壁から外方向に張り出すものでも良い。さらにまた、柱体の端部は、平坦でも良いし、凹凸構成することも可能である。
【0018】
本発明によれば、容器本体底部に着脱自在に取り付けられたボトムプレートの上下一方から識別領域の貫通孔に同一形状の識別体が異なる情報を識別できるよう取り付けられ、この取り付け状態、すなわち、識別部分の位置変化に基づいて基板収納容器に関する様々な異なる情報、例えば基板収納容器の使用される工程、基板収納容器のタイプ、及び又は基板の枚数等を知ることができるとともに、当該基板収納容器を他の基板収納容器と区別することができる。基板収納容器と識別体とが別体であり、貫通孔を用いて識別体を取り付けるので、例え容器本体の成形用の金型が1種類でも2種類の容器本体を得ることができる。
また、識別領域の貫通孔に識別体の柱体を嵌める際、つば部の傾斜挿入面が貫通孔に対する嵌め込みを容易にする。また、柱体の周壁から張り出した一対のつば部が貫通孔を挟み、貫通孔から識別体が脱落するのを規制する。
【0019】
【発明の実施の形態】
以下、図面を参照して本発明の好ましい実施形態を説明するが、本発明は以下の実施形態になんら限定されるものではない。
本実施形態における基板収納容器の識別構造及び基板収納容器の識別方法は、図1ないし図6(a)、(b)に示すように、複数枚(例えば、13枚又は25枚)のウェーハWを整列収納し、開口正面がガスケット11を介し蓋体12でシール状態に閉鎖される容器本体2と、この容器本体2の底面に着脱自在に螺着されるボトムプレート15と、このボトムプレート15の複数の識別領域にそれぞれ穿孔成形される貫通孔18A・18B・18C・18Dと、この複数の貫通孔18A・18B・18C・18Dにそれぞれ選択的に嵌入される着脱自在の識別体19とを備えている。
【0020】
容器本体2は、図1に示すように、ポリカーボネートやアクリル樹脂等の合成樹脂を用い、少なくとも内部に収納するウェーハWの整列状態を視認可能な部位が透明であるオープンボックス構造に成形され、十分な強度、剛性、及び透明性が確保されるとともに、SEMI規格に基づいて標準化されており、必要に応じて帯電防止処理される。この容器本体2は、その開口正面の周縁部が上下左右外方向に膨出成形されてリム部3を形成し、このリム部3の内部段差面がシール面4を形成する。リム部3の両側部の中央には被係止部5がそれぞれ突出成形されている。
【0021】
容器本体2の内部背面には図1や図2に示すように、間隔をおいて一対のリヤサポート6が一体的又は着脱自在に螺着固定され、内部両側面には上下方向に並ぶ複数の棚溝7がそれぞれ成形されており、内部一側面における複数の棚溝7が内部他側面における複数の棚溝7と相互に対向している。各リヤサポート6は、所定の弾力性を有するポリエチレン樹脂、ポリプロピレン樹脂、又はポリエステル系やポリオレフィン系等の熱可塑性エラストマー等を成形材料として角柱形に成形され、コンタミネーションを減少させるよう機能する。各棚溝7は、断面U字形あるいはV字形に成形され、ウェーハWの外周縁部を弾発的、かつ水平に支持する。
【0022】
容器本体2の底面の前部両側と後部中央とにはSEMI規格に基づくVグループ8がそれぞれ断面略V字形に一体突出成形され、この複数のVグループ8が加工装置30のロードポート31表面における複数の位置決めピンに嵌合して位置決め機能を発揮する。また、容器本体2の天井には図1に示すように、OHT(Overhead Hoist Transportation)と呼ばれるロボティックフランジ9が着脱自在に螺着され、このロボティックフランジ9が図示しない搬送手段に把持される。また、容器本体2の両外側面には必要に応じて把持具10がそれぞれ着脱自在に装着され、この一対の把持具10が緊急時等に使用される。
【0023】
ガスケット11は、各種の熱可塑性エラストマー、フッ素ゴム、又はシリコーンゴム等を用いて枠形に成形され、容器本体2又は蓋体12に溝若しくは突起等を介し着脱自在に嵌合されている。そして、蓋体12の嵌合被覆時に容器本体2のリム部3と蓋体12との間に挟持され、リム部3のシール面4に圧接されてシールする。
【0024】
蓋体12は、図1に示すように、容器本体2と同様あるいは別の合成樹脂を用いて成形され、両側部に係止片13がそれぞれ揺動可能に軸支されており、各係止片13が被係止部5に嵌合係止されることにより、容器本体2のリム部3に強固に嵌合される。この蓋体12の内面には単数複数のフロントリテーナ14が着脱自在に装着固定され、このフロントリテーナ14がウェーハWの輪送時にリヤサポート6との間にウェーハWを挟持して保持する。
【0025】
なお、蓋体12を中空に成形してこの蓋体12には手動操作又は自動操作されるラッチ機構からなるロック機構(図示せず)を内蔵し、このロック機構の出没可能な複数の係止爪をリム部3内周の複数の係止穴にそれぞれ嵌入することにより、容器本体2のリム部3に蓋体12を嵌合しても良い。
【0026】
フロントリテーナ14は、弾力性を有するポリエチレン樹脂、ポリプロピレン樹脂、ポリエステル系やポリオレフィン系等の各種熱可塑性エラストマー、あるいはフッ素ゴム等を用いて成形されている。
【0027】
ボトムプレート15は、図1や図3に示すように、耐摩耗性の良好なポリエーテルエーテルケトン、ポリブチレンテレフタレート、あるいはポリカーボネート樹脂等の合成樹脂を用いて略Y字形の板体に成形され、外周部の上下全域には突部が成形されている。このボトムプレート15は、その前部両側と後部中央とに複数のVグループ8に嵌合する係合体16がそれぞれ成形され、各係合体16の傾斜面がVグループ8に位置決めピンを誘導する。ボトムプレート15の中央部には貫通口17が穿孔成形され、この貫通口17を用いて容器本体2が加工装置30に着脱自在に固定される。
【0028】
ボトムプレート15の後部両側は、図3に示すように、SEMI規格に基づいて複数の識別領域とされ、各識別領域には円形の貫通孔18A・18B・18C・18Dが穿孔成形されている。このSEMI規格について説明すると、SEMI規格E1.9、E47.1、E31のX21とY10の位置に該当する容器本体2の底面後方の両側におけるAとBの位置、及びX22とY9の位置に該当する容器本体2の底面後方の両側におけるCとDの位置には識別用の突起又は凹部がそれぞれ必要とされる。
【0029】
Aの位置は、ウェーハWの収納枚数を示し、具体的にはロードポート31の基準面から9mm以上の高さに突起がある場合には25枚入りの基板収納容器1を表し、基準面から2mm以下の高さに突起がある場合には13枚入りの基板収納容器1を表すよう機能する。また、Bの位置は基板収納容器1の形態の違いを示し、具体的にはAの位置と同様、ロードポート31の基準面から9mm以上の高さに突起がある場合にはFOUP又はFOSBに代表される基板収納容器1を表し、基準面から2mm以下の高さに突起がある場合にはオープンカセットを表す。
【0030】
また、CとDの位置は、基板収納容器1が使用される工程の相違を示し、識別用の凹部と突起が取り付けられる。すなわち、ウェーハ処理の前工程に使用される基板収納容器1Aの場合、容器本体2の底面の中心を中心点とするXY座標の第4象限におけるDの位置、そして加工装置30のロードポート31Aの水平基準面からの高さ9mm以上の位置にインターロックピン33との干渉を避ける識別突起が必要であり、第3象限におけるCの位置、そして水平基準面から高さ2mm以下の位置に基板収納容器1Aの有無の検出用の識別突起が必要とされる。
【0031】
ウェーハ処理の前工程に使用される基板収納容器1Aの底面には図3の容器本体2の中心を中心点とするXY座標の第3象限にあるCの位置に、容器本体2の有無を検出する識別突起が、水平基準面からの高さ2mm以下の位置に、同じY座標の第4象限にあるDの位置には、加工装置30のロードポート31に設けられたインターロックピン33との干渉を避けるため、加工装置30の水平基準面からの高さ9mm以上の位置に容器本体2の有無を検出するための識別突起が必要とされる。
【0032】
これに対し、ウェーハ処理の後工程に使用される基板収納容器1Bの場合、上記とは逆に、第4象限におけるDの位置、そして加工装置30の水平基準面から下方向に2mm以下の位置に識別突起が必要とされ、第3象限のCの位置、そして加工装置30の水平基準面から高さ9mm以上の位置に識別突起部が必要とされる。そこで、本実施形態においては、上記SEMl規格に鑑み、ボトムプレート15の複数の識別領域に該当する位置に貫通孔18A・18B・18C・18Dがそれぞれ穿孔成形され、この複数の貫通孔18A・18B・18C・18Dに識別体19が選択的に嵌挿係止される。
【0033】
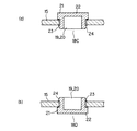
識別体19は、図4(a)、(b)、(c)等に示すように、ポリカーボネートやアクリル樹脂等の合成樹脂製の有底円筒体20からなり、この有底円筒体20がボトムプレート15の上下一方から貫通孔18A・18B・18C・18Dに嵌入され、この嵌入態様に基づいて加工装置30の光学センサ等が基板収納容器1に関する情報を識別知得する。有底円筒体20の一端部は、その全外周から貫通孔18A・18B・18C・18Dの周縁部に係止するつば部21が半径外方向に張り出し成形され、平坦な被検出リム22を形成している。有底円筒体20の開口他端部の全外周からは貫通孔18A・18B・18C・18Dの周縁部に係止する弾性変形可能なつば部23が半径外方向に張り出し成形され、このつば部23には一端部方向から開口他端部方向に向かうにしたがい徐々に傾きつつ狭まる傾斜挿入面24が成形されており、この傾斜挿入面24が貫通孔18A・18B・18C・18Dに対する嵌入を容易にする。
【0034】
上記構成において、図5(a)、(b)は前工程用の基板収納容器1Aに取り付けられる識別体19を表したものである。この場合、識別領域Dの位置にボトムプレート15の上面から識別体19が嵌入されて底部が上方に位置し、インターロックピン33との干渉を回避する識別突起となる。また、識別領域Cの位置にはボトムプレ一トの下面から識別体19を嵌入されて被検出リム22が下方に位置し、この被検出リム22が検出手段32に検出される。
【0035】
これに対し、図6(a)、(b)は、後工程用の基板収納容器1Bに取り付けられる識別体19を表したものである。この場合、識別領域Cの位置にボトムプレート15の上面から識別体19が嵌入されて底部が上方に位置し、インターロックピン33との干渉を回避する識別突起となる。また、識別領域Dの位置にはボトムプレ−トの下面から識別体19が嵌入されて被検出リム22が下方に位置し、これが検出手段32に検出される。
【0036】
上記構成によれば、基板収納容器1の使用工程を示す簡素で軽量な識別体19を容器本体2とは別部品とし、ボトムプレート15の識別領域に当たる貫通孔18A・18B・18C・18Dを利用して取り付けるので、容器本体2の成形用の金型が1種類でも、受注に応じて識別体19を後からセットすることができる。したがって、1種類の金型で2種類の容器本体2を容易に得ることが可能となり、金型の投資金額を著しく削減して大幅なコストダウンが期待できる。また、識別領域に螺子を螺設したり、突起を設ける必要が全くなく、製品構造や金型の構造を実にシンプルにすることができるので、投資コストや生産コストの著しい削減が可能となる。
【0037】
また、螺子や熱溶着等を省略して識別体19を簡単に取り付けたり、取り外したりすることが可能なので、基板収納容器1の仕様を後から容易に変更することができ、2種類の在庫を保有する必要が全くない。さらに、識別体19を共通化することもできるので、管理が大いに簡略化できる。さらにまた、識別体19により、容器本体2と他のタイプとをきわめて容易に区別することができ、製品の生産管理や在庫管理を簡易化することができるとともに、基板収納容器1の組立工程や検査工程で他種とコンタミネーションを起こすおそれがない。
【0038】
次に、図7(a)、(b)、(c)は本発明の第2の実施形態を示すもので、この場合には、有底円筒体20の周壁の周方向に複数(本実施形態では4本)のスリット25を所定の間隔をおいて切り欠き成形するようにしている。各スリット25は、有底円筒体20の開口他端部から一端部方向に向けてU字形に成形されている。その他の部分については、上記実施形態と同様であるので説明を省略する。
【0039】
本実施形態においても上記実施形態と同様の作用効果が期待でき、しかも、識別体19を中空の有底円筒体20に成形するとともに、この有底円筒体20に複数のスリット25を切り欠き成形し、有底円筒体20の周壁を半径内外方向に屈曲しやすくしている。よって、識別体19の弾性変形度が大幅に向上し、識別体19を簡単に取り付けたり、取り外すことが可能となるのは明らかである。
【0040】
なお、上記実施形態では容器本体2に一体成形された複数のVグループ8にボトムプレート15を嵌合したものを示したが、なんらこれに限定されるものではない。例えば、容器本体2の底面及び又は複数のVグループ8にボトムプレート15を固着したり、螺着等するものでも良い。また、ボトムプレート15と複数の係合体16とは、一体構造でも良いし、別体でも良い。さらに、上記以外にも識別領域を形成し、複数の識別体19を組み合わせて取り付けることにより、様々な情報を提供することもできる。さらにまた、有底円筒体20の周壁に4本のスリット25を切り欠き成形したが、この複数のスリット25の数や形状を適宜増減変更することもできる。
【0041】
【発明の効果】
以上のように本発明によれば、金型等の投資金額の抑制や製品管理の簡素化を図ることができ、シール状態の基板収納容器に関する異なる情報を容易に把握することができ、しかも、容器本体とは別体のボトムプレートの上下いずれかから識別体を比較的簡単に取り付けることができるという効果がある。
【図面の簡単な説明】
【図1】本発明に係る基板収納容器の識別構造及び基板収納容器の識別方法の実施形態における基板収納容器を示す分解斜視図である。
【図2】図1の基板収納容器の蓋体を取り外した状態を示す正面図である。
【図3】図1の基板収納容器を示す底面図である。
【図4】本発明に係る基板収納容器の識別構造及び基板収納容器の識別方法の実施形態における識別体を示す説明図で、(a)図は平面図、(b)図は正面図、(c)図は(a)図のC−C線断面図である。
【図5】図2のV−V線断面説明図で、(a)図は識別領域Cの位置に識別体を嵌入した状態を示す断面図、(b)図は識別領域Dの位置に識別体を嵌入した状態を示す断面図である。
【図6】図2のV−V線断面説明図で、(a)図は識別領域Cの位置に識別体を嵌入した状態を示す断面図、(b)図は識別領域Dの位置に識別体を嵌入した状態を示す断面図である。
【図7】本発明に係る基板収納容器の識別構造及び基板収納容器の識別方法の他の実施形態における識別体を示す説明図で、(a)図は平面図、(b)図は正面図、(c)図は(a)図のC−C線断面図である。
【図8】前工程で使用される基板収納容器をロードポートに搭載した状態を示す説明図である。
【図9】後工程で使用される基板収納容器をロードポートに搭載した状態を示す説明図である。
【符号の説明】
1 基板収納容器
1A 前工程用の基板収納容器
1B 後工程用の基板収納容器
2 容器本体
3 リム部
11 ガスケット
12 蓋体
14 フロントリテーナ
15 ボトムプレート
18A 貫通孔
18B 貫通孔
18C 貫通孔
18D 貫通孔
19 識別体
20 有底円筒体(柱体)
21 つば部
22 被検出リム
23 つば部
24 傾斜挿入面
25 スリット
30 加工装置
32 検出手段
W ウェーハ(基板)
Claims (3)
- 加工装置に搭載される容器本体と、この容器本体の開口面をシールして閉鎖する蓋体と、容器本体の底面に着脱自在に設けられるボトムプレートとを含んでなる基板収納容器であって、
容器本体を、基板を収納するフロントオープンボックスに形成し、蓋体の内面に、容器本体に収納された基板の前部周縁を保持する弾力性のフロントリテーナを固定し、ボトムプレートの識別領域に複数の貫通孔を設け、この複数の貫通孔に、着脱自在の識別体を選択的に取り付けるとともに、この識別体をボトムプレートの上下いずれからも取り付け可能とし、識別体の取り付け態様に基づき、基板収納容器に関する異なる情報を加工装置に識別させるようにしたことを特徴とする基板収納容器の識別構造。 - 識別体を、ボトムプレートの貫通孔に嵌まる柱体としてその周壁から貫通孔の周縁部に止まる一対のつば部を間隔をおいてそれぞれ外方向に張り出し、一のつば部に、柱体の一端部方向から他端部方向に向かうにしたがい徐々に狭まる傾斜挿入面を形成し、ボトムプレートの上下いずれからも柱体を嵌め入れ可能とした請求項1記載の基板収納容器の識別構造。
- 基板を収納し、加工装置に搭載されるフロントオープンボックスタイプの容器本体と、この容器本体の開口面をシールして閉鎖する蓋体と、この蓋体の内面に固定されて容器本体に収納された基板の前部周縁を保持する弾力性のフロントリテーナと、容器本体の底面に着脱自在に設けられるボトムプレートと、このボトムプレートの識別領域における複数の貫通孔に着脱自在に取り付けられ、ボトムプレートの上下いずれからも取り付け可能な識別体とを用いる基板収納容器の識別方法であって、
ボトムプレートの識別領域における複数の貫通孔に、異なる情報を識別できるように同一形状の識別体を選択的に取り付け、この識別体の取り付け態様に基づき、基板収納容器に関する異なる情報を加工装置に識別させることを特徴とする基板収納容器の識別方法。
Priority Applications (5)
| Application Number | Priority Date | Filing Date | Title |
|---|---|---|---|
| JP12489599A JP3556519B2 (ja) | 1999-04-30 | 1999-04-30 | 基板収納容器の識別構造及び基板収納容器の識別方法 |
| US09/542,635 US6273261B1 (en) | 1999-04-30 | 2000-04-04 | Identification structure of a substrate storage container and method of identifying a substrate storage container |
| TW089106720A TW455916B (en) | 1999-04-30 | 2000-04-11 | Identification structure of a substrate storage container and method of identifying a substrate storage container |
| KR1020000022351A KR100700795B1 (ko) | 1999-04-30 | 2000-04-27 | 기판 수납 용기의 식별 구조체 및 기판 수납 용기의 식별 방법 |
| EP00108893A EP1049137B1 (en) | 1999-04-30 | 2000-04-27 | Identification structure of a substrate storage container |
Applications Claiming Priority (1)
| Application Number | Priority Date | Filing Date | Title |
|---|---|---|---|
| JP12489599A JP3556519B2 (ja) | 1999-04-30 | 1999-04-30 | 基板収納容器の識別構造及び基板収納容器の識別方法 |
Publications (2)
| Publication Number | Publication Date |
|---|---|
| JP2000315721A JP2000315721A (ja) | 2000-11-14 |
| JP3556519B2 true JP3556519B2 (ja) | 2004-08-18 |
Family
ID=14896770
Family Applications (1)
| Application Number | Title | Priority Date | Filing Date |
|---|---|---|---|
| JP12489599A Expired - Fee Related JP3556519B2 (ja) | 1999-04-30 | 1999-04-30 | 基板収納容器の識別構造及び基板収納容器の識別方法 |
Country Status (5)
| Country | Link |
|---|---|
| US (1) | US6273261B1 (ja) |
| EP (1) | EP1049137B1 (ja) |
| JP (1) | JP3556519B2 (ja) |
| KR (1) | KR100700795B1 (ja) |
| TW (1) | TW455916B (ja) |
Cited By (1)
| Publication number | Priority date | Publication date | Assignee | Title |
|---|---|---|---|---|
| US20240021453A1 (en) * | 2018-09-27 | 2024-01-18 | Taiwan Semiconductor Manufacturing Co., Ltd. | Method of monitoring tool |
Families Citing this family (54)
| Publication number | Priority date | Publication date | Assignee | Title |
|---|---|---|---|---|
| US6010008A (en) * | 1997-07-11 | 2000-01-04 | Fluoroware, Inc. | Transport module |
| US6736268B2 (en) * | 1997-07-11 | 2004-05-18 | Entegris, Inc. | Transport module |
| US6808668B2 (en) * | 1998-05-28 | 2004-10-26 | Entegris, Inc. | Process for fabricating composite substrate carrier |
| US6871741B2 (en) * | 1998-05-28 | 2005-03-29 | Entegris, Inc. | Composite substrate carrier |
| JP3998354B2 (ja) * | 1998-11-24 | 2007-10-24 | 信越ポリマー株式会社 | 輸送容器及びその蓋体の開閉方法並びにその蓋体の開閉装置 |
| JP3556519B2 (ja) * | 1999-04-30 | 2004-08-18 | 信越ポリマー株式会社 | 基板収納容器の識別構造及び基板収納容器の識別方法 |
| US6581264B2 (en) * | 2000-05-02 | 2003-06-24 | Shin-Etsu Polymer Co., Ltd. | Transportation container and method for opening and closing lid thereof |
| JP2004515916A (ja) * | 2000-12-04 | 2004-05-27 | エンテグリス・インコーポレーテッド | 積み重ね用アダプタプレートを有するウェハーキャリア |
| US6519502B2 (en) * | 2001-03-28 | 2003-02-11 | Taiwan Semiconductor Manufacturing Co., Ltd | Apparatus and method for positioning a cassette pod onto a loadport by an overhead hoist transport system |
| JP3938293B2 (ja) * | 2001-05-30 | 2007-06-27 | 信越ポリマー株式会社 | 精密基板収納容器及びその押さえ部材 |
| US6811029B2 (en) * | 2001-11-14 | 2004-11-02 | Entegris, Inc. | Wafer support attachment for a semi-conductor wafer transport container |
| JP4354818B2 (ja) * | 2001-11-14 | 2009-10-28 | インテグリス・インコーポレーテッド | ウェハ・コンテナ用のウェハ・エンクロージャ密封装置 |
| US7344349B2 (en) * | 2001-11-30 | 2008-03-18 | Right Mfg. Co., Ltd. | Pod cover removing-installing apparatus |
| US20080206028A1 (en) * | 2001-11-30 | 2008-08-28 | Tatsuhiko Nagata | Pod cover removing-installing apparatus |
| USD479399S1 (en) | 2001-12-03 | 2003-09-09 | Ebara Corporation | Container for transporting substrates |
| USD491725S1 (en) | 2001-12-19 | 2004-06-22 | Ebara Corporation | Container for transporting substrates |
| US6644477B2 (en) * | 2002-02-26 | 2003-11-11 | Entegris, Inc. | Wafer container cushion system |
| JP4218260B2 (ja) * | 2002-06-06 | 2009-02-04 | 東京エレクトロン株式会社 | 被処理体の収納容器体及びこれを用いた処理システム |
| JP4146718B2 (ja) * | 2002-12-27 | 2008-09-10 | ミライアル株式会社 | 薄板支持容器 |
| EP1601013B1 (en) | 2003-03-04 | 2010-12-15 | Shin-Etsu Polymer Co., Ltd. | Precision substrate storage container |
| US20050169730A1 (en) * | 2003-04-30 | 2005-08-04 | Ravinder Aggarwal | Semiconductor processing tool front end interface with sealing capability |
| US7455181B2 (en) * | 2003-05-19 | 2008-11-25 | Miraial Co., Ltd. | Lid unit for thin plate supporting container |
| TWI239931B (en) * | 2003-05-19 | 2005-09-21 | Miraial Co Ltd | Lid unit for thin plate supporting container and thin plate supporting container |
| US7347329B2 (en) * | 2003-10-24 | 2008-03-25 | Entegris, Inc. | Substrate carrier |
| US7201276B2 (en) * | 2003-11-07 | 2007-04-10 | Entegris, Inc. | Front opening substrate container with bottom plate |
| US7578407B2 (en) | 2004-04-18 | 2009-08-25 | Entegris, Inc. | Wafer container with sealable door |
| JP4667769B2 (ja) * | 2004-06-11 | 2011-04-13 | 信越ポリマー株式会社 | 基板収納容器 |
| US20060000747A1 (en) * | 2004-06-30 | 2006-01-05 | 3M Innovative Properties Company | Shipping container for integrated circuit wafers |
| US20080257779A1 (en) * | 2004-09-29 | 2008-10-23 | Hoya Corporation | Supporting Member For Thin-Film-Coated Boards, Storage Container For Thin-Film-Coated Boards, Mask-Blank-Storing Body, Transfer-Mask-Storing Body, and Method For Transporting Thin-Film-Coated Boards |
| USD611437S1 (en) * | 2004-11-05 | 2010-03-09 | Entegris, Inc. | Wafer carrier door |
| US8365919B2 (en) * | 2005-12-29 | 2013-02-05 | Shin-Etsu Polymer Co., Ltd. | Substrate storage container |
| EP1826422A1 (en) * | 2006-02-23 | 2007-08-29 | The European Community, represented by the European Commission | Sealing bolt |
| EP2022730B1 (en) | 2006-05-29 | 2013-08-14 | Shin-Etsu Polymer Co. Ltd. | Substrate container |
| JP4607069B2 (ja) * | 2006-08-02 | 2011-01-05 | 信越ポリマー株式会社 | 基板収納容器及び識別部材 |
| US7740437B2 (en) | 2006-09-22 | 2010-06-22 | Asm International N.V. | Processing system with increased cassette storage capacity |
| JP4984819B2 (ja) * | 2006-10-24 | 2012-07-25 | 信越半導体株式会社 | 基板出荷ボックスの識別システム |
| US8337133B2 (en) * | 2007-06-25 | 2012-12-25 | International Business Machines Corporation | Segregating wafer carrier types in semiconductor storage devices |
| US7784178B2 (en) * | 2007-06-29 | 2010-08-31 | Intel Corporation | Higher performance barrier materials for containers of environmentally sensitive semiconductor fabrication devices |
| JP5207781B2 (ja) * | 2008-03-10 | 2013-06-12 | 信越ポリマー株式会社 | 基板収納容器 |
| JP5207079B2 (ja) * | 2009-09-28 | 2013-06-12 | 株式会社ダイフク | 容器搬送設備 |
| JP2011100983A (ja) * | 2009-10-07 | 2011-05-19 | Shin Etsu Polymer Co Ltd | 基板収納容器 |
| SG11201407213TA (en) * | 2012-05-04 | 2014-12-30 | Entegris Inc | Wafer container with door mounted shipping cushions |
| WO2014196011A1 (ja) * | 2013-06-03 | 2014-12-11 | ミライアル株式会社 | 基板収納容器 |
| WO2015025410A1 (ja) * | 2013-08-22 | 2015-02-26 | ミライアル株式会社 | 基板収納容器 |
| US9643772B2 (en) * | 2014-07-04 | 2017-05-09 | Shenzhen China Star Optoelectronics Technology Co., Ltd. | Package box device for liquid crystal panels |
| US9082447B1 (en) | 2014-09-22 | 2015-07-14 | WD Media, LLC | Determining storage media substrate material type |
| JP6152843B2 (ja) * | 2014-12-15 | 2017-06-28 | 村田機械株式会社 | バッファシステム及び物品のバッファ方法 |
| KR101986924B1 (ko) * | 2014-12-18 | 2019-06-07 | 엔테그리스, 아이엔씨. | 충격 상태 보호부를 갖는 웨이퍼 용기 |
| CN109075112A (zh) * | 2016-02-05 | 2018-12-21 | 恩特格里斯公司 | 用于衬底容器的缓冲保持器 |
| US20190019704A1 (en) * | 2016-02-09 | 2019-01-17 | Entegris, Inc. | Glass substrate shipper |
| JP6697984B2 (ja) * | 2016-08-31 | 2020-05-27 | 東京エレクトロン株式会社 | 基板処理方法及び基板処理システム |
| CN110520371B (zh) | 2017-04-20 | 2022-05-03 | 美商美国大福公司 | 高密度储料器 |
| TWM565877U (zh) * | 2017-08-25 | 2018-08-21 | 中勤實業股份有限公司 | Wafer box |
| JP2025538439A (ja) * | 2022-11-16 | 2025-11-28 | インテグリス・インコーポレーテッド | 着脱可能なロックピンおよび係合部材を有する締結アセンブリ |
Family Cites Families (17)
| Publication number | Priority date | Publication date | Assignee | Title |
|---|---|---|---|---|
| JPS60211957A (ja) * | 1984-04-06 | 1985-10-24 | Nec Corp | ウエハキヤリア |
| JPS61128512A (ja) * | 1984-11-28 | 1986-06-16 | Toshiba Corp | 半導体基板加工ラインにおける管理方式 |
| US4827110A (en) * | 1987-06-11 | 1989-05-02 | Fluoroware, Inc. | Method and apparatus for monitoring the location of wafer disks |
| US5030057A (en) * | 1987-11-06 | 1991-07-09 | Tel Sagami Limited | Semiconductor wafer transferring method and apparatus and boat for thermal treatment of a semiconductor wafer |
| JPH033254A (ja) * | 1989-05-30 | 1991-01-09 | Sony Corp | ディスク収納容器 |
| JPH0613453A (ja) * | 1992-06-26 | 1994-01-21 | Kawasaki Steel Corp | カセット識別方法 |
| EP0582016B1 (en) * | 1992-08-04 | 1997-04-23 | International Business Machines Corporation | Pressurized sealable transportable containers for storing a semiconductor wafer in a protective gaseous environment |
| US5445271A (en) * | 1992-11-17 | 1995-08-29 | Kabushiki Kaisha Kakizaki Seisakusho | Resin-made basket for thin sheets |
| US5472086A (en) * | 1994-03-11 | 1995-12-05 | Holliday; James E. | Enclosed sealable purgible semiconductor wafer holder |
| US6164530A (en) * | 1994-04-08 | 2000-12-26 | Fluoroware, Inc. | Disk carrier with transponder |
| US5476176A (en) * | 1994-05-23 | 1995-12-19 | Empak, Inc. | Reinforced semiconductor wafer holder |
| KR100207446B1 (ko) * | 1995-07-08 | 1999-07-15 | 윤종용 | 반도체 제조관리용 카세트, 이의 제조방법 및 카세트 인식장치의 설치방법 |
| US5873468A (en) * | 1995-11-16 | 1999-02-23 | Sumitomo Sitix Corporation | Thin-plate supporting container with filter means |
| JP3030428U (ja) * | 1996-04-22 | 1996-11-01 | 東邦化成株式会社 | 半導体ウエハー搬送用キャリア |
| US5788082A (en) * | 1996-07-12 | 1998-08-04 | Fluoroware, Inc. | Wafer carrier |
| JP4090115B2 (ja) * | 1998-06-09 | 2008-05-28 | 信越ポリマー株式会社 | 基板収納容器 |
| JP3556519B2 (ja) * | 1999-04-30 | 2004-08-18 | 信越ポリマー株式会社 | 基板収納容器の識別構造及び基板収納容器の識別方法 |
-
1999
- 1999-04-30 JP JP12489599A patent/JP3556519B2/ja not_active Expired - Fee Related
-
2000
- 2000-04-04 US US09/542,635 patent/US6273261B1/en not_active Expired - Lifetime
- 2000-04-11 TW TW089106720A patent/TW455916B/zh not_active IP Right Cessation
- 2000-04-27 KR KR1020000022351A patent/KR100700795B1/ko not_active Expired - Fee Related
- 2000-04-27 EP EP00108893A patent/EP1049137B1/en not_active Expired - Lifetime
Cited By (1)
| Publication number | Priority date | Publication date | Assignee | Title |
|---|---|---|---|---|
| US20240021453A1 (en) * | 2018-09-27 | 2024-01-18 | Taiwan Semiconductor Manufacturing Co., Ltd. | Method of monitoring tool |
Also Published As
| Publication number | Publication date |
|---|---|
| KR20010007019A (ko) | 2001-01-26 |
| EP1049137A3 (en) | 2005-09-14 |
| JP2000315721A (ja) | 2000-11-14 |
| KR100700795B1 (ko) | 2007-03-27 |
| US6273261B1 (en) | 2001-08-14 |
| TW455916B (en) | 2001-09-21 |
| EP1049137A2 (en) | 2000-11-02 |
| EP1049137B1 (en) | 2012-09-26 |
Similar Documents
| Publication | Publication Date | Title |
|---|---|---|
| JP3556519B2 (ja) | 基板収納容器の識別構造及び基板収納容器の識別方法 | |
| EP1152455B1 (en) | Transportation container and method for opening and closing lid thereof | |
| JP3370279B2 (ja) | 精密基板収納容器 | |
| JP4553840B2 (ja) | 精密基板収納容器 | |
| KR100545427B1 (ko) | 수송용기 | |
| US7823730B2 (en) | Substrate storage container | |
| JP2000306988A (ja) | 基板収納容器 | |
| JPH1191864A (ja) | ウェハー搬送モジュール | |
| JP4090115B2 (ja) | 基板収納容器 | |
| JP2005005525A (ja) | 基板収納容器 | |
| CN116964723A (zh) | 外壳系统结构 | |
| EP1043758A2 (en) | Thin-plate accommodating and/or transporting container | |
| JP3938233B2 (ja) | 密封容器 | |
| JP3538204B2 (ja) | 薄板支持容器 | |
| JP4159946B2 (ja) | 基板収納容器 | |
| JP4175939B2 (ja) | 精密基板収納容器 | |
| JP2002009142A (ja) | 基板収納容器 | |
| KR100711335B1 (ko) | 운반 용기 및 운반 용기의 뚜껑을 개방 및 폐쇄시키는 방법 | |
| TWI719031B (zh) | 具有具一單一本體構造之一門之晶圓載具 | |
| JP2014110350A (ja) | 基板収納容器 | |
| JP2007142192A (ja) | 薄板体収納容器 | |
| JP2004103937A (ja) | 基板収納容器 | |
| JP2001110886A (ja) | 精密基板収納容器 | |
| JP2012023240A (ja) | 基板収納容器 | |
| WO2025069851A1 (ja) | 精密基板収納容器用固定キット |
Legal Events
| Date | Code | Title | Description |
|---|---|---|---|
| A871 | Explanation of circumstances concerning accelerated examination |
Free format text: JAPANESE INTERMEDIATE CODE: A871 Effective date: 20031027 |
|
| A975 | Report on accelerated examination |
Free format text: JAPANESE INTERMEDIATE CODE: A971005 Effective date: 20031118 |
|
| A131 | Notification of reasons for refusal |
Free format text: JAPANESE INTERMEDIATE CODE: A131 Effective date: 20040113 |
|
| A521 | Request for written amendment filed |
Free format text: JAPANESE INTERMEDIATE CODE: A523 Effective date: 20040304 |
|
| TRDD | Decision of grant or rejection written | ||
| A01 | Written decision to grant a patent or to grant a registration (utility model) |
Free format text: JAPANESE INTERMEDIATE CODE: A01 Effective date: 20040511 |
|
| A61 | First payment of annual fees (during grant procedure) |
Free format text: JAPANESE INTERMEDIATE CODE: A61 Effective date: 20040512 |
|
| R150 | Certificate of patent or registration of utility model |
Free format text: JAPANESE INTERMEDIATE CODE: R150 |
|
| R250 | Receipt of annual fees |
Free format text: JAPANESE INTERMEDIATE CODE: R250 |
|
| FPAY | Renewal fee payment (event date is renewal date of database) |
Free format text: PAYMENT UNTIL: 20130521 Year of fee payment: 9 |
|
| S531 | Written request for registration of change of domicile |
Free format text: JAPANESE INTERMEDIATE CODE: R313531 |
|
| FPAY | Renewal fee payment (event date is renewal date of database) |
Free format text: PAYMENT UNTIL: 20130521 Year of fee payment: 9 |
|
| R350 | Written notification of registration of transfer |
Free format text: JAPANESE INTERMEDIATE CODE: R350 |
|
| FPAY | Renewal fee payment (event date is renewal date of database) |
Free format text: PAYMENT UNTIL: 20130521 Year of fee payment: 9 |
|
| FPAY | Renewal fee payment (event date is renewal date of database) |
Free format text: PAYMENT UNTIL: 20160521 Year of fee payment: 12 |
|
| LAPS | Cancellation because of no payment of annual fees |