JP2015110012A - 所定量の飲料を作るためのシステム及び方法 - Google Patents

所定量の飲料を作るためのシステム及び方法 Download PDF

Info

Publication number
JP2015110012A
JP2015110012A JP2015021108A JP2015021108A JP2015110012A JP 2015110012 A JP2015110012 A JP 2015110012A JP 2015021108 A JP2015021108 A JP 2015021108A JP 2015021108 A JP2015021108 A JP 2015021108A JP 2015110012 A JP2015110012 A JP 2015110012A
Authority
JP
Japan
Prior art keywords
capsule
opening
outlet
fluid
beverage
Prior art date
Legal status (The legal status is an assumption and is not a legal conclusion. Google has not performed a legal analysis and makes no representation as to the accuracy of the status listed.)
Pending
Application number
JP2015021108A
Other languages
English (en)
Inventor
ユアン ジェラルド ウォン コン
Kon Euan Gerard Wong
ユアン ジェラルド ウォン コン
ブラント グイド
Brandt Guido
ブラント グイド
コルネリス コエリング ヘンドリク
Cornelis Koeling Hendrik
コルネリス コエリング ヘンドリク
カメルビーク ラルフ
Kamerbeek Ralf
カメルビーク ラルフ
コルネリス ヤコブス ビースヘウヴェル アレンド
Cornelis Jacobus Biesheuvel Arend
コルネリス ヤコブス ビースヘウヴェル アレンド
Current Assignee (The listed assignees may be inaccurate. Google has not performed a legal analysis and makes no representation or warranty as to the accuracy of the list.)
Koninklijke Douwe Egberts BV
Original Assignee
Koninklijke Douwe Egberts BV
Priority date (The priority date is an assumption and is not a legal conclusion. Google has not performed a legal analysis and makes no representation as to the accuracy of the date listed.)
Filing date
Publication date
Family has litigation
First worldwide family litigation filed litigation Critical https://patents.darts-ip.com/?family=41606619&utm_source=google_patent&utm_medium=platform_link&utm_campaign=public_patent_search&patent=JP2015110012(A) "Global patent litigation dataset” by Darts-ip is licensed under a Creative Commons Attribution 4.0 International License.
Application filed by Koninklijke Douwe Egberts BV filed Critical Koninklijke Douwe Egberts BV
Publication of JP2015110012A publication Critical patent/JP2015110012A/ja
Pending legal-status Critical Current

Links

Images

Classifications

    • AHUMAN NECESSITIES
    • A47FURNITURE; DOMESTIC ARTICLES OR APPLIANCES; COFFEE MILLS; SPICE MILLS; SUCTION CLEANERS IN GENERAL
    • A47JKITCHEN EQUIPMENT; COFFEE MILLS; SPICE MILLS; APPARATUS FOR MAKING BEVERAGES
    • A47J31/00Apparatus for making beverages
    • A47J31/24Coffee-making apparatus in which hot water is passed through the filter under pressure, i.e. in which the coffee grounds are extracted under pressure
    • A47J31/34Coffee-making apparatus in which hot water is passed through the filter under pressure, i.e. in which the coffee grounds are extracted under pressure with hot water under liquid pressure
    • A47J31/36Coffee-making apparatus in which hot water is passed through the filter under pressure, i.e. in which the coffee grounds are extracted under pressure with hot water under liquid pressure with mechanical pressure-producing means
    • A47J31/3666Coffee-making apparatus in which hot water is passed through the filter under pressure, i.e. in which the coffee grounds are extracted under pressure with hot water under liquid pressure with mechanical pressure-producing means whereby the loading of the brewing chamber with the brewing material is performed by the user
    • A47J31/3676Cartridges being employed
    • AHUMAN NECESSITIES
    • A47FURNITURE; DOMESTIC ARTICLES OR APPLIANCES; COFFEE MILLS; SPICE MILLS; SUCTION CLEANERS IN GENERAL
    • A47JKITCHEN EQUIPMENT; COFFEE MILLS; SPICE MILLS; APPARATUS FOR MAKING BEVERAGES
    • A47J31/00Apparatus for making beverages
    • A47J31/04Coffee-making apparatus with rising pipes
    • A47J31/057Coffee-making apparatus with rising pipes with water container separated from beverage container, the hot water passing the filter only once i.e. classical type of drip coffee makers
    • AHUMAN NECESSITIES
    • A47FURNITURE; DOMESTIC ARTICLES OR APPLIANCES; COFFEE MILLS; SPICE MILLS; SUCTION CLEANERS IN GENERAL
    • A47JKITCHEN EQUIPMENT; COFFEE MILLS; SPICE MILLS; APPARATUS FOR MAKING BEVERAGES
    • A47J31/00Apparatus for making beverages
    • A47J31/06Filters or strainers for coffee or tea makers ; Holders therefor
    • AHUMAN NECESSITIES
    • A47FURNITURE; DOMESTIC ARTICLES OR APPLIANCES; COFFEE MILLS; SPICE MILLS; SUCTION CLEANERS IN GENERAL
    • A47JKITCHEN EQUIPMENT; COFFEE MILLS; SPICE MILLS; APPARATUS FOR MAKING BEVERAGES
    • A47J31/00Apparatus for making beverages
    • A47J31/24Coffee-making apparatus in which hot water is passed through the filter under pressure, i.e. in which the coffee grounds are extracted under pressure
    • A47J31/34Coffee-making apparatus in which hot water is passed through the filter under pressure, i.e. in which the coffee grounds are extracted under pressure with hot water under liquid pressure
    • A47J31/36Coffee-making apparatus in which hot water is passed through the filter under pressure, i.e. in which the coffee grounds are extracted under pressure with hot water under liquid pressure with mechanical pressure-producing means
    • A47J31/3666Coffee-making apparatus in which hot water is passed through the filter under pressure, i.e. in which the coffee grounds are extracted under pressure with hot water under liquid pressure with mechanical pressure-producing means whereby the loading of the brewing chamber with the brewing material is performed by the user
    • A47J31/3676Cartridges being employed
    • A47J31/368Permeable cartridges being employed
    • AHUMAN NECESSITIES
    • A47FURNITURE; DOMESTIC ARTICLES OR APPLIANCES; COFFEE MILLS; SPICE MILLS; SUCTION CLEANERS IN GENERAL
    • A47JKITCHEN EQUIPMENT; COFFEE MILLS; SPICE MILLS; APPARATUS FOR MAKING BEVERAGES
    • A47J31/00Apparatus for making beverages
    • A47J31/24Coffee-making apparatus in which hot water is passed through the filter under pressure, i.e. in which the coffee grounds are extracted under pressure
    • A47J31/34Coffee-making apparatus in which hot water is passed through the filter under pressure, i.e. in which the coffee grounds are extracted under pressure with hot water under liquid pressure
    • A47J31/36Coffee-making apparatus in which hot water is passed through the filter under pressure, i.e. in which the coffee grounds are extracted under pressure with hot water under liquid pressure with mechanical pressure-producing means
    • A47J31/3666Coffee-making apparatus in which hot water is passed through the filter under pressure, i.e. in which the coffee grounds are extracted under pressure with hot water under liquid pressure with mechanical pressure-producing means whereby the loading of the brewing chamber with the brewing material is performed by the user
    • A47J31/3676Cartridges being employed
    • A47J31/368Permeable cartridges being employed
    • A47J31/3685Brewing heads therefor
    • AHUMAN NECESSITIES
    • A47FURNITURE; DOMESTIC ARTICLES OR APPLIANCES; COFFEE MILLS; SPICE MILLS; SUCTION CLEANERS IN GENERAL
    • A47JKITCHEN EQUIPMENT; COFFEE MILLS; SPICE MILLS; APPARATUS FOR MAKING BEVERAGES
    • A47J31/00Apparatus for making beverages
    • A47J31/24Coffee-making apparatus in which hot water is passed through the filter under pressure, i.e. in which the coffee grounds are extracted under pressure
    • A47J31/34Coffee-making apparatus in which hot water is passed through the filter under pressure, i.e. in which the coffee grounds are extracted under pressure with hot water under liquid pressure
    • A47J31/36Coffee-making apparatus in which hot water is passed through the filter under pressure, i.e. in which the coffee grounds are extracted under pressure with hot water under liquid pressure with mechanical pressure-producing means
    • A47J31/3666Coffee-making apparatus in which hot water is passed through the filter under pressure, i.e. in which the coffee grounds are extracted under pressure with hot water under liquid pressure with mechanical pressure-producing means whereby the loading of the brewing chamber with the brewing material is performed by the user
    • A47J31/3676Cartridges being employed
    • A47J31/369Impermeable cartridges being employed
    • A47J31/3695Cartridge perforating means for creating the hot water inlet
    • BPERFORMING OPERATIONS; TRANSPORTING
    • B65CONVEYING; PACKING; STORING; HANDLING THIN OR FILAMENTARY MATERIAL
    • B65DCONTAINERS FOR STORAGE OR TRANSPORT OF ARTICLES OR MATERIALS, e.g. BAGS, BARRELS, BOTTLES, BOXES, CANS, CARTONS, CRATES, DRUMS, JARS, TANKS, HOPPERS, FORWARDING CONTAINERS; ACCESSORIES, CLOSURES, OR FITTINGS THEREFOR; PACKAGING ELEMENTS; PACKAGES
    • B65D65/00Wrappers or flexible covers; Packaging materials of special type or form
    • B65D65/38Packaging materials of special type or form
    • B65D65/46Applications of disintegrable, dissolvable or edible materials
    • B65D65/466Bio- or photodegradable packaging materials
    • BPERFORMING OPERATIONS; TRANSPORTING
    • B65CONVEYING; PACKING; STORING; HANDLING THIN OR FILAMENTARY MATERIAL
    • B65DCONTAINERS FOR STORAGE OR TRANSPORT OF ARTICLES OR MATERIALS, e.g. BAGS, BARRELS, BOTTLES, BOXES, CANS, CARTONS, CRATES, DRUMS, JARS, TANKS, HOPPERS, FORWARDING CONTAINERS; ACCESSORIES, CLOSURES, OR FITTINGS THEREFOR; PACKAGING ELEMENTS; PACKAGES
    • B65D77/00Packages formed by enclosing articles or materials in preformed containers, e.g. boxes, cartons, sacks or bags
    • B65D77/22Details
    • B65D77/30Opening or contents-removing devices added or incorporated during filling or closing of containers
    • B65D77/32Tearing-strings or like flexible elements
    • BPERFORMING OPERATIONS; TRANSPORTING
    • B65CONVEYING; PACKING; STORING; HANDLING THIN OR FILAMENTARY MATERIAL
    • B65DCONTAINERS FOR STORAGE OR TRANSPORT OF ARTICLES OR MATERIALS, e.g. BAGS, BARRELS, BOTTLES, BOXES, CANS, CARTONS, CRATES, DRUMS, JARS, TANKS, HOPPERS, FORWARDING CONTAINERS; ACCESSORIES, CLOSURES, OR FITTINGS THEREFOR; PACKAGING ELEMENTS; PACKAGES
    • B65D77/00Packages formed by enclosing articles or materials in preformed containers, e.g. boxes, cartons, sacks or bags
    • B65D77/22Details
    • B65D77/30Opening or contents-removing devices added or incorporated during filling or closing of containers
    • B65D77/38Weakened closure seams
    • BPERFORMING OPERATIONS; TRANSPORTING
    • B65CONVEYING; PACKING; STORING; HANDLING THIN OR FILAMENTARY MATERIAL
    • B65DCONTAINERS FOR STORAGE OR TRANSPORT OF ARTICLES OR MATERIALS, e.g. BAGS, BARRELS, BOTTLES, BOXES, CANS, CARTONS, CRATES, DRUMS, JARS, TANKS, HOPPERS, FORWARDING CONTAINERS; ACCESSORIES, CLOSURES, OR FITTINGS THEREFOR; PACKAGING ELEMENTS; PACKAGES
    • B65D85/00Containers, packaging elements or packages, specially adapted for particular articles or materials
    • B65D85/70Containers, packaging elements or packages, specially adapted for particular articles or materials for materials not otherwise provided for
    • B65D85/804Disposable containers or packages with contents which are mixed, infused or dissolved in situ, i.e. without having been previously removed from the package
    • BPERFORMING OPERATIONS; TRANSPORTING
    • B65CONVEYING; PACKING; STORING; HANDLING THIN OR FILAMENTARY MATERIAL
    • B65DCONTAINERS FOR STORAGE OR TRANSPORT OF ARTICLES OR MATERIALS, e.g. BAGS, BARRELS, BOTTLES, BOXES, CANS, CARTONS, CRATES, DRUMS, JARS, TANKS, HOPPERS, FORWARDING CONTAINERS; ACCESSORIES, CLOSURES, OR FITTINGS THEREFOR; PACKAGING ELEMENTS; PACKAGES
    • B65D85/00Containers, packaging elements or packages, specially adapted for particular articles or materials
    • B65D85/70Containers, packaging elements or packages, specially adapted for particular articles or materials for materials not otherwise provided for
    • B65D85/804Disposable containers or packages with contents which are mixed, infused or dissolved in situ, i.e. without having been previously removed from the package
    • B65D85/8043Packages adapted to allow liquid to pass through the contents
    • B65D85/8046Pods, i.e. closed containers made only of filter paper or similar material
    • BPERFORMING OPERATIONS; TRANSPORTING
    • B65CONVEYING; PACKING; STORING; HANDLING THIN OR FILAMENTARY MATERIAL
    • B65DCONTAINERS FOR STORAGE OR TRANSPORT OF ARTICLES OR MATERIALS, e.g. BAGS, BARRELS, BOTTLES, BOXES, CANS, CARTONS, CRATES, DRUMS, JARS, TANKS, HOPPERS, FORWARDING CONTAINERS; ACCESSORIES, CLOSURES, OR FITTINGS THEREFOR; PACKAGING ELEMENTS; PACKAGES
    • B65D85/00Containers, packaging elements or packages, specially adapted for particular articles or materials
    • B65D85/70Containers, packaging elements or packages, specially adapted for particular articles or materials for materials not otherwise provided for
    • B65D85/804Disposable containers or packages with contents which are mixed, infused or dissolved in situ, i.e. without having been previously removed from the package
    • B65D85/8043Packages adapted to allow liquid to pass through the contents
    • B65D85/8049Details of the inlet
    • BPERFORMING OPERATIONS; TRANSPORTING
    • B65CONVEYING; PACKING; STORING; HANDLING THIN OR FILAMENTARY MATERIAL
    • B65DCONTAINERS FOR STORAGE OR TRANSPORT OF ARTICLES OR MATERIALS, e.g. BAGS, BARRELS, BOTTLES, BOXES, CANS, CARTONS, CRATES, DRUMS, JARS, TANKS, HOPPERS, FORWARDING CONTAINERS; ACCESSORIES, CLOSURES, OR FITTINGS THEREFOR; PACKAGING ELEMENTS; PACKAGES
    • B65D85/00Containers, packaging elements or packages, specially adapted for particular articles or materials
    • B65D85/70Containers, packaging elements or packages, specially adapted for particular articles or materials for materials not otherwise provided for
    • B65D85/804Disposable containers or packages with contents which are mixed, infused or dissolved in situ, i.e. without having been previously removed from the package
    • B65D85/8043Packages adapted to allow liquid to pass through the contents
    • B65D85/8052Details of the outlet
    • BPERFORMING OPERATIONS; TRANSPORTING
    • B65CONVEYING; PACKING; STORING; HANDLING THIN OR FILAMENTARY MATERIAL
    • B65DCONTAINERS FOR STORAGE OR TRANSPORT OF ARTICLES OR MATERIALS, e.g. BAGS, BARRELS, BOTTLES, BOXES, CANS, CARTONS, CRATES, DRUMS, JARS, TANKS, HOPPERS, FORWARDING CONTAINERS; ACCESSORIES, CLOSURES, OR FITTINGS THEREFOR; PACKAGING ELEMENTS; PACKAGES
    • B65D85/00Containers, packaging elements or packages, specially adapted for particular articles or materials
    • B65D85/70Containers, packaging elements or packages, specially adapted for particular articles or materials for materials not otherwise provided for
    • B65D85/804Disposable containers or packages with contents which are mixed, infused or dissolved in situ, i.e. without having been previously removed from the package
    • B65D85/8043Packages adapted to allow liquid to pass through the contents
    • B65D85/8061Filters

Landscapes

  • Engineering & Computer Science (AREA)
  • Mechanical Engineering (AREA)
  • Food Science & Technology (AREA)
  • Life Sciences & Earth Sciences (AREA)
  • Biodiversity & Conservation Biology (AREA)
  • Apparatus For Making Beverages (AREA)
  • Devices For Dispensing Beverages (AREA)
  • Closures For Containers (AREA)
  • Packging For Living Organisms, Food Or Medicinal Products That Are Sensitive To Environmental Conditiond (AREA)

Abstract

【課題】抽出可能な製品を使用して、摂取に適する所定量の飲料を作るためのシステムを提供する。
【解決手段】カプセル2は、外周壁と、底12と、蓋16と、入口領域と、閉じられている出口領域とを備え、該外周壁、該底及び該蓋は、抽出可能な製品を容れる内部空間を取り囲み、システムは、該抽出可能な製品に流体を供給して飲料を作るために、流体供給デバイスを入口領域と流体連絡させるように配置されており、該システムは、作られた飲料をカプセルから排出するために、使用中に出口装置が出口領域と流体連絡するようにさらに配置されており、該カプセルは、作られた飲料をカプセルから排出するために、該閉じられている出口領域を通る開口部を与えるように配置されている開口要素をさらに備えている、システム。
【選択図】図3

Description

本発明は、抽出可能な製品を使用して、摂取に適する所定量の飲料を作るためのシステムに関する。該システムは交換可能なカプセルを備える。該システムは、ある量の流体、例えば水、を該交換可能なカプセルに供給するための流体供給デバイスと、該交換可能なカプセルを保持するための収容器と、飲料を容器例えばカップに供給するための出口装置とを備える器具を備える。該カプセルは、外周壁と、底と、蓋と、入口領域と、閉じられた出口領域とを備える。該外周壁、底及び蓋は、抽出可能な製品を容れる内部空間を取り囲む。該システムは、抽出可能な製品に流体を供給して飲料を作るために、該流体供給デバイスを該入口領域と流体連絡するように配置されている。該システムは、作られた飲料をカプセルから排出するために、該出口装置が使用中に該出口領域と流体連絡するようにさらに配置されている。
本発明は、抽出可能な製品を使用して、摂取に適する所定量の飲料を作るための方法にさらに関する。該方法は、外周壁と、底と、蓋と、入口領域と、閉じられた出口領域とを備える交換可能なカプセルを用意し、該壁、底及び蓋は、抽出可能な製品を備えられた内部空間を取り囲む。該方法は、該交換可能なカプセルを保持するための収容器と、ある量の流体、例えば水、を該交換可能なカプセルに供給するための流体供給デバイスと、作られた飲料をカプセルから排出させて、飲料を容器、例えばカップ、に供給するために、使用中に該カプセルと流体連絡している出口装置とを備える器具をさらに用意する。該装置は、流体を抽出可能な製品に供給して、飲料を作るために、該流体供給デバイスを該カプセルの該入口領域と流体連絡させるように配置されている。
先行技術において、コーヒー分配器具における配置のために挽かれたコーヒーを含む密封的に封止されたカプセルは、公知である。コーヒーを作る間に、そのような封止されたカプセルの入口領域は、穴が開けられ、その結果、カプセルの内部空間の挽かれたコーヒーに、加圧下、流体を供給するために入口開口部が用意される。すると、これは、カプセルの内部空間内の圧力を上昇させ、その結果、カプセルの出口領域は該器具に存在する蓋貫通手段に対して押しつけられる。十分な圧力が印加されたとき、出口領域は、該蓋貫通手段に対して引き裂け、出口開口部を作り出し、該開口部を通って、コーヒー飲料が該器具に存在する出口を通ってカプセルから排出することができる。使用中に、該出口は、コーヒー飲料が出口を通って排出し得るように、収容器の出口領域と流体連絡している。
上で説明されたシステムにおいて、流体の優先的な通路は、例えば少なくとも1の入口開口部から少なくとも1の出口開口部へと、カプセル内の抽出可能な製品を通って流れ、このことは、作られた飲料の所望されない濃さ及び/又は該作られた飲料の濃さにおけるカプセルごとの変化をもたらし得ることが見出されてきた。さらに、出口開口部は、流体の圧力により形成されるので、出口開口部の数、位置及び/又はサイズは偶然、形成される。
従って、代替のシステム、カプセル及び方法を提供することは、本発明の目的の一つである。
それに加えて、第一の特徴に従うと、請求項1に記載のシステムが与えられる。
本発明に従うカプセルは、もし開口されなければ閉められている出口領域を通る少なくとも1の開口部を与えるために配置されている開口要素を有する。この開口要素は、該収容器又は出口装置に存在する代わりに、カプセル自身に存在していてもよい。該開口要素は追加の特徴又は調整をカプセルに備え得る。該開口要素自身が出口領域を開口してもよい。形成された少なくとも1の出口開口部を通って、該作られた飲料はカプセルから該出口装置を通って容器へと排出し得る。カプセルに開口要素を備えることは、カプセルの内部の流体の圧力に主に依存する代わりに、所定の数の出口開口部、各出口開口部の所定の位置及び/又は所定のサイズの出口開口部を用意し得る。
本発明で、出口開口部の配置は、器具とは独立に予め決められ得る。出口開口部の数、位置及び/又はサイズは、例えば抽出可能な製品のタイプ、抽出可能な製品の粒子サイズ、飲料の所望される濃さ等に基づいて決定され得る。そのような抽出可能な製品を坦持するカプセルは、出口開口部の、その所定の数、位置及び/又はサイズを与え得る1以上の開口要素を含み得る。さらに、該開口要素は、カプセルの内部で上げられた圧力とは独立して又は部分的に独立して、出口開口部を形成し得る。複数の開口部が備えられ得る。
有利には、該カプセルは、周りの環境に対して密封されていてもよい。好ましくは、封入は流体及び/又は空気を通さず、その結果、該抽出可能な製品は、使用前の相対的に長い期間、好ましくはほとんど又は全く、香り又は抽出性を失うことなく、実質的にそのままであり得る。ちょうど使用の直前にだけ、又は使用の間、該開口要素が、飲料が該出口領域を通って流動し得るように、作動されてもよい。
一つの実施態様において、該開口要素は例えば器具を操作する前に、手で作動されるように配置されている。別の実施態様では、該開口要素は例えば操作の間に、該器具により作動されるように配置されていてもよい。
一つの実施態様において、該出口領域は、カプセルの蓋に、及び/又は外周壁の一部に備えられていてもよい。該出口領域は、該抽出可能な製品を保ちかつ飲料を排出するために、出口フィルターをさらに備え得る。該入口領域は、カプセルの底及び/又は外周壁の一部に備えられ得る。該入口は、加圧された流体が通過することを許し、抽出可能な製品を保つために入口フィルターを備え得る。
一つの実施態様において、該開口要素は、出口フィルター及び/又は蓋とは独立していてもよい。例えば、該開口要素は、出口領域を開口するように少なくとも部分的に動かされ得る。一つの実施態様において、該開口要素を少なくとも部分的に動かすことにより、出口領域は部分的に裂けるか、パキッと折れるか、破れるか又は開き得る。さらなる実施態様において、該器具は動く要素、例えば底貫通手段及び/又は収容器を有し得る。該開口要素は、出口領域を開口するために底貫通手段及び/又は収容器の動きにより動かされてもよい。
別の実施態様において、該開口要素は、出口領域フィルターに備えられたそれぞれの出口開口部から少なくとも部分的に離れるように動かされるように配置されていてもよい。例えば、該開口要素は、例えば、熱及び/又は流体に対する反応により少なくとも部分的に変形されるように配置されていてもよい。
さらに別の実施態様において、該開口要素は、出口フィルター及び/又は蓋と一体化されていてもよい。再び別の実施態様において、該開口要素は、出口領域を通る開口部を与えるために、流体供給デバイスからの流体により、少なくとも部分的に溶解及び/又は分解されるように配置されていてもよい。例えば、可溶性及び/又は分解可能な物質を入れられた該出口開口部が、出口フィルターの中に及び/又は出口フィルターに対して備えられていてもよい。流体を出口フィルターに供給することにより、該出口開口部は開けられ得る。
一つの実施態様において、同じ開口要素は、特にほぼ同時に出口領域を通って流体をカプセルに、特に抽出可能な製品に供給するために入口領域を通って開口部を与えるように配置されていてもよい。別の実施態様において、該開口要素は、第一及び第二の開口要素を備え得る。使用中に、第一の開口要素は、入口領域を通る開口部を与え得るが、第二の開口要素は、出口領域を通る開口部を与え得る。
カプセルは、堅い縁及び/又は堅い外周壁を備え得、該カプセルは、収容器により支持されていてもよい。使用中に、該縁は、飲料をカプセルから排出する間に、カプセルを正しい位置に保持するために、収容器と出口装置の間に押しつけられ得る。
一つの実施態様において、収容器は、代替のカプセルの底を貫通することを意図された底貫通手段を備え、該カプセルの入口領域に少なくとも1の入口の開口部を作り、該少なくとも1の入口の開口部を通して抽出可能な製品に流体を供給する。該システムのカプセルは、該システムのカプセルの底が底貫通手段により貫通されずに、無傷のままであるように、該底が、底貫通手段から離れて位置づけられるように配置されている。
さらなる実施態様において、収容器は、代替のカプセル中の流体及び/又は飲料の圧力の影響下、蓋貫通手段に対して出口領域が、十分に押しつけられたとき、該代替のカプセルの出口領域を貫通することを意図された蓋貫通手段を備え、その結果、少なくとも1の出口開口部であってそれを通って飲料が該代替のカプセルから排出することができる開口部が出口領域に作られる。好ましくは、該蓋貫通手段及び該システムの該カプセルは、使用中に該蓋が、該蓋貫通手段により貫通されずに、無傷のままであるように互いに適合されている。
該システムの流体供給デバイスは、約4〜20バール、好ましくは5〜18バール、より好ましくは6〜15バールの圧力下、交換可能なカプセルに流体を供給するように配置されていてもよい。一つの実施態様において、適切な流体供給デバイスにおける6バールの上昇の圧力がカプセルに供給される。例えば、抽出可能な製品はコーヒーの挽かれた粒子を包含し得、該システムはエスプレッソ及び/又はコーヒータイプの飲料を製造するように配置されていてもよい。
第二の特徴に従うと、請求項25に従う方法が提供される。
この方法において、出口領域を通る開口部を与える開口要素を備えるカプセルが使用され、その後、作られた飲料は該カプセルから排出される。使用前は、出口領域は閉じられていてもよい。使用の間、又は使用の直前に、出口領域を通って開口部が作られるように開口要素が作動される。次に、流体又は飲料は出口開口部を通ってカプセルから出口装置へ、好ましくは容器例えばカップに、排出される。開口要素を、例えば押すこと、加熱すること、湿らせること、加圧すること、破ること、引き裂くこと等により作動することにより、
出口領域及び/又は入口領域が開口され得る。
本発明のさらなる実施態様及びその利点が、図面を参照して特許請求の範囲及び発明の詳細な説明において述べられる。
飲料を作るための先行技術のシステムを断面の正面図において模式的に示す。 飲料を作るための先行技術のシステムを断面の正面図において模式的に示す。 飲料を作るための先行技術のシステムを断面の正面図において模式的に示す。 飲料を作るためのシステムを断面の正面図において模式的に示す。 カプセルを断面の正面図において模式的に示す。 別のカプセルを断面の正面図において模式的に示す。 さらに別のカプセルを断面の正面図において模式的に示す。 さらに別のカプセルの一部を断面の正面図において模式的に示す。 カプセル及び底貫通手段を断面の正面図において模式的に示す。 さらに別のカプセルを断面の正面図において模式的に示す。 さらに別のカプセルを断面の正面図において模式的に示す。
本明細書において、同一及び対応する領域は同一又は対応する参照番号を有する。示された例示的な実施態様は、如何なる態様においても制限的であると解釈されるべきではなく、単に例として役立つのみである。
図1a〜1cは、抽出可能な製品を使用して摂取に適する所定量の飲料を作るための先行技術のシステム101を示す。システム101は、交換可能なカプセル102と器具104とを備える。器具104は、交換可能なカプセル102を保持するための収容器106を備える。図1a〜1cにおいて、カプセル102と収容器106との間に明確性のために隙間が描かれている。使用中に、カプセル102は収容器106と接触していてもよいことが理解されるだろう。一般に、収容器106は、カプセル102の形状に対して相補的な形状を有する。器具104は、ある量の流体、例えば水、を例えば9バールの加圧下で、交換可能なカプセル102に供給するための流体供給デバイス108をさらに備える。さらに、出口装置109が、容器例えばカップにカプセル102から流体を与えるように備えられていてもよい。
図1a〜1cに示されたシステム101において、交換可能なカプセル102は、外周壁110tp、該外周壁110を第一の端部114で閉じている底112と、該底112の反対側の第二の端部118で該外周壁110を閉じている蓋116と、を備える。外周壁110、底112及び蓋116は、抽出可能な製品20を容れる内部空間120を取り囲む。
図1a〜1cのシステム101は、カプセル102を貫通することを意図された底貫通手段122を備える。図1aは、引っ込められた位置における底貫通手段122を示す。図1bは、底112に入口開口部124を作り、該開口部124を通して、抽出可能な製品20に流体を供給するための、延ばされた位置における底貫通手段122を示す。図1a〜1cにおいて、貫通手段122は穴126を備え、該開口部を通して流体が、内部空間120に収容された抽出可能な製品20に供給されることができる。図1a〜1cのシステム101は、カプセル102の蓋116を貫通することを意図された蓋貫通手段128(ここでは、突出部として具体化されている)をさらに含む。示された実施態様においては、該蓋貫通手段128は、出口装置109の一部を形成してもよい。
図1a〜1cに示されたシステム101は、一杯のコーヒーを作るために以下のように操作され、ここで該抽出可能な製品20は、煎られかつ挽かれたコーヒーである。
カプセル102は、収容器106の中に置かれる(図1aを参照のこと)。入口開口部124を作り出すように、底貫通手段が作動されて、カプセル102の底112を貫通する(図1bを参照のこと)。流体、ここでは加圧下の熱湯、が入口開口部124を通って内部空間120における抽出可能な製品20に供給される。水はコーヒーの挽かれたものを濡らし、所望される物質を抽出して、コーヒー飲料を形成する。
加圧下の水を内部空間120に供給する間に、カプセル102内部の圧力は上昇するだろう。圧力の上昇は、蓋116を変形させ、蓋貫通手段128に押しつけられるようにする。ひとたび圧力があるレベルに到達すると、蓋116の引裂強度が越えられ、蓋は蓋貫通手段128に対して破裂して、出口開口部130を作り出す(図1cを参照のこと)。作られたコーヒーは、該出口開口部130及び出口装置109の出口132を通ってカプセル102から排出し、容器、例えばカップ(図示されていない)に供給され得る。
図1a〜1cに示されたシステム101において飲料を作る間、優先的な流れの通路はカプセル102の内部空間120の内部の抽出可能な製品20の中に存在し得る。これらの優先的な通路は、入口開口部124から出口開口部130に延在し得る。一つのそのような可能性のある優先的な通路が図1cにおいて線PPで示される。
図2は、抽出可能な製品20を使用して摂取に適する所定量の飲料を作るためのシステム1の第一の実施態様の例を示す。システム1は、交換可能なカプセル2と、器具104とを備える。カプセル2は開かれた状態にあり、該開口要素(図2においては図示されていない)は、出口及び入口領域を開けるためにすでに作動されている。開口要素は以下において説明される。
器具104は、交換可能なカプセル2を保持するための収容器106を備える。この実施例において、収容器106は、カプセル2の形状に対して相補的な形状を有する。図2において、カプセル2と収容器106との間に明確性のために隙間が描かれている。使用中に、カプセル2は収容器106と接触していてもよいことが理解されるだろう。器具104は、ある量の流体、例えば水、を加圧下で、交換可能なカプセル2に供給するための流体供給デバイス108をさらに備える。
図2に示されたシステム1において、交換可能なカプセル2は、外周壁10と、該外周壁10を第一の端部14で閉じている底12と、底12と反対の第二の端部18で該外周壁10を閉じている蓋16と、を備える。外周壁10、底12及び蓋16は、抽出可能な製品20を容れる内部空間20を取り囲む。この実施例において、交換可能なカプセル2は、一回分の飲料、好ましくはカップ一杯の飲料、例えば30〜200mlの作られた飲料を作るのに適切である、ある量の抽出可能な製品20を含む。即ち、交換可能なカプセルは、1回用の小分けにされたパックである。
一つの実施態様に従うと、図2のシステム1は、図1a〜1cに示された先行技術のカプセル102を貫通することを意図された底貫通手段122を備える。図2は、先行技術のカプセル102の底112に入口の開口部124を作ることを意図された、延ばされた位置における底貫通手段を示す。さらなる実施態様に従うと、カプセル2は、底貫通手段が延ばされた位置に至らせられたときカプセル2が底貫通手段122により貫通されず、底12が無傷のままであるように、底貫通手段12から離れて配置されている入口フィルター34を備える。従って、入口フィルター34は、入口領域を用意する。入口フィルターは、以下に説明されるように、入口開口要素を作動させることにより形成され得る入口開口部24を備えられている。
図2において、貫通手段122は、穴126を備え、該穴を通って流体が収容器106の内部空間に供給される。流体は、本明細書においては例えば6バール超の圧力下の湯であり、入口フィルター34を通ってカプセル2の内部空間20の中へと流れ、所望される物質を抽出可能な製品20、この実施例では約7グラムの、煎られかつ挽かれたコーヒー、から抽出し、この実施例では、一杯のカップの飲料、ここではコーヒー、を作る。
即ち、より一般的には、図2の実施例では、底12は、入口フィルター34により形成された入口領域を備え、システム1は飲料を作るために、抽出可能な製品20に流体を供給するために流体供給デバイス108が入口領域と流体連絡させるように配置されている。
図2の実施例において、外周壁10は、実質的に堅い。外周壁は、例えばプラスチック物質を含み得、そして例えば射出成型、真空成型、熱成形等により成形され得る。図2の実施例において、底12は外周壁10と一体である。この実施例において、入口フィルター34は、底12の複数の入口の開口部24により形成され、即ち入口領域を形成する。この実施例において複数の入口の開口部24は底12の実質的に全体にわたって分布されている。示された実施態様において、流体は、複数の入口の開口部24を介して抽出可能な製品20に供給され、そのことは、抽出可能な製品20がカプセル2の実質的に断面全体にわたって濡らされるようにする。従って、抽出可能な製品20への非常に均一な流体の供給が得られる。即ち、抽出可能な製品20を通って流体が流れる優先的な通路の発生のリスクが大きく低下される。別の実施態様においては、追加の開口部24が外周壁10に、好ましくは底12の近くに備えられていてもよく、その結果、入口領域が底12に沿ってかつ外周壁10に沿って備えられていてもよい。
上記の実施態様に追加して又はそれとは別に使用され得るさらなる実施態様において、少なくとも1の出口の開口部130を作り、該開口部を通って先行技術のカプセル102から飲料が排出することができるように、図2のシステム1は、カプセル102中の流体及び/又は飲料の圧力の影響下で、蓋116が蓋貫通手段128に対して十分に押しつけられたとき、先行技術のカプセル102の蓋116を貫通することを意図された蓋貫通手段128を備える。本発明の実施態様に従うと、カプセル2は、開口部であって該開口部を通って飲料がカプセル2から排出することができる出口開口部30を備える出口フィルター36を備える。下記において説明されるように、カプセルは使用の前又は間に、これらの出口開口部30を開けるための出口開口要素を備えられていてもよい。出口フィルター36が、カプセル2内の圧力の影響下で、蓋貫通手段128により貫通されない十分に高い引裂強さを有するように配置されていてもよい。あるいは又は追加的に、出口フィルター36はカプセル2を出る飲料に対して十分に低い流動抵抗を形成し、出口フィルター36は、蓋貫通手段128により貫通されるのに十分な力で蓋貫通手段128に対して押しつけられず、蓋は無傷のままである。従って、出口フィルター36は、使用中のカプセル2が蓋貫通手段128により貫通されず、蓋16は無傷であるように、蓋貫通手段128に対して適合されている。より一般的には、出口フィルター36及び蓋貫通手段128は、カプセル2が使用中に蓋貫通手段128により貫通されず、蓋16は無傷であるように互いに適合されている。
図2に実施例において、そこを通して飲料、ここではコーヒー、がカプセルから排出することのできるカプセル2の出口領域を形成する出口フィルター36は多孔質のシート、例えばフィルターペーパーにより形成される。この実施例において、蓋全体16が出口フィルター36として形成されている。図2の実施例において、カプセル2は第二の端部18において外向きに延在している縁38を備え、該蓋16は該外向きに延在する縁38に例えば糊づけ、溶接などにより付着されている。従って、この実施例において、出口フィルター36即ち多孔質シートは、外向きに延在する縁38に付着されている。
この実施例において、出口フィルター36は、カプセル2の第二の開放末端18の実質的に全体に広がる実質的に連続している流体−透過性のシートを形成する。即ち、流体は広い領域にわたって、カプセル2から排出することができる。従って、抽出可能な製品20から非常に均一な飲料の流出物が得られる。即ち、抽出可能な製品20を通って流体が流れる優先的な通路の発生のリスクが大きく低下される。
一つの実施態様において、システム1のカプセル2の出口フィルター36のパラメーターは、出口フィルターが裂けたり又は破れたりせず、例えば貫通されたり引裂かれたりしないよう十分に高い引裂強度を有し及び/又は十分に低い流動抵抗を形成するように選択されることができる。蓋及び/又は出口フィルター36は破れたり、裂けたりしないが、蓋貫通手段に相対的に変形し得ることが理解されるであろう。出口フィルター36が例えば濾すための紙で作られているとき、該濾すための紙のパラメーター、例えば密度、厚さ及び/又はPE-含有量、は、十分に高い引裂強度を有する及び/又は十分に低い流動抵抗を形成する出口フィルター36を与えるように容易に選択されることができる。あるいは、出口フィルター36が、複数の出口の開口部を備えられたポリマー状のフィルムにより例えば形成されているとき、該ポリマー状の箔のパラメーター、例えば密度、厚さ、出口の開口部の数、出口の開口部のサイズ及び/又は形状は、十分に高い引裂強度を有する及び/又は十分に低い流動抵抗を形成する第三の壁を与えるように容易に選択されることができる。
図2の実施例において、蓋貫通手段128は、蓋を貫通することを意図された鋭い歯をつけられた点を有することが示されている。あるいは、蓋貫通手段128は、例えば図2において破線で示されているように鈍い貫通するための表面を有していてもよい。それにもかかわらず、そのような実施態様では、先行技術のカプセル102は、例えば蓋116がアルミニウム箔のシートからなるときは、鈍い貫通手段128により貫通される。本発明の実施態様に従うシステム1のカプセル2の出口フィルター36のパラメーターは、貫通されたり又は引裂かれたりしないように、十分に高い引裂強度を有する及び/又は、十分に低い流動抵抗を形成するように選択されることができる。蓋貫通手段が鈍いときは、出口フィルターのパラメーターはこれらの鈍い貫通手段に合わせるように選択され得ることが理解される。貫通手段が鈍いとき、出口フィルターは、例えば蓋貫通手段が鋭いときより、例えばより薄くてもよいが、出口フィルターが貫通されない又は引裂かれないように、十分に高い引裂強度を有する及び/又は十分に低い流動抵抗を形成することを保証する。
蓋貫通手段は、使用中に蓋が当接するリッジを備える。そのようなリッジは、図2において破線で示されたように、鈍い貫通手段128により形成され得る。リッジは、第二の開放端部18の上に重なっている蓋16の表面の領域の部分と使用中は一致している収容器106の表面の部分の例えば少なくとも10%、おそらく少なくとも25%を形成していてもよい。従って、使用中、蓋16は、第二の開放端部18の上に重なっている蓋16の表面積の部分の、例えば少なくとも10%、好ましくは少なくとも25%にわたって、リッジにより支えられていてもよい。既に示されたように、先行技術のカプセル102の蓋116は、そのようなリッジによって貫通されていてもよいが、本発明に従うシステム1のカプセル2の出口フィルター36のパラメーターは、出口フィルター36が、貫通されない又は引裂かれないように、十分に高い引裂強度を有する及び/又は、十分に低い流動抵抗を形成するように容易に選択され得る。蓋貫通手段がリッジを備えるとき、出口フィルターのパラメーターは、そのような蓋貫通手段に適合するように選択され得ることが理解される。
図2の実施例において、リッジは、鋭くはない端部を備える。この実施例において、端部の曲率半径は、約50μmであるが、他の半径、例えば100、200、又は500μmが想定され得る。それにもかかわらず、先行技術のカプセル102は、蓋116がアルミニウムの箔からなるときは、鈍い貫通手段128により貫通されてもよい。蓋貫通手段が鋭利ではない端部を備えるときは、出口フィルター36のパラメーターはそのような貫通手段に適合するように選択されることが理解されるであろう。本発明の一つの実施態様に従うシステム1のカプセル2の出口フィルター36のパラメーターは、貫通されない又は引裂かれないように、十分に高い引裂強度を有する及び/又は、十分に低い流動抵抗を形成するように選択されることができる。
蓋貫通手段128のリッジは、蓋16が当接する凸型の頂部を有することもまた可能である。従って、使用中に蓋16がリッジに押しつけられているとき、リッジにより支えられている蓋の上の表面積が増加し、即ち、リッジにより蓋の上にかけられる局所圧力を減少させる。即ち、使用中に、蓋12が引裂かれない及び/又は破れないで、無傷のままでいることを容易な態様で与えることが可能である。
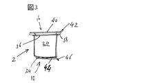
カプセル2が収容器106に配置される前、カプセル2は封印されていてもよく、抽出可能な製品20は飲料を作るまで元のままであり得る。カプセル2が収容器106に置かれる前は、カプセル2は封印されていてもよく、その結果、抽出可能な製品20は飲料の調製まで元のままであり得る。図3に示されるように、カプセル2は、作られた飲料を排出するための出口領域を通る開口部30を与えるように配置された出口開口要素を備え得る。開ける前に、開口要素は出口領域を閉じている。該開口要素はシール40を備え得る。シール40を外すことにより、フィルター36の開口部30は露出され、飲料は底を通って排出し得る。シール40は、カプセル2を収容器106に入れる前に手で外され得る。シール40は、シール40を外すために指の間に挟むためのリップ42を備えられていてもよい。シール40は、出口フィルター36及び/又は縁38とは別の独立した部品、即ち出口フィルター36及び/又は縁38から独立して形成された部品を形成し得る。シール40は、キャップ、箔又はシート等を備え得、そして例えば紙、プラスチック及び/又は金属箔から作られ得る。シール40は、任意の適切な方法、例えば溶接又は糊づけなどによりカプセル2に、特にリム38に付着され得る。
示されるように、入口領域開口要素は、もし開けられていなければ閉じられている入口領域を通ってカプセル2に流体を供給するために入口領域を通る開口部を与えるために備えられていてもよい。該入口領域開口要素は、第二のシール44を備えられていてもよい。第二のシール44を外すことにより、例えば第二のリップ46によりそれを引っ張ることにより、入口フィルター34の入口開口部24は露出される。入口シール44は、出口シール40と同じ性質を有していてもよい。一つの実施態様において、入口及び出口シール44、40は互いに接続されていても、及び/又は一緒に一つのシールを形成していてもよい。
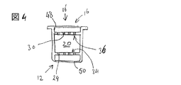
別の実施態様において、カプセル1は、該出口領域及び/又は入口領域それぞれを通る開口部を与えるために手で押されなければならない又は引裂かれなければならない出口領域開口要素及び/又は入口領域開口要素を有し得る(図4を参照のこと)。そのような開口要素は、シート48、50をそれぞれ備え得る。例えば、それぞれのシート48、50を押す又は局所的に引裂くことにより、それぞれの開口部30、24は露出され、流体及び飲料はカプセル2に流れこみ得、流れ出し得る。例えば、出口フィルター36及び/又は入口フィルター34は、引裂かれないために、及び/又はそれぞれの開口要素と一緒に押しぬかれないために相対的に強い材料及び/又は厚い材料から作られ得る。例えば、出口フィルター36及び/又は入口フィルター34は、金属及び/又は強化された紙及び/又はプラスチックを備え得る。フィルター34、36は、例えばそれぞれシート50、48より相対的に厚くてもよい。
別の実施態様において、開口要素は包装体52(図5)を備えていてもよい。包装体52は、底12、外周壁10及び蓋16を取り囲み、かつ封止する、周囲の箔、シール、紙などにより形成されていてもよい。該包装体52は、抽出可能な製品20が元のままであるように、フィルター3436を封止し得る。使用前に、包装体52は、抽出可能な製品20を抽出するために外されなければならない。縁38はカプセル2の外周壁10及び/又は蓋16に結合されていてもよい。別の、再使用可能な縁38が独立して備えられていてもよく、ここで、該独立した縁は使用前は使い捨て可能なカプセル52に接続されており、使用後、それが再使用され得るように外されてもよい。別の実施態様においては、全てのカプセル2は縁38を備えられていてもよく、ここで縁38を含むカプセル2の全体が使い捨て可能である。
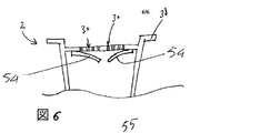
一つの実施態様において、好ましくは少なくとも部分的にカプセルに接続されている間に、出口及び/又は入口領域それぞれを通る開口部30,24を与えるために、開口要素は、出口領域及び/又は入口領域に相対的に少なくとも部分的に動かされるように配置されている。図6において、出口領域のための開口要素が示されている。同様に、開口要素は入口領域のためにも用意され得る。例えば、カプセル2は、熱の手段により作動される開口要素を備えていてもよい。加熱された水が該開口要素と接触するとき、該開口要素は少なくとも部分的に動いて、それぞれの出口又は入口開口部30,24を暴露する。例えば、該開口要素は、熱の影響下で、即ちその温度がある閾温度より上に上昇したとき、変形するように配置された形状記憶合金及び/又はバイメタルの細片54を備え得る。
さらなる実施態様において、該開口要素は、流体及び/又は特定の量の湿気と反応する物質を含む要素を例えば備え得る。例えば、該要素がある量の流体と接触したとき、該物質は相対的に弱くなり、従って変形し、その結果、出口及び/又は入口領域が開けられ、又は該要素が供給された流体の影響下で弱くなり、その後それが圧力をかけられた流体の圧力により及び/又は抽出可能な製品20の動きにより動かされ得る又は変形され得る。
別の実施態様において、該開口要素は、局所的に乾燥された及び/又は圧力をかけられた抽出可能な製品20、例えば粒子を含み得る。局所的に乾燥された及び/又は圧力をかけられた抽出可能な製品20は、内部空間における抽出可能な製品20の残りが実質的に元のままであるように、出口及び/又は入口開口部24、30を塞ぎ得る。局所的に乾燥された及び/又は圧力をかけられた物質は、弱くなり得るか又は流体の影響下でバラバラになり得、該流体は開口部24、30を通って流れ得、抽出可能な製品20から風味を抽出する。
さらなる実施態様において、該開口要素及び該器具は、出口及び/又は入口領域を通る開口部を与えるために開口要素を器具が動かすように配置されている。該器具の動く部分は、例えば底貫通手段122及び/又は容器106又はさもなければ器具104のカプセル2の当接する部分であってもよい。
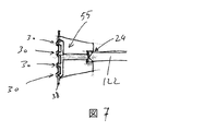
一つの実施態様において、該開口要素は、入口及び/又は出口領域を開けるための開口要素を備える。該開口要素は1の一体的な部品を備えていてもよい。また、複数の開口要素が例えば少なくとも1が入口領域に、そして少なくとも1が出口領域に用意され得、該複数の開口要素は接続されていてもよい。該開口要素は、底貫通手段122により作動され得る。例えば、使用の間に、底貫通手段122が入口領域から離れるように及び/又は出口領域の方へと該開口要素を押してもよい(図7)。該開口要素を入口領域から離れるように押すことにより、少なくとも1の開口部24が入口領域に用意され得る。例えば、該開口要素は、底から外されてもよく、又はその嵌合から押し出されてもよい。さらなる実施態様において、出口領域もまた同じ押す動作により開けられる。図7において示されるように、該開口要素55は出口領域を該押す動作により貫通し得、その結果、1以上の出口開口部30が用意され得る。別の実施態様において、カプセル2が収容器106に入れられる前に、類似の開口要素が手で押され得、又はさもなければ手で作動されてもよい。
別の実施態様において(図示されていない)カプセル2は一体的な開口要素を備えられている。システム1は、カプセル2を収容器106に入れた後、該収容器106が出口装置109の方へ動かされ、その結果、縁38が、収容器106と出口装置109の間に固定され得るように配置され得る。収容器106をカプセル2で出口装置109の方向に動かすことにより、該器具はカプセル2の局所的な部分を変形させ得、該変形は出口領域及び/又は入口領域を通る、カプセル2の局所的な引裂け及び/又は破損を起こし得る。ここで、該開口要素は、カプセル2において、例えば蓋及び/又は底において及び/又はその近傍において、一体的に形成されていてもよい。例えば、該開口要素は、収容器106及び出口装置109が縁を押す間に、互いに動いている間に、応力下に置かれた1以上の突出部を備え得る。縁38は、縁38を押す又は縁38を固定することにより、該突出部は応力下に置かれ、蓋及び/又は底は例えば突出部の近傍又は突出部における切り込みにおいて局所的に破損するように配置されていてもよい。
さらなる実施態様において、カバー60,62がそれぞれ出口領域及び/又は入口領域を封止するために配置され得る(図8)。例えば、複数のカバーがそれぞれが、出口開口部30及び入口開口部24を覆ってもよい。流体をカプセル2に供給するとき、それが収容器106に入れられるときに、カバーは水圧によりそれぞれの開口部30,24から外され得る。従って、入口及び出口領域は開けられ、流体及び飲料が開口部30、24を通って流れ得る。
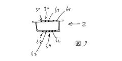
再び、さらなる実施態様において、該開口要素は、例えば流体及び/又は加圧された流体に少なくとも部分的に可溶性であり得る。図9において、各開口部24、30を塞ぐように配置された溶ける開口要素62,64が示されている。流体がカプセル2に供給されたとき、可溶性の開口要素62,64は溶解して、流体及び/又は飲料の通過を許す。可溶性の開口要素62,64は開口部24,30において及び/又は開口部24、30の中に配置され、好ましくは開口部24、30を封止する。
一つの実施態様において、出口領域を通る開口部を与えるための開口要素を有することに加えて、カプセル102はそれが底貫通手段126により及び/又は蓋貫通手段128により貫通されるように配置され得る。例えば該開口要素は、該出口領域を通る開口部を与えるように配置されていてもよく、底12は該底貫通手段126により貫通されるように配置されている。
上記の記載において、封止すること又は「閉じること」は、開口部を実質的に気密性に封止すること又は抽出可能な製品20であるように少なくともカプセル2を封止することと理解され得る。
上記において、抽出可能な製品20は、抽出可能なコーヒー又は茶製品、例えば煎られかつ挽かれた及び/又は切断されたコーヒー豆、乾燥及び/又は切断された茶葉を包含し得る。該抽出可能な製品20は、チョコ−レート抽出物、ミルク粉末、又は任意の他の適切な抽出可能な製品20を包含し得る。抽出可能な製品20は、さらに上記の製品の任意の混合物及び/又は互いの上に及び/又は互いの間に層で置かれた上記の製品の任意のものをさらに含むことができる。また、流体に風味を追加するための化学製品もまた抽出可能な製品20に含まれ得る。該抽出可能な製品20は、カプセル2に嵌合するように圧縮されてもよい。飲料を得るために抽出可能な製品20に添加される流体は、熱湯又は冷水、ミルクを例えば包含し得る。得られた飲料は中でもコーヒー飲料、茶飲料、チョコレート飲料又は他の飲料を包含し得る。
カプセル2の物質は、セルロース、紙、綿、及び/又は澱粉をベースとする製品を包含し得る。例えばカプセル4の物質は、生分解性の物質を包含し得る。別の実施態様において、カプセル4の物質は、プラスチックを含み得る。底12及び蓋14は入口及び出口フィルター34、36をそれぞれ備え得る。カプセル4は、例えば射出成型、真空成型、熱成形、圧縮成形等により成形され得る。上の記載において、一体的に成形された、はカプセル2のそれぞれの部品が、一つの工程で、ほぼ同時に成形されることを含むと理解され得る。例えばそれぞれの部品は同じ型で成型され得る。別の実施態様において、種々部品が熱封止、糊づけ又は溶接され得、カプセル2を形成し得る。
フィルター34、36の少なくとも1は、多孔質の流体透過性のシートを備え得る。フィルター34、36の少なくとも1はフィルターペーパー及び/又はポリエチレン(PE)繊維を含み得る。実質的に底12及び/又は蓋14の全体の表面、少なくとも、外周壁10の内部において延在する部分は、流体透過性であってもよい。特定の圧力、例えば少なくとも6バールの圧力、の下で水が供給されるとき、フィルター34、36もまた透過性にされ得る。例えば、より低い圧力において、流体は34、36を通って流れない。フィルター34、36の少なくとも1は柔軟性であってもよい。フィルター34、36はポリマー箔を備え得る。
本発明は如何なる方法においても詳細な説明及び図面において示された実施態様に制限されないことは明らかである。たくさんの変形及び組み合わせが特許請求の範囲により概略を示される本発明の枠組み内で可能である。複数の実施態様の1以上の特徴の組み合わせ又は異なる実施態様の組み合わせが本発明の枠組み内で可能である。すべての比較可能な変形は、特許請求の範囲により概略が示された本発明の枠組み内に該当すると理解されたい。
2:カプセル
12:底
16:蓋
24:入口開口部
38:縁
40:シール
42:リップ
44:シール
46:リップ

Claims (25)

  1. 抽出可能な製品を使用して、摂取に適する所定量の飲料を作るためのシステムにおいて、該システムは、
    交換可能なカプセルと、
    ある量の流体、例えば水、を該交換可能なカプセルに供給するための流体供給デバイスと、該交換可能なカプセルを保持するための収容器と、飲料を容器例えばカップに供給するための出口装置と、を備える器具と
    を備え、
    該カプセルは、外周壁と、底と、蓋と、入口領域と、閉じられている出口領域とを備え、
    該外周壁、該底及び該蓋は、抽出可能な製品を容れる内部空間を取り囲み、
    該システムは、該抽出可能な製品に流体を供給して飲料を作るために、該流体供給デバイスを該入口領域と流体連絡させるように配置されており、
    該システムは、作られた飲料をカプセルから排出するために、使用中に該出口装置が該出口領域と流体連絡するようにさらに配置されており、
    該カプセルは、作られた飲料をカプセルから排出するために、該閉じられている出口領域を通る開口部を与えるように配置されている開口要素をさらに備えている、
    上記システム。
  2. 該出口領域が、該カプセルの蓋に備えられている、請求項1に記載のシステム。
  3. 該入口領域が、該カプセルの底に備えられている、請求項1又は2に記載のシステム。
  4. 該出口領域が、出口フィルターを備える、請求項1〜3のいずれか1項に記載のシステム。
  5. 該開口要素が、出口フィルター及び/又は縁から独立して形成されている別の部品を形成する、請求項1〜4のいずれか1項に記載のシステム。
  6. 該開口要素が、出口フィルター及び/又は蓋と一体化されている、請求項1〜5のいずれか1項に記載のシステム。
  7. 該入口領域が、入口フィルターを備える、請求項1〜6のいずれか1項に記載のシステム。
  8. 該開口要素が、カプセルに接続されたままで、該出口領域を通る開口部を与えるように、該出口領域に対して相対的に少なくとも部分的に動かされるように配置されている、請求項1〜7のいずれか1項に記載のシステム。
  9. 該開口要素と該器具とが、該出口領域を通る開口部を与えるように、該器具が該開口要素を動かすように配置されている、請求項1〜8のいずれか1項に記載のシステム。
  10. 該流体を抽出可能な製品に供給して飲料を作るために、代替のカプセルの底に開口部を与えるように、該代替のカプセルの底を貫通するための底貫通手段を該器具が備える、請求項1〜9のいずれか1項に記載のシステム。
  11. 該システムが、該底貫通手段により開口要素を動かすように配置されている、請求項10に記載のシステム。
  12. 該システムが、該出口装置に対して相対的な該収容器の動きにより、該開口要素を動かすように配置されている、請求項8〜11のいずれか1項に記載のシステム。
  13. 出口領域を通る開口部を与えるために該開口要素が少なくとも部分的に変形されるように配置されている、請求項1〜12のいずれか1項に記載のシステム。
  14. 該開口要素が、該出口領域を通る開口部を与えるために該流体供給デバイスからの流体により少なくとも部分的に溶解される及び/又は分解されるように配置されている、請求項1〜13のいずれか1項に記載のシステム。
  15. 該開口要素が、熱及び/又は流体により作動されるように配置されている、請求項1〜14のいずれか1項に記載のシステム。
  16. 該開口要素が、流体をカプセルに供給するために該入口領域を通る開口部を与えるように配置されている、請求項1〜15のいずれか1項に記載のシステム。
  17. 該開口要素が、第一の及び第二の開口要素を備え、該第一の開口要素は、作られた飲料をカプセルから排出するために出口領域を通る開口部を与えるように配置されており、該第二の開口要素は、カプセルに流体を供給するために入口領域を通る開口部を与えるように配置されている、請求項1〜16のいずれか1項に記載のシステム。
  18. 該カプセルが、外周壁の端からカプセルの外側に向かって突出している実質的に堅い縁を備える、請求項1〜17のいずれか1項に記載のシステム。
  19. 使用中に該収容器に対して相対的な外周壁の変形が妨げられるように、外周壁が実質的に堅い、請求項1〜18のいずれか1項に記載のシステム。
  20. 該収容器が、代替のカプセルの底に少なくとも1の入口の開口部を作り、該少なくとも1の入口の開口部を通して抽出可能な製品に流体を供給するために、該代替のカプセルの底を貫通することを意図された底貫通手段を備え、かつ
    該システムのカプセルの底は、使用中に該底貫通手段から離れて位置づけられて、該底は該底貫通手段により貫通されずに無傷のままである、
    請求項1〜19のいずれか1項に記載のシステム。
  21. 該収容器は、該出口領域が、該代替のカプセル中の流体及び/又は飲料の圧力の影響下で蓋貫通手段に対して十分に押しつけられてたとき、飲料を該代替のカプセルからそこを通って排出することができるところの少なくとも1の出口開口部を作るために、該代替のカプセルの出口領域を貫通することを意図された蓋貫通手段を備え、かつ
    該蓋貫通手段及び該システムの該カプセルは、使用中に該蓋が該蓋貫通手段により貫通されずに無傷のままであるように、互いに適合されている、
    請求項1〜20のいずれか1項に記載のシステム。
  22. 流体供給デバイスが、約4〜20バール、好ましくは5〜18バール、より好ましくは6〜15バールの圧力下で、該交換可能なカプセルに流体を供給するように配置されている、請求項18〜20のいずれか1項に記載のシステム。
  23. 請求項1〜22のいずれか1項に記載のシステムのカプセル。
  24. 請求項1〜22のいずれか1項に記載のシステムのカプセルを使用する方法。
  25. 抽出可能な製品を使用して、摂取に適する所定量の飲料を作るための方法において、該方法は、
    外周壁と、底と、蓋と、入口領域と、閉じられた出口領域と、を備える交換可能なカプセル、ここで、該外周壁、該底及び該蓋は、抽出可能な製品を備えられた内部空間を取り囲んでいる、と
    該交換可能なカプセルを保持するための収容器と、ある量の流体、例えば水、を該交換可能なカプセルに供給するための流体供給デバイスと、作られた飲料をカプセルから排出して、飲料を容器例えばカップに供給するために、使用中に該カプセルと流体連絡する出口装置と、を備える器具と
    を用意し、
    該器具は、抽出可能な製品に流体を供給して飲料を作るために、該流体供給デバイスを該カプセルの該入口領域と流体連絡させるように配置されており
    該カプセルは、作られた飲料をカプセルから排出するために、該出口領域を通る開口部を与えるように配置されている開口要素を備え、
    該出口領域は閉じられており、
    該開口要素は、該出口開口部を通して開口部が作られるように作動され、
    流体及び/又は飲料がカプセルから、該出口領域を通って出口装置に排出される、
    上記方法。
JP2015021108A 2009-06-17 2015-02-05 所定量の飲料を作るためのシステム及び方法 Pending JP2015110012A (ja)

Applications Claiming Priority (8)

Application Number Priority Date Filing Date Title
EP09162998 2009-06-17
EP09162995 2009-06-17
EP09162995.6 2009-06-17
EP09162982 2009-06-17
EP09162982.4 2009-06-17
EP09162998.0 2009-06-17
EP09162934 2009-06-17
EP09162934.5 2009-06-17

Related Parent Applications (1)

Application Number Title Priority Date Filing Date
JP2012516015A Division JP5766692B2 (ja) 2009-06-17 2009-12-30 所定量の飲料を作るためのシステム及び方法

Related Child Applications (1)

Application Number Title Priority Date Filing Date
JP2017000522A Division JP6554122B2 (ja) 2009-06-17 2017-01-05 所定量の飲料を作るためのシステム及び方法

Publications (1)

Publication Number Publication Date
JP2015110012A true JP2015110012A (ja) 2015-06-18

Family

ID=41606619

Family Applications (9)

Application Number Title Priority Date Filing Date
JP2012516005A Pending JP2012530656A (ja) 2009-06-17 2009-12-30 所定量の飲料を作るためのシステム、方法及びカプセル
JP2012516004A Expired - Fee Related JP5719356B2 (ja) 2009-06-17 2009-12-30 所定量の飲料を作るためのシステム、カプセル及び方法
JP2012516015A Active JP5766692B2 (ja) 2009-06-17 2009-12-30 所定量の飲料を作るためのシステム及び方法
JP2012516006A Expired - Fee Related JP5646616B2 (ja) 2009-06-17 2009-12-30 所定量の飲料を作るためのシステム、方法及びカプセル
JP2014212378A Active JP6078035B2 (ja) 2009-06-17 2014-10-17 所定量の飲料を作るためのシステム、カプセル及び方法
JP2014233023A Expired - Fee Related JP5952376B2 (ja) 2009-06-17 2014-11-17 所定量の飲料を作るためのシステム、方法及びカプセル
JP2015021108A Pending JP2015110012A (ja) 2009-06-17 2015-02-05 所定量の飲料を作るためのシステム及び方法
JP2016134153A Pending JP2016214895A (ja) 2009-06-17 2016-07-06 所定量の飲料を作るためのシステム、カプセル及び方法
JP2017000522A Active JP6554122B2 (ja) 2009-06-17 2017-01-05 所定量の飲料を作るためのシステム及び方法

Family Applications Before (6)

Application Number Title Priority Date Filing Date
JP2012516005A Pending JP2012530656A (ja) 2009-06-17 2009-12-30 所定量の飲料を作るためのシステム、方法及びカプセル
JP2012516004A Expired - Fee Related JP5719356B2 (ja) 2009-06-17 2009-12-30 所定量の飲料を作るためのシステム、カプセル及び方法
JP2012516015A Active JP5766692B2 (ja) 2009-06-17 2009-12-30 所定量の飲料を作るためのシステム及び方法
JP2012516006A Expired - Fee Related JP5646616B2 (ja) 2009-06-17 2009-12-30 所定量の飲料を作るためのシステム、方法及びカプセル
JP2014212378A Active JP6078035B2 (ja) 2009-06-17 2014-10-17 所定量の飲料を作るためのシステム、カプセル及び方法
JP2014233023A Expired - Fee Related JP5952376B2 (ja) 2009-06-17 2014-11-17 所定量の飲料を作るためのシステム、方法及びカプセル

Family Applications After (2)

Application Number Title Priority Date Filing Date
JP2016134153A Pending JP2016214895A (ja) 2009-06-17 2016-07-06 所定量の飲料を作るためのシステム、カプセル及び方法
JP2017000522A Active JP6554122B2 (ja) 2009-06-17 2017-01-05 所定量の飲料を作るためのシステム及び方法

Country Status (17)

Country Link
US (8) US8846120B2 (ja)
EP (9) EP3181485A1 (ja)
JP (9) JP2012530656A (ja)
KR (1) KR101497773B1 (ja)
CN (7) CN105877498A (ja)
AU (5) AU2009347071B2 (ja)
BR (3) BRPI0925331A2 (ja)
CA (5) CA2765383A1 (ja)
DK (5) DK2367740T3 (ja)
ES (6) ES2483147T3 (ja)
IL (2) IL217027A0 (ja)
MX (1) MX339511B (ja)
PL (6) PL2634114T3 (ja)
PT (2) PT2367736E (ja)
RU (8) RU2705269C2 (ja)
SG (2) SG10201408749RA (ja)
WO (4) WO2010137959A1 (ja)

Families Citing this family (99)

* Cited by examiner, † Cited by third party
Publication number Priority date Publication date Assignee Title
US12342955B2 (en) 2020-10-30 2025-07-01 Adrian Rivera Maynez Enterprises, Inc. Brewing material container for a beverage brewer
US12396588B2 (en) 2007-07-13 2025-08-26 Adrian Rivera Maynez Enterprises, Inc. Brewing material container for a beverage brewer
US11337543B2 (en) 2007-07-13 2022-05-24 Adrian Rivera Brewing material holder
US11832755B2 (en) * 2007-07-13 2023-12-05 Adrian Rivera Brewing material container for a beverage brewer
US10722066B2 (en) * 2010-12-04 2020-07-28 Adrian Rivera Windowed single serving brewing material holder
US20110045144A1 (en) * 2008-04-30 2011-02-24 Nestec S.A. Sealed capsule for containing beverage ingredients and having an inlet-side membrane
CA2765383A1 (en) 2009-06-17 2010-12-02 Sara Lee/De B.V. System and method for preparing a predetermined quantity of beverage
GB0910956D0 (en) 2009-06-25 2009-08-05 Brilliant Idea Ltd Water management system
ATE526255T1 (de) 2009-08-05 2011-10-15 Nestec Sa Kapsel mit reliefförmigem dichtungselement
MA34262B1 (fr) * 2010-05-31 2013-05-02 Haremlik Gida Dekorasyon Ve Ekipmanlari Ticaret Sanayi Ltd Sirketi Capsule pour le versement d'une poudre dans un dispositif
JP2013533011A (ja) * 2010-06-18 2013-08-22 ビセルコン ホールディングス リミテッド 抽出により飲料を調製するためのカプセル、装置および方法
US10071851B2 (en) 2010-07-12 2018-09-11 Robert Bao Vu Apparatus and products for producing beverages, and methods for making and using same
PT3023362T (pt) 2010-07-22 2018-04-04 K Fee System Gmbh Cápsula de dose individual com identificador
IT1403541B1 (it) * 2011-01-31 2013-10-31 Sarong Spa Macchina erogatrice per bevande
JP5745285B2 (ja) * 2011-02-14 2015-07-08 日本クロージャー株式会社 蓋本体とカートリッジとの組み合わせ
ES2653157T3 (es) * 2011-03-03 2018-02-06 Biserkon Holdings Ltd. Cápsula para preparar una bebida por extracción
ES2573128T3 (es) * 2011-03-03 2016-06-06 Biserkon Holdings Ltd. Cápsula
GB2488799A (en) 2011-03-08 2012-09-12 Kraft Foods R & D Inc Drinks Pod without Piercing of Outer Shell
GB2489409B (en) * 2011-03-23 2013-05-15 Kraft Foods R & D Inc A capsule and a system for, and a method of, preparing a beverage
PT105599B (pt) * 2011-03-30 2020-03-30 Novadelta Comercio E Ind De Cafes Lda Cápsula incluindo elemento de actuação, método e dispositivo de processamento desta cápsula
PT105598B (pt) 2011-03-30 2020-01-17 Novadelta Comercio E Ind De Cafes Lda Cápsula de abertura controlada, processo e dispositivo de operação desta cápsula
PT105597B (pt) * 2011-03-30 2020-04-20 Novadelta Comercio E Ind De Cafes Lda Cápsula e dispositivo para processamento desta cápsula
ITVI20110078A1 (it) * 2011-04-04 2012-10-05 Taplast Srl Capsula per la preparazione di bevande e metodo di preparazione di bevande che utilizza tale capsula
ITVI20110079A1 (it) * 2011-04-04 2012-10-05 Taplast Srl Capsula per la preparazione di bevande e metodo di preparazione di bevande che utilizza tale capsula
US8707855B2 (en) 2011-05-09 2014-04-29 Eko Brands, Llc Beverage Brewing Device
RU2013158295A (ru) * 2011-06-01 2015-07-20 Ален ФРИДМАН Капсула для экстрагирования напитка под давлением
US9428328B2 (en) 2011-09-01 2016-08-30 2266170 Ontario Inc. Beverage capsule
FR2985246B1 (fr) * 2011-12-28 2015-11-13 Seb Sa Ensemble pour preparer une boisson infusee comportant une dosette deployable
FR2985245B1 (fr) * 2011-12-28 2014-08-29 Seb Sa Ensemble et dosette pour la preparation de boisson infusee
JP6155325B2 (ja) * 2012-04-11 2017-06-28 コーニンクレッカ フィリップス エヌ ヴェKoninklijke Philips N.V. カプセルアダプタ及びこのカプセルアダプタを使用するシステム
ITVR20120093A1 (it) * 2012-05-15 2013-11-16 Coffee Star S A Sistema per la produzione di bevanade
DE102012105282A1 (de) 2012-06-18 2013-12-19 K-Fee System Gmbh Portionskapsel und Verfahren zur Herstellung eines Getränks mit einer Portionskapsel
JP2015530882A (ja) * 2012-06-22 2015-10-29 タッチ コーヒー & ビバレッジズ, エルエルシー. 飲料煎出システム
WO2014037341A1 (en) * 2012-09-05 2014-03-13 Nestec S.A. A beverage capsule with safety feature
USD708057S1 (en) 2012-09-10 2014-07-01 Kraft Foods R & D, Inc. Beverage cartridge
USD697797S1 (en) 2012-09-12 2014-01-21 Kraft Foods R&D, Inc. Beverage cartridge
KR20150066559A (ko) * 2012-10-05 2015-06-16 네스텍 소시에테아노님 개방 시스템을 가진 음료 캡슐
CA2833096C (en) 2012-11-12 2016-05-31 2266170 Ontario Inc. Beverage capsule and process and system for making same
DE102012223291A1 (de) 2012-12-14 2014-06-18 K-Fee System Gmbh Portionskapsel und Verfahren zur Herstellung eines Getränks mit einer Portionskapsel
CA2902412A1 (en) * 2013-02-26 2014-09-04 K-Fee System Gmbh Portion capsule including a particulate beverage or foodstuff base having a carrier substance and a soluble component and method for producing a beverage by means of the portion capsule
US9783361B2 (en) 2013-03-14 2017-10-10 Starbucks Corporation Stretchable beverage cartridges and methods
CA2905217C (en) 2013-04-03 2016-11-08 2266170 Ontario Inc. Capsule machine and components
CA2912723C (en) 2013-05-23 2017-02-07 2266170 Ontario Inc. Capsule housing
WO2014202105A1 (de) 2013-06-17 2014-12-24 Delica Ag Kapsel mit einem kapselkörper und verfahren zu dessen herstellung
KR20160030114A (ko) * 2013-07-10 2016-03-16 네스텍 소시에테아노님 음료 제조를 위한 캡슐
ITBO20130425A1 (it) * 2013-08-01 2013-10-31 Esposti Gabriele Degli Capsula biodegradabile autoerogante
CA2922824C (en) 2013-08-20 2021-05-18 2266170 Ontario Inc. A capsule containing a dosing agent and system and process for making same
GB201318315D0 (en) * 2013-10-16 2013-11-27 Sab Miller Plc Dispensing apparatus
ITBO20130570A1 (it) * 2013-10-17 2015-04-18 Aroma System Srl Metodo per la produzione di bevenade per mezzo di capsule
US10314319B2 (en) * 2013-11-20 2019-06-11 2266170 Ontario Inc. Method and apparatus for accelerated or controlled degassing of roasted coffee
US10442610B2 (en) 2014-03-11 2019-10-15 Starbucks Corporation Pod-based restrictors and methods
CA2943295C (en) 2014-03-21 2022-06-28 2266170 Ontario Inc. Capsule with steeping chamber
CN104071467A (zh) * 2014-06-26 2014-10-01 浙江爱仕达生活电器有限公司 一种结构改进的饮料胶囊及其使用方法
USD757536S1 (en) 2014-10-01 2016-05-31 Kraft Foods Group Brands Llc Container
WO2016083860A1 (en) * 2014-11-27 2016-06-02 Compagnie Gervais Danone Container for food product having a manually operable actuating member
ES2538740B1 (es) * 2014-12-26 2016-05-13 Fast Eurocafe, S.A. Cápsulas y sistema para la preparación de bebidas con medios de apertura activables
NL2014628B1 (nl) * 2015-01-08 2017-12-22 Stas I P B V Houder met daarin een te extraheren product, alsmede werkwijze voor het vervaardigen van de houder.
US9877495B2 (en) 2015-01-09 2018-01-30 Starbucks Corporation Method of making a sweetened soluble beverage product
SG11201705884YA (en) 2015-02-27 2017-09-28 K Fee System Gmbh Single serve capsule comprising a filter element connected thereto by sealing
CN106136906B (zh) * 2015-04-23 2021-06-18 广东美的生活电器制造有限公司 胶囊
MX2017015767A (es) 2015-06-10 2018-04-30 K Fee System Gmbh Capsula monodosis con material no tejido de tres capas.
US10737876B2 (en) 2015-07-13 2020-08-11 K-Fee System Gmbh Filter element having a cut-out
TWD176163S (zh) * 2015-07-24 2016-06-01 浩瀚國際有限公司 節水頭之部分
WO2017029669A1 (en) * 2015-08-17 2017-02-23 Capsulbar Technologies Sys 2014 Ltd Baby formula sterile capsules with an integral opening mechanism and methods of use
DE102015115249A1 (de) * 2015-09-10 2017-03-16 Pester Pac Automation Gmbh Verpackung
CA2998669C (en) 2015-09-18 2020-01-07 K-Fee System Gmbh Adapter for a single serve capsule
ITUB20155198A1 (it) * 2015-10-22 2017-04-22 Sarong Spa Capsula per bevande
ITUB20155389A1 (it) * 2015-11-09 2017-05-09 Sarong Spa Capsula per bevande
RU2018127746A (ru) 2015-12-31 2020-02-03 Туттоэспрессо С.Р.Л. Капсула в сборе, содержащая капсулу и колпачок для подачи напитка, выполненный с возможностью открывания указанной капсулы
AU2017217766A1 (en) * 2016-02-09 2018-06-28 Société des Produits Nestlé S.A. A beverage capsule
CN111166174B (zh) 2016-03-01 2022-12-16 贝塔什股份有限公司 饮料机和与饮料机一起使用的胶囊
CN107259919A (zh) * 2016-04-06 2017-10-20 宫凤启 一种密封茶包
CH712695A1 (de) * 2016-07-07 2018-01-15 Mühlemann Ip Gmbh Einportionenpackung zur Herstellung eines Getränks aus einem Getränkekonzentrat.
US9764891B1 (en) * 2016-09-06 2017-09-19 FusionLink, LLC Multi-chamber beverage cartridge
IT201600094824A1 (it) * 2016-09-21 2018-03-21 Imper Spa Capsula monouso per macchine di erogazione di bevande in forma di infuso
EP3536636B1 (en) * 2016-11-07 2020-03-25 Patiño Patiño, Segundo Capsule, system and method for preparing a drink
US11401661B2 (en) * 2017-11-14 2022-08-02 J & J Green Paper, Inc. Recyclable composition for waterproofing paper utilizing a plant derived wax, pellets of the composition, recyclable waterproof paper laminate including the composition, recyclable hot beverage cup including the laminate, pod for making hot beverages including the laminate, and drinking straw including the laminate
US11786069B2 (en) 2017-12-07 2023-10-17 Koninklijke Douwe Egberts B.V. Beverage fluid dispensing head and system
CH714474A1 (de) * 2017-12-20 2019-06-28 Muehlemann Ip Gmbh Kapsel mit integrierter Abgabeeinrichtung.
GB2572030A (en) * 2018-01-26 2019-09-18 Ne Innovations Ltd System for filtering liquid
WO2019175227A1 (en) 2018-03-14 2019-09-19 Societe Des Produits Nestle S.A. Beverage machine with a non-homogeneous ingredient extraction configuration
BR112020015751A2 (pt) * 2018-03-14 2020-12-08 Société des Produits Nestlé S.A. Máquina de bebidas com abertura de escoamento controlada
BR112020015674A2 (pt) * 2018-03-14 2020-12-08 Société des Produits Nestlé S.A. Unidade de extração de bebidas com obstrutor de escoamento móvel
US11235920B2 (en) 2018-06-08 2022-02-01 Pepsico, Inc. Beverage ingredient pod
US10881582B2 (en) 2018-06-11 2021-01-05 Glaxosmithkline Consumer Healthcare Holdings (Us) Llc Individual dose pack
USD890569S1 (en) 2018-06-19 2020-07-21 Bartesian Inc. Beverage capsule receiving adaptor
AU2019309263B2 (en) 2018-07-27 2022-04-21 Gcs German Capsule Solution Gmbh Method for producing a portion capsule for preparing a beverage in a beverage production machine, portion capsule, and method for producing a beverage with a beverage production machine and a portion capsule
US20200087057A1 (en) * 2018-09-13 2020-03-19 Brett C. Richardson Biodegradable coffee filter system
US12459728B2 (en) 2018-11-22 2025-11-04 Gcs German Capsule Solution Gmbh Seal for a single serve capsule
US20220295816A1 (en) * 2019-05-20 2022-09-22 Kirk Gibson RUMMEL, III Enhanced coffee or tea
US20210127891A1 (en) * 2019-11-05 2021-05-06 Hong-Fan WEI Beverage brewing device, brewing method, tubular container, and circuit system of beverage brewing device
CA3162151A1 (en) * 2019-12-04 2021-06-10 Societe Des Produits Nestle S.A. Beverage preparation machine
US20230312229A1 (en) * 2020-09-02 2023-10-05 Societe Des Produits Nestle S.A. Biodegradable capsule with integrated opening means
US11805934B1 (en) * 2020-10-21 2023-11-07 Adrian Rivera Brewing material lid and container for a beverage brewer
WO2022192783A1 (en) * 2021-03-12 2022-09-15 Nexe Innovations Inc. Beverage pod
GB202105761D0 (en) * 2021-04-22 2021-06-09 Ne Innovations Ltd Pod for beverage preparation ingredient
KR102459347B1 (ko) * 2022-05-03 2022-10-28 주식회사 오딧세이글로벌 커피머신용 커피캡슐
CN116115068A (zh) * 2023-03-27 2023-05-16 宁波三A集团电器有限公司 一种胶囊结构
CN220832697U (zh) * 2023-09-28 2024-04-26 广东奥特体能科技有限公司 一种咖啡萃取组件

Citations (8)

* Cited by examiner, † Cited by third party
Publication number Priority date Publication date Assignee Title
JPS62213713A (ja) * 1986-03-14 1987-09-19 岡田 定夫 抽出用カ−トリツジ及びその抽出用カ−トリツジによる抽出方法
JPH0410324B2 (ja) * 1985-06-07 1992-02-25
JP2004500199A (ja) * 2000-02-18 2004-01-08 コリグ インク 飲料フィルタカートリッジ
JP2004534697A (ja) * 2001-04-06 2004-11-18 トゥットエスプレッソ ソチエタ ペル アツィオーニ 飲食物用密封容器の開封方法。
JP2005199071A (ja) * 2004-01-14 2005-07-28 Rene Schifferle コーヒー用カートリッジ
US20050172822A1 (en) * 2004-02-11 2005-08-11 I.T.A.Ca S.R.L. Cartridge for coffee and soluble products and relative method of producing a beverage and apparatus for extracting a beverage
WO2007096196A2 (en) * 2006-02-27 2007-08-30 Nestec S.A. Beverage-ingredient capsule and capsule-based beverage production method
WO2007113100A2 (en) * 2006-03-31 2007-10-11 Nestec S.A. Capsule with outer sealing material pressurized by a fluid

Family Cites Families (186)

* Cited by examiner, † Cited by third party
Publication number Priority date Publication date Assignee Title
US2292101A (en) 1941-04-22 1942-08-04 Brown William Francis Beverage cartridge
US2926088A (en) * 1955-02-08 1960-02-23 Phillip P Spiselman Method of brewing coffee
US2968560A (en) * 1959-02-06 1961-01-17 Sealpak Corp Infusion package for producing a coffee beverage
US3373043A (en) * 1966-07-29 1968-03-12 Robert L Kahn Method of packaging coffee and package
FR1534274A (fr) 1967-08-11 1968-07-26 Filtre individuel pour la conservation et la préparation de boissons
LU57420A1 (ja) * 1968-11-02 1969-03-04
CH605293A5 (ja) * 1976-12-17 1978-09-29 Nestle Sa
US4321139A (en) 1980-05-07 1982-03-23 American Home Products Corporation Filtering unit for biological fluids
JPS6347890Y2 (ja) 1981-01-13 1988-12-09
US4417504A (en) 1981-04-02 1983-11-29 Mitsumoto Coffee Co., Ltd. Regular coffee set
US4611715A (en) * 1984-10-16 1986-09-16 Sanford Redmond Dispenser package
JPH0320243Y2 (ja) * 1985-05-31 1991-05-01
CH664719A5 (fr) 1985-11-22 1988-03-31 Charmilles Technologies Organe de contact pour fil-electrode pour electroerosion.
JPS62160005A (ja) 1985-12-28 1987-07-16 Ntn Toyo Bearing Co Ltd 磁気浮上式走行装置用位置検出器
JPH0421364Y2 (ja) 1986-03-31 1992-05-15
CH668544A5 (fr) 1986-04-24 1989-01-13 Nestle Sa Dispositif d'extraction de cafe de cartouches.
JPS62188626U (ja) 1986-05-21 1987-12-01
DE3623952A1 (de) 1986-07-16 1988-01-28 Erich H Dipl Ing Woltermann Filter zum portionierten aufbruehen von kaffee oder tee
JPS6347890A (ja) 1986-08-15 1988-02-29 Fuji Electric Co Ltd トレンド表示装置
FR2617389B1 (fr) * 1987-06-30 1991-05-24 Desaltera Cartouche filtrante et machine pour la preparation d'une boisson expresse
JPH0166370U (ja) * 1987-10-21 1989-04-27
JPH0615879Y2 (ja) * 1987-12-10 1994-04-27 株式会社昭和丸筒 自加熱または自冷却式容器
US5010331A (en) 1988-03-02 1991-04-23 Dallas Semiconductor Corporation Time-key integrated circuit
JPH01150580U (ja) * 1988-04-08 1989-10-18
JPH01310612A (ja) * 1988-06-08 1989-12-14 Gurume Foods Kk コーヒーの抽出方法並びにその装置及びコーヒー缶
JPH02231043A (ja) * 1989-03-02 1990-09-13 Chuo Shikan Kogyo Kk 簡易喫食用飲食品
US5010221A (en) * 1990-06-11 1991-04-23 Gee Associates Microwaveable coffee makers
ES2043196T3 (es) * 1990-07-27 1993-12-16 Nestle Sa Procedimiento de extraccion de cartuchos cerrados y dispositivo para su puesta en practica.
DE69133562D1 (de) * 1990-10-31 2007-04-12 Monodor Sa Vorrichtung und kartusche zum bereiten eines flüssigen produkts
US5243164A (en) * 1990-12-14 1993-09-07 Gee Associates Beverage maker
TW199884B (ja) 1991-05-08 1993-02-11 Sociere Des Produits Nestle S A
US5897899A (en) 1991-05-08 1999-04-27 Nestec S.A. Cartridges containing substances for beverage preparation
US5327815A (en) 1991-07-05 1994-07-12 Nestec S.A. Device for use in beverage extraction machines
EP0521188B1 (fr) 1991-07-05 1995-11-02 Societe Des Produits Nestle S.A. Dispositif permettant l'extraction de cartouches
ES2096677T3 (es) * 1991-07-05 1997-03-16 Nestle Sa Cartucho rigido para cafe y su procedimiento de fabricacion.
ATE112227T1 (de) * 1992-01-28 1994-10-15 Nestle Sa Geschlossene kapsel zur zubereitung eines getränkes.
DE69333428T2 (de) 1992-07-20 2004-07-22 Société des Produits Nestlé S.A. Vorrichtung zur Extraktion undurchlässiger, verformbarer Portionspackungen
US5325765A (en) 1992-09-16 1994-07-05 Keurig, Inc. Beverage filter cartridge
US5840189A (en) 1992-09-16 1998-11-24 Keurig, Inc. Beverage filter cartridge
RU2086489C1 (ru) * 1994-02-14 1997-08-10 Центр комплексного развития технологии и энерготехнологических систем "Кортэс" Капсула для упаковки, аэрозольная упаковка, самоохлаждаемая упаковка (варианты), способ создания давления в аэрозольной упаковке и способ охлаждения жидкости
US5626022A (en) * 1994-05-31 1997-05-06 Insta-Heat, Inc. Container with integral module for heating or cooling the contents
US5605710A (en) * 1994-06-06 1997-02-25 Marathon Partners Single cup disposable coffee brewing device
CN1125681A (zh) * 1994-12-30 1996-07-03 张树希 一种用于包装方便面调味剂的水溶性可食材料
ES2161964T3 (es) * 1996-05-10 2001-12-16 Nestle Sa Cartucho cerrado con zonas de menor espesor.
USD408679S (en) 1998-05-14 1999-04-27 Keurig, Inc. Coffee brewer
US6079315A (en) 1999-01-19 2000-06-27 Keurig, Inc. Beverage filter cartridge holder
US6142063A (en) 1999-01-19 2000-11-07 Keurig, Inc. Automated beverage brewing system
US6082247A (en) 1999-01-19 2000-07-04 Keurig, Inc. Apparatus for consecutively dispensing an equal volume of liquid
JP4376357B2 (ja) * 1999-05-28 2009-12-02 株式会社クラレ 生分解性を有するコーヒー抽出用シート材料
JP2000355375A (ja) 1999-06-09 2000-12-26 Toyo Seikan Kaisha Ltd 飲料調製用密封容器
NL1012847C2 (nl) * 1999-08-17 2001-02-20 Sara Lee De Nv Inrichting voor het bereiden van koffie.
JP2001061663A (ja) * 1999-08-24 2001-03-13 Toyo Seikan Kaisha Ltd 飲料調製用密封容器
CA2325978A1 (en) * 1999-11-16 2001-05-16 Robert Hale Beverage filter cartridge system
US6607762B2 (en) 2000-02-18 2003-08-19 Keurig, Incorporated Disposable single serve beverage filter cartridge
US6589577B2 (en) 2000-02-18 2003-07-08 Keurig, Inc. Disposable single serve beverage filter cartridge
US6440256B1 (en) 2000-06-20 2002-08-27 Keurig, Incorporated Method of forming and inserting filter elements in cup-shaped containers
DK1190959T3 (da) 2000-09-26 2004-06-28 Nestle Sa Lukket indsats, der er beregnet til fremstilling af en drik ved udtrækning under tryk
WO2002074661A1 (en) * 2001-03-16 2002-09-26 The Procter & Gamble Company Beverage brewing devices
US6832542B2 (en) * 2001-03-23 2004-12-21 Nestec S.A. Method and device for preparing a hot beverage
DE60104811T2 (de) * 2001-03-23 2005-09-01 Société des Produits Nestlé S.A. Kapsel und Verfahren zum Zubereiten von Heissgetränken und eine solche Kapsel verwendender Apparat
ATE361690T1 (de) * 2001-03-23 2007-06-15 Tuttoespresso Spa Einheit zum zubereiten von getränken aus auflösbaren produkten
JP2002284238A (ja) * 2001-03-28 2002-10-03 Deisupenpakku Japan:Kk 包装体
ES2232538T3 (es) * 2001-04-03 2005-06-01 Societe Des Produits Nestle S.A. Capsula cerrada para la preparacion de bebidas.
US6606938B2 (en) 2001-04-06 2003-08-19 Keurig, Incorporated Two step puncturing and venting of single serve filter cartridge in a beverage brewer
US6708600B2 (en) 2001-04-06 2004-03-23 Keurig, Incorporated Puncturing and venting of single serve beverage filter cartridge
US6666130B2 (en) 2001-04-06 2003-12-23 Keurig, Incorporated Baffle operated liquid heating and dispensing system for a single serve beverage brewer
US6644173B2 (en) 2001-04-11 2003-11-11 Keuring, Incorporated Beverage filter cartridge holder
US6655260B2 (en) 2001-04-11 2003-12-02 Keurig, Incorporated Beverage filter cartridge holder
US6658989B2 (en) 2001-04-11 2003-12-09 Keurig, Incorporated Re-usable beverage filter cartridge
AU2002303398A1 (en) 2001-04-18 2002-11-05 Keurig, Incorporated System for monitoring and controlling the operation of a single serve beverage brewer
USD452433S1 (en) 2001-05-17 2001-12-25 Keurig, Incorporated Cup shaped container
USD452434S1 (en) 2001-05-17 2001-12-25 Keurig, Incorporated Cup shaped container
USD462865S1 (en) 2001-06-04 2002-09-17 Keurig, Incorporated Coffee brewer
CN1125681C (zh) 2001-11-22 2003-10-29 浙江大学 一种用硫、钨元素助催化的过渡金属甲烷氧化偶联制c2烃催化剂及其制备方法
ES2274503T3 (es) * 2002-01-16 2007-05-16 Societe Des Produits Nestle S.A. Capsula cerrada con medios de abertura.
KR100535744B1 (ko) * 2002-03-07 2006-01-10 넥솔테크(주) 액상식품 추출용 밀봉 용기
DE20221780U1 (de) * 2002-03-14 2007-10-18 Caffita System S.P.A., Gaggio Montano Portionenkapsel mit einer partikelförmigen mittels Wasser extrahierbaren Substanz zur Herstellung eines Getränks
ITMI20021087A1 (it) * 2002-05-21 2003-11-21 Sergio Tonon Cartuccia per caffe' e prodotti solubili apparato per l'estrazione dibevande da detta cartuccia e relativo metodo di produzione di una beve
US20040045443A1 (en) 2002-06-19 2004-03-11 Lazaris Nicholas G. Disposable beverage filter package
USD474111S1 (en) 2002-07-30 2003-05-06 Keurig, Incorporated Cup shaped container
USD474110S1 (en) 2002-07-30 2003-05-06 Keurig, Incorporated Cup shaped container
USD489215S1 (en) 2002-09-12 2004-05-04 Keurig, Incorporated Coffee brewer
WO2004030500A1 (en) * 2002-10-03 2004-04-15 Tuttoespresso S.P.A. Dispensing assembly for preparing beverages from soluble products
US7097074B2 (en) * 2003-01-24 2006-08-29 Kraft Foods R&D, Inc. Machine for the preparation of beverages
US7640843B2 (en) * 2003-01-24 2010-01-05 Kraft Foods R & D, Inc. Cartridge and method for the preparation of beverages
AU2004206096A1 (en) * 2003-01-24 2004-08-05 Kraft Foods R & D, Inc. Machine for the preparation of beverages
EP1444932B1 (fr) 2003-02-07 2006-01-25 Nestec S.A. Module d'extraction à fermeture linéaire pour la préparation sous pression d'une boisson à partir d'une capsule
ITBO20030062A1 (it) * 2003-02-13 2004-08-14 Ima Spa Capsula utilizzabile per la preparazione di una bevanda infusa.
USD554299S1 (en) 2003-02-21 2007-10-30 Jw Pet Company, Inc. Birdcage attachment
ITTV20030058A1 (it) 2003-04-02 2004-10-03 Hausbrandt Trieste 1892 S P A Capsula monodose in plastica per caffe' in polvere e simili.
US6948420B2 (en) * 2003-07-22 2005-09-27 The Coca-Cola Company Coffee and tea pod
DK1500357T3 (da) 2003-07-23 2006-06-19 Monodor Sa Fremgangsmåde til tilberedning af en drik ud fra en kapsel og anordning til fremgangsmådens iværksættelse
EP1510158A1 (fr) 2003-08-25 2005-03-02 Nestec S.A. Dispositif et méthode pour la préparation d'une boisson à partir d'une substance alimentaire contenue dans une capsule
EP1510159A1 (fr) * 2003-08-25 2005-03-02 Nestec S.A. Procédé de préparation d'un produit alimentaire
US20050051478A1 (en) 2003-09-10 2005-03-10 Basil Karanikos Beverage filter cartridge
US7279188B2 (en) 2003-12-01 2007-10-09 Nestec S.A. Capsule with foam conditioning feature
USD502362S1 (en) 2003-12-03 2005-03-01 Keurig, Incorporated Disposable beverage filter cartridge
US7165488B2 (en) 2003-12-12 2007-01-23 Keurig, Incorporated Brew chamber for a single serve beverage brewer
US7523695B2 (en) 2003-12-12 2009-04-28 Keurig, Incorporated System for dispensing metered volumes of heated water to the brew chamber of a single serve beverage brewer
DE102004002004A1 (de) 2004-01-14 2005-08-11 Schifferle, René Kaffeemaschine zum Aufbrühen von in einer Kapsel abgepacktem Pulverkaffee
US20050158426A1 (en) * 2004-01-20 2005-07-21 Ruguo Hu Beverage portioned package for preparing a foamy beverage from soluble powder
EP1557373A1 (en) * 2004-01-26 2005-07-27 Tuttoespresso S.p.a. A process, device and capsule for preparing beverages from a soluble composition
DE102004004314B4 (de) * 2004-01-28 2014-05-15 Tchibo Gmbh Brühvorrichtung für eine Kaffeemaschine
US20050205601A1 (en) 2004-03-01 2005-09-22 Jon Taylor Water dispensing systrem with vaccum-filled metering chamber
WO2005092160A1 (en) * 2004-03-26 2005-10-06 Illycaffe's.P.A. Integrated cartridge for extracting a beverage from a particulate substance
EP1579793B1 (en) 2004-03-26 2007-07-11 ILLYCAFFE' S.p.A. Beverage extraction assembly for extracting a beverage from a particulate substance contained in a cartridge
USD513572S1 (en) 2004-06-03 2006-01-17 Keurig, Incorporated Coffee brewer
ITTO20040374A1 (it) 2004-06-04 2004-09-04 Sgl Italia Srl Macchina percolatrice per la preparazione di una bevanda
EP1609398A1 (fr) 2004-06-25 2005-12-28 Nestec S.A. Procédé d'amélioration de la production de mousse lors de la préparation de boissons à partir d'une cartouche et dispositif pour sa mise en oeuvre
GB2416480B (en) * 2004-07-27 2007-12-27 Kraft Foods R & D Inc A system for the preparation of beverages
NL1026834C2 (nl) * 2004-08-12 2006-02-14 Sara Lee De Nv Bereiden van thee met behulp van een theepad en een koffiezetapparaat.
ES2398190T3 (es) * 2004-09-17 2013-03-14 Tuttoespresso S.R.L. Cápsula desechable para bebidas
US20060065127A1 (en) * 2004-09-24 2006-03-30 Dalton David A Liquid infusion pods containing insoluble materials
WO2006045537A1 (en) 2004-10-25 2006-05-04 Nestec S.A. Capsule with biasing sealing member
DK1702543T3 (da) 2004-10-25 2008-01-07 Nestec Sa Kapsel med forseglingsmidler
DE202004021229U1 (de) * 2004-11-19 2007-03-29 Tchibo Gmbh System mit einer Kaffeemaschine und einer Portionskapsel
ITMI20042350A1 (it) 2004-12-09 2005-03-09 Saeco Internat Group S P A Testa erogatrice per macchine per caffe'espresso
ITTO20050209A1 (it) 2005-03-30 2006-09-30 Sgl Italia Srl Macchina percolatrice per la preparazione di una bevanda
ES2284149T3 (es) * 2005-04-04 2007-11-01 Beatrice Dr.Med. Amann Dispositivo y capsula desechable para la generacion de productos liquidos, especialmente bebidas.
DE102005016297A1 (de) * 2005-04-08 2006-10-12 Tchibo Gmbh Portionskapsel
ITRM20050181A1 (it) * 2005-04-14 2006-10-15 Cafe Do Brasil S P A Macchina per la preparazione di bevande a partire da preparati in capsule e relativa unita' di estrazione intercambiabile.
ATE512098T1 (de) * 2005-06-22 2011-06-15 Friesland Brands Bv Halteeinrichtung und becher mit konzentrat für die herstellung von heissen getränken
US7360418B2 (en) 2005-06-28 2008-04-22 Keurig, Incorporated Method and apparatus for sensing liquid level using baseline characteristic
US20060292012A1 (en) 2005-06-28 2006-12-28 Keurig, Incorporated Method and apparatus for pump control
US7377162B2 (en) 2005-06-28 2008-05-27 Keurig, Incorporated Method and apparatus for liquid level sensing
US7640845B2 (en) 2005-09-12 2010-01-05 Keurig, Incorporated Drain for beverage forming machine
ATE428657T1 (de) 2005-09-21 2009-05-15 Illycaffe Spa Kapsel enthaltend einer substanz zum extrahieren eines getränks
US7861645B2 (en) 2005-10-14 2011-01-04 Electrical And Electronics Limited Apparatus for preventing unintended or premature release of liquid in a beverage brewing device and method thereof
EP1775234B1 (en) 2005-10-14 2008-07-30 Nestec S.A. Capsule for the preparation of a beverage
EP1785369A1 (en) 2005-11-10 2007-05-16 Nestec S.A. Beverage ingredient containing capsule having several compartments
DE102005058336A1 (de) * 2005-12-02 2007-06-06 Tchibo Gmbh Portionskapsel
EP1792849A1 (en) * 2005-12-02 2007-06-06 Tuttoespresso S.p.a. Pressure beverage cartridge and preparation method
FR2896676B1 (fr) * 2006-02-01 2011-07-01 Nielsen Innovation Appareil destine a confectionner une infusion de the ou de cafe
ITMI20060301A1 (it) 2006-02-17 2007-08-18 Maddalena Ricotti Apparato per la produzione di un infuso di una bevanda aromatica
NL1031177C2 (nl) * 2006-02-17 2007-08-20 Meccano Asia Ltd Verpakking en inrichting voor het bereiden van een drank.
US7513192B2 (en) 2006-03-23 2009-04-07 Keurig, Incorporated Beverage forming device with opening/closing mechanism for a beverage cartridge receiver
EP1849715B1 (en) 2006-04-24 2009-07-01 Nestec S.A. Capsule for preparation of a beverage with a sealing member attached thereto and method of producing the same
ITMI20061503A1 (it) 2006-07-28 2008-01-29 Illycaffe Spa Perfezionamenti di capsule contenenti una sostanza in polvere da cui estrarre una bevanda,preferibilmente caffe' espresso
US7964230B2 (en) 2006-08-04 2011-06-21 The Coca-Cola Company Method of sealing a pod for dispersible materials
ITFI20060194A1 (it) 2006-08-04 2008-02-05 Saeco Ipr Ltd Dispositivo di infusione per la preparazione di bevande da capsule monodose
ES2342224T3 (es) * 2006-08-25 2010-07-02 Delica Ag Medio para penetrar un embalaje individual, el cual contiene un producto de extraccion, dispositivo de extraccion del producto de extraccion conteniendo en el embalaje individual, asi como metodo de fabricacion del medio.
CN101721134B (zh) 2006-09-07 2012-10-03 库里格股份有限公司 用于形成饮料的方法和装置
ES2392589T3 (es) 2006-11-29 2012-12-12 Yamaha Hatsudoki Kabushiki Kaisha Transmisión continua de correa y vehículo de tipo para montar a horcajadas que incluye la misma
NL2000402C2 (nl) * 2006-12-22 2008-06-24 Friesland Brands Bv Cup met afvoeropening voor bereiding van een vloeibaar product, en tegendruklichaam.
ES2661027T3 (es) 2007-01-15 2018-03-27 Swiss Caffe Asia Ltd. Cápsula, medios de penetración del fondo de una cápsula y dispositivo de preparación de una bebida
ITFI20070028A1 (it) 2007-02-07 2008-08-08 Saeco Ipr Ltd Dispositivo di infusione per la preparazione di bevande da capsule monodose con un dispositivo di centraggio delle capsule.
EP1975087B2 (en) * 2007-03-19 2018-05-16 Nestec S.A. Capsule with flow regulating technology
ES2359284T3 (es) 2007-03-23 2011-05-20 Nestec S.A. Cápsula de ingredientes para bebida.
ITRM20070074U1 (it) 2007-03-27 2008-09-28 Espressaroma Spa Perfezionamenti alle cialde per alimentazione di macchine per bevande espresse
EP1974638A1 (de) 2007-03-29 2008-10-01 Tchibo GmbH System mit einer Getränkemaschine und mit Portionskapseln
ITMI20070740A1 (it) 2007-04-12 2008-10-13 Rossi Corp S R L Capsula monouso di contenimento di un essenza aromatica per la produzione di un infuso
EP1982933B1 (en) 2007-04-18 2010-08-11 ILLYCAFFE' S.p.A. Rigid filter for capsules suitable for extracting beverages, particularly espresso coffee
ITMO20070143A1 (it) * 2007-04-27 2008-10-28 Massimiliano Pineschi Capsula per contenere dosi di bevande solubili
US20090095164A1 (en) * 2007-05-17 2009-04-16 Salvatore Albert Celeste Method of enhancing beverages by means of a unique microencapsulated delivery system
BRPI0812339B1 (pt) 2007-06-05 2020-08-11 Société Des Produits Nestlé S.A Sistema e método para a preparação de um líquido alimentício e dispositivo para a preparação de alimento líquido
PL2243405T3 (pl) 2007-06-05 2013-01-31 Caffitaly System Spa Kaspułka do przygotowywania napoju i sposób przygotowywania napoju z wykorzystaniem takiej kapsułki
AU2008258738B2 (en) 2007-06-05 2015-05-14 Société des Produits Nestlé S.A. Method for preparing a beverage or liquid food and system using brewing centrifugal force
CA2701888C (en) 2007-07-02 2015-11-03 Bevcepts, Inc. Hot beverage brewing appratus
US8322271B2 (en) * 2007-07-02 2012-12-04 Brewl Technologies, Inc. Infusible material capsule for brewing a beverage
EP2510802B2 (en) * 2008-01-29 2020-01-08 Koninklijke Douwe Egberts B.V. System for preparing a beverage
US20090229472A1 (en) * 2008-03-12 2009-09-17 Ferrara Jr Daniel A Brewing system and packaging
US8151694B2 (en) 2008-08-01 2012-04-10 Keurig, Incorporated Beverage forming apparatus with centrifugal pump
FR2938417B1 (fr) * 2008-11-17 2013-07-12 Tirouvady Moutty Capsule pour percolation de produit aromatique tel que du cafe
US8166867B2 (en) 2008-12-18 2012-05-01 Whirlpool Corporation Liquid flow control through a beverage preparation apparatus
US8227000B2 (en) 2008-12-18 2012-07-24 Whirlpool Corporation Liquid flow control and beverage preparation apparatuses, methods and systems
IT1393936B1 (it) * 2009-04-09 2012-05-17 I T A Ca S R L Ora Mitaca S R L Cartuccia per caffe' e prodotti solubili per la preparazione di bevande
US8474368B2 (en) 2009-05-13 2013-07-02 Curwood, Inc. Mineral composite beverage brewing cup and cartridge
US9750370B2 (en) 2009-05-29 2017-09-05 Keurig Green Mountain, Inc. Cartridge with filter guard
CA2765383A1 (en) * 2009-06-17 2010-12-02 Sara Lee/De B.V. System and method for preparing a predetermined quantity of beverage
DE102010030988B4 (de) * 2010-07-06 2012-04-05 Brita Gmbh Behälter
DE102011012881A1 (de) * 2010-09-22 2012-03-22 Krüger Gmbh & Co. Kg Portionskapsel und Verfahren zur Herstellung eines Getränks mit einer Portionskapsel
TWI576434B (zh) * 2010-10-22 2017-04-01 藍瑟科技紐西蘭有限公司 產生醇及/或酸之方法及系統
IT1403541B1 (it) * 2011-01-31 2013-10-31 Sarong Spa Macchina erogatrice per bevande
EP3301042A1 (en) * 2011-03-07 2018-04-04 Apiqe Holdings, LLC Disposable package and system for preparation of a liquid product
TR201202636U (tr) * 2011-03-14 2012-10-22 Cupsystem Company B.V. Arap tipi kahveli bir içeceğin hazırlanması için sistem.
PT105599B (pt) * 2011-03-30 2020-03-30 Novadelta Comercio E Ind De Cafes Lda Cápsula incluindo elemento de actuação, método e dispositivo de processamento desta cápsula
WO2013043048A1 (en) * 2011-09-20 2013-03-28 Koninklijke Douwe Egberts B.V. Beverage filter systems and methods
EP2771259B1 (en) * 2011-10-24 2015-07-29 Nestec S.A. Capsule with reinforcement members used for the preparation of a beverage
ITMI20120247A1 (it) * 2012-02-20 2013-08-21 Illycaffe Spa Cartuccia per l'ottenimento di una bevanda.
ITMO20120043A1 (it) * 2012-02-22 2013-08-23 Sarong Spa Capsula per bevande
ITBO20120141A1 (it) * 2012-03-16 2013-09-17 Aroma System Srl Capsula per ottenere bevande tipo espresso e metodo di ottenimento di bevande tipo espresso
JP2015529508A (ja) * 2012-08-24 2015-10-08 ネステク ソシエテ アノニム 食品調製マシンとともに使用するためのカプセル
EP2892826A1 (en) * 2012-09-05 2015-07-15 Koninklijke Philips N.V. Capsule for the preparation of beverages, device and method
US20140072675A1 (en) * 2012-09-12 2014-03-13 Mark Richard Thomas Norton Cartridges, Systems And Methods For Preparation Of Beverages
EP2906086A1 (en) * 2012-10-12 2015-08-19 Nestec S.A. Food capsule with multiple compartments
US10442610B2 (en) * 2014-03-11 2019-10-15 Starbucks Corporation Pod-based restrictors and methods

Patent Citations (8)

* Cited by examiner, † Cited by third party
Publication number Priority date Publication date Assignee Title
JPH0410324B2 (ja) * 1985-06-07 1992-02-25
JPS62213713A (ja) * 1986-03-14 1987-09-19 岡田 定夫 抽出用カ−トリツジ及びその抽出用カ−トリツジによる抽出方法
JP2004500199A (ja) * 2000-02-18 2004-01-08 コリグ インク 飲料フィルタカートリッジ
JP2004534697A (ja) * 2001-04-06 2004-11-18 トゥットエスプレッソ ソチエタ ペル アツィオーニ 飲食物用密封容器の開封方法。
JP2005199071A (ja) * 2004-01-14 2005-07-28 Rene Schifferle コーヒー用カートリッジ
US20050172822A1 (en) * 2004-02-11 2005-08-11 I.T.A.Ca S.R.L. Cartridge for coffee and soluble products and relative method of producing a beverage and apparatus for extracting a beverage
WO2007096196A2 (en) * 2006-02-27 2007-08-30 Nestec S.A. Beverage-ingredient capsule and capsule-based beverage production method
WO2007113100A2 (en) * 2006-03-31 2007-10-11 Nestec S.A. Capsule with outer sealing material pressurized by a fluid

Also Published As

Publication number Publication date
JP5766692B2 (ja) 2015-08-19
RU2015139696A (ru) 2018-12-26
US10231571B2 (en) 2019-03-19
CA3031641A1 (en) 2010-12-02
EP2767488A1 (en) 2014-08-20
JP2012530532A (ja) 2012-12-06
JP2012530656A (ja) 2012-12-06
CN102574632A (zh) 2012-07-11
BRPI0925307B1 (pt) 2019-12-17
PL2778098T3 (pl) 2019-03-29
PL2367738T3 (pl) 2015-12-31
CA2765131C (en) 2017-08-22
ES2622298T3 (es) 2017-07-06
US20120258221A1 (en) 2012-10-11
PL2367740T3 (pl) 2014-10-31
WO2010137947A1 (en) 2010-12-02
CA2765131A1 (en) 2010-12-02
ES2703569T3 (es) 2019-03-11
SG177257A1 (en) 2012-02-28
WO2010137948A1 (en) 2010-12-02
JP2012530523A (ja) 2012-12-06
PL2367737T3 (pl) 2014-10-31
CN102574630B (zh) 2016-05-25
EP2367738A1 (en) 2011-09-28
JP2015057107A (ja) 2015-03-26
US20120258210A1 (en) 2012-10-11
RU2012101421A (ru) 2013-07-27
RU2016118223A (ru) 2018-10-26
CN103950653A (zh) 2014-07-30
EP2367737B1 (en) 2014-05-07
AU2009347072B2 (en) 2015-11-19
EP2367740A1 (en) 2011-09-28
ES2425956T3 (es) 2013-10-18
WO2010137959A1 (en) 2010-12-02
DK2367736T3 (da) 2013-09-02
CA2764946A1 (en) 2010-12-02
AU2009347073A1 (en) 2012-02-02
CA2765132A1 (en) 2010-12-02
EP3181485A1 (en) 2017-06-21
RU2632398C1 (ru) 2017-10-04
CN102574633B (zh) 2016-02-03
EP2778098B1 (en) 2018-10-03
CN102574630A (zh) 2012-07-11
US9409705B2 (en) 2016-08-09
US12070148B2 (en) 2024-08-27
US20190208950A1 (en) 2019-07-11
RU2012101445A (ru) 2013-07-27
JP5646616B2 (ja) 2014-12-24
DK2367737T3 (da) 2014-07-28
RU2015140837A (ru) 2018-12-26
US20150050394A1 (en) 2015-02-19
US9675201B2 (en) 2017-06-13
RU2566904C2 (ru) 2015-10-27
JP5952376B2 (ja) 2016-07-13
PT2778098T (pt) 2019-01-11
EP2367738B1 (en) 2015-07-15
RU2016118223A3 (ja) 2019-07-26
JP2017094140A (ja) 2017-06-01
AU2009347073B2 (en) 2016-04-28
RU2567356C2 (ru) 2015-11-10
RU2015139696A3 (ja) 2019-03-11
US8501254B2 (en) 2013-08-06
JP5719356B2 (ja) 2015-05-20
JP2012530522A (ja) 2012-12-06
DK2778098T3 (en) 2019-01-28
DK2367740T3 (da) 2014-07-28
KR20120030148A (ko) 2012-03-27
AU2009347072A1 (en) 2012-02-02
CA2765383A1 (en) 2010-12-02
ES2482112T3 (es) 2014-08-01
US20130295240A1 (en) 2013-11-07
AU2016203368B2 (en) 2018-08-30
US20120263833A1 (en) 2012-10-18
EP2367737A1 (en) 2011-09-28
KR101497773B1 (ko) 2015-03-02
CN102574632B (zh) 2015-07-22
EP2367740B1 (en) 2014-05-07
US20120258219A1 (en) 2012-10-11
JP6078035B2 (ja) 2017-02-08
EP2634114A1 (en) 2013-09-04
SG10201408749RA (en) 2015-02-27
IL256098B (en) 2019-03-31
EP2634114B1 (en) 2017-01-11
WO2010137949A1 (en) 2010-12-02
RU2012101440A (ru) 2013-07-27
CN106037488A (zh) 2016-10-26
US9371174B2 (en) 2016-06-21
JP2015037593A (ja) 2015-02-26
AU2009347083B2 (en) 2015-12-03
EP2367736B1 (en) 2013-05-29
ES2483147T3 (es) 2014-08-05
US8846120B2 (en) 2014-09-30
IL217027A0 (en) 2012-02-29
EP2982617A1 (en) 2016-02-10
PL2634114T3 (pl) 2017-07-31
BRPI0925331A2 (pt) 2015-07-21
US20160367067A1 (en) 2016-12-22
PT2367736E (pt) 2013-09-02
AU2016203368A1 (en) 2016-06-16
AU2009347083A1 (en) 2012-02-02
RU2567684C2 (ru) 2015-11-10
CN105877498A (zh) 2016-08-24
RU2638144C2 (ru) 2017-12-11
JP6554122B2 (ja) 2019-07-31
EP2367736A1 (en) 2011-09-28
RU2012101449A (ru) 2013-07-27
CN103950653B (zh) 2017-01-04
CN102574633A (zh) 2012-07-11
IL256098A (en) 2018-02-28
MX339511B (es) 2016-05-30
CA3031641C (en) 2020-12-15
RU2705269C2 (ru) 2019-11-07
BRPI0925332A2 (pt) 2015-07-28
AU2009347071A1 (en) 2012-02-02
JP2016214895A (ja) 2016-12-22
HK1172878A1 (zh) 2013-05-03
RU2701998C2 (ru) 2019-10-02
DK2367738T3 (en) 2015-10-26
ES2550518T3 (es) 2015-11-10
PL2367736T3 (pl) 2013-10-31
EP2778098A1 (en) 2014-09-17
MX2011013567A (es) 2012-02-22
AU2009347071B2 (en) 2016-02-25
CN102548871A (zh) 2012-07-04

Similar Documents

Publication Publication Date Title
JP6554122B2 (ja) 所定量の飲料を作るためのシステム及び方法
JP5636366B2 (ja) 飲料を調製するシステム及び方法
AU2017200014B2 (en) System and method for preparing a predetermined quantity of beverage
HK1172878B (en) System and method for preparing a predetermined quantity of beverage

Legal Events

Date Code Title Description
A131 Notification of reasons for refusal

Free format text: JAPANESE INTERMEDIATE CODE: A131

Effective date: 20160127

A977 Report on retrieval

Free format text: JAPANESE INTERMEDIATE CODE: A971007

Effective date: 20160127

A601 Written request for extension of time

Free format text: JAPANESE INTERMEDIATE CODE: A601

Effective date: 20160427

A521 Request for written amendment filed

Free format text: JAPANESE INTERMEDIATE CODE: A523

Effective date: 20160627

A02 Decision of refusal

Free format text: JAPANESE INTERMEDIATE CODE: A02

Effective date: 20160906