JP2012503959A - 寄生共振タンクを備える電子デバイスに対するワイヤレス電力送信 - Google Patents
寄生共振タンクを備える電子デバイスに対するワイヤレス電力送信 Download PDFInfo
- Publication number
- JP2012503959A JP2012503959A JP2011521254A JP2011521254A JP2012503959A JP 2012503959 A JP2012503959 A JP 2012503959A JP 2011521254 A JP2011521254 A JP 2011521254A JP 2011521254 A JP2011521254 A JP 2011521254A JP 2012503959 A JP2012503959 A JP 2012503959A
- Authority
- JP
- Japan
- Prior art keywords
- wireless power
- antenna
- resonant tank
- parasitic
- receiver
- Prior art date
- Legal status (The legal status is an assumption and is not a legal conclusion. Google has not performed a legal analysis and makes no representation as to the accuracy of the status listed.)
- Pending
Links
Images
Classifications
-
- H—ELECTRICITY
- H01—ELECTRIC ELEMENTS
- H01Q—ANTENNAS, i.e. RADIO AERIALS
- H01Q1/00—Details of, or arrangements associated with, antennas
- H01Q1/12—Supports; Mounting means
- H01Q1/22—Supports; Mounting means by structural association with other equipment or articles
- H01Q1/2208—Supports; Mounting means by structural association with other equipment or articles associated with components used in interrogation type services, i.e. in systems for information exchange between an interrogator/reader and a tag/transponder, e.g. in Radio Frequency Identification [RFID] systems
- H01Q1/2225—Supports; Mounting means by structural association with other equipment or articles associated with components used in interrogation type services, i.e. in systems for information exchange between an interrogator/reader and a tag/transponder, e.g. in Radio Frequency Identification [RFID] systems used in active tags, i.e. provided with its own power source or in passive tags, i.e. deriving power from RF signal
-
- H—ELECTRICITY
- H01—ELECTRIC ELEMENTS
- H01Q—ANTENNAS, i.e. RADIO AERIALS
- H01Q1/00—Details of, or arrangements associated with, antennas
- H01Q1/12—Supports; Mounting means
- H01Q1/22—Supports; Mounting means by structural association with other equipment or articles
- H01Q1/24—Supports; Mounting means by structural association with other equipment or articles with receiving set
- H01Q1/248—Supports; Mounting means by structural association with other equipment or articles with receiving set provided with an AC/DC converting device, e.g. rectennas
-
- H—ELECTRICITY
- H01—ELECTRIC ELEMENTS
- H01Q—ANTENNAS, i.e. RADIO AERIALS
- H01Q7/00—Loop antennas with a substantially uniform current distribution around the loop and having a directional radiation pattern in a plane perpendicular to the plane of the loop
-
- H—ELECTRICITY
- H02—GENERATION; CONVERSION OR DISTRIBUTION OF ELECTRIC POWER
- H02J—CIRCUIT ARRANGEMENTS OR SYSTEMS FOR SUPPLYING OR DISTRIBUTING ELECTRIC POWER; SYSTEMS FOR STORING ELECTRIC ENERGY
- H02J50/00—Circuit arrangements or systems for wireless supply or distribution of electric power
- H02J50/10—Circuit arrangements or systems for wireless supply or distribution of electric power using inductive coupling
- H02J50/12—Circuit arrangements or systems for wireless supply or distribution of electric power using inductive coupling of the resonant type
-
- H—ELECTRICITY
- H02—GENERATION; CONVERSION OR DISTRIBUTION OF ELECTRIC POWER
- H02J—CIRCUIT ARRANGEMENTS OR SYSTEMS FOR SUPPLYING OR DISTRIBUTING ELECTRIC POWER; SYSTEMS FOR STORING ELECTRIC ENERGY
- H02J50/00—Circuit arrangements or systems for wireless supply or distribution of electric power
- H02J50/40—Circuit arrangements or systems for wireless supply or distribution of electric power using two or more transmitting or receiving devices
-
- H—ELECTRICITY
- H02—GENERATION; CONVERSION OR DISTRIBUTION OF ELECTRIC POWER
- H02J—CIRCUIT ARRANGEMENTS OR SYSTEMS FOR SUPPLYING OR DISTRIBUTING ELECTRIC POWER; SYSTEMS FOR STORING ELECTRIC ENERGY
- H02J50/00—Circuit arrangements or systems for wireless supply or distribution of electric power
- H02J50/50—Circuit arrangements or systems for wireless supply or distribution of electric power using additional energy repeaters between transmitting devices and receiving devices
-
- H—ELECTRICITY
- H04—ELECTRIC COMMUNICATION TECHNIQUE
- H04B—TRANSMISSION
- H04B5/00—Near-field transmission systems, e.g. inductive or capacitive transmission systems
- H04B5/70—Near-field transmission systems, e.g. inductive or capacitive transmission systems specially adapted for specific purposes
- H04B5/79—Near-field transmission systems, e.g. inductive or capacitive transmission systems specially adapted for specific purposes for data transfer in combination with power transfer
-
- H—ELECTRICITY
- H02—GENERATION; CONVERSION OR DISTRIBUTION OF ELECTRIC POWER
- H02J—CIRCUIT ARRANGEMENTS OR SYSTEMS FOR SUPPLYING OR DISTRIBUTING ELECTRIC POWER; SYSTEMS FOR STORING ELECTRIC ENERGY
- H02J50/00—Circuit arrangements or systems for wireless supply or distribution of electric power
- H02J50/005—Mechanical details of housing or structure aiming to accommodate the power transfer means, e.g. mechanical integration of coils, antennas or transducers into emitting or receiving devices
-
- H—ELECTRICITY
- H02—GENERATION; CONVERSION OR DISTRIBUTION OF ELECTRIC POWER
- H02J—CIRCUIT ARRANGEMENTS OR SYSTEMS FOR SUPPLYING OR DISTRIBUTING ELECTRIC POWER; SYSTEMS FOR STORING ELECTRIC ENERGY
- H02J7/00—Circuit arrangements for charging or depolarising batteries or for supplying loads from batteries
-
- H—ELECTRICITY
- H02—GENERATION; CONVERSION OR DISTRIBUTION OF ELECTRIC POWER
- H02J—CIRCUIT ARRANGEMENTS OR SYSTEMS FOR SUPPLYING OR DISTRIBUTING ELECTRIC POWER; SYSTEMS FOR STORING ELECTRIC ENERGY
- H02J7/00—Circuit arrangements for charging or depolarising batteries or for supplying loads from batteries
- H02J7/00032—Circuit arrangements for charging or depolarising batteries or for supplying loads from batteries characterised by data exchange
- H02J7/00034—Charger exchanging data with an electronic device, i.e. telephone, whose internal battery is under charge
Landscapes
- Engineering & Computer Science (AREA)
- Computer Networks & Wireless Communication (AREA)
- Power Engineering (AREA)
- Signal Processing (AREA)
- Charge And Discharge Circuits For Batteries Or The Like (AREA)
- Near-Field Transmission Systems (AREA)
Applications Claiming Priority (5)
| Application Number | Priority Date | Filing Date | Title |
|---|---|---|---|
| US8424608P | 2008-07-28 | 2008-07-28 | |
| US61/084,246 | 2008-07-28 | ||
| US12/510,123 | 2009-07-27 | ||
| US12/510,123 US8278784B2 (en) | 2008-07-28 | 2009-07-27 | Wireless power transmission for electronic devices |
| PCT/US2009/051997 WO2010014634A2 (en) | 2008-07-28 | 2009-07-28 | Wireless power transmission for electronic devices |
Related Child Applications (1)
| Application Number | Title | Priority Date | Filing Date |
|---|---|---|---|
| JP2013253690A Division JP2014112839A (ja) | 2008-07-28 | 2013-12-06 | 寄生共振タンクを備える電子デバイスに対するワイヤレス電力送信 |
Publications (2)
| Publication Number | Publication Date |
|---|---|
| JP2012503959A true JP2012503959A (ja) | 2012-02-09 |
| JP2012503959A5 JP2012503959A5 (enExample) | 2014-12-18 |
Family
ID=41610939
Family Applications (3)
| Application Number | Title | Priority Date | Filing Date |
|---|---|---|---|
| JP2011521254A Pending JP2012503959A (ja) | 2008-07-28 | 2009-07-28 | 寄生共振タンクを備える電子デバイスに対するワイヤレス電力送信 |
| JP2013253690A Withdrawn JP2014112839A (ja) | 2008-07-28 | 2013-12-06 | 寄生共振タンクを備える電子デバイスに対するワイヤレス電力送信 |
| JP2016002786A Expired - Fee Related JP6266661B2 (ja) | 2008-07-28 | 2016-01-08 | 寄生共振タンクを備える電子デバイスに対するワイヤレス電力送信 |
Family Applications After (2)
| Application Number | Title | Priority Date | Filing Date |
|---|---|---|---|
| JP2013253690A Withdrawn JP2014112839A (ja) | 2008-07-28 | 2013-12-06 | 寄生共振タンクを備える電子デバイスに対するワイヤレス電力送信 |
| JP2016002786A Expired - Fee Related JP6266661B2 (ja) | 2008-07-28 | 2016-01-08 | 寄生共振タンクを備える電子デバイスに対するワイヤレス電力送信 |
Country Status (6)
| Country | Link |
|---|---|
| US (2) | US8278784B2 (enExample) |
| EP (1) | EP2321886A2 (enExample) |
| JP (3) | JP2012503959A (enExample) |
| KR (3) | KR101397243B1 (enExample) |
| CN (2) | CN102113195B (enExample) |
| WO (1) | WO2010014634A2 (enExample) |
Cited By (21)
| Publication number | Priority date | Publication date | Assignee | Title |
|---|---|---|---|---|
| CN102946156A (zh) * | 2012-11-21 | 2013-02-27 | 中国科学院电工研究所 | 一种无线电力传输装置 |
| JP2014033499A (ja) * | 2012-08-01 | 2014-02-20 | Sharp Corp | ワイヤレス給電システム、ワイヤレス給電装置、およびワイヤレス受電装置 |
| JP2014505454A (ja) * | 2010-12-16 | 2014-02-27 | クアルコム,インコーポレイテッド | 無線電力受信器回路 |
| JP2014217117A (ja) * | 2013-04-23 | 2014-11-17 | 一般財団法人電力中央研究所 | 非接触給電システム |
| JP2015128347A (ja) * | 2013-12-27 | 2015-07-09 | 富士通コンポーネント株式会社 | 無線受電装置、無線送電装置 |
| WO2016121030A1 (ja) * | 2015-01-28 | 2016-08-04 | 日産自動車株式会社 | 非接触給電装置 |
| JP2017506485A (ja) * | 2014-02-23 | 2017-03-02 | アップル インコーポレイテッド | 誘導電力伝送システムのインピーダンス整合 |
| US9887568B2 (en) | 2010-02-12 | 2018-02-06 | Semiconductor Energy Laboratory Co., Ltd. | Moving object, wireless power feeding system, and wireless power feeding method |
| US9923383B2 (en) | 2014-02-23 | 2018-03-20 | Apple Inc. | Adjusting filter in a coupled coil system |
| US10014733B2 (en) | 2014-08-28 | 2018-07-03 | Apple Inc. | Temperature management in a wireless energy transfer system |
| US10027377B2 (en) | 2013-02-15 | 2018-07-17 | Murata Manufacturing Co., Ltd. | Wireless power supply apparatus |
| US10032557B1 (en) | 2014-05-29 | 2018-07-24 | Apple Inc. | Tuning of primary and secondary resonant frequency for improved efficiency of inductive power transfer |
| US10110051B2 (en) | 2014-06-13 | 2018-10-23 | Apple Inc. | Detection of coil coupling in an inductive charging system |
| US10181755B2 (en) | 2013-03-27 | 2019-01-15 | Murata Manufacturing Co., Ltd. | Wireless power supply apparatus |
| US10193372B2 (en) | 2014-09-02 | 2019-01-29 | Apple Inc. | Operating an inductive energy transfer system |
| US10224750B2 (en) | 2013-03-27 | 2019-03-05 | Murata Manufacturing Co., Ltd. | Wireless power transmission apparatus |
| US10389274B2 (en) | 2017-04-07 | 2019-08-20 | Apple Inc. | Boosted output inverter for electronic devices |
| US10523063B2 (en) | 2017-04-07 | 2019-12-31 | Apple Inc. | Common mode noise compensation in wireless power systems |
| US10594159B2 (en) | 2014-06-03 | 2020-03-17 | Apple Inc. | Methods for detecting mated coils |
| US10644531B1 (en) | 2016-09-22 | 2020-05-05 | Apple Inc. | Adaptable power rectifier for wireless charger system |
| US10666084B2 (en) | 2015-07-10 | 2020-05-26 | Apple Inc. | Detection and notification of an unpowered releasable charging device |
Families Citing this family (513)
| Publication number | Priority date | Publication date | Assignee | Title |
|---|---|---|---|---|
| US7825543B2 (en) | 2005-07-12 | 2010-11-02 | Massachusetts Institute Of Technology | Wireless energy transfer |
| US8169185B2 (en) | 2006-01-31 | 2012-05-01 | Mojo Mobility, Inc. | System and method for inductive charging of portable devices |
| US7952322B2 (en) | 2006-01-31 | 2011-05-31 | Mojo Mobility, Inc. | Inductive power source and charging system |
| US11201500B2 (en) | 2006-01-31 | 2021-12-14 | Mojo Mobility, Inc. | Efficiencies and flexibilities in inductive (wireless) charging |
| US7948208B2 (en) | 2006-06-01 | 2011-05-24 | Mojo Mobility, Inc. | Power source, charging system, and inductive receiver for mobile devices |
| US11329511B2 (en) | 2006-06-01 | 2022-05-10 | Mojo Mobility Inc. | Power source, charging system, and inductive receiver for mobile devices |
| US8805530B2 (en) | 2007-06-01 | 2014-08-12 | Witricity Corporation | Power generation for implantable devices |
| US9421388B2 (en) | 2007-06-01 | 2016-08-23 | Witricity Corporation | Power generation for implantable devices |
| KR101687126B1 (ko) | 2007-12-21 | 2016-12-15 | 액세스 비지니스 그룹 인터내셔날 엘엘씨 | 유도 전력 전송 회로 |
| US8294300B2 (en) * | 2008-01-14 | 2012-10-23 | Qualcomm Incorporated | Wireless powering and charging station |
| US8855554B2 (en) * | 2008-03-05 | 2014-10-07 | Qualcomm Incorporated | Packaging and details of a wireless power device |
| EP2277252A4 (en) | 2008-04-21 | 2017-04-26 | Qualcomm Incorporated | Short range efficient wireless power transfer |
| US20110050164A1 (en) | 2008-05-07 | 2011-03-03 | Afshin Partovi | System and methods for inductive charging, and improvements and uses thereof |
| KR101478269B1 (ko) | 2008-05-14 | 2014-12-31 | 메사추세츠 인스티튜트 오브 테크놀로지 | 간섭 강화를 포함하는 무선 에너지 전달 |
| US8278784B2 (en) | 2008-07-28 | 2012-10-02 | Qualcomm Incorporated | Wireless power transmission for electronic devices |
| US9473209B2 (en) * | 2008-08-20 | 2016-10-18 | Intel Corporation | Wireless power transfer apparatus and method thereof |
| US8432070B2 (en) * | 2008-08-25 | 2013-04-30 | Qualcomm Incorporated | Passive receivers for wireless power transmission |
| US8947041B2 (en) | 2008-09-02 | 2015-02-03 | Qualcomm Incorporated | Bidirectional wireless power transmission |
| WO2010030767A1 (en) * | 2008-09-11 | 2010-03-18 | The Board Of Trustees Of The University Of Alabama | System and method for three mode wireless enrgy harvesting |
| US8532724B2 (en) | 2008-09-17 | 2013-09-10 | Qualcomm Incorporated | Transmitters for wireless power transmission |
| US8669676B2 (en) | 2008-09-27 | 2014-03-11 | Witricity Corporation | Wireless energy transfer across variable distances using field shaping with magnetic materials to improve the coupling factor |
| US8629578B2 (en) | 2008-09-27 | 2014-01-14 | Witricity Corporation | Wireless energy transfer systems |
| US8552592B2 (en) * | 2008-09-27 | 2013-10-08 | Witricity Corporation | Wireless energy transfer with feedback control for lighting applications |
| US8410636B2 (en) | 2008-09-27 | 2013-04-02 | Witricity Corporation | Low AC resistance conductor designs |
| US8912687B2 (en) | 2008-09-27 | 2014-12-16 | Witricity Corporation | Secure wireless energy transfer for vehicle applications |
| US8928276B2 (en) | 2008-09-27 | 2015-01-06 | Witricity Corporation | Integrated repeaters for cell phone applications |
| US8907531B2 (en) | 2008-09-27 | 2014-12-09 | Witricity Corporation | Wireless energy transfer with variable size resonators for medical applications |
| US8723366B2 (en) | 2008-09-27 | 2014-05-13 | Witricity Corporation | Wireless energy transfer resonator enclosures |
| US8901779B2 (en) | 2008-09-27 | 2014-12-02 | Witricity Corporation | Wireless energy transfer with resonator arrays for medical applications |
| US8692412B2 (en) | 2008-09-27 | 2014-04-08 | Witricity Corporation | Temperature compensation in a wireless transfer system |
| US8324759B2 (en) * | 2008-09-27 | 2012-12-04 | Witricity Corporation | Wireless energy transfer using magnetic materials to shape field and reduce loss |
| US9515494B2 (en) | 2008-09-27 | 2016-12-06 | Witricity Corporation | Wireless power system including impedance matching network |
| US8466583B2 (en) | 2008-09-27 | 2013-06-18 | Witricity Corporation | Tunable wireless energy transfer for outdoor lighting applications |
| US8587155B2 (en) * | 2008-09-27 | 2013-11-19 | Witricity Corporation | Wireless energy transfer using repeater resonators |
| US8598743B2 (en) | 2008-09-27 | 2013-12-03 | Witricity Corporation | Resonator arrays for wireless energy transfer |
| US8487480B1 (en) | 2008-09-27 | 2013-07-16 | Witricity Corporation | Wireless energy transfer resonator kit |
| US8587153B2 (en) | 2008-09-27 | 2013-11-19 | Witricity Corporation | Wireless energy transfer using high Q resonators for lighting applications |
| US9601261B2 (en) | 2008-09-27 | 2017-03-21 | Witricity Corporation | Wireless energy transfer using repeater resonators |
| US9105959B2 (en) | 2008-09-27 | 2015-08-11 | Witricity Corporation | Resonator enclosure |
| US8304935B2 (en) * | 2008-09-27 | 2012-11-06 | Witricity Corporation | Wireless energy transfer using field shaping to reduce loss |
| US8482158B2 (en) | 2008-09-27 | 2013-07-09 | Witricity Corporation | Wireless energy transfer using variable size resonators and system monitoring |
| US9093853B2 (en) | 2008-09-27 | 2015-07-28 | Witricity Corporation | Flexible resonator attachment |
| US9106203B2 (en) | 2008-09-27 | 2015-08-11 | Witricity Corporation | Secure wireless energy transfer in medical applications |
| US8946938B2 (en) | 2008-09-27 | 2015-02-03 | Witricity Corporation | Safety systems for wireless energy transfer in vehicle applications |
| US8901778B2 (en) | 2008-09-27 | 2014-12-02 | Witricity Corporation | Wireless energy transfer with variable size resonators for implanted medical devices |
| US8476788B2 (en) | 2008-09-27 | 2013-07-02 | Witricity Corporation | Wireless energy transfer with high-Q resonators using field shaping to improve K |
| CN107026511A (zh) * | 2008-09-27 | 2017-08-08 | 韦特里西提公司 | 无线能量转移系统 |
| US9184595B2 (en) * | 2008-09-27 | 2015-11-10 | Witricity Corporation | Wireless energy transfer in lossy environments |
| US9601270B2 (en) | 2008-09-27 | 2017-03-21 | Witricity Corporation | Low AC resistance conductor designs |
| US8461721B2 (en) | 2008-09-27 | 2013-06-11 | Witricity Corporation | Wireless energy transfer using object positioning for low loss |
| US8497601B2 (en) | 2008-09-27 | 2013-07-30 | Witricity Corporation | Wireless energy transfer converters |
| US8461720B2 (en) * | 2008-09-27 | 2013-06-11 | Witricity Corporation | Wireless energy transfer using conducting surfaces to shape fields and reduce loss |
| US9160203B2 (en) | 2008-09-27 | 2015-10-13 | Witricity Corporation | Wireless powered television |
| US8471410B2 (en) | 2008-09-27 | 2013-06-25 | Witricity Corporation | Wireless energy transfer over distance using field shaping to improve the coupling factor |
| US8922066B2 (en) | 2008-09-27 | 2014-12-30 | Witricity Corporation | Wireless energy transfer with multi resonator arrays for vehicle applications |
| US8772973B2 (en) | 2008-09-27 | 2014-07-08 | Witricity Corporation | Integrated resonator-shield structures |
| US8461722B2 (en) | 2008-09-27 | 2013-06-11 | Witricity Corporation | Wireless energy transfer using conducting surfaces to shape field and improve K |
| US9396867B2 (en) | 2008-09-27 | 2016-07-19 | Witricity Corporation | Integrated resonator-shield structures |
| US8933594B2 (en) | 2008-09-27 | 2015-01-13 | Witricity Corporation | Wireless energy transfer for vehicles |
| US9035499B2 (en) | 2008-09-27 | 2015-05-19 | Witricity Corporation | Wireless energy transfer for photovoltaic panels |
| US9318922B2 (en) | 2008-09-27 | 2016-04-19 | Witricity Corporation | Mechanically removable wireless power vehicle seat assembly |
| US8686598B2 (en) | 2008-09-27 | 2014-04-01 | Witricity Corporation | Wireless energy transfer for supplying power and heat to a device |
| US9577436B2 (en) | 2008-09-27 | 2017-02-21 | Witricity Corporation | Wireless energy transfer for implantable devices |
| US9744858B2 (en) | 2008-09-27 | 2017-08-29 | Witricity Corporation | System for wireless energy distribution in a vehicle |
| US20120112536A1 (en) * | 2008-09-27 | 2012-05-10 | Aristeidis Karalis | Wireless energy transfer for vehicles |
| US8441154B2 (en) | 2008-09-27 | 2013-05-14 | Witricity Corporation | Multi-resonator wireless energy transfer for exterior lighting |
| US8937408B2 (en) | 2008-09-27 | 2015-01-20 | Witricity Corporation | Wireless energy transfer for medical applications |
| US9246336B2 (en) | 2008-09-27 | 2016-01-26 | Witricity Corporation | Resonator optimizations for wireless energy transfer |
| US9544683B2 (en) | 2008-09-27 | 2017-01-10 | Witricity Corporation | Wirelessly powered audio devices |
| US9601266B2 (en) | 2008-09-27 | 2017-03-21 | Witricity Corporation | Multiple connected resonators with a single electronic circuit |
| US8569914B2 (en) | 2008-09-27 | 2013-10-29 | Witricity Corporation | Wireless energy transfer using object positioning for improved k |
| US9065423B2 (en) | 2008-09-27 | 2015-06-23 | Witricity Corporation | Wireless energy distribution system |
| US8643326B2 (en) * | 2008-09-27 | 2014-02-04 | Witricity Corporation | Tunable wireless energy transfer systems |
| US8947186B2 (en) | 2008-09-27 | 2015-02-03 | Witricity Corporation | Wireless energy transfer resonator thermal management |
| US8400017B2 (en) | 2008-09-27 | 2013-03-19 | Witricity Corporation | Wireless energy transfer for computer peripheral applications |
| US8957549B2 (en) | 2008-09-27 | 2015-02-17 | Witricity Corporation | Tunable wireless energy transfer for in-vehicle applications |
| US8692410B2 (en) * | 2008-09-27 | 2014-04-08 | Witricity Corporation | Wireless energy transfer with frequency hopping |
| US8963488B2 (en) | 2008-09-27 | 2015-02-24 | Witricity Corporation | Position insensitive wireless charging |
| US8362651B2 (en) * | 2008-10-01 | 2013-01-29 | Massachusetts Institute Of Technology | Efficient near-field wireless energy transfer using adiabatic system variations |
| US8497658B2 (en) | 2009-01-22 | 2013-07-30 | Qualcomm Incorporated | Adaptive power control for wireless charging of devices |
| WO2010118191A1 (en) | 2009-04-08 | 2010-10-14 | Access Business Group International Llc | Selectable coil array |
| US8954001B2 (en) | 2009-07-21 | 2015-02-10 | Qualcomm Incorporated | Power bridge circuit for bi-directional wireless power transmission |
| JP5434330B2 (ja) | 2009-07-22 | 2014-03-05 | ソニー株式会社 | 電力受信装置、電力伝送システム、充電装置および電力伝送方法 |
| KR101799606B1 (ko) * | 2009-07-24 | 2017-11-20 | 액세스 비지니스 그룹 인터내셔날 엘엘씨 | 무선 전력 서플라이 |
| US8579789B1 (en) | 2009-09-23 | 2013-11-12 | Leviticus Cardio Ltd. | Endovascular ventricular assist device, using the mathematical objective and principle of superposition |
| JP2011083078A (ja) * | 2009-10-05 | 2011-04-21 | Sony Corp | 送電装置、受電装置、および電力伝送システム |
| KR20110062841A (ko) * | 2009-12-04 | 2011-06-10 | 한국전자통신연구원 | 무선 전력 전송 장치 |
| KR20110067612A (ko) * | 2009-12-14 | 2011-06-22 | 삼성전자주식회사 | 공진 전력 발생 장치 |
| US20110156487A1 (en) * | 2009-12-30 | 2011-06-30 | Koon Hoo Teo | Wireless Energy Transfer with Energy Relays |
| JP2011142724A (ja) * | 2010-01-06 | 2011-07-21 | Hitachi Ltd | 非接触電力伝送装置及びそのための近接場アンテナ |
| US8878394B2 (en) * | 2010-02-25 | 2014-11-04 | Qualcomm Incorporated | Wireless power receiver |
| US8779745B2 (en) * | 2010-03-01 | 2014-07-15 | National Semiconductor Corporation | Three-quarter bridge power converters for wireless power transfer applications and other applications |
| CA2792256A1 (en) * | 2010-03-10 | 2011-09-15 | Witricity Corporation | Wireless energy transfer converters |
| WO2011112909A2 (en) * | 2010-03-12 | 2011-09-15 | Sunrise Micro Devices, Inc. | Power efficient communications |
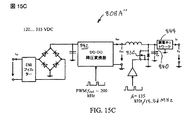
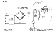
| US8750007B2 (en) * | 2010-03-23 | 2014-06-10 | Qualcomm Incorporated | Power conversion |
| CN103779973B (zh) * | 2010-04-07 | 2016-03-16 | 松下知识产权经营株式会社 | 无线电力传输系统及用于该无线电力传输系统中的电感器 |
| CN101924399B (zh) * | 2010-04-12 | 2012-09-05 | 武汉大学 | 基于磁共振的中继无线供电系统 |
| BR112012027696A2 (pt) | 2010-04-30 | 2016-08-16 | Fujitsu Ltd | aparelho de recepção de potência e método de recebimento de potência |
| KR101744162B1 (ko) * | 2010-05-03 | 2017-06-07 | 삼성전자주식회사 | 소스-타겟 구조의 매칭을 제어하는 장치 및 방법 |
| CN102439820B (zh) * | 2010-05-03 | 2016-08-03 | 松下知识产权经营株式会社 | 发电装置、发电系统及无线电力传输装置 |
| US9479225B2 (en) * | 2010-05-13 | 2016-10-25 | Qualcomm Incorporated | Resonance detection and control within a wireless power system |
| US8934857B2 (en) * | 2010-05-14 | 2015-01-13 | Qualcomm Incorporated | Controlling field distribution of a wireless power transmitter |
| CN102947124B (zh) * | 2010-05-19 | 2017-02-08 | 高通股份有限公司 | 自适应无线能量传送系统 |
| US11791647B2 (en) | 2010-05-21 | 2023-10-17 | Qnovo Inc. | Method and circuitry to adaptively charge a battery/cell |
| US11397216B2 (en) | 2010-05-21 | 2022-07-26 | Qnovo Inc. | Battery adaptive charging using a battery model |
| US10389156B2 (en) | 2010-05-21 | 2019-08-20 | Qnovo Inc. | Method and circuitry to adaptively charge a battery/cell |
| US12081057B2 (en) | 2010-05-21 | 2024-09-03 | Qnovo Inc. | Method and circuitry to adaptively charge a battery/cell |
| US11397215B2 (en) | 2010-05-21 | 2022-07-26 | Qnovo Inc. | Battery adaptive charging using battery physical phenomena |
| US9142994B2 (en) | 2012-09-25 | 2015-09-22 | Qnovo, Inc. | Method and circuitry to adaptively charge a battery/cell |
| CA2801920A1 (en) | 2010-06-10 | 2011-12-15 | Access Business Group International Llc | Coil configurations for inductive power transfer |
| WO2011156768A2 (en) | 2010-06-11 | 2011-12-15 | Mojo Mobility, Inc. | System for wireless power transfer that supports interoperability, and multi-pole magnets for use therewith |
| JP5736991B2 (ja) * | 2010-07-22 | 2015-06-17 | Tdk株式会社 | ワイヤレス給電装置およびワイヤレス電力伝送システム |
| JP5640530B2 (ja) * | 2010-07-30 | 2014-12-17 | ソニー株式会社 | ワイヤレス給電システム |
| JP5664015B2 (ja) | 2010-08-23 | 2015-02-04 | Tdk株式会社 | コイル装置及び非接触電力伝送装置 |
| EP2611039A4 (en) * | 2010-08-24 | 2016-11-02 | Sony Corp | SENDING DEVICE, RECEPTION DEVICE AND COMMUNICATION SYSTEM |
| KR101358280B1 (ko) * | 2010-08-26 | 2014-02-12 | 삼성전자주식회사 | 전력 전송 효율을 고려한 공진 전력 전송 시스템 |
| JP2012049434A (ja) * | 2010-08-30 | 2012-03-08 | Sony Corp | 電子部品、給電装置、受電装置、およびワイヤレス給電システム |
| US9602168B2 (en) | 2010-08-31 | 2017-03-21 | Witricity Corporation | Communication in wireless energy transfer systems |
| KR101314145B1 (ko) * | 2010-09-02 | 2013-10-04 | 삼성전자주식회사 | 공진 전력 전송 시스템의 전력 변환기 및 공진 전력 전송 장치 |
| KR101830649B1 (ko) * | 2010-09-10 | 2018-02-23 | 삼성전자주식회사 | 무선 전력 전송 장치, 무선 충전 장치 및 이를 이용한 무선 충전 시스템 |
| KR101730406B1 (ko) | 2010-09-15 | 2017-04-26 | 삼성전자주식회사 | 무선 전력 전송 및 수신 장치 |
| US8952571B2 (en) | 2010-11-05 | 2015-02-10 | Intel Corporation | Extendable wireless power delivery for small devices |
| KR101366013B1 (ko) * | 2010-12-20 | 2014-02-24 | 삼성전자주식회사 | 고효율 정류기, 상기 정류기를 포함하는 무선전력 수신 장치 |
| US10115520B2 (en) | 2011-01-18 | 2018-10-30 | Mojo Mobility, Inc. | Systems and method for wireless power transfer |
| US11342777B2 (en) | 2011-01-18 | 2022-05-24 | Mojo Mobility, Inc. | Powering and/or charging with more than one protocol |
| US9496732B2 (en) | 2011-01-18 | 2016-11-15 | Mojo Mobility, Inc. | Systems and methods for wireless power transfer |
| US9178369B2 (en) | 2011-01-18 | 2015-11-03 | Mojo Mobility, Inc. | Systems and methods for providing positioning freedom, and support of different voltages, protocols, and power levels in a wireless power system |
| KR101405878B1 (ko) * | 2011-01-26 | 2014-06-12 | 가부시키가이샤 무라타 세이사쿠쇼 | 전력 전송 시스템 |
| WO2012116054A2 (en) * | 2011-02-22 | 2012-08-30 | Steele Daniel W | Wireless automated vehicle energizing system |
| US20120223593A1 (en) * | 2011-03-03 | 2012-09-06 | Semiconductor Energy Laboratory Co., Ltd. | Power receiving device and wireless power supply system |
| US9094055B2 (en) * | 2011-04-19 | 2015-07-28 | Qualcomm Incorporated | Wireless power transmitter tuning |
| US9620995B2 (en) * | 2011-04-26 | 2017-04-11 | Panasonic Intellectual Property Management Co., Ltd. | Wireless power transmission system |
| JP5794563B2 (ja) * | 2011-05-11 | 2015-10-14 | 一般財団法人電力中央研究所 | 非接触給電システム |
| JP5895363B2 (ja) * | 2011-05-13 | 2016-03-30 | ソニー株式会社 | 電力供給制御装置及びその制御方法、並びに電力供給制御システム |
| US10326309B2 (en) * | 2011-05-13 | 2019-06-18 | Samsung Electronics Co., Ltd | Wireless power system comprising power transmitter and power receiver and method for receiving and transmitting power of the apparatuses |
| KR101322843B1 (ko) | 2011-05-17 | 2013-10-28 | 삼성전자주식회사 | 전력 수신단을 사용한 무선 전력 전송을 위한 장치 및 방법 |
| KR20120135873A (ko) * | 2011-06-07 | 2012-12-17 | 삼성전자주식회사 | 무선 전력 전송 장치 및 시스템 |
| CN102222967B (zh) * | 2011-06-17 | 2013-09-18 | 武汉中原电子集团有限公司 | 一种自适应无线充电系统 |
| KR101832331B1 (ko) * | 2011-06-29 | 2018-02-26 | 엘지전자 주식회사 | 장치들 간의 무선 전력 전송 및 통신 |
| JP5071574B1 (ja) | 2011-07-05 | 2012-11-14 | ソニー株式会社 | 検知装置、受電装置、非接触電力伝送システム及び検知方法 |
| US9948145B2 (en) | 2011-07-08 | 2018-04-17 | Witricity Corporation | Wireless power transfer for a seat-vest-helmet system |
| KR20140053282A (ko) | 2011-08-04 | 2014-05-07 | 위트리시티 코포레이션 | 튜닝 가능한 무선 전력 아키텍처 |
| EP2745379B1 (en) * | 2011-08-16 | 2019-10-16 | Signify Holding B.V. | A capacitive contactless powering system |
| US9343224B2 (en) | 2011-08-19 | 2016-05-17 | Leviticus Cardio Ltd. | Coplanar energy transfer |
| US9793579B2 (en) | 2013-11-08 | 2017-10-17 | Leviticus Cardio Ltd. | Batteries for use in implantable medical devices |
| US9642958B2 (en) | 2011-08-19 | 2017-05-09 | Leviticus Cardio Ltd. | Coplanar wireless energy transfer |
| US10543303B2 (en) | 2013-11-08 | 2020-01-28 | Leviticus Cardio Ltd. | Batteries for use in implantable medical devices |
| US8979728B2 (en) | 2011-08-22 | 2015-03-17 | Leviticus Cardio Ltd. | Safe energy transfer |
| KR101844427B1 (ko) * | 2011-09-02 | 2018-04-03 | 삼성전자주식회사 | 무선 전력을 이용한 통신 시스템 |
| JP2013055835A (ja) * | 2011-09-06 | 2013-03-21 | Sony Corp | 給電装置、電子機器および給電システム |
| KR102010943B1 (ko) | 2011-09-09 | 2019-08-14 | 위트리시티 코포레이션 | 무선 에너지 전송 시스템에서의 이물질 검출 |
| US20130062966A1 (en) | 2011-09-12 | 2013-03-14 | Witricity Corporation | Reconfigurable control architectures and algorithms for electric vehicle wireless energy transfer systems |
| US9479227B2 (en) * | 2011-09-13 | 2016-10-25 | Samsung Electronics Co., Ltd. | Wireless electromagnetic receiver and wireless power transfer system |
| US9509179B2 (en) * | 2011-09-13 | 2016-11-29 | Samsung Electronics Co., Ltd. | Wireless electromagnetic receiver and wireless power transfer system |
| US9812902B2 (en) * | 2011-09-13 | 2017-11-07 | Samsung Electronics Co., Ltd. | Wireless electromagnetic receiver and wireless power transfer system |
| US9577713B2 (en) | 2011-09-29 | 2017-02-21 | Konica Minolta Laboratory U.S.A., Inc. | Method and system for aligning conductors for capacitive wireless power transmission |
| US8736114B2 (en) | 2011-09-29 | 2014-05-27 | Konica Minolta Laboratory U.S.A., Inc. | Method and system for aligning conductors for capacitive wireless power transmission |
| US8645481B2 (en) | 2011-10-05 | 2014-02-04 | Blackberry Limited | Wireless charging and communication with wireless communication devices in a communication system |
| US9419444B2 (en) | 2011-10-05 | 2016-08-16 | Blackberry Limited | Wireless charging and communication with power source devices and power charge devices in a communication system |
| US9318257B2 (en) | 2011-10-18 | 2016-04-19 | Witricity Corporation | Wireless energy transfer for packaging |
| KR101818773B1 (ko) * | 2011-10-24 | 2018-02-22 | 삼성전자주식회사 | 공진 방식 무선 충전 시스템용 수신 전력 변환 장치 |
| HK1200602A1 (en) | 2011-11-04 | 2015-08-07 | WiTricity公司 | Wireless energy transfer modeling tool |
| US9673872B2 (en) * | 2011-11-15 | 2017-06-06 | Qualcomm Incorporated | Multi-band transmit antenna |
| JP6088234B2 (ja) * | 2011-12-23 | 2017-03-01 | 株式会社半導体エネルギー研究所 | 受電装置、無線給電システム |
| TWI577104B (zh) | 2012-01-06 | 2017-04-01 | 通路實業集團國際公司 | 無線電力接收系統及其方法 |
| KR20130081620A (ko) * | 2012-01-09 | 2013-07-17 | 주식회사 케이더파워 | 무선 충전 시스템용 수신기 |
| JP5696058B2 (ja) * | 2012-01-13 | 2015-04-08 | 株式会社東芝 | 受電装置、送電装置および制御装置 |
| CN104247286B (zh) * | 2012-01-13 | 2017-03-08 | 皇家飞利浦有限公司 | 无线对接链路预算优化系统 |
| EP2806532B1 (en) | 2012-01-18 | 2020-06-17 | Furukawa Electric Co., Ltd. | Wireless power transmission system, power transmission device, and power reception device |
| US9496731B2 (en) | 2012-01-20 | 2016-11-15 | Samsung Electronics Co., Ltd | Apparatus and method for transmitting wireless power by using resonant coupling and system for the same |
| EP2807663A4 (en) * | 2012-01-23 | 2015-06-24 | Univ Utah State | DOUBLE LATERAL CONTROL FOR INDUCTIVE POWER TRANSMISSION |
| JP5826864B2 (ja) * | 2012-01-26 | 2015-12-02 | パイオニア株式会社 | 電力伝送装置及び電力伝送方法 |
| JP2015508987A (ja) | 2012-01-26 | 2015-03-23 | ワイトリシティ コーポレーションWitricity Corporation | 減少した場を有する無線エネルギー伝送 |
| US8933589B2 (en) | 2012-02-07 | 2015-01-13 | The Gillette Company | Wireless power transfer using separately tunable resonators |
| US9225391B2 (en) | 2012-03-19 | 2015-12-29 | Lg Innotek Co., Ltd. | Wireless power transmitting apparatus and method thereof |
| KR101349557B1 (ko) | 2012-03-19 | 2014-01-10 | 엘지이노텍 주식회사 | 무선전력 수신장치 및 무선전력 전달 방법 |
| US20130271069A1 (en) | 2012-03-21 | 2013-10-17 | Mojo Mobility, Inc. | Systems and methods for wireless power transfer |
| US9722447B2 (en) * | 2012-03-21 | 2017-08-01 | Mojo Mobility, Inc. | System and method for charging or powering devices, such as robots, electric vehicles, or other mobile devices or equipment |
| KR101844422B1 (ko) | 2012-04-19 | 2018-04-03 | 삼성전자주식회사 | 무선 에너지 전송 장치 및 방법, 무선 에너지 수신 장치 |
| US9490648B2 (en) * | 2012-04-30 | 2016-11-08 | Hewlett-Packard Development Company, L.P. | Alternating current direct current adapter with wireless charging |
| US9343922B2 (en) | 2012-06-27 | 2016-05-17 | Witricity Corporation | Wireless energy transfer for rechargeable batteries |
| US9824815B2 (en) | 2013-05-10 | 2017-11-21 | Energous Corporation | Wireless charging and powering of healthcare gadgets and sensors |
| US9876379B1 (en) | 2013-07-11 | 2018-01-23 | Energous Corporation | Wireless charging and powering of electronic devices in a vehicle |
| US9843201B1 (en) | 2012-07-06 | 2017-12-12 | Energous Corporation | Wireless power transmitter that selects antenna sets for transmitting wireless power to a receiver based on location of the receiver, and methods of use thereof |
| US10965164B2 (en) | 2012-07-06 | 2021-03-30 | Energous Corporation | Systems and methods of wirelessly delivering power to a receiver device |
| US10038337B1 (en) | 2013-09-16 | 2018-07-31 | Energous Corporation | Wireless power supply for rescue devices |
| US10211674B1 (en) | 2013-06-12 | 2019-02-19 | Energous Corporation | Wireless charging using selected reflectors |
| US10206185B2 (en) | 2013-05-10 | 2019-02-12 | Energous Corporation | System and methods for wireless power transmission to an electronic device in accordance with user-defined restrictions |
| US10063105B2 (en) | 2013-07-11 | 2018-08-28 | Energous Corporation | Proximity transmitters for wireless power charging systems |
| US9912199B2 (en) | 2012-07-06 | 2018-03-06 | Energous Corporation | Receivers for wireless power transmission |
| US9252628B2 (en) | 2013-05-10 | 2016-02-02 | Energous Corporation | Laptop computer as a transmitter for wireless charging |
| US10128699B2 (en) | 2014-07-14 | 2018-11-13 | Energous Corporation | Systems and methods of providing wireless power using receiver device sensor inputs |
| US10063106B2 (en) | 2014-05-23 | 2018-08-28 | Energous Corporation | System and method for a self-system analysis in a wireless power transmission network |
| US10103582B2 (en) | 2012-07-06 | 2018-10-16 | Energous Corporation | Transmitters for wireless power transmission |
| US9793758B2 (en) | 2014-05-23 | 2017-10-17 | Energous Corporation | Enhanced transmitter using frequency control for wireless power transmission |
| US10128693B2 (en) | 2014-07-14 | 2018-11-13 | Energous Corporation | System and method for providing health safety in a wireless power transmission system |
| US10124754B1 (en) | 2013-07-19 | 2018-11-13 | Energous Corporation | Wireless charging and powering of electronic sensors in a vehicle |
| US10090886B1 (en) | 2014-07-14 | 2018-10-02 | Energous Corporation | System and method for enabling automatic charging schedules in a wireless power network to one or more devices |
| US10218227B2 (en) | 2014-05-07 | 2019-02-26 | Energous Corporation | Compact PIFA antenna |
| US9887739B2 (en) | 2012-07-06 | 2018-02-06 | Energous Corporation | Systems and methods for wireless power transmission by comparing voltage levels associated with power waves transmitted by antennas of a plurality of antennas of a transmitter to determine appropriate phase adjustments for the power waves |
| US9831718B2 (en) | 2013-07-25 | 2017-11-28 | Energous Corporation | TV with integrated wireless power transmitter |
| US10263432B1 (en) | 2013-06-25 | 2019-04-16 | Energous Corporation | Multi-mode transmitter with an antenna array for delivering wireless power and providing Wi-Fi access |
| US9143000B2 (en) | 2012-07-06 | 2015-09-22 | Energous Corporation | Portable wireless charging pad |
| US9812890B1 (en) | 2013-07-11 | 2017-11-07 | Energous Corporation | Portable wireless charging pad |
| US9124125B2 (en) | 2013-05-10 | 2015-09-01 | Energous Corporation | Wireless power transmission with selective range |
| US10992187B2 (en) | 2012-07-06 | 2021-04-27 | Energous Corporation | System and methods of using electromagnetic waves to wirelessly deliver power to electronic devices |
| US9853458B1 (en) | 2014-05-07 | 2017-12-26 | Energous Corporation | Systems and methods for device and power receiver pairing |
| US10008889B2 (en) | 2014-08-21 | 2018-06-26 | Energous Corporation | Method for automatically testing the operational status of a wireless power receiver in a wireless power transmission system |
| US20150326143A1 (en) * | 2014-05-07 | 2015-11-12 | Energous Corporation | Synchronous Rectifier Design for Wireless Power Receiver |
| US9882430B1 (en) | 2014-05-07 | 2018-01-30 | Energous Corporation | Cluster management of transmitters in a wireless power transmission system |
| US9843213B2 (en) | 2013-08-06 | 2017-12-12 | Energous Corporation | Social power sharing for mobile devices based on pocket-forming |
| US10063064B1 (en) | 2014-05-23 | 2018-08-28 | Energous Corporation | System and method for generating a power receiver identifier in a wireless power network |
| US9899873B2 (en) | 2014-05-23 | 2018-02-20 | Energous Corporation | System and method for generating a power receiver identifier in a wireless power network |
| US10199849B1 (en) | 2014-08-21 | 2019-02-05 | Energous Corporation | Method for automatically testing the operational status of a wireless power receiver in a wireless power transmission system |
| US9893554B2 (en) | 2014-07-14 | 2018-02-13 | Energous Corporation | System and method for providing health safety in a wireless power transmission system |
| US9966765B1 (en) | 2013-06-25 | 2018-05-08 | Energous Corporation | Multi-mode transmitter |
| US10224982B1 (en) | 2013-07-11 | 2019-03-05 | Energous Corporation | Wireless power transmitters for transmitting wireless power and tracking whether wireless power receivers are within authorized locations |
| US10243414B1 (en) | 2014-05-07 | 2019-03-26 | Energous Corporation | Wearable device with wireless power and payload receiver |
| US9859756B2 (en) | 2012-07-06 | 2018-01-02 | Energous Corporation | Transmittersand methods for adjusting wireless power transmission based on information from receivers |
| US9973021B2 (en) | 2012-07-06 | 2018-05-15 | Energous Corporation | Receivers for wireless power transmission |
| US10270261B2 (en) | 2015-09-16 | 2019-04-23 | Energous Corporation | Systems and methods of object detection in wireless power charging systems |
| US9900057B2 (en) | 2012-07-06 | 2018-02-20 | Energous Corporation | Systems and methods for assigning groups of antenas of a wireless power transmitter to different wireless power receivers, and determining effective phases to use for wirelessly transmitting power using the assigned groups of antennas |
| US9941747B2 (en) | 2014-07-14 | 2018-04-10 | Energous Corporation | System and method for manually selecting and deselecting devices to charge in a wireless power network |
| US9991741B1 (en) | 2014-07-14 | 2018-06-05 | Energous Corporation | System for tracking and reporting status and usage information in a wireless power management system |
| US12057715B2 (en) | 2012-07-06 | 2024-08-06 | Energous Corporation | Systems and methods of wirelessly delivering power to a wireless-power receiver device in response to a change of orientation of the wireless-power receiver device |
| US10211680B2 (en) | 2013-07-19 | 2019-02-19 | Energous Corporation | Method for 3 dimensional pocket-forming |
| US9853692B1 (en) | 2014-05-23 | 2017-12-26 | Energous Corporation | Systems and methods for wireless power transmission |
| US9893768B2 (en) | 2012-07-06 | 2018-02-13 | Energous Corporation | Methodology for multiple pocket-forming |
| US9871398B1 (en) | 2013-07-01 | 2018-01-16 | Energous Corporation | Hybrid charging method for wireless power transmission based on pocket-forming |
| US9954374B1 (en) | 2014-05-23 | 2018-04-24 | Energous Corporation | System and method for self-system analysis for detecting a fault in a wireless power transmission Network |
| US9948135B2 (en) | 2015-09-22 | 2018-04-17 | Energous Corporation | Systems and methods for identifying sensitive objects in a wireless charging transmission field |
| US9876394B1 (en) | 2014-05-07 | 2018-01-23 | Energous Corporation | Boost-charger-boost system for enhanced power delivery |
| US9941754B2 (en) | 2012-07-06 | 2018-04-10 | Energous Corporation | Wireless power transmission with selective range |
| US9891669B2 (en) | 2014-08-21 | 2018-02-13 | Energous Corporation | Systems and methods for a configuration web service to provide configuration of a wireless power transmitter within a wireless power transmission system |
| US9867062B1 (en) | 2014-07-21 | 2018-01-09 | Energous Corporation | System and methods for using a remote server to authorize a receiving device that has requested wireless power and to determine whether another receiving device should request wireless power in a wireless power transmission system |
| US10439448B2 (en) | 2014-08-21 | 2019-10-08 | Energous Corporation | Systems and methods for automatically testing the communication between wireless power transmitter and wireless power receiver |
| US9893555B1 (en) | 2013-10-10 | 2018-02-13 | Energous Corporation | Wireless charging of tools using a toolbox transmitter |
| US11502551B2 (en) | 2012-07-06 | 2022-11-15 | Energous Corporation | Wirelessly charging multiple wireless-power receivers using different subsets of an antenna array to focus energy at different locations |
| US10075008B1 (en) | 2014-07-14 | 2018-09-11 | Energous Corporation | Systems and methods for manually adjusting when receiving electronic devices are scheduled to receive wirelessly delivered power from a wireless power transmitter in a wireless power network |
| US10141768B2 (en) | 2013-06-03 | 2018-11-27 | Energous Corporation | Systems and methods for maximizing wireless power transfer efficiency by instructing a user to change a receiver device's position |
| US10199835B2 (en) | 2015-12-29 | 2019-02-05 | Energous Corporation | Radar motion detection using stepped frequency in wireless power transmission system |
| US10193396B1 (en) | 2014-05-07 | 2019-01-29 | Energous Corporation | Cluster management of transmitters in a wireless power transmission system |
| US9859757B1 (en) | 2013-07-25 | 2018-01-02 | Energous Corporation | Antenna tile arrangements in electronic device enclosures |
| US9825674B1 (en) | 2014-05-23 | 2017-11-21 | Energous Corporation | Enhanced transmitter that selects configurations of antenna elements for performing wireless power transmission and receiving functions |
| US9847677B1 (en) | 2013-10-10 | 2017-12-19 | Energous Corporation | Wireless charging and powering of healthcare gadgets and sensors |
| US9876648B2 (en) | 2014-08-21 | 2018-01-23 | Energous Corporation | System and method to control a wireless power transmission system by configuration of wireless power transmission control parameters |
| US9806564B2 (en) | 2014-05-07 | 2017-10-31 | Energous Corporation | Integrated rectifier and boost converter for wireless power transmission |
| US9787103B1 (en) | 2013-08-06 | 2017-10-10 | Energous Corporation | Systems and methods for wirelessly delivering power to electronic devices that are unable to communicate with a transmitter |
| US9923386B1 (en) | 2012-07-06 | 2018-03-20 | Energous Corporation | Systems and methods for wireless power transmission by modifying a number of antenna elements used to transmit power waves to a receiver |
| US10148097B1 (en) | 2013-11-08 | 2018-12-04 | Energous Corporation | Systems and methods for using a predetermined number of communication channels of a wireless power transmitter to communicate with different wireless power receivers |
| US10050462B1 (en) | 2013-08-06 | 2018-08-14 | Energous Corporation | Social power sharing for mobile devices based on pocket-forming |
| US20150326070A1 (en) | 2014-05-07 | 2015-11-12 | Energous Corporation | Methods and Systems for Maximum Power Point Transfer in Receivers |
| US10090699B1 (en) | 2013-11-01 | 2018-10-02 | Energous Corporation | Wireless powered house |
| US10211682B2 (en) | 2014-05-07 | 2019-02-19 | Energous Corporation | Systems and methods for controlling operation of a transmitter of a wireless power network based on user instructions received from an authenticated computing device powered or charged by a receiver of the wireless power network |
| US9887584B1 (en) | 2014-08-21 | 2018-02-06 | Energous Corporation | Systems and methods for a configuration web service to provide configuration of a wireless power transmitter within a wireless power transmission system |
| US10291066B1 (en) | 2014-05-07 | 2019-05-14 | Energous Corporation | Power transmission control systems and methods |
| US10230266B1 (en) | 2014-02-06 | 2019-03-12 | Energous Corporation | Wireless power receivers that communicate status data indicating wireless power transmission effectiveness with a transmitter using a built-in communications component of a mobile device, and methods of use thereof |
| US20140008993A1 (en) | 2012-07-06 | 2014-01-09 | DvineWave Inc. | Methodology for pocket-forming |
| US9368020B1 (en) | 2013-05-10 | 2016-06-14 | Energous Corporation | Off-premises alert system and method for wireless power receivers in a wireless power network |
| US9847679B2 (en) | 2014-05-07 | 2017-12-19 | Energous Corporation | System and method for controlling communication between wireless power transmitter managers |
| US9906065B2 (en) | 2012-07-06 | 2018-02-27 | Energous Corporation | Systems and methods of transmitting power transmission waves based on signals received at first and second subsets of a transmitter's antenna array |
| US10205239B1 (en) | 2014-05-07 | 2019-02-12 | Energous Corporation | Compact PIFA antenna |
| US10186913B2 (en) | 2012-07-06 | 2019-01-22 | Energous Corporation | System and methods for pocket-forming based on constructive and destructive interferences to power one or more wireless power receivers using a wireless power transmitter including a plurality of antennas |
| US10381880B2 (en) | 2014-07-21 | 2019-08-13 | Energous Corporation | Integrated antenna structure arrays for wireless power transmission |
| US9438045B1 (en) | 2013-05-10 | 2016-09-06 | Energous Corporation | Methods and systems for maximum power point transfer in receivers |
| US10256657B2 (en) | 2015-12-24 | 2019-04-09 | Energous Corporation | Antenna having coaxial structure for near field wireless power charging |
| US9899861B1 (en) | 2013-10-10 | 2018-02-20 | Energous Corporation | Wireless charging methods and systems for game controllers, based on pocket-forming |
| US9939864B1 (en) | 2014-08-21 | 2018-04-10 | Energous Corporation | System and method to control a wireless power transmission system by configuration of wireless power transmission control parameters |
| US10141791B2 (en) | 2014-05-07 | 2018-11-27 | Energous Corporation | Systems and methods for controlling communications during wireless transmission of power using application programming interfaces |
| US9859797B1 (en) | 2014-05-07 | 2018-01-02 | Energous Corporation | Synchronous rectifier design for wireless power receiver |
| US10291055B1 (en) | 2014-12-29 | 2019-05-14 | Energous Corporation | Systems and methods for controlling far-field wireless power transmission based on battery power levels of a receiving device |
| US10223717B1 (en) | 2014-05-23 | 2019-03-05 | Energous Corporation | Systems and methods for payment-based authorization of wireless power transmission service |
| US10224758B2 (en) | 2013-05-10 | 2019-03-05 | Energous Corporation | Wireless powering of electronic devices with selective delivery range |
| US10312715B2 (en) | 2015-09-16 | 2019-06-04 | Energous Corporation | Systems and methods for wireless power charging |
| US10992185B2 (en) | 2012-07-06 | 2021-04-27 | Energous Corporation | Systems and methods of using electromagnetic waves to wirelessly deliver power to game controllers |
| US9941707B1 (en) | 2013-07-19 | 2018-04-10 | Energous Corporation | Home base station for multiple room coverage with multiple transmitters |
| US9882427B2 (en) | 2013-05-10 | 2018-01-30 | Energous Corporation | Wireless power delivery using a base station to control operations of a plurality of wireless power transmitters |
| US9838083B2 (en) | 2014-07-21 | 2017-12-05 | Energous Corporation | Systems and methods for communication with remote management systems |
| US10525181B2 (en) | 2012-07-27 | 2020-01-07 | Tc1 Llc | Resonant power transfer system and method of estimating system state |
| WO2014018973A1 (en) | 2012-07-27 | 2014-01-30 | Thoratec Corporation | Resonant power transmission coils and systems |
| US10383990B2 (en) | 2012-07-27 | 2019-08-20 | Tc1 Llc | Variable capacitor for resonant power transfer systems |
| WO2014018967A1 (en) | 2012-07-27 | 2014-01-30 | Thoratec Corporation | Self-tuning resonant power transfer systems |
| EP4257174A3 (en) | 2012-07-27 | 2023-12-27 | Tc1 Llc | Thermal management for implantable wireless power transfer systems |
| US9805863B2 (en) | 2012-07-27 | 2017-10-31 | Thoratec Corporation | Magnetic power transmission utilizing phased transmitter coil arrays and phased receiver coil arrays |
| US10291067B2 (en) | 2012-07-27 | 2019-05-14 | Tc1 Llc | Computer modeling for resonant power transfer systems |
| WO2014018971A1 (en) | 2012-07-27 | 2014-01-30 | Thoratec Corporation | Resonant power transfer systems with protective algorithm |
| US9287607B2 (en) | 2012-07-31 | 2016-03-15 | Witricity Corporation | Resonator fine tuning |
| US9912197B2 (en) | 2012-08-03 | 2018-03-06 | Mediatek Singapore Pte. Ltd. | Dual-mode wireless power receiver |
| US9859744B2 (en) | 2012-08-03 | 2018-01-02 | Mediatek Singapore Pte. Ltd. | Dual-mode wireless power receiver |
| US10658869B2 (en) | 2012-08-03 | 2020-05-19 | Mediatek Inc. | Multi-mode, multi-standard wireless power transmitter coil assembly |
| GB201215152D0 (en) | 2012-08-24 | 2012-10-10 | Imp Innovations Ltd | Maximising DC to load efficiency for inductive power transfer |
| JP5988210B2 (ja) * | 2012-08-31 | 2016-09-07 | 株式会社エクォス・リサーチ | 電力伝送システム |
| KR102044758B1 (ko) | 2012-09-05 | 2019-11-15 | 르네사스 일렉트로닉스 가부시키가이샤 | 비접촉 충전 장치 및 그것을 이용하는 비접촉 급전 시스템 |
| US9912166B2 (en) | 2012-09-11 | 2018-03-06 | Access Business Group International Llc | Wireless power control |
| US20140080409A1 (en) * | 2012-09-17 | 2014-03-20 | Qualcomm Incorporated | Static tuning of wireless transmitters |
| US9595378B2 (en) | 2012-09-19 | 2017-03-14 | Witricity Corporation | Resonator enclosure |
| CN102891538A (zh) * | 2012-09-20 | 2013-01-23 | 中国科学院自动化研究所 | 巡线机器人无线充电系统 |
| CN105074848B (zh) * | 2012-09-28 | 2018-01-26 | 联发科技(新加坡)私人有限公司 | 谐振无线电源接收器及谐振无线电源系统 |
| WO2014063159A2 (en) | 2012-10-19 | 2014-04-24 | Witricity Corporation | Foreign object detection in wireless energy transfer systems |
| TW201417122A (zh) * | 2012-10-22 | 2014-05-01 | Espower Electronics Inc | 感應耦合電能傳輸與電場耦合電能傳輸兩用線圈 |
| KR101844409B1 (ko) * | 2012-10-23 | 2018-04-03 | 삼성전자주식회사 | 무선 에너지 전송 장치 및 방법, 무선 에너지 전송 시스템 |
| US9166439B2 (en) * | 2012-11-05 | 2015-10-20 | Qualcomm Incorporated | Systems and methods for forward link communication in wireless power systems |
| US9842684B2 (en) | 2012-11-16 | 2017-12-12 | Witricity Corporation | Systems and methods for wireless power system with improved performance and/or ease of use |
| KR102144360B1 (ko) * | 2012-12-05 | 2020-08-13 | 삼성전자주식회사 | 스마트 근거리무선통신 안테나 매칭 네트워크 시스템 및 그것을 포함한 유저 장치 |
| US8845510B2 (en) * | 2012-12-11 | 2014-09-30 | Leviticus Cardio Ltd. | Flexible galvanic primary and non galvanic secondary coils for wireless coplanar energy transfer (CET) |
| US9306419B2 (en) * | 2012-12-27 | 2016-04-05 | Cellco Partnership | Dual mode wireless charging source and sink |
| JP6080158B2 (ja) * | 2013-01-31 | 2017-02-15 | 古河電気工業株式会社 | 無線電力伝送システム |
| CN105051842B (zh) * | 2013-03-14 | 2017-06-23 | 联发科技(新加坡)私人有限公司 | 电磁谐振器及形成电磁谐振器的方法 |
| US9692248B2 (en) * | 2013-03-14 | 2017-06-27 | Blackberry Limited | Positioning aid for wireless energy transfer |
| US10373756B2 (en) | 2013-03-15 | 2019-08-06 | Tc1 Llc | Malleable TETs coil with improved anatomical fit |
| US9680310B2 (en) | 2013-03-15 | 2017-06-13 | Thoratec Corporation | Integrated implantable TETS housing including fins and coil loops |
| JP5888468B2 (ja) * | 2013-03-18 | 2016-03-22 | 株式会社Ihi | 給電装置及び非接触給電システム |
| US9837846B2 (en) | 2013-04-12 | 2017-12-05 | Mojo Mobility, Inc. | System and method for powering or charging receivers or devices having small surface areas or volumes |
| US9461492B1 (en) | 2013-04-19 | 2016-10-04 | Qnovo Inc. | Method and circuitry to adaptively charge a battery/cell using a charge-time parameter |
| US9819230B2 (en) | 2014-05-07 | 2017-11-14 | Energous Corporation | Enhanced receiver for wireless power transmission |
| US9537357B2 (en) | 2013-05-10 | 2017-01-03 | Energous Corporation | Wireless sound charging methods and systems for game controllers, based on pocket-forming |
| US9866279B2 (en) | 2013-05-10 | 2018-01-09 | Energous Corporation | Systems and methods for selecting which power transmitter should deliver wireless power to a receiving device in a wireless power delivery network |
| US9419443B2 (en) | 2013-05-10 | 2016-08-16 | Energous Corporation | Transducer sound arrangement for pocket-forming |
| US9538382B2 (en) | 2013-05-10 | 2017-01-03 | Energous Corporation | System and method for smart registration of wireless power receivers in a wireless power network |
| GB201321267D0 (en) | 2013-12-02 | 2014-01-15 | Imp Innovations Ltd | Inductive power transfer system |
| US10103552B1 (en) | 2013-06-03 | 2018-10-16 | Energous Corporation | Protocols for authenticated wireless power transmission |
| US10003211B1 (en) | 2013-06-17 | 2018-06-19 | Energous Corporation | Battery life of portable electronic devices |
| DE102013212611A1 (de) * | 2013-06-28 | 2014-12-31 | Robert Bosch Gmbh | Induktionsladevorrichtung |
| WO2014207677A1 (en) | 2013-06-28 | 2014-12-31 | UNIVERSITé LAVAL | Smart multicoil inductively-coupled array for wireless power transmission |
| US10021523B2 (en) | 2013-07-11 | 2018-07-10 | Energous Corporation | Proximity transmitters for wireless power charging systems |
| US9979440B1 (en) | 2013-07-25 | 2018-05-22 | Energous Corporation | Antenna tile arrangements configured to operate as one functional unit |
| KR102114402B1 (ko) | 2013-08-07 | 2020-05-25 | 삼성전자주식회사 | 무선 전력 전송 시스템 및 무선 전력 중계 장치 |
| KR102122394B1 (ko) * | 2013-08-08 | 2020-06-15 | 삼성전자주식회사 | 효율적인 전력 분배를 위한 무선 전력 전송 방법 및 장치 |
| EP3039770B1 (en) | 2013-08-14 | 2020-01-22 | WiTricity Corporation | Impedance tuning |
| EP2843790B1 (en) * | 2013-08-30 | 2019-06-19 | Samsung Electro-Mechanics Co., Ltd. | Power supply device |
| FR3010252B1 (fr) * | 2013-08-30 | 2015-08-21 | Continental Automotive France | Dispositif et procede de charge par couplage magnetique bi-mode pour vehicule automobile |
| US9525311B2 (en) | 2013-09-05 | 2016-12-20 | Nirvanalog Inc. | Wireless power transmission in portable communication devices |
| JP6070503B2 (ja) | 2013-10-15 | 2017-02-01 | ソニー株式会社 | 受電装置、受電制御方法、給電システム、および電子機器 |
| EP3069358B1 (en) | 2013-11-11 | 2019-06-12 | Tc1 Llc | Hinged resonant power transfer coil |
| EP3072210B1 (en) | 2013-11-11 | 2023-12-20 | Tc1 Llc | Resonant power transfer systems with communications |
| EP3072211A4 (en) | 2013-11-11 | 2017-07-05 | Thoratec Corporation | Resonant power transfer systems with communications |
| WO2015072015A1 (ja) * | 2013-11-15 | 2015-05-21 | 三菱電機エンジニアリング株式会社 | 高周波電源用整流回路 |
| KR102120955B1 (ko) * | 2013-11-22 | 2020-06-10 | 삼성전자주식회사 | 시간 지연 기법을 이용하여 역전류 누설을 제거하는 역전류 보상 회로 및 능동형 정류기 |
| US20160308398A1 (en) * | 2013-12-10 | 2016-10-20 | Mitsubishi Electric Engineering Company, Limited | Rectifying circuit for high-frequency power supply |
| WO2015097801A1 (ja) * | 2013-12-26 | 2015-07-02 | 三菱電機エンジニアリング株式会社 | 高周波電源用整流回路 |
| US10193392B2 (en) | 2014-01-08 | 2019-01-29 | Lg Innotek Co., Ltd. | Wireless power transfer device and wireless power transfer system |
| US9973039B2 (en) * | 2014-01-20 | 2018-05-15 | Stmicroelectronics S.R.L. | Power receiver, wireless power system and related method of transmitting information with a power receiver |
| US9780573B2 (en) | 2014-02-03 | 2017-10-03 | Witricity Corporation | Wirelessly charged battery system |
| US9935482B1 (en) | 2014-02-06 | 2018-04-03 | Energous Corporation | Wireless power transmitters that transmit at determined times based on power availability and consumption at a receiving mobile device |
| US10075017B2 (en) | 2014-02-06 | 2018-09-11 | Energous Corporation | External or internal wireless power receiver with spaced-apart antenna elements for charging or powering mobile devices using wirelessly delivered power |
| US9952266B2 (en) | 2014-02-14 | 2018-04-24 | Witricity Corporation | Object detection for wireless energy transfer systems |
| WO2015134871A1 (en) | 2014-03-06 | 2015-09-11 | Thoratec Corporation | Electrical connectors for implantable devices |
| US9977452B2 (en) | 2014-03-07 | 2018-05-22 | Board Of Trustees Of The University Of Alabama | Multi-input or multi-output energy system architectures and control methods |
| JP6588190B2 (ja) * | 2014-03-28 | 2019-10-09 | 株式会社デンソー | 無線給電装置 |
| WO2015161121A1 (en) * | 2014-04-16 | 2015-10-22 | Integrated Device Technology, Inc. | High efficiency wireless power system |
| US9892849B2 (en) | 2014-04-17 | 2018-02-13 | Witricity Corporation | Wireless power transfer systems with shield openings |
| US9842687B2 (en) | 2014-04-17 | 2017-12-12 | Witricity Corporation | Wireless power transfer systems with shaped magnetic components |
| US9966784B2 (en) | 2014-06-03 | 2018-05-08 | Energous Corporation | Systems and methods for extending battery life of portable electronic devices charged by sound |
| US10158257B2 (en) | 2014-05-01 | 2018-12-18 | Energous Corporation | System and methods for using sound waves to wirelessly deliver power to electronic devices |
| US9837860B2 (en) | 2014-05-05 | 2017-12-05 | Witricity Corporation | Wireless power transmission systems for elevators |
| US10153653B1 (en) | 2014-05-07 | 2018-12-11 | Energous Corporation | Systems and methods for using application programming interfaces to control communications between a transmitter and a receiver |
| US10170917B1 (en) | 2014-05-07 | 2019-01-01 | Energous Corporation | Systems and methods for managing and controlling a wireless power network by establishing time intervals during which receivers communicate with a transmitter |
| US10018744B2 (en) | 2014-05-07 | 2018-07-10 | Witricity Corporation | Foreign object detection in wireless energy transfer systems |
| US9973008B1 (en) | 2014-05-07 | 2018-05-15 | Energous Corporation | Wireless power receiver with boost converters directly coupled to a storage element |
| US10153645B1 (en) | 2014-05-07 | 2018-12-11 | Energous Corporation | Systems and methods for designating a master power transmitter in a cluster of wireless power transmitters |
| US9800172B1 (en) | 2014-05-07 | 2017-10-24 | Energous Corporation | Integrated rectifier and boost converter for boosting voltage received from wireless power transmission waves |
| US9876536B1 (en) | 2014-05-23 | 2018-01-23 | Energous Corporation | Systems and methods for assigning groups of antennas to transmit wireless power to different wireless power receivers |
| US10135305B2 (en) | 2014-06-10 | 2018-11-20 | Mediatek Singapore Pte. Ltd. | Multi-mode wireless power transmitter |
| WO2015196123A2 (en) | 2014-06-20 | 2015-12-23 | Witricity Corporation | Wireless power transfer systems for surfaces |
| US10574079B1 (en) * | 2014-06-20 | 2020-02-25 | Qnovo Inc. | Wireless charging techniques and circuitry for a battery |
| US10574091B2 (en) | 2014-07-08 | 2020-02-25 | Witricity Corporation | Enclosures for high power wireless power transfer systems |
| JP6518316B2 (ja) | 2014-07-08 | 2019-05-22 | ワイトリシティ コーポレーションWitricity Corporation | 無線電力伝送システムにおける共振器の均衡化 |
| US9871301B2 (en) | 2014-07-21 | 2018-01-16 | Energous Corporation | Integrated miniature PIFA with artificial magnetic conductor metamaterials |
| US10116143B1 (en) | 2014-07-21 | 2018-10-30 | Energous Corporation | Integrated antenna arrays for wireless power transmission |
| US10068703B1 (en) | 2014-07-21 | 2018-09-04 | Energous Corporation | Integrated miniature PIFA with artificial magnetic conductor metamaterials |
| US9813041B1 (en) | 2014-07-31 | 2017-11-07 | Apple Inc. | Automatic boost control for resonant coupled coils |
| KR101530491B1 (ko) * | 2014-08-18 | 2015-06-22 | 숭실대학교산학협력단 | 칩 간 무선 전송을 위한 무선 칩 |
| US9965009B1 (en) | 2014-08-21 | 2018-05-08 | Energous Corporation | Systems and methods for assigning a power receiver to individual power transmitters based on location of the power receiver |
| US9917477B1 (en) | 2014-08-21 | 2018-03-13 | Energous Corporation | Systems and methods for automatically testing the communication between power transmitter and wireless receiver |
| US10186760B2 (en) | 2014-09-22 | 2019-01-22 | Tc1 Llc | Antenna designs for communication between a wirelessly powered implant to an external device outside the body |
| US9583874B2 (en) | 2014-10-06 | 2017-02-28 | Thoratec Corporation | Multiaxial connector for implantable devices |
| US10122415B2 (en) | 2014-12-27 | 2018-11-06 | Energous Corporation | Systems and methods for assigning a set of antennas of a wireless power transmitter to a wireless power receiver based on a location of the wireless power receiver |
| US9843217B2 (en) | 2015-01-05 | 2017-12-12 | Witricity Corporation | Wireless energy transfer for wearables |
| US9829522B2 (en) * | 2015-01-27 | 2017-11-28 | Qualcomm Incorporated | Method and apparatus for tuning a resistance and reactance of a wireless power transmitter testing unit |
| US9893535B2 (en) | 2015-02-13 | 2018-02-13 | Energous Corporation | Systems and methods for determining optimal charging positions to maximize efficiency of power received from wirelessly delivered sound wave energy |
| US9711972B2 (en) | 2015-03-27 | 2017-07-18 | Qualcomm Incorporated | Auxiliary receiver coil to adjust receiver voltage and reactance |
| WO2016164790A1 (en) * | 2015-04-10 | 2016-10-13 | Ossia Inc. | Wireless power transceivers for supplementing wireless power delivery and extending range |
| US10193397B2 (en) | 2015-04-10 | 2019-01-29 | Ossia Inc. | Establishing connections with chargers in multi-charger wireless power delivery environments |
| US10079494B2 (en) | 2015-04-10 | 2018-09-18 | Ossia Inc. | Removably attachable portable device apparatus with integrated wireless power receiving facilities |
| US10825417B2 (en) | 2015-04-10 | 2020-11-03 | Ossia Inc. | Wirelessly powered electronic display apparatuses |
| US10177607B2 (en) | 2015-04-10 | 2019-01-08 | Ossia Inc. | Techniques for delivering retrodirective wireless power |
| US10559971B2 (en) | 2015-04-10 | 2020-02-11 | Ossia Inc. | Wirelessly chargeable battery apparatus |
| US9971015B2 (en) | 2015-04-10 | 2018-05-15 | Ossia Inc. | Techniques for imaging wireless power delivery environments and tracking objects therein |
| JP6252542B2 (ja) * | 2015-04-21 | 2017-12-27 | 株式会社デンソー | 終端装置及び無線給電システム |
| KR102353272B1 (ko) | 2015-06-10 | 2022-01-19 | 삼성전자주식회사 | 무선 전력 송수신기 |
| US10084321B2 (en) | 2015-07-02 | 2018-09-25 | Qualcomm Incorporated | Controlling field distribution of a wireless power transmitter |
| CN106477436B (zh) | 2015-08-25 | 2019-11-12 | 奥的斯电梯公司 | 具有无线电力传输系统的机电式推进系统 |
| US10148126B2 (en) | 2015-08-31 | 2018-12-04 | Tc1 Llc | Wireless energy transfer system and wearables |
| CN105186714A (zh) * | 2015-09-10 | 2015-12-23 | 胡江浩 | 一种低功率无线充电电路拓扑结构 |
| US9906275B2 (en) | 2015-09-15 | 2018-02-27 | Energous Corporation | Identifying receivers in a wireless charging transmission field |
| US10523033B2 (en) | 2015-09-15 | 2019-12-31 | Energous Corporation | Receiver devices configured to determine location within a transmission field |
| US12283828B2 (en) | 2015-09-15 | 2025-04-22 | Energous Corporation | Receiver devices configured to determine location within a transmission field |
| US11710321B2 (en) | 2015-09-16 | 2023-07-25 | Energous Corporation | Systems and methods of object detection in wireless power charging systems |
| US10211685B2 (en) | 2015-09-16 | 2019-02-19 | Energous Corporation | Systems and methods for real or near real time wireless communications between a wireless power transmitter and a wireless power receiver |
| US10158259B1 (en) | 2015-09-16 | 2018-12-18 | Energous Corporation | Systems and methods for identifying receivers in a transmission field by transmitting exploratory power waves towards different segments of a transmission field |
| US9941752B2 (en) | 2015-09-16 | 2018-04-10 | Energous Corporation | Systems and methods of object detection in wireless power charging systems |
| US9893538B1 (en) | 2015-09-16 | 2018-02-13 | Energous Corporation | Systems and methods of object detection in wireless power charging systems |
| US10008875B1 (en) | 2015-09-16 | 2018-06-26 | Energous Corporation | Wireless power transmitter configured to transmit power waves to a predicted location of a moving wireless power receiver |
| US9871387B1 (en) | 2015-09-16 | 2018-01-16 | Energous Corporation | Systems and methods of object detection using one or more video cameras in wireless power charging systems |
| US10778041B2 (en) | 2015-09-16 | 2020-09-15 | Energous Corporation | Systems and methods for generating power waves in a wireless power transmission system |
| US10199850B2 (en) | 2015-09-16 | 2019-02-05 | Energous Corporation | Systems and methods for wirelessly transmitting power from a transmitter to a receiver by determining refined locations of the receiver in a segmented transmission field associated with the transmitter |
| US10186893B2 (en) | 2015-09-16 | 2019-01-22 | Energous Corporation | Systems and methods for real time or near real time wireless communications between a wireless power transmitter and a wireless power receiver |
| US10135294B1 (en) | 2015-09-22 | 2018-11-20 | Energous Corporation | Systems and methods for preconfiguring transmission devices for power wave transmissions based on location data of one or more receivers |
| US10128686B1 (en) | 2015-09-22 | 2018-11-13 | Energous Corporation | Systems and methods for identifying receiver locations using sensor technologies |
| US10020678B1 (en) | 2015-09-22 | 2018-07-10 | Energous Corporation | Systems and methods for selecting antennas to generate and transmit power transmission waves |
| US10027168B2 (en) | 2015-09-22 | 2018-07-17 | Energous Corporation | Systems and methods for generating and transmitting wireless power transmission waves using antennas having a spacing that is selected by the transmitter |
| US10135295B2 (en) | 2015-09-22 | 2018-11-20 | Energous Corporation | Systems and methods for nullifying energy levels for wireless power transmission waves |
| US10153660B1 (en) | 2015-09-22 | 2018-12-11 | Energous Corporation | Systems and methods for preconfiguring sensor data for wireless charging systems |
| US10050470B1 (en) | 2015-09-22 | 2018-08-14 | Energous Corporation | Wireless power transmission device having antennas oriented in three dimensions |
| US10033222B1 (en) | 2015-09-22 | 2018-07-24 | Energous Corporation | Systems and methods for determining and generating a waveform for wireless power transmission waves |
| US10284015B2 (en) * | 2015-10-01 | 2019-05-07 | Integrated Device Technology, Inc. | Wireless power transmitter |
| WO2017062647A1 (en) | 2015-10-06 | 2017-04-13 | Witricity Corporation | Rfid tag and transponder detection in wireless energy transfer systems |
| US10177604B2 (en) | 2015-10-07 | 2019-01-08 | Tc1 Llc | Resonant power transfer systems having efficiency optimization based on receiver impedance |
| US10734717B2 (en) | 2015-10-13 | 2020-08-04 | Energous Corporation | 3D ceramic mold antenna |
| US10333332B1 (en) | 2015-10-13 | 2019-06-25 | Energous Corporation | Cross-polarized dipole antenna |
| JP2018538517A (ja) | 2015-10-14 | 2018-12-27 | ワイトリシティ コーポレーションWitricity Corporation | 無線エネルギー伝送システムにおける位相及び振幅の検出 |
| KR20180069034A (ko) * | 2015-10-15 | 2018-06-22 | 오시아 인크. | 다중 경로 무선 전력 전달 환경에서 펄싱된 전송의 포커싱 |
| WO2017070227A1 (en) | 2015-10-19 | 2017-04-27 | Witricity Corporation | Foreign object detection in wireless energy transfer systems |
| US10141788B2 (en) | 2015-10-22 | 2018-11-27 | Witricity Corporation | Dynamic tuning in wireless energy transfer systems |
| US9899744B1 (en) | 2015-10-28 | 2018-02-20 | Energous Corporation | Antenna for wireless charging systems |
| US9853485B2 (en) | 2015-10-28 | 2017-12-26 | Energous Corporation | Antenna for wireless charging systems |
| US10135112B1 (en) | 2015-11-02 | 2018-11-20 | Energous Corporation | 3D antenna mount |
| US10027180B1 (en) | 2015-11-02 | 2018-07-17 | Energous Corporation | 3D triple linear antenna that acts as heat sink |
| US10063108B1 (en) | 2015-11-02 | 2018-08-28 | Energous Corporation | Stamped three-dimensional antenna |
| US10075019B2 (en) | 2015-11-20 | 2018-09-11 | Witricity Corporation | Voltage source isolation in wireless power transfer systems |
| FR3045917B1 (fr) * | 2015-12-22 | 2018-02-16 | Supergrid Institute | Isolateur electrique haute tension |
| US11863001B2 (en) | 2015-12-24 | 2024-01-02 | Energous Corporation | Near-field antenna for wireless power transmission with antenna elements that follow meandering patterns |
| US10320446B2 (en) | 2015-12-24 | 2019-06-11 | Energous Corporation | Miniaturized highly-efficient designs for near-field power transfer system |
| US10256677B2 (en) | 2016-12-12 | 2019-04-09 | Energous Corporation | Near-field RF charging pad with adaptive loading to efficiently charge an electronic device at any position on the pad |
| US10038332B1 (en) | 2015-12-24 | 2018-07-31 | Energous Corporation | Systems and methods of wireless power charging through multiple receiving devices |
| US10027159B2 (en) | 2015-12-24 | 2018-07-17 | Energous Corporation | Antenna for transmitting wireless power signals |
| US10079515B2 (en) | 2016-12-12 | 2018-09-18 | Energous Corporation | Near-field RF charging pad with multi-band antenna element with adaptive loading to efficiently charge an electronic device at any position on the pad |
| US10135286B2 (en) | 2015-12-24 | 2018-11-20 | Energous Corporation | Near field transmitters for wireless power charging of an electronic device by leaking RF energy through an aperture offset from a patch antenna |
| US10164478B2 (en) | 2015-12-29 | 2018-12-25 | Energous Corporation | Modular antenna boards in wireless power transmission systems |
| EP3203604B1 (en) | 2016-02-02 | 2018-11-14 | WiTricity Corporation | Controlling wireless power transfer systems |
| CN109075614B (zh) | 2016-02-08 | 2021-11-02 | 韦特里西提公司 | 可变电容装置、阻抗匹配系统、传输系统、阻抗匹配网络 |
| KR101865536B1 (ko) * | 2016-03-02 | 2018-06-11 | 주식회사 아모센스 | 무선전력 송수신 가능한 보조배터리 |
| US10170940B2 (en) * | 2016-05-04 | 2019-01-01 | Imperial Innovations Limited | Wireless power transfer system |
| CN105958665A (zh) * | 2016-06-01 | 2016-09-21 | 中惠创智无线供电技术有限公司 | 单控串联谐振电路 |
| CN106026422A (zh) * | 2016-08-03 | 2016-10-12 | 中惠创智无线供电技术有限公司 | 开关电路以及多控串联谐振电路 |
| CN105939064A (zh) * | 2016-06-01 | 2016-09-14 | 中惠创智无线供电技术有限公司 | 互补型无线供电发射机 |
| WO2017206420A1 (zh) * | 2016-06-01 | 2017-12-07 | 中惠创智无线供电技术有限公司 | 谐振电路、无线供电发射机、开关电路和全桥发射电路 |
| JP6437954B2 (ja) * | 2016-06-02 | 2018-12-12 | パナソニック株式会社 | 無線給電方法 |
| TWI605664B (zh) | 2016-06-29 | 2017-11-11 | 立錡科技股份有限公司 | 諧振式無線電源發送電路及其控制方法 |
| US10468980B2 (en) * | 2016-06-30 | 2019-11-05 | The Board Of Trustees Of The University Of Alabama | Systems, methods, and devices for simultaneous wireless and wired power transfer |
| CN107591898B (zh) * | 2016-07-07 | 2020-02-07 | 立锜科技股份有限公司 | 谐振式无线电源发送电路及其控制方法 |
| DE102016114941A1 (de) * | 2016-08-11 | 2018-02-15 | Technische Hochschule Ingolstadt | System und Verfahren zur induktiven Energieübertragung |
| JP6538628B2 (ja) * | 2016-09-05 | 2019-07-03 | 株式会社東芝 | フィルタ回路及びワイヤレス電力伝送システム |
| WO2018057563A1 (en) | 2016-09-21 | 2018-03-29 | Tc1 Llc | Systems and methods for locating implanted wireless power transmission devices |
| KR102018268B1 (ko) * | 2016-10-18 | 2019-11-14 | 엘지이노텍 주식회사 | 무선 충전을 위한 인덕턴스 매핑 방법 및 장치 |
| US10923954B2 (en) | 2016-11-03 | 2021-02-16 | Energous Corporation | Wireless power receiver with a synchronous rectifier |
| DE112017005586T5 (de) * | 2016-11-07 | 2019-08-29 | Koninklijke Philips N.V. | Leistungssender und Verfahren zum drahtlosen Übertragen von Leistung |
| JP6691273B2 (ja) | 2016-12-12 | 2020-04-28 | エナージャス コーポレイション | 配送される無線電力を最大化するために近接場充電パッドのアンテナ区域を選択的に活性化する方法 |
| US10680319B2 (en) | 2017-01-06 | 2020-06-09 | Energous Corporation | Devices and methods for reducing mutual coupling effects in wireless power transmission systems |
| US10389161B2 (en) | 2017-03-15 | 2019-08-20 | Energous Corporation | Surface mount dielectric antennas for wireless power transmitters |
| US10439442B2 (en) | 2017-01-24 | 2019-10-08 | Energous Corporation | Microstrip antennas for wireless power transmitters |
| US11197990B2 (en) | 2017-01-18 | 2021-12-14 | Tc1 Llc | Systems and methods for transcutaneous power transfer using microneedles |
| US9742222B1 (en) * | 2017-02-01 | 2017-08-22 | Wardenclyffe LLC | Wireless power transfer method and system |
| US11011942B2 (en) | 2017-03-30 | 2021-05-18 | Energous Corporation | Flat antennas having two or more resonant frequencies for use in wireless power transmission systems |
| US11146093B2 (en) | 2017-03-31 | 2021-10-12 | Ossia Inc. | Actively modifying output voltage of a wirelessly chargeable energy storage apparatus |
| JP6690609B2 (ja) | 2017-04-06 | 2020-04-28 | 株式会社村田製作所 | 磁界発生回路 |
| US10511097B2 (en) | 2017-05-12 | 2019-12-17 | Energous Corporation | Near-field antennas for accumulating energy at a near-field distance with minimal far-field gain |
| US20180328903A1 (en) * | 2017-05-12 | 2018-11-15 | Qualcomm Incorporated | Multi-power source perishable item sensor apparatus |
| US11462949B2 (en) | 2017-05-16 | 2022-10-04 | Wireless electrical Grid LAN, WiGL Inc | Wireless charging method and system |
| US12074460B2 (en) | 2017-05-16 | 2024-08-27 | Wireless Electrical Grid Lan, Wigl Inc. | Rechargeable wireless power bank and method of using |
| US12074452B2 (en) | 2017-05-16 | 2024-08-27 | Wireless Electrical Grid Lan, Wigl Inc. | Networked wireless charging system |
| CN110999029A (zh) | 2017-05-30 | 2020-04-10 | 无线先进车辆电气化有限公司 | 单点馈电多垫式无线充电 |
| US10848853B2 (en) | 2017-06-23 | 2020-11-24 | Energous Corporation | Systems, methods, and devices for utilizing a wire of a sound-producing device as an antenna for receipt of wirelessly delivered power |
| WO2019006376A1 (en) | 2017-06-29 | 2019-01-03 | Witricity Corporation | PROTECTION AND CONTROL OF WIRELESS POWER SYSTEMS |
| WO2019017556A1 (en) * | 2017-07-18 | 2019-01-24 | Korea Advanced Institute Of Science And Technology | WIRELESS POWER TRANSFER SYSTEM COMPRISING A PRIMARY COIL UNIT HAVING A PLURALITY OF INDEPENDENTLY CONTROLLABLE COILS AND CAPTURE COIL UNIT HAVING A PLURALITY OF COILS |
| US10122219B1 (en) | 2017-10-10 | 2018-11-06 | Energous Corporation | Systems, methods, and devices for using a battery as a antenna for receiving wirelessly delivered power from radio frequency power waves |
| US11342798B2 (en) | 2017-10-30 | 2022-05-24 | Energous Corporation | Systems and methods for managing coexistence of wireless-power signals and data signals operating in a same frequency band |
| KR20190060531A (ko) | 2017-11-24 | 2019-06-03 | 경희대학교 산학협력단 | 복수의 소형 전력 전송 코일로 구성된 무선 충전 패드 및 무선 충전 패드의 구동 장치 및 방법 |
| KR101946167B1 (ko) * | 2017-11-28 | 2019-04-17 | 경희대학교 산학협력단 | 복수의 소형 전력 전송 코일로 구성된 무선 충전 패드 및 무선 충전 패드의 구동 장치 및 방법 |
| US10418861B2 (en) | 2017-12-22 | 2019-09-17 | Ossia Inc. | Transmission path identification based on propagation channel diversity |
| WO2019135890A1 (en) | 2018-01-04 | 2019-07-11 | Tc1 Llc | Systems and methods for elastic wireless power transmission devices |
| US11462943B2 (en) | 2018-01-30 | 2022-10-04 | Wireless Advanced Vehicle Electrification, Llc | DC link charging of capacitor in a wireless power transfer pad |
| US10615647B2 (en) | 2018-02-02 | 2020-04-07 | Energous Corporation | Systems and methods for detecting wireless power receivers and other objects at a near-field charging pad |
| US11159057B2 (en) | 2018-03-14 | 2021-10-26 | Energous Corporation | Loop antennas with selectively-activated feeds to control propagation patterns of wireless power signals |
| US10491028B2 (en) | 2018-03-23 | 2019-11-26 | Ford Global Technologies, Llc | Wireless power transfer with generalized harmonic current |
| US11515732B2 (en) | 2018-06-25 | 2022-11-29 | Energous Corporation | Power wave transmission techniques to focus wirelessly delivered power at a receiving device |
| US11437735B2 (en) | 2018-11-14 | 2022-09-06 | Energous Corporation | Systems for receiving electromagnetic energy using antennas that are minimally affected by the presence of the human body |
| CN113597723A (zh) | 2019-01-28 | 2021-11-02 | 艾诺格思公司 | 用于无线电力传输的小型化天线的系统和方法 |
| US11444485B2 (en) | 2019-02-05 | 2022-09-13 | Mojo Mobility, Inc. | Inductive charging system with charging electronics physically separated from charging coil |
| CN113661660B (zh) | 2019-02-06 | 2023-01-24 | 艾诺格思公司 | 估计最佳相位的方法、无线电力发射设备及存储介质 |
| US11437850B2 (en) | 2019-02-21 | 2022-09-06 | Lippert Components Inc. | Wirelessly electrically-coupled deployable apparatus |
| JP6951373B2 (ja) * | 2019-02-22 | 2021-10-20 | 株式会社Soken | 受電機器 |
| GB2584814A (en) * | 2019-03-21 | 2020-12-23 | Planck Ltd | Multiband wireless charging apparatus |
| US12155231B2 (en) | 2019-04-09 | 2024-11-26 | Energous Corporation | Asymmetric spiral antennas for wireless power transmission and reception |
| US11569684B1 (en) * | 2019-07-09 | 2023-01-31 | Hrl Laboratories, Llc | Broadband antenna matching network employing energy recovery schemes |
| US11381118B2 (en) | 2019-09-20 | 2022-07-05 | Energous Corporation | Systems and methods for machine learning based foreign object detection for wireless power transmission |
| WO2021055899A1 (en) | 2019-09-20 | 2021-03-25 | Energous Corporation | Systems and methods of protecting wireless power receivers using multiple rectifiers and establishing in-band communications using multiple rectifiers |
| WO2021055898A1 (en) | 2019-09-20 | 2021-03-25 | Energous Corporation | Systems and methods for machine learning based foreign object detection for wireless power transmission |
| CN114731061A (zh) | 2019-09-20 | 2022-07-08 | 艾诺格思公司 | 使用无线功率发射系统中的功率放大器控制器集成电路来分类和检测异物 |
| WO2021055901A1 (en) | 2019-09-20 | 2021-03-25 | Energous Corporation | Asymmetric spiral antennas with parasitic elements for wireless power transmission |
| WO2021118932A1 (en) * | 2019-12-09 | 2021-06-17 | Instant Energy Llc | Adhesive backed induction charging device |
| WO2021119483A1 (en) | 2019-12-13 | 2021-06-17 | Energous Corporation | Charging pad with guiding contours to align an electronic device on the charging pad and efficiently transfer near-field radio-frequency energy to the electronic device |
| US10985617B1 (en) | 2019-12-31 | 2021-04-20 | Energous Corporation | System for wirelessly transmitting energy at a near-field distance without using beam-forming control |
| US12046910B2 (en) | 2020-02-24 | 2024-07-23 | Ossia Inc. | Devices and systems for providing wirelessly chargeable batteries with improved charge capacities |
| US11799324B2 (en) | 2020-04-13 | 2023-10-24 | Energous Corporation | Wireless-power transmitting device for creating a uniform near-field charging area |
| US11469629B2 (en) | 2020-08-12 | 2022-10-11 | Energous Corporation | Systems and methods for secure wireless transmission of power using unidirectional communication signals from a wireless-power-receiving device |
| US12306285B2 (en) | 2020-12-01 | 2025-05-20 | Energous Corporation | Systems and methods for using one or more sensors to detect and classify objects in a keep-out zone of a wireless-power transmission field, and antennas with integrated sensor arrangements |
| US11876383B1 (en) | 2020-12-10 | 2024-01-16 | Apple Inc. | Wireless power system with voltage regulation |
| KR102840428B1 (ko) * | 2021-02-04 | 2025-07-31 | 삼성전자주식회사 | 복수 코일들을 포함하는 무선 전력 수신기 |
| TWI741958B (zh) * | 2021-03-05 | 2021-10-01 | 國立陽明交通大學 | 最小功率輸入的控制方法 |
| US11916398B2 (en) | 2021-12-29 | 2024-02-27 | Energous Corporation | Small form-factor devices with integrated and modular harvesting receivers, and shelving-mounted wireless-power transmitters for use therewith |
| US12104967B2 (en) * | 2022-02-25 | 2024-10-01 | Wisconsin Alumni Research Foundation | Electromechanical force sensor based on extrema degeneracy point with nonlinear response |
| US12142939B2 (en) | 2022-05-13 | 2024-11-12 | Energous Corporation | Integrated wireless-power-transmission platform designed to operate in multiple bands, and multi-band antennas for use therewith |
Citations (8)
| Publication number | Priority date | Publication date | Assignee | Title |
|---|---|---|---|---|
| JPH1069533A (ja) * | 1996-06-18 | 1998-03-10 | Toppan Printing Co Ltd | 非接触icカード |
| JP2000050534A (ja) * | 1998-08-03 | 2000-02-18 | Shiro Sugimura | Icカードの電力供給装置 |
| JP2004166384A (ja) * | 2002-11-12 | 2004-06-10 | Sharp Corp | 非接触型給電システムにおける電磁結合特性調整方法、給電装置、および非接触型給電システム |
| JP2004242245A (ja) * | 2003-02-10 | 2004-08-26 | Minerva:Kk | Icタグ用のブースタアンテナ |
| JP2005110131A (ja) * | 2003-10-01 | 2005-04-21 | Sony Corp | 中継装置及び通信システム |
| JP2006006950A (ja) * | 2004-06-24 | 2006-01-12 | Ethicon Endo Surgery Inc | 移植した医療装置に対する低周波数の経皮エネルギー伝達 |
| JP2006146538A (ja) * | 2004-11-19 | 2006-06-08 | Matsushita Electric Works Ltd | 非接触icカード用ケース |
| JP2010537496A (ja) * | 2007-08-13 | 2010-12-02 | クゥアルコム・インコーポレイテッド | 長距離低周波数共振器および素材 |
Family Cites Families (36)
| Publication number | Priority date | Publication date | Assignee | Title |
|---|---|---|---|---|
| US5198826A (en) * | 1989-09-22 | 1993-03-30 | Nippon Sheet Glass Co., Ltd. | Wide-band loop antenna with outer and inner loop conductors |
| JPH0675269B2 (ja) * | 1991-01-18 | 1994-09-21 | 大昭和精機株式会社 | Icカード識別方法 |
| JP3300547B2 (ja) * | 1994-09-30 | 2002-07-08 | 松下電器産業株式会社 | 非接触充電器 |
| JP3357233B2 (ja) * | 1995-12-21 | 2002-12-16 | ティーディーケイ株式会社 | 非接触型電力伝送装置 |
| JPH10225117A (ja) * | 1997-01-31 | 1998-08-21 | Sony Corp | スイッチング電源回路 |
| JP2000287375A (ja) * | 1999-03-29 | 2000-10-13 | Japan Storage Battery Co Ltd | 二次電池の充電回路 |
| JP2001014439A (ja) * | 1999-07-01 | 2001-01-19 | Fujitsu Ltd | Icカード |
| JP4140169B2 (ja) * | 2000-04-25 | 2008-08-27 | 松下電工株式会社 | 非接触電力伝達装置 |
| JP3715518B2 (ja) * | 2000-08-23 | 2005-11-09 | 日本電信電話株式会社 | 非接触応答装置 |
| JP4398122B2 (ja) * | 2001-09-20 | 2010-01-13 | Tdkラムダ株式会社 | 同期整流システムと整流方法 |
| JP4192775B2 (ja) * | 2003-12-05 | 2008-12-10 | 株式会社ダイフク | 無接触給電設備 |
| NO320439B1 (no) * | 2004-04-30 | 2005-12-05 | Geir Olav Gyland | Anordning og fremgangsmate for kontaktlos energioverforing |
| WO2005109597A1 (en) | 2004-05-11 | 2005-11-17 | Splashpower Limited | Controlling inductive power transfer systems |
| GB2414120B (en) * | 2004-05-11 | 2008-04-02 | Splashpower Ltd | Controlling inductive power transfer systems |
| CN1707931A (zh) * | 2004-06-02 | 2005-12-14 | 索尼株式会社 | 开关电源电路 |
| JP4852829B2 (ja) * | 2004-07-28 | 2012-01-11 | セイコーエプソン株式会社 | 非接触電力伝送装置 |
| CN1665115A (zh) * | 2004-11-22 | 2005-09-07 | 深圳普达电源技术有限公司 | 一种高效率、零电压开关式直流功率变换器 |
| JP2006325350A (ja) * | 2005-05-20 | 2006-11-30 | Nichicon Corp | 電源装置 |
| JP2007011098A (ja) * | 2005-07-01 | 2007-01-18 | Kansei Devices:Kk | 電力無線供給式表示装置 |
| WO2007008646A2 (en) * | 2005-07-12 | 2007-01-18 | Massachusetts Institute Of Technology | Wireless non-radiative energy transfer |
| US7825543B2 (en) * | 2005-07-12 | 2010-11-02 | Massachusetts Institute Of Technology | Wireless energy transfer |
| US20070021140A1 (en) * | 2005-07-22 | 2007-01-25 | Keyes Marion A Iv | Wireless power transmission systems and methods |
| KR100792311B1 (ko) * | 2005-07-30 | 2008-01-07 | 엘에스전선 주식회사 | 충전전력 공급장치, 충전 장치, 배터리 장치, 무접점 충전 시스템 및 무접점 충전 방법 |
| DE112006002299T5 (de) * | 2005-09-01 | 2008-06-26 | National University Corporation Saitama University | Kontaktfreie Stromzuführvorrichtung |
| KR20070044639A (ko) * | 2005-10-25 | 2007-04-30 | 에스케이 텔레콤주식회사 | 이동통신 단말기를 이용한 rfid 태그 인식시스템 및 그방법 |
| US7728785B2 (en) * | 2006-02-07 | 2010-06-01 | Nokia Corporation | Loop antenna with a parasitic radiator |
| US20070191075A1 (en) * | 2006-02-13 | 2007-08-16 | Powercast, Llc | Implementation of an RF power transmitter and network |
| US7671736B2 (en) | 2006-06-23 | 2010-03-02 | Securaplane Technologies Inc. | Wireless electromagnetic parasitic power transfer |
| US7876067B2 (en) * | 2006-08-04 | 2011-01-25 | Intersil Americas Inc. | High frequency connector-less charging scheme |
| EP1909384A3 (en) * | 2006-10-06 | 2015-11-25 | Semiconductor Energy Laboratory Co., Ltd. | Rectifier circuit with variable capacitor, semiconductor device using the circuit, and driving method therefor |
| CN101197507A (zh) * | 2006-12-06 | 2008-06-11 | 北京中电华大电子设计有限责任公司 | 无线电源装置及电路 |
| KR100903464B1 (ko) | 2007-04-25 | 2009-06-18 | 엘에스전선 주식회사 | 전력 손실을 줄일 수 있는 무접점 충전 배터리 및 이를구비한 배터리 충전 세트 |
| US9634730B2 (en) * | 2007-07-09 | 2017-04-25 | Qualcomm Incorporated | Wireless energy transfer using coupled antennas |
| US8278784B2 (en) | 2008-07-28 | 2012-10-02 | Qualcomm Incorporated | Wireless power transmission for electronic devices |
| US8947041B2 (en) | 2008-09-02 | 2015-02-03 | Qualcomm Incorporated | Bidirectional wireless power transmission |
| US8497658B2 (en) * | 2009-01-22 | 2013-07-30 | Qualcomm Incorporated | Adaptive power control for wireless charging of devices |
-
2009
- 2009-07-27 US US12/510,123 patent/US8278784B2/en active Active
- 2009-07-28 KR KR1020127029652A patent/KR101397243B1/ko not_active Expired - Fee Related
- 2009-07-28 EP EP09790892A patent/EP2321886A2/en not_active Withdrawn
- 2009-07-28 KR KR1020117004663A patent/KR20110036639A/ko not_active Ceased
- 2009-07-28 CN CN200980129768.6A patent/CN102113195B/zh not_active Expired - Fee Related
- 2009-07-28 WO PCT/US2009/051997 patent/WO2010014634A2/en not_active Ceased
- 2009-07-28 JP JP2011521254A patent/JP2012503959A/ja active Pending
- 2009-07-28 CN CN201610353470.5A patent/CN105896750B/zh active Active
- 2009-07-28 KR KR1020147004615A patent/KR20140043821A/ko not_active Withdrawn
-
2012
- 2012-06-21 US US13/529,927 patent/US8487481B2/en active Active
-
2013
- 2013-12-06 JP JP2013253690A patent/JP2014112839A/ja not_active Withdrawn
-
2016
- 2016-01-08 JP JP2016002786A patent/JP6266661B2/ja not_active Expired - Fee Related
Patent Citations (8)
| Publication number | Priority date | Publication date | Assignee | Title |
|---|---|---|---|---|
| JPH1069533A (ja) * | 1996-06-18 | 1998-03-10 | Toppan Printing Co Ltd | 非接触icカード |
| JP2000050534A (ja) * | 1998-08-03 | 2000-02-18 | Shiro Sugimura | Icカードの電力供給装置 |
| JP2004166384A (ja) * | 2002-11-12 | 2004-06-10 | Sharp Corp | 非接触型給電システムにおける電磁結合特性調整方法、給電装置、および非接触型給電システム |
| JP2004242245A (ja) * | 2003-02-10 | 2004-08-26 | Minerva:Kk | Icタグ用のブースタアンテナ |
| JP2005110131A (ja) * | 2003-10-01 | 2005-04-21 | Sony Corp | 中継装置及び通信システム |
| JP2006006950A (ja) * | 2004-06-24 | 2006-01-12 | Ethicon Endo Surgery Inc | 移植した医療装置に対する低周波数の経皮エネルギー伝達 |
| JP2006146538A (ja) * | 2004-11-19 | 2006-06-08 | Matsushita Electric Works Ltd | 非接触icカード用ケース |
| JP2010537496A (ja) * | 2007-08-13 | 2010-12-02 | クゥアルコム・インコーポレイテッド | 長距離低周波数共振器および素材 |
Cited By (25)
| Publication number | Priority date | Publication date | Assignee | Title |
|---|---|---|---|---|
| US9887568B2 (en) | 2010-02-12 | 2018-02-06 | Semiconductor Energy Laboratory Co., Ltd. | Moving object, wireless power feeding system, and wireless power feeding method |
| JP2014505454A (ja) * | 2010-12-16 | 2014-02-27 | クアルコム,インコーポレイテッド | 無線電力受信器回路 |
| JP2014033499A (ja) * | 2012-08-01 | 2014-02-20 | Sharp Corp | ワイヤレス給電システム、ワイヤレス給電装置、およびワイヤレス受電装置 |
| CN102946156A (zh) * | 2012-11-21 | 2013-02-27 | 中国科学院电工研究所 | 一种无线电力传输装置 |
| US10027377B2 (en) | 2013-02-15 | 2018-07-17 | Murata Manufacturing Co., Ltd. | Wireless power supply apparatus |
| US10224750B2 (en) | 2013-03-27 | 2019-03-05 | Murata Manufacturing Co., Ltd. | Wireless power transmission apparatus |
| US10181755B2 (en) | 2013-03-27 | 2019-01-15 | Murata Manufacturing Co., Ltd. | Wireless power supply apparatus |
| JP2014217117A (ja) * | 2013-04-23 | 2014-11-17 | 一般財団法人電力中央研究所 | 非接触給電システム |
| JP2015128347A (ja) * | 2013-12-27 | 2015-07-09 | 富士通コンポーネント株式会社 | 無線受電装置、無線送電装置 |
| JP2017506485A (ja) * | 2014-02-23 | 2017-03-02 | アップル インコーポレイテッド | 誘導電力伝送システムのインピーダンス整合 |
| US9923383B2 (en) | 2014-02-23 | 2018-03-20 | Apple Inc. | Adjusting filter in a coupled coil system |
| US10116279B2 (en) | 2014-02-23 | 2018-10-30 | Apple Inc. | Impedance matching for inductive power transfer systems |
| US10032557B1 (en) | 2014-05-29 | 2018-07-24 | Apple Inc. | Tuning of primary and secondary resonant frequency for improved efficiency of inductive power transfer |
| US10594159B2 (en) | 2014-06-03 | 2020-03-17 | Apple Inc. | Methods for detecting mated coils |
| US10110051B2 (en) | 2014-06-13 | 2018-10-23 | Apple Inc. | Detection of coil coupling in an inductive charging system |
| US10879721B2 (en) | 2014-06-13 | 2020-12-29 | Apple Inc. | Detection of coil coupling in an inductive charging system |
| US10014733B2 (en) | 2014-08-28 | 2018-07-03 | Apple Inc. | Temperature management in a wireless energy transfer system |
| US10879745B2 (en) | 2014-08-28 | 2020-12-29 | Apple Inc. | Temperature management in a wireless energy transfer system |
| US10193372B2 (en) | 2014-09-02 | 2019-01-29 | Apple Inc. | Operating an inductive energy transfer system |
| JPWO2016121030A1 (ja) * | 2015-01-28 | 2017-10-12 | 日産自動車株式会社 | 非接触給電装置 |
| WO2016121030A1 (ja) * | 2015-01-28 | 2016-08-04 | 日産自動車株式会社 | 非接触給電装置 |
| US10666084B2 (en) | 2015-07-10 | 2020-05-26 | Apple Inc. | Detection and notification of an unpowered releasable charging device |
| US10644531B1 (en) | 2016-09-22 | 2020-05-05 | Apple Inc. | Adaptable power rectifier for wireless charger system |
| US10389274B2 (en) | 2017-04-07 | 2019-08-20 | Apple Inc. | Boosted output inverter for electronic devices |
| US10523063B2 (en) | 2017-04-07 | 2019-12-31 | Apple Inc. | Common mode noise compensation in wireless power systems |
Also Published As
| Publication number | Publication date |
|---|---|
| US8487481B2 (en) | 2013-07-16 |
| CN102113195A (zh) | 2011-06-29 |
| WO2010014634A3 (en) | 2010-05-20 |
| US20120262004A1 (en) | 2012-10-18 |
| US8278784B2 (en) | 2012-10-02 |
| CN102113195B (zh) | 2016-06-08 |
| EP2321886A2 (en) | 2011-05-18 |
| KR20110036639A (ko) | 2011-04-07 |
| CN105896750A (zh) | 2016-08-24 |
| CN105896750B (zh) | 2019-12-24 |
| JP2014112839A (ja) | 2014-06-19 |
| KR101397243B1 (ko) | 2014-05-20 |
| JP6266661B2 (ja) | 2018-01-24 |
| JP2016105690A (ja) | 2016-06-09 |
| KR20120138832A (ko) | 2012-12-26 |
| WO2010014634A2 (en) | 2010-02-04 |
| KR20140043821A (ko) | 2014-04-10 |
| US20100109443A1 (en) | 2010-05-06 |
Similar Documents
| Publication | Publication Date | Title |
|---|---|---|
| JP6266661B2 (ja) | 寄生共振タンクを備える電子デバイスに対するワイヤレス電力送信 | |
| JP2012503959A5 (enExample) | ||
| US8947041B2 (en) | Bidirectional wireless power transmission | |
| JP5889857B2 (ja) | 無線送電のための受動受信機 | |
| US8532724B2 (en) | Transmitters for wireless power transmission | |
| JP2015008625A5 (enExample) |
Legal Events
| Date | Code | Title | Description |
|---|---|---|---|
| A977 | Report on retrieval |
Free format text: JAPANESE INTERMEDIATE CODE: A971007 Effective date: 20121115 |
|
| A131 | Notification of reasons for refusal |
Free format text: JAPANESE INTERMEDIATE CODE: A131 Effective date: 20121120 |
|
| A601 | Written request for extension of time |
Free format text: JAPANESE INTERMEDIATE CODE: A601 Effective date: 20130220 |
|
| A602 | Written permission of extension of time |
Free format text: JAPANESE INTERMEDIATE CODE: A602 Effective date: 20130227 |
|
| A601 | Written request for extension of time |
Free format text: JAPANESE INTERMEDIATE CODE: A601 Effective date: 20130319 |
|
| A602 | Written permission of extension of time |
Free format text: JAPANESE INTERMEDIATE CODE: A602 Effective date: 20130327 |
|
| A521 | Request for written amendment filed |
Free format text: JAPANESE INTERMEDIATE CODE: A523 Effective date: 20130520 |
|
| A02 | Decision of refusal |
Free format text: JAPANESE INTERMEDIATE CODE: A02 Effective date: 20130806 |
|
| A521 | Request for written amendment filed |
Free format text: JAPANESE INTERMEDIATE CODE: A523 Effective date: 20131206 |
|
| A911 | Transfer to examiner for re-examination before appeal (zenchi) |
Free format text: JAPANESE INTERMEDIATE CODE: A911 Effective date: 20131216 |
|
| A912 | Re-examination (zenchi) completed and case transferred to appeal board |
Free format text: JAPANESE INTERMEDIATE CODE: A912 Effective date: 20140110 |
|
| A601 | Written request for extension of time |
Free format text: JAPANESE INTERMEDIATE CODE: A601 Effective date: 20140502 |
|
| A602 | Written permission of extension of time |
Free format text: JAPANESE INTERMEDIATE CODE: A602 Effective date: 20140509 |
|
| A524 | Written submission of copy of amendment under article 19 pct |
Free format text: JAPANESE INTERMEDIATE CODE: A524 Effective date: 20141028 |
|
| A521 | Request for written amendment filed |
Free format text: JAPANESE INTERMEDIATE CODE: A523 Effective date: 20141029 |