JP2012123776A - 車両用クラッチペダルスイッチ - Google Patents
車両用クラッチペダルスイッチ Download PDFInfo
- Publication number
- JP2012123776A JP2012123776A JP2011129978A JP2011129978A JP2012123776A JP 2012123776 A JP2012123776 A JP 2012123776A JP 2011129978 A JP2011129978 A JP 2011129978A JP 2011129978 A JP2011129978 A JP 2011129978A JP 2012123776 A JP2012123776 A JP 2012123776A
- Authority
- JP
- Japan
- Prior art keywords
- elastic piece
- fixed contact
- contact
- movable
- elastic
- Prior art date
- Legal status (The legal status is an assumption and is not a legal conclusion. Google has not performed a legal analysis and makes no representation as to the accuracy of the status listed.)
- Withdrawn
Links
Images
Classifications
-
- B—PERFORMING OPERATIONS; TRANSPORTING
- B60—VEHICLES IN GENERAL
- B60K—ARRANGEMENT OR MOUNTING OF PROPULSION UNITS OR OF TRANSMISSIONS IN VEHICLES; ARRANGEMENT OR MOUNTING OF PLURAL DIVERSE PRIME-MOVERS IN VEHICLES; AUXILIARY DRIVES FOR VEHICLES; INSTRUMENTATION OR DASHBOARDS FOR VEHICLES; ARRANGEMENTS IN CONNECTION WITH COOLING, AIR INTAKE, GAS EXHAUST OR FUEL SUPPLY OF PROPULSION UNITS IN VEHICLES
- B60K23/00—Arrangement or mounting of control devices for vehicle transmissions, or parts thereof, not otherwise provided for
- B60K23/02—Arrangement or mounting of control devices for vehicle transmissions, or parts thereof, not otherwise provided for for main transmission clutches
-
- B—PERFORMING OPERATIONS; TRANSPORTING
- B60—VEHICLES IN GENERAL
- B60W—CONJOINT CONTROL OF VEHICLE SUB-UNITS OF DIFFERENT TYPE OR DIFFERENT FUNCTION; CONTROL SYSTEMS SPECIALLY ADAPTED FOR HYBRID VEHICLES; ROAD VEHICLE DRIVE CONTROL SYSTEMS FOR PURPOSES NOT RELATED TO THE CONTROL OF A PARTICULAR SUB-UNIT
- B60W2540/00—Input parameters relating to occupants
- B60W2540/14—Clutch pedal position
-
- B—PERFORMING OPERATIONS; TRANSPORTING
- B60—VEHICLES IN GENERAL
- B60Y—INDEXING SCHEME RELATING TO ASPECTS CROSS-CUTTING VEHICLE TECHNOLOGY
- B60Y2400/00—Special features of vehicle units
- B60Y2400/30—Sensors
- B60Y2400/301—Sensors for position or displacement
-
- H—ELECTRICITY
- H01—ELECTRIC ELEMENTS
- H01H—ELECTRIC SWITCHES; RELAYS; SELECTORS; EMERGENCY PROTECTIVE DEVICES
- H01H19/00—Switches operated by an operating part which is rotatable about a longitudinal axis thereof and which is acted upon directly by a solid body external to the switch, e.g. by a hand
- H01H19/54—Switches operated by an operating part which is rotatable about a longitudinal axis thereof and which is acted upon directly by a solid body external to the switch, e.g. by a hand the operating part having at least five or an unspecified number of operative positions
- H01H19/60—Angularly-movable actuating part carrying no contacts
- H01H19/63—Contacts actuated by axial cams
-
- H—ELECTRICITY
- H01—ELECTRIC ELEMENTS
- H01H—ELECTRIC SWITCHES; RELAYS; SELECTORS; EMERGENCY PROTECTIVE DEVICES
- H01H21/00—Switches operated by an operating part in the form of a pivotable member acted upon directly by a solid body, e.g. by a hand
- H01H21/02—Details
- H01H21/18—Movable parts; Contacts mounted thereon
- H01H21/22—Operating parts, e.g. handle
- H01H21/24—Operating parts, e.g. handle biased to return to normal position upon removal of operating force
- H01H21/26—Operating parts, e.g. handle biased to return to normal position upon removal of operating force adapted for operation by a part of the human body other than the hand, e.g. by foot
Landscapes
- Engineering & Computer Science (AREA)
- Chemical & Material Sciences (AREA)
- Combustion & Propulsion (AREA)
- Transportation (AREA)
- Mechanical Engineering (AREA)
- Mechanical Control Devices (AREA)
- Rotary Switch, Piano Key Switch, And Lever Switch (AREA)
- Arrangement And Mounting Of Devices That Control Transmission Of Motive Force (AREA)
Abstract
【課題】構成が簡単で、騒音が発生しない車両用クラッチペダルスイッチを提供する。
【解決手段】第1固定接点10と第2固定接点20が互いに離隔して突出するスイッチボディ30と、第1固定接点10の方向に弾性力を提供して第1固定接点10と選択的に接触する第1可動接点40を備えた第1弾性片50と、第2固定接点20の方向に弾性力を提供して第2固定接点20と選択的に接触する第2可動接点60を備えた第2弾性片70と、第1固定接点10と第2固定接点20との間でペダルの回転によって共に回転し、回転時に第1弾性片50および第2弾性片70に加圧力を伝達して、第1および第2固定接点と第1および第2可動接点を選択的に接触させる回転体と、第1弾性片50および第2弾性片70に連結され、第1および第2固定接点と第1および第2可動接点の接触信号を伝達するターミナルとを含む。
【選択図】図3
【解決手段】第1固定接点10と第2固定接点20が互いに離隔して突出するスイッチボディ30と、第1固定接点10の方向に弾性力を提供して第1固定接点10と選択的に接触する第1可動接点40を備えた第1弾性片50と、第2固定接点20の方向に弾性力を提供して第2固定接点20と選択的に接触する第2可動接点60を備えた第2弾性片70と、第1固定接点10と第2固定接点20との間でペダルの回転によって共に回転し、回転時に第1弾性片50および第2弾性片70に加圧力を伝達して、第1および第2固定接点と第1および第2可動接点を選択的に接触させる回転体と、第1弾性片50および第2弾性片70に連結され、第1および第2固定接点と第1および第2可動接点の接触信号を伝達するターミナルとを含む。
【選択図】図3
Description
本発明は、車両用クラッチペダルスイッチに係り、より詳しくは、構成がより簡素化された車両用クラッチペダルスイッチに関する。
一般的に、車両のクラッチペダルには、クラッチペダルの作動状態によってオン/オフ動作するイグニッションロックスイッチ(ignition lock switch)とニュートラルスイッチ(neutral switch)とが個別に備えられる。
イグニッションロックスイッチは、クラッチペダルを踏まない場合に始動がかかることを防止するためのものであり、ニュートラルスイッチは、クラッチペダルがフルストロークで作動したかを感知するものである。
そして、イグニッションロックスイッチおよびニュートラルスイッチの感知信号は、車両の制御ユニットに入力され、エンジンの電子的な制御が行われるようにする。
イグニッションロックスイッチは、クラッチペダルを踏まない場合に始動がかかることを防止するためのものであり、ニュートラルスイッチは、クラッチペダルがフルストロークで作動したかを感知するものである。
そして、イグニッションロックスイッチおよびニュートラルスイッチの感知信号は、車両の制御ユニットに入力され、エンジンの電子的な制御が行われるようにする。
しかし、前述した従来の構成は、ペダルのアームにイグニッションロックスイッチおよびニュートラルスイッチが打撃されてセンシングされる構造であり、その作動過程で打撃騒音が発生するという問題があった。また、イグニッションロックスイッチおよびニュートラルスイッチが個別に取り付けられることにより、構成が複雑化し、製造コストが上昇するという問題があった。
本発明は、構成が簡単で、騒音が発生しない車両用クラッチペダルスイッチの提供を目的とする。
本発明は、第1固定接点と第2固定接点が互いに離隔して突出するスイッチボディと、前記第1固定接点の位置に設けられ、前記第1固定接点の方向に弾性力を提供して前記第1固定接点と選択的に接触する第1可動接点を備えた第1弾性片と、前記第2固定接点の位置に設けられ、前記第2固定接点の方向に弾性力を提供して前記第2固定接点と選択的に接触する第2可動接点を備えた第2弾性片と、前記第1固定接点と前記第2固定接点との間でペダルの回転によって共に回転し、回転時に前記第1弾性片および前記第2弾性片に加圧力を伝達して、前記第1および第2固定接点と前記第1および第2可動接点を選択的に接触させる回転体と、前記第1弾性片および前記第2弾性片に連結され、前記第1および第2固定接点と前記第1および第2可動接点の接触信号を伝達するターミナルとを含むことを特徴とする。
前記回転体は、前記ペダルに形成される係止突起が移動する長方形のホールが形成され、前記ペダルの回転力を受けて回転する第1回転部と、前記第1回転部の回転と共に回転し、前記第1および第2弾性片に加圧力を伝達する第2回転部とを含むことを特徴とする。
前記第2回転部は、前記第1回転部に連結される回転ボディと、前記回転ボディの側面に突出し、前記第1および第2弾性片の弾性力を克服する加圧力を伝達する加圧突出部とを含むことを特徴とする。
前記加圧突出部は、前記回転ボディの外側の一部に沿ってラウンド状に突出し、前記第1弾性片と前記第2弾性片が載置される載置突部と、前記載置突部の一側に形成され、前記回転ボディの回転時に前記第1弾性片がスライドされる第1傾斜部と、前記載置突部の他側に形成され、前記回転ボディの回転時に前記第2弾性片がスライドされる第2傾斜部とを含むことを特徴とする。
前記ペダルストロークのアイドル状態において、前記第1弾性片は前記載置突部の外側に位置し、前記第1固定接点と前記第1可動接点は接触した状態であり、前記第2弾性片は前記載置突部の上側に位置し、前記第2固定接点と前記第2可動接点は分離された状態であり、前記ペダルの50%のストロークにおいて、
前記第1弾性片は前記第1傾斜面に位置し、前記第1固定接点と前記第1可動接点は分離された状態であり、前記第2弾性片は前記第2傾斜面に位置し、前記第2固定接点と前記第2可動接点は分離された状態であり、前記ペダルの85%以上のストローク範囲においては、前記第1弾性片は前記載置突部上に位置し、前記第1固定接点と前記第1可動接点は分離された状態であり、前記第2弾性片は前記載置突部の外側に位置し、前記第2固定接点と前記第2可動接点は接触した状態であることを特徴とする。
前記第1弾性片は前記第1傾斜面に位置し、前記第1固定接点と前記第1可動接点は分離された状態であり、前記第2弾性片は前記第2傾斜面に位置し、前記第2固定接点と前記第2可動接点は分離された状態であり、前記ペダルの85%以上のストローク範囲においては、前記第1弾性片は前記載置突部上に位置し、前記第1固定接点と前記第1可動接点は分離された状態であり、前記第2弾性片は前記載置突部の外側に位置し、前記第2固定接点と前記第2可動接点は接触した状態であることを特徴とする。
本発明によれば、イグニッションロックスイッチおよびニュートラルスイッチを削除することにより、作動過程で騒音が発生せず、構成部品がより簡素化され、製造コストを節減することができる。
以下、本発明の実施形態にかかる車両用クラッチペダルスイッチについて、添付した図面を参照して詳細に説明する。
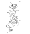
図1は、本発明の一実施形態にかかる車両用クラッチペダルスイッチが設けられた状態を概略的に示す斜視図であり、図2は、図1の車両用クラッチペダルスイッチを概略的に示す斜視図であり、図3は、図2の車両用クラッチペダルスイッチの主部を分解して示す分解斜視図である。
図1〜図3に示すように、本発明の一実施形態にかかる車両用クラッチペダルスイッチ100は、ハウジング11の内部に設けられ、第1および第2固定接点10、20が突出するスイッチボディ30と、第1固定接点10と選択的に接触する第1可動接点40が設けられた第1弾性片50と、第2固定接点20と選択的に接触する第2可動接点60が設けられた第2弾性片70と、第1および第2固定接点10、20と第1および第2可動接点40、60の接触を制御する回転体80と、第1および第2固定接点10、20と第1および第2可動接点40、60の接触信号を伝達するターミナル90とを含む。符号18は、ハウジング11に結合されるカバーを表す。
図1は、本発明の一実施形態にかかる車両用クラッチペダルスイッチが設けられた状態を概略的に示す斜視図であり、図2は、図1の車両用クラッチペダルスイッチを概略的に示す斜視図であり、図3は、図2の車両用クラッチペダルスイッチの主部を分解して示す分解斜視図である。
図1〜図3に示すように、本発明の一実施形態にかかる車両用クラッチペダルスイッチ100は、ハウジング11の内部に設けられ、第1および第2固定接点10、20が突出するスイッチボディ30と、第1固定接点10と選択的に接触する第1可動接点40が設けられた第1弾性片50と、第2固定接点20と選択的に接触する第2可動接点60が設けられた第2弾性片70と、第1および第2固定接点10、20と第1および第2可動接点40、60の接触を制御する回転体80と、第1および第2固定接点10、20と第1および第2可動接点40、60の接触信号を伝達するターミナル90とを含む。符号18は、ハウジング11に結合されるカバーを表す。
スイッチボディ30は、車体12に取り付けられるハウジング11の内部に載置される。スイッチボディ30は、第1および第2固定接点10、20が突出する。第1および第2固定接点10、20は、スイッチボディ30の一側と他側の位置で互いに離隔して設置可能である。このような第1および第2固定接点10、20は、導電体の導電プレート14によってターミナル90に接続される。
ターミナル90での信号の伝達過程は、以下、第1および第2固定接点10、20と第1および第2可動接点40、60のセンシング作動を説明しながらより具体的に説明する。第1および第2固定接点10、20が設けられた位置には、第1および第2弾性片50、70が設けられる。
ターミナル90での信号の伝達過程は、以下、第1および第2固定接点10、20と第1および第2可動接点40、60のセンシング作動を説明しながらより具体的に説明する。第1および第2固定接点10、20が設けられた位置には、第1および第2弾性片50、70が設けられる。
第1弾性片50は、第1固定接点10が設けられた近接位置に設けられる。第1弾性片50は、一端が第1固定接点10の近接位置に固定され、他端は折り曲げられて第1固定接点10の方向に延びる。このような第1弾性片50には、第1固定接点10の方向に突出するように第1可動接点40が設けられる。これにより、第1弾性片50に外力が作用しない場合には、第1弾性片50の弾性力によって第1固定接点10と第1可動接点40は互いに接触した状態を維持する。
第2弾性片70は、第2固定接点20が設けられた近接位置に設けられる。第2弾性片70は、一端が第2固定接点20の近接位置に固定され、他端は折り曲げられて第2固定接点20の方向に延びる。このような第2弾性片70には、第2固定接点20の方向に突出するように第2可動接点60が設けられる。これにより、第2弾性片70に外力が作用しない場合には、第2弾性片70の弾性力によって第2固定接点20と第2可動接点60は互いに接触した状態を維持する。
前述した第1および第2固定接点10、20と第1および第2可動接点40、60相互間の接触解除は、回転体80の回転作動によって発生する。
前述した第1および第2固定接点10、20と第1および第2可動接点40、60相互間の接触解除は、回転体80の回転作動によって発生する。
回転体80は、第1固定接点10と第2固定接点20との間でペダル16の回転によって共に回転する。回転体80は、その回転時に第1弾性片50および第2弾性片70に加圧力を伝達して、第1および第2固定接点10、20と第1および第2可動接点40、60の接触を選択的に制限する。
図4は、ハウジングを除去した状態における車両用クラッチペダルスイッチを概略的に示す斜視図であり、図5は、図4における第1回転部を除去した状態を概略的に示す斜視図である。
図4および図5を参照して回転体80についてより具体的に説明する。
回転体80は、ペダル16の回転力を受ける第1回転部81と、第1回転部81に結合されて共に回転し、第1および第2弾性片50、70に加圧力を伝達する第2回転部83とを含む。
図4は、ハウジングを除去した状態における車両用クラッチペダルスイッチを概略的に示す斜視図であり、図5は、図4における第1回転部を除去した状態を概略的に示す斜視図である。
図4および図5を参照して回転体80についてより具体的に説明する。
回転体80は、ペダル16の回転力を受ける第1回転部81と、第1回転部81に結合されて共に回転し、第1および第2弾性片50、70に加圧力を伝達する第2回転部83とを含む。
第1回転部81は、ペダル16の踏力の伝達に応じた回転力を第2回転部83に伝達するためのものであって、その長手方向に長方形のホール811が形成される。即ち、ペダル16には突起部161が形成され、この突起部161は、第1回転部81の長方形のホール811に挿入される。したがって、ペダル16が踏力の伝達によって回転すると、第1回転部81には、突起部161がホール811にスライドされることによって回転力が発生する。このような第1回転部81の回転力は第2回転部83に伝達される。第1回転部81と第2回転部83は、一体に形成されることも可能であり、押し込み結合による嵌め合いで着脱可能に結合されることも可能である。本実施形態では、第1回転部81と第2回転部83が嵌め合いで着脱可能に結合されることを例示する。
第2回転部83は、第1回転部81に連結される回転ボディ831と、回転ボディ831の側面に突出し、第1および第2弾性片50、70の弾性力を克服する加圧力を伝達する加圧突出部833(8331+8335)とを含む。
回転ボディ831は、第1回転部81と連結される部分に円筒状に突出することができる。回転ボディ831と第1回転部81は嵌め合いで着脱可能に結合可能である。
加圧突出部833(8331+8335)は、回転ボディ831の側面からラウンド状に突出することができる。より具体的に加圧突出部833(8331+8335)について説明すると、加圧突出部833(8331+8335)は、回転ボディ831の外側の一部に沿ってラウンド状に突出する載置突部8331と、載置突部8331の一側に形成される第1傾斜部8333と、載置突部8331の他側に形成される第2傾斜部8335とを含む。
回転ボディ831は、第1回転部81と連結される部分に円筒状に突出することができる。回転ボディ831と第1回転部81は嵌め合いで着脱可能に結合可能である。
加圧突出部833(8331+8335)は、回転ボディ831の側面からラウンド状に突出することができる。より具体的に加圧突出部833(8331+8335)について説明すると、加圧突出部833(8331+8335)は、回転ボディ831の外側の一部に沿ってラウンド状に突出する載置突部8331と、載置突部8331の一側に形成される第1傾斜部8333と、載置突部8331の他側に形成される第2傾斜部8335とを含む。
載置突部8331は、第1弾性片50と第2弾性片70が回転体80の回転によって選択的に載置される部分である。第1弾性片50が載置突部8331上に位置すると、第1固定接点10と第1可動接点40は互いに接触しない状態で離隔する。そして、第2弾性片70が載置突部8331上に位置すると、第2固定接点20と第2可動接点60は互いに接触しない状態で離隔する。
第1傾斜部8333とは、回転体80の回転によって第1弾性片50の端部がスライドされる部分をいう。より具体的に説明すると、第1傾斜部8333は、回転体80の一方向または他方向への回転時に、第1弾性片50の端部を載置突部8331上に移動させるか、載置突部8331の外側へと移動をガイドする部分をいう。
第1傾斜部8333とは、回転体80の回転によって第1弾性片50の端部がスライドされる部分をいう。より具体的に説明すると、第1傾斜部8333は、回転体80の一方向または他方向への回転時に、第1弾性片50の端部を載置突部8331上に移動させるか、載置突部8331の外側へと移動をガイドする部分をいう。
第2傾斜部8335とは、回転体80の回転によって第2弾性片70の端部がスライドされる部分をいう。より具体的に説明すると、第2傾斜部8335は、回転体80の一方向または他方向への回転時に、第2弾性片70の端部を載置突部8331上に移動させるか、載置突部8331の外側へと移動をガイドする部分をいう。
前述したように、回転体80は、その回転によって第1弾性片50または第2弾性片70に加圧力を伝達して、第1弾性片50および第2弾性片70を第1および第2固定接点10、20と選択的に接触させる。これは、クラッチペダル16の作動に応じた作動信号をECUに選択的に伝達するためのものである。これについては、以下、図6(a)〜図8(b)を参照してより詳細に説明する。
前述したように、回転体80は、その回転によって第1弾性片50または第2弾性片70に加圧力を伝達して、第1弾性片50および第2弾性片70を第1および第2固定接点10、20と選択的に接触させる。これは、クラッチペダル16の作動に応じた作動信号をECUに選択的に伝達するためのものである。これについては、以下、図6(a)〜図8(b)を参照してより詳細に説明する。
図6(a)は、車両のアイドル状態における車両用クラッチペダルスイッチの作動状態を概略的に示す平面図であり、図6(b)は、図6(a)の車両用クラッチペダルの作動状態を概略的に示す側面図である。
図6(a)および(b)に示すように、車両のアイドル状態においては、第1弾性片50は載置突部8331の外側に位置し、第1 固定接点10と第1可動接点40は接触した状態である。そして、第2弾性片70は載置突部8331の上側に位置し、第2固定接点20と第2可動接点60は分離された状態である。このような状態は、車両の変速機に伝達されるエンジンの動力が連結される状態である。
図6(a)および(b)に示すように、車両のアイドル状態においては、第1弾性片50は載置突部8331の外側に位置し、第1 固定接点10と第1可動接点40は接触した状態である。そして、第2弾性片70は載置突部8331の上側に位置し、第2固定接点20と第2可動接点60は分離された状態である。このような状態は、車両の変速機に伝達されるエンジンの動力が連結される状態である。
図7(a)は、車両用クラッチペダルの総ストロークで50%のストローク状態の車両用クラッチペダルスイッチの作動状態を概略的に示す平面図であり、図7(b)は、図7(a)の車両用クラッチペダルの作動状態を概略的に示す側面図である。
図7(a)および(b)に示すように、車両用クラッチペダルが総ストロークの50%のストロークで踏力が伝達されて回転した状態においては、第1弾性片50は第1傾斜部8333に位置し、第1固定接点10と第1可動接点40は分離された状態である。そして、第2弾性片70は第2傾斜部8335に位置し、第2固定接点20と第2可動接点60は分離された状態である。前述した状態は、車両の変速機に伝達されるエンジンの動力が遮断される状態を表す。
図7(a)および(b)に示すように、車両用クラッチペダルが総ストロークの50%のストロークで踏力が伝達されて回転した状態においては、第1弾性片50は第1傾斜部8333に位置し、第1固定接点10と第1可動接点40は分離された状態である。そして、第2弾性片70は第2傾斜部8335に位置し、第2固定接点20と第2可動接点60は分離された状態である。前述した状態は、車両の変速機に伝達されるエンジンの動力が遮断される状態を表す。
図8(a)は、車両用クラッチペダルの総ストロークの85%のストローク状態の車両用クラッチペダルスイッチの作動状態を概略的に示す平面図であり、図8(b)は、(a)の車両用クラッチペダルの作動状態を概略的に示す側面図である。
図8(a)および(b)に示すように、車両用クラッチペダルの85%以上のストローク状態においては、第1弾性片50は載置突部8331上に位置し、第1固定接点10と第1可動接点40は分離された状態である。そして、第2弾性片70は載置突部8331の外側に位置し、第2固定接点20と第2可動接点60は接触した状態である。このような状態は、車両のイグニッションロック(ignition rock)が解除された状態で車両の始動が可能な状態を表す。
図8(a)および(b)に示すように、車両用クラッチペダルの85%以上のストローク状態においては、第1弾性片50は載置突部8331上に位置し、第1固定接点10と第1可動接点40は分離された状態である。そして、第2弾性片70は載置突部8331の外側に位置し、第2固定接点20と第2可動接点60は接触した状態である。このような状態は、車両のイグニッションロック(ignition rock)が解除された状態で車両の始動が可能な状態を表す。
本発明の実施形態で詳細に説明した通り、本発明の車両用クラッチペダルスイッチは、ペダルの踏力に応じた回転体80の回転角度に応じて第1および第2弾性片50、70が第1および第2傾斜部8333、8335の加圧力の伝達によって選択的に持ち上げられる作用が可能である。したがって、第1および第2固定接点10、20と第1および第2可動接点40、60の選択的な接触または接触解除作用が回転体80の回転角度に応じて自動的に行われることにより、より簡単な構成でクラッチセンサの構成が可能になる。
以上、本発明に関する好ましい実施形態を説明したが、本発明は前記実施形態に限定されず、本発明の属する技術範囲を逸脱しない範囲での全ての変更が含まれる。
10:第1固定接点
11:ハウジング
20:第2固定接点
30:スイッチボディ
40:第1可動接点
50:第1弾性片
60:第2可動接点
70:第2弾性片
80:回転体
81:第1回転部
83:第2回転部
831:回転ボディ
833:加圧突出部
8331:載置突部
8333:第1傾斜部
8335:第2傾斜部
11:ハウジング
20:第2固定接点
30:スイッチボディ
40:第1可動接点
50:第1弾性片
60:第2可動接点
70:第2弾性片
80:回転体
81:第1回転部
83:第2回転部
831:回転ボディ
833:加圧突出部
8331:載置突部
8333:第1傾斜部
8335:第2傾斜部
Claims (5)
- 第1固定接点と第2固定接点が互いに離隔して突出するスイッチボディと、
前記第1固定接点の位置に設けられ、前記第1固定接点の方向に弾性力を提供して前記第1固定接点と選択的に接触する第1可動接点を備えた第1弾性片と、
前記第2固定接点の位置に設けられ、前記第2固定接点の方向に弾性力を提供して前記第2固定接点と選択的に接触する第2可動接点を備えた第2弾性片と、
前記第1固定接点と前記第2固定接点との間でペダルの回転によって共に回転し、回転時に前記第1弾性片および前記第2弾性片に加圧力を伝達して、前記第1および第2固定接点と前記第1および第2可動接点を選択的に接触させる回転体と、
前記第1弾性片および前記第2弾性片に連結され、前記第1および第2固定接点と前記第1および第2可動接点の接触信号を伝達するターミナルとを含むことを特徴とする車両用クラッチペダルスイッチ。 - 前記回転体は、
前記ペダルに形成される係止突起が移動する長方形のホールが形成され、前記ペダルの回転力を受けて回転する第1回転部と、
前記第1回転部の回転と共に回転し、前記第1および第2弾性片に加圧力を伝達する第2回転部とを含むことを特徴とする請求項1に記載の車両用クラッチペダルスイッチ。 - 前記第2回転部は、
前記第1回転部に連結される回転ボディと、
前記回転ボディの側面に突出し、前記第1および第2弾性片の弾性力を克服する加圧力を伝達する加圧突出部とを含むことを特徴とする請求項2に記載の車両用クラッチペダルスイッチ。 - 前記加圧突出部は、
前記回転ボディの外側の一部に沿ってラウンド状に突出し、前記第1弾性片と前記第2弾性片が載置される載置突部と、
前記載置突部の一側に形成され、前記回転ボディの回転時に前記第1弾性片がスライドされる第1傾斜部と、
前記載置突部の他側に形成され、前記回転ボディの回転時に前記第2弾性片がスライドされる第2傾斜部とを含むことを特徴とする請求項3に記載の車両用クラッチペダルスイッチ。 - 前記ペダルストロークのアイドル状態において、
前記第1弾性片は前記載置突部の外側に位置し、前記第1固定接点と前記第1可動接点は接触した状態であり、前記第2弾性片は前記載置突部の上側に位置し、前記第2固定接点と前記第2可動接点は分離された状態であり、
前記ペダルの50%のストロークにおいて、
前記第1弾性片は前記第1傾斜面に位置し、前記第1固定接点と前記第1可動接点は分離された状態であり、前記第2弾性片は前記第2傾斜面に位置し、前記第2固定接点と前記第2可動接点は分離された状態であり、
前記ペダルの85%以上のストローク範囲においては、
前記第1弾性片は前記載置突部上に位置し、前記第1固定接点と前記第1可動接点は分離された状態であり、前記第2弾性片は前記載置突部の外側に位置し、前記第2固定接点と前記第2可動接点は接触した状態であることを特徴とする請求項4に記載の車両用クラッチペダルスイッチ。
Applications Claiming Priority (2)
| Application Number | Priority Date | Filing Date | Title |
|---|---|---|---|
| KR10-2010-0123713 | 2010-12-06 | ||
| KR1020100123713A KR101261947B1 (ko) | 2010-12-06 | 2010-12-06 | 차량용 클러치 페달 스위치 |
Publications (1)
| Publication Number | Publication Date |
|---|---|
| JP2012123776A true JP2012123776A (ja) | 2012-06-28 |
Family
ID=46083034
Family Applications (1)
| Application Number | Title | Priority Date | Filing Date |
|---|---|---|---|
| JP2011129978A Withdrawn JP2012123776A (ja) | 2010-12-06 | 2011-06-10 | 車両用クラッチペダルスイッチ |
Country Status (5)
| Country | Link |
|---|---|
| US (1) | US8592701B2 (ja) |
| JP (1) | JP2012123776A (ja) |
| KR (1) | KR101261947B1 (ja) |
| CN (1) | CN102485522B (ja) |
| DE (1) | DE102011052226B4 (ja) |
Cited By (2)
| Publication number | Priority date | Publication date | Assignee | Title |
|---|---|---|---|---|
| JP2014021791A (ja) * | 2012-07-19 | 2014-02-03 | Honda Motor Co Ltd | 操作量検出装置 |
| WO2020235550A1 (ja) * | 2019-05-21 | 2020-11-26 | 株式会社デンソー | アクセル装置 |
Families Citing this family (10)
| Publication number | Priority date | Publication date | Assignee | Title |
|---|---|---|---|---|
| US8550412B2 (en) * | 2010-11-08 | 2013-10-08 | Toyota Motor Engineering And Manufacturing North America, Inc. | High load resistant stop lamp switch brackets and brake pedal assemblies incorporating the same |
| JP2013256238A (ja) * | 2012-06-13 | 2013-12-26 | Yanmar Co Ltd | クラッチペダル付車両 |
| KR101383730B1 (ko) * | 2012-12-24 | 2014-04-17 | 한국오므론전장(주) | 차량용 클러치 페달의 통합 스위치 |
| KR101509744B1 (ko) * | 2013-11-20 | 2015-04-07 | 현대자동차 주식회사 | 클러치 조작 시스템 |
| CN104960413A (zh) * | 2015-07-14 | 2015-10-07 | 安徽安凯汽车股份有限公司 | 一种离合器踏板机构 |
| US10359802B2 (en) | 2016-08-22 | 2019-07-23 | Cts Corporation | Variable force electronic vehicle clutch pedal |
| CN106585958B (zh) * | 2016-11-30 | 2023-06-02 | 中国航空工业集团公司沈阳飞机设计研究所 | 一种自平衡集成中央杆 |
| CN111028609B (zh) * | 2019-12-24 | 2024-03-22 | 吉林大学 | 一种应用于驾驶模拟器的踏板感觉模拟装置 |
| KR102753900B1 (ko) | 2022-03-11 | 2025-01-14 | 성한 주식회사 | Ip 카메라 기반 원격점검 제어시스템 및 방법 |
| CN121269464A (zh) * | 2024-07-05 | 2026-01-06 | 安克创新科技股份有限公司 | 收线控制方法、收卷机构 |
Family Cites Families (15)
| Publication number | Priority date | Publication date | Assignee | Title |
|---|---|---|---|---|
| JP2946403B2 (ja) | 1995-12-28 | 1999-09-06 | 帝国通信工業株式会社 | スイッチ |
| DE19701637A1 (de) * | 1997-01-20 | 1998-07-23 | Mannesmann Vdo Ag | Pedaleinrichtung |
| JP4148553B2 (ja) * | 1998-02-20 | 2008-09-10 | 株式会社ミクニ | 車両用アクセルペダル機構 |
| DE10012179A1 (de) * | 2000-03-13 | 2001-10-04 | Methode Electronics Malta Ltd | Pedaleinrichtung für ein Kraftfahrzeug mit einer wegaufnehmenden Sensoreinheit |
| JP3870748B2 (ja) * | 2001-10-29 | 2007-01-24 | 松下電器産業株式会社 | レバースイッチ |
| KR20060070878A (ko) | 2004-12-21 | 2006-06-26 | 현대자동차주식회사 | 차량용 클러치/브레이크 페달의 스위치 어셈블리 |
| JP2006214477A (ja) | 2005-02-02 | 2006-08-17 | Hino Motors Ltd | クラッチ操作装置 |
| US7202426B2 (en) * | 2005-05-02 | 2007-04-10 | Eaton Corporation | Master cylinder position switch |
| KR20060130289A (ko) * | 2005-06-14 | 2006-12-19 | 현대모비스 주식회사 | 클러치 페달의 통합형 스위치 |
| DE102005048950B3 (de) * | 2005-10-13 | 2007-05-03 | Zf Friedrichshafen Ag | Schaltventil zur Kupplungsbetätigung |
| CN200999002Y (zh) * | 2007-01-25 | 2008-01-02 | 重庆长安汽车股份有限公司 | 具有位置感知结构的汽车离合器踏板 |
| JP4989296B2 (ja) * | 2007-04-27 | 2012-08-01 | 本田技研工業株式会社 | クラッチ操作機構 |
| JP5666917B2 (ja) | 2008-02-08 | 2015-02-12 | ユニオン カーバイド ケミカルズ アンド プラスティックス テクノロジー エルエルシー | 難燃性のポリオレフィン/熱可塑性ポリウレタン組成物 |
| CN101791949B (zh) * | 2010-03-16 | 2013-01-23 | 重庆长安汽车股份有限公司 | 一种混合动力汽车的离合器位置检测系统及方法 |
| CN201868294U (zh) * | 2010-11-30 | 2011-06-15 | 东风汽车公司 | 一种用于微混合动力汽车的离合器开关 |
-
2010
- 2010-12-06 KR KR1020100123713A patent/KR101261947B1/ko not_active Expired - Fee Related
-
2011
- 2011-06-10 JP JP2011129978A patent/JP2012123776A/ja not_active Withdrawn
- 2011-07-22 US US13/188,851 patent/US8592701B2/en not_active Expired - Fee Related
- 2011-07-28 DE DE102011052226.3A patent/DE102011052226B4/de not_active Expired - Fee Related
- 2011-07-29 CN CN201110220384.4A patent/CN102485522B/zh active Active
Cited By (3)
| Publication number | Priority date | Publication date | Assignee | Title |
|---|---|---|---|---|
| JP2014021791A (ja) * | 2012-07-19 | 2014-02-03 | Honda Motor Co Ltd | 操作量検出装置 |
| WO2020235550A1 (ja) * | 2019-05-21 | 2020-11-26 | 株式会社デンソー | アクセル装置 |
| JP2020189534A (ja) * | 2019-05-21 | 2020-11-26 | 株式会社デンソー | アクセル装置 |
Also Published As
| Publication number | Publication date |
|---|---|
| US20120138435A1 (en) | 2012-06-07 |
| DE102011052226A1 (de) | 2012-06-06 |
| DE102011052226B4 (de) | 2020-02-27 |
| KR101261947B1 (ko) | 2013-05-09 |
| KR20120062445A (ko) | 2012-06-14 |
| CN102485522A (zh) | 2012-06-06 |
| CN102485522B (zh) | 2016-05-11 |
| US8592701B2 (en) | 2013-11-26 |
Similar Documents
| Publication | Publication Date | Title |
|---|---|---|
| JP2012123776A (ja) | 車両用クラッチペダルスイッチ | |
| JP6231349B2 (ja) | スロットルグリップ装置 | |
| US8650984B2 (en) | Electronic clutch pedal assembly having varying resistance | |
| JP2009181711A (ja) | スイッチ装置 | |
| WO2011102284A1 (ja) | スイッチ装置 | |
| US7415897B2 (en) | Electronic torque wrench | |
| JP2010175297A (ja) | 車両自動運転装置 | |
| JP2006260826A (ja) | 回転型電気部品 | |
| CN205900382U (zh) | 汽车电子驻车开关 | |
| JP2006202691A (ja) | スイッチ装置 | |
| JP5689823B2 (ja) | スイッチ装置 | |
| JP4969343B2 (ja) | 車両用変速操作装置 | |
| KR20050123468A (ko) | 전자식 페달장치 | |
| JP2011124144A (ja) | 操作レバー用スイッチ装置 | |
| KR101155226B1 (ko) | 스위치 유니트 | |
| TW201633913A (zh) | 電動捲線器 | |
| JP6396846B2 (ja) | 回転操作型電気部品 | |
| CN217706154U (zh) | 用于电动代步车的指拨和电动代步车 | |
| CN112440739B (zh) | 用于电子离合器系统的离合器踏板装置 | |
| JP3856569B2 (ja) | プッシュスイッチ付き回転型電気部品 | |
| CN218112908U (zh) | 自行车操控装置 | |
| JP2004308432A (ja) | エンジン制御装置 | |
| KR102064565B1 (ko) | 차량용 오르간 타입 가속페달 장치 | |
| JP2006228620A (ja) | ステアリングスイッチ装置 | |
| KR20130065422A (ko) | 차량용 클러치 페달 장치 |
Legal Events
| Date | Code | Title | Description |
|---|---|---|---|
| A300 | Application deemed to be withdrawn because no request for examination was validly filed |
Free format text: JAPANESE INTERMEDIATE CODE: A300 Effective date: 20140902 |