JP2011255152A - ガス消火設備 - Google Patents
ガス消火設備 Download PDFInfo
- Publication number
- JP2011255152A JP2011255152A JP2010161096A JP2010161096A JP2011255152A JP 2011255152 A JP2011255152 A JP 2011255152A JP 2010161096 A JP2010161096 A JP 2010161096A JP 2010161096 A JP2010161096 A JP 2010161096A JP 2011255152 A JP2011255152 A JP 2011255152A
- Authority
- JP
- Japan
- Prior art keywords
- peripheral wall
- fire extinguishing
- wall
- gas
- end wall
- Prior art date
- Legal status (The legal status is an assumption and is not a legal conclusion. Google has not performed a legal analysis and makes no representation as to the accuracy of the status listed.)
- Granted
Links
- 230000003584 silencer Effects 0.000 claims abstract description 150
- 238000002347 injection Methods 0.000 claims abstract description 77
- 239000007924 injection Substances 0.000 claims abstract description 77
- 230000002093 peripheral effect Effects 0.000 claims description 250
- 239000011358 absorbing material Substances 0.000 claims description 118
- 230000004888 barrier function Effects 0.000 claims description 42
- 239000002184 metal Substances 0.000 claims description 19
- 230000030279 gene silencing Effects 0.000 claims description 18
- 230000000149 penetrating effect Effects 0.000 claims description 14
- 238000009423 ventilation Methods 0.000 claims description 10
- 239000007789 gas Substances 0.000 description 225
- 238000004080 punching Methods 0.000 description 6
- 238000004519 manufacturing process Methods 0.000 description 5
- 125000006850 spacer group Chemical group 0.000 description 5
- 230000002238 attenuated effect Effects 0.000 description 4
- 230000006837 decompression Effects 0.000 description 4
- 239000000463 material Substances 0.000 description 4
- 230000035939 shock Effects 0.000 description 4
- 239000003795 chemical substances by application Substances 0.000 description 3
- 230000000694 effects Effects 0.000 description 3
- 150000004820 halides Chemical class 0.000 description 3
- 230000001743 silencing effect Effects 0.000 description 3
- BZHJMEDXRYGGRV-UHFFFAOYSA-N Vinyl chloride Chemical compound ClC=C BZHJMEDXRYGGRV-UHFFFAOYSA-N 0.000 description 2
- 238000006073 displacement reaction Methods 0.000 description 2
- 239000011261 inert gas Substances 0.000 description 2
- 238000010030 laminating Methods 0.000 description 2
- 239000006096 absorbing agent Substances 0.000 description 1
- 238000007796 conventional method Methods 0.000 description 1
- 238000003780 insertion Methods 0.000 description 1
- 230000037431 insertion Effects 0.000 description 1
- 238000010943 off-gassing Methods 0.000 description 1
- 238000003825 pressing Methods 0.000 description 1
Images
Classifications
-
- A—HUMAN NECESSITIES
- A62—LIFE-SAVING; FIRE-FIGHTING
- A62C—FIRE-FIGHTING
- A62C99/00—Subject matter not provided for in other groups of this subclass
- A62C99/0009—Methods of extinguishing or preventing the spread of fire by cooling down or suffocating the flames
- A62C99/0018—Methods of extinguishing or preventing the spread of fire by cooling down or suffocating the flames using gases or vapours that do not support combustion, e.g. steam, carbon dioxide
-
- A—HUMAN NECESSITIES
- A62—LIFE-SAVING; FIRE-FIGHTING
- A62C—FIRE-FIGHTING
- A62C31/00—Delivery of fire-extinguishing material
- A62C31/02—Nozzles specially adapted for fire-extinguishing
-
- A—HUMAN NECESSITIES
- A62—LIFE-SAVING; FIRE-FIGHTING
- A62C—FIRE-FIGHTING
- A62C31/00—Delivery of fire-extinguishing material
- A62C31/28—Accessories for delivery devices, e.g. supports
-
- A—HUMAN NECESSITIES
- A62—LIFE-SAVING; FIRE-FIGHTING
- A62C—FIRE-FIGHTING
- A62C35/00—Permanently-installed equipment
- A62C35/58—Pipe-line systems
-
- A—HUMAN NECESSITIES
- A62—LIFE-SAVING; FIRE-FIGHTING
- A62C—FIRE-FIGHTING
- A62C35/00—Permanently-installed equipment
- A62C35/58—Pipe-line systems
- A62C35/68—Details, e.g. of pipes or valve systems
Landscapes
- Health & Medical Sciences (AREA)
- Public Health (AREA)
- Business, Economics & Management (AREA)
- Emergency Management (AREA)
- Fire-Extinguishing By Fire Departments, And Fire-Extinguishing Equipment And Control Thereof (AREA)
- Nozzles (AREA)
Abstract
【解決手段】 消火ガス供給源15から導管14、分岐管18および枝管19を介して供給される消火ガスを噴射する噴射ヘッド13に、消音装置17を設け、消火ガスの噴射流に起因するによる噴射音を抑制する。
【選択図】 図1
Description
噴射ヘッドが接続され、噴射ヘッドに高圧の消火ガスを導く導管と、
導管に高圧の消火ガスを供給する消火ガス供給源と、
噴射ヘッドに設けられ、ノズル部からの消火ガスの放出による音響を減衰させる消音装置とを含むことを特徴とするガス消火設備である。
周壁には、複数の通気孔が該周壁の厚み方向に貫通して形成されることを特徴とする。
端壁には、複数の通気孔が該端壁の厚み方向に貫通して形成されることを特徴とする。
端壁には、その厚み方向に貫通するガス放出孔が形成され、
内筒体は、複数の透孔が形成される筒状部と、筒状部の軸線方向一端部に、該筒状部の軸線に垂直に形成される端板とを有することを特徴とする。
噴射ヘッドが接続され、噴射ヘッドに高圧の消火ガスを導く導管と、
導管に高圧の消火ガスを供給する消火ガス供給源とを含み、
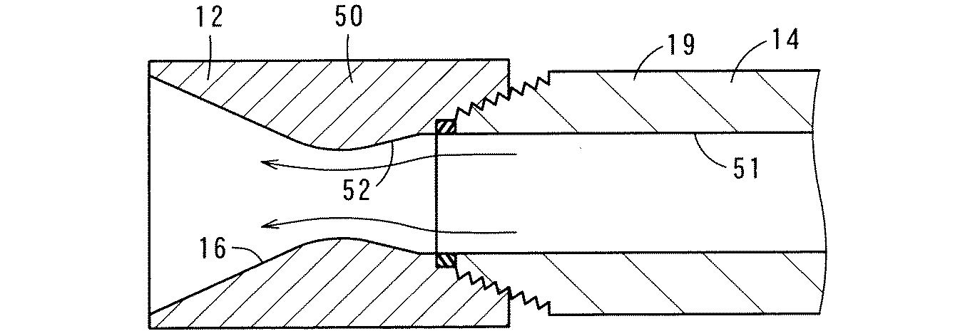
噴射ヘッドのノズル部には、前記導管の内周面に滑らかに連なる内周面を有するノズル孔が形成されることを特徴とするガス消火設備である。
を介して建物内などの空間に向けて噴射される。このような噴射ヘッドには導管の内周面に滑らかに連なる内周面を有するノズル孔が形成されるので、噴射ヘッドのノズル部から高速で噴射される消火ガスの噴射流に起因して大きな噴射音を発生することが防がれる。
噴射ヘッドが接続され、噴射ヘッドに高圧の消火ガスを導く導管と、
導管に高圧の消火ガスを供給する消火ガス供給源と、
噴射ヘッドと導管との間に設けられ、ノズル部からの消火ガスの放出による音響を減衰させる消音装置とを含むことを特徴とするガス消火設備である。
第1の端壁には、周壁の軸線を中心として該第1の端壁の中央部に、少なくとも1つの透孔が該第1の端壁の厚み方向に貫通して形成され、
第2の端壁には、複数の透孔が該第2の端壁の厚み方向に貫通して形成されることを特徴とする。
第1の端壁には、導管から供給される高圧の消火ガスを、周壁、第1の端壁および第2の端壁によって規定される内部空間に噴出する複数のノズル孔を有する案内部が、周壁の軸線上に該内部空間に臨んで形成され、該複数のノズル孔は、周壁の軸線に直交する軸線上に周壁の軸線に関して周方向に等角度で間隔をあけて形成され、
第2の端壁には、複数の透孔が該第2の端壁の厚み方向に貫通して形成されることを特徴とする。
部へ放出される。消音装置は、第1の端壁に形成される案内部のノズル孔から高速で噴射された消火ガスを消音装置内の空間で膨張させることによって、第2の端壁に形成される透孔での流速を下げるので、噴射ヘッドからの消火ガス放出による音響の発生が抑制される。
障壁には、複数の透孔が該障壁の厚み方向に貫通して形成され、
導通管には、導通管の軸線方向一端部に噴射ヘッドに着脱可能に連結される連結部が形成され、導通管の軸線方向他端部に端板が形成され、導通管の周壁のうち第1の消音室に突き出された部分には、複数の透孔が該導通管の周壁の厚み方向に貫通して形成され、
通気管は、障壁および第1の端壁を貫通して配置されることを特徴とする。
障壁には、複数の透孔が該障壁の厚み方向に貫通して形成され、
導通管には、導通管の軸線方向一端部に噴射ヘッドに着脱可能に連結される連結部が形成され、導通管の軸線方向他端部に端板が形成され、導通管の周壁のうち第1の消音室に突き出された部分には、複数の透孔が該導通管の周壁の厚み方向に貫通して形成され、
複数の通気管は、周壁の軸線に直交する軸線上に、周壁の軸線に関して周方向に等角度で間隔をあけて配置され、それぞれ周壁を貫通して形成されることを特徴とする。
12から高速で噴射された消火ガスの噴射流に起因する音響振動は、吸音材33によって吸収され、ガス放出孔34から外部へ放出される。これによって、消火ガスの噴射に起因する噴射音の発生を抑制することができる。
び端壁82を貫通して配置され、消音室88側の開口部に金網891が設けられ、外部への開口部である消火ガス噴射口892から消火ガスを噴射する。通気管89の材料は、たとえば塩化ビニールである。
に垂直に形成される障壁85と、噴射ヘッド13から噴射される消火ガスを、周壁81、端壁82および障壁85によって規定される内部空間である消音室86に導く円筒状の導通管87と、周壁81、端壁84および障壁85によって規定される内部空間である消音室88内の消火ガスを消音装置17eの外部に導く円筒状の複数の通気管89aとを含む。
。本実施形態において、消音装置17gは、たとえば消火対象区画の壁面に設けられる噴射ヘッド13に取付けられる。
ガスをさらに減圧し、その流速を下げることができる。これによって、消火ガスの噴射に起因する噴射音の発生をさらに抑制することができる。
によって衝撃波を伴なう強い乱れの発生を防ぎ、減音することができる。第1吸音材152から空間170に排出された消火ガスは、第2吸音材153に浸入して前記第1吸音材152と同様に急激に拡散されて減速され、筒部150の内周面で反射されて第3吸音材156へ向かう。第3吸音材156に浸入した消火ガスは、前述の第1および第2吸音材152,153と同様に、急激に膨張する前に拡散して失速し、これによってさらに減音され、消火ガスの噴射に起因する噴射音を格段に低減することができる。
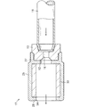
12 ノズル部
13,50,50a 噴射ヘッド
14 導管
15 消火ガス供給源
16,71 ノズル孔
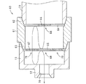
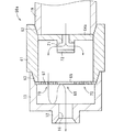
17,17a〜17h,60,60a 消音装置
18 分岐管
19 枝管
20 基台
21 ブラケット
22 締結具
23 主管
25,35,41,61,81 周壁
26,36,42,64,64a,65,82,84 端壁
27,37,43,62,63,83,123 取付け部
28 噴射方向下流側に臨む部分
29 内筒体
30,66,67,851,874 透孔
31 円筒部
32,872 端板
33 吸音材
34 ガス放出孔
38,44 通気孔
39,45 内部空間
40,46 吸音材
51,52 内周面
55 エッジ部
72 案内部
85 障壁
86,88 消音室
87 導通管
89,89a 通気管
125 吸音材
134 第1吸音材
135 第2吸音材
136 第3吸音材
871 連結部
891 金網
892,892a 消火ガス噴射口
D1,D2 内径
噴射ヘッドが接続され、噴射ヘッドに高圧の消火ガスを導く導管と、
導管に高圧の消火ガスを供給する消火ガス供給源と、
噴射ヘッドに設けられ、ノズル部からの消火ガスの放出による音響を減衰させる消音装置とを含むガス消火設備であって、
前記消音装置は、筒状の周壁と、周壁の軸線方向一端部に、該周壁の軸線に垂直に形成される端壁と、周壁の軸線方向他端部に、噴射ヘッドに着脱可能に形成される取付け部とを含み、
前記周壁には、複数の通気孔が該周壁の厚み方向に貫通して形成され、
前記周壁、端壁および取付け部によって規定される内部空間には、吸音材が収容されることを特徴とするガス消火設備である。
また、消音装置は周壁と端壁と取付け部とを有し、取付け部によって噴射ヘッドに着脱可能に取付けられる。このように消音装置が構成されることによって、噴射ヘッドのノズル部から噴射された消火ガスは、端壁に衝突した後、周壁に形成される複数の透孔から外部に放出され、大きな噴射音の発生が抑制される。
また、前記消音装置の周壁、端壁および取付け部によって規定される内部空間に吸音材が収容されるので、この吸音材によって消火ガスの噴射流の振動が吸収され、これによってより一層噴射音の発生が防がれる。
Claims (14)
- 高圧の消火ガスを空間に向けて噴射するノズル部を有する噴射ヘッドと、
噴射ヘッドが接続され、噴射ヘッドに高圧の消火ガスを導く導管と、
導管に高圧の消火ガスを供給する消火ガス供給源と、
噴射ヘッドに設けられ、ノズル部からの消火ガスの放出による音響を減衰させる消音装置とを含むことを特徴とするガス消火設備。 - 消音装置は、筒状の周壁と、周壁の軸線方向一端部に、該周壁の軸線に垂直に形成される端壁と、周壁の軸線方向他端部に、噴射ヘッドに着脱可能に形成される取付け部とを含み、
周壁には、複数の通気孔が該周壁の厚み方向に貫通して形成されることを特徴とする請求項1記載のガス消火設備。 - 消音装置は、筒状の周壁と、周壁の軸線方向一端部に、該周壁の軸線に垂直に形成される端壁と、周壁の軸線方向他端部に、噴射ヘッドに着脱可能に形成される取付け部とを含み、
端壁には、複数の通気孔が該端壁の厚み方向に貫通して形成されることを特徴とする請求項1記載のガス消火設備。 - 周壁、端壁および取付け部によって規定される内部空間には、吸音材が収容されることを特徴とする請求項2または3記載のガス消火設備。
- 消音装置は、筒状の周壁と、周壁の軸線方向一端部に、該周壁の軸線に垂直に形成される端壁と、周壁の軸線方向他端部に、噴射ヘッドが一体的に形成される取付け部と、噴射ヘッドのノズル部における消火ガスの噴射方向下流側に臨む部分に設けられる内筒体とを含み、
端壁には、その厚み方向に貫通するガス放出孔が形成され、
内筒体は、複数の透孔が形成される筒状部と、筒状部の軸線方向一端部に、該筒状部の軸線に垂直に形成される端板とを有することを特徴とする請求項1記載のガス消火設備。 - 高圧の消火ガスを空間に向けて噴射するノズル部を有する噴射ヘッドと、
噴射ヘッドが接続され、噴射ヘッドに高圧の消火ガスを導く導管と、
導管に高圧の消火ガスを供給する消火ガス供給源とを含み、
噴射ヘッドのノズル部には、前記導管の内周面に滑らかに連なる内周面を有するノズル孔が形成されることを特徴とするガス消火設備。 - 高圧の消火ガスを空間に向けて噴射するノズル部を有する噴射ヘッドと、
噴射ヘッドに高圧の消火ガスを導く導管と、
導管に高圧の消火ガスを供給する消火ガス供給源と、
噴射ヘッドと導管との間に設けられ、ノズル部からの消火ガスの放出による音響を減衰させる消音装置とを含むことを特徴とするガス消火設備。 - 前記消音装置は、筒状の周壁と、周壁の軸線方向一端部に、導管に着脱可能に形成される第1の取付け部と、周壁の軸線方向他端部に、噴射ヘッドに着脱可能に形成される第2の取付け部と、前記一端部に周壁の軸線に垂直に形成される第1の端壁と、前記他端部に周壁の軸線に垂直に形成される第2の端壁とを含み、
第1の端壁には、周壁の軸線を中心として該第1の端壁の中央部に、少なくとも1つの透孔が該第1の端壁の厚み方向に貫通して形成され、
第2の端壁には、複数の透孔が該第2の端壁の厚み方向に貫通して形成されることを特
徴とする請求項7記載のガス消火設備。 - 前記消音装置は、筒状の周壁と、周壁の軸線方向一端部に、導管に着脱可能に形成される第1の取付け部と、周壁の軸線方向他端部に、噴射ヘッドに着脱可能に形成される第2の取付け部と、前記一端部に周壁の軸線に垂直に形成される第1の端壁と、前記他端部に周壁の軸線に垂直に形成される第2の端壁とを含み、
第1の端壁には、導管から供給される高圧の消火ガスを、周壁、第1の端壁および第2の端壁によって規定される内部空間に噴出する複数のノズル孔を有する案内部が、周壁の軸線上に該内部空間に臨んで形成され、該複数のノズル孔は、周壁の軸線に直交する軸線上に周壁の軸線に関して周方向に等角度で間隔をあけて形成され、
第2の端壁には、複数の透孔が該第2の端壁の厚み方向に貫通して形成されることを特徴とする請求項7記載のガス消火設備。 - 前記消音装置は、筒状の周壁と、周壁の軸線方向一端部に、該周壁の軸線に垂直に形成される第1の端壁と、噴射ヘッドに着脱可能に形成される取付け部を有し、周壁の軸線方向他端部に該周壁の軸線に垂直に形成される第2の端壁と、第1の端壁と第2の端壁との間に、周壁の軸線に垂直に形成される障壁と、噴射ヘッドから噴射される消火ガスを、周壁、第1の端壁および障壁によって規定される内部空間である第1の消音室に導く円筒状の導通管と、周壁、第2の端壁および障壁によって規定される内部空間である第2の消音室内の消火ガスを外部に導く筒状の通気管とを含み、
障壁には、複数の透孔が該障壁の厚み方向に貫通して形成され、
導通管には、導通管の軸線方向一端部に噴射ヘッドに着脱可能に連結される連結部が形成され、導通管の軸線方向他端部に端板が形成され、導通管の周壁のうち第1の消音室に突き出された部分には、複数の透孔が該導通管の周壁の厚み方向に貫通して形成され、
通気管は、障壁および第1の端壁を貫通して配置されることを特徴とする請求項1記載のガス消火設備。 - 前記消音装置は、筒状の周壁と、周壁の軸線方向一端部に、該周壁の軸線に垂直に形成される第1の端壁と、噴射ヘッドに着脱可能に形成される取付け部を有し、周壁の軸線方向他端部に該周壁の軸線に垂直に形成される第2の端壁と、第1の端壁と第2の端壁との間に、周壁の軸線に垂直に形成される障壁と、噴射ヘッドから噴射される消火ガスを、周壁、第1の端壁および障壁によって規定される内部空間である第1の消音室に導く筒状の導通管と、周壁、第2の端壁および障壁によって規定される内部空間である第2の消音室内の消火ガスを外部に導く筒状の複数の通気管とを含み、
障壁には、複数の透孔が該障壁の厚み方向に貫通して形成され、
導通管には、導通管の軸線方向一端部に噴射ヘッドに着脱可能に連結される連結部が形成され、導通管の軸線方向他端部に端板が形成され、導通管の周壁のうち第1の消音室に突き出された部分には、複数の透孔が該導通管の周壁の厚み方向に貫通して形成され、
複数の通気管は、周壁の軸線に直交する軸線上に、周壁の軸線に関して周方向に等角度で間隔をあけて配置され、それぞれ周壁を貫通して形成されることを特徴とする請求項1記載のガス消火設備。 - 前記消音装置は、
筒状の周壁と、
周壁の軸線方向一端部に、該周壁の軸線に垂直に形成される端壁と、
噴射ヘッドに着脱可能に形成される取付け部と、
周壁、端壁および噴射ヘッドによって規定される内部空間に収容される、多孔質の金属から成る吸音材とを含むことを特徴とする請求項1記載のガス消火設備。 - 前記吸音材は、
周壁の軸線方向一端部に設けられる第1吸音材と、前記軸線方向他端部に設けられる第2吸音材とを含むことを特徴とする請求項12記載のガス消火設備。 - 前記第1吸音材と前記第2吸音材との間に設けられる、第3吸音材をさらに含むことを特徴とする請求項13記載のガス消火設備。
Priority Applications (10)
| Application Number | Priority Date | Filing Date | Title |
|---|---|---|---|
| JP2010161096A JP5276630B2 (ja) | 2009-10-23 | 2010-07-15 | ガス消火設備 |
| CN201080047808.5A CN102573998B (zh) | 2009-10-23 | 2010-10-14 | 气体灭火设备 |
| CN201410226960.XA CN104014097B (zh) | 2009-10-23 | 2010-10-14 | 气体灭火设备 |
| KR1020127013224A KR101352714B1 (ko) | 2009-10-23 | 2010-10-14 | 가스소화설비 |
| US13/503,441 US9457214B2 (en) | 2009-10-23 | 2010-10-14 | Gas fire-extinguishing apparatus |
| PCT/JP2010/068087 WO2011049002A1 (ja) | 2009-10-23 | 2010-10-14 | ガス消火設備 |
| KR1020137023062A KR101412253B1 (ko) | 2009-10-23 | 2010-10-14 | 가스소화설비 |
| CN201610528048.9A CN106139480A (zh) | 2009-10-23 | 2010-10-14 | 建筑物内的设备室、气体灭火方法和设备、及消音装置 |
| EP17178419.2A EP3243552B1 (en) | 2009-10-23 | 2010-10-14 | Gas fire-extinguishing apparatus |
| EP10824851.9A EP2491984B1 (en) | 2009-10-23 | 2010-10-14 | Gas fire-extinguishing facility |
Applications Claiming Priority (7)
| Application Number | Priority Date | Filing Date | Title |
|---|---|---|---|
| JP2009244986 | 2009-10-23 | ||
| JP2009244986 | 2009-10-23 | ||
| JP2010023575 | 2010-02-04 | ||
| JP2010023575 | 2010-02-04 | ||
| JP2010086586 | 2010-04-02 | ||
| JP2010086586 | 2010-04-02 | ||
| JP2010161096A JP5276630B2 (ja) | 2009-10-23 | 2010-07-15 | ガス消火設備 |
Related Child Applications (5)
| Application Number | Title | Priority Date | Filing Date |
|---|---|---|---|
| JP2011153352A Division JP4988945B2 (ja) | 2009-10-23 | 2011-07-11 | ガス消火設備 |
| JP2011267400A Division JP5576846B2 (ja) | 2009-10-23 | 2011-12-06 | ガス消火設備 |
| JP2011267402A Division JP2012055713A (ja) | 2009-10-23 | 2011-12-06 | ガス消火設備 |
| JP2011267401A Division JP5576847B2 (ja) | 2009-10-23 | 2011-12-06 | ガス消火設備 |
| JP2013052442A Division JP5589111B2 (ja) | 2009-10-23 | 2013-03-14 | ガス消火設備 |
Publications (2)
| Publication Number | Publication Date |
|---|---|
| JP2011255152A true JP2011255152A (ja) | 2011-12-22 |
| JP5276630B2 JP5276630B2 (ja) | 2013-08-28 |
Family
ID=43900229
Family Applications (1)
| Application Number | Title | Priority Date | Filing Date |
|---|---|---|---|
| JP2010161096A Active JP5276630B2 (ja) | 2009-10-23 | 2010-07-15 | ガス消火設備 |
Country Status (6)
| Country | Link |
|---|---|
| US (1) | US9457214B2 (ja) |
| EP (2) | EP3243552B1 (ja) |
| JP (1) | JP5276630B2 (ja) |
| KR (2) | KR101352714B1 (ja) |
| CN (3) | CN106139480A (ja) |
| WO (1) | WO2011049002A1 (ja) |
Cited By (14)
| Publication number | Priority date | Publication date | Assignee | Title |
|---|---|---|---|---|
| JP2011120797A (ja) * | 2009-12-11 | 2011-06-23 | Air Water Safety Service Inc | 消火ガス噴射装置 |
| WO2013125383A1 (ja) | 2012-02-21 | 2013-08-29 | 株式会社コーアツ | ガス系消火設備用の消音機能を有する噴射ヘッド |
| JP2013169472A (ja) * | 2013-04-17 | 2013-09-02 | Koatsu Co Ltd | ガス系消火設備用の消音機能を有する噴射ヘッド |
| JP2013169333A (ja) * | 2012-02-21 | 2013-09-02 | Koatsu Co Ltd | ガス系消火設備用の消音機能を有する噴射ヘッド |
| JP2013192960A (ja) * | 2013-04-17 | 2013-09-30 | Koatsu Co Ltd | ガス系消火設備用の消音機能を有する噴射ヘッド |
| JP2013192764A (ja) * | 2012-03-21 | 2013-09-30 | Koatsu Co Ltd | ガス系消火設備用の消音機能を有する噴射ヘッド |
| JP2014087707A (ja) * | 2009-11-02 | 2014-05-15 | Koatsu Co Ltd | ガス系消火設備用の消音機能を有する噴射ヘッド |
| JP2015091305A (ja) * | 2013-10-02 | 2015-05-14 | エア・ウォーター防災株式会社 | 消火ガス噴射装置およびそれを備えたガス消火装置 |
| US9457214B2 (en) | 2009-10-23 | 2016-10-04 | Air Water Safety Service Inc. | Gas fire-extinguishing apparatus |
| US9597537B2 (en) | 2012-05-03 | 2017-03-21 | Koatsu Co., Ltd. | Injection head having silencing function for gas type fire extinguisher |
| JP2018057724A (ja) * | 2016-10-07 | 2018-04-12 | ニッタン株式会社 | ガス消火設備用ガス放出ノズル |
| WO2018123656A1 (ja) | 2016-12-26 | 2018-07-05 | 株式会社コーアツ | ガス系消火設備用の消音機能を有する噴射ヘッド及びその保管・組立方法 |
| WO2020071329A1 (ja) * | 2018-10-02 | 2020-04-09 | 株式会社コーアツ | 液化消火剤用噴射ヘッド |
| RU2786611C2 (ru) * | 2018-10-02 | 2022-12-22 | Коацу Ко., Лтд. | Распылительная головка для жидкого огнетушащего вещества |
Families Citing this family (18)
| Publication number | Priority date | Publication date | Assignee | Title |
|---|---|---|---|---|
| JP4988945B2 (ja) * | 2009-10-23 | 2012-08-01 | エア・ウォーター防災株式会社 | ガス消火設備 |
| US8887820B2 (en) * | 2011-05-12 | 2014-11-18 | Fike Corporation | Inert gas suppression system nozzle |
| KR102108374B1 (ko) | 2013-10-25 | 2020-05-08 | 삼성전자주식회사 | 스토리지 시스템 및 그것의 비신호 분석 방법 |
| GB2543357A (en) * | 2015-10-16 | 2017-04-19 | Graviner Ltd Kidde | Fire supression systems |
| WO2017096261A1 (en) | 2015-12-04 | 2017-06-08 | Tyco Fire Products Lp | Low pressure drop acoustic suppressor nozzle for inert gas discharge system |
| CN208694106U (zh) | 2015-12-04 | 2019-04-05 | 泰科消防产品有限合伙公司 | 一种喷嘴、喷嘴组件以及灭火喷嘴组件 |
| CN105641841A (zh) * | 2016-01-25 | 2016-06-08 | 维梯埃消防设备(上海)有限公司 | 一种消音装置 |
| RU2717772C1 (ru) * | 2016-06-13 | 2020-03-25 | Коацу Ко., Лтд. | Огнетушитель |
| CN106247037A (zh) * | 2016-08-25 | 2016-12-21 | 吴速 | 一种灭火介质输送带及其快速放带盘 |
| KR102620362B1 (ko) * | 2016-08-31 | 2024-01-04 | 삼성전자주식회사 | 공기조화기 |
| EP3311886A1 (de) * | 2016-10-20 | 2018-04-25 | Siemens Schweiz AG | Schallgedämpfte löschdüsenanordnung mit frequenzselektiver schalldämpfschicht sowie geeignete verwendung |
| MY205180A (en) * | 2017-05-19 | 2024-10-04 | Koatsu Co Ltd | Injection head for liquefied fire-extinguishing agent |
| US11117007B2 (en) * | 2017-11-10 | 2021-09-14 | Carrier Corporation | Noise reducing fire suppression nozzles |
| CN114599430A (zh) * | 2019-08-09 | 2022-06-07 | 泰科消防产品有限合伙公司 | 灭火喷嘴和系统 |
| US12186606B2 (en) * | 2020-01-31 | 2025-01-07 | Kidde-Fenwal, Llc | Low noise discharge nozzle |
| US20210291000A1 (en) * | 2020-03-20 | 2021-09-23 | Kidde Technologies, Inc. | Fire suppression systems and methods of controlling flow of fire suppressant agents in fire suppression systems |
| CN113209528B (zh) * | 2021-06-15 | 2025-05-27 | 浙江理工大学 | 引射式超声速干粉灭火装置 |
| CN115750291A (zh) * | 2022-10-26 | 2023-03-07 | 中国大唐集团科学技术研究总院有限公司 | 一种压缩空气储能排气系统 |
Citations (5)
| Publication number | Priority date | Publication date | Assignee | Title |
|---|---|---|---|---|
| JPS60175718A (ja) * | 1984-02-22 | 1985-09-09 | Nippon Soken Inc | 内燃機関用消音器 |
| JPH09324617A (ja) * | 1996-06-04 | 1997-12-16 | Ndc Co Ltd | 消音器 |
| JP2003206718A (ja) * | 2002-01-16 | 2003-07-25 | Fuji Heavy Ind Ltd | 消音器 |
| JP2003530922A (ja) * | 2000-04-17 | 2003-10-21 | コトライアー・イガー・ケイ | 有人環境での低酸素濃度火災予防システム及び火災抑止システム並びに呼吸可能な消火性組成物 |
| JP2007167557A (ja) * | 2005-12-26 | 2007-07-05 | Gastar Corp | 微細気泡噴出ノズル及びそれを利用した微細気泡発生装置 |
Family Cites Families (57)
| Publication number | Priority date | Publication date | Assignee | Title |
|---|---|---|---|---|
| US1811762A (en) * | 1929-05-08 | 1931-06-23 | Burgess Lab Inc C F | Exhaust muffler |
| US1844104A (en) | 1929-05-08 | 1932-02-09 | Burgess Lab Inc C F | Exhaust muffler |
| US1844106A (en) | 1929-05-08 | 1932-02-09 | Burgess Lab Inc C F | Exhaust muffler |
| US1844105A (en) * | 1929-05-08 | 1932-02-09 | Burgess Lab Inc C F | Exhaust muffler |
| US2030017A (en) | 1930-09-26 | 1936-02-04 | Mile Raymond | Automatic smoke preventer |
| US1968456A (en) | 1932-07-28 | 1934-07-31 | Burgess Lab Inc C F | Gaseous pressure wave absorbing construction |
| US2376933A (en) | 1943-01-04 | 1945-05-29 | Stone Wheel Inc | Spark and flame arrestor |
| US2442773A (en) | 1944-05-05 | 1948-06-08 | Bell Telephone Labor Inc | Sound suppressor |
| US2559408A (en) * | 1946-10-11 | 1951-07-03 | Pyrene Mfg Co | Fire extinguisher nozzle for vehicles |
| US2600236A (en) * | 1948-11-16 | 1952-06-10 | Esther Larsen | Muffler with a plurality of passages |
| US2792760A (en) * | 1954-03-26 | 1957-05-21 | Hammer Alexander | Combination flash eliminator and stabilizer for a firearm |
| US3339668A (en) | 1965-03-18 | 1967-09-05 | C W Morris Company | Air exhaust noise attenuator |
| US3672465A (en) * | 1970-10-15 | 1972-06-27 | Blatt Leland F | Gas exhaust silencer |
| US3960239A (en) * | 1973-08-15 | 1976-06-01 | Barry Wright Corporation | Noise-reducing fluid-flow devices |
| JPS515799U (ja) | 1974-06-29 | 1976-01-16 | ||
| US3949828A (en) | 1974-08-30 | 1976-04-13 | Barry Wright Corporation | Fluid exhaust silencer |
| JPS5512824Y2 (ja) * | 1975-08-05 | 1980-03-22 | ||
| JPS6033544B2 (ja) | 1977-03-17 | 1985-08-03 | 株式会社豊田中央研究所 | 低騒音用圧力流体放出装置 |
| JPS5644423Y2 (ja) | 1978-07-12 | 1981-10-17 | ||
| JPS56161110U (ja) * | 1980-04-30 | 1981-12-01 | ||
| JPS58103100U (ja) | 1982-01-06 | 1983-07-13 | 横河電機株式会社 | 空気パ−ジ用消音器 |
| JPS5933450U (ja) | 1982-08-25 | 1984-03-01 | ニツタン株式会社 | ガス系消火設備の試験用ガス排出管の消音器 |
| JPH0332736Y2 (ja) * | 1985-03-22 | 1991-07-11 | ||
| JPH0640896Y2 (ja) * | 1987-11-13 | 1994-10-26 | 日酸運輸株式会社 | サイレンサー |
| SU1657679A1 (ru) | 1989-02-28 | 1991-06-23 | Московский автомеханический институт | Глушитель шума газовой струи |
| US5250094A (en) * | 1992-03-16 | 1993-10-05 | Donaldson Company, Inc. | Ceramic filter construction and method |
| JP3093440B2 (ja) | 1992-05-26 | 2000-10-03 | 日本電気株式会社 | 光磁気記録媒体及びその製造方法 |
| JPH0742849B2 (ja) | 1992-06-30 | 1995-05-15 | 三和産業株式会社 | コンクリートモルタル吹付機の排気用消音装置 |
| JPH0647683A (ja) | 1992-07-08 | 1994-02-22 | Shuichi Teramoto | ホースベルトの離脱装置およびホースの離脱装置 |
| JP2593556Y2 (ja) * | 1993-01-29 | 1999-04-12 | 株式会社クボタ | 空気圧ノズル |
| US5511621A (en) * | 1994-04-08 | 1996-04-30 | Factory Mutual Research | Local flooding fine water spray fire suppression system using recirculation principles |
| JPH08173565A (ja) | 1994-12-22 | 1996-07-09 | Koatsu:Kk | 不活性ガス消火設備における消火方法及びその設備 |
| US5799652A (en) | 1995-05-22 | 1998-09-01 | Hypoxico Inc. | Hypoxic room system and equipment for Hypoxic training and therapy at standard atmospheric pressure |
| US6314754B1 (en) | 2000-04-17 | 2001-11-13 | Igor K. Kotliar | Hypoxic fire prevention and fire suppression systems for computer rooms and other human occupied facilities |
| JPH09124302A (ja) | 1995-10-30 | 1997-05-13 | Masayuki Imai | 酸素濃縮器 |
| JP3037617B2 (ja) * | 1996-07-15 | 2000-04-24 | シーケーディ株式会社 | 消音器及びその製造方法 |
| DE19719535A1 (de) | 1996-10-16 | 1998-04-23 | Gerd Schwertfeger | Vorrichtung zur Schalldämpfung |
| JPH1190285A (ja) * | 1997-09-17 | 1999-04-06 | Kenki Engineering:Kk | 局部塗装方法および装置 |
| JPH11325655A (ja) | 1998-05-14 | 1999-11-26 | Matsushita Seiko Co Ltd | 消音器および空気調和機 |
| US6112850A (en) * | 1999-09-07 | 2000-09-05 | Met Pro Corporation | Acoustic silencer nozzle |
| CN2406694Y (zh) | 2000-02-29 | 2000-11-22 | 丁一 | 气体灭火喷嘴 |
| IT1317475B1 (it) | 2000-05-05 | 2003-07-09 | Vesta S R L | Ugello silenziato per la scarica di gas estinguenti. |
| DE60216244T2 (de) * | 2001-03-29 | 2007-05-10 | Kidde IP Holdings Ltd., Colnbrook, Slough | Mittel zum feuerlöschen und zur explosionsunterdrückung |
| DE20120671U1 (de) * | 2001-12-21 | 2002-03-14 | TOTAL WALTHER GmbH, Feuerschutz und Sicherheit, 51069 Köln | Feuerlöschanlage |
| JP4196181B2 (ja) | 2003-04-25 | 2008-12-17 | 英雄 中嶋 | 吸音材料 |
| JP2005002873A (ja) | 2003-06-11 | 2005-01-06 | Aisin Seiki Co Ltd | 消音器 |
| EP1684891A1 (en) * | 2003-11-20 | 2006-08-02 | Air Institution, Inc. | Exhaust gas filter and filtering system |
| JP4561349B2 (ja) | 2004-12-20 | 2010-10-13 | パナソニック電工株式会社 | 液体ノズル |
| JP4613619B2 (ja) | 2005-01-13 | 2011-01-19 | Smc株式会社 | サイレンサ |
| JP2006296491A (ja) | 2005-04-15 | 2006-11-02 | Air Water Safety Service Inc | 液体噴射用発泡ノズル |
| JP2006307719A (ja) | 2005-04-27 | 2006-11-09 | Calsonic Kansei Corp | 車両用消音器 |
| US7587969B2 (en) * | 2005-08-26 | 2009-09-15 | Robert Silvers | Asymmetric firearm silencer with coaxial elements |
| KR100655293B1 (ko) * | 2005-11-23 | 2006-12-08 | 대우조선해양 주식회사 | 장거리 기류이송용 축류식 터보 제트팬 |
| JP4969300B2 (ja) * | 2006-05-18 | 2012-07-04 | 英夫 吉田 | 消火ガス噴射器 |
| KR100755722B1 (ko) | 2007-03-08 | 2007-09-05 | 한국뉴매틱(주) | 공압장치용 사일렌서 |
| CN101366997B (zh) | 2008-06-30 | 2011-07-20 | 芜湖世纪凯旋消防设备有限公司 | 一种气体灭火系统的灭火剂喷头 |
| JP5276630B2 (ja) | 2009-10-23 | 2013-08-28 | エア・ウォーター防災株式会社 | ガス消火設備 |
-
2010
- 2010-07-15 JP JP2010161096A patent/JP5276630B2/ja active Active
- 2010-10-14 EP EP17178419.2A patent/EP3243552B1/en active Active
- 2010-10-14 EP EP10824851.9A patent/EP2491984B1/en active Active
- 2010-10-14 WO PCT/JP2010/068087 patent/WO2011049002A1/ja not_active Ceased
- 2010-10-14 US US13/503,441 patent/US9457214B2/en active Active
- 2010-10-14 CN CN201610528048.9A patent/CN106139480A/zh active Pending
- 2010-10-14 CN CN201080047808.5A patent/CN102573998B/zh active Active
- 2010-10-14 KR KR1020127013224A patent/KR101352714B1/ko active Active
- 2010-10-14 KR KR1020137023062A patent/KR101412253B1/ko active Active
- 2010-10-14 CN CN201410226960.XA patent/CN104014097B/zh active Active
Patent Citations (5)
| Publication number | Priority date | Publication date | Assignee | Title |
|---|---|---|---|---|
| JPS60175718A (ja) * | 1984-02-22 | 1985-09-09 | Nippon Soken Inc | 内燃機関用消音器 |
| JPH09324617A (ja) * | 1996-06-04 | 1997-12-16 | Ndc Co Ltd | 消音器 |
| JP2003530922A (ja) * | 2000-04-17 | 2003-10-21 | コトライアー・イガー・ケイ | 有人環境での低酸素濃度火災予防システム及び火災抑止システム並びに呼吸可能な消火性組成物 |
| JP2003206718A (ja) * | 2002-01-16 | 2003-07-25 | Fuji Heavy Ind Ltd | 消音器 |
| JP2007167557A (ja) * | 2005-12-26 | 2007-07-05 | Gastar Corp | 微細気泡噴出ノズル及びそれを利用した微細気泡発生装置 |
Cited By (28)
| Publication number | Priority date | Publication date | Assignee | Title |
|---|---|---|---|---|
| US9457214B2 (en) | 2009-10-23 | 2016-10-04 | Air Water Safety Service Inc. | Gas fire-extinguishing apparatus |
| JP2014087707A (ja) * | 2009-11-02 | 2014-05-15 | Koatsu Co Ltd | ガス系消火設備用の消音機能を有する噴射ヘッド |
| JP2011120797A (ja) * | 2009-12-11 | 2011-06-23 | Air Water Safety Service Inc | 消火ガス噴射装置 |
| WO2013125383A1 (ja) | 2012-02-21 | 2013-08-29 | 株式会社コーアツ | ガス系消火設備用の消音機能を有する噴射ヘッド |
| KR101946323B1 (ko) * | 2012-02-21 | 2019-02-11 | 가부시키가이샤 고아츠 | 가스계 소화 설비용의 소음 기능을 갖는 분사 헤드 |
| JP2013169333A (ja) * | 2012-02-21 | 2013-09-02 | Koatsu Co Ltd | ガス系消火設備用の消音機能を有する噴射ヘッド |
| US10258816B2 (en) | 2012-02-21 | 2019-04-16 | Koatsu Co., Ltd. | Injection head having silencing function for gas-type fire extinguisher |
| JP2013192764A (ja) * | 2012-03-21 | 2013-09-30 | Koatsu Co Ltd | ガス系消火設備用の消音機能を有する噴射ヘッド |
| US9597537B2 (en) | 2012-05-03 | 2017-03-21 | Koatsu Co., Ltd. | Injection head having silencing function for gas type fire extinguisher |
| JP2013192960A (ja) * | 2013-04-17 | 2013-09-30 | Koatsu Co Ltd | ガス系消火設備用の消音機能を有する噴射ヘッド |
| JP2013169472A (ja) * | 2013-04-17 | 2013-09-02 | Koatsu Co Ltd | ガス系消火設備用の消音機能を有する噴射ヘッド |
| JP2017221683A (ja) * | 2013-10-02 | 2017-12-21 | エア・ウォーター防災株式会社 | 消火ガス噴射装置の施工方法 |
| JP2018094433A (ja) * | 2013-10-02 | 2018-06-21 | エア・ウォーター防災株式会社 | 消火ガス噴射装置およびそれを備えたガス消火装置 |
| JP2019147010A (ja) * | 2013-10-02 | 2019-09-05 | エア・ウォーター防災株式会社 | 消火ガス噴射装置およびそれを用いたガス消火装置ならびにその施工方法ならびに消火ガス噴射装置の保管・組立方法 |
| JP2015091305A (ja) * | 2013-10-02 | 2015-05-14 | エア・ウォーター防災株式会社 | 消火ガス噴射装置およびそれを備えたガス消火装置 |
| JP2018057724A (ja) * | 2016-10-07 | 2018-04-12 | ニッタン株式会社 | ガス消火設備用ガス放出ノズル |
| JP6363318B1 (ja) * | 2016-12-26 | 2018-07-25 | 株式会社コーアツ | ガス系消火設備用の消音機能を有する噴射ヘッド及びその保管・組立方法 |
| KR20190100204A (ko) | 2016-12-26 | 2019-08-28 | 가부시키가이샤 고아츠 | 가스계 소화 설비용 소음 기능을 갖는 분사 헤드 및 그 보관·조립 방법 |
| WO2018123656A1 (ja) | 2016-12-26 | 2018-07-05 | 株式会社コーアツ | ガス系消火設備用の消音機能を有する噴射ヘッド及びその保管・組立方法 |
| RU2725359C1 (ru) * | 2016-12-26 | 2020-07-02 | Коацу Ко., Лтд. | Форсунка с функцией шумопоглощения для газовых средств пожаротушения и способ её хранения и сборки |
| WO2020071329A1 (ja) * | 2018-10-02 | 2020-04-09 | 株式会社コーアツ | 液化消火剤用噴射ヘッド |
| CN112312975A (zh) * | 2018-10-02 | 2021-02-02 | 株式会社高压 | 液化灭火剂用喷射头 |
| JPWO2020071329A1 (ja) * | 2018-10-02 | 2021-09-16 | 株式会社コーアツ | 液化消火剤用噴射ヘッド |
| EP3815752A4 (en) * | 2018-10-02 | 2022-02-09 | Koatsu Co., Ltd. | LIQUID FIRE EXTINGUISHING AGENT SPRAYER |
| CN112312975B (zh) * | 2018-10-02 | 2022-10-18 | 株式会社高压 | 液化灭火剂用喷射头 |
| RU2786611C2 (ru) * | 2018-10-02 | 2022-12-22 | Коацу Ко., Лтд. | Распылительная головка для жидкого огнетушащего вещества |
| JP7299629B2 (ja) | 2018-10-02 | 2023-06-28 | 株式会社コーアツ | 液化消火剤用噴射ヘッド |
| EP4205818A1 (en) * | 2018-10-02 | 2023-07-05 | Koatsu Co., Ltd. | Injection head for liquid fire extinguishing agent |
Also Published As
| Publication number | Publication date |
|---|---|
| EP3243552B1 (en) | 2024-03-06 |
| CN102573998A (zh) | 2012-07-11 |
| EP3243552C0 (en) | 2024-03-06 |
| CN104014097A (zh) | 2014-09-03 |
| JP5276630B2 (ja) | 2013-08-28 |
| KR20120093305A (ko) | 2012-08-22 |
| KR20130112952A (ko) | 2013-10-14 |
| US9457214B2 (en) | 2016-10-04 |
| EP2491984B1 (en) | 2020-02-19 |
| US20120205128A1 (en) | 2012-08-16 |
| EP3243552A2 (en) | 2017-11-15 |
| EP2491984A1 (en) | 2012-08-29 |
| EP2491984A4 (en) | 2015-10-07 |
| KR101352714B1 (ko) | 2014-01-16 |
| EP3243552A3 (en) | 2018-02-21 |
| CN102573998B (zh) | 2014-12-03 |
| CN106139480A (zh) | 2016-11-23 |
| WO2011049002A1 (ja) | 2011-04-28 |
| KR101412253B1 (ko) | 2014-06-25 |
| CN104014097B (zh) | 2017-12-19 |
Similar Documents
| Publication | Publication Date | Title |
|---|---|---|
| JP5276630B2 (ja) | ガス消火設備 | |
| JP7344240B2 (ja) | 消音装置およびガス消火設備 |
Legal Events
| Date | Code | Title | Description |
|---|---|---|---|
| A521 | Request for written amendment filed |
Free format text: JAPANESE INTERMEDIATE CODE: A523 Effective date: 20111206 |
|
| A911 | Transfer to examiner for re-examination before appeal (zenchi) |
Free format text: JAPANESE INTERMEDIATE CODE: A911 Effective date: 20111219 |
|
| A912 | Re-examination (zenchi) completed and case transferred to appeal board |
Free format text: JAPANESE INTERMEDIATE CODE: A912 Effective date: 20120127 |
|
| A521 | Request for written amendment filed |
Free format text: JAPANESE INTERMEDIATE CODE: A523 Effective date: 20130314 |
|
| A61 | First payment of annual fees (during grant procedure) |
Free format text: JAPANESE INTERMEDIATE CODE: A61 Effective date: 20130517 |
|
| R150 | Certificate of patent or registration of utility model |
Ref document number: 5276630 Country of ref document: JP Free format text: JAPANESE INTERMEDIATE CODE: R150 Free format text: JAPANESE INTERMEDIATE CODE: R150 |
|
| R250 | Receipt of annual fees |
Free format text: JAPANESE INTERMEDIATE CODE: R250 |
|
| R250 | Receipt of annual fees |
Free format text: JAPANESE INTERMEDIATE CODE: R250 |
|
| R250 | Receipt of annual fees |
Free format text: JAPANESE INTERMEDIATE CODE: R250 |
|
| R250 | Receipt of annual fees |
Free format text: JAPANESE INTERMEDIATE CODE: R250 |
|
| R250 | Receipt of annual fees |
Free format text: JAPANESE INTERMEDIATE CODE: R250 |
|
| R250 | Receipt of annual fees |
Free format text: JAPANESE INTERMEDIATE CODE: R250 |
